JP6154522B2 - El表示装置 - Google Patents
El表示装置 Download PDFInfo
- Publication number
- JP6154522B2 JP6154522B2 JP2016128467A JP2016128467A JP6154522B2 JP 6154522 B2 JP6154522 B2 JP 6154522B2 JP 2016128467 A JP2016128467 A JP 2016128467A JP 2016128467 A JP2016128467 A JP 2016128467A JP 6154522 B2 JP6154522 B2 JP 6154522B2
- Authority
- JP
- Japan
- Prior art keywords
- display device
- power supply
- tft
- pixel
- driving
- Prior art date
- Legal status (The legal status is an assumption and is not a legal conclusion. Google has not performed a legal analysis and makes no representation as to the accuracy of the status listed.)
- Expired - Fee Related
Links
- 238000007689 inspection Methods 0.000 claims description 34
- 239000003990 capacitor Substances 0.000 claims description 13
- 230000002950 deficient Effects 0.000 claims description 3
- 239000010410 layer Substances 0.000 description 60
- 238000000034 method Methods 0.000 description 41
- 239000000463 material Substances 0.000 description 36
- 239000010408 film Substances 0.000 description 34
- 239000000758 substrate Substances 0.000 description 19
- 239000003566 sealing material Substances 0.000 description 14
- 239000000945 filler Substances 0.000 description 11
- 239000010409 thin film Substances 0.000 description 10
- 238000010586 diagram Methods 0.000 description 7
- 238000002347 injection Methods 0.000 description 7
- 239000007924 injection Substances 0.000 description 7
- 230000015572 biosynthetic process Effects 0.000 description 6
- PQXKHYXIUOZZFA-UHFFFAOYSA-M lithium fluoride Chemical class [Li+].[F-] PQXKHYXIUOZZFA-UHFFFAOYSA-M 0.000 description 6
- 125000006850 spacer group Chemical group 0.000 description 6
- 230000005525 hole transport Effects 0.000 description 5
- 239000011229 interlayer Substances 0.000 description 5
- 229910052782 aluminium Inorganic materials 0.000 description 4
- XAGFODPZIPBFFR-UHFFFAOYSA-N aluminium Chemical compound [Al] XAGFODPZIPBFFR-UHFFFAOYSA-N 0.000 description 4
- 238000004519 manufacturing process Methods 0.000 description 4
- 239000011159 matrix material Substances 0.000 description 4
- DQXBYHZEEUGOBF-UHFFFAOYSA-N but-3-enoic acid;ethene Chemical compound C=C.OC(=O)CC=C DQXBYHZEEUGOBF-UHFFFAOYSA-N 0.000 description 3
- 238000001514 detection method Methods 0.000 description 3
- 239000005038 ethylene vinyl acetate Substances 0.000 description 3
- 238000002161 passivation Methods 0.000 description 3
- 229920001200 poly(ethylene-vinyl acetate) Polymers 0.000 description 3
- 229920002037 poly(vinyl butyral) polymer Polymers 0.000 description 3
- 229920002620 polyvinyl fluoride Polymers 0.000 description 3
- 229920005989 resin Polymers 0.000 description 3
- 239000011347 resin Substances 0.000 description 3
- 238000007740 vapor deposition Methods 0.000 description 3
- 229920002799 BoPET Polymers 0.000 description 2
- 239000005041 Mylar™ Substances 0.000 description 2
- XLOMVQKBTHCTTD-UHFFFAOYSA-N Zinc monoxide Chemical compound [Zn]=O XLOMVQKBTHCTTD-UHFFFAOYSA-N 0.000 description 2
- 230000005856 abnormality Effects 0.000 description 2
- 150000001875 compounds Chemical class 0.000 description 2
- 230000007547 defect Effects 0.000 description 2
- 229910003437 indium oxide Inorganic materials 0.000 description 2
- PJXISJQVUVHSOJ-UHFFFAOYSA-N indium(iii) oxide Chemical compound [O-2].[O-2].[O-2].[In+3].[In+3] PJXISJQVUVHSOJ-UHFFFAOYSA-N 0.000 description 2
- 229920000915 polyvinyl chloride Polymers 0.000 description 2
- 239000004800 polyvinyl chloride Substances 0.000 description 2
- 239000004065 semiconductor Substances 0.000 description 2
- 238000010521 absorption reaction Methods 0.000 description 1
- NIXOWILDQLNWCW-UHFFFAOYSA-N acrylic acid group Chemical group C(C=C)(=O)O NIXOWILDQLNWCW-UHFFFAOYSA-N 0.000 description 1
- 239000000853 adhesive Substances 0.000 description 1
- 230000001070 adhesive effect Effects 0.000 description 1
- 229910021417 amorphous silicon Inorganic materials 0.000 description 1
- QVGXLLKOCUKJST-UHFFFAOYSA-N atomic oxygen Chemical compound [O] QVGXLLKOCUKJST-UHFFFAOYSA-N 0.000 description 1
- 239000000969 carrier Substances 0.000 description 1
- 239000010406 cathode material Substances 0.000 description 1
- 230000001413 cellular effect Effects 0.000 description 1
- 238000006243 chemical reaction Methods 0.000 description 1
- 238000000151 deposition Methods 0.000 description 1
- 239000002274 desiccant Substances 0.000 description 1
- 238000011161 development Methods 0.000 description 1
- 238000007599 discharging Methods 0.000 description 1
- 230000000694 effects Effects 0.000 description 1
- 238000005401 electroluminescence Methods 0.000 description 1
- 239000003822 epoxy resin Substances 0.000 description 1
- 239000011152 fibreglass Substances 0.000 description 1
- 230000005669 field effect Effects 0.000 description 1
- 239000011888 foil Substances 0.000 description 1
- 239000011521 glass Substances 0.000 description 1
- 239000008187 granular material Substances 0.000 description 1
- 239000004973 liquid crystal related substance Substances 0.000 description 1
- 230000014759 maintenance of location Effects 0.000 description 1
- 230000003287 optical effect Effects 0.000 description 1
- 229910052760 oxygen Inorganic materials 0.000 description 1
- 239000001301 oxygen Substances 0.000 description 1
- 239000000049 pigment Substances 0.000 description 1
- 229910021420 polycrystalline silicon Inorganic materials 0.000 description 1
- 229920000647 polyepoxide Polymers 0.000 description 1
- 229920006267 polyester film Polymers 0.000 description 1
- 229920000642 polymer Polymers 0.000 description 1
- 229920005591 polysilicon Polymers 0.000 description 1
- 238000005215 recombination Methods 0.000 description 1
- 230000006798 recombination Effects 0.000 description 1
- 230000002040 relaxant effect Effects 0.000 description 1
- 238000011160 research Methods 0.000 description 1
- 238000012827 research and development Methods 0.000 description 1
- 229920002050 silicone resin Polymers 0.000 description 1
- 239000002356 single layer Substances 0.000 description 1
- 238000009751 slip forming Methods 0.000 description 1
- 238000004528 spin coating Methods 0.000 description 1
- 229910001220 stainless steel Inorganic materials 0.000 description 1
- 239000010935 stainless steel Substances 0.000 description 1
- XOLBLPGZBRYERU-UHFFFAOYSA-N tin dioxide Chemical compound O=[Sn]=O XOLBLPGZBRYERU-UHFFFAOYSA-N 0.000 description 1
- 229910001887 tin oxide Inorganic materials 0.000 description 1
- 239000011800 void material Substances 0.000 description 1
- XLYOFNOQVPJJNP-UHFFFAOYSA-N water Substances O XLYOFNOQVPJJNP-UHFFFAOYSA-N 0.000 description 1
- 239000011787 zinc oxide Substances 0.000 description 1
Images
Classifications
-
- G—PHYSICS
- G09—EDUCATION; CRYPTOGRAPHY; DISPLAY; ADVERTISING; SEALS
- G09G—ARRANGEMENTS OR CIRCUITS FOR CONTROL OF INDICATING DEVICES USING STATIC MEANS TO PRESENT VARIABLE INFORMATION
- G09G3/00—Control arrangements or circuits, of interest only in connection with visual indicators other than cathode-ray tubes
- G09G3/006—Electronic inspection or testing of displays and display drivers, e.g. of LED or LCD displays
-
- G—PHYSICS
- G09—EDUCATION; CRYPTOGRAPHY; DISPLAY; ADVERTISING; SEALS
- G09G—ARRANGEMENTS OR CIRCUITS FOR CONTROL OF INDICATING DEVICES USING STATIC MEANS TO PRESENT VARIABLE INFORMATION
- G09G3/00—Control arrangements or circuits, of interest only in connection with visual indicators other than cathode-ray tubes
- G09G3/20—Control arrangements or circuits, of interest only in connection with visual indicators other than cathode-ray tubes for presentation of an assembly of a number of characters, e.g. a page, by composing the assembly by combination of individual elements arranged in a matrix no fixed position being assigned to or needed to be assigned to the individual characters or partial characters
- G09G3/22—Control arrangements or circuits, of interest only in connection with visual indicators other than cathode-ray tubes for presentation of an assembly of a number of characters, e.g. a page, by composing the assembly by combination of individual elements arranged in a matrix no fixed position being assigned to or needed to be assigned to the individual characters or partial characters using controlled light sources
- G09G3/30—Control arrangements or circuits, of interest only in connection with visual indicators other than cathode-ray tubes for presentation of an assembly of a number of characters, e.g. a page, by composing the assembly by combination of individual elements arranged in a matrix no fixed position being assigned to or needed to be assigned to the individual characters or partial characters using controlled light sources using electroluminescent panels
- G09G3/32—Control arrangements or circuits, of interest only in connection with visual indicators other than cathode-ray tubes for presentation of an assembly of a number of characters, e.g. a page, by composing the assembly by combination of individual elements arranged in a matrix no fixed position being assigned to or needed to be assigned to the individual characters or partial characters using controlled light sources using electroluminescent panels semiconductive, e.g. using light-emitting diodes [LED]
- G09G3/3208—Control arrangements or circuits, of interest only in connection with visual indicators other than cathode-ray tubes for presentation of an assembly of a number of characters, e.g. a page, by composing the assembly by combination of individual elements arranged in a matrix no fixed position being assigned to or needed to be assigned to the individual characters or partial characters using controlled light sources using electroluminescent panels semiconductive, e.g. using light-emitting diodes [LED] organic, e.g. using organic light-emitting diodes [OLED]
- G09G3/3225—Control arrangements or circuits, of interest only in connection with visual indicators other than cathode-ray tubes for presentation of an assembly of a number of characters, e.g. a page, by composing the assembly by combination of individual elements arranged in a matrix no fixed position being assigned to or needed to be assigned to the individual characters or partial characters using controlled light sources using electroluminescent panels semiconductive, e.g. using light-emitting diodes [LED] organic, e.g. using organic light-emitting diodes [OLED] using an active matrix
- G09G3/3233—Control arrangements or circuits, of interest only in connection with visual indicators other than cathode-ray tubes for presentation of an assembly of a number of characters, e.g. a page, by composing the assembly by combination of individual elements arranged in a matrix no fixed position being assigned to or needed to be assigned to the individual characters or partial characters using controlled light sources using electroluminescent panels semiconductive, e.g. using light-emitting diodes [LED] organic, e.g. using organic light-emitting diodes [OLED] using an active matrix with pixel circuitry controlling the current through the light-emitting element
-
- G—PHYSICS
- G09—EDUCATION; CRYPTOGRAPHY; DISPLAY; ADVERTISING; SEALS
- G09G—ARRANGEMENTS OR CIRCUITS FOR CONTROL OF INDICATING DEVICES USING STATIC MEANS TO PRESENT VARIABLE INFORMATION
- G09G3/00—Control arrangements or circuits, of interest only in connection with visual indicators other than cathode-ray tubes
- G09G3/20—Control arrangements or circuits, of interest only in connection with visual indicators other than cathode-ray tubes for presentation of an assembly of a number of characters, e.g. a page, by composing the assembly by combination of individual elements arranged in a matrix no fixed position being assigned to or needed to be assigned to the individual characters or partial characters
- G09G3/22—Control arrangements or circuits, of interest only in connection with visual indicators other than cathode-ray tubes for presentation of an assembly of a number of characters, e.g. a page, by composing the assembly by combination of individual elements arranged in a matrix no fixed position being assigned to or needed to be assigned to the individual characters or partial characters using controlled light sources
- G09G3/30—Control arrangements or circuits, of interest only in connection with visual indicators other than cathode-ray tubes for presentation of an assembly of a number of characters, e.g. a page, by composing the assembly by combination of individual elements arranged in a matrix no fixed position being assigned to or needed to be assigned to the individual characters or partial characters using controlled light sources using electroluminescent panels
- G09G3/32—Control arrangements or circuits, of interest only in connection with visual indicators other than cathode-ray tubes for presentation of an assembly of a number of characters, e.g. a page, by composing the assembly by combination of individual elements arranged in a matrix no fixed position being assigned to or needed to be assigned to the individual characters or partial characters using controlled light sources using electroluminescent panels semiconductive, e.g. using light-emitting diodes [LED]
- G09G3/3208—Control arrangements or circuits, of interest only in connection with visual indicators other than cathode-ray tubes for presentation of an assembly of a number of characters, e.g. a page, by composing the assembly by combination of individual elements arranged in a matrix no fixed position being assigned to or needed to be assigned to the individual characters or partial characters using controlled light sources using electroluminescent panels semiconductive, e.g. using light-emitting diodes [LED] organic, e.g. using organic light-emitting diodes [OLED]
- G09G3/3275—Details of drivers for data electrodes
-
- G—PHYSICS
- G09—EDUCATION; CRYPTOGRAPHY; DISPLAY; ADVERTISING; SEALS
- G09G—ARRANGEMENTS OR CIRCUITS FOR CONTROL OF INDICATING DEVICES USING STATIC MEANS TO PRESENT VARIABLE INFORMATION
- G09G3/00—Control arrangements or circuits, of interest only in connection with visual indicators other than cathode-ray tubes
- G09G3/20—Control arrangements or circuits, of interest only in connection with visual indicators other than cathode-ray tubes for presentation of an assembly of a number of characters, e.g. a page, by composing the assembly by combination of individual elements arranged in a matrix no fixed position being assigned to or needed to be assigned to the individual characters or partial characters
- G09G3/22—Control arrangements or circuits, of interest only in connection with visual indicators other than cathode-ray tubes for presentation of an assembly of a number of characters, e.g. a page, by composing the assembly by combination of individual elements arranged in a matrix no fixed position being assigned to or needed to be assigned to the individual characters or partial characters using controlled light sources
- G09G3/30—Control arrangements or circuits, of interest only in connection with visual indicators other than cathode-ray tubes for presentation of an assembly of a number of characters, e.g. a page, by composing the assembly by combination of individual elements arranged in a matrix no fixed position being assigned to or needed to be assigned to the individual characters or partial characters using controlled light sources using electroluminescent panels
- G09G3/32—Control arrangements or circuits, of interest only in connection with visual indicators other than cathode-ray tubes for presentation of an assembly of a number of characters, e.g. a page, by composing the assembly by combination of individual elements arranged in a matrix no fixed position being assigned to or needed to be assigned to the individual characters or partial characters using controlled light sources using electroluminescent panels semiconductive, e.g. using light-emitting diodes [LED]
- G09G3/3208—Control arrangements or circuits, of interest only in connection with visual indicators other than cathode-ray tubes for presentation of an assembly of a number of characters, e.g. a page, by composing the assembly by combination of individual elements arranged in a matrix no fixed position being assigned to or needed to be assigned to the individual characters or partial characters using controlled light sources using electroluminescent panels semiconductive, e.g. using light-emitting diodes [LED] organic, e.g. using organic light-emitting diodes [OLED]
- G09G3/3275—Details of drivers for data electrodes
- G09G3/3291—Details of drivers for data electrodes in which the data driver supplies a variable data voltage for setting the current through, or the voltage across, the light-emitting elements
-
- H—ELECTRICITY
- H10—SEMICONDUCTOR DEVICES; ELECTRIC SOLID-STATE DEVICES NOT OTHERWISE PROVIDED FOR
- H10K—ORGANIC ELECTRIC SOLID-STATE DEVICES
- H10K71/00—Manufacture or treatment specially adapted for the organic devices covered by this subclass
- H10K71/70—Testing, e.g. accelerated lifetime tests
-
- G—PHYSICS
- G09—EDUCATION; CRYPTOGRAPHY; DISPLAY; ADVERTISING; SEALS
- G09G—ARRANGEMENTS OR CIRCUITS FOR CONTROL OF INDICATING DEVICES USING STATIC MEANS TO PRESENT VARIABLE INFORMATION
- G09G2300/00—Aspects of the constitution of display devices
- G09G2300/04—Structural and physical details of display devices
- G09G2300/0421—Structural details of the set of electrodes
- G09G2300/0426—Layout of electrodes and connections
-
- G—PHYSICS
- G09—EDUCATION; CRYPTOGRAPHY; DISPLAY; ADVERTISING; SEALS
- G09G—ARRANGEMENTS OR CIRCUITS FOR CONTROL OF INDICATING DEVICES USING STATIC MEANS TO PRESENT VARIABLE INFORMATION
- G09G2300/00—Aspects of the constitution of display devices
- G09G2300/08—Active matrix structure, i.e. with use of active elements, inclusive of non-linear two terminal elements, in the pixels together with light emitting or modulating elements
- G09G2300/0809—Several active elements per pixel in active matrix panels
-
- G—PHYSICS
- G09—EDUCATION; CRYPTOGRAPHY; DISPLAY; ADVERTISING; SEALS
- G09G—ARRANGEMENTS OR CIRCUITS FOR CONTROL OF INDICATING DEVICES USING STATIC MEANS TO PRESENT VARIABLE INFORMATION
- G09G2300/00—Aspects of the constitution of display devices
- G09G2300/08—Active matrix structure, i.e. with use of active elements, inclusive of non-linear two terminal elements, in the pixels together with light emitting or modulating elements
- G09G2300/0809—Several active elements per pixel in active matrix panels
- G09G2300/0842—Several active elements per pixel in active matrix panels forming a memory circuit, e.g. a dynamic memory with one capacitor
-
- G—PHYSICS
- G09—EDUCATION; CRYPTOGRAPHY; DISPLAY; ADVERTISING; SEALS
- G09G—ARRANGEMENTS OR CIRCUITS FOR CONTROL OF INDICATING DEVICES USING STATIC MEANS TO PRESENT VARIABLE INFORMATION
- G09G2330/00—Aspects of power supply; Aspects of display protection and defect management
- G09G2330/08—Fault-tolerant or redundant circuits, or circuits in which repair of defects is prepared
-
- G—PHYSICS
- G09—EDUCATION; CRYPTOGRAPHY; DISPLAY; ADVERTISING; SEALS
- G09G—ARRANGEMENTS OR CIRCUITS FOR CONTROL OF INDICATING DEVICES USING STATIC MEANS TO PRESENT VARIABLE INFORMATION
- G09G2330/00—Aspects of power supply; Aspects of display protection and defect management
- G09G2330/12—Test circuits or failure detection circuits included in a display system, as permanent part thereof
-
- H—ELECTRICITY
- H10—SEMICONDUCTOR DEVICES; ELECTRIC SOLID-STATE DEVICES NOT OTHERWISE PROVIDED FOR
- H10K—ORGANIC ELECTRIC SOLID-STATE DEVICES
- H10K59/00—Integrated devices, or assemblies of multiple devices, comprising at least one organic light-emitting element covered by group H10K50/00
-
- H—ELECTRICITY
- H10—SEMICONDUCTOR DEVICES; ELECTRIC SOLID-STATE DEVICES NOT OTHERWISE PROVIDED FOR
- H10K—ORGANIC ELECTRIC SOLID-STATE DEVICES
- H10K59/00—Integrated devices, or assemblies of multiple devices, comprising at least one organic light-emitting element covered by group H10K50/00
- H10K59/10—OLED displays
- H10K59/12—Active-matrix OLED [AMOLED] displays
-
- Y—GENERAL TAGGING OF NEW TECHNOLOGICAL DEVELOPMENTS; GENERAL TAGGING OF CROSS-SECTIONAL TECHNOLOGIES SPANNING OVER SEVERAL SECTIONS OF THE IPC; TECHNICAL SUBJECTS COVERED BY FORMER USPC CROSS-REFERENCE ART COLLECTIONS [XRACs] AND DIGESTS
- Y10—TECHNICAL SUBJECTS COVERED BY FORMER USPC
- Y10S—TECHNICAL SUBJECTS COVERED BY FORMER USPC CROSS-REFERENCE ART COLLECTIONS [XRACs] AND DIGESTS
- Y10S345/00—Computer graphics processing and selective visual display systems
- Y10S345/904—Display with fail/safe testing feature
Landscapes
- Engineering & Computer Science (AREA)
- Physics & Mathematics (AREA)
- Computer Hardware Design (AREA)
- General Physics & Mathematics (AREA)
- Theoretical Computer Science (AREA)
- Devices For Indicating Variable Information By Combining Individual Elements (AREA)
- Manufacturing & Machinery (AREA)
- Electroluminescent Light Sources (AREA)
- Control Of Indicators Other Than Cathode Ray Tubes (AREA)
- Control Of El Displays (AREA)
Description
本発明は、EL(エレクトロルミネッセンス)素子を基板上に作り込んで形成された電
子ディスプレイ(電気光学装置)に関する。特に半導体素子(半導体薄膜を用いた素子)
を用いた表示装置に関する。またEL表示装置を表示部に用いた電子機器に関する。また
、EL表示装置の検査方法に関する。
子ディスプレイ(電気光学装置)に関する。特に半導体素子(半導体薄膜を用いた素子)
を用いた表示装置に関する。またEL表示装置を表示部に用いた電子機器に関する。また
、EL表示装置の検査方法に関する。
なお、本明細書中において、EL素子とは、一重項励起子からの発光(蛍光)
を利用するものと、三重項励起子からの発光(燐光)を利用するものの両方を示すものと
する。
を利用するものと、三重項励起子からの発光(燐光)を利用するものの両方を示すものと
する。
近年、基板上に薄膜トランジスタ(以下、TFTと表記する)を形成する技術が大幅に
進歩し、アクティブマトリクス型表示装置への応用開発が進められている。特に、ポリシ
リコン膜を用いたTFTは、従来のアモルファスシリコン膜を用いたTFTよりも電界効
果移動度(モビリティともいう)が高いので、高速動作が可能である。そのため、従来、
基板外の駆動回路で行っていた画素の制御を、画素と同一の基板上に形成した駆動回路で
行うことが可能となっている。
進歩し、アクティブマトリクス型表示装置への応用開発が進められている。特に、ポリシ
リコン膜を用いたTFTは、従来のアモルファスシリコン膜を用いたTFTよりも電界効
果移動度(モビリティともいう)が高いので、高速動作が可能である。そのため、従来、
基板外の駆動回路で行っていた画素の制御を、画素と同一の基板上に形成した駆動回路で
行うことが可能となっている。
このようなアクティブマトリクス型表示装置は、同一基板上に様々な回路や素子を作り
込むことで製造コストの低減、表示装置の小型化、歩留まりの上昇、スループットの低減
など、様々な利点が得られる。
込むことで製造コストの低減、表示装置の小型化、歩留まりの上昇、スループットの低減
など、様々な利点が得られる。
そしてさらに、自発光型素子としてEL素子を有した、アクティブマトリクス型のEL
表示装置の研究が活発化している。EL表示装置は有機ELディスプレイ(OELD:Or
ganic EL Display)又は有機ライトエミッティングダイオード(OLED:Organic Ligh
t Emitting Diode)とも呼ばれている。
表示装置の研究が活発化している。EL表示装置は有機ELディスプレイ(OELD:Or
ganic EL Display)又は有機ライトエミッティングダイオード(OLED:Organic Ligh
t Emitting Diode)とも呼ばれている。
EL表示装置は、液晶表示装置と異なり自発光型である。EL素子は、一対の電極(陽
極と陰極)間にEL層が挟まれた構造となっているが、EL層は通常、積層構造となって
いる。代表的には、コダック・イーストマン・カンパニーのTangらが提案した「正孔輸送
層/発光層/電子輸送層」という積層構造が挙げられる。この構造は非常に発光効率が高
く、現在、研究開発が進められているEL表示装置は、ほとんどこの構造を採用している
。
極と陰極)間にEL層が挟まれた構造となっているが、EL層は通常、積層構造となって
いる。代表的には、コダック・イーストマン・カンパニーのTangらが提案した「正孔輸送
層/発光層/電子輸送層」という積層構造が挙げられる。この構造は非常に発光効率が高
く、現在、研究開発が進められているEL表示装置は、ほとんどこの構造を採用している
。
また他にも、陽極上に正孔注入層/正孔輸送層/発光層/電子輸送層、または正孔注入
層/正孔輸送層/発光層/電子輸送層/電子注入層の順に積層する構造でも良い。発光層
に対して蛍光性色素等をドーピングしても良い。
層/正孔輸送層/発光層/電子輸送層/電子注入層の順に積層する構造でも良い。発光層
に対して蛍光性色素等をドーピングしても良い。
本明細書において、陰極と陽極の間に設けられる全ての層を総称してEL層と呼ぶ。よ
って上述した正孔注入層、正孔輸送層、発光層、電子輸送層、電子注入層等は、全てEL
層に含まれる。
って上述した正孔注入層、正孔輸送層、発光層、電子輸送層、電子注入層等は、全てEL
層に含まれる。
そして、上記構造でなるEL層に一対の電極から所定の電圧をかけ、それにより発光層
においてキャリアの再結合が起こって発光する。なお本明細書においてEL素子が発光す
ることを、EL素子が駆動すると呼ぶ。また、本明細書中では、陽極、EL層及び陰極で
形成される発光素子をEL素子と呼ぶ。
においてキャリアの再結合が起こって発光する。なお本明細書においてEL素子が発光す
ることを、EL素子が駆動すると呼ぶ。また、本明細書中では、陽極、EL層及び陰極で
形成される発光素子をEL素子と呼ぶ。
EL表示装置の駆動方法として、アナログ方式の駆動方法(アナログ駆動)が挙げられ
る。EL表示装置のアナログ駆動について、図10及び図11を用いて説明する。
る。EL表示装置のアナログ駆動について、図10及び図11を用いて説明する。
図10にアナログ駆動のEL表示装置の画素部の構造を示す。ゲート信号線駆動回路か
らの選択信号を入力するゲート信号線(G1〜Gy)は、各画素が有するスイッチング用
TFT1801のゲート電極に接続されている。また各画素の有するスイッチング用TF
T1801のソース領域とドレイン領域は、一方がアナログのビデオ信号を入力するソー
ス信号線(データ信号線ともいう)(S1〜Sx)に、もう一方が各画素が有する駆動用
TFT1804のゲート電極及び各画素が有するコンデンサ1808にそれぞれ接続され
ている。
らの選択信号を入力するゲート信号線(G1〜Gy)は、各画素が有するスイッチング用
TFT1801のゲート電極に接続されている。また各画素の有するスイッチング用TF
T1801のソース領域とドレイン領域は、一方がアナログのビデオ信号を入力するソー
ス信号線(データ信号線ともいう)(S1〜Sx)に、もう一方が各画素が有する駆動用
TFT1804のゲート電極及び各画素が有するコンデンサ1808にそれぞれ接続され
ている。
各画素が有する駆動用TFT1804のソース領域とドレイン領域は、一方は電源供給
線(V1〜Vx)に、もう一方はEL素子1806に接続されている。電源供給線(V1
〜Vx)の電位を電源電位と呼ぶ。また電源供給線(V1〜Vx)は、各画素が有するコ
ンデンサ1808に接続されている。
線(V1〜Vx)に、もう一方はEL素子1806に接続されている。電源供給線(V1
〜Vx)の電位を電源電位と呼ぶ。また電源供給線(V1〜Vx)は、各画素が有するコ
ンデンサ1808に接続されている。
EL素子1806は陽極と、陰極と、陽極と陰極との間に設けられたEL層とを有する
。EL素子1806の陽極が駆動用TFT1804のソース領域またはドレイン領域と接
続している場合、EL素子1806の陽極が画素電極、陰極が対向電極となる。逆にEL
素子1806の陰極が駆動用TFT1804のソース領域またはドレイン領域と接続して
いる場合、EL素子1806の陽極が対向電極、陰極が画素電極となる。
。EL素子1806の陽極が駆動用TFT1804のソース領域またはドレイン領域と接
続している場合、EL素子1806の陽極が画素電極、陰極が対向電極となる。逆にEL
素子1806の陰極が駆動用TFT1804のソース領域またはドレイン領域と接続して
いる場合、EL素子1806の陽極が対向電極、陰極が画素電極となる。
なお本明細書において、対向電極の電位を対向電位と呼ぶ。なお対向電極に対向電位を
与える電源を対向電源と呼ぶ。画素電極の電位と対向電極の電位の電位差がEL駆動電圧
であり、このEL駆動電圧がEL層にかかる。
与える電源を対向電源と呼ぶ。画素電極の電位と対向電極の電位の電位差がEL駆動電圧
であり、このEL駆動電圧がEL層にかかる。
図10で示したEL表示装置を、アナログ方式で駆動させた場合のタイミングチャート
を図11に示す。1つのゲート信号線が選択されてから、その次に別のゲート信号線が選
択されるまでの期間を1ライン期間(L)と呼ぶ。また1つの画像が表示されてから次の
画像が表示されるまでの期間が1フレーム期間(F)に相当する。図10のEL表示装置
の場合、ゲート信号線はy本あるので、1フレーム期間中にy個のライン期間(L1〜L
y)が設けられている。
を図11に示す。1つのゲート信号線が選択されてから、その次に別のゲート信号線が選
択されるまでの期間を1ライン期間(L)と呼ぶ。また1つの画像が表示されてから次の
画像が表示されるまでの期間が1フレーム期間(F)に相当する。図10のEL表示装置
の場合、ゲート信号線はy本あるので、1フレーム期間中にy個のライン期間(L1〜L
y)が設けられている。
解像度が高くなるにつれて1フレーム期間中のライン期間の数も増え、駆動回路を高い
周波数で駆動しなければならなくなる。
周波数で駆動しなければならなくなる。
まず電源供給線(V1〜Vx)は一定の電源電位に保たれている。そして対向電極の電
位である対向電位も一定の電位に保たれている。対向電位は、EL素子1806が発光す
る程度に電源電位との間に電位差を有している。
位である対向電位も一定の電位に保たれている。対向電位は、EL素子1806が発光す
る程度に電源電位との間に電位差を有している。
第1のライン期間(L1)において、ゲート信号線G1にはゲート信号線駆動回路から
の選択信号が入力される。そして、ソース信号線(S1〜Sx)に順にアナログのビデオ
信号が入力される。ゲート信号線G1に接続された全てのスイッチング用TFT1801
はオンの状態になるので、ソース信号線に入力されたアナログのビデオ信号は、スイッチ
ング用TFT1801を介して駆動用TFT1804のゲート電極に入力される。
の選択信号が入力される。そして、ソース信号線(S1〜Sx)に順にアナログのビデオ
信号が入力される。ゲート信号線G1に接続された全てのスイッチング用TFT1801
はオンの状態になるので、ソース信号線に入力されたアナログのビデオ信号は、スイッチ
ング用TFT1801を介して駆動用TFT1804のゲート電極に入力される。
ここでは、スイッチング用TFT1801及び駆動用TFT1804は、どちらもnチ
ャネル型TFTを用いた場合のタイミングチャートを例に説明するが、スイッチング用T
FT及び駆動用TFTは、nチャネル型TFTでもpチャネル型TFTでもどちらでもよ
い。
ャネル型TFTを用いた場合のタイミングチャートを例に説明するが、スイッチング用T
FT及び駆動用TFTは、nチャネル型TFTでもpチャネル型TFTでもどちらでもよ
い。
なお、本明細書中において、TFTがオンの状態になるとは、TFTのゲート電圧が変
化し、そのソース・ドレイン間が導通する状態を示すものとする。
化し、そのソース・ドレイン間が導通する状態を示すものとする。
駆動用TFT1804のチャネル形成領域を流れる電流の量は、そのゲート電極に入力
される信号の電位の高さ(電圧)によって制御される。よって、EL素子1806の画素
電極にかかる電位は、駆動用TFT1804のゲート電極に入力されたアナログのビデオ
信号の電位の高さによって決まる。そしてEL素子1806はアナログのビデオ信号の電
位に制御されて発光を行う。
される信号の電位の高さ(電圧)によって制御される。よって、EL素子1806の画素
電極にかかる電位は、駆動用TFT1804のゲート電極に入力されたアナログのビデオ
信号の電位の高さによって決まる。そしてEL素子1806はアナログのビデオ信号の電
位に制御されて発光を行う。
上述した動作を繰り返し、ソース信号線(S1〜Sx)へのアナログのビデオ信号の入
力が終了すると、第1のライン期間(L1)が終了する。なお、ソース信号線(S1〜S
x)へのアナログのビデオ信号の入力が終了するまでの期間と水平帰線期間とを合わせて
1つのライン期間としても良い。そして次に第2のライン期間(L2)となりゲート信号
線G2に選択信号が入力される。そして第1のライン期間(L1)と同様にソース信号線
(S1〜Sx)に順にアナログのビデオ信号が入力される。
力が終了すると、第1のライン期間(L1)が終了する。なお、ソース信号線(S1〜S
x)へのアナログのビデオ信号の入力が終了するまでの期間と水平帰線期間とを合わせて
1つのライン期間としても良い。そして次に第2のライン期間(L2)となりゲート信号
線G2に選択信号が入力される。そして第1のライン期間(L1)と同様にソース信号線
(S1〜Sx)に順にアナログのビデオ信号が入力される。
そして全てのゲート信号線(G1〜Gy)に選択信号が入力されると、全てのライン期
間(L1〜Ly)が終了する。全てのライン期間(L1〜Ly)が終了すると、1フレー
ム期間が終了する。1フレーム期間中において全ての画素が表示を行い、1つの画像が形
成される。なお、全てのライン期間(L1〜Ly)と垂直帰線期間とを合わせて1フレー
ム期間としても良い。
間(L1〜Ly)が終了する。全てのライン期間(L1〜Ly)が終了すると、1フレー
ム期間が終了する。1フレーム期間中において全ての画素が表示を行い、1つの画像が形
成される。なお、全てのライン期間(L1〜Ly)と垂直帰線期間とを合わせて1フレー
ム期間としても良い。
以上のように、アナログのビデオ信号によってEL素子1806の発光量が制御され、
その発光量の制御によって階調表示がなされる。この方式はいわゆるアナログ階調と呼ば
れる駆動方式であり、ソース信号線に入力されるアナログのビデオ信号の電位の変化で階
調表示が行われる。
その発光量の制御によって階調表示がなされる。この方式はいわゆるアナログ階調と呼ば
れる駆動方式であり、ソース信号線に入力されるアナログのビデオ信号の電位の変化で階
調表示が行われる。
従来のEL表示装置は、図10に示すように、画素部の駆動用TFT1804のドレイ
ン領域は、EL素子1806に接続されているのみであった。
ン領域は、EL素子1806に接続されているのみであった。
ここで、画素TFT(スイッチング用TFT及び駆動用TFT)や、駆動回路(ソース
信号線駆動回路及びゲート信号線駆動回路)を構成するTFTが、絶縁表面を有する基板
上に形成され、その後、EL材料を成膜して、駆動用TFTとEL素子とが電気的に接続
される。本明細書中では、このEL材料を成膜する前までの工程を、TFT工程と呼ぶこ
とにする。
信号線駆動回路及びゲート信号線駆動回路)を構成するTFTが、絶縁表面を有する基板
上に形成され、その後、EL材料を成膜して、駆動用TFTとEL素子とが電気的に接続
される。本明細書中では、このEL材料を成膜する前までの工程を、TFT工程と呼ぶこ
とにする。
よって、従来の表示装置においては、EL材料を成膜する前において、駆動用TFTの
ドレイン領域は回路上、オープン状態となっている。画素TFTが正常に動作するかどう
かは、EL材料を成膜し、表示装置を完成させ、点灯検査を行うことによって初めて判断
することが可能となる。そのため、画素TFTに異常があり、正常な表示ができないよう
なものが発生したとしても、最終工程までは検出ができずに、工程の無駄を発生させてい
た。
ドレイン領域は回路上、オープン状態となっている。画素TFTが正常に動作するかどう
かは、EL材料を成膜し、表示装置を完成させ、点灯検査を行うことによって初めて判断
することが可能となる。そのため、画素TFTに異常があり、正常な表示ができないよう
なものが発生したとしても、最終工程までは検出ができずに、工程の無駄を発生させてい
た。
以上に述べたように、従来のEL表示装置では、EL材料成膜の前工程において、画素
TFTの動作確認ができず、不要な製造コストを発生させていた。
TFTの動作確認ができず、不要な製造コストを発生させていた。
本発明は、上記問題点を鑑みてなされたものであり、EL材料の成膜前に画素TFTの
動作確認ができるようなアクティブマトリクス型のEL表示装置を提供することを課題と
する。
動作確認ができるようなアクティブマトリクス型のEL表示装置を提供することを課題と
する。
本発明者は、以上のような問題点を解決するため、EL材料を成膜する前に、駆動用T
FT、スイッチング用TFTに問題が無いかどうかを検査し、問題のあったTFTを有す
る基板(以下、不良品と表記する)が、EL材料成膜工程に進まないようにして、製造ラ
インの無駄を削減することを考えた。
FT、スイッチング用TFTに問題が無いかどうかを検査し、問題のあったTFTを有す
る基板(以下、不良品と表記する)が、EL材料成膜工程に進まないようにして、製造ラ
インの無駄を削減することを考えた。
以下に、本発明のEL表示装置の構成について記載する。
本発明によって、 絶縁基板上に、複数のソース信号線と、複数のゲート信号線と、複
数の電源供給線と、複数のスイッチング用薄膜トランジスタと、複数の駆動用薄膜トラン
ジスタとを有するEL表示装置において、 一端を前記駆動用薄膜トランジスタのドレイ
ン領域に接続し、他の一端を前記ゲート信号線に接続した検査容量を有し、 前記電源供
給線はスイッチを介して、前記絶縁基板の外部に引き出していることを特徴とするEL表
示装置が提供される。
数の電源供給線と、複数のスイッチング用薄膜トランジスタと、複数の駆動用薄膜トラン
ジスタとを有するEL表示装置において、 一端を前記駆動用薄膜トランジスタのドレイ
ン領域に接続し、他の一端を前記ゲート信号線に接続した検査容量を有し、 前記電源供
給線はスイッチを介して、前記絶縁基板の外部に引き出していることを特徴とするEL表
示装置が提供される。
前記スイッチは、前記複数の電源供給線毎に配置され、 前記スイッチを順次駆動する
駆動回路を、前記絶縁基板上に有することを特徴とするEL表示装置であってもよい。
駆動回路を、前記絶縁基板上に有することを特徴とするEL表示装置であってもよい。
前記スイッチを順次駆動する前記駆動回路は、前記ソース信号線駆動回路と一部を共有
していることを特徴としたEL表示装置であってもよい。
していることを特徴としたEL表示装置であってもよい。
前記検査容量は、0.05pF〜1pFの値をとることを特徴とするEL表示装置であ
ってもよい。
ってもよい。
本発明によって、 絶縁基板上に、複数のソース信号線と、複数のゲート信号線と、複
数の電源供給線と、複数のスイッチング用薄膜トランジスタと、複数の駆動用薄膜トラン
ジスタと、前記駆動用薄膜トランジスタのドレイン領域に接続した検査容量とを有するE
L表示装置の検査方法において、 前記駆動用薄膜トランジスタを動作させ、前記検査容
量を一定電位に充電する手順と、 前記駆動用薄膜トランジスタをオフさせた後、前記電
源供給線の電位を前記検査容量とは異なる電位に設定する手順と、 前記検査容量に充電
された電荷を、画素毎に、前記電源供給線を介して外部に引き出し、電位変動を検出する
手順とを有するEL表示装置の検査方法が提供される。
数の電源供給線と、複数のスイッチング用薄膜トランジスタと、複数の駆動用薄膜トラン
ジスタと、前記駆動用薄膜トランジスタのドレイン領域に接続した検査容量とを有するE
L表示装置の検査方法において、 前記駆動用薄膜トランジスタを動作させ、前記検査容
量を一定電位に充電する手順と、 前記駆動用薄膜トランジスタをオフさせた後、前記電
源供給線の電位を前記検査容量とは異なる電位に設定する手順と、 前記検査容量に充電
された電荷を、画素毎に、前記電源供給線を介して外部に引き出し、電位変動を検出する
手順とを有するEL表示装置の検査方法が提供される。
前記表示装置を用いることを特徴とするコンピュータ、ビデオカメラ、ヘッドマウント
ディスプレイ、画像再生装置、携帯情報端末であってもよい。
ディスプレイ、画像再生装置、携帯情報端末であってもよい。
上記構成によって、EL層を成膜するまえに画素部TFTの検査が可能な表示装置を提
供することができる。これにより、不良品をEL材料成膜まえに除去可能であり、製造費
用の削減を図ることができる。
供することができる。これにより、不良品をEL材料成膜まえに除去可能であり、製造費
用の削減を図ることができる。
以下に、本発明のEL表示装置の構造及びその検査方法について説明する。
図1に、本発明の第一の実施形態を示す。図1は、本発明の表示装置の画素部の構成図
である。
である。
電源供給線V1〜Vx、ソース信号線S1〜Sx、ゲート信号線G1〜Gy、スイッチ
ング用TFT9102、駆動用TFT9106、保持容量9107、EL素子9105、
検査容量9108によって構成されている。
ング用TFT9102、駆動用TFT9106、保持容量9107、EL素子9105、
検査容量9108によって構成されている。
なお、スイッチング用TFT9102は、ダブルゲート構造で示しているが、本発明の
表示装置の画素のスイッチング用TFTは、ダブルゲート構造に限らず、シングルゲート
構造でも良いし、ダブルゲート以上のマルチゲート構造でも良い。
表示装置の画素のスイッチング用TFTは、ダブルゲート構造に限らず、シングルゲート
構造でも良いし、ダブルゲート以上のマルチゲート構造でも良い。
また、駆動用TFT9106は、シングルゲート構造で示しているが、本発明の表示装
置の画素の駆動用TFTは、ダブルゲート構造でも良いし、マルチゲート構造でも良い。
置の画素の駆動用TFTは、ダブルゲート構造でも良いし、マルチゲート構造でも良い。
ここで、駆動用TFT9106のドレイン領域は、EL素子9105だけでなく検査容
量9108にも接続されている。この例では、検査容量9108は、駆動用TFT910
6のドレイン領域とゲート信号線との間に挿入されているが、本発明の構成はこれに限定
されない。前記ドレイン領域と、別の個別配線との間であっても良い。
量9108にも接続されている。この例では、検査容量9108は、駆動用TFT910
6のドレイン領域とゲート信号線との間に挿入されているが、本発明の構成はこれに限定
されない。前記ドレイン領域と、別の個別配線との間であっても良い。
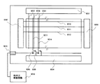
図2は、本発明の表示装置のブロック図である。
ソース信号線駆動回路9201、ゲート信号線駆動回路9202、9203、検査用駆
動回路9204、スイッチ9205、9206、ソース信号線9207〜9209、ゲー
ト信号線9210〜9212、画素部電源供給線9213、9214、電源供給線引出し
端子9215、外付け検査回路9216より構成されている。
動回路9204、スイッチ9205、9206、ソース信号線9207〜9209、ゲー
ト信号線9210〜9212、画素部電源供給線9213、9214、電源供給線引出し
端子9215、外付け検査回路9216より構成されている。
なお、図2においては、ソース信号線、ゲート信号線、電源供給線及びスイッチは、そ
の一部を代表で示している。実際には、これらは、表示装置を構成する画素に対応する分
、形成されている。
の一部を代表で示している。実際には、これらは、表示装置を構成する画素に対応する分
、形成されている。
従来と異なり、検査用駆動回路9204が追加されている。また、検査用駆動回路92
04によって制御されているスイッチ9205、9206が、画素部電源供給線9213
、9214と、電源供給線引出し端子9215との間に、画素部電源供給線ごとに挿入さ
れている。電源供給線引出し端子は、外付け検査回路9216に接続されている。
04によって制御されているスイッチ9205、9206が、画素部電源供給線9213
、9214と、電源供給線引出し端子9215との間に、画素部電源供給線ごとに挿入さ
れている。電源供給線引出し端子は、外付け検査回路9216に接続されている。
検査用駆動回路9204は、図2において、独立に配置されているが、ソース信号線駆
動回路がアナログ方式の場合、両者を兼用することも可能である。(図示せず)
動回路がアナログ方式の場合、両者を兼用することも可能である。(図示せず)
次に、本発明で用いる検査方法について、説明する。
なお説明では、図1及び図2を参照する。
ここでは、TFT工程が終了した後の、EL材料成膜前の段階の基板の検査を想定する
が、表示装置を構成するTFT同士、容量(保持容量、検査容量等)及び抵抗等との結線
が終了していれば、この工程の段階に限定されない。
が、表示装置を構成するTFT同士、容量(保持容量、検査容量等)及び抵抗等との結線
が終了していれば、この工程の段階に限定されない。
ここで、図1においては、EL素子9105を示しているが、以下の検査を行う段階で
は、まだEL材料は成膜されておらず、EL素子9105は形成されていない。
は、まだEL材料は成膜されておらず、EL素子9105は形成されていない。
まず、第一の手順として、電源供給線に「Hi」の信号に対応する電圧、例えば10V
を加える。次に、各駆動回路(ソース信号線駆動回路9201及びゲート信号線駆動回路
9202、9203)を順次走査し、各画素において、駆動用TFT9106をオンさせ
て、電源供給線V1〜Vxの電圧10Vを各検査容量9108に書き込む。
を加える。次に、各駆動回路(ソース信号線駆動回路9201及びゲート信号線駆動回路
9202、9203)を順次走査し、各画素において、駆動用TFT9106をオンさせ
て、電源供給線V1〜Vxの電圧10Vを各検査容量9108に書き込む。
なお、検査容量は、0.05pF〜1pFの値をとるとする。
第二の手順として、以下のことを行う。ソース信号線駆動回路9201、ゲート信号線
駆動回路9202、9203を動作させ、画素部の駆動用TFT9106をすべてオフに
する。次に電源供給線V1〜Vxの電位を「Lo」の信号に対応する電圧に、例えば0V
に設定する。このときスイッチ9205,9206はオンしたままである。
駆動回路9202、9203を動作させ、画素部の駆動用TFT9106をすべてオフに
する。次に電源供給線V1〜Vxの電位を「Lo」の信号に対応する電圧に、例えば0V
に設定する。このときスイッチ9205,9206はオンしたままである。
これによって画素部の電源供給線V1〜Vxは0Vになる。
第三の手順として、以下のことを行う。
図3の示すようなタイミングで、画素のひとつひとつの駆動用TFT9106を動作さ
せていく。
せていく。
図3のタイミングチャートにおいては、スイッチング用TFTをnチャネル型TFTと
し、駆動用TFTをpチャネル型TFTとした場合を示しているが、スイッチング用TF
T及び駆動用TFTは、pチャネル型TFTでもnチャネル型TFTでもどちらでも良い
。
し、駆動用TFTをpチャネル型TFTとした場合を示しているが、スイッチング用TF
T及び駆動用TFTは、pチャネル型TFTでもnチャネル型TFTでもどちらでも良い
。
ソース信号線S1〜Sxを順に操作する。なお、ここでは、2本のソース信号線S1及
びS2に対する操作を代表して図示し説明するが、全てのソース信号線S1〜Sxに対し
て同様の操作を行う。
びS2に対する操作を代表して図示し説明するが、全てのソース信号線S1〜Sxに対し
て同様の操作を行う。
ソース信号線に「Lo」の信号が入力された画素において、ゲート信号線G1〜Gyに
順に「Hi」の信号が入力されると、駆動用TFT9106がオンになる。
順に「Hi」の信号が入力されると、駆動用TFT9106がオンになる。
また、すべての電源供給線V1〜Vxがつながっていると、配線容量が大きすぎ、電圧
の検出が困難になる。そのため、電源供給線につながるスイッチは、画素1列ごと個別に
、画素TFTの動作をチェックするために必要である。
の検出が困難になる。そのため、電源供給線につながるスイッチは、画素1列ごと個別に
、画素TFTの動作をチェックするために必要である。
ここで、画素1列とは、同じソース信号線に接続されたスイッチング用TFTを有する
画素を示すものとする。
画素を示すものとする。
ソース信号線S1が選択されている間、ソース信号線S1にそのソース領域が接続され
たスイッチング用TFTを有する画素に、電源を供給する電源供給線V1につながるスイ
ッチは、オンの状態となる。なお、その他の画素に対応する電源供給線V2〜Vxにつな
がるスイッチは、全てオフの状態にある。
たスイッチング用TFTを有する画素に、電源を供給する電源供給線V1につながるスイ
ッチは、オンの状態となる。なお、その他の画素に対応する電源供給線V2〜Vxにつな
がるスイッチは、全てオフの状態にある。
次に、ソース信号線S2が選択されている間、ソース信号線S2にそのソース領域が接
続されたスイッチング用TFTを有する画素に、電源を供給する電源供給線V2につなが
るスイッチは、オンの状態となる。なお、その他の画素に対応する電源供給線V1、V3
〜Vxにつながるスイッチは、全てオフの状態にある。
続されたスイッチング用TFTを有する画素に、電源を供給する電源供給線V2につなが
るスイッチは、オンの状態となる。なお、その他の画素に対応する電源供給線V1、V3
〜Vxにつながるスイッチは、全てオフの状態にある。
ここで、図3において、T1及びT2は、それぞれ電源供給線V1につながるスイッチ
、電源供給線V2につながるスイッチを、オンもしくはオフさせる信号を示す。
、電源供給線V2につながるスイッチを、オンもしくはオフさせる信号を示す。
本実施例では、T1及びT2は、「Hi」の信号が入力されている場合、その電源供給
線につながるスイッチはオンの状態となり、「Lo」の信号が入力されている場合は、そ
のスイッチは、オフの状態となる場合を示している。
線につながるスイッチはオンの状態となり、「Lo」の信号が入力されている場合は、そ
のスイッチは、オフの状態となる場合を示している。
画素において、駆動用TFT9106がオンすると、検査容量9108に保持されてい
た電荷は電源供給線V1〜Vxに放電される。この放電によって、電源供給線V1〜Vx
には電圧が発生する。
た電荷は電源供給線V1〜Vxに放電される。この放電によって、電源供給線V1〜Vx
には電圧が発生する。
この電圧は以下のように与えられる。画素部の電源供給線の配線容量値をC1、電源供
給線引出し端子9215までの容量をC2、検査容量をC3とすると、発生する電圧Vou
tは、式1で与えられる。
給線引出し端子9215までの容量をC2、検査容量をC3とすると、発生する電圧Vou
tは、式1で与えられる。
(式1) Vout=10 x C3/(C1+C2+C3)
C1=C2=10pF、C3=0.1pFとすると、電圧Voutは0.05Vとなる。
この電圧Voutは小さいので、電源線供給線引出し端子9215に、外付けの検査回路
9216をつけて検出を行う。
9216をつけて検出を行う。
画素TFTに不良があれば、充電または放電ができないので、電圧Voutは発生しない
。
。
図3に示すタイミングチャートにおいて、電源供給線引き出し端子9215には、電圧
Voutが画素を選択するごとに発生するが、画素TFTに異常があれば9301のように
電圧信号の欠落がみられ、欠陥が発生しているのがわかる。
Voutが画素を選択するごとに発生するが、画素TFTに異常があれば9301のように
電圧信号の欠落がみられ、欠陥が発生しているのがわかる。
このようにして、すべての画素を順次選択することによって、画素TFTの検査が可能
となる。
となる。
以下に、本発明の実施例を説明する。
本実施例では、本発明の表示装置の検査用駆動回路の構成例を示す。
図4において、検査用駆動回路は、DFF9401から構成されるシフトレジスタ94
02と、NAND回路9403、9404、9405、インバータより構成されるバッフ
ァ回路9406、9407、9408より成り立っている。
02と、NAND回路9403、9404、9405、インバータより構成されるバッフ
ァ回路9406、9407、9408より成り立っている。
なお、図4では、検査用駆動回路の3本の電源供給線に対応する部分のみを示している
が、実際には、検査用駆動回路は、全ての電源供給線に対応する回路によって構成されて
る。
が、実際には、検査用駆動回路は、全ての電源供給線に対応する回路によって構成されて
る。
バッファ回路路9406、9407、9408の出力9409、9410、9411に
は、図2に示したスイッチ9205、9206等が接続され、画素部電源供給線と、電源
供給線引出し端子を接続する。
は、図2に示したスイッチ9205、9206等が接続され、画素部電源供給線と、電源
供給線引出し端子を接続する。
シフトレジスタ9402の入力端子9400に「Hi」の電圧を入力すれば、端子94
09〜9411の出力は全て「Hi」に対応する信号になり、すべてのスイッチをオンと
することができる。
09〜9411の出力は全て「Hi」に対応する信号になり、すべてのスイッチをオンと
することができる。
本実施例では、本発明の表示装置の外付け検査回路の構成例を示す。
図5において、外付け検査回路9501は、接続を切り換えるスイッチ9502、信号
検出を行うアンプ9505、電圧源9503、抵抗9504等によって、構成されている
。
検出を行うアンプ9505、電圧源9503、抵抗9504等によって、構成されている
。
スイッチ9502において、「Hi」の信号に対応する電圧、10Vの電圧源9503
もしくは、「Lo」の信号に対応する電圧、0Vの電圧源9508もしくは、信号を増幅
するアンプ9505との、3つの入力端子の接続が選択される。
もしくは、「Lo」の信号に対応する電圧、0Vの電圧源9508もしくは、信号を増幅
するアンプ9505との、3つの入力端子の接続が選択される。
なお、電圧源9503、9508の電圧は、上記の値に限定されず、必要に応じて最適
化を図ることは可能である。
化を図ることは可能である。
検査を行う表示装置の基板の電源供給線引き出し端子を、入力9507に接続し、実施
の形態において示した手順によって検査を行う。検査の判断はアンプ9505の出力95
06をモニターして行う。
の形態において示した手順によって検査を行う。検査の判断はアンプ9505の出力95
06をモニターして行う。
ここで用いるアンプ9505は、10倍から1000倍程度の電圧利得を持ち、電源供
給線に発生する検出信号を増幅して検知する。アンプの利得は100倍程度が望ましい。
給線に発生する検出信号を増幅して検知する。アンプの利得は100倍程度が望ましい。
本実施例は、実施例1と自由に組み合わせて実施することが可能である。
本発明において、駆動用TFT108はnチャネル型TFTでもpチャネル型TFTで
もどちらでも用いることが可能であるが、EL素子110の陽極が画素電極で陰極が対向
電極の場合、駆動用TFT108はpチャネル型TFTであることが好ましい。また逆に
EL素子110の陽極が対向電極で陰極が画素電極の場合、駆動用TFT108はnチャ
ネル型TFTであることが好ましい。
もどちらでも用いることが可能であるが、EL素子110の陽極が画素電極で陰極が対向
電極の場合、駆動用TFT108はpチャネル型TFTであることが好ましい。また逆に
EL素子110の陽極が対向電極で陰極が画素電極の場合、駆動用TFT108はnチャ
ネル型TFTであることが好ましい。
本実施例は、実施例1〜実施例2のいずれともと自由に組み合わせて実施することが可
能である。
能である。
本実施例では、本発明を用いてEL表示装置を作製した例について説明する。
図6(A)は本発明を用いたEL表示装置の上面図である。図6(A)において、40
10は基板、4011は画素部、4012はソース信号線駆動回路、4013a、401
3bはゲート信号線駆動回路であり、それぞれの駆動回路は配線4014a、4014b
、4015、4016を経てFPC4017に至り、外部機器へと接続される。
10は基板、4011は画素部、4012はソース信号線駆動回路、4013a、401
3bはゲート信号線駆動回路であり、それぞれの駆動回路は配線4014a、4014b
、4015、4016を経てFPC4017に至り、外部機器へと接続される。
なお、本実施例では、検査用駆動回路をソース信号線駆動回路4012で兼用している
例を示すが、本発明はこの構成に限定されない。検査用駆動回路をソース信号線駆動回路
とは別に設けても良い。
例を示すが、本発明はこの構成に限定されない。検査用駆動回路をソース信号線駆動回路
とは別に設けても良い。
ここで、少なくとも画素部、好ましくは駆動回路及び画素部を囲むようにしてカバー材
6000、シーリング材(ハウジング材ともいう)7000、密封材(第2のシーリング
材)7001が設けられている。
6000、シーリング材(ハウジング材ともいう)7000、密封材(第2のシーリング
材)7001が設けられている。
また、図6(B)は、本実施例のEL表示装置の断面構造であり、基板4010、下地
膜4021の上に駆動回路用TFT(但し、ここではnチャネル型TFTとpチャネル型
TFTを組み合わせたCMOS回路を図示している。)4022及び画素部用TFT40
23(但し、ここではEL素子への電流を制御する駆動用TFTだけ図示している。)が
形成されている。これらのTFTは公知の構造(トップゲート構造またはボトムゲート構
造)を用いれば良い。
膜4021の上に駆動回路用TFT(但し、ここではnチャネル型TFTとpチャネル型
TFTを組み合わせたCMOS回路を図示している。)4022及び画素部用TFT40
23(但し、ここではEL素子への電流を制御する駆動用TFTだけ図示している。)が
形成されている。これらのTFTは公知の構造(トップゲート構造またはボトムゲート構
造)を用いれば良い。
なお、図6(B)においては、駆動用TFTのドレイン電極に接続された検査容量等も
図示していない。
図示していない。
駆動回路用TFT4022、画素部用TFT4023が完成したら、樹脂材料でなる層
間絶縁膜(平坦化膜)4026の上に画素部用TFT4023のドレインと電気的に接続
する透明導電膜でなる画素電極4027を形成する。透明導電膜としては、酸化インジウ
ムと酸化スズとの化合物(ITOと呼ばれる)または酸化インジウムと酸化亜鉛との化合
物を用いることができる。そして、画素電極4027を形成したら、絶縁膜4028を形
成し、画素電極4027上に開口部を形成する。
間絶縁膜(平坦化膜)4026の上に画素部用TFT4023のドレインと電気的に接続
する透明導電膜でなる画素電極4027を形成する。透明導電膜としては、酸化インジウ
ムと酸化スズとの化合物(ITOと呼ばれる)または酸化インジウムと酸化亜鉛との化合
物を用いることができる。そして、画素電極4027を形成したら、絶縁膜4028を形
成し、画素電極4027上に開口部を形成する。
次に、EL層4029を形成する。EL層4029は公知のEL材料(正孔注入層、正
孔輸送層、発光層、電子輸送層または電子注入層)を自由に組み合わせて積層構造または
単層構造とすれば良い。どのような構造とするかは公知の技術を用いれば良い。また、E
L材料には、低分子系材料と高分子系(ポリマー系)材料がある。低分子系材料を用いる
場合は蒸着法を用いるが、高分子系材料を用いる場合には、スピンコート法、印刷法また
はインクジェット法等の簡易な方法を用いることが可能である。
孔輸送層、発光層、電子輸送層または電子注入層)を自由に組み合わせて積層構造または
単層構造とすれば良い。どのような構造とするかは公知の技術を用いれば良い。また、E
L材料には、低分子系材料と高分子系(ポリマー系)材料がある。低分子系材料を用いる
場合は蒸着法を用いるが、高分子系材料を用いる場合には、スピンコート法、印刷法また
はインクジェット法等の簡易な方法を用いることが可能である。
本実施例では、シャドーマスクを用いて蒸着法によりEL層4029を形成する。シャ
ドーマスクを用いて画素毎に波長の異なる発光が可能な発光層(赤色発光層、緑色発光層
及び青色発光層)を形成することで、カラー表示が可能となる。その他にも、色変換層(
CCM)とカラーフィルターを組み合わせた方式、白色発光層とカラーフィルターを組み
合わせた方式があるがいずれの方法を用いても良い。勿論、単色発光のEL表示装置とす
ることもできる。
ドーマスクを用いて画素毎に波長の異なる発光が可能な発光層(赤色発光層、緑色発光層
及び青色発光層)を形成することで、カラー表示が可能となる。その他にも、色変換層(
CCM)とカラーフィルターを組み合わせた方式、白色発光層とカラーフィルターを組み
合わせた方式があるがいずれの方法を用いても良い。勿論、単色発光のEL表示装置とす
ることもできる。
EL層4029を形成したら、その上に陰極4030を形成する。陰極4030とEL
層4029の界面に存在する水分や酸素は極力排除しておくことが望ましい。従って、真
空中でEL層4029と陰極4030を連続成膜するか、EL層4029を不活性雰囲気
で形成し、大気解放しないで陰極4030を形成するといった工夫が必要である。本実施
例ではマルチチャンバー方式(クラスターツール方式)の成膜装置を用いることで上述の
ような成膜を可能とする。
層4029の界面に存在する水分や酸素は極力排除しておくことが望ましい。従って、真
空中でEL層4029と陰極4030を連続成膜するか、EL層4029を不活性雰囲気
で形成し、大気解放しないで陰極4030を形成するといった工夫が必要である。本実施
例ではマルチチャンバー方式(クラスターツール方式)の成膜装置を用いることで上述の
ような成膜を可能とする。
なお、本実施例では陰極4030として、LiF(フッ化リチウム)膜とAl(アルミ
ニウム)膜の積層構造を用いる。具体的にはEL層4029上に蒸着法で1nm厚のLi
F(フッ化リチウム)膜を形成し、その上に300nm厚のアルミニウム膜を形成する。
勿論、公知の陰極材料であるMgAg電極を用いても良い。そして陰極4030は403
1で示される領域において配線4016に接続される。配線4016は陰極4030に所
定の電圧を与えるための電源線であり、導電性ペースト材料4032を介してFPC40
17に接続される。
ニウム)膜の積層構造を用いる。具体的にはEL層4029上に蒸着法で1nm厚のLi
F(フッ化リチウム)膜を形成し、その上に300nm厚のアルミニウム膜を形成する。
勿論、公知の陰極材料であるMgAg電極を用いても良い。そして陰極4030は403
1で示される領域において配線4016に接続される。配線4016は陰極4030に所
定の電圧を与えるための電源線であり、導電性ペースト材料4032を介してFPC40
17に接続される。
4031に示された領域において陰極4030と配線4016とを電気的に接続するた
めに、層間絶縁膜4026及び絶縁膜4028に、コンタクトホールを形成する必要があ
る。これらは層間絶縁膜4026のエッチング時(画素電極用コンタクトホールの形成時
)や絶縁膜4028のエッチング時(EL層形成前の開口部の形成時)に形成しておけば
良い。また、絶縁膜4028をエッチングする際に、層間絶縁膜4026まで一括でエッ
チングしても良い。この場合、層間絶縁膜4026と絶縁膜4028が同じ樹脂材料であ
れば、コンタクトホールの形状を良好なものとすることができる。
めに、層間絶縁膜4026及び絶縁膜4028に、コンタクトホールを形成する必要があ
る。これらは層間絶縁膜4026のエッチング時(画素電極用コンタクトホールの形成時
)や絶縁膜4028のエッチング時(EL層形成前の開口部の形成時)に形成しておけば
良い。また、絶縁膜4028をエッチングする際に、層間絶縁膜4026まで一括でエッ
チングしても良い。この場合、層間絶縁膜4026と絶縁膜4028が同じ樹脂材料であ
れば、コンタクトホールの形状を良好なものとすることができる。
このようにして形成されたEL素子の表面を覆って、パッシベーション膜6003、充
填材6004、カバー材6000が形成される。
填材6004、カバー材6000が形成される。
さらに、EL素子部を囲むようにして、カバー材6000と基板4010の内側にシー
リング材7000が設けられ、さらにシーリング材7000の外側には密封材(第2のシ
ーリング材)7001が形成される。
リング材7000が設けられ、さらにシーリング材7000の外側には密封材(第2のシ
ーリング材)7001が形成される。
このとき、この充填材6004は、カバー材6000を接着するための接着剤としても
機能する。充填材6004としては、PVC(ポリビニルクロライド)、エポキシ樹脂、
シリコーン樹脂、PVB(ポリビニルブチラル)またはEVA(エチレンビニルアセテー
ト)を用いることができる。この充填材6004の内部に乾燥剤を設けておくと、吸湿効
果を保持できるので好ましい。
機能する。充填材6004としては、PVC(ポリビニルクロライド)、エポキシ樹脂、
シリコーン樹脂、PVB(ポリビニルブチラル)またはEVA(エチレンビニルアセテー
ト)を用いることができる。この充填材6004の内部に乾燥剤を設けておくと、吸湿効
果を保持できるので好ましい。
また、充填材6004の中にスペーサーを含有させてもよい。このとき、スペーサーを
BaOなどからなる粒状物質とし、スペーサー自体に吸湿性をもたせてもよい。
BaOなどからなる粒状物質とし、スペーサー自体に吸湿性をもたせてもよい。
スペーサーを設けた場合、パッシベーション膜6003はスペーサー圧を緩和すること
ができる。また、パッシベーション膜6003とは別に、スペーサー圧を緩和する樹脂膜
などを設けてもよい。
ができる。また、パッシベーション膜6003とは別に、スペーサー圧を緩和する樹脂膜
などを設けてもよい。
また、カバー材6000としては、ガラス板、アルミニウム板、ステンレス板、FRP
(Fiberglass−Reinforced Plastics)板、PVF(ポリ
ビニルフルオライド)フィルム、マイラーフィルム、ポリエステルフィルムまたはアクリ
ルフィルムを用いることができる。なお、充填材6004としてPVBやEVAを用いる
場合、数十μmのアルミニウムホイルをPVFフィルムやマイラーフィルムで挟んだ構造
のシートを用いることが好ましい。
(Fiberglass−Reinforced Plastics)板、PVF(ポリ
ビニルフルオライド)フィルム、マイラーフィルム、ポリエステルフィルムまたはアクリ
ルフィルムを用いることができる。なお、充填材6004としてPVBやEVAを用いる
場合、数十μmのアルミニウムホイルをPVFフィルムやマイラーフィルムで挟んだ構造
のシートを用いることが好ましい。
但し、EL素子からの発光方向(光の放射方向)によっては、カバー材6000が透光
性を有する必要がある。
性を有する必要がある。
また、配線4016は、シーリング材7000および密封材7001と基板4010と
の隙間を通って、FPC4017に電気的に接続される。なお、ここでは配線4016に
ついて説明したが、他の配線4014a、4014b、4015も同様にして、シーリン
グ材7000および密封材7001と基板4010との隙間を通ってFPC4017に電
気的に接続される。
の隙間を通って、FPC4017に電気的に接続される。なお、ここでは配線4016に
ついて説明したが、他の配線4014a、4014b、4015も同様にして、シーリン
グ材7000および密封材7001と基板4010との隙間を通ってFPC4017に電
気的に接続される。
なお本実施例では、充填材6004を設けてからカバー材6000を接着し、充填材6
004の側面(露呈面)を覆うようにシーリング材7000を取り付けているが、カバー
材6000及びシーリング材7000を取り付けてから、充填材6004を設けても良い
。この場合、基板4010、カバー材6000及びシーリング材7000で形成されてい
る空隙に通じる充填材の注入口を設ける。そして前記空隙を真空状態(10-2Torr以
下)にし、充填材の入っている水槽に注入口を浸してから、空隙の外の気圧を空隙の中の
気圧よりも高くして、充填材を空隙の中に充填する。
004の側面(露呈面)を覆うようにシーリング材7000を取り付けているが、カバー
材6000及びシーリング材7000を取り付けてから、充填材6004を設けても良い
。この場合、基板4010、カバー材6000及びシーリング材7000で形成されてい
る空隙に通じる充填材の注入口を設ける。そして前記空隙を真空状態(10-2Torr以
下)にし、充填材の入っている水槽に注入口を浸してから、空隙の外の気圧を空隙の中の
気圧よりも高くして、充填材を空隙の中に充填する。
本実施例は、実施例1〜実施例3のいずれとも自由に組み合わせて実施することが可能
である。
である。
本実施例では、駆動を、従来例において説明したアナログ階調ではなく、デジタル時間
階調にしたときの、ソース信号側駆動回路の構成について説明する。
階調にしたときの、ソース信号側駆動回路の構成について説明する。
図7に本実施例で用いられるソース信号側駆動回路の一例を回路図で示す。
なお、本発明においては、駆動方法は、アナログ階調、デジタル時間階調、デジタル面
積階調などいずれにおいても適応が可能である。また、それらの階調方式を組み合わせた
方式についても可能である。
積階調などいずれにおいても適応が可能である。また、それらの階調方式を組み合わせた
方式についても可能である。
図7において、シフトレジスタ801、ラッチ(A)(802)、ラッチ(B)(80
3)、が図に示すように配置されている。
3)、が図に示すように配置されている。
なお本実施例では、1組のラッチ(A)(802)と1組のラッチ(B)(803)が
、4本のソース信号線S_a〜S_dへの出力に対応している。そのため、外部より入力
されるデジタル映像信号の入力線VDは4本あり、ソース信号線S_a〜S_dに入力さ
れる信号がそれぞれ入力されている。
、4本のソース信号線S_a〜S_dへの出力に対応している。そのため、外部より入力
されるデジタル映像信号の入力線VDは4本あり、ソース信号線S_a〜S_dに入力さ
れる信号がそれぞれ入力されている。
また本実施例では、信号が有する電圧の振幅の幅を変えるレベルシフタを設けなかった
が、設計者が適宜設けるようにしても良い。
が、設計者が適宜設けるようにしても良い。
クロック信号CLK、CLKの極性が反転したクロック信号CLKB、スタートパルス
信号SP、駆動方向切り替え信号SL/Rはそれぞれ図に示した配線からシフトレジスタ
801に入力される。また外部から入力されるデジタルデータ信号VDは図に示した配線
からラッチ(A)(802)に入力される。ラッチ信号S_LAT、S_LATの極性が
反転した信号S_LATbはそれぞれ図に示した配線からラッチ(B)(803)に入力
される。
信号SP、駆動方向切り替え信号SL/Rはそれぞれ図に示した配線からシフトレジスタ
801に入力される。また外部から入力されるデジタルデータ信号VDは図に示した配線
からラッチ(A)(802)に入力される。ラッチ信号S_LAT、S_LATの極性が
反転した信号S_LATbはそれぞれ図に示した配線からラッチ(B)(803)に入力
される。
ラッチ(A)(802)の詳しい構成について、ソース信号線S_aに対応するラッチ
(A)(802)の一部804を例にとって説明する。ラッチ(A)(802)の一部8
04は、2つのクロックドインバータと、2つのインバータとを有している。
(A)(802)の一部804を例にとって説明する。ラッチ(A)(802)の一部8
04は、2つのクロックドインバータと、2つのインバータとを有している。
ラッチ(A)(802)の一部804の上面図を図8に示す。831a、831bはそ
れぞれ、ラッチ(A)(802)の一部804が有するインバータの1つを形成するTF
Tの活性層であり、836は該インバータの1つを形成するTFTの共通のゲート電極で
ある。また832a、832bはそれぞれ、ラッチ(A)(802)の一部804が有す
るもう1つのインバータを形成するTFTの活性層であり、837a、837bは活性層
832a、832b上にそれぞれ設けられたゲート電極である。なおゲート電極837a
、837bは電気的に接続されている。
れぞれ、ラッチ(A)(802)の一部804が有するインバータの1つを形成するTF
Tの活性層であり、836は該インバータの1つを形成するTFTの共通のゲート電極で
ある。また832a、832bはそれぞれ、ラッチ(A)(802)の一部804が有す
るもう1つのインバータを形成するTFTの活性層であり、837a、837bは活性層
832a、832b上にそれぞれ設けられたゲート電極である。なおゲート電極837a
、837bは電気的に接続されている。
833a、833bはそれぞれ、ラッチ(A)(802)の一部804が有するクロッ
クドインバータの1つを形成するTFTの活性層である。活性層833a上にはゲート電
極838a、838bが設けられており、ダブルゲート構造となっている。また活性層8
33b上にはゲート電極838b、839が設けられており、ダブルゲート構造となって
いる。
クドインバータの1つを形成するTFTの活性層である。活性層833a上にはゲート電
極838a、838bが設けられており、ダブルゲート構造となっている。また活性層8
33b上にはゲート電極838b、839が設けられており、ダブルゲート構造となって
いる。
834a、834bはそれぞれ、ラッチ(A)(802)の一部804が有するもう1
つのクロックドインバータを形成するTFTの活性層である。活性層834a上にはゲー
ト電極839、840が設けられており、ダブルゲート構造となっている。また活性層8
34b上にはゲート電極840、841が設けられており、ダブルゲート構造となってい
る。
つのクロックドインバータを形成するTFTの活性層である。活性層834a上にはゲー
ト電極839、840が設けられており、ダブルゲート構造となっている。また活性層8
34b上にはゲート電極840、841が設けられており、ダブルゲート構造となってい
る。
本実施例は、実施例1〜実施例4のいずれとも自由に組み合わせて実施することが可能
である。
である。
本発明のEL表示装置において、EL素子が有するEL層に用いられる材料は、有機E
L材料に限定されず、無機EL材料を用いても実施できる。但し、現在の無機EL材料は
非常に駆動電圧が高いため、そのような駆動電圧に耐えうる耐圧特性を有するTFTを用
いなければならない。
L材料に限定されず、無機EL材料を用いても実施できる。但し、現在の無機EL材料は
非常に駆動電圧が高いため、そのような駆動電圧に耐えうる耐圧特性を有するTFTを用
いなければならない。
または、将来的にさらに駆動電圧の低い無機EL材料が開発されれば、本発明に適用す
ることは可能である。
ることは可能である。
本実施例は、実施例1〜実施例5のいずれとも自由に組み合わせて実施することが可能
である。
である。
本発明を用いて形成された電子ディスプレイ、特にEL表示装置は様々な電子機器に用
いることができる。以下に、本発明を用いて形成された電子ディスプレイを表示媒体とし
て組み込んだ電子機器について説明する。
いることができる。以下に、本発明を用いて形成された電子ディスプレイを表示媒体とし
て組み込んだ電子機器について説明する。
その様な電子機器としては、ビデオカメラ、テレビ受像機、デジタルカメラ、ヘッドマ
ウントディスプレイ(ゴーグル型ディスプレイ)、ゲーム機、電話機、カーナビゲーショ
ン、パーソナルコンピュータ、画像再生装置、携帯情報端末(モバイルコンピュータ、携
帯電話または電子書籍等)などが挙げられる。それらの一例を図9に示す。
ウントディスプレイ(ゴーグル型ディスプレイ)、ゲーム機、電話機、カーナビゲーショ
ン、パーソナルコンピュータ、画像再生装置、携帯情報端末(モバイルコンピュータ、携
帯電話または電子書籍等)などが挙げられる。それらの一例を図9に示す。
図9(A)はパーソナルコンピュータであり、本体2001、筐体2002、表示部2
003、キーボード2004等を含む。本発明のEL表示装置はパーソナルコンピュータ
の表示部2003に用いることができる。
003、キーボード2004等を含む。本発明のEL表示装置はパーソナルコンピュータ
の表示部2003に用いることができる。
図9(B)はビデオカメラであり、本体2101、表示部2102、音声入力部210
3、操作スイッチ2104、バッテリー2105、受像部2106等を含む。本発明のE
L表示装置はビデオカメラの表示部2102に用いることができる。
3、操作スイッチ2104、バッテリー2105、受像部2106等を含む。本発明のE
L表示装置はビデオカメラの表示部2102に用いることができる。
図9(C)はヘッドマウントディスプレイの一部(右片側)であり、本体2301、信
号ケーブル2302、頭部固定バンド2303、表示モニタ2304、光学系2305、
表示部2306等を含む。本発明のEL表示装置はヘッドマウントディスプレイの表示部
2306に用いることができる。
号ケーブル2302、頭部固定バンド2303、表示モニタ2304、光学系2305、
表示部2306等を含む。本発明のEL表示装置はヘッドマウントディスプレイの表示部
2306に用いることができる。
図9(D)は記録媒体を備えた画像再生装置(具体的にはDVD再生装置)であり、本
体2401、記録媒体(CD、LDまたはDVD等)2402、操作スイッチ2403、
表示部(a)2404、表示部(b)2405等を含む。表示部(a)は主として画像情
報を表示し、表示部(b)は主として文字情報を表示するが、本発明のEL表示装置は記
録媒体を備えた画像再生装置の表示部(a)、(b)に用いることができる。なお、記録
媒体を備えた画像再生装置としては、CD再生装置、ゲーム機器などに本発明を用いるこ
とができる。
体2401、記録媒体(CD、LDまたはDVD等)2402、操作スイッチ2403、
表示部(a)2404、表示部(b)2405等を含む。表示部(a)は主として画像情
報を表示し、表示部(b)は主として文字情報を表示するが、本発明のEL表示装置は記
録媒体を備えた画像再生装置の表示部(a)、(b)に用いることができる。なお、記録
媒体を備えた画像再生装置としては、CD再生装置、ゲーム機器などに本発明を用いるこ
とができる。
図9(E)は携帯型(モバイル)コンピュータであり、本体2501、カメラ部250
2、受像部2503、操作スイッチ2504、表示部2505等を含む。本発明のEL表
示装置は携帯型(モバイル)コンピュータの表示部2505に用いることができる。
2、受像部2503、操作スイッチ2504、表示部2505等を含む。本発明のEL表
示装置は携帯型(モバイル)コンピュータの表示部2505に用いることができる。
また、将来的にEL材料の発光輝度が高くなれば、フロント型若しくはリア型のプロジ
ェクターに用いることも可能となる。
ェクターに用いることも可能となる。
本実施例の電子機器は、実施例1〜6のどのような組み合わせからなる構成を用いても
実現することができる。
実現することができる。
図12は携帯電話にEL表示装置を使用した例である。
携帯電話は、筐体A1201と筐体B1202とアンテナ1205とによって構成され
、筐体A1201の表面A1203には、表示部1200とマイク1209が形成され、
筐体B1202の表面B1204には、スピーカー1206と操作キー1207と電源ス
イッチ1208等が形成されている。
、筐体A1201の表面A1203には、表示部1200とマイク1209が形成され、
筐体B1202の表面B1204には、スピーカー1206と操作キー1207と電源ス
イッチ1208等が形成されている。
本発明のEL表示装置は、携帯電話の表示部1200に用いることができる。
なお、スピーカー1206、操作キー1207、表示部1200、マイク1209、電
源スイッチ1208は、上記配置に限らず、筐体A1201、筐体B1202のいずれの
部分にも形成することができる。
源スイッチ1208は、上記配置に限らず、筐体A1201、筐体B1202のいずれの
部分にも形成することができる。
図12では、携帯電話を、2つの筐体部分(筐体A1201及び筐体B1202)より
構成し、その一辺をちょうつがい(図示せず)にて接続している。このちょうつがいを閉
じることによって、筐体A1201の表面A1203と、筐体B1202の表面B120
4とを重ねることができる。なお、筐体A1201の表面A1203と筐体B1202の
表面B1204とを重ねることを、二つ折りにするということにする。
構成し、その一辺をちょうつがい(図示せず)にて接続している。このちょうつがいを閉
じることによって、筐体A1201の表面A1203と、筐体B1202の表面B120
4とを重ねることができる。なお、筐体A1201の表面A1203と筐体B1202の
表面B1204とを重ねることを、二つ折りにするということにする。
また、この携帯電話の例では、図13に示すような使用法が可能である。すなわち、ス
ピーカー1206とマイク1209を別の筐体部分に配置し、その表面A1203と表面
B1204との角度を変更することによって、耳1211の近くにスピーカー1206を
置き、口元1212にマイク1209を置くことが可能となる。このような構成にするこ
とによって、他人に通話中の口元1212を見られないという利点がある。また、口元1
212とマイク1209が近くになるため、雑音の影響が少なくなり、良好な通話が可能
となる、さらには、電話機内のノイズフィルタを削減できるなどの効果がある。また、操
作キー1207の数を増やせば、携帯情報端末としても使用できる。
ピーカー1206とマイク1209を別の筐体部分に配置し、その表面A1203と表面
B1204との角度を変更することによって、耳1211の近くにスピーカー1206を
置き、口元1212にマイク1209を置くことが可能となる。このような構成にするこ
とによって、他人に通話中の口元1212を見られないという利点がある。また、口元1
212とマイク1209が近くになるため、雑音の影響が少なくなり、良好な通話が可能
となる、さらには、電話機内のノイズフィルタを削減できるなどの効果がある。また、操
作キー1207の数を増やせば、携帯情報端末としても使用できる。
以上の様に、本発明の適用範囲は極めて広く、あらゆる分野の電子機器に適用すること
が可能である。また、本実施例の電子機器は実施例1〜6のどのような組み合わせからな
る構成を用いても実現することができる。
が可能である。また、本実施例の電子機器は実施例1〜6のどのような組み合わせからな
る構成を用いても実現することができる。
Claims (1)
- 複数の画素と、
複数のスイッチとを有し、
複数の前記画素は、それぞれ、第1のトランジスタ、第2のトランジスタ、EL素子及び検査容量を有し、
前記第1のトランジスタにおいて、ゲートはゲート線に電気的に接続され、ソース又はドレインの一方はソース線に電気的に接続され、ソース又はドレインの他方は前記第2のトランジスタのゲートに電気的に接続され、
前記第2のトランジスタにおいて、ソース又はドレインの一方は前記EL素子の第1の電極に電気的に接続され、ソース又はドレインの他方は電源供給線に電気的に接続され、
前記検査容量の一方は、前記第2のトランジスタのソース又はドレインの前記一方と電気的に接続され、
前記検査容量の他方は、第1の配線に電気的に接続され、
前記電源供給線は前記スイッチと電気的に接続され、
前記第2のトランジスタのソース又はドレインの前記他方は、前記電源供給線及び前記スイッチを介して、電源供給線引き出し端子と電気的に接続され、
前記第1のトランジスタまたは前記第2のトランジスタに不良があるか否かを、前記電源供給線引き出し端子に電気的に接続される外付け検査回路により検出することを特徴とするEL表示装置。
Applications Claiming Priority (2)
| Application Number | Priority Date | Filing Date | Title |
|---|---|---|---|
| JP2000140751 | 2000-05-12 | ||
| JP2000140751 | 2000-05-12 |
Related Parent Applications (1)
| Application Number | Title | Priority Date | Filing Date |
|---|---|---|---|
| JP2015037871A Division JP2015148805A (ja) | 2000-05-12 | 2015-02-27 | 表示装置 |
Publications (2)
| Publication Number | Publication Date |
|---|---|
| JP2016194712A JP2016194712A (ja) | 2016-11-17 |
| JP6154522B2 true JP6154522B2 (ja) | 2017-06-28 |
Family
ID=18647991
Family Applications (5)
| Application Number | Title | Priority Date | Filing Date |
|---|---|---|---|
| JP2011155440A Expired - Lifetime JP5298167B2 (ja) | 2000-05-12 | 2011-07-14 | El表示装置 |
| JP2012199131A Expired - Lifetime JP5514877B2 (ja) | 2000-05-12 | 2012-09-11 | El表示装置 |
| JP2013134756A Withdrawn JP2013228756A (ja) | 2000-05-12 | 2013-06-27 | 表示装置 |
| JP2015037871A Withdrawn JP2015148805A (ja) | 2000-05-12 | 2015-02-27 | 表示装置 |
| JP2016128467A Expired - Fee Related JP6154522B2 (ja) | 2000-05-12 | 2016-06-29 | El表示装置 |
Family Applications Before (4)
| Application Number | Title | Priority Date | Filing Date |
|---|---|---|---|
| JP2011155440A Expired - Lifetime JP5298167B2 (ja) | 2000-05-12 | 2011-07-14 | El表示装置 |
| JP2012199131A Expired - Lifetime JP5514877B2 (ja) | 2000-05-12 | 2012-09-11 | El表示装置 |
| JP2013134756A Withdrawn JP2013228756A (ja) | 2000-05-12 | 2013-06-27 | 表示装置 |
| JP2015037871A Withdrawn JP2015148805A (ja) | 2000-05-12 | 2015-02-27 | 表示装置 |
Country Status (2)
| Country | Link |
|---|---|
| US (4) | US6762735B2 (ja) |
| JP (5) | JP5298167B2 (ja) |
Families Citing this family (45)
| Publication number | Priority date | Publication date | Assignee | Title |
|---|---|---|---|---|
| TW538246B (en) * | 2000-06-05 | 2003-06-21 | Semiconductor Energy Lab | Display panel, display panel inspection method, and display panel manufacturing method |
| KR20030038522A (ko) * | 2001-11-09 | 2003-05-16 | 산요 덴키 가부시키가이샤 | 광학 소자의 휘도 데이터를 초기화하는 기능을 갖는 표시장치 |
| US7483001B2 (en) * | 2001-11-21 | 2009-01-27 | Seiko Epson Corporation | Active matrix substrate, electro-optical device, and electronic device |
| JP2003186437A (ja) * | 2001-12-18 | 2003-07-04 | Sanyo Electric Co Ltd | 表示装置 |
| JP2003255899A (ja) * | 2001-12-28 | 2003-09-10 | Sanyo Electric Co Ltd | 表示装置 |
| JP3671012B2 (ja) * | 2002-03-07 | 2005-07-13 | 三洋電機株式会社 | 表示装置 |
| JP4112300B2 (ja) * | 2002-07-26 | 2008-07-02 | 株式会社半導体エネルギー研究所 | 電気的検査方法及び半導体表示装置の作製方法 |
| JP4211368B2 (ja) * | 2002-11-25 | 2009-01-21 | 沖電気工業株式会社 | 表示駆動回路の試験方法 |
| US7053649B1 (en) * | 2002-12-06 | 2006-05-30 | Semiconductor Energy Laboratory Co., Ltd. | Image display device and method of testing the same |
| US7265572B2 (en) * | 2002-12-06 | 2007-09-04 | Semicondcutor Energy Laboratory Co., Ltd. | Image display device and method of testing the same |
| JP2004294457A (ja) * | 2002-12-16 | 2004-10-21 | Agilent Technologies Japan Ltd | アクティブマトリクス型の表示装置およびその検査方法 |
| US7205986B2 (en) * | 2002-12-18 | 2007-04-17 | Semiconductor Energy Laboratory Co., Ltd. | Image display device and testing method of the same |
| JP4624109B2 (ja) * | 2003-03-25 | 2011-02-02 | 株式会社半導体エネルギー研究所 | 半導体装置の検査回路 |
| TWI223713B (en) * | 2003-03-31 | 2004-11-11 | Toppoly Optoelectronics Corp | Method and system for testing driver circuits of AMOLED |
| WO2005083452A1 (ja) * | 2004-02-27 | 2005-09-09 | Toshiba Matsushita Display Technology Co., Ltd. | アレイ基板の検査方法およびアレイ基板の製造方法 |
| US20050205880A1 (en) * | 2004-03-19 | 2005-09-22 | Aya Anzai | Display device and electronic appliance |
| TW200540773A (en) * | 2004-03-24 | 2005-12-16 | Rohm Co Ltd | Organic EL panel driving circuit, organic EL display device and inspection device for organic el panel driving circuit |
| WO2005114630A1 (en) * | 2004-05-21 | 2005-12-01 | Semiconductor Energy Laboratory Co., Ltd. | Display device and electronic device |
| US7038484B2 (en) * | 2004-08-06 | 2006-05-02 | Toshiba Matsushita Display Technology Co., Ltd. | Display device |
| US7518602B2 (en) * | 2004-12-06 | 2009-04-14 | Semiconductor Energy Laboratory Co., Ltd. | Test circuit and display device having the same |
| JP4600147B2 (ja) * | 2005-05-20 | 2010-12-15 | エプソンイメージングデバイス株式会社 | 検査回路、電気光学装置および電子機器 |
| KR100665943B1 (ko) * | 2005-06-30 | 2007-01-09 | 엘지.필립스 엘시디 주식회사 | 유기전계 발광 디스플레이 장치 및 구동방법 |
| KR100636502B1 (ko) * | 2005-08-31 | 2006-10-18 | 삼성에스디아이 주식회사 | 원장단위 검사가 가능한 유기 전계발광표시장치 및 그검사방법 |
| US20070123133A1 (en) * | 2005-11-30 | 2007-05-31 | Eastman Kodak Company | OLED devices with color filter array units |
| KR101359362B1 (ko) | 2005-12-02 | 2014-02-07 | 가부시키가이샤 한도오따이 에네루기 켄큐쇼 | 반도체 장치, 디스플레이 장치, 및 전자 장치 |
| KR100754140B1 (ko) * | 2005-12-21 | 2007-08-31 | 삼성에스디아이 주식회사 | 원장단위 검사가 가능한 유기 발광 표시장치 및 모기판과그 검사방법 |
| TWI318392B (en) * | 2006-01-13 | 2009-12-11 | Ritdisplay Corp | Organic light emitting display and driving device thereof |
| KR101142993B1 (ko) * | 2006-02-20 | 2012-05-08 | 삼성전자주식회사 | 표시 장치 및 그의 감지부 검사 방법 |
| US7863612B2 (en) * | 2006-07-21 | 2011-01-04 | Semiconductor Energy Laboratory Co., Ltd. | Display device and semiconductor device |
| KR100793558B1 (ko) * | 2006-09-18 | 2008-01-14 | 삼성에스디아이 주식회사 | 유기전계발광 표시장치 및 그의 모기판과 유기전계발광표시장치의 제조방법 |
| US7524226B2 (en) * | 2006-10-10 | 2009-04-28 | Eastman Kodak Company | OLED display device with adjusted filter array |
| KR101076446B1 (ko) * | 2007-04-13 | 2011-10-25 | 엘지디스플레이 주식회사 | 박막 트랜지스터 기판 및 그를 구비하는 평판 표시장치 |
| JP2009116206A (ja) * | 2007-11-09 | 2009-05-28 | Sony Corp | El表示パネル及び電子機器 |
| JP5428299B2 (ja) * | 2008-03-18 | 2014-02-26 | セイコーエプソン株式会社 | 電気光学装置及び電子機器 |
| KR100970397B1 (ko) * | 2008-12-17 | 2010-07-15 | 삼성모바일디스플레이주식회사 | 유기 발광 장치 및 이의 제조 방법 |
| BRPI1011007A2 (pt) * | 2009-06-09 | 2016-08-09 | Sharp Kk | dispositivo eletrônico |
| US8259095B2 (en) * | 2009-08-20 | 2012-09-04 | Global Oled Technology Llc | Optically testing chiplets in display device |
| EP2387021A1 (en) | 2010-05-12 | 2011-11-16 | Dialog Semiconductor GmbH | Driver chip based oled module connectivity test |
| WO2014119487A1 (ja) | 2013-02-01 | 2014-08-07 | 富士フイルム株式会社 | 光学フィルム及びその製造方法、偏光板並びに液晶表示装置 |
| CN104809970B (zh) | 2015-05-14 | 2017-11-28 | 京东方科技集团股份有限公司 | 用于检测显示面板的方法 |
| CN109427287B (zh) | 2017-08-29 | 2020-12-22 | 昆山国显光电有限公司 | 适用于高像素密度的像素驱动电路、像素结构和制作方法 |
| CN108182895B (zh) * | 2017-12-12 | 2020-06-30 | 武汉华星光电技术有限公司 | 一种用于检测显示面板中像素电位的电路及方法、显示面板 |
| TWI688938B (zh) | 2018-05-22 | 2020-03-21 | 元太科技工業股份有限公司 | 可抑制電磁干擾的顯示裝置及顯示驅動電路 |
| CN111369936A (zh) * | 2020-04-10 | 2020-07-03 | 深圳市华星光电半导体显示技术有限公司 | 发光驱动电路及其驱动方法、显示面板 |
| CN113066845B (zh) * | 2021-03-24 | 2024-07-26 | 京东方科技集团股份有限公司 | 一种阵列基板及其测试方法、制作方法及显示装置 |
Family Cites Families (34)
| Publication number | Priority date | Publication date | Assignee | Title |
|---|---|---|---|---|
| JPS63246782A (ja) | 1987-04-01 | 1988-10-13 | 松下電器産業株式会社 | 液晶表示装置の欠陥検出方法 |
| JPH0272392A (ja) * | 1988-09-07 | 1990-03-12 | Hitachi Ltd | アクティブマトリクス型表示装置の検査及び修正方法 |
| JP2728748B2 (ja) | 1989-10-30 | 1998-03-18 | 松下電子工業株式会社 | 画像表示装置およびその検査方法 |
| US5179345A (en) * | 1989-12-13 | 1993-01-12 | International Business Machines Corporation | Method and apparatus for analog testing |
| US5184082A (en) * | 1991-09-18 | 1993-02-02 | Honeywell Inc. | Apparatus and method for testing an active matrix pixel display |
| JP2758103B2 (ja) * | 1992-04-08 | 1998-05-28 | シャープ株式会社 | アクティブマトリクス基板及びその製造方法 |
| JP3535878B2 (ja) * | 1992-04-30 | 2004-06-07 | セイコーエプソン株式会社 | アクティブマトリクスパネル |
| US5428300A (en) * | 1993-04-26 | 1995-06-27 | Telenix Co., Ltd. | Method and apparatus for testing TFT-LCD |
| JP2672260B2 (ja) * | 1994-06-07 | 1997-11-05 | トーケン工業株式会社 | Tft−lcdの検査方法 |
| JP3715996B2 (ja) * | 1994-07-29 | 2005-11-16 | 株式会社日立製作所 | 液晶表示装置 |
| JP2889132B2 (ja) * | 1994-10-12 | 1999-05-10 | 株式会社フロンテック | 薄膜トランジスタの検査装置 |
| US5684365A (en) | 1994-12-14 | 1997-11-04 | Eastman Kodak Company | TFT-el display panel using organic electroluminescent media |
| US5640067A (en) * | 1995-03-24 | 1997-06-17 | Tdk Corporation | Thin film transistor, organic electroluminescence display device and manufacturing method of the same |
| TW329002B (en) * | 1996-06-05 | 1998-04-01 | Zenshin Test Co | Apparatus and method for inspecting a LCD substrate |
| JPH1092201A (ja) | 1996-09-17 | 1998-04-10 | Toshiba Corp | 発光素子、発光素子駆動方法および発光素子アレイ |
| TW441136B (en) * | 1997-01-28 | 2001-06-16 | Casio Computer Co Ltd | An electroluminescent display device and a driving method thereof |
| JP3413043B2 (ja) * | 1997-02-13 | 2003-06-03 | 株式会社東芝 | 液晶表示装置 |
| JP3541625B2 (ja) * | 1997-07-02 | 2004-07-14 | セイコーエプソン株式会社 | 表示装置及びアクティブマトリクス基板 |
| JP3580092B2 (ja) * | 1997-08-21 | 2004-10-20 | セイコーエプソン株式会社 | アクティブマトリクス型表示装置 |
| US6111424A (en) * | 1997-09-04 | 2000-08-29 | Lucent Technologies Inc. | Testing method and apparatus for flat panel displays using infrared imaging |
| US6265889B1 (en) * | 1997-09-30 | 2001-07-24 | Kabushiki Kaisha Toshiba | Semiconductor test circuit and a method for testing a semiconductor liquid crystal display circuit |
| JPH11219133A (ja) | 1998-02-02 | 1999-08-10 | Tdk Corp | 画像表示装置 |
| JPH11231805A (ja) * | 1998-02-10 | 1999-08-27 | Sanyo Electric Co Ltd | 表示装置 |
| EP0993111B1 (en) * | 1998-04-24 | 2008-08-20 | Matsushita Electric Industrial Co., Ltd. | Amplifier |
| US6417825B1 (en) * | 1998-09-29 | 2002-07-09 | Sarnoff Corporation | Analog active matrix emissive display |
| JP2000227771A (ja) * | 1998-12-01 | 2000-08-15 | Sanyo Electric Co Ltd | カラーel表示装置 |
| TW540251B (en) * | 1999-09-24 | 2003-07-01 | Semiconductor Energy Lab | EL display device and method for driving the same |
| US6528950B2 (en) * | 2000-04-06 | 2003-03-04 | Semiconductor Energy Laboratory Co., Ltd. | Electronic device and driving method |
| JP5041627B2 (ja) * | 2000-05-12 | 2012-10-03 | 株式会社半導体エネルギー研究所 | El表示装置、電子機器 |
| JP4276373B2 (ja) * | 2000-12-07 | 2009-06-10 | セイコーエプソン株式会社 | 電気光学装置の検査用回路、電気光学装置および電子機器 |
| US7071932B2 (en) * | 2001-11-20 | 2006-07-04 | Toppoly Optoelectronics Corporation | Data voltage current drive amoled pixel circuit |
| JP4274734B2 (ja) * | 2002-03-15 | 2009-06-10 | 三洋電機株式会社 | トランジスタ回路 |
| TWI220694B (en) * | 2003-04-23 | 2004-09-01 | Toppoly Optoelectronics Corp | Pixel measuring method |
| US7429970B2 (en) * | 2005-01-11 | 2008-09-30 | Tpo Displays Corp. | Method for testing drive circuit, testing device and display device |
-
2001
- 2001-05-11 US US09/852,745 patent/US6762735B2/en not_active Expired - Lifetime
-
2004
- 2004-06-15 US US10/866,681 patent/US7348943B2/en not_active Expired - Fee Related
-
2008
- 2008-02-19 US US12/033,101 patent/US7773063B2/en not_active Expired - Fee Related
-
2010
- 2010-08-02 US US12/848,245 patent/US8111251B2/en not_active Expired - Fee Related
-
2011
- 2011-07-14 JP JP2011155440A patent/JP5298167B2/ja not_active Expired - Lifetime
-
2012
- 2012-09-11 JP JP2012199131A patent/JP5514877B2/ja not_active Expired - Lifetime
-
2013
- 2013-06-27 JP JP2013134756A patent/JP2013228756A/ja not_active Withdrawn
-
2015
- 2015-02-27 JP JP2015037871A patent/JP2015148805A/ja not_active Withdrawn
-
2016
- 2016-06-29 JP JP2016128467A patent/JP6154522B2/ja not_active Expired - Fee Related
Also Published As
| Publication number | Publication date |
|---|---|
| JP2011215638A (ja) | 2011-10-27 |
| US20040239598A1 (en) | 2004-12-02 |
| JP2015148805A (ja) | 2015-08-20 |
| JP5514877B2 (ja) | 2014-06-04 |
| JP2016194712A (ja) | 2016-11-17 |
| US20080142805A1 (en) | 2008-06-19 |
| US7773063B2 (en) | 2010-08-10 |
| US7348943B2 (en) | 2008-03-25 |
| JP2013029847A (ja) | 2013-02-07 |
| US20010040565A1 (en) | 2001-11-15 |
| JP2013228756A (ja) | 2013-11-07 |
| JP5298167B2 (ja) | 2013-09-25 |
| US8111251B2 (en) | 2012-02-07 |
| US20100295035A1 (en) | 2010-11-25 |
| US6762735B2 (en) | 2004-07-13 |
Similar Documents
| Publication | Publication Date | Title |
|---|---|---|
| JP6154522B2 (ja) | El表示装置 | |
| US10998382B2 (en) | Self-light emitting display unit and electronic device | |
| KR100813082B1 (ko) | 디스플레이 장치 | |
| JP5041627B2 (ja) | El表示装置、電子機器 | |
| JP4841754B2 (ja) | アクティブマトリクス型の発光装置、及び電子機器 | |
| US7138975B2 (en) | Display device and electric equipment using the same | |
| JP2002358048A (ja) | 表示装置及びその駆動方法 | |
| KR20010098682A (ko) | 발광 장치 | |
| JP4034122B2 (ja) | 発光装置及び素子基板 | |
| US20210202914A1 (en) | Display apparatus |
Legal Events
| Date | Code | Title | Description |
|---|---|---|---|
| TRDD | Decision of grant or rejection written | ||
| A01 | Written decision to grant a patent or to grant a registration (utility model) |
Free format text: JAPANESE INTERMEDIATE CODE: A01 Effective date: 20170530 |
|
| A61 | First payment of annual fees (during grant procedure) |
Free format text: JAPANESE INTERMEDIATE CODE: A61 Effective date: 20170601 |
|
| R150 | Certificate of patent or registration of utility model |
Ref document number: 6154522 Country of ref document: JP Free format text: JAPANESE INTERMEDIATE CODE: R150 |
|
| LAPS | Cancellation because of no payment of annual fees |