JP5484530B2 - Cpap装置用の小型で低騒音の効率的な送風機 - Google Patents

Cpap装置用の小型で低騒音の効率的な送風機 Download PDF

Info

Publication number
JP5484530B2
JP5484530B2 JP2012175625A JP2012175625A JP5484530B2 JP 5484530 B2 JP5484530 B2 JP 5484530B2 JP 2012175625 A JP2012175625 A JP 2012175625A JP 2012175625 A JP2012175625 A JP 2012175625A JP 5484530 B2 JP5484530 B2 JP 5484530B2
Authority
JP
Japan
Prior art keywords
blower
impeller
motor
air
flow
Prior art date
Legal status (The legal status is an assumption and is not a legal conclusion. Google has not performed a legal analysis and makes no representation as to the accuracy of the status listed.)
Expired - Fee Related
Application number
JP2012175625A
Other languages
English (en)
Other versions
JP2012255444A (ja
Inventor
バートン・ジョン・ケンヨン
ピーター・ジョン・スウィーニー
Original Assignee
レスメド・モーター・テクノロジーズ・インコーポレーテッド
Priority date (The priority date is an assumption and is not a legal conclusion. Google has not performed a legal analysis and makes no representation as to the accuracy of the date listed.)
Filing date
Publication date
Family has litigation
First worldwide family litigation filed litigation Critical https://patents.darts-ip.com/?family=38722880&utm_source=google_patent&utm_medium=platform_link&utm_campaign=public_patent_search&patent=JP5484530(B2) "Global patent litigation dataset” by Darts-ip is licensed under a Creative Commons Attribution 4.0 International License.
Priority claimed from AU2006902781A external-priority patent/AU2006902781A0/en
Application filed by レスメド・モーター・テクノロジーズ・インコーポレーテッド filed Critical レスメド・モーター・テクノロジーズ・インコーポレーテッド
Publication of JP2012255444A publication Critical patent/JP2012255444A/ja
Application granted granted Critical
Publication of JP5484530B2 publication Critical patent/JP5484530B2/ja
Expired - Fee Related legal-status Critical Current
Anticipated expiration legal-status Critical

Links

Images

Classifications

    • FMECHANICAL ENGINEERING; LIGHTING; HEATING; WEAPONS; BLASTING
    • F04POSITIVE - DISPLACEMENT MACHINES FOR LIQUIDS; PUMPS FOR LIQUIDS OR ELASTIC FLUIDS
    • F04DNON-POSITIVE-DISPLACEMENT PUMPS
    • F04D17/00Radial-flow pumps, e.g. centrifugal pumps; Helico-centrifugal pumps
    • F04D17/08Centrifugal pumps
    • F04D17/16Centrifugal pumps for displacing without appreciable compression
    • F04D17/164Multi-stage fans, e.g. for vacuum cleaners
    • AHUMAN NECESSITIES
    • A61MEDICAL OR VETERINARY SCIENCE; HYGIENE
    • A61MDEVICES FOR INTRODUCING MEDIA INTO, OR ONTO, THE BODY; DEVICES FOR TRANSDUCING BODY MEDIA OR FOR TAKING MEDIA FROM THE BODY; DEVICES FOR PRODUCING OR ENDING SLEEP OR STUPOR
    • A61M16/00Devices for influencing the respiratory system of patients by gas treatment, e.g. ventilators; Tracheal tubes
    • A61M16/0057Pumps therefor
    • AHUMAN NECESSITIES
    • A61MEDICAL OR VETERINARY SCIENCE; HYGIENE
    • A61MDEVICES FOR INTRODUCING MEDIA INTO, OR ONTO, THE BODY; DEVICES FOR TRANSDUCING BODY MEDIA OR FOR TAKING MEDIA FROM THE BODY; DEVICES FOR PRODUCING OR ENDING SLEEP OR STUPOR
    • A61M16/00Devices for influencing the respiratory system of patients by gas treatment, e.g. ventilators; Tracheal tubes
    • A61M16/0057Pumps therefor
    • A61M16/0066Blowers or centrifugal pumps
    • FMECHANICAL ENGINEERING; LIGHTING; HEATING; WEAPONS; BLASTING
    • F04POSITIVE - DISPLACEMENT MACHINES FOR LIQUIDS; PUMPS FOR LIQUIDS OR ELASTIC FLUIDS
    • F04DNON-POSITIVE-DISPLACEMENT PUMPS
    • F04D17/00Radial-flow pumps, e.g. centrifugal pumps; Helico-centrifugal pumps
    • F04D17/08Centrifugal pumps
    • F04D17/10Centrifugal pumps for compressing or evacuating
    • F04D17/12Multi-stage pumps
    • FMECHANICAL ENGINEERING; LIGHTING; HEATING; WEAPONS; BLASTING
    • F04POSITIVE - DISPLACEMENT MACHINES FOR LIQUIDS; PUMPS FOR LIQUIDS OR ELASTIC FLUIDS
    • F04DNON-POSITIVE-DISPLACEMENT PUMPS
    • F04D17/00Radial-flow pumps, e.g. centrifugal pumps; Helico-centrifugal pumps
    • F04D17/08Centrifugal pumps
    • F04D17/10Centrifugal pumps for compressing or evacuating
    • F04D17/12Multi-stage pumps
    • F04D17/122Multi-stage pumps the individual rotor discs being, one for each stage, on a common shaft and axially spaced, e.g. conventional centrifugal multi- stage compressors
    • FMECHANICAL ENGINEERING; LIGHTING; HEATING; WEAPONS; BLASTING
    • F04POSITIVE - DISPLACEMENT MACHINES FOR LIQUIDS; PUMPS FOR LIQUIDS OR ELASTIC FLUIDS
    • F04DNON-POSITIVE-DISPLACEMENT PUMPS
    • F04D17/00Radial-flow pumps, e.g. centrifugal pumps; Helico-centrifugal pumps
    • F04D17/08Centrifugal pumps
    • F04D17/16Centrifugal pumps for displacing without appreciable compression
    • FMECHANICAL ENGINEERING; LIGHTING; HEATING; WEAPONS; BLASTING
    • F04POSITIVE - DISPLACEMENT MACHINES FOR LIQUIDS; PUMPS FOR LIQUIDS OR ELASTIC FLUIDS
    • F04DNON-POSITIVE-DISPLACEMENT PUMPS
    • F04D17/00Radial-flow pumps, e.g. centrifugal pumps; Helico-centrifugal pumps
    • F04D17/08Centrifugal pumps
    • F04D17/16Centrifugal pumps for displacing without appreciable compression
    • F04D17/165Axial entry and discharge
    • FMECHANICAL ENGINEERING; LIGHTING; HEATING; WEAPONS; BLASTING
    • F04POSITIVE - DISPLACEMENT MACHINES FOR LIQUIDS; PUMPS FOR LIQUIDS OR ELASTIC FLUIDS
    • F04DNON-POSITIVE-DISPLACEMENT PUMPS
    • F04D25/00Pumping installations or systems
    • F04D25/02Units comprising pumps and their driving means
    • F04D25/06Units comprising pumps and their driving means the pump being electrically driven
    • FMECHANICAL ENGINEERING; LIGHTING; HEATING; WEAPONS; BLASTING
    • F04POSITIVE - DISPLACEMENT MACHINES FOR LIQUIDS; PUMPS FOR LIQUIDS OR ELASTIC FLUIDS
    • F04DNON-POSITIVE-DISPLACEMENT PUMPS
    • F04D25/00Pumping installations or systems
    • F04D25/02Units comprising pumps and their driving means
    • F04D25/06Units comprising pumps and their driving means the pump being electrically driven
    • F04D25/0606Units comprising pumps and their driving means the pump being electrically driven the electric motor being specially adapted for integration in the pump
    • FMECHANICAL ENGINEERING; LIGHTING; HEATING; WEAPONS; BLASTING
    • F04POSITIVE - DISPLACEMENT MACHINES FOR LIQUIDS; PUMPS FOR LIQUIDS OR ELASTIC FLUIDS
    • F04DNON-POSITIVE-DISPLACEMENT PUMPS
    • F04D25/00Pumping installations or systems
    • F04D25/02Units comprising pumps and their driving means
    • F04D25/08Units comprising pumps and their driving means the working fluid being air, e.g. for ventilation
    • FMECHANICAL ENGINEERING; LIGHTING; HEATING; WEAPONS; BLASTING
    • F04POSITIVE - DISPLACEMENT MACHINES FOR LIQUIDS; PUMPS FOR LIQUIDS OR ELASTIC FLUIDS
    • F04DNON-POSITIVE-DISPLACEMENT PUMPS
    • F04D29/00Details, component parts, or accessories
    • F04D29/02Selection of particular materials
    • F04D29/023Selection of particular materials especially adapted for elastic fluid pumps
    • FMECHANICAL ENGINEERING; LIGHTING; HEATING; WEAPONS; BLASTING
    • F04POSITIVE - DISPLACEMENT MACHINES FOR LIQUIDS; PUMPS FOR LIQUIDS OR ELASTIC FLUIDS
    • F04DNON-POSITIVE-DISPLACEMENT PUMPS
    • F04D29/00Details, component parts, or accessories
    • F04D29/26Rotors specially for elastic fluids
    • F04D29/28Rotors specially for elastic fluids for centrifugal or helico-centrifugal pumps for radial-flow or helico-centrifugal pumps
    • F04D29/281Rotors specially for elastic fluids for centrifugal or helico-centrifugal pumps for radial-flow or helico-centrifugal pumps for fans or blowers
    • FMECHANICAL ENGINEERING; LIGHTING; HEATING; WEAPONS; BLASTING
    • F04POSITIVE - DISPLACEMENT MACHINES FOR LIQUIDS; PUMPS FOR LIQUIDS OR ELASTIC FLUIDS
    • F04DNON-POSITIVE-DISPLACEMENT PUMPS
    • F04D29/00Details, component parts, or accessories
    • F04D29/40Casings; Connections of working fluid
    • F04D29/42Casings; Connections of working fluid for radial or helico-centrifugal pumps
    • F04D29/4206Casings; Connections of working fluid for radial or helico-centrifugal pumps especially adapted for elastic fluid pumps
    • F04D29/4226Fan casings
    • F04D29/4253Fan casings with axial entry and discharge
    • FMECHANICAL ENGINEERING; LIGHTING; HEATING; WEAPONS; BLASTING
    • F04POSITIVE - DISPLACEMENT MACHINES FOR LIQUIDS; PUMPS FOR LIQUIDS OR ELASTIC FLUIDS
    • F04DNON-POSITIVE-DISPLACEMENT PUMPS
    • F04D29/00Details, component parts, or accessories
    • F04D29/40Casings; Connections of working fluid
    • F04D29/42Casings; Connections of working fluid for radial or helico-centrifugal pumps
    • F04D29/44Fluid-guiding means, e.g. diffusers
    • F04D29/441Fluid-guiding means, e.g. diffusers especially adapted for elastic fluid pumps
    • FMECHANICAL ENGINEERING; LIGHTING; HEATING; WEAPONS; BLASTING
    • F04POSITIVE - DISPLACEMENT MACHINES FOR LIQUIDS; PUMPS FOR LIQUIDS OR ELASTIC FLUIDS
    • F04DNON-POSITIVE-DISPLACEMENT PUMPS
    • F04D29/00Details, component parts, or accessories
    • F04D29/40Casings; Connections of working fluid
    • F04D29/42Casings; Connections of working fluid for radial or helico-centrifugal pumps
    • F04D29/44Fluid-guiding means, e.g. diffusers
    • F04D29/441Fluid-guiding means, e.g. diffusers especially adapted for elastic fluid pumps
    • F04D29/444Bladed diffusers
    • FMECHANICAL ENGINEERING; LIGHTING; HEATING; WEAPONS; BLASTING
    • F04POSITIVE - DISPLACEMENT MACHINES FOR LIQUIDS; PUMPS FOR LIQUIDS OR ELASTIC FLUIDS
    • F04DNON-POSITIVE-DISPLACEMENT PUMPS
    • F04D29/00Details, component parts, or accessories
    • F04D29/58Cooling; Heating; Diminishing heat transfer
    • F04D29/5806Cooling the drive system
    • FMECHANICAL ENGINEERING; LIGHTING; HEATING; WEAPONS; BLASTING
    • F04POSITIVE - DISPLACEMENT MACHINES FOR LIQUIDS; PUMPS FOR LIQUIDS OR ELASTIC FLUIDS
    • F04DNON-POSITIVE-DISPLACEMENT PUMPS
    • F04D29/00Details, component parts, or accessories
    • F04D29/58Cooling; Heating; Diminishing heat transfer
    • F04D29/582Cooling; Heating; Diminishing heat transfer specially adapted for elastic fluid pumps
    • F04D29/584Cooling; Heating; Diminishing heat transfer specially adapted for elastic fluid pumps cooling or heating the machine
    • FMECHANICAL ENGINEERING; LIGHTING; HEATING; WEAPONS; BLASTING
    • F04POSITIVE - DISPLACEMENT MACHINES FOR LIQUIDS; PUMPS FOR LIQUIDS OR ELASTIC FLUIDS
    • F04DNON-POSITIVE-DISPLACEMENT PUMPS
    • F04D29/00Details, component parts, or accessories
    • F04D29/66Combating cavitation, whirls, noise, vibration or the like; Balancing
    • F04D29/661Combating cavitation, whirls, noise, vibration or the like; Balancing especially adapted for elastic fluid pumps
    • F04D29/667Combating cavitation, whirls, noise, vibration or the like; Balancing especially adapted for elastic fluid pumps by influencing the flow pattern, e.g. suppression of turbulence
    • AHUMAN NECESSITIES
    • A61MEDICAL OR VETERINARY SCIENCE; HYGIENE
    • A61MDEVICES FOR INTRODUCING MEDIA INTO, OR ONTO, THE BODY; DEVICES FOR TRANSDUCING BODY MEDIA OR FOR TAKING MEDIA FROM THE BODY; DEVICES FOR PRODUCING OR ENDING SLEEP OR STUPOR
    • A61M2205/00General characteristics of the apparatus
    • A61M2205/42Reducing noise

Landscapes

  • Engineering & Computer Science (AREA)
  • General Engineering & Computer Science (AREA)
  • Mechanical Engineering (AREA)
  • Health & Medical Sciences (AREA)
  • Anesthesiology (AREA)
  • General Health & Medical Sciences (AREA)
  • Emergency Medicine (AREA)
  • Pulmonology (AREA)
  • Veterinary Medicine (AREA)
  • Biomedical Technology (AREA)
  • Heart & Thoracic Surgery (AREA)
  • Hematology (AREA)
  • Life Sciences & Earth Sciences (AREA)
  • Animal Behavior & Ethology (AREA)
  • Public Health (AREA)
  • Thermal Sciences (AREA)
  • Physics & Mathematics (AREA)
  • Structures Of Non-Positive Displacement Pumps (AREA)

Description

(出願への相互参照)
本願は、その全体が本明細書に援用される、2006年5月24日出願の豪州仮特許出願第2006902781号の利益を主張する。
本発明は、効率的な低騒音で小型の送風機に関する。この送風機は、医療、清掃、自動車またはコンピュータの装置を含む様々な装置において使用可能である。この送風機は、抽出器または吸引装置としても使用可能である。一実施形態では、送風機は、CPAPまたは換気装置のような非侵襲的換気(NIVV)装置において使用可能である。
OSAの経鼻的CPAP治療
閉塞型睡眠時無呼吸症候群(OSA)の経鼻的な持続的気道陽圧法(CPAP)による治療は、Sullivanによって発明された。特許文献1を参照されたい。OSAを治療する装置は、典型的に、送気導管によって、マスクなどの患者側の接続装置に空気または呼吸に適した気体の供給を与える送風機を備える。典型的に、装置を装着している間、患者は眠るので、静かで快適であるシステムを有することが望ましい。
一般的送風機/エアポンプ
送風機は、典型的に、遠心式、軸流式または混流式として分類される。一般に、送風機は、回転部品、すなわちインペラおよびシャフトと、典型的には渦形室のようなチャンバである流体流路を画定する固定部品との2つの主な部品を備える。インペラの回転は、空気に運動エネルギーを与える。固定部品は、インペラから放出される空気を、囲まれた出口通路へと向け直す。この向け直す際に、下流の抵抗または下流の圧力源によって発生される圧力のため、流れに対する抵抗が起こる。流れがこの抵抗に対して減速されるにつれ、運動エネルギーの一部が、圧力の形の位置エネルギーに変換される。
一般に、インペラがより速く回転されると、より高い圧力が発生される。効果のより低い送風機は、効果のより高い送風機と同じ圧力を発生させるために、そのインペラをより速く回転させなければならない。一般に、所与の送風機をより低速で作動すると、送風機がより静かになり、その寿命が延びる。それゆえに、一般に、陽圧の空気供給を発生させる際に、送風機をより効果的にすることが望まれる。
図1および2を参照して、3つの方向、すなわち半径方向R、接線方向T、および軸方向Aが定義される。従来技術の遠心式送風機10は、出口20、入口30、電気モータ40、インペラ50、およびシャフト60を含む。矢印70は、気流の概略的な方向を示す。空気は、入口30において送風機に入り、回転するインペラによって加速される。インペラによって与えられる回転が、概ね、接線方向Tに空気流を向ける。次に、渦形室が空気流を拘束して、渦形室をらせん状に進ませる。次に、空気流は、出口20を介して、概ね接線方向Tに送風機を出る。
軸方向に展開された渦形室の送風機などのいくつかの送風機では、渦形室の幾何学形状が、接線方向の螺旋を描く空気流を、概ね接線方向Tに送風機を出る前に、わずかに軸方向Aに向ける。
送風機の性能は、空気の流速対空気の出口圧力を示すファンの曲線を使用して、しばしば説明される。インペラの直径ならびにインペラの羽根の数および形状を含む多くの要因が、ファンの曲線に影響を与える。設計の過程は、望ましい圧力、流速、サイズ、信頼性、製造性、および騒音などの相対する特性同士の間の複雑なバランスである。構成要素のサイズ、形状および構成の多くの組み合わせが、加圧された空気の流れを起こし得るが、そのような結果は最適状態からは程遠いか、または非実用的であり得る。
ResMed社の軸方向の渦形室構成
既知の送風機構成の別の形態は、その内容が本明細書によって明白に援用される、ResMed社の特許文献2において説明される。この特許出願において説明されるように、渦形室の幾何学形状は概ね軸方向に展開するが、空気は概ね接線方向にこの送風機を出る。
Respironics社の人工呼吸器
Respironics社の特許文献3は、好ましくは3つの回転式のインペラおよび2つの固定式の固定子を含む送風機組立体を有する医療用人工呼吸器を説明する。この装置では、空気が概ね接線方向に送風機組立体を出るように、従来式の渦形室構成が用いられる。
こ の送風機構成の不利益は、この構成が、羽根通過音の騒音の放出を被りやすいことである。
Respironics社のREMstar
既知の別の送風機は、CPAP装置のRespironics社のREMstarシリーズに見られる。この装置では、空気は概ね接線方向に送風機を出る。
ResMed社の送風機
ResMed社に譲渡された特許文献4は、気体を所望の圧力および流動特性へと協働して加圧する気体流路内の2つのインペラを含む、患者の持続的気道陽圧法(CPAP)の換気用の両端式無段変速送風機について説明する。この特許の内容は、本明細書に明白に援用される。この装置では、空気は概ね接線方向に送風機を出る。
特許文献5および特許文献6は、多段式送風機について説明する。この両方のPCT出願の内容は、本明細書に援用される。
上述のように、既知のCPAPおよびVPAP送風機は、多かれ少なかれ従来式の渦形室構成、すなわち、空気が接線方向に渦形室を出るものを使用する。これらの構成は、渦形室の非対称形が、渦形室およびインペラにおける流れのパターンを非対称に導く不利益を有する。この問題は、渦形室の理想的な「設計」流速から離れた流速において、特に重大である。CPAPおよびVPAPは、残念なことに、流れの所要量の変動が非常に大きい結果として、その作動時間の相当な部分が、非理想的な流れの条件の下において使用される。これは、渦形室内、および結果としてインペラ内の流れのパターンが、非常に非対称的で不均一となり、不安定にさえもなることを意味する。これが、パルスを加圧することおよび乱流につながる。結果として、音的な羽根通過音の騒音および乱流の騒音が発生される。
米国特許第4,944,310号明細書 国際公開第99/64747号パンフレット 国際公開第99/13932号パンフレット 米国特許第6,910,483号明細書 PCT/AU2006/001617号明細書 PCT/AU2006/001616号明細書 米国仮特許出願第60/853,778号明細書
本発明の第1態様は、静かかつ効果的に陽圧で空気供給を与える呼吸装置に関する。本発明の別の態様は、様々な呼吸器疾患の治療に用いるNIVV装置用の送風機を提供することである。本発明の別の態様は、所与のモータ速度に対して大きい圧力の送出を達成することである。本発明の別の態様は、比較的低いモータ速度、および速い応答時間で、所与の圧力を供給できる送風機である。本発明の別の態様は、少ない羽根通過音の騒音の放出および/または乱流の騒音の放出を有する送風機である。
呼吸装置に適する本発明の一形態では、送風機は、2cmHOから100cmHOの範囲で加圧された空気を与えるように構成される。睡眠呼吸障害の治療に適する別の形態では、送風機は、2cmHOから30cmHOの範囲の圧力を与えるように構成される。
一形態では、送風機は、200L/分までの流速で空気を与えるように構成される。一形態では、送風機は、−50L/分から+200L/分までの範囲の流速で空気を与えるように構成される。
呼吸装置に適する本発明の一形態では、送風機は、比較的小さい、たとえば20mmから200mmの範囲の直径を有する少なくとも1つのインペラを備える。一実施形態では、インペラは、比較的低い慣性を有する剛性のインペラをもたらすように2つの異なるサイズの囲い板を備える。インペラは、ポリカーボネートまたはポリプロピレンのようなプラスチックから射出成形されてよい。
本発明の態様は、送風機の固定部分が、静かで効率的である空気流路を画定することである。一実施形態では、固定部分は、実質的に軸方向に対称形の空気流路を画定する。
本発明の一態様は、すべての段において実質的に軸方向に対称形である固定部分または渦形室構成を有する。そのため、流速がいかようであっても、インペラの羽根の通過による、および渦形室内での空気供給のパターンは、対称的で安定したままとなる。これは、より弱い圧力のパルス、およびより少ない乱流につながり、それがやはり、音的な羽根通過音のレベルを下げ、乱流の騒音のレベルを下げることにつながる。
一形態では、送風機は1つの段を有する。本発明の他の形態では、送風機は2つ以上の段を有する。複数段が軸に沿って使用される本発明の形態では、モータが中央に配置されてよく、同様の数のインペラが軸に沿ってモータの両側に配置されてよい。
一実施形態では、送風機の固定構成要素は、インペラから空気流を受け、その空気流を半径方向に向ける翼構造体を含む。一実施形態では、送風機は、損失および乱流を最小にするのに有利な向きに、入口静翼へと空気流を向けるように、インペラと翼構造体との間に配置される遮蔽部を含む。一実施形態では、空気流はインペラと翼構造体との間に軸方向に向けられる。一実施形態では、遮蔽部はまた、インペラの羽根の圧力のパルスが静翼から実質的に絶縁されるように、インペラの羽根と静翼の前縁との間に障壁部を与える。
本発明の別の態様は、送風機の軸と軸方向に整列された入口を介して送風機に空気を提供するステップと、送風機の1つまたは複数の段を介して空気を向けるステップと、入口と軸方向に整列された出口を介して陽圧の空気を供給するステップとを含む、治療のために患者に陽圧で空気を供給する方法に関する。
本発明の別の態様は、入口および出口を含む固定部分と、固定部分に設けられた回転部分と、回転部分を駆動するように構成されたモータとを含む、陽圧で空気を供給する送風機に関する。固定部分は、回転部分のインペラの羽根から固定部分の静翼を絶縁する遮蔽部を含む。遮蔽部は、内面および外面を有する管状部分を含む。内面は回転部分の軸受を支持するように構成され、外面はモータの固定子組立体を支持するように構成される。
本発明の他の態様、特徴および利点は、本開示の一部であり、例として本発明の原理を示す添付の図面と併せて取り上げられたとき、以下の詳細な説明から明らかになるであろう。
添付の図面は、本発明の様々な実施形態の理解を容易にする。
一般的な従来技術の送風機組立体の平面図である。 図1に示された一般的な従来技術の送風機組立体の立面図である。 本発明の一実施形態による送風機の図である。 本発明の一実施形態による送風機の図である。 本発明の一実施形態による送風機の図である。 本発明の一実施形態による送風機の図である。 本発明の一実施形態による送風機の図である。 本発明の一実施形態による送風機の図である。 本発明の一実施形態による送風機の図である。 図3a〜3gに示される送風機の分解図である。 図3a〜3gに示される送風機の分解図である。 図3a〜3gに示される送風機の分解図である。 図3a〜3gに示される送風機の図である。 図3a〜3gに示される送風機の図である。 図3a〜3gに示される送風機の図である。 図3a〜3gに示される送風機の図である。 図3a〜3gに示される送風機の図である。 図3a〜3gに示される送風機の図である。 図3a〜3gに示される送風機の図である。 本発明の一実施形態によるインペラの図である。 本発明の一実施形態によるインペラの図である。 本発明の一実施形態によるインペラの図である。 本発明の一実施形態によるインペラの図である。 本発明の一実施形態によるインペラの図である。 本発明の一実施形態によるインペラの図である。 本発明の一実施形態によるインペラの図である。 本発明の一実施形態による固定子構成要素の図である。 本発明の一実施形態による固定子構成要素の図である。 本発明の一実施形態による固定子構成要素の図である。 本発明の一実施形態による固定子構成要素の図である。 本発明の一実施形態による遮蔽部の図である。 本発明の一実施形態による遮蔽部の図である。 本発明の一実施形態による遮蔽部の図である。 本発明の代替実施形態による、2つの囲いがされたインペラの図である。 本発明の代替実施形態による代替の固定子構成要素の図である。 本発明の代替実施形態による代替の固定子構成要素の図である。 本発明の別の実施形態による送風機の図である。 本発明の別の実施形態による送風機の図である。 本発明の別の実施形態による送風機の図である。 本発明の別の実施形態による送風機の図である。 図11〜14に示される送風機の分解図である。 図11〜14に示される送風機の断面図である。 本発明の一実施形態による送風機用の支持システムを示す断面図である。 本発明の別の実施形態による送風機の断面図である。 本発明の別の実施形態による送風機の断面図である。
以下、本発明の実施の形態について、詳細に説明する。・・・
本発明の態様は、CPAP、機械的人工換気法および補助呼吸法などの非侵襲的換気(NIVV)治療装置(たとえば気道陽圧(PAP)装置または流れ発生器)に対する用途において本明細書に説明されるが、本発明の特徴は、真空式掃除機、コンピュータの冷却装置、ならびに建造物および車両において見られるようなHVAC装置などの、送風機が使用される他の応用分野に対する用途を有することが理解されたい。
本明細書では、語「空気ポンプ」および「送風機」は、相互に置き換えて使用され得る。本明細書では、語句「固定部品」は、「渦形室」を含むものと解釈される。用語「空気」は、呼吸に適した気体(たとえば追加の酸素を有する空気)を含むものと解釈される。また、本明細書に説明される送風機は、空気以外の流体を送るように構成され得ることが認められる。
本明細書では、語「備える(comprising)」は、その「開いた(open)」意味、すなわち「含む(including)」という意味に理解されるべきであり、したがって、その「閉じた(closed)」意味、すなわち「〜のみからなる(consisting only of)」という意味に限定されないことが理解されたい。対応する意味は、その語が現れる位置における対応する語「備える(comprise)」、「備えた(comprised)」、および「備える(comprises)」に帰するものである。
本発明の特定の実施形態が説明されてきたが、本発明は、本発明の本質的な特徴から逸脱することなく、他の特定の形態において具体化され得ることが、当業者には明らかであろう。したがって、本発明の実施形態および実施例は、すべての点において例示的であり、限定的ではないものと考えられるべきであり、本発明の範囲は、前述の実施例または説明よりもむしろ、添付の請求項によって示され、したがって、請求項の意味および均等の範囲内にあるすべての変更は、本発明に包含されることが意図される。既知の従来技術への本明細書におけるすべての参照は、反対の指示がない限り、そのような従来技術が、本発明の態様が関係する当業者によって一般に既知であるということを認めるものではないことを、さらに理解されたい。
1. 全体的な説明
本発明の一実施形態による送風機100は、固定部分と、回転部分と、電気モータとを備える遠心式空気ポンプの形態であってよい。
図3a〜5gに示す例示的な実施形態では、固定部分は、2つの部品172、174の外部筐体170と、3セットの固定子構成要素180、182、184および2つの遮蔽部190、192を含む内部流れ案内構成要素の組立体とを含む。回転部分は、3つのインペラ150、152、154と、電気モータ140によって駆動されるように構成されたシャフト160とを備える。一実施形態では、電気モータ140は、ブラシレス直流モータであってよい。図示の実施形態では、送風機は、対応するインペラと静翼および遮蔽部の組とをそれぞれが備えた3つの段を有する。図3a〜3gおよび4aに示すように、送風機100は、概ね円筒形であり、一方の端部に入口130を、他方の端部に出口120を有する。
図示の実施形態では、送風機のすべての構成要素は、すべての構成要素がそれを中心に概ね対称形をなす軸を画定する、モータのシャフトに沿って整列される。一実施形態では、送風機は、その軸を中心に扇形に自己相似であってよい。この軸方向の対称性は、すべての段に適用されてよい。
本発明の一実施形態による送風機の利点は、この送風機が、使用時に遭遇される圧力および流速の範囲にわたって、渦形室内に対称的で安定した流れのパターンを促進することである。このようにして、羽根の通過音および乱流の騒音の放出が低減される。
図示の実施形態の利点は、特に射出成形される場合において構成要素の幾何学形状によって与えられる、および組立体の積み重ねられた性質によって与えられる製造および組立ての容易さである。
2. 流体の流路
2.1 第1段
送風機の第1段が、ここに説明される。図4a〜4cおよび5a〜5gに最もよく示されるように、空気は、入口130において送風機100に入り、第1回転インペラ150へと通り、そこで空気は、接線方向に加速され、半径方向外側に向けられる。次に空気は、モータ140の側部の回りを通過し、大きい接線方向の速度成分と、また、固定子構成要素180の第1組の静翼185に向かう軸方向の成分とを有して、らせん状に流れる。本実施形態では、遮蔽の機能はモータのケースによって与えられているので、第1段に遮蔽部は設けられない。第1組の静翼185において、空気は、穴181に向かって半径方向内側に向けられ、その後で第2段へと向けられる。
2.2 第2段
第2段では、図4a〜4cおよび5a〜5gに示すように、空気は、まず、第2回転インペラ152によって接線方向に加速され、また、半径方向外側に流れる。次に、空気は、大きい接線方向の速度成分と、また円形の円板190の外縁部および固定子構成要素182の内表面によって画定される間隙164を通過する軸方向の成分とを有してらせん状に流れる。次に、空気は、固定子構成要素182内に形成された第2組の静翼187に入り、穴183に向かって半径方向内側に向けられ、その後、第3段へと向けられる。
2.3 第3段
第3段の流体流路は、第2段の流体流路と同様である。図4a〜4cおよび5a〜5gに示すように、空気は、穴183を介してこの段に入り、第3回転インペラ154によって接線方向に加速され、また、半径方向外側に向けられる。次に、空気は、大きい接線速度の成分と、また円形の円板192の外縁部および筺体174の内縁部によって画定される間隙166を通過する軸方向の成分とを有してらせん状に流れる。次に空気は、筐体174内に形成された静翼184によって、出口120の方へ向けられる。
3. 固定部分
3.1 全体
送風機の固定部は、2つの外部筐体部品172、174と、内部流れ案内固定子構成要素180、182、184と、2つの遮蔽部190、192とを含み、寸法的に安定である任意の適切な剛性または半剛性の材料から作製されてよい。一実施形態では、固定子構成要素は、良好な熱伝導性、比較的低いコスト、低い密度、音の緩衝特性、および後の機械加工を減らす成形の容易さのうちの1つまたは複数の特性をもたらす材料から作製されてよい。熱伝導性材料の使用は、また、モータを冷たく保ち、空気を暖めるのを助けることができる。空気を加熱する能力は、NIVV装置に使用される送風機に追加の利点を提供し得る。
一実施形態では、固定部分の構成要素の少なくともいくらかは、アルミニウムまたはその合金、たとえばアルミニウムダイキャスト品から作製されてよい。別の実施形態では、固定部分の構成要素の少なくともいくらかは、マグネシウムまたはその合金から作製されてよい。さらに別の実施形態では、固定部分の構成要素の少なくともいくらかは、プラスチック材料から作製されてよい。
3.2 入口
空気入口130は、所望の流れの必要条件が確実に満たされる一方で、空気入口130から過剰な騒音が戻って放出されないように、送風機内に十分な空気流を入れるように構成される。また、空気入口130の寸法は、送風機によって必要とされる流れの所望のレベル、および特定の用途に依存する。NIVVの実施形態では、空気入口130は、2mmから100mmの間、たとえば15mmから20mmの間の直径を有してよい。
3.3 固定子構成要素
静翼を含む固定子構成要素は、流れの方向に滑らかな移行部を促進するように構築される。一実施形態では、2つの固定子構成要素180、182は、プラスチックから射出成形される(たとえば図7a〜7dを参照)。第3の固定子構成要素は、底部のケーシング174内に成形される静翼184を含む。別の実施形態では、静翼は金属のような熱伝導性材料を使用して作製されてもよい。
3.3.1 半径方向への流れの方向付け
本発明のNIVVの実施形態では、静翼は、概ね半径方向に流れを向ける。羽根は、1mmから100mm、たとえば3mmから5mmの範囲の高さを有する。この構成は、ほぼ直角に流れを持っていき、かなりの軸方向の成分を含む翼または段から段への通路と比較したとき、全体として送風機の小型の構成を維持する助けとなる。
3.3.2 形状
それぞれの段は、空気流を向けるための複数の静翼、たとえば2つから100の静翼を有する。一実施形態では、各段は7つの静翼を有する。それぞれの翼は、実質的に同一であり、空気が激しくなりすぎる前に空気を減速するように、翼の内側端部において翼の外側端部よりも小さい湾曲半径を有する、概ねらせん状の形状を有する。
非常に高い流速が必要であり、騒音は主要な考慮事項でない場合の用途など、他の用途では、空気は、静翼によって減速されなくてもよい。
3.3.3 混合された軸方向/半径方向への流れの方向付け
本発明の代替の実施形態では、翼は、軸に対して垂直である面に流れを向けてよいか、または、少なくとも1セットの静翼が半径方向および軸方向の両方に流れを向けるように、向けられた流れに対する軸方向の成分があってよい。この実施形態では、最終段の静翼は、傾斜面に配置されてよいか、または一定の高さのものではないが、軸方向ならびに半径方向に展開し、それによって空気がより段階的に軸方向に曲げられる。たとえば、図10aおよび10bは、モータシャフト260に取り付けられたインペラ250と、遮蔽部290と、半径方向および軸方向の両方に流れを向けるように構築された静翼285を含む固定子280とを示す。このように、翼は(上記の実施形態で行うように)接線方向に始まるが、最終的には、(上記の実施形態におけるように半径方向よりもむしろ)軸方向に流れを向ける。この構成は、少々より多くの空間を占めるが、圧力の発生を改善することができる。この構成は、空気が直角に通過しないことを意味する。
3.4 静翼を絶縁する遮蔽部
本発明の別の態様は、静翼とインペラの羽根との間に配置される遮蔽部(たとえば図8a〜8cを参照)に関する。一実施形態では、遮蔽部は射出成形されたプラスチックから形成されるが、他の適切な材料(金属など)が使用されてもよい。図示の実施形態では、遮蔽部は、静翼の外縁部を越えて半径方向に延在する。これは、静翼とインペラの羽根との間に「視線」路がないことを意味し、結果として、静翼に衝突する空気流が、確実に、一様に循環する性質のものとなるように働く。
図5b、5dおよび5eに最もよく示されるように、遮蔽部190、192は、それぞれ環状開口164、166を介して流れを向ける。周囲部の開口が、また、使用されてもよい。一形態では、遮蔽部は、その外縁部と固定部分の壁との間に狭い環状の間隙のみを残す。この間隙は、過剰な圧力低下をもたらすことなく次の段に十分な空気流をもたらすのに十分である。NIVV装置に用いられる送風機の一実施形態では、間隙は、0.5mmから100mmの間、たとえば1mmから2mmの間であってよい。遮蔽部はまた、インペラの羽根の圧力のパルスを静翼から絶縁することによって、音の障壁をもたらす。
一形態では、遮蔽部は円形の円板であり、NIVV装置では、静翼に溶接されてよい。
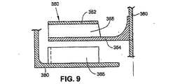
代替実施形態では、遮蔽部は回転してよい。そのような回転する遮蔽部は、下側の囲い板がインペラの羽根と静翼との間で回転する遮蔽部の働きをするように、インペラに一体化されてよい。たとえば、図9はモータシャフト360に取り付けられたインペラ350を示す。インペラ350は、下側の囲い板354がインペラの羽根355と固定子380の静翼385との間の回転する囲い板の働きをする、上下の囲い板352、354を含む。
3.5 出口
送風機を出る空気を概ね接線方向に向ける、既知の従来技術の遠心式送風機とは対照的に、本発明の一実施形態による遠心式送風機は、概ね軸方向に空気を向ける。この軸対称性は、インペラおよび羽根が、すべての装置の流速において対称的な流れのパターンに遭遇するため、空気流の乱流を低減させ、羽根通過音を低減させることにおいて有効である。
3.6 筐体
筐体は、筐体の別々の構成要素をともに取り付けることを助ける外部筐体上の面取り部を備える。この構成のため、全体的により小さいパッケージが可能になる。
外部筐体の内壁とモータの外壁との間の間隙によって、空気がモータの側部の回りを下に通過できるようになる。一実施形態では、間隙のサイズは、かなりの摩擦損失を防ぐのに十分であるが、装置の全体的なサイズが過大になるほど大きくはない。NIVV装置において用いられる送風機の一実施形態では、間隙のサイズは、0.1mmから100mmの間、たとえば約4mmであってよい。
空気がモータの回りを流れる能力は、モータを冷たく保つのを助けることができる。その能力はまた、NIVV装置において患者の空気を加熱するのを助けることができる。
4. 回転部分
4.1 インペラ
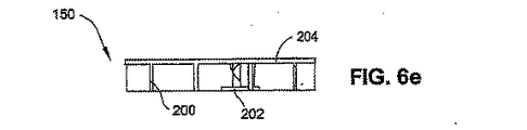
NIVVの実施形態では、送風機は、図4aから4cに示すように、複数のインペラ150、152、154を備える。図示の実施形態では、インペラは構成において同一であるので、インペラ150のみを詳述する。図6aから6gを特に参照すると、インペラ150は、一体成形されたプラスチック構造のものであるが、他の適切な材料および製造技術が使用可能である。インペラ150は、一対の円板状の囲い板202、204の間に挟まれた複数の連続的に湾曲された羽根200を備える。小さい方の囲い板202は、モータシャフト160を受けるように構成されたハブまたはブッシュ206を組み込む。囲い板202は、羽根200の内側部分に重なる、すなわち、小さい方の囲い板の外径(OD)は、大きい方の囲い板204のODより実質的に小さい。大きい方の囲い板204は、比較的大きい中央開口部208を備えて形成され、羽根の半径方向外側の先端部まで延在する。小さい方の囲い板202のODを、囲い板204の中央開口部208の直径よりわずかに小さくすることが、インペラを製造するのに用いられる成形工程を容易にする。
異なるサイズの囲い板を用いることによって、インペラ150の慣性が低減される一方で、インペラの全体的な剛性が維持される。この点に関して、インペラ150は、ポリカーボネート、ポリプロピレン、ポリアミド、またはインペラの共鳴を緩衝する音の緩衝特性をもたらす他の材料から作製されてよい。ガラス繊維の補強が、これらの材料のうちのいずれかの剛性を増すのに用いられてよい。
4.1.1 直径
NIVVの実施形態では、インペラ150は、20mmから200mmの範囲の直径を有してよい。一実施形態では、インペラ150は、40mmから50mmの範囲、たとえば42mmの直径を有してよい。この範囲の直径を備えたインペラは、送風機の全体的な寸法、回転の慣性、および乱流のレベルの間に、良好な妥協点をもたらし得る。
4.1.2 羽根の数
NIVVの実施形態では、インペラは、4つから100(たとえば11)の一次羽根200を有する。インペラは、二次羽根および三次羽根を含んでもよく、異なる羽根通過断面(図示せず)のものであってもよい。
4.1.3 羽根の形状
一実施形態では、インペラの羽根200は、半径方向に連続的に湾曲され、また、半径方向外側の部分において幅にテーパが付けられてもよい。羽根の先端部の狭くされた幅は、乱流を低減させることができる(たとえば、レイノルズ数は、(順に)3つのインペラ、2つのインペラ、1つのインペラを備えた送風機においてより少なくなる)。一実施形態では、羽根の最も外側の横方向の縁部は、羽根の先端部における乱流騒音を低減させるのを助けるように、羽根のそれぞれの横方向の幅に沿って段(図示せず)が付けられてもよい。別の実施形態では、羽根200の最も外側の横方向の縁部は平坦である。一実施形態では、羽根200は、1mmから40mm、たとえば3mmから6mmの範囲の出口高さを有する。一形態では、羽根200は、出口高さと同じである入口高さを有するが、他の形態では、入口および出口の高さは、異なってもよい。
羽根200は、0°から90°の間、たとえば約20°の接線に対する入口角度を有する。羽根200は、70°から110°の間の接線に対する出口角度を有するが、他の角度も可能である。
4.2 シャフト
一実施形態では、シャフト160と遮蔽部190、192との間に間隙がある。この間隙は、シャフトが遮蔽部内で回転できるようにするのに十分であるが、インペラ152、154と内部流れ案内構成要素182、184との間におけるかなりの漏れを防ぐように十分小さい。NIVV装置用の送風機では、間隙は10mm未満、たとえば2mm未満であってよい。
5. 軸方向の対称性
本発明の一実施形態による送風機は、静翼を使用する、軸方向に対称形の渦形室を備える。空気流は、実質的に軸方向に、送風機内の各段に入り、各段を出る。結果として、空気は、一方の端部において軸方向に送風機に入り、他方において軸方向に送風機を出る。空気流路は、送風機全体において実質的に軸方向に対称的であり、インペラを介しておよび渦形室内において、一定の供給パターンを維持する。対称形の送風機は、バランスを与え、それが、羽根の通過音のレベルを下げ、乱流の騒音のレベルを下げることにつながる。インペラと静翼との間に配置される遮蔽部は、翼の前縁にインペラの羽根先端部からの障壁をもたらし、こうして、羽根の通過音を低減させる。
6. 複数の段
図示の実施形態では、送風機は、3つの対応するインペラを備えた3つの段を含む。この実施形態では、1つのインペラがモータの一方の側に配置され、2つのインペラがモータの他方の側に配置される。
代替実施形態では、送風機は、2つの段(モータの両側に1つずつ)を含んでよい。さらなる別の実施形態では、モータの両側に2つずつ備えた、4つの段を使用する。別の実施形態は、単一の段の構成である。さらなる実施形態は、モータの一方の側のみに複数の段を備える。
7. 代替実施形態
以下は、本発明の代替の実施形態による送風機を示す。それぞれの実施形態では、空気は、一方の端部において軸方向に送風機に入り、他方の端部において軸方向に送風機を出る。
7.1 2段式送風機
図11〜16は、本発明の別の実施形態による送風機400を示す。図示のように、送風機400は、2つの対応するインペラ450、452を備えた2つの段を含む。この実施形態では、2つのインペラは、磁石462および固定子組立体465の同じ側に配置されるが、軸受444はインペラ450、452の間に配置される。
このような送風機は、いびきのPAP、CPAP、APAPおよび/またはVPAPに使用可能であり、人工呼吸器の変形例を提供するように構成可能である。
7.1.1 小型のサイズ
送風機400は、より小型またはミニサイズの送風機をもたらす比較的小さいサイズを有する。たとえば、図14に示すように、送風機400は、約50から60mm、たとえば53mmの全径d、および約40〜50mm、たとえば44mmの全長lを有してよい。しかしながら、他の適切なサイズが可能である。
7.1.2 概要
送風機400の固定部分は、第1および第2の筐体部品472、474を備えた筐体470と、静翼485を含む固定子構成要素480と、第1および第2の遮蔽部490、492とを含む。送風機400の回転部分は、モータ440によって駆動されるように構成された第1および第2のインペラ450、452を含む。モータは、シャフト460の回転する動きを起こすようにシャフト460および固定子組立体465に設けられた磁石462を含む。一実施形態では、モータは、(小型のサイズのために)2つの極を含み、センサなし、および/または(低騒音のために)溝なしであってよい。
送風機400は、概ね円柱形であり、一方の端部に第1筐体部品472によって設けられる入口430を、他方の端部に第2筐体部品474によって設けられる出口420を有する。図12および16に最もよく示されるように、出口420は、環または輪の形状を有する。一実施形態では、入口も、環または輪の形状(図示せず)を有してもよい。
上記の実施形態と同様に、送風機400は、軸対称性を有し、空気は、一方の端部において軸方向に送風機に入り、他方の端部において軸方向に送風機を出る。このような構成は、たとえば軸対称性および/または低い渦形室の乱流のために、使用時に比較的低い騒音をもたらすことができる。
7.1.3 固定部分
図15および16に最もよく示されるように、固定子構成要素480は、遮蔽部490を適所に固定するように、遮蔽部490に設けられた対応する開口部491内に係合(たとえば圧入)する円柱形のハブ486を含む。さらに、ハブ486は、回転可能にシャフト460を支持する軸受444を保持または収容する凹部488を備える。図示のように、軸受444は、インペラ450から空気が送られる面に沿って配置されるように、固定子構成要素480の中に納められる。軸受444がモータ構成要素(すなわち固定子組立体および磁石)を囲む筐体の外に配置されるので、この構成は軸方向の空間を節約する。
図15および16に最もよく示されるように、筐体部品474は、流れを出口420の方へ向ける静翼487を含む。さらに、筐体部品474は、外側環状フランジ478、およびモータ構成要素を支持する内側環状フランジ476をもたらすハブ475を含む。具体的には、内側環状フランジ476は、シャフト460を回転可能に支持する軸受446を保持または収容する。外側環状フランジ478は、固定子組立体465を保持または収容する。遮蔽部492は、シャフト460上の磁石462とともに筐体部品474内に固定子組立体465を囲むように、外側環状フランジ478に係合(たとえば圧入)する。
一実施形態では、筐体部品474は、筐体部品474が、使用時に固定子組立体465から生じた熱を伝導し放散させるヒートシンクとして働くことができるように、金属から作製されてよい。また、固定子組立体465を支持する外側環状フランジ478の少なくとも一部は、空気の流れに露出され、それによって、使用時に筐体部品474を介して空気が流れる際に固定子組立体465の冷却が可能である。しかしながら、筐体部品は他の送風機の構成要素とともに、他の適切な材料、たとえばアルミニウム、プラスチックなどから作製されてもよい。
7.1.4 回転部分
図示の実施形態では、それぞれのインペラ450、452は、一対の円板状の囲い板455、456の間に挟まれた連続的に湾曲されたまたは直線状の複数の羽根454を含む。下側の囲い板456は、シャフト460を受けるように構成されたハブまたはブッシュを組み込む。また、それぞれのインペラ450、452は、羽根454が外縁部に向かってテーパになるテーパ付きの構成を含む。インペラのさらなる詳細は、その全体が本明細書に援用される、特許文献5に開示される。このような構成は、たとえば、比較的低い慣性のインペラのために、比較的速い圧力の応答をもたらすことができる。
7.1.5 流体の流路
第1段において、空気または気体は、入口430において送風機400に入り、第1インペラ450内へと通り、そこで空気は接線方向に加速されて、半径方向外側に向けられる。次に空気は、大きい接線方向の速度成分と、また、遮蔽部490の外縁部と筐体部品472の内面とによって画定された間隙464を通過する軸方向の成分とを有して、らせん状に流れる。空気は、次に、固定子構成要素480内に形成された静翼485に入り、半径方向内側に穴483の方へ向けられ、その後、第2段へ向けられる。
第2段では、空気または気体は、第2インペラ452内へと通り、そこで接線方向に加速され、半径方向外側に向けられる。次に空気は、大きい接線方向の速度成分と、また、遮蔽部492の外縁部と筐体部品474の内面とによって画定された間隙466を通過する軸方向の成分とを有して、らせん状に流れる。次に空気は、筐体部品474内に形成された静翼487に入り、出口420の方へ向けられる。
7.1.6 支持システム
図17に示すように、送風機400は、支持システムによって、(たとえばPAP装置のようなNIVV装置の一部を形成する)外部ケーシング415内に支持されてよい。外部ケーシング415は、ベース部416と、ベース部416に設けられたカバー418とを含む。支持システムは、送風機400を支持する側部支持部424、頂部支持部425、または底部支持部426、あるいはこれらの組み合わせを含む。支持システムは、また、送風機400の入口側と出口側との間の封止部もたらすように構成されてもよい。
側部支持部424は、外部ケーシング425内で、柔軟かつ/または振動絶縁するやり方で送風機を支持するように構成された環状の可撓性の輪の形態であってよい。さらに、可撓性の輪424は、外部ケーシングの出口の方へ流れを向ける連結管の必要を回避するように、外部ケーシング425の出口から外部ケーシング425の入口を分離する。また、可撓性の輪424は、ベース部416と外部ケーシング415のカバー418との間の封止部をもたらしてよい。
底部支持部426は、偏向部材427(たとえば板ばね)と、伝導部材428とを含む。使用時には、底部支持部426が、送風機400を外部ケーシング415から絶縁(たとえば振動絶縁)する可撓性の構造体を与える。一実施形態では、伝導部材428は、外部の源からの電流を固定子組立体465へと伝導するように固定子組立体465と結合される。
7.2 軸受管を備えた2段式送風機
図18は、本発明の別の実施形態による2段式の送風機500を示す。2段式の送風機500は、上述の送風機400と同様である。対照的に、第2筐体部品574および第2遮蔽部592が、モータ構成要素を支持する異なる構造体をもたらす。
図示のように、第2筐体部品574は、出口520の方へ流れを向ける静翼587を含む。さらに、筐体部品574は、環形のフランジ576をもたらすハブ575を含む。環形のフランジ576は、固定子組立体565の下側を係合するように構築される。
第2遮蔽部592は、そこから延在する(たとえば1つの部品として一体的に形成された)管部分595を含む。図示のように、固定子組立体565は、固定子組立体565が、第2筐体部品574の環状のフランジ576と遮蔽部592のテーパ付き突出部593との間に囲まれ、挟まれるように、管部分595の外面に沿って設けられる。
図示の実施形態では、固定子組立体565の外面は、筐体部品574を通過する気体の流れに露出され、それによって、使用時に固定子組立体565が冷却できるようにする。また、固定子組立体からの熱は、別個の加熱器の必要なく、患者のための気体を加熱するように使用可能である。
管部分595の内面は、シャフト560を回転可能に支持する軸受546を保持または収容する。さらに、管部分595は磁石562をシャフト560上に囲み、磁石562は固定子組立体565と整列される。一実施形態では、固定子組立体565が管部分595内に配置された磁石562上で作用できるように、管部分595は、磁束密度のかなりの損失、および/またはある場合には増加する熱のない、「磁気透過性」であってよい。磁気透過性の管のさらなる詳細は、その全体が本明細書に援用される特許文献7に開示される。
シャフト560の端部部分(たとえばインペラを支持する端部部分の反対側)に、釣合いリング598が任意選択で設けられてもよい。
図示の実施形態では、ハブ575は、上述の送風機400のハブ475より筐体からさらに外側に突出する。この構成は、たとえば送風機400に対して、送風機500の高さに約1〜10mm(たとえば5mm)加えてよい。たとえば、送風機500は、約50〜60mm(たとえば53mm)の全径d、および約40〜55mm(たとえば49mm)の全長lを有してよい。しかしながら、他の適切なサイズが可能である。
7.3 テーパ付き構成を有する3段式送風機
図19は、本発明の別の実施形態による3段式の送風機600を示す。上述の3段式送風機100と同様に、送風機600は、モータ640の一方の側に配置された1つのインペラ650と、モータ640の他方の側に配置された2つのインペラ652、654とを備えた3つの段を含む。
図示の実施形態では、送風機600のそれぞれのインペラ650、652、654は、テーパ付きの構成を有する。さらに、筐体670および固定子構成要素680、682の対応する部分が、インペラ650、652、654のテーパ付きの構成と一致するようにテーパを付けられる。
図示の実施形態では、それぞれのインペラ650、652、654は、一対の円板状の囲い板655、656の間に挟まれた連続的に湾曲されたまたは直線状の複数の羽根653を含む。下側の囲い板656は、シャフト660を受けるように構成されたハブまたはブッシュを組み込む。また、それぞれのインペラ650、652、654は、羽根653が外縁部に向かってテーパになるテーパ付きの構成を含む。インペラのさらなる詳細は、その全体が本明細書に援用される特許文献5に開示される。
筐体部品672の上側の壁673は、インペラ650のテーパ付きの構成と一致するようにテーパを付けられ、対応する固定子構成要素680、682の下側の壁657、659は、インペラ652、654のテーパ付きの構成と一致するようにテーパを付けられる。
また、図示の実施形態では、下側の遮蔽部692の中央部分693は、出口620の方へ空気流を下向きに向けるような形状にされる。中央部分693は、たとえば、遮蔽部692に一定の断面/厚さを維持するため、および材料のコストを節約するために、インペラ654に面する表面に沿った空隙696を含む。
図示のように、シャフト660を支持する軸受644、646が、モータ640の筐体642内に設けられる。代替実施形態では、別の軸受(すなわち第3の軸受)が、追加の支持を加えるために、下側のインペラ654の近くのシャフト660の端部の方に加えられてもよい。別の代替実施形態では、第3の軸受を加えるよりもむしろ、モータ筐体642内の軸受644または646の一方はその位置に保持され、他方の軸受644または646は、追加の支持を加えるために、下側のインペラ654の近くのシャフト660の端部の方へ移動されてもよい。しかしながら、他の軸受の構成が可能である。
この実施形態では、送風機600は、支持システムによって、(たとえばPAP装置のようなNIVV装置の一部を形成する)外部ケーシング615内に支持されてよい。支持システムは、送風機600の側部を支持する側部支持部624と、送風機600の底部を支持する底部支持部626とを含む。
側部および底部の支持部624、626は、送風機600を外部ケーシング615から絶縁(たとえば振動絶縁)する可撓性の部材(たとえばエラストマー)であってよい。図示のように、側部支持部624は、送風機600に設けられた対応する釘635を係合するように構成される。底部支持部626は、送風機600の出口620から外部ケーシング615の出口617までの(たとえば、治療のために患者に加圧された空気を送る空気送達用の導管に連結可能である)導管をもたらす。
8. その他のコメント
本発明は遠心式ポンプについて概ね説明されてきたが、本発明はこの形態に限定されず、また、混合流タイプの形態をとってもよい。
本発明の態様は、空気流路を画定するチャンバが概ね軸方向に対称形であることである。これは、本発明による送風機を用いる装置の全体の空気流路も軸方向に対称形でなければならないという意味ではない。本発明の範囲内の変形例は、いくらかの非対称部を含んでよい。これらの非対称部は、損失および騒音があまり影響を受けない速度の低い領域にあってよい。
一実施形態では、この送風機は、インペラを介しておよび渦形室内に、流速にかかわりなく対称性を保持する空気流の供給パターンを可能にする。この結果、羽根の通過音の騒音の放出のレベルを下げ、乱流の騒音の放出のレベルを下げる。
本発明は、現在最も実用的であり、好ましい実施形態であると考えられるものに関して説明されてきたが、本発明は開示された実施形態に限定されず、その反対に、本発明の精神および範囲内に含まれる様々な修正例および均等構成物におよぶことが意図されることを理解されたい。また、上述の様々な実施形態は、他の実施形態とともに実施されてよく、たとえば、一実施形態の態様は、さらに他の実施形態を実現するために別の実施形態の態様と組み合わされてもよい。さらに、任意の所与の組立体のそれぞれの独立した特徴または構成要素が、追加の実施形態を構成してもよい。さらに、本発明はOSAを患う患者に対して特定の用途を有するが、他の疾患(たとえばうっ血性心不全、糖尿病、病的肥満症、卒中、肥満手術など)を患う患者が、上記の教示から利益を得ることができることが理解されよう。さらに、上記の教示は、非医療の用途において同様に患者および患者以外に適用可能性を有する。
10 遠心式送風機
20 出口
30 入口
40 電気モータ
50 インペラ
60 シャフト
100 送風機
120 出口
130 入口
140 電気モータ
150 インペラ
152 インペラ
154 インペラ
160 シャフト
164 間隙
166 間隙
170 外部筐体
172 外部筐体部品
174 外部筐体部品
180 固定子構成要素
181 穴
182 固定子構成要素
183 穴
184 固定子構成要素
185 静翼
187 静翼
190 遮蔽部(円板)
192 遮蔽部
200 羽根
202 囲い板
204 囲い板
206 ハブ
208 中央開口部
250 インペラ
260 モータシャフト
280 固定子
285 静翼
290 遮蔽部
350 インペラ
352 囲い板
354 囲い板
355 羽根
360 モータシャフト
380 固定子
385 静翼
400 送風機
415 外部ケーシング
416 ベース部
418 カバー
420 出口
424 側部支持部
425 頂部支持部
426 底部支持部
427 偏向部材
428 伝導部材
430 入口
440 モータ
444 軸受
446 軸受
450 インペラ
452 インペラ
454 羽根
455 囲い板
456 囲い板
460 シャフト
462 磁石
464 間隙
465 固定子組立体
466 間隙
470 筐体
472 筐体部品
474 筐体部品
475 ハブ
476 内側環状フランジ
478 外側環状フランジ
480 固定子構成要素
483 穴
485 静翼
486 ハブ
487 静翼
488 凹部
490 遮蔽部
491 開口部
492 遮蔽部
500 送風機
520 出口
546 軸受
560 シャフト
562 磁石
565 固定子組立体
574 第2筐体部品
575 ハブ
576 フランジ
587 静翼
592 第2遮蔽部
593 突出部
595 管部分
598 釣合いリング
600 送風機
615 外部ケーシング
617 出口
620 出口
624 側部支持部
626 底部支持部
635 釘
640 モータ
642 筐体
644 軸受
646 軸受
650 インペラ
652 インペラ
653 羽根
654 インペラ
655 囲い板
656 囲い板
657 壁
659 壁
660 シャフト
670 筐体
672 筐体部品
673 壁
680 固定子構成要素
682 固定子構成要素
692 遮蔽部
693 中央部分
696 空隙

Claims (19)

  1. 送風機であって、
    シャフトを有する電気モータにおいて、前記シャフトが軸心を形成する電気モータと、
    筐体入口および筐体出口を有している筐体であって、前記筐体入口と前記筐体出口の間には気体のための流路が形成されている筐体と、
    において、
    前記筐体出口が前記送風機を出た気体を実質的に軸第1方向に向けるように構成され、
    前記モータは、前記筐体入り口に近い第1側部と、前記筐体入り口に遠い第2側部とを有し、
    気体を接線方向に加速するため及び半径方向外側に向けるために採用された複数の羽根を有し且つ前記モータの第1側部上のシャフトに取り付けられる第1インペラと、
    固定部分であって、
    モータ外部壁と固定部分の壁の間で規定される気体流路であって、前記流路は、余分な圧力降下を導入することなしにそこを通じて気体の流れを可能にするのに十分な幅があり、前記流路は、気体を概ね軸方向に前記モータの第1の側部から前記モータの第2の側部まで流すように導く、気体流路と、
    前記第1インペラの下流に位置される第1静翼構造体であって、第1インペラから流出する気体を実質的に接線方向の流れから半径及び軸方向の両方の流れに向けるように適合される、第1静翼構造体と、
    前記第1静翼構造体の外側縁を半径方向に越えて延在する遮断部であって、第1静翼構造体の前縁をインペラの羽根の圧力のパルスから絶縁するために第1静翼構造体及び第1インペラの羽根との間に障壁部を提供するように構成され且つ配置される、遮蔽部と、
    を含む固定部分と、
    を備える送風機。
  2. 前記第1静翼構造体が、傾斜面に配置され、前記気体流れを徐々に接線方向から軸方向に向けるように適合されることを特徴とする請求項1の送風機。
  3. 前記遮蔽部は、円板であることを特徴とする請求項1〜2のいずれか1つに記載の送風機。
  4. 前記遮蔽部は、第1インペラの下側の囲い板が回転する遮蔽部の働きをするように前記第1インペラに一体化されることを特徴とする請求項1〜3のいずれか1つに記載の送風機。
  5. 前記遮蔽部は、前記第1静翼構造体に溶接されていることを特徴とする請求項1〜4のいずれか1つに記載の送風機。
  6. 前記遮蔽部の外縁部と前記固定部分の壁との間に環状の間隙があり、好ましくは、1mmから2mmの間であることを特徴とする請求項1〜5のいずれか1つに記載の送風機。
  7. 前記第1静翼構造体は、前記モータの第1側部上にあることを特徴とする請求項1〜6のいずれか1つに記載の送風機。
  8. 前記第1静翼構造体は、前記モータの第2側部上にあることを特徴とする請求項1〜6のいずれか1つに記載の送風機。
  9. モータ外壁と固定部分の壁との間で規定された流路の幅が0.1mm〜100mmの間、好ましくは、その幅が略4mmであることを特徴とする請求項1〜8のいずれか1つに記載の送風機。
  10. 前記シャフトに結合され、前記第1静翼構造体から流出する前記第1方向に流れる気体の流れを受容するように適合された第2インペラをさらに備え、前記第2インペラは接線方向に気体を加速するように且つそれを半径方向外側に向けるように適合されることを特徴とする請求項1〜9のいずれか1つに記載の送風機。
  11. 第2インペラは、前記モータの前記第2側上のシャフトに取り付けられることを特徴とする請求項10に記載の送風機。
  12. 前記固定部分は、さらに、前記第2インペラから流出する気体を前記第2インペラの外縁と前記固定部分の壁との間の環状の間隙を通ずるように適合されることを特徴とする請求項10〜11のいずれか1つに記載の送風機。
  13. 気体流れ方向を、実質的に接線方向から、実質的に半径内側方向に、案内することにより、滑らかな移行を促進するために、構成される第2静翼構造体をさらに備え、前記第2静翼構造体の前縁が前記第2インペラから軸方向に離間されることを特徴とする請求項10〜12のいずれか1つに記載の送風機。
  14. 筐体入り口は、2mm〜100mmの間の、好ましくは、15mm〜20mmの間の、直径を有することを特徴とする請求項1〜13のいずれか1つに記載の送風機。
  15. 前記第2インペラ及び前記第2静翼構造体の間に位置する遮蔽部をさらに備え、前記遮蔽部は前記第2静翼構造体の外縁を半径方向に越えて延在することを特徴とする請求項10〜14のいずれか1つに記載の送風機。
  16. 前記第1インペラ及び前記第2インペラの1つ又は両方が、20mm〜200mmの範囲の、好ましくは40mm〜50mmの範囲の、直径を有することを特徴とする請求項1〜15のいずれか1つに記載の送風機。
  17. 前記第1静翼構造体及び前記第2静翼構造体の1つ又は両方が、複数の静翼、好ましくは2〜100の間の静翼を備えることを特徴とする請求項1〜16のいずれか1つに記載の送風機。
  18. 前記複数の静翼は、軸方向に1mm〜100mmの範囲の高さ、好ましくは軸方向に3mm〜5mmの範囲の高さ、を有していることを特徴とする請求項17に記載の送風機。
  19. 請求項1〜18のいずれか1つに記載の送風機を備える、患者に陽圧空気を供給するためのCPAP装置。
JP2012175625A 2006-05-24 2012-08-08 Cpap装置用の小型で低騒音の効率的な送風機 Expired - Fee Related JP5484530B2 (ja)

Applications Claiming Priority (2)

Application Number Priority Date Filing Date Title
AU2006902781 2006-05-24
AU2006902781A AU2006902781A0 (en) 2006-05-24 Compact Symmetrical Blower

Related Parent Applications (1)

Application Number Title Priority Date Filing Date
JP2009511305A Division JP5410963B2 (ja) 2006-05-24 2007-05-24 Cpap装置用の小型で低騒音の効率的な送風機

Related Child Applications (1)

Application Number Title Priority Date Filing Date
JP2014028229A Division JP5706554B2 (ja) 2006-05-24 2014-02-18 Cpap装置用の小型で低騒音の効率的な送風機

Publications (2)

Publication Number Publication Date
JP2012255444A JP2012255444A (ja) 2012-12-27
JP5484530B2 true JP5484530B2 (ja) 2014-05-07

Family

ID=38722880

Family Applications (3)

Application Number Title Priority Date Filing Date
JP2009511305A Expired - Fee Related JP5410963B2 (ja) 2006-05-24 2007-05-24 Cpap装置用の小型で低騒音の効率的な送風機
JP2012175625A Expired - Fee Related JP5484530B2 (ja) 2006-05-24 2012-08-08 Cpap装置用の小型で低騒音の効率的な送風機
JP2014028229A Expired - Fee Related JP5706554B2 (ja) 2006-05-24 2014-02-18 Cpap装置用の小型で低騒音の効率的な送風機

Family Applications Before (1)

Application Number Title Priority Date Filing Date
JP2009511305A Expired - Fee Related JP5410963B2 (ja) 2006-05-24 2007-05-24 Cpap装置用の小型で低騒音の効率的な送風機

Family Applications After (1)

Application Number Title Priority Date Filing Date
JP2014028229A Expired - Fee Related JP5706554B2 (ja) 2006-05-24 2014-02-18 Cpap装置用の小型で低騒音の効率的な送風機

Country Status (9)

Country Link
US (8) US7866944B2 (ja)
EP (4) EP2032857B1 (ja)
JP (3) JP5410963B2 (ja)
CN (2) CN101449064B (ja)
AT (1) ATE499532T1 (ja)
AU (2) AU2007252223B2 (ja)
DE (1) DE602007012695D1 (ja)
NZ (5) NZ571421A (ja)
WO (1) WO2007134405A1 (ja)

Families Citing this family (293)

* Cited by examiner, † Cited by third party
Publication number Priority date Publication date Assignee Title
EP1675639A4 (en) 2003-09-25 2009-12-02 Resmed Ltd VENTILATION MASK AND SYSTEM
CN101449064B (zh) 2006-05-24 2013-04-03 雷斯梅德电动科技有限公司 用于cpap装置的紧凑低噪音高效鼓风机
WO2008028247A1 (en) 2006-09-07 2008-03-13 Resmed Ltd Mask and flow generator system
USD619700S1 (en) * 2006-10-27 2010-07-13 Resmed Motor Technologies Inc. Motor housing
JP5468747B2 (ja) 2007-06-05 2014-04-09 レスメド・モーター・テクノロジーズ・インコーポレーテッド 軸受管を有するブロワ
JP4981535B2 (ja) * 2007-06-20 2012-07-25 株式会社ケーヒン 遠心式送風機
NZ574584A (en) 2008-01-31 2010-10-29 Resmed Ltd Respiratory Apparatus including a flow generator with two impellers and a directional stator
EP2282795A4 (en) 2008-06-05 2016-01-06 Resmed Ltd TREATMENT OF RESPIRATORY DISEASES
US20100059055A1 (en) * 2008-09-05 2010-03-11 Brungart Timothy A Gas delivery system including a flow generator having an isolated blower assembly for noise reduction
US8453640B2 (en) 2008-11-12 2013-06-04 Resmed Limited Positive airway pressure device
US8397342B2 (en) 2008-12-09 2013-03-19 Credo Technology Corporation Debris removal system for power tool
JP5600877B2 (ja) * 2009-02-06 2014-10-08 パナソニック株式会社 電動送風機
AU2015201791B2 (en) * 2009-04-29 2017-03-09 Fisher & Paykel Healthcare Limited A Fan Unit with Improved Surge Characteristics
AU2010242176B2 (en) * 2009-04-29 2015-09-10 Fisher & Paykel Healthcare Limited A fan unit with improved surge characteristics
US10238822B2 (en) 2009-05-29 2019-03-26 Resmed Limited PAP system
US8931481B2 (en) 2009-06-04 2015-01-13 Redmed Limited Flow generator chassis assembly with suspension seal
US9861774B2 (en) 2009-08-11 2018-01-09 Resmed Motor Technologies Inc. Single stage, axial symmetric blower and portable ventilator
CN102596299A (zh) 2009-08-28 2012-07-18 雷斯梅德有限公司 Pap系统
EP2317150B1 (en) 2009-10-29 2019-12-18 ResMed Pty Ltd Patient ventilation device and components thereof
CN102762247B (zh) 2009-11-03 2015-08-12 瑞思迈有限公司 Cpap系统
CN104314843B (zh) * 2009-11-19 2018-07-24 瑞思迈发动机及马达技术股份有限公司 鼓风机
CN101818740B (zh) * 2010-05-11 2012-01-04 大连理工大学 一种高全压大流量斜轮盘前弯叶轮离心通风机
US8985104B2 (en) * 2010-05-19 2015-03-24 Carefusion 207, Inc. Fan assembly for a rebreathe system
WO2011148397A1 (en) * 2010-05-28 2011-12-01 Coplast Srl Cooling fan for a rotary machine
WO2011148396A1 (en) * 2010-05-28 2011-12-01 Coplast Srl Cooling fan for a rotary machine technical field of application of the invention
WO2011148398A1 (en) * 2010-05-28 2011-12-01 Coplast Srl Cooling fan for a rotary machine
DE202011101554U1 (de) * 2010-08-11 2011-11-16 Sls Medical Technology Corp., Ltd. Beatmungsgerät zum Identifizieren der Reinheit/Trübung eines Filters
US10201675B2 (en) 2011-02-25 2019-02-12 Resmed Motor Technologies Inc. Blower and PAP system
US9084859B2 (en) 2011-03-14 2015-07-21 Sleepnea Llc Energy-harvesting respiratory method and device
EP2694146B1 (en) * 2011-04-05 2017-11-15 ResMed Limited Respiratory breathing apparatus
FR2973846B1 (fr) * 2011-04-11 2013-05-24 Airfan Appareil de delivrance regulee d'un gaz, notamment appareil d'assistance respiratoire
EP2699299B1 (en) 2011-04-18 2023-05-31 ResMed Motor Technologies Inc Pap system blower
JP5747632B2 (ja) 2011-04-26 2015-07-15 日本電産株式会社 遠心ファン
WO2012169036A1 (ja) * 2011-06-09 2012-12-13 三菱電機株式会社 ブロワ装置およびガスレーザ発振装置
US10137264B2 (en) 2011-07-13 2018-11-27 Fisher & Paykel Healthcare Limited Respiratory assistance apparatus
EP3470104B1 (en) 2011-07-13 2023-01-25 Fisher & Paykel Healthcare Limited Impeller and motor assembly
EP3673941B1 (en) 2011-08-05 2025-05-14 ResMed Motor Technologies Inc Positive airway pressure device
CN112546385B (zh) * 2012-03-06 2024-10-11 瑞思迈发动机及马达技术股份有限公司 流量发生器
US9492086B2 (en) 2012-03-21 2016-11-15 Fresca Medical, Inc. Apparatus, systems, and methods for treating obstructive sleep apnea
WO2013155349A1 (en) 2012-04-13 2013-10-17 Fresca Medical Inc. Sleep apnea device
SG11201500606UA (en) 2012-07-27 2015-02-27 Resmed Ltd Patient interface and method for making same
JP5211302B1 (ja) * 2012-09-03 2013-06-12 株式会社メトラン 送風機
NZ727083A (en) 2012-11-16 2018-06-29 Resmed Ltd Positioning and stabilising structure for a patient interface system
CN102937101B (zh) * 2012-11-21 2015-05-06 王卫 一种自增压低压大流量气泵
US9795756B2 (en) 2012-12-04 2017-10-24 Mallinckrodt Hospital Products IP Limited Cannula for minimizing dilution of dosing during nitric oxide delivery
AU2013355303B2 (en) 2012-12-04 2017-12-14 Mallinckrodt Hospital Products IP Limited Cannula for minimizing dilution of dosing during nitric oxide delivery
AU2013365897A1 (en) 2012-12-18 2015-07-16 Fisher & Paykel Healthcare Limited Impeller and motor assembly
TWI626960B (zh) 2013-01-16 2018-06-21 瑞思邁有限公司 患者介面及用於患者介面的緩衝構件
JP5686827B2 (ja) * 2013-01-23 2015-03-18 株式会社鷺宮製作所 遠心ポンプ
USD749205S1 (en) 2013-03-08 2016-02-09 Fresca Medical, Inc. Sleep apnea device
EP2968829B1 (en) 2013-03-15 2021-04-21 ResMed Pty Ltd Water reservoirs and methods of preventing overfilling in a humidifier reservoir
US9861778B2 (en) 2013-03-15 2018-01-09 Resmed Limited Humidifier reservoir
NZ731995A (en) 2013-04-12 2018-11-30 ResMed Pty Ltd Neck strap, crown strap assembly and headgear for a breathing mask
CN105813679B (zh) 2013-06-25 2018-03-30 瑞思迈有限公司 出气口连接组件及其制造方法
US10549060B2 (en) 2013-06-25 2020-02-04 ResMed Pty Ltd Outlet connection assembly and method of making the same
JP2015010695A (ja) * 2013-07-02 2015-01-19 日本精工株式会社 転がり軸受
USD742502S1 (en) 2013-07-18 2015-11-03 Fresca Medical, Inc. Sleep apnea device
USD743021S1 (en) 2013-07-18 2015-11-10 Fresca Medical, Inc. Sleep apnea device
USD742501S1 (en) 2013-07-18 2015-11-03 Fresca Medical, Inc. Sleep apnea device
NZ631077A (en) 2013-07-29 2017-09-29 Resmed Ltd Heat and moisture exchanger for a patient interface
USD745139S1 (en) 2013-08-16 2015-12-08 Fresca Medical, Inc. Sleep apnea device
USD741474S1 (en) 2013-08-22 2015-10-20 Fresca Medical, Inc. Sleep apnea device accessory
NZ631446A (en) 2013-10-03 2016-05-27 Resmed Ltd Mask vent with side wall
NZ717147A (en) 2013-10-21 2017-08-25 Resmed Ltd Methods of detecting a quantity of water in a humidifier
EP3708211B1 (en) 2013-11-15 2024-01-17 ResMed Pty Ltd Nasal cradle mask
CN114392436A (zh) 2013-12-17 2022-04-26 瑞思迈私人有限公司 呼吸压力治疗系统
US10130726B2 (en) 2013-12-18 2018-11-20 Koninklijke Philips N.V. Gas delivery system and method of sanitizing the gas flow path within a gas delivery system
EP3066345B1 (en) * 2013-12-23 2020-06-17 Fisher&Paykel Healthcare Limited Blower for breathing apparatus
CN116370778A (zh) 2014-03-13 2023-07-04 瑞思迈私人有限公司 用于呼吸治疗装置的湿化器
CN103835971A (zh) * 2014-03-17 2014-06-04 胡小全 一种新型对旋式通风机
USD762843S1 (en) 2014-03-18 2016-08-02 Resmed Limited Air delivery tube
CN104976142B (zh) * 2014-04-10 2018-09-18 江苏西德力风机有限公司 转轮式高压鼓风机
US20150292518A1 (en) * 2014-04-11 2015-10-15 Yu-Pei Chen Fan Dampers of Centrifugal Fan
CN103967821B (zh) * 2014-04-16 2016-05-04 东莞市鸿生精密模具有限公司 压下按键式气泵
CN106470726B (zh) 2014-04-23 2019-05-03 瑞思迈有限公司 用于在患者接口中保持湿度的装置
NZ630742A (en) 2014-05-01 2016-02-26 Resmed Ltd A patient interface
NZ630751A (en) 2014-05-01 2016-03-31 ResMed Humidification Technologies GmbH Humidifying chamber for humidifying breathable gas
USD759230S1 (en) 2014-05-30 2016-06-14 Fresca Medical, Inc. Airflow generator for a sleep apnea system
US20170189727A1 (en) * 2014-06-04 2017-07-06 Free Air, Inc. Systems and methods for removing ultra-fine particles from air
WO2015193408A1 (en) 2014-06-17 2015-12-23 Resmed Limited A seal forming structure for a patient interface and a tool and method of manufacturing the seal forming structure
NZ630741A (en) 2014-06-19 2016-03-31 Resmed Ltd Patient interface for respiratory therapy
CN115444402B (zh) 2014-07-02 2026-03-27 瑞思迈私人有限公司 定制的患者接口及其制作方法
NZ630757A (en) 2014-08-01 2016-03-31 Resmed Ltd Self-optimising respiratory therapy system
NZ766323A (en) 2014-08-01 2022-05-27 Resmed Inc Patient management system
USD735548S1 (en) 2014-08-26 2015-08-04 Mtd Products Inc Blower attachment for a handheld tool
USD735547S1 (en) 2014-08-26 2015-08-04 Mtd Products Inc Blower attachment for a handheld tool
USD735546S1 (en) 2014-08-26 2015-08-04 Mtd Products Inc Blower attachment for a handheld tool
TW201612845A (en) 2014-08-28 2016-04-01 Resmed Ltd Method, system and apparatus for diagnosis, monitoring and treatment of respiratory disorders
WO2016041008A1 (en) 2014-09-16 2016-03-24 Resmed Limited Headgear comprising spacer fabric
EP4098303B1 (en) 2014-09-18 2025-02-26 ResMed Pty Ltd Gas washout vent for patient interface
US10371171B2 (en) * 2014-09-22 2019-08-06 Regal Beloit America, Inc. System and methods for reducing noise in an air moving system
WO2016044945A1 (en) * 2014-09-25 2016-03-31 Nuhn Industries Ltd. Fluid pump with multiple pump heads
US20160108924A1 (en) * 2014-10-17 2016-04-21 Mean Green Products, LLC Battery-powered, low-noise backpack blower
CN112675401B (zh) 2014-10-27 2024-12-10 瑞思迈私人有限公司 治疗过度觉醒病症的方法和设备
US10327392B2 (en) 2014-11-05 2019-06-25 Mean Green Products, LLC Battery-powered debris blower
US10125791B2 (en) 2014-11-17 2018-11-13 Nidec Corporation Blower
EP3223894B1 (en) 2014-11-26 2020-12-23 ResMed Pty Ltd Textile patient interface
WO2016086273A1 (en) * 2014-12-04 2016-06-09 Resmed Limited Wearable device for delivering air
CN104696235B (zh) * 2014-12-10 2018-05-25 许廷杨 蜗壳多叶离心环保专用风机
US10744295B2 (en) 2015-01-13 2020-08-18 ResMed Pty Ltd Respiratory therapy apparatus
WO2016119018A1 (en) 2015-01-30 2016-08-04 Resmed Asia Operations Pty Limited Patient interface comprising a gas washout vent
WO2016139645A1 (en) 2015-03-05 2016-09-09 Resmed Limited A humidifier for a respiratory therapy device
EP4219997B1 (en) 2015-03-10 2025-04-23 ResMed Pty Ltd Fluid connector with face seal
WO2016145483A1 (en) 2015-03-13 2016-09-22 Resmed Limited Respiratory therapy apparatus and method
CN107530514B (zh) 2015-03-20 2020-08-11 瑞思迈私人有限公司 用于呼吸障碍的通气治疗的方法和装置
CN107614044B (zh) 2015-03-25 2022-04-12 瑞思迈私人有限公司 具有用于密封形成部分的防喷件的患者接口
JP2018087495A (ja) * 2015-03-30 2018-06-07 株式会社デンソー 送風装置
JP2018087494A (ja) * 2015-03-30 2018-06-07 株式会社デンソー 送風装置
EP3552649B1 (en) 2015-04-02 2023-08-23 Hill-Rom Services PTE. LTD. Pressure control of respiratory device
EP4509722A3 (en) 2015-06-16 2025-04-23 ResMed Pty Ltd Impeller with inclined and reverse inclined blades
EP3313487B1 (en) * 2015-06-24 2021-01-06 Fisher&Paykel Healthcare Limited Breathing assistance apparatus
NZ773792A (en) 2015-07-07 2023-12-22 ResMed Pty Ltd Respiratory pressure therapy device
CN107921229A (zh) 2015-07-20 2018-04-17 瑞思迈有限公司 具有体积缩减构件的患者接口
EP4623877A3 (en) 2015-07-24 2025-10-22 ResMed Pty Ltd Headgear with covered edge
EP3777942B1 (en) 2015-07-24 2025-05-21 ResMed Pty Ltd Headgear with covered edge
CN114569848B (zh) 2015-08-14 2026-03-24 瑞思迈巴黎股份有限公司 监测呼吸压力治疗
KR101684166B1 (ko) * 2015-09-03 2016-12-07 엘지전자 주식회사 흡입 유닛
CN108026937B (zh) * 2015-09-10 2020-04-21 日本电产株式会社 送风装置和吸尘器
CN117442829A (zh) 2015-09-23 2024-01-26 瑞思迈私人有限公司 具有泡沫密封形成结构的患者接口
CN119792760A (zh) 2015-09-23 2025-04-11 瑞思迈私人有限公司 弯管组件
US12427280B2 (en) 2015-09-23 2025-09-30 ResMed Pty Ltd Patient interface with a seal-forming structure having varying thickness
EP3352827B1 (en) 2015-09-23 2022-01-05 ResMed Pty Ltd Patient interface with a seal-forming structure having varying thickness
CN119345554A (zh) 2015-09-23 2025-01-24 瑞思迈私人有限公司 用于呼吸治疗系统的通气适配器
US11241553B2 (en) 2015-09-23 2022-02-08 ResMed Pty Ltd Patient interface with foam seal-forming structure
JP6896741B2 (ja) 2015-09-23 2021-06-30 レスメド・プロプライエタリー・リミテッド 患者インターフェース
US10799661B2 (en) 2015-09-23 2020-10-13 ResMed Pty Ltd Patient interface with a seal-forming structure having varying thickness
WO2017049359A1 (en) 2015-09-23 2017-03-30 Resmed Limited Patient interface with foam seal-forming structure
CN108025155B (zh) 2015-09-23 2020-11-10 瑞思迈私人有限公司 包括具有不同厚度的密封形成结构的患者接口
EP3146991B1 (en) 2015-09-25 2022-01-26 ResMed Pty Ltd Improved patient interface component
US10821257B2 (en) 2015-10-05 2020-11-03 ResMed Pty Ltd Respiratory system with humidifier and conformable reservoir
WO2017059494A1 (en) 2015-10-08 2017-04-13 Resmed Limited An air conduit for a respiratory device
EP3171033A1 (de) * 2015-11-19 2017-05-24 Grundfos Holding A/S Mehrstufige kreiselpumpe mit gehäuseöffnung zur wartung eines axialschub-kolbens
DE202015008332U1 (de) * 2015-12-04 2016-02-02 Jürgen Schmiedgen Ansaugvorrichtung zur Nutzung von Bienenstockluft
JP7069017B2 (ja) 2015-12-10 2022-05-17 レスメド・プロプライエタリー・リミテッド 呼吸治療のための方法および装置
US10539147B2 (en) * 2016-01-13 2020-01-21 Wisconsin Alumni Research Foundation Integrated rotor for an electrical machine and compressor
CN108463264B (zh) 2016-01-14 2021-11-19 瑞思迈私人有限公司 口鼻患者接口
WO2017124152A1 (en) 2016-01-21 2017-07-27 Resmed Limited Adjustable headgear tubing for a patient interface
CN105597208B (zh) * 2016-01-26 2019-01-04 北京怡和嘉业医疗科技股份有限公司 一种呼吸机
US11433201B2 (en) 2016-02-02 2022-09-06 ResMed Pty Ltd Methods and apparatus for treating respiratory disorders
USD805630S1 (en) 2016-02-02 2017-12-19 Resmed Limited Air delivery tube
KR101738119B1 (ko) * 2016-02-15 2017-05-22 (주)씨에스이 구조를 단순화한 다단식 원심펌프
WO2017151085A1 (en) * 2016-02-29 2017-09-08 Honeywell International Inc. Thin crossflow blower with stator vanes for a powered air respirator
WO2017185140A1 (en) 2016-04-28 2017-11-02 Resmed Limited Patient interface
CA3289300A1 (en) * 2016-05-04 2025-11-29 Fisher & Paykel Healthcare Limited Respiratory support system and blower for respiratory support system
US10774846B2 (en) * 2016-06-16 2020-09-15 Design West Technologies, Inc. Portable, low-power air filtration system
EP3954420B1 (en) 2016-07-25 2024-08-28 ResMed Pty Ltd Respiratory pressure therapy system
EP3503954B1 (en) 2016-08-26 2024-05-01 ResMed Pty Ltd Respiratory pressure therapy system with nebulising humidifier
EP4091656B1 (en) 2016-09-21 2025-01-01 ResMed Pty Ltd Vent and vent adaptor for patient interface
US11273276B2 (en) 2016-10-04 2022-03-15 ResMed Pty Ltd Patient interface with movable frame
EP4329352A3 (en) 2016-11-03 2024-05-29 ResMed, Inc. Secure networked respiratory therapy systems
EP4316560B1 (en) 2016-11-11 2025-05-14 ResMed Pty Ltd Gas washout vent for patient interface
AU2017361128B2 (en) 2016-11-18 2021-12-02 ResMed Pty Ltd Methods and apparatus for ventilatory treatment of respiratory disorders
NZ769489A (en) 2016-11-22 2023-07-28 ResMed Pty Ltd Humidifier reservoir
US11458484B2 (en) * 2016-12-05 2022-10-04 Cummins Filtration Ip, Inc. Separation assembly with a single-piece impulse turbine
CN115089836A (zh) 2017-01-06 2022-09-23 瑞思迈私人有限公司 用于呼吸治疗系统的通气适配器
WO2018126299A1 (en) 2017-01-09 2018-07-12 Resmed Limited A humidifier for a respiratory therapy device
CN115006666A (zh) 2017-02-14 2022-09-06 瑞思迈私人有限公司 用于呼吸装置的叶轮
WO2018149436A1 (de) * 2017-02-20 2018-08-23 Weinmann Emergency Medical Technology Gmbh & Co. Kg Vorrichtung zur beatmung mit differenzdrucksensor
CN110869079B (zh) 2017-03-31 2022-08-23 瑞思迈私人有限公司 患者接口
CN114288512B (zh) 2017-04-23 2024-12-13 费雪派克医疗保健有限公司 呼吸辅助设备
EP4233951B1 (en) 2017-05-12 2025-03-05 ResMed Pty Ltd Apparatus for treatment of respiratory disorders
US11052217B2 (en) 2017-05-17 2021-07-06 ResMed Pty Ltd Humidifier
GB2563624B (en) * 2017-06-20 2020-04-08 Dyson Technology Ltd A compressor
EP4501382A3 (en) 2017-07-04 2025-04-23 ResMed Pty Ltd Acoustic measurement systems and methods
US11371515B2 (en) * 2017-11-03 2022-06-28 Fisher & Paykel Healthcare Limited Regenerative blower
EP4197579B1 (en) 2017-12-22 2025-01-29 ResMed Pty Ltd Conduit headgear connector for patient interface
JP7193543B2 (ja) 2018-02-02 2022-12-20 レスメド・プロプライエタリー・リミテッド コネクタアセンブリ
US12030063B2 (en) 2018-02-02 2024-07-09 Cummins Filtration Ip, Inc. Separation assembly with a single-piece impulse turbine
US12343473B2 (en) 2018-02-15 2025-07-01 ResMed Pty Ltd Method and apparatus for treating hyperarousal disorder
WO2019186361A1 (en) 2018-03-29 2019-10-03 ResMed Pty Ltd Conduit with magnetic connector
JP6879432B2 (ja) * 2018-03-30 2021-06-02 株式会社村田製作所 Cpap装置
US11376392B2 (en) 2018-04-24 2022-07-05 ResMed Pty Ltd Tub for use in a humidifier
JP7416732B2 (ja) 2018-06-26 2024-01-17 レスメド・プロプライエタリー・リミテッド 患者インターフェースのためのヘッドギアチュービング
WO2020002636A1 (en) * 2018-06-29 2020-01-02 Koninklijke Philips N.V. Compact fluid moving assembly and device employing same
MX2021002033A (es) 2018-08-20 2021-04-28 ResMed Pty Ltd Interfaz de paciente.
CN113195026B (zh) 2018-08-20 2024-08-13 瑞思迈私人有限公司 用于患者接口的头带
CN113227585A (zh) * 2018-10-05 2021-08-06 健康生物技术公司 用于提供辅助通风的驱动装置
EP3866895B1 (en) 2018-10-15 2024-05-15 ResMed Pty Ltd Systems and methods for active power management in a medical device
US12059528B2 (en) 2018-10-16 2024-08-13 ResMed Pty Ltd Textile seal-forming structure with multiple curvatures
EP4667037A3 (en) 2018-10-16 2026-02-25 ResMed Pty Ltd Patient interface
US11690318B2 (en) 2018-10-17 2023-07-04 Generac Power Systems, Inc. Deck height control system
US20220020488A1 (en) 2018-10-31 2022-01-20 Resmed Inc. System and method for varying data volume transmitted to external source
WO2020096971A1 (en) * 2018-11-08 2020-05-14 Heat X, LLC Magnetic induction style furnace or heat pump with variable blower functionality including retractable magnet arrays
CN109372797B (zh) * 2018-11-30 2024-10-15 深圳市商田环保科技有限公司 一种叶轮及使用该叶轮的多级离心风机
US11712529B2 (en) 2018-12-13 2023-08-01 ResMed Pty Ltd Pneumatic block for respiratory pressure therapy device
US11218048B2 (en) 2018-12-14 2022-01-04 Nidec Motor Corporation Shaft-mounted slinger for electric motor
US12194244B2 (en) 2018-12-18 2025-01-14 ResMed Pty Ltd Humidifier reservoir
US10947984B1 (en) * 2018-12-31 2021-03-16 Jamey Gelina Gas removal apparatus having a heat sink surrounding a motor
EP4647100A3 (en) 2019-01-29 2026-01-21 ResMed Pty Ltd Headgear tubing for a patient interface
MX2021009597A (es) 2019-02-13 2021-11-12 ResMed Pty Ltd Sello textil con porción de sesgo asistida por aire.
EP3924028B1 (en) 2019-02-13 2025-05-28 ResMed Pty Ltd Textile tube for a therapy device
CN215083796U (zh) 2019-02-18 2021-12-10 瑞思迈亚洲私人有限公司 患者接口
US12357784B2 (en) 2019-02-18 2025-07-15 ResMed Asia Pte. Ltd. Positioning and stabilising structure for a patient interface
CN119075104A (zh) 2019-02-22 2024-12-06 瑞思迈私人有限公司 织物通气组件
JP7743307B2 (ja) 2019-03-18 2025-09-24 レスメド・プロプライエタリー・リミテッド 患者インターフェースのためのプレナムチャンバ挿入部
CN114423480B (zh) 2019-03-28 2024-03-19 瑞思迈私人有限公司 患者接口
US11628265B2 (en) 2019-04-08 2023-04-18 ResMed Pty Ltd Seal-forming structure, positioning and stabilizing structure and diffuser vent for patient interface
WO2020206495A1 (en) 2019-04-10 2020-10-15 ResMed Pty Ltd Methods and apparatus for monitoring respiratory therapy
WO2020208603A1 (en) 2019-04-12 2020-10-15 ResMed Pty Ltd Respiratory pressure therapy system
US11839720B2 (en) 2019-04-17 2023-12-12 ResMed Pty Ltd Humidification interface arrangements
US11938268B2 (en) 2019-04-17 2024-03-26 Resmed Pty, Ltd. CPAP system
EP3962560B1 (en) 2019-05-02 2025-06-25 ResMed Pty Ltd Acoustic component identification for respiratory therapy systems
US20220244839A1 (en) 2019-05-13 2022-08-04 ResMed Pty Ltd User interface for a therapy device
CA3139874A1 (en) 2019-05-16 2020-11-19 ResMed Pty Ltd Two-way communication in a medical device
US11537282B1 (en) 2019-05-20 2022-12-27 ResMed Pty Ltd Pressure control in PAP systems
US12496422B2 (en) 2019-05-20 2025-12-16 ResMed Asia Pte. Ltd. Air delivery conduit
AU2020278993A1 (en) 2019-05-20 2021-11-04 ResMed Asia Pte Ltd Air delivery conduit
CN110131188B (zh) * 2019-06-06 2024-04-23 沈阳新松医疗科技股份有限公司 一种治疗用呼吸机的风机
JP7480192B2 (ja) 2019-06-28 2024-05-09 レスメド・プロプライエタリー・リミテッド 織物シール部材を含む患者インターフェースのためのシール形成構造
EP4659785A3 (en) 2019-06-28 2025-12-17 ResMed Pty Ltd Headgear tubing for a patient interface
US12447304B2 (en) 2019-06-28 2025-10-21 Resmed Pty, Ltd. Tube detection systems and methods
CN215916085U (zh) 2019-06-28 2022-03-01 瑞思迈私人有限公司 患者接口
CN119792756A (zh) 2019-06-28 2025-04-11 瑞思迈亚洲私人有限公司 用于患者接口的定位和稳定结构
US11679214B2 (en) 2019-07-15 2023-06-20 Resmed Pty Ltd. Energy transfer circuit
CN112274748B (zh) 2019-07-22 2025-06-24 瑞思迈私人有限公司 患者接口
US11032973B2 (en) 2019-07-26 2021-06-15 Generac Power Systems, Inc. Battery-operated electric mower
WO2021016662A1 (en) 2019-07-30 2021-02-04 ResMed Pty Ltd Methods and apparatus for respiratory therapy
US11633563B2 (en) 2019-07-31 2023-04-25 ResMed Pty Ltd Patient interface having seal-forming structure with varying construction
EP4678213A3 (en) 2019-07-31 2026-03-04 ResMed Pty Ltd Modular headgear
US11623059B2 (en) 2019-08-12 2023-04-11 ResMed Pty Ltd Pivotable outlet port
EP4021546B1 (en) 2019-08-31 2025-06-25 ResMed Pty Ltd Dual chamber patient interface with airflow regulation
CN215916038U (zh) 2019-09-10 2022-03-01 瑞思迈私人有限公司 口鼻患者接口
CN114650858B (zh) 2019-09-10 2026-01-20 瑞思迈私人有限公司 患者接口
TWI715192B (zh) * 2019-09-12 2021-01-01 建準電機工業股份有限公司 流體輸送裝置
CN114793424A (zh) 2019-10-14 2022-07-26 瑞思迈私人有限公司 呼吸治疗的表征系统
JP7541085B2 (ja) 2019-10-30 2024-08-27 レスメド・プロプライエタリー・リミテッド 口クッションおよび鼻クッションを連結させる継手を含むモジュール式患者インターフェース
AU2020375444A1 (en) 2019-10-31 2022-05-19 ResMed Pty Ltd Textile conduit with windows
EP4556044A3 (en) 2019-11-07 2025-07-02 ResMed Pty Ltd Vent for a respiratory system
CN114762053B (zh) 2019-11-13 2025-12-30 瑞思迈公司 收集与选定面罩相关的拟合数据的系统和方法
WO2021097517A1 (en) 2019-11-22 2021-05-27 ResMed Pty Ltd Apparatus and method for detecting user interaction with a respiratory therapy device
EP4066212B1 (en) 2019-11-27 2025-12-24 Resmed Asia Pte. Ltd. Application to guide mask fitting
US11666724B2 (en) 2019-11-29 2023-06-06 ResMed Pty Ltd Adjustable headgear tubing for a patient interface
AU2019478910B2 (en) 2019-12-20 2024-04-18 ResMed Asia Pte. Ltd. Patient interface with foam cushion
US12256057B2 (en) 2019-12-31 2025-03-18 ResMed Asia Pte. Ltd. Positioning, stabilising, and interfacing structures and system incorporating same
US12201771B2 (en) 2019-12-31 2025-01-21 ResMed Asia Pte. Ltd. Patient interface formed from a textile construction and including a stiffened portion to provide for customization
WO2021142512A1 (en) 2020-01-14 2021-07-22 ResMed Pty Ltd Single flow and pressure activated aav
EP4096758B1 (en) 2020-01-29 2025-07-02 ResMed Pty Ltd Connector for positioning and stabilising structure
JP7618685B2 (ja) * 2020-03-03 2025-01-21 レスメド・モーター・テクノロジーズ・インコーポレーテッド 送風機用のベアリングスリーブ
JP7612706B2 (ja) 2020-03-20 2025-01-14 レスメド・プロプライエタリー・リミテッド 後頭アンカーを備えた患者インターフェース
EP4674457A3 (en) 2020-04-16 2026-02-25 ResMed Pty Ltd Elastomeric seal-forming structure with multiple curvatures
KR20210129962A (ko) * 2020-04-21 2021-10-29 엘지전자 주식회사 압축기 및 칠러 시스템
DE102020002671A1 (de) 2020-05-05 2021-11-11 Drägerwerk AG & Co. KGaA Verdichter zur Förderung eines Luft- und/oder Gasstroms
SE544297C2 (en) * 2020-05-28 2022-03-29 Husqvarna Ab Improved blower arrangements and silencers for dust extractors
WO2021250573A1 (en) 2020-06-08 2021-12-16 Resmed Sensor Technologies Limited Acoustic detection of water level in humidifier
US11668319B2 (en) 2020-06-29 2023-06-06 Speed to Market LTD. Blower unit
US20230338691A1 (en) 2020-06-30 2023-10-26 ResMed Asia Pte. Ltd. A patient interface and a positioning and stabilising structure for a patient interface
DE102020118650A1 (de) * 2020-07-15 2022-01-20 Ventilatorenfabrik Oelde, Gesellschaft mit beschränkter Haftung Radialventilator
JP7704834B2 (ja) 2020-07-20 2025-07-08 レスメド・プロプライエタリー・リミテッド 患者インタフェース並びに位置決め及び安定化構造
WO2022016223A1 (en) 2020-07-24 2022-01-27 ResMed Pty Ltd Standalone patient heat and moisture exchanger
EP4188497A4 (en) 2020-07-30 2024-08-28 ResMed Pty Ltd Seal-forming structure of patient interface with multiple sealing materials
US11213702B1 (en) 2020-08-31 2022-01-04 ResMed Pty Ltd Hygiene mask with seal forming structure
US12023447B2 (en) 2020-09-08 2024-07-02 ResMed Pty Ltd Humidification platform for use with a portable CPAP device
EP4210796B1 (en) * 2020-09-14 2026-03-25 imtmedical ag Two-stage blower apparatus for a ventilator
EP4647098A1 (en) 2020-09-22 2025-11-12 ResMed Pty Ltd Patient interface with blowout prevention for seal-forming portion
EP4221797B1 (en) 2020-09-30 2026-01-07 ResMed Pty Ltd Variable flow vent assembly for a conduit mask
US20240149006A1 (en) 2020-09-30 2024-05-09 ResMed Pty Ltd Patient interface and components thereof
EP4221653A4 (en) 2020-09-30 2024-10-02 ResMed Asia Pte. Ltd. HELMET
JP7615315B2 (ja) 2020-10-09 2025-01-16 レスメド・プロプライエタリー・リミテッド インターフェース患者用の可撓性フレームを有する湿熱交換器
CN112190803B (zh) * 2020-10-16 2021-06-29 湖南万脉医疗科技有限公司 一种呼吸机降噪方法及降噪罩装置
EP4237052A4 (en) 2020-10-30 2024-08-28 ResMed Pty Ltd Two-way communication in a medical device
WO2022115044A1 (en) 2020-11-30 2022-06-02 ResMed Asia Pte. Ltd. Patient interface and components thereof
JP7664043B2 (ja) * 2020-12-23 2025-04-17 株式会社マキタ 送風機
US11802573B2 (en) * 2020-12-23 2023-10-31 Makita Corporation Blower
JP7258838B2 (ja) * 2020-12-23 2023-04-17 株式会社マキタ 送風機
US20240050683A1 (en) 2020-12-23 2024-02-15 ResMed Pty Ltd Conduit connector with constant-flow vent for patient interface
US11795967B2 (en) 2020-12-23 2023-10-24 Makita Corporation Blower
CN114688046B (zh) * 2020-12-25 2023-03-03 广东美的白色家电技术创新中心有限公司 风机组件和吸尘器
CN114680706B (zh) * 2020-12-25 2023-01-24 广东美的白色家电技术创新中心有限公司 风机组件和吸尘器
CN114688045B (zh) * 2020-12-25 2024-05-24 广东美的白色家电技术创新中心有限公司 风机组件和吸尘器
USD1060658S1 (en) 2020-12-28 2025-02-04 ResMed Asia Pte. Ltd. Patient interface
US12276803B2 (en) 2021-01-29 2025-04-15 ResMed Pty Ltd Positioning, stabilising and interfacing structures and system incorporating same
JP2024511698A (ja) 2021-02-26 2024-03-15 レズメド インコーポレイテッド 個人化されたマスク形状を持続的に調整するためのシステムおよび方法
AU2022232245A1 (en) 2021-03-09 2023-09-07 ResMed Pty Ltd Full-face patient interface
WO2022221907A1 (en) 2021-04-19 2022-10-27 ResMed Pty Ltd Positioning, stabilising, and interfacing structures and system incorporating same
JP2024521116A (ja) 2021-05-20 2024-05-28 レズメド インコーポレイテッド デバイスの使用量および患者の人口統計に基づくコンプライアンス予測のためのシステムおよび方法
US12478750B2 (en) 2021-05-31 2025-11-25 ResMed Pty Ltd Vents for patient interfaces
US12290636B2 (en) 2021-06-16 2025-05-06 Northman Ip Holdco Limited Respiratory devices
WO2023277818A2 (en) 2021-06-30 2023-01-05 ResMed Asia Pte. Ltd. Packaging for a patient interface
CN115704398A (zh) * 2021-08-17 2023-02-17 广州和普乐健康科技有限公司 一种风机及具有该风机的呼吸机
JP2024532864A (ja) 2021-08-20 2024-09-10 レスメド・プロプライエタリー・リミテッド バルブアセンブリ
US12558509B2 (en) 2021-09-17 2026-02-24 ResMed Asia Pte. Ltd. Headgear with tension limit detection feature
EP4154933A1 (en) 2021-09-23 2023-03-29 ResMed Pty Ltd Patient interface for promoting natural breathing
US12539383B2 (en) 2021-09-23 2026-02-03 ResMed Pty Ltd Natural breathing full face mask
US20240399094A1 (en) 2021-10-29 2024-12-05 ResMed Asia Pte. Ltd. Sleeve with magnet for modularity and headgear for the same
CN116201751B (zh) * 2021-11-30 2026-01-09 江苏美的清洁电器股份有限公司 用于吸尘器的风机组件和具有其的吸尘器
WO2023097481A1 (zh) 2021-11-30 2023-06-08 江苏美的清洁电器股份有限公司 风机组件及具有其的吸尘器
US11471634B1 (en) 2021-12-14 2022-10-18 ResMed Pty Ltd Oro-pillow cushion assembly
US12582789B2 (en) 2022-04-28 2026-03-24 ResMed Asia Pte. Ltd. Modular oro-nasal patient interface
AU2023282123A1 (en) 2022-06-03 2024-11-14 ResMed Pty Ltd Patient interface
US20240066259A1 (en) 2022-08-24 2024-02-29 ResMed Pty Ltd Methods and apparatus for increasing breathing comfort during respiratory therapy
CN115853830B (zh) * 2022-12-27 2023-09-12 武汉理工大学 一种快速响应式风扇
EP4704948A1 (en) * 2023-05-01 2026-03-11 ResMed Motor Technologies Inc. Blower for portable rpt device
CN117869334B (zh) * 2024-01-25 2024-07-19 广东鑫风风机有限公司 一种节能低噪轴流风机

Family Cites Families (93)

* Cited by examiner, † Cited by third party
Publication number Priority date Publication date Assignee Title
US2562996A (en) * 1951-08-07 Winthrop
US1271808A (en) * 1917-08-31 1918-07-09 Alexander Tobias Combined step-ladder and ironing-board support.
US2064587A (en) * 1933-07-08 1936-12-15 Electrolux Corp Vacuum cleaner
US2018092A (en) * 1934-12-24 1935-10-22 Charles H Rickert Liquid pump
FR811248A (fr) * 1935-09-25 1937-04-09 Mauz Et Pfeiffer Aspirateur de poussières avec boîte intermédiaire à montage souple dans laquelle est monté élastiquement le bloc moto-souffleur
US2328038A (en) * 1941-10-25 1943-08-31 Westinghouse Electric & Mfg Co Suction cleaning apparatus
US2336716A (en) * 1942-01-08 1943-12-14 Clements Mfg Co Supporting means for the motor and fan assembly of tank type cleaners
US2726807A (en) * 1950-09-28 1955-12-13 Finnell System Inc Vacuum apparatus for water and dirt removal
US2857849A (en) * 1953-11-13 1958-10-28 Joseph R Smylie Motor driven pumping units
US2822123A (en) * 1955-05-16 1958-02-04 American Machine & Metals Electric motor fan unit for hazardous locations
US3083308A (en) * 1961-01-06 1963-03-26 Gen Electric Hermetic motor cartridge
US3102679A (en) * 1962-01-15 1963-09-03 Loren Cook Company Centrifugal impeller units
US3171353A (en) * 1962-02-27 1965-03-02 Kenton D Mcmahan Centrifugal fluid pump
US3243102A (en) * 1963-12-20 1966-03-29 Kenton D Mcmahan Centrifugal fluid pump
US3245610A (en) * 1964-01-02 1966-04-12 Ametek Inc Motor-fan unit for vacuum cleaners
DK118475B (da) * 1965-08-02 1970-08-24 Nordisk Ventilator Radialventilator med axial udstrømning.
SE330061B (ja) * 1968-12-20 1970-11-02 Electrolux Ab
JPS519049Y1 (ja) * 1969-04-28 1976-03-10
NL7014555A (ja) * 1970-10-03 1972-04-05
JPS498961A (ja) 1972-05-29 1974-01-26
JPS519049A (en) 1974-07-12 1976-01-24 Ishikawajima Harima Heavy Ind Atsuenkino kasokuseigyosochi
US4111615A (en) * 1975-06-18 1978-09-05 Matsushita Electric Industrial Company, Limited Fluid exhausting device
JPS5217334A (en) 1975-08-01 1977-02-09 Hitachi Ltd Electroless copper plating solution
JPS53112805U (ja) * 1977-02-17 1978-09-08
FR2383918A1 (fr) 1977-03-15 1978-10-13 Labaz Nouveau procede de preparation d'un derive de l'acetamide et derive obtenu par ce procede
USRE32027E (en) * 1977-05-23 1985-11-12 Ametek, Inc. Wet pick-up vacuum unit motor bearing air seal
EP0088761B1 (en) 1981-04-24 1987-08-12 Somed Pty. Ltd. Device for treating snoring sickness
JPS58172492A (ja) * 1982-04-02 1983-10-11 Nobuyoshi Kuboyama 多段フアン付回転体
JPS59213994A (ja) * 1983-05-19 1984-12-03 Matsushita Electric Ind Co Ltd 電動送風機
JPS60170327U (ja) 1984-04-18 1985-11-12 住友重機械工業株式会社 バケツトエレベ−タ式連続アンロ−ダ
DE3520218A1 (de) * 1984-06-08 1985-12-12 Hitachi, Ltd., Tokio/Tokyo Laufrad fuer ein radialgeblaese
DE3439780A1 (de) 1984-10-31 1986-04-30 Wolter GmbH Maschinen und Apparatebau KG, 7502 Malsch Ventilator, insbesondere rohrventilator
US4669952A (en) * 1985-05-17 1987-06-02 Ametek, Inc. Quiet by-pass vacuum motor
JPH0765595B2 (ja) * 1986-02-25 1995-07-19 本田技研工業株式会社 エンジンの冷却タ−ボフアン
JPH0663517B2 (ja) * 1987-01-07 1994-08-22 松下電器産業株式会社 送風装置
JPS6441699A (en) * 1987-08-10 1989-02-13 Fuji Electric Co Ltd Turbo multistage blower
DE3729486C1 (de) * 1987-09-03 1988-12-15 Gutehoffnungshuette Man Kompressoreinheit
CN1012202B (zh) * 1988-02-06 1991-03-27 陆逢升 具有协同密封系统的全干式潜水电泵
US4946348A (en) * 1989-02-14 1990-08-07 Airflow Research & Manufacturing Corporation Centrifugal fan with airfoil vanes in annular volute envelope
JPH0765597B2 (ja) 1989-03-01 1995-07-19 株式会社日立製作所 電動送風機
US5296769A (en) * 1992-01-24 1994-03-22 Electrolux Corporation Air guide assembly for an electric motor and methods of making
IT1256858B (it) * 1992-02-10 1995-12-27 Olivetti Canon Ind Spa Dispositivo di sospensione antivibrante per un motore di una soffiante
JPH05288195A (ja) * 1992-04-07 1993-11-02 Mitsubishi Electric Corp 電動送風機
ATE148203T1 (de) 1992-04-14 1997-02-15 Ebara Corp Seitenströmungspumpe
JPH05296193A (ja) * 1992-04-15 1993-11-09 Sanyo Electric Co Ltd 掃除機用電動送風機
US5584286A (en) * 1993-01-13 1996-12-17 Kippax; John E. Integrated breathing system
US5344285A (en) * 1993-10-04 1994-09-06 Ingersoll-Dresser Pump Company Centrifugal pump with monolithic diffuser and return vane channel ring member
DE4418153A1 (de) 1994-05-25 1995-11-30 Wilo Gmbh Kreiselpumpe
JP3474279B2 (ja) * 1994-09-22 2003-12-08 株式会社日立産機システム 電動遠心送風機
DE4438751A1 (de) * 1994-10-29 1996-05-02 Pierburg Gmbh Elektrisch angetriebene Luftpumpe
US5888053A (en) * 1995-02-10 1999-03-30 Ebara Corporation Pump having first and second outer casing members
DE19626896C2 (de) * 1996-07-04 2001-08-23 Mayer Gmbh Geb Lüfter
US5810557A (en) * 1996-07-18 1998-09-22 The Penn Ventilation Companies, Inc. Fan wheel for an inline centrifugal fan
JP2001516623A (ja) 1997-09-19 2001-10-02 レスピロニックス・インコーポレイテッド 医療用呼吸器
WO1999064747A1 (en) 1998-06-11 1999-12-16 Resmed Limited A housing for a centrifugal impeller
JP3971041B2 (ja) * 1998-10-21 2007-09-05 東芝キヤリア株式会社 換気扇
AUPP688998A0 (en) * 1998-11-02 1998-11-26 Resmed Limited Fast accelerating flow generator
US6176689B1 (en) * 1998-11-27 2001-01-23 Pierburg Ag Electrically driven air pump
US6129524A (en) * 1998-12-07 2000-10-10 Turbodyne Systems, Inc. Motor-driven centrifugal air compressor with axial airflow
JP2001221199A (ja) * 2000-02-08 2001-08-17 Toshiba Tec Corp 電動ポンプ
US6425739B1 (en) * 2000-03-27 2002-07-30 R. B. Kanalflakt, Inc. In-line centrifugal fan
JP2001286565A (ja) * 2000-04-07 2001-10-16 Teijin Ltd 間欠的陽圧式人工呼吸補助装置
US6595212B1 (en) 2000-04-17 2003-07-22 Richard J. Arnott Method and apparatus for maintaining airway patency
US7025576B2 (en) * 2001-03-30 2006-04-11 Chaffee Robert B Pump with axial conduit
MXPA02012408A (es) * 2000-06-15 2004-02-26 Greenheck Fan Corp Ventilador centrifugo en linea.
US6622724B1 (en) 2000-06-19 2003-09-23 Respironics, Inc. Impeller and a pressure support system and method using such an impeller
US6349724B1 (en) * 2000-07-05 2002-02-26 Compumedics Sleep Pty. Ltd. Dual-pressure blower for positive air pressure device
JP3907983B2 (ja) * 2000-09-05 2007-04-18 エルジー エレクトロニクス インコーポレイティド 空気調和機用ターボファン
BR0115868B1 (pt) * 2000-12-04 2011-09-20 conjunto de ventilador centrìfugo, método para fabricação de rotor centrìfugo e método de montagem do conjunto de ventilador centrìfugo.
KR100405981B1 (ko) * 2001-02-12 2003-11-14 엘지전자 주식회사 천정형 공조기의 터보팬 구조
FR2824201B1 (fr) * 2001-04-27 2003-08-01 Valeo Equip Electr Moteur Dispositif de ventilation pour machine electrique tournante
US6666660B2 (en) * 2001-04-27 2003-12-23 The Hoover Company Motor-fan assembly for a floor cleaning machine
US6848887B2 (en) * 2001-08-23 2005-02-01 Lg Electronics Inc. Turbofan and mold thereof
JP2003090298A (ja) * 2001-09-17 2003-03-28 Nippon Soken Inc 遠心ファン
EP1643131B1 (en) * 2001-12-10 2008-06-04 ResMed Ltd. Blower apparatus of the CPAP/NIPPV type
US6910483B2 (en) 2001-12-10 2005-06-28 Resmed Limited Double-ended blower and volutes therefor
US7191613B2 (en) * 2002-05-08 2007-03-20 Lg Electronics Inc. Turbo fan and air conditioner having the same applied thereto
US6881033B2 (en) 2002-09-30 2005-04-19 Fisher & Paykel Healthcare Limited Impeller
ITPD20020255A1 (it) * 2002-10-04 2004-04-05 Q & P Spa Pompa a bassa rumorosita' e raffreddata dalla medesima acqua pompata
KR20040101528A (ko) 2002-12-16 2004-12-02 다이킨 고교 가부시키가이샤 원심 송풍기 및 원심 송풍기를 구비한 공기 조화 장치
KR20040104974A (ko) * 2003-06-03 2004-12-14 삼성전자주식회사 터보팬 및 그 제조용 금형
NZ593956A (en) * 2003-06-10 2012-12-21 Resmed Ltd Multiple stage blower with gas flow directed from first impeller to second impeller via annular chamber between inner and outer casings
US7021905B2 (en) * 2003-06-25 2006-04-04 Advanced Energy Conversion, Llc Fluid pump/generator with integrated motor and related stator and rotor and method of pumping fluid
FR2856930B1 (fr) 2003-07-04 2007-09-07 Saime Sarl Dispositif d'aide a la respiration a turbine et capteur modulaires.
US6834501B1 (en) * 2003-07-11 2004-12-28 Honeywell International, Inc. Turbocharger compressor with non-axisymmetric deswirl vanes
US7163372B2 (en) * 2003-12-10 2007-01-16 The Hoover Company Diffuser for a motor fan assembly
US7108482B2 (en) * 2004-01-23 2006-09-19 Robert Bosch Gmbh Centrifugal blower
KR100574860B1 (ko) * 2004-02-25 2006-04-27 엘지전자 주식회사 에어컨 실내기의 송풍팬 구조
KR100590333B1 (ko) * 2004-03-05 2006-06-19 엘지전자 주식회사 에어컨 실내기의 송풍팬 구조
CN2777249Y (zh) * 2005-04-14 2006-05-03 湘潭平安电气集团有限公司 多级双速对旋轴流式局部通风机
WO2007048206A1 (en) 2005-10-28 2007-05-03 Resmed Ltd Single or multiple stage blower and nested volute(s) and/or impeller(s) therefor
CN101449064B (zh) 2006-05-24 2013-04-03 雷斯梅德电动科技有限公司 用于cpap装置的紧凑低噪音高效鼓风机
US9819635B2 (en) 2012-01-30 2017-11-14 International Business Machines Corporation System and method for message status determination

Also Published As

Publication number Publication date
EP2032857A4 (en) 2009-11-25
US10605246B2 (en) 2020-03-31
US20240133386A1 (en) 2024-04-25
US11353030B2 (en) 2022-06-07
NZ577485A (en) 2011-01-28
CN103174661A (zh) 2013-06-26
NZ589602A (en) 2012-02-24
US12480504B2 (en) 2025-11-25
NZ597253A (en) 2013-06-28
EP2325493A3 (en) 2014-08-27
US20170248144A1 (en) 2017-08-31
AU2007252223A1 (en) 2007-11-29
US20200182250A1 (en) 2020-06-11
WO2007134405A1 (en) 2007-11-29
US9677563B2 (en) 2017-06-13
US20090246013A1 (en) 2009-10-01
US20220290677A1 (en) 2022-09-15
US8734097B2 (en) 2014-05-27
AU2009202756A1 (en) 2009-07-30
EP2530327B1 (en) 2019-10-23
EP3667093B1 (en) 2025-08-13
US20240229805A9 (en) 2024-07-11
US7866944B2 (en) 2011-01-11
AU2009202756B2 (en) 2012-05-24
AU2007252223B2 (en) 2009-04-23
JP5410963B2 (ja) 2014-02-05
EP2032857A1 (en) 2009-03-11
JP2012255444A (ja) 2012-12-27
EP2325493A2 (en) 2011-05-25
EP2530327A3 (en) 2014-08-27
US8267648B2 (en) 2012-09-18
JP5706554B2 (ja) 2015-04-22
NZ704423A (en) 2015-12-24
CN103174661B (zh) 2015-10-28
EP2530327A2 (en) 2012-12-05
DE602007012695D1 (de) 2011-04-07
CN101449064B (zh) 2013-04-03
CN101449064A (zh) 2009-06-03
US20110073110A1 (en) 2011-03-31
US20140227091A1 (en) 2014-08-14
EP3667093A1 (en) 2020-06-17
JP2009537735A (ja) 2009-10-29
ATE499532T1 (de) 2011-03-15
US11892000B2 (en) 2024-02-06
NZ571421A (en) 2010-04-30
EP2325493B1 (en) 2020-03-11
US20130028710A1 (en) 2013-01-31
EP2032857B1 (en) 2011-02-23
JP2014101888A (ja) 2014-06-05

Similar Documents

Publication Publication Date Title
JP5484530B2 (ja) Cpap装置用の小型で低騒音の効率的な送風機
JP6999727B2 (ja) ブロワ
JP5872599B2 (ja) 軸受管を有するブロワ
KR20090089336A (ko) 베어링을 구비한 브러시리스 dc 모터
CN101296722B (zh) 单级或多级鼓风机以及该鼓风机用嵌套式蜗壳和/或叶轮

Legal Events

Date Code Title Description
A977 Report on retrieval

Free format text: JAPANESE INTERMEDIATE CODE: A971007

Effective date: 20130919

A131 Notification of reasons for refusal

Free format text: JAPANESE INTERMEDIATE CODE: A131

Effective date: 20131001

A521 Request for written amendment filed

Free format text: JAPANESE INTERMEDIATE CODE: A523

Effective date: 20131227

TRDD Decision of grant or rejection written
A01 Written decision to grant a patent or to grant a registration (utility model)

Free format text: JAPANESE INTERMEDIATE CODE: A01

Effective date: 20140203

A61 First payment of annual fees (during grant procedure)

Free format text: JAPANESE INTERMEDIATE CODE: A61

Effective date: 20140218

R150 Certificate of patent or registration of utility model

Ref document number: 5484530

Country of ref document: JP

Free format text: JAPANESE INTERMEDIATE CODE: R150

R250 Receipt of annual fees

Free format text: JAPANESE INTERMEDIATE CODE: R250

R250 Receipt of annual fees

Free format text: JAPANESE INTERMEDIATE CODE: R250

R250 Receipt of annual fees

Free format text: JAPANESE INTERMEDIATE CODE: R250

R250 Receipt of annual fees

Free format text: JAPANESE INTERMEDIATE CODE: R250

R250 Receipt of annual fees

Free format text: JAPANESE INTERMEDIATE CODE: R250

R250 Receipt of annual fees

Free format text: JAPANESE INTERMEDIATE CODE: R250

R250 Receipt of annual fees

Free format text: JAPANESE INTERMEDIATE CODE: R250

LAPS Cancellation because of no payment of annual fees