JP5377095B2 - 管継手構造および接続管 - Google Patents

管継手構造および接続管 Download PDF

Info

Publication number
JP5377095B2
JP5377095B2 JP2009138737A JP2009138737A JP5377095B2 JP 5377095 B2 JP5377095 B2 JP 5377095B2 JP 2009138737 A JP2009138737 A JP 2009138737A JP 2009138737 A JP2009138737 A JP 2009138737A JP 5377095 B2 JP5377095 B2 JP 5377095B2
Authority
JP
Japan
Prior art keywords
valve
pipe
receiving port
cut
connection
Prior art date
Legal status (The legal status is an assumption and is not a legal conclusion. Google has not performed a legal analysis and makes no representation as to the accuracy of the status listed.)
Active
Application number
JP2009138737A
Other languages
English (en)
Other versions
JP2010286017A (ja
Inventor
正蔵 岸
貴司 横溝
昌功 井谷
正吾 金子
崇哲 香川
幸平 池田
Current Assignee (The listed assignees may be inaccurate. Google has not performed a legal analysis and makes no representation or warranty as to the accuracy of the list.)
Kubota Corp
Original Assignee
Kubota Corp
Priority date (The priority date is an assumption and is not a legal conclusion. Google has not performed a legal analysis and makes no representation as to the accuracy of the date listed.)
Filing date
Publication date
Priority to JP2009138737A priority Critical patent/JP5377095B2/ja
Application filed by Kubota Corp filed Critical Kubota Corp
Priority to CN201310089272.9A priority patent/CN103174889B/zh
Priority to PCT/JP2010/050755 priority patent/WO2010087275A1/ja
Priority to KR1020137025901A priority patent/KR101514689B1/ko
Priority to CN201080005536.2A priority patent/CN102301172B/zh
Priority to KR1020117016070A priority patent/KR101488752B1/ko
Priority to CN201310088677.0A priority patent/CN103133793B/zh
Priority to CN201410165455.9A priority patent/CN104075050B/zh
Priority to CN201310089167.5A priority patent/CN103148293B/zh
Priority to CN201410161002.9A priority patent/CN103925432B/zh
Priority to EP10735744.4A priority patent/EP2392845B1/en
Priority to KR1020137025902A priority patent/KR101585909B1/ko
Priority to US13/146,256 priority patent/US8573654B2/en
Priority to TW103130993A priority patent/TWI530636B/zh
Priority to TW099102264A priority patent/TWI487862B/zh
Priority to TW103130995A priority patent/TWI542806B/zh
Priority to TW103130994A priority patent/TWI542805B/zh
Publication of JP2010286017A publication Critical patent/JP2010286017A/ja
Priority to US14/022,299 priority patent/US9488300B2/en
Application granted granted Critical
Publication of JP5377095B2 publication Critical patent/JP5377095B2/ja
Priority to US14/220,433 priority patent/US9719618B2/en
Priority to US14/974,118 priority patent/US10520119B2/en
Priority to US14/974,062 priority patent/US10006572B2/en
Active legal-status Critical Current
Anticipated expiration legal-status Critical

Links

Images

Landscapes

  • Joints With Sleeves (AREA)

Description

本発明は、施工現場で所定寸法に切断加工して製作された切断端部を有する切管と、他の管の端部に形成された受口とを、接続管を介して接続した管継手構造、および、上記接続管に関する。
従来、施工現場において、規定寸法(規定長さ)の直管状の管を、実測された配管寸法に基づいて切断して管長を調整し、切断された切管を他の管に接続する場合がある。図11は、上記のような切管81と他の管82とを接続する管継手構造83を示しており、切管81と他の管82とは接続管84を介して接続されている。切管81は、直管状の規格管(例えばJIS等で規定された遠心鋳造により製作された鋳鉄管)を、施工現場において、実際に使用する所定の配管寸法(長さ)に切断加工して製作されており、直管状の切断端部85を有している。
他の管82は、一端部に挿口(図示省略)を有するとともに、他端部に受口86を有する直管状の規格管(鋳鉄管)である。受口86の内周面には、嵌め込み溝87と、嵌め込み溝87よりも受口奥側に位置するロックリング収容溝88とがそれぞれ全周にわたり形成されている。ロックリング収容溝88には、ロックリング89と保持リング90とが収容されている。また、嵌め込み溝87には、ゴム等の弾性材で製作された円環状のシール材91が嵌め込まれている。
接続管84は、鋳鉄管であり、一端部に接続管挿口93を有するとともに、他端部に接続管受口94を有している。接続管挿口93は受口86に挿入されており、接続管挿口93の先端部の外周には、ロックリング89に受口奥側から係合可能な抜止突部95が形成されている。
尚、シール材91は受口86の内周面と接続管挿口93の外周面との間に挟まれて管径方向において圧縮され、これにより、受口86の内周面と接続管挿口93の外周面との間がシール材91でシールされる。
接続管84の接続管受口94には、切管81の切断端部85が切管挿口85として挿入されている。また、接続管受口94には、切管挿口85と接続管受口94との離脱を防止する離脱防止手段96が設けられている。離脱防止手段96は、切管挿口85の外周面に管径方向から食込み移動可能な抜止部材97と、切管挿口85と接続管受口94とが相対的に離脱方向へ移動しようとした際、抜止部材97を管径方向内方側へ食込み移動させる食込み手段98とを有している。食込み手段98は、接続管受口94に設けられ且つ抜止部材97を管径方向内方側へ押圧する押圧ボルト99等を有している。
図11〜図13に示すように、接続管受口94の内周には、接続管受口94と切管挿口85との間を全周にわたりシールするゴム製で環状のシール材100が配置されている。シール材100はヒール部101とバルブ部102とを備えている。バルブ部102は、接続管受口94の奥側ほど内径が小さく形成され、その断面形状が管中心に向けて斜め方向へ舌状に突出する略長円形に形成されている。
また、接続管受口94の内周には、シール材配置凹部103が全周にわたり形成され、シール材配置凹部103の底面には、係止溝104が全周にわたり形成されている。シール材100のヒール部101は係止溝104に嵌入されて係合し、バルブ部102が切管挿口85の外周面とシール材配置凹部103の底面との間に挟まれて管径方向において圧縮される。
以下、上記構成における作用を説明する。
先ず、接続管受口94の係止溝104にシール材100のヒール部101を嵌入し、さらに、接続管受口94に抜止部材97と押圧ボルト99とを組み付け、切管挿口85を接続管受口94に管軸心方向から挿入する。
切管挿口85がシール材100の内周を通過する際、図12に示すように、バルブ部102の内周部が仮想線で示す状態から実線で示すように管径方向外方に撓むように変形(拡径)し、バルブ部102が切管挿口85の外周面とシール材配置凹部103の底面との間に挟まれて管径方向において圧縮され、これにより、接続管受口94と切管挿口85との間が全周にわたりシールされる。
その後、押圧ボルト99を締め付けて、抜止部材97を切管挿口85の外周面に対して食込み移動させる。
また、図11に示すように、他の管82の受口86のロックリング収容溝88にロックリング89と保持リング90とを収容し、嵌め込み溝87にシール材91を嵌め込み、接続管挿口93を受口86に管軸心方向から挿入する。これにより、接続管挿口93の抜止突部95がロックリング89の内周を受口86の開口側(手前側)から奥側へ通過するとともに、シール材91が受口86の内周面と接続管挿口93の外周面との間に挟まれて管径方向において圧縮され、これにより、接続管挿口93と受口86との間が全周にわたりシールされる。
地震等の地盤変動によって管継手構造83に離脱力(抜け出し力)が作用して、切管81と接続管84とが相対的に離脱移動しようとした際、抜止部材97が管径方向内方に食込み移動され、切管挿口85と接続管受口94との接続が強力に維持される。
また、上記離脱力が作用して、接続管84と他の管82とが相対的に離脱移動しようとした際、抜止突部95がロックリング89に受口奥側から係合することにより、接続管挿口93と受口86との相対的な離脱移動が強力に阻止される。
尚、上記のように接続管84を介して切管81と他の管82とを接続する管継手構造83については、例えば下記特許文献1に記載されている。
特許第4204337号
しかしながら上記の従来形式では、図12に示すように、切管挿口85を接続管受口94に挿入する時、シール材100のバルブ部102の内周部を仮想線で示す状態から実線で示すように管径方向外方に撓むように変形させるために要する力を低減させることは困難であった。このため、切管挿口85を接続管受口94に挿入する際に、大きな挿入力(接合力)を作用させる必要があるといった問題があった。
本発明は、切管挿口を接続管受口に挿入する際に要する挿入力を低減することが可能な管継手構造および接続管を提供することを目的とする。
上記目的を達成するために、本第1発明は、施工現場で所定寸法に切断加工して製作された切断端部を有する切管と、他の管の端部に形成された受口とを、接続管を介して接続した管継手構造であって、
接続管は一端に接続管受口を有するとともに他端に接続管挿口を有し、
切管の切断端部が切管挿口として接続管の接続管受口に挿入され、
接続管の接続管挿口が他の管の受口に挿入され、
接続管挿口には、他の管の受口内周に設けられた係止部材に受口奥側から係合可能な抜止突部が設けられ、
切管挿口と接続管受口との離脱を防止する離脱防止手段が備えられ、
切管挿口と接続管受口との間は弾性材からなる環状のシール材によって全周にわたりシールされ、
シール材は、接続管受口の内周面に形成された嵌め込み溝に嵌め込まれるヒール部と、接続管受口の内周面と切管挿口の外周面との間に挟まれるバルブ部とを有し、
バルブ部は互いに接合された第1バルブと第2バルブとを備え、
第1バルブの外周部に、接続管受口の内周面に圧接する第1シール部が形成され、
第2バルブの内周部に、切管挿口の外周面に圧接する第2シール部が形成され、
第1バルブがヒール部に接合され、
第1バルブと第2バルブとの接合部分にはくびれ部が形成され、
第2バルブは、第1バルブに対して接続管受口の奥側に位置し、且つ、第1バルブから管中心に向って傾斜しており、
ヒール部は、第1バルブに対して、接続管受口の奥側とは反対の開口部側に位置し、
第2バルブは、その内径が切管挿口の外径よりも小さく設定され、且つ、くびれ部の変形により管径方向において拡縮自在であり、
接続管受口の内周面には、嵌め込み溝よりも奥側に位置する凹部が形成され、
第1バルブの管径方向の厚さは第2バルブの管径方向の厚さよりも薄く、
第2バルブの外周と接続管受口の凹部の底面との間に間隙が形成されているものである。
これによると、接続管を介して切管と他の管とを接続する場合、接続管の接続管挿口を他の管の受口に挿入する。さらに、接続管の接続管受口内の嵌め込み溝にシール材のヒール部を嵌め込んで、シール材を接続管受口内に装着する。
その後、切管の切管挿口を接続管受口に挿入することにより、切管と他の管とが接続管を介して接続される。この際、第2バルブが切管挿口により管径方向において拡大(拡径)され、切管挿口がシール材の内周に挿入され、バルブ部の第1シール部が接続管受口の内周面に圧接するとともに第2シール部が切管挿口の外周面に圧接する。これにより、接続管受口と切管挿口との間で高い水密性を保持することができ、切管挿口と接続管受口との間がシール材によって確実にシールされる。
上記のように切管挿口を接続管受口に挿入した際、くびれ部が変形することで、第2バルブが管径方向において拡大するため、第2バルブを管径方向において拡大させるのに要する力が低減され、これにより、切管挿口を接続管受口に挿入する際に要する挿入力(接合力)を低減することができる。
また、切管挿口が第1バルブの内周を管軸心方向へ移動する際、第1バルブの厚さは第2バルブの厚さよりも薄いため、第1バルブの管径方向の圧縮量が小さくなり、切管挿口が第1バルブの内周を管軸心方向へスムーズに移動し、切管挿口を接続管受口に挿入する際に要する挿入力(接合力)をさらに低減することができる。
さらに、切管挿口が第2バルブの内周を管軸心方向へ移動する際、間隙が逃げ代となって、第2バルブが、切管挿口に対して、管径方向の外向きに変位して逃げることができる。これにより、切管挿口を接続管受口に挿入する際に要する挿入力(接合力)をさらに低減することができる。
また、互いに接合された管内に水圧が作用すると、第2バルブの外周と凹部の底面との間隙にも水圧が作用するため、第2バルブには管中心に向いた押付力が作用し、これにより、第2バルブの第2シール部が切管挿口の外周面に強く押し付けられ、切管挿口と接続管受口との間の水密性がさらに向上する。
また、地震等の地盤変動によって管継手構造に離脱力(抜け出し力)が作用して、接続管と他の管とが相対的に離脱移動しようとした際、抜止突部が係止部材に受口奥側から係合することにより、接続管挿口と受口との相対的な離脱移動が強力に阻止される。
さらに、上記離脱力が作用して、切管と接続管とが相対的に離脱移動しようとした際、離脱防止手段によって、切管挿口と接続管受口との接続が強力に維持される。
本第2発明は、接続管受口の内周面には、嵌め込み溝と凹部との間に位置する凸部形成され、
第1シール部は凸部の内周面に圧接し、
第1シール部の位置と第2シール部の位置とが管軸心方向にずれているものである。
これによると、第1バルブの径を小さくして、接続管受口の凸部の内径を小さくすることができ、これにより、接続管受口の凸部と切管挿口との隙間が小さくなり、水圧負荷時にシール材に作用する水圧の絶対値が小さくなる。したがって、高水圧負荷時でも、シール材が接続管受口と切管挿口との隙間から離脱し難くなる。
本第3発明は、くびれ部の内周面と外周面とにそれぞれシール材側凹部が形成されているものである。
これによると、接続管受口に切管挿口を挿入して接合するとき、第1バルブが切管挿口により管径方向において圧縮されると、シール材側凹部が逃げ代となって第1バルブの圧縮量が減少する。これにより、切管挿口が第1バルブの内周を管軸心方向へスムーズに移動するため、切管挿口を接続管受口に挿入する際に要する挿入力(接合力)を低減することができる。
本第4発明は、第1バルブとヒール部との接合部分に凹部が形成されているものである。
これによると、接続管受口に切管挿口を挿入して接合するとき、第1バルブが切管挿口により管径方向において圧縮されると、シール材側凹部が逃げ代となって第1バルブの圧縮量が減少する。これにより、切管挿口が第1バルブの内周を管軸心方向へスムーズに移動するため、切管挿口を接続管受口に挿入する際に要する挿入力(接合力)を低減することができる。
本第5発明は、くびれ部は第1および第2バルブよりも薄いものである。
本第6発明は、離脱防止手段は接続管受口に設けられているものである。
本第7発明は、離脱防止手段は、切管挿口と接続管受口とに外嵌され且つ接続管受口に固定される離脱防止リングに設けられているものである。
本第8発明は、離脱防止手段は、切管挿口の外周面に管径方向から食込み移動可能な抜止部材と、切管挿口と接続管受口とが相対的に離脱方向へ移動しようとした際、抜止部材を管径方向内方側へ食込み移動させる食込み手段とを有するものである。
これによると、地震等の地盤変動によって管継手構造に離脱力が作用して、切管と接続管とが相対的に離脱移動しようとした際、食込み手段によって抜止部材がさらに管径方向内方側へ食込み移動するため、切管挿口と接続管受口との接続が強力に維持される。
本第9発明は、施工現場で所定寸法に切断加工して製作された切断端部を有する切管と、他の管の端部に形成された受口とを接続する接続管であって、
切管の切断端部が切管挿口として挿入される接続管受口が一端に備えられ、
他の管の受口に挿入される接続管挿口が他端に備えられ、
接続管挿口には、他の管の受口内周に設けられた係止部材に受口奥側から係合可能な抜止突部が設けられ、
切管挿口と接続管受口との離脱が離脱防止手段によって防止され、
切管挿口と接続管受口との間を全周にわたりシールする弾性材からなる環状のシール材が接続管受口内に配設され、
シール材は、接続管受口の内周面に形成された嵌め込み溝内に嵌め込まれるヒール部と、接続管受口の内周面と切管挿口の外周面との間に挟まれるバルブ部とを有し、
バルブ部は互いに接合された第1バルブと第2バルブとを備え、
第1バルブの外周部に、接続管受口の内周面に圧接する第1シール部が形成され、
第2バルブの内周部に、切管挿口の外周面に圧接する第2シール部が形成され、
第1バルブがヒール部に接合され、
第1バルブと第2バルブとの接合部分にはくびれ部が形成され、
第2バルブは、第1バルブに対して接続管受口の奥側に位置し、且つ、第1バルブから管中心に向って傾斜しており、
ヒール部は、第1バルブに対して、接続管受口の奥側とは反対の開口部側に位置し、
第2バルブは、その内径が切管挿口の外径よりも小さく設定され、且つ、くびれ部の変形により管径方向において拡縮自在であり、
接続管受口の内周面には、嵌め込み溝よりも奥側に位置する凹部が形成され、
第1バルブの管径方向の厚さは第2バルブの管径方向の厚さよりも薄く、
第2バルブの外周と接続管受口の凹部の底面との間に間隙が形成されるものである。
以上のように本発明によると、切管挿口を接続管受口に挿入する際に要する挿入力を低減することができる。
本発明の第1の実施の形態における切管と他の管とを接続する管継手構造の断面図である。 同、管継手構造の切管と接続管との接続部分の拡大断面図である。 同、管継手構造の離脱防止手段を管軸心方向から見た断面図である。 同、管継手構造のシール材の自然状態(シール材を管継手から取り外した非圧縮状態)での横断面図である。 同、管継手構造のシール材の自然状態(シール材を管継手から取り外した非圧縮状態)での各部分の寸法を示した横断面図である。 同、管継手構造の切管を接続管に接続する手順を示す断面図である。 同、管継手構造の切管を接続管に接続する手順を示す断面図である。 同、管継手構造の切管を接続管に接続する手順を示す断面図である。 同、管継手構造の切管を接続管に接続する手順を示す断面図である。 本発明の第2の実施の形態における管継手構造の離脱防止手段の断面図である。 従来の切管と他の管とを接続する管継手構造の断面図である。 同、管継手構造の切管と接続管との接続部分の拡大断面図である。 同、管継手構造のシール材の自然状態(シール材を管継手から取り外した非圧縮状態)での横断面図である。
以下、本発明における第1の実施の形態を、図面を参照して説明する。
図1に示すように、1は、切管2と他の管3とを、接続管4を介して接続した管継手構造である。切管2は、施工現場で所定寸法(所定長さ)に切断加工して製作されており、切断端部を切管挿口6としている。また、他の管3は、一端部に挿口(図示省略)を有するとともに、他端部に受口7を有する直管状の規格管(鋳鉄管等)である。
接続管4は、鋳鉄管であり、一端部に接続管受口8を有するとともに、他端部に接続管挿口9を有している。切管挿口6は接続管受口8に挿入され、接続管挿口9は受口7に挿入されている。切管挿口6の切断端部には、水密性を有する円環状の防食部材10(例えば防食ゴム等)が取り付けられている。
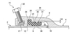
接続管受口8には、切管挿口6と接続管受口8との離脱を防止する離脱防止手段11と、第1のシール材12とが設けられている。また、他の管3の受口7には、第2のシール材13とロックリング14(係止部材の一例)と心出し体15とが設けられている。
図2,図3に示すように、離脱防止手段11は、切管挿口6の外周面に管径方向から食込み移動可能な複数の抜止部材17と、切管挿口6と接続管受口8とが相対的に離脱方向へ移動しようとした際、抜止部材17を管径方向内方53側へ食込み移動させる食込み手段18とを有する。
接続管受口8の内周面の周方向に等間隔をおいた複数箇所には、管径方向内方53に向かって開口する複数の抜止用凹部19が形成されている。抜止部材17は、抜止用凹部19に、管径方向内方53へ食込み移動自在に嵌め込まれている。尚、各抜止部材17の内面には食込み突起20が形成されている。
食込み手段18は、抜止部材17の外面に形成された受け面21と、受け面21を介して抜止部材17を管径方向内方53へ向かって押圧する複数の押圧ボルト22(押圧手段の一例)とを有している。受け面21は接続管受口8の奥側ほど管径方向外方へ向かって傾斜している。また、押圧ボルト22は、接続管受口8の内外両側に貫通するねじ孔23に螺合しており、受け面21に対して直交方向になるように傾斜しており、先端部が受け面21に当接している。
また、接続管受口8の内周面には、抜止用凹部19よりも奥側に位置する嵌め込み溝25と、嵌め込み溝25よりも奥側に位置する凹部26とがそれぞれ全周にわたり形成されている。嵌め込み溝25と凹部26との間には、管径方向内方53へ向って突出する凸部27が全周にわたり形成されている。
図2,図4,図5に示すように、第1のシール材12は、切管挿口6と接続管受口8との間を全周にわたりシールするものであり、ゴム(弾性材の一例)製で円環状に形成されており、嵌め込み溝25に嵌め込まれるヒール部28と、接続管受口8の内周面と切管挿口6の外周面との間に挟まれるバルブ部29とを有している。ヒール部28は横断面形状(周方向に対して垂直な断面の形状)が方形をした環状の部材である。
バルブ部29は、環状の部材であり、互いに接合された第1バルブ30と第2バルブ31とを備えている。図4,図5に示すように、第1のシール材12を接続管受口8から取り外した非圧縮状態(非使用状態)では、第1バルブ30の横断面形状は管軸心方向に長く且つ両端部に半径r1の半円部を有する長円形状であり、第2バルブ31の横断面形状は半径r2の円形状である。尚、上記半径r1は半径r2よりも小さく、第1バルブ30の厚さT1は第2バルブ31の厚さT2よりも薄い。また、第2バルブ31の横断面の直径(=2×r2)は凸部27の内周面と切管挿口6の外周面との管径方向の間隔Sよりも大きく形成されている。
第1バルブ30はヒール部28に接合され、第1バルブ30とヒール部28との接合部分の外周部にはシール材側凹部32が形成されている。尚、第1バルブ30の内径は切管挿口6の外径よりも僅かに小さく形成され、第1バルブ30の外径は凸部27の内径よりも僅かに大きく形成されている。
ヒール部28は、第1バルブ30に対して、接続管受口8の奥側とは反対の開口部側(手前側)に位置している。また、第1バルブ30と第2バルブ31との接合部分には、第1および第2バルブ30,31よりも薄いくびれ部33が形成されている。くびれ部33の内周面と外周面とにはそれぞれ、円弧状のシール材側凹部34,35が形成されている。
第2バルブ31は、第1バルブ30に対して接続管受口8の奥側に位置し、且つ、第1のシール材12を取り外した非圧縮状態では、第1バルブ30から管中心に向って傾斜している。尚、図5に示すように、第1バルブ30の第2バルブ31寄りの端部の半円部の中心P1と第2バルブ31の中心P2とを含む面をL1とし、上記中心P1を含み且つ第1のシール材12の径方向の面をL2とすると、面L2に対する面L1の傾斜角度Mは15〜35°に設定されている。さらに、第2バルブ31は、その内径dが切管挿口6の外径D(図2参照)よりも小さく設定され、且つ、くびれ部33の弾性変形により管径方向において拡縮自在である。また、ヒール部28の内径Jは第1バルブ30の内径Kよりも大きく設定されている。
第1バルブ30の外周部には、凸部27の内周面(接続管受口8の内周面)に圧接する第1シール部37が全周にわたり形成されている。また、第2バルブ31の内周部には、切管挿口6の外周面に圧接する第2シール部38が全周にわたり形成されている。第1シール部37の位置と第2シール部38の位置とは管軸心方向にずれている。また、凸部27の管軸心方向の長さは第2バルブ31を圧縮しない長さに設定されている。尚、ヒール部28はバルブ部47よりも硬質のゴムで形成されている。
図1に示すように、接続管挿口9の先端部の外周には抜止突部45が全周にわたり形成されている。尚、抜止突部45は接続管挿口9の先端面よりも所定距離だけ引き抜き方向へ後退した位置に形成されている。
また、他の管3の受口7の内周面には、嵌め込み溝46と、嵌め込み溝46よりも受口奥側に位置する凹部47と、凹部47よりも受口奥側に位置するロックリング収容溝48とがそれぞれ全周にわたり形成されている。嵌め込み溝46と凹部47との間には凸部49が形成されている。
ロックリング14と心出し体15とはロックリング収容溝48に収容されている。ロックリング14は、周方向一つ割りの金属製リングであり、弾性的な縮径力を有することで、接続管挿口9の外周面に弾性的に抱き付くように構成されている。心出し体15は、ゴム等の弾性材からなり、ロックリング14の外周面とロックリング収容溝48の底面との間に配置されており、接続管挿口9が受口7に挿入されていないときにロックリング14を受口7に対して心出し状態に保持可能である。尚、接続管挿口9の抜止突部45は、ロックリング14に、受口奥側から係合可能である。
第2のシール材13は、受口7と接続管挿口9との間を全周にわたりシールするものであり、嵌め込み溝46に嵌め込まれるヒール部50と、受口7の内周面と接続管挿口9の外周面との間に挟まれるバルブ部51とを有している。尚、第2のシール材13は第1のシール材13と同じ構成を有している。
以下、上記構成における作用を説明する。
接続管4を介して切管2と他の管3とを接続する場合、図6に示すように、接続管4の接続管受口8内の嵌め込み溝25に第1のシール材12のヒール部28を嵌め込んで、第1のシール材12を接続管受口8内に装着する。
その後、切管2の切管挿口6を接続管受口8に挿入する。この際、図7に示すように、切管挿口6の先端は、第1バルブ30の内周に挿入され、第2バルブ31に接触して、第2バルブ31を挿入方向へ押す。これにより、図8に示すように、第2バルブ31が管径方向において拡大(拡径)され、拡大された第2バルブ31の外周と凹部26の底面との間には間隙52が全周にわたり形成される。その後、図9に示すように、切管挿口6をさらに接続管受口8に挿入することにより、切管2と接続管4とが接続される。
この際、第2バルブ31は、管径方向において拡大(拡径)された状態であるため、切管挿口6の外周面に張り付くとともに、第2バルブ31の拡径に付随して第1バルブ30が管径方向外向きに押される。これにより、第1バルブ30の第1シール部37が凸部27の内周面(接続管受口8の内周面)に圧接するとともに、第2バルブ31の第2シール部38が切管挿口6の外周面に圧接するため、接続管受口8と切管挿口6との間で高い水密性を保持することができ、切管挿口6と接続管受口8との間が第1のシール材12によって確実にシールされる。
上記のように切管挿口6を接続管受口8に挿入した際、図4の仮想線で示すように、第1および第2バルブ30,31よりも薄いくびれ部33が変形することで、第2バルブ31が管径方向において拡大するため、第2バルブ31を管径方向において拡大させるのに要する力が低減され、これにより、切管挿口6を接続管受口8に挿入する際に要する挿入力(接合力)を低減することができる。
また、図5に示すように、ヒール部28の内径Jは第1バルブ30の内径Kよりも大きいため、第1バルブ30が切管挿口6の外周面と凸部27の内周面との間で管径方向において圧縮される際、第1バルブ30の一部がヒール部28と切管挿口6との間に逃げることができる。このことによっても、上記挿入力(接合力)を低減することができる。
さらに、図8に示すように、第1バルブ30が切管挿口6の外周面と凸部27の内周面との間で管径方向において圧縮されたとき、各シール材側凹部32,34,35(図5参照)が逃げ代となって第1バルブ30の圧縮量が減少する。これにより、切管挿口6が第1バルブ30の内周を管軸心方向へスムーズに移動するため、上記挿入力(接合力)を低減することができる。
また、図5に示すように、第1バルブ30の厚さT1は第2バルブ31の厚さT2よりも薄いため、切管挿口6が第1バルブ30の内周を管軸心方向へ移動する際、第1バルブ30の管径方向の圧縮量が小さくなり、切管挿口6が第1バルブ30の内周を管軸心方向へスムーズに移動し、上記挿入力(接合力)を低減することができる。
さらに、図9に示すように、切管挿口6が第2バルブ31の内周を移動する際、間隙52が逃げ代となって、第2バルブ31が、切管挿口6に対して、管径方向の外向きに変位して逃げることができる。これにより、上記挿入力(接合力)をさらに低減することができる。
また、互いに接合された切管2と接続管4との内部に水圧が作用すると、図2に示すように、この水圧によってバルブ部29を接続管受口8の奥側から開口側(手前側)に押し出そうとする押出し力F1が管軸心方向に作用する。これに対して、第1シール部37の位置と第2シール部38の位置とが管軸心方向にずれているため、押出し力F1によってバルブ部29が接続管受口8の奥側から開口側に押し出されてしまうのを防止することができる。特に、第1シール部37の位置と第2シール部38の位置との管軸心方向におけるずれ量Aを大きくするほど、大きな押出し力F1に対して、バルブ部29が押し出されてしまうのを防止することができる。これにより、切管挿口6と接続管受口8との間の水密性が向上する。
また、第1バルブ30の第1シール部37は接続管受口8内の凸部27の内周面に圧接するため、第1バルブ30の外径を小さくして、凸部27の内径を小さくすることができ、これにより、凸部27と切管挿口6との隙間が小さくなり、水圧負荷時に第1のシール材12に作用する水圧の絶対値が小さくなる。したがって、高水圧負荷時でも、第1のシール材12が切管挿口6と接続管受口8との隙間から離脱し難くなる。
また、図5に示した第2バルブ31の横断面の直径(=2×r2)は凸部27の内周面と切管挿口6の外周面との管径方向の間隔Sよりも大きく形成されているため、バルブ部29が押出し力F1によって押されても、第2バルブ31は上記間隔Sを通過し難く、これによっても、バルブ部29が接続管受口8の奥側から開口側に押し出されてしまうのを防止することができる。
また、第2バルブ31の外周と凹部26の底面との間隙52にも水圧が作用するため、第2バルブ31には管中心に向いた押付力F2が作用し、これにより、第2バルブ31の第2シール部38が切管挿口6の外周面に強く押し付けられ、切管挿口6と接続管受口8との間の水密性がさらに向上する。
その後、図2に示すように、各押圧ボルト22を締め付けて、各抜止部材17を管径方向内方53へ向って押圧することにより、抜止部材17の食込み突起20を切管挿口6の外周面に食い込ませる。
また、図1に示すように、他の管3の受口7のロックリング収容溝48にロックリング14と心出し体15とを嵌め込み、さらに、受口7の嵌め込み溝46に第2のシール材13のヒール部50を嵌め込んで、第2のシール材13を受口7内に装着する。その後、接続管挿口9を受口7に挿入し、接続管挿口9の抜止突部45をロックリング14の受口開口側から受口奥側へ通過させる。
この際、接続管挿口9の抜止突部45は第2のシール材13の内周を通過するが、第1のシール材12と同様に、接続管挿口9を受口7に挿入する際に要する挿入力(接合力)を低減することができる。また、第1のシール材12と同様に、第2のシール材13によって受口7と接続管挿口9との間の水密性が向上する。
また、地震等の地盤変動によって管継手構造1に離脱力(抜け出し力)が作用して、接続管4と他の管3とが相対的に離脱移動しようとした際、抜止突部45がロックリング14に受口奥側から係合することにより、接続管挿口9と受口7との相対的な離脱移動が強力に阻止される。
さらに、上記離脱力が作用して、切管2と接続管4とが相対的に離脱移動しようとした際、食込み手段18によって各抜止部材17が管径方向内方53側へ食込み移動し、食込み突起20が切管挿口6の外周面に食い込むため、切管挿口6と接続管受口8との接続が強力に維持される。
また、図1に示すように、切管挿口6の切断端面は塗装されていないが、防食部材10が取り付けられているため、腐食を防止することができる。
次に、本発明における第2の実施の形態を、図10を参照して説明する。
離脱防止手段60は、切管挿口6と接続管受口8とに外嵌された円環状の離脱防止リング61に設けられている。上記第1の実施の形態と同様に、離脱防止手段60は、複数の抜止部材17と、食込み手段18とを有する。また、複数の抜止用凹部19は離脱防止リング61の管軸心方向における一端部内周面に形成され、抜止部材17は抜止用凹部19に嵌め込まれている。尚、食込み手段18は受け面21と押圧ボルト22とを有している。
離脱防止リング61の管軸心方向における他端部には、離脱防止リング61を接続管受口8の外周に固定する固定手段62が備えられている。固定手段62は、離脱防止リング61の内周に全周にわたり形成された固定溝63と、固定溝63に嵌め込まれた固定リング64と、固定リング64を管径方向内方53へ向けて押圧する複数の固定ボルト65とを有している。
固定リング64は、周方向一つ割り構造の金属製リングであり、接続管受口8に外嵌されている。また、固定ボルト65は離脱防止リング61の周方向に等間隔をおいた複数箇所に設けられている。
以下、上記構成における作用を説明する。
固定リング64を固定溝63内に嵌め込んだ状態で、離脱防止リング61を接続管受口8に外嵌し、固定ボルト65を締め付けて固定リング64を管径方向内方53へ向けて押圧する。これにより、固定リング64が接続管受口8の外周面に当接して押圧されるため、離脱防止リング61が接続管受口8の外周に固定される。
次に、抜止部材17を抜止用凹部19に嵌め込んだ状態で、切管挿口6を接続管受口8に挿入し、その後、押圧ボルト22を締め付けて、抜止部材17を管径方向内方53へ向って押圧することにより、食込み突起20を切管挿口6の外周面に食い込ませる。
地震等の地盤変動によって管継手構造1に離脱力が作用して、切管2と接続管4とが相対的に離脱移動しようとした際、食込み手段18によって各抜止部材17が管径方向内方53側へ食込み移動し、食込み突起20が切管挿口6の外周面に食い込むため、切管挿口6と接続管受口8との接続が強力に維持される。
1 管継手構造
2 切管
3 他の管
4 接続管
6 切管挿口
7 受口
8 接続管受口
9 接続管挿口
11,60 離脱防止手段
12 第1のシール材
14 ロックリング(係止部材)
17 抜止部材
18 食込み手段
25 嵌め込み溝
26 凹部
27 凸部
28 ヒール部
29 バルブ部
30 第1バルブ
31 第2バルブ
32,34,35 シール材側凹部
33 くびれ部
37 第1シール部
38 第2シール部
45 抜止突部
52 間隙
61 離脱防止リング
T1 第1バルブの管径方向の厚さ
T2 第2バルブの管径方向の厚さ

Claims (9)

  1. 施工現場で所定寸法に切断加工して製作された切断端部を有する切管と、他の管の端部に形成された受口とを、接続管を介して接続した管継手構造であって、
    接続管は一端に接続管受口を有するとともに他端に接続管挿口を有し、
    切管の切断端部が切管挿口として接続管の接続管受口に挿入され、
    接続管の接続管挿口が他の管の受口に挿入され、
    接続管挿口には、他の管の受口内周に設けられた係止部材に受口奥側から係合可能な抜止突部が設けられ、
    切管挿口と接続管受口との離脱を防止する離脱防止手段が備えられ、
    切管挿口と接続管受口との間は弾性材からなる環状のシール材によって全周にわたりシールされ、
    シール材は、接続管受口の内周面に形成された嵌め込み溝に嵌め込まれるヒール部と、接続管受口の内周面と切管挿口の外周面との間に挟まれるバルブ部とを有し、
    バルブ部は互いに接合された第1バルブと第2バルブとを備え、
    第1バルブの外周部に、接続管受口の内周面に圧接する第1シール部が形成され、
    第2バルブの内周部に、切管挿口の外周面に圧接する第2シール部が形成され、
    第1バルブがヒール部に接合され、
    第1バルブと第2バルブとの接合部分にはくびれ部が形成され、
    第2バルブは、第1バルブに対して接続管受口の奥側に位置し、且つ、第1バルブから管中心に向って傾斜しており、
    ヒール部は、第1バルブに対して、接続管受口の奥側とは反対の開口部側に位置し、
    第2バルブは、その内径が切管挿口の外径よりも小さく設定され、且つ、くびれ部の変形により管径方向において拡縮自在であり、
    接続管受口の内周面には、嵌め込み溝よりも奥側に位置する凹部が形成され、
    第1バルブの管径方向の厚さは第2バルブの管径方向の厚さよりも薄く、
    第2バルブの外周と接続管受口の凹部の底面との間に間隙が形成されていることを特徴とする管継手構造。
  2. 接続管受口の内周面には、嵌め込み溝と凹部との間に位置する凸部形成され、
    第1シール部は凸部の内周面に圧接し、
    第1シール部の位置と第2シール部の位置とが管軸心方向にずれていることを特徴とする請求項1記載の管継手構造。
  3. くびれ部の内周面と外周面とにそれぞれシール材側凹部が形成されていることを特徴とする請求項1又は請求項2記載の管継手構造。
  4. 第1バルブとヒール部との接合部分にシール材側凹部が形成されていることを特徴とする請求項1から請求項3のいずれか1項に記載の管継手構造。
  5. くびれ部は第1および第2バルブよりも薄いことを特徴とする請求項1から請求項4のいずれか1項に記載の管継手構造。
  6. 離脱防止手段は接続管受口に設けられていることを特徴とする請求項1から請求項5のいずれか1項に記載の管継手構造。
  7. 離脱防止手段は、切管挿口と接続管受口とに外嵌され且つ接続管受口に固定される離脱防止リングに設けられていることを特徴とする請求項1から請求項5のいずれか1項に記載の管継手構造。
  8. 離脱防止手段は、切管挿口の外周面に管径方向から食込み移動可能な抜止部材と、切管挿口と接続管受口とが相対的に離脱方向へ移動しようとした際、抜止部材を管径方向内方側へ食込み移動させる食込み手段とを有することを特徴とする請求項1から請求項7のいずれか1項に記載の管継手構造。
  9. 施工現場で所定寸法に切断加工して製作された切断端部を有する切管と、他の管の端部に形成された受口とを接続する接続管であって、
    切管の切断端部が切管挿口として挿入される接続管受口が一端に備えられ、
    他の管の受口に挿入される接続管挿口が他端に備えられ、
    接続管挿口には、他の管の受口内周に設けられた係止部材に受口奥側から係合可能な抜止突部が設けられ、
    切管挿口と接続管受口との離脱が離脱防止手段によって防止され、
    切管挿口と接続管受口との間を全周にわたりシールする弾性材からなる環状のシール材が接続管受口内に配設され、
    シール材は、接続管受口の内周面に形成された嵌め込み溝内に嵌め込まれるヒール部と、接続管受口の内周面と切管挿口の外周面との間に挟まれるバルブ部とを有し、
    バルブ部は互いに接合された第1バルブと第2バルブとを備え、
    第1バルブの外周部に、接続管受口の内周面に圧接する第1シール部が形成され、
    第2バルブの内周部に、切管挿口の外周面に圧接する第2シール部が形成され、
    第1バルブがヒール部に接合され、
    第1バルブと第2バルブとの接合部分にはくびれ部が形成され、
    第2バルブは、第1バルブに対して接続管受口の奥側に位置し、且つ、第1バルブから管中心に向って傾斜しており、
    ヒール部は、第1バルブに対して、接続管受口の奥側とは反対の開口部側に位置し、
    第2バルブは、その内径が切管挿口の外径よりも小さく設定され、且つ、くびれ部の変形により管径方向において拡縮自在であり、
    接続管受口の内周面には、嵌め込み溝よりも奥側に位置する凹部が形成され、
    第1バルブの管径方向の厚さは第2バルブの管径方向の厚さよりも薄く、
    第2バルブの外周と接続管受口の凹部の底面との間に間隙が形成されることを特徴とする接続管。
JP2009138737A 2009-01-27 2009-06-10 管継手構造および接続管 Active JP5377095B2 (ja)

Priority Applications (21)

Application Number Priority Date Filing Date Title
JP2009138737A JP5377095B2 (ja) 2009-06-10 2009-06-10 管継手構造および接続管
KR1020137025902A KR101585909B1 (ko) 2009-01-27 2010-01-22 파이프 조인트
KR1020137025901A KR101514689B1 (ko) 2009-01-27 2010-01-22 파이프 조인트
CN201080005536.2A CN102301172B (zh) 2009-01-27 2010-01-22 管接头
KR1020117016070A KR101488752B1 (ko) 2009-01-27 2010-01-22 파이프 조인트 및 관의 접속 장치
CN201310088677.0A CN103133793B (zh) 2009-01-27 2010-01-22 管接头
CN201410165455.9A CN104075050B (zh) 2009-01-27 2010-01-22 管接头
PCT/JP2010/050755 WO2010087275A1 (ja) 2009-01-27 2010-01-22 管継手
CN201410161002.9A CN103925432B (zh) 2009-01-27 2010-01-22 管接头
EP10735744.4A EP2392845B1 (en) 2009-01-27 2010-01-22 Pipe joint
CN201310089272.9A CN103174889B (zh) 2009-01-27 2010-01-22 管接头
US13/146,256 US8573654B2 (en) 2009-01-27 2010-01-22 Pipe joint
CN201310089167.5A CN103148293B (zh) 2009-01-27 2010-01-22 管接头
TW103130993A TWI530636B (zh) 2009-01-27 2010-01-27 Pipe fittings and fittings for the locking ring
TW099102264A TWI487862B (zh) 2009-01-27 2010-01-27 Pipe fittings
TW103130994A TWI542805B (zh) 2009-01-27 2010-01-27 Pipe fittings
TW103130995A TWI542806B (zh) 2009-01-27 2010-01-27 Joints and fittings for pipe joints
US14/022,299 US9488300B2 (en) 2009-01-27 2013-09-10 Pipe joint
US14/220,433 US9719618B2 (en) 2009-01-27 2014-03-20 Pipe joint
US14/974,118 US10520119B2 (en) 2009-01-27 2015-12-18 Pipe joint
US14/974,062 US10006572B2 (en) 2009-01-27 2015-12-18 Pipe joint

Applications Claiming Priority (1)

Application Number Priority Date Filing Date Title
JP2009138737A JP5377095B2 (ja) 2009-06-10 2009-06-10 管継手構造および接続管

Publications (2)

Publication Number Publication Date
JP2010286017A JP2010286017A (ja) 2010-12-24
JP5377095B2 true JP5377095B2 (ja) 2013-12-25

Family

ID=43541875

Family Applications (1)

Application Number Title Priority Date Filing Date
JP2009138737A Active JP5377095B2 (ja) 2009-01-27 2009-06-10 管継手構造および接続管

Country Status (1)

Country Link
JP (1) JP5377095B2 (ja)

Families Citing this family (2)

* Cited by examiner, † Cited by third party
Publication number Priority date Publication date Assignee Title
CN110701400A (zh) * 2019-11-20 2020-01-17 湖北拓宇水电科技股份有限公司 一种快速自动密封的管道接头
JP7534857B2 (ja) * 2020-03-23 2024-08-15 株式会社栗本鐵工所 ハウジング管の製造方法

Family Cites Families (8)

* Cited by examiner, † Cited by third party
Publication number Priority date Publication date Assignee Title
JPH039598Y2 (ja) * 1986-02-17 1991-03-11
JPH0424232Y2 (ja) * 1987-09-14 1992-06-08
JPH0799231B2 (ja) * 1991-07-16 1995-10-25 コスモ工機株式会社 管継ぎ手
JPH05231570A (ja) * 1992-02-20 1993-09-07 Kubota Corp 離脱防止管継手用ゴム輪
JP3392986B2 (ja) * 1995-05-17 2003-03-31 コスモ工機株式会社 流体管の離脱防止装置
NL1000584C2 (nl) * 1995-06-16 1996-12-19 Wavin Bv Buisdeel met een mofeinde voorzien van een afdichtsamenstel, alsmede afdichtsamenstel.
JPH1038157A (ja) * 1996-07-19 1998-02-13 Aron Kasei Co Ltd 塩ビ管・陶管接続用継手
JP2006170296A (ja) * 2004-12-15 2006-06-29 Kubota Corp 管継手およびその接合方法

Also Published As

Publication number Publication date
JP2010286017A (ja) 2010-12-24

Similar Documents

Publication Publication Date Title
EP2392845B1 (en) Pipe joint
JP6735123B2 (ja) 管継手および管の接合方法
TWI628386B (zh) 管子接頭、脫離防止構件、及管子接合方法
JP5455381B2 (ja) シール材
WO2015111303A1 (ja) 離脱防止管継手および管路構成部材
JP5534821B2 (ja) 離脱防止機能付きシール材および離脱防止管継手
JP5455382B2 (ja) 管継手およびシール材
JP5269178B2 (ja) 管継手の組立て方法
JP6525636B2 (ja) バックアップリング、継手および管の接続方法
JP5377095B2 (ja) 管継手構造および接続管
JPH10122466A (ja) 管継手の耐震構造
JP5455383B2 (ja) 管継手
JP2006118712A (ja) 結合インジケータ付カップリングアセンブリ
WO2011043113A1 (ja) 離脱防止機能付きシール材および離脱防止管継手
JP4286004B2 (ja) 管の継手構造
JP2004169829A (ja) 配管継手構造
JP6735124B2 (ja) 管継手および離脱防止部材
JP6764668B2 (ja) 管継手および管の接合方法
JP4212341B2 (ja) 管継手用スペーサおよび管継手
JP2005308139A (ja) 管継手構造
JP4781220B2 (ja) 管継手およびそれに用いられるバックアップリング
JP2005315384A (ja) 管接続構造及び挿口管部への管内作業機の取付け方法
JP2006009997A (ja) 管継手
JP2005337269A (ja) 離脱防止管継手
JP2758098B2 (ja) 離脱防止管継手

Legal Events

Date Code Title Description
A621 Written request for application examination

Free format text: JAPANESE INTERMEDIATE CODE: A621

Effective date: 20120326

A131 Notification of reasons for refusal

Free format text: JAPANESE INTERMEDIATE CODE: A131

Effective date: 20130604

A521 Written amendment

Free format text: JAPANESE INTERMEDIATE CODE: A523

Effective date: 20130730

TRDD Decision of grant or rejection written
A01 Written decision to grant a patent or to grant a registration (utility model)

Free format text: JAPANESE INTERMEDIATE CODE: A01

Effective date: 20130827

A61 First payment of annual fees (during grant procedure)

Free format text: JAPANESE INTERMEDIATE CODE: A61

Effective date: 20130924

R150 Certificate of patent or registration of utility model

Ref document number: 5377095

Country of ref document: JP

Free format text: JAPANESE INTERMEDIATE CODE: R150

Free format text: JAPANESE INTERMEDIATE CODE: R150