JP5345708B2 - バルブの軸洩れ低減構造 - Google Patents

バルブの軸洩れ低減構造 Download PDF

Info

Publication number
JP5345708B2
JP5345708B2 JP2011552235A JP2011552235A JP5345708B2 JP 5345708 B2 JP5345708 B2 JP 5345708B2 JP 2011552235 A JP2011552235 A JP 2011552235A JP 2011552235 A JP2011552235 A JP 2011552235A JP 5345708 B2 JP5345708 B2 JP 5345708B2
Authority
JP
Japan
Prior art keywords
valve
shaft
fluid passage
bearing
valve shaft
Prior art date
Legal status (The legal status is an assumption and is not a legal conclusion. Google has not performed a legal analysis and makes no representation as to the accuracy of the status listed.)
Active
Application number
JP2011552235A
Other languages
English (en)
Other versions
JPWO2011101903A1 (ja
Inventor
克典 高井
暁 長谷川
雅之 横山
Current Assignee (The listed assignees may be inaccurate. Google has not performed a legal analysis and makes no representation or warranty as to the accuracy of the list.)
Mitsubishi Electric Corp
Original Assignee
Mitsubishi Electric Corp
Priority date (The priority date is an assumption and is not a legal conclusion. Google has not performed a legal analysis and makes no representation as to the accuracy of the date listed.)
Filing date
Publication date
Application filed by Mitsubishi Electric Corp filed Critical Mitsubishi Electric Corp
Publication of JPWO2011101903A1 publication Critical patent/JPWO2011101903A1/ja
Application granted granted Critical
Publication of JP5345708B2 publication Critical patent/JP5345708B2/ja
Active legal-status Critical Current
Anticipated expiration legal-status Critical

Links

Images

Classifications

    • FMECHANICAL ENGINEERING; LIGHTING; HEATING; WEAPONS; BLASTING
    • F16ENGINEERING ELEMENTS AND UNITS; GENERAL MEASURES FOR PRODUCING AND MAINTAINING EFFECTIVE FUNCTIONING OF MACHINES OR INSTALLATIONS; THERMAL INSULATION IN GENERAL
    • F16KVALVES; TAPS; COCKS; ACTUATING-FLOATS; DEVICES FOR VENTING OR AERATING
    • F16K1/00Lift valves or globe valves, i.e. cut-off apparatus with closure members having at least a component of their opening and closing motion perpendicular to the closing faces
    • F16K1/16Lift valves or globe valves, i.e. cut-off apparatus with closure members having at least a component of their opening and closing motion perpendicular to the closing faces with pivoted closure-members
    • F16K1/18Lift valves or globe valves, i.e. cut-off apparatus with closure members having at least a component of their opening and closing motion perpendicular to the closing faces with pivoted closure-members with pivoted discs or flaps
    • F16K1/22Lift valves or globe valves, i.e. cut-off apparatus with closure members having at least a component of their opening and closing motion perpendicular to the closing faces with pivoted closure-members with pivoted discs or flaps with axis of rotation crossing the valve member, e.g. butterfly valves
    • F16K1/226Shaping or arrangements of the sealing
    • FMECHANICAL ENGINEERING; LIGHTING; HEATING; WEAPONS; BLASTING
    • F16ENGINEERING ELEMENTS AND UNITS; GENERAL MEASURES FOR PRODUCING AND MAINTAINING EFFECTIVE FUNCTIONING OF MACHINES OR INSTALLATIONS; THERMAL INSULATION IN GENERAL
    • F16KVALVES; TAPS; COCKS; ACTUATING-FLOATS; DEVICES FOR VENTING OR AERATING
    • F16K1/00Lift valves or globe valves, i.e. cut-off apparatus with closure members having at least a component of their opening and closing motion perpendicular to the closing faces
    • F16K1/16Lift valves or globe valves, i.e. cut-off apparatus with closure members having at least a component of their opening and closing motion perpendicular to the closing faces with pivoted closure-members
    • F16K1/18Lift valves or globe valves, i.e. cut-off apparatus with closure members having at least a component of their opening and closing motion perpendicular to the closing faces with pivoted closure-members with pivoted discs or flaps
    • F16K1/22Lift valves or globe valves, i.e. cut-off apparatus with closure members having at least a component of their opening and closing motion perpendicular to the closing faces with pivoted closure-members with pivoted discs or flaps with axis of rotation crossing the valve member, e.g. butterfly valves
    • F16K1/226Shaping or arrangements of the sealing
    • F16K1/2268Sealing means for the axis of rotation
    • FMECHANICAL ENGINEERING; LIGHTING; HEATING; WEAPONS; BLASTING
    • F02COMBUSTION ENGINES; HOT-GAS OR COMBUSTION-PRODUCT ENGINE PLANTS
    • F02DCONTROLLING COMBUSTION ENGINES
    • F02D9/00Controlling engines by throttling air or fuel-and-air induction conduits or exhaust conduits
    • F02D9/08Throttle valves specially adapted therefor; Arrangements of such valves in conduits
    • F02D9/10Throttle valves specially adapted therefor; Arrangements of such valves in conduits having pivotally-mounted flaps
    • F02D9/1035Details of the valve housing
    • F02D9/106Sealing of the valve shaft in the housing, e.g. details of the bearings
    • FMECHANICAL ENGINEERING; LIGHTING; HEATING; WEAPONS; BLASTING
    • F02COMBUSTION ENGINES; HOT-GAS OR COMBUSTION-PRODUCT ENGINE PLANTS
    • F02MSUPPLYING COMBUSTION ENGINES IN GENERAL WITH COMBUSTIBLE MIXTURES OR CONSTITUENTS THEREOF
    • F02M26/00Engine-pertinent apparatus for adding exhaust gases to combustion-air, main fuel or fuel-air mixture, e.g. by exhaust gas recirculation [EGR] systems
    • F02M26/52Systems for actuating EGR valves
    • F02M26/53Systems for actuating EGR valves using electric actuators, e.g. solenoids
    • F02M26/54Rotary actuators, e.g. step motors
    • FMECHANICAL ENGINEERING; LIGHTING; HEATING; WEAPONS; BLASTING
    • F02COMBUSTION ENGINES; HOT-GAS OR COMBUSTION-PRODUCT ENGINE PLANTS
    • F02MSUPPLYING COMBUSTION ENGINES IN GENERAL WITH COMBUSTIBLE MIXTURES OR CONSTITUENTS THEREOF
    • F02M26/00Engine-pertinent apparatus for adding exhaust gases to combustion-air, main fuel or fuel-air mixture, e.g. by exhaust gas recirculation [EGR] systems
    • F02M26/65Constructional details of EGR valves
    • F02M26/70Flap valves; Rotary valves; Sliding valves; Resilient valves
    • FMECHANICAL ENGINEERING; LIGHTING; HEATING; WEAPONS; BLASTING
    • F02COMBUSTION ENGINES; HOT-GAS OR COMBUSTION-PRODUCT ENGINE PLANTS
    • F02MSUPPLYING COMBUSTION ENGINES IN GENERAL WITH COMBUSTIBLE MIXTURES OR CONSTITUENTS THEREOF
    • F02M26/00Engine-pertinent apparatus for adding exhaust gases to combustion-air, main fuel or fuel-air mixture, e.g. by exhaust gas recirculation [EGR] systems
    • F02M26/65Constructional details of EGR valves
    • F02M26/74Protection from damage, e.g. shielding means

Landscapes

  • Engineering & Computer Science (AREA)
  • General Engineering & Computer Science (AREA)
  • Mechanical Engineering (AREA)
  • Chemical & Material Sciences (AREA)
  • Combustion & Propulsion (AREA)
  • Health & Medical Sciences (AREA)
  • Toxicology (AREA)
  • Details Of Valves (AREA)
  • Exhaust-Gas Circulating Devices (AREA)
  • Lift Valve (AREA)

Description

この発明は、排気ガス再循環(EGR)バルブ等の流体制御用バルブの軸洩れを低減させる軸洩れ低減構造に関する。
昨今の環境問題に伴う排ガス規制強化によって、エンジンから発生するエミッションを抑えるために、例えばEGRバルブのような高温ガスが流通するバルブでは軸洩れを低減させることが必須となってきている。
従来、流体制御用バルブにおいて、ハウジングや軸受け部と弁軸との隙間を通って流体通路内の流体が洩出する軸洩れを抑えるために、この隙間にポリテトラフルオロエチレン(PTFE)若しくはフッ素系の軸シール又はラビリンスシール構造を設ける。例えば特許文献1に開示の軸洩れ低減構造では、弁軸の流体通路とハウジングの切替部分に設けた軸受け部の、流体通路側の弁軸外周にラビリンスシールを周設してジグザグ状の流体経路を形成し、流体が流体通路から軸受け部へ流れ出にくくすると共に、ハウジング側の弁軸外周にPTFEのリップシールを周設して、軸受け部からハウジングへの軸洩れを抑える。
特開2007−32301号公報
しかしながら、EGRバルブに流通する高温ガスは200〜800℃、特にEGRクーラの直前に配置されるホットサイド用バルブに流通する高温ガスは800℃にも達するので、従来のPTFE又はフッ素系の軸シールでは耐熱温度を超えてしまい使用しにくい又は使用できないため、軸洩れ量を抑えることが困難であるという課題があった。
例えば特許文献1に開示の軸洩れ低減構造では、ラビリンスシールは軸受け部と弁軸の隙間を塞いでいないため、流体通路を流通する高温の排ガスはこの隙間から洩れ出てラビリンスシール部分に流体経路を形成してしまう。そのため、軸洩れを抑える役目は主にリップシールが果たすことになるが、このリップシールはPTFEのため、上述のように200〜800℃の高温ガスが流通するようなバルブでは使用できず、軸洩れ量を低減することができない。
従って、特許文献1に開示の軸洩れ低減構造を高温(200℃以上)の流体に適用する場合には、ラビリンスシールはそのまま使用できるが、リップシールはPTFEから金属又は高温に耐えられる材料に変更する必要がある。ただし、その場合、リップシールと弁軸とのフリクションが増大して弁軸自体の動作に支障を与えることや、弁軸との隙間のシール構造が成立しないことが考えられ、高温下での軸洩れを低減させることは困難である。また、この構造は低温(200℃未満)の流体にも適用できるが、PTFEの軸シールと比較するとシール機能は劣る。ただし、コストは抑えられる。
この発明は、上記のような課題を解決するためになされたもので、バルブの軸洩れを低減させる軸洩れ低減構造を提供することを目的とする。
この発明の軸洩れ低減構造は、内部に設けた流体通路に連通する貫通穴を形成したハウジングと、貫通穴から流体通路に挿入され、回転中心軸を中心にして回転する弁軸と、弁軸と一体に回転して、流体通を開閉する弁体と、弁軸の流体通路挿入側とは反対側で当該弁軸を回転自在に軸支するベアリングと、貫通穴内に設けられ、ベアリングより流体通路側で弁軸を回転自在に軸支する軸受け部と、ベアリングを、回転中心軸方向の流体通路とは反対側に荷重するワッシャと、弁軸の外周面に圧入され、与圧によって軸受け部の流体通路側の面に当接しながら回転する、切れ目のない環状の軸シール部とを備え、軸シール部は、ワッシャに荷重されたベアリングにより弁軸に作用する回転中心軸方向の流体通路とは反対側の与圧によって、軸受け部の流体通路側の面に当接すると共に、貫通穴を通じて流体通路から流れ出る流体の圧力が当該軸シール部に与圧として作用して軸受け部の流体通路側の面に当接するものである。
この発明によれば、弁軸の外周面に圧入された切れ目のない環状の軸シール部が、弁軸および当該軸シール部に作用する与圧によって、軸受け部の流体通路側の面に当接しながら回転することにより、弁軸と軸シール部の隙間及び軸受け部と軸シール部の隙間をなくして軸洩れを低減させるバルブの軸洩れ低減構造を提供することができる。
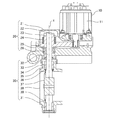
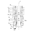
この発明の実施の形態1に係るEGRバルブの構成を示す断面図である。 図1に示すEGRバルブの軸洩れ低減構造を拡大した断面図である。 図1に示すEGRバルブのプレート周辺を拡大した断面図である。
以下、この発明をより詳細に説明するために、この発明を実施するための形態について、添付の図面に従って説明する。
実施の形態1.
図1に示すEGRバルブは、バルブ開閉の回転駆動力を発生させるアクチュエータ部10と、アクチュエータ部10の駆動力をロッド(弁軸)32に伝達するギア部20と、高温の排ガスが流通する管(不図示)に介装され、バタフライ弁状のバルブ(弁体)37を開閉して排ガスの流通を制御するバルブ部30とからなる。
アクチュエータ部10はDCモータ等をモータ11に用い、このモータ11の駆動軸の一端には、ギア部ハウジング21内部にあるピニオンギア22が連結されている。モータ11が駆動するとピニオンギア22及びギア23が噛合して回転し、モータ11の駆動力をロッド32へ伝達する。ロッド32はベアリング25によって回転自在に軸支され、駆動力により回転中心軸Xを中心に回転して、ロッド32に固定されているバルブ37を開かせる。このベアリング25は、ワッシャ(荷重手段)26の荷重により軸方向上向きに与圧されている。また、ギア23にはリターンスプリング24が配置されており、このリターンスプリング24がロッド32をモータ11の駆動力による回転方向とは逆方向に付勢して、モータ11の停止中にバルブ37をバルブシート39に当接する閉位置へ戻す。
バルブ部ハウジング31には外部とガス通路(流体通路)38とを連通する貫通穴31aが設けられている。この貫通穴31aにロッド32が挿入される。また、この貫通穴31aにはブッシュ(軸受け部)35が圧入され、固定ピン34で固定されている。このブッシュ35が軸受けとなってロッド32を回転自在に軸支している。また、貫通穴31aにおいて、ロッド32の外周面にはプレート(軸シール部)36が圧入されており、ロッド32とプレート36が一体で回転する。また、バルブ部ハウジング31とギア部ハウジング21の間にはカバー33を配置して、ガスに含まれるカーボンデポジット、ゴミ等がロッド32の外周面に沿ってギア部ハウジング21内に進入しないようにする。
また、ロッド32にはバルブ37が固定されており、このバルブ37がロッド32と一体に回転して、ガス通路38に設けられたバルブシート39に当接してガスの流通を止める。
次に、図2及び図3の拡大断面図を用いて、EGRバルブの軸洩れ低減構造を説明する。
ガス通路38を流通するガス、及びバルブ37とバルブシート39の隙間から洩れ出るガスは、ロッド32の外周面に沿って軸方向上向きに軸洩れするが、プレート36がロッド32の外周面に圧入されているため、プレート36の内周面とロッド32の外周面に隙間がなく、この部分から軸洩れすることもない。
また、ガス通路38を流通するガス、及びバルブ37とバルブシート39の隙間から洩れ出るガスは、ロッド32を外周面に沿って軸方向上向きに流通しながら与圧する。ロッド32に作用するこの与圧により、ロッド32と一体化したプレート36がブッシュ35へ当接する。このように、ロッド32に作用する与圧によりプレート36とブッシュ35とを積極的に当接させ、プレート36とブッシュ35の当接面の隙間を埋めることによって、ガスの洩れ出る経路をなくして軸洩れを抑えることができる。
さらに、ワッシャ26はベアリング25に荷重を与えているが、この荷重はベアリング25を経由してロッド32にも作用する。ワッシャ26によって発生されたこの与圧は、上記ガス圧力によって発生された与圧と共にロッド32に作用して、ロッド32と一体化したプレート36がブッシュ35へ当接する。従って、ガス圧力の変動時、例えばガス圧力が負圧になってブッシュ35とプレート36とが離れる方向に引っ張られる場合でも、ワッシャ26の荷重がプレート36を与圧するので軸洩れを抑えることができる。
このように、ロッド32とプレート36を圧入すると共に、ロッド32に作用する与圧によりプレート36をブッシュ35に当接させて、ロッド32、プレート36、ブッシュ35の間でラビリンス構造を形成することにより、ガスの洩れ出る経路をなくして軸洩れ量を低減することができる。また、本構造をとることによってガスの圧力はプレート36とブッシュ35を密着させる方向に働くので、高圧下でも適用が可能である。また、ラビリンス構造形成に使用するプレートは、プレート36の1枚でよいため、従来のように複数枚のプレートを使用する場合に比べて部品点数、組立て工数、及びコストを抑えることができる。さらに、ロッド32を与圧することで、エンジン等からの振動又はガス通路38の圧力脈動を受けたロッド32、並びにこのロッド32と一体化したプレート36及びバルブ37が軸方向上下に振動することを抑えることができる。この結果、ブッシュ35とロッド32及びプレート36との当接面、並びにバルブシート39とバルブ37の当接面の磨耗を抑えることができる。
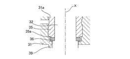
また、ガスの温度条件に応じてブッシュ35とプレート36の材料を選定して、200℃〜800℃の高温下でも軸洩れを低減させる。材料の候補としてはカーボン、金属、セラミック等があるが、高温ガスの場合にはブッシュ35及びプレート36共にステンレスが好ましく、低温の場合はカーボンでもよい。
さらに、ブッシュ35とプレート36の両材料の組み合わせ、硬度、コーディング及び表面処理を考慮して、ブッシュ35とプレート36の当接面の磨耗を抑制させる。例えばブッシュ35とプレート36を硬度が略同じか近い材料にしたり、さらにブッシュ35とプレート36の当接面をニッケルメッキ、ニッケルクロム、チッカ処理等の表面処理を施したりして、磨耗の低減を図る。
また、上記のような材料の選定及び表面処理以外にも、形状を考慮して当接面の磨耗を抑制するようにする。仮にブッシュ35の当接面の外径がプレート36の外径より大きければ、ブッシュ35が磨耗していくとブッシュ35とプレート36の当接部分に段差ができ、ロッド32が回転するときにブッシュ35とプレート36が噛み込み易くなる懸念がある。
そこで、ブッシュ35の軸方向下側の端部外径をプレート36の外径より小さくなるように縮径して、縮径端部35aを形成する。これにより、ブッシュ35に対してプレート36が回転して当接面が磨耗したとしても、段差がなく均一に磨耗するようになるので、ブッシュ35とプレート36の磨耗部分が噛み込んだり引っ掛かったりしにくい構造になっている。
また、バルブ37のバルブシート39への位置決めは、バルブ37がバルブシート39に圧接することにより行うのではなく、ロッド32に一体化したプレート36がブッシュ35へ当接することにより行っているため、ロッド32の、バルブ37からブッシュ35とプレート36の当接位置までの距離が比較的短く、高温ガスの流通時に各部材が熱膨張により寸法変化があっても、その変化の影響を低減することができる。特にバルブ37が熱膨張で伸びた場合でもバルブシート洩れを抑えることができる。
以上より、実施の形態1によれば、EGRバルブを、内部に設けたガス通路38に連通する貫通穴31aを形成したバルブ部ハウジング31と、貫通穴31aからガス通路38に挿入され、回転中心軸Xを中心にして回転するロッド32と、ロッド32と一体に回転してガス通路38のバルブシート39を開閉するバルブ37と、貫通穴31a内に設けられ、ロッド32を回転自在に軸支するブッシュ35と、ロッド32の外周面に圧入され、ロッド32に作用する与圧によってブッシュ35のガス通路38側の面に当接しながら回転するプレート36とを備えるように構成した。このため、ロッド32とプレート36の当接面は圧入により隙間をなくし、かつ、ロッド32に作用する与圧でブッシュ35とプレート36を当接させることにより、ガスの洩れ出る経路がロッド32、ブッシュ35及びプレート36からなるラビリンス構造となり、ロッド32とブッシュ35の隙間の軸洩れを低減させることができる。
また、実施の形態1によれば、ロッド32に作用する与圧を、貫通穴31aを通じてガス通路38から流れ出るガスの圧力によって発生させるようにしたので、ブッシュ35とプレート36を積極的に当接させて隙間を埋めることができ、よって軸洩れを低減させることができる。また、ガスの圧力はプレート36をブッシュ35に密着させる方向に働くので、高圧下ではシール力をより向上させて軸洩れをより低減することができる。さらに、エンジン等の振動又はガスの圧力脈動によるロッド32の軸方向の振れを抑制でき、結果として、ブッシュ35、プレート36及びロッド32の磨耗を抑えることができる。
また、実施の形態1によれば、EGRバルブが、ベアリング25を荷重することによってロッド32を回転中心軸Xの方向に荷重するワッシャ26を備え、ロッド32に作用する与圧はこのワッシャ26によって発生させるようにしたので、ブッシュ35とプレート36を積極的に当接させて隙間を埋めることができ、ガス圧力が変動した場合でも、軸洩れを低減させることができる。さらに、エンジン等の振動又はガスの圧力脈動によるロッド32の軸方向の振れを抑制でき、結果として、ブッシュ35、プレート36及びロッド32の磨耗を抑えることができる。
また、実施の形態1によれば、ブッシュ35及びプレート36にガスの温度に応じた材料を使用することで、PTFE等が使用不可能な200℃〜800℃のガス温度にも適用でき、高温下でも軸洩れを低減することができる。
また、実施の形態1によれば、ブッシュ35及びプレート36に硬度が略同じ材料を使用したり、当接面それぞれに表面処理を施したりすることで、当接面の磨耗を抑えることができる。さらに、ブッシュ35のプレート36に当接する端面の外径をプレート36の外径より小さい縮径端部35aにすることで、仮に当接面が磨耗しても噛み込みにくく、引っ掛かりにくい構造にすることができる。
また、実施の形態1によれば、ブッシュ35とプレート36が当接することによってバルブ37の位置決めをするので、バルブ37の近くに位置決め部材、即ちブッシュ35とプレート36を配置して高温時の熱膨張による寸法変化の影響を低減することができる。
以上のように、この発明に係る軸洩れ低減構造は、高温高圧下でも軸漏れを低減できるので、EGRバルブ等に用いるのに適している。

Claims (3)

  1. 内部に設けた流体通路に連通する貫通穴を形成したハウジングと、
    前記貫通穴から前記流体通路に挿入され、回転中心軸を中心にして回転する弁軸と、
    前記弁軸と一体に回転して、前記流体通路を開閉する弁体と、
    前記弁軸の前記流体通路挿入側とは反対側で当該弁軸を回転自在に軸支するベアリングと、
    前記貫通穴内に設けられ、前記ベアリングより前記流体通路側で前記弁軸を回転自在に軸支する軸受け部と、
    前記ベアリングを、回転中心軸方向の前記流体通路とは反対側に荷重するワッシャと、
    前記弁軸の外周面に圧入され、与圧によって前記軸受け部の前記流体通路側の面に当接しながら回転する、切れ目のない環状の軸シール部とを備え、
    前記軸シール部は、前記ワッシャに荷重された前記ベアリングにより前記弁軸に作用する前記回転中心軸方向の前記流体通路とは反対側の与圧によって、前記軸受け部の前記流体通路側の面に当接すると共に、前記貫通穴を通じて前記流体通路から流れ出る流体の圧力が当該軸シール部に与圧として作用して前記軸受け部の前記流体通路側の面に当接することを特徴とするバルブの軸洩れ低減構造。
  2. 軸受け部と軸シール部の当接面それぞれに、表面処理を施すことを特徴とする請求項1記載のバルブの軸洩れ低減構造。
  3. 軸受け部の軸シール部に当接する端面の外径を、当該軸シール部の外径より小さくすることを特徴とする請求項1記載のバルブの軸洩れ低減構造。
JP2011552235A 2010-02-18 2010-02-18 バルブの軸洩れ低減構造 Active JP5345708B2 (ja)

Applications Claiming Priority (1)

Application Number Priority Date Filing Date Title
PCT/JP2010/001047 WO2011101903A1 (ja) 2010-02-18 2010-02-18 バルブの軸洩れ低減構造

Publications (2)

Publication Number Publication Date
JPWO2011101903A1 JPWO2011101903A1 (ja) 2013-06-17
JP5345708B2 true JP5345708B2 (ja) 2013-11-20

Family

ID=44482530

Family Applications (1)

Application Number Title Priority Date Filing Date
JP2011552235A Active JP5345708B2 (ja) 2010-02-18 2010-02-18 バルブの軸洩れ低減構造

Country Status (6)

Country Link
US (1) US20120193562A1 (ja)
JP (1) JP5345708B2 (ja)
KR (1) KR101310453B1 (ja)
CN (1) CN102575623B (ja)
DE (1) DE112010005282B4 (ja)
WO (1) WO2011101903A1 (ja)

Families Citing this family (17)

* Cited by examiner, † Cited by third party
Publication number Priority date Publication date Assignee Title
JP5924247B2 (ja) * 2012-11-27 2016-05-25 株式会社デンソー バルブ装置
KR101362058B1 (ko) * 2012-12-17 2014-02-12 기아자동차 주식회사 차량용 배기 가스 재순환 밸브
DE102013013387A1 (de) * 2013-03-10 2014-09-11 Kohlhage Automotive GmbH & Co. KG Lagerung für eine Welle, insbesondere bei einer Ventileinheit, mit einer solchen Lagerung ausgestattete Ventileinheit und Verfahren zur Herstellung
DE102013107111A1 (de) * 2013-07-05 2015-01-08 Pierburg Gmbh Aktor zum Antrieb einer Ventileinheit einer Verbrennungskraftmaschine
JP6177114B2 (ja) * 2013-12-03 2017-08-09 三菱電機株式会社 排気ガス再循環バルブ
JP5847857B2 (ja) * 2014-01-14 2016-01-27 本田技研工業株式会社 内燃機関のバルブの基準位置学習装置
JP6324870B2 (ja) * 2014-10-08 2018-05-16 東京エレクトロン株式会社 ガス供給機構及び半導体製造装置
US10371264B2 (en) * 2014-10-31 2019-08-06 Mitsubishi Electric Corporation Fluid control valve
DE102014226598A1 (de) * 2014-12-19 2016-06-23 Mahle International Gmbh Ventileinrichtung zur Strömungsregelung von Abgas in einem Abgaskanal
DE102015111461B4 (de) * 2015-05-07 2020-02-06 BorgWarner Esslingen GmbH Abgasrückführventil und Verfahren zur Verbesserung eines solchen Ventils
DE102015111460B4 (de) * 2015-05-07 2020-02-06 BorgWarner Esslingen GmbH Ventil
JP2017160889A (ja) * 2016-03-11 2017-09-14 マツダ株式会社 エンジンの排気装置
KR101836254B1 (ko) * 2016-03-16 2018-03-08 현대자동차 주식회사 차량용 배기가스 재순환 밸브장치
JP6597477B2 (ja) * 2016-05-24 2019-10-30 株式会社デンソー バルブ装置
KR20190043004A (ko) * 2017-10-17 2019-04-25 현대자동차주식회사 Egr밸브
DE102017127793A1 (de) * 2017-11-24 2019-05-29 Pierburg Gmbh Abgasventil für eine Verbrennungskraftmaschine
DE102020103420A1 (de) * 2020-02-11 2021-08-12 Friedrich Boysen GmbH & Co KG. Klappeneinrichtung

Citations (4)

* Cited by examiner, † Cited by third party
Publication number Priority date Publication date Assignee Title
JPS55106342U (ja) * 1979-01-19 1980-07-25
JPH0394485U (ja) * 1990-01-16 1991-09-26
JP2001221346A (ja) * 2000-02-09 2001-08-17 Kubota Corp バタフライ弁の軸封構造
JP2001234759A (ja) * 2000-02-22 2001-08-31 Mikuni Corp スロットルボディのシャフト支持構造

Family Cites Families (14)

* Cited by examiner, † Cited by third party
Publication number Priority date Publication date Assignee Title
US2900995A (en) * 1953-04-20 1959-08-25 Rockwell Mfg Co Jacketed valve
US2917271A (en) * 1954-08-24 1959-12-15 George W Banks High pressure metering valve
US3326516A (en) * 1964-03-17 1967-06-20 Texsteam Corp High pressure plug valve
US3753569A (en) * 1971-03-23 1973-08-21 A Bonomi Pressure valve for fluids
US3851853A (en) * 1973-04-23 1974-12-03 Hoke Inc Valve
DE2529641C3 (de) * 1975-07-03 1982-01-21 Fördertechnik Streicher GmbH, 7988 Wangen Hahn mit axial nachstellbarem Kegelküken
US4249555A (en) * 1977-12-30 1981-02-10 Domer Scaramucci Fire safe disc valve
JPS63147538U (ja) * 1987-03-19 1988-09-28
US5630571A (en) * 1995-10-16 1997-05-20 General Motors Corporation Exhaust flow control valve
US5577709A (en) * 1995-10-17 1996-11-26 Henry Valve Company Stem seal configuration for ball valves
CN2577055Y (zh) * 2002-07-22 2003-10-01 王建敏 无摩擦硬密封蝶阀
CN1629524A (zh) * 2003-12-15 2005-06-22 王加新 适应陶瓷或金属或工程塑料制造的对称蝶阀
JP2005233023A (ja) 2004-02-18 2005-09-02 Denso Corp 排気ガス再循環装置
JP4621557B2 (ja) 2005-07-22 2011-01-26 大豊工業株式会社 バルブアセンブリ

Patent Citations (4)

* Cited by examiner, † Cited by third party
Publication number Priority date Publication date Assignee Title
JPS55106342U (ja) * 1979-01-19 1980-07-25
JPH0394485U (ja) * 1990-01-16 1991-09-26
JP2001221346A (ja) * 2000-02-09 2001-08-17 Kubota Corp バタフライ弁の軸封構造
JP2001234759A (ja) * 2000-02-22 2001-08-31 Mikuni Corp スロットルボディのシャフト支持構造

Also Published As

Publication number Publication date
KR20120065404A (ko) 2012-06-20
WO2011101903A1 (ja) 2011-08-25
US20120193562A1 (en) 2012-08-02
KR101310453B1 (ko) 2013-09-24
CN102575623A (zh) 2012-07-11
JPWO2011101903A1 (ja) 2013-06-17
CN102575623B (zh) 2015-06-17
DE112010005282B4 (de) 2015-02-19
DE112010005282T5 (de) 2013-02-07

Similar Documents

Publication Publication Date Title
JP5345708B2 (ja) バルブの軸洩れ低減構造
CN102959294B (zh) 流体控制阀
CN104838112B (zh) 用于内燃机的活门装置
JP5304825B2 (ja) Egrバルブ
JP5355792B2 (ja) ステップタイプバルブ
CN109312669B (zh) 用于内燃机的废气活门装置
US20140252259A1 (en) Butterfly valve
WO2016067464A1 (ja) 流体制御バルブ
KR20150082560A (ko) 개선된 시일링을 가지는 오버몰딩된 전동식 밸브
US20110139132A1 (en) Exhaust gas recirculation valve thrust collar
JP2020128711A (ja) 冷却水制御弁装置
JP2011196464A (ja) ボール弁型バルブ装置
JP4712738B2 (ja) 軸シール保持用リング
JP2014105764A (ja) バルブ装置
JP2016501336A (ja) 内燃機関のフラップ装置
JP6247458B2 (ja) 車両用排気ガス再循環バルブ
JPWO2013008268A1 (ja) バルブの軸シール構造
JP2012107572A (ja) Egrバルブ
JP5664599B2 (ja) バルブ装置
JP5185725B2 (ja) 蒸気タービン用蒸気弁
JP2005256765A (ja) 内燃機関の排気制御装置
JP2012052637A (ja) 流体制御弁
EP2065573B1 (en) Gasket for a valve of an internal combustion engine
JP2012072678A (ja) 排気ガス再循環バルブ
JP2012127207A (ja) バタフライバルブ

Legal Events

Date Code Title Description
A02 Decision of refusal

Free format text: JAPANESE INTERMEDIATE CODE: A02

Effective date: 20120605

A521 Request for written amendment filed

Free format text: JAPANESE INTERMEDIATE CODE: A523

Effective date: 20130612

A61 First payment of annual fees (during grant procedure)

Free format text: JAPANESE INTERMEDIATE CODE: A61

Effective date: 20130814

R150 Certificate of patent or registration of utility model

Ref document number: 5345708

Country of ref document: JP

Free format text: JAPANESE INTERMEDIATE CODE: R150

Free format text: JAPANESE INTERMEDIATE CODE: R150

R250 Receipt of annual fees

Free format text: JAPANESE INTERMEDIATE CODE: R250

R250 Receipt of annual fees

Free format text: JAPANESE INTERMEDIATE CODE: R250

R250 Receipt of annual fees

Free format text: JAPANESE INTERMEDIATE CODE: R250

R250 Receipt of annual fees

Free format text: JAPANESE INTERMEDIATE CODE: R250

R250 Receipt of annual fees

Free format text: JAPANESE INTERMEDIATE CODE: R250

R250 Receipt of annual fees

Free format text: JAPANESE INTERMEDIATE CODE: R250

R250 Receipt of annual fees

Free format text: JAPANESE INTERMEDIATE CODE: R250

R250 Receipt of annual fees

Free format text: JAPANESE INTERMEDIATE CODE: R250

S111 Request for change of ownership or part of ownership

Free format text: JAPANESE INTERMEDIATE CODE: R313111

R250 Receipt of annual fees

Free format text: JAPANESE INTERMEDIATE CODE: R250

R350 Written notification of registration of transfer

Free format text: JAPANESE INTERMEDIATE CODE: R350

R250 Receipt of annual fees

Free format text: JAPANESE INTERMEDIATE CODE: R250