JP5259337B2 - 空気入りタイヤ - Google Patents
空気入りタイヤ Download PDFInfo
- Publication number
- JP5259337B2 JP5259337B2 JP2008274516A JP2008274516A JP5259337B2 JP 5259337 B2 JP5259337 B2 JP 5259337B2 JP 2008274516 A JP2008274516 A JP 2008274516A JP 2008274516 A JP2008274516 A JP 2008274516A JP 5259337 B2 JP5259337 B2 JP 5259337B2
- Authority
- JP
- Japan
- Prior art keywords
- rubber
- tire
- weight
- parts
- tread
- Prior art date
- Legal status (The legal status is an assumption and is not a legal conclusion. Google has not performed a legal analysis and makes no representation as to the accuracy of the status listed.)
- Expired - Fee Related
Links
- 229920001971 elastomer Polymers 0.000 claims description 120
- 239000005060 rubber Substances 0.000 claims description 120
- 239000000203 mixture Substances 0.000 claims description 46
- 239000006229 carbon black Substances 0.000 claims description 43
- 235000019241 carbon black Nutrition 0.000 claims description 43
- DOIRQSBPFJWKBE-UHFFFAOYSA-N dibutyl phthalate Chemical compound CCCCOC(=O)C1=CC=CC=C1C(=O)OCCCC DOIRQSBPFJWKBE-UHFFFAOYSA-N 0.000 claims description 32
- 239000004568 cement Substances 0.000 claims description 27
- 239000011248 coating agent Substances 0.000 claims description 15
- 238000000576 coating method Methods 0.000 claims description 15
- 238000010521 absorption reaction Methods 0.000 claims description 12
- 229920003244 diene elastomer Polymers 0.000 claims description 11
- IJGRMHOSHXDMSA-UHFFFAOYSA-N Atomic nitrogen Chemical compound N#N IJGRMHOSHXDMSA-UHFFFAOYSA-N 0.000 claims description 10
- 239000003960 organic solvent Substances 0.000 claims description 9
- 229910052757 nitrogen Inorganic materials 0.000 claims description 5
- 238000001179 sorption measurement Methods 0.000 claims description 5
- VYPSYNLAJGMNEJ-UHFFFAOYSA-N Silicium dioxide Chemical compound O=[Si]=O VYPSYNLAJGMNEJ-UHFFFAOYSA-N 0.000 description 33
- 238000005096 rolling process Methods 0.000 description 19
- 239000000377 silicon dioxide Substances 0.000 description 16
- 239000003921 oil Substances 0.000 description 14
- 239000005062 Polybutadiene Substances 0.000 description 10
- 229920002857 polybutadiene Polymers 0.000 description 10
- 239000003795 chemical substances by application Substances 0.000 description 9
- 238000000034 method Methods 0.000 description 9
- VLKZOEOYAKHREP-UHFFFAOYSA-N n-Hexane Chemical compound CCCCCC VLKZOEOYAKHREP-UHFFFAOYSA-N 0.000 description 9
- 239000011324 bead Substances 0.000 description 8
- 238000002156 mixing Methods 0.000 description 8
- 229920003048 styrene butadiene rubber Polymers 0.000 description 8
- 244000043261 Hevea brasiliensis Species 0.000 description 6
- 230000005611 electricity Effects 0.000 description 6
- 229920003052 natural elastomer Polymers 0.000 description 6
- 229920001194 natural rubber Polymers 0.000 description 6
- 230000003068 static effect Effects 0.000 description 6
- 239000010408 film Substances 0.000 description 5
- 238000005259 measurement Methods 0.000 description 5
- 239000012744 reinforcing agent Substances 0.000 description 5
- OKTJSMMVPCPJKN-UHFFFAOYSA-N Carbon Chemical compound [C] OKTJSMMVPCPJKN-UHFFFAOYSA-N 0.000 description 4
- 229910052799 carbon Inorganic materials 0.000 description 4
- 239000003273 ketjen black Substances 0.000 description 4
- QIQXTHQIDYTFRH-UHFFFAOYSA-N octadecanoic acid Chemical compound CCCCCCCCCCCCCCCCCC(O)=O QIQXTHQIDYTFRH-UHFFFAOYSA-N 0.000 description 4
- 239000010409 thin film Substances 0.000 description 4
- 238000004073 vulcanization Methods 0.000 description 4
- RYGMFSIKBFXOCR-UHFFFAOYSA-N Copper Chemical compound [Cu] RYGMFSIKBFXOCR-UHFFFAOYSA-N 0.000 description 3
- 235000021355 Stearic acid Nutrition 0.000 description 3
- 239000002174 Styrene-butadiene Substances 0.000 description 3
- XLOMVQKBTHCTTD-UHFFFAOYSA-N Zinc monoxide Chemical compound [Zn]=O XLOMVQKBTHCTTD-UHFFFAOYSA-N 0.000 description 3
- 230000002411 adverse Effects 0.000 description 3
- 230000003712 anti-aging effect Effects 0.000 description 3
- 238000007796 conventional method Methods 0.000 description 3
- 229910052802 copper Inorganic materials 0.000 description 3
- 239000010949 copper Substances 0.000 description 3
- 230000000694 effects Effects 0.000 description 3
- 229920003049 isoprene rubber Polymers 0.000 description 3
- OQCDKBAXFALNLD-UHFFFAOYSA-N octadecanoic acid Natural products CCCCCCCC(C)CCCCCCCCC(O)=O OQCDKBAXFALNLD-UHFFFAOYSA-N 0.000 description 3
- 239000008117 stearic acid Substances 0.000 description 3
- 239000011593 sulfur Substances 0.000 description 3
- 229910052717 sulfur Inorganic materials 0.000 description 3
- 239000011787 zinc oxide Substances 0.000 description 3
- VTYYLEPIZMXCLO-UHFFFAOYSA-L Calcium carbonate Chemical compound [Ca+2].[O-]C([O-])=O VTYYLEPIZMXCLO-UHFFFAOYSA-L 0.000 description 2
- RTZKZFJDLAIYFH-UHFFFAOYSA-N Diethyl ether Chemical compound CCOCC RTZKZFJDLAIYFH-UHFFFAOYSA-N 0.000 description 2
- IMNFDUFMRHMDMM-UHFFFAOYSA-N N-Heptane Chemical compound CCCCCCC IMNFDUFMRHMDMM-UHFFFAOYSA-N 0.000 description 2
- 239000004677 Nylon Substances 0.000 description 2
- 239000006087 Silane Coupling Agent Substances 0.000 description 2
- NINIDFKCEFEMDL-UHFFFAOYSA-N Sulfur Chemical compound [S] NINIDFKCEFEMDL-UHFFFAOYSA-N 0.000 description 2
- WYURNTSHIVDZCO-UHFFFAOYSA-N Tetrahydrofuran Chemical compound C1CCOC1 WYURNTSHIVDZCO-UHFFFAOYSA-N 0.000 description 2
- 239000004927 clay Substances 0.000 description 2
- 230000000052 comparative effect Effects 0.000 description 2
- 238000013329 compounding Methods 0.000 description 2
- 238000009472 formulation Methods 0.000 description 2
- 238000005227 gel permeation chromatography Methods 0.000 description 2
- 230000020169 heat generation Effects 0.000 description 2
- 239000007788 liquid Substances 0.000 description 2
- 229920001778 nylon Polymers 0.000 description 2
- 229920000728 polyester Polymers 0.000 description 2
- 239000011347 resin Substances 0.000 description 2
- 229920005989 resin Polymers 0.000 description 2
- 238000010058 rubber compounding Methods 0.000 description 2
- 239000004094 surface-active agent Substances 0.000 description 2
- 239000000341 volatile oil Substances 0.000 description 2
- 239000001993 wax Substances 0.000 description 2
- 235000014692 zinc oxide Nutrition 0.000 description 2
- XDTMQSROBMDMFD-UHFFFAOYSA-N Cyclohexane Chemical compound C1CCCCC1 XDTMQSROBMDMFD-UHFFFAOYSA-N 0.000 description 1
- 239000006237 Intermediate SAF Substances 0.000 description 1
- 229920000297 Rayon Polymers 0.000 description 1
- 241000872198 Serjania polyphylla Species 0.000 description 1
- 229910000831 Steel Inorganic materials 0.000 description 1
- HCHKCACWOHOZIP-UHFFFAOYSA-N Zinc Chemical compound [Zn] HCHKCACWOHOZIP-UHFFFAOYSA-N 0.000 description 1
- 239000006230 acetylene black Substances 0.000 description 1
- 230000032683 aging Effects 0.000 description 1
- 229920006231 aramid fiber Polymers 0.000 description 1
- 238000005452 bending Methods 0.000 description 1
- 230000015572 biosynthetic process Effects 0.000 description 1
- 229910000019 calcium carbonate Inorganic materials 0.000 description 1
- 239000011231 conductive filler Substances 0.000 description 1
- 238000001035 drying Methods 0.000 description 1
- 238000007720 emulsion polymerization reaction Methods 0.000 description 1
- 238000005516 engineering process Methods 0.000 description 1
- 230000001747 exhibiting effect Effects 0.000 description 1
- 230000002349 favourable effect Effects 0.000 description 1
- 239000000835 fiber Substances 0.000 description 1
- 238000010528 free radical solution polymerization reaction Methods 0.000 description 1
- 239000000446 fuel Substances 0.000 description 1
- 238000007429 general method Methods 0.000 description 1
- 238000004519 manufacturing process Methods 0.000 description 1
- VNWKTOKETHGBQD-UHFFFAOYSA-N methane Chemical compound C VNWKTOKETHGBQD-UHFFFAOYSA-N 0.000 description 1
- 239000003973 paint Substances 0.000 description 1
- 239000012188 paraffin wax Substances 0.000 description 1
- 239000002245 particle Substances 0.000 description 1
- 230000002093 peripheral effect Effects 0.000 description 1
- 239000003208 petroleum Substances 0.000 description 1
- 230000000704 physical effect Effects 0.000 description 1
- 229920002589 poly(vinylethylene) polymer Polymers 0.000 description 1
- 229920001195 polyisoprene Polymers 0.000 description 1
- 239000000843 powder Substances 0.000 description 1
- 230000001681 protective effect Effects 0.000 description 1
- 239000002964 rayon Substances 0.000 description 1
- 230000003014 reinforcing effect Effects 0.000 description 1
- 239000012779 reinforcing material Substances 0.000 description 1
- 238000007761 roller coating Methods 0.000 description 1
- 239000002904 solvent Substances 0.000 description 1
- 238000005507 spraying Methods 0.000 description 1
- 239000010959 steel Substances 0.000 description 1
- 239000000126 substance Substances 0.000 description 1
- 238000010059 sulfur vulcanization Methods 0.000 description 1
- 230000002459 sustained effect Effects 0.000 description 1
- 238000012360 testing method Methods 0.000 description 1
- YLQBMQCUIZJEEH-UHFFFAOYSA-N tetrahydrofuran Natural products C=1C=COC=1 YLQBMQCUIZJEEH-UHFFFAOYSA-N 0.000 description 1
- VTHOKNTVYKTUPI-UHFFFAOYSA-N triethoxy-[3-(3-triethoxysilylpropyltetrasulfanyl)propyl]silane Chemical compound CCO[Si](OCC)(OCC)CCCSSSSCCC[Si](OCC)(OCC)OCC VTHOKNTVYKTUPI-UHFFFAOYSA-N 0.000 description 1
- 239000002023 wood Substances 0.000 description 1
- 239000011701 zinc Substances 0.000 description 1
- 229910052725 zinc Inorganic materials 0.000 description 1
Images
Classifications
-
- B—PERFORMING OPERATIONS; TRANSPORTING
- B60—VEHICLES IN GENERAL
- B60C—VEHICLE TYRES; TYRE INFLATION; TYRE CHANGING; CONNECTING VALVES TO INFLATABLE ELASTIC BODIES IN GENERAL; DEVICES OR ARRANGEMENTS RELATED TO TYRES
- B60C1/00—Tyres characterised by the chemical composition or the physical arrangement or mixture of the composition
-
- B—PERFORMING OPERATIONS; TRANSPORTING
- B60—VEHICLES IN GENERAL
- B60C—VEHICLE TYRES; TYRE INFLATION; TYRE CHANGING; CONNECTING VALVES TO INFLATABLE ELASTIC BODIES IN GENERAL; DEVICES OR ARRANGEMENTS RELATED TO TYRES
- B60C19/00—Tyre parts or constructions not otherwise provided for
- B60C19/08—Electric-charge-dissipating arrangements
-
- C—CHEMISTRY; METALLURGY
- C08—ORGANIC MACROMOLECULAR COMPOUNDS; THEIR PREPARATION OR CHEMICAL WORKING-UP; COMPOSITIONS BASED THEREON
- C08L—COMPOSITIONS OF MACROMOLECULAR COMPOUNDS
- C08L7/00—Compositions of natural rubber
-
- C—CHEMISTRY; METALLURGY
- C08—ORGANIC MACROMOLECULAR COMPOUNDS; THEIR PREPARATION OR CHEMICAL WORKING-UP; COMPOSITIONS BASED THEREON
- C08L—COMPOSITIONS OF MACROMOLECULAR COMPOUNDS
- C08L9/00—Compositions of homopolymers or copolymers of conjugated diene hydrocarbons
-
- C—CHEMISTRY; METALLURGY
- C08—ORGANIC MACROMOLECULAR COMPOUNDS; THEIR PREPARATION OR CHEMICAL WORKING-UP; COMPOSITIONS BASED THEREON
- C08L—COMPOSITIONS OF MACROMOLECULAR COMPOUNDS
- C08L9/00—Compositions of homopolymers or copolymers of conjugated diene hydrocarbons
- C08L9/06—Copolymers with styrene
-
- C—CHEMISTRY; METALLURGY
- C08—ORGANIC MACROMOLECULAR COMPOUNDS; THEIR PREPARATION OR CHEMICAL WORKING-UP; COMPOSITIONS BASED THEREON
- C08K—Use of inorganic or non-macromolecular organic substances as compounding ingredients
- C08K3/00—Use of inorganic substances as compounding ingredients
- C08K3/02—Elements
- C08K3/04—Carbon
-
- Y—GENERAL TAGGING OF NEW TECHNOLOGICAL DEVELOPMENTS; GENERAL TAGGING OF CROSS-SECTIONAL TECHNOLOGIES SPANNING OVER SEVERAL SECTIONS OF THE IPC; TECHNICAL SUBJECTS COVERED BY FORMER USPC CROSS-REFERENCE ART COLLECTIONS [XRACs] AND DIGESTS
- Y02—TECHNOLOGIES OR APPLICATIONS FOR MITIGATION OR ADAPTATION AGAINST CLIMATE CHANGE
- Y02T—CLIMATE CHANGE MITIGATION TECHNOLOGIES RELATED TO TRANSPORTATION
- Y02T10/00—Road transport of goods or passengers
- Y02T10/80—Technologies aiming to reduce greenhouse gasses emissions common to all road transportation technologies
- Y02T10/86—Optimisation of rolling resistance, e.g. weight reduction
Landscapes
- Chemical & Material Sciences (AREA)
- Health & Medical Sciences (AREA)
- Chemical Kinetics & Catalysis (AREA)
- Medicinal Chemistry (AREA)
- Polymers & Plastics (AREA)
- Organic Chemistry (AREA)
- Engineering & Computer Science (AREA)
- Mechanical Engineering (AREA)
- Tires In General (AREA)
- Compositions Of Macromolecular Compounds (AREA)
Description
・天然ゴム(NR):タイ製 RSS#3
・ブタジエンゴム(BR):宇部興産(株)BR150B
・スチレンブタジエンゴム1(SBR−1):JSR(株)1723、Mw=85万
・スチレンブタジエンゴム2(SBR−2):JSR(株)1502、Mw=42万
・スチレンブタジエンゴム3(SBR−3):JSR(株)1507、Mw=30万
・リムストリップゴム用カーボンブラックHAF:東海カーボン(株)シースト3
・サイドウォールゴム用カーボンブラックFEF:東海カーボン(株)シーストSO
・セメントゴム用カーボンブラック1(CB−1):東海カーボン(株)シーストKH、N2SA=90m2/g、DBP吸油量=120cm3/100g
・セメントゴム用カーボンブラック2(CB−2):ケッチェンブラックインターナショナル製、ケッチェンブラックEC300J、N2SA=800m2/g、DBP吸油量=360cm3/100g
・セメントゴム用カーボンブラック3(CB−3):ケッチェンブラックインターナショナル製、ケッチェンブラックEC600JD、N2SA=1270m2/g、DBP吸油量=500cm3/100g
・シリカ:東ソー・シリカ工業(株)ニプシールAQ
・シランカップリング剤:デグサ社、Si69
・アロマオイル:ジャパンエナジー(株)X−140
・パラフィンワックス:日本精蝋(株)オゾエース−0355
・老化防止剤6C:大内新興化学工業(株)ノクラック6C
・ステアリン酸:花王(株)ルナックS−20
・酸化亜鉛:三井金属鉱業(株)亜鉛華1号
・硫黄:細井化学工業(株)5%油処理粉末硫黄
・加硫促進剤NS:大内新興化学工業(株)ノクセラーNS−P
ムーニー粘度は、JIS K6300に準じて、100℃にて測定したML(1+4)である。比較例1を100とする指数で表し、値が小さいほど良好である。
JIS K6911に準じて測定した値であり、測定条件は、印加電圧1000V、気温25℃、湿度50%である。
タイヤを15×6−JJのリムに空気圧200kPaでリム組し、転がり抵抗測定用の1軸ドラム試験機を使用し、負荷荷重4kN、速度60km/hでの転がり抵抗を測定した。比較例1を100とする指数で表し、数値が大きいほど転がり抵抗が高く燃費性が劣ることを示す。
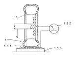
タイヤを15×6−JJのリムに空気圧200kPaでリム組し、FF式国産乗用車に装着し1000km走行後と30000km走行後に、ドイツのWDK、Blatt 3で規定される「荷重下でのタイヤ電気抵抗の測定手順」に基づき測定した。すなわち、図2に示すように、台板130に対して絶縁状態で設置した銅板131上に、前記リム組みタイヤ1を、荷重4kNで垂直に接地させ、タイヤ周上6ヶ所においてリムRの中央部と銅板131との間の電気抵抗を、印可電圧1000V加電し、抵抗測定器132を用いて測定した。測定時の気温25℃、湿度50%である。
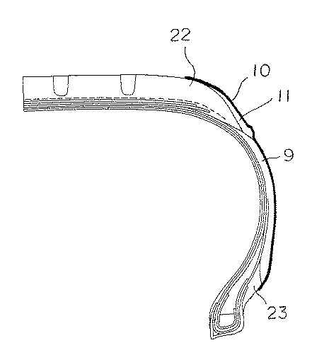
2……トレッド
3……サイドウォール
10……連続被膜
22……ショルダー部
23……リムストリップ
Claims (2)
- 非導電性ゴム組成物からなる接地面をなすトレッドと、前記トレッドに隣接し非導電性ゴム組成物からなるサイドウォールを有し、
セメントゴムを前記トレッドの接地領域からタイヤのリム接触領域に至るタイヤ外表部に塗布し、前記セメントゴムの連続被膜を形成した空気入りタイヤにおいて、
前記セメントゴムが、
ゴム成分として重量平均分子量(Mw)が25万〜45万であるジエン系ゴムをゴム成分100重量部中に50〜100重量部含み、
チッ素吸着比表面積(N2SA)が700〜1300m2/g、ジブチルフタレート(DBP)吸油量が300〜550cm3/100gであるカーボンブラック(A)を前記ゴム成分100重量部に対して10〜30重量部含有し、
HAF級、FEF級及びGPF級からなる群より選ばれたカーボンブラック(B)を含有し、更に、
前記カーボンブラック(A)及び(B)の総含有量が、前記ゴム成分100重量部に対して50〜90重量部であるゴム組成物を有機溶媒に溶解してなる
ことを特徴とする空気入りタイヤ。 - 前記ゴム組成物の電気抵抗率が、107Ω・cm未満である
ことを特徴とする請求項1に記載の空気入りタイヤ。
Priority Applications (1)
| Application Number | Priority Date | Filing Date | Title |
|---|---|---|---|
| JP2008274516A JP5259337B2 (ja) | 2007-11-19 | 2008-10-24 | 空気入りタイヤ |
Applications Claiming Priority (3)
| Application Number | Priority Date | Filing Date | Title |
|---|---|---|---|
| JP2007299047 | 2007-11-19 | ||
| JP2007299047 | 2007-11-19 | ||
| JP2008274516A JP5259337B2 (ja) | 2007-11-19 | 2008-10-24 | 空気入りタイヤ |
Publications (2)
| Publication Number | Publication Date |
|---|---|
| JP2009143547A JP2009143547A (ja) | 2009-07-02 |
| JP5259337B2 true JP5259337B2 (ja) | 2013-08-07 |
Family
ID=40640688
Family Applications (1)
| Application Number | Title | Priority Date | Filing Date |
|---|---|---|---|
| JP2008274516A Expired - Fee Related JP5259337B2 (ja) | 2007-11-19 | 2008-10-24 | 空気入りタイヤ |
Country Status (3)
| Country | Link |
|---|---|
| US (1) | US8146636B2 (ja) |
| JP (1) | JP5259337B2 (ja) |
| DE (1) | DE102008056259B4 (ja) |
Families Citing this family (18)
| Publication number | Priority date | Publication date | Assignee | Title |
|---|---|---|---|---|
| JP5259332B2 (ja) * | 2007-10-25 | 2013-08-07 | 東洋ゴム工業株式会社 | 空気入りタイヤ |
| JP5295711B2 (ja) * | 2007-11-01 | 2013-09-18 | 東洋ゴム工業株式会社 | 空気入りタイヤ |
| SE534673C2 (sv) * | 2010-03-18 | 2011-11-15 | Bt Products Ab | Slitbana och metod för reducerad generering av statisk elektricitet, samt truck och truckhjul |
| JP5712190B2 (ja) * | 2012-01-12 | 2015-05-07 | 住友ゴム工業株式会社 | タイヤ用ゴム組成物及び空気入りタイヤ |
| JP5712189B2 (ja) * | 2012-01-12 | 2015-05-07 | 住友ゴム工業株式会社 | タイヤ用ゴム組成物及び空気入りタイヤ |
| JP2014051216A (ja) * | 2012-09-07 | 2014-03-20 | Sumitomo Rubber Ind Ltd | 空気入りタイヤ |
| JP5943810B2 (ja) * | 2012-10-31 | 2016-07-05 | 三菱重工マシナリーテクノロジー株式会社 | タイヤの電気抵抗測定装置 |
| JP6040067B2 (ja) * | 2013-03-21 | 2016-12-07 | 東洋ゴム工業株式会社 | 空気入りタイヤの製造方法及び空気入りタイヤ |
| JP5785205B2 (ja) * | 2013-04-01 | 2015-09-24 | 住友ゴム工業株式会社 | タイヤ用ゴム組成物、及び空気入りタイヤ |
| JP5792764B2 (ja) * | 2013-05-02 | 2015-10-14 | 住友ゴム工業株式会社 | タイヤ用ゴム組成物及び空気入りタイヤ |
| JP6084947B2 (ja) * | 2013-07-11 | 2017-02-22 | 住友ゴム工業株式会社 | タイヤ用ゴム組成物及び空気入りタイヤ |
| JP6152058B2 (ja) * | 2014-01-29 | 2017-06-21 | 住友ゴム工業株式会社 | 繊維プライコード被覆用ゴム組成物、空気入りタイヤ、及び繊維プライコード被覆用ゴム組成物の製造方法 |
| US20160368231A1 (en) * | 2015-06-16 | 2016-12-22 | The Goodyear Tire & Rubber Company | Method of securing splices in curable rubber articles |
| JP6555054B2 (ja) * | 2015-09-28 | 2019-08-07 | 住友ゴム工業株式会社 | 空気入りタイヤ |
| PL3478485T3 (pl) * | 2016-06-30 | 2020-11-30 | Artic Investments S.A. | Sposób wytwarzania opony |
| JP2018188525A (ja) * | 2017-04-28 | 2018-11-29 | 株式会社ブリヂストン | ゴムセメント組成物及びコンベアベルト |
| JP6972932B2 (ja) * | 2017-11-01 | 2021-11-24 | 住友ゴム工業株式会社 | ゴム組成物 |
| JP2020040634A (ja) * | 2018-09-13 | 2020-03-19 | 株式会社ブリヂストン | タイヤ |
Family Cites Families (42)
| Publication number | Priority date | Publication date | Assignee | Title |
|---|---|---|---|---|
| US2650641A (en) * | 1950-01-11 | 1953-09-01 | Us Rubber Co | Method for rendering a pneumatic tire inner tube substantially static-free |
| JPS56155741A (en) * | 1980-05-02 | 1981-12-02 | Bridgestone Corp | Vulcanized rubber and electroconductive bridging bonding method for vulcanized rubber |
| JPS5751443A (en) * | 1980-09-16 | 1982-03-26 | Bridgestone Corp | Method of electrically crosslinking bonding vulcanized rubber materials |
| US4642202A (en) * | 1982-07-29 | 1987-02-10 | Phillips Petroleum Company | Conductive (hard) rubber compositions |
| JPH0798880B2 (ja) * | 1987-09-11 | 1995-10-25 | 株式会社ブリヂストン | 空気入りタイヤ |
| JPH0745061U (ja) * | 1992-06-15 | 1995-12-19 | 山口 善裕 | 接地の完全なるアースタイヤ |
| US5430087A (en) * | 1993-09-02 | 1995-07-04 | Hydril Company | Carbon black pair with different particle size and improved rubber stock |
| CA2138726A1 (en) | 1994-09-13 | 1996-03-14 | Bharat Kanchanlal Kansupada | Tire with coated silica reinforced rubber tread |
| US5518055A (en) * | 1994-09-20 | 1996-05-21 | Michelin Recherche Et Technique S.A. | Low resistivity tire with silica-rich tread and at least one electrostatic discharge ring |
| WO1996023027A1 (en) * | 1995-01-23 | 1996-08-01 | Nippon Zeon Co., Ltd. | Rubber composition and process for preparing the same |
| JP3514539B2 (ja) * | 1995-02-27 | 2004-03-31 | 住友ゴム工業株式会社 | 空気入りタイヤ |
| EP0819741A3 (en) | 1996-07-16 | 1998-10-21 | Bridgestone Corporation | Electrically conductive rubber cement and pneumatic tire using the same |
| JP3731840B2 (ja) * | 1996-07-18 | 2006-01-05 | 株式会社ブリヂストン | 帯電防止用ゴムセメントおよびこれで被覆された空気入りタイヤ |
| JP3763640B2 (ja) | 1996-07-18 | 2006-04-05 | 株式会社ブリヂストン | 空気入りタイヤ |
| US6415833B1 (en) * | 1996-07-18 | 2002-07-09 | Bridgestone Corporation | Pneumatic tire having electrically conductive rubber layer in land portion defined between circumferential grooves |
| US6140450A (en) * | 1996-12-27 | 2000-10-31 | The Yokohama Rubber Co., Ltd. | Modified polysiloxanes, rubber compositions and tire tread rubber compositions containing the same, and reactive plasticizer |
| IT1291210B1 (it) * | 1997-03-18 | 1998-12-29 | Bridgestone Firestone Tech | Pneumatico anti-statico. |
| US5872171A (en) * | 1997-04-10 | 1999-02-16 | Bridgestone/Firestone, Inc. | Silica containing tire compositions for suppression of static charge accumulation |
| JPH11240312A (ja) * | 1997-08-04 | 1999-09-07 | Bridgestone Corp | 空気入りタイヤ |
| JPH11240313A (ja) * | 1997-12-16 | 1999-09-07 | Bridgestone Corp | 導電コーティングを塗布された空気入りタイヤ |
| SG165133A1 (en) * | 1998-03-11 | 2010-10-28 | Goodyear Tire & Rubber | Emulsion styrene-butadiene rubber |
| JP2000281835A (ja) * | 1999-03-31 | 2000-10-10 | Nippon Zeon Co Ltd | 油展ゴム、ゴム組成物および架橋物 |
| JP3733458B2 (ja) * | 1999-07-07 | 2006-01-11 | 東洋ゴム工業株式会社 | 空気入りタイヤの製造方法 |
| US6228929B1 (en) * | 1999-09-16 | 2001-05-08 | The Goodyear Tire & Rubber Company | Electrically conductive rubber composition and article of manufacture, including tire, having component thereof |
| AU2001234176A1 (en) * | 2000-04-26 | 2001-11-07 | Asahi Kasei Kabushiki Kaisha | Conductive resin composition and process for producing the same |
| JP4076711B2 (ja) * | 2000-06-26 | 2008-04-16 | 東洋ゴム工業株式会社 | 空気入りタイヤの製造方法 |
| US7029544B2 (en) * | 2000-09-15 | 2006-04-18 | Bridgestone Firestone North American Tire, Llc | Conductive pathways in tire treads for reduced static charge buildup |
| JP2002241540A (ja) * | 2001-02-15 | 2002-08-28 | Jsr Corp | 油展1,2−ポリブタジエンおよびその製造方法 |
| JP4468641B2 (ja) * | 2003-03-05 | 2010-05-26 | 東洋ゴム工業株式会社 | タイヤ用導電性ゴム糊及び空気入りタイヤ |
| JP2004277504A (ja) * | 2003-03-13 | 2004-10-07 | Toyo Tire & Rubber Co Ltd | タイヤ用導電性ゴム糊及び空気入りタイヤ |
| JP2005002206A (ja) * | 2003-06-11 | 2005-01-06 | Yokohama Rubber Co Ltd:The | ゴム組成物及び空気入りタイヤ |
| EP1773924A1 (en) * | 2004-06-18 | 2007-04-18 | E.I.Du pont de nemours and company | Electrically conductive polyetherester composition comprising carbon black and product made therefrom |
| ATE384627T1 (de) * | 2004-11-18 | 2008-02-15 | Michelin Soc Tech | Elektrisch leitender gummistreifen |
| JP4902974B2 (ja) * | 2005-08-05 | 2012-03-21 | 株式会社ブリヂストン | ゴム組成物及びそれを用いた空気入りタイヤ |
| JP4628888B2 (ja) * | 2005-06-29 | 2011-02-09 | 住友ゴム工業株式会社 | タイヤ |
| EP1884376B1 (en) * | 2006-08-03 | 2010-02-10 | The Yokohama Rubber Co., Ltd. | Pneumatic tire |
| JP5154059B2 (ja) * | 2006-10-30 | 2013-02-27 | 東洋ゴム工業株式会社 | タイヤキャップトレッド用ゴム組成物 |
| JP2008222135A (ja) * | 2007-03-15 | 2008-09-25 | Sumitomo Rubber Ind Ltd | タイヤ |
| JP2008308083A (ja) * | 2007-06-15 | 2008-12-25 | Sumitomo Rubber Ind Ltd | 空気入りタイヤ |
| US8869856B2 (en) * | 2007-06-15 | 2014-10-28 | Sumitomo Rubber Industries, Ltd. | Pneumatic tire |
| JP5259332B2 (ja) * | 2007-10-25 | 2013-08-07 | 東洋ゴム工業株式会社 | 空気入りタイヤ |
| JP5295711B2 (ja) * | 2007-11-01 | 2013-09-18 | 東洋ゴム工業株式会社 | 空気入りタイヤ |
-
2008
- 2008-10-24 JP JP2008274516A patent/JP5259337B2/ja not_active Expired - Fee Related
- 2008-11-06 DE DE102008056259.9A patent/DE102008056259B4/de not_active Expired - Fee Related
- 2008-11-12 US US12/269,114 patent/US8146636B2/en not_active Expired - Fee Related
Also Published As
| Publication number | Publication date |
|---|---|
| US20090126844A1 (en) | 2009-05-21 |
| US8146636B2 (en) | 2012-04-03 |
| DE102008056259A1 (de) | 2009-06-25 |
| JP2009143547A (ja) | 2009-07-02 |
| DE102008056259B4 (de) | 2020-08-06 |
Similar Documents
| Publication | Publication Date | Title |
|---|---|---|
| JP5259337B2 (ja) | 空気入りタイヤ | |
| JP5295711B2 (ja) | 空気入りタイヤ | |
| JP4755255B2 (ja) | 空気入りタイヤ | |
| JP5172686B2 (ja) | 空気入りタイヤ | |
| JP6130205B2 (ja) | 空気入りタイヤ | |
| JP4628888B2 (ja) | タイヤ | |
| JP4996613B2 (ja) | 空気入りタイヤ | |
| JP5160432B2 (ja) | 空気入りタイヤ | |
| JP5480588B2 (ja) | 空気入りタイヤ | |
| JP2008308083A (ja) | 空気入りタイヤ | |
| WO2013054865A1 (ja) | 空気入りタイヤ | |
| JP5259332B2 (ja) | 空気入りタイヤ | |
| JP5509294B2 (ja) | 空気入りタイヤ | |
| JPH08230407A (ja) | 空気入りタイヤ | |
| JP5242645B2 (ja) | タイヤ | |
| JP2014076751A (ja) | 空気入りタイヤ | |
| JP2014201281A (ja) | 空気入りタイヤ | |
| WO2008038463A1 (en) | Pneumatic tire | |
| JP4977144B2 (ja) | 空気入りタイヤの装着方法 |
Legal Events
| Date | Code | Title | Description |
|---|---|---|---|
| A621 | Written request for application examination |
Free format text: JAPANESE INTERMEDIATE CODE: A621 Effective date: 20110630 |
|
| A977 | Report on retrieval |
Free format text: JAPANESE INTERMEDIATE CODE: A971007 Effective date: 20121024 |
|
| A131 | Notification of reasons for refusal |
Free format text: JAPANESE INTERMEDIATE CODE: A131 Effective date: 20121030 |
|
| A521 | Request for written amendment filed |
Free format text: JAPANESE INTERMEDIATE CODE: A523 Effective date: 20121226 |
|
| TRDD | Decision of grant or rejection written | ||
| A01 | Written decision to grant a patent or to grant a registration (utility model) |
Free format text: JAPANESE INTERMEDIATE CODE: A01 Effective date: 20130416 |
|
| A61 | First payment of annual fees (during grant procedure) |
Free format text: JAPANESE INTERMEDIATE CODE: A61 Effective date: 20130424 |
|
| FPAY | Renewal fee payment (event date is renewal date of database) |
Free format text: PAYMENT UNTIL: 20160502 Year of fee payment: 3 |
|
| R150 | Certificate of patent or registration of utility model |
Ref document number: 5259337 Country of ref document: JP Free format text: JAPANESE INTERMEDIATE CODE: R150 Free format text: JAPANESE INTERMEDIATE CODE: R150 |
|
| R250 | Receipt of annual fees |
Free format text: JAPANESE INTERMEDIATE CODE: R250 |
|
| S531 | Written request for registration of change of domicile |
Free format text: JAPANESE INTERMEDIATE CODE: R313531 |
|
| R350 | Written notification of registration of transfer |
Free format text: JAPANESE INTERMEDIATE CODE: R350 |
|
| S533 | Written request for registration of change of name |
Free format text: JAPANESE INTERMEDIATE CODE: R313533 |
|
| R350 | Written notification of registration of transfer |
Free format text: JAPANESE INTERMEDIATE CODE: R350 |
|
| R250 | Receipt of annual fees |
Free format text: JAPANESE INTERMEDIATE CODE: R250 |
|
| LAPS | Cancellation because of no payment of annual fees |
