JP4995796B2 - 粘着テープ貼付け方法および粘着テープ貼付け装置 - Google Patents

粘着テープ貼付け方法および粘着テープ貼付け装置 Download PDF

Info

Publication number
JP4995796B2
JP4995796B2 JP2008253865A JP2008253865A JP4995796B2 JP 4995796 B2 JP4995796 B2 JP 4995796B2 JP 2008253865 A JP2008253865 A JP 2008253865A JP 2008253865 A JP2008253865 A JP 2008253865A JP 4995796 B2 JP4995796 B2 JP 4995796B2
Authority
JP
Japan
Prior art keywords
adhesive tape
ring frame
tape
ring
inspection
Prior art date
Legal status (The legal status is an assumption and is not a legal conclusion. Google has not performed a legal analysis and makes no representation as to the accuracy of the status listed.)
Expired - Fee Related
Application number
JP2008253865A
Other languages
English (en)
Other versions
JP2010087180A (ja
Inventor
雅之 山本
直樹 石井
Current Assignee (The listed assignees may be inaccurate. Google has not performed a legal analysis and makes no representation or warranty as to the accuracy of the list.)
Nitto Denko Corp
Original Assignee
Nitto Denko Corp
Priority date (The priority date is an assumption and is not a legal conclusion. Google has not performed a legal analysis and makes no representation as to the accuracy of the date listed.)
Filing date
Publication date
Application filed by Nitto Denko Corp filed Critical Nitto Denko Corp
Priority to JP2008253865A priority Critical patent/JP4995796B2/ja
Priority to TW098132823A priority patent/TWI464793B/zh
Priority to CN2009101780989A priority patent/CN101714511B/zh
Priority to US12/569,625 priority patent/US7875145B2/en
Priority to CN2013101416931A priority patent/CN103295945A/zh
Publication of JP2010087180A publication Critical patent/JP2010087180A/ja
Application granted granted Critical
Publication of JP4995796B2 publication Critical patent/JP4995796B2/ja
Expired - Fee Related legal-status Critical Current
Anticipated expiration legal-status Critical

Links

Images

Classifications

    • H10P72/0442
    • YGENERAL TAGGING OF NEW TECHNOLOGICAL DEVELOPMENTS; GENERAL TAGGING OF CROSS-SECTIONAL TECHNOLOGIES SPANNING OVER SEVERAL SECTIONS OF THE IPC; TECHNICAL SUBJECTS COVERED BY FORMER USPC CROSS-REFERENCE ART COLLECTIONS [XRACs] AND DIGESTS
    • Y10TECHNICAL SUBJECTS COVERED BY FORMER USPC
    • Y10TTECHNICAL SUBJECTS COVERED BY FORMER US CLASSIFICATION
    • Y10T156/00Adhesive bonding and miscellaneous chemical manufacture
    • Y10T156/10Methods of surface bonding and/or assembly therefor
    • Y10T156/1052Methods of surface bonding and/or assembly therefor with cutting, punching, tearing or severing
    • Y10T156/1062Prior to assembly
    • YGENERAL TAGGING OF NEW TECHNOLOGICAL DEVELOPMENTS; GENERAL TAGGING OF CROSS-SECTIONAL TECHNOLOGIES SPANNING OVER SEVERAL SECTIONS OF THE IPC; TECHNICAL SUBJECTS COVERED BY FORMER USPC CROSS-REFERENCE ART COLLECTIONS [XRACs] AND DIGESTS
    • Y10TECHNICAL SUBJECTS COVERED BY FORMER USPC
    • Y10TTECHNICAL SUBJECTS COVERED BY FORMER US CLASSIFICATION
    • Y10T156/00Adhesive bonding and miscellaneous chemical manufacture
    • Y10T156/12Surface bonding means and/or assembly means with cutting, punching, piercing, severing or tearing
    • Y10T156/1348Work traversing type

Landscapes

  • Container, Conveyance, Adherence, Positioning, Of Wafer (AREA)
  • Dicing (AREA)

Description

本発明は、半導体ウエハからチップ部品を製造する過程に利用されるリングフレーム単体またはリングフレームと半導体ウエハとにわたって粘着テープを貼付ける粘着テープ貼付け方法および粘着テープ貼付け装置に関する。
図5に示すように、回路パターンが形成された表面に保護テープPTを貼付けて保護した状態でバックグラインド処理された半導体ウエハW(以下、適宜「ウエハ」という)は、リングフレームfの裏面に貼付けた粘着テープDTに貼り合わされた状態で支持したマウントフレームMFとして搬送される。当該マウントフレームMFに支持された半導体ウエハは、以降の工程で各種処理を受ける。
リングフレームに粘着テープを貼付ける手段としては、リングフレームの裏面側に供給された粘着テープを、リングフレームの中心周りに旋回移動する貼付けローで押圧してフレーム裏面に貼付けるとともに、リングフレームの中心周りに旋回移動する円板型のカッタ刃で粘着テープをリングフレームに沿って円形に裁断する手段が知られている(特許文献1を参照)。
特開2005−159243号公報
リングフレームの裏面に貼付けられて円形に裁断された粘着テープは、貼付け条件によってはその周方向の一部が剥れたり、シワが発生してリングフレームの裏面から部分的に浮き上がったりすることがある。このような剥れなどが発生した粘着テープに貼付け支持されたウエハは、姿勢が不安定になりやすく、以降のチップ部品ごとに細断する加工において裁断後のチップが飛散するなどの支障をきたすといった問題がある。
この発明は、このような事情に鑑みてなされたものであって、リングフレームの裏面に粘着テープを精度よく貼付けるとともに、半導体ウエハを安定良く貼付けて支持することができることを主たる目的としている。
第1の発明は、リングフレームに半導体ウエハを支持する粘着テープを貼付ける粘着テープ貼付け方法であって、
前記リングフレームの裏面側に粘着テープを供給するテープ供給過程と、
供給した前記粘着テープをリングフレームの裏面に貼付けるテープ貼付け過程と、
貼付けられた前記粘着テープをリングフレームに沿って裁断するテープ切断過程と、
前記リングフレームの内周近傍に沿って検査リングを粘着テープに接触させつつ検査リングに形成した環状溝から粘着テープに対して吸引または気体を供給して加圧し、計測される圧力に基づいてリングフレームからの粘着テープの剥れを検査する検査過程と、
を備えたことを特徴とする。
(作用・効果) この方法によれば、供給された粘着テープがリングフレームに貼付けられた後、リングフレームに沿って裁断される。次いで、貼付けられた粘着テープの全周において剥れの発生の有無が検査される。
ここで、リングフレームの全周に亘って粘着テープが密着して貼付けられており、かつ、この粘着テープを検査リングで吸引する場合、環状溝の全周に亘って粘着テープが吸着されているので、吸引負圧が高まる。粘着テープの一部がリングフレームから剥れていたり、あるいは浮き上がっていたりする場合、これら剥れなどの部位から外気が吸引されて吸引負圧が低下し、計測した吸引負圧が予め設定された閾値より下回る。この場合にリングフレームからの粘着テープの「剥れ有り」と判断することができる。
リングフレームの全周に亘って粘着テープが密着して貼付けられており、かつ、この粘着テープを検査リングで加圧する場合、環状溝の全周に亘って粘着テープの接着力よりも弱い圧力が粘着テープに付与され、環状溝の内圧が高められる。粘着テープの一部がリングフレームから剥れていたり、あるいは浮き上がっていたりする場合、これら剥れなどの部位から気体が漏れて環状溝内の圧力が低下し、計測した内圧が予め設定された閾値より下回る。この場合にリングフレームからの粘着テープの「剥れ有り」と判断することができる。
の発明は、上記第1の発明方法において、
前記検査過程においてリングフレームからの粘着テープの剥れの発生が検出された場合に、再度のテープ貼付け処理を行うことを特徴とする。
を備えたことを特徴とする。
(作用・効果) この方法によれば、粘着テープの一部に剥れが発生していても、再度のテープ貼付け処理を行うことで良品として次の工程に供給することができる。したがって、剥れの発生したリングフレームを不良品として排除する場合に比べて無駄のない処理を継続して行うことができる。
の発明は、リングフレームに半導体ウエハを支持する粘着テープを貼付ける粘着テープ貼付け装置であって、
前記リングフレームの裏面側に帯状の粘着テープを供給するテープ供給手段と、
供給した前記粘着テープを貼付けローラで押圧してリングフレームの裏面に貼付けるテープ貼付け手段と、
貼付けられた前記粘着テープをリングフレームに沿って裁断するカッタ機構と、
前記リングフレームからの粘着テープの剥れの発生を検査する検査機構を備え、
前記検査機構は、リングフレーム内周近傍において粘着テープの粘着面に接触および粘着面から離反移動する検査リングと、
前記検査リングの先端に形成した環状溝から吸引を行う吸引手段と、
前記粘着テープ吸引時の圧力変化を計測するセンサと、
前記センサの計測結果に基づいてリングフレームからの粘着テープの剥れを判別する演算処理部と、
を備えたことを特徴とする
(作用・効果) この構成によると、上記第1の発明方法を好適に実施することができる
リングフレームに半導体ウエハを支持する粘着テープを貼付ける粘着テープ貼付け装置であって、
前記リングフレームの裏面側に帯状の粘着テープを供給するテープ供給手段と、
供給した前記粘着テープを貼付けローラで押圧してリングフレームの裏面に貼付けるテープ貼付け手段と、
貼付けられた前記粘着テープをリングフレームに沿って裁断するカッタ機構と、
前記リングフレームからの粘着テープの剥れの発生を検査する検査機構を備え、
前記検査機構は、リングフレーム内周近傍において粘着テープの粘着面に接触および粘着面から離反移動する検査リングと、
前記検査リングの先端に形成した環状溝から気体を供給して加圧する加圧手段と、
前記粘着テープ加圧時の圧力変化を計測するセンサと、
前記センサの計測結果に基づいてリングフレームからの粘着テープの剥れを判別する演算処理部と、
を備えたことを特徴とする。
この構成によれば、上記第の発明方法を好適に実施することができる。
の発明は、上記第3または第4の発明のいずれかにおいて、
前記リングフレームに貼付けられた粘着テープに半導体ウエハを供給する昇降自在なチャックテーブルに前記剥れ検査機構を装備してあるものである。
(作用・効果)この構成によれば、チャックテーブルの昇降駆動手段を利用して検査機構を昇降することができ、駆動手段の共用によって構造の簡素化を図ることができる。
なお、上記第から第の発明装置において、
前記カッタ機構は、リングフレームに貼り付けられた粘着テープに突き刺し、リングフレーム形状に沿って旋回するカッタ刃と、
前記リングフレームの粘着テープ貼付け面に沿って転動する貼付けローラと、
前記演算処理部によりリングフレームからの粘着テープの剥れが判別されたとき、前記貼付けローラを転動させる制御部を備えた構成であることが好ましい。
(作用・効果) この構成によれば、リングフレームからの粘着テープの剥れが検出されると、粘着テープを貼り付ける工程内で、粘着テープの再貼付けを行うことができる。したがって、作業効率の向上を図ることができる。
この発明によれば、リングフレームの裏面に剥れのない状態で粘着テープを精度よく貼付け、ウエハを安定良く貼付け支持することができる。
以下、図面を参照して本発明の粘着テープ貼付け装置を備えた半導体ウエハマウント装置の実施例を説明する。
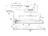
図1に、半導体ウエハマウント装置の全体構成が示されている。
半導体ウエハマウント装置1は、バックグラインド処理を施したウエハWを多段に収納するカセットCが装填されるウエハ供給部2と、ロボットアーム4と押圧機構5とを備えたウエハ搬送機構3と、ウエハWの位置合わせをするアライメントステージ7と、アライメントステージ7に載置されたウエハWに向けて紫外線を照射する紫外線照射ユニット14と、ウエハWを吸着保持するチャックテーブル15と、リングフレームfが多段に収納されたリングフレーム供給部16と、リングフレームfをダイシングテープである粘着テープDTに移載するリングフレーム搬送機構17と、粘着テープDTをリングフレームfの裏面から貼付けるテープ処理部18と、粘着テープDTが貼付けられたリングフレームfを昇降移動させるリングフレーム昇降機構26と、粘着テープDTが貼付けられたリングフレームfにウエハWを貼り合わせて一体化したマウントフレームMFを作製するマウントフレーム作製部27と、作製されたマウントフレームMFを搬送する第1マウントフレーム搬送機構29と、ウエハWの表面に貼付けられた保護テープPTを剥離する剥離機構30と、剥離機構30で保護テープPTが剥離されたマウントフレームMFを搬送する第2マウントフレーム搬送機構35と、マウントフレームMFの方向転換および搬送を行うターンテーブル36と、マウントフレームMFを多段に収納するマウントフレーム回収部37とから構成されている。
ウエハ供給部2には図示されていないカセット台が備えられている。このカセット台に保護テープPTがパターン面(以下、適宜に「表面」という)に貼付けられたウエハWを多段に収納したカセットCが載置されるようになっている。このとき、ウエハWはパターン面を上向きにした水平姿勢を保っている。
ウエハ搬送機構3は、図示しない駆動機構によって旋回および昇降移動するように構成されている。つまり、後述するロボットアーム4のウエハ保持部や、押圧機構5に備わった押圧プレート6の位置調整を行うとともに、ウエハWをカセットCからアライメントステージ7に搬送するようになっている。
ウエハ搬送機構3のロボットアーム4は、その先端に図示しない馬蹄形をしたウエハ保持部を備えている。また、ロボットアーム4は、カセットCに多段に収納されたウエハW同士の間隙をウエハ保持部が進退可能に構成されている。なお、ロボットアーム先端のウエハ保持部には吸着孔が設けられており、ウエハWを裏面から真空吸着して保持するようになっている。
ウエハ搬送機構3の押圧機構5は、その先端にウエハWと略同形状をした円形の押圧プレート6を備えており、この押圧プレート6がアライメントステージ7に載置されたウエハWの上方に移動するように、アーム部分が進退可能に構成されている。
また、押圧機構5は、後述するアライメントステージ7の保持テーブル8にウエハWが載置されたときに、吸着不良が発生した場合に作動するようになっている。具体的には、ウエハWに反りが発生してウエハWを吸着保持できないとき、押圧プレート6がウエハWの表面を押圧し、反りを矯正して平面状態にする。この状態で保持テーブル8がウエハWを裏面から真空吸着するようになっている。
アライメントステージ7は、載置されたウエハWをその周縁に備えられたオリエンテーションフラットやノッチなどに基づいて位置合わせを行うとともに、ウエハWの裏面全体を覆って真空吸着する保持テーブルを備えている。
また、アライメントステージ7は、ウエハWを真空吸着したときの圧力値を検出し、正常動作時(ウエハWが保持テーブル8に正常に吸着されたとき)の圧力値に関連して予め定められた基準値とを比較する。圧力値が基準値よりも高い場合は、ウエハWに反りがあって保持テーブル8に吸着されていないものと判断する。そして、押圧プレート6を作動させてウエハWを押圧し、反りを矯正することによって、ウエハWが保持テーブル8に吸着されるようになっている。
アライメントステージ7は、ウエハWを載置して位置合わせを行う初期位置と、後述するテープ処理部18の上方に配備されたチャックテーブル15とリングフレーム昇降機構26との中間位置とにわたってウエハWを吸着保持した状態で搬送移動できるように構成されている。つまり、アライメントステージ7は、ウエハWの反りを矯正して平面状態に保持したまま次の工程まで搬送する。
紫外線照射ユニット14は、初期位置にあるアライメントステージ7の上方に位置している。紫外線照射ユニット14は、ウエハWの表面に貼付けられた紫外線硬化型粘着テープである保護テープPTに向けて紫外線を照射して、保護テープPTの接着力を低下させるようになっている。
チャックテーブル15は、ウエハWの表面を覆って真空吸着できるようにウエハWと略同一形状の円形をしている。また、チャックテーブル15は、図示しない駆動機構によって、テープ処理部18の上方の待機位置からウエハWをリングフレームfに貼り合わせる位置にわたって昇降移動するようになっている。
また、チャックテーブル15は、後述する粘着テープDTが裏面から貼付けられたリングフレームfを吸着保持するリングフレーム昇降機構26の開口部に収まってウエハWがリングフレームfの下面に貼付けられた粘着テープDTに近接する位置まで下降するようになっている。
さらに、図2に示すように、チャックテーブル15には、リングフレームfへ貼付けられた粘着テープDTの一部がリングフレーム下面から剥れているかどうかを検査する検査機構40が備えられている。
検査機構40は、チャックテーブル15に対して昇降可能に支持された検査リング41、検査リング41を一定の範囲で昇降させる駆動機構としてのシリンダ42が備えられている。
検査リング41は、それ自体をフッ素樹脂で構成したり、あるいは、フッ素コーティングにより表面に離形処理が施されたりしている。また、検査リング41の下端には、図2から図4に示すように、環状溝43が形成されており、この環状溝43に負圧センサ44を介して真空装置45が連通接続されている。なお、真空装置45は、本発明の吸引手段に相当する。
図1に戻り、リングフレーム供給部16は底部に滑車が設けられたワゴン状のものであって、装置本体内に装填されるようになっている。また、その上部が開口して内部に多段に収納されているリングフレームfをスライド上昇させて送り出すようになっている。
リングフレーム搬送機構17は、リングフレーム供給部16に収納されているリングフレームfを上側から1枚ずつ順番に真空吸着し、図示しないアライメントステージと、粘着テープDTを貼付ける位置とにリングフレームfを順番に搬送するようになっている。また、リングフレーム搬送機構17は、粘着テープDTの貼付の際、粘着テープDTの貼付位置でリングフレームfを保持する保持機構としても機能している。
テープ処理部18は、粘着テープDTを供給するテープ供給部19、粘着テープDTにテンションをかける引張機構20、粘着テープDTをリングフレームfに貼付ける貼付けユニット21、リングフレームfに貼付けられた粘着テープDTを裁断するカッタ機構24、カッタ機構24によって裁断された後の不要なテープをリングフレームfから剥離する剥離ユニット23、および裁断後の不要な残存テープdtを回収するテープ回収部25とを備えている。
引張機構20は、粘着テープDTを幅方向の両端から挟み込んで、テープ幅方向にテンションをかけるようになっている。つまり、柔らかい粘着テープDTを用いると、テープ供給方向に加わるテンションによって、その供給方向に沿って粘着テープDTの表面に縦皺が発生してしまう。この縦皺を回避してリングフレームfに粘着テープDTを均一に貼付けるために、テープ幅方向側からテンションをかけている。
貼付けユニット21は、粘着テープDTの上方に保持されたリングフレームfの斜め下方(図1では左斜め下)の待機位置に配備されている。この貼付けユニット21にはリングフレームfより幅広の貼付けローラ22が備えられている。したがって、リングフレーム搬送機構17によって貼付け位置に搬送されたリングフレームfが保持されると、テープ供給部19からの粘着テープDTの供給が開始される。同時に、貼付けローラ22が、図6に示すように、テープ供給方向の右側の貼付け開始位置(a)に移動する。
貼付け開始位置(a)に到達した貼付けローラ22は、上昇して粘着テープDTをリングフレームfに押圧して貼付け、図7に示すように、貼付け開始位置から待機位置方向に転動して粘着テープDTを押圧しながらリングフレームfに貼付けるようになっている。なお、貼付けユニット21は、本発明のテープ貼付け手段に相当する。
剥離ユニット23は、後述するカッタ機構24によって裁断された粘着テープDTの不要な部分をリングフレームfから剥離するようになっている。具体的には、リングフレームfへの粘着テープDTの貼付けおよび裁断が終了すると、引張機構20による粘着テープDTの保持が開放される。次いで、図11に示すように、剥離ユニット23がテープ供給部31側に向かって移動し、裁断後の不要な粘着テープDTを剥離する。
カッタ機構24は、リングフレームfが載置された粘着テープDTの下方において昇降可能に配備されている。カッタ機構24には、リングフレームfの内径より外側の位置でリングフレーム下面に押し付けられる昇降可能な円板形のカッタ刃46と、リングフレームfの下面に押し付けられる小幅の貼付けローラ47とが、リングフレームfの中心を通る縦軸心X周りに回転するアーム状の回転部材48の両端でそれぞれが上向きに昇降あるいは揺動可能に装備されている。
なお、貼付けローラ47は、実施例の場合、リングフレームfの幅を超える長さに設定されている。
したがって、粘着テープDTが貼付けユニット21によってリングフレームfの下面に貼付けられると、引張機構20による粘着テープDTの保持が開放され、このカッタ機構24が上昇する。上昇したカッタ機構24のカッタ刃46と貼付けローラ47は縦軸心X周りに回動して、粘着テープDTを円形に裁断するとともに、粘着テープDTの切り口周辺を貼付けローラ47によってリングフレーム下面に押し付ける。
図1に戻り、通常、リングフレーム昇降機構26は、リングフレームfに粘着テープDTを貼付ける位置の上方の待機位置にあり、リングフレームfに粘着テープDTの貼付け処理が終了すると降下し、リングフレームfを吸着保持する。このとき、リングフレームfを保持していたリングフレーム搬送機構17は、リングフレーム供給部16の上方の初期位置に戻る。
第1マウントフレーム搬送機構29は、リングフレームfとウエハWとが一体形成されたマウントフレームMFを真空吸着して剥離機構30の図示しない剥離テーブルに移載するようになっている。
剥離機構30は、ウエハWを載置して移動させる図示しない剥離テーブル、剥離テープTsを供給するテープ供給部31、剥離テープTsの貼付けおよび剥離を行う剥離ユニット32、および、剥離された剥離テープTsと保護テープPTを回収するテープ回収部34などから構成されている。
テープ供給部31は、原反ロールから導出した剥離テープTsを剥離ユニット32の下端部に備えたエッジ状の貼付け部材38に案内供給するようになっている。
テープ回収部34は、剥離ユニット32の下端部から送り出された剥離テープTsを上方に導いて巻き取り回収するようになっている。
第2マウントフレーム搬送機構35は、剥離機構30から払い出されたマウントフレームMFを真空吸着してターンテーブル36に移載するようになっている。
ターンテーブル36は、マウントフレームMFの位置合わせおよびマウントフレーム回収部37への収納を行うように構成されている。つまり、第2マウントフレーム搬送機構35によってターンテーブル36上にマウントフレームMFが載置されると、ウエハWのオリエンテーションフラットや、リングフレームfの位置決め形状などに基づいて位置合わせを行う。またマウントフレーム回収部37へのマウントフレームMFの収納方向を変更するために、ターンテーブル36は旋回するようになっている。また、ターンテーブル36は、収納方向が定まるとマウントフレームMFを図示しないプッシャーによって押出してマウントフレーム回収部37にマウントフレームMFを収納するようになっている。
マウントフレーム回収部37は、図示しない昇降可能な載置テーブルに載置されている。つまり、載置テーブルが昇降移動することによって、プッシャーによって押出されたマウントフレームMFをマウントフレーム回収部37の任意の段に収納できるようになっている。
次に、上述の実施例装置について一巡の動作を図6〜図11、および、図12のフローチャートを参照しながら説明する。
ロボットアーム4のウエハ保持部がカセットCの隙間に挿入される。ウエハWは下方から吸着保持されて1枚ずつ取り出される。取り出されたウエハWは、アライメントステージ7に搬送される。
ロボットアーム4によってウエハWが保持テーブル8に載置され、裏面から吸着保持される。このとき、図示しない圧力計によってウエハWの吸着レベルが検出され、正常動作時の圧力値に関連して予め定められた基準値とを比較される。
吸着異常が検知された場合は、押圧プレート6によりウエハWが表面から押圧され、反りの矯正された平面状態でウエハWが吸着保持される。また、ウエハWは、オリエンテーションフラットやノッチに基づいて位置合わせが行なわれる。
アライメントステージ7上で位置合わせが終了すると、紫外線照射ユニット14によってウエハWの表面に紫外線が照射される。
ウエハWは、紫外線の照射処理が施されると、保持テーブル8に吸着保持されたままアライメントステージ7ごと次のマウントフレーム作製部27へと搬送される。つまり、アライメントステージ7は、チャックテーブル15とリングフレーム昇降機構26との中間位置に移動する。
アライメントステージ7が所定の位置で待機すると、上方に位置するチャックテーブル15が降下し、チャックテーブル15の底面がウエハWに当接して真空吸着を開始する。チャックテーブル15の真空吸着が開始すると、保持テーブル8側の吸着保持が開放され、ウエハWはチャックテーブル15に反りを矯正して平面保持した状態のまま受け取られる。ウエハWを受け渡したアライメントステージ7は初期位置へと戻る。
次に、リングフレーム供給部16に多段に収納されたリングフレームfが、リングフレーム搬送機構17によって上方から1枚ずつ真空吸着されて取り出される。取り出されたリングフレームfは、図示しないアライメントステージで位置合わせが行なわれたのち、粘着テープDTの上方のテープ貼付け位置に搬送される。
リングフレームfがリングフレーム搬送機構17によって保持されて粘着テープDTの貼付け位置にあると、テープ供給部19から粘着テープDTの供給が開始される。これと同時に、図6に示すように、貼付けローラ22が貼付け開始位置(a)に移動する。
貼付け開始位置(a)に貼付けローラ22が到達すると、粘着テープDTの幅方向の両端を引張機構20が保持し、テープ幅方向にテンションをかける。
次いで、図7に示すように、ウエハWを下面に吸着保持したチャックテーブル15がリングフレームfの中心上方に下降されるとともに、貼付けローラ22が上昇し、粘着テープDTをリングフレームfの端部に押圧して貼付ける。リングフレームfの端部に粘着テープDTを貼付けると、貼付けローラ22は待機位置であるテープ供給部19側に向かって転動する。この転動過程で、貼付けローラ22は、粘着テープDTを非接着面(下面)から押圧しながら転動し、リングフレームfの下面に粘着テープDTを貼付けるとともに、粘着テープDTをウエハWの下面(裏面)に貼付けてゆく(ステップS1)。なお、このとき、チャックテーブル15に支持された検査機構40の検査リング41は上方の退避位置に後退移動している。
図8に示すように、貼付けローラ22が貼付け位置の終端に到達すると、引張機構20による粘着テープDTの保持が開放される。同時にカッタ機構24が上昇し、カッタ刃46と貼付けローラ47が粘着テープDTに押し付けられた状態で縦軸心X周りに回動し、カッタ刃46によって粘着テープDTをリングフレームfの内径より少し大径の円形に裁断するとともに、その裁断箇所近辺を全周に亘って貼付けローラ47で押圧する(ステップS2)。
次に、図9に示すように、検査リング41が検査位置である下限まで下降されて、リングフレームfの内周近傍において粘着テープDTの上面と接触される(ステップS3)。検査リング41が検査位置まで下降されると、先ず、真空装置45が作動して検査リング41の環状溝43からの吸引が開始される(ステップS4)。
このときの吸引負圧が負圧センサ44で計測され、その計測結果が制御部50に送信される。制御部50は、受け取った計測結果の信号を測定値に変換し、当該測定値と予め決めた閾値との比較する(ステップS5)。
粘着テープDTが全周に亘ってリングフレームfに密着していれば、粘着テープDTが環状溝43の全周に亘って吸着されるために吸引負圧が高まり、計測した吸引負圧が予め設定された閾値より高くなると、「剥れ無し」と判断されて次工程に移行する(ステップS6)。
図3中の仮想線で示すように、貼付けられた粘着テープDTの一部が剥れてリングフレームfの下面から垂れ下がっていると、この剥れ発生部位からの外気が吸引されて吸引負圧の高まりが抑制され、計測した吸引負圧が予め設定された閾値より下回る。この場合、制御部50は、「剥れ有り」と判断する。
「剥れ有り」が判断されると、制御部50は、真空装置45の吸引を停止させ、その状態で検査リング41を上昇させて粘着テープDTから離間させる(ステップS7)。次いで、図10に示すように、制御部50、下降待機していたカッタ機構24が再度上昇させて、貼付けローラ47のみが粘着テープDTの貼付け部位に押し付けられて所定回数だけ回動せる(ステップS08)。これによって剥れ発生箇所の粘着テープDTの再貼付け処理が行われる。
再貼付け処理が完了すると、ステップS03−ステップS05の処理が繰り返される。つまり、制御部50は、検査リング41を検査位置まで下降させて再度の剥れ検査を行わせる。
吸引検査によって「剥れ無し」が判断なされると、図11に示すように、剥離ユニット23がテープ供給部19側に向かって移動し、円形に裁断された粘着テープDTの外側に残存する不要テープdtが剥離される。
次いで、テープ供給部19が作動して粘着テープDTが繰り出されるとともに、不要テープdtはテープ回収部25へと送り出される。このとき、貼付けローラ22は、次のリングフレームfに粘着テープDTを貼付けに備えて貼付け開始位置に移動する。
以上のようにして、リングフレームfとウエハWとが一体化されたマウントフレームMFが作製される。
マウントフレームMFが作製されると、チャックテーブル15とリングフレーム昇降機構26とは、上方に移動する。このとき、図示しない保持テーブルがマウントフレームMFの下方に移動し、マウントフレームMFがこの保持テーブルに載置される。載置されたマウントフレームMFは、第1マウントフレーム搬送機構29によって吸着保持され、図示されていない剥離テーブルに移載されて保護テープ剥離処理を受ける。
保護テープPTの端部への剥離テープTsの貼付けが完了すると、マウントフレームMFは前進移動されるとともに、この移動速度と同調した速度で剥離テープTsがテープ回収部34に向けて巻き取られてゆく。これによって、貼付け部材38がウエハWの表面の保護テープPTに剥離テープTsを押圧しながら貼付けてゆくとともに、これと同時に、貼付けた剥離テープTsを剥離しながら保護テープPTを一緒にウエハWの表面から剥離してゆく。
貼付け部材38が保護テープPTの後端縁に到達して保護テープPTが完全にウエハWの表面から剥離された時点で貼付け部材38が上昇され、剥離ユニット32は初期状態に復帰する。
保護テープPTの剥離処理が終了したマウントフレームMFは第2マウントフレーム搬送機構35の待機位置まで移動する。
そして、剥離機構30から払い出されたマウントフレームMFは、第2マウントフレーム搬送機構35によってターンテーブル36に移載される。移載されたマウントフレームMFは、オリエンテーションフラットやノッチによって位置合わせが行なわれるとともに、収納方向の調節が行なわれる。位置合わせおよび収納方向が定まるとマウントフレームMFは、プッシャーによって押出されてマウントフレーム回収部37に収納される。
以上のように、マウントフレームMFの作製行程内で粘着テープDTの剥れを検出し、再貼付けを行うことができるので、次工程のダイシング時に粘着テープDTの接着不良でチップが飛散するのを回避することができるとともに、作業効率の向上を図ることができる。
本発明は上述した実施例のものに限らず、次のように変形実施することもできる。
(1)上記実施例では、リングフレームfへの粘着テープDTの貼付けと、ウエハWへの粘着テープDTの貼付けとを同時に行う場合を例示しているが、リングフレームfへの粘着テープDTの貼付け(裁断を含む)を先に行い、その後の別工程で、ウエハWへの粘着テープDTの貼付けと剥れ検査を行う形態で実施することもできる。
(2)上記実施例では、ウエハWを粘着テープDTに貼付けるためのチャックテーブル15に検査リング41を装備して検査機構40を構成しているが、チャックテーブル15とは個別に検査機構40を昇降可能に配備することもできる。
(3)検査機構40として、粘着テープDTに近接させた環状溝43から空気を噴出して、その空気圧の低下から粘着テープDTの剥れを検知する形態で実施することもできる。なお、環状溝43から噴出量は、例えば、リングフレームfに粘着テープDTを密着状態となるように貼付けた状態で環状溝43から空気を噴出し、その圧力で空気漏が発生を検知したときの測定値に基づいて予め決めておく。
(4)検査機構40としては、上記したように吸引負圧や空気圧の変化から粘着テープDTの剥れを判断する形態であったが、次のように構成してもよい。例えば、リングフレームfからの粘着テープDTの剥離浮上を接触式のセンサや、超音波あるいは光反射型の接触式の測距センサで検知するように構成する。
具体的には、カッタ機構24の縦軸心Xにアーム状の3本の回転部材48を放射状に等間隔に取り付け、そのうちの1つにセンサを装着するように構成する。つまり、カッタ刃46が粘着テープDTを切断した直後に、カッタ刃46の後方からセンサを追従させながら粘着テープDTの下面までの距離を測定する。
非接触センサの場合、粘着テープDTの切断に伴って旋回するセンサによりリニアに測定された結果が制御部50に送信され、演算処理部51が決めた基準距離と測定値の比較を演算処理部51で行う。接触式の場合、粘着テープDTの下面にセンサの先端を近接させた状態で、カッタ刃46の旋回と連動させて当該センサを旋回させる。センサの先端が粘着テープDTを接触した場合に、センサから制御部50に信号が送信され、「剥れ有り」と判断させる。
(5)上記実施例では、粘着テープDTの再貼付けを行うカッタ機構24に備わった貼付けローラ47で行っていたが、貼付ユニット21の貼付けローラ22を再作動させて粘着テープDTの再貼付けを行うように構成してもよい。この構成によれば、チャックテーブル15と一体になった検査機構40およびカッタ機構24の貼付けローラ47を省いた構成にすることができる。
(6)上記実施例では、リングフレームfとウエハWとの亘って粘着テープDTを貼付けた後に粘着テープDTの剥れの検査を行っていたが、リングフレームfのみに粘着テープDTを貼付けた状態で検査することも可能である。
(7)上記実施例では、カッタ刃46を旋回させて粘着テープDTを裁断するのに追従させて貼付けローラ47を粘着テープDTの下面に転動させていたが、当該貼付けローラ47は、粘着テープDTの再貼付けのときのみに利用するようい構成してもよい。
(8)上記実施例および変形例の検査機構41は、帯状の粘着テープDTをリングフレームfとウエハWとに亘って貼付けた後にカッタ刃46で裁断していたが、リングフレーム形状に予め切断された粘着テープDTを貼付ける構成にも適用することができる。
半導体ウエハマウント装置の全体を示す斜視図である。 チャックテーブルおよび検査機構を示す一部切欠き正面図である。 検査機構の要部を拡大した断面図である。 検査機構の要部を示す横断平面図である。 マウントフレームの斜視図である。 テープ貼付け工程を示す正面図である。 テープ貼付け工程を示す正面図である。 テープ貼付け工程を示す正面図である。 テープ貼付け工程を示す正面図である。 テープ貼付け工程を示す正面図である。 テープ貼付け工程を示す正面図である。 テープ貼付け処理を示すフローチャートである。
符号の説明
15 … チャックテーブル
24 … カッタ機構
40 … 検査機構
42 … 検査リング
43 … 環状溝
44 … 負圧センサ
45 … 真空装置
f … リングフレーム
DT … 粘着テープ
W … 半導体ウエハ

Claims (6)

  1. リングフレームに半導体ウエハを支持する粘着テープを貼付ける粘着テープ貼付け方法であって、
    前記リングフレームの裏面側に粘着テープを供給するテープ供給過程と、
    供給した前記粘着テープをリングフレームの裏面に貼付けるテープ貼付け過程と、
    貼付けられた前記粘着テープをリングフレームに沿って裁断するテープ切断過程と、
    前記リングフレームの内周近傍に沿って検査リングを粘着テープに接触させつつ検査リングに形成した環状溝から粘着テープに対して吸引または気体を供給して加圧し、計測される圧力に基づいてリングフレームからの粘着テープの剥れを検査する検査過程と、
    を備えたことを特徴とする粘着テープ貼付け方法。
  2. 請求項1に記載の粘着テープ貼付け方法において、
    前記検査過程においてリングフレームからの粘着テープの剥れの発生が検出された場合に、再度のテープ貼付け処理を行う
    ことを特徴とする粘着テープ貼付け方法。
  3. リングフレームに半導体ウエハを支持する粘着テープを貼付ける粘着テープ貼付け装置であって、
    前記リングフレームの裏面側に帯状の粘着テープを供給するテープ供給手段と、
    供給した前記粘着テープを貼付けローラで押圧してリングフレームの裏面に貼付けるテープ貼付け手段と、
    貼付けられた前記粘着テープをリングフレームに沿って裁断するカッタ機構と、
    前記リングフレームからの粘着テープの剥れの発生を検査する検査機構を備え、
    前記検査機構は、リングフレーム内周近傍において粘着テープの粘着面に接触および粘着面から離反移動する検査リングと、
    前記検査リングの先端に形成した環状溝から吸引を行う吸引手段と、
    前記粘着テープ吸引時の圧力変化を計測するセンサと、
    前記センサの計測結果に基づいてリングフレームからの粘着テープの剥れを判別する演算処理部と、
    を備えたことを特徴とする粘着テープ貼付け装置。
  4. リングフレームに半導体ウエハを支持する粘着テープを貼付ける粘着テープ貼付け装置であって、
    前記リングフレームの裏面側に帯状の粘着テープを供給するテープ供給手段と、
    供給した前記粘着テープを貼付けローラで押圧してリングフレームの裏面に貼付けるテープ貼付け手段と、
    貼付けられた前記粘着テープをリングフレームに沿って裁断するカッタ機構と、
    前記リングフレームからの粘着テープの剥れの発生を検査する検査機構を備え、
    前記検査機構は、リングフレーム内周近傍において粘着テープの粘着面に接触および粘着面から離反移動する検査リングと、
    前記検査リングの先端に形成した環状溝から気体を供給して加圧する加圧手段と、
    前記粘着テープ加圧時の圧力変化を計測するセンサと、
    前記センサの計測結果に基づいてリングフレームからの粘着テープの剥れを判別する演算処理部と、
    を備えたことを特徴とする粘着テープ貼付け装置。
  5. 請求項3または請求項に記載の粘着テープ貼付け装置において、
    前記リングフレームに貼付けられた粘着テープに半導体ウエハを供給する昇降自在なチャックテーブルに前記検査機構を装備した
    ことを特徴とする粘着テープ貼付け装置。
  6. 請求項ないし請求項のいずれかに記載の粘着テープ貼付け装置において、
    前記カッタ機構は、リングフレームに貼り付けられた粘着テープに突き刺し、リングフレーム形状に沿って旋回するカッタ刃と、
    前記リングフレームの粘着テープ貼付け面に沿って転動する貼付けローラと、
    前記演算処理部によりリングフレームからの粘着テープの剥れが判別されたとき、前記貼付けローラを転動させる制御部と、
    を備えたことを特徴とする粘着テープ貼付け装置。
JP2008253865A 2008-09-30 2008-09-30 粘着テープ貼付け方法および粘着テープ貼付け装置 Expired - Fee Related JP4995796B2 (ja)

Priority Applications (5)

Application Number Priority Date Filing Date Title
JP2008253865A JP4995796B2 (ja) 2008-09-30 2008-09-30 粘着テープ貼付け方法および粘着テープ貼付け装置
TW098132823A TWI464793B (zh) 2008-09-30 2009-09-29 黏著帶貼附方法及黏著帶貼附裝置
CN2009101780989A CN101714511B (zh) 2008-09-30 2009-09-29 粘接带粘贴方法和粘接带粘贴装置
US12/569,625 US7875145B2 (en) 2008-09-30 2009-09-29 Method and apparatus for joining adhesive tape
CN2013101416931A CN103295945A (zh) 2008-09-30 2009-09-29 粘接带粘贴方法和粘接带粘贴装置

Applications Claiming Priority (1)

Application Number Priority Date Filing Date Title
JP2008253865A JP4995796B2 (ja) 2008-09-30 2008-09-30 粘着テープ貼付け方法および粘着テープ貼付け装置

Publications (2)

Publication Number Publication Date
JP2010087180A JP2010087180A (ja) 2010-04-15
JP4995796B2 true JP4995796B2 (ja) 2012-08-08

Family

ID=42056113

Family Applications (1)

Application Number Title Priority Date Filing Date
JP2008253865A Expired - Fee Related JP4995796B2 (ja) 2008-09-30 2008-09-30 粘着テープ貼付け方法および粘着テープ貼付け装置

Country Status (4)

Country Link
US (1) US7875145B2 (ja)
JP (1) JP4995796B2 (ja)
CN (2) CN101714511B (ja)
TW (1) TWI464793B (ja)

Families Citing this family (13)

* Cited by examiner, † Cited by third party
Publication number Priority date Publication date Assignee Title
JP4746003B2 (ja) * 2007-05-07 2011-08-10 リンテック株式会社 移載装置及び移載方法
JP6087515B2 (ja) * 2012-05-01 2017-03-01 日東電工株式会社 半導体ウエハの保護テープ切断方法および保護テープ切断装置
JP6316705B2 (ja) * 2014-08-25 2018-04-25 日東電工株式会社 粘着テープ剥離方法および粘着テープ剥離装置
JP7049822B2 (ja) * 2017-12-18 2022-04-07 株式会社ディスコ テープ貼着装置
US11430677B2 (en) * 2018-10-30 2022-08-30 Taiwan Semiconductor Manufacturing Co., Ltd. Wafer taping apparatus and method
JP7233891B2 (ja) * 2018-11-15 2023-03-07 リンテック株式会社 シート貼付装置およびシート貼付方法
KR102484237B1 (ko) * 2020-11-06 2023-01-04 ㈜토니텍 반도체 패키지용 마운터 커팅장치
JP7599791B2 (ja) * 2021-03-23 2024-12-16 株式会社ディスコ 測定器
CN113287821B (zh) * 2021-05-24 2022-08-12 扬州灿鸿光电科技有限公司 一种滚轮压胶设备用旋转式载物转盘
JP2023113210A (ja) * 2022-02-03 2023-08-16 株式会社ディスコ テープ貼着装置
JP2023127749A (ja) * 2022-03-02 2023-09-14 株式会社ディスコ 検査装置
CN114670533B (zh) * 2022-04-06 2023-07-14 合肥德旺科技有限公司 一种高密度聚乙烯(hdpe)防排水过滤片自动化生产设备
CN116277996A (zh) * 2023-01-12 2023-06-23 深圳市拓腾兴科技有限公司 一种自动接膜方法及自动接膜机

Family Cites Families (14)

* Cited by examiner, † Cited by third party
Publication number Priority date Publication date Assignee Title
JPH0228347A (ja) * 1988-07-18 1990-01-30 Nitto Denko Corp 半導体ウエハの自動貼付け装置
JPH02262352A (ja) * 1989-04-03 1990-10-25 Nitto Denko Corp 半導体ウエハの自動貼付け装置
JPH06204266A (ja) * 1992-12-28 1994-07-22 Toshiba Seiki Kk 半導体ペレットのピックアップ方法
US6609414B2 (en) * 2001-07-19 2003-08-26 Mocon, Inc. Apparatus for conducting leakage tests on sealed packages
JP4480926B2 (ja) * 2001-09-11 2010-06-16 テイコクテーピングシステム株式会社 シリコンウエハに対する保護フィルムの貼着方法及び貼着装置
JP4444619B2 (ja) * 2003-10-10 2010-03-31 リンテック株式会社 マウント装置及びマウント方法
JP4472316B2 (ja) 2003-11-28 2010-06-02 日東電工株式会社 粘着テープ切断方法及び粘着テープ切断装置
JP4549172B2 (ja) * 2004-12-09 2010-09-22 日東電工株式会社 ウエハマウント方法およびこれを用いたウエハマウント装置
JP4326519B2 (ja) * 2005-03-31 2009-09-09 日東電工株式会社 保護テープ剥離方法およびこれを用いた装置
KR100787721B1 (ko) * 2006-07-25 2007-12-24 제일모직주식회사 박막 웨이퍼의 가공에 적합한 다이싱 다이 본드 필름
JP4953738B2 (ja) * 2006-09-07 2012-06-13 日東電工株式会社 粘着テープ切断方法およびこれを用いた粘着テープ貼付け装置
JP4974639B2 (ja) * 2006-10-20 2012-07-11 日東電工株式会社 粘着テープ切断方法およびこれを用いた装置
JP5112682B2 (ja) * 2006-12-18 2013-01-09 リンテック株式会社 シート貼付装置及び貼付方法
KR100942363B1 (ko) * 2007-12-03 2010-02-12 제일모직주식회사 플루오르를 포함하는 자외선(광)경화형 점착제 조성물 및이를 이용한 점착필름

Also Published As

Publication number Publication date
CN101714511A (zh) 2010-05-26
CN103295945A (zh) 2013-09-11
TW201030823A (en) 2010-08-16
US20100078114A1 (en) 2010-04-01
US7875145B2 (en) 2011-01-25
CN101714511B (zh) 2013-10-09
JP2010087180A (ja) 2010-04-15
TWI464793B (zh) 2014-12-11

Similar Documents

Publication Publication Date Title
JP4995796B2 (ja) 粘着テープ貼付け方法および粘着テープ貼付け装置
JP4964070B2 (ja) 保護テープ剥離方法および保護テープ剥離装置
JP4698519B2 (ja) 半導体ウエハマウント装置
JP4201564B2 (ja) 半導体ウエハ搬送方法およびこれを用いた半導体ウエハ搬送装置
CN101404241B (zh) 保护带剥离方法及采用该保护带剥离方法的装置
JP5386232B2 (ja) 紫外線照射装置
JP2009094355A (ja) 紫外線照射方法およびこれを用いた装置
KR20060051093A (ko) 보호 테이프 박리방법 및 이를 사용한 장치
JP2011124480A (ja) 粘着テープ剥離方法およびその装置
JP4407933B2 (ja) 粘着テープ貼付方法およびこれを用いた装置
KR101359251B1 (ko) 점착 테이프 절단 방법 및 이것을 이용한 점착 테이프 부착장치
JP5977024B2 (ja) 保護テープ剥離方法および保護テープ剥離装置
JP2010157543A (ja) 保護テープ剥離装置
CN105390415A (zh) 粘合带剥离方法和粘合带剥离装置
JP2016039298A (ja) 保護テープ貼付け方法および保護テープ貼付け装置
JP4549172B2 (ja) ウエハマウント方法およびこれを用いたウエハマウント装置
JP2012114465A (ja) 粘着テープ切断方法およびこれを用いた粘着テープ貼付け装置

Legal Events

Date Code Title Description
A621 Written request for application examination

Free format text: JAPANESE INTERMEDIATE CODE: A621

Effective date: 20110223

A977 Report on retrieval

Free format text: JAPANESE INTERMEDIATE CODE: A971007

Effective date: 20120118

A131 Notification of reasons for refusal

Free format text: JAPANESE INTERMEDIATE CODE: A131

Effective date: 20120124

A521 Request for written amendment filed

Free format text: JAPANESE INTERMEDIATE CODE: A523

Effective date: 20120216

TRDD Decision of grant or rejection written
A01 Written decision to grant a patent or to grant a registration (utility model)

Free format text: JAPANESE INTERMEDIATE CODE: A01

Effective date: 20120501

A01 Written decision to grant a patent or to grant a registration (utility model)

Free format text: JAPANESE INTERMEDIATE CODE: A01

A61 First payment of annual fees (during grant procedure)

Free format text: JAPANESE INTERMEDIATE CODE: A61

Effective date: 20120510

FPAY Renewal fee payment (event date is renewal date of database)

Free format text: PAYMENT UNTIL: 20150518

Year of fee payment: 3

R150 Certificate of patent or registration of utility model

Free format text: JAPANESE INTERMEDIATE CODE: R150

LAPS Cancellation because of no payment of annual fees