JP4908006B2 - 半導体装置 - Google Patents

半導体装置 Download PDF

Info

Publication number
JP4908006B2
JP4908006B2 JP2006026782A JP2006026782A JP4908006B2 JP 4908006 B2 JP4908006 B2 JP 4908006B2 JP 2006026782 A JP2006026782 A JP 2006026782A JP 2006026782 A JP2006026782 A JP 2006026782A JP 4908006 B2 JP4908006 B2 JP 4908006B2
Authority
JP
Japan
Prior art keywords
comb
wiring
mos
capacitor
insulating film
Prior art date
Legal status (The legal status is an assumption and is not a legal conclusion. Google has not performed a legal analysis and makes no representation as to the accuracy of the status listed.)
Expired - Fee Related
Application number
JP2006026782A
Other languages
English (en)
Other versions
JP2007208101A (ja
Inventor
田 修 和
川 敏 正 行
野 浩 明 中
藤 洋 伊
山 篤 中
Current Assignee (The listed assignees may be inaccurate. Google has not performed a legal analysis and makes no representation or warranty as to the accuracy of the list.)
Toshiba Corp
Original Assignee
Toshiba Corp
Priority date (The priority date is an assumption and is not a legal conclusion. Google has not performed a legal analysis and makes no representation as to the accuracy of the date listed.)
Filing date
Publication date
Application filed by Toshiba Corp filed Critical Toshiba Corp
Priority to JP2006026782A priority Critical patent/JP4908006B2/ja
Priority to US11/670,605 priority patent/US7557400B2/en
Publication of JP2007208101A publication Critical patent/JP2007208101A/ja
Application granted granted Critical
Publication of JP4908006B2 publication Critical patent/JP4908006B2/ja
Expired - Fee Related legal-status Critical Current
Anticipated expiration legal-status Critical

Links

Images

Classifications

    • HELECTRICITY
    • H10SEMICONDUCTOR DEVICES; ELECTRIC SOLID-STATE DEVICES NOT OTHERWISE PROVIDED FOR
    • H10DINORGANIC ELECTRIC SEMICONDUCTOR DEVICES
    • H10D1/00Resistors, capacitors or inductors
    • H10D1/60Capacitors
    • H10D1/62Capacitors having potential barriers
    • H10D1/66Conductor-insulator-semiconductor capacitors, e.g. MOS capacitors
    • HELECTRICITY
    • H01ELECTRIC ELEMENTS
    • H01LSEMICONDUCTOR DEVICES NOT COVERED BY CLASS H10
    • H01L23/00Details of semiconductor or other solid state devices
    • H01L23/52Arrangements for conducting electric current within the device in operation from one component to another, i.e. interconnections, e.g. wires, lead frames
    • H01L23/522Arrangements for conducting electric current within the device in operation from one component to another, i.e. interconnections, e.g. wires, lead frames including external interconnections consisting of a multilayer structure of conductive and insulating layers inseparably formed on the semiconductor body
    • H01L23/5222Capacitive arrangements or effects of, or between wiring layers
    • H01L23/5223Capacitor integral with wiring layers
    • HELECTRICITY
    • H02GENERATION; CONVERSION OR DISTRIBUTION OF ELECTRIC POWER
    • H02MAPPARATUS FOR CONVERSION BETWEEN AC AND AC, BETWEEN AC AND DC, OR BETWEEN DC AND DC, AND FOR USE WITH MAINS OR SIMILAR POWER SUPPLY SYSTEMS; CONVERSION OF DC OR AC INPUT POWER INTO SURGE OUTPUT POWER; CONTROL OR REGULATION THEREOF
    • H02M3/00Conversion of DC power input into DC power output
    • H02M3/02Conversion of DC power input into DC power output without intermediate conversion into AC
    • H02M3/04Conversion of DC power input into DC power output without intermediate conversion into AC by static converters
    • H02M3/06Conversion of DC power input into DC power output without intermediate conversion into AC by static converters using resistors or capacitors, e.g. potential divider
    • H02M3/07Conversion of DC power input into DC power output without intermediate conversion into AC by static converters using resistors or capacitors, e.g. potential divider using capacitors charged and discharged alternately by semiconductor devices with control electrode, e.g. charge pumps
    • H02M3/073Charge pumps of the Schenkel-type
    • HELECTRICITY
    • H10SEMICONDUCTOR DEVICES; ELECTRIC SOLID-STATE DEVICES NOT OTHERWISE PROVIDED FOR
    • H10DINORGANIC ELECTRIC SEMICONDUCTOR DEVICES
    • H10D89/00Aspects of integrated devices not covered by groups H10D84/00 - H10D88/00
    • H10D89/211Design considerations for internal polarisation
    • H10D89/213Design considerations for internal polarisation in field-effect devices
    • H10D89/215Design considerations for internal polarisation in field-effect devices comprising arrangements for charge pumping or biasing substrates
    • HELECTRICITY
    • H01ELECTRIC ELEMENTS
    • H01LSEMICONDUCTOR DEVICES NOT COVERED BY CLASS H10
    • H01L2924/00Indexing scheme for arrangements or methods for connecting or disconnecting semiconductor or solid-state bodies as covered by H01L24/00
    • H01L2924/0001Technical content checked by a classifier
    • H01L2924/0002Not covered by any one of groups H01L24/00, H01L24/00 and H01L2224/00

Landscapes

  • Engineering & Computer Science (AREA)
  • Power Engineering (AREA)
  • Physics & Mathematics (AREA)
  • Condensed Matter Physics & Semiconductors (AREA)
  • General Physics & Mathematics (AREA)
  • Computer Hardware Design (AREA)
  • Microelectronics & Electronic Packaging (AREA)
  • Semiconductor Integrated Circuits (AREA)
  • Metal-Oxide And Bipolar Metal-Oxide Semiconductor Integrated Circuits (AREA)

Description

本発明は、半導体基板上に形成されるMOSキャパシタを備えた半導体装置に関するものである。
従来、半導体基板上に形成されるキャパシタ素子には、MOSキャパシタやPIP(Poly-Insulator-Poly)キャパシタ、MIM(Metal-Insulator-Metal)キャパシタ等がある。これらのうちPIPキャパシタやMIMキャパシタは、電極間に挟まれる誘電体層に、より誘電率の高い材料が使用される。したがって、製造プロセスが増加したり、プロセスコストが高くなったりする場合がある。このためCMOSプロセスで作成する回路には、他のMOSトランジスタと整合させることを考えて、MOSキャパシタを使用することが多い。
上記従来のMOSキャパシタには、p型半導体基板と、このp型半導体基板に形成されたn型ウェルと、このn型ウェルに形成されたn拡散層と、n型ウェル上に設けられたゲート絶縁膜と、このゲート絶縁膜上に設けられたポリシリコンまたは金属で形成されたゲート電極と、このゲート電極上に設けられるとともにコンタクトにより接続された第1の金属配線層と、この第1の金属配線層上に設けられるとともにコンタクトによりn拡散層にコンタクトにより接続された第2の金属配線層と、を備えるものがある(例えば、特許文献1参照。)。
このような構造により、ゲート絶縁膜を挟んでゲート電極とP型半導体基板との間に静電容量が形成され、MOSキャパシタとして機能するものである。このMOSキャパシタは、薄いゲート絶縁膜を有するため、比較的大きな静電容量が得られる。
上記のようなMOS構造を持つMOSキャパシタのC−V特性は、ゲート電圧Vg<0のときは、ゲート電極直下のシリコン表面に空乏層が形成され、それにより生じる空乏層容量とゲート絶縁膜容量が直列接続された状態になる。そのため全体容量Cが減少する。
しかし、0<ゲート電圧Vgではn型ウェル内に浮遊している電子がシリコン表面近傍に引き寄せられるため、全体容量Cはゲート絶縁膜の容量に等しくなっていく。
このようにMOSキャパシタはその印加電圧の変化により容量値が変動する電圧依存性を持っている。
さらに、C-V特性は、電源周波数が低周波の場合と、高周波の場合とは異なる。この理由は高周波の場合、MOSキャパシタのオンオフの切り替えが早いので反転層にキャリアが溜まるまでの時間がなく、反転層の容量がないのと同じ状態になるためである。
ここで、既述のようなMOSキャパシタは、昇圧電源を生成するチャージポンプ回路などによく用いられる。チャージポンプ回路は、低電圧電源を昇圧して内部回路に高電圧を供給する回路である。このチャージポンプ回路で利用されるMOSキャパシタは、そのゲート電極に印加される電圧の変化により容量値が変動する電圧依存性を有し、したがって、チャージポンプの昇圧能力が制限されるという問題がある。
さらに、MOSキャパシタは、チャージポンプ回路のポンプ動作による充放電によりその電圧が常に変動する。MOSキャパシタのチャネル領域は、拡散層やウェルの抵抗値が高い。これにより、印加される電圧が変化してから所望の容量になるまでに時間を要する。したがって、MOSキャパシタの周波数特性にも十分注意しなければならないという問題があった。
特開2002−217304号公報
本発明は、上記課題を解決するものであり、容量値の電圧依存性を低減しつつ、容量値の周波数特性を向上することが可能な半導体装置を提供することを目的とする。
本発明の一態様に係る半導体装置は、
MOS構造のドレイン領域とソース領域とが共通に接続され、この共通に接続された前記ドレイン領域、前記ソース領域と前記MOS構造のゲート電極との間に静電容量を形成するMOSキャパシタと、
前記MOSキャパシタ上に層間絶縁膜を介して形成され前記MOSキャパシタのゲート電極と接続されるとともに櫛歯状に延出した延出部を有する第1の櫛型配線、および、前記MOSキャパシタ上に層間絶縁膜を介して形成されるとともに前記第1の櫛型配線と線間絶縁膜を介して配置され前記ドレイン領域および前記ソース領域に接続されるとともに櫛歯状に延出した延出部を有する第2の櫛型配線、を有する配線キャパシタと、を備え、
前記第2の櫛型配線の延出部は、前記第1の櫛型配線の延出部と交互に並んで配置されているとともに、前記MOSキャパシタの前記ドレイン領域と前記ソース領域を結ぶチャネル方向に対して垂直に配置されていることを特徴とする。
また、本発明の一態様に係るチャージポンプ回路は、
MOS構造のドレイン領域とソース領域とが共通に接続され、この共通に接続された前記ドレイン領域、ソース領域と前記MOS構造のゲート電極との間に静電容量を形成するMOSキャパシタと、前記MOSキャパシタ上に層間絶縁膜を介して形成され前記MOSキャパシタのゲート電極と接続されるとともに櫛歯状に延出した延出部を有する第1の櫛型配線、および、前記MOSキャパシタ上に層間絶縁膜を介して形成されるとともに前記第1の櫛型配線と線間絶縁膜を介して配置され前記ドレイン領域および前記ソース領域に接続されるとともに櫛歯状に延出した延出部を有する第2の櫛型配線、を有する配線キャパシタと、を備え、前記第2の櫛型配線の延出部は、前記第1の櫛型配線の延出部と交互に並んで配置されているとともに、前記MOSキャパシタの前記ドレイン領域と前記ソース領域を結ぶチャネル方向に対して垂直に配置された半導体装置と、
電源電圧が印加される入力端子にソース領域が接続された入力MOSトランジスタと、
前記入力MOSトランジスタのドレイン領域と昇圧された電圧が出力される出力端子との間で直列に接続された複数の昇圧MOSトランジスタと、を備え、
前記昇圧MOSトランジスタのソース領域に各々前記第1の櫛型配線が接続され、
隣接する前記半導体装置の前記第2の櫛型配線には、それぞれ互いに相補的なパルス信号が入力されることを特徴とする。
本発明の一態様に係る半導体装置によれば、容量値の電圧依存性を低減しつつ、容量値の周波数特性の向上を図ることができる。
本発明の一態様に係る半導体装置は、例えば、MOSキャパシタと、このMOSキャパシタ上に形成される金属の配線層を櫛型形状にし、対向する電極から延出する延出部を交互に配置して構成される配線キャパシタと、を備える。これにより、半導体装置は、印加電圧により変動するMOSキャパシタの容量を配線キャパシタの容量により補うものである。
以下、本発明を適用した各実施例について図面を参照しながら説明する。
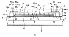
図1は、本発明の実施例1に係る半導体装置の要部の構成を示す平面図である。また、図2は、図1の半導体装置100のA−A線に沿った断面を示す断面図である。
なお、ここでは、2つのMOS構造によりMOSキャパシタが構成される場合について説明する。また、MOSキャパシタがp型半導体基板上に設けられた場合について説明するが、導電型を逆にした場合でも適用される回路の極性を逆にすることにより同様に適用される。
図1および図2に示すように、半導体装置100は、p型半導体基板1に形成されたMOS構造から構成されるMOSキャパシタ4と、このMOSキャパシタ4上に設けられた配線キャパシタ5とを備える。
上記MOS構造は、p型半導体基板1に形成されたn型ウェル6と、このn型ウェル6の表面に選択的に並んで形成されたドレイン領域、ソース領域となるp拡散層7、8、9と、このp拡散層7、8、9に挟まれた領域上に設けられたゲート絶縁膜10、11と、このゲート絶縁膜10、11上に設けられたゲート電極12、13と、バックゲートに電圧を印加するためのp拡散層7、8、9を囲むようにn型ウェル6に形成されたn拡散層14とを有する。
MOSキャパシタ4は、上記MOS構造のドレイン領域となるp拡散層7とソース領域となるp拡散層8とが共通に接続されている。同様に、MOSキャパシタ4は、MOS構造のソース領域となるp拡散層8とドレイン領域となるp拡散層9とが共通に接続されている。
配線キャパシタ5は、MOSキャパシタ4上に層間絶縁膜20を介して形成され、MOSキャパシタ4のゲート電極12、13とコンタクト15で接続されるとともに櫛歯状に延出した延出部16aを有する第1の櫛型配線16を有する。さらに、配線キャパシタ5は、MOSキャパシタ4上に層間絶縁膜20を介して形成されるとともに第1の櫛型配線16と線間絶縁膜21を介して配置され、p拡散層7、8、9およびn拡散層14に複数のコンタクト18、19で接続されるとともに櫛歯状に延出した延出部17aを有する第2の櫛型配線17、を有する。この第2の櫛型配線17と第1の櫛型配線16とは、対向して配置されている。
第2の櫛型配線17の延出部17aは、第1の櫛型配線16の延出部16aと交互に並んで配置されている。さらに、第2の櫛型配線17の延出部17aは、MOSキャパシタ4のドレイン領域となるp拡散層7とソース領域となるp拡散層8を結ぶチャネル方向に対して、同様にソース領域となるp拡散層8とドレイン領域となるp拡散層9を結ぶチャネル方向に対して、垂直に配置されている。
ここで、既述のように、第2の櫛型配線17の延出部17aは、線間絶縁膜21を介して第1の櫛型配線16の延出部16aと交互に並んで配置されている。そして、第1の櫛型配線16と第2の櫛型配線17とは、同じ配線層内に配置されている。これにより、第1の櫛型配線16の延出部16aと第2の櫛型配線17の延出部17aとが接近し、延出部16aと延出部17aとの間の線間絶縁膜21の容量を増加することができる。
また、既述のように、第2の櫛型配線17の延出部17aは、MOSキャパシタ4のチャネル方向に対して垂直に配置されているので、第2の櫛型配線17の延出部17aは、p拡散層7、8、9と複数のコンタクト18で接続することができる。これにより、コンタクト18によるコンタクト抵抗を低減することができる。
以上のような構成を有する半導体装置100の回路図は図3のように示される。図3に示すように、所望の電圧が印加される端子22と端子23の間に、MOSキャパシタ4と配線キャパシタ5とが接続される。
ここで、以上のような構成を有する半導体装置100の電圧依存性について説明する。
まず、MOSキャパシタ4は、ゲート電圧Vg<0のときは、チャネルが形成されないが、アキュムレーション(accumulation)と呼ばれる蓄積状態であり空乏層が形成されないため容量Cは、ほぼゲート絶縁膜10、11の容量に等しい。したがって、半導体装置100の全体容量は、ほぼゲート絶縁膜10、11の容量と配線キャパシタ5の容量との和になる。
次に、MOSキャパシタ4は、0<ゲート電圧Vg<しきい値電圧Vtのときは、ゲート電極直下のシリコン表面に空乏層が形成され、それにより生じる空乏層容量とゲート絶縁膜容量が直列接続された状態になる。したがって、MOSキャパシタ4の容量Cはゲート絶縁膜10、11の容量よりも小さくなる。しかし、配線キャパシタ5に形成される容量はゲート電圧に関係なく維持される。したがって、配線キャパシタ5を含めた半導体装置100の全体の容量として考えると、従来と比較して、電圧依存性を低減することができる。
次に、MOSキャパシタ4は、しきい値Vt以上のゲート電圧が印加されチャネルが形成されると、共通に接続されたp拡散層7、8、9とMOS構造のゲート電極12、13との間にゲート絶縁膜10、11の静電容量を形成する。したがって、MOSキャパシタ4の容量Cは、ほぼゲート絶縁膜10、11の容量に等しい。これにより、半導体装置100の全体容量は、ほぼゲート絶縁膜10、11の容量と配線キャパシタ5の容量との和になる。
以上のように、半導体装置100は、従来と比較して、容量を増加しつつ、電圧依存性を低減することができる。
次に、以上のような構成を有する半導体装置100の周波数特性について説明する。
まず、MOSキャパシタ4は、電源周波数が低周波である場合、MOSキャパシタ4のオンオフの切り替えで十分に反転層にキャリアが溜まるので反転層の容量が生じる。したがって、半導体装置100の全体容量は、ほぼゲート絶縁膜10、11の容量と配線キャパシタ5の容量との和になる。
一方、MOSキャパシタ4は、電源周波数が低周波である場合、MOSキャパシタ4のオンオフの切り替えが速く反転層にキャリアが溜まらず反転層の容量が生じないことになる。しかし、配線キャパシタ5に形成される容量は電源周波数に関係なく維持される。したがって、配線キャパシタ5を含めた半導体装置100の全体の容量として考えると、従来と比較して、周波数特性を向上することができる。
ここで、上記半導体装置100をチャージポンプ回路に適用した一例について説明する。
図4は、本発明の実施例1に係る半導体装置を適用したチャージポンプ回路300を示す回路図である。
図4に示すように、チャージポンプ回路300は、電源電圧が印加される入力端子30にソース領域が接続されるとともに、このソース領域にゲート電極が接続された入力MOSトランジスタ31と、この入力MOSトランジスタ31のドレイン領域と昇圧された電圧が出力される出力端子32との間で直列に接続されるとともにそのゲート電極がそのソース領域に接続された複数の昇圧MOSトランジスタ33と、この昇圧MOSトランジスタ33のソースに各々端子22(図2の第1の櫛型配線16)が接続された請求項1ないし4の何れかに記載の前記半導体装置と、を備える。
隣接する半導体装置100の端子23(図2の第2の櫛型配線17)には、それぞれ互いに相補的なパルス信号Φ1、Φ2が入力される。
上記チャージポンプ回路300は、入力端子に電源電圧が印加されるとともに相補的なクロック信号Φ1、Φ2が端子23にそれぞれ入力されると、昇圧動作し、出力端子32から昇圧された電圧を出力する。
ここで、既述のように、半導体装置100は、従来のMOSキャパシタと比較して容量の電圧依存性が低減され周波数特性が向上されている。したがって、上記構成を有するチャージポンプ回路300は、従来と比較して、容量値の電圧依存性を低減しつつ容量値の周波数特性の向上し、昇圧能力を向上することができる。
以上のように、本実施例に係る半導体装置によれば、容量値の電圧依存性を低減しつつ、容量値の周波数特性を向上することができる。
実施例1では、配線キャパシタの櫛型配線の層が1層である場合について述べたが、本実施例では、配線キャパシタの櫛型配線の層が複数層である場合ついて述べる。
図5は、本発明の実施例2に係る半導体装置の配線キャパシタの要部構成を示す平面図である。また、図6は、図5の配線キャパシタの要部構成を示す斜視図である。また、図7は、図5のB−B線に沿った本発明の一態様である実施例2に係る半導体装置200の断面を示す断面図である。なお、図中、実施例1と同じ符号は、実施例1と同様の構成を示している。また、図5において、説明のため配線キャパシタの下層側については省略している。
図5ないし図7に示すように、半導体装置200は、p型半導体基板1に形成されたMOS構造で構成されるMOSキャパシタ4と、このMOSキャパシタ4上に設けられた配線キャパシタ25とを備える。
図6、図7に示すように、配線キャパシタ25は、MOSキャパシタ4上に層間絶縁膜20を介して形成され、MOSキャパシタ4のゲート電極12、13とコンタクト15で接続されるとともに櫛歯状に延出した延出部16aを有する第1の櫛型配線16を有する。
さらに、配線キャパシタ25は、MOSキャパシタ4上に層間絶縁膜20を介して形成されるとともに第1の櫛型配線16と線間絶縁膜21を介して配置され、p拡散層7、8、9およびn拡散層14に複数のコンタクト18、19で接続されるとともに櫛歯状に延出した延出部17aを有する第2の櫛型配線17を有する。
また、配線キャパシタ25は、第1の櫛型配線16上に層間絶縁膜20を介して形成され、第1の櫛型配線16とコンタクト218で接続されるとともに櫛歯状に延出した延出部216aを有する第3の櫛型配線216を有する。
さらに、配線キャパシタ25は、第2の櫛型配線17上に層間絶縁膜20を介して形成されるとともに第3の櫛型配線216と線間絶縁膜21を介して配置され、第2の櫛型配線17とコンタクト219で接続されるとともに櫛歯状に延出した延出部217aを有する第4の櫛型配線217を有する。
すなわち、配線キャパシタ25は、実施例1の配線キャパシタ5と比較して、第3の櫛型配線216と第4の櫛型配線217とが層間絶縁膜20を介して交互に積層された、多層配線層25aをさらに有する。
ここで、図5ないし図7に示すように、第4の櫛型配線217の延出部217aは、第3の櫛型配線216の延出部216aと交互に並んで配置されている。そして、対となる第3の櫛型配線216と第4の櫛型配線217とは、同じ配線層内に配置されている。これにより、第3の櫛型配線216の延出部216aと第4の櫛型配線217の延出部217aとが接近し、延出部216aと延出部217aとの間の線間絶縁膜21の静電容量を増加することができる。
既述のように、第4の櫛型配線217の延出部217aの下には層間絶縁膜20を介して第1の櫛型配線16の延出部16aが位置するとともに、第4の櫛型配線217の延出部217aの上には層間絶縁膜20を介して第3の櫛型配線216の延出部216aが位置している。
したがって、配線キャパシタ25の容量としては、これらの層間絶縁膜20の静電容量も含まれると考えられる。
以上のような構成を有する半導体装置200の回路図は、実施例1と同様に図3のように示される。
また、以上のような構成を有する半導体装置200の周波数特性、電圧依存性についても、配線キャパシタ25による容量が増加する点以外は、実施例1と同様である。
以上のように、本実施例に係る半導体装置によれば、容量値の電圧依存性を低減し容量値の周波数特性を向上しつつ、実施例1よりも大きな容量を得ることができる。
なお、本実施例についても、実施例1と同様にチャージポンプ回路に適用することにより、従来と比較して、容量値の電圧依存性を低減しつつ容量値の周波数特性の向上し、昇圧能力を向上することができる。
また、本実施例においては、配線キャパシタの櫛型配線の多層配線層が2層である場合について説明したが、多層配線層を3層以上積層することにより、より有効にレイアウト面積を維持しつつ大きな静電容量を得ることができる。
本発明の一態様である実施例1に係る半導体装置の要部構成を示す平面図である。 図1の半導体装置100のA−A線に沿った断面を示す断面図である。 本発明の一態様である実施例1に係る半導体装置100の回路図である。 本発明の実施例1に係る半導体装置を適用したチャージポンプ回路300を示す回路図である。 本発明の実施例2に係る半導体装置の配線キャパシタの要部構成を示す平面図である。 図5の配線キャパシタの要部構成を示す斜視図である。 図5のB−B線に沿った本発明の一態様である実施例2に係る半導体装置の断面を示す断面図である。
符号の説明
1 p型半導体基板
4 MOSキャパシタ
5 配線キャパシタ
6 n型ウェル
7、8、9 p拡散層
10、11 ゲート絶縁膜
12、13 ゲート電極
14 n拡散層
15 コンタクト
16 第1の櫛型配線
16a 延出部
17 第2の櫛型配線
17a 延出部
18、19 コンタクト
20 層間絶縁膜
21 線間絶縁膜
22、23 端子
25 配線キャパシタ
25a 多層配線層
30 入力端子
31 入力MOSトランジスタ
32 出力端子
33 昇圧MOSトランジスタ
100、200 半導体装置
216 第3の櫛型配線
216a 延出部
217 第4の櫛型配線
217a 延出部
218、219 コンタクト
300 チャージポンプ回路

Claims (5)

  1. MOS構造のドレイン領域とソース領域とが共通に接続され、この共通に接続された前記ドレイン領域、前記ソース領域と前記MOS構造のゲート電極との間に静電容量を形成するMOSキャパシタと、
    前記MOSキャパシタ上に層間絶縁膜を介して形成され前記MOSキャパシタのゲート電極と接続されるとともに櫛歯状に延出した延出部を有する第1の櫛型配線、および、前記MOSキャパシタ上に層間絶縁膜を介して形成されるとともに前記第1の櫛型配線と線間絶縁膜を介して配置され前記ドレイン領域および前記ソース領域に接続されるとともに櫛歯状に延出した延出部を有する第2の櫛型配線、を有する配線キャパシタと、を備え、
    前記第2の櫛型配線の延出部は、前記第1の櫛型配線の延出部と交互に並んで配置されているとともに、前記MOSキャパシタの前記ドレイン領域と前記ソース領域を結ぶチャネル方向に対して垂直に配置されていることを特徴とする半導体装置。
  2. 前記第1の櫛型配線と前記第2の櫛型配線とは、同じ配線層内に配置されていることを特徴とする請求項1に記載の半導体装置。
  3. 前記配線キャパシタは、前記第1の櫛型配線上に層間絶縁膜を介して形成され前記第1の櫛型配線とコンタクトで接続されるとともに櫛歯状に延出した延出部を有する第3の櫛型配線と、前記第2の櫛型配線上に層間絶縁膜を介して形成されるとともに前記第3の櫛型配線と線間絶縁膜を介して配置され、前記第2の櫛型配線とコンタクトで接続されるとともに櫛歯状に延出した延出部を有する第4の櫛型配線と、が層間絶縁膜を介して積層された、多層配線層をさらに有し、
    前記第4の櫛型配線の延出部は、前記第3の櫛型配線の延出部と交互に並んで配置されていることを特徴とする請求項2に記載の半導体装置。
  4. 前記第2の櫛型配線の延出部は、前記ドレイン領域および前記ソース領域と複数のコンタクトで接続されていることを特徴とする請求項1ないし3の何れかに記載の半導体装置。
  5. MOS構造のドレイン領域とソース領域とが共通に接続され、この共通に接続された前記ドレイン領域、ソース領域と前記MOS構造のゲート電極との間に静電容量を形成するMOSキャパシタと、前記MOSキャパシタ上に層間絶縁膜を介して形成され前記MOSキャパシタのゲート電極と接続されるとともに櫛歯状に延出した延出部を有する第1の櫛型配線、および、前記MOSキャパシタ上に層間絶縁膜を介して形成されるとともに前記第1の櫛型配線と線間絶縁膜を介して配置され前記ドレイン領域および前記ソース領域に接続されるとともに櫛歯状に延出した延出部を有する第2の櫛型配線、を有する配線キャパシタと、を備え、前記第2の櫛型配線の延出部は、前記第1の櫛型配線の延出部と交互に並んで配置されているとともに、前記MOSキャパシタの前記ドレイン領域と前記ソース領域を結ぶチャネル方向に対して垂直に配置された半導体装置と、
    電源電圧が印加される入力端子にソース領域が接続された入力MOSトランジスタと、
    前記入力MOSトランジスタのドレイン領域と昇圧された電圧が出力される出力端子との間で直列に接続された複数の昇圧MOSトランジスタと、を備え、
    前記昇圧MOSトランジスタのソース領域に各々前記第1の櫛型配線が接続され、
    隣接する前記半導体装置の前記第2の櫛型配線には、それぞれ互いに相補的なパルス信号が入力されることを特徴とするチャージポンプ回路。
JP2006026782A 2006-02-03 2006-02-03 半導体装置 Expired - Fee Related JP4908006B2 (ja)

Priority Applications (2)

Application Number Priority Date Filing Date Title
JP2006026782A JP4908006B2 (ja) 2006-02-03 2006-02-03 半導体装置
US11/670,605 US7557400B2 (en) 2006-02-03 2007-02-02 Semiconductor device in which capacitance of a MOS capacitor is complemented with the capacitance of a wiring capacitor

Applications Claiming Priority (1)

Application Number Priority Date Filing Date Title
JP2006026782A JP4908006B2 (ja) 2006-02-03 2006-02-03 半導体装置

Publications (2)

Publication Number Publication Date
JP2007208101A JP2007208101A (ja) 2007-08-16
JP4908006B2 true JP4908006B2 (ja) 2012-04-04

Family

ID=38333164

Family Applications (1)

Application Number Title Priority Date Filing Date
JP2006026782A Expired - Fee Related JP4908006B2 (ja) 2006-02-03 2006-02-03 半導体装置

Country Status (2)

Country Link
US (1) US7557400B2 (ja)
JP (1) JP4908006B2 (ja)

Families Citing this family (17)

* Cited by examiner, † Cited by third party
Publication number Priority date Publication date Assignee Title
JP2008226998A (ja) * 2007-03-09 2008-09-25 Matsushita Electric Ind Co Ltd 半導体集積回路
JP5072731B2 (ja) 2008-06-23 2012-11-14 株式会社東芝 定電圧昇圧電源
US20110168782A1 (en) * 2010-01-12 2011-07-14 Nxp B.V. Capacitance under a fringe capacitor of a radio frquency integrated circuit
FR2965942B1 (fr) * 2010-10-08 2013-02-22 Commissariat Energie Atomique Afficheur a cristal liquide de type transmissif en technologie cmos avec capacite de stockage auxiliaire
US8916919B2 (en) * 2011-06-23 2014-12-23 International Business Machines Corporation Interdigitated vertical native capacitor
TWI463674B (zh) * 2011-09-06 2014-12-01 群聯電子股份有限公司 適於應用於積體電路的電容結構
CN103000624B (zh) * 2011-09-19 2015-07-01 群联电子股份有限公司 适于应用于集成电路的电容结构
JP5947580B2 (ja) * 2012-03-23 2016-07-06 ローム株式会社 デカップルキャパシタセル、セルベースic、セルベースicのレイアウトシステムおよびレイアウト方法
JP6161267B2 (ja) * 2012-11-28 2017-07-12 ルネサスエレクトロニクス株式会社 コンデンサ、およびチャージポンプ回路
US20150137201A1 (en) * 2013-11-20 2015-05-21 Qualcomm Incorporated High density linear capacitor
US9640532B2 (en) 2014-02-14 2017-05-02 Qualcomm Incorporated Stacked metal oxide semiconductor (MOS) and metal oxide metal (MOM) capacitor architecture
US10338632B2 (en) * 2014-10-20 2019-07-02 Ambiq Micro, Inc. Adaptive voltage converter
US9583479B1 (en) * 2016-01-14 2017-02-28 Globalfoundries Inc. Semiconductor charge pump with imbedded capacitor
JP7103780B2 (ja) * 2017-11-27 2022-07-20 ラピスセミコンダクタ株式会社 半導体装置
US10763263B2 (en) * 2019-01-30 2020-09-01 Micron Technology, Inc. Semiconductor device having equivalent series resistance unit
DE112021002165T5 (de) * 2020-03-30 2023-03-23 Sony Semiconductor Solutions Corporation Halbleitervorrichtung und elektronische ausrüstung
CN115528024A (zh) * 2021-06-25 2022-12-27 瑞昱半导体股份有限公司 紧凑的电容结构

Family Cites Families (12)

* Cited by examiner, † Cited by third party
Publication number Priority date Publication date Assignee Title
JPS61263251A (ja) * 1985-05-17 1986-11-21 Nec Corp 半導体装置
JPH03293759A (ja) * 1990-04-12 1991-12-25 Fuji Electric Co Ltd Mos集積回路装置内組み込み用キャパシタ
JPH0473960A (ja) * 1990-07-16 1992-03-09 Nec Ic Microcomput Syst Ltd 半導体集積回路
KR0183739B1 (ko) * 1995-09-19 1999-03-20 김광호 감결합 커패시터를 포함하는 반도체 장치 및 그 제조방법
WO1998043298A1 (en) * 1997-03-24 1998-10-01 Seiko Epson Corporation Semiconductor capacitance device and semiconductor device made by using the same
JP2000057790A (ja) * 1998-08-05 2000-02-25 Ricoh Co Ltd 電圧発生回路
JP2002532903A (ja) * 1998-12-16 2002-10-02 インフィネオン テクノロジース アクチエンゲゼルシャフト 容量性素子を有する集積回路
US6037622A (en) * 1999-03-29 2000-03-14 Winbond Electronics Corporation Charge pump circuits for low supply voltages
JP2002217304A (ja) * 2000-11-17 2002-08-02 Rohm Co Ltd 半導体装置
JP2004241762A (ja) * 2003-01-16 2004-08-26 Nec Electronics Corp 半導体装置
JP4751035B2 (ja) * 2004-06-09 2011-08-17 株式会社東芝 半導体集積回路及び昇圧回路
US7768044B2 (en) * 2004-07-30 2010-08-03 Agere Systems Inc. Metal capacitor stacked with a MOS capacitor to provide increased capacitance density

Also Published As

Publication number Publication date
US20070181918A1 (en) 2007-08-09
US7557400B2 (en) 2009-07-07
JP2007208101A (ja) 2007-08-16

Similar Documents

Publication Publication Date Title
US7557400B2 (en) Semiconductor device in which capacitance of a MOS capacitor is complemented with the capacitance of a wiring capacitor
US7436015B2 (en) Driver for driving a load using a charge pump circuit
US5598029A (en) Power supply wiring for semiconductor device
US7834377B2 (en) Semiconductor integrated circuit device
US9496403B2 (en) Semiconductor device and method of manufacturing the same
US4635088A (en) High speed-low power consuming IGFET integrated circuit
CN104183628A (zh) 半导体装置
JP6983905B2 (ja) 半導体装置
JP5058644B2 (ja) ニューロンmosトランジスタ
JPH02228063A (ja) 高周波集積回路チヤンネル・キヤパシタ
JP2001358335A (ja) 半導体装置
JP2013143446A (ja) 容量素子、半導体装置及び電子機器
KR100257641B1 (ko) 차동회로를 구비한 반도체 집적회로
JP4110792B2 (ja) 容量素子及び容量素子を用いた半導体集積回路
TW201308594A (zh) 半導體裝置
JP2005072233A (ja) 半導体装置
JP2003060042A (ja) 半導体装置
JPWO2013018589A1 (ja) 半導体集積回路装置
JP2008103527A (ja) 半導体装置
JP2000150789A (ja) 半導体集積回路
TW518697B (en) Production-method of field-effect-transistors in integrated semiconductor-circuits and an integrated semiconductor-circuit produced with such a field-effect-transistor
TW200414433A (en) LSI alleviating hysteresis of delay time
JP2001068552A (ja) 半導体集積回路装置
JP2000101022A (ja) 半導体集積回路装置
JPS6114760A (ja) 高耐圧半導体スイツチ

Legal Events

Date Code Title Description
A621 Written request for application examination

Free format text: JAPANESE INTERMEDIATE CODE: A621

Effective date: 20080805

A977 Report on retrieval

Free format text: JAPANESE INTERMEDIATE CODE: A971007

Effective date: 20111212

TRDD Decision of grant or rejection written
A01 Written decision to grant a patent or to grant a registration (utility model)

Free format text: JAPANESE INTERMEDIATE CODE: A01

Effective date: 20111216

A01 Written decision to grant a patent or to grant a registration (utility model)

Free format text: JAPANESE INTERMEDIATE CODE: A01

A61 First payment of annual fees (during grant procedure)

Free format text: JAPANESE INTERMEDIATE CODE: A61

Effective date: 20120112

FPAY Renewal fee payment (event date is renewal date of database)

Free format text: PAYMENT UNTIL: 20150120

Year of fee payment: 3

FPAY Renewal fee payment (event date is renewal date of database)

Free format text: PAYMENT UNTIL: 20150120

Year of fee payment: 3

LAPS Cancellation because of no payment of annual fees