JP4673385B2 - トラクタにおけるブレーキランプの点灯操作構造 - Google Patents

トラクタにおけるブレーキランプの点灯操作構造 Download PDF

Info

Publication number
JP4673385B2
JP4673385B2 JP2008034679A JP2008034679A JP4673385B2 JP 4673385 B2 JP4673385 B2 JP 4673385B2 JP 2008034679 A JP2008034679 A JP 2008034679A JP 2008034679 A JP2008034679 A JP 2008034679A JP 4673385 B2 JP4673385 B2 JP 4673385B2
Authority
JP
Japan
Prior art keywords
brake
pedal
brake pedal
main
rod
Prior art date
Legal status (The legal status is an assumption and is not a legal conclusion. Google has not performed a legal analysis and makes no representation as to the accuracy of the status listed.)
Active
Application number
JP2008034679A
Other languages
English (en)
Other versions
JP2009190615A (ja
Inventor
伸幸 吉井
学 東郷
Current Assignee (The listed assignees may be inaccurate. Google has not performed a legal analysis and makes no representation or warranty as to the accuracy of the list.)
Kubota Corp
Original Assignee
Kubota Corp
Priority date (The priority date is an assumption and is not a legal conclusion. Google has not performed a legal analysis and makes no representation as to the accuracy of the date listed.)
Filing date
Publication date
Application filed by Kubota Corp filed Critical Kubota Corp
Priority to JP2008034679A priority Critical patent/JP4673385B2/ja
Priority to FR0858397A priority patent/FR2927595B1/fr
Publication of JP2009190615A publication Critical patent/JP2009190615A/ja
Application granted granted Critical
Publication of JP4673385B2 publication Critical patent/JP4673385B2/ja
Active legal-status Critical Current
Anticipated expiration legal-status Critical

Links

Images

Landscapes

  • Lighting Device Outwards From Vehicle And Optical Signal (AREA)
  • Transmission Of Braking Force In Braking Systems (AREA)
  • Braking Elements And Transmission Devices (AREA)

Description

本発明は、同じブレーキ装置に対して独立して操作できる主ブレーキペダルと駐車ブレーキペダルとを設けたトラクタにおけるブレーキランプの点灯操作構造に関する。
従来のトラクタのブレーキ操作機構として、例えば、特許文献1に開示されているように、トラクタ走行機体の運転部に、同じブレーキ装置に対して第1連係機構を介して連係させた左右一対のサイドブレーキペダルからなる主ブレーキペダル及び第2連係機構を介して連係させた駐車ブレーキペダルを設け、主ブレーキペダル及び駐車ブレーキペダルはそれぞれ独立して踏み込み操作することによりブレーキ装置を制動状態に操作するように構成したものが知られている。
特許文献1には明示されていないが、この構造のものには主ブレーキペダルの操作系に主ブレーキペダルの踏み込み操作に連係して入り作動して車体後部に設けたブレーキランプを点灯させるブレーキスイッチが備えられている。しかし、この構造のものでは、キースイッチをオンした状態で駐車ブレーキペダルを踏み操作したときには、主ブレーキペダルを含む主ブレーキペダルの操作系が一緒に作動してブレーキランプが点灯する不都合がある。
特開平11−321594号公報
本発明は、キースイッチがオンした状態で長時間駐車ブレーキペダルを踏み込み操作した状態で放置したときなどにブレーキランプが点き放しになるのを防止することを目的とする。
〔構成〕
本発明の第1の特徴は、トラクタ走行機体の運転部に、同じブレーキ装置に対して第1連係機構を介して連係させた主ブレーキペダル及び第2連係機構を介して連係させた駐車ブレーキペダルを設け、前記主ブレーキペダル及び駐車ブレーキペダルはそれぞれ独立して踏み込み操作することにより前記ブレーキ装置を各別に制動状態に操作するように構成するとともに、前記第1連係機構に対してのみ当該第1連係機構の作動によりブレーキランプを点消灯させるブレーキスイッチを連係させ、前記駐車ブレーキペダルの踏み込み及び戻し操作では前記ブレーキランプを点消灯させないで、前記主ブレーキペダルの踏み込み操作により前記ブレーキスイッチが入り作動して前記ブレーキランプを点灯させ、前記主ブレーキペダルの戻し操作で前記ブレーキスイッチが切り作動して前記ブレーキランプを消灯させるように構成し、
前記ブレーキ装置を操作する操作アームにブラケットを設けて、このブラケットに前後に貫通する2つの貫通穴を形成し、前記2つの貫通穴のうちの一方の貫通穴に前記第1連係機構を構成する第1ロッドの後端側を挿通して、前記ブラケットの後側に位置する前記第1ロッドの後端部に第1接当部を連結し、前記2つの貫通穴のうちの他方の貫通穴に前記第2連係機構を構成する第2ロッドの後端側を挿通して、前記ブラケットの後側に位置する前記第2ロッドの後端部に第2接当部を連結し、
前記主ブレーキペダルを踏み込み操作して前記第1ロッドを引き操作したときには、前記他方の貫通穴による融通によって前記駐車ブレーキペダルを作動させないで、前記第1接当部を介して前記操作アームを揺動させて前記ブレーキ装置を制動作動させるとともに、前記ブレーキスイッチが作動してブレーキランプを点灯させ、且つ、前記駐車ブレーキペダルを踏み込み操作して前記第2ロッドを引き操作したときには、前記一方の貫通穴による融通によって前記主ブレーキペダルを作動させないで、前記第2接当部を介して前記操作アームを揺動させて前記ブレーキ装置を制動作動させるように構成した点にある。
〔作用〕
本発明の第1特徴によると、主ブレーキペダルを踏んだときには、ブレーキランプが点灯するから、後続の車両の運転者に停止することを知らせることができながら、駐車ブレーキペダルを操作して同じブレーキ装置を駐車ブレーキとして使用するときにはブレーキランプが点灯しない。
〔発明の効果〕
従って、本発明の第1特徴によると、キースイッチをオンした状態で長時間駐車ブレーキペダルを踏み込み操作した姿勢の状態で放置した場合であっても、ブレーキランプが点き放しになるのを防止することができる。
〔作用〕
本発明の第1特徴によると、主ブレーキペダルを踏み込み操作しているときは駐車ブレーキペダルを作動させず、駐車ブレーキペダルを踏み込み操作しているときには主ブレーキペダルを作動させないでブレーキ装置を制動作動させることができるから、特に駐車ブレーキペダルを単独操作するときは、従来構造のものに比べて、駐車ブレーキペダルの操作が軽く行え、又駐車ブレーキペダルの戻し操作時に主ブレーキペダルの急激な復帰による衝撃音を発生させることもない。
又、主ブレーキペダルを踏んだ状態で駐車ブレーキペダルを踏み操作することもでき、この場合は駐車ブレーキペダルの操作が軽く行うことができる。
そして、本来の主ブレーキペダルの操作によって制動するブレーキ装置を、駐車ブレーキペダルを操作して駐車ブレーキとして使用するときには、ブレーキランプは点灯しない。
〔発明の効果〕
本発明の第1特徴によると、駐車ブレーキペダルの操作が容易簡単な上に軽く行える。特に主ブレーキペダルを操作して停車した直後に主ブレーキペダルを踏みながら駐車ブレーキペダルを操作することで、簡単確実にしかも軽い操作で楽に駐車ブレーキ操作を行うことができる。本来の主ブレーキペダルの操作によって制動するブレーキ装置を、駐車ブレーキとして使用したときには、長時間駐車ブレーキペダルを踏み込み操作した姿勢の状態であってもブレーキランプが点き放しになることがない。
〔構成〕
本発明の第2特徴は、第1特徴の発明において、前記ブレーキスイッチをミッションケースの側部に固定し、前記ブレーキスイッチを押圧操作するスイッチ操作用ブラケットを前記第1ロッドの前後中間部に固定し、前記第1ロッドの押し引き操作により前記スイッチ操作用ブラケットを介して前記ブレーキスイッチが操作されるように構成した点にある。
〔構成〕
本発明の第3特徴は、第1または第2特徴の発明において、前記主ブレーキペダルをステップフロアにおける運転座席を中心とした前部の右側に配置し、主クラッチ用の主クラッチペダルをステップフロアにおける運転座席を中心とした前部の左側に配置し、前記駐車ブレーキペダルを前記主クラッチペダルの後方に配置した点にある。
〔作用〕
トラクタにおいては左からの乗り降りが普通になっている。中型機では、右側に多くの操作レバーが配置されており、右からの乗り降りが左側の乗り降りに比べて行い難い。特にミッドマウント型のモアを備えたトラクタでは、右にディスチャージ口があり、右からの乗り降りが行い難い。
本発明の第3特徴によると、駐車ブレーキペダルを座席近傍の左側下方に設けてあるから、乗り降りのときに駐車ブレーキペダルの突出具合を目視でき、駐車ブレーキ操作のし忘れがあれば気づきやすく、操作忘れがあれば降車時に行える。
又、降車した状態のままでも手動操作で簡単に制動並びに制動解除の駐車ブレーキ操作を行うことができる。
〔発明の効果〕
本発明の第3特徴によると、降車時に駐車ブレーキ操作忘れを少なくすることができ、降車した状態で駐車ブレーキ操作をするときに、駐車ブレーキペダルの踏み面の位置を考える煩わしさもなく、簡単容易に制動並びに制動解除の駐車ブレーキ操作を行える利点がある。
〔構成〕
本発明の第4特徴は、第1〜第3特徴のいずれかの発明において、前記主ブレーキペダルは左右一対のサイドブレーキペダルからなり、前記ブレーキ装置は前記左右一対の各サイドブレーキペダルに対して各別に連係された左サイドブレーキ装置と右サイドブレーキ装置からなり、前記ブレーキスイッチは左右のサイドブレーキペダルの操作系における少なくとも左右いずれか一方に設け、当該サイドブレーキペダルの踏み込み及び戻し操作に連係して前記ブレーキランプを点消灯させるように構成した点にある。
〔作用〕
本発明の第4特徴によると、左右のサイドブレーキペダルを単独で踏み込み操作は路上走行では使用されず、トラクタによる芝刈りや農作業などの作業中に行われるものであるから、左右一方のサイドブレーキペダルを操作する作業中に変則的に一方のサイドブレーキペダルを踏んだときだけ点灯するようにしておいても、又左右いずれかを操作したときに点灯するようにしておいても差し支えない。
〔発明の効果〕
従って、本発明の第4特徴によると、好みに応じて又は必要に応じて適宜ブレーキスイッチを設けるだけでよい。
図1にはトラクタの全体側面が示されており、このトラクタは、機体前部に搭載されたエンジン21、エンジン21の後部に連結された主クラッチを内蔵したクラッチハウジング22、機体後部に配備されたミッションケース23、エンジン21からミッションケース23を経由した変速後の動力によって駆動可能な左右一対の前輪24、エンジン21からミッションケース23を経由した変速後の動力によって駆動される左右一対の後輪25、操向操作用のステアリングホイール26、左右の後輪25の間に配設された運転座席1、前輪24と後輪25の間に配設されたステップフロア2、及び、ステップフロア2の後部から左右の後輪25の上方を覆うように配設された後部フェンダ29などを備えて構成されている。
図1、図2に示すように、運転座席1を挟んだ左右一側部であるステップフロア2の右側部において、その前部箇所には、ミッションケース23の左右に連結される後車軸ケース30に内装された左右のブレーキ装置3(左サイドブレーキ装置3a、右サイドブレーキ装置3b)の操作アーム31に、回動支軸32や左右の第1ロッド33などを介して、各別に連係された左右のサイドブレーキペダル5a,5bからなる主ブレーキペダル5が左ブレーキペダル5aと右ブレーキペダル5bとが近接した状態で配備されており、これら左右のサイドブレーキペダル5a,5bのうちのいずれか一方のサイドブレーキペダル5のみを右足で踏み込み操作することによって、左右一方のブレーキ装置3のみを制動状態に操作できる。左右のサイドブレーキペダル5a,5bを図14に示すように係合ロック部材34で係合して左右双方のサイドブレーキペダル5a,5bを右足で同時に踏み込み操作することによって、左右のサイドブレーキ装置3a,3bを同時に制動状態に操作できる。右のサイドブレーキペダル5bの右横側には、エンジン21の動力を変速する静油圧式無段変速装置HST(図示せず)に連係された変速ペダル35が並設配備されており、この変速ペダル35の踏み込み量を右足で調節することによって調速操作を行えるようになっている。
又、運転座席1を挟んだ左右他側部であるステップフロア2の左側部において、その前部箇所には、主クラッチに連係された主クラッチペダル12が配備されており、この主クラッチペダル12を左足で踏み込み操作することによって、エンジン21からミッションケース23への伝動を遮断する主クラッチの切り状態を現出できるようになっている。一方、その後部箇所となる左右の後部フェンダ29と座席下カバー36との間の凹入空間Sのうちの左側の凹入空間Sには、左右のサイドブレーキ装置3a,3bに連係されるとともに、左右のサイドブレーキ装置3a,3bを制動作用させる制動操作域で係合保持可能となるように構成された駐車ブレーキペダル8が、左の後部フェンダ29の下部前端位置よりも後方に位置する状態で配備されており、この駐車ブレーキペダル8を左足の踵で踏み込み操作して制動操作域で係合保持することによって、左右のサイドブレーキ装置3a,3bを制動作用状態に維持して駐車用のブレーキとして機能させる駐車ブレーキ状態を現出できるようになっている。
機体の後部にはリフトアーム37の揺動に伴って、連結した作業機(図示せず)を昇降させるロアリンク38が設けられている。
本発明の実施の形態では、同じ左右のサイドブレーキ装置3a,3bに対して、左右のサイドブレーキペダル5a,5bが第1ロッド33や操作アーム31からなる第1連係機構4を介して連係されている。駐車ブレーキペダル8が操作アーム59、左側にのみ配置されたロッド62、回動軸60を介して連係された左右の中継揺動アーム61、第2ロッド63及び操作アーム31からなる第2連係機構7を介して連係されている。
図1及び図2に示す後部フェンダ29の後部の符号71は、ブレーキランプである。ブレーキランプ71のスイッチ72はミッションケース23の側部に固定してあり、第1ロッド33に固定したブラケット73で押圧されている状態で切りの状態にある。ブレーキランプ71は左のサイドブレーキペダル5aを単独で、又は左右のサイドブレーキペダル5a,5bを同時に踏み操作されると点灯するように、第1連係機構4を構成する左側の第1ロッド33に対してのみこの左側の第1ロッド33の作動によりブレーキランプ71を点消灯させるブレーキスイッチ72を連係させ、前記駐車ブレーキペダル8の踏み込み及び戻し操作では前記ブレーキランプ71は点消灯させないで、左サイドブレーキペダル5aの踏み込み操作によりブレーキスイッチ72が入り作動してブレーキランプ71を点灯させ、左サイドブレーキペダル5aの戻し操作でブレーキスイッチ72が切り作動してブレーキランプ71を消灯させるように構成してある。
第1連係機構4と第2連係機構7は、それぞれ操作アーム31のブラケット65と左右のサイドブレーキペダル5a,5bに連係する第1ロッド33との間及びブラケット65と駐車ブレーキペダル8に連係する第2ロッド63との間に融通機構を設けてある。この融通機構は、左右のサイドブレーキペダル5a,5bを踏み込み操作したときは、第1ロッド33が前方に移動して後端のスペーサ66(第1接当部に相当する)を介して操作アーム31を図4の操作軸37の時計回りに揺動させるが、このとき駐車ブレーキペダル8に連係した第2ロッド63は移動しないで、ブラケット65がスペーサ67から離れて前方に移動するだけであり、ブラケット65とスペーサ67(第2接当部に相当する)との間に第1ロッド33が自由に動き得る融通(融通機構)をもたせてある。駐車ブレーキペダル8を踏み込み操作したときは、第2ロッド63が前方に移動して後端のスペーサ67を介して操作アーム31を図4の操作軸37の時計回りに揺動させるが、このとき左右のサイドブレーキペダル5a,5bに連係した第1ロッド33は移動しないで、ブラケット65がスペーサ66から離れて前方に移動するだけであり、ブラケット65とスペーサ66との間に第2ロッド63が自由に動き得る融通(融通機構)をもたせてある。
これにより、左のサイドブレーキペダル5a又は左右サイドブレーキブレーキペダル5a,5bを踏み込み操作したときは、駐車ブレーキペダル8を作動させないで左又は左右のサイドブレーキ装置3a,3bを制動作動させるとともに、ブレーキスイッチ72が作動してブレーキランプ71を点灯させる。駐車ブレーキペダル8を踏み込み操作したときには左右のサイドブレーキペダル5a,5bを作動させないで、左右のサイドブレーキ装置3a,3bを制動作動させるようになっている。
左右のサイドブレーキペダル5a,5bを運転部Aのステップフロア2における運転座席1を中心とした前部の右側に配置し、主クラッチ用の主クラッチペダル12をステップフロア2における運転座席1を中心とした前部の左側に配置し、駐車ブレーキペダル8を主クラッチペダル12の後方となる位置に配置してある。
以上の構成から、機体の右側部に配備した左右のサイドブレーキペダル5a,5bを右足で同時に踏み込み操作して機体を走行停止させた後、機体の左側部に配備した駐車ブレーキペダル8を左足の踵で踏み込み操作することによって、機体を簡単に駐車させることができるようになっている。
又、駐車時に左右のサイドブレーキを操作するのに、踏み込み操作で左右のサイドブレーキの操作を行える駐車ブレーキペダル8を採用し、機体の左側部に形成されている凹入空間Sに駐車ブレーキペダル8を収めた状態で配備してあることから、駐車ブレーキペダル8を配備した左側部からのトラクタに対する乗降時や操縦時に駐車ブレーキペダル8が邪魔になることを回避でき、もって、駐車ブレーキペダル8を配備した左側部からのトラクタに対する乗降を行い易くすることができるとともに、駐車ブレーキペダル8を操縦者の足下に配備する駐車ブレーキペダル8としながらも居住性の向上を図れるようになっている。
しかも、駐車ブレーキペダル8を運転座席1を挟んだ左右のサイドブレーキペダル5a,5bの反対側に配備していることによって、上り坂や下り坂での駐車時には、右足による左右のサイドブレーキペダル5a,5bの同時踏み込み操作で走行停止状態を維持しながら、左足の踵による駐車ブレーキペダル8の踏み込み操作で左右のサイドブレーキの操作を行えることから、上り坂や下り坂でも安定した駐車ブレーキペダルの踏み込み操作を簡単に行えるようになっている。
その上、機体を緊急停止させる必要が生じた場合には、左足の踵で駐車ブレーキペダル8を踏み込み操作することによって、機体を素早く緊急停止させることができるようになっている。
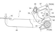
図3〜8に示すように、駐車ブレーキペダル8は、ミッションケース23の左側部に支持部材43を介して第一横軸芯P1周りに上下揺動自在に支持されたペダルアーム44、ペダルアーム44の遊端に固定されたペダル板45、下端をペダルアーム44の中間部外面に固設され上部を機体内側に折り曲げてペダルアーム44に対して垂直に上方に立設したストッパ部材46、ペダルアーム44の機体内側面に固定され、上縁に多数の係合凹部47を形成した係合板48、支持部材43とペダルアーム44の間に設けられてペダルアーム44を上昇方向に復帰付勢する付勢バネ49、支持部材43に固定した支軸50、支軸50に挿通された長孔51と係合板48の係合凹部47に係合する係止爪52とストッパピン53とを備えるとともに反転バネ54の一端部を取り付けた爪揺動部材55、及び、反転バネ54の他端部を取り付けるとともに駐車ブレーキペダル8の自由状態でペダルアーム44のストッパ部材46に押されて支持部材43に固定した支軸56による第2横軸芯P2周りに揺動し、爪揺動部材55のストッパピン53と係合して爪揺動部材55を支軸50による第3横軸芯P3周りに爪係合方向(図7の反時計方向)に付勢してペダルアーム44の位置決めをする位置決め揺動部材57、ペダルアーム44に第1横軸芯P1を形成する支軸58を介して一体揺動可能に連結された操作アーム59、第4横軸芯P4周りに回動軸60を介して一体揺動可能に連結された左右一対の中継揺動アーム61、操作アーム59と左側の中継揺動アーム61とに亘って架設されたロッド62、及び、左右の中継揺動アーム61と対応するサイドブレーキ装置3a,3bの操作アーム31とに亘って架設された第2ロッド63、などを介して左右のサイドブレーキ装置3a,3bに連係されている。操作アーム31にはサイドブレーキペダル5a,5bに連係している第1ロッド33と第2ロッド63を挿通するブラケット65を固設しており、ブラケット65に形成した2つの貫通穴に挿通した第1ロッド33と第2ロッド63の後部にそれぞれスペーサ66,67を介してダブルナット68,69で当接位置を調節できるようにしてある。ペダルアーム44は、駐車ブレーキペダル8の自由状態でストッパ部材46が位置決め揺動部材57に接当するとともに、爪揺動部材55の係止爪52が係合板48の係合凹部47に係合係止されることによって揺動規制されている。尚、図4に示す符号64は、左右の各サイドブレーキ装置3a,3bの操作アーム31を制動解除位置に復帰付勢する付勢バネである。
自由状態の制動解除姿勢に復帰している駐車ブレーキペダル8〔図9参照〕のペダル板45を左足の踵で踏み付けてペダルアーム44を下降させる、といった駐車ブレーキペダル8の踏み込み操作を行うと、図9から図10に示すようにペダル板45の踏み下げ操作が行われている間は、爪揺動部材55の係止爪52が反転バネ54の作用により係合板48の係合凹部47側に付勢された状態で係合凹部47の位置を順次移動しつつペダルアーム44が下降する。そして、所望の踏み込み位置まで踏み込み操作した段階で駐車ブレーキペダル8の前部位置から左足を離すと、付勢バネ49の作用によって係合凹部47に係合していた係止爪52が係合凹部47に圧接されて、係止爪52が第1横軸芯P1を中心に時計方向に回動させる作用力により、支軸50と長孔51の下端部で接当していた爪揺動部材55が揺動移動して長孔51の上端部と当接して係止爪52と係合凹部47との係合が保持された状態で固定される。この結果、駐車ブレーキペダル8が左右のサイドブレーキ装置3a,3bを制動作用させる制動操作域で係合保持されるようになる〔図11参照〕。つまり、駐車ブレーキペダル8の前部位置に対して左足による踏み込み操作を行うだけで、駐車ブレーキペダル8を制動操作域に係止保持する制動保持操作を簡単かつ確実に行えるようになっている。
一方、駐車ブレーキペダル8が制動操作域で係止保持された状態において、駐車ブレーキペダル8におけるペダル板45を付勢バネ49に抗して左足の踵で再度踏み込み操作を行うと、ペダルアーム44の下降に伴って係止爪52が係合凹部47から離れ、反転バネ54の作用により爪揺動部材55が支軸56を中心に持ち上がって、支軸50に対して長孔51の上部に当接していた爪揺動部材55が長孔51の下部が当接する〔図12参照〕。その後ペダルアーム44を上昇させ、図13の状態から更に上昇して、ストッパ部材46により支軸56より上方の位置決め揺動部材57の前部端縁が押圧されると位置決め揺動部材57が支軸56の第2横軸芯P2を中心とする時計回りに揺動するに伴って、爪揺動部材55を第3横軸芯P3を中心とした反時計回りに揺動して係止爪52が係合凹部47に係合し、これにより駐車ブレーキペダル8が自由状態の位置での制動解除姿勢に復帰する〔図9参照〕。つまり、駐車ブレーキペダル8に対して左足による踏み込み操作を行うだけで、駐車ブレーキペダル8の制動操作域での係合保持を解除する制動解除操作を簡単かつ確実に行えるようになっている。
要するに、左右のサイドブレーキ装置3a,3bを制動作用状態に維持して機体の駐車状態を現出する制動保持操作(駐車ブレーキ操作)と、左右のサイドブレーキ装置3a,3bの制動作用状態での維持を解除して機体の駐車状態を解除する制動解除操作(駐車ブレーキ解除操作)の双方を、左足のみによる駐車ブレーキペダル8の踏み込み操作を繰り返すだけで容易かつ確実に行えるようになっている。
駐車ブレーキペダル8による踏み込みの繰り返しだけで、左右のサイドブレーキ装置3a,3bの制動・制動解除を行う係合離脱機構を本発明ではペダル踏み込み式制動解除切換え機構と呼称する。
〔別実施の形態〕
ブレーキスイッチ72は左右のサイドブレーキペダル5a,5bの操作系における少なくとも左右いずれか一方、即ち、上記実施形態とは逆に右の第1ロッド33に対してのみ設けてもよく、又、左右の第1ロッド33に設けたブレーキスイッチ72を並列回路で接続してもよい。
トラクタを機体左側から見た全体側面図 トラクタの全体平面図 ブレーキの操作系を示す平面図 ブレーキの操作系を示す側面図 サイドブレーキペダルを踏み込み操作した作用図を示す側面図 駐車ブレーキペダルを踏み込み操作した作用図を示す側面図 駐車ブレーキの操作系の詳細を示す側面図 駐車ブレーキペダルとペダル踏み込み式制動解除切換え機構の正面図 駐車ブレーキペダルの制動解除姿勢の作用図を示す側面図 駐車ブレーキペダルの踏み込み状態の作用図を示す側面図 駐車ブレーキペダルの制動係止状態にある作用図を示す側面図 駐車ブレーキペダルの踏み込み解除状態の作用図を示す側面図 駐車ブレーキペダルの戻し途中の状態の作用図を示す側面図 サイドブレーキペダルの係止具を示す斜視図 駐車ブレーキのペダル踏み込み式制動解除切換え機構の分解斜視図
1 運転座席
2 ステップフロア
3 ブレーキ装置
3a 左サイドブレーキ装置
3b 右サイドブレーキ装置
4 第1連係機構
5 主ブレーキペダル
5a 左サイドブレーキペダル
5b 右サイドブレーキペダル
7 第2連係機構
8 駐車ブレーキペダル
12 主クラッチペダル
23 ミッションケース
31 操作アーム
33 第1ロッド
63 第2ロッド
65 ブラケット
66 スペーサ(第1接当部)
67 スペーサ(第2接当部)
71 ブレーキランプ
72 ブレーキスイッチ
73 ブラケット(スイッチ操作用ブラケット)
A 運転部

Claims (4)

  1. トラクタ走行機体の運転部に、同じブレーキ装置に対して第1連係機構を介して連係させた主ブレーキペダル及び第2連係機構を介して連係させた駐車ブレーキペダルを設け、前記主ブレーキペダル及び駐車ブレーキペダルはそれぞれ独立して踏み込み操作することにより前記ブレーキ装置を各別に制動状態に操作するように構成するとともに、前記第1連係機構に対してのみ当該第1連係機構の作動によりブレーキランプを点消灯させるブレーキスイッチを連係させ、前記駐車ブレーキペダルの踏み込み及び戻し操作では前記ブレーキランプを点消灯させないで、前記主ブレーキペダルの踏み込み操作により前記ブレーキスイッチが入り作動して前記ブレーキランプを点灯させ、前記主ブレーキペダルの戻し操作で前記ブレーキスイッチが切り作動して前記ブレーキランプを消灯させるように構成し、
    前記ブレーキ装置を操作する操作アームにブラケットを設けて、このブラケットに前後に貫通する2つの貫通穴を形成し、前記2つの貫通穴のうちの一方の貫通穴に前記第1連係機構を構成する第1ロッドの後端側を挿通して、前記ブラケットの後側に位置する前記第1ロッドの後端部に第1接当部を連結し、前記2つの貫通穴のうちの他方の貫通穴に前記第2連係機構を構成する第2ロッドの後端側を挿通して、前記ブラケットの後側に位置する前記第2ロッドの後端部に第2接当部を連結し、
    前記主ブレーキペダルを踏み込み操作して前記第1ロッドを引き操作したときには、前記他方の貫通穴による融通によって前記駐車ブレーキペダルを作動させないで、前記第1接当部を介して前記操作アームを揺動させて前記ブレーキ装置を制動作動させるとともに、前記ブレーキスイッチが作動してブレーキランプを点灯させ、且つ、前記駐車ブレーキペダルを踏み込み操作して前記第2ロッドを引き操作したときには、前記一方の貫通穴による融通によって前記主ブレーキペダルを作動させないで、前記第2接当部を介して前記操作アームを揺動させて前記ブレーキ装置を制動作動させるように構成してあるトラクタにおけるブレーキランプの点灯操作構造。
  2. 前記ブレーキスイッチをミッションケースの側部に固定し、前記ブレーキスイッチを押圧操作するスイッチ操作用ブラケットを前記第1ロッドの前後中間部に固定し、前記第1ロッドの押し引き操作により前記スイッチ操作用ブラケットを介して前記ブレーキスイッチが操作されるように構成してある請求項1記載のトラクタにおけるブレーキランプの点灯操作構造。
  3. 前記主ブレーキペダルをステップフロアにおける運転座席を中心とした前部の右側に配置し、主クラッチ用の主クラッチペダルをステップフロアにおける運転座席を中心とした前部の左側に配置し、前記駐車ブレーキペダルを前記主クラッチペダルの後方に配置してある請求項1または2記載のトラクタにおけるブレーキランプの点灯操作構造。
  4. 前記主ブレーキペダルは左右一対のサイドブレーキペダルからなり、前記ブレーキ装置は前記左右一対の各サイドブレーキペダルに対して各別に連係された左サイドブレーキ装置と右サイドブレーキ装置からなり、前記ブレーキスイッチは左右のサイドブレーキペダルの操作系における少なくとも左右いずれか一方に設け、当該サイドブレーキペダルの踏み込み及び戻し操作に連係して前記ブレーキランプを点消灯させるように構成してある請求項1〜3のうちのいずれか一項に記載のトラクタにおけるブレーキランプの点灯操作構造。
JP2008034679A 2008-02-15 2008-02-15 トラクタにおけるブレーキランプの点灯操作構造 Active JP4673385B2 (ja)

Priority Applications (2)

Application Number Priority Date Filing Date Title
JP2008034679A JP4673385B2 (ja) 2008-02-15 2008-02-15 トラクタにおけるブレーキランプの点灯操作構造
FR0858397A FR2927595B1 (fr) 2008-02-15 2008-12-09 Systeme de freinage de tracteur

Applications Claiming Priority (1)

Application Number Priority Date Filing Date Title
JP2008034679A JP4673385B2 (ja) 2008-02-15 2008-02-15 トラクタにおけるブレーキランプの点灯操作構造

Publications (2)

Publication Number Publication Date
JP2009190615A JP2009190615A (ja) 2009-08-27
JP4673385B2 true JP4673385B2 (ja) 2011-04-20

Family

ID=41073015

Family Applications (1)

Application Number Title Priority Date Filing Date
JP2008034679A Active JP4673385B2 (ja) 2008-02-15 2008-02-15 トラクタにおけるブレーキランプの点灯操作構造

Country Status (1)

Country Link
JP (1) JP4673385B2 (ja)

Families Citing this family (2)

* Cited by examiner, † Cited by third party
Publication number Priority date Publication date Assignee Title
JP5337113B2 (ja) * 2010-07-28 2013-11-06 株式会社クボタ トラクタ
JP6374766B2 (ja) * 2014-11-12 2018-08-15 三菱マヒンドラ農機株式会社 作業車両

Family Cites Families (9)

* Cited by examiner, † Cited by third party
Publication number Priority date Publication date Assignee Title
JPS5746700Y2 (ja) * 1977-02-28 1982-10-14
JPS5912434Y2 (ja) * 1979-04-14 1984-04-14 ヤンマーディーゼル株式会社 農用トラクタ−のブレ−キ装置
JPS5687945U (ja) * 1979-12-11 1981-07-14
JPS57130839A (en) * 1981-02-06 1982-08-13 Iseki & Co Ltd Stop light illuminating device
JPH0564252U (ja) * 1992-02-05 1993-08-27 株式会社クボタ トラクタの前後進操作装置
JP3033084B2 (ja) * 1992-11-02 2000-04-17 コベルコ建機株式会社 フロントフード
JPH07205774A (ja) * 1994-01-17 1995-08-08 Kubota Corp 作業車の制動装置
JP4314358B2 (ja) * 1997-11-11 2009-08-12 ヤンマー建機株式会社 走行車両のブレーキ装置
JP3717304B2 (ja) * 1998-05-11 2005-11-16 株式会社クボタ トラクタのブレーキ操作構造

Also Published As

Publication number Publication date
JP2009190615A (ja) 2009-08-27

Similar Documents

Publication Publication Date Title
JP2003072528A (ja) 乗用型草刈り機
JP4764437B2 (ja) トラクタのブレーキ操作機構
JP4673385B2 (ja) トラクタにおけるブレーキランプの点灯操作構造
JP2017039339A (ja) 作業車輌
US9174613B2 (en) Vehicle speed operating device for work vehicle
JP3717304B2 (ja) トラクタのブレーキ操作構造
JP5337113B2 (ja) トラクタ
JPH02120571A (ja) 車両の制御装置
JP5764074B2 (ja) 作業車両のブレーキ操作具
JP2011109993A (ja) 乗用型田植機
JP2013067231A (ja) トラクタの操作装置
JP4733555B2 (ja) 作業機の変速操作構造
JP4263062B2 (ja) 作業車の変速操作構造
JP3776035B2 (ja) 農作業機
JP4749967B2 (ja) 作業車両の走行操作装置
JP3370114B2 (ja) 作業車の旋回操作構造
JP4164063B2 (ja) 乗用型走行車両における操向ロック装置
JP5391161B2 (ja) 切換操作装置
WO2006027940A1 (ja) 走行操作装置及び作業車両
JP4164062B2 (ja) 乗用型走行車両における地上操作具
JP6514029B2 (ja) 作業用走行車
JP2009262729A (ja) 作業車両
JP2014082980A (ja) 乗用型走行車両における地上操作具
JP3776030B2 (ja) 農作業機
JP3806232B2 (ja) 農用作業機の走行制動装置

Legal Events

Date Code Title Description
A621 Written request for application examination

Free format text: JAPANESE INTERMEDIATE CODE: A621

Effective date: 20100316

A977 Report on retrieval

Free format text: JAPANESE INTERMEDIATE CODE: A971007

Effective date: 20100728

A131 Notification of reasons for refusal

Free format text: JAPANESE INTERMEDIATE CODE: A131

Effective date: 20100805

A521 Request for written amendment filed

Free format text: JAPANESE INTERMEDIATE CODE: A523

Effective date: 20101004

TRDD Decision of grant or rejection written
A01 Written decision to grant a patent or to grant a registration (utility model)

Free format text: JAPANESE INTERMEDIATE CODE: A01

Effective date: 20101222

A01 Written decision to grant a patent or to grant a registration (utility model)

Free format text: JAPANESE INTERMEDIATE CODE: A01

A61 First payment of annual fees (during grant procedure)

Free format text: JAPANESE INTERMEDIATE CODE: A61

Effective date: 20110120

R150 Certificate of patent or registration of utility model

Ref document number: 4673385

Country of ref document: JP

Free format text: JAPANESE INTERMEDIATE CODE: R150

Free format text: JAPANESE INTERMEDIATE CODE: R150

FPAY Renewal fee payment (event date is renewal date of database)

Free format text: PAYMENT UNTIL: 20140128

Year of fee payment: 3