JP4601792B2 - 紙葉類処理装置 - Google Patents
紙葉類処理装置 Download PDFInfo
- Publication number
- JP4601792B2 JP4601792B2 JP2000280843A JP2000280843A JP4601792B2 JP 4601792 B2 JP4601792 B2 JP 4601792B2 JP 2000280843 A JP2000280843 A JP 2000280843A JP 2000280843 A JP2000280843 A JP 2000280843A JP 4601792 B2 JP4601792 B2 JP 4601792B2
- Authority
- JP
- Japan
- Prior art keywords
- correction
- paper sheet
- support frame
- pair
- transport
- Prior art date
- Legal status (The legal status is an assumption and is not a legal conclusion. Google has not performed a legal analysis and makes no representation as to the accuracy of the status listed.)
- Expired - Lifetime
Links
Images
Classifications
-
- B—PERFORMING OPERATIONS; TRANSPORTING
- B65—CONVEYING; PACKING; STORING; HANDLING THIN OR FILAMENTARY MATERIAL
- B65H—HANDLING THIN OR FILAMENTARY MATERIAL, e.g. SHEETS, WEBS, CABLES
- B65H9/00—Registering, e.g. orientating, articles; Devices therefor
- B65H9/002—Registering, e.g. orientating, articles; Devices therefor changing orientation of sheet by only controlling movement of the forwarding means, i.e. without the use of stop or register wall
-
- B—PERFORMING OPERATIONS; TRANSPORTING
- B65—CONVEYING; PACKING; STORING; HANDLING THIN OR FILAMENTARY MATERIAL
- B65H—HANDLING THIN OR FILAMENTARY MATERIAL, e.g. SHEETS, WEBS, CABLES
- B65H2301/00—Handling processes for sheets or webs
- B65H2301/30—Orientation, displacement, position of the handled material
- B65H2301/33—Modifying, selecting, changing orientation
- B65H2301/331—Skewing, correcting skew, i.e. changing slightly orientation of material
-
- B—PERFORMING OPERATIONS; TRANSPORTING
- B65—CONVEYING; PACKING; STORING; HANDLING THIN OR FILAMENTARY MATERIAL
- B65H—HANDLING THIN OR FILAMENTARY MATERIAL, e.g. SHEETS, WEBS, CABLES
- B65H2404/00—Parts for transporting or guiding the handled material
- B65H2404/10—Rollers
- B65H2404/14—Roller pairs
- B65H2404/142—Roller pairs arranged on movable frame
- B65H2404/1421—Roller pairs arranged on movable frame rotating, pivoting or oscillating around an axis, e.g. parallel to the roller axis
- B65H2404/14212—Roller pairs arranged on movable frame rotating, pivoting or oscillating around an axis, e.g. parallel to the roller axis rotating, pivoting or oscillating around an axis perpendicular to the roller axis
-
- B—PERFORMING OPERATIONS; TRANSPORTING
- B65—CONVEYING; PACKING; STORING; HANDLING THIN OR FILAMENTARY MATERIAL
- B65H—HANDLING THIN OR FILAMENTARY MATERIAL, e.g. SHEETS, WEBS, CABLES
- B65H2511/00—Dimensions; Position; Numbers; Identification; Occurrences
- B65H2511/20—Location in space
- B65H2511/24—Irregularities, e.g. in orientation or skewness
-
- B—PERFORMING OPERATIONS; TRANSPORTING
- B65—CONVEYING; PACKING; STORING; HANDLING THIN OR FILAMENTARY MATERIAL
- B65H—HANDLING THIN OR FILAMENTARY MATERIAL, e.g. SHEETS, WEBS, CABLES
- B65H2701/00—Handled material; Storage means
- B65H2701/10—Handled articles or webs
- B65H2701/19—Specific article or web
- B65H2701/1912—Banknotes, bills and cheques or the like
Landscapes
- Registering Or Overturning Sheets (AREA)
- Delivering By Means Of Belts And Rollers (AREA)
Description
【発明の属する技術分野】
この発明は、例えば、複数金種の紙幣等の紙葉類を複数枚一括して投入させ、この投入された紙幣から紙幣を一枚づつ取り出してその金種別に向きを揃えて区分集積する紙葉類処理装置に関する。
【0002】
【従来の技術】
紙幣や小切手、商品券、或いは他の有価証券等の紙葉類は、社会経済活動のキー媒体として機能し流通されている。この紙葉類は流通の過程で、特定の個所に大量に集められ額面別、或いは種類別に整理されるようになっている。
【0003】
この整理業務の自動化、省力化のために、以前より紙葉類分類整理装置と呼ばれるものが用いられている。この紙葉類分類整理装置はバラ状態の紙葉類を供給部に一括して投入させ、この投入された紙葉類から紙葉類を一枚づつ取り出し、判別部でそれぞれの種類を判別することにより、種類ごとに分類したり、或いは100枚づつの束を作るようにしている。
【0004】
ところで、紙葉類の向きは天地と表裏の4姿勢があって、多くの場合、これが未整理のまま、流通の特定個所に集中してこれを整理しなければならない事態となる。
【0005】
従来の装置は表裏を揃えるために判別部の判別結果に基づき、表裏の反転を搬送途中で行い、同一のポケットに表裏を揃えて集積する反転機能を持っている。
【0006】
一方、供給部から取り出される紙葉類、例えば、紙幣や金券等はその額面によってサイズが異なる。このため、サイズの異なる紙葉類が一括して供給部にセットされると、それを手で揃えたとしても小型の券は最大サイズの中に埋もれてしまい左右の位置ずれや斜めになる可能性が高くなる。
【0007】
このような状態で取り出された紙葉類は、搬送ベルト対によって判別部に搬送される。判別部はローラ対で搬送される紙葉類の面から各種情報を読み取り、それを論理演算し、基準になる情報と比較する。これにより、紙葉類の汚れや、破損の有無、種類(紙幣であれば金額)、天地表裏の4方向を判別する。位置ずれやスキューが多い紙葉類は、各種情報から判定できないためにリジェクトされる。
【0008】
また、反転部ではヒネリベルトによって左右180度反転させて自動表裏反転を行う。この反転機構では、原理的にヒネリベルトの中心点を中心に回転するので、紙葉類はヒネリベルトに入る前と出た後で横方向のずれ(シフトと呼ぶ)が発生し、集積や帯封を行う上で、横方向の整位が困難である。
【0009】
これらの問題を解決するためには、判別部に紙葉類が搬送される前に、取り出された紙葉類の姿勢を補正する機能が必要となっている。しかも、高速化や大量処理の要請から、高速動作で姿勢補正後のばらつきの少ない信頼性の高い姿勢補正装置が必要である。
【0010】
姿勢補正装置はその入口側に検出器として例えば、透過型の光センサーアレーを備え、この光センサーアレーにより供給部から取り出される紙葉類の姿勢を検出する。姿勢補正装置は光センサーアレーによる検出結果から搬送中心線からの紙葉類の位置ズレ量とスキュー角を計算する。
【0011】
また、姿勢補正装置はべ一スの上に、例えば、同一の構成をなす第1及び第2の補正部を具備している。補正部は逆さ門型の支持フレームを有し、この支持フレームのフレーム基板部の両端部に折曲形成される両側板部間に駆動軸を掛け渡し、この駆動軸に補正ローラを取り付けている。補正ローラの上部側にはゴムローラが当接され、このゴムローラは軸を介して支持フレームの両側板部間に支持されている。支持フレームの一側板部の外面側には第1の駆動モータが取り付けられ、この第1の駆動モータは補正ローラの駆動軸に直結されている。
【0012】
支持フレームのフレーム基板部の略中央部は支軸によって支持され、支軸はハウジングによって回動自在に保持されている。支持フレームは上方から見て搬送路の中心線とローラの軸線の交わる点を中心に回転できるように支軸により支持されている。支軸の下端にはプーリ及びベルトを介して第2の駆動モータが連結されている。
【0013】
第1の駆動モータが駆動されると、駆動軸を介して補正ローラとゴムローラが回転されて紙葉類が挟持搬送される。第2の駆動モータが駆動されると、プーリ、ベルト及びプーリを介して支軸が回転されて支持フレームが所定角度回動され、これにより紙葉類の位置ズレとスキューが補正される。
【0014】
【発明が解決しようとする課題】
しかしながら、従来においては、支持フレームの一側板部の外面側に第1の駆動モータを取り付け、この第1の駆動モータの駆動軸を補正ローラの軸に直結していたため、支持フレームを搬送路の中心線とローラの軸線の交わる点を中心に回転させたとき、その慣性モーメントが大きくなっていた。
【0015】
紙葉類の姿勢を補正するのに必要な時間、即ち、支持フレームを角度θ回転するのに必要な時間によって、単位時間当たりの取出枚数、即ち、紙葉類分類整理装置の処理枚数が決定される。従来においては、支持フレームの慣性モーメントが大きいため、支持フレームを必要角度回転するのに必要な時間が長くなり、高速かつ大量処理を行う紙葉類分類整理装置では、第1及び第2の補正部だけではスキュー量或いは位置ズレ量が多い紙幣の姿勢を補正することができなかった。
【0016】
このため、スキュー量或いは位置ズレ量が多い紙葉類の姿勢を補正するためには、ローラ対を含む支持フレームを多段に取り付けることが必要になり、その結果、搬送路が長くなり、装置が大型化するという問題があった。
【0017】
また、補正ローラ対を含む慣性モーメントの大きな支持フレームを高速で回転させる為には、第2の駆動モータとしては高価なサーボモータを使用しなければならず、コスト高になるという問題があった。
【0018】
本発明は上記事情に着目してなされたもので、支持フレームの慣性モーメントを小さくすることにより、高速、高精度での紙葉類の姿勢補正を可能とする紙葉類処理装置を提供することを目的とする。
【0019】
【課題を解決するための手段】
上記課題を解決するため、請求項1記載の発明は、紙葉類を一括して収容する収容部と、この収容部に収容された紙葉類を一枚づつ繰り出す繰出手段と、この繰出手段により繰り出された紙葉類を第1乃至第3の搬送ベルト対によって搬送路に沿って挟持搬送する搬送手段と、この搬送手段によって搬送される紙葉類の姿勢状態を検出する検出手段と、この検出手段によって検出された紙葉類の姿勢状態に応じて前記紙葉類の搬送方向と直交する方向の位置ズレを補正する第1の補正部と、前記紙葉類の搬送方向と直交する方向の角度ズレを補正する第2の補正部を有する補正手段と、この補正手段によって位置ズレ及び角度ズレが補正された紙葉類を区分情報に応じて区分処理する区分手段とを具備し、前記第1及び第2の補正部は前記紙葉類を挟持搬送する補正ローラ対と、この補正ローラ対を支持する支持フレームと、この支持フレームから離間して設けられ、前記補正ローラ対を回転駆動する第1の駆動手段と、前記支持フレームを回動させることにより前記補正ローラ対を前記紙葉類の搬送方向に対し所定角度傾ける第2の駆動手段とから構成され、前記第1乃至第3の搬送ベルト対は所定間隔を存して前記紙葉類の搬送方向に沿って配設され、前記第1乃至第3の搬送ベルト対のうち中央部の搬送ベルト対は、前記搬送路の中心線上に位置し、両サイドの搬送ベルト対は、前記搬送路の中心線に対し対称的に配置され、前記補正ローラ対は、前記中央部の搬送ベルト対と前記両サイドの搬送ベルト対との間にそれぞれ位置し、かつ、前記搬送路の中心線に対し対称的に配置され、前記第1の駆動手段は、前記搬送路の中心線と前記ローラ対の軸線の交わる点を中心に回転して前記補正ローラ対を回転する第1の駆動軸に接続され、前記第2の駆動手段は前記第1の駆動軸と同じ回動中心で、前記支持フレームを回動させる第2の駆動軸に接続され、前記第2の駆動軸は、前記支持フレームの中心部を支持することを特徴とする。
【0020】
【発明の実施の形態】
以下、本発明を図面に示す実施の形態を参照しながら詳細に説明する。
【0021】
図1は、本発明の一実施の形態である紙葉類処理装置としての紙幣分類整理装置を示す概略的構成図である。
【0022】
図中1は装置本体で、この装置本体1の一側略中央部には収容部としての供給部2が設けられている。この供給部2には紙葉類としての紙幣Pが立位状態で複数枚収容されている。供給部2にはバネ3で付勢されるバックアップ板4が設けられ、このバックアップ板4により紙幣Pが送り出されるようになっている。紙幣Pの送り出し方向には繰出手段としての繰出ローラ5が設けられている。繰出ローラ5の下方部にはゴムローラ55とこのゴムローラ55に当接されるローラ56が設けられている。ローラ56はバネ材により付勢されゴムローラ55とによって紙幣をクランプして搬送するようになっている。
【0023】
さらに、この紙幣の繰出方向には取り出された紙幣のシフト量とスキュー量を検出する検出手段としての透過型の光センサアレー70が設けられている。光センサアレー70の配置については後述する。
【0024】
紙幣は光センサアレー70を通過した後、ベルト対49a〜49cやローラ7から構成されるクランプ式の搬送手段6に送り込まれる。この搬送手段6中には取り出された紙幣Pのシフトとスキューを自動補正する姿勢補正装置8が設けられている。この姿勢補正装置8の構造については後で詳しく述べる。
【0025】
なお、搬送手段6の姿勢補正装置8を通過する部分もベルト対になっていて紙幣Pは拘束されているが、そのクランプ力は弱いものとされ、姿勢補正装置8で紙幣の姿勢を補正するときの負荷にならないようにしている。
【0026】
搬送手段6の上方部には検出手段としての判別部9が設けられている。この判別部9はローラ対10で搬送される紙幣Pの面から各種情報を読み取り、それを論理演算し、基準になる情報と比較する。これにより、汚れや、破損の有無、紙幣の種類(金額)、さらに、その天地表裏4方向を判別するものである。
【0027】
判別部9の上方部には、第1の分岐部11が設けられ、この第1の分岐部11により矢印a方向或いは矢印b方向に紙幣Pの搬送方向が可変される。即ち、判別部9により正券であると判別されなかった紙幣(例えば、2枚取りや、一定以上の大スキューの紙幣)は矢印aに可変されてリジェクト箱12に導かれる。
【0028】
一方、判別部9により紙幣が正券で表が上と判定された場合は、矢印b方向に搬送方向が可変される。矢印b方向には第2の分岐部13が設けられている。この第2の分岐部13は紙幣Pの搬送方向を第1及び第2のルートに分岐するものである。
【0029】
第1のルートには反転手段としての左右反転パス14が設けられ、この左右反転パス14には紙幣を左右180度反転させるヒネリベルト15が設けられている。第2のルートには通常の搬送ベルト16が設けられ、紙幣の姿勢はそのままの状態を維持する。第1及び第2のルートは合流部17で合流するが、この合流部17までの経路長は等しくして、合流後の間隔がズレないようになっている。
【0030】
合流部17の下部側には第3の分岐部18が設けられ、この第3の分岐部18により紙幣の搬送ル−トが第3及び第4のルートに分岐される。第3のルートはスイッチバックパス19で、反転箱20に導かれた紙幣の後端部が叩き車21で反転ローラ95に押し付けられ、天地が反転して搬送される。第4のルートは単なる搬送ベルト22で、紙幣がそのままの姿勢状態を維持して搬送される。
【0031】
第3及び第4のルートは合流部23で合流する。この合流部23までの第3及び第4のルートの経路長は等しくして、合流後の間隔がズレないようになっている。
【0032】
以上の反転装置の後方には水平搬送路24が設けられ、この水平搬送路24中には区分すべき部分の数より一つ少ない数の分岐装置25a〜25dが配設されている。これら分岐装置25b〜25dの下方部には種類別ポケット部26a〜26dが配設されている。種類別ポケット部26a〜26d内には紙葉が水平状態で積み重ねて集積される。
【0033】
27は100枚施封装置で、100枚づつ集積して、区分できる集積部28から、帯巻き部29へ紙葉を移動し、紐帯30で束を作ることができるものである。
【0034】
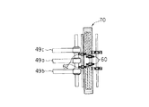
図2は上記した透過型の光センサアレー70の配置状態を示す正面図で、図3はその下面図である。
【0035】
搬送手段6の姿勢補正装置8を通過する部分の第1乃至第3の搬送ベルト対49a〜49cのうち、第1の搬送ベルト対49aは搬送中心上に位置し、第2及び第3の搬送ベルト対49b,49cは第1の搬送ベルト対49aを中心に定ピッチで対称に配置されている。
【0036】
第1乃至第3の搬送ベルト対49a〜49cの紙幣導入側にはゴムローラ60,60が配設され、これらゴムローラ60,60には図示しないバネで付勢されるゴムローラ61,61が当接されている。さらに、ローラ60,60と第1乃至第3の搬送ベルト対49a〜49cとの間にはゴムローラ62,62が配設され、これらゴムローラ62,62には図示しないバネで付勢されるゴムローラ63,63が当接されている。
【0037】
また、第1乃至第3の搬送ベルト対49a〜49cの紙幣導入側には光センサアレー70が設けられている。この光センサアレー70は受光センサ64とLED65とにより構成され、これら受光センサ64とLED65は図示しないプレートを介してべ一スに取り付けられている。受光センサ64とLED65は密閉構造のケースに収納され、搬送面側はガラス板となっていて埃の進入を防いでいる。この光センサアレー70は第1の搬送ベルト対49aを除く搬送領域の全域に亘って配設されている。
【0038】
図4及び図5は、光センサアレー70の第2の配置例を示すものである。
【0039】
この第2の配置例では、LED65側のケースのガラス板面を搬送路近傍に設置し、紙幣は搬送路中心線上の搬送ベルト対66,67で搬送されて通過する。この紙幣が通過する際、ガラス板面に接触することでガラス板面上の埃を除去することができるようになっている。
【0040】
図6は姿勢補正装置8を示す斜視図で、図7はその縦断面図である。
【0041】
姿勢補正装置8は第1及び第2の補正部32,33を有している。これら第1及び第2の補正部32,33は同一構成を有し、ベース31に取り付けられている。第1及び第2の補正部32,33は同一構成であるため、第1の補正部32について説明する。
【0042】
第1の補正部32は逆さ門型フレーム(以下、支持フレームという)34を有し、紙幣の幅寸法より長いフレーム基部34aと、このフレーム基部34aの両側部に折曲形成される側板部34b,34bとにより構成される。
【0043】
側板部34b,34b間には軸受36,36を介して駆動軸35が架け渡され、駆動軸35には一対のローラ37,37が取り付けられている。この一対のローラ37,37の周面は摩擦力を高めるためにゴム部となっている。この一対のローラ37,37の上部側には一対のゴムローラ38,38が当接されている。この一対のゴムローラ38,38は軸受39を介して軸40に取り付けられている。軸40の両端部は支持フレーム34の側板部34b,34bに穿設された長穴41には嵌め込まれ、バネ42によって下方に付勢されている。これらローラ対37,37とゴムローラ38,38とにより一対の補正ローラ対が構成されている。
【0044】
この補正ローラ対37,38は姿勢補正装置8を通過する第1及び第2の搬送ベルト対49a,49b間と、第1及び第3の搬送ベルト対49a,49c間にそれぞれ設けられ、これら一対の補正ローラ対37,38は第1の搬送ベルト対49aを中心として対称に配設されている。
【0045】
また、駆動軸35には傘歯車50が固定的に取り付けられ、この傘歯車50には傘歯車51が噛み合わされている。傘歯車51は図7に示すように第1の駆動軸としての軸44の上端部に固定されている。この軸44は垂直に設けられ、その上端部はローラ37の駆動軸35の中心部に対向されている。軸44は第2の駆動軸としての円筒軸43内に挿入され、上下部の軸受52,53により回転自在に保持されている。下部側の軸受53は円筒軸43に固定されたプーリ45に取り付けられている。軸44の下端にはワンウエイクラッチ55を介してプーリ84が取り付けられている。プーリ84にはベルト82及びプーリ83を介して第1の駆動手段としてのステッピングモータ54が接続されている。
【0046】
ステッピングモータ54が回転駆動されると、プーリ83、ベルト82及びプーリ84を介して軸44が回転される。この回転により、傘歯車51,50を介して駆動軸35が回転され、一対の補正ローラ対37,38が回転される。この一対の補正ローラ対37,38の回転により、紙幣がクランプされて搬送される。
【0047】
なお、姿勢補正部8の補正ローラ対37,38のクランプ力は搬送ベルト49a〜49cの挟持力よりも強くなるように設定されている。
【0048】
一方、円筒軸43は軸受57を介してハウジング56に回転自在に保持され、この円筒軸43の上端部に支持フレーム34のフレーム基板部34aの中心部が固定されている。円筒軸43の下部側に固定されたプーリ45にはベルト46、プーリ47を介して第2の駆動手段としてのステッピングモータ48が接続されている。ハウジング56はプレート58を介してベ一ス31に固定されている。べ一ス31にはセンサ59が取り付けられ、フレーム基板部34aにはセンサ59をオン、オフする被検出体59aが取り付けられている。
【0049】
ステッピングモータ48が回転駆動されると、プーリ47,ベルト46及びプーリ45を介して円筒軸43が回転される。この回転により支持フレーム34が回動されて一対の補正ローラ対37,38の向きが可変される。支持フレーム34の回動量はその被検出体59aがセンサ59により検出されることにより制御されるようになっている。
【0050】
図8は本発明の第2の例である姿勢補正装置を示す斜視図である。
【0051】
なお、上記した第1の実施の形態で説明した部分と同一部分については同一番号を付してその説明を省略する。
【0052】
この第2の例では、第2の駆動モータ48を支持フレーム34の回転中心Aに近づけて設置している。
【0053】
上記した第1の実施の形態では、第2の駆動モータ48を支持フレーム34の回転中心Aから遠く離して配置するため、駆動ベルト46の長さが長くなってしまう。このため、第2の駆動モータ48の駆動停止時における駆動ベルト46の振動が大きくなり、結果として、支持フレーム34の振動が大きくなる。従って、支持フレーム34を逆方向に戻す動作の開始は振動が低減するのを待ってから行わなければならず、処理効率が低下する。
【0054】
そこで、第2の例では、第2の駆動モータ48を第1の補正部32と第2の補正部33との間において搬送ベルト対49a〜49cの直下に配置し、支持フレーム34の回転中心Aに近づける。これにより、第1の実施の形態に比較して駆動ベルト46の長さを短縮化でき、第2の駆動モータ48の停止時における振動を低減できる。
【0055】
従って、振動が収まるまでの時間が短縮され、支持フレーム34の動作開始を早めることができ、より一層高速での補正処理が可能となる。また、駆動モータ48の停止時の振動低減により姿勢補正の精度を向上できる。
【0056】
図9は、本発明の第3の例である姿勢補正装置を示す斜視図である。
【0057】
この第3の例では、紙幣分類整理装置のスペースの制約等から、第2の例で示した位置に第2の駆動モータ48を設置できないときに有効である。
【0058】
第3の例では、第2の駆動モータ48は第1の実施の形態と同様にベース31の外側に設置される。
【0059】
取付ベース58にはフレーム72が設けられ、このフレーム72にはピン73が突設されている。ピン73にはアイドルローラ71,71が取り付けられ、これらアイドルローラ71,71はプーリ45とプーリ47の中間に位置調整可能に配置されている。駆動ベルト46はアイドルローラ71,71に掛け渡され、テンションが調整される。これにより、第2の駆動モータ48の駆動停止時における駆動ベルト46の振動が低減されることになる。
【0060】
図10は姿勢補正用のローラ対37,38と搬送ベルト対49aから49cの配置関係について示す図である。
【0061】
搬送路中心線上に第1の搬送ベルト対49aが敷設され、その外側に搬送中心線に対して対称的に一対の補正ローラ対37,38が配置される。さらに、一対の補正ローラ対37,38の外側に2本の搬送ベルト対49b,49cが搬送中心線に対して対称的に配置される。
【0062】
紙幣分類整理装置が取り扱う最小サイズの紙葉PIsが、装置が搬送可能としている搬送路幅aのどちらか一方の端まで位置ズレし、且つ、装置で搬送可能としている最大スキュー角度θmaXの状態で取り出されたとする。
【0063】
このとき紙幣の進行方向側の角部pが、搬送中心線に対して姿勢補正用のローラ38の外側に敷設される第2の搬送ベルト対49bの上にある関係にある。
【0064】
装置の搬送可能な幅をa、搬送ベルトピッチをb、搬送ベルト幅をc、装置の扱う最小サイズの紙葉PIsの長手方向の長さl、装置が搬送可能としている最大スキュー角度をθmaxとすると、次のような関係が成り立つ。
【0065】
l・cosθmax−a/2>b−c/2 (1)式
上式が成り立っていないとき、補正ローラ38によって紙幣PIsが位置ズレ補正されると、その角部pは搬送ベルト対49bの端面に衝突するか、または乗り上げることになり、角折れの発生にとどまらず搬送ジャムの原因となる。
【0066】
図11は姿勢補正部8を貫通して敷設される第1乃至第3の搬送ベルト対49a〜49cの第2の例を示すものである。
【0067】
この第2の例では3本の搬送ベルト対49a〜49cのうち、搬送中心線に対して一対の補正ローラ対37,38の外側に敷設される2本の搬送ベルト対49b,49cの姿勢補正部8に位置する部分はベルト対を形成せず、下部側のベルト部49b1,49c1のみが存在している。
【0068】
装置が腰の弱い紙幣を取り扱う場合、補正ローラ対37,38によって姿勢補正する際、外側の第2及び第3の搬送ベルト49b,49cが補正領域においてベルト対であると、摩擦抵抗となり姿勢補正中に紙幣にシワをつける原因となる。
【0069】
また、紙幣の取出時において、図10で示したスキュー角度θmaxを超えるスキューが発生したり、大きな角折れがある場合には、(1)式が成り立たない状態となり、紙葉の角pが搬送ベルトからはずれる。このような紙幣の状態で位置ズレ補正を行っても、この第2の例によれば搬送ジャムを回避することができる。
【0070】
図12は、姿勢補正部8を貫通して敷設される第1乃至第3の搬送ベルト対49a〜49cの第3の例を示すものである。
【0071】
この第3の例では、搬送中心線に対して補正ローラ対37,38の外側に敷設された第2及び第3の搬送ベルト対49b,49cの補正領域におけるベルト部間に隙間dが形成されている。
【0072】
第2及び第3の搬送ベルト対49b,49cの上側のベルト部がアイドルローラ87,88に巻き付けられることで、姿勢補正装置8内では搬送ベルト対49b,49c間に隙間dが確保される。
【0073】
この第3の例によれば、上記した第2の例で説明したのと同様の効果が得られる他に、第2及び第3の搬送ベルト対49b,49cの上側のベルト部49b2,49c2が紙幣Pの搬送速度で移動する上側ガイドの役割を果たす。
【0074】
従って、紙幣Pの角部の上側方向のめくれを防止し、結果としてローラ89に紙幣が進入する際の折れの発生を防止することができる。
【0075】
図13〜図16は上記した紙幣分類装置における紙幣の状態に応じた搬送経路を示すものである。
【0076】
紙幣や金券等はその額面によってサイズが異なるので、それらが一括して紙葉供給部2にセットされると、それを手で揃えたとしても、小型の券は最大サイズの中に埋もれてしまって、左右の位置ずれや斜めになっている可能性が高くなる。このような状態から取り出される紙幣は位置ずれや、スキューした状態で送り出されてしまう。
【0077】
このような状態で送り出された紙幣は、姿勢補正装置8に第1乃至第3の搬送ベルト対49a〜49cによって搬送されてくる。この時、第1の駆動モータ54により補正ローラ対37,38が搬送ベルト対49a〜49cの周速と等しい速度で回転駆動される。また、姿勢補正装置8に導入される紙幣の姿勢は透過型の光センサアレー70で検出される。そして、この検出結果から搬送中心線からの位置ずれ△Smm、とスキュー角度θ1度が計算される。このとき検出結果が、紙幣の長手方向の長さが装置で処理可能な紙幣の種類よりも短いときは、折れ券、または切れ券である為、姿勢補正は行わずリジェクト箱12に搬送する。ついで、紙幣の幅をLとして、tanθ2=△s/Lなるθ2を計算する。そして、このθ2の角度だけ、図17に示すように、第1の補正部32を矢印91の方向に回動させるように第2のステッピングモータ48を回転駆動する。
【0078】
このように円筒軸43と軸44が逆方向に回転しても、ワンウエイクラッチ55が空転するために、第1の補正部32の回転速度は変化しない。この第1の補正部32に食いついた紙幣は、搬送方向に対して、θ2の角度シフトした方向に、そのスキュー角を維持したまま位置ずれして、位置ずれを補正する。次に紙幣先端がセンサ92を通過して所定のタイミングを取って、第2の補正部33をθ1だけ矢印93の方向に回転させる。紙幣をクランプした状態で、補正ローラ対が回動することで、スキューが補正される。
【0079】
以上の一連の制御動作で、スキュ一とシフトが連続的に補正され、もともとスキューやシフトのない紙幣は、第1及び第2の補正部32,33を回動させないことで、正しい姿勢を保ったまま次の判別部9に搬送される。判別部9では、スキューやシフトのない状態で紙葉が搬送されてくるので、その券面から入手される情報が安定していて、券種の判定や、表裏天地の判定論理計算が容易になっている。
【0080】
この判別部9で判定された結果に従い、図13〜図16に示すような経路が設定され、設定に応じて各分岐部を動作させることにより、紙葉は所定の搬送路を通過する。紙幣は必要に応じて、左右反転パス14、スイッチバッタパス等を通過し、水平搬送路24に入るところでは、全て表裏天地が揃った状態になっている。
【0081】
即ち、種類別ポケット26a〜26cは種類別に全て表裏天地が揃って水平積層集積ができているし、100枚施封装置27でも表裏天地が揃った状態で紐帯を巻くことができるものである。
【0082】
なお、上記した姿勢補正動作は、紙幣のスキュー量やシフトの量が少ない場合は、第1の補正部32だけで、スキューとシフトの補正ができるし、第1及び第2の補正ローラ32,33でスキュー、シフトの補正順序を限定せず、制御によって補正順序を変更することもできる。
【0083】
また、紙幣のズレが極端に多い場合は、第1及び第2の補正部32,33に限定せず、より多段の補正部を取り付ければよいものであって、補正部の段数に制約があるものではない。
【0084】
また、上記した実施の形態では、センタを基準として位置ずれを補正したが、右なら右のべ一ス面基準として揃えることは、制御の角度を変えるだけで対応ができるし、より広く、どのようなスキュー量や、位置ズレ量にも自由に補正でき、長手搬送を短手搬送に変換することもできるという柔軟な構造である。
【0085】
さらに、姿勢補正装置8を貫通して敷設される3本の搬送ベルト対49a〜49cの幅は、搬送中心の第1の搬送ベルト49aの幅を広くして搬送力を増し、外側の2本の搬送ベルト49b,49cの幅を狭くして姿勢補正中の摩擦抵抗を減らすこともできる。
【0086】
上記したように、この実施の形態によれば、補正ローラ対37,38を回転させる第1の駆動モータ54を支持フレーム34に取り付けない構造にするため、支持フレーム34の慣性モーメントを小さくしてその回転を高速化できる。従って、スキュー量と位置ズレ量の多い紙幣であっても、少ない個数の補正ローラ対と、安価なステッピングモータで容易に姿勢を補正することができる。
【0087】
また、第2の駆動モータ48を支持フレーム34の回転中心に近づけて設置するため、補正ローラ対37,38を含む支持フレーム34を回転駆動する駆動ベルト46の長さを短くすることができる。従って、第2の駆動モータ48の停止時における駆動ベルト46の振動を低減し、補正精度を向上することができ、しかも、支持フレーム32の逆回転開始までの時間も短縮化でき、より一層高速での補正処理が可能となる。
【0088】
また、装置スペースの制約から補正ローラ対37,38を含む支持フレーム32を駆動する駆動ベルトの長さを短くすることが不可能な場合には、第2の駆動モータ48の回転軸と支持フレーム32の回転中心距離の中間にベルトテンション調整用のアイドルローラ71を設置する。これにより、第2の駆動モータ48の停止時の駆動ベルト46の振動を低減し、補正精度を向上することができ、支持フレーム32の逆回転開始までの時間が短縮してより一層の高速処理が可能となる。
【0089】
また、分類整理すべき紙幣のサイズがバラバラであって、供給部2にそれが揃わない状態で投入されたとき、従来は位置ズレした紙幣の片側券端の位置が検出できない場合があった。これに対し、この発明では搬送ベルトの紙幣導入側にその搬送幅の全域に亘って光センサアレー70を設けるため、常に紙幣の両側券端の位置を検出することができる。従って、紙幣の長手方向長さからズレ量を計算することができるようになり、高精度な姿勢補正ができる。
【0090】
また、姿勢補正装置8内は、第1乃至第3の搬送ベルト対49a〜49cを敷設し、第1及び第2の搬送ベルト対49a,49bと、第1及び第3の搬送ベルト対49a,49cとの間にそれぞれ補正ローラ対37,38を設け、これら補正ローラ対37,38を搬送中心線に対して対称に配置するため、補正ローラ対37,38の外側の搬送抵抗を低減し、姿勢補正中の紙葉の角折れ、シワの発生を防止することができる。
【0091】
また、姿勢補正装置内を貫通して敷設される第1乃至第3の搬送ベルト対49a〜49cのうち外側の2本の搬送ベルト対49b,49cを、装置が取り扱う最小サイズの紙幣の端面が搬送ベルトよりも搬送中心線側に外れない位置にするため、位置ズレ、スキュー補正時の搬送ジャム、角折れ、シワの発生を防止することができる。
【0092】
また、姿勢補正装置8内を貫通して敷設される第1乃至第3の搬送ベルト対49a〜49cのうち外側の2本の搬送ベルト対49b,49cはベルト対を形成せず、紙幣の下面側を支持するベルト部49b1,49c1のみとし、位置ズレ、スキュー補正時の摩擦抵抗を低減し、腰の弱い紙質でも、角折れ、シワの発生を防止することができる。
【0093】
また、姿勢補正装置8内を貫通して敷設される第1乃至第3の搬送ベルト対49a〜49cのうち外側の2本の搬送ベルト対49b,49cのベルト部49b2,49c2間には隙間dを形成するため、位置ズレ、スキュー補正時の摩擦抵抗ga低減し腰の弱い紙質でも、角折れ、シワの発生を防止することができるのに加えて、姿勢補正後のローラ89ヘの進入時における紙幣のめくれ、折れを防止することができる。
【0094】
【発明の効果】
本発明は以上説明したように、補正ローラ対を回転させる第1の駆動手段を支持フレームから離間して設けるから、支持フレームの回転モーメントを小さくできる。従って、補正ローラ対を含む支持フレームを高速で回転させることができ、従来のようにローラ対を含む支持フレームを多段に取り付けることなくスキューと位置ズレ量の多い紙葉類の補正処理が可能となる。よって、装置を小型化でき、また、高価なサーボモータを必要とすることなく、安価なステッピングモータでの駆動が可能となり、コストを低減できる。
【図面の簡単な説明】
【図1】本発明の一実施の形態である紙幣処理装置を示す内部構成図。
【図2】紙幣の取出搬送部に設けられる紙幣検出部を示す正面図。
【図3】紙幣の取出搬送部に設けられる紙幣検出部を示す下面図。
【図4】紙幣の取出搬送部に設けられる紙幣検出部の第2の例を示す正面図。
【図5】紙幣の取出搬送部に設けられる紙幣検出部の第2の例を示す下面図。
【図6】紙幣の姿勢補正装置を示す斜視図。
【図7】紙幣の姿勢補正装置を示す側断面図。
【図8】姿勢補正装置の第2の例を示す斜視図。
【図9】姿勢補正装置の第3の例を示す斜視図。
【図10】姿勢補正部と搬送ベルト対の配置関係を示す平面図。
【図11】紙幣の搬送ベルト対の第2の例を示す斜視図。
【図12】紙幣の搬送ベルト対の第3の例を示す斜視図。
【図13】紙幣の第1の搬送例を示す図。
【図14】紙幣の第2の搬送例を示す図。
【図15】紙幣の第3の搬送例を示す図。
【図16】紙幣の第4の搬送例を示す図。
【図17】姿勢補正装置によって紙幣の搬送姿勢を補正する動作を説明するための動作説明図。
【符号の説明】
P…紙幣(紙葉類)
2…収容部(供給部)
5…繰出ローラ(繰出手段)
6…搬送手段
8…姿勢補正装置(補正手段)
14…反転パス(反転手段)
26a〜26d…ポケット部(区分手段)
34…支持フレーム
37,38…補正ローラ対
48…ステッピングモータ(第2の駆動手段)
44…軸(第1の駆動軸)
43…円筒軸(第2の駆動軸)
46…駆動ベルト
49a…第1の搬送ベルト対(搬送手段)
49b…第2の搬送ベルト対(搬送手段)
49c…第3の搬送ベルト対(搬送手段)
52…駆動ベルト
54…ステッピングモータ(第1の駆動手段)
70…透過型光センサアレー(検出手段)
71…アイドルプーリ
Claims (1)
- 紙葉類を一括して収容する収容部と、
この収容部に収容された紙葉類を一枚づつ繰り出す繰出手段と、
この繰出手段により繰り出された紙葉類を第1乃至第3の搬送ベルト対によって搬送路に沿って挟持搬送する搬送手段と、
この搬送手段によって搬送される紙葉類の姿勢状態を検出する検出手段と、
この検出手段によって検出された紙葉類の姿勢状態に応じて前記紙葉類の搬送方向と直交する方向の位置ズレを補正する第1の補正部と、前記紙葉類の搬送方向と直交する方向の角度ズレを補正する第2の補正部を有する補正手段と、
この補正手段によって位置ズレ及び角度ズレが補正された紙葉類を区分情報に応じて区分処理する区分手段とを具備し、
前記第1及び第2の補正部は前記紙葉類を挟持搬送する補正ローラ対と、
この補正ローラ対を支持する支持フレームと、
この支持フレームから離間して設けられ、前記補正ローラ対を回転駆動する第1の駆動手段と、
前記支持フレームを回動させることにより前記補正ローラ対を前記紙葉類の搬送方向に対し所定角度傾ける第2の駆動手段と
から構成され、
前記第1乃至第3の搬送ベルト対は所定間隔を存して前記紙葉類の搬送方向に沿って配設され、
前記第1乃至第3の搬送ベルト対のうち中央部の搬送ベルト対は、前記搬送路の中心線上に位置し、両サイドの搬送ベルト対は、前記搬送路の中心線に対し対称的に配置され、
前記補正ローラ対は、前記中央部の搬送ベルト対と前記両サイドの搬送ベルト対との間にそれぞれ位置し、かつ、前記搬送路の中心線に対し対称的に配置され、
前記第1の駆動手段は、前記搬送路の中心線と前記ローラ対の軸線の交わる点を中心に回転して前記補正ローラ対を回転する第1の駆動軸に接続され、前記第2の駆動手段は前記第1の駆動軸と同じ回動中心で、前記支持フレームを回動させる第2の駆動軸に接続され、
前記第2の駆動軸は、前記支持フレームの中心部を支持することを特徴とする紙葉類処理装置。
Priority Applications (4)
| Application Number | Priority Date | Filing Date | Title |
|---|---|---|---|
| JP2000280843A JP4601792B2 (ja) | 2000-09-14 | 2000-09-14 | 紙葉類処理装置 |
| US09/899,851 US6581929B2 (en) | 2000-09-14 | 2001-07-09 | Posture correction device for correcting a posture of conveyed paper-like material and paper-like material processing apparatus provided with a posture correction device |
| DE60124360T DE60124360T2 (de) | 2000-09-14 | 2001-08-16 | Vorrichtung zum Korrigieren einer Stellung eines geförderten papierähnlichen Materials und Verarbeitungsapparat für papierähnliches Material mit einer solchen Vorrichtung |
| EP01306965A EP1188699B1 (en) | 2000-09-14 | 2001-08-16 | A posture correction device for correcting a posture of conveyed paper-like material and paper-like material processing apparatus provided with a posture correction device |
Applications Claiming Priority (1)
| Application Number | Priority Date | Filing Date | Title |
|---|---|---|---|
| JP2000280843A JP4601792B2 (ja) | 2000-09-14 | 2000-09-14 | 紙葉類処理装置 |
Related Child Applications (1)
| Application Number | Title | Priority Date | Filing Date |
|---|---|---|---|
| JP2010106310A Division JP5100785B2 (ja) | 2010-05-06 | 2010-05-06 | 紙葉類処理装置 |
Publications (3)
| Publication Number | Publication Date |
|---|---|
| JP2002087647A JP2002087647A (ja) | 2002-03-27 |
| JP2002087647A5 JP2002087647A5 (ja) | 2007-11-01 |
| JP4601792B2 true JP4601792B2 (ja) | 2010-12-22 |
Family
ID=18765599
Family Applications (1)
| Application Number | Title | Priority Date | Filing Date |
|---|---|---|---|
| JP2000280843A Expired - Lifetime JP4601792B2 (ja) | 2000-09-14 | 2000-09-14 | 紙葉類処理装置 |
Country Status (4)
| Country | Link |
|---|---|
| US (1) | US6581929B2 (ja) |
| EP (1) | EP1188699B1 (ja) |
| JP (1) | JP4601792B2 (ja) |
| DE (1) | DE60124360T2 (ja) |
Cited By (1)
| Publication number | Priority date | Publication date | Assignee | Title |
|---|---|---|---|---|
| JP2015110479A (ja) * | 2015-02-26 | 2015-06-18 | 沖電気工業株式会社 | 紙葉類搬送装置及び紙葉類取扱装置 |
Families Citing this family (32)
| Publication number | Priority date | Publication date | Assignee | Title |
|---|---|---|---|---|
| JP4521141B2 (ja) * | 2001-09-21 | 2010-08-11 | 株式会社東芝 | 紙葉類処理装置 |
| JP4580602B2 (ja) * | 2001-09-21 | 2010-11-17 | 株式会社東芝 | 紙葉類処理装置 |
| DE60231695D1 (de) * | 2001-12-21 | 2009-05-07 | Bourg C P Sa | Verfahren und Vorrichtung zur Steuerung der Orientierung und der Ausrichtung von auf einer Förderanlage vorbeikommenden einzelnen Papierbogen |
| DE10236028A1 (de) | 2002-08-06 | 2004-02-19 | Giesecke & Devrient Gmbh | Vorrichtung und Verfahren für das Ausrichten von Banknoten |
| JP2005041604A (ja) * | 2003-07-23 | 2005-02-17 | Canon Inc | シート搬送装置及び画像形成装置並びに画像読取装置 |
| JP4350450B2 (ja) * | 2003-08-04 | 2009-10-21 | キヤノン株式会社 | シート搬送装置及び画像形成装置並びに画像読取装置 |
| US7204362B2 (en) * | 2003-12-30 | 2007-04-17 | National Conveyor Corporation | Automatic tray repositioning device |
| EP1731320B1 (en) * | 2005-06-10 | 2009-12-02 | Konica Minolta Business Technologies, Inc. | Image forming apparatus |
| JP2007058764A (ja) * | 2005-08-26 | 2007-03-08 | Toshiba Corp | 紙葉類集積装置 |
| JP2007070085A (ja) | 2005-09-08 | 2007-03-22 | Toshiba Corp | 紙葉類整位装置 |
| ITBO20060025A1 (it) * | 2006-01-17 | 2007-07-18 | Cmc Spa | Apparato convogliatore per il cambio della direzione di avanzamneto di articoli in foglio |
| JP4922079B2 (ja) * | 2007-06-20 | 2012-04-25 | 株式会社東芝 | 紙葉類処理装置 |
| DE102007050449B4 (de) * | 2007-09-03 | 2021-01-07 | Wincor Nixdorf International Gmbh | Verfahren zum Ausrichten eines blattförmigen Mediums und Ausrichtvorrichtung für das Medium |
| US7823870B2 (en) * | 2007-09-27 | 2010-11-02 | Konica Minolta Business Technologies, Inc. | Image forming apparatus |
| JP5050979B2 (ja) * | 2007-09-27 | 2012-10-17 | コニカミノルタビジネステクノロジーズ株式会社 | 画像形成装置 |
| JP5269506B2 (ja) * | 2007-10-24 | 2013-08-21 | 株式会社ユニバーサルエンターテインメント | 紙幣処理装置 |
| US7686298B2 (en) * | 2007-11-05 | 2010-03-30 | Xerox Corporation | Method and system for correcting lateral position error |
| JP4529149B2 (ja) * | 2008-01-21 | 2010-08-25 | 新東工業株式会社 | 長方形板状材料の偏差の修正方法およびその装置 |
| KR101055877B1 (ko) * | 2008-11-06 | 2011-08-09 | 엘지엔시스(주) | 매체수납장치 및 그의 매체기울기 보정방법, 그리고 그를 이용한 금융자동화기기 |
| DE102009051647A1 (de) * | 2009-11-02 | 2011-06-01 | Giesecke & Devrient Gmbh | Vorrichtung für die Vereinzelung von Banknoten |
| US8800748B2 (en) * | 2010-09-10 | 2014-08-12 | Pitney Bowes Inc. | Method and apparatus for edge justification of mail items |
| JP5648648B2 (ja) * | 2012-03-26 | 2015-01-07 | 沖電気工業株式会社 | 搬送路及び媒体取引装置 |
| CN102837985A (zh) * | 2012-09-21 | 2012-12-26 | 广州广电运通金融电子股份有限公司 | 金融自助设备及其薄片介质传输系统和传输方法 |
| US9098089B2 (en) * | 2013-02-20 | 2015-08-04 | Ncr Corporation | Media alignment |
| KR101681503B1 (ko) * | 2014-10-08 | 2016-12-01 | 노틸러스효성 주식회사 | 지폐 자동정렬장치 및 사행조정유닛 |
| US11066263B2 (en) | 2014-12-09 | 2021-07-20 | Ricoh Company, Ltd. | Sheet conveying device and image forming apparatus incorporating the sheet conveying device |
| US9776819B2 (en) | 2014-12-09 | 2017-10-03 | Ricoh Company, Ltd. | Sheet conveying device and image forming apparatus incorporating the sheet conveying device |
| CN107973152B (zh) * | 2016-10-21 | 2021-08-06 | 佳能精技立志凯株式会社 | 介质输送装置及图像形成装置 |
| US11445082B2 (en) | 2016-11-30 | 2022-09-13 | Ricoh Company, Ltd. | Image forming apparatus incorporating position detector and position corrector |
| CN110073421A (zh) * | 2016-12-22 | 2019-07-30 | 富士通先端科技株式会社 | 纸张处理设备和异物检测方法 |
| EP3781503A4 (en) * | 2018-04-20 | 2022-02-23 | Crane Payment Innovations, Inc. | ACTIVE STEERING SYSTEM |
| JP2020163680A (ja) * | 2019-03-29 | 2020-10-08 | キヤノン株式会社 | 記録装置および搬送装置 |
Family Cites Families (17)
| Publication number | Priority date | Publication date | Assignee | Title |
|---|---|---|---|---|
| US4483530A (en) * | 1981-01-30 | 1984-11-20 | Bell & Howell Company | Document processing systems |
| JPS5917441A (ja) * | 1982-07-19 | 1984-01-28 | Fuji Xerox Co Ltd | 複写機等のシ−ト搬送装置 |
| US4836527A (en) * | 1988-04-18 | 1989-06-06 | Xerox Corporation | Side edge registration system |
| US4877234A (en) * | 1988-08-02 | 1989-10-31 | Xerox Corporation | Sheet turning and registration system |
| US5219159A (en) * | 1992-06-01 | 1993-06-15 | Xerox Corporation | Translating nip registration device |
| ES2121027T3 (es) * | 1992-06-03 | 1998-11-16 | Mars Inc | Selector de hojas de papel rectangulares. |
| JPH061498A (ja) * | 1992-06-16 | 1994-01-11 | Fuji Xerox Co Ltd | 用紙整合装置 |
| JPH06234441A (ja) * | 1993-02-07 | 1994-08-23 | Canon Inc | レジストレーション装置 |
| SE505484C2 (sv) * | 1995-03-31 | 1997-09-01 | Rue Cash Handling Ab De | Anordning för in- och utmatning av värdepapper |
| SE503120C2 (sv) * | 1995-03-31 | 1996-03-25 | Inter Innovation Ab | Anordning för korrekt matning av tunna objekt, såsom sedlar, checker etc |
| US5662321A (en) * | 1995-06-15 | 1997-09-02 | Stephen Borostyan | Automatic document feeder with skew control |
| JPH09175694A (ja) * | 1995-12-28 | 1997-07-08 | Minolta Co Ltd | シート搬送装置 |
| JP3766466B2 (ja) * | 1996-04-09 | 2006-04-12 | 日立オムロンターミナルソリューションズ株式会社 | 紙葉類の枚数確定方法及び紙葉類取扱装置 |
| US5697609A (en) * | 1996-06-26 | 1997-12-16 | Xerox Corporation | Lateral sheet pre-registration device |
| US6053494A (en) * | 1997-08-04 | 2000-04-25 | Lexmark International, Inc. | Job offset assembly |
| JP3746144B2 (ja) * | 1997-11-13 | 2006-02-15 | 日立オムロンターミナルソリューションズ株式会社 | 紙葉類の仕分け装置 |
| JP2000272775A (ja) * | 1999-03-25 | 2000-10-03 | Fuji Photo Optical Co Ltd | ペーパー搬送機構 |
-
2000
- 2000-09-14 JP JP2000280843A patent/JP4601792B2/ja not_active Expired - Lifetime
-
2001
- 2001-07-09 US US09/899,851 patent/US6581929B2/en not_active Expired - Lifetime
- 2001-08-16 DE DE60124360T patent/DE60124360T2/de not_active Expired - Lifetime
- 2001-08-16 EP EP01306965A patent/EP1188699B1/en not_active Expired - Lifetime
Cited By (1)
| Publication number | Priority date | Publication date | Assignee | Title |
|---|---|---|---|---|
| JP2015110479A (ja) * | 2015-02-26 | 2015-06-18 | 沖電気工業株式会社 | 紙葉類搬送装置及び紙葉類取扱装置 |
Also Published As
| Publication number | Publication date |
|---|---|
| US6581929B2 (en) | 2003-06-24 |
| DE60124360D1 (de) | 2006-12-21 |
| US20020060417A1 (en) | 2002-05-23 |
| JP2002087647A (ja) | 2002-03-27 |
| EP1188699A2 (en) | 2002-03-20 |
| DE60124360T2 (de) | 2007-10-11 |
| EP1188699B1 (en) | 2006-11-08 |
| EP1188699A3 (en) | 2004-03-17 |
Similar Documents
| Publication | Publication Date | Title |
|---|---|---|
| JP4601792B2 (ja) | 紙葉類処理装置 | |
| US7806396B2 (en) | Sheet handling apparatus | |
| JP4580602B2 (ja) | 紙葉類処理装置 | |
| RU2444470C2 (ru) | Устройство изменения положения и устройство обработки бумагоподобных материалов | |
| US6739590B2 (en) | Paper-like materials processing apparatus | |
| JP4809974B2 (ja) | 紙葉類処理装置 | |
| JP5100785B2 (ja) | 紙葉類処理装置 | |
| JP2007070085A (ja) | 紙葉類整位装置 | |
| US7699313B2 (en) | Paper sheet stacking apparatus | |
| KR20180051722A (ko) | 지폐 반송경로 절환장치 및 이를 구비한 금융자동화기기 | |
| JP2002080012A (ja) | 紙葉類の施封装置 | |
| JP4686005B2 (ja) | 紙幣処理装置 | |
| JP4521141B2 (ja) | 紙葉類処理装置 | |
| JP2002312828A (ja) | 紙葉類処理装置 | |
| JP3545116B2 (ja) | 紙幣搬送装置 | |
| JP3901560B2 (ja) | 紙葉類処理装置 | |
| JP2003095530A (ja) | 紙葉類処理装置 | |
| JP2002308472A (ja) | 紙葉類処理装置、およびその動作状態の点検方法 | |
| JP2002308470A (ja) | 紙葉類処理装置 | |
| JPS61211267A (ja) | 紙葉類の搬送機構 | |
| JP2755727B2 (ja) | 紙葉類集積装置 | |
| JP2005263460A (ja) | 紙葉類処理装置および紙葉類処理方法 | |
| JP2003054810A (ja) | 紙葉類搬送装置、および紙葉類処理装置 | |
| JPH11130275A (ja) | 紙葉類処理機における紙葉類取込み装置 | |
| JP2007317049A (ja) | 紙幣搬送装置 |
Legal Events
| Date | Code | Title | Description |
|---|---|---|---|
| A521 | Request for written amendment filed |
Free format text: JAPANESE INTERMEDIATE CODE: A523 Effective date: 20070913 |
|
| A621 | Written request for application examination |
Free format text: JAPANESE INTERMEDIATE CODE: A621 Effective date: 20070913 |
|
| A977 | Report on retrieval |
Free format text: JAPANESE INTERMEDIATE CODE: A971007 Effective date: 20090415 |
|
| A131 | Notification of reasons for refusal |
Free format text: JAPANESE INTERMEDIATE CODE: A131 Effective date: 20090421 |
|
| A521 | Request for written amendment filed |
Free format text: JAPANESE INTERMEDIATE CODE: A523 Effective date: 20090619 |
|
| A02 | Decision of refusal |
Free format text: JAPANESE INTERMEDIATE CODE: A02 Effective date: 20100202 |
|
| A521 | Request for written amendment filed |
Free format text: JAPANESE INTERMEDIATE CODE: A523 Effective date: 20100506 |
|
| A911 | Transfer to examiner for re-examination before appeal (zenchi) |
Free format text: JAPANESE INTERMEDIATE CODE: A911 Effective date: 20100513 |
|
| TRDD | Decision of grant or rejection written | ||
| A01 | Written decision to grant a patent or to grant a registration (utility model) |
Free format text: JAPANESE INTERMEDIATE CODE: A01 Effective date: 20100907 |
|
| A01 | Written decision to grant a patent or to grant a registration (utility model) |
Free format text: JAPANESE INTERMEDIATE CODE: A01 |
|
| A61 | First payment of annual fees (during grant procedure) |
Free format text: JAPANESE INTERMEDIATE CODE: A61 Effective date: 20100929 |
|
| FPAY | Renewal fee payment (event date is renewal date of database) |
Free format text: PAYMENT UNTIL: 20131008 Year of fee payment: 3 |
|
| R151 | Written notification of patent or utility model registration |
Ref document number: 4601792 Country of ref document: JP Free format text: JAPANESE INTERMEDIATE CODE: R151 |
|
| FPAY | Renewal fee payment (event date is renewal date of database) |
Free format text: PAYMENT UNTIL: 20131008 Year of fee payment: 3 |
|
| EXPY | Cancellation because of completion of term |