JP4508719B2 - プログラム、情報記憶媒体、及びゲームシステム - Google Patents

プログラム、情報記憶媒体、及びゲームシステム Download PDF

Info

Publication number
JP4508719B2
JP4508719B2 JP2004140110A JP2004140110A JP4508719B2 JP 4508719 B2 JP4508719 B2 JP 4508719B2 JP 2004140110 A JP2004140110 A JP 2004140110A JP 2004140110 A JP2004140110 A JP 2004140110A JP 4508719 B2 JP4508719 B2 JP 4508719B2
Authority
JP
Japan
Prior art keywords
combo
effective time
decrease
continuous
continuous play
Prior art date
Legal status (The legal status is an assumption and is not a legal conclusion. Google has not performed a legal analysis and makes no representation as to the accuracy of the status listed.)
Expired - Lifetime
Application number
JP2004140110A
Other languages
English (en)
Other versions
JP2005319107A (ja
Inventor
毅 小林
信 渡辺
Current Assignee (The listed assignees may be inaccurate. Google has not performed a legal analysis and makes no representation or warranty as to the accuracy of the list.)
Kabushiki Kaisha Bandai Namco Entertainment (also trading as Bandai Namco Entertainment Inc.)
Namco Ltd
Bandai Namco Entertainment Inc
Original Assignee
Kabushiki Kaisha Bandai Namco Entertainment (also trading as Bandai Namco Entertainment Inc.)
Namco Ltd
Namco Bandai Games Inc
Priority date (The priority date is an assumption and is not a legal conclusion. Google has not performed a legal analysis and makes no representation as to the accuracy of the date listed.)
Filing date
Publication date
Application filed by Kabushiki Kaisha Bandai Namco Entertainment (also trading as Bandai Namco Entertainment Inc.), Namco Ltd, Namco Bandai Games Inc filed Critical Kabushiki Kaisha Bandai Namco Entertainment (also trading as Bandai Namco Entertainment Inc.)
Priority to JP2004140110A priority Critical patent/JP4508719B2/ja
Publication of JP2005319107A publication Critical patent/JP2005319107A/ja
Application granted granted Critical
Publication of JP4508719B2 publication Critical patent/JP4508719B2/ja
Anticipated expiration legal-status Critical
Expired - Lifetime legal-status Critical Current

Links

Images

Description

本発明は、プログラム、情報記憶媒体、及びゲームシステムに関する。
従来より、シューティングゲーム等において、所定期間内にプレーヤが連続して敵をヒットするとボーナス得点が加算されるタイプのゲームシステムが知られており人気を博している。
かかる連続プレイ成功回数を競うタイプのゲームシステムでは、例えばプレーヤが一匹目の敵を倒すと所定のコンボ有効時間が与えられ、コンボ有効時間内に次の敵を倒すとボーナス得点が与えられる。プレーヤは時間制限付きボーナス得点を狙うことで、よりゲームに集中して緊張感に満ちたゲームプレイを楽しむことができる。
特開2002−352275号公報
本発明の目的とするところは、連続プレイ成功回数を競うタイプのゲームシステムにおいてよりプレーヤの満足度の高いゲームシステム、ゲームシステムを実現するためのプログラム及び情報記憶媒体を実現することにある。
(1)本発明は、プレーヤからの入力情報に基づきゲーム処理を行いゲーム画像を生成して表示部に出力するゲームシステムであって、
プレーヤからの入力情報に基づき所定のコンボ対象プレイが成功か否かを判断するコンボ対象プレイ成功チェック処理部と、
コンボ対象プレイ成功チェック処理結果に基づき、連続プレイ有効時間の増減制御を行う連続プレイ有効時間増減制御処理部と、
前記所定のコンボ対象プレイの連続成功回数をカウントする連続成功回数カウント処理部と、
前記連続プレイ有効時間の増減を示すためにゲーム画像の一部に表示するコンボゲージの表示制御を行うコンボゲージ表示制御処理部と、
前記所定のコンボ対象プレイの連続成功回数に基づき、ゲームの得点演算を行う得点演算処理部とを含み、
コンボ対象プレイ成功チェック処理部は、
連続プレイ有効時間内にコンボ対象プレイが成功した場合に、コンボ対象プレイが成功したと判断し、
連続プレイ有効時間増減制御処理部は、
時間と共に連続プレイ有効時間を所定の割合で減少させ、
コンボ対象プレイが成功した場合には、連続プレイ有効時間を増加させる処理又は連続プレイ有効時間の減少を所定期間停止させる処理又は連続プレイ有効時間の減少割合を所定期間前記所定の割合より小さい割合にする処理を行い、
前記コンボゲージ表示制御処理部は、
前記連続プレイ有効時間増減制御処理部による連続プレイ有効時間の増減を反映させたコンボゲージの表示制御を行うことを特徴とする。
また本発明は、上記各部としてコンピュータを機能させるプログラムに関係する。また本発明は、コンピュータ読み取り可能な情報記憶媒体であって、上記各部としてコンピュータを機能させるプログラムを記憶(記録)した情報記憶媒体に関係する。
本発明によれば前記所定のコンボ対象プレイの連続成功回数に基づき、ゲームの得点演算を行うので、プレーヤは時間制限付きボーナス得点を狙うことで、よりゲームに集中して緊張感に満ちたゲームプレイを楽しむことができる。
(2)本発明は、プレーヤからの入力情報に基づきゲーム処理を行いゲーム画像を生成して表示部に出力するゲームシステムであって、
プレーヤからの入力情報に基づき所定のコンボ対象プレイが成功か否かを判断するコンボ対象プレイ成功チェック処理部と、
コンボ対象プレイ成功チェック処理結果に基づき、連続プレイ有効時間の増減制御を行う連続プレイ有効時間増減制御処理部と、
前記所定のコンボ対象プレイの連続成功回数をカウントする連続成功回数カウント処理部と、
前記連続プレイ有効時間の増減を示すためにゲーム画像の一部に表示するコンボゲージの表示制御を行うコンボゲージ表示制御処理部と、
前記所定のコンボ対象プレイの連続成功回数に基づき、ゲームキャラクタ(プレーヤキャラクタや敵キャラクタ等)のパラメータ、数、種類の少なくとも1つを変化させてキャラクタの表示制御を行うキャラクタ制御処理部とを含み、
コンボ対象プレイ成功チェック処理部は、
連続プレイ有効時間内にコンボ対象プレイが成功した場合に、コンボ対象プレイが成功したと判断し、
連続プレイ有効時間増減制御処理部は、
時間と共に連続プレイ有効時間を所定の割合で減少させ、
コンボ対象プレイが成功した場合には、連続プレイ有効時間を増加させる処理又は連続プレイ有効時間の減少を所定期間停止させる処理又は連続プレイ有効時間の減少割合を所定期間前記所定の割合より小さい割合にする処理を行い、
前記コンボゲージ表示制御処理部は、
前記連続プレイ有効時間増減制御処理部による連続プレイ有効時間の増減を反映させたコンボゲージの表示制御を行うことを特徴とする。
また本発明は、上記各部としてコンピュータを機能させるプログラムに関係する。また本発明は、コンピュータ読み取り可能な情報記憶媒体であって、上記各部としてコンピュータを機能させるプログラムを記憶(記録)した情報記憶媒体に関係する。
ゲームキャラクタとはプレーヤキャラクタでもよいし、敵キャラクタ等でもよい。
本発明によれば、前記所定のコンボ対象プレイの連続成功回数に基づき、ゲームキャラクタ(プレーヤキャラクタや敵キャラクタ等)のパラメータ、数、種類の少なくとも1つを変化させることができる。
従ってコンボ対象プレイの連続成功回数が増加するほど、敵キャラクタの数を増加させたり、敵キャラクタの能力パラメータを増加させたり、敵キャラクタの種類を変更したりすることが可能となる、ゲームの難易度を変更することもできる。従ってコンボ対象プレイの連続成功回数のおおい上級者にとっても十分楽しめるゲームを提供することができる。
(3)本発明は、プレーヤからの入力情報に基づきゲーム処理を行いゲーム画像を生成して表示部に出力するゲームシステムであって、
プレーヤからの入力情報に基づき所定のコンボ対象プレイが成功か否かを判断するコンボ対象プレイ成功チェック処理部と、
コンボ対象プレイ成功チェック処理結果に基づき、連続プレイ有効時間の増減制御を行う連続プレイ有効時間増減制御処理部と、
前記所定のコンボ対象プレイの連続成功回数をカウントする連続成功回数カウント処理部と、
前記連続プレイ有効時間の増減を示すためにゲーム画像の一部に表示するコンボゲージの表示制御を行うコンボゲージ表示制御処理部と、
前記所定のコンボ対象プレイの連続成功回数に基づき、ゲームの画像、音、演出のための周辺機器へ出力の少なくとも1つを変化させてゲーム演出を行うゲーム演出処理部とを含み、
コンボ対象プレイ成功チェック処理部は、
連続プレイ有効時間内にコンボ対象プレイが成功した場合に、コンボ対象プレイが成功したと判断し、
連続プレイ有効時間増減制御処理部は、
時間と共に連続プレイ有効時間を所定の割合で減少させ、
コンボ対象プレイが成功した場合には、連続プレイ有効時間を増加させる処理又は連続プレイ有効時間の減少を所定期間停止させる処理又は連続プレイ有効時間の減少割合を所定期間前記所定の割合より小さい割合にする処理を行い、
前記コンボゲージ表示制御処理部は、
前記連続プレイ有効時間増減制御処理部による連続プレイ有効時間の増減を反映させたコンボゲージの表示制御を行うことを特徴とする。
また本発明は、上記各部としてコンピュータを機能させるプログラムに関係する。また本発明は、コンピュータ読み取り可能な情報記憶媒体であって、上記各部としてコンピュータを機能させるプログラムを記憶(記録)した情報記憶媒体に関係する。
(4)また本発明に係る画像生成システム、プログラム及び情報記憶媒体では、
前記連続プレイ有効時間増減制御処理部は、
コンボ対象プレイの連続成功回数に応じて連続プレイ有効時間の増加時間、又は連続プレイ有効時間の減少を停止させる時間、又は連続プレイ有効時間の減少割合を所定の割合より小さい割合にする時間、又は連続プレイ有効時間の減少割合を変化させ、
前記コンボゲージ表示制御処理部は、
前記連続プレイ有効時間増減制御処理部による連続プレイ有効時間の増減又は減少の停止又は減少割合の変更を反映させたコンボゲージの表示制御を行うことを特徴とする。
(5)また本発明に係る画像生成システム、プログラム及び情報記憶媒体では、
前記連続プレイ有効時間増減制御処理部は、
コンボ対象プレイで成功したプレイの種類やコンボ対象プレイで倒した敵の種類や倒し方に応じて連続プレイ有効時間の増加時間、又は連続プレイ有効時間の減少を停止させる時間、又は連続プレイ有効時間の減少割合を所定の割合より小さい割合にする時間、又は連続プレイ有効時間の減少割合を変化させ、
前記コンボゲージ表示制御処理部は、
前記連続プレイ有効時間増減制御処理部による連続プレイ有効時間の増減又は減少の停止又は減少割合の変更又は減少割合変更時間の変更を反映させたコンボゲージの表示制御を行うことを特徴とする。
(6)また本発明に係る画像生成システム、プログラム及び情報記憶媒体では、
前記連続プレイ有効時間増減制御処理部は、
ゲーム中に所定のゲーム一時停止イベントが発生した場合、ゲームが再開するまで連続プレイ有効時間の減少処理を停止させ、
前記コンボゲージ表示制御処理部は、
ゲーム中に所定のゲーム一時停止イベントが発生した場合、ゲームが再開するまでコンボゲージの減少表示を中止することを特徴とする。
(7)また本発明に係る画像生成システム、プログラム及び情報記憶媒体では、
前記コンボゲージ表示制御処理部は、
連続プレイ有効時間の長さに応じてコンボゲージを構成するコンボゲージパーツの数を増減させて、色の異なる複数のコンボゲージパーツの集合として構成されたコンボゲージを表示することを特徴とする。
(8)また本発明に係る画像生成システム、プログラム及び情報記憶媒体では、
前記コンボゲージ表示制御処理部は、
連続プレイ有効時間の長さに応じて色の異なるコンボゲージパーツを表示することを特徴とする。
(9)また本発明に係る画像生成システム、プログラム及び情報記憶媒体では、
前記コンボゲージ表示制御処理部は、
連続プレイ有効時間の長さに応じてコンボゲージの色を変化させることを特徴とする。
以下、本実施形態について説明する。なお、以下に説明する本実施形態は、特許請求の範囲に記載された本発明の内容を不当に限定するものではない。また本実施形態で説明される構成の全てが、本発明の必須構成要件であるとは限らない。
1.構成
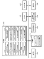
図1に本実施形態の画像生成システム(ゲームシステム)の機能ブロック図の例を示す。なお本実施形態の画像生成システムは図1の構成要素(各部)の一部を省略した構成としてもよい。
操作部160は、プレーヤが操作データを入力するためのものであり、その機能は、レバー、ボタン、ステアリング、マイク、タッチパネル型ディスプレイ、或いは筺体などにより実現できる。記憶部170は、処理部100や通信部196などのワーク領域となるもので、その機能はRAM(VRAM)などにより実現できる。
情報記憶媒体180(コンピュータにより読み取り可能な媒体)は、プログラムやデータなどを格納するものであり、その機能は、光ディスク(CD、DVD)、光磁気ディスク(MO)、磁気ディスク、ハードディスク、磁気テープ、或いはメモリ(ROM)などにより実現できる。処理部100は、情報記憶媒体180に格納されるプログラム(データ)に基づいて本実施形態の種々の処理を行う。即ち情報記憶媒体180には、本実施形態の各部としてコンピュータを機能させるためのプログラム(各部の処理をコンピュータに実行させるためのプログラム)が記憶される。
表示部190は、本実施形態により生成された画像を出力するものであり、その機能は、CRT、LCD、タッチパネル型ディスプレイ、或いはHMD(ヘッドマウントディスプレイ)などにより実現できる。音出力部192は、本実施形態により生成された音を出力するものであり、その機能は、スピーカ、或いはヘッドフォンなどにより実現できる。
携帯型情報記憶装置194は、プレーヤの個人データやゲームのセーブデータなどが記憶されるものであり、この携帯型情報記憶装置194としては、メモリカードや携帯型ゲーム装置などがある。通信部196は外部(例えばホスト装置や他の画像生成システム)との間で通信を行うための各種制御を行うものであり、その機能は、各種プロセッサ又は通信用ASICなどのハードウェアや、プログラムなどにより実現できる。
なお本実施形態の各部としてコンピュータを機能させるためのプログラム(データ)は、ホスト装置(サーバー)が有する情報記憶媒体からネットワーク及び通信部196を介して情報記憶媒体180(記憶部170)に配信してもよい。このようなホスト装置(サーバー)の情報記憶媒体の使用も本発明の範囲内に含めることができる。
処理部100(プロセッサ)は、操作部160からの操作データやプログラムなどに基づいて、ゲーム処理、画像生成処理、或いは音生成処理などの処理を行う。ここでゲーム処理としては、ゲーム開始条件が満たされた場合にゲームを開始する処理、ゲームを進行させる処理、キャラクタやマップなどのオブジェクトを配置する処理、オブジェクトを表示する処理、ゲーム結果を演算する処理、或いはゲーム終了条件が満たされた場合にゲームを終了する処理などがある。この処理部100は記憶部170をワーク領域として各種処理を行う。処理部100の機能は各種プロセッサ(CPU、DSP等)、ASIC(ゲートアレイ等)などのハードウェアや、プログラムにより実現できる。
処理部100は、オブジェクト空間設定部110、移動・動作処理部112、仮想カメラ制御部114、描画部116、音生成部130、コンボ対象プレイ成功チェック処理部120,連続プレイ有効時間増減制御処理部122,連続成功回数カウント処理部124,コンボゲージ表示制御処理部125,得点演算処理部126,キャラクタ制御処理127、ゲーム演出処理部129を含む。なおこれらの一部を省略する構成としてもよい。
オブジェクト空間設定部110は、キャラクタ、建物、球場、車、樹木、柱、壁、マップ(地形)などの表示物を表す各種オブジェクト(ポリゴン、自由曲面又はサブディビジョンサーフェスなどのプリミティブ面で構成されるオブジェクト)をオブジェクト空間に配置設定する処理を行う。即ちワールド座標系でのオブジェクト(モデルオブジェクト)の位置や回転角度(向き、方向と同義)を決定し、その位置(X、Y、Z)にその回転角度(X、Y、Z軸回りでの回転角度)でオブジェクトを配置する。
移動・動作処理部112は、オブジェクト(キャラクタ、ボール、車、又は飛行機等)の移動・動作演算(移動・動作シミュレーション)を行う。即ち操作部160によりプレーヤが入力した操作データや、プログラム(移動・動作アルゴリズム)や、各種データ(モーションデータ)などに基づいて、オブジェクト(移動オブジェクト)をオブジェクト空間内で移動させたり、オブジェクトを動作(モーション、アニメーション)させる処理を行う。具体的には、オブジェクトの移動情報(位置、回転角度、速度、或いは加速度)や動作情報(各パーツオブジェクトの位置、或いは回転角度)を、1フレーム(1/60秒)毎に順次求めるシミュレーション処理を行う。なおフレームは、オブジェクトの移動・動作処理(シミュレーション処理)や画像生成処理を行う時間の単位である。
仮想カメラ制御部114は、オブジェクト空間内の所与(任意)の視点から見える画像を生成するための仮想カメラ(視点)の制御処理を行う。具体的には、仮想カメラの位置(X、Y、Z)又は回転角度(X、Y、Z軸回りでの回転角度)を制御する処理(視点位置や視線方向を制御する処理)を行う。
例えば仮想カメラによりオブジェクト(例えばキャラクタ、ボール、車)を後方から撮影する場合には、オブジェクトの位置又は回転の変化に仮想カメラが追従するように、仮想カメラの位置又は回転角度(仮想カメラの向き)を制御する。この場合には、移動・動作処理部112で得られたオブジェクトの位置、回転角度又は速度などの情報に基づいて、仮想カメラを制御できる。或いは、仮想カメラを、予め決められた回転角度で回転させたり、予め決められた移動経路で移動させる制御を行ってもよい。この場合には、仮想カメラの位置(移動経路)又は回転角度を特定するための仮想カメラデータに基づいて仮想カメラを制御する。
描画部120は、処理部100で行われる種々の処理(ゲーム処理)の結果に基づいて描画処理を行い、これにより画像を生成し、表示部190に出力する。いわゆる3次元ゲーム画像を生成する場合には、まず、座標変換(ワールド座標変換、カメラ座標変換)、クリッピング処理、或いは透視変換等のジオメトリ処理が行われ、その処理結果に基づいて、描画データ(プリミティブ面の頂点の位置座標、テクスチャ座標、色データ、法線ベクトル或いはα値等)が作成される。そして、この描画データ(プリミティブ面データ)に基づいて、透視変換後(ジオメトリ処理後)のオブジェクト(1又は複数プリミティブ面)を描画バッファ172(フレームバッファ、中間バッファなどのピクセル単位で画像情報を記憶できるバッファ。VRAM)に描画する。これにより、オブジェクト空間内において仮想カメラ(所与の視点)から見える画像が生成される。
音生成部130は、処理部100で行われる種々の処理の結果に基づいて音処理を行い、BGM、効果音、又は音声などのゲーム音を生成し、音出力部192に出力する。
コンボ対象プレイ成功チェック処理部210は、プレーヤからの入力情報に基づき所定のコンボ対象プレイが成功か否かを判断する処理を行う。コンボ対象プレイ成功チェック処理部120は、連続プレイ有効時間内にコンボ対象プレイが成功した場合に、コンボ対象プレイが成功したと判断する。
連続プレイ有効時間増減制御処理部212は、コンボ対象プレイ成功チェック処理結果に基づき、連続プレイ有効時間の増減制御を行う。連続プレイ有効時間増減制御処理部212は、時間と共に連続プレイ有効時間を所定の割合で減少させ、コンボ対象プレイが成功した場合には、連続プレイ有効時間を増加させる処理又は連続プレイ有効時間の減少を所定期間停止させる処理又は連続プレイ有効時間の減少割合を所定期間前記所定の割合より小さい割合にする処理を行う。
前記連続プレイ有効時間増減制御処理部212は、コンボ対象プレイの連続成功回数に応じて連続プレイ有効時間の増加時間、又は連続プレイ有効時間の減少を停止させる時間、又は連続プレイ有効時間の減少割合を所定の割合より小さい割合にする時間、又は連続プレイ有効時間の減少割合を変化させるようにしてもよい。
連続プレイ有効時間増減制御処理部212は、コンボ対象プレイで成功したプレイの種類やコンボ対象プレイで倒した敵の種類や倒し方に応じて連続プレイ有効時間の増加時間、又は連続プレイ有効時間の減少を停止させる時間、又は連続プレイ有効時間の減少割合を所定の割合より小さい割合にする時間、又は連続プレイ有効時間の減少割合を変化させるようにしてもよい。
連続プレイ有効時間増減制御処理部212は、ゲーム中に所定のゲーム一時停止イベントが発生した場合、ゲームが再開するまで連続プレイ有効時間の減少処理を停止させるようにしてもよい。
連続成功回数カウント処理部214は、前記所定のコンボ対象プレイの連続成功回数をカウントする処理を行う。
コンボゲージ表示制御処理部215は、連続プレイ有効時間の増減を示すためにゲーム画像の一部に表示するコンボゲージの表示制御を行う。コンボゲージ表示制御処理部215は、前記連続プレイ有効時間増減制御処理部による連続プレイ有効時間の増減を反映させたコンボゲージの表示制御を行う。
コンボゲージ表示制御処理部215は、前記連続プレイ有効時間増減制御処理部による連続プレイ有効時間の増減又は減少の停止又は減少割合の変更を反映させたコンボゲージの表示制御を行うようにしてもよい。
コンボゲージ表示制御処理部215は、前記連続プレイ有効時間増減制御処理部による連続プレイ有効時間の増減又は減少の停止又は減少割合の変更又は減少割合変更時間の変更を反映させたコンボゲージの表示制御を行うようにしてもよ
コンボゲージ表示制御処理部215は、ゲーム中に所定のゲーム一時停止イベントが発生した場合、ゲームが再開するまでコンボゲージの減少表示を中止するようにしてもよい。
コンボゲージ表示制御処理部215は、連続プレイ有効時間の長さに応じて色の異なるコンボゲージを表示するようにしてもよい。
コンボゲージ表示制御処理部215は、連続プレイ有効時間の長さに応じてコンボゲージの色を変化させるようにしてもよい。
得点演算処理部216は、前記所定のコンボ対象プレイの連続成功回数に基づき、ゲームの得点演算を行う。
キャラクタ制御処理217は、所定のコンボ対象プレイの連続成功回数に基づき、ゲームキャラクタ(プレーヤキャラクタや敵キャラクタ等)のパラメータ、数、種類の少なくとも1つを変化させてキャラクタの表示制御を行う。
ゲーム演出処理部219は、前記所定のコンボ対象プレイの連続成功回数に基づき、ゲームの画像、音、演出のための周辺機器へ出力の少なくとも1つを変化させてゲーム演出を行う。
なお、本実施形態のゲームシステムは、1人のプレーヤのみがプレイできるシングルプレーヤモード専用のシステムにしてもよいし、複数のプレーヤがプレイできるマルチプレーヤモードも備えるシステムにしてもよい。また複数のプレーヤがプレイする場合に、これらの複数のプレーヤに提供するゲーム画像やゲーム音を、1つの端末を用いて生成してもよいし、ネットワーク(伝送ライン、通信回線)などで接続された複数の端末(ゲーム機、携帯電話)を用いて分散処理により生成してもよい。
2.本実施形態の特徴と処理
次に本実施形態の手法について図面を用いて説明する。
図2は、本実施の形態のゲーム画面の一例である。
本実施の形態は、プレーヤの操作入力により動作するプレーヤキャラクタ250がゲーム空間(仮想3次元空間)内の敵260をシューティングすることにより得点を得るゲームである。
ゲーム画面の一部に210は得点、220はコンボ数、コンボゲージ230が表示される。
コンボ数220は、所定の敵を連続して倒した数(所定のコンボ対象プレイの連続成功回数)であり、コンボゲージ230は連続プレイ有効時間の増減を示すためのゲージである。
本実施の形態では、所定の敵を倒した(コンボ対象プレイが成功した)直後から規定時間(連続プレイ有効時間、例えば5秒)のカウントダウン(コンボゲージ230として画面に表示)が始まり、その連続プレイ有効時間内で(コンボゲージ内、すなわちコンボゲージが0になる前に)次に所定の敵を倒す(コンボ対象プレイが成功した)と、コンボとして計測されコンボ数220がカウントアップ表示される。また連続プレイ有効時間は規定秒追加され、追加に応じてコンボゲージ230が伸び、伸びた時間から再びカウントダウンが始まる。
また連続プレイ有効時間内で(コンボゲージ内、すなわちコンボゲージが0になる前に)次に所定の敵を倒す(コンボ対象プレイが成功した)ことができないと、コンボ数220は所定の値(ここでは0)にリセットされる。
ここで、追加される連続プレイ有効時間(コンボ時間)は、常に一定の値でも
よいし、現在のコンボ数に応じて決定するようにしてもよい。
また得点210は、所定のコンボ対象プレイの連続成功回数(コンボ数)に応じて演算される。
図3(A)は、本実施の形態におけるコンボ対象プレイの連続成功回数(コンボ数)と連続プレイ有効時間(コンボゲージ)の関係について説明するための図である。
同図はコンボ数310と、そのコンボ数の時に追加される連続プレイ有効時間(コンボゲージ)320の対応テーブル(コンボゲージテーブル)300である。連続プレイ有効時間(コンボゲージ)の追加は、コンボ数が1〜5の場合に最大時の5秒が追加され(330参照)、その後5コンボ毎に0.5秒単位で減少し(340参照)、最小時で3秒追加(350参照)される。
ここではコンボ数310が多くなるほど追加される連続プレイ有効時間(コンボゲージ)320が少なくなるようにが設定されている。このようにすることにより、連続して倒した敵が多くなるほど難易度が高くすることができる。従ってプレーヤのゲームへの集中度をより高める事ができる。
なおコンボ対象プレイの連続成功回数(コンボ数)に応じて連続プレイ有効時間の増加時間を変化させる場合に限られず、連続プレイ有効時間の減少を停止させる時間、又は連続プレイ有効時間の減少割合を所定の割合より小さい割合にする時間、又は連続プレイ有効時間の減少割合を変化させるように構成することもできる。
またコンボ対象プレイで成功したプレイの種類やコンボ対象プレイで倒した敵の種類や倒し方に応じて連続プレイ有効時間の増加時間、又は連続プレイ有効時間の減少を停止させる時間、又は連続プレイ有効時間の減少割合を所定の割合より小さい割合にする時間、又は連続プレイ有効時間の減少割合を変化させるようにしてもよい。
図3(B)は、本実施の形態におけるコンボ対象プレイの連続成功回数(コンボ数)と得点の関係について説明するための図である。
同図はコンボ数370と、そのコンボ数の時に倒した敵に対する獲得スコア380の対応テーブル(スコアテーブル)360である。敵を倒したことによる獲得スコア380は、倒した時のコンボ数70に応じた係数(例えばコンボ数が1〜5の時は1,コンボ数が6〜10時は2、・・・)と倒した敵の基本スコアの乗算によって求める。ここではコンボ数370が多くなるほど獲得スコア380が高くなるようにが設定されている。このようにすることにより、連続して倒した敵が多くなるほど獲得スコアの増加率が高くなる。従ってプレーヤの時間制限付きボーナス得獲得への期待度をより高める事ができる。
図4(A)(B)は、本実施の形態のコンボゲージの表示制御について説明するための図である。
図4(A)は、連続プレイ有効時間の長さに応じて色の異なるコンボゲージを表示する例を示している。
コンボゲージ410は、連続プレイ有効時間が3秒の時に表示されるコンボゲージであり、400−1、400−2、400−3の3個のコンボゲージパーツで構成されている。
コンボゲージ420は、連続プレイ有効時間が5秒の時に表示されるコンボゲージであり、400−1、410−2、・・・、410−5の5個のコンボゲージパーツで構成されている。
コンボゲージ430は、連続プレイ有効時間が10秒の時に表示されるコンボゲージであり、400−1、400−2、・・・、400−10の10個のコンボゲージパーツで構成されている。
このように図4(A)のケースは、コンボゲージが1秒単位のコンボゲージパーツ400−1、400−2、・・・、400−10の集合として表示されており、連続プレイ有効時間が増減によってコンボゲージパーツ400−1、400−2、・・・、400−10の数が増減する。
ここで1秒単位のコンボゲージパーツ400−1、400−2、・・・、400−10は、それぞれ異なる色で構成されている。具体的には、コンボゲージパーツは1秒に近いほど赤(コンボゲージパーツ400−1は赤)に近い色になり、
10秒に近いほど青(コンボゲージパーツ400−10は青)に近い色になり、その間のコンボゲージ400−2〜400−9の色は赤〜青の中間色が段階的に設定されている。
このように連続プレイ有効時間が短くなるにつれ、青いほうのコンボゲージパーツから赤いほうのコンボゲージパーツにむけて、順番にコンボゲージパーツを非表示にしていく。したがってコンボゲージを構成するコンボゲージパーツの数が減少して、青のコンボゲージからきえて赤いコンボゲージだけが残ることになる。連続プレイ中のプレーヤはシューティングに集中しているので、画面上に表示されたゲーム情報をゆっくり見ることができないが、本実施の形態ではプレーヤは、コンボゲージの色で視覚的に瞬時に連続プレイ有効時間を把握することが可能となる。
図4(B)は、連続プレイ有効時間の長さに応じてコンボゲージの色を変化させる例を示している。
コンボゲージ440は、連続プレイ有効時間が3秒の時に表示されるコンボゲージであり、赤色で表示されている。
コンボゲージ450は、連続プレイ有効時間が5秒の時に表示されるコンボゲージであり、黄色で表示されている。
コンボゲージ460は、連続プレイ有効時間が10秒の時に表示されるコンボゲージであり、青で表示されている。
このように図4(B)のケースは、連続プレイ有効時間が増減によってコンボゲージの長さ及び色が変化する。
このように、連続プレイ有効時間が短くなるにつれ、コンボゲージの長さを短くし、色を赤から青に段階的に変化させる。
連続プレイ中のプレーヤはシューティングに集中しているので、画面上に表示されたゲーム情報をゆっくり見ることができないが、本実施の形態ではプレーヤは、コンボゲージの色で視覚的に瞬時に連続プレイ有効時間を把握することが可能となる。
図5〜図8は本実施の形態のコンボゲージの表示制御について説明するための図である。
図5は、所定の敵を倒す(コンボ対象プレイが成功した)前のゲーム画像であり、この時点ではスコア210は0、コンボ数も0である。そして連続プレイ有効時間は0であるためコンボゲージはまた表示されていない。
図6は所定の敵を倒した(コンボ対象プレイが成功した)直後のゲーム画像である。
ここで規定時間(連続プレイ有効時間、例えば5秒)のカウントダウンが始まりコンボゲージ230として画面に表示される。コンボゲージは連続プレイ有効時間に対応した数の複数のコンボゲージパーツが下方向に伸びる方式で表示され、カウントダウンにより時間と共にコンボゲージパーツが下の方から順に非表示となっていく。
またスコア210には、敵を倒した事による得点が加算される。
また本実施の形態では連続プレイ有効時間内に倒した敵に数をコンボ数として寒雲とする構成なのでこの時点ではまたコンボ数は0である。
図7はコンボゲージが消える前に次の所定の敵(2番目に倒した敵だが、連続プレイ有効時間になおした最初の敵となる)をたおすことができた場合のゲーム画像である。
連続プレイ有効時間に次の所定の的をたおすことができたので、連続プレイ有効時間に所定時間が追加されコンボケージ220が下に伸びる。またコンボ数220が1となる(この継続状態を1コンボ)という。コンボ継続中に敵を倒しているので通常よりもスコア210に高得点が加算される。
図8は連続プレイ有効時間に所定の敵を倒し続けた場合のゲーム画像である。
コンボ数220は16となっており、これは連続プレイ有効時間内(コンボゲージが0になる前)に連続して所定の敵を16だけ倒していることを示している。連続プレイ有効時間内(コンボゲージが0になる前)であれば、所定の敵を倒す毎にコンボは継続され、高得点を得ることができる。
図9は本実施の処理の流れを示すフローチャート図である。
ゲームが終了するまで以下のステップS20〜S110の処理を繰り返す。
まず所定の敵を倒したか否か判断し、倒した場合には以下のステップS30〜S110の処理を行う。
倒した敵が1匹めの敵である場合には連続プレイ有効時間(コンボゲージ)を初期化し連続プレイ有効時間(コンボゲージ)の動作(カウントダウン)を開始する(ステップS30、S40)。
また1匹めの敵でない場合には残っているか(コンボゲージが0でないか)を判断する(ステップS50)。
1匹めの敵である場合又は連続プレイ有効時間(コンボゲージ)に倒した2匹め以降の的である場合には、コンボ数を加算する(ステップS60)。なお2匹目以降の敵からコンボ数として加算する場合には、コンボ数の初期値に−1をセットしておくようにしてもよいし、1匹めの敵である場合にはステップS60の処理をスキップするようにしてもよい。
次にコンボ数に応じたコンボ追加時間を連続プレイ有効時間(コンボゲージ)に加算する(ステップS70)。コンボ数に応じたコンボ追加時間は例えば図3(A)に示すテーブルを予め記憶させておき、テーブルからコンボ数に対応したコンボ追加時間を読み出すようにしてもよい。
次にコンボ数に応じて得点の加算率を変動させ、スコアを計算する(ステップS80)。コンボ数に応じた得点の加算は、例えば図3(B)に示すテーブルを予め記憶させておき、テーブルからコンボ数に対応した獲得スコアを読み出すようにしてもよい。
また2匹め以降の敵をたおした時にコンボ継続時間が残っていない場合には、連続プレイ有効時間が切れた(コンボが切れた)演出画像を生成し画面に出力する(ステップS50、S90)。
そしてコンボゲージを0として初期化する。
そしてコンボ数と連続プレイ有効時間を示すコンボゲージと得点を画面に表示する(ステップS110)。
3.ハードウェア構成
図10に本実施形態を実現できるハードウェア構成の例を示す。メインプロセッサ900は、CD982(情報記憶媒体)に格納されたプログラム、通信インターフェース990を介してダウンロードされたプログラム、或いはROM950に格納されたプログラムなどに基づき動作し、ゲーム処理、画像処理、音処理などを実行する。コプロセッサ902は、メインプロセッサ900の処理を補助するものであり、マトリクス演算(ベクトル演算)を高速に実行する。例えばオブジェクトを移動させたり動作(モーション)させる物理シミュレーションに、マトリクス演算処理が必要な場合には、メインプロセッサ900上で動作するプログラムが、その処理をコプロセッサ902に指示(依頼)する。
ジオメトリプロセッサ904は、メインプロセッサ900上で動作するプログラムからの指示に基づいて、座標変換、透視変換、光源計算、曲面生成などのジオメトリ処理を行うものであり、マトリクス演算を高速に実行する。データ伸張プロセッサ906は、圧縮された画像データや音データのデコード処理を行ったり、メインプロセッサ900のデコード処理をアクセレートする。これにより、オープニング画面やゲーム画面において、MPEG方式等で圧縮された動画像を表示できる。
描画プロセッサ910は、ポリゴンや曲面などのプリミティブ面で構成されるオブジェクトの描画(レンダリング)処理を実行する。オブジェクトの描画の際には、メインプロセッサ900は、DMAコントローラ970を利用して、描画データを描画プロセッサ910に渡すと共に、必要であればテクスチャ記憶部924にテクスチャを転送する。すると描画プロセッサ910は、描画データやテクスチャに基づいて、Zバッファなどを利用した隠面消去を行いながら、オブジェクトをフレームバッファ922に描画する。また描画プロセッサ910は、αブレンディング(半透明処理)、デプスキューイング、ミップマッピング、フォグ処理、バイリニア・フィルタリング、トライリニア・フィルタリング、アンチエリアシング、シェーディング処理なども行う。1フレーム分の画像がフレームバッファ922に書き込まれるとその画像はディスプレイ912に表示される。
サウンドプロセッサ930は、多チャンネルのADPCM音源などを内蔵し、BGM、効果音、音声などのゲーム音を生成し、スピーカ932を介して出力する。ゲームコントローラ942やメモリカード944からのデータはシリアルインターフェース940を介して入力される。
ROM950にはシステムプログラムなどが格納される。業務用ゲームシステムの場合にはROM950が情報記憶媒体として機能し、ROM950に各種プログラムが格納される。なおROM950の代わりにハードディスクを利用してもよい。RAM960は各種プロセッサの作業領域となる。DMAコントローラ970は、プロセッサ、メモリ間でのDMA転送を制御する。CDドライブ980は、プログラム、画像データ、或いは音データなどが格納されるCD982にアクセスする。通信インターフェース990はネットワーク(通信回線、高速シリアルバス)を介して外部との間でデータ転送を行う。
なお本実施形態の各部(各手段)の処理は、その全てをハードウェアのみにより実現してもよいし、情報記憶媒体に格納されるプログラムや通信インターフェースを介して配信されるプログラムにより実現してもよい。或いは、ハードウェアとプログラムの両方により実現してもよい。
そして本実施形態の各部の処理をハードウェアとプログラムの両方により実現する場合には、情報記憶媒体には、ハードウェア(コンピュータ)を本実施形態の各部として機能させるためのプログラムが格納される。より具体的には、上記プログラムが、ハードウェアである各プロセッサ902、904、906、910、930に処理を指示すると共に、必要であればデータを渡す。そして、各プロセッサ902、904、906、910、930は、その指示と渡されたデータとに基づいて本発明の各部の処理を実現する。
なお本発明は、上記実施形態で説明したものに限らず、種々の変形実施が可能である。
また、本発明のうち従属請求項に係る発明においては、従属先の請求項の構成要件の一部を省略する構成とすることもできる。また、本発明の1の独立請求項に係る発明の要部を、他の独立請求項に従属させることもできる。
例えば上記実施の形態では、シューティングゲームを例にとり説明したがそれに限られない。
例えばクイズゲームでは、所定の問題に正解した(コンボ対象プレイが成功した)直後から規定時間(連続プレイ有効時間、例えば5秒)のカウントダウン(コンボゲージとして画面に表示)が始まり、その連続プレイ有効時間内で(コンボゲージ内、すなわちコンボゲージが0になる前に)次に所定の問題に正解する(コンボ対象プレイが成功した)と、コンボとして計測されコンボ数がカウントアップ表示される。また連続プレイ有効時間は規定秒追加され、追加に応じてコンボゲージが伸び、伸びた時間から再びカウントダウンが始まる。
また連続プレイ有効時間内で(コンボゲージ内、すなわちコンボゲージが0になる前に)次に所定の問題に正解(コンボ対象プレイが成功した)ことができないと、コンボ数は所定の値(ここでは0)にリセットされるようにしてもよい。
また例えばパズルゲーム(例えばパーツを組み合わせるタイプのパズルゲーム)では、所定のパーツの接続に成功した(コンボ対象プレイが成功した)直後から規定時間(連続プレイ有効時間、例えば5秒)のカウントダウン(コンボゲージとして画面に表示)が始まり、その連続プレイ有効時間内で(コンボゲージ内、すなわちコンボゲージが0になる前に)次に所定のパーツの接続に成功する(コンボ対象プレイが成功した)と、コンボとして計測されコンボ数がカウントアップ表示される。また連続プレイ有効時間は規定秒追加され、追加に応じてコンボゲージが伸び、伸びた時間から再びカウントダウンが始まる。
また連続プレイ有効時間内で(コンボゲージ内、すなわちコンボゲージが0になる前に)次に所定の問題に正解(コンボ対象プレイが成功した)ことができないと、コンボ数は所定の値(ここでは0)にリセットされるようにしてもよい。
また例えばスポーツ(例えばサッカー等のパスを行うスポーツゲーム)では、所定のパスに成功した(コンボ対象プレイが成功した)直後から規定時間(連続プレイ有効時間、例えば5秒)のカウントダウン(コンボゲージとして画面に表示)が始まり、その連続プレイ有効時間内で(コンボゲージ内、すなわちコンボゲージが0になる前に)次のパスに成功する(コンボ対象プレイが成功した)と、コンボとして計測されコンボ数がカウントアップ表示される。また連続プレイ有効時間は規定秒追加され、追加に応じてコンボゲージが伸び、伸びた時間から再びカウントダウンが始まる。
また連続プレイ有効時間内で(コンボゲージ内、すなわちコンボゲージが0になる前に)次に所定の問題に正解(コンボ対象プレイが成功した)ことができないと、コンボ数は所定の値(ここでは0)にリセットされるようにしてもよい。
また例えばレーススポーツでは、所定の追い越しに成功した(コンボ対象プレイが成功した)直後から規定時間(連続プレイ有効時間、例えば5秒)のカウントダウン(コンボゲージとして画面に表示)が始まり、その連続プレイ有効時間内で(コンボゲージ内、すなわちコンボゲージが0になる前に)次の追い越しに成功する(コンボ対象プレイが成功した)と、コンボとして計測されコンボ数がカウントアップ表示される。また連続プレイ有効時間は規定秒追加され、追加に応じてコンボゲージが伸び、伸びた時間から再びカウントダウンが始まる。
また連続プレイ有効時間内で(コンボゲージ内、すなわちコンボゲージが0になる前に)次に所定の問題に正解(コンボ対象プレイが成功した)ことができないと、コンボ数は所定の値(ここでは0)にリセットされるようにしてもよい。
また本発明は、業務用ゲームシステム、家庭用ゲームシステム、多数のプレーヤが参加する大型アトラクションシステム、シミュレータ、マルチメディア端末、携帯電話等の種々のゲームシステム(画像生成システム)に適用できる。
本実施形態のゲームシステムの機能ブロック図の例である。 本実施の形態のゲーム画面の一例である。 図3(A)は、本実施の形態におけるコンボ対象プレイの連続成功回数(コンボ数)と連続プレイ有効時間(コンボゲージ)の関係について説明するための図であり、図3(B)は、本実施の形態におけるコンボ対象プレイの連続成功回数(コンボ数)と得点の関係について説明するための図である。 図4(A)(B)は、本実施の形態のコンボゲージの表示制御について説明するための図である。 本実施の形態のコンボゲージの表示制御について説明するための図である。 本実施の形態のコンボゲージの表示制御について説明するための図である。 本実施の形態のコンボゲージの表示制御について説明するための図である。 本実施の形態のコンボゲージの表示制御について説明するための図である。 本実施の処理の流れを示すフローチャート図である。 本実施形態を実現できるハードウェア構成の例を示す。
符号の説明
100 処理部、110 オブジェクト空間設定部、112 移動・動作処理部、
114 仮想カメラ制御部、116 描画部、120 コンボ対象プレイ成功チェック処理部、122 連続プレイ有効時間増減制御処理部、124 連続成功回数カウント処理部、125 コンボゲージ表示制御処理部、126 得点演算処理部、127 キャラクタ制御処理、129 ゲーム演出処理部、130 音生成部、160 操作部、170 記憶部、172 描画バッファ、174 テクスチャ記憶部、180 情報記憶媒体、190 表示部、192 音出力部、194 携帯型情報記憶装置、196 通信部

Claims (13)

  1. 操作部からの入力情報に基づきゲーム処理を行いゲーム画像を生成して表示部に出力するゲームシステムの制御をおこなうプログラムであって、
    前記操作部からの入力情報に基づき所定のコンボ対象プレイが成功か否かを判断するコンボ対象プレイ成功チェック処理部と、
    コンボ対象プレイ成功チェック処理結果に基づき、連続プレイ有効時間の増減制御を行う連続プレイ有効時間増減制御処理部と、
    前記所定のコンボ対象プレイの連続成功回数をカウントする連続成功回数カウント処理部と、
    前記連続プレイ有効時間の増減を示すためにゲーム画像の一部に表示するコンボゲージの表示制御を行うコンボゲージ表示制御処理部と、
    前記所定のコンボ対象プレイの連続成功回数に基づき、ゲームの得点演算を行う得点演算処理部としてコンピュータを機能させ、
    連続プレイ有効時間増減制御処理部は、
    連続プレイ有効時間でない時にコンボ対象プレイが成功した場合には、連続プレイ有効時間を初期化し、
    時間と共に連続プレイ有効時間を所定の割合で減少させ、
    連続プレイ有効時間内にコンボ対象プレイが成功した場合には、連続プレイ有効時間を増加させる処理又は連続プレイ有効時間の減少を所定期間停止させる処理又は連続プレイ有効時間の減少割合を所定期間前記所定の割合より小さい割合にする処理を行い、
    前記コンボゲージ表示制御処理部は、
    前記連続プレイ有効時間増減制御処理部による連続プレイ有効時間の増減を反映させたコンボゲージの表示制御を行うことを特徴とするプログラム。
  2. 操作部からの入力情報に基づきゲーム処理を行いゲーム画像を生成して表示部に出力するゲームシステムの制御をおこなうプログラムであって、
    前記操作部からの入力情報に基づき所定のコンボ対象プレイが成功か否かを判断するコンボ対象プレイ成功チェック処理部と、
    コンボ対象プレイ成功チェック処理結果に基づき、連続プレイ有効時間の増減制御を行う連続プレイ有効時間増減制御処理部と、
    前記所定のコンボ対象プレイの連続成功回数をカウントする連続成功回数カウント処理部と、
    前記連続プレイ有効時間の増減を示すためにゲーム画像の一部に表示するコンボゲージの表示制御を行うコンボゲージ表示制御処理部と、
    前記所定のコンボ対象プレイの連続成功回数に基づき、ゲームキャラクタのパラメータ、数、種類の少なくとも1つを変化させてキャラクタの表示制御を行うキャラクタ制御処理部と、してコンピュータを機能させ、
    連続プレイ有効時間増減制御処理部は、
    連続プレイ有効時間でない時にコンボ対象プレイが成功した場合には、連続プレイ有効時間を初期化し、
    時間と共に連続プレイ有効時間を所定の割合で減少させ、
    連続プレイ有効時間内にコンボ対象プレイが成功した場合には、連続プレイ有効時間を増加させる処理又は連続プレイ有効時間の減少を所定期間停止させる処理又は連続プレイ有効時間の減少割合を所定期間前記所定の割合より小さい割合にする処理を行い、
    前記コンボゲージ表示制御処理部は、
    前記連続プレイ有効時間増減制御処理部による連続プレイ有効時間の増減を反映させたコンボゲージの表示制御を行うことを特徴とするプログラム。
  3. 操作部からの入力情報に基づきゲーム処理を行いゲーム画像を生成して表示部に出力するゲームシステムの制御をおこなうプログラムであって、
    前記操作部からの入力情報に基づき所定のコンボ対象プレイが成功か否かを判断するコンボ対象プレイ成功チェック処理部と、
    コンボ対象プレイ成功チェック処理結果に基づき、連続プレイ有効時間の増減制御を行う連続プレイ有効時間増減制御処理部と、
    前記所定のコンボ対象プレイの連続成功回数をカウントする連続成功回数カウント処理部と、
    前記連続プレイ有効時間の増減を示すためにゲーム画像の一部に表示するコンボゲージの表示制御を行うコンボゲージ表示制御処理部と、
    前記所定のコンボ対象プレイの連続成功回数に基づき、ゲームの画像、音、演出のための周辺機器へ出力の少なくとも1つを変化させてゲーム演出を行うゲーム演出処理部としてコンピュータを機能させ、
    連続プレイ有効時間増減制御処理部は、
    連続プレイ有効時間でない時にコンボ対象プレイが成功した場合には、連続プレイ有効時間を初期化し、
    時間と共に連続プレイ有効時間を所定の割合で減少させ、
    連続プレイ有効時間内にコンボ対象プレイが成功した場合には、連続プレイ有効時間を増加させる処理又は連続プレイ有効時間の減少を所定期間停止させる処理又は連続プレイ有効時間の減少割合を所定期間前記所定の割合より小さい割合にする処理を行い、
    前記コンボゲージ表示制御処理部は、
    前記連続プレイ有効時間増減制御処理部による連続プレイ有効時間の増減を反映させたコンボゲージの表示制御を行うことを特徴とするプログラム。
  4. 請求項1乃至3のいずれかにおいて、
    前記連続プレイ有効時間増減制御処理部は、
    コンボゲージが表示されていない時にコンボ対象プレイが成功した場合には、連続プレイ有効時間を初期化することを特徴とするプログラム。
  5. 請求項1乃至4のいずれかにおいて、
    前記連続プレイ有効時間増減制御処理部は、
    コンボ対象プレイの連続成功回数に応じて連続プレイ有効時間の増加時間、又は連続プレイ有効時間の減少を停止させる時間、又は連続プレイ有効時間の減少割合を所定の割合より小さい割合にする時間、又は連続プレイ有効時間の減少割合を変化させ、
    前記コンボゲージ表示制御処理部は、
    前記連続プレイ有効時間増減制御処理部による連続プレイ有効時間の増減又は減少の停止又は減少割合の変更を反映させたコンボゲージの表示制御を行うことを特徴とするプログラム。
  6. 請求項1乃至5のいずれかにおいて、
    前記連続プレイ有効時間増減制御処理部は、
    コンボ対象プレイで成功したプレイの種類やコンボ対象プレイで倒した敵の種類や倒し方に応じて連続プレイ有効時間の増加時間、又は連続プレイ有効時間の減少を停止させる時間、又は連続プレイ有効時間の減少割合を所定の割合より小さい割合にする時間、又は連続プレイ有効時間の減少割合を変化させ、
    前記コンボゲージ表示制御処理部は、
    前記連続プレイ有効時間増減制御処理部による連続プレイ有効時間の増減又は減少の停止又は減少割合の変更又は減少割合変更時間の変更を反映させたコンボゲージの表示制御を行うことを特徴とするプログラム。
  7. 請求項1乃至6のいずれかにおいて、
    前記連続プレイ有効時間増減制御処理部は、
    ゲーム中に所定のゲーム一時停止イベントが発生した場合、ゲームが再開するまで連続プレイ有効時間の減少処理を停止させ、
    前記コンボゲージ表示制御処理部は、
    ゲーム中に所定のゲーム一時停止イベントが発生した場合、ゲームが再開するまでコンボゲージの減少表示を中止することを特徴とするプログラム。
  8. 請求項1乃至7のいずれかにおいて、
    前記コンボゲージ表示制御処理部は、
    連続プレイ有効時間の長さに応じてコンボゲージの色を変化させることを特徴とするプログラム。
  9. コンピュータ読み取り可能な情報記憶媒体であって、請求項1乃至8のいずれかのプログラムを記憶したことを特徴とする情報記憶媒体。
  10. 操作部からの入力情報に基づきゲーム処理を行いゲーム画像を生成して表示部に出力するゲームシステムであって、
    前記操作部からの入力情報に基づき所定のコンボ対象プレイが成功か否かを判断するコンボ対象プレイ成功チェック処理部と、
    コンボ対象プレイ成功チェック処理結果に基づき、連続プレイ有効時間の増減制御を行う連続プレイ有効時間増減制御処理部と、
    前記所定のコンボ対象プレイの連続成功回数をカウントする連続成功回数カウント処理部と、
    前記連続プレイ有効時間の増減を示すためにゲーム画像の一部に表示するコンボゲージの表示制御を行うコンボゲージ表示制御処理部と、
    前記所定のコンボ対象プレイの連続成功回数に基づき、ゲームの得点演算を行う得点演算処理部とを含み、
    連続プレイ有効時間増減制御処理部は、
    連続プレイ有効時間でない時にコンボ対象プレイが成功した場合には、連続プレイ有効時間を初期化し、
    時間と共に連続プレイ有効時間を所定の割合で減少させ、
    連続プレイ有効時間内にコンボ対象プレイが成功した場合には、連続プレイ有効時間を増加させる処理又は連続プレイ有効時間の減少を所定期間停止させる処理又は連続プレイ有効時間の減少割合を所定期間前記所定の割合より小さい割合にする処理を行い、
    前記コンボゲージ表示制御処理部は、
    前記連続プレイ有効時間増減制御処理部による連続プレイ有効時間の増減を反映させたコンボゲージの表示制御を行うことを特徴とするゲームシステム。
  11. 操作部からの入力情報に基づきゲーム処理を行いゲーム画像を生成して表示部に出力するゲームシステムであって、
    前記操作部からの入力情報に基づき所定のコンボ対象プレイが成功か否かを判断するコンボ対象プレイ成功チェック処理部と、
    コンボ対象プレイ成功チェック処理結果に基づき、連続プレイ有効時間の増減制御を行う連続プレイ有効時間増減制御処理部と、
    前記所定のコンボ対象プレイの連続成功回数をカウントする連続成功回数カウント処理部と、
    前記連続プレイ有効時間の増減を示すためにゲーム画像の一部に表示するコンボゲージの表示制御を行うコンボゲージ表示制御処理部と、
    前記所定のコンボ対象プレイの連続成功回数に基づき、ゲームキャラクタのパラメータ、数、種類の少なくとも1つを変化させてキャラクタの表示制御を行うキャラクタ制御処理部とを含み
    連続プレイ有効時間増減制御処理部は、
    連続プレイ有効時間でない時にコンボ対象プレイが成功した場合には、連続プレイ有効時間を初期化し、
    時間と共に連続プレイ有効時間を所定の割合で減少させ、
    連続プレイ有効時間内にコンボ対象プレイが成功した場合には、連続プレイ有効時間を増加させる処理又は連続プレイ有効時間の減少を所定期間停止させる処理又は連続プレイ有効時間の減少割合を所定期間前記所定の割合より小さい割合にする処理を行い、
    前記コンボゲージ表示制御処理部は、
    前記連続プレイ有効時間増減制御処理部による連続プレイ有効時間の増減を反映させたコンボゲージの表示制御を行うことを特徴とするゲームシステム。
  12. 操作部からの入力情報に基づきゲーム処理を行いゲーム画像を生成して表示部に出力するゲームシステムであって、
    前記操作部からの入力情報に基づき所定のコンボ対象プレイが成功か否かを判断するコンボ対象プレイ成功チェック処理部と、
    コンボ対象プレイ成功チェック処理結果に基づき、連続プレイ有効時間の増減制御を行う連続プレイ有効時間増減制御処理部と、
    前記所定のコンボ対象プレイの連続成功回数をカウントする連続成功回数カウント処理部と、
    前記連続プレイ有効時間の増減を示すためにゲーム画像の一部に表示するコンボゲージの表示制御を行うコンボゲージ表示制御処理部と、
    前記所定のコンボ対象プレイの連続成功回数に基づき、ゲームの画像、音、演出のための周辺機器へ出力の少なくとも1つを変化させてゲーム演出を行うゲーム演出処理部とを含み、
    連続プレイ有効時間増減制御処理部は、
    連続プレイ有効時間でない時にコンボ対象プレイが成功した場合には、連続プレイ有効時間を初期化し、
    時間と共に連続プレイ有効時間を所定の割合で減少させ、
    連続プレイ有効時間内にコンボ対象プレイが成功した場合には、連続プレイ有効時間を増加させる処理又は連続プレイ有効時間の減少を所定期間停止させる処理又は連続プレイ有効時間の減少割合を所定期間前記所定の割合より小さい割合にする処理を行い、
    前記コンボゲージ表示制御処理部は、
    前記連続プレイ有効時間増減制御処理部による連続プレイ有効時間の増減を反映させたコンボゲージの表示制御を行うことを特徴とするゲームシステム。
  13. 請求項10乃至12のいずれかにおいて、
    前記連続プレイ有効時間増減制御処理部は、
    コンボゲージが表示されていない時にコンボ対象プレイが成功した場合には、連続プレイ有効時間を初期化することを特徴とするゲームシステム
JP2004140110A 2004-05-10 2004-05-10 プログラム、情報記憶媒体、及びゲームシステム Expired - Lifetime JP4508719B2 (ja)

Priority Applications (1)

Application Number Priority Date Filing Date Title
JP2004140110A JP4508719B2 (ja) 2004-05-10 2004-05-10 プログラム、情報記憶媒体、及びゲームシステム

Applications Claiming Priority (1)

Application Number Priority Date Filing Date Title
JP2004140110A JP4508719B2 (ja) 2004-05-10 2004-05-10 プログラム、情報記憶媒体、及びゲームシステム

Publications (2)

Publication Number Publication Date
JP2005319107A JP2005319107A (ja) 2005-11-17
JP4508719B2 true JP4508719B2 (ja) 2010-07-21

Family

ID=35466825

Family Applications (1)

Application Number Title Priority Date Filing Date
JP2004140110A Expired - Lifetime JP4508719B2 (ja) 2004-05-10 2004-05-10 プログラム、情報記憶媒体、及びゲームシステム

Country Status (1)

Country Link
JP (1) JP4508719B2 (ja)

Families Citing this family (10)

* Cited by examiner, † Cited by third party
Publication number Priority date Publication date Assignee Title
JP5231729B2 (ja) * 2006-10-11 2013-07-10 株式会社バンダイナムコゲームス プログラム、情報記憶媒体、及びサーバ装置
JP4653186B2 (ja) * 2008-01-31 2011-03-16 株式会社スクウェア・エニックス ビデオゲームプログラム及びビデオゲーム装置
JP4823343B2 (ja) * 2009-08-14 2011-11-24 株式会社ソニー・コンピュータエンタテインメント ゲーム制御プログラム、ゲーム装置、及びゲーム制御方法
JP5485330B2 (ja) 2012-04-27 2014-05-07 株式会社スクウェア・エニックス ビデオゲーム処理装置、およびビデオゲーム処理プログラム
JP6438230B2 (ja) * 2014-08-08 2018-12-12 株式会社バンダイナムコエンターテインメント プログラム、ゲーム装置及びゲームシステム
JP2016154862A (ja) * 2016-03-02 2016-09-01 グリー株式会社 対戦ゲームを提供する方法
JP6211667B1 (ja) * 2016-10-27 2017-10-11 株式会社 ディー・エヌ・エー ゲームを提供するためのシステム、方法、及びプログラム
JP2017064487A (ja) * 2017-01-13 2017-04-06 株式会社ソフイア 遊技機
JP2021168951A (ja) * 2018-08-17 2021-10-28 株式会社コロプラ ゲームプログラム
JP2023092898A (ja) * 2021-12-22 2023-07-04 株式会社コーエーテクモゲームス ゲームプログラム、記録媒体、ゲーム処理方法

Family Cites Families (5)

* Cited by examiner, † Cited by third party
Publication number Priority date Publication date Assignee Title
JP3031676B1 (ja) * 1998-07-14 2000-04-10 コナミ株式会社 ゲ―ムシステムおよびコンピュ―タ読み取り可能な記憶媒体
JP2001162050A (ja) * 1999-12-08 2001-06-19 Namco Ltd ゲーム装置、ゲーム得点設定方法および情報記憶媒体
JP4721384B2 (ja) * 2001-05-29 2011-07-13 株式会社バンダイナムコゲームス 画像生成システム、プログラム及び情報記憶媒体
JP2003062331A (ja) * 2001-08-23 2003-03-04 Sega Corp タイピングゲーム装置
JP3448043B2 (ja) * 2001-10-11 2003-09-16 コナミ株式会社 音楽ゲーム進行制御プログラム、音楽ゲーム進行制御方法及びビデオゲーム装置

Also Published As

Publication number Publication date
JP2005319107A (ja) 2005-11-17

Similar Documents

Publication Publication Date Title
US7922584B2 (en) Image generation method and information storage medium with program for video game in which operation of the controller beyond a predetermined angle causes a character to attack
US6544125B2 (en) Video game device, method and medium with program for character control based on measured moving time and position
JP3707995B2 (ja) ゲームシステム及び情報記憶媒体
JP2000308759A (ja) ビデオゲームのキャラクタを制御する方法、ビデオゲーム装置、及び記録媒体
JP2007300974A (ja) プログラム、情報記憶媒体及び画像生成システム
JP4508719B2 (ja) プログラム、情報記憶媒体、及びゲームシステム
JP4412715B2 (ja) プログラム、情報記憶媒体および画像生成システム
JP2009213559A (ja) ゲーム装置
JP3747050B1 (ja) プログラム、情報記憶媒体、及び画像生成システム
JP3686070B2 (ja) プログラム、情報記憶媒体、及び画像生成システム
JP2025065286A (ja) ゲームシステム、サーバシステム及びプログラム
JP3786670B1 (ja) プログラム、情報記憶媒体、及び画像生成システム
JP4721384B2 (ja) 画像生成システム、プログラム及び情報記憶媒体
JP4508918B2 (ja) 画像生成システム及び情報記憶媒体
JP2002092637A (ja) ゲームシステム及び情報記憶媒体
JP3786671B1 (ja) プログラム、情報記憶媒体、及び画像生成システム
JP4662271B2 (ja) プログラム、情報記憶媒体、及び画像生成システム
JP3686069B2 (ja) プログラム、情報記憶媒体、及び画像生成システム
JP2004303034A (ja) 画像生成システム、プログラム及び情報記憶媒体
US12257506B2 (en) Game system, server system, method of performing a game and method of providing information on a game
JP5054908B2 (ja) プログラム、情報記憶媒体、及び画像生成システム
JP4826923B2 (ja) ゲーム装置
JP2006263321A (ja) プログラム、情報記憶媒体、及び画像生成システム
JP2006318196A (ja) プログラム、情報記憶媒体及び画像生成システム
JP2003290514A (ja) 遊技機の制御装置、遊技機、制御プログラム及び情報記憶媒体

Legal Events

Date Code Title Description
A621 Written request for application examination

Free format text: JAPANESE INTERMEDIATE CODE: A621

Effective date: 20070417

A131 Notification of reasons for refusal

Free format text: JAPANESE INTERMEDIATE CODE: A131

Effective date: 20090520

A521 Request for written amendment filed

Free format text: JAPANESE INTERMEDIATE CODE: A523

Effective date: 20090721

A131 Notification of reasons for refusal

Free format text: JAPANESE INTERMEDIATE CODE: A131

Effective date: 20091125

A521 Request for written amendment filed

Free format text: JAPANESE INTERMEDIATE CODE: A523

Effective date: 20100115

TRDD Decision of grant or rejection written
A01 Written decision to grant a patent or to grant a registration (utility model)

Free format text: JAPANESE INTERMEDIATE CODE: A01

Effective date: 20100421

A01 Written decision to grant a patent or to grant a registration (utility model)

Free format text: JAPANESE INTERMEDIATE CODE: A01

A61 First payment of annual fees (during grant procedure)

Free format text: JAPANESE INTERMEDIATE CODE: A61

Effective date: 20100427

FPAY Renewal fee payment (event date is renewal date of database)

Free format text: PAYMENT UNTIL: 20130514

Year of fee payment: 3

R150 Certificate of patent or registration of utility model

Ref document number: 4508719

Country of ref document: JP

Free format text: JAPANESE INTERMEDIATE CODE: R150

Free format text: JAPANESE INTERMEDIATE CODE: R150

FPAY Renewal fee payment (event date is renewal date of database)

Free format text: PAYMENT UNTIL: 20130514

Year of fee payment: 3

FPAY Renewal fee payment (event date is renewal date of database)

Free format text: PAYMENT UNTIL: 20130514

Year of fee payment: 3

FPAY Renewal fee payment (event date is renewal date of database)

Free format text: PAYMENT UNTIL: 20140514

Year of fee payment: 4

R250 Receipt of annual fees

Free format text: JAPANESE INTERMEDIATE CODE: R250

R250 Receipt of annual fees

Free format text: JAPANESE INTERMEDIATE CODE: R250

R250 Receipt of annual fees

Free format text: JAPANESE INTERMEDIATE CODE: R250

S531 Written request for registration of change of domicile

Free format text: JAPANESE INTERMEDIATE CODE: R313531

S533 Written request for registration of change of name

Free format text: JAPANESE INTERMEDIATE CODE: R313533

R360 Written notification for declining of transfer of rights

Free format text: JAPANESE INTERMEDIATE CODE: R360

R250 Receipt of annual fees

Free format text: JAPANESE INTERMEDIATE CODE: R250

R360 Written notification for declining of transfer of rights

Free format text: JAPANESE INTERMEDIATE CODE: R360

R370 Written measure of declining of transfer procedure

Free format text: JAPANESE INTERMEDIATE CODE: R370

R350 Written notification of registration of transfer

Free format text: JAPANESE INTERMEDIATE CODE: R350

S531 Written request for registration of change of domicile

Free format text: JAPANESE INTERMEDIATE CODE: R313531

R350 Written notification of registration of transfer

Free format text: JAPANESE INTERMEDIATE CODE: R350

R250 Receipt of annual fees

Free format text: JAPANESE INTERMEDIATE CODE: R250

R250 Receipt of annual fees

Free format text: JAPANESE INTERMEDIATE CODE: R250

R250 Receipt of annual fees

Free format text: JAPANESE INTERMEDIATE CODE: R250

R250 Receipt of annual fees

Free format text: JAPANESE INTERMEDIATE CODE: R250

R250 Receipt of annual fees

Free format text: JAPANESE INTERMEDIATE CODE: R250

R250 Receipt of annual fees

Free format text: JAPANESE INTERMEDIATE CODE: R250

R250 Receipt of annual fees

Free format text: JAPANESE INTERMEDIATE CODE: R250

EXPY Cancellation because of completion of term