JP3686069B2 - プログラム、情報記憶媒体、及び画像生成システム - Google Patents

プログラム、情報記憶媒体、及び画像生成システム Download PDF

Info

Publication number
JP3686069B2
JP3686069B2 JP2004014934A JP2004014934A JP3686069B2 JP 3686069 B2 JP3686069 B2 JP 3686069B2 JP 2004014934 A JP2004014934 A JP 2004014934A JP 2004014934 A JP2004014934 A JP 2004014934A JP 3686069 B2 JP3686069 B2 JP 3686069B2
Authority
JP
Japan
Prior art keywords
cursor
hitting
axis direction
coordinate axis
point
Prior art date
Legal status (The legal status is an assumption and is not a legal conclusion. Google has not performed a legal analysis and makes no representation as to the accuracy of the status listed.)
Expired - Lifetime
Application number
JP2004014934A
Other languages
English (en)
Other versions
JP2005204946A (ja
Inventor
敦 塩沢
Current Assignee (The listed assignees may be inaccurate. Google has not performed a legal analysis and makes no representation or warranty as to the accuracy of the list.)
Kabushiki Kaisha Bandai Namco Entertainment (also trading as Bandai Namco Entertainment Inc.)
Namco Ltd
Original Assignee
Kabushiki Kaisha Bandai Namco Entertainment (also trading as Bandai Namco Entertainment Inc.)
Namco Ltd
Priority date (The priority date is an assumption and is not a legal conclusion. Google has not performed a legal analysis and makes no representation as to the accuracy of the date listed.)
Filing date
Publication date
Application filed by Kabushiki Kaisha Bandai Namco Entertainment (also trading as Bandai Namco Entertainment Inc.), Namco Ltd filed Critical Kabushiki Kaisha Bandai Namco Entertainment (also trading as Bandai Namco Entertainment Inc.)
Priority to JP2004014934A priority Critical patent/JP3686069B2/ja
Publication of JP2005204946A publication Critical patent/JP2005204946A/ja
Application granted granted Critical
Publication of JP3686069B2 publication Critical patent/JP3686069B2/ja
Anticipated expiration legal-status Critical
Expired - Lifetime legal-status Critical Current

Links

Images

Description

本発明は、プログラム、情報記憶媒体、及び画像生成システムに関する。
従来より、球技系のゲームを仮想的にプレイすることができる画像生成システムが知られている。野球ゲームを例にとれば、守備側のプレーヤ(コンピュータプレーヤも含む)が投手キャラクタを操作して、ボール(広義にはオブジェクト)を投げ、攻撃側のプレーヤが打者キャラクタを操作して、投げられたボールを打ってゲームを楽しむ。
このような画像生成システムにおいては、プレーヤが感じる仮想現実感を向上させるために、いわゆる3次元野球ゲームを実現できるものが主流になってきている。そして3次元野球ゲームにおいては、守備側のプレーヤが、操作部(ゲームコントローラ)を操作して、投球目標ポイントや球種や球速を設定し、投手キャラクタにボールを投げさせる。そして攻撃側のプレーヤが、操作部を操作して、バットのヒッティングポイントの位置と、ボールの着弾ポイントの位置との一致判定を行い、打撃が成功したか否か(ヒットなのか凡打なのか)を判定する。
しかしながら、従来の野球ゲームでは、攻撃側プレーヤは、左右方向であるX軸(第1の座標軸)方向のみならず、上下方向であるY軸(第2の座標軸)方向にも、バットのヒッティングポイントを移動させる必要があった。このため、ゲーム操作のインターフェースが、ゲーム操作を熟知していない初級プレーヤにとって難しいものとなり、初級プレーヤにゲームプレイを敬遠されてしまうという課題があった。
特開平10−302087号公報
本発明は、以上のような課題に鑑みてなされたものであり、その目的とするところは、操作インターフェース環境の向上を図れるプログラム、情報記憶媒体及び画像生成システムを提供することにある。
本発明は、画像を生成する画像生成システムであって、操作部により入力された操作データに基づいて、第1の座標軸方向に沿ってカーソルを移動させる制御を行うカーソル制御部と、オブジェクト空間においてオブジェクトを移動させる制御を行うオブジェクト制御部と、ヒッティングポイントの第1の座標軸方向での位置情報を、前記カーソルの第1の座標軸方向での位置情報に基づいて設定し、ヒッティングポイントの第2の座標軸方向での位置情報を、自動調整により設定し、前記ヒッティングポイントと前記オブジェクトとのヒット処理を行うヒット処理部と、前記オブジェクト及び前記カーソルの画像を含む画像を生成する画像生成部とを含み、前記ヒット処理部が、前記オブジェクトの第1の座標軸方向での位置情報により設定されるエリアに、前記カーソルが位置した時間のカウント処理を行い、得られたカウント時間に基づいて、前記ヒッティングポイントの第2の座標軸方向での位置情報を自動調整する画像生成システムに関係する。また本発明は、上記各部としてコンピュータを機能させるプログラムに関係する。また本発明は、コンピュータ読み取り可能な情報記憶媒体であって、上記各部としてコンピュータを機能させるプログラムを記憶(記録)した情報記憶媒体に関係する。
本発明によれば、ヒッティングポイント(仮想的なポイント)の第1の座標軸方向での位置情報(座標成分)については、カーソルの第1の座標軸方向での位置情報により設定され、ヒッティングポイントの第2の座標軸方向での位置情報(座標成分、ぶれ幅)については、自動設定される。具体的には、オブジェクトの位置情報により設定されるエリアに、カーソルが位置したカウント時間に応じて、ヒッティングポイントの第2の座標軸方向での位置情報が自動調整される。従ってプレーヤ(ユーザ)は、操作部を操作してカーソルを動かし、ヒッティングポイントの第1の座標軸方向での位置情報を設定するだけで済むため、操作を簡素化できる。また、ヒッティングポイントの第2の座標軸方向での位置情報は、エリアに位置したカウント時間に基づいて設定されるため、プレーヤに対して、ある程度の操作技量を要求できるようになり、好適な操作インターフェース環境を提供できる。なおカーソルがエリアに位置した時間は、実際に表示されるカーソルそのものがエリアに位置した時間のみならず、操作部からの操作データにより計算されるカーソルの位置データが、エリアに位置していると判断される時間であってもよい。またカーソルは常に表示している必要はなく、仮想的なカーソルであってもよい。またカーソルの表示のオン・オフを任意に切り替えるようにしてもよい。
また本発明に係る画像生成システム、プログラム及び情報記憶媒体では、前記ヒット処理部が、第1、第2の座標軸を含む面に対する前記オブジェクトの着弾ポイントを求め、前記カウント時間に基づいて、前記着弾ポイントに対する前記ヒッティングポイントの第2の座標軸方向でのぶれ幅を設定し、設定されたぶれ幅に基づいて、ヒット後のオブジェクトのヒッティング情報を設定するようにしてもよい。
このようにすれば、例えば、カウント時間が短い場合にはぶれ幅を大きくし、カウント時間が長い場合にはぶれ幅を小さくするというような自動調整が可能になる。
また本発明に係る画像生成システム、プログラム及び情報記憶媒体では、前記ヒット処理部が、前記着弾ポイントの第2の座標軸方向での位置情報に基づいて、前記着弾ポイントに対する前記ヒッティングポイントのぶれ方向を設定するようにしてもよい。
このようにすれば、着弾ポイントの第2の座標軸方向での位置情報に応じて、着弾ポイントに対するヒッティングポイントのぶれ方向(第2の座標軸に沿ったぶれ方向。第1の座標軸に沿った第1の方向、或いは第1の方向とは逆方向の第2の方向)が変化するようになり、オブジェクトのヒッティング方向等を変化させることが可能になる。
また本発明に係る画像生成システム、プログラム及び情報記憶媒体では、前記エリアとして、第1の座標軸方向での幅が異なる第1〜第Nのエリア(Nは2以上の整数)が設定され、前記ヒット処理部が、前記第1〜第Nのエリアの各々について前記カーソルが位置した時間をカウントし、得られた第1〜第Nのカウント時間に基づいて、前記ヒッティングポイントの第2の座標軸方向での位置情報を自動調整するようにしてもよい。
このようにすれば、第1〜第Nの各々のエリアにカーソルが位置した時間である第1〜第Nのカウント時間に応じて自動調整が行われるようになり、よりきめ細かな自動調整を実現できる。
また本発明に係る画像生成システム、プログラム及び情報記憶媒体では、前記オブジェクトが、キャラクタによりリリースされて移動するオブジェクトであり、前記ヒット処理部が、前記キャラクタが前記オブジェクトをリリースしたタイミング以降のタイミングから、前記エリアに前記カーソルが位置した時間のカウント処理を開始するようにしてもよい。
このようにすれば、時間のカウント処理が行われる期間を短くすることができ、よりスピード感や緊張感が溢れる操作をプレーヤに要求できるようになる。
また本発明に係る画像生成システム、プログラム及び情報記憶媒体では、前記ヒット処理部が、ヒッティングタイミングにおいて前記エリアに前記カーソルが位置していた場合に、オブジェクトがヒットされたと判定して、ヒッティングポイントの自動調整を行うようにしてもよい。
このようにすれば、カウント時間のみならず、ヒッティングのタイミングの正確さについてもプレーヤに要求できるようになる。
また本発明に係る画像生成システム、プログラム及び情報記憶媒体では、前記ヒット処理部が、今回のヒット処理においてカウントされたカウント時間と、前回のヒット処理においてカウントされたカウント時間に基づいて、前記ヒッティングポイントの第2の座標軸方向での位置情報を自動調整するようにしてもよい。
このようにすれば、前回(過去)のヒット処理でのカウント時間も考慮されて自動調整が行われるようになり、多様できめ細かな自動調整を実現できる。
また本発明に係る画像生成システム、プログラム及び情報記憶媒体では、前記エリアに前記カーソルが位置することを画像、音又は振動でプレーヤに知らせるようにしてもよい。
また本発明に係る画像生成システム、プログラム及び情報記憶媒体では、前記カーソルが野球ゲームにおけるミートカーソルであり、前記オブジェクトが野球ゲームにおけるボールであってもよい。
以下、本実施形態について説明する。なお、以下に説明する本実施形態は、特許請求の範囲に記載された本発明の内容を不当に限定するものではない。また本実施形態で説明される構成の全てが、本発明の必須構成要件であるとは限らない。
1.構成
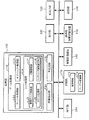
図1に本実施形態の画像生成システム(ゲームシステム)の機能ブロック図の例を示す。なお本実施形態の画像生成システムは図1の構成要素(各部)の一部を省略した構成としてもよい。
操作部160(ゲームコントローラ)は、プレーヤが操作データを入力するためのものであり、その機能は、方向キー、アナログスティック、ボタン、レバー、ステアリング、マイク、タッチパネル型ディスプレイ、或いは筺体などにより実現できる。
記憶部170は、処理部100や通信部196などのワーク領域となるもので、その機能はRAMなどにより実現できる。
情報記憶媒体180(コンピュータにより読み取り可能な媒体)は、プログラムやデータなどを格納するものであり、その機能は、光ディスク(CD、DVD)、光磁気ディスク(MO)、磁気ディスク、ハードディスク、磁気テープ、或いはメモリ(ROM)などにより実現できる。処理部100は、情報記憶媒体180に格納されるプログラム(データ)に基づいて本実施形態の種々の処理を行う。即ち情報記憶媒体180には、本実施形態の各部としてコンピュータを機能させるためのプログラム(各部の処理をコンピュータに実行させるためのプログラム)が記憶される。
表示部190は、本実施形態により生成された画像を出力するものであり、その機能は、CRT、LCD、タッチパネル型ディスプレイ、或いはHMD(ヘッドマウントディスプレイ)などにより実現できる。
音出力部192は、本実施形態により生成された音を出力するものであり、その機能は、スピーカ、或いはヘッドフォンなどにより実現できる。
携帯型情報記憶装置194は、プレーヤの個人データやゲームのセーブデータなどが記憶されるものであり、この携帯型情報記憶装置194としては、メモリカードや携帯型ゲーム装置などがある。通信部196は外部(例えばホスト装置や他の画像生成システム)との間で通信を行うための各種制御を行うものであり、その機能は、各種プロセッサ又は通信用ASICなどのハードウェアや、プログラムなどにより実現できる。
なお本実施形態の各部としてコンピュータを機能させるためのプログラム(データ)は、ホスト装置(サーバー)が有する情報記憶媒体からネットワーク及び通信部196を介して情報記憶媒体180(記憶部170)に配信してもよい。このようなホスト装置(サーバー)の情報記憶媒体の使用も本発明の範囲内に含めることができる。
処理部100(プロセッサ)は、操作部160からの操作データやプログラムなどに基づいて、ゲーム処理、画像生成処理、或いは音生成処理などを行う。この処理部100は記憶部170をワーク領域として各種処理を行う。処理部100の機能は各種プロセッサ(CPU、DSP等)、ASIC(ゲートアレイ等)などのハードウェアや、プログラムなどにより実現できる。
処理部100は、ゲーム処理部110、画像生成部120、音生成部130を含む。ここでゲーム処理部110は、操作部160からの操作データやプログラムなどに基づいてゲーム処理を行う。このゲーム処理としては、ゲーム開始条件が満たされた場合にゲームを開始する処理、ゲームを進行させる処理、キャラクタやマップなどのオブジェクトを配置する処理、オブジェクトを表示する処理、ゲーム結果を演算する処理、或いはゲーム終了条件が満たされた場合にゲームを終了する処理などがある。
画像生成120は、処理部100で行われる種々の処理(ゲーム処理)の結果に基づいて描画処理を行い、これにより画像を生成し、表示部190に出力する。いわゆる3次元ゲーム画像を生成する場合には、まず、座標変換(ワールド座標変換、カメラ座標変換)、クリッピング処理、或いは透視変換等のジオメトリ処理が行われ、その処理結果に基づいて、描画データ(プリミティブ面の頂点の位置座標、テクスチャ座標、色データ、法線ベクトル或いはα値等)が作成される。そして、この描画データ(プリミティブ面データ)に基づいて、透視変換後(ジオメトリ処理後)のオブジェクト(1又は複数プリミティブ面)を描画領域172(フレームバッファ、ワークバッファ)に描画する。これにより、オブジェクト空間内において所与の視点(仮想カメラ)から見える画像が生成される。
音生成部130は、処理部100で行われる種々の処理の結果に基づいて音処理を行い、BGM、効果音、又は音声などのゲーム音を生成し、音出力部192に出力する。
ゲーム処理部110は、カーソル制御部112、オブジェクト制御部113、ヒット処理部114を含む。なおこれらの一部を省略する構成としてもよい。
ここでカーソル制御部112はカーソルの移動制御や表示制御を行う。より具体的にはカーソル制御部112は、操作部160により入力された操作データ(カーソル移動指示データ)に基づいて、第1の座標軸(例えばX軸)方向に沿ってカーソル(例えばミートカーソル)を移動させる。即ち操作部160からの操作データに基づいてカーソルの第1の座標軸での位置情報(例えばX座標などの座標成分)を逐次求める。
オブジェクト制御部113はオブジェクト(ポリゴン、自由曲面又はサブディビジョンサーフェスなどのプリミティブ面で構成されるオブジェクト)についての種々の制御を行う。例えばキャラクタやボールなどのオブジェクトをオブジェクト空間に配置設定したり、オブジェクトの移動制御や表示制御を行う。即ち、ワールド座標系でのオブジェクト(モデルオブジェクト)の位置や回転角度(向き、方向と同義)を決定し、その位置にその回転角度でオブジェクトを配置する。また操作部160によりプレーヤが入力した操作データや、プログラム(移動・動作アルゴリズム)や、各種データ(モーションデータ)などに基づいて、オブジェクトをオブジェクト空間内で移動させたり、オブジェクトを動作(モーション、アニメーション)させる処理を行う。具体的には、オブジェクトの移動情報(位置、回転角度、速度、或いは加速度)や動作情報(各パーツオブジェクトの位置、或いは回転角度)を、1フレーム(1/60秒)毎に順次求めるシミュレーション処理を行う。なおフレームは、オブジェクトの移動・動作処理(シミュレーション処理)や画像生成処理を行う時間の単位である。
ヒット処理部114は、オブジェクト(例えばボール)についてヒット処理(ヒット判定処理、ヒット後のオブジェクトの移動制御等)を行う。具体的にはヒット処理部114は、ヒッティングポイント(バットのミートポイント)の第1の座標軸(X軸)方向での位置情報(X座標)を、カーソル(ミートカーソル)の第1の座標軸方向での位置情報(X座標)により設定する。一方、ヒッティングポイントの第2の座標軸(Y軸)方向での位置情報(Y座標などの座標成分やぶれ幅)については、自動調整により設定する。そして、このように第1、第2の座標軸方向での位置情報が設定されたヒッティングポイントと、オブジェクト制御部113により制御されるオブジェクトとのヒット処理(位置の一致判定処理等)を行う。なおヒッティングポイントの第1、第2の座標軸方向での位置情報は、第1、第2の座標成分(X座標、Y座標)であってもよいし、これらと等価な情報(例えばぶれ幅等)であってもよい。またヒッティングポイントは、仮想的なヒッティングポイントであり、表示してもよいし、表示しなくてもよい。
そして本実施形態ではヒット処理部114が、オブジェクトの第1の座標軸方向での位置情報(X座標)により設定されるエリア(ミートエリア)に、カーソル(ミートカーソル、ヒッティングポイント)が位置した時間(フレーム数)のカウント処理を行う。そして得られたカウント時間(計時時間)に基づいて、ヒッティングポイントの第2の座標軸方向での位置情報(座標成分、ぶれ幅)を自動調整(自動補正)する。この場合の自動調整は、例えば、テーブル記憶部174に記憶されるテーブルデータに基づいて行う。なお上述したエリアは、例えばオブジェクト(着弾ポイント)の第1の座標軸方向での位置情報を中心として所与の幅を有するエリアである。またカウント時間は、例えばカーソル又はカーソルの代表点が上記エリアに重なっていた時間をカウントすることで得ることができる。
ヒット処理部114は、着弾ポイント演算部115、カウント処理部116、自動調整部117、ヒッティング情報設定部118を含む。なおこれらの一部を省略する構成としてもよい。
ここで着弾ポイント演算部115は、第1、第2の座標軸を含む面(XY平面、スクリーンに平行な面)に対するオブジェクトの着弾ポイント(到達ポイント)を求める。カウント処理部116は、着弾ポイントの位置情報(第1の座標軸方向での位置情報)により設定されるエリア(ミートエリア)に、カーソルが位置した時間(エリアにカーソルが重なっていた時間)をカウントする。自動調整部117は、このカウント時間に基づいて、ヒッティングポイント(カーソル)の第2の座標軸方向での位置情報を自動調整する。具体的には、例えばテーブル記憶部174に記憶されるテーブルデータに基づいて、着弾ポイントに対するヒッティングポイントの第2の座標軸方向でのぶれ幅を設定する。ヒッティング情報設定部118は、設定されたぶれ幅に基づいて、ヒット後のオブジェクトのヒッティング情報(ヒッティング方向、ヒッティング速度、ヒッティング加速度、或いはヒッティング強さ)を設定する。ヒット後のオブジェクトの移動は、このヒッティング情報に基づいて制御される。
なお、上述したエリアとして、第1の座標軸方向での幅が異なる複数の第1〜第Nのエリア(Nは2以上の整数)を設定してもよい。第1の座標軸がX軸である場合を例にとると、第1のエリアは、着弾ポイントのX座標(第1の座標軸での座標成分)XPを中心とした幅W1のエリアであり、第2のエリアは、XPを中心とした幅W2(>W1)のエリアであり、・・・・・第Nのエリアは、XPを中心とした幅WN(>WN−1)のエリアである。そしてヒット処理部114は、これらの第1〜第Nのエリアの各々についてカーソルが位置した時間をカウントする。例えば第1のエリアにカーソルが位置した時間である第1のカウント時間、第2のエリアにカーソルが位置した時間である第2のカウント時間、・・・・・・第Nのエリアにカーソルが位置した時間である第Nのカウント時間を求める。そして得られた第1〜第Nのカウント時間に基づいて、ヒッティングポイントの第2の座標軸方向での位置情報(Y座標、ぶれ幅)を自動調整する。この場合、第1〜第Nのカウント時間のうち、より幅の狭い第1のエリアに対応する第1のカウント時間が長い場合には、着弾ポイントに対するヒッティングポイントのぶれ幅を例えば小さくする。一方、より幅の広い第Nのエリアに対応する第Nのカウント時間が長い場合には、着弾ポイントに対するヒッティングポイントのぶれ幅を例えば大きくする。
また、オブジェクトが、キャラクタ(投手キャラクタ)によりリリース(投球)されて移動するオブジェクト(ボール)である場合には、ヒット処理部114(カウント処理部116)は、キャラクタがオブジェクトをリリースしたタイミング以降のタイミングから、カウント処理を開始するようにする。このようにすれば、例えば攻撃側(打者側)のプレーヤが狙っているコースを、守備側(投手側)のプレーヤに知られてしまう事態を防止でき、人間同士の対戦ゲームの面白みを向上できる。
またヒット処理部114(自動調整部117)は、ヒッティングタイミング(ミートタイミング)において、エリアにカーソルが位置していた場合に、オブジェクトがヒットされたと判定して、ヒッティングポイントの第2の座標軸方向での位置情報を自動調整する。またエリアにカーソルが位置すると判断された場合(時間カウント処理が開始された場合)に、そのことを画像(ガイドマーカ、色、点滅)や音(実況中継の音声、効果音等)や振動でプレーヤに知らせるようにしてもよい。
なお振動で知らせる場合には、そのカーソルを操作しているプレーヤの操作部160(ゲームコントローラ)の振動機構を用いて、その操作部を振動させることで、プレーヤに知らせればよい。具体的には、エリアにカーソルが位置すると判断された場合には、ヒット処理部114(処理部100)が操作部160に対して振動イネーブル信号を出力する。そして、この振動イネーブル信号を受けた操作部160が、内蔵する公知の振動機構を用いて操作部160を振動させる。なお、エリアにカーソルが位置することを、操作部160以外の部材を振動させてプレーヤに知らせてもよい。
なお、本実施形態の画像生成システムは、1人のプレーヤのみがプレイできるシングルプレーヤモード専用のシステムにしてもよいし、複数のプレーヤがプレイできるマルチプレーヤモードも備えるシステムにしてもよい。また複数のプレーヤがプレイする場合に、これらの複数のプレーヤに提供するゲーム画像やゲーム音を、1つの端末を用いて生成してもよいし、ネットワーク(伝送ライン、通信回線)などで接続された複数の端末(ゲーム機、携帯電話)を用いて分散処理により生成してもよい。
2.本実施形態の手法
次に本実施形態の手法について図面を用いて詳細に説明する。なお以下では本実施形態を、球技系ゲームの1つである野球ゲームに適用した場合について説明するが、本実施形態はこれに限定されない。例えば、バレーボールゲーム(スパイク)やテニスゲーム(ストローク)やサッカーゲーム(ヘッディング)などの他の球技系ゲームにも本実施形態の手法は適用できる。また球技系ゲーム以外のゲーム(例えば格闘ゲーム、シューティングゲーム)に本実施形態の手法を適用することも可能である。
2.1 カウント時間に基づく自動調整
図2(A)〜図3に本実施形態により生成されるゲーム画像の例を示す。図2(A)において、守備側のプレーヤ(人間プレーヤ又はコンピュータプレーヤ)は、投手キャラクタCH1を操作し、球種や投球目標ポイント(着弾ポイント)や球速を設定し、投手キャラクタCH1にボールBL(広義にはオブジェクト)を投げさせる。
具体的には守備側のプレーヤ(第1のプレーヤ)は、図4の操作部(ゲームコントローラ)の方向キー10やアナログスティック20を操作して、球種(ストレート、カーブ、シュート、スライダー、フォーク等)を決める。なおこの図4の操作部は、図示しない公知の振動機構を有している。
次にストライクゾーンやボールゾーンとなるエリアの任意の位置を、方向キー10やアナログスティック20により指定して、投球目標ポイント(着弾ポイント)を設定する。そして図2(A)のゲージGGを見ながら、投球用のボタン30を押すことで、投手キャラクタCH1が投球モーションを開始してボールBLを投球(リリース)する。なおゲージGGが示す値が最大値になったところでボタン30を押すと、球速が最大になる。またボールBLの着弾(到達)ポイントには着弾マーカSMKが表示される。なお着弾マーカSMKは、現実の着弾ポイントを示すマーカであってもよいし、予測着弾ポイントを示すマーカであってもよい。予測着弾ポイントを示すマーカは、図2(A)の着弾マーカSMKよりも広い面積を有するマーカになる。また、ボールが打者キャラクタの近くに来るまでは、予測着弾ポイントを示す着弾マーカを表示し、ボールが打者キャラクタの近くに来たタイミングで、現実の着弾ポイントを示す着弾マーカを表示するようにしてもよい。なお着弾マーカSMK(予測着弾マーカ)は常に表示するようにしてもよいし、非表示にしてもよい。また着弾マーカSMKの表示のオン・オフを、プレーヤのゲーム設定により切り替えるようにしてもよい。またカーソルCSは仮想的な表示されないカーソルであってもよい。またカーソルの表示のオン・オフを、プレーヤのゲーム設定により切り替えるようにしてもよい。
攻撃側のプレーヤ(人間プレーヤ又はコンピュータプレーヤ)は、打者キャラクタCH2を操作し、投手キャラクタCH1が投球するボールBLを打つ。具体的には攻撃側のプレーヤ(第2のプレーヤ)は、図4の操作部の方向キー10やアナログスティック20を操作して、ミートカーソルCS(広義にはカーソル)を移動させる。この時、ミートカーソルCSの移動に追従するように打者キャラクタCH2も移動する。またミートカーソルCSは、攻撃側のプレーヤの操作により、X軸(広義には第1の座標軸)方向に沿って左右に移動する。例えば図4の方向キー10で左方向を指示したり、アナログスティック20を左方向に倒すと、ミートカーソルCSや打者キャラクタCH2は左方向に移動する。一方、方向キー10で右方向を指示したり、アナログスティック20を右方向に倒すと、ミートカーソルCSや打者キャラクタCH2は右方向に移動する。
図2(B)に示すように攻撃側のプレーヤは、ミートカーソルCSのX座標が着弾マーカSMK(予測着弾マーカ)のX座標に一致するように、ミートカーソルCSを移動させる。そして図4のボタン30又は32を押して、打者キャラクタCH2にバットを振らせ、ボールBLのヒッティングを行う。なおボタン30を押すと、バットを強く振るパワー打撃が行われ、ボタン32を押すと、バットをコンパクトに振るミート打撃が行われる。
ヒッティングのタイミング(バットがボールに当たるタイミング、スイングタイミング、ボタンを押したタイミング)において、ミートカーソルCSのX座標と、着弾マーカSMK(着弾ポイント)のX座標とが、所与のエリア内においてほぼ一致していると、ボールBLがヒットされたと判定される。そして図3に示すように、ボールBLがヒッティング方向に飛ぶ。
そして本実施形態では、バットのヒッティングポイント(ミートポイント)のX座標(広義には第1の座標軸方向での位置情報)については、ミートカーソルCSのX座標により設定される。一方、ヒッティングポイントのY座標(広義には第2の座標軸方向での位置情報)については、コンピュータによる自動調整により設定される。具体的には、ボールBL(オブジェクト)のX座標により設定されるエリアに、ミートカーソルCSが位置した時間(BLとCSのX座標が所定のエリア内で一致した時間、ミートカーソル位置がエリアに一致した時間)をカウントする。そして得られたカウント時間に基づいて、ヒッティングポイント(ミートカーソルCS)のY座標が自動調整される。このようにすれば、攻撃側のプレーヤは、ヒッティングポイントのX座標が着弾マーカSMKに一致するように操作するだけで済み、ヒッティングポイントのY座標については考慮する必要が無くなる。従って、初級者プレーヤなどに最適な操作インターフェース環境を提供できる。また本実施形態によれば、ヒッティングポイント(ミートカーソルCS)のX座標と着弾マーカSMKのX座標が一致していた時間が長いほど、自動調整のぶれ幅を小さくすることが可能になる。これにより、プレーヤのゲーム操作技量も、ある程度、ゲーム結果に反映させることが可能になり、好適な操作インターフェース環境を実現できる。
なお図2(B)では、ヒッティングポイントのX座標と着弾マーカSMKのX座標が一致していることを(ミートエリアにミートカーソルが位置することを)、ガイドマーカGD(画像)を用いてプレーヤに知らせている。例えば図2(B)では「ロックオン」と書かれたガイドマーカGDが表示されているが、これ以外の用語が書かれたガイドマーカGDを表示してもよい。或いは、ヒッティングポイントのX座標と着弾マーカSMKのX座標が一致した場合(ミートエリアにミートカーソルが位置した場合)に、例えばミートカーソルCSや着弾マーカSMKの色を変更したり、CSやSMKの点滅表示を行うことで、プレーヤに知らせるようにしてもよい。或いは、ヒッティングポイントのX座標と着弾マーカSMKのX座標が一致していることを、例えば音などの実況中継音声により、プレーヤに知らせてもよい。或いは、ヒッティングポイントのX座標と着弾マーカSMKのX座標が一致していることを、操作部を振動させることなどでプレーヤに知らせてもよい。
またプレーヤのゲームモード設定(難易度設定等)に応じて、図2(A)〜図3で説明した簡易操作バッティングと、ヒッティングポイントのX、Y座標の両方をミートカーソルで設定する通常操作バッティングとを切り替えるようにしてもよい。
2.2 自動調整の詳細
次に本実施形態の自動調整手法の詳細について説明する。
図5(A)(B)に示すように本実施形態では、着弾ポイントSPのX座標XPに基づいて、ミートエリアAR1、AR2(広義には第1〜第Nのエリア)が設定される。ここで着弾ポイントSP(到達ポイント)は、例えば、X軸、Y軸(第1、第2の座標軸)を含む面に対してボールBL(オブジェクト)が着弾(到達)するポイントである。具体的には、X軸、Y軸を含む面とボールBLの軌道との交点を着弾ポイントSPとすることができる。
またミートエリアAR1は、着弾ポイントSPのX座標XPを中心とした幅W1のエリアであり、このAR1はジャストミートエリアとして使用される。一方、ミートエリアAR2は座標XPを中心とした幅W2(>W1)のエリアであり、このAR2は通常ミートエリアとして使用される。なお図5(A)(B)では、ミートエリアAR1、AR2は、Y軸方向を長手方向とした長方形のエリアになっているが、これに限定されない。即ちミートエリアは、少なくとも着弾ポイントSPのX座標(第1の座標軸方向での位置情報)により設定されるエリアであればよく、その形状は問わない。また図5(A)(B)では、2個のミートエリアAR1、AR2を設定しているが、1個や3個以上のミートエリアを設定するようにしてもよい。
攻撃側のプレーヤが操作部の方向指示キー10やアナログスティック20を左右に操作すると、ヒッティングポイントHPの位置を示すミートカーソルCSもX軸方向に沿って左右に移動する。そして図6(A)に示すように、ミートエリアAR1、AR2にミートカーソルCS(CS又はCSの代表点)が位置すると、その位置した時間(AR1、AR2にCSが重なった時間)のカウント処理が開始する。そして図6(B)に示すように、カウント処理により得られたカウント時間(フレーム数)に基づいて、ヒッティングポイントHPのY座標(第2の座標軸方向での位置情報)が自動調整される。即ち着弾ポイントSP(着弾マーカSMK)のY座標に近づくように、ヒッティングポイントHPのY座標が自動調整される。この時、ミートカーソルCSの表示形態は、例えば、着弾ポイントSPにミートカーソルCSがロックオンしたことを示す表示形態に変更される。
そして本実施形態では、カウント処理により得られたカウント時間に基づいて、着弾ポイントSPに対するヒッティングポイントHPのY軸方向(第2の座標軸方向)でのぶれ幅(補正値)を設定している。そして設定されたぶれ幅に基づいて、ヒット後のボールBLのヒッティング情報(ヒッティング方向、ヒッティング速度、ヒッティング加速度、ヒッティング強さ)を設定している。例えば図7(A)に示すように、カウント時間が小さい場合には、着弾ポイントSPに対するヒッティングポイントHPのぶれ幅を大きくする。これにより、バッティング結果が凡打になる確率が高くなる。一方、図7(B)に示すように、カウント時間が大きい場合には、着弾ポイントSPに対するヒッティングポイントHPのぶれ幅を小さくする。これにより、バッティング結果がホームランやヒットになる確率が高くなる。
図8(A)(B)に、本実施形態の自動調整手法で使用されるテーブルデータの例を示す。図8(A)は、図4のボタン30を押してパワー打撃(パワースイング)を行った場合に参照されるテーブルデータの例であり、図8(B)はボタン32を押してミート打撃(コンパクトスイング)を行った場合に参照されるテーブルデータの例である。
本実施形態では、ミートカーソルCSがジャストミートエリアAR1(第1のエリア)に例えば50パーセント(広義には所定のパーセント)以上重なっている時間TC1(第1のカウント時間)をカウントする。また、ミートカーソルCSが通常のミートエリアAR2(第2のエリア)に例えば50パーセント(広義には所定のパーセント)以上重なっている時間TC2(第2のカウント時間)をカウントする。またミートカーソルCSがAR1、AR2のどちらにも重なっていない時間TC3をカウントする。
そしてTC1≧TC2>TC3であった場合には、ぶれ幅の小さいジャストミートであると判定する。またTC1<TC2≧TC3であった場合には、ぶれ幅が中ぐらいの通常のミートであると判定する。またTC1≦TC2<TC3であった場合には、ぶれ幅が大きい凡打であると判定する。なおエリアAR1の幅はミートカーソルCSの幅の例えば半分とすることができる。
そして図8(A)に示すように、パワー打撃時においてジャストミートと判定されると、TC1/TALLに基づいて自動調整のぶれ幅が設定される。ここでTALLは、ボールがリリースされてから着弾(到達)するまでの時間(フレーム数)である。
例えばTC1/TALLが1.0〜0.8である場合には、ぶれ幅は0.0に設定される。即ちこの場合には、着弾ポイントSPとヒッティングポイントHPとが一致し、ホームラン等の結果になる確率が極めて高くなる。またTC1/TALLが0.8〜0.5である場合には、ぶれ幅は0.2に設定される。即ち、着弾ポイントSPに対するヒッティングポイントHPのぶれ幅が、例えばボール幅の0.2倍(ボール0.2個分)になる。これにより、ホームラン等になる確率は低くなるが、クリーンヒットになる確率は高くなる。またTC1/TALLが0.5〜0.0である場合には、ぶれ幅は0.3に設定される。即ち着弾ポイントSPに対するヒッティングポイントHPのぶれ幅が、ボール幅の0.3倍になる。
通常ミート判定の場合は、ジャストミート判定の場合と同様に、TC2/TALLに基づいて自動調整のぶれ幅が設定される。また凡打判定の場合は、TC3/TALLに基づいて自動調整のぶれ幅が設定される。ミート打撃におけるジャストミート判定時、通常ミート判定時、凡打判定時でのぶれ幅についても、図8(B)のテーブルデータに基づいて設定される。
このように本実施形態では、X軸方向(第1の座標軸方向)での幅が異なる複数のエリアAR1、AR2(第1〜第Nのエリア)が設定される。そしてエリアAR1、AR2の各々についてミートカーソルCSが位置した時間をカウントする。そして、得られたカウント時間TC1やTC2(第1〜第Nのカウント時間)に基づいて、ヒッティングポイントHPのY座標(ぶれ幅)が自動調整される。
また本実施形態では、着弾ポイントSPのY座標(第2の座標軸方向での位置情報)に基づいて、着弾ポイントSPに対するヒッティングポイントHPのぶれ方向を設定している。例えば図9(A)ではストライクゾーンが、上段ゾーンと中段ゾーンと下段ゾーン(第1〜第Kのゾーン)に分けられている。
そして図9(B)に示すように、着弾ポイントSPがストライクゾーンの上段ゾーンの位置する場合(SPのY座標が大きい場合)には、着弾ポイントSPに対してヒッティングポイントHPが下方向(第2の座標軸に沿った第1の方向)にぶれるようにする。即ち、ぶれ方向は下方向になり、ヒッティングポイントHPのY座標の自動調整時に、図7(A)(B)の場合とは逆の方向にヒッティングポイントHPがぶれるようにする。このようにすれば、バットがボールの下半分にヒットするようになり、フライになる確率が高くなる。従って、高めのボールを打つとフライになるという現実世界の事象に近いシミュレーション表現を実現できる。
また着弾ポイントSPが下段ゾーンの位置する場合(SPのY座標が小さい場合)には、着弾ポイントSPに対してヒッティングポイントHPが上方向(第2の座標軸に沿った第2方向)にぶれるようにする。即ち、ぶれ方向は上方向になり、ヒッティングポイントHPのY座標の自動調整時に、図7(A)(B)の場合と同じ方向にヒッティングポイントHPがぶれるようにする。このようにすれば、バットがボールの上半分にヒットするようになり、ゴロになる確率が高くなる。従って、低めのボールを打つとゴロになるという現実世界の事象に近いシミュレーション表現を実現できる。なお図9(A)では、ストライクゾーンを複数のゾーンに分けて、ぶれ方向を設定しているが、着弾ポイントSPのY座標を直接に用いて、ぶれ方向を設定するようにしてもよい。
また本実施形態では、エリアAR1、AR2にミートカーソルCSが位置した時間のカウント処理を、図2(A)に示すように、投手キャラクタCH1がボールBL(広義にはオブジェクト)をリリースしたタイミング以降のタイミングから開始している。即ち、このタイミングよりも前のタイミングから時間カウント処理を開始すると、守備側のプレーヤが、ミートカーソルCSの位置を見て、投球目標ポイント(着弾ポイント)を変えるという事態が生じてしまい、守備側のプレーヤが不当に有利になってしまうからである。またボールBLがリリースされてから着弾(到達)するまでの期間は比較的短いため、この期間において時間カウント処理を行うようにすれば、緊張感やスピード感に溢れるゲームを実現できる。
また本実施形態では、ヒッティングタイミング(スイング時)においてミートエリアAR1、AR2にミートカーソルCSが位置していたことを条件に、ボールがヒットされたと判定し、ヒッティングポイントHPの自動調整を行うようにしている。
例えば図10(A)では、ヒッティングタイミングにおいて、ミートエリアAR1、AR2にミートカーソルCSが位置している(AR1、AR2にCSが重なっている)。従って、この場合には、ボールがヒットされたと判定し、ヒッティングポイントHPのY座標の自動調整を行う。これにより打撃結果は、例えばホームランやヒットや凡打になる。
一方、図10(B)では、ヒッティングタイミングにおいて、ミートエリアAR1、AR2にミートカーソルCSが位置していない(AR1、AR2にCSが重なっていない)。従って、この場合には、ボールがヒットされなかったと判定し、ヒッティングポイントHPのY座標の自動調整を行わないようにする。これにより打撃結果は、例えば空振りになる。
このようにすれば、ミートカーソルCSのX座標を着弾ポイントSPのX座標に一致させたとしても、図4の打撃用のボタン30又は32を押すタイミングが悪いと、打撃結果も悪い結果になる。従って、ボタンを押すタイミングの技量の良し悪しに応じてゲーム結果が異なるようになり、ゲームの面白みや緊張感を増すことができる。
更に本実施形態では、今回のヒット処理においてカウントされたカウント時間と、前回のヒット処理においてカウントされたカウント時間に基づいて、ヒッティングポイントのY座標の自動調整を行うようにすることもできる。
例えば図11(A)では、前回のヒット処理(バッティング)において、ミートエリアAR1、AR2にミートカーソルCSが位置していた時間がカウントされている。一方、図11(B)では、今回のヒット処理(バッティング)において、ミートエリアAR1、AR2にミートカーソルCSが位置していた時間がカウントされている。そして自動調整は、図11(A)の前回のカウント時間と図11(B)の今回のカウント時間に基づいて行われる。即ち前回のカウント時間を今回のカウント時間に持ち越すことができる。
例えば野球においては、バッターが、外角コースなどの所定のコースに山を張って待つことがある。図11(A)(B)の手法によれば、攻撃側のプレーヤが所定のコースに山を張ってミートカーソルCSの位置を設定している場合には、その攻撃側のプレーヤの打撃結果を有利に設定することが可能になる。例えば前回のバッティングにおいて、外角コースを狙うようにミートカーソルCSを左よりに位置させており、今回のバッティングにおいても、外角コースを狙うようにミートカーソルを左よりに位置させていた場合には、自動調整におけるぶれ幅が小さくなる。これにより、ホームランやヒットになる確率が高まり、コースに山を張っているプレーヤが有利になる。この結果、プレーヤの仮想現実感を向上できる。
なお図11(A)(B)では、前回のヒット処理(バッティング)において得られたカウント時間を保存して、今回のヒット処理での自動調整に用いているが、これに加えて前々回やそれ以前のヒット処理において得られたカウント時間を保存して、今回のヒット処理での自動調整に用いているようにしてもよい。
3.本実施形態の処理
次に本実施形態の詳細な処理例について図12のフローチャートを用いて説明する。
まず着弾ポイントの位置を求める(ステップS1)。この着弾ポイントの位置は、例えば、守備側プレーヤが設定した球種、投球目標ポイント、球速などに基づいてコンピュータが求めることができる。
次に、図5(A)(B)で説明したように、着弾ポイントの位置(X座標)に基づいて、ミートエリアを設定する(ステップS2)。また攻撃側プレーヤの操作によりX軸方向に沿って移動するミートカーソルの位置(X座標)を求める(ステップS3)。
次に、図6(A)で説明したように、ミートエリアにミートカーソルが位置した時間(ミートエリアにミートカーソルが重なっていた時間)をカウントする(ステップS4)。複数のミートエリアがある場合には、このカウント処理は、各ミートエリア毎に行うことができる。
次に、攻撃側プレーヤが図4のボタン30又は32を押して、打者キャラクタにスイングを行わせたか否かを判断する(ステップS5)。そしてスイングが行われなかった場合には、見逃しと判定する(ステップS6)。一方、スイングが行われた場合には、図10(A)(B)で説明したように、ヒッティングタイミング(スイング時)において、ミートエリアにミートカーソルが位置していたか否かを判断する(ステップS7)。そして、位置していなかった場合には、空振りと判定する(ステップS8)。一方、位置していた場合には、ステップS4で得られたカウント時間に基づいて、図8(A)(B)や図9(B)に示すようなテーブルデータを参照し、ヒッティングポイント(ミートカーソル)のぶれ幅やぶれ方向を自動調整する(ステップS9)。そして、得られたぶれ幅やぶれ方向に基づいて、ボールのヒッティング情報を設定し、ボールをヒット方向に飛ばす処理を行う(ステップS10)。そして、このようなボールやカーソルの画像を含むフレーム画像の生成や、実況中継音声などのゲーム音の生成処理を行う(ステップS11)。
4.ハードウェア構成
図13に本実施形態を実現できるハードウェア構成の例を示す。メインプロセッサ900は、CD982(情報記憶媒体)に格納されたプログラム、通信インターフェース990を介してダウンロードされたプログラム、或いはROM950に格納されたプログラムなどに基づき動作し、ゲーム処理、画像処理、音処理などを実行する。コプロセッサ902は、メインプロセッサ900の処理を補助するものであり、マトリクス演算(ベクトル演算)を高速に実行する。例えばオブジェクトを移動させたり動作(モーション)させる物理シミュレーションに、マトリクス演算処理が必要な場合には、メインプロセッサ900上で動作するプログラムが、その処理をコプロセッサ902に指示(依頼)する。
ジオメトリプロセッサ904は、メインプロセッサ900上で動作するプログラムからの指示に基づいて、座標変換、透視変換、光源計算、曲面生成などのジオメトリ処理を行うものであり、マトリクス演算を高速に実行する。データ伸張プロセッサ906は、圧縮された画像データや音データのデコード処理を行ったり、メインプロセッサ900のデコード処理をアクセレートする。これにより、オープニング画面やゲーム画面において、MPEG方式等で圧縮された動画像を表示できる。
描画プロセッサ910は、ポリゴンや曲面などのプリミティブ面で構成されるオブジェクトの描画(レンダリング)処理を実行する。オブジェクトの描画の際には、メインプロセッサ900は、DMAコントローラ970を利用して、描画データを描画プロセッサ910に渡すと共に、必要であればテクスチャ記憶部924にテクスチャを転送する。すると描画プロセッサ910は、描画データやテクスチャに基づいて、Zバッファなどを利用した隠面消去を行いながら、オブジェクトをフレームバッファ922に描画する。また描画プロセッサ910は、αブレンディング(半透明処理)、デプスキューイング、ミップマッピング、フォグ処理、バイリニア・フィルタリング、トライリニア・フィルタリング、アンチエリアシング、シェーディング処理なども行う。1フレーム分の画像がフレームバッファ922に書き込まれるとその画像はディスプレイ912に表示される。
サウンドプロセッサ930は、多チャンネルのADPCM音源などを内蔵し、BGM、効果音、音声などのゲーム音を生成し、スピーカ932を介して出力する。ゲームコントローラ942やメモリカード944からのデータはシリアルインターフェース940を介して入力される。
ROM950にはシステムプログラムなどが格納される。業務用ゲームシステムの場合にはROM950が情報記憶媒体として機能し、ROM950に各種プログラムが格納される。なおROM950の代わりにハードディスクを利用してもよい。RAM960は各種プロセッサの作業領域となる。DMAコントローラ970は、プロセッサ、メモリ間でのDMA転送を制御する。CDドライブ980は、プログラム、画像データ、或いは音データなどが格納されるCD982にアクセスする。通信インターフェース990はネットワーク(通信回線、高速シリアルバス)を介して外部との間でデータ転送を行う。
なお本実施形態の各部の処理は、その全てをハードウェアのみにより実現してもよいし、情報記憶媒体に格納されるプログラムや通信インターフェースを介して配信されるプログラムにより実現してもよい。或いは、ハードウェアとプログラムの両方により実現してもよい。
そして本実施形態の各部の処理をハードウェアとプログラムの両方により実現する場合には、情報記憶媒体には、ハードウェア(コンピュータ)を本実施形態の各部として機能させるためのプログラムが格納される。より具体的には、上記プログラムが、ハードウェアである各プロセッサ902、904、906、910、930に処理を指示すると共に、必要であればデータを渡す。そして、各プロセッサ902、904、906、910、930は、その指示と渡されたデータとに基づいて本発明の各部の処理を実現する。
なお本発明は、上記実施形態で説明したものに限らず、種々の変形実施が可能である。例えば、明細書又は図面中の記載において広義や同義な用語(オブジェクト、カーソル、第1の座標軸、第2の座標軸、第1の座標軸方向での位置情報、第2の座標軸方向での位置情報等)として引用された用語(ボール、ミートカーソル、X軸、Y軸、X座標、Y座標・ぶれ幅等)は、明細書又は図面中の他の記載においても広義や同義な用語に置き換えることができる。
またヒッティングポイントの設定手法やぶれ幅の自動調整手法も、本実施形態で説明したものに限定されず、これらと均等な手法も本発明の範囲に含まれる。また本実施形態では第1の座標軸がX軸であり、第2の座標軸がY軸である場合について説明したが、第1、第2の座標軸は直交又は交差していれば十分であり、X軸、Y軸に限定されない。
また本発明は種々のゲームに適用できる。また本発明は、業務用ゲームシステム、家庭用ゲームシステム、多数のプレーヤが参加する大型アトラクションシステム、シミュレータ、マルチメディア端末、ゲーム画像を生成するシステムボード、携帯端末、携帯電話等の種々の画像生成システムに適用できる。
本実施形態の画像生成システムの機能ブロック図の例。 図2(A)(B)は本実施形態により生成されるゲーム画像の例。 本実施形態により生成されるゲーム画像の例。 操作部の例。 図5(A)(B)は自動調整手法の説明図。 図6(A)(B)は自動調整手法の説明図。 図7(A)(B)はぶれ幅の設定手法の説明図。 図8(A)(B)はテーブルデータの例。 図9(A)(B)はぶれ方向の設定手法の説明図。 図10(A)(B)は自動調整手法の説明図。 図11(A)(B)は前回のカウント時間を用いる手法の説明図。 本実施形態の具体的な処理のフローチャート。 ハードウェア構成例。
符号の説明
100 処理部、110 ゲーム処理部、112 カーソル制御部、
113 オブジェクト制御部、114 ヒット処理部、115 着弾ポイント演算部、
116 カウント処理部、117 自動調整部、118 ヒッティング情報設定部、
120 画像生成部、130 音生成部、160 操作部、170 記憶部、
172 描画領域、174 テーブル記憶部、180 情報記憶媒体、
190 表示部、192 音出力部、194 携帯型情報記憶装置、196 通信部

Claims (11)

  1. 画像を生成するためのプログラムであって、
    操作部により入力された操作データに基づいて、第1の座標軸方向に沿ってカーソルを移動させる制御を行うカーソル制御部と、
    オブジェクト空間においてオブジェクトを移動させる制御を行うオブジェクト制御部と、
    前記カーソルの第1の座標軸方向での位置情報に基づいて、ヒッティングポイントの第1の座標軸方向での位置情報を設定し、前記オブジェクトの第1の座標軸方向での位置情報により設定されるエリアに前記カーソルが位置した時間のカウント処理を行って得られたカウント時間に基づいて、前記ヒッティングポイントの第2の座標軸方向での位置情報を設定し、前記ヒッティングポイントと前記オブジェクトとのヒット処理を行うヒット処理部と、
    前記オブジェクト及び前記カーソルの画像を含む画像を生成する画像生成部として、
    コンピュータを機能させることを特徴とするプログラム。
  2. 請求項1において、
    前記ヒット処理部が、
    第1、第2の座標軸を含む面に対する前記オブジェクトの着弾ポイントを求め、前記カウント時間に基づいて、前記着弾ポイントに対する前記ヒッティングポイントの第2の座標軸方向でのぶれ幅を設定し、設定されたぶれ幅に基づいて、ヒット後のオブジェクトのヒッティング情報を設定することを特徴とするプログラム。
  3. 請求項2において、
    前記ヒット処理部が、
    前記着弾ポイントの第2の座標軸方向での位置情報に基づいて、前記着弾ポイントに対する前記ヒッティングポイントのぶれ方向を設定することを特徴とするプログラム。
  4. 請求項1乃至3のいずれかにおいて、
    前記エリアとして、第1の座標軸方向での幅が異なる第1〜第Nのエリア(Nは2以上の整数)が設定され、
    前記ヒット処理部が、
    前記第1〜第Nのエリアの各々について前記カーソルが位置した時間をカウントし、得られた第1〜第Nのカウント時間に基づいて、前記ヒッティングポイントの第2の座標軸方向での位置情報を自動調整することを特徴とするプログラム。
  5. 請求項1乃至4のいずれかにおいて、
    前記オブジェクトが、キャラクタによりリリースされて移動するオブジェクトであり、
    前記ヒット処理部が、
    前記キャラクタが前記オブジェクトをリリースしたタイミング以降のタイミングから、前記エリアに前記カーソルが位置した時間のカウント処理を開始することを特徴とするプログラム。
  6. 請求項1乃至5のいずれかにおいて、
    前記ヒット処理部が、
    ヒッティングタイミングにおいて前記エリアに前記カーソルが位置していた場合に、オブジェクトがヒットされたと判定して、ヒッティングポイントの自動調整を行うことを特徴とするプログラム。
  7. 請求項1乃至6のいずれかにおいて、
    前記ヒット処理部が、
    今回のヒット処理においてカウントされたカウント時間と、前回のヒット処理においてカウントされたカウント時間に基づいて、前記ヒッティングポイントの第2の座標軸方向での位置情報を自動調整することを特徴とするプログラム。
  8. 請求項1乃至7のいずれかにおいて、
    前記エリアに前記カーソルが位置することを画像、音又は振動でプレーヤに知らせることを特徴とするプログラム。
  9. 請求項1乃至8のいずれかにおいて、
    前記カーソルが野球ゲームにおけるミートカーソルであり、前記オブジェクトが野球ゲームにおけるボールであることを特徴とするプログラム。
  10. コンピュータ読み取り可能な情報記憶媒体であって、請求項1乃至9のいずれかのプログラムを記憶したことを特徴とする情報記憶媒体。
  11. 画像を生成する画像生成システムであって、
    操作部により入力された操作データに基づいて、第1の座標軸方向に沿ってカーソルを移動させる制御を行うカーソル制御部と、
    オブジェクト空間においてオブジェクトを移動させる制御を行うオブジェクト制御部と、
    前記カーソルの第1の座標軸方向での位置情報に基づいて、ヒッティングポイントの第1の座標軸方向での位置情報を設定し、前記オブジェクトの第1の座標軸方向での位置情報により設定されるエリアに前記カーソルが位置した時間のカウント処理を行って得られたカウント時間に基づいて、前記ヒッティングポイントの第2の座標軸方向での位置情報を設定し、前記ヒッティングポイントと前記オブジェクトとのヒット処理を行うヒット処理部と、
    前記オブジェクト及び前記カーソルの画像を含む画像を生成する画像生成部と
    を含むことを特徴とする画像生成システム。
JP2004014934A 2004-01-22 2004-01-22 プログラム、情報記憶媒体、及び画像生成システム Expired - Lifetime JP3686069B2 (ja)

Priority Applications (1)

Application Number Priority Date Filing Date Title
JP2004014934A JP3686069B2 (ja) 2004-01-22 2004-01-22 プログラム、情報記憶媒体、及び画像生成システム

Applications Claiming Priority (1)

Application Number Priority Date Filing Date Title
JP2004014934A JP3686069B2 (ja) 2004-01-22 2004-01-22 プログラム、情報記憶媒体、及び画像生成システム

Publications (2)

Publication Number Publication Date
JP2005204946A JP2005204946A (ja) 2005-08-04
JP3686069B2 true JP3686069B2 (ja) 2005-08-24

Family

ID=34900567

Family Applications (1)

Application Number Title Priority Date Filing Date
JP2004014934A Expired - Lifetime JP3686069B2 (ja) 2004-01-22 2004-01-22 プログラム、情報記憶媒体、及び画像生成システム

Country Status (1)

Country Link
JP (1) JP3686069B2 (ja)

Cited By (2)

* Cited by examiner, † Cited by third party
Publication number Priority date Publication date Assignee Title
JP2007185359A (ja) * 2006-01-13 2007-07-26 Namco Bandai Games Inc プログラム、情報記憶媒体、及び画像生成システム
JP2015112354A (ja) * 2013-12-12 2015-06-22 株式会社コナミデジタルエンタテインメント ゲーム装置、ゲームシステム及びプログラム

Families Citing this family (3)

* Cited by examiner, † Cited by third party
Publication number Priority date Publication date Assignee Title
JP5519115B2 (ja) * 2008-04-02 2014-06-11 株式会社バンダイナムコゲームス ゲーム情報配信システムおよびプログラム
CN113617030B (zh) * 2021-08-06 2023-08-22 腾讯科技(深圳)有限公司 虚拟对象的控制方法、装置、终端及存储介质
CN118454226B (zh) * 2024-05-14 2024-11-22 广州云利数码科技有限公司 一种射击瞄准分析系统以及光枪控制设备

Cited By (2)

* Cited by examiner, † Cited by third party
Publication number Priority date Publication date Assignee Title
JP2007185359A (ja) * 2006-01-13 2007-07-26 Namco Bandai Games Inc プログラム、情報記憶媒体、及び画像生成システム
JP2015112354A (ja) * 2013-12-12 2015-06-22 株式会社コナミデジタルエンタテインメント ゲーム装置、ゲームシステム及びプログラム

Also Published As

Publication number Publication date
JP2005204946A (ja) 2005-08-04

Similar Documents

Publication Publication Date Title
US7084855B2 (en) Image generation method, program, and information storage medium
JP3239683B2 (ja) 画像処理装置および画像処理方法
JP3927821B2 (ja) プログラム、情報記憶媒体及びゲーム装置
US20100245365A1 (en) Image generation system, image generation method, and computer program product
US8827783B2 (en) Game device, game control method and recording medium
JP2003067779A (ja) 画像生成システム、プログラム及び情報記憶媒体
JP2001321562A (ja) ゲームシステム及び情報記憶媒体
US8465353B2 (en) Game device, control method for game device, and information storage medium
JP2009000383A (ja) プログラム、情報記憶媒体及び画像生成システム
JP3686071B2 (ja) プログラム、情報記憶媒体、及び画像生成システム
JP4883759B2 (ja) プログラム、情報記憶媒体、及び画像生成システム
JP2010233752A (ja) プログラム、情報記憶媒体及び画像生成システム
JP2006230578A (ja) プログラム、情報記憶媒体及びゲーム装置
JP3686069B2 (ja) プログラム、情報記憶媒体、及び画像生成システム
JP4508719B2 (ja) プログラム、情報記憶媒体、及びゲームシステム
JP3747050B1 (ja) プログラム、情報記憶媒体、及び画像生成システム
JP2003210837A (ja) 画像生成システム、プログラム及び情報記憶媒体
JP3786671B1 (ja) プログラム、情報記憶媒体、及び画像生成システム
JP4420729B2 (ja) プログラム、情報記憶媒体および画像生成システム
JP4662271B2 (ja) プログラム、情報記憶媒体、及び画像生成システム
JP4806608B2 (ja) プログラム、情報記憶媒体、及び画像生成システム
JP4975720B2 (ja) ゲームプログラム、ゲーム制御方法及びゲーム装置
JP2005246071A (ja) 画像生成システム及び情報記憶媒体
JP2008067853A (ja) プログラム、情報記憶媒体、及び画像生成システム
JP5054908B2 (ja) プログラム、情報記憶媒体、及び画像生成システム

Legal Events

Date Code Title Description
TRDD Decision of grant or rejection written
A01 Written decision to grant a patent or to grant a registration (utility model)

Free format text: JAPANESE INTERMEDIATE CODE: A01

Effective date: 20050517

A61 First payment of annual fees (during grant procedure)

Free format text: JAPANESE INTERMEDIATE CODE: A61

Effective date: 20050601

R150 Certificate of patent or registration of utility model

Ref document number: 3686069

Country of ref document: JP

Free format text: JAPANESE INTERMEDIATE CODE: R150

Free format text: JAPANESE INTERMEDIATE CODE: R150

S531 Written request for registration of change of domicile

Free format text: JAPANESE INTERMEDIATE CODE: R313531

S533 Written request for registration of change of name

Free format text: JAPANESE INTERMEDIATE CODE: R313533

R350 Written notification of registration of transfer

Free format text: JAPANESE INTERMEDIATE CODE: R350

FPAY Renewal fee payment (event date is renewal date of database)

Free format text: PAYMENT UNTIL: 20080610

Year of fee payment: 3

S531 Written request for registration of change of domicile

Free format text: JAPANESE INTERMEDIATE CODE: R313531

FPAY Renewal fee payment (event date is renewal date of database)

Free format text: PAYMENT UNTIL: 20080610

Year of fee payment: 3

R350 Written notification of registration of transfer

Free format text: JAPANESE INTERMEDIATE CODE: R350

FPAY Renewal fee payment (event date is renewal date of database)

Free format text: PAYMENT UNTIL: 20090610

Year of fee payment: 4

R250 Receipt of annual fees

Free format text: JAPANESE INTERMEDIATE CODE: R250

FPAY Renewal fee payment (event date is renewal date of database)

Free format text: PAYMENT UNTIL: 20090610

Year of fee payment: 4

FPAY Renewal fee payment (event date is renewal date of database)

Free format text: PAYMENT UNTIL: 20090610

Year of fee payment: 4

FPAY Renewal fee payment (event date is renewal date of database)

Free format text: PAYMENT UNTIL: 20100610

Year of fee payment: 5

R250 Receipt of annual fees

Free format text: JAPANESE INTERMEDIATE CODE: R250

FPAY Renewal fee payment (event date is renewal date of database)

Free format text: PAYMENT UNTIL: 20100610

Year of fee payment: 5

FPAY Renewal fee payment (event date is renewal date of database)

Free format text: PAYMENT UNTIL: 20110610

Year of fee payment: 6

R250 Receipt of annual fees

Free format text: JAPANESE INTERMEDIATE CODE: R250

FPAY Renewal fee payment (event date is renewal date of database)

Free format text: PAYMENT UNTIL: 20110610

Year of fee payment: 6

FPAY Renewal fee payment (event date is renewal date of database)

Free format text: PAYMENT UNTIL: 20120610

Year of fee payment: 7

R250 Receipt of annual fees

Free format text: JAPANESE INTERMEDIATE CODE: R250

FPAY Renewal fee payment (event date is renewal date of database)

Free format text: PAYMENT UNTIL: 20120610

Year of fee payment: 7

FPAY Renewal fee payment (event date is renewal date of database)

Free format text: PAYMENT UNTIL: 20130610

Year of fee payment: 8

R250 Receipt of annual fees

Free format text: JAPANESE INTERMEDIATE CODE: R250

FPAY Renewal fee payment (event date is renewal date of database)

Free format text: PAYMENT UNTIL: 20130610

Year of fee payment: 8

R250 Receipt of annual fees

Free format text: JAPANESE INTERMEDIATE CODE: R250

R250 Receipt of annual fees

Free format text: JAPANESE INTERMEDIATE CODE: R250

R250 Receipt of annual fees

Free format text: JAPANESE INTERMEDIATE CODE: R250

S531 Written request for registration of change of domicile

Free format text: JAPANESE INTERMEDIATE CODE: R313531

R360 Written notification for declining of transfer of rights

Free format text: JAPANESE INTERMEDIATE CODE: R360

S533 Written request for registration of change of name

Free format text: JAPANESE INTERMEDIATE CODE: R313533

R370 Written measure of declining of transfer procedure

Free format text: JAPANESE INTERMEDIATE CODE: R370

R250 Receipt of annual fees

Free format text: JAPANESE INTERMEDIATE CODE: R250

R350 Written notification of registration of transfer

Free format text: JAPANESE INTERMEDIATE CODE: R350

S531 Written request for registration of change of domicile

Free format text: JAPANESE INTERMEDIATE CODE: R313531

R350 Written notification of registration of transfer

Free format text: JAPANESE INTERMEDIATE CODE: R350

R250 Receipt of annual fees

Free format text: JAPANESE INTERMEDIATE CODE: R250

R250 Receipt of annual fees

Free format text: JAPANESE INTERMEDIATE CODE: R250

R250 Receipt of annual fees

Free format text: JAPANESE INTERMEDIATE CODE: R250

R250 Receipt of annual fees

Free format text: JAPANESE INTERMEDIATE CODE: R250

R250 Receipt of annual fees

Free format text: JAPANESE INTERMEDIATE CODE: R250

R250 Receipt of annual fees

Free format text: JAPANESE INTERMEDIATE CODE: R250

R250 Receipt of annual fees

Free format text: JAPANESE INTERMEDIATE CODE: R250

EXPY Cancellation because of completion of term