JP4486830B2 - 景品払出機および景品払出システム - Google Patents

景品払出機および景品払出システム Download PDF

Info

Publication number
JP4486830B2
JP4486830B2 JP2004032863A JP2004032863A JP4486830B2 JP 4486830 B2 JP4486830 B2 JP 4486830B2 JP 2004032863 A JP2004032863 A JP 2004032863A JP 2004032863 A JP2004032863 A JP 2004032863A JP 4486830 B2 JP4486830 B2 JP 4486830B2
Authority
JP
Japan
Prior art keywords
prize
cartridge
unit
premium
dispenser
Prior art date
Legal status (The legal status is an assumption and is not a legal conclusion. Google has not performed a legal analysis and makes no representation as to the accuracy of the status listed.)
Expired - Lifetime
Application number
JP2004032863A
Other languages
English (en)
Other versions
JP2005224259A5 (ja
JP2005224259A (ja
Inventor
智春 岩本
美一 清水
保男 上田
Original Assignee
株式会社マースエンジニアリング
Priority date (The priority date is an assumption and is not a legal conclusion. Google has not performed a legal analysis and makes no representation as to the accuracy of the date listed.)
Filing date
Publication date
Application filed by 株式会社マースエンジニアリング filed Critical 株式会社マースエンジニアリング
Priority to JP2004032863A priority Critical patent/JP4486830B2/ja
Publication of JP2005224259A publication Critical patent/JP2005224259A/ja
Publication of JP2005224259A5 publication Critical patent/JP2005224259A5/ja
Application granted granted Critical
Publication of JP4486830B2 publication Critical patent/JP4486830B2/ja
Anticipated expiration legal-status Critical
Expired - Lifetime legal-status Critical Current

Links

Images

Landscapes

  • Pinball Game Machines (AREA)

Description

本発明は、パチンコ機などの遊技機器が設置される遊戯場等に設置され特殊景品等の景品を払い出す景品払出機の景品カートリッジ排出機構および景品カートリッジ排出システムに関する。
遊技ホール、例えばパチンコ店では、遊技客がパチンコ機でパチンコ玉を獲得したり、スロットマシーンでコインを獲得したとき、獲得したパチンコ玉や獲得コインの数に応じて特殊景品を払い出す景品払出機を設置している(例えば、特許文献1参照。)。
この景品払出機において、特殊景品は、景品払出機内に装填された景品カートリッジの景品収納部に収納されている。従来の景品払出機では、景品カートリッジの景品収納部に特殊景品の残数がなくなった場合に、それを自動的に検知して景品カートリッジを景品払出機から取出可能な位置に移動する排出機構がなく、人為的に景品カートリッジの排出操作または排出動作を行っていた。
また、従来の景品払出機では、景品払出機に景品カートリッジを装填後に、景品カートリッジを挿入する挿入口は、挿入口扉によって封鎖され、その挿入口扉は、所定の施錠機構によって施錠される。そして、景品カートリッジを景品払出機から取り出す際には、人為的にその施錠機構を開錠し、挿入口扉を開いて景品カートリッジが取り出されていた。
さらに、景品払出機には、複数の景品カートリッジを装填するための複数の挿入口を有しているため、上記した景品カートリッジを景品払出機から取り出すための人為的な開錠動作や挿入口扉の開扉動作は、各景品カートリッジに対応して行われていた。
特許第2631450号公報
しかしながら、従来の景品払出機では、人為的に景品カートリッジの排出操作または排出動作を行っていたので、手間と時間がかかり作業効率が悪いという問題があった。また、景品カートリッジの排出操作または排出動作を人為的に行うため、所定の部分に偏った負荷がかかるなどして、景品払出機を破壊しやすいなどの問題があった。
そこで、本発明では、人為的な景品カートリッジの排出操作または排出動作を介さなくても景品カートリッジを自動的に即座に取り出し可能な位置に移動することができ、作業効率を向上させることができる景品払出機および景品払出システムを提供することを目的とする。
上記目的を達成するために、本発明の景品払出機は、景品払い出し情報に基づいて、景品部材を積層して収納する景品収納部に収納された景品部材を搬送して払い出す景品払出機において、所定の指示に基づいて、前記景品収納部に収納された景品部材を払い出し可能な状態を解除する制御手段と、前記景品収納部を1つまたは複数有して構成される景品カートリッジと、前記景品カートリッジを挿入する景品カートリッジ挿入口を閉鎖する閉鎖手段とを具備し、前記制御手段が、前記所定の指示に基づいて、前記景品カートリッジを取り出しできるように前記閉鎖手段を開状態とする、または前記景品カートリッジを取り出しできないように前記閉鎖手段を閉状態とすることが可能なことを特徴とする。
この発明によれば、制御手段において、所定の指示に基づいて、景品払出機からの景品部材の払い出し可能な状態を解除することができる。ここで、景品部材の払い出し可能な状態を解除するとは、例えば、払い出しが可能な景品収納部の設定位置や、景品収容部に収容された景品部材を払い出しが可能な位置から、払い出しが不可能な位置に移動することを言う。また、この景品収納部からの払い出しが不可能な位置は、景品収納部から景品部材を払い出し部に搬送できない位置や、景品収納部を景品払出機から外部に取り出し可能な位置などを含む。
ここで、所定の指示とは、例えば、景品収納部の景品部材の有無を検知する景品部材検知手段から出力される情報に基づく情報、景品カートリッジの取り出しを指示する取出入力手段から出力される情報に基づく情報、景品カートリッジを挿入する側に設けられた景品払出機の背面扉の開扉を検知する開扉検知手段から出力される情報に基づく情報などが挙げられるが、これらに限られるものではなく、景品払出機に接続された、例えば、景品管理機(POS)などの外部機器からの情報に基づくものであってもよい。
また、本発明の景品払出機は、前記閉鎖手段が、少なくとも、景品カートリッジ挿入口を開閉する開閉扉を備え、前記制御手段が、前記所定の指示に基づいて、前記開閉扉を開扉可能または閉扉可能にすることを特徴とする。この発明によれば、景品カートリッジ挿入口を閉鎖する開閉扉が設けられているので、例えば、従業員以外の者が景品カートリッジ挿入口内に装填されている景品カートリッジを取り出すことはできないため、防犯機能を向上させることができる。また、この開閉扉は、所定の指示に基づいて、自動的に開扉可能または閉扉可能にすることができ、作業効率を向上させることができる。
また、本発明の景品払出機は、前記景品収納部に収納された景品部材および/または前記景品カートリッジを移動可能な移動機構を備えることを特徴とする。
この発明によれば、移動機構を備え、この移動機構は、例えば、景品移動機構(例えば、リフト機構)やカートリッジ移動機構等から構成される。ここで、景品移動機構では、景品収納部に収納された景品部材を移動する動作を主に行い、カートリッジ移動機構では、景品カートリッジを移動する動作を主に行う。
また、本発明の景品払出機は、前記開閉扉が、前記施錠機構の開錠に伴って自動的に開扉することを特徴とする。
この発明によれば、施錠機構の開錠に伴って自動的に開扉することができるので、例えば、景品カートリッジ挿入口から景品カートリッジを取り出す際に、開閉扉を従業員が開けることなく作業を行うことができ、作業効率を向上させることができる。
開閉扉は、施錠機構によって景品カートリッジ挿入口側に押付けるように施錠させており、その施錠を解除することで、その押付けられた力の反作用力で自動的に開扉することができる。また、開閉扉を景品払出機に開閉自在に軸支している、例えば、蝶番などに、開閉扉を開く方向に常に力を与えるバネやゴムなどの弾性部材を装着し、施錠が解除されるとその力によって自動的に開閉扉が開くような構成にしてもよい。
さらに、本発明の景品払出機は、前記開閉扉に備えられた施錠機構が、前記開閉扉の閉扉によって自動的に施錠されることを特徴とする。
この発明によれば、開閉扉を閉じることで、従業員が施錠の作業をすることなく、自動的に施錠することができるので、作業効率を向上させることができる。また、この施錠状態は電源を切った状態でも維持されるので、盗難などを防止することができる。
また、本発明の景品払出機は、前記景品収納部の景品部材の有無を検知する景品部材検知手段をさらに具備し、前記所定の指示が、前記景品部材検知手段から出力される情報に基づくものであることを特徴とする。
この発明によれば、景品部材検知手段によって、1つの景品カートリッジのすべての景品収納部に景品部材が無いことが検知された場合には、自動的に景品カートリッジを取り出し可能な位置に移動させることができる。この景品部材検知手段は、接触式センサ、光学式センサなどで構成することができる。
また、本発明の景品払出機は、前記景品カートリッジを挿入する側に設けられた背面扉の開扉を検知する開扉検知手段をさらに具備し、前記所定の指示が、前記開扉検知手段から出力される情報に基づくものであることを特徴とする。
この発明によれば、開扉検知手段からの情報に基づいて、自動的に景品カートリッジを取り出し可能な位置に移動させることができる。この機能は、例えば、景品払出機に装填されているすべての景品カートリッジを同時に取り出し可能な位置に移動させる場合などに有効である。また、開扉検知手段は、接触式センサ、光学式センサなどで構成することができ、背面扉の開扉を検知することができる位置に設置される。
本発明の景品払出システムは、景品と交換すべく遊技媒体数に対応する遊技媒体数情報を入力する遊技媒体数情報入力手段と、前記遊技媒体数情報入力手段で入力された遊技媒体数情報から景品払出情報を算出し、該景品払出情報を出力する景品情報出力手段とを備える景品管理装置と、前記景品管理装置からの景品払い出し情報に基づいて、景品部材を積層して収納する景品収納部に収納された景品部材を搬送して払い出し可能であり、所定の指示に基づいて、該払い出し可能な状態を解除する制御手段と、前記景品収納部を1つまたは複数有して構成される景品カートリッジと、前記景品カートリッジを挿入する景品カートリッジ挿入口を閉鎖する閉鎖手段とを備え、前記制御手段が、前記所定の指示に基づいて、前記景品カートリッジを取り出しできるように前記閉鎖手段を開状態とする、または前記景品カートリッジを取り出しできないように前記閉鎖手段を閉状態とすることが可能であり、前記景品管理装置と通信可能に接続された景品払出機とを具備することを特徴とする。
この発明によれば、景品払出機に景品管理機(POS)などの景品管理装置を併設しシステム化することで、景品部材の払い出しを景品管理装置からの情報に基づいて、一貫して自動的に行うことができる。
また、制御手段において、所定の指示に基づいて、景品払出機からの景品部材の払い出し可能な状態を解除することができる。ここで、景品部材の払い出し可能な状態を解除するとは、例えば、払い出しが可能な景品収納部の設定位置や、景品収容部に収容された景品部材を払い出しが可能な位置から、払い出しが不可能な位置に移動することを言う。また、この景品収納部からの払い出しが不可能な位置は、景品収納部から景品部材を払い出し部に搬送できない位置や、景品収納部を景品払出機から外部に取り出し可能な位置などを含む。
ここで、所定の指示とは、例えば、景品収納部の景品部材の有無を検知する景品部材検知手段から出力される情報に基づく情報、景品カートリッジの取り出しを指示する取出入力手段から出力される情報に基づく情報、景品カートリッジを挿入する側に設けられた景品払出機の背面扉の開扉を検知する開扉検知手段から出力される情報に基づく情報などが挙げられるが、これらに限られるものではなく、景品払出機に接続された、例えば、景品管理機(POS)などの外部機器からの情報に基づくものであってもよい。
また、本発明の景品払出システムは、前記閉鎖手段が、少なくとも、景品カートリッジ挿入口を開閉する開閉扉を備え、前記制御手段が、前記所定の指示に基づいて、前記開閉扉を開扉可能または閉扉可能にすることを特徴とする。この発明によれば、景品カートリッジ挿入口を閉鎖する開閉扉が設けられているので、例えば、従業員以外の者が景品カートリッジ挿入口内に装填されている景品カートリッジを取り出すことはできないため、防犯機能を向上させることができる。また、この開閉扉は、所定の指示に基づいて、自動的に開扉可能または閉扉可能にすることができ、作業効率を向上させることができる。
また、本発明の景品払出システムは、前記景品払出機が、前記景品収納部に収納された景品部材および/または前記景品カートリッジを移動可能な移動機構を備えることを特徴とする
この発明によれば、移動機構を備え、この移動機構は、例えば、景品移動機構(例えば、リフト機構)やカートリッジ移動機構等から構成される。ここで、景品移動機構では、景品収納部に収納された景品部材を移動する動作を主に行い、カートリッジ移動機構では、景品カートリッジを移動する動作を主に行う。
また、本発明の景品払出システムは、前記開閉扉が、前記施錠機構の開錠に伴って自動的に開扉することを特徴とする。
この発明によれば、施錠機構の開錠に伴って自動的に開扉することができるので、例えば、景品カートリッジ挿入口から景品カートリッジを取り出す際に、開閉扉を従業員が開けることなく作業を行うことができ、作業効率を向上させることができる。
開閉扉は、施錠機構によって景品カートリッジ挿入口側に押付けるように施錠させており、その施錠を解除することで、その押付けられた力の反作用力で自動的に開扉することができる。また、開閉扉を景品払出機に開閉自在に軸支している、例えば、蝶番などに、開閉扉を開く方向に常に力を与えるバネやゴムなどの弾性部材を装着し、施錠が解除されるとその力によって自動的に開閉扉が開くような構成にしてもよい。
さらに、本発明の景品払出システムは、前記開閉扉に備えられた施錠機構が、前記開閉扉の閉扉によって自動的に施錠されることを特徴とする。
この発明によれば、開閉扉を閉じることで、従業員が施錠の作業をすることなく、自動的に施錠することができるので、作業効率を向上させることができる。また、この施錠状態は電源を切った状態でも維持されるので、盗難などを防止することができる。
また、本発明の景品払出システムは、前記景品払出機が、前記景品収納部の景品部材の有無を検知する景品部材検知手段をさらに具備し、前記所定の指示が、前記景品部材検知手段から出力される情報に基づくものであることを特徴とする。
この発明によれば、景品部材検知手段によって、1つの景品カートリッジのすべての景品収納部に景品部材が無いことが検知された場合には、自動的に景品カートリッジを取り出し可能な位置に移動させることができる。この景品部材検知手段は、接触式センサ、光学式センサなどで構成することができる。
さらに、本発明の景品払出システムは、前記景品払出機が、前記景品カートリッジを挿入する側に設けられた背面扉の開扉を検知する開扉検知手段をさらに具備し、前記所定の指示が、前記開扉検知手段から出力される情報に基づくものであることを特徴とする。
この発明によれば、開扉検知手段からの情報に基づいて、自動的に景品カートリッジを取り出し可能な位置に移動させることができる。この機能は、例えば、景品払出機に装填されているすべての景品カートリッジを同時に取り出し可能な位置に移動させる場合などに有効である。また、開扉検知手段は、接触式センサ、光学式センサなどで構成することができ、背面扉の開扉を検知することができる位置に設置される。
本発明の景品払出機の景品カートリッジ排出機構および景品カートリッジ排出システムによれば、人為的な景品カートリッジの排出操作または排出動作を介さなくても景品カートリッジを自動的に即座に取り出し可能な位置に移動することができ、作業効率を向上させることができる。
以下、本発明の一実施の形態を、図面に基づいて説明する。
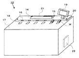
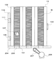
図1には、本発明の一実施形態における景品払出機10の正面から(遊技客側から)の斜視図が示されている。図2には、背面扉11が閉じられた状態の景品払出機10の背面から(カートリッジ挿入側から)の斜視図が示されている。また、図3には、背面扉11が開かれた状態の景品払出機10の背面から(カートリッジ挿入側から)の斜視図が示されている。
図1に示すように、景品払出機10の最上部には、景品払出ユニット14が設けられている。この景品払出ユニット14には、特殊景品Wを排出するための景品払出口15が、景品払出ユニット14の長手方向に6箇所設けられている。この景品払出口15は、特殊景品Wの排出時以外は、景品押出部16の押出面によって閉鎖されている。
景品払出口15から景品押出部16によって特殊景品Wが排出される排出天板17には、各景品払出口15に対応して、凹部が設けられ、その凹部に、例えばLEDランプなどで構成される払出口指示点灯部18が配置されている。そして、払出口指示点灯部18を配置した凹部は、排出天板17と凹凸なく平面になるように、例えば透明なアクリル板などで封鎖されている。そして、特殊景品Wが排出される景品払出口15に対応した払出口指示点灯部18が点灯し、遊技者に特殊景品Wが排出される景品払出口15を示している。
ここで示した景品払出機10は、6箇所の景品払出口15が設けられているので、最大6種類の特殊景品Wを同時に排出することができる。また、景品払出機10に設けられる景品払出口15は、6箇所に限られるものではなく、例えば、払い出される特殊景品Wの種類によって、景品払出口15の数を増減してもよい。
また、景品払出ユニット14の右上面には、払い出される特殊景品Wの種類および数量を表示するための表示部19が設置されている。この表示部19は、例えば液晶モニタなどで構成される。
さらに、景品払出ユニット14の上面の両端には、スピーカ20が設けられ、例えば遊技客に対して「いらっしゃいませ」、「景品が出るまでしばらくお待ち下さい」などの音声情報が発せられる。
また、景品払出機10には、演算装置(CPU)、読み出し専用メモリ(ROM)、ランダムアクセスメモリ(RAM)などから主に構成される制御手段28が設けられている。CPUでは、ROMやRAMに格納されたプログラムやデータなどを用いて各種の演算処理を実行する。また、この制御手段28では、景品払出機10を構成する各機器部との信号の出入力などを制御している。
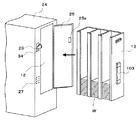
図2に示すように、景品払出機10の背面側には、施錠機構11aを備えた背面扉11が設けられている。また、この背面扉11には、把持部11bが設置され、その把持部11bを把んで背面扉11の開閉を行う。
施錠機構11aは、例えば、鍵などによって施錠または開錠が可能な構造で構成され、制御手段28と回線を介して接続されている。また、施錠機構11aは、この構成に限るものではなく、外部からの入力信号などで電気的に施錠または開錠が可能な構造で構成してもよい。
また、図3に示されているように、一方の背面扉11の側面には、背面扉11が閉じられたことを検知する背面扉開扉検知手段11cが配設されている。この背面扉開扉検知手段11cは、例えば、接点スイッチなどで構成され、一方の背面扉11の側面に配設された背面扉開扉検知手段11cに、対向する背面扉11の側面が接触したことを検知し、背面扉11が閉じられたことを検知する。ここで、背面扉開扉検知手段11cは、制御手段28と回線を介して接続されている。
また、景品払出機10の内部には、景品カートリッジ13を景品カートリッジ挿入口12から着脱可能に収容し、上部に上部ユニット22、下部に下部ユニット23が設けられた景品搬送ユニット24が、景品払出機10の横方向に複数積層させて構成されている。
また、景品搬送ユニット24には、景品カートリッジ挿入口12を閉鎖可能な開閉扉として機能するカートリッジ挿入口扉25が設置され、その一端側は、例えば、蝶番などの回動支持部材25bで景品搬送ユニット24に固定されている。この回動支持部材25bを設けることによって、回動支持部材25bを軸としてカートリッジ挿入口扉25を開閉することができる。
また、カートリッジ挿入口扉25の固定側とは反対側の縁部には、係止開口部25aが設けられている。この係止開口部25aは、カートリッジ挿入口扉25を閉めたときに、この係止開口部25aに対応して景品搬送ユニット24に設置された施錠機構26のロック機能部29を係止し、カートリッジ挿入口扉25を施錠するものである。ここで、施錠機構26は、制御手段28と回線を介して接続されている。さらに、カートリッジ挿入口扉25には、カートリッジ挿入口扉把持部25cが設置されている。
また、施錠機構26が設置された景品搬送ユニット24の下方には、カートリッジ挿入口扉25の開閉を検知する接点スイッチ27が設置されている。この接点スイッチ27は、制御手段28と回線を介して接続されている。
ここで示された実施の形態では、6個の景品搬送ユニット24が積層されて構成されているが、景品搬送ユニット24は6個に限られるものではなく、例えば、払い出される特殊景品Wの種類によって、景品搬送ユニット24の数を増減してもよい。なお、上述した特殊景品Wが排出される景品払出口15の数は、この景品搬送ユニット24の数に対応している。
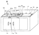
また、図3に示すように、景品払出機10の背面側には、景品払出ユニット14の上部に、景品払出機10の背面側に向いて操作表示パネル21が設けられている。この操作表示パネル21には、払い出される特殊景品Wの種類および数量を表示するための、例えば液晶モニタなどで構成される表示部21a、操作表示パネル21の左右の端部には、特殊景品Wの補充要求や搬送不良などのエラー発生に点灯するエラー発生点灯部21bが設けられている。
また、景品払出機10は、2台の景品管理装置(POS)と通信回線によって接続することができ、操作表示パネル21には、何台の景品管理装置(POS)と接続されているかを示す併設景品管理装置数点灯部21cが設けられている。この併設景品管理装置数点灯部21cは、例えばLEDランプなどで構成され、景品管理装置(POS)が1台併設されている場合には、併設景品管理装置数点灯部21cが1つ点灯し、景品管理装置(POS)が2台併設されている場合には、併設景品管理装置数点灯部21cが2つ点灯する。また、併設景品管理装置数点灯部21cに近接して、景品払出機10のレディ状態を示すレディ点灯部21dが設けられている。このレディ点灯部21dも、例えばLEDランプなどで構成されている。
また、操作表示パネル21には、リセットボタン21g、モード切替ボタン21hが設けられ、さらに開閉可能なパネル21eの内部にテンキー21fが設けられている。設定モードは、モード切替ボタン21hとテンキー21fによって設定され、テンキー21fでは、例えば取り扱う特殊景品Wの種類の数、各景品カートリッジ13に収納された特殊景品Wの種類などの設定を行う。
次に、景品払出機10を構成する主な構成部分についてそれぞれ説明する。
(景品カートリッジ13の構成)
次に、図4〜6を参照して、景品カートリッジ13の構成について説明する。
図4には、景品カートリッジ13の斜視図が示されており、図5には、カートリッジカバー104が取り付けられた状態の景品カートリッジ13の斜視図が示されいる。図6には、景品カートリッジ13の一方の側面の一部を示す斜視図が示されている。
景品カートリッジ13は、全体として直方体からなり、複数の一列に並べられた直方体空間からなる各景品収納部100から構成される。この実施の形態では、景品カートリッジ13は、3個の景品収納部100から構成されているが、これに限られるものではなく、景品収納部100の数を増減してもよい。
景品収納部100の底面には、中央部および前部の一部が切欠され、ほぼC字型に形成された景品ストッパ101が固着され、景品収納部100内に積層される特殊景品Wを支持する。この景品ストッパ101の切欠の形状は、景品収納部100内に収納される特殊景品Wを昇降させる支持部材および支持部材を支持しリフト機構によって押し上げられる昇降台が移動可能であり、かつ景品収納部100内に収納される特殊景品Wを支持できるものであれば、C字型に限られるものではない。
景品収納部100の背面および両側面は壁面で形成され、隣接する景品収納部100の側面は共有している。景品収納部100の前面および天井面は開口されている。景品収納部100の側面前部には、板状のガイド102が景品収納部100に沿って設けられている。各景品収納部100には、例えば特殊景品Wの厚さが3mmの場合には、150個収納することができ、3個の景品収納部100で合計450個の特殊景品Wを収納することができる。
また、景品カートリッジ13の一方の外側面には、挿入用把持部103が配置されている。景品カートリッジ13を景品カートリッジ挿入口12に挿入する際に、従業員などがこの挿入用把持部103を握って挿入を行う。
図5に示すように、景品カートリッジ13の上部には、複数の景品収納部100の天井面を被覆する大きさで構成されたカートリッジカバー104を装着することができる。このカートリッジカバー104は、景品カートリッジ13を持ち運ぶ際に、景品カートリッジ13に装着して使用するもので、例えば従業員などがカートリッジカバー104に設けられた持運び用把持部105を握って持ち運ぶ。なお、このカートリッジカバー104は、景品カートリッジ13を景品カートリッジ挿入口12に挿入する際には外される。
また、図6に示すように、景品カートリッジ13の挿入用把持部103の設置された外側面とは反対側の外側面に、金属板からなるマグネット用プレート106が配設されている。この実施の形態では、景品カートリッジ13の外側面に、2個のマグネット用プレート106が所定の位置に配設されているが、これに限るものではない。
このマグネット用プレート106は、後述するキャッチ手段110にマグネット用プレート106と対応して配設されたマグネット111と磁気的に接続され、キャッチ手段110に設置されたホール素子を用いて、景品カートリッジ挿入口12に挿入された景品カートリッジ13が適切なものであるかを判定する。
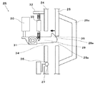
(施錠機構26の構成の一例)
次に、施錠機構26の構成の一例について、図7を参照して説明する。
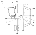
図7には、景品カートリッジ13を景品カートリッジ挿入口12に挿入する様子を示す斜視図である。また、図8には、図7に示した施錠機構26および施錠機構26に係止されるカートリッジ挿入口扉25の断面図が示されている。
施錠機構26は、一端がL字状に上部側に屈曲して、係止突起部29aを形成し、他端がロック解除作動部30と接続されたロック機能部29と、ロック機能部29を回転自在に支持する支軸部31と、係止突起部29aと支軸部31との間のロック機能部29に一端が固定され、他端がロック機能部29の上下の移動に対して弾性力を与えるように景品搬送ユニット24の内側面に設けられた支持部32に固定された弾性部材33とで主に構成されている。
ここで、ロック機能部29のL字状に上部側に屈曲した係止突起部29aの内側部は、略直角に屈曲し、外側部は、係止突起部29aの頂点部に向かって傾斜して形成されている。また、ロック機能部29の係止突起部29aは、景品搬送ユニット24に設けられた開口部34から外部に突出している。
図8に示すように、カートリッジ挿入口扉25が施錠機構26によって施錠されている場合には、カートリッジ挿入口扉25の係止開口部25aを係止突起部29aが貫通し、略直角に屈曲した係止突起部29aの内側部にカートリッジ挿入口扉25の係止開口部25aの縁部が接触して施錠状態となる。
また、ロック解除作動部30は、施錠状態を解除する際に作動するもので、例えば、ソレノイドなどで構成されている。このロック解除作動部30を作動させ、例えば、ロック解除作動部30に他端が接続されたロック機能部29の他端側を上方に吊り上げることで、支軸部31を回転軸としてロック機能部29の一端側(係止突起部29a側)が下方に回転し、係止開口部25aから係止突起部29aが外れ、カートリッジ挿入口扉25のロックを解除することができる。また、係止開口部25aから係止突起部29aが外れると、カートリッジ挿入口扉25が景品カートリッジ挿入口12側に向かって受けていた力の反作用力で、カートリッジ挿入口扉25が自動的に開扉する。
なお、開閉扉を景品払出機に開閉自在に軸支している、例えば、蝶番などの回動支持部材25bに、カートリッジ挿入口扉25を開く方向に常に力を与えるバネやゴムなどの弾性部材を装着し、施錠が解除されるとその力によって自動的にカートリッジ挿入口扉25が開くような構成にしてもよい。
弾性部材33は、例えば、柱状部材の両端面にバネなどを設けて構成され、ロック機能部29の係止突起部29aが形成された側に上方向の力を常に負荷するものである。これによって、カートリッジ挿入口扉25を係止突起部29aでロックすることができる。この弾性部材33は、バネに限られるものではなく、所定の力に対して一定の割合で変化する弾性部材ならばよく、例えばゴムなどで構成することもできる。
ここで、景品搬送ユニット24の正面のカートリッジ挿入口扉25と接触する部分には、カートリッジ挿入口扉25の開閉を検知する接点スイッチ27が設置されている。ここでは、接点スイッチ27は、施錠機構26が設置された景品搬送ユニット24の下方に設置されている。接点スイッチ27の接点部は、景品搬送ユニット24に設けられた開口部35から外部に若干突出して設置されている。そして、この接点スイッチ27の接点部にカートリッジ挿入口扉25が接触したとこを検知した場合には、カートリッジ挿入口扉25が閉扉されたことになる。
ここで、施錠機構26の構成は、上記した構成に限られるものではない。例えば、電磁的に施錠する構成を採ることもできる。この場合には、例えば、景品搬送ユニット24側に電磁石を設置し、それに対応させてカートリッジ挿入口扉25側に金属板などを設置する。そして、例えば、接点スイッチ27によって、景品搬送ユニット24の表面にカートリッジ挿入口扉25が接触したことを検知した場合に、電磁石のスイッチをオンさせるように構成することもできる。なお、開錠する場合には、電磁石のスイッチをオフし、カートリッジ挿入口扉25を開扉可能とする。
また、上記した構成以外でも、カートリッジ挿入口扉25を施錠することができ、所定の入力に基づいて開錠できる構成ならば採用することができる。
また、カートリッジ挿入口扉25の他の構成を図9に示す。
図9には、施錠機構26および施錠機構26に係止されるカートリッジ挿入口扉25の断面図が示されている。
図9に示されたカートリッジ挿入口扉の他の構成では、カートリッジ挿入口扉25の外側(図9では右側)に所定の間隔をあけてカートリッジ挿入口外部扉板25dが設置された2重構造になっている。このカートリッジ挿入口扉25とカートリッジ挿入口外部扉板25dとの間隔は、図9に示すように、ロック機能部29の係止突起部29aがカートリッジ挿入口扉25の係止開口部25aに係止されたときに、係止開口部25aがカートリッジ挿入口外部扉板25dと接触しない程度に設定されている。また、カートリッジ挿入口扉把持部25cは、カートリッジ挿入口外部扉板25dの外側面(カートリッジ挿入口扉25と対向しない側の面)に設置される。
このように、カートリッジ挿入口外部扉板25dを備えることで、ロック機能部29の係止突起部29aがカートリッジ挿入口扉25の係止開口部25aに係止されたときに、係止突起部29aが露出することがないので、例えば、強制的に係止開口部25aに係止した係止突起部29aが外されるのを防止することができる。
(景品払出機10の内部の構成の一例)
次に、景品払出機10の内部の構成の一例について、図7、10および11を参照して説明する。
図10には、景品払出機10の一部の内部構造を示した斜視図が示されている。なお、図10は、景品払出機10の1つの景品搬送ユニット24、景品払出ユニット14について示したものであり、操作表示パネル21などの記載は省略している。また、図11には、景品カートリッジ13がカートリッジ設置板204に載置された状態を示す平面図である。
図10に示されているように、景品払出機10は、下部ユニット23、景品カートリッジ挿入口12、上部ユニット22から構成される景品搬送ユニット24と、この景品搬送ユニット24と排出天板17を介して積層配置された景品払出ユニット14とから主に構成されている。
景品カートリッジ挿入口12の下端位置の両側には、景品カートリッジ挿入口12から奥部まで、カートリッジガイドレール200が帯状に設置されている。このカートリッジガイドレール200の一部は、特殊景品Wを昇降させる支持部材201および支持部材201を支持する昇降台202が移動可能に切欠されている。
また、両側のカートリッジガイドレール200間に渡って複数本のガイドローラ203が設置される。このガイドローラ203上には、景品カートリッジ13を支持するカートリッジ設置板204が載置されている。
このカートリッジ設置板204の景品カートリッジ挿入口12の奥側の端部には、図6に示すように、キャッチ手段110が立設されている。カートリッジ設置板204上に景品カートリッジ13が載置されると、キャッチ手段110に配設されたマグネット111と、景品カートリッジ13の外側面に配設されたマグネット用プレート106とが磁気的に接続される。そして、キャッチ手段110に設置されたホール素子(図示しない)を用いて、景品カートリッジ挿入口12に挿入された景品カートリッジ13が適切なものであるかを判定し、適切でない場合には、例えば、ブザーなどで知らせることができる。このホール素子は、制御手段28に回線を介して接続されている。
また、カートリッジ設置板204には、カートリッジ設置板204に載置する景品カートリッジ13の景品ストッパ101の各切欠に対応して切欠部205が設けられている。この切欠部205は、特殊景品Wを昇降させる支持部材201および支持部材201を支持する昇降台202が移動可能に切欠されている。
さらに、カートリッジ設置板204の下部端面には、下部ユニット23の底部に設置されたステッピング駆動モータ206からの動力を伝達するタイミングベルト207のギヤ部と係合するギヤ部(図示しない)が設けられている。そして、ステッピング駆動モータ206を駆動することで、カートリッジ設置板204は、ガイドローラ203上を移動する。なお、ステッピング駆動モータ206は、接続される制御手段28の指示により正逆回転される。
図7および11に示すように、景品カートリッジ挿入口12から挿入され、カートリッジ設置板204上に載置された景品カートリッジ13は、所定の位置まで挿入されることで、カートリッジ設置板204の外側面に配設されたマグネット用プレート106とキャッチ手段110に配設されたマグネット111とが接続し、景品カートリッジ13のカートリッジ設置板204上への載置が完了する。景品カートリッジ13のカートリッジ設置板204上への載置が完了した状態では、各景品カートリッジ13下部の景品ストッパ101の切欠は、それぞれに対応して設けられたカートリッジ設置板204の切欠部205に対向する位置に設置されている。
また、図7に示すように、景品カートリッジ挿入口12には、カートリッジ挿入口扉25が設けられ、景品カートリッジ13挿入後には閉じられる。また、カートリッジ挿入口扉25の開閉する側の景品搬送ユニット24の正面には、カートリッジ挿入口扉25をロックする施錠機構26が設けられている。
また、キャッチ手段110側の景品カートリッジ13の景品収納部100における背面を形成する壁部の外面には、鉄板などで形成された光を反射する光反射板107が設置されている。また、図10に示すように、景品カートリッジ13が挿入される景品搬送ユニット24の内壁面には、光反射板107の移動に対応して、3箇所の位置に位置検知センサ108が設けられている。この3個の位置検知センサ108は、景品カートリッジ13の各景品収納部100の間隔に対応した間隔で、景品搬送ユニット24の内壁面に設置されている。
位置検知センサ108から発せられた光は、光反射板107で反射し、その反射光を位置検知センサ108で検知することで、キャッチ手段110側の景品収納部100の位置を検知し、その情報に基づいてステッピング駆動モータ206を制御することで、景品カートリッジ13の移動を制御することができる。なお、位置検知センサ108は、制御手段28に配線を介して接続されている。
次に、景品搬送ユニット24に設けられたリフト機構300および昇降台202上に設置された特殊景品Wを昇降させる際に特殊景品Wを支持する景品支持部350の構成について、図10および12を参照して説明する。ここで、図12には、リフト機構300の構成が示されている。
(リフト機構300の構成の一例)
リフト機構300は、ステッピング駆動モータ301と、ステッピング駆動モータ301の動力を伝達するギヤ部302と、ギヤ部302によってステッピング駆動モータ301の動力が伝達され、回転可能に設置されたスパイラルシャフト303と、スパイラルシャフト303と所定の間隔をあけて平行に設置されたリニアシャフト304と、スパイラルシャフト303およびリニアシャフト304にそれぞれ設けられたリニアガイド305a、305bに載置された昇降台202とから主に構成されている。
昇降台202は、凸形状を有する平板で構成され、凸状部がカートリッジガイドレール200の切欠された部分を通過できる位置に設置される。また、昇降台202の幅広部分の一端側には、スパイラルシャフト303と係合する溝が内筒壁に螺刻されたリニアガイド305aの小径筒部を貫通させる貫通孔が開口されている。また、昇降台202の幅広部分の他端側には、リニアシャフト304と内筒壁が摺接するリニアガイド305bの小径筒部を貫通させる貫通孔が開口されている。
そして、それぞれの貫通孔に対応したリニアガイドの小径筒部を貫通させ、昇降台202は、リニアガイド305a、305bの大径筒部の上端面上に載置され固定される。そして、スパイラルシャフト303がステッピング駆動モータ301によって回転され、リニアガイド305aが移動して、昇降台202を上昇または下降させる。
スパイラルシャフト303およびリニアシャフト304は、下部ユニット23の底部から上部ユニット22の天井面に至って設置されている。また、景品カートリッジ挿入口12の天井面は、昇降台202上に設置される景品支持部350が移動できるように開口部308が開口されている。
また、昇降台202とリニアガイド305bとの間には、昇降台202が所定の最下部に位置することを検知するための位置検知板306が挟持されている。そして、この位置検知板306を検知する位置検知センサ307が、位置検知板306に対応させて下部ユニット23の底面に設置されている。この位置検知センサ307として、例えば、光センサなどが用いられ、位置検知センサ307は、制御手段28に回線を介して接続されている。
上部ユニット22の天井面の下端近傍には、景品支持部350上に特殊景品Wが載置されているか否かを検知する景品載置検知センサ309が設置されている。この景品載置検知センサ309は、接点スイッチセンサ、光学センサなどで構成され、制御手段28に回線を介して接続されている。
下部ユニット23の底面には、スパイラルシャフト303にギヤ部302を介して動力を伝達し、スパイラルシャフト303を回転させるステッピング駆動モータ301が設置されている。また、このステッピング駆動モータ301は、正逆回転可能であり、制御手段28に回線を介して接続されている。
ステッピング駆動モータ301に接続されたギヤ部302とステッピング駆動モータ301との間の回転軸に、ステッピング駆動モータ301の回転軸の回転数を検知するエンコーダ部310が設けられている。また、エンコーダ部310は、制御手段28に回線を介して接続されている。このエンコーダ部310からの情報に基づいて、景品支持部350上の特殊景品Wの数量を検知することができる。
(景品支持部350の構成の一例)
次に、景品支持部350の構成の一例について、図13を参照して説明する。
図13には、景品支持部350の一部を断面とした図が示されている。
景品支持部350は、昇降台202の凸状部上に立設された支柱351と、この支柱351上に支柱に対して垂直に設置された平板352と、この平板352上に配置されたバネ併設棒逃し部材353と、景品カートリッジ13の景品収納部100に収納された特殊景品Wを支持する支持部材201と、この支持部材201の下面に一端が立設され、他端がバネ併設棒逃し部材353に開口された貫通孔に貫通し自由端を形成するバネ併設棒355と、バネ併設棒355の周囲に巻きつけられたバネ354と、支持部材201と他端がバネ併設棒逃し部材353との間に設置され、回転軸356aを軸として回転可能な回動部材356とから主に構成されている。
支柱351は、円筒または円柱で形成され、支持部材201を所定の高さに位置させるために所定の長さに調整されている。
平板352上に固着されたバネ併設棒逃し部材353は、断面が上端部より外側へ延設されたフランジ部を有した凹型の板状の部材で形成され、そのフランジ部には、バネ併設棒355を貫通させるための貫通孔が設けられている。また、凹型の底部には、回動部材356が固着されている。なお、貫通孔は、バネ併設棒355が平板352に当たるまで抵抗なく貫通でき、かつバネ併設棒355に巻きつけられたバネ345がこの貫通孔を通過できない程度の孔径で形成されている。
支持部材201に下面には、所定のバネ定数のバネ354が巻きつけられた2本のバネ併設棒355が、それぞれ回動部材356の回転軸356aに対して対称に、支持部材201の両端縁部に配設されている。
支持部材201は、例えば樹脂などの材料で形成され、支持部材201の上面には、景品カートリッジ13の景品収納部100に収納された特殊景品Wの形状に合わせて水平に形成されている。この支持部材201の上表面に特殊景品Wとの間における摩擦係数を高くするための凸凹部を形成することで、支持部材201と接触する特殊景品Wのずれなどを防止することができる。なお、支持部材201は、樹脂以外にも金属などで構成することもできる。
回動部材356は、上部回動部材356bと下部回動部材356cとが回転軸356aによって軸支されている。この回動部材356は、下部回動部材356cがバネ併設棒逃し部材353に固定されているため、図12の断面図によれば、上部回動部材356bが回転軸356aを中心として右回転または左回転が可能となる。これによって、回動部材356が固着された支持部材201は、回転軸356aを中心として右回転または左回転することができる。
ここで、この回転方向は、後述する上部ユニット22における特殊景品Wの排出方向(図13中の支持部材201上に矢印で示した方向)に対して、この排出方向を上下方向に変動する方向に相当する。
ここで、回動部材356の構成は、図13に示した回転軸356aを中心とした形態に限られるものではない。例えば、回動部材356を設けずに、平板352上に支持部材201を備えた構造であってもよい。
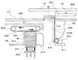
(上部ユニット22および景品払出ユニット14の構成の一例)
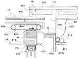
次に、上部ユニット22および景品払出ユニット14の構成の一例について、図14〜16を参照して説明する。
図14には、上部ユニット22および景品払出ユニット14の断面図が示されている。図15には、上部ユニット22において特殊景品Wが当接する当接部400を特殊景品Wが当接する方向(景品カートリッジ13側から上方をみた方向)からみたときの平面図が示されている。また、図16には、特殊景品Wが当接する当接部400の側面からの平面図が示されている。
上部ユニット22の当接部400には、支持部材201に支持された特殊景品Wが当接し、水平2列に設置される6個の回転自在の景品受ローラ401と、景品受ローラ401に当接した特殊景品Wを景品押出爪402によって景品スタッカ部403に押し出す回転ベルト404とから主に構成されている。この構成では、排出手段と当接部が一体的に構成されているが、この構成に限るものではない。
なお、回転ベルト404は、制御手段28に配線を介して接続された駆動モータ(図示しない)によって回転される。そして、特殊景品Wを1枚毎に景品スタッカ部403へ排出する景品押出爪402が所定位置に達したことを、ロータリエンコーダ(図示しない)で検知し、景品スタッカ部403へ排出された特殊景品Wの枚数を計数する。ここで、ロータリエンコーダ(図示しない)には、回転ベルト404の位置を検知可能なようにその回転駆動が所定ギヤ比で伝達されている。このロータリエンコーダは、制御手段28に配線を介して接続されている。また、景品載置検知センサ309が特殊景品Wを検知しない場合には、回転ベルト404は駆動されない。
また、図15および16に示すように、当接部400の側面の長手方向の中央部には、例えば、両端面にバネが設けられた弾性部材405の一端が接続され、弾性部材405の他端は、上部ユニット22の底面部材に接続される。なお、弾性部材405の他端が接続されるのは、上部ユニット22の底面部材に限られるものではなく、例えば、景品カートリッジ挿入口12の天井板上面や、景品払出機本体で払い出し中に対地不動な部分であればよい。
この弾性部材405は、当接部400の両側面に少なくとも1個ずつ設けられている。この弾性部材405は、バネに限られるものではなく、所定の力に対して一定の割合で変化する弾性部材ならばよい。この弾性部材405を設けることで、当接部400が、所定の範囲で上下に移動可能となる。また、当接部400の自重および弾性部材405による一定の力を当接部400と接触する特殊景品Wに付加することができ、安定してスムーズに特殊景品Wを景品スタッカ部403に排出することができる。
また、当接部400の側面には、上部ユニット22の底面部材または景品カートリッジ挿入口12の天井板などに立接された軌道レール406に沿って摺動する摺動部材407を設けてもよい。この摺動部材407を設ける場合、当接部400の両側面に少なくとも1個ずつ摺動部材407を設けることが好ましい。この軌道レール406および摺動部材407を設けることによって、当接部400は、所定の軌道上を移動することができる。
さらに、当接部400の側面には、当接部400の上限位置および下限位置を検知するための位置検知板408が設置されている。この位置検知板408は、鉄板などで形成され、上部に上限位置を検知するための横方向に長い凸部408aと、その凸部408aの下部に、凸部408aよりも横方向に短く、下限位置を検知するための凸部408bとが形成されている。そして、位置検知板408が設置された当接部400の側面に対向する上部ユニット22の内壁面には、当接部400の上限位置および下限位置のそれぞれに対応させて、2つの位置検知センサ409(上限位置検知センサ、下限位置検知センサ)が設置されている。
この位置検知センサ409として、例えば、光を出射し、その出射光の位置検知板408からの反射光を検知する光センサなどが用いられ、この位置検知センサ409は、制御手段28に回線を介して接続されている。
また、上部ユニット22には、景品スタッカ部403に押し出された特殊景品Wを支持し、上下に昇降可能なスタッカ部昇降台410と、このスタッカ部昇降台410の背面に設けられたギヤ部410aと係合するギヤ部411を介して動力を与え、スタッカ部昇降台410を上下に移動するステッピング駆動モータ412が設けられている。さらに、スタッカ部昇降台410が通過できる程度に、上部ユニット22の天井部および景品払出ユニット14が設置される排出天板17には、開口部415が形成されている。
また、当接部400に当接した特殊景品Wを景品スタッカ部403に排出する際に通過する前ゲート413と、特殊景品Wの排出側と反対側に後ゲート414が壁状に設けられている。
この前ゲート413は、当接部400に当接した特殊景品Wを景品スタッカ部403に排出する際に、複数の特殊景品Wが景品スタッカ部403に排出されるのを防止するものである。したがって、当接部400と前ゲート413との高さ方向の隙間は、特殊景品Wの規格厚さよりも若干大きい程度であり、特殊景品Wの規格厚さの2倍以上となることは無い。一方、後ゲート414と当接部400との隙間は、回転ベルト404の景品押出爪402が通過できる程度となっている。
次に、景品払出ユニット14は、景品払出ユニット14の筐体内に設けられ、スタッカ部昇降台410によって景品払出ユニット14内に搬送された特殊景品Wを排出天板17上に押し出して払い出す景品押出部16から主に構成されている。
この景品押出部16は、一端側に特殊景品Wを押し出す押出板501と、この押出板501に垂直に接続され、駆動モータ(図示しない)に接続されたギヤ部と係合するギヤ部が設けられた押出板接合部材502とから構成されている。なお、駆動モータ(図示しない)は、制御手段28に回線を介して接続されている。
図14に示すように、景品押出部16の押出板501は、特殊景品Wの払出動作を行わない場合には、景品払出ユニット14の景品払出口15を閉鎖する閉鎖板として機能している。
また、景品押出部16の押出板501は、特殊景品Wの払出動作を行う場合には、スタッカ部昇降台410に支持された特殊景品Wが景品払出ユニット14内に搬送される前に、右側(図14中の景品押出部16が点線で示された位置)に移動される。そして、スタッカ部昇降台410に支持され、景品払出ユニット14内に搬送された特殊景品Wを排出天板17上に押し出す。
そして、景品払出ユニット14は、スタッカ部昇降台410の少なくとも上方が固定されたカバーで覆われているため、稼動部であるスタッカ部昇降台410、景品押出部16の押出板501が剥き出しにならないので安全である。
(景品払出機10の動作の一例)
次に、上記した景品払出機10における、景品カートリッジ13の景品払出機10への装填動作、施錠機構26の動作、特殊景品Wの昇降の動作、上部ユニット22および景品払出ユニット14の各動作の一例について、図を参照して説明する。続いて、景品払出機10の全体の動作の流れを、図を参照して説明する。
まず、景品払出機10各動作について説明する。
(景品カートリッジ13の景品払出機10への装填動作)
まず、景品カートリッジ13の景品払出機10への装填動作について、図6、7および11を参照して説明する。
ここで、景品払出機10には、6個の景品カートリッジ13を装填することが可能であるが、ここでは、その内の1個の景品カートリッジ13の装填動作について説明する。なお、他の景品カートリッジ13の装填動作も以下に示す装填動作と同様である。
また、6個の景品カートリッジ13内、例えば、2個の景品カートリッジ13には、大景品5000円の特殊景品W、他の2個の景品カートリッジ13には、中景品2500円の特殊景品W、残りの2個の景品カートリッジ13には、小景品100円の特殊景品Wが収納される。
図7に示すように、特殊景品Wを収納した景品カートリッジ13を、一端を先端にして景品カートリッジ挿入口12から景品払出機10に挿入する。また、図6に示すように、景品カートリッジ挿入口12から挿入され、カートリッジ設置板204上に載置された景品カートリッジ13は、所定の位置まで挿入されることで、カートリッジ設置板204の外側面に配設されたマグネット用プレート106とキャッチ手段110に配設されたマグネット111とが接続する。
ここで、キャッチ手段110には、挿入された景品カートリッジ13を識別するためのホール素子(図示しない)が備えられている。そして、制御手段28は、キャッチ手段110に設置されたホール素子からに情報に基づいて、景品カートリッジ挿入口12に挿入された景品カートリッジ13が適切なものであるかを判定する。この判定で、挿入された景品カートリッジ13が適切でない場合には、例えば、ブザーなどで知らせる。
続いて、制御手段28は、ステッピング駆動モータ206を駆動させ、タイミングベルト207を回転させ、カートリッジ設置板204を景品カートリッジ挿入口12からみて奥側に移動させる。
なお、カートリッジ設置板204を移動する際、カートリッジ設置板204の暴走により、限界位置に達したことを検知するリミットスイッチを設けてもよい。このリミットスイッチを設けた場合には、制御手段28は、リミットスイッチからの情報により、ステッピング駆動モータ206の駆動を停止させる。
続いて、カートリッジ設置板204の移動中に、キャッチ手段110側の景品収納部100の背面を形成する壁部の外面に設けられた光反射板107からの反射光を、景品搬送ユニット24の内壁面の景品カートリッジ挿入口12からみて最も奥側に設置された位置検知センサ108が検知すると、制御手段28は、ステッピング駆動モータ206の駆動を停止させる。この位置が、景品払出機10内における景品カートリッジ13の初期設定位置である。
この景品カートリッジ13の初期設定位置とは、最も景品カートリッジ挿入口12側の景品収納部100が、カートリッジガイドレール200の切欠された位置にあること、つまり、昇降台202上に設置された景品支持部350によって、最も景品カートリッジ挿入口12側の景品収納部100に収納された特殊景品Wを上方に移動できる位置にあることをいう。
(施錠機構26の動作)
次に、施錠機構26の動作について、図17〜22を参照して説明する。
図17〜22には、図7に示した施錠機構26および施錠機構26に係止されるカートリッジ挿入口扉25の断面図が示されている。
上記した景品カートリッジ13の景品払出機10への装填動作によって、景品カートリッジ13の景品払出機10への装填が完了すると、カートリッジ挿入口扉25が閉じられ、施錠機構26によってカートリッジ挿入口扉25が施錠される。また、所定の情報によって、施錠機構26の施錠が解除され、カートリッジ挿入口扉25が開扉する。この動作を次に詳細に説明する。
景品カートリッジ13の景品払出機10への装填が完了すると、カートリッジ挿入口扉25が閉じられ、閉じられる際、まず、カートリッジ挿入口扉25の係止開口部25aの施錠機構26側の上側端縁部36は、係止突起部29aの頂点部に向かって傾斜する外側部に当接する(図17)。
さらに、この状態からカートリッジ挿入口扉25を施錠機構26側へ押すと、ロック機能部29には、下方に力が加わり、ロック機能部29の係止突起部29a側は、支軸部31を中心に下方に回転する(図18)。
さらに、カートリッジ挿入口扉25を施錠機構26側へ押すと、ロック機能部29の係止突起部29a側は、さらに下方に回転し、係止開口部25aの上側内壁面37が、係止突起部29aの頂点部38に接する(図19)。
そして、カートリッジ挿入口扉25を施錠機構26側へさらに押すと、カートリッジ挿入口扉25の係止開口部25aに係止突起部29aが貫通し、略直角に屈曲した係止突起部29aの内側部にカートリッジ挿入口扉25の係止開口部25aの縁部が接触して施錠状態となる(図20)。ここで、係止突起部29aが係止開口部25aに貫通した場合(図19に示すように、係止突起部29aがカートリッジ挿入口扉25の右側に位置する場合)には、ロック機能部29の係止突起部29a側は、弾性部材33の復元力によって上方に引張られるため、ロック機能部29は、ほぼ水平な状態まで、支軸部31を中心に上方に回転する。
続いて、施錠機構26の施錠を解除する情報に基づいて、施錠機構26の施錠を解除する動作について説明する。
施錠機構26の施錠を解除する情報に基づいて、ロック解除作動部30が駆動し、ロック解除作動部30に他端が接続されたロック機能部29の他端側を上方に吊り上げる。これによって、支軸部31を回転軸としてロック機能部29の一端側(係止突起部29a側)が下方に回転し始める(図21)。
ロック解除作動部30がロック機能部29の他端側をさらに上方に吊り上げると、ロック機能部29の一端側(係止突起部29a側)がさらに下方に回転し、係止開口部25aから係止突起部29aが外れ、この反力でカートリッジ挿入口扉25が自動的に開扉する(図22)。
ここで、施錠機構26の施錠を解除する情報として、例えば、3列ある景品収納部100内の特殊景品Wが全て無くなったことを検知した景品載置検知センサ309からの情報、景品払出機10の操作表示パネル21に設けられたテンキー21fなどによって入力された入力情報、景品払出機10の背面扉11が開けられたことを背面扉開扉検知手段11cで検知した場合に出力される情報などを利用することができる。
(特殊景品Wの昇降の動作)
次に、図12、14、23〜25を参照して、初期設定位置に移動された景品カートリッジ13の景品収納部100に収納された特殊景品Wを上方に押し上げる動作の一例を説明する。
図23〜25には、景品収納部100に収納された特殊景品Wを景品支持部350で支持し、上部に移動する状態を示す断面図が示されている。
制御手段28からの指示に基づいて、ステッピング駆動モータ301が駆動されると、ギヤ部302がスパイラルシャフト303にその動力を伝達し、スパイラルシャフト303を回転させる。スパイラルシャフト303が回転すると、昇降台202が上昇し、景品支持部350が上昇し始める(図23)。
景品支持部350が上昇し、景品支持部350の支持部材201の上面が、景品収納部100に収納された最下部の特殊景品Wの下面に接する(図24)。
そして、積層された特殊景品Wは、支持部材201によって支持されて景品収納部100内を上方に移動される。
そして、積層された特殊景品Wの上部は、景品カートリッジ挿入口12の天井面に開口された開口部308を通過し、上部ユニット22内に搬送される(図25)。
そして、図14に示すように、支持部材201に支持された特殊景品Wが、当接部400の景品受ローラ401に当接する状態に設置される。
ここで、制御手段28は、当接部400の位置が所定の位置にあるか否かを位置検知センサ409からの情報に基づいて判断し、当接部400の位置の設定を行う。
この当接部400の位置の設定について、図26を参照して説明する。
図26には、当接部400の位置の設定における動作の流れを示す図が示されている。
制御手段28は、位置検知センサ409(上限位置検知センサ)からの情報に基づいて、位置検知センサ409(上限位置検知センサ)がONか、OFFかを判定する(ステップS600)。
ステップS600の判定で、ONと判定すると、制御手段28は、景品支持部350を下降させる方向にステッピング駆動モータ301を回転させる情報を出力し、景品支持部350を下降させる(ステップS601)。
ステップS600の判定でOFFと判定された場合またはステップS601の動作後、制御手段28は、位置検知センサ409(下限位置検知センサ)からの情報に基づいて、位置検知センサ409(下限位置検知センサ)がONか、OFFかを判定する(ステップS602)。
ステップS602の判定で、ONと判定すると、制御手段28は、景品支持部350を上昇させる方向にステッピング駆動モータ301を回転させる情報を出力し、景品支持部350を上昇させる(ステップS603)。
ステップS602の判定でOFFと判定された場合またはステップS603の動作後、さらにステップS600からの動作を繰り返し、当接部400が、上限位置と下限位置との間に位置するように位置設定される。
また、上部ユニット22の天井面の下端近傍に設置された景品載置検知センサ309によって、景品カートリッジ挿入口12側の景品収納部100に収納された特殊景品Wがなくなったことが検知された場合には、制御手段28は、景品支持部350を下降させる方向にステッピング駆動モータ301を回転させる情報を出力し、景品支持部350の支持部材201の上面がカートリッジ設置板204より下方に位置するまで景品支持部350を下降させる。
続いて、制御手段28は、ステッピング駆動モータ206を駆動させ、カートリッジ設置板204を景品カートリッジ挿入口12側に移動して、最も景品カートリッジ挿入口12側の景品収納部100に隣接する景品収納部100を景品支持部350上に移動する。
続いて、最も景品カートリッジ挿入口12側の景品収納部100の場合と同様に、その隣接する景品収納部100に収納される特殊景品Wを当接部400の景品受ローラ401に当接させる。そして、図26を参照して上述した当接部400の位置の設定動作を行う。
また、景品載置検知センサ309によって、3列ある景品収納部100内の特殊景品Wが全て無くなったことが検知された場合には、制御手段28は、景品支持部350を下降させる方向にステッピング駆動モータ301を回転させる情報を出力し、景品支持部350の支持部材201の上面がカートリッジ設置板204より下方に位置するまで景品支持部350を下降させる。そして、その景品カートリッジ13を景品カートリッジ挿入口12から取り出し可能な状態にする。
ここで、景品カートリッジ挿入口12の取り出し可能な位置とは、最も奥側の景品収納部100が、カートリッジガイドレール200の切欠された位置にあること、つまり、昇降台202上に設置された景品支持部350によって、最も奥側の景品収納部100に収納された特殊景品Wを上方に移動できる位置にあることをいう。
また、景品カートリッジ13を景品カートリッジ挿入口12から取り出し可能な状態になったときに、例えば、制御手段28は、景品カートリッジ13を景品カートリッジ挿入口12から取り出し可能であることを報知するための情報を景品払出ユニット14の上面の両端に設置されたスピーカ20に出力してもよい。その情報を入力したスピーカ20からは、例えば、「景品カートリッジを取り出し可能です」などの音声情報が発せられる。
また、制御手段28は、景品カートリッジ13を景品カートリッジ挿入口12から取り出し可能であることを報知するための情報を操作表示パネル21に設けられた表示部21aに出力してもよい。その情報を入力した表示部21aでは、例えば、「景品カートリッジを取り出し可能です」などの表示がされる。
なお、上記したように特殊景品Wを排出する景品収納部100の移動を行っている際にも、他の景品カートリッジ挿入口12に装填された景品カートリッジ13を用いることで、特殊景品Wの支払動作を続けることが可能である。
また、景品カートリッジ13を景品カートリッジ挿入口12から取り出し可能な状態にする動作は、景品載置検知センサ309からの出力に基づいて、3列ある景品収納部100内の特殊景品Wが全て無くなったことが検知された場合以外に、例えば、景品払出機10の操作表示パネル21に設けられたテンキー21fなどによって、景品カートリッジ13を取り出す指示をすることもできる。さらに、景品払出機10の背面扉11が開けられたことを背面扉開扉検知手段11cで検知した場合に、景品カートリッジ13を景品カートリッジ挿入口12から取り出し可能な状態にする動作を行わせてもよい。
(上部ユニット22および景品払出ユニット14の動作)
次に、上部ユニット22および景品払出ユニット14における動作について、図27〜31を参照して説明する。
図27〜29には、上部ユニット22の動作を示す断面図が示されている。また、図30および31には、景品払出ユニット14の動作を示す断面図が示されている。
制御手段28は、特殊景品Wの払い出しに関する情報に基づいて、回転ベルト404を駆動する駆動モータ(図示しない)を駆動し、回転ベルト404を回転させる。そして、回転ベルト404が回転し、回転ベルト404の景品押出爪402が、景品受ローラ401に当接した最上部の特殊景品Wを押し出す(図27)。
景品押出爪402によって特殊景品Wの積層部から押し出された特殊景品Wは、当接部400と前ゲート413との間の隙間を通って、景品スタッカ部403に排出され、スタッカ部昇降台410上に載置される(図28)。
上記した動作(図27および図28)を繰り返し、所定数の特殊景品Wをスタッカ部昇降台410上に載置する(図29)。
制御手段28は、所定数の特殊景品Wがスタッカ部昇降台410上に載置されたことを検知すると、スタッカ部昇降台410を上昇させる前に、景品押出部16を駆動する駆動モータ(図示しない)を駆動させる。そして、景品押出部16を景品払出口15側とは反対側(図29では右側)に移動し、景品払出口15側の押出板501の面を景品払出口15側とは反対側の開口部415の端辺上またはそれより奥に位置させる(図30)。
続いて、制御手段28は、ステッピング駆動モータ412を駆動し、スタッカ部昇降台410を上昇させる。スタッカ部昇降台410の上面が、景品払出ユニット14の下面(排出天板17の上面)と水平になる位置で景品払出ユニット14の上昇が停止する(図30)。
続いて、制御手段28は、景品押出部16を駆動する駆動モータ(図示しない)を駆動させ、景品押出部16を景品払出口15側に移動し、特殊景品Wを景品払出口15から排出する(図31)。
ここで、1つの景品払出口15から1回に払い出される特殊景品Wの最大数は、10個であり、例えば、払い出される特殊景品Wの数が11〜20個の場合には、異なるレーンの景品カートリッジ13を用いて、2つの景品払出口15から特殊景品Wが払い出される。また、払い出される特殊景品Wの数が21個以上の場合には、複数回の払出動作によって、景品払出口15から特殊景品Wが払い出される。
また、各レーンの景品カートリッジ13に収納される特殊景品Wの在庫枚数が、そのレーンから払い出すべき枚数に満たない場合は、在庫分を全てそのレーンから払い出し、残りを同じ特殊景品Wが収納されている他のレーンの景品カートリッジ13から払い出すことができる。
(景品払出機10の全体の動作の一例)
次に、景品払出機10の全体の動作の一例を、図32〜34を参照して説明する。
図32は、景品払出機10の構成部を示す図、図33および34は、景品払出機10における動作の流れを示す図である。
ここで、図32に示した、景品カートリッジ装填手段620、施錠手段621、景品昇降手段622、上部ユニット搬送手段623、景品払出ユニット搬送手段624は、それぞれ上述した、景品カートリッジ13の景品払出機10への装填動作、施錠機構26の動作、特殊景品Wの昇降の動作、上部ユニット22の動作、景品払出ユニット14の動作を行うものである。
そして、制御手段28によって制御される、景品カートリッジ装填手段620、施錠手段621、景品昇降手段622、上部ユニット搬送手段623、景品払出ユニット搬送手段624の各機器部は、次のように動作する(図33および34)。
以下に、図33および34を参照してその動作を説明する。
ここでは、6個の景品カートリッジ13を装填した景品払出機10について説明する。また、各景品カートリッジ13が装填される景品搬送ユニット24をレーンと記載し、景品払出機10は、1〜6のレーンを備える。
まず、制御手段28は、1レーンに関する取り出しボタンが押されたか否かを判定する(ステップS630)。なお、ここで、取り出しボタンは、景品払出機10の操作表示パネル21に設けられたテンキー21fなどに設けられている。
ステップS630の判定で、Yesの場合には、レーンに関するレーン番号(j)を1に書き換える(ステップS631)。
続いて、図34に示したレーンサブルーチンの「P」からの動作を行う(ステップS632)。
ここで、レーンサブルーチンの「P」からの動作について、図34を参照して説明する。
制御手段28は、FLG(j)(この場合1レーンに関するものなのでFLG(1))を1に書き換え、景品カートリッジ装填手段620および景品昇降手段622による上記した動作によって、1レーンの景品カートリッジ13を景品払出機10から取り出し可能な位置に移動させる動作を行う(ステップS800)。この際、施錠手段621の上記した動作によって、施錠機構26は開錠され、カートリッジ挿入口扉25は開扉されている。
続いて、制御手段28は、位置検知センサ307からの情報に基づいて、リフト機構300の昇降台202が所定の最下部の位置にあるか否かを判定する(ステップS801)。
ステップS801の判定で、Noの場合には、制御手段28は、景品昇降手段622を作動させ、昇降台202を所定の最下部の位置まで降下させる(ステップS802)。
ステップS801の判定で、Yesの場合には、制御手段28は、位置検知センサ108からの情報に基づいて、景品カートリッジ13が景品払出機10から取り出し可能な位置にあるか否かを判定する(ステップS803)。
ステップS803の判定で、Noの場合には、制御手段28は、景品カートリッジ装填手段620を作動させ、景品カートリッジ13を所定の位置まで移動する(ステップS804)。
ステップS803の判定で、Yesの場合には、制御手段28は、景品カートリッジ13を景品カートリッジ挿入口12から取り出し可能であることを報知するための情報を景品払出ユニット14の上面の両端に設置されたスピーカ20に出力し、スピーカ20から例えば、「景品カートリッジを取り出し可能です」などの音声情報を出させる。また、制御手段28は、景品カートリッジ13を景品カートリッジ挿入口12から取り出し可能であることを報知するための情報を操作表示パネル21に設けられた表示部21aに出力してもよい。その情報を入力した表示部21aでは、例えば、「景品カートリッジを取り出し可能です」などの表示してもよい(ステップS805)。
続いて、制御手段28は、FLG(j)(この場合1レーンに関するものなのでFLG(1))を0に書き換え、景品カートリッジ取出可能な状態にする(ステップS806)。
続いて、2レーン〜6レーンについて、上記した1レーンにおける動作と同様の動作を行う(図33のステップS633〜ステップS647)。なお、この際、各レーン番号に対応させて、レーン番号(j)は2〜6に書き換えられる。
続いて、制御手段28は、1レーンに、特殊景品Wが補充した景品カートリッジ13を装填した後に押される補充完了ボタンが押されたか否かを判定する(ステップS648)。なお、ここで、補充完了ボタンは、景品払出機10の操作表示パネル21に設けられたテンキー21fなどに設けられている。
ステップS648の判定で、Yesの場合には、レーンに関するレーン番号(j)を1に書き換える(ステップS649)。
続いて、図34に示したレーンサブルーチンのステップS810からの動作を行う(ステップS650)。
ここで、レーンサブルーチンのステップS810からの動作について、図34を参照して説明する。
まず、制御手段28は、この補充動作が初回か否かを判定する(ステップS810)。
ステップS810の判定で、Yesの場合には、各レーンに充填された景品カートリッジ13の3つの景品収納部100の列番号を示すk(j)を2に書き換える(ステップS811)。ここで示す1つの景品カートリッジ13には、景品収納部100が3つあるので、k(j)の値は、0〜2の3つの値を採り、最も景品カートリッジ挿入口12側の景品収納部100に対応するk(j)の値は2であり、最も奥側の景品収納部100に対応するk(j)の値は0である。例えば、k(1)が2とは、1レーンに充填された景品カートリッジ13の最も景品カートリッジ挿入口12側の景品収納部100を示している。
続いて、ステップS810の判定で、Noの場合、または、ステップS811の動作後、FLG(j)(この場合1レーンに関するものなのでFLG(1))を3に書き換え、景品カートリッジ装填手段620および景品昇降手段622による上記した動作によって、1レーンの景品カートリッジ13を初期設定位置および払出可能な位置に移動させる動作を行う(ステップS812)。この際、施錠手段621の上記した動作によって、カートリッジ挿入口扉25は、施錠機構26によって施錠される。
続いて、制御手段28は、位置検知センサ108からの情報に基づいて、k(1)が2の景品収納部100に収納される特殊景品Wを上方に搬送可能な位置か否かを判定する(ステップS813)。
ステップS813の判定で、Noの場合には、制御手段28は、景品カートリッジ装填手段620を作動させ、景品カートリッジ13を初期設定位置(k(1)が2の景品収納部100に収納される特殊景品Wを上方に搬送可能な位置)まで移動する(ステップS814)。
ステップS813の判定で、Yesの場合には、制御手段28は、位置検知板408からの情報に基づいて、リフト機構300の昇降台202が所定の位置(当接部400が上限位置と下限位置との間にある位置)にあるか否かを判定する(ステップS815)。
ステップS815の判定で、Noの場合には、制御手段28は、景品昇降手段622を作動させ、所定の位置まで特殊景品Wを上昇または下降させる(ステップS816)。
一方、ステップS815の判定で、Yesの場合には、制御手段28は、ステッピング駆動モータ301に接続されたギヤ部302とステッピング駆動モータ301との間の回転軸に設置されたエンコーダ部310からの情報に基づいて、k(1)が2の景品収納部100に収納される特殊景品Wの残量を検知する(ステップS817)。
続いて、制御手段28は、ステップS817で検知された特殊景品Wの残量の値に基づいて、その残量が0か否かを判定する(ステップS818)。
ステップS818の判定で、Noの場合には、制御手段28は、FLG(j)(この場合1レーンに関するものなのでFLG(1))を2に書き換え、上部ユニット搬送手段623および景品払出ユニット搬送手段624による上記した動作によって、1レーンから特殊景品Wを払い出し可能な状態にする(ステップS819)。
ステップS818の判定で、Yesの場合には、1レーンに充填された景品カートリッジ13の最も奥側の景品収納部100には特殊景品Wが無いので、制御手段28は、その景品カートリッジ13の中央の景品収納部100を対象とした動作を行ように、k(j)の値から1を引き、k(j)を2から1に書き換える(ステップS820)。
なお、景品収納部100に収納される特殊景品Wの残量、特に残量の有無の検知は、上部ユニット22の天井面の下端近傍に設置された景品載置検知センサ309からの情報に基づいて行ってもよい。
続いて、制御手段28は、k(j)の値が0より小さいか否かを判定する(ステップS821)。
ステップS821の判定で、Noの場合には、待機状態となる。一方、ステップS821の判定で、Yesの場合には、すべての景品収納部100の特殊景品Wの残量が0であるので、上記したステップS800からの景品カートリッジ13を景品カートリッジ挿入口12から取り出し可能な位置に移動するための動作が行われる。
続いて、2レーン〜6レーンについて、上記した1レーンにおける補充完了に関する動作と同様の動作を行う(図33のステップS651〜ステップS665)。なお、この際、各レーン番号に対応させて、レーン番号(j)は2〜6に書き換えられる。
ここで、FLG(j)が4の場合には、図34に示したレーンサブルーチンの「Q」からの動作を行う。
次に、レーンサブルーチンの「Q」からの動作について、図34を参照して説明する。
この動作は、特殊景品Wを払い出し中に、払い出しされていた景品収納部100に特殊景品Wが無くなった場合に行われる動作である。この場合の特殊景品Wの有無の判定は、エンコーダ部310からの情報、または景品載置検知センサ309からの情報に基づいて制御手段28が判定する。
制御手段28は、FLG(j)(1レーンに関する場合にはFLG(1))を4に書き換え、景品昇降手段622による上記した動作によって、jレーンの昇降台202を所定の最下部の位置に移動させる動作を行う(ステップS830)。
制御手段28は、位置検知センサ307からの情報に基づいて、リフト機構300の昇降台202が所定の最下部の位置にあるか否かを判定する(ステップS831)。
ステップS831の判定で、Noの場合には、制御手段28は、景品昇降手段622を作動させ、昇降台202を所定の最下部の位置まで降下させる(ステップS832)。
ステップS831の判定で、Yesの場合には、使用している景品収納部100には特殊景品Wが無いので、制御手段28は、使用している景品収納部100よりも1つ景品カートリッジ挿入口12側の景品収納部100を対象とした動作を行ように、k(j)から1を引いた値にk(j)を書き換える(ステップS833)。
続いて、制御手段28は、k(j)の値が0より小さいか否かを判定する(ステップS834)。
ステップS834の判定で、Noの場合には、少なくとも1つの景品収納部100には特殊景品Wが収納されているので、ステップS812に進む。
ステップS834の判定で、Yesの場合には、すべての景品収納部100に特殊景品Wが収納されていないので、景品カートリッジ13を景品カートリッジ挿入口12から取り出し可能な位置に移動するため、ステップS800に進む。
続いて、図33に示すように、制御手段28は、すべてのレーンから一斉に景品カートリッジ13を取り出し可能とするための一斉取り出しボタンが押されたか否かを判定する(ステップS666)。なお、ここで、一斉取り出しボタンは、例えば、景品払出機10の操作表示パネル21に設けられたテンキー21fなどに設けられている。
ステップS666の判定で、Yesの場合には、FLG(1)からFLG(6)の値をすべて1き書き換え、上記したFLGの値が1の場合に行われる景品払出機10から景品カートリッジ13を取り出し可能とする動作(ステップS801〜ステップS806)を行うことを可能にする(ステップS667)。
また、この際、施錠手段621の上記した動作によって、施錠機構26は開錠され、すべてのカートリッジ挿入口扉25は開扉されている。
ステップS666の判定で、Noの場合、またはステップS667の動作後には、制御手段28は、FLG(m)のレーン番号(m)を6に書き換え(FLG(6))、6レーンに関する動作設定を行う(ステップS668)。
続いて、制御手段28は、FLG(m)のレーン番号(m)が0より小さいか否かを判定する(ステップS669)。
ステップS669の判定で、Noの場合には、制御手段28は、FLG(m)の値が1、3、4のいずれかであるか否かを判定する(ステップS670)。
ステップS670の判定で、FLG(m)(6レーンに関する場合には、FLG(6))の値が1の場合には、図34に示したレーンサブルーチンの「C」からの景品払出機10から景品カートリッジ13を取り出し可能とする動作を行わせる。また、FLG(m)(6レーンに関する場合には、FLG(6))の値が3の場合には、図34に示したレーンサブルーチンの「B」からの景品カートリッジ13を初期設定位置および払出可能な位置に移動させる動作を行わせる。さらに、FLG(m)(6レーンに関する場合には、FLG(6))の値が4の場合には、図34に示したレーンサブルーチンの「A」からの特殊景品Wを払い出し中に、払い出しされていた景品収納部100に特殊景品Wが無くなった場合に行われる動作を行わせる。
また、FLG(m)の値が1、3、4以外の場合には、制御手段28は、FLG(m)のレーン番号(m)から1を引いて、「m−1」のレーンに関する動作設定を行う(ステップS671)。そして、ステップS669に進む。
続いて、ステップS669の判定で、Yesの場合には、制御手段28は、上部ユニット搬送手段623、景品払出ユニット搬送手段624による上記した動作によって、景品払出機10から特殊景品Wの払い出し動作を行わせる(ステップS672)。また、ステップS672において、特殊景品Wを払い出し中に、払い出しされていた景品収納部100に特殊景品Wが無くなった場合には、上述した図34の「Q」からの動作を行う。
上記したように、景品払出機10の一実施の形態によれば、景品カートリッジ13の景品払出機10への装填動作を行う景品カートリッジ装填手段620、特殊景品Wの昇降の動作を行う景品昇降手段622を備え、所定の入力情報に基づいて、それぞれを自動的に制御手段28で制御することができる。これによって、景品カートリッジ13が景品払出機10から取り出し可能な位置にある場合には、景品昇降手段622を所定の位置に移動させることで、景品カートリッジ13を景品払出機10から取り出し可能とすることができる。一方、景品カートリッジ13が景品払出機10から取り出し可能な位置にない場合には、景品昇降手段622および景品カートリッジ装填手段620の双方を動作させることで、景品カートリッジ13を景品払出機10から取り出し可能とすることができる。
また、景品払出機10では、景品払出機に複数の景品カートリッジ13を装填することができ、それぞれの景品カートリッジ13に対応したレーンから、上部ユニット22の動作を行う上部ユニット搬送手段623および景品払出ユニット14の動作を行う景品払出ユニット搬送手段624によって、特殊景品Wを個々に払い出すことができる。また、それぞれの景品カートリッジ13に対応して、景品昇降手段622と景品カートリッジ装填手段620が備えられている。そして、各景品昇降手段622と各景品カートリッジ装填手段620は、所定の入力情報に基づいて、制御手段28でそれぞれ制御され、例えば、所定の景品搬送ユニット24の景品昇降手段622と景品カートリッジ装填手段620のみを動作させることや、すべての景品搬送ユニット24の景品昇降手段622と景品カートリッジ装填手段620を同時に動作させることができる。
例えば、すべての景品搬送ユニット24の景品昇降手段622と景品カートリッジ装填手段620を同時に動作させる場合には、景品払出機10に充填されているすべての景品カートリッジ13を同時に景品払出機10から取り出し可能とすることができる。
さらに、景品払出機10に施錠機構26を有し、景品カートリッジ挿入口12を閉鎖するカートリッジ挿入口扉25が設けられているので、例えば、従業員以外の者が景品カートリッジ挿入口12内に装填されている景品カートリッジ13を取り出すことはできないため、防犯機能を向上させることができる。また、この施錠機構26は、所定の入力情報に基づいて、自動的に開錠しカートリッジ挿入口扉25を開扉可能にすることができ、作業効率を向上させることができる。
また、施錠機構26の開錠に伴って、自動的にカートリッジ挿入口扉25を開扉することができるので、例えば、景品カートリッジ挿入口12から景品カートリッジ13を取り出す際に、カートリッジ挿入口扉25を従業員が開くことなく作業を行うことができ、作業効率を向上させることができる。さらに、カートリッジ挿入口扉25を閉じることで、従業員が施錠の作業をすることなく、自動的に施錠することができるので、作業効率を向上させることができる。また、この施錠状態は電源を切った状態でも維持されるので、盗難などを防止することができる。
(景品払出システム700)
次に、景品払出システム700について、図35〜37を参照して説明する。
図35には、上述した景品払出機10に配線を介して景品管理機(POS)701が接続された景品払出システム700の一例が示されている。
なお、ここには、景品払出機10に配線を介して景品管理機(POS)701が接続された景品払出システム700の一例を示しているが、この構成に限らず、景品払出機10と景品管理機(POS)701との接続は、例えば、ネットワーク、管理総理(図示しない)を介して行われてもよい。また、複数の景品管理機(POS)701を景品払出機10に配線を介して接続することもできる。
また、図36は、景品管理機(POS)701の構成部を示す図、図37は、景品管理機(POS)701における動作の流れを示す図である。
まず、図35を参照して、景品払出機10に接続された景品管理機(POS)701の構成について説明する。
景品管理機(POS)701は、ICカード挿入口701a、入力用テンキーボード701b、バーコードリーダ701c、表示部701d、特殊景品ボタン701e、一般景品選択部701fで主に構成されている。
景品管理機(POS)701は、ICカード挿入口701aより挿入されたICカードより貯玉数を参照し、貯玉数とその貯玉数により交換される景品種別と数量の表示を行い、払い出す景品の種別と数量の情報を景品払出機10に出力するものである。ここで、ICカードは、カード形状を有し、従来から遊技システムで使用されていたICチップおよびアンテナを有する記憶媒体である。
また、景品管理機(POS)701において、獲得した遊技媒体数を計数する計数機(図示しない)で発券されたレシートを用いる場合には、バーコードリーダ701cでレシートに記録されたバーコード情報を読み取り、その情報に基づく貯玉数の範囲で、景品の種類と数量の情報を景品払出機10に出力するものである。
入力用テンキーボード701bは、ICカードの暗証番号の入力、景品払出機10への動作指示などを行う際の入力手段として用いられる。
特殊景品ボタン701eは、例えば、大景品(5000円)、中景品(2500円)、小景品(100円)などの特殊景品Wを景品払出機10から払い出す際に押されるボタンである。特殊景品ボタン701eが押された場合には、景品管理機(POS)701は、貯玉数より端玉(景品と交換後の残り玉)を最小にするよう計算し、払い出す特殊景品Wの種類、数量を決定し、その情報を景品払出機10に出力する。
一般景品選択部701fは、例えば、タバコ、ジュースなどの一般景品と交換する場合に、交換したい景品や個数を選択する入力手段である。一般景品と交換する場合には、店員などが景品を払い出すことが多いが、景品払出機などで自動的に景品を払い出すこともできる。
図36に示すように、景品管理機(POS)701は、制御部702、ICカード処理部703、記録媒体処理部704、選択ボタン検知部705、景品払出処理部706から主に構成されている。
制御部702は、演算装置(CPU)、読み出し専用メモリ(ROM)、ランダムアクセスメモリ(RAM)から主に構成され、CPUでは、ROMやRAMに格納されたプログラムやデータなどを用いて各種の演算処理を実行する。この制御部702では、ICカード処理部703、記録媒体処理部704、選択ボタン検知部705、景品払出処理部706の各機部間の信号の出入力を制御している。
ICカード処理部703は、ICカード挿入口701aから挿入されたICカードに記憶された、例えば、有価情報などの読み取り、その読み取った情報の制御部702への出力、制御部702からの更新された有価情報などのICカードへの書き込みなどを行うもので、例えば、リーダライタなどで構成される。ここで、有価情報とは、貯玉数または貯メダル数の情報である。
記録媒体処理部704は、バーコードリーダ701cなどによって、レシートに記録されたバーコード情報から貯玉数または貯メダル数の有価情報を読み取り、その読み取った情報を制御部702に出力するものである。
ICカード処理部703や記録媒体処理部704で読み取られた、例えば、貯玉数または貯メダル数などの情報は、表示部701dに表示される。また、表示部701dには、景品交換される景品の種類や個数なども表示させる。
選択ボタン検知部705は、入力用テンキーボード701b、特殊景品ボタン701e、一般景品選択部701fなどの選択ボタンが押されたことを検知し、その押された信号に基づいて、制御部702に信号を出力するものである。
景品払出処理部706は、選択ボタン検知部705で検知された信号に基づいて、例えば、景品払出機10に払い出される特殊景品Wの種類や個数などの景品払出情報を出力するものである。また、景品払出処理部706は、景品払出機10の制御手段28と回線を介して接続され、信号の入出力が可能である。
そして、制御部702によって制御される、ICカード処理部703、記録媒体処理部704、選択ボタン検知部705、景品払出処理部706の各機器部は、次のように動作する(図37)。
以下に、図37を参照してその動作を説明する。
ICカード処理部703においてICカードが挿入されているか否かが判定される(ステップS710)。
ステップS710の判定で、Noの場合には、バーコードリーダによって、レシートに記録された貯玉数などの有価情報を読み取る(ステップS711)。ICカード処理部703において読み取られた有価情報は、制御部702に出力される(ステップS711)。
ステップS710の判定で、Yesの場合には、ICカード処理部703は、ICカードに記憶された暗証番号を読み取り、読み取った暗証番号を制御部702に出力する(ステップS712)。
また、選択ボタン検知部705は、入力用テンキーボード701bで入力された暗証番号を検知し、その検知信号を制御部702に出力する(ステップS713)。制御部702は、ICカードから読み取られた暗証番号と入力用テンキーボード701bで入力された暗証番号とを比較判定する(ステップS714)。
ステップS714の判定で、双方の番号が一致しない場合(NGの場合)には、ICカード処理部703は、ICカードをカード挿入口701aから返却する(ステップS715)。ただし、ここで、ICカードを返却せずに、店員に暗証番号が一致しない旨を報知し、店員がそのICカードを利用した遊技者に、例えば、生年月日や電話番号などを質問し、遊技者による回答が、実際に登録されているものと一致すれば、忘れた暗証番号の変更手続きを取れるようにしてもよい。
一方、ステップS714の判定で、双方の番号が一致した場合(OKの場合)には、制御部702は、有価情報などを読み取る(ステップS716)。
次に、特殊景品ボタン701eが押されたが否かを選択ボタン検知部705が判定する(ステップS717)。
ステップS717の判定で、Noの場合には、景品交換が要求されているものが、一般景品の、例えば、タバコやジュースなどであり、一般景品選択部701fで選択された景品および数量の情報を選択ボタン検知部705が判定する(ステップS718)。
選択ボタン検知部705で判定された検知信号は、制御部702を介して景品払出処理部706に出力される。選択された一般景品は、その種別と数量が表示部701dに表示される(ステップS719)。
そして、制御部702において、払出景品在庫数から払い出された景品の数量を差し引き、その情報を景品払出処理部706に出力し、景品払出処理部706では払出景品在庫数の情報を更新する(ステップS720)。
ステップS717の判定で、特殊景品ボタン701eが押されたと判定された場合(ステップS717のYes)には、景品払出処理部706において、景品払出機10が併設されているか否かが判定される(ステップS721)。
ステップS721の判定で、Yesの場合には、制御部702は、有価情報から払い出される特殊景品Wの種類およびその個数などを算出し、その算出した情報を景品払出処理部706および表示部701dに出力する。そして、景品払出処理部706は、その算出した特殊景品Wの払い出しに関する情報を景品払出機10に出力し、景品払出機10から景品を払い出させる(ステップS722)。また、表示部701dは、その算出した特殊景品Wの払い出しに関する情報に基づいて、払い出される特殊景品Wの種類および数量などを表示する。
ここで、景品管理機(POS)701から特殊景品Wの払い出しに関する情報を入力した景品払出機10は、その情報に基づいて、上述した景品払出機10の動作により特殊景品Wを払い出す。
ステップS721の判定で、Noの場合には、制御部702は、有価情報から払い出される特殊景品Wの種類およびその個数などを算出し、その算出した情報を表示部701dに出力する。そして、表示部701dは、その算出した特殊景品Wの払い出しに関する情報に基づいて、払い出される特殊景品Wの種類および数量などを表示する。この場合には、店員などによって、その表示部701dの表示に基づいて、景品が払い出される(ステップS723)。
そして、制御部702において、特殊景品在庫数から払い出された特殊景品の数量を差し引き、その情報を景品払出処理部706に出力し、景品払出処理部706では特殊景品在庫数の情報を更新する(ステップS724)。
次に、再度、ICカード処理部703においてICカードが挿入されているか否かが判定される(ステップS725)。
ステップS725の判定で、Noの場合には、景品と交換された貯玉数などの有価情報および払い出された景品の種類や個数は、景品払出処理部706に記憶される(ステップS726)。なお、景品払出処理部706に記憶されたこれらの情報は、所定期間記憶されている。
ステップS725の判定で、Yesの場合には、景品と交換された貯玉数などの有価情報および払い出された景品の種類や個数は、景品払出処理部706に記憶される(ステップS727)。また、制御部702は、この景品と交換された貯玉数などの有価情報に基づいて、有価情報を更新し、更新した有価情報をICカード処理部703に出力する。ICカード処理部703は、その更新した有価情報に基づいてICカードの有価情報を更新し、ICカード挿入口701aからICカードを返却する(ステップS727)。
続いて、制御部702は、選択ボタン検知部705からの情報に基づいて、入力用テンキーボード701bに設けられた景品カートリッジ取出ボタンが押されたか否かを判定する(ステップS728)。ここで、景品カートリッジ取出ボタンは、景品払出機10内に装填されている景品カートリッジ13を景品払出機10から取り出す際に押されるボタンであり、景品管理機(POS)701からも、取り出しに関する指示を景品払出機10に出すことができる。
ここで、景品カートリッジ13の取り出しに関する指示は、景品管理機(POS)701から以外にも、例えば、景品払出機10の操作表示パネル21に設けられたテンキー21fなどによって行うこともできる。
ステップS728の判定で、Noの場合には、制御部702は待機状態となる。
一方、ステップS728の判定で、Yesの場合には、景品払出処理部706は、景品払出機10に接続解除移送指示情報を出力する(ステップS729)。この接続解除移送指示情報とは、景品払出機10において、景品支持部350を景品支持部350の支持部材201の上面がカートリッジ設置板204より下方に位置するまで下降させ、景品カートリッジ13を景品カートリッジ挿入口12から取り出し可能な位置に移動するための情報である。
この接続解除移送指示情報を入力した景品払出機10では、景品支持部350を下降させる方向にステッピング駆動モータ301を回転し、景品支持部350の支持部材201の上面がカートリッジ設置板204より下方に位置するまで景品支持部350を下降させる。続いて、下部ユニット23の底部に設置されたステッピング駆動モータ206を回転させ、景品カートリッジ13を景品カートリッジ挿入口12から取り出し可能な位置に移動する。
続いて、制御部702は、暗証番号入力要求情報を表示部701dに出力し、表示部701dは、その情報に基づいて、例えば「暗証番号を入力して下さい」などを表示する(ステップS730)。
制御部702は、選択ボタン検知部705からの情報に基づいて、入力用テンキーボード701bから入力された暗証番号と、予め記録された暗証番号が一致するか否かを判定する(ステップS731)。
ステップS731の判定で、Noの場合には、制御部702は、暗証番号が異なることを表示する情報を表示部701dに出力し、表示部701dは、その情報に基づいて、例えば「暗証番号が違います」などを表示する(ステップS732)。
一方、ステップS731の判定で、Yesの場合には、制御部702は、景品払出処理部706に景品払出機10のカートリッジ挿入口扉25の施錠機構26を開錠する情報を出力する(ステップS733)。景品払出処理部706は、その情報を景品払出機10に出力し、景品払出機10の制御手段28は、その情報に基づいて、施錠機構26を開錠し、カートリッジ挿入口扉25を開閉可能な状態にする。
さらに、制御部702は、カートリッジ挿入口扉25が開閉可能となったことを表示する情報を表示部701dに出力し、表示部701dは、その情報に基づいて、例えば「カートリッジ挿入口扉を開くことができます」などを表示する(ステップS734)。なお、この表示は、景品払出機10の表示部21aに表示させることもできる。
上記した景品払出システム700によれば、上述した景品払出機10の特徴に加え、景品払出機10に景品管理機(POS)701を併設しシステム化することで、特殊景品Wの払い出しを景品管理機(POS)701からの情報に基づいて、一貫して自動的に行うことができる。
また、景品払出機10に装填された景品カートリッジ13の取り出しを指示する景品カートリッジ取出ボタンが景品管理機(POS)701に設けられているので、景品管理機(POS)701からの指示により、景品払出機10に装填された景品カートリッジ13を自動的に取り出し可能な位置に移動させることができる。また、通常、従業員が入力操作などを行う景品管理機(POS)701から景品払出機10に装填された景品カートリッジ13の取り出しを指示することができるので、従業員がわざわざ景品払出機10までいって取り出しを指示する手間を省くことができ、作業効率の向上を図ることができる。
本発明の一実施形態における景品払出機の正面からの斜視図。 本発明の一実施形態における背面扉が閉じられた状態の景品払出機の背面からの斜視図。 本発明の一実施形態における背面扉が開かれた状態の景品払出機の背面からの斜視図。 景品カートリッジの斜視図。 景品カートリッジを移動する際の景品カートリッジの斜視図。 景品カートリッジの一方の側面の一部を示す斜視図。 景品カートリッジを景品カートリッジ挿入口に挿入する様子を示す斜視図。 施錠機構および施錠機構に係止されるカートリッジ挿入口扉の断面図。 施錠機構および施錠機構に係止されるカートリッジ挿入口扉の断面図。 景品払出機の一部の内部構造を示した斜視図。 景品カートリッジがカートリッジ設置板に載置された状態を示す平面図。 リフト機構の構成を示す図。 景品支持部の一部を断面とした図。 上部ユニットおよび景品払出ユニットの断面図。 当接部を特殊景品が当接する方向からみたときの平面図。 特殊景品が当接する当接部の側面からの平面図。 施錠機構および施錠機構に係止されるカートリッジ挿入口扉の断面図。 施錠機構および施錠機構に係止されるカートリッジ挿入口扉の断面図。 施錠機構および施錠機構に係止されるカートリッジ挿入口扉の断面図。 施錠機構および施錠機構に係止されるカートリッジ挿入口扉の断面図。 施錠機構および施錠機構に係止されるカートリッジ挿入口扉の断面図。 施錠機構および施錠機構に係止されるカートリッジ挿入口扉の断面図。 景品支持部の上部に移動する状態を示す断面図。 景品支持部の上部に移動する状態を示す断面図。 景品支持部の上部に移動する状態を示す断面図。 当接部の位置の設定における流れ図。 上部ユニットの動作を示す断面図。 上部ユニットの動作を示す断面図。 上部ユニットの動作を示す断面図。 景品払出ユニットの動作を示す断面図。 景品払出ユニットの動作を示す断面図。 景品払出機の構成部を示す図。 景品払出機10における動作の流れを示す図。 景品払出機10における動作の流れを示す図。 景品払出システムの一例を示す概要図。 景品管理機(POS)の構成部を示す図。 景品管理機(POS)における動作の流れを示す図。
符号の説明
10…景品払出機、12…景品カートリッジ挿入口、13…景品カートリッジ、14…景品払出ユニット、17…排出天板、21…操作表示パネル、22…上部ユニット、23…下部ユニット、24…景品搬送ユニット、25…カートリッジ挿入口扉、100…景品収納部、108…位置検知センサ、200…カートリッジガイドレール、202…昇降台、203…ガイドローラ、204…カートリッジ設置板、205…切欠部、206…ステッピング駆動モータ、207…タイミングベルト、300…リフト機構、301…ステッピング駆動モータ、302…ギヤ部、303…スパイラルシャフト、304…リニアシャフト。

Claims (10)

  1. 景品払い出し情報に基づいて、景品部材を積層して収納する景品収納部に収納された景品部材を搬送して払い出す景品払出機において、
    所定の指示に基づいて、前記景品収納部に収納された景品部材を払い出し可能な状態を解除する制御手段と、
    前記景品収納部を1つまたは複数有して構成される景品カートリッジと、
    前記景品カートリッジを挿入する景品カートリッジ挿入口を閉鎖する閉鎖手段と
    を具備し、
    前記制御手段が、前記所定の指示に基づいて、前記景品カートリッジを取り出しできるように前記閉鎖手段を開状態とする、または前記景品カートリッジを取り出しできないように前記閉鎖手段を閉状態とすることが可能なことを特徴とする景品払出機。
  2. 前記閉鎖手段が、少なくとも、景品カートリッジ挿入口を開閉する開閉扉を備え、
    前記制御手段が、前記所定の指示に基づいて、前記開閉扉を開扉可能または閉扉可能にすることを特徴とする請求項1記載の景品払出機。
  3. 前記景品収納部に収納された景品部材および/または前記景品カートリッジを移動可能な移動機構を備えることを特徴とする請求項1または2記載の景品払出機。
  4. 前記景品収納部の景品部材の有無を検知する景品部材検知手段をさらに具備し、
    前記所定の指示が、前記景品部材検知手段から出力される情報に基づくものであることを特徴とする請求項1乃至3のいずれか1項記載の景品払出機。
  5. 前記景品カートリッジを挿入する側に設けられた背面扉の開扉を検知する開扉検知手段をさらに具備し、
    前記所定の指示が、前記開扉検知手段から出力される情報に基づくものであることを特徴とする請求項1乃至4のいずれか1項記載の景品払出機。
  6. 景品と交換すべく遊技媒体数に対応する遊技媒体数情報を入力する遊技媒体数情報入力手段と、
    前記遊技媒体数情報入力手段で入力された遊技媒体数情報から景品払出情報を算出し、該景品払出情報を出力する景品情報出力手段と
    を備える景品管理装置と、
    前記景品管理装置からの景品払い出し情報に基づいて、景品部材を積層して収納する景品収納部に収納された景品部材を搬送して払い出し可能であり、所定の指示に基づいて、該払い出し可能な状態を解除する制御手段と、
    前記景品収納部を1つまたは複数有して構成される景品カートリッジと、
    前記景品カートリッジを挿入する景品カートリッジ挿入口を閉鎖する閉鎖手段と
    を備え、前記制御手段が、前記所定の指示に基づいて、前記景品カートリッジを取り出しできるように前記閉鎖手段を開状態とする、または前記景品カートリッジを取り出しできないように前記閉鎖手段を閉状態とすることが可能であり、前記景品管理装置と通信可能に接続された景品払出機と
    を具備することを特徴とする景品払出システム
  7. 前記閉鎖手段が、少なくとも、景品カートリッジ挿入口を開閉する開閉扉を備え、
    前記制御手段が、前記所定の指示に基づいて、前記開閉扉を開扉可能または閉扉可能にすることを特徴とする請求項6記載の景品払出システム
  8. 前記景品払出機が、前記景品収納部に収納された景品部材および/または前記景品カートリッジを移動可能な移動機構を備えることを特徴とする請求項6または7記載の景品払出システム
  9. 前記景品払出機が、
    前記景品収納部の景品部材の有無を検知する景品部材検知手段をさらに具備し、
    前記所定の指示が、前記景品部材検知手段から出力される情報に基づくものであることを特徴とする請求項6乃至8のいずれか1項記載の景品払出システム。
  10. 前記景品払出機が、
    前記景品カートリッジを挿入する側に設けられた背面扉の開扉を検知する開扉検知手段をさらに具備し、
    前記所定の指示が、前記開扉検知手段から出力される情報に基づくものであることを特徴とする請求項6乃至9のいずれか1項記載の景品払出システム。
JP2004032863A 2004-02-10 2004-02-10 景品払出機および景品払出システム Expired - Lifetime JP4486830B2 (ja)

Priority Applications (1)

Application Number Priority Date Filing Date Title
JP2004032863A JP4486830B2 (ja) 2004-02-10 2004-02-10 景品払出機および景品払出システム

Applications Claiming Priority (1)

Application Number Priority Date Filing Date Title
JP2004032863A JP4486830B2 (ja) 2004-02-10 2004-02-10 景品払出機および景品払出システム

Related Child Applications (1)

Application Number Title Priority Date Filing Date
JP2007057132A Division JP4486978B2 (ja) 2007-03-07 2007-03-07 景品払出機および景品払出システム

Publications (3)

Publication Number Publication Date
JP2005224259A JP2005224259A (ja) 2005-08-25
JP2005224259A5 JP2005224259A5 (ja) 2007-04-19
JP4486830B2 true JP4486830B2 (ja) 2010-06-23

Family

ID=34999437

Family Applications (1)

Application Number Title Priority Date Filing Date
JP2004032863A Expired - Lifetime JP4486830B2 (ja) 2004-02-10 2004-02-10 景品払出機および景品払出システム

Country Status (1)

Country Link
JP (1) JP4486830B2 (ja)

Families Citing this family (11)

* Cited by examiner, † Cited by third party
Publication number Priority date Publication date Assignee Title
JP5022639B2 (ja) * 2006-06-22 2012-09-12 Jcmシステムズ株式会社 景品払出装置
JP5302585B2 (ja) * 2008-07-17 2013-10-02 グローリー株式会社 景品払出装置および景品管理システム
JP2010220840A (ja) * 2009-03-24 2010-10-07 Mars Engineering Corp 物品押出装置および物品払出機
JP5324275B2 (ja) * 2009-03-24 2013-10-23 株式会社マースエンジニアリング 物品押出装置および物品払出機
JP5401139B2 (ja) * 2009-03-24 2014-01-29 株式会社マースエンジニアリング 物品押出装置および物品払出機
JP2010220841A (ja) * 2009-03-24 2010-10-07 Mars Engineering Corp 物品押出装置および物品払出機
JP5735041B2 (ja) * 2013-05-31 2015-06-17 株式会社マースエンジニアリング 物品押出装置および物品払出機
JP5735040B2 (ja) * 2013-05-31 2015-06-17 株式会社マースエンジニアリング 物品押出装置および物品払出機
JP6240740B2 (ja) * 2016-11-16 2017-11-29 グローリー株式会社 景品払出装置
JP6975548B2 (ja) * 2017-04-12 2021-12-01 グローリー株式会社 賞品払出装置
JP6560318B2 (ja) * 2017-11-06 2019-08-14 グローリー株式会社 景品払出装置

Family Cites Families (11)

* Cited by examiner, † Cited by third party
Publication number Priority date Publication date Assignee Title
JPS5593484A (en) * 1979-01-11 1980-07-15 Tokyo Electric Co Ltd Printer
JPS6251514A (ja) * 1985-08-30 1987-03-06 Ace Denken:Kk 景品払出装置の景品補給装置
JPH0779877B2 (ja) * 1988-06-01 1995-08-30 株式会社オーイズミ パチンコ店等における景品払出機
JPH0519118Y2 (ja) * 1988-11-24 1993-05-20
JPH03272788A (ja) * 1990-02-05 1991-12-04 Denkoushiya:Kk パチンコ機用枠施錠装置
JP2575463Y2 (ja) * 1992-09-03 1998-06-25 株式会社オーイズミ メンバーズカード発行処理装置
JP2631450B2 (ja) * 1994-04-12 1997-07-16 株式会社マースエンジニアリング 景品払出機
JP2999917B2 (ja) * 1994-04-12 2000-01-17 株式会社 マースエンジニアリング 景品払出機用カートリッジ
JP3664774B2 (ja) * 1995-07-20 2005-06-29 グローリー工業株式会社 物品投出装置およびこれを備えた物品投出機
JP2002018084A (ja) * 2000-07-06 2002-01-22 Sankyo Kk 景品払出装置
JP2003275454A (ja) * 2002-03-26 2003-09-30 Glory Ltd 換金振込機及び景品現金化システム

Also Published As

Publication number Publication date
JP2005224259A (ja) 2005-08-25

Similar Documents

Publication Publication Date Title
JP4486830B2 (ja) 景品払出機および景品払出システム
JP4486978B2 (ja) 景品払出機および景品払出システム
JPH07249139A (ja) 棒金放出機
JP5745226B2 (ja) 景品払出装置、管理装置および景品払出システム
JP4723666B2 (ja) 景品払出機および景品払出システム
JP2006204647A (ja) 物品払出機および物品払出方法
JP2010035872A (ja) 景品払出機、景品管理機および景品払出システム
JP5715170B2 (ja) 賞品払出装置
JP4486825B2 (ja) 景品払出機および景品払出システム
JP4564505B2 (ja) 景品払出機および景品払出システム
JP2008183410A (ja) 物品払出機および物品払出方法
JP2008186470A (ja) 物品払出機および物品払出方法
JP4955318B2 (ja) 景品払出装置
JP2005211335A5 (ja)
JP5063068B2 (ja) 景品払出機
JPH07275490A (ja) 景品払出機用カートリッジ
JP2007105519A (ja) 景品払出機および景品払出システム
JP2010233878A (ja) 物品払出装置および景品払出方法並びに景品払出システム
JP6113886B2 (ja) 景品払出装置
JP6521805B2 (ja) 景品払出装置
JP7645119B2 (ja) 賞品払出システム、賞品払出装置、及び、賞品払出装置における賞品払出方法
JP5735040B2 (ja) 物品押出装置および物品払出機
JP6521804B2 (ja) 景品払出装置及び景品払出システム
JP5285406B2 (ja) 景品管理機および景品払出システム
JPH07275494A (ja) 景品払出機

Legal Events

Date Code Title Description
A621 Written request for application examination

Free format text: JAPANESE INTERMEDIATE CODE: A621

Effective date: 20070209

A521 Request for written amendment filed

Free format text: JAPANESE INTERMEDIATE CODE: A523

Effective date: 20070307

A977 Report on retrieval

Free format text: JAPANESE INTERMEDIATE CODE: A971007

Effective date: 20091015

A131 Notification of reasons for refusal

Free format text: JAPANESE INTERMEDIATE CODE: A131

Effective date: 20091104

A521 Request for written amendment filed

Free format text: JAPANESE INTERMEDIATE CODE: A523

Effective date: 20091214

TRDD Decision of grant or rejection written
A01 Written decision to grant a patent or to grant a registration (utility model)

Free format text: JAPANESE INTERMEDIATE CODE: A01

Effective date: 20100323

A01 Written decision to grant a patent or to grant a registration (utility model)

Free format text: JAPANESE INTERMEDIATE CODE: A01

A61 First payment of annual fees (during grant procedure)

Free format text: JAPANESE INTERMEDIATE CODE: A61

Effective date: 20100329

R150 Certificate of patent or registration of utility model

Free format text: JAPANESE INTERMEDIATE CODE: R150

Ref document number: 4486830

Country of ref document: JP

Free format text: JAPANESE INTERMEDIATE CODE: R150

FPAY Renewal fee payment (event date is renewal date of database)

Free format text: PAYMENT UNTIL: 20130402

Year of fee payment: 3

FPAY Renewal fee payment (event date is renewal date of database)

Free format text: PAYMENT UNTIL: 20160402

Year of fee payment: 6

R250 Receipt of annual fees

Free format text: JAPANESE INTERMEDIATE CODE: R250

R250 Receipt of annual fees

Free format text: JAPANESE INTERMEDIATE CODE: R250

R250 Receipt of annual fees

Free format text: JAPANESE INTERMEDIATE CODE: R250

R250 Receipt of annual fees

Free format text: JAPANESE INTERMEDIATE CODE: R250

R250 Receipt of annual fees

Free format text: JAPANESE INTERMEDIATE CODE: R250

EXPY Cancellation because of completion of term