JP4466735B2 - 信号線駆動回路および表示装置、並びに電子機器 - Google Patents

信号線駆動回路および表示装置、並びに電子機器 Download PDF

Info

Publication number
JP4466735B2
JP4466735B2 JP2007338996A JP2007338996A JP4466735B2 JP 4466735 B2 JP4466735 B2 JP 4466735B2 JP 2007338996 A JP2007338996 A JP 2007338996A JP 2007338996 A JP2007338996 A JP 2007338996A JP 4466735 B2 JP4466735 B2 JP 4466735B2
Authority
JP
Japan
Prior art keywords
output
operational amplifier
negative
output buffer
positive
Prior art date
Legal status (The legal status is an assumption and is not a legal conclusion. Google has not performed a legal analysis and makes no representation as to the accuracy of the status listed.)
Expired - Fee Related
Application number
JP2007338996A
Other languages
English (en)
Other versions
JP2009162789A (ja
Inventor
登志生 鈴木
Current Assignee (The listed assignees may be inaccurate. Google has not performed a legal analysis and makes no representation or warranty as to the accuracy of the list.)
Sony Corp
Original Assignee
Sony Corp
Priority date (The priority date is an assumption and is not a legal conclusion. Google has not performed a legal analysis and makes no representation as to the accuracy of the date listed.)
Filing date
Publication date
Application filed by Sony Corp filed Critical Sony Corp
Priority to JP2007338996A priority Critical patent/JP4466735B2/ja
Priority to US12/271,622 priority patent/US9275596B2/en
Priority to KR1020080117644A priority patent/KR101531325B1/ko
Priority to TW097148955A priority patent/TWI405173B/zh
Priority to EP08022293.8A priority patent/EP2075788B1/en
Priority to CN2008101873141A priority patent/CN101504816B/zh
Publication of JP2009162789A publication Critical patent/JP2009162789A/ja
Application granted granted Critical
Publication of JP4466735B2 publication Critical patent/JP4466735B2/ja
Expired - Fee Related legal-status Critical Current
Anticipated expiration legal-status Critical

Links

Images

Classifications

    • GPHYSICS
    • G09EDUCATION; CRYPTOGRAPHY; DISPLAY; ADVERTISING; SEALS
    • G09GARRANGEMENTS OR CIRCUITS FOR CONTROL OF INDICATING DEVICES USING STATIC MEANS TO PRESENT VARIABLE INFORMATION
    • G09G3/00Control arrangements or circuits, of interest only in connection with visual indicators other than cathode-ray tubes
    • G09G3/20Control arrangements or circuits, of interest only in connection with visual indicators other than cathode-ray tubes for presentation of an assembly of a number of characters, e.g. a page, by composing the assembly by combination of individual elements arranged in a matrix no fixed position being assigned to or needed to be assigned to the individual characters or partial characters
    • G09G3/34Control arrangements or circuits, of interest only in connection with visual indicators other than cathode-ray tubes for presentation of an assembly of a number of characters, e.g. a page, by composing the assembly by combination of individual elements arranged in a matrix no fixed position being assigned to or needed to be assigned to the individual characters or partial characters by control of light from an independent source
    • G09G3/36Control arrangements or circuits, of interest only in connection with visual indicators other than cathode-ray tubes for presentation of an assembly of a number of characters, e.g. a page, by composing the assembly by combination of individual elements arranged in a matrix no fixed position being assigned to or needed to be assigned to the individual characters or partial characters by control of light from an independent source using liquid crystals
    • GPHYSICS
    • G09EDUCATION; CRYPTOGRAPHY; DISPLAY; ADVERTISING; SEALS
    • G09GARRANGEMENTS OR CIRCUITS FOR CONTROL OF INDICATING DEVICES USING STATIC MEANS TO PRESENT VARIABLE INFORMATION
    • G09G3/00Control arrangements or circuits, of interest only in connection with visual indicators other than cathode-ray tubes
    • G09G3/20Control arrangements or circuits, of interest only in connection with visual indicators other than cathode-ray tubes for presentation of an assembly of a number of characters, e.g. a page, by composing the assembly by combination of individual elements arranged in a matrix no fixed position being assigned to or needed to be assigned to the individual characters or partial characters
    • G09G3/34Control arrangements or circuits, of interest only in connection with visual indicators other than cathode-ray tubes for presentation of an assembly of a number of characters, e.g. a page, by composing the assembly by combination of individual elements arranged in a matrix no fixed position being assigned to or needed to be assigned to the individual characters or partial characters by control of light from an independent source
    • G09G3/36Control arrangements or circuits, of interest only in connection with visual indicators other than cathode-ray tubes for presentation of an assembly of a number of characters, e.g. a page, by composing the assembly by combination of individual elements arranged in a matrix no fixed position being assigned to or needed to be assigned to the individual characters or partial characters by control of light from an independent source using liquid crystals
    • G09G3/3611Control of matrices with row and column drivers
    • G09G3/3685Details of drivers for data electrodes
    • G09G3/3688Details of drivers for data electrodes suitable for active matrices only
    • GPHYSICS
    • G02OPTICS
    • G02FOPTICAL DEVICES OR ARRANGEMENTS FOR THE CONTROL OF LIGHT BY MODIFICATION OF THE OPTICAL PROPERTIES OF THE MEDIA OF THE ELEMENTS INVOLVED THEREIN; NON-LINEAR OPTICS; FREQUENCY-CHANGING OF LIGHT; OPTICAL LOGIC ELEMENTS; OPTICAL ANALOGUE/DIGITAL CONVERTERS
    • G02F1/00Devices or arrangements for the control of the intensity, colour, phase, polarisation or direction of light arriving from an independent light source, e.g. switching, gating or modulating; Non-linear optics
    • G02F1/01Devices or arrangements for the control of the intensity, colour, phase, polarisation or direction of light arriving from an independent light source, e.g. switching, gating or modulating; Non-linear optics for the control of the intensity, phase, polarisation or colour 
    • G02F1/13Devices or arrangements for the control of the intensity, colour, phase, polarisation or direction of light arriving from an independent light source, e.g. switching, gating or modulating; Non-linear optics for the control of the intensity, phase, polarisation or colour  based on liquid crystals, e.g. single liquid crystal display cells
    • G02F1/133Constructional arrangements; Operation of liquid crystal cells; Circuit arrangements
    • GPHYSICS
    • G09EDUCATION; CRYPTOGRAPHY; DISPLAY; ADVERTISING; SEALS
    • G09GARRANGEMENTS OR CIRCUITS FOR CONTROL OF INDICATING DEVICES USING STATIC MEANS TO PRESENT VARIABLE INFORMATION
    • G09G3/00Control arrangements or circuits, of interest only in connection with visual indicators other than cathode-ray tubes
    • G09G3/20Control arrangements or circuits, of interest only in connection with visual indicators other than cathode-ray tubes for presentation of an assembly of a number of characters, e.g. a page, by composing the assembly by combination of individual elements arranged in a matrix no fixed position being assigned to or needed to be assigned to the individual characters or partial characters
    • GPHYSICS
    • G09EDUCATION; CRYPTOGRAPHY; DISPLAY; ADVERTISING; SEALS
    • G09GARRANGEMENTS OR CIRCUITS FOR CONTROL OF INDICATING DEVICES USING STATIC MEANS TO PRESENT VARIABLE INFORMATION
    • G09G2310/00Command of the display device
    • G09G2310/02Addressing, scanning or driving the display screen or processing steps related thereto
    • G09G2310/0264Details of driving circuits
    • G09G2310/0281Arrangement of scan or data electrode driver circuits at the periphery of a panel not inherent to a split matrix structure
    • GPHYSICS
    • G09EDUCATION; CRYPTOGRAPHY; DISPLAY; ADVERTISING; SEALS
    • G09GARRANGEMENTS OR CIRCUITS FOR CONTROL OF INDICATING DEVICES USING STATIC MEANS TO PRESENT VARIABLE INFORMATION
    • G09G2310/00Command of the display device
    • G09G2310/02Addressing, scanning or driving the display screen or processing steps related thereto
    • G09G2310/0264Details of driving circuits
    • G09G2310/0297Special arrangements with multiplexing or demultiplexing of display data in the drivers for data electrodes, in a pre-processing circuitry delivering display data to said drivers or in the matrix panel, e.g. multiplexing plural data signals to one D/A converter or demultiplexing the D/A converter output to multiple columns
    • GPHYSICS
    • G09EDUCATION; CRYPTOGRAPHY; DISPLAY; ADVERTISING; SEALS
    • G09GARRANGEMENTS OR CIRCUITS FOR CONTROL OF INDICATING DEVICES USING STATIC MEANS TO PRESENT VARIABLE INFORMATION
    • G09G3/00Control arrangements or circuits, of interest only in connection with visual indicators other than cathode-ray tubes
    • G09G3/20Control arrangements or circuits, of interest only in connection with visual indicators other than cathode-ray tubes for presentation of an assembly of a number of characters, e.g. a page, by composing the assembly by combination of individual elements arranged in a matrix no fixed position being assigned to or needed to be assigned to the individual characters or partial characters
    • G09G3/34Control arrangements or circuits, of interest only in connection with visual indicators other than cathode-ray tubes for presentation of an assembly of a number of characters, e.g. a page, by composing the assembly by combination of individual elements arranged in a matrix no fixed position being assigned to or needed to be assigned to the individual characters or partial characters by control of light from an independent source
    • G09G3/36Control arrangements or circuits, of interest only in connection with visual indicators other than cathode-ray tubes for presentation of an assembly of a number of characters, e.g. a page, by composing the assembly by combination of individual elements arranged in a matrix no fixed position being assigned to or needed to be assigned to the individual characters or partial characters by control of light from an independent source using liquid crystals
    • G09G3/3611Control of matrices with row and column drivers
    • G09G3/3614Control of polarity reversal in general

Landscapes

  • Engineering & Computer Science (AREA)
  • Physics & Mathematics (AREA)
  • General Physics & Mathematics (AREA)
  • Theoretical Computer Science (AREA)
  • Computer Hardware Design (AREA)
  • Crystallography & Structural Chemistry (AREA)
  • Chemical & Material Sciences (AREA)
  • Nonlinear Science (AREA)
  • Mathematical Physics (AREA)
  • Optics & Photonics (AREA)
  • Liquid Crystal Display Device Control (AREA)
  • Control Of Indicators Other Than Cathode Ray Tubes (AREA)
  • Liquid Crystal (AREA)

Description

本発明は、液晶表示装置等のアクティブマトリクス型表示装置における信号線駆動回路および表示装置、並びにそれを用いた電子機器に関するものである。
画像表示装置、たとえば液晶表示装置などでは、多数の画素をマトリクス状に配列し、表示すべき画像情報に応じて表示セル(画素)毎に光強度を制御することによって画像を表示する。
近年、液晶表示装置の開発、性能の発展はめざましく、テレビジョンや、携帯電話機やPDA(Personal Digital Assistants)などの携帯端末、デジタルカメラ、ノート型パーソナルコンピュータ、ビデオカメラなど、電子機器に入力された映像信号、若しくは、電子機器内で生成した映像信号を、画像若しくは映像として表示するあらゆる分野の電子機器の表示装置に適用することが可能である。
図1は、一般的な液晶表示装置の概略構成を示す図である。
この液晶表示装置1は、図1に示すように、透明絶縁基板、たとえばガラス基板上に、液晶セルを含む複数の画素がマトリクス状に配置された有効表示部2、信号線を駆動するための信号線駆動回路(水平駆動回路、ソースドライバ:HDRV)3、およびゲート線駆動回路(垂直駆動回路、ゲートドライバ:VDRV)4を有する。
有効表示部2には、図示しない液晶セルを含む複数の画素がマトリクス状に配列されている。
また、有効表示部2には、信号線駆動回路3、並びにゲート駆動回路4により駆動される信号線およびゲート線(垂直走査線)がマトリクス状に配線されている。
そして、液晶表示装置においては、液晶分子の劣化を防止するために、液晶に電圧が交流の形態で印加される必要があり、一般的な液晶表示装置では、液晶に交流電圧(コモン電圧)を印加する、コモン一定駆動法またはコモン反転駆動法の、いわゆる極性反転動作法が採用される。
コモン一定駆動法では、対向電極の電圧を一定レベルに固定したままで、画素電極に対向電極電圧に対して正の極性を有する電圧と負の極性を有する電圧を交互に印加する。
コモン反転駆動法は、対向電極の電圧を高レベルと低レベルとの間で反転させながら画素電極に対向電極電圧に対して正の極性を有する電圧と負の極性を有する電圧を交互に印加する。
この場合、対向電極の電圧が高レベルのときに画素電極にはこの高レベルを基準として負の極性を有する電圧が印加され、対向電極の電圧が低レベルのときに画素電極にはこの低レベルの基準として正の極性を有する電圧が印加されることになる。
この極性反転動作に対応して信号線駆動回路3の出力バッファ部が構成される。
信号線駆動回路3において、極性反転動作を行わせるため、出力バッファ部にレイルトゥレイル(Rail to Rail)の出力アナログバッファ回路を用いたり(非特許文献1参照)、スイッチを有する出力セレクタを用いた構成が採用されてきた(特許文献1参照)。
図2は、出力セレクタを用いた従来の信号線駆動回路の構成例を示すブロック図である。
この信号線駆動回路3は、パラレルシリアル変換された信号線を駆動するための駆動データが格納されるラインバッファと、ラインバッファ31のデータのレベルを駆動レベルに応じたレベルに変換するレベルシフタ32と、階調電圧を受けて駆動データをデジタルデータからアナログデータに変換するデジタルアナログコンバータ(DAC)を複数含むセレクタ部33と、セレクタ部33から出力された駆動データを増幅し、正極性の信号電圧および負極性の信号電圧を生成するするバッファアンプ部34と、互いに隣接する信号線に正極性の信号電圧および負極性の信号電圧を選択的に供給する出力セレクタ35と、を有する。
図3は、図2のバッファアンプ部と出力セレクタとの構成例を示す図である。
図3においては、隣接する2チャネル分に対応する信号線駆動回路の出力バッファ段を示している。実際には、アナログバッファのチャネル数は数100以上あり、これらのチャネルに対応する信号線が駆動される。
図3に示すバッファアンプ部34は、チャネルCH1に接続される信号線SGL1およびチャネルCH2に接続される信号線SGL2に正極性の信号電圧を供給する第1の増幅回路34−1と、信号線SGL1および信号線SGL2に負極性の信号電圧を供給する第2の増幅回路34−2と、を有する。
第1の増幅回路34−1は、前段のDAC出力に対して縦続接続された演算増幅器(OTA:Operational Transconductance Amplifier)34−11と出力増幅器(OAMP)34−12とにより構成されている。
OTA34−11の反転入力端子(−)が前段のDACの出力線に接続され、非反転入力端子(+)がOAMP34−12の出力に接続されている。
第1の増幅回路34−2は、前段のDAC出力に対して縦続接続されたOTA34−21とOAMP34−22とにより構成されている。
OTA34−21の反転入力端子(−)が前段のDACの出力線に接続され、非反転入力端子(+)がOAMP34−22の出力に接続されている。
出力セレクタ35は、第1のスイッチ群35−1および第2のスイッチ群35−2を有している。
第1のスイッチ群35−1は、信号STRでオン、オフが制御されるスイッチSW11と、信号SRSでオン、オフが制御されるスイッチSW12と、を有する。スイッチSW11とスイッチSW12とは相補的にオン、オフされる。
スイッチSW11の端子aが第1の増幅回路34−1のOAMP34−12の出力に接続され、端子bがチャネルCH1の信号線SGL1に接続されている。
スイッチSW12の端子aが第1の増幅回路34−1のOAMP34−12の出力に接続され、端子bがチャネルCH2の信号線SGL2に接続されている。
第2のスイッチ群35−2は、信号STRでオン、オフが制御されるスイッチSW21と、信号SRSでオン、オフが制御されるスイッチSW22と、を有する。スイッチSW21とスイッチSW22とは相補的にオン、オフされる。
スイッチSW21の端子aが第2の増幅回路34−2のOAMP34−22の出力に接続され、端子bがチャネルCH2の信号線SGL2に接続されている。
スイッチSW22の端子aが第2の増幅回路34−2のOAMP34−22の出力に接続され、端子bがチャネルCH1の信号線SGL1に接続されている。
このような構成において、出力セレクタ35のスイッチSW11とスイッチSW21がオン状態、スイッチSW12とスイッチSW22がオフ状態に制御されると、第1の増幅回路34−1による正極性の信号電圧が信号線SGL1に供給され、第2の増幅回路34−2により負極性の信号電圧が信号線SGL2に供給される。
一方、出力セレクタ35のスイッチSW12とスイッチSW22がオン状態、スイッチSW11とスイッチSW21がオフ状態に制御されると、第1の増幅回路34−1による正極性の信号電圧が信号線SGL2に供給され、第2の増幅回路34−2により負極性の信号電圧が信号線SGL1に供給される。
CMOS, Circuit Design, layout and Simulation P661 Figure 25.49, R.Jacob、 Baker Harry、 W.LI David E.Boyce 著 特開平10−153986号公報
上述したように、液晶表示装置においては、極性反転動作を行わせるため、Rail−To−Railの出力バッファ回路が用いられたり、あるいは図2および図3に示すような出力セレクタを用いることで極性反転を実現していた。
ところが、前者のRail−To−Railの出力バッファ回路では、次にあげるような問題がある。
すなわち、回路構成が複雑になり、消費電力が大きく、レイアウト面積が大きい。
また、後者の出力セレクタを用いる場合においては、回路構成の複雑化、消費電力の低減を図ることはできが、次にあげる問題がある。
ON抵抗を小さくするため、出力セレクタサイズと出力段のサイズが大きくなる。その結果、レイアウト面積の増加を招く。
また、出力セレクタのON抵抗によるセトリングの低下を招く。
アナログバッファのCH数は数100以上あり、CH数の多い高精細な用途にはレイアウト面積の削減が強く要求され、加えて近年の高精細化にともない動作周波数の高速化が課題となっている。
本発明は、回路構成の複雑化、消費電流の増加、特性低下を防止することができ、素子サイズ(レイアウト面積)の削減を図ることが可能な信号線駆動回路および表示装置、並びにそれを用いた電子機器を提供することにある。
上記目的を達成するため、本発明の第1の観点は、極性反転駆動される表示セルがマトリクス状に配置され、当該極性反転に対応して上記表示セルに接続される信号線に正極性の信号電圧または負極性の信号電圧を供給する信号線駆動回路であって、信号線を駆動する入力データを増幅し、正極性の信号電圧および負極性の信号電圧を生成し、対をなす第1信号線および第2の信号線に正極性の信号電圧および負極性の信号電圧を選択的に供給する出力バッファ部を有し、上記出力バッファ部は、入力データを増幅し、正極性の信号電圧を生成する正極性側演算増幅器と、入力データを増幅し、負極性の信号電圧を生成する負極性側演算増幅器と、上記第1の信号線に正極性または負極性の信号電圧を供給する第1の出力バッファと、上記第2の信号線に負極性または正極性の信号電圧を供給する第2の出力バッファと、上記正極性側演算増幅器の出力および上記負極性側演算増幅器の出力の各々と、上記第1の出力バッファの入力および上記第2の出力バッファの入力の各々との間、並びに、上記正極性側演算増幅器および上記負極性側演算増幅器の帰還入力段に配置されたスイッチ群と、を含み、上記スイッチ群は、第1のモード時は、上記正極性側演算増幅器で生成された正極性の信号電圧を上記第1の出力バッファに入力し、当該第1の出力バッファの出力を上記正極性側演算増幅器に帰還させ、上記負極性側演算増幅器で生成された負極性の信号電圧を上記第2の出力バッファに入力し、当該第2の出力バッファの出力を上記負極性側演算増幅器に帰還させ、第2のモード時は、上記正極性側演算増幅器で生成された正極性の信号電圧を上記第2の出力バッファに入力し、当該第2の出力バッファの出力を上記正極性側演算増幅器に帰還させ、上記負極性側演算増幅器で生成された負極性の信号電圧を上記第1の出力バッファに入力し、当該第1の出力バッファの出力を上記負極性側演算増幅器に帰還させ、上記第1の出力バッファの出力と上記第1の信号線との間、並びに上記第2の出力バッファの出力と上記第2の信号線との間には、スイッチが介在しない。
好適には、上記正極性側演算増幅器は、第1導電型トランジスタの差動対を有し、上記負極性側演算増幅器は、第2導電型トランジスタの差動対を有し、上記第1および第2の出力バッファは、AB級プシュプル動作機能を有する。
好適には、上記第1および第2の出力バッファは、2つの入力端子を有する。
本発明の第2の観点の表示装置は、極性反転駆動される表示セルがマトリクス状に配置される表示部と、上記極性反転に対応して上記表示セルに接続される信号線に正極性の信号電圧または負極性の信号電圧を供給する信号線駆動回路と、を有し、上記信号線駆動回路は、信号線を駆動する入力データを増幅し、正極性の信号電圧および負極性の信号電圧を生成し、対をなす第1信号線および第2の信号線に正極性の信号電圧および負極性の信号電圧を選択的に供給する出力バッファ部を含み、上記出力バッファ部は、入力データを増幅し、正極性の信号電圧を生成する正極性側演算増幅器と、入力データを増幅し、負極性の信号電圧を生成する負極性側演算増幅器と、上記第1の信号線に正極性または負極性の信号電圧を供給する第1の出力バッファと、上記第2の信号線に負極性または正極性の信号電圧を供給する第2の出力バッファと、上記正極性側演算増幅器の出力および上記負極性側演算増幅器の出力の各々と、上記第1の出力バッファの入力および上記第2の出力バッファの入力の各々との間、並びに、上記正極性側演算増幅器および上記負極性側演算増幅器の帰還入力段に配置されたスイッチ群と、を含み、上記スイッチ群は、第1のモード時は、上記正極性側演算増幅器で生成された正極性の信号電圧を上記第1の出力バッファに入力し、当該第1の出力バッファの出力を上記正極性側演算増幅器に帰還させ、上記負極性側演算増幅器で生成された負極性の信号電圧を上記第2の出力バッファに入力し、当該第2の出力バッファの出力を上記負極性側演算増幅器に帰還させ、第2のモード時は、上記正極性側演算増幅器で生成された正極性の信号電圧を上記第2の出力バッファに入力し、当該第2の出力バッファの出力を上記正極性側演算増幅器に帰還させ、上記負極性側演算増幅器で生成された負極性の信号電圧を上記第1の出力バッファに入力し、当該第1の出力バッファの出力を上記負極性側演算増幅器に帰還させ、上記第1の出力バッファの出力と上記第1の信号線との間、並びに上記第2の出力バッファの出力と上記第2の信号線との間には、スイッチが介在しない。
本発明の第3の観点は、表示装置を有する電子機器であって、上記表示装置は、極性反転駆動される表示セルがマトリクス状に配置される表示部と、上記極性反転に対応して上記表示セルに接続される信号線に正極性の信号電圧または負極性の信号電圧を供給する信号線駆動回路と、を有し、上記信号線駆動回路は、信号線を駆動する入力データを増幅し、正極性の信号電圧および負極性の信号電圧を生成し、対をなす第1信号線および第2の信号線に正極性の信号電圧および負極性の信号電圧を選択的に供給する出力バッファ部を含み、上記出力バッファ部は、入力データを増幅し、正極性の信号電圧を生成する正極性側演算増幅器と、入力データを増幅し、負極性の信号電圧を生成する負極性側演算増幅器と、上記第1の信号線に正極性または負極性の信号電圧を供給する第1の出力バッファと、上記第2の信号線に負極性または正極性の信号電圧を供給する第2の出力バッファと、上記正極性側演算増幅器の出力および上記負極性側演算増幅器の出力の各々と、上記第1の出力バッファの入力および上記第2の出力バッファの入力の各々との間、並びに、上記正極性側演算増幅器および上記負極性側演算増幅器の帰還入力段に配置されたスイッチ群と、を含み、上記スイッチ群は、第1のモード時は、上記正極性側演算増幅器で生成された正極性の信号電圧を上記第1の出力バッファに入力し、当該第1の出力バッファの出力を上記正極性側演算増幅器に帰還させ、上記負極性側演算増幅器で生成された負極性の信号電圧を上記第2の出力バッファに入力し、当該第2の出力バッファの出力を上記負極性側演算増幅器に帰還させ、第2のモード時は、上記正極性側演算増幅器で生成された正極性の信号電圧を上記第2の出力バッファに入力し、当該第2の出力バッファの出力を上記正極性側演算増幅器に帰還させ、上記負極性側演算増幅器で生成された負極性の信号電圧を上記第1の出力バッファに入力し、当該第1の出力バッファの出力を上記負極性側演算増幅器に帰還させ、上記第1の出力バッファの出力と上記第1の信号線との間、並びに上記第2の出力バッファの出力と上記第2の信号線との間には、スイッチが介在しない。
本発明によれば、たとえば第1のモード時には、正極性側演算増幅器による正極性の信号電圧が第1の出力バッファを介して第1の信号線に供給され、負極性側演算増幅器による負極性の信号電圧が第2の出力バッファを介して第2の信号線に供給される。
一方、第2のモード時には、正極性側演算増幅器による正極性の信号電圧が第2の出力バッファを介して第2の信号線に供給され、負極性側演算増幅器による負極性の信号電圧が第1の出力バッファを介して第1の信号線に供給される。
本発明によれば、回路構成の複雑化、消費電流の増加、特性低下を防止することができ、素子サイズ(レイアウト面積)の削減を図ることができる。
また、本発明において出力段増幅器のオフセットキャンセル効果も発生するため、画質向上にも貢献することになる。
以下、本発明の実施の形態について図面に関連付けて詳細に説明する。
図4は、本発明の実施形態に係る表示装置の構成例を示す図である。
ここでは、たとえば、各画素の電気光学素子として液晶セルを用いたアクティブマトリクス型液晶表示装置に適用した場合を例に採って説明する。
この液晶表示装置100は、図4に示すように、透明絶縁基板、たとえばガラス基板上に、液晶セルを含む複数の画素がマトリクス状に配置された有効表示部(ACDSP)110、信号線を駆動するための信号線駆動回路(水平駆動回路、ソースドライバ:HDRV)120、液晶セルを走査し選択するためのゲート線(走査線)を駆動するゲート線駆動回路(垂直駆動回路、ゲートドライバ)130、およびデータ処理回路(DATAPRC)140を有する。
以下、本実施形態の液晶表示装置100の各構成要素の構成並びに機能について順を追って説明する。
有効表示部(以下、単に表示部という)110は、液晶セルを含む複数の画素がマトリクス状に配列されている。
そして、有効表示部110は、信号線駆動回路120、並びにゲート線駆動回路130により駆動される信号線(データ線)およびゲート線(垂直走査線)がマトリクス状(格子状)に配線されている。
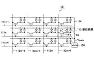
図5は、表示部110の具体的な構成の一例を示す図である。
ここでは、図面の簡略化のために、3行(n−1行〜n+1行)4列(m−2列〜m+1列)の画素配列の場合を例に採って示している。
図5において、表示部110には、ゲート線(垂直走査線)…,111n−1,111n,111n+1,…と、信号線(データ線)…,112m−2,112m−1,112m,112m+1,…とがマトリクス状に配線され、それらの交点部分に単位画素113が配置されている。
単位画素113は、画素トランジスタである薄膜トランジスタTFT(Thin Film Transistor)、液晶セルLCおよび保持容量Csを有する構成となっている。
ここで、液晶セルLCは、薄膜トランジスタTFTで形成される画素電極(一方の電極)とこれに対向して形成される対向電極(他方の電極)との間で発生する容量を意味する。
薄膜トランジスタTFTは、ゲート電極がゲート線(垂直走査線)…,111n−1,111n,111n+1,…に接続され、ソース電極が信号線…,112m−2,112m−1,112m,112m+1,…に接続されている。
液晶セルLCは、画素電極が薄膜トランジスタTFTのドレイン電極に接続され、対向電極が共通線114に接続されている。保持容量Csは、薄膜トランジスタTFTのドレイン電極と共通線114との間に接続されている。
共通線114には、コモン電圧供給回路(VCOM回路)150により所定の交流電圧がコモン電圧Vcomとして与えられる。
ゲート線(垂直走査線)…,111n−1,111n,111n+1,…の各一端は、図4に示すゲート線駆動回路130の対応する行の各出力端にそれぞれ接続される。
ゲート線駆動回路130は、たとえばシフトレジスタを含んで構成され、垂直転送クロックVCK(図示せず)に同期して順次垂直選択パルスを発生してゲート線(垂直走査線)…,111n−1,111n,111n+1,…に与えることによって垂直走査を行う。
また、表示部110において、たとえば、信号線…,112m−1,112m+1,…の各一端が図4に示す信号線駆動回路120の対応する列の各出力端に接続される。
信号線駆動回路120は、駆動レベルに応じたレベルに変換された信号線を駆動するための駆動データを、階調電圧に応じてデジタルデータからアナログデータに変換し、アナログ駆動データを増幅し、正極性の信号電圧および負極性の信号電圧を生成する機能を有し、さらに、互いに隣接する信号線に正極性の信号電圧および負極性の信号電圧を選択的に供給する機能を有している。
データ処理回路140は、たとえば外部より入力されたパラレルのデータのレベルを所定レベルにシフトするレベルシフタや、レベルシフトされたデータを位相調整や周波数を下げるために、シリアルデータからパラレルデータに変換するシリアル・パラレルコンバータを含み、パラレルデータを信号線駆動回路120に出力する。
以下、本実施形態に係る信号線駆動回路120の構成および機能について具体的に説明する。
図6は、本実施形態に係る信号線駆動回路の構成例を示すブロック図である。
図6に示す信号線駆動回路120は、シフトレジスタ121、データラッチ部122、DAC(デジタル・アナログコンバータ)123、および出力バッファ部124を有する。
なお、図6において、符号141で示すシリアル・パラレルコンバータ(SPC)は、データ処理回路141に含まれる。
シフトレジスタ121は、水平転送クロックHCK(図示せず)に同期して各列に対応する各転送段から順次シフトパルス(サンプリングパルス)をデータラッチ部122に出力する。
データラッチ部122は、シリアル・パラレルコンバータ141による信号線を駆動するためのデジタル駆動データを、シフトレジスタ121によるサンプリングパルスで順次サンプリングしてラッチする。
DAC123は、階調電圧を受けて駆動データをデジタルデータからアナログデータに変換する。
出力バッファ部124は、DAC123から出力されたアナログ駆動データを増幅し、正極性の信号電圧および負極性の信号電圧を生成し、かつ、対をなす互いに隣接する信号線112に正極性の信号電圧および負極性の信号電圧を選択的に供給する。
図7は、本実施形態に係る信号線駆動回路における出力バッファ部の構成例を示す図である。
以下の説明では、出力バッファ部124に符号200を付して説明する。
図7に示す出力バッファ部200は、前段のDAC123の出力に対して接続され入力データを増幅し、正極性の信号電圧を生成する機能を有する正極性側演算増幅器(OTA:Operational Transconductance Amplifier)211と、出力バッファとしての機能を有し、チャネルCHm(たとえばm=1)に接続される第1の信号線112mに正極性または負極性の信号電圧を供給する第1の共通出力増幅器(OAMP)212と、前段のDAC123の出力に対して接続され入力データを増幅し、負正極性の信号電圧を生成する機能を有する負極性側OTA221と、出力バッファとしての機能を有し、チャネルCHm+1(たとえばCH2)に接続される第2の信号線112m+1に負極性または正極性の信号電圧を供給する第2のOAMP222と、正極性側OTA211の出力および負極性側OTA221の出力の各々と、第1のOAMP212の入力および第2のOAMP222の入力の各々との間、並びに、正極性側OTA211および負極性側OTA221の帰還入力段に第1のスイッチSW231〜第8のスイッチSW238を含むスイッチ群230と、を有する。
正極性側OTA211の出力は、スイッチSW231を介して第1のOAMP212の入力に供給され、スイッチSW232を介して第2のOAMP222の入力に供給される。
負極性側OTA221の出力は、スイッチSW233を介して第2のOAMP222の入力に供給され、スイッチSW234を介して第1のOAMP212の入力に供給される。
正極性側OTA211の反転入力端子(−)が前段のDAC123の出力線が接続される入力端子TI1に接続され、非反転入力端子(+)がスイッチSW235を介して第1のOAMP212の出力端子に接続され、スイッチSW236を介して第2のOAMP222の出力端子に接続されている。
負極性側OTA221の反転入力端子(−)が前段のDAC123の出力線が接続される入力端子TI2に接続され、非反転入力端子(+)がスイッチSW237を介して第2のOAMP222の出力端子に接続され、スイッチSW238を介して第1のOAMP212の出力端子に接続されている。
第1のOAMP212の出力端子は、チャネルCH1の第1の信号線112mに接続される出力端子TO1に接続されている。
第2のOAMP222の出力端子は、チャネルCH2の第2の信号線112m+1に接続される出力端子TO2に接続されている。
スイッチ群230において、スイッチSW231、SW233、SW235、SW237は共通の信号STRでオン、オフが制御され、これらスイッチにより第1のスイッチ群が構成される。
また、スイッチSW232、SW234、SW236、SW238は共通の信号CRSでオン、オフが制御され、これらスイッチにより第2のスイッチ群が構成される。
第1のスイッチ群のスイッチSW231、SW233、SW235、SW237と第2のスイッチ群のスイッチSW232、SW234、SW236、SW238は相補的にオン、オフされる。
図示しない制御系により、信号STRがハイレベルのとき、信号CRSはローレベルに制御され、信号STRがローレベルのとき、信号CRSはハイレベルに制御される。
たとえば、第1のスイッチ群のスイッチSW231、SW233、SW235、SW237は信号STRがハイレベルのときオンし、ローレベルのときオフする。
第2のスイッチ群のスイッチSW232、SW234、SW236、SW238は信号CRSがハイレベルのときオンし、ローレベルのときオフする。
なお、本実施形態においては、信号STRと信号CRSが同時にONになることは禁止されている。
本実施形態では、信号STRがハイレベルのときを第1のモードとし、信号CRSがハイレベルのときを第2のモードとする。
スイッチSW231の端子aが正極性側OTA211の出力端子に接続され、端子bが第1のOAMP212の第1入力端子に接続されている。
スイッチSW232の端子aが正極性側OTA211の出力端子に接続され、端子bが第2のOAMP222の第1入力端子に接続されている。
スイッチSW233の端子aが負極性側OTA221の出力端子に接続され、端子bが第2のOAMP222の第2入力端子に接続されている。
スイッチSW234の端子aが負極性側OTA221の出力端子に接続され、端子bが第1のOAMP212の第2入力端子に接続されている。
スイッチSW235の端子aが第1のOAMP212の出力端子に接続され、端子bが正極性側OTA211の非反転入力端子(+)に接続されている。
スイッチSW236の端子aが第2のOAMP222の出力端子に接続され、端子bが正極性側OTA211の非反転入力端子(+)に接続されている。
スイッチSW237の端子aが負極性側OTA221の非反転入力端子(+)に接続され、端子bが第2のOAMP222の出力端子に接続されている。
スイッチSW238の端子aが負極性側OTA221の非反転入力端子(+)に接続され、端子bが第1のOAMP212の出力端子に接続されている。
図8は、図7の出力バッファ部のより具体的な構成例を示す回路図である。
正極性側OTA211は、第1導電型としてのpチャネルMOS(PMOS)トランジスタPT211,PT212、第2導電型としてのnチャネルMOS(NMOS)トランジスタMT211,NT212、および電流源I211を有する。
PMOSトランジスタPT211のソースおよびPMOSトランジスタPT212のソースが電源電位VDDに接続されている。
PMOSトランジスタPT211のドレインがNMOSトランジスタNT211のドレインに接続され、その接続点によりノードND211が形成されている。また、PMOSトランジスタPT211のドレインとゲートが接続され、その接続点がPMOSトランジスタPT212のゲートに接続されている。
PMOSトランジスタPT212のドレインがNMOSトランジスタNT212のドレインに接続され、その接続点により正極性側OTA211の出力ノード(出力端子)ND212が形成されている。
NMOSトランジスタNT211とNMOSトランジスタNT212のソース同士が接続され、その接続点が電流源I211のドレインに接続されている。
NMOSトランジスタNT211のゲートにより正極性側OTA211の非反転入力端子(+)が形成され、NMOSトランジスタNT212のゲートにより正極性側OTA211の反転入力端子(−)が形成されている。
したがって、NMOSトランジスタNT211のゲートがスイッチSW235,SW236の端子bに接続されている。また、NMOSトランジスタNT212のゲートがDAC123の出力の入力端子TI1に接続されている。
そして、OTA211の出力ノードND212がスイッチSW231,SW232の端子aに接続されている。
このような構成を有する正極性側OTA211は、NMOSトランジスタNT211、NT212により構成される差動増幅器(差動対)によりDAC123の出力信号と第1のOAMP212または第2のOAMP222の出力とを差動増幅し、そのデータ信号をスイッチSW231を介して第1のOAMP212に出力し、またスイッチSW232を介して第2のOAMP222に出力する。
第1のOAMP212は、PMOSトランジスタPT213、NMOSトランジスタNT213、電流源I212,I213、およびPMOSトランジスタPT214とNMOSトランジスタNT214のソース、ドレイン同士を接続して構成される転送ゲートTMG211を有する。
PMOSトランジスタPT213のソースが電源電位VDDに接続され、ドレインがNMOSトランジスタNT213のドレインに接続され、その接続点により第1のOAMP212の出力ノード(出力端子)ND213が形成されている。NMOSトランジスタNT213のソースが接地電位GNDに接続されている。
電流源I212は電源電位VDDに接続され、また、この電流源I212とPMOSトランジスタPT213のゲートと転送ゲートTMG211の一方の入出力端子T211が接続されて第1のOAMP212の第1の入力ノード(第1入力端子)ND214が形成されている。
電流源I213は接地電位GNDに接続され、また、この電流源I213とNMOSトランジスタNT213のゲートと転送ゲートTMG211の他方の入出力端子T212が接続されて第1のOAMP212の第2の入力ノード(第2入力端子)ND215が形成されている。
また、転送ゲートTMG211を構成するPMOSトランジスタPT214にゲートには第1のバイアス信号BIAS1が供給され、NMOSトランジスタNT214のゲートには第2のバイアス信号BIAS2が供給される。
第1のバイアス信号BIAS1と第2のバイアス信号BIAS2は出力段の第1のOAMP212にながれるDC電流を設定する電圧として印加される。
第1のOAMP212の出力ノードND213がチャネルCH1の出力端子TO1に接続されている。また、第1のOAMP212の第1の入力ノードND214がスイッチSW231の端子bに接続され、第2の入力ノードND215がスイッチSW234の端子bに接続されている。
このような構成を有する出力バッファとしての第1のOAMP212は、AB級プシュプル動作をする。
負極性側OTA221は、PMOSトランジスタPT221,PT222、NMOSトランジスタMT221,NT222、および電流源I221を有する。
PMOSトランジスタPT221のソースおよびPMOSトランジスタPT222のソース同士が電流源I221に接続され、電流源I221は電源電位VDDに接続されている。
PMOSトランジスタPT221のドレインがNMOSトランジスタNT221のドレインに接続され、その接続点によりノードND221が形成されている。また、NMOSトランジスタNT221のドレインとゲートが接続され、その接続点がNMOSトランジスタNT222のゲートに接続されている。
PMOSトランジスタPT222のドレインがNMOSトランジスタNT222のドレインに接続され、その接続点により第2のOTA221の出力ノード(出力端子)ND222が形成されている。
NMOSトランジスタNT221とNMOSトランジスタNT222のソース同士が接続され、その接続点が接地電位GNDに接続されている。
PMOSトランジスタPT221のゲートにより第2のOTA221の非反転入力端子(+)が形成され、PMOSトランジスタPT222のゲートにより第2のOTA221の反転入力端子(−)が形成されている。
したがって、PMOSトランジスタPT221のゲートがスイッチSW237,SW238の端子aに接続されている。また、PMOSトランジスタPT222のゲートがDAC123の出力の入力端子TI2に接続されている。
そして、第2のOTA221の出力ノードND222がスイッチSW233,SW234の端子aに接続されている。
このような構成を有する第2のOTA221は、PMOSトランジスタPT221、PT222により構成される差動増幅器(差動対)によりDAC123の出力信号と第2のOAMP222または第1のOAMP212の出力とを差動増幅し、そのデータ信号をスイッチSW233を介して第2のOAMP222に出力し、またスイッチSW234を介して第1のOAMP212に出力する。
第2のOAMP222は、PMOSトランジスタPT223、NMOSトランジスタNT223、電流源I222,I223、およびPMOSトランジスタPT224とNMOSトランジスタNT224のソース、ドレイン同士を接続して構成される転送ゲートTMG221を有する。
PMOSトランジスタPT223のソースが電源電位VDDに接続され、ドレインがNMOSトランジスタNT223のドレインに接続され、その接続点により第2のOAMP222の出力ノード(出力端子)ND223が形成されている。NMOSトランジスタNT223のソースが接地電位GNDに接続されている。
電流源I222は電源電位VDDに接続され、また、この電流源I222とPMOSトランジスタPT223のゲートと転送ゲートTMG221の一方の入出力端子T221が接続されて第2のOAMP222の第1の入力ノード(第1入力端子)ND224が形成されている。
電流源I223は接地電位GNDに接続され、また、この電流源I223とNMOSトランジスタNT223のゲートと転送ゲートTMG221の他方の入出力端子T222が接続されて第2のOAMP222の第2の入力ノード(第2入力端子)ND225が形成されている。
また、転送ゲートTMG221を構成するPMOSトランジスタPT224にゲートには第1のバイアス信号BIAS1が供給され、NMOSトランジスタNT224のゲートには第2のバイアス信号BIAS2が供給される。
第1のバイアス信号BIAS1と第2のバイアス信号BIAS2は出力段の第2のOAMP222にながれるDC電流を設定する電圧として印加される。
第2のOAMP222の出力ノードND223がチャネルCH2の出力端子TO2に接続されている。また、第2のOAMP222の第1の入力ノードND224がスイッチSW232の端子bに接続され、第2の入力ノードND225がスイッチSW233の端子bに接続されている。
このような構成を有する出力バッファとしての第2のOAMP222は、AB級プシュプル動作をする。
以上のように、図8の例では、正極性側OTA211はNチャネルの差動入力、負極性側OTA221はPチャネルの差動入力で構成される。
出力段バッファである第1のOAMP212および第2のOAMP222は、AB級プッシュプル動作をしており、正極性側OTA211と負極性側OTA222の出力は動作点が異なるため、出力段の第1のOAMP212および第2のOAMP222の入力は2入力となり別ノードへ接続している。
ここで、本実施形態に係る信号線駆動回路120における出力バッファ部200(124)の動作について、図7および図9に関連付けて説明する。
なお、図9(A)〜(D)は、本実施形態に係る出力バッファ部の動作を説明するためのタイミングチャートである。図9(A)はスイッチ信号STRを、図9(B)はスイッチ信号CRSを、図9(C)はDAC出力レベルを、図9(D)はチャネル出力を、それぞれ示している。
本出力バッファ部200は、図3に示す出力セレクタ方式と異なり、出力段のOAMP212,222の入力の前段にSW231〜SW234が接続されて、相補的にCH1用とCH2用の出力段の第1のOAMP212および第2のOAMP222への信号を切り替える。
また、帰還経路もそれにあわせて、相補的にSW235〜SW238で、正極性側OTA211と負極性側OTA222への入力を切り替える。
このような構成において、たとえば信号STRがハイレベル、信号CRSがローレベルで供給される第1のモード時には、スイッチ群230における第1のスイッチ群SW231,SW233,SW235,SW237がオン状態となり、第2のスイッチ群のスイッチSW232,SW234,SW236,SW238がオフ状態に保持される。
これにより、正極性側OTA211による正極性の信号電圧が第1のOAMP212を介して第1の信号線122mに供給され、負極性側OTA221による負極性の信号電圧が第2のOAMP222を介して第2の信号線112m+1に供給される。
一方、たとえば信号CRSがハイレベル、信号STRがローレベルで供給される第2のモード時には、スイッチ群230における第2のスイッチ群SW232,SW234,SW236,SW238がオン状態となり、第1のスイッチ群のスイッチSW231,SW233,SW235,SW237がオフ状態に保持される。
これにより、正極性側OTA211による正極性の信号電圧が第2のOAMP222を介して第2の信号線122m+1に供給され、負極性側OTA221による負極性の信号電圧が第1のOAMP212を介して第1の信号線112mに供給される。
本実施形態の出力バッファ部によれば、出力経路にスイッチ(SW)配置することなく極性の切り替えを行うことができる。
出力経路にスイッチ(SW)がないため、出力セレクタ方式に比べてセトリングが早い。
この構成において、各出力段の第1のOAMP212と第2のOAMP222とは共通のものとなる。
なお、図7および図8の例では、出力段の第1のOAMP212と第2のOAMP222の入力が2入力となっているがこれに限定しているわけではない。1入力でも構わない。)
図10(A),(B)は、出力セレクタ方式と本実施形態に係る出力バッファ部とのレイアウトを比較して示す図である。
図10に示すように、スイッチ(SW)サイズは、スイッチが出力経路に接続されないためON抵抗を小さくする必要がなく、サイズを削減できる。
また、出力段の第1および第2のOAMP212,222のサイズも、シリーズに接続されるスイッチ(SW)がないため、素子サイズが削減可能となる。
また、図11(A),(B)は、出力セレクタ方式と本実施形態に係る出力バッファ部とのバイアス段のオフセットの見え方の差異であって、出力段起因によるオフセット電圧の影響を比較して示す図である。
出力段AMP起因のオフセット電圧が合った場合、出力セレクタ方式では、図11(A)に示すように、オフセット電圧がキャンセルされることはなく、輝度が理想からはずれる。
この出力セレクタ方式の場合、コモン電圧Vcomの中心電圧からの平均電圧はVa+(Δ1+Δ2)/2となり、オフセットがキャンセルされることはない。
これに対して、本実施形態の出力バッファ部によれば、図11(B)に示すように、極性反転によりオフセットが2フレームで打ち消しあうことができる。
この場合、コモン電圧Vcomの中心電圧からの平均電圧はオフセット値Δ1、Δ2の値にかかわらずΔaである。
以上説明したように、本実施形態によれば、出力バッファ部200は、前段のDAC123の出力に対して接続された入力データを増幅し、正極性の信号電圧を生成する機能を有する正極性側OTA211と、出力バッファとしての機能を有し、チャネルCHm(たとえばm=1)に接続される第1の信号線112mに正極性または負極性の信号電圧を供給する第1のOAMP212と、前段のDAC123の出力に対して接続され入力データを増幅し、負正極性の信号電圧を生成する機能を有する負極性側OTA221と、出力バッファとしての機能を有し、チャネルCHm+1(たとえばCH2)に接続される第2の信号線112m+1に負極性または正極性の信号電圧を供給する第2のOAMP222と、正極性側OTA211の出力および負極性側OTA221の出力の各々と、第1のOAMP212の入力および第2のOAMP222の入力の各々との間、並びに、正極性側OTA211および負極性側OTA221の帰還入力段に第1のスイッチSW231〜第8のSW238を含むスイッチ群230と、を有することから、以下の効果を得ることができる。
出力経路にスイッチ(SW)をいれることなく、出力バッファ部の内部へ切り替えスイッチ(SW)を配置するため、スイッチ(SW)サイズの削減ができ、レイアウト面積を削減することが可能となる。
出力経路にスイッチ(SW)がないため、出力段のMOSサイズが削減でき、レイアウト面積を削減することが可能となる。
同様に、出力経路のスイッチ(SW)がないため、セトリングが改善され、特性の改善を図ることができる。
また、出力段の増幅器に起因のオフセット成分が、極性反転により光学的にキャンセルでき、特性改善を図れ、ひいては画質の向上を図ることができる。
なお、上記実施形態では、アクティブマトリクス型液晶表示装置に適用した場合を例に採って説明したが、これに限定されるものではなく、エレクトロルミネッセンス(EL)素子を各画素の電気光学素子として用いたEL表示装置などの他のアクティブマトリクス型表示装置にも同様に適用可能である。
またさらに、上記実施形態に係るアクティブマトリクス型液晶表示装置に代表されるアクティブマトリクス型表示装置は、図12〜図16に示す様々な電子機器、たとえば、デジタルカメラ、ノート型パーソナルコンピュータ、携帯電話等の携帯端末装置(モバイル機器)、デスクトップ型パーソナルコンピュータ、ビデオカメラなど、電子機器に入力された映像信号、若しくは、電子機器内で生成した映像信号を、画像若しくは映像として表示するあらゆる分野の電子機器の表示装置に適用することが可能である。
以下に、本実施形態が適用される電子機器の一例について説明する。
図12は、本実施形態が適用されるテレビジョンを示す斜視図である。
本適用例に係るテレビジョン300は、フロントパネル320やフィルターガラス330等から構成される映像表示画面部310を含み、その映像表示画面部310として本実施形態に係る表示装置を用いることにより作製される。
図13は、本実施形態が適用されるデジタルカメラを示す斜視図であり、図13(A)は表側から見た斜視図、図13(B)は裏側から見た斜視図である。
本適用例に係るデジタルカメラ300Aは、フラッシュ用の発光部311、表示部312、メニュースイッチ313、シャッターボタン314等を含み、その表示部312として本実施形態に係る表示装置を用いることにより作製される。
図14は、本実施形態が適用されるノート型パーソナルコンピュータを示す斜視図である。
本適用例に係るノート型パーソナルコンピュータ300Bは、本体321に、文字等を入力するとき操作されるキーボード322、画像を表示する表示部323等を含み、その表示部323として本実施形態に係る表示装置を用いることにより作製される。
図15は、本実施形態が適用されるビデオカメラを示す斜視図である。
本適用例に係るビデオカメラ300Cは、本体部331、前方を向いた側面に被写体撮影用のレンズ332、撮影時のスタート/ストップスイッチ333、表示部334等を含み、その表示部334として本実施形態に係る表示装置を用いることにより作製される。
図16は、本実施形態が適用される携帯端末装置、たとえば携帯電話機を示す図であり、図16(A)は開いた状態での正面図、図16(B)はその側面図、図16(C)は閉じた状態での正面図、図16(D)は左側面図、図16(E)は右側面図、図16(F)は上面図、図16(G)は下面図である。
本適用例に係る携帯電話機300Dは、上側筐体341、下側筐体342、連結部(ここではヒンジ部)343、ディスプレイ344、サブディスプレイ345、ピクチャーライト346、カメラ347等を含み、そのディスプレイ344やサブディスプレイ345として本実施形態に係る表示装置を用いることにより作製される。
一般的な液晶表示装置の概略構成を示す図である。 出力セレクタを用いた従来の信号線駆動回路の構成例を示すブロック図である。 図2のバッファアンプ部と出力セレクタとの構成例を示す図である。 本発明の実施形態に係る表示装置の構成例を示す図である。 液晶表示装置の有効表示部の構成例を示す回路図である。 本実施形態に係る信号線駆動回路の構成例を示すブロック図である。 本実施形態に係る信号線駆動回路における出力バッファ部の構成例を示す図である。 図7の出力バッファ部のより具体的な構成例を示す回路図である。 本実施形態に係る出力バッファ部の動作を説明するためのタイミングチャートである。 出力セレクタ方式と本実施形態に係る出力バッファ部とのレイアウトを比較して示す図である。 出力セレクタ方式と本実施形態に係る出力バッファ部とのバイアス段のオフセットの見え方の差異であって、出力段起因によるオフセット電圧の影響を比較して示す図である。 本実施形態が適用されるテレビを示す斜視図である。 本実施形態が適用されるデジタルカメラを示す斜視図である。 本実施形態が適用されるノート型パーソナルコンピュータを示す斜視図である。 本実施形態が適用されるビデオカメラを示す斜視図である。 本実施形態が適用される携帯端末装置、たとえば携帯電話機を示す図である。
符号の説明
100・・・液晶表示装置、110・・・有効表示部、120・・・信号線駆動回路(水平駆動回路、ソースドライバ:HDRV)、121・・・シフトレジスタ、122・・・データラッチ部、123・・・DAC(デジタル・アナログコンバータ)、124・・・出力バッファ部、130・・・ゲート線駆動回路(垂直駆動回路、ゲートドライバ)、140・・・データ処理回路(DATAPRC)、200・・・出力バッファ部、211・・・正極性側演算増幅器(OTA)、212・・・第1の共通出力増幅器(OAMP)、221・・・負極性側OTA、222・・・第2のOAMP、230・・・スイッチ群、SW231〜SW238・・・スイッチ。

Claims (7)

  1. 極性反転駆動される表示セルがマトリクス状に配置され、当該極性反転に対応して上記表示セルに接続される信号線に正極性の信号電圧または負極性の信号電圧を供給する信号線駆動回路であって、
    信号線を駆動する入力データを増幅し、正極性の信号電圧および負極性の信号電圧を生成し、対をなす第1信号線および第2の信号線に正極性の信号電圧および負極性の信号電圧を選択的に供給する出力バッファ部を有し、
    上記出力バッファ部は、
    入力データを増幅し、正極性の信号電圧を生成する正極性側演算増幅器と、
    入力データを増幅し、負極性の信号電圧を生成する負極性側演算増幅器と、
    上記第1の信号線に正極性または負極性の信号電圧を供給する第1の出力バッファと、
    上記第2の信号線に負極性または正極性の信号電圧を供給する第2の出力バッファと、
    上記正極性側演算増幅器の出力および上記負極性側演算増幅器の出力の各々と、上記第1の出力バッファの入力および上記第2の出力バッファの入力の各々との間、並びに、上記正極性側演算増幅器および上記負極性側演算増幅器の帰還入力段に配置されたスイッチ群と、を含み、
    上記スイッチ群は、
    第1のモード時は、
    上記正極性側演算増幅器で生成された正極性の信号電圧を上記第1の出力バッファに入力し、当該第1の出力バッファの出力を上記正極性側演算増幅器に帰還させ、
    上記負極性側演算増幅器で生成された負極性の信号電圧を上記第2の出力バッファに入力し、当該第2の出力バッファの出力を上記負極性側演算増幅器に帰還させ、
    第2のモード時は、
    上記正極性側演算増幅器で生成された正極性の信号電圧を上記第2の出力バッファに入力し、当該第2の出力バッファの出力を上記正極性側演算増幅器に帰還させ、
    上記負極性側演算増幅器で生成された負極性の信号電圧を上記第1の出力バッファに入力し、当該第1の出力バッファの出力を上記負極性側演算増幅器に帰還させ、
    上記第1の出力バッファの出力と上記第1の信号線との間、並びに上記第2の出力バッファの出力と上記第2の信号線との間には、スイッチが介在しない
    信号線駆動回路。
  2. 上記正極性側演算増幅器は、
    第1導電型トランジスタの差動対を有し、
    上記負極性側演算増幅器は、
    第2導電型トランジスタの差動対を有し、
    上記第1および第2の出力バッファは、
    AB級プシュプル動作機能を有する
    請求項1記載の信号線駆動回路。
  3. 上記第1および第2の出力バッファは、2つの入力端子を有する
    請求項2記載の信号線駆動回路。
  4. 極性反転駆動される表示セルがマトリクス状に配置される表示部と、
    上記極性反転に対応して上記表示セルに接続される信号線に正極性の信号電圧または負極性の信号電圧を供給する信号線駆動回路と、を有し、
    上記信号線駆動回路は、
    信号線を駆動する入力データを増幅し、正極性の信号電圧および負極性の信号電圧を生成し、対をなす第1信号線および第2の信号線に正極性の信号電圧および負極性の信号電圧を選択的に供給する出力バッファ部を含み、
    上記出力バッファ部は、
    入力データを増幅し、正極性の信号電圧を生成する正極性側演算増幅器と、
    入力データを増幅し、負極性の信号電圧を生成する負極性側演算増幅器と、
    上記第1の信号線に正極性または負極性の信号電圧を供給する第1の出力バッファと、
    上記第2の信号線に負極性または正極性の信号電圧を供給する第2の出力バッファと、
    上記正極性側演算増幅器の出力および上記負極性側演算増幅器の出力の各々と、上記第1の出力バッファの入力および上記第2の出力バッファの入力の各々との間、並びに、上記正極性側演算増幅器および上記負極性側演算増幅器の帰還入力段に配置されたスイッチ群と、を含み、
    上記スイッチ群は、
    第1のモード時は、
    上記正極性側演算増幅器で生成された正極性の信号電圧を上記第1の出力バッファに入力し、当該第1の出力バッファの出力を上記正極性側演算増幅器に帰還させ、
    上記負極性側演算増幅器で生成された負極性の信号電圧を上記第2の出力バッファに入力し、当該第2の出力バッファの出力を上記負極性側演算増幅器に帰還させ、
    第2のモード時は、
    上記正極性側演算増幅器で生成された正極性の信号電圧を上記第2の出力バッファに入力し、当該第2の出力バッファの出力を上記正極性側演算増幅器に帰還させ、
    上記負極性側演算増幅器で生成された負極性の信号電圧を上記第1の出力バッファに入力し、当該第1の出力バッファの出力を上記負極性側演算増幅器に帰還させ、
    上記第1の出力バッファの出力と上記第1の信号線との間、並びに上記第2の出力バッファの出力と上記第2の信号線との間には、スイッチが介在しない
    表示装置。
  5. 上記正極性側演算増幅器は、
    第1導電型トランジスタの差動対を有し、
    上記負極性側演算増幅器は、
    第2導電型トランジスタの差動対を有し、
    上記第1および第2の出力バッファは、
    AB級プシュプル動作機能を有する
    請求項記載の表示装置。
  6. 上記第1および第2の出力バッファは、2つの入力端子を有する
    請求項5記載の表示装置。
  7. 表示装置を有する電子機器であって、
    上記表示装置は、
    極性反転駆動される表示セルがマトリクス状に配置される表示部と、
    上記極性反転に対応して上記表示セルに接続される信号線に正極性の信号電圧または負極性の信号電圧を供給する信号線駆動回路と、を有し、
    上記信号線駆動回路は、
    信号線を駆動する入力データを増幅し、正極性の信号電圧および負極性の信号電圧を生成し、対をなす第1信号線および第2の信号線に正極性の信号電圧および負極性の信号電圧を選択的に供給する出力バッファ部を含み、
    上記出力バッファ部は、
    入力データを増幅し、正極性の信号電圧を生成する正極性側演算増幅器と、
    入力データを増幅し、負極性の信号電圧を生成する負極性側演算増幅器と、
    上記第1の信号線に正極性または負極性の信号電圧を供給する第1の出力バッファと、
    上記第2の信号線に負極性または正極性の信号電圧を供給する第2の出力バッファと、
    上記正極性側演算増幅器の出力および上記負極性側演算増幅器の出力の各々と、上記第1の出力バッファの入力および上記第2の出力バッファの入力の各々との間、並びに、上記正極性側演算増幅器および上記負極性側演算増幅器の帰還入力段に配置されたスイッチ群と、を含み、
    上記スイッチ群は、
    第1のモード時は、
    上記正極性側演算増幅器で生成された正極性の信号電圧を上記第1の出力バッファに入力し、当該第1の出力バッファの出力を上記正極性側演算増幅器に帰還させ、
    上記負極性側演算増幅器で生成された負極性の信号電圧を上記第2の出力バッファに入力し、当該第2の出力バッファの出力を上記負極性側演算増幅器に帰還させ、
    第2のモード時は、
    上記正極性側演算増幅器で生成された正極性の信号電圧を上記第2の出力バッファに入力し、当該第2の出力バッファの出力を上記正極性側演算増幅器に帰還させ、
    上記負極性側演算増幅器で生成された負極性の信号電圧を上記第1の出力バッファに入力し、当該第1の出力バッファの出力を上記負極性側演算増幅器に帰還させ、
    上記第1の出力バッファの出力と上記第1の信号線との間、並びに上記第2の出力バッファの出力と上記第2の信号線との間には、スイッチが介在しない
    電子機器。
JP2007338996A 2007-12-28 2007-12-28 信号線駆動回路および表示装置、並びに電子機器 Expired - Fee Related JP4466735B2 (ja)

Priority Applications (6)

Application Number Priority Date Filing Date Title
JP2007338996A JP4466735B2 (ja) 2007-12-28 2007-12-28 信号線駆動回路および表示装置、並びに電子機器
US12/271,622 US9275596B2 (en) 2007-12-28 2008-11-14 Signal-line driving circuit, display device and electronic equipments
KR1020080117644A KR101531325B1 (ko) 2007-12-28 2008-11-25 신호선구동 회로 및 표시장치 및 전자기기
TW097148955A TWI405173B (zh) 2007-12-28 2008-12-16 信號線驅動電路、顯示裝置及電子機器
EP08022293.8A EP2075788B1 (en) 2007-12-28 2008-12-22 Signal-line driving circuit, display device and electronic equipments
CN2008101873141A CN101504816B (zh) 2007-12-28 2008-12-26 信号线驱动电路、显示装置和电子设备

Applications Claiming Priority (1)

Application Number Priority Date Filing Date Title
JP2007338996A JP4466735B2 (ja) 2007-12-28 2007-12-28 信号線駆動回路および表示装置、並びに電子機器

Publications (2)

Publication Number Publication Date
JP2009162789A JP2009162789A (ja) 2009-07-23
JP4466735B2 true JP4466735B2 (ja) 2010-05-26

Family

ID=40377395

Family Applications (1)

Application Number Title Priority Date Filing Date
JP2007338996A Expired - Fee Related JP4466735B2 (ja) 2007-12-28 2007-12-28 信号線駆動回路および表示装置、並びに電子機器

Country Status (6)

Country Link
US (1) US9275596B2 (ja)
EP (1) EP2075788B1 (ja)
JP (1) JP4466735B2 (ja)
KR (1) KR101531325B1 (ja)
CN (1) CN101504816B (ja)
TW (1) TWI405173B (ja)

Families Citing this family (29)

* Cited by examiner, † Cited by third party
Publication number Priority date Publication date Assignee Title
JP5236434B2 (ja) * 2008-11-21 2013-07-17 ラピスセミコンダクタ株式会社 表示パネルの駆動電圧出力回路
KR101581723B1 (ko) * 2008-12-26 2015-12-31 주식회사 동부하이텍 액정 패널 소스 드라이버를 위한 앰프 출력 보호회로 및 이의 동작 방법
JP5172748B2 (ja) * 2009-03-11 2013-03-27 ルネサスエレクトロニクス株式会社 表示パネルドライバ及びそれを用いた表示装置
CN102044204B (zh) * 2009-10-13 2013-01-02 瑞鼎科技股份有限公司 驱动电路,应用其的电子显示装置与其驱动方法
US8830155B2 (en) * 2009-10-30 2014-09-09 Au Optronics Corporation Method and source driver for driving liquid crystal display
CN102081896B (zh) * 2009-11-26 2013-02-13 奇景光电股份有限公司 源极驱动器、显示装置及显示面板的驱动方法
KR101579839B1 (ko) * 2009-12-23 2015-12-23 삼성전자주식회사 높은 슬루 레이트를 가지는 출력버퍼, 출력버퍼 제어방법 및 이를 구비하는 디스플레이 구동장치
JP5374356B2 (ja) * 2009-12-28 2013-12-25 ラピスセミコンダクタ株式会社 駆動回路及び表示装置
CN102195635A (zh) * 2010-03-04 2011-09-21 联咏科技股份有限公司 可提高稳定性的输出缓冲电路
TW201241815A (en) * 2011-04-01 2012-10-16 Fitipower Integrated Tech Inc Source driver of LCD panel
CN102768824A (zh) * 2011-05-05 2012-11-07 天钰科技股份有限公司 液晶显示器面板的源极驱动器
CN103325346A (zh) * 2012-03-22 2013-09-25 联咏科技股份有限公司 驱动控制方法及相关源极驱动器
CN102721453B (zh) * 2012-07-13 2014-09-03 广州市浩云安防科技股份有限公司 一种枪弹分离感知装置
SG10201609410PA (en) * 2015-11-30 2017-06-29 Semiconductor Energy Lab Semiconductor device, display panel, and electronic device
WO2018150290A1 (en) * 2017-02-16 2018-08-23 Semiconductor Energy Laboratory Co., Ltd. Semiconductor device, display panel, display device, input/output device, and data processing device
TWI630791B (zh) * 2017-09-22 2018-07-21 奇景光電股份有限公司 通道放大器與應用於通道放大器的方法
CN107610633B (zh) * 2017-09-28 2020-12-04 惠科股份有限公司 一种显示面板的驱动装置及驱动方法
KR102755209B1 (ko) * 2018-06-15 2025-01-17 엘지디스플레이 주식회사 터치 디스플레이 장치, 데이터 구동 회로 및 컨트롤러의 구동 방법
US10802636B2 (en) * 2018-06-15 2020-10-13 Lg Display Co., Ltd. Touch display device, data driver circuit, and method of driving controller
CN111312182B (zh) * 2018-12-12 2022-03-11 咸阳彩虹光电科技有限公司 一种源极驱动电路、液晶显示器及源极驱动方法
KR102611010B1 (ko) * 2018-12-24 2023-12-07 주식회사 엘엑스세미콘 소스 구동 회로
TWI674757B (zh) * 2019-02-13 2019-10-11 奕力科技股份有限公司 緩衝電路
CN109903730B (zh) * 2019-02-13 2021-04-06 奕力科技(开曼)股份有限公司 缓冲电路
CN110728960A (zh) * 2019-10-21 2020-01-24 湖南国科微电子股份有限公司 Lcd驱动电路和显示设备
US11196397B2 (en) * 2019-12-31 2021-12-07 Novatek Microelectronics Corp. Current integrator for OLED panel
US11393375B2 (en) * 2020-09-30 2022-07-19 Himax Technologies Limited Source driver and polarity inversion control circuit
JP7544624B2 (ja) * 2021-02-19 2024-09-03 ラピステクノロジー株式会社 出力回路、表示ドライバ及び表示装置
CN113889043B (zh) * 2021-09-30 2023-04-14 晟合微电子(肇庆)有限公司 显示驱动电路和显示面板
CN113903316B (zh) * 2021-10-19 2023-08-01 上海新相微电子股份有限公司 一种tft lcd驱动芯片对显示屏源极寄生电容电荷回收电路

Family Cites Families (22)

* Cited by examiner, † Cited by third party
Publication number Priority date Publication date Assignee Title
JPH10153986A (ja) 1996-09-25 1998-06-09 Toshiba Corp 表示装置
JP3369875B2 (ja) 1996-11-12 2003-01-20 株式会社東芝 液晶駆動回路
US6480178B1 (en) * 1997-08-05 2002-11-12 Kabushiki Kaisha Toshiba Amplifier circuit and liquid-crystal display unit using the same
JP3550016B2 (ja) 1998-03-03 2004-08-04 株式会社 日立ディスプレイズ 液晶表示装置の駆動方法および映像信号電圧の出力方法
US6304241B1 (en) 1998-06-03 2001-10-16 Fujitsu Limited Driver for a liquid-crystal display panel
JP3481166B2 (ja) 1999-07-16 2003-12-22 松下電器産業株式会社 液晶駆動装置
JP4806481B2 (ja) 1999-08-19 2011-11-02 富士通セミコンダクター株式会社 Lcdパネル駆動回路
JP3506235B2 (ja) 2000-08-18 2004-03-15 シャープ株式会社 液晶表示装置の駆動装置および駆動方法
JP4744686B2 (ja) 2000-12-06 2011-08-10 ルネサスエレクトロニクス株式会社 演算増幅器
JP4437378B2 (ja) * 2001-06-07 2010-03-24 株式会社日立製作所 液晶駆動装置
JP2003115729A (ja) 2001-10-02 2003-04-18 Seiko Epson Corp Ab級アンプ
JP3908013B2 (ja) * 2001-11-19 2007-04-25 Necエレクトロニクス株式会社 表示制御回路及び表示装置
JP3991306B2 (ja) 2001-11-20 2007-10-17 ソニー株式会社 増幅回路
US6970152B1 (en) * 2002-11-05 2005-11-29 National Semiconductor Corporation Stacked amplifier arrangement for graphics displays
KR100517734B1 (ko) * 2003-12-12 2005-09-29 삼성전자주식회사 감마보정 디지털 아날로그 변환기 및 그 변환방법과, 이를사용한 소스구동 집적회로 및 평판표시장치
JP4502207B2 (ja) 2005-12-28 2010-07-14 ルネサスエレクトロニクス株式会社 差動増幅器とデータドライバ及び表示装置
TWI342000B (en) 2006-01-03 2011-05-11 Sunplus Technology Co Ltd Driving circuit for tft liquid crystal display
KR100790977B1 (ko) * 2006-01-13 2008-01-03 삼성전자주식회사 출력편차가 개선된 출력버퍼 및 이를 구비한평판표시장치용 소오스 드라이버
JP4637077B2 (ja) * 2006-10-17 2011-02-23 パナソニック株式会社 駆動電圧出力回路、表示装置
JP2008102345A (ja) 2006-10-19 2008-05-01 Nec Electronics Corp 半導体集積回路装置
JP4861791B2 (ja) * 2006-10-27 2012-01-25 ルネサスエレクトロニクス株式会社 演算増幅器及び表示装置
KR100883030B1 (ko) * 2007-02-28 2009-02-09 매그나칩 반도체 유한회사 평판 디스플레이의 구동 회로 및 방법

Also Published As

Publication number Publication date
TW200947408A (en) 2009-11-16
EP2075788A3 (en) 2010-08-25
EP2075788B1 (en) 2013-06-19
TWI405173B (zh) 2013-08-11
US9275596B2 (en) 2016-03-01
EP2075788A2 (en) 2009-07-01
KR101531325B1 (ko) 2015-06-24
CN101504816B (zh) 2011-07-06
CN101504816A (zh) 2009-08-12
JP2009162789A (ja) 2009-07-23
US20090167667A1 (en) 2009-07-02
KR20090072952A (ko) 2009-07-02

Similar Documents

Publication Publication Date Title
JP4466735B2 (ja) 信号線駆動回路および表示装置、並びに電子機器
CN101930706B (zh) 信号线驱动电路、显示装置和电子装置
JP3605829B2 (ja) 電気光学装置の駆動回路、電気光学装置の駆動方法、電気光学装置及びこれを用いた電子機器
US7071669B2 (en) Reference voltage generation circuit, display driver circuit, display device, and method of generating reference voltage
US7079127B2 (en) Reference voltage generation circuit, display driver circuit, display device, and method of generating reference voltage
US7586504B2 (en) Amplifier circuit, driving circuit of display apparatus, portable telephone and portable electronic apparatus
JP4449189B2 (ja) 画像表示装置およびその駆動方法
US7443239B2 (en) Differential amplifier, data driver and display device
US7907136B2 (en) Voltage generation circuit
US7495512B2 (en) Differential amplifier, data driver and display device
US20090040165A1 (en) Amplifying circuit and display unit
US20090096816A1 (en) Data driver, integrated circuit device, and electronic instrument
US20130342520A1 (en) Digital-to-analog-conversion circuit and data driver for display device
US20100013686A1 (en) Sample and hold circuit and digital-to-analog converter circuit
KR100607772B1 (ko) 구동 파워가 높은 전압 폴로워형 연산 증폭기를 포함하는드라이버와 그것을 이용한 표시 장치
JP5017871B2 (ja) 差動増幅器及びデジタルアナログ変換器
US8237649B2 (en) Liquid crystal driving device
KR100930154B1 (ko) 타이밍 발생 회로, 표시 장치 및 휴대 단말기
JP2013218021A (ja) データドライバと表示装置
US8823687B2 (en) Signal line drive circuit, display device and electronic apparatus
JP5086010B2 (ja) Lcdパネル駆動回路
JP2009168842A (ja) 基準電圧生成回路、ドライバ、電気光学装置及び電子機器
JP4962402B2 (ja) 電気光学装置の駆動回路、電気光学装置および電子機器
JP2011013491A (ja) 出力回路、信号線駆動回路および表示装置、並びに電子機器
JP2009169387A (ja) 集積回路装置、電気光学装置及び電子機器

Legal Events

Date Code Title Description
A977 Report on retrieval

Free format text: JAPANESE INTERMEDIATE CODE: A971007

Effective date: 20091110

A131 Notification of reasons for refusal

Free format text: JAPANESE INTERMEDIATE CODE: A131

Effective date: 20091117

A521 Request for written amendment filed

Free format text: JAPANESE INTERMEDIATE CODE: A523

Effective date: 20100112

TRDD Decision of grant or rejection written
A01 Written decision to grant a patent or to grant a registration (utility model)

Free format text: JAPANESE INTERMEDIATE CODE: A01

Effective date: 20100202

A01 Written decision to grant a patent or to grant a registration (utility model)

Free format text: JAPANESE INTERMEDIATE CODE: A01

A61 First payment of annual fees (during grant procedure)

Free format text: JAPANESE INTERMEDIATE CODE: A61

Effective date: 20100215

R151 Written notification of patent or utility model registration

Ref document number: 4466735

Country of ref document: JP

Free format text: JAPANESE INTERMEDIATE CODE: R151

FPAY Renewal fee payment (event date is renewal date of database)

Free format text: PAYMENT UNTIL: 20130305

Year of fee payment: 3

FPAY Renewal fee payment (event date is renewal date of database)

Free format text: PAYMENT UNTIL: 20130305

Year of fee payment: 3

FPAY Renewal fee payment (event date is renewal date of database)

Free format text: PAYMENT UNTIL: 20140305

Year of fee payment: 4

R250 Receipt of annual fees

Free format text: JAPANESE INTERMEDIATE CODE: R250

R250 Receipt of annual fees

Free format text: JAPANESE INTERMEDIATE CODE: R250

R250 Receipt of annual fees

Free format text: JAPANESE INTERMEDIATE CODE: R250

R250 Receipt of annual fees

Free format text: JAPANESE INTERMEDIATE CODE: R250

R250 Receipt of annual fees

Free format text: JAPANESE INTERMEDIATE CODE: R250

R250 Receipt of annual fees

Free format text: JAPANESE INTERMEDIATE CODE: R250

R250 Receipt of annual fees

Free format text: JAPANESE INTERMEDIATE CODE: R250

R250 Receipt of annual fees

Free format text: JAPANESE INTERMEDIATE CODE: R250

R250 Receipt of annual fees

Free format text: JAPANESE INTERMEDIATE CODE: R250

R250 Receipt of annual fees

Free format text: JAPANESE INTERMEDIATE CODE: R250

LAPS Cancellation because of no payment of annual fees