JP4445397B2 - X線撮像装置および撮像方法 - Google Patents
X線撮像装置および撮像方法 Download PDFInfo
- Publication number
- JP4445397B2 JP4445397B2 JP2004562931A JP2004562931A JP4445397B2 JP 4445397 B2 JP4445397 B2 JP 4445397B2 JP 2004562931 A JP2004562931 A JP 2004562931A JP 2004562931 A JP2004562931 A JP 2004562931A JP 4445397 B2 JP4445397 B2 JP 4445397B2
- Authority
- JP
- Japan
- Prior art keywords
- diffraction grating
- ray
- image
- diffraction
- imaging apparatus
- Prior art date
- Legal status (The legal status is an assumption and is not a legal conclusion. Google has not performed a legal analysis and makes no representation as to the accuracy of the status listed.)
- Expired - Lifetime
Links
- 238000003384 imaging method Methods 0.000 title claims description 38
- 230000010363 phase shift Effects 0.000 claims description 29
- LFEUVBZXUFMACD-UHFFFAOYSA-H lead(2+);trioxido(oxo)-$l^{5}-arsane Chemical compound [Pb+2].[Pb+2].[Pb+2].[O-][As]([O-])([O-])=O.[O-][As]([O-])([O-])=O LFEUVBZXUFMACD-UHFFFAOYSA-H 0.000 claims description 21
- 238000000034 method Methods 0.000 claims description 18
- 230000000694 effects Effects 0.000 claims description 17
- 238000003325 tomography Methods 0.000 claims description 13
- 230000001678 irradiating effect Effects 0.000 claims description 5
- 238000010586 diagram Methods 0.000 description 9
- 239000000758 substrate Substances 0.000 description 5
- 238000009826 distribution Methods 0.000 description 4
- 239000011521 glass Substances 0.000 description 4
- PCHJSUWPFVWCPO-UHFFFAOYSA-N gold Chemical compound [Au] PCHJSUWPFVWCPO-UHFFFAOYSA-N 0.000 description 4
- 239000010931 gold Substances 0.000 description 4
- 229910052737 gold Inorganic materials 0.000 description 4
- 238000005259 measurement Methods 0.000 description 4
- 238000012545 processing Methods 0.000 description 3
- 230000005469 synchrotron radiation Effects 0.000 description 3
- 238000010521 absorption reaction Methods 0.000 description 2
- 239000011888 foil Substances 0.000 description 2
- 230000005855 radiation Effects 0.000 description 2
- ODKSFYDXXFIFQN-UHFFFAOYSA-M argininate Chemical compound [O-]C(=O)C(N)CCCNC(N)=N ODKSFYDXXFIFQN-UHFFFAOYSA-M 0.000 description 1
- 230000005540 biological transmission Effects 0.000 description 1
- 230000001427 coherent effect Effects 0.000 description 1
- 239000000470 constituent Substances 0.000 description 1
- 238000005520 cutting process Methods 0.000 description 1
- 238000001514 detection method Methods 0.000 description 1
- 238000002474 experimental method Methods 0.000 description 1
- 238000000605 extraction Methods 0.000 description 1
- 238000007429 general method Methods 0.000 description 1
- 238000010030 laminating Methods 0.000 description 1
- 238000004519 manufacturing process Methods 0.000 description 1
- 239000000463 material Substances 0.000 description 1
- 230000035945 sensitivity Effects 0.000 description 1
- 238000001228 spectrum Methods 0.000 description 1
- 238000013519 translation Methods 0.000 description 1
- 238000004846 x-ray emission Methods 0.000 description 1
Images
Classifications
-
- A—HUMAN NECESSITIES
- A61—MEDICAL OR VETERINARY SCIENCE; HYGIENE
- A61B—DIAGNOSIS; SURGERY; IDENTIFICATION
- A61B6/00—Apparatus or devices for radiation diagnosis; Apparatus or devices for radiation diagnosis combined with radiation therapy equipment
- A61B6/48—Diagnostic techniques
- A61B6/484—Diagnostic techniques involving phase contrast X-ray imaging
-
- A—HUMAN NECESSITIES
- A61—MEDICAL OR VETERINARY SCIENCE; HYGIENE
- A61B—DIAGNOSIS; SURGERY; IDENTIFICATION
- A61B6/00—Apparatus or devices for radiation diagnosis; Apparatus or devices for radiation diagnosis combined with radiation therapy equipment
- A61B6/06—Diaphragms
-
- A—HUMAN NECESSITIES
- A61—MEDICAL OR VETERINARY SCIENCE; HYGIENE
- A61B—DIAGNOSIS; SURGERY; IDENTIFICATION
- A61B6/00—Apparatus or devices for radiation diagnosis; Apparatus or devices for radiation diagnosis combined with radiation therapy equipment
- A61B6/42—Arrangements for detecting radiation specially adapted for radiation diagnosis
- A61B6/4291—Arrangements for detecting radiation specially adapted for radiation diagnosis the detector being combined with a grid or grating
-
- A—HUMAN NECESSITIES
- A61—MEDICAL OR VETERINARY SCIENCE; HYGIENE
- A61B—DIAGNOSIS; SURGERY; IDENTIFICATION
- A61B6/00—Apparatus or devices for radiation diagnosis; Apparatus or devices for radiation diagnosis combined with radiation therapy equipment
- A61B6/48—Diagnostic techniques
- A61B6/483—Diagnostic techniques involving scattered radiation
-
- G—PHYSICS
- G01—MEASURING; TESTING
- G01N—INVESTIGATING OR ANALYSING MATERIALS BY DETERMINING THEIR CHEMICAL OR PHYSICAL PROPERTIES
- G01N23/00—Investigating or analysing materials by the use of wave or particle radiation, e.g. X-rays or neutrons, not covered by groups G01N3/00 – G01N17/00, G01N21/00 or G01N22/00
- G01N23/02—Investigating or analysing materials by the use of wave or particle radiation, e.g. X-rays or neutrons, not covered by groups G01N3/00 – G01N17/00, G01N21/00 or G01N22/00 by transmitting the radiation through the material
- G01N23/04—Investigating or analysing materials by the use of wave or particle radiation, e.g. X-rays or neutrons, not covered by groups G01N3/00 – G01N17/00, G01N21/00 or G01N22/00 by transmitting the radiation through the material and forming images of the material
- G01N23/041—Phase-contrast imaging, e.g. using grating interferometers
-
- G—PHYSICS
- G01—MEASURING; TESTING
- G01N—INVESTIGATING OR ANALYSING MATERIALS BY DETERMINING THEIR CHEMICAL OR PHYSICAL PROPERTIES
- G01N23/00—Investigating or analysing materials by the use of wave or particle radiation, e.g. X-rays or neutrons, not covered by groups G01N3/00 – G01N17/00, G01N21/00 or G01N22/00
- G01N23/20—Investigating or analysing materials by the use of wave or particle radiation, e.g. X-rays or neutrons, not covered by groups G01N3/00 – G01N17/00, G01N21/00 or G01N22/00 by using diffraction of the radiation by the materials, e.g. for investigating crystal structure; by using scattering of the radiation by the materials, e.g. for investigating non-crystalline materials; by using reflection of the radiation by the materials
- G01N23/20075—Investigating or analysing materials by the use of wave or particle radiation, e.g. X-rays or neutrons, not covered by groups G01N3/00 – G01N17/00, G01N21/00 or G01N22/00 by using diffraction of the radiation by the materials, e.g. for investigating crystal structure; by using scattering of the radiation by the materials, e.g. for investigating non-crystalline materials; by using reflection of the radiation by the materials by measuring interferences of X-rays, e.g. Borrmann effect
-
- G—PHYSICS
- G21—NUCLEAR PHYSICS; NUCLEAR ENGINEERING
- G21K—TECHNIQUES FOR HANDLING PARTICLES OR IONISING RADIATION NOT OTHERWISE PROVIDED FOR; IRRADIATION DEVICES; GAMMA RAY OR X-RAY MICROSCOPES
- G21K1/00—Arrangements for handling particles or ionising radiation, e.g. focusing or moderating
- G21K1/06—Arrangements for handling particles or ionising radiation, e.g. focusing or moderating using diffraction, refraction or reflection, e.g. monochromators
-
- A—HUMAN NECESSITIES
- A61—MEDICAL OR VETERINARY SCIENCE; HYGIENE
- A61B—DIAGNOSIS; SURGERY; IDENTIFICATION
- A61B6/00—Apparatus or devices for radiation diagnosis; Apparatus or devices for radiation diagnosis combined with radiation therapy equipment
- A61B6/40—Arrangements for generating radiation specially adapted for radiation diagnosis
- A61B6/4064—Arrangements for generating radiation specially adapted for radiation diagnosis specially adapted for producing a particular type of beam
- A61B6/4092—Arrangements for generating radiation specially adapted for radiation diagnosis specially adapted for producing a particular type of beam for producing synchrotron radiation
-
- G—PHYSICS
- G21—NUCLEAR PHYSICS; NUCLEAR ENGINEERING
- G21K—TECHNIQUES FOR HANDLING PARTICLES OR IONISING RADIATION NOT OTHERWISE PROVIDED FOR; IRRADIATION DEVICES; GAMMA RAY OR X-RAY MICROSCOPES
- G21K2207/00—Particular details of imaging devices or methods using ionizing electromagnetic radiation such as X-rays or gamma rays
- G21K2207/005—Methods and devices obtaining contrast from non-absorbing interaction of the radiation with matter, e.g. phase contrast
Landscapes
- Health & Medical Sciences (AREA)
- Life Sciences & Earth Sciences (AREA)
- Engineering & Computer Science (AREA)
- Medical Informatics (AREA)
- Physics & Mathematics (AREA)
- General Health & Medical Sciences (AREA)
- Pathology (AREA)
- High Energy & Nuclear Physics (AREA)
- Radiology & Medical Imaging (AREA)
- Nuclear Medicine, Radiotherapy & Molecular Imaging (AREA)
- Surgery (AREA)
- Heart & Thoracic Surgery (AREA)
- Molecular Biology (AREA)
- Optics & Photonics (AREA)
- Animal Behavior & Ethology (AREA)
- Biophysics (AREA)
- Public Health (AREA)
- Veterinary Medicine (AREA)
- Biomedical Technology (AREA)
- Chemical & Material Sciences (AREA)
- Analytical Chemistry (AREA)
- Biochemistry (AREA)
- General Physics & Mathematics (AREA)
- Immunology (AREA)
- General Engineering & Computer Science (AREA)
- Crystallography & Structural Chemistry (AREA)
- Spectroscopy & Molecular Physics (AREA)
- Toxicology (AREA)
- Analysing Materials By The Use Of Radiation (AREA)
- Apparatus For Radiation Diagnosis (AREA)
Description
一方、X線の領域でも位相を用いたX線撮像装置が研究開発されており、例えば特開平10−248833号公報記載の文献が知られている。しかしながら、この技術では、装置構成が複雑、あるいは、シンクロトロン放射光という巨大なX線源が必要、という不都合があった。
本発明のX線撮像装置は、第1および第2の回折格子と、X線画像検出器とを備え、前記第1の回折格子は、この第1の回折格子に照射されたX線によりタルボ効果を生じる構成となっており、前記第2の回折格子は、前記第1の回折格子により回折された前記X線を回折する構成となっており、前記X線画像検出器は、前記第2の回折格子により回折された前記X線を検出する構成となっているものである。
前記第2の回折格子が、前記第1の回折格子により回折されたX線を回折することにより、第1の回折格子の前面、あるいは、第1の回折格子と第2の回折格子の間に配置された被検体によるX線の位相変化に起因する画像コントラストを形成できる。X線画像検出器は、この画像コントラストを生じたX線を検出することができる。
前記第1および第2の回折格子は、透過型のものとすることができる。
前記X線撮像装置は、さらにX線源を備えてもよい。このX線源は、第1の回折格子および第2の回折格子を介してX線画像検出器にX線を照射するものである。
前記X線撮像装置は、X線源と第1の回折格子との間に被検体を配置できるようになっていてもよい。
X線源から第1の回折格子までの距離と、第1の回折格子における周期との比を、X線源から第2の回折格子までの距離と、第2の回折格子における周期との比にほぼ等しく設定することができる。
第1の回折格子は、照射されたX線に対して約80°〜100°の位相変調を与える構成となっていてもよい。
前記第1および第2の回折格子における周期を互いにほぼ等しくしてもよい。
前記X線画像検出器で検出されるX線の画像に、モアレ縞が形成されていてもよい。
前記第1または第2の回折格子を、相対的に回転可能とし、これにより、モアレ縞の間隔を調整可能としてもよい。
前記第1および第2の回折格子が、それぞれ、前記X線を回折させる回折部材を備え、前記回折部材が、少なくとも一方向に延長され、前記第1の回折格子または第2の回折格子が、これらの回折格子面に沿い、かつ、前記回折部材に交差する方向に沿って移動可能とされていてもよい。
本発明のX線撮像方法は、X線源と、第1および第2の回折格子と、X線画像検出器とを用い、さらに、以下のステップを備える。
(1)前記X線源と前記第1の回折格子との間、または、前記第1の回折格子と前記第2の回折格子との間に被検体を配置するステップ;
(2)前記X線源から前記第1の回折格子に向けてX線を照射するステップ;
(3)前記第1の回折格子により回折されてタルボ効果を生じた前記X線が前記第2の回折格子に照射されるステップ;
(4)前記第2の回折格子より、前記第1の回折格子で回折された前記X線が回折されるステップ;
(5)前記X線画像検出器が、前記第2の回折格子により回折された前記X線を検出するステップ。
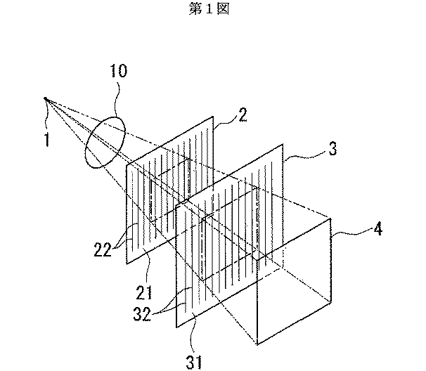
図2は、第1の回折格子の断面図である。
図3は、第2の回折格子の断面図である。
図4は、図1のX線撮像装置の側面図である。
図5は、実験例1におけるX線タルボ効果の実験結果を示す図であり、回折格子から測定面までの距離が32cmの時の図である。
図6は、実験例1におけるX線タルボ効果の実験結果を示す図であり、回折格子から測定面までの距離が64cmの時の図である。
図7は、実験例1におけるX線タルボ効果の実験結果を示す図であり、回折格子から測定面までの距離が96cmの時の図である。
図8は、実験例2におけるX線タルボ干渉計の実験結果を示す図である。
図9は、実験例3において得られた位相シフト微分像を示す図である。
図10は、実験例3におけるトモグラフィで得られた立体画像である。
第1の回折格子2は、基板21と、この基板21に取り付けられた複数の回折部材22とを備えている(図2参照)。基板21は、例えばガラスである。複数の回折部材22は、いずれも一方向(図2中紙面の厚さ方向)に延びる線状とされている。複数の回折部材22どうしの間隔(つまり回折格子の周期)d(図2参照)は、この実施形態では、一定(つまり回折部材22どうしは等間隔)とされている。複数の回折部材22の素材としては、例えば金を用いることができる。回折部材22としては、照射されるX線に対して約80°〜100°(理想的には90°)の位相変調を与える、いわゆる位相型回折格子を構成するものであることが好ましい。つまり、回折部材22は、その部分に照射されたX線の位相速度を変化させていることになる。X線はかならずしも単色である必要はなく、上記条件を満たす範囲のエネルギー幅(つまり波長スペクトル幅)を有しても構わない。
第2の回折格子3は、前記第1の回折格子2と同様に、基板31と回折部材32とを備えている(図3参照)。第2の回折格子3は、第1の回折格子2により回折されたX線を回折することにより、画像コントラストを形成する構成となっている。第2の回折格子3については、回折部材32をより厚くした振幅型回折格子であることが望ましいが、第1の回折格子2と同様に構成することも可能である。
X線画像検出器4は、画像コントラストを生じたX線を検出するものである。このような検出器4は、従来のX線撮像装置に使われているものと同様でよいので、詳細な説明を省略する。
次に、第1・第2の回折格子2・3がタルボ干渉計を構成する条件を説明する。まず、可干渉距離1は、次のようになる。
ここで、
λ:X線の波長(通常は中心波長)、
a:回折部材にほぼ直交する方向におけるX線源の開口径、
L:X線源から第1の回折格子までの距離(図4参照)、
Z1:第1の回折格子から第2の回折格子までの距離、
Z2:第2の回折格子から検出器までの距離
である。
また、第1の回折格子2と第2の回折格子3との距離Z1は、第1の回折格子2が位相型回折格子であることを前提にすれば、次の条件をほぼ満たさねばならない。
ただしmは整数、dは前記した格子部材の周期である。ここで、1=αdとすると、式(1)におけるαは、α>5(m+1/2)であることが望ましい。
つぎに、本実施形態のX線撮像装置の動作について説明する。
この撮像装置は、X線源1と第1の回折格子2との間に被検体10(図1および図4参照)を配置した状態で使用する。ついで、X線源1から第1の回折格子2に向けてX線を照射する。すると、照射されたX線は、第1の回折格子2を通過する。このとき、第1の回折格子2では、タルボ効果を生じる。ここで、タルボ効果とは、平面波が回折格子を通過したとき、位相型回折格子の場合、式(2)で与えられる距離において回折格子の自己像を形成することである。今の場合、被検体10によるX線の位相のずれがあるので、第1の回折格子2に入射するX線の波面が歪んでいる。したがって、第1の回折格子2の自己像はそれに依存して変形している。続いて、X線は、第2の回折格子3を通過する。その結果、上記の変形した第1の回折格子2の自己像と第2の回折格子3との重ね合わせにより、X線に画像コントラストを生成することができる。画像コントラストは一般にモアレ縞となっており、X線画像検出器4により検出することができる。生成されたモアレ縞は、被検体10により変調を受けている。その変調量は、被検体10による屈折効果によってX線が曲げられた角度に比例している。したがって、X線画像検出器4で検出されたモアレ縞を解析することにより、被検体10およびその内部の構造を検出することができる。
なお、第1または第2の回折格子2・3の回折部材が、X線源とX線画像検出器を通る仮想的な軸のまわりに相対的に微小角θだけ回転して配置してあるとする。θの大きさによって、発生するモアレ縞の間隔が変わる。被検体10が無いとすると、モアレ縞の間隔はd/θで与えられる。ここでdは回折格子の周期である。微小角θを変えるための機構(例えば、第1の回折格子2および第2の回折格子3の一方を他方に対して相対的に回転させる機構)を備えれば、観察に好ましいようにモアレ縞を調整することが可能となる。また、微小角θをほぼゼロになるように調整すれば、被検体10に対応する部分以外では(つまり非変調部分では)モアレ縞は現れない。その結果、得られたX線画像では、被検体10によるコントラストのみが現れる。
また、前記の例では、被検体10がX線源1と回折格子2との間に位置する場合を説明したが、被検体10が回折格子2と回折格子3の間に位置する場合であっても、回折格子3の位置に生成される回折格子2の自己像が被検体10により変形する。したがって、この場合でも、X線画像検出器4により、前記の例と本質的に同様に、被検体10に起因して変調されたモアレ縞(画像コントラスト)を検出することができる。すなわち、本実施形態の装置では、被検体10が回折格子2と回折格子3の間に位置する場合の撮像も有効である。
本実施形態の装置によれば、X線の吸収の大小にコントラスト生成を頼る一般的方法では観察しにくい被検体に対して、簡便な構成によってX線撮像を実現することができるという利点がある。
(実験例1)
X線を回折格子に照射することによってタルボ効果を生じさせた実験例1を示す。
(実験条件)
使用X線:波長0.1nmのシンクロトロン放射光。
回折格子:厚さ150ミクロンのガラス板上に、厚さ約1ミクロンの金のパターンを周期d=8ミクロンで形成したもの。
位相型回折格子でタルボ効果が発生する条件は
であるので、まずm=0のときに対応して、第1の回折格子2から検出面までの距離Zが32cmのとき、回折格子の自己像が形成されるはずである。そこで、距離Zが32cmの位置に高解像度のX線画像検出器を配置し、画像を記録した。その結果が図5である。同様に、距離Zが64cmのときは上の条件から最もはずれるので、自己像が不明瞭になった(図6)。距離Zが96cmのとき、m=1の場合に相当し、回折格子の自己像が再び形成された(図7)。これにより、タルボ効果の発生が示された。
本実験例1では、自己像を直接観察する目的があったために高解像度のX線画像検出器を使用したが、タルボ干渉計として使用するときはモアレ縞が観察できればよいので、必ずしも高解像度のX線画像検出器は必要としない。
(実験例2)
ここでX線タルボ効果を利用した本実施形態の実験例2を示す。
(実験条件)
使用X線:波長0.1nmのシンクロトロン放射光。
回折格子2:厚さ150ミクロンのガラス板上に、厚さ約1ミクロンの金のパターンを周期d=8ミクロンで形成したもの。
回折格子3:厚さ150ミクロンのガラス板上に、厚さ約8ミクロンの金のパターンを周期d=8ミクロンで形成したもの。
回折格子2および3の間隔Z1を、回折格子2によるタルボ効果が現れる32cmとした。被検体10として直径約1mmのプラスチック球を用いた。
被検体10は、X線源1と第1の回折格子2との間であって、かつ、第1の回折格子2の直前に配置した。
この状態で、X線源から照射されたX線を、回折格子3の直後に配置されたX線画像検出器4により検出した。その結果、図8に示される画像を得ることができた。この実験では、θ≒0°になるように調整したので、モアレ縞はほぼ発生しておらず、被検体としてのプラスチック球による位相のずれに対応するコントラストだけが現れている。この実験例では、球およびその内部に存在する気泡が明瞭に捉えられている。
なお、前記実験例2では、第1および第2の回折格子を透過型としたが、反射型でもよい。ただし、X線の反射量は一般に少ないので、透過型のほうが効率がよい。
また、前記実験例2では、第1・第2の回折格子2・3における周期を一様且つ同じとしたが、これは、図1に示す距離Z1に比べて、X線源までの距離Lが十分に大きいという仮定が可能であったからである。一般的には、X線源1から第1の回折格子2までの距離と第1の回折格子における周期との比を、X線源1から第2の回折格子3までの距離と第2の回折格子3における周期との比にほぼ等しくするのが望ましい。
さらに、前記実験例2では、第1の回折格子が、照射されたX線に対して位相差を与える構成(位相型回折格子)となっているが、X線に対して強度差を与える構成(振幅型回折格子)であってもよい。この場合、回折部材がX線を吸収する構成とすればよい。この場合でも、前記した原理でタルボ干渉計を構成できる。
また、前記実験例2では、第1および第2の回折格子2および3を平板状としているが、球面状としてもよい。この場合、線源を曲率中心とする球面とすることが好ましい。
また、前記実施形態においては、被検体または撮像系(線源と各回折格子と検出器)のいずれかを回転させて複数の投影方向で画像を取得し、それらにトモグラフィによる処理を施すことにより、被検体およびその内部の構造を立体的に観察することもできる。なお、この場合、従来のトモグラフィと異なり、屈折率分布により立体像が形成されることになり、従来のトモグラフィの感度では描出しにくい構造を描出することが可能となる。
(実験例3)
ここで、本実施形態に係る装置を用いたトモグラフィの実験例を示す。
(実験条件)
実験例3の実験条件は、実験例2と同一である。
本実施形態を用いたトモグラフィでは、つぎの三つの手順が必要となる。手順1は、X線画像検出器4により検出されたX線画像(以下「モアレ縞画像」という)から、「被検体10による屈折効果によってX線が曲げられる角度の分布像」(以下「位相シフト微分像」という)への変換である。手順2は、位相シフト微分像を積分することにより、位相のずれそのものを表す像(以下「位相シフト像」という)を取得することである。手順3は、複数の投影方向で得られる位相シフト像を用いて、トモグラフィにより立体像を再構成することである。
手順1には、縞走査法を用いる。この方法では、回折格子2あるいは3の一方を、他方に対して相対的に並進移動させる。並進方向は、移動させる回折格子の面にほぼ平行であり、かつ、回折部材にほぼ垂直な方向である。したがって、本実施形態の装置によりトモグラフィを行う場合は、第1の回折格子2または第2の回折格子3を移動させる移動機構を本実施形態の装置にさらに備えることが好ましい。
回折格子の並進移動に伴って、モアレ縞は移動し、並進距離が回折格子の1周期に達すると、モアレ縞画像は元に戻る。縞走査法は、モアレ縞画像の変化を1周期の整数分の1ずつ並進させながら記録し、それらを演算処理することにより位相シフト微分像ψ(x,y)を得るものである。(x,y)は画素の位置を示す座標である。上記並進移動量をξとして、モアレ縞画像I(x,y)は一般的に
で与えられる。ここでAk(k=0,1,…)は、回折格子の形状により決まる定数である。Δ(x,y)は、回折格子の歪、製作誤差、および配置誤差によって被検体とは関係なく発生するコントラストの寄与を表すものである。dは、並進移動させる回折格子の周期、Z1は、回折格子2と回折格子3の間隔である。今、ξをステップd/M(M:整数)で変化させながらM枚のモアレ縞画像を取得するとする。式(3)においてk>Nの項が十分小さく無視できるとすれば、M>N+1を満たすようにMを選べば
が満たされる。arg[]は偏角の抽出を意味する。Ip(x,y)は、ξ=pd/Mとしたときの式(3)の値である。dおよびZ1は既知であり、Δ(x,y)は被検体が無いとき(すなわちψ(x,y)=0)に同様の測定を行って予め求めることができる。したがって、以上よりψ(x,y)を得ることができる。
第2の回折格子3をM=5で並進させて取得した画像から得られた位相シフト微分像ψ(x,y)を図9に示す。被検体10には、直径約1mmのプラスチック球(図8の例と同一)を用いた。図9には、プラスチック球の内部に含まれていた気泡も含めて、位相シフト微分像が良く描出されている。
位相シフト像Φ(x,y)と位相シフト微分像ψ(x,y)とは
で関係付けられる。ここでxは、上記縞走査法により回折格子を並進移動させる方向にあたる。これより、位相シフト像Φ(x,y)は、ψ(x,y)をx軸に沿って積分することにより与えられる。これが手順2である。
位相シフト像Φ(x,y)は、被検体の屈折率分布をn(x,y,z)として
で与えられる。ここでz軸は、X線が進む方向である。トモグラフィは、二次元画像である投影像を複数の投影方向から取得できる場合に、それらから被検体の三次元像を再構成する技術である。位相シフト像Φ(x,y)は、1−n(x,y,z)の投影像にあたるので、複数の投影方向から位相シフト分布像が得られれば、n(x,y,z)を示す立体像が再構成される(手順3)。なお、手順2と手順3は一括して同時に行ってもよい。図9のプラスチック球について、前記の手順を用いて立体画像を再構成した結果を図10に示す。図10の例は、プラスチック球を0.72°ずつ回転して、図9にあたる画像を250枚取得し、これらの画像を用いて再構成した結果である。プラスチック球の内部を示すために、コンピュータ処理により一部を除いて表示している。
なお、このような撮像手法は、手順3まで進まなくては意味が無いものではなく、前記した実施形態のX線画像検出器4により直接得られた画像(生画像)、位相シフト微分像φ(x,y)、および位相シフト像Φ(x,y)のいずれも、撮像の目的に応じて十分に利用できるものである。
また、前記実施形態では、第1および第2の回折格子として基板に回折部材を取り付けた構造を示したが、この構造には限定されない。回折格子の構造としては、例えば、平板の両面に回折部材を取り付け、これにより、第1及び第2の回折部材とする構成でもよい。さらには、屈折率(または吸収率)が異なる二種類のフィルムあるいは箔を交互に多数積層し、それをフィルムあるいは箔の厚さ方向に切ることで回折格子を構成しても良い。
また、前記実施形態では、X線源1を含む構成としたが、X線源1が無い装置としてもよい。この場合は、使用時において、X線源と組み合わせればよい。
なお、前記実施形態および実施例の記載は単なる一例に過ぎず、本発明に必須の構成を示したものではない。各部の構成は、本発明の趣旨を達成できるものであれば、上記に限らない。
たとえば、前記した各実施形態における構成要素は、機能要素として存在していればよく、装置または部品としては、他の要素と統合されていてもよく、また、複数の部品によって一つの要素が実現されていてもよい。
Claims (15)
- 第1および第2の回折格子と、X線画像検出器とを備え、前記第1の回折格子は、この第1の回折格子に照射されたX線によりタルボ効果を生じる構成となっており、前記第2の回折格子は、前記第1の回折格子により回折された前記X線を回折する構成となっており、前記X線画像検出器は、前記第2の回折格子により回折された前記X線を検出する構成となっており、
前記第1および第2の回折格子は、それぞれ、前記X線を回折させる回折部材を備えており、前記回折部材は、少なくとも一方向に延長されており、前記第1の回折格子または第2の回折格子は、これらの回折格子面に沿い、かつ、前記回折部材の延長方向に交差する方向に沿って移動可能とされており、
さらに、位相シフト微分像の取得手段を備えており、
この取得手段は、前記X線画像検出器により取得されたX線画像を用いて、位相シフト微分像を取得するものであり、
この取得手段においては、前記第1回折格子及び前記第2回折格子のうちの一方に対する他方の相対移動に対応して、前記X線画像が記録されるようになっている
ことを特徴とするX線撮像装置。 - 前記第1および第2の回折格子は透過型のものであることを特徴とする請求項1記載のX線撮像装置。
- さらにX線源を備え、前記X線源は、前記第1の回折格子および前記第2の回折格子を介して前記X線画像検出器にX線を照射するものであることを特徴とする請求項1または2に記載のX線撮像装置。
- さらに、前記X線源と前記第1の回折格子との間に被検体を配置できるようになっていることを特徴とする請求項3記載のX線撮像装置。
- 前記X線源から前記第1の回折格子までの距離と前記第1の回折格子における周期との比は、前記X線源から前記第2の回折格子までの距離と前記第2の回折格子における周期との比にほぼ等しいことを特徴とする請求項3または4に記載のX線撮像装置。
- 前記第1の回折格子は、照射されたX線に対して約80°〜100°の位相変調を与える構成となっていることを特徴とする請求項1〜5のいずれか1項記載のX線撮像装置。
- 前記第1および第2の回折格子における周期は互いにほぼ等しいことを特徴とする請求項1〜4のいずれか1項記載のX線撮像装置。
- 前記X線画像検出器で検出されるX線の画像には、モアレ縞が形成されていることを特徴とする請求項1〜7のいずれか1項に記載のX線撮像装置。
- 前記第1または第2の回折格子は、相対的に回転可能とされており、これにより、前記モアレ縞の間隔が調整可能となっていることを特徴とする請求項8に記載のX線撮像装置。
- 前記第1の回折格子と前記第2の回折格子との間に被検体を配置できるようになっていることを特徴とする請求項1〜9のいずれか1項に記載のX線撮像装置。
- X線源と、第1および第2の回折格子と、X線画像検出器とを用い、さらに、以下のステップを備えるX線撮像方法;
(1)前記X線源と前記第1の回折格子との間、または、前記第1の回折格子と前記第2の回折格子との間に被検体を配置するステップ、ここで、前記第1および第2の回折格子は、それぞれ、前記X線を回折させる回折部材を備えており、前記回折部材は、少なくとも一方向に延長されており、前記第1の回折格子または第2の回折格子は、これらの回折格子面に沿い、かつ、前記回折部材の延長方向に交差する方向に沿って移動可能とされており;
(2)前記X線源から前記第1の回折格子に向けてX線を照射するステップ;
(3)前記第1の回折格子により回折されてタルボ効果を生じた前記X線が前記第2の回折格子に照射されるステップ;
(4)前記第2の回折格子より、前記第1の回折格子で回折された前記X線が回折されるステップ;
(5)前記X線画像検出器が、前記第2の回折格子により回折された前記X線を検出するステップ。
(6)前記X線画像検出器により取得されたX線画像を用いて、位相シフト微分像を取得するステップ、ただし、ここにおいては、前記X線画像は、前記第1回折格子及び前記第2回折格子のうちの一方に対する他方の相対移動に対応して記録される。 - 請求項1に記載のX線撮像装置によって得た前記位相シフト微分像から、位相シフト像を取得し、前記位相シフト像から、立体像を取得することを特徴とするトモグラフィ装置。
- 請求項1に記載のX線撮像装置によって得た前記位相シフト微分像から、位相シフト像を取得し、前記位相シフト像から、立体像を取得することを特徴とするトモグラフィ方法。
- 請求項1に記載のX線撮像装置によって得た前記位相シフト微分像を用いて立体像を取得することを特徴とするトモグラフィ装置。
- 請求項1に記載のX線撮像装置によって得た前記位相シフト微分像を用いて立体像を取得することを特徴とするトモグラフィ方法。
Applications Claiming Priority (3)
| Application Number | Priority Date | Filing Date | Title |
|---|---|---|---|
| JP2002376018 | 2002-12-26 | ||
| JP2002376018 | 2002-12-26 | ||
| PCT/JP2003/016670 WO2004058070A1 (ja) | 2002-12-26 | 2003-12-25 | X線撮像装置および撮像方法 |
Publications (2)
| Publication Number | Publication Date |
|---|---|
| JPWO2004058070A1 JPWO2004058070A1 (ja) | 2006-04-27 |
| JP4445397B2 true JP4445397B2 (ja) | 2010-04-07 |
Family
ID=32677354
Family Applications (1)
| Application Number | Title | Priority Date | Filing Date |
|---|---|---|---|
| JP2004562931A Expired - Lifetime JP4445397B2 (ja) | 2002-12-26 | 2003-12-25 | X線撮像装置および撮像方法 |
Country Status (5)
| Country | Link |
|---|---|
| US (1) | US7180979B2 (ja) |
| EP (1) | EP1623671A4 (ja) |
| JP (1) | JP4445397B2 (ja) |
| AU (1) | AU2003292785A1 (ja) |
| WO (1) | WO2004058070A1 (ja) |
Cited By (12)
| Publication number | Priority date | Publication date | Assignee | Title |
|---|---|---|---|---|
| JP2009150875A (ja) * | 2007-11-15 | 2009-07-09 | Csem Centre Suisse D'electronique & De Microtechnique Sa | 干渉計デバイス及び干渉法 |
| JP2012143497A (ja) * | 2011-01-14 | 2012-08-02 | Fujifilm Corp | 放射線撮影システム及びその制御方法 |
| WO2014092206A1 (en) | 2012-12-13 | 2014-06-19 | Canon Kabushiki Kaisha | Object information obtaining apparatus, program, and imaging system |
| US8824629B2 (en) | 2010-08-19 | 2014-09-02 | Fujifilm Corporation | Radiation imaging system and image processing method |
| WO2015122542A1 (en) | 2014-02-14 | 2015-08-20 | Canon Kabushiki Kaisha | X-ray talbot interferometer and x-ray talbot interferometer system |
| US9123451B2 (en) | 2011-01-25 | 2015-09-01 | Canon Kabushiki Kaisha | Imaging apparatus and imaging method |
| EP3530189A1 (en) | 2018-02-23 | 2019-08-28 | Konica Minolta, Inc. | X-ray imaging system |
| WO2020004175A1 (ja) * | 2018-06-27 | 2020-01-02 | 株式会社ニコン | X線装置、x線画像生成方法および構造物の製造方法 |
| WO2020045365A1 (ja) * | 2018-08-30 | 2020-03-05 | 株式会社ニコン | X線装置、x線装置の調節方法および構造物の製造方法 |
| US10732133B2 (en) | 2017-12-04 | 2020-08-04 | Konica Minolta, Inc. | X-ray imaging system containing X-ray apparatus having gratings and object housing for setting environmental condition independent of external environment |
| US10852255B2 (en) | 2017-12-04 | 2020-12-01 | Konica Minolta, Inc. | X-ray imaging system |
| US11221303B2 (en) | 2016-03-30 | 2022-01-11 | Konica Minolta, Inc. | Radiation capturing system |
Families Citing this family (143)
| Publication number | Priority date | Publication date | Assignee | Title |
|---|---|---|---|---|
| JP4676244B2 (ja) * | 2005-05-13 | 2011-04-27 | 株式会社日立製作所 | X線撮像装置 |
| JPWO2006129462A1 (ja) * | 2005-06-01 | 2008-12-25 | コニカミノルタエムジー株式会社 | デジタル放射線画像撮影システム |
| EP1731099A1 (en) * | 2005-06-06 | 2006-12-13 | Paul Scherrer Institut | Interferometer for quantitative phase contrast imaging and tomography with an incoherent polychromatic x-ray source |
| WO2007007473A1 (ja) * | 2005-07-08 | 2007-01-18 | Konica Minolta Medical & Graphic, Inc. | デジタル放射線画像撮影システム |
| WO2007074029A1 (de) * | 2005-12-27 | 2007-07-05 | Siemens Aktiengesellschaft | Fokus- detektor- anordnung zur erzeugung von phasenkontrast-röntgenaufnahmen und verfahren hierzu |
| DE502006007410D1 (de) | 2005-12-27 | 2010-08-26 | Paul Scherrer Inst Psi | Fokus-Detektor-Anordnung zur Erzeugung von Phasenkontrast-Röntgenaufnahmen und Verfahren hierzu |
| DE102006037254B4 (de) * | 2006-02-01 | 2017-08-03 | Paul Scherer Institut | Fokus-Detektor-Anordnung zur Erzeugung projektiver oder tomographischer Phasenkontrastaufnahmen mit röntgenoptischen Gittern, sowie Röntgen-System, Röntgen-C-Bogen-System und Röntgen-Computer-Tomographie-System |
| DE102006037281A1 (de) * | 2006-02-01 | 2007-08-09 | Siemens Ag | Röntgenoptisches Durchstrahlungsgitter einer Fokus-Detektor-Anordnung einer Röntgenapparatur zur Erzeugung projektiver oder tomographischer Phasenkontrastaufnahmen von einem Untersuchungsobjekt |
| DE102006046034A1 (de) * | 2006-02-01 | 2007-08-16 | Siemens Ag | Röntgen-CT-System zur Erzeugung projektiver und tomographischer Phasenkontrastaufnahmen |
| DE102006037256B4 (de) * | 2006-02-01 | 2017-03-30 | Paul Scherer Institut | Fokus-Detektor-Anordnung einer Röntgenapparatur zur Erzeugung projektiver oder tomographischer Phasenkontrastaufnahmen sowie Röntgensystem, Röntgen-C-Bogen-System und Röntgen-CT-System |
| DE102006037255A1 (de) * | 2006-02-01 | 2007-08-02 | Siemens Ag | Fokus-Detektor-Anordnung einer Röntgenapparatur zur Erzeugung projektiver oder tomographischer Phasenkontrastaufnahmen |
| DE102006017291B4 (de) * | 2006-02-01 | 2017-05-24 | Paul Scherer Institut | Fokus/Detektor-System einer Röntgenapparatur zur Erzeugung von Phasenkontrastaufnahmen, Röntgensystem mit einem solchen Fokus/Detektor-System sowie zugehöriges Speichermedium und Verfahren |
| DE102006017290B4 (de) * | 2006-02-01 | 2017-06-22 | Siemens Healthcare Gmbh | Fokus/Detektor-System einer Röntgenapparatur, Röntgen-System und Verfahren zur Erzeugung von Phasenkontrastaufnahmen |
| DE102006015356B4 (de) * | 2006-02-01 | 2016-09-22 | Siemens Healthcare Gmbh | Verfahren zur Erzeugung projektiver und tomographischer Phasenkontrastaufnahmen mit einem Röntgen-System |
| DE102006015358B4 (de) | 2006-02-01 | 2019-08-22 | Paul Scherer Institut | Fokus/Detektor-System einer Röntgenapparatur zur Erzeugung von Phasenkontrastaufnahmen, zugehöriges Röntgen-System sowie Speichermedium und Verfahren zur Erzeugung tomographischer Aufnahmen |
| DE102006063048B3 (de) * | 2006-02-01 | 2018-03-29 | Siemens Healthcare Gmbh | Fokus/Detektor-System einer Röntgenapparatur zur Erzeugung von Phasenkontrastaufnahmen |
| DE102006037282B4 (de) * | 2006-02-01 | 2017-08-17 | Siemens Healthcare Gmbh | Fokus-Detektor-Anordnung mit röntgenoptischem Gitter zur Phasenkontrastmessung |
| WO2007098284A2 (en) * | 2006-02-27 | 2007-08-30 | University Of Rochester | Method and apparatus for cone beam ct dynamic imaging |
| JP4702455B2 (ja) * | 2007-02-07 | 2011-06-15 | コニカミノルタエムジー株式会社 | X線撮像素子および方法ならびにx線撮像装置 |
| JP2008197593A (ja) * | 2007-02-16 | 2008-08-28 | Konica Minolta Medical & Graphic Inc | X線用透過型回折格子、x線タルボ干渉計およびx線撮像装置 |
| US20100080436A1 (en) * | 2007-02-21 | 2010-04-01 | Konica Minolta Medical & Graphic, Inc. | Radiographic imaging device and radiographic imaging system |
| WO2008102574A1 (ja) * | 2007-02-21 | 2008-08-28 | Konica Minolta Medical & Graphic, Inc. | X線撮影システム |
| JP5683808B2 (ja) * | 2007-02-21 | 2015-03-11 | コニカミノルタ株式会社 | X線画像システム |
| WO2008102685A1 (ja) | 2007-02-21 | 2008-08-28 | Konica Minolta Medical & Graphic, Inc. | 放射線画像撮影装置及び放射線画像撮影システム |
| US8027039B2 (en) * | 2007-04-16 | 2011-09-27 | University Of Maryland, Baltimore | Subwavelength resolution optical microscopy |
| DE102007029730B4 (de) * | 2007-06-27 | 2017-06-08 | Paul Scherer Institut | Mess-System mit einem Phasenkontrast-Kontrastmittel und dessen Verwendung zur nicht-invasiven Bestimmung von Eigenschaften eines Untersuchungsobjektes |
| EP2073040A2 (en) | 2007-10-31 | 2009-06-24 | FUJIFILM Corporation | Radiation image detector and phase contrast radiation imaging apparatus |
| US8023767B1 (en) | 2008-03-10 | 2011-09-20 | University Of Rochester | Method and apparatus for 3D metal and high-density artifact correction for cone-beam and fan-beam CT imaging |
| EP2257793B1 (en) | 2008-03-19 | 2015-05-13 | Koninklijke Philips N.V. | Rotational x-ray device for phase contrast imaging comprising a ring-shaped grating |
| US8809758B2 (en) * | 2008-07-25 | 2014-08-19 | Cornell University | Light field image sensor with an angle-sensitive pixel (ASP) device |
| EP3836215A1 (en) * | 2008-07-25 | 2021-06-16 | Cornell University | Light field image sensor, method and applications |
| JP2010063646A (ja) * | 2008-09-11 | 2010-03-25 | Fujifilm Corp | 放射線位相画像撮影装置 |
| JP2010075620A (ja) * | 2008-09-29 | 2010-04-08 | Fujifilm Corp | 放射線トモシンセシス撮影装置 |
| EP2168488B1 (de) | 2008-09-30 | 2013-02-13 | Siemens Aktiengesellschaft | Röntgen-CT-System zur Röntgen-Phasenkontrast-und/oder Röntgen-Dunkelfeld-Bildgebung |
| CN101726503B (zh) * | 2008-10-17 | 2012-08-29 | 清华大学 | 用于x射线相衬层析成像的系统和方法 |
| US8559594B2 (en) | 2008-10-29 | 2013-10-15 | Canon Kabushiki Kaisha | Imaging apparatus and imaging method |
| WO2010050483A1 (ja) | 2008-10-29 | 2010-05-06 | キヤノン株式会社 | X線撮像装置およびx線撮像方法 |
| WO2010092513A1 (en) | 2009-02-12 | 2010-08-19 | Philips Intellectual Property & Standards Gmbh | Interface device, imaging system and method for rim-imaging |
| US7949095B2 (en) * | 2009-03-02 | 2011-05-24 | University Of Rochester | Methods and apparatus for differential phase-contrast fan beam CT, cone-beam CT and hybrid cone-beam CT |
| CN102365687B (zh) * | 2009-03-27 | 2015-08-19 | 皇家飞利浦电子股份有限公司 | 消色差的相衬成像 |
| JP2010236986A (ja) * | 2009-03-31 | 2010-10-21 | Fujifilm Corp | 放射線位相画像撮影装置 |
| JP2010253194A (ja) * | 2009-04-28 | 2010-11-11 | Fujifilm Corp | 放射線位相画像撮影装置 |
| JP5586899B2 (ja) * | 2009-08-26 | 2014-09-10 | キヤノン株式会社 | X線用位相格子及びその製造方法 |
| US9025725B2 (en) | 2009-09-16 | 2015-05-05 | Konica Minolta Medical & Graphic, Inc. | X-ray image capturing apparatus, X-ray imaging system and X-ray image creation method |
| WO2011070493A1 (en) * | 2009-12-10 | 2011-06-16 | Koninklijke Philips Electronics N.V. | Apparatus for phase-contrast imaging comprising a displaceable x-ray detector element and method |
| JP5631013B2 (ja) | 2010-01-28 | 2014-11-26 | キヤノン株式会社 | X線撮像装置 |
| JP5213923B2 (ja) | 2010-01-29 | 2013-06-19 | キヤノン株式会社 | X線撮像装置およびx線撮像方法 |
| WO2011114845A1 (ja) | 2010-03-18 | 2011-09-22 | コニカミノルタエムジー株式会社 | X線撮影システム |
| JP5438649B2 (ja) | 2010-03-26 | 2014-03-12 | 富士フイルム株式会社 | 放射線撮影システム及び位置ずれ判定方法 |
| JP5635169B2 (ja) * | 2010-03-26 | 2014-12-03 | 富士フイルム株式会社 | 放射線撮影システム |
| JP2011224330A (ja) * | 2010-03-29 | 2011-11-10 | Fujifilm Corp | 放射線撮影システム及びそのオフセット補正方法 |
| JP5548085B2 (ja) | 2010-03-30 | 2014-07-16 | 富士フイルム株式会社 | 回折格子の調整方法 |
| JP2012090945A (ja) * | 2010-03-30 | 2012-05-17 | Fujifilm Corp | 放射線検出装置、放射線撮影装置、放射線撮影システム |
| JP2012090944A (ja) | 2010-03-30 | 2012-05-17 | Fujifilm Corp | 放射線撮影システム及び放射線撮影方法 |
| JP5796976B2 (ja) | 2010-05-27 | 2015-10-21 | キヤノン株式会社 | X線撮像装置 |
| JP2012013530A (ja) * | 2010-06-30 | 2012-01-19 | Fujifilm Corp | 回折格子及びその製造方法、並びに放射線撮影装置 |
| JP2012022239A (ja) * | 2010-07-16 | 2012-02-02 | Fujifilm Corp | 回折格子及びその製造方法、放射線撮影装置 |
| EP2630477B1 (en) * | 2010-10-19 | 2020-03-18 | Koninklijke Philips N.V. | Differential phase-contrast imaging |
| RU2572644C2 (ru) * | 2010-10-19 | 2016-01-20 | Конинклейке Филипс Электроникс Н.В. | Формирование дифференциальных фазово-контрастных изображений |
| JP5875280B2 (ja) * | 2010-10-20 | 2016-03-02 | キヤノン株式会社 | トールボット干渉を用いた撮像装置および撮像装置の調整方法 |
| JP2012093429A (ja) * | 2010-10-25 | 2012-05-17 | Fujifilm Corp | 放射線画像撮影用グリッド及びその製造方法、並びに、放射線画像撮影システム |
| JP2014014379A (ja) * | 2010-10-27 | 2014-01-30 | Fujifilm Corp | 放射線撮影システム及び放射線撮影方法 |
| CN103299166B (zh) * | 2010-10-27 | 2015-09-23 | 康奈尔大学 | 光场图像传感器、方法和应用 |
| WO2012057023A1 (ja) * | 2010-10-28 | 2012-05-03 | 富士フイルム株式会社 | 放射線画像撮影システム及びその制御方法 |
| JP2014014380A (ja) * | 2010-10-28 | 2014-01-30 | Fujifilm Corp | 放射線撮影装置、及び放射線撮影システム |
| CN103200874B (zh) * | 2010-11-08 | 2015-11-25 | 皇家飞利浦电子股份有限公司 | 用于相位对比成像的光栅 |
| JP5150711B2 (ja) * | 2010-12-07 | 2013-02-27 | 富士フイルム株式会社 | 放射線撮影装置及び放射線撮影システム |
| JP5150713B2 (ja) * | 2010-12-08 | 2013-02-27 | 富士フイルム株式会社 | 放射線画像検出装置、放射線撮影装置、放射線撮影システム |
| EP2652708B1 (en) * | 2010-12-13 | 2015-01-28 | Paul Scherrer Institut | A method and a system for image integration using constrained optimization for phase contrast imaging with an arrangement of gratings |
| JP2012143550A (ja) * | 2010-12-20 | 2012-08-02 | Fujifilm Corp | 放射線画像撮影装置および放射線画像取得方法 |
| JP5204880B2 (ja) * | 2010-12-22 | 2013-06-05 | 富士フイルム株式会社 | 放射線画像撮影用グリッド及びその製造方法、並びに、放射線画像撮影システム |
| JP2012187288A (ja) * | 2011-03-11 | 2012-10-04 | Canon Inc | X線撮像装置 |
| JP2012200567A (ja) * | 2011-03-28 | 2012-10-22 | Fujifilm Corp | 放射線撮影システム及び放射線撮影方法 |
| JP5714968B2 (ja) | 2011-04-15 | 2015-05-07 | 株式会社日立ハイテクサイエンス | X線タルボ干渉計用回折格子及びその製造方法、並びにx線タルボ干渉計 |
| JP2012225966A (ja) | 2011-04-15 | 2012-11-15 | Seiko Instruments Inc | X線タルボ干渉計用回折格子及びその製造方法、並びにx線タルボ干渉計 |
| JP5348172B2 (ja) * | 2011-04-28 | 2013-11-20 | 株式会社島津製作所 | 放射線撮影装置 |
| BR112013030648B1 (pt) * | 2011-06-01 | 2021-08-10 | Total Sa | Dispositivo de tomografia de raio x |
| US9841388B2 (en) | 2011-06-01 | 2017-12-12 | Total Sa | X-ray tomography device |
| JP2013050441A (ja) * | 2011-08-03 | 2013-03-14 | Canon Inc | 波面測定装置、波面測定方法、及びプログラム並びにx線撮像装置 |
| JP2014217398A (ja) * | 2011-08-22 | 2014-11-20 | 富士フイルム株式会社 | 放射線撮影装置及び放射線撮影方法 |
| JP2014217397A (ja) * | 2011-08-22 | 2014-11-20 | 富士フイルム株式会社 | 放射線撮影装置及びアンラップ処理方法 |
| JP2014238265A (ja) * | 2011-09-30 | 2014-12-18 | 富士フイルム株式会社 | 放射線画像検出器及びその製造方法、並びに放射線画像検出器を用いた放射線撮影システム |
| JP5475737B2 (ja) | 2011-10-04 | 2014-04-16 | 富士フイルム株式会社 | 放射線撮影装置及び画像処理方法 |
| WO2013051647A1 (ja) * | 2011-10-06 | 2013-04-11 | 富士フイルム株式会社 | 放射線撮影装置及び画像処理方法 |
| US20150117599A1 (en) | 2013-10-31 | 2015-04-30 | Sigray, Inc. | X-ray interferometric imaging system |
| JP5857800B2 (ja) | 2012-03-01 | 2016-02-10 | コニカミノルタ株式会社 | 関節撮影装置及び撮影対象固定ユニット |
| US9510799B2 (en) | 2012-06-11 | 2016-12-06 | Konica Minolta, Inc. | Medical imaging system and medical image processing apparatus |
| BR112015003425A2 (pt) * | 2012-08-20 | 2017-07-04 | Koninklijke Philips Nv | sistema de formação de imagens de raio x para formação de imagens de contraste de fases diferencial, método de manuseio de desalinhamento em um sistema de formação de imagens de raio x para formação de imagens de contraste de fases diferencial, elemento de programa de computador para controlar um aparelho, e meio legível por computador |
| KR101378757B1 (ko) * | 2012-08-30 | 2014-03-27 | 한국원자력연구원 | 물질 원소 정보 획득 및 영상 차원의 선택이 가능한 방사선 영상화 장치 |
| JP2014135989A (ja) * | 2013-01-16 | 2014-07-28 | Konica Minolta Inc | 医用画像システム |
| US9364191B2 (en) | 2013-02-11 | 2016-06-14 | University Of Rochester | Method and apparatus of spectral differential phase-contrast cone-beam CT and hybrid cone-beam CT |
| JP2014171799A (ja) | 2013-03-12 | 2014-09-22 | Canon Inc | X線撮像装置及びx線撮像システム |
| US9855018B2 (en) | 2013-04-08 | 2018-01-02 | Konica Minolta, Inc. | Diagnostic medical image system and method of introducing Talbot capturing device to diagnostic medical image system used for general capturing |
| EP2827339A1 (en) | 2013-07-16 | 2015-01-21 | Canon Kabushiki Kaisha | Source grating, interferometer, and object information acquisition system |
| US10269528B2 (en) | 2013-09-19 | 2019-04-23 | Sigray, Inc. | Diverging X-ray sources using linear accumulation |
| US10297359B2 (en) | 2013-09-19 | 2019-05-21 | Sigray, Inc. | X-ray illumination system with multiple target microstructures |
| US10295485B2 (en) | 2013-12-05 | 2019-05-21 | Sigray, Inc. | X-ray transmission spectrometer system |
| CN105637351B (zh) | 2013-10-31 | 2018-11-13 | 国立大学法人东北大学 | 非破坏检查装置 |
| US10304580B2 (en) | 2013-10-31 | 2019-05-28 | Sigray, Inc. | Talbot X-ray microscope |
| USRE48612E1 (en) | 2013-10-31 | 2021-06-29 | Sigray, Inc. | X-ray interferometric imaging system |
| US10401309B2 (en) | 2014-05-15 | 2019-09-03 | Sigray, Inc. | X-ray techniques using structured illumination |
| JP6543838B2 (ja) * | 2014-08-28 | 2019-07-17 | 株式会社緑野リサーチ | 位相撮影装置およびその復元方法 |
| US9626587B2 (en) * | 2014-08-28 | 2017-04-18 | Toshiba Medical Systems Corporation | Iterative reconstruction scheme for phase contrast tomography |
| CN106033133B (zh) * | 2015-03-11 | 2019-09-17 | 同方威视技术股份有限公司 | 一种光栅、制造方法和辐射成像装置 |
| US10352880B2 (en) | 2015-04-29 | 2019-07-16 | Sigray, Inc. | Method and apparatus for x-ray microscopy |
| US10295486B2 (en) | 2015-08-18 | 2019-05-21 | Sigray, Inc. | Detector for X-rays with high spatial and high spectral resolution |
| JP6422123B2 (ja) | 2015-08-27 | 2018-11-14 | 国立大学法人東北大学 | 放射線画像生成装置 |
| DE102016204046B4 (de) * | 2016-03-11 | 2018-05-24 | Siemens Healthcare Gmbh | Verfahren und Röntgenvorrichtung zur interferometrischen Röntgen-2D-Bildgebung |
| JP6619268B2 (ja) | 2016-03-17 | 2019-12-11 | 国立大学法人東北大学 | 放射線画像生成装置 |
| EP3545842A4 (en) * | 2016-11-22 | 2020-06-24 | Shimadzu Corporation | X-RAY PHASE IMAGING DEVICE |
| US10247683B2 (en) | 2016-12-03 | 2019-04-02 | Sigray, Inc. | Material measurement techniques using multiple X-ray micro-beams |
| JP2018128579A (ja) * | 2017-02-08 | 2018-08-16 | 株式会社島津製作所 | 回折格子の製造方法 |
| JPWO2018168621A1 (ja) | 2017-03-17 | 2020-01-16 | 国立大学法人東北大学 | 放射線画像生成装置 |
| WO2018175570A1 (en) | 2017-03-22 | 2018-09-27 | Sigray, Inc. | Method of performing x-ray spectroscopy and x-ray absorption spectrometer system |
| JP6844461B2 (ja) * | 2017-07-20 | 2021-03-17 | 株式会社島津製作所 | X線位相イメージング装置および情報取得手法 |
| WO2019087605A1 (ja) * | 2017-10-31 | 2019-05-09 | 株式会社島津製作所 | X線位相差撮像システム |
| JP7033779B2 (ja) | 2017-11-30 | 2022-03-11 | 国立大学法人東北大学 | 放射線画像生成装置 |
| US10578566B2 (en) | 2018-04-03 | 2020-03-03 | Sigray, Inc. | X-ray emission spectrometer system |
| DE112019002822T5 (de) | 2018-06-04 | 2021-02-18 | Sigray, Inc. | Wellenlängendispersives röntgenspektrometer |
| EP3809121A4 (en) | 2018-06-12 | 2022-03-09 | University of Tsukuba | METHOD FOR CAPTURE OF PHASE IMAGES AND APPARATUS FOR CAPTURE OF PHASE IMAGES THEREBY |
| GB2591630B (en) | 2018-07-26 | 2023-05-24 | Sigray Inc | High brightness x-ray reflection source |
| US10656105B2 (en) | 2018-08-06 | 2020-05-19 | Sigray, Inc. | Talbot-lau x-ray source and interferometric system |
| DE112019004433B4 (de) | 2018-09-04 | 2024-09-12 | Sigray, Inc. | System und verfahren für röntgenstrahlfluoreszenz mit filterung |
| CN112823280B (zh) | 2018-09-07 | 2024-11-05 | 斯格瑞公司 | 用于深度可选x射线分析的系统和方法 |
| WO2020166304A1 (ja) | 2019-02-15 | 2020-08-20 | 国立大学法人東北大学 | 放射線画像生成装置 |
| JP7200816B2 (ja) * | 2019-04-22 | 2023-01-10 | 株式会社島津製作所 | X線位相イメージング装置およびx線位相コントラスト画像生成方法 |
| DE112020004169T5 (de) | 2019-09-03 | 2022-05-25 | Sigray, Inc. | System und verfahren zur computergestützten laminografieröntgenfluoreszenz-bildgebung |
| US11175243B1 (en) | 2020-02-06 | 2021-11-16 | Sigray, Inc. | X-ray dark-field in-line inspection for semiconductor samples |
| DE112021002841T5 (de) | 2020-05-18 | 2023-03-23 | Sigray, Inc. | System und Verfahren für Röntgenabsorptionsspektroskopie unter Verwendung eines Kristallanalysators und mehrerer Detektorelemente |
| DE112021004828T5 (de) | 2020-09-17 | 2023-08-03 | Sigray, Inc. | System und verfahren unter verwendung von röntgenstrahlen für tiefenauflösende messtechnik und analyse |
| US12480892B2 (en) | 2020-12-07 | 2025-11-25 | Sigray, Inc. | High throughput 3D x-ray imaging system using a transmission x-ray source |
| DE112021006348T5 (de) | 2020-12-07 | 2023-09-21 | Sigray, Inc. | 3d-röntgenbildgebungssystem mit hohem durchsatz, das eine transmissionsröntgenquelle verwendet |
| US11813102B2 (en) * | 2021-10-06 | 2023-11-14 | Houxun Miao | Interferometer for x-ray phase contrast imaging |
| JP7454541B2 (ja) | 2021-11-24 | 2024-03-22 | 株式会社リガク | 構造情報取得方法及び構造情報取得装置 |
| US12360067B2 (en) | 2022-03-02 | 2025-07-15 | Sigray, Inc. | X-ray fluorescence system and x-ray source with electrically insulative target material |
| US11992350B2 (en) | 2022-03-15 | 2024-05-28 | Sigray, Inc. | System and method for compact laminography utilizing microfocus transmission x-ray source and variable magnification x-ray detector |
| CN119173759A (zh) | 2022-05-02 | 2024-12-20 | 斯格瑞公司 | X射线顺序阵列波长色散光谱仪 |
| CN121013975A (zh) | 2023-02-16 | 2025-11-25 | 斯格瑞公司 | 具有至少两个堆叠的平面布拉格衍射器的x射线探测器系统 |
| US12181423B1 (en) | 2023-09-07 | 2024-12-31 | Sigray, Inc. | Secondary image removal using high resolution x-ray transmission sources |
| US12429437B2 (en) | 2023-11-07 | 2025-09-30 | Sigray, Inc. | System and method for x-ray absorption spectroscopy using spectral information from two orthogonal planes |
| US12429436B2 (en) | 2024-01-08 | 2025-09-30 | Sigray, Inc. | X-ray analysis system with focused x-ray beam and non-x-ray microscope |
| WO2025155719A1 (en) | 2024-01-18 | 2025-07-24 | Sigray, Inc. | Sequential array of x-ray imaging detectors |
| WO2025174966A1 (en) | 2024-02-15 | 2025-08-21 | Sigray, Inc. | System and method for generating a focused x‑ray beam |
Family Cites Families (2)
| Publication number | Priority date | Publication date | Assignee | Title |
|---|---|---|---|---|
| JP3548664B2 (ja) | 1996-03-29 | 2004-07-28 | 株式会社日立製作所 | 位相コントラストx線撮像装置 |
| US5812629A (en) | 1997-04-30 | 1998-09-22 | Clauser; John F. | Ultrahigh resolution interferometric x-ray imaging |
-
2003
- 2003-12-25 JP JP2004562931A patent/JP4445397B2/ja not_active Expired - Lifetime
- 2003-12-25 AU AU2003292785A patent/AU2003292785A1/en not_active Abandoned
- 2003-12-25 WO PCT/JP2003/016670 patent/WO2004058070A1/ja not_active Ceased
- 2003-12-25 EP EP03768205A patent/EP1623671A4/en not_active Withdrawn
-
2005
- 2005-06-22 US US11/159,568 patent/US7180979B2/en not_active Expired - Lifetime
Cited By (17)
| Publication number | Priority date | Publication date | Assignee | Title |
|---|---|---|---|---|
| JP2009150875A (ja) * | 2007-11-15 | 2009-07-09 | Csem Centre Suisse D'electronique & De Microtechnique Sa | 干渉計デバイス及び干渉法 |
| US8824629B2 (en) | 2010-08-19 | 2014-09-02 | Fujifilm Corporation | Radiation imaging system and image processing method |
| JP2012143497A (ja) * | 2011-01-14 | 2012-08-02 | Fujifilm Corp | 放射線撮影システム及びその制御方法 |
| US9123451B2 (en) | 2011-01-25 | 2015-09-01 | Canon Kabushiki Kaisha | Imaging apparatus and imaging method |
| US9702831B2 (en) * | 2012-12-13 | 2017-07-11 | Canon Kabushiki Kaisha | Object information obtaining apparatus, program, and imaging system |
| WO2014092206A1 (en) | 2012-12-13 | 2014-06-19 | Canon Kabushiki Kaisha | Object information obtaining apparatus, program, and imaging system |
| US20150308967A1 (en) * | 2012-12-13 | 2015-10-29 | Canon Kabushiki Kaisha | Object information obtaining apparatus, program, and imaging system |
| US10393681B2 (en) | 2014-02-14 | 2019-08-27 | Canon Kabushiki Kaisha | X-ray Talbot interferometer and X-ray Talbot interferometer system |
| WO2015122542A1 (en) | 2014-02-14 | 2015-08-20 | Canon Kabushiki Kaisha | X-ray talbot interferometer and x-ray talbot interferometer system |
| US11221303B2 (en) | 2016-03-30 | 2022-01-11 | Konica Minolta, Inc. | Radiation capturing system |
| US10732133B2 (en) | 2017-12-04 | 2020-08-04 | Konica Minolta, Inc. | X-ray imaging system containing X-ray apparatus having gratings and object housing for setting environmental condition independent of external environment |
| US10852255B2 (en) | 2017-12-04 | 2020-12-01 | Konica Minolta, Inc. | X-ray imaging system |
| US11530994B2 (en) | 2017-12-04 | 2022-12-20 | Konica Minolta, Inc. | X-ray imaging system containing x-ray apparatus having gratings and object housing for setting environmental condition independent of external environment |
| EP3530189A1 (en) | 2018-02-23 | 2019-08-28 | Konica Minolta, Inc. | X-ray imaging system |
| US10695019B2 (en) | 2018-02-23 | 2020-06-30 | Konica Minolta, Inc. | X-ray imaging system |
| WO2020004175A1 (ja) * | 2018-06-27 | 2020-01-02 | 株式会社ニコン | X線装置、x線画像生成方法および構造物の製造方法 |
| WO2020045365A1 (ja) * | 2018-08-30 | 2020-03-05 | 株式会社ニコン | X線装置、x線装置の調節方法および構造物の製造方法 |
Also Published As
| Publication number | Publication date |
|---|---|
| EP1623671A4 (en) | 2008-11-05 |
| AU2003292785A1 (en) | 2004-07-22 |
| EP1623671A1 (en) | 2006-02-08 |
| JPWO2004058070A1 (ja) | 2006-04-27 |
| US20050286680A1 (en) | 2005-12-29 |
| WO2004058070A1 (ja) | 2004-07-15 |
| US7180979B2 (en) | 2007-02-20 |
Similar Documents
| Publication | Publication Date | Title |
|---|---|---|
| JP4445397B2 (ja) | X線撮像装置および撮像方法 | |
| JP5777360B2 (ja) | X線撮像装置 | |
| JP5631013B2 (ja) | X線撮像装置 | |
| CN101532969B (zh) | X射线光栅相衬成像系统及方法 | |
| JP5601909B2 (ja) | X線撮像装置及びこれを用いるx線撮像方法 | |
| US8859977B2 (en) | Wavefront measuring apparatus, wavefront measuring method, and computer-readable medium storing program | |
| JP5162453B2 (ja) | 非干渉性多色x線源を用いた定量的位相コントラスト画像法及び断層撮影法のための干渉計 | |
| CN201191275Y (zh) | 一种x射线光栅相衬成像系统 | |
| JP2013063099A (ja) | X線撮像装置 | |
| US20140347672A1 (en) | Apparatus and method for quantitive phase tomography through linear scanning with coherent and non-coherent detection | |
| WO2007125833A1 (ja) | X線撮像装置及びx線撮像方法 | |
| JP2014205079A (ja) | X線タルボ干渉計 | |
| US9123451B2 (en) | Imaging apparatus and imaging method | |
| US20140286475A1 (en) | Interferometer and object information acquisition system | |
| JP6537293B2 (ja) | X線トールボット干渉計及びx線トールボット干渉計システム | |
| CN104837409A (zh) | 具有可移动光栅的微分相位衬度成像装置 | |
| JP2013042983A (ja) | トモシンセシス撮像装置及びトモシンセシス画像の撮像方法 | |
| JP2012112914A (ja) | X線撮像装置及びx線撮像方法 | |
| US9412481B1 (en) | Method and device for producing and using localized periodic intensity-modulated patterns with x-radiation and other wavelengths | |
| JP6604772B2 (ja) | X線トールボット干渉計 | |
| JP6566839B2 (ja) | X線トールボット干渉計及びトールボット干渉計システム | |
| JPWO2018168621A1 (ja) | 放射線画像生成装置 | |
| JP2012235919A (ja) | X線撮像装置 | |
| JP2015227784A (ja) | 干渉計 | |
| JP2006058279A (ja) | X線シアリング干渉計 |
Legal Events
| Date | Code | Title | Description |
|---|---|---|---|
| A621 | Written request for application examination |
Free format text: JAPANESE INTERMEDIATE CODE: A621 Effective date: 20061019 |
|
| A521 | Request for written amendment filed |
Free format text: JAPANESE INTERMEDIATE CODE: A523 Effective date: 20071213 |
|
| A131 | Notification of reasons for refusal |
Free format text: JAPANESE INTERMEDIATE CODE: A131 Effective date: 20091020 |
|
| A521 | Request for written amendment filed |
Free format text: JAPANESE INTERMEDIATE CODE: A523 Effective date: 20091126 |
|
| TRDD | Decision of grant or rejection written | ||
| A01 | Written decision to grant a patent or to grant a registration (utility model) |
Free format text: JAPANESE INTERMEDIATE CODE: A01 Effective date: 20100105 |
|
| A01 | Written decision to grant a patent or to grant a registration (utility model) |
Free format text: JAPANESE INTERMEDIATE CODE: A01 |
|
| A61 | First payment of annual fees (during grant procedure) |
Free format text: JAPANESE INTERMEDIATE CODE: A61 Effective date: 20100115 |
|
| R150 | Certificate of patent or registration of utility model |
Free format text: JAPANESE INTERMEDIATE CODE: R150 Ref document number: 4445397 Country of ref document: JP Free format text: JAPANESE INTERMEDIATE CODE: R150 |
|
| FPAY | Renewal fee payment (event date is renewal date of database) |
Free format text: PAYMENT UNTIL: 20130122 Year of fee payment: 3 |
|
| R250 | Receipt of annual fees |
Free format text: JAPANESE INTERMEDIATE CODE: R250 |
|
| R250 | Receipt of annual fees |
Free format text: JAPANESE INTERMEDIATE CODE: R250 |
|
| R250 | Receipt of annual fees |
Free format text: JAPANESE INTERMEDIATE CODE: R250 |
|
| R250 | Receipt of annual fees |
Free format text: JAPANESE INTERMEDIATE CODE: R250 |
|
| R250 | Receipt of annual fees |
Free format text: JAPANESE INTERMEDIATE CODE: R250 |
|
| R250 | Receipt of annual fees |
Free format text: JAPANESE INTERMEDIATE CODE: R250 |
|
| R250 | Receipt of annual fees |
Free format text: JAPANESE INTERMEDIATE CODE: R250 |
|
| R250 | Receipt of annual fees |
Free format text: JAPANESE INTERMEDIATE CODE: R250 |
|
| R250 | Receipt of annual fees |
Free format text: JAPANESE INTERMEDIATE CODE: R250 |
|
| R250 | Receipt of annual fees |
Free format text: JAPANESE INTERMEDIATE CODE: R250 |
|
| R250 | Receipt of annual fees |
Free format text: JAPANESE INTERMEDIATE CODE: R250 |
|
| EXPY | Cancellation because of completion of term |
