JP4419476B2 - 液体噴射ヘッドユニット及びその製造方法並びに液体噴射装置 - Google Patents

液体噴射ヘッドユニット及びその製造方法並びに液体噴射装置 Download PDF

Info

Publication number
JP4419476B2
JP4419476B2 JP2003302855A JP2003302855A JP4419476B2 JP 4419476 B2 JP4419476 B2 JP 4419476B2 JP 2003302855 A JP2003302855 A JP 2003302855A JP 2003302855 A JP2003302855 A JP 2003302855A JP 4419476 B2 JP4419476 B2 JP 4419476B2
Authority
JP
Japan
Prior art keywords
head
liquid ejecting
liquid
cover
ejecting head
Prior art date
Legal status (The legal status is an assumption and is not a legal conclusion. Google has not performed a legal analysis and makes no representation as to the accuracy of the status listed.)
Expired - Fee Related
Application number
JP2003302855A
Other languages
English (en)
Other versions
JP2005067130A (ja
Inventor
寛成 大脇
佳直 宮田
Current Assignee (The listed assignees may be inaccurate. Google has not performed a legal analysis and makes no representation or warranty as to the accuracy of the list.)
Seiko Epson Corp
Original Assignee
Seiko Epson Corp
Priority date (The priority date is an assumption and is not a legal conclusion. Google has not performed a legal analysis and makes no representation as to the accuracy of the date listed.)
Filing date
Publication date
Application filed by Seiko Epson Corp filed Critical Seiko Epson Corp
Priority to JP2003302855A priority Critical patent/JP4419476B2/ja
Publication of JP2005067130A publication Critical patent/JP2005067130A/ja
Application granted granted Critical
Publication of JP4419476B2 publication Critical patent/JP4419476B2/ja
Anticipated expiration legal-status Critical
Expired - Fee Related legal-status Critical Current

Links

Images

Landscapes

  • Ink Jet (AREA)
  • Particle Formation And Scattering Control In Inkjet Printers (AREA)

Description

本発明は、被噴射液を吐出する液体噴射ヘッドを具備する液体噴射ヘッドユニット及びその製造方法並びに液体噴射装置に関し、特にインク滴を吐出するノズル開口と連通する圧力発生室の一部を振動板で構成し、この振動板を介して圧電素子を設けて、圧電素子の変位によりインク滴を吐出させるインクジェット式記録ヘッドを具備するインクジェット式記録ヘッドユニット及びその製造方法並びにインクジェット式記録装置に関する。
インクジェット式プリンタやプロッタ等のインクジェット式記録装置は、インクカートリッジやインクタンク等のインク貯留部に貯留されたインクを、インク滴として吐出可能なインクジェット式記録ヘッドを具備するインクジェット式記録ヘッドユニット(以下、ヘッドユニットと言う)を有する。
ヘッドユニットは、並設されたノズル開口からなるノズル列を有するインクジェット式記録ヘッドと、インクジェット式記録ヘッドのインク供給口側に固定されるヘッドケースと、インクジェット式記録ヘッドのインク滴吐出面側を保護するカバーヘッドとを具備する。カバーヘッドは、インクジェット式記録ヘッドのインク滴吐出面側に設けられてノズル開口を露出する開口窓部を有する窓枠部と、窓枠部からインクジェット式記録ヘッドの側面側に折り曲げ成形された側壁部とを有し、側壁部をインクジェット式記録ヘッドの側面に接合することで固定されている(例えば、特許文献1参照)。
また、カバーヘッドをインクジェット式記録ヘッドのノズルとは異なる部材の一面に固定することにより、カバーヘッドによってインクジェット式記録ヘッドを固定したものが提案されている(例えば、特許文献2参照)。
しかしながら、ノズル開口の並設されたノズル列を多列化したインクジェット式記録ヘッドは、1つのインクジェット式記録ヘッドに多列化したノズル開口を設けると、歩留まりが低下してしまうという問題がある。
また、インク滴吐出面とカバーヘッドとの間に隙間があると、インク滴吐出面とカバープレートとの段差が大きくなってしまうため、インク滴吐出面をワイピングしても、この段差によってインク滴吐出面にインクが残留してしまうと共に、隙間にインクが入り込んでしまうという問題がある。さらに、インク滴吐出面とカバーヘッドとの間に隙間があると、隙間に紙などの被記録媒体が入り込み、紙ジャムの発生やカバーヘッドが変形してしまうという問題がある。
また、ヘッドユニットに複数のインクジェット式記録ヘッドを用いることでノズル列を多列化した場合、複数のインクジェット式記録ヘッドをインクカートリッジが装着されるカートリッジケース等の保持部材に固定する際に、隣接するノズル列の相対的な位置決めを高精度に行えないという問題がある。また、ヘッドユニットを保持した保持部材を被記録媒体の走査方向に移動するキャリッジに搭載した際に、キャリッジとノズル列との位置決めを行うために保持部材とキャリッジとの位置決めを行う必要があると共に、キャリッジに対してノズル列の位置決めを高精度に行えないという問題がある。
さらに、カバーヘッドをノズルとは異なる部材の一面に接合するようにすると、カバーヘッドとノズル列との位置決めを行って両者を接合する作業が困難であると共に、高精度な位置決めを行うことができないという問題がある。
なお、このような問題は、インクを吐出するインクジェット式記録ヘッドを具備するインクジェット式記録ヘッドユニットだけではなく、勿論、インク以外を吐出する他の液体噴射ヘッドを具備する液体噴射ヘッドユニットにおいても、同様に存在する。
特開2002−160376号公報(第4頁、第3図) 特開2003−145791号公報(第6頁、第6〜7図)
本発明はこのような事情に鑑み、紙ジャム及びカバーヘッドの変形を防止すると共に液滴吐出面への液体の残留を防止して、ノズル列の位置決め精度を向上し印刷品質を向上することができる液体噴射ヘッドユニット及びその製造方法並びに液体噴射装置を提供することを課題とする。
上記課題を解決する本発明の第1の態様は、液滴を吐出する並設されたノズル開口からなるノズル列を有する液体噴射ヘッドと、該液体噴射ヘッドの液体供給口側に固定されるヘッドケースと、前記液体噴射ヘッドを少なくとも1つ以上保持するカバーヘッドとを具備する液体噴射ヘッドユニットであって、前記カバーヘッドは、前記ノズル開口を露出する開口部を画成すると共に前記液体噴射ヘッドの液滴吐出面の少なくとも前記ノズル列の両端部側に接合される固定部を有することを特徴とする液体噴射ヘッドユニットにある。
かかる第1の態様では、カバーヘッドを液滴吐出面に接合するため、液滴吐出面とカバーヘッドとの段差を減少させることができ、液滴吐出面のワイピングや吸引動作などを行っても、液滴吐出面に液体が残留するのを防止することができる。また、カバーヘッドと液滴吐出面との間に隙間がないため、隙間に紙が詰まる紙ジャムや、カバーヘッドの変形の発生を確実に防止できる。さらに、カバーヘッドと複数のノズル列との位置決めを容易に且つ高精度に行い、両者を接合することができる。
本発明の第2の態様は、第1の態様において、前記固定部が、前記液滴吐出面の外周に沿って設けられた枠部を有することを特徴とする液体噴射ヘッドユニットにある。
かかる第2の態様では、カバーヘッドと複数のノズル列との位置決めをさらに高精度に行うことができる。
本発明の第3の態様は、第1又は2の態様において、前記固定部が、隣接する前記液体噴射ヘッドの間に延設されて前記開口部を分割する梁部を有することを特徴とする液体噴射ヘッドユニットにある。
かかる第3の態様では、固定部の梁部によって隣接する液体噴射ヘッドの間からの液体の回り込みを防止することができ、液体噴射ヘッドの液体による破壊を防止できる。
本発明の第4の態様は、第1〜3の何れかの態様において、前記カバーヘッドは、前記液滴吐出面の周縁部に延設された側壁部を有することを特徴とする液体噴射ヘッドユニットにある。
かかる第4の態様では、側壁部によって液体噴射ヘッドの外周側からの液体の回り込みを防止することができ、液体噴射ヘッドの液体による劣化及び破壊を防止できる。
本発明の第5の態様は、第4の態様において、前記側壁部が、前記液滴吐出面の周縁部に亘って設けられていることを特徴とする液体噴射ヘッドユニットにある。
かかる第5の態様では、液体が液体噴射ヘッドの外周側に回り込むのを確実に防止できる。
本発明の第6の態様は、第1〜5の何れかの態様において、前記カバーヘッドには、他部材に位置決め固定される固定孔が設けられており、当該固定孔と複数の前記ノズル列との位置決めにより前記カバーヘッドと前記液体噴射ヘッドとが接合されていることを特徴とする液体噴射ヘッドユニットにある。
かかる第6の態様では、固定孔と複数のノズル列とを位置決め固定することで、カバーヘッドを固定する他部材と複数のノズル列との位置決めを容易に且つ高精度に行うことができる。
本発明の第7の態様は、第6の態様において、前記ヘッドケースを保持する保持部材を具備し、前記カバーヘッドの前記固定孔が前記保持部材に位置決め固定されていることを特徴とする液体噴射ヘッドユニットにある。
かかる第7の態様では、保持部材と複数のノズル列との位置決めを高精度に行うことができる。
本発明の第8の態様は、第6の態様において、前記ヘッドケースを保持すると共に走査方向に移動するキャリッジに固定される保持部材を具備し、前記カバーヘッドの前記固定孔が前記キャリッジに位置決め固定されていることを特徴とする液体噴射ヘッドユニットにある。
かかる第8の態様では、キャリッジと複数のノズル列との位置決めを高精度に行うことができ、印刷品質を向上することができる。
本発明の第9の態様は、第1〜8の何れかの態様において、前記液体噴射ヘッドには、当該液体噴射ヘッドを構成する各部材を組み立てる際に位置決めするピンが挿入されるピン挿入孔が設けられ、前記固定部が前記ピン挿入孔を塞いでいることを特徴とする液体噴射ヘッドユニットにある。
かかる第9の態様では、ピン挿入孔内に液体が侵入するのを防止して、液体噴射ヘッドの液体による劣化及び破壊を確実に防止することができる。
本発明の第10の態様は、第1〜9の何れかの態様において、前記カバーヘッドが、金属材料からなることを特徴とする液体噴射ヘッドユニットにある。
かかる第10の態様では、カバーヘッドを金属材料とすることで、カバーヘッドを接地できる。
本発明の第11の態様は、第1〜10の何れかの態様において、前記液体噴射ヘッドの前記液滴吐出面には、撥水膜が設けられていることを特徴とする液体噴射ヘッドユニットにある。
かかる第11の態様では、液滴吐出面に撥水膜を設けるにより、液滴の撥水性を向上して液滴吐出面の汚れを防止することができる。
本発明の第12の態様は、第11の態様において、前記撥水膜が、前記液滴吐出面の前記開口部により露出した領域のみに形成されていることを特徴とする液体噴射ヘッドユニットにある。
かかる第12の態様では、撥水膜によって、カバーヘッドと液滴吐出面との接合性を劣化させずに両者を接合することができる。
本発明の第13の態様は、第1〜12の何れかの態様の液体噴射ヘッドユニットを具備することを特徴とする液体噴射装置にある。
かかる第13の態様では、印刷品質及び信頼性を向上した液体噴射装置を実現できる。
本発明の第14の態様は、液滴を吐出する並設されたノズル開口からなるノズル列を有する液体噴射ヘッドと、該液体噴射ヘッドの液体供給口側に固定されるヘッドケースと、前記液体噴射ヘッドを少なくとも1つ以上保持するカバーヘッドとを具備する液体噴射ヘッドユニットの製造方法であって、前記カバーヘッドが、前記ノズル開口を露出する開口部を画成すると共に前記液体噴射ヘッドの液滴吐出面の少なくとも前記ノズル列の両端部側に接合される固定部を具備し、当該カバーヘッドに対して前記液体噴射ヘッドを位置決めして、前記固定部と液滴吐出面とを接合することを特徴とする液体噴射ヘッドユニットの製造方法にある。
かかる第14の態様では、カバーヘッドと複数のノズル列とを高精度に位置決めして両者を接合することができる。
本発明の第15の態様は、第14の態様において、前記カバーヘッドには、他部材に位置決め固定される固定孔が設けられており、当該固定孔と複数の前記ノズル列とを位置決めして、前記カバーヘッドと前記液体噴射ヘッドとを接合することを特徴とする液体噴射ヘッドユニットの製造方法にある。
かかる第15の態様では、固定孔と複数のノズル列とを位置決め固定することで、カバーヘッドを固定する他部材と複数のノズル列との位置決めを容易に且つ高精度に行うことができる。
以下に本発明を実施形態に基づいて詳細に説明する。
(実施形態1)
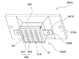
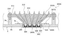
図1は、本発明の実施形態1に係るインクジェット式記録ヘッドユニットを示す分解斜視図であり、図2は、インクジェット式記録ヘッドユニットの組立斜視図であり、図3は、その要部断面図である。図1に示すように、インクジェット式記録ヘッドユニット200(以下、ヘッドユニット200と言う)を構成する保持部材であるカートリッジケース210は、インク供給手段であるインクカートリッジ(図示なし)がそれぞれ装着されるカートリッジ装着部211を有する。例えば、本実施形態では、インクカートリッジは、ブラック及び3色のカラーインクが充填された別体で構成され、カートリッジケース210には、各色のインクカートリッジがそれぞれ装着される。また、カートリッジケース210の底面には、図3に示すように、一端が各カートリッジ装着部211に開口し、他端が後述するヘッドケース側に開口する複数のインク連通路212が設けられている。さらに、カートリッジ装着部211のインク連通路212の開口部分には、インクカートリッジのインク供給口に挿入されるインク供給針213が、インク内の気泡や異物を除去するためにインク連通路212内に形成されたフィルタ(図示なし)を介して固定されている。
また、このようなカートリッジケース210の底面側には、複数の圧電素子300を有すると共に、カートリッジケース210とは反対側の端面に圧電素子300の駆動によってノズル開口21からインク滴を吐出するインクジェット式記録ヘッド220が固定されるヘッドケース230を有する。本実施形態では、インクカートリッジの各色のインクを吐出するインクジェット式記録ヘッド220がインク色毎に対応して複数設けられ、ヘッドケース230も各インクジェット式記録ヘッド220に対応してそれぞれ独立して複数設けられている。
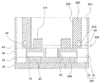
ここで、カートリッジケース210に搭載される本実施形態のインクジェット式記録ヘッド220及びヘッドケース230について説明する。図4は、インクジェット式記録ヘッド及びヘッドケースの分解斜視図であり、図5は、インクジェット式記録ヘッド及びヘッドケースの断面図である。図4及び図5に示すように、インクジェット式記録ヘッド220を構成する流路形成基板10は、本実施形態では、シリコン単結晶基板からなり、その一方面には予め熱酸化により形成した二酸化シリコンからなる弾性膜50が形成されている。この流路形成基板10には、その他方面側から異方性エッチングすることにより、複数の隔壁によって区画された圧力発生室12が、幅方向に並設された列が2列形成されている。また、各列の圧力発生室12の長手方向外側には、後述するリザーバ形成基板30に設けられるリザーバ部31と連通し、各圧力発生室12の共通のインク室となるリザーバ100を構成する連通部13が形成されている。また、連通部13は、インク供給路14を介して各圧力発生室12の長手方向一端部とそれぞれ連通されている。
また、流路形成基板10の開口面側には、各圧力発生室12のインク供給路14とは反対側で連通するノズル開口21が穿設されたノズルプレート20が接着剤や熱溶着フィルム等を介して固着されている。すなわち、本実施形態では、1つのインクジェット式記録ヘッドにノズル開口21の並設されたノズル列21Aが2列設けられている。
一方、流路形成基板10の開口面とは反対側には、弾性膜50上に、金属からなる下電極膜と、チタン酸ジルコン酸鉛(PZT)等からなる圧電体層と、金属からなる上電極膜とを順次積層することで形成された圧電素子300が形成されている。このような圧電素子300が形成された流路形成基板10上には、リザーバ100の少なくとも一部を構成するリザーバ部31を有するリザーバ形成基板30が接合されている。このリザーバ部31は、本実施形態では、リザーバ形成基板30を厚さ方向に貫通して圧力発生室12の幅方向に亘って形成されており、上述のように流路形成基板10の連通部13と連通されて各圧力発生室12の共通のインク室となるリザーバ100を構成している。
また、リザーバ形成基板30の圧電素子300に対向する領域には、圧電素子300の運動を阻害しない程度の空間を有する圧電素子保持部32が設けられている。このようなリザーバ形成基板30としては、ガラス、セラミック、金属、プラスチック等を挙げることができるが、流路形成基板10の熱膨張率と略同一の材料を用いることが好ましく、本実施形態では、流路形成基板10と同一材料のシリコン単結晶基板を用いて形成した。
さらに、リザーバ形成基板30上には、各圧電素子300を駆動するための駆動IC110が設けられている。この駆動IC110の各端子は、図示しないボンディングワイヤ等を介して各圧電素子300の個別電極から引き出された引き出し配線と接続されている。そして、駆動IC110の各端子には、図1に示すような、フレキシブルプリントケーブル(FPC)等の外部配線111を介して外部と接続され、外部から外部配線111を介して印刷信号等の各種信号を受け取るようになっている。
また、このようなリザーバ形成基板30上には、コンプライアンス基板40が接合されている。コンプライアンス基板40のリザーバ100に対向する領域には、リザーバ100にインクを供給するためのインク導入口44が厚さ方向に貫通することで形成されている。また、コンプライアンス基板40のリザーバ100に対向する領域のインク導入口44以外の領域は、厚さ方向に薄く形成された可撓部43となっており、リザーバ100は、可撓部43により封止されている。この可撓部43により、リザーバ100内にコンプライアンスを与えている。
このように、本実施形態のインクジェット式記録ヘッド220は、ノズルプレート20、流路形成基板10、リザーバ形成基板30及びコンプライアンス基板40の4つの基板で構成されている。そして、このようなインクジェット式記録ヘッド220のコンプライアンス基板40上には、インク導入口44に連通すると共にカートリッジケース210のインク連通路212に連通して、カートリッジケース210からのインクをインク導入口44に供給するインク供給連通路231が設けられたヘッドケース230が設けられている。このヘッドケース230には、可撓部43に対向する領域に凹部232が形成され、可撓部43の撓み変形が適宜行われるようになっている。また、ヘッドケース230には、リザーバ形成基板30上に設けられた駆動IC110に対向する領域に厚さ方向に貫通した駆動IC保持部233が設けられており、外部配線111は、駆動IC保持部233を挿通して駆動IC110と接続されている。
このような本実施形態のインクジェット式記録ヘッド220は、インクカートリッジからのインクをインク連通路212及びインク供給連通路231を介してインク導入口44から取り込み、リザーバ100からノズル開口21に至るまで内部をインクで満たした後、駆動IC110からの記録信号に従い、圧力発生室12に対応するそれぞれの圧電素子300に電圧を印加し、弾性膜50及び圧電素子300をたわみ変形させることにより、各圧力発生室12内の圧力が高まりノズル開口21からインク滴が吐出する。
このようなインクジェット式記録ヘッド220を構成する各部材及びヘッドケース230には、組立時に各部材を位置決めするためのピンが挿入されるピン挿入孔234が角部の2箇所に設けられている。そして、ピン挿入孔234にピンを挿入して各部材の相対的な位置決めを行いながら部材同士を接合することで、インクジェット式記録ヘッド220及びヘッドケース230が一体的に形成される。
なお、上述したインクジェット式記録ヘッド220は、1枚のシリコンウェハ上に多数のチップを同時に形成し、ノズルプレート20及びコンプライアンス基板40を接着して一体化し、その後、図4に示すような1つのチップサイズの流路形成基板10毎に分割することによってインクジェット式記録ヘッド220となる。
このようなインクジェット式記録ヘッド220及びヘッドケース230は、上述したカートリッジケース210にノズル列21Aの並び方向に所定の間隔で4つ固定されている。すなわち、本実施形態のヘッドユニット200には、ノズル列21Aが8列設けられていることになる。このように複数のインクジェット式記録ヘッド220を用いて並設されたノズル開口21からなるノズル列21Aの多列化を図ることで、1つのインクジェット式記録ヘッド220にノズル列21Aを多列形成するのに比べて歩留まりの低下を防止することができる。また、ノズル列21Aの多列化を図るために複数のインクジェット式記録ヘッド220を用いることで、1枚のシリコンウェハから形成できるインクジェット式記録ヘッド220の取り数を増大させることができ、シリコンウェハの無駄な領域を減少させて製造コストを低減することができる。
また、カートリッジケース210にヘッドケース230を介して保持された4つのインクジェット式記録ヘッド220は、図1及び図2に示すように、カバーヘッド240によって相対的に位置決めされて保持されている。カバーヘッド240は、ノズル開口21を露出する開口部241と、開口部241を画成すると共にインクジェット式記録ヘッド220のインク滴吐出面の少なくともノズル列21Aの並設されたノズル開口21の両端部側に接合される固定部242とを具備する。
固定部242は、本実施形態では、複数のインクジェット式記録ヘッド220に亘ってインク滴吐出面の外周に沿って設けられた枠部243と、隣接するインクジェット式記録ヘッド220の間に延設されて開口部241を分割する梁部244とで構成されており、枠部243及び梁部244がインクジェット式記録ヘッド220のインク滴吐出面に接合されている。また、固定部242の枠部243は、インクジェット式記録ヘッド220の製造時に各部材を位置決めするピン挿入孔234を塞ぐように形成されている。また、カバーヘッド240には、インクジェット式記録ヘッド220のインク滴吐出面の側面側に、インク滴吐出面の外周縁部に亘って屈曲するように延設された側壁部245が設けられている。
このように、カバーヘッド240は、固定部242をインクジェット式記録ヘッド220のインク滴吐出面に接着するようにしたため、インク滴吐出面とカバーヘッド240との段差を減少させることができ、インク滴吐出面のワイピングや吸引動作などを行っても、インク滴吐出面にインクが残留するのを防止することができる。また、梁部244によって隣接するインクジェット式記録ヘッド220の間が塞がれているため、隣接するインクジェット式記録ヘッド220の間にインクが侵入することがなく、圧電素子300や駆動IC110などのインクによる劣化及び破壊を防止することができる。また、インクジェット式記録ヘッド220のインク滴吐出面とカバーヘッド240との間は、接着剤によって隙間なく接着されているため、隙間に被記録媒体が入り込むのを防止してカバーヘッド240の変形及び紙ジャムを防止することができる。さらに、側壁部245が、複数のインクジェット式記録ヘッド220の外周縁部を覆うことで、インクジェット式記録ヘッド220の側面へのインクの回り込みを確実に防止することができる。また、カバーヘッド240に、インクジェット式記録ヘッド220のインク滴吐出面と接合される固定部242を設けるようにしたため、複数のインクジェット式記録ヘッド220の各ノズル列21Aをカバーヘッド240に対して高精度に位置決めして接合することができる。
このようなカバーヘッド240としては、例えば、ステンレス鋼などの金属材料が挙げられ、金属板をプレス加工により形成してもよく、成形により形成するようにしてもよい。また、カバーヘッド240を導電性の金属材料とすることで、接地することができる。なお、カバーヘッド240とノズルプレート20との接合は、特に限定されず、例えば、熱硬化性のエポキシ系接着剤による接着が挙げられる。
また、固定部242には、カバーヘッド240を他部材に位置決め固定するための固定孔247が設けられたフランジ部246が設けられている。このフランジ部246は、側壁部245から液滴吐出面の面方向と同一方向に突出するように屈曲して設けられている。本実施形態では、カバーヘッド240は、図2及び図3に示すように、インクジェット式記録ヘッド220及びヘッドケース230を保持した保持部材であるカートリッジケース210に固定されている。詳しくは、図2及び図3に示すように、カートリッジケース210には、インク滴吐出面側に突出して、カバーヘッド240の固定孔247に挿入される突起部215が設けられており、この突起部215をカバーヘッド240の固定孔247に挿入すると共に、突起部215の先端部を加熱してかしめることで、カートリッジケース210にカバーヘッド240が固定されている。このようなカートリッジケース210に設けられた突起部215を、フランジ部246の固定孔247よりも小径の外径とすることで、カバーヘッド240をインク滴吐出面の面方向に位置決めしてカートリッジケース210に固定することができる。
また、このようなカバーヘッド240と各インクジェット式記録ヘッド220とは、カバーヘッド240の固定孔247と複数のノズル列21との位置決めにより固定されている。ここで、カバーヘッド240の固定孔247と各インクジェット式記録ヘッド220のノズル列21Aとの位置決めは、カバーヘッド240がインクジェット式記録ヘッド220のインク滴吐出面に接合されるため、例えば、ガラス等の透過性を有する板状部材からなる位置決め治具を用いて行うことができる。
ここで、位置決め治具を用いたカバーヘッド240とインクジェット式記録ヘッド220との製造方法について説明する。なお、図6は、ヘッドユニットの製造工程を示す平面図である。図6(a)に示すように、位置決め治具400は、ガラス等の透過性を有する板状部材からなり、ノズル列21Aのノズル開口21と位置決めするアライメントマーク401が所定位置となるように設けられている。
まず、図6(b)に示すように、位置決め治具400の外周とカバーヘッド240の外周とを位置決めすることで、位置決め治具400とカバーヘッド240の固定孔247との位置決めを行う。本実施形態では、位置決め治具400とカバーヘッド240の固定孔247との位置決めを、位置決め治具400の外周とカバーヘッド240の外周とを位置決めすることにより行ったが、特にこれに限定されず、例えば、位置決め治具400にカバーヘッド240の固定孔247に挿入する突起を設け、突起を固定孔247に挿入することで両者の位置決めを行うようにしてもよく、位置決め治具400に位置決め用のピンが挿入される貫通孔を設け、この貫通孔と固定孔247とに位置決め用のピンを挿入することで両者の位置決めを行うようにしてもよい。
次に、図6(c)に示すように、位置決め治具400をカバーヘッド240とは反対側から透視して、アライメントマーク401に1つ目のインクジェット式記録ヘッド220のノズル列21Aのノズル開口21を位置決めする。このとき、図示しないが、予めカバーヘッド240のインクジェット式記録ヘッド220と接合される接合面に接着剤を塗布し、ノズル列21Aを位置決めすると共に1つ目のインクジェット式記録ヘッド220とカバーヘッド240とを接合する。
その後、図6(c)に示す工程を繰り返し行うことで、複数のインクジェット式記録ヘッド220をカバーヘッド240に順次位置決め固定する。このように、カバーヘッド240と複数のノズル列21Aとを位置決めして両者を接合することで、カバーヘッド240とノズル列21Aとの位置決めを高精度に行うことができる。また、カバーヘッド240を固定孔247を介してカートリッジケース210に位置決め固定する際に、固定孔247とノズル列21Aとの位置決めが行われているため、カートリッジケース210とノズル列21Aとの位置決めを容易に且つ高精度に行うことができる。
なお、上述した工程によりカバーヘッド240と複数のインクジェット式記録ヘッド220とを位置決め接合した後、インクジェット式記録ヘッド220のインク導入口44側に接合されたヘッドケース230をカートリッジケース210に接合すると共に、カバーヘッド240の固定孔247をカートリッジケース210の突起部215に固定することで、本実施形態のヘッドユニット200とすることができる。
このようなヘッドユニット200は、インクジェット式記録装置に搭載される。図7は、そのインクジェット式記録装置の一例を示す概略図である。図7に示すように、インクジェット式記録ヘッドを有するヘッドユニット200は、インク供給手段を構成するカートリッジ1A及び1Bが着脱可能に設けられ、このヘッドユニット200を搭載したキャリッジ3は、装置本体4に取り付けられたキャリッジ軸5に軸方向移動自在に設けられている。この記録ヘッドユニット1A及び1Bは、例えば、それぞれブラックインク組成物及びカラーインク組成物を吐出するものとしている。
そして、駆動モータ6の駆動力が図示しない複数の歯車およびタイミングベルト7を介してキャリッジ3に伝達されることで、ヘッドユニット200を搭載したキャリッジ3はキャリッジ軸5に沿って移動される。一方、装置本体4にはキャリッジ軸5に沿ってプラテン8が設けられており、図示しない給紙ローラなどにより給紙された紙等の記録媒体である記録シートSがプラテン8上を搬送されるようになっている。
(実施形態2)
図8は、本発明の実施形態2に係るインクジェット式記録ヘッドユニットの組立斜視図であり、図9は、インクジェット式記録ヘッドユニットの要部断面図である。図8及び図9に示すように、本実施形態のヘッドユニット200Aは、キャリッジ3にカバーヘッド240Aとカートリッジケース210Aとが固定されている。
詳しくは、キャリッジ3には、カートリッジケース210Aがねじ部材216を介して固定されるカートリッジケース支持部3aと、カバーヘッド240Aが固定されるカバーヘッド支持部3bとを具備し、カバーヘッド支持部3bには、カバーヘッド240Aのフランジ部246Aの固定孔247Aに挿通される突起部3cが設けられている。また、突起部3cをフランジ部246Aの固定孔247Aに挿通すると共に突起部3cの先端部を加熱してかしめることで、カバーヘッド240Aはキャリッジ3に固定されている。
このように、固定孔247Aとノズル列21Aとが高精度に位置決めされたカバーヘッド240Aを、固定孔247Aを介して直接キャリッジ3に固定することで、キャリッジ3とノズル列21Aとの位置決めを容易に且つ高精度に行うことができる。また、キャリッジ3とノズル列21Aとの位置決めを別途行う必要がなく、製造工程を簡略化すると共に製造時間を短縮することができる。
もちろん、上述した実施形態1と同様に、カバーヘッド240Aをインクジェット式記録ヘッド220のインク滴吐出面に接合することで、インク滴吐出面にインクが残留するのを防止することができると共に、インクがインクジェット式記録ヘッド220に回り込むことがなく、インクジェット式記録ヘッド220のインクによる劣化及び破壊を防止できる。また、インク滴吐出面とカバーヘッド240Aとの間には隙間がないため、カバーヘッドの変形及び紙ジャムを防止することができる。
(他の実施形態)
以上、本発明の各実施形態を説明したが、本発明は上述したものに限定されるものではない。例えば、上述した実施形態1及び2のノズルプレート20のインク滴吐出面には、実際には撥水性を向上する撥水膜が形成されている。この撥水膜としては、特に限定されないが、例えば、金属膜を挙げることができる。このような金属膜は、カバーヘッド240、240Aをインク滴吐出面に接合する際に、接着剤の接着力が低下してしまうため、カバーヘッド240及び240Aの開口部241により露出した領域のみに設けるのが好ましい。また、このような金属膜は、例えば、共析メッキにより所定の厚さで高精度に形成することができる。
また、上述した実施形態1及び2では、カバーヘッド240、240Aに側壁部245及び固定孔247、247Aを有するフランジ部246、246Aを設けるようにしたが、側壁部245及び固定孔247、247Aを有するフランジ部246、246Aは必ずしも必要なものではなく、側壁部245及び固定孔247、247Aを有するフランジ部246、246Aがなくても、インク滴吐出面のインク残留を防止することができると共に、カバーヘッドにノズル列21Aの相対的な位置決めを高精度に行った状態で複数のインクジェット式記録ヘッドを容易に接合することができる。
また、上述した実施形態1及び2では、撓み振動型のインクジェット式記録ヘッド220を例示したが、これに限定されず、例えば、圧電材料と電極形成材料とを交互に積層させて軸方向に伸縮させる縦振動型のインクジェット式記録ヘッドや発熱素子等の発熱で発生するバブルによってインク滴を吐出させるインクジェット式記録ヘッド等、種々の構造のインクジェット式記録ヘッドを有するヘッドユニットに応用することができることは言うまでもない。
なお、液体噴射ヘッドとしてインクを吐出するインクジェット式記録ヘッドを有するヘッドユニット及びインクジェット式記録装置を一例として説明したが、本発明は、広く液体噴射ヘッドを有する液体噴射ヘッドユニット及び液体噴射装置全般を対象としたものである。液体噴射ヘッドとしては、例えば、プリンタ等の画像記録装置に用いられる記録ヘッド、液晶ディスプレー等のカラーフィルタの製造に用いられる色材噴射ヘッド、有機ELディスプレー、FED(面発光ディスプレー)等の電極形成に用いられる電極材料噴射ヘッド、バイオchip製造に用いられる生体有機物噴射ヘッド等を挙げることができる。
実施形態1に係るヘッドユニットの分解斜視図である。 実施形態1に係るヘッドユニットの組立斜視図である。 実施形態1に係るヘッドユニットの要部断面図である。 実施形態1に係るヘッドユニットの要部の分解斜視図である。 実施形態1に係るヘッドケース及び記録ヘッドの断面図である。 実施形態1に係るヘッドユニットの製造工程を示す平面図である。 実施形態1に係るインクジェット式記録装置の概略図である。 実施形態2に係るヘッドユニットの組立斜視図である。 実施形態2に係るヘッドユニットの要部断面図である。
符号の説明
3 キャリッジ、10 流路形成基板、12 圧力発生室、100 リザーバ、200,200A ヘッドユニット、210 カートリッジケース、220 インクジェット式記録ヘッド、230 ヘッドケース、240 カバーヘッド、241 開口部、242 固定部、245 側壁部、246,246A フランジ部、247,247A 固定孔、300 圧電素子、400 位置決め治具

Claims (14)

  1. 液滴を吐出する並設されたノズル開口からなるノズル列を有する液体噴射ヘッドと、該液体噴射ヘッドの液体供給口側に固定されるヘッドケースと、前記液体噴射ヘッドを少なくとも1つ以上保持するカバーヘッドとを具備する液体噴射ヘッドユニットであって、
    前記カバーヘッドは、前記ノズル開口を露出する開口部を画成すると共に前記液体噴射ヘッドの液滴吐出面の少なくとも前記ノズル列の両端部側に接合される固定部を有し
    前記カバーヘッドには、他部材に位置決め固定される固定孔が設けられており、当該固定孔と複数の前記ノズル開口との位置決めにより前記カバーヘッドと前記液体噴射ヘッドとが接合されていることを特徴とする液体噴射ヘッドユニット。
  2. 請求項1において、前記固定部が、前記液滴吐出面の外周に沿って設けられた枠部を有することを特徴とする液体噴射ヘッドユニット。
  3. 請求項1又は2において、前記固定部が、隣接する前記液体噴射ヘッドの間に延設されて前記開口部を分割する梁部を有することを特徴とする液体噴射ヘッドユニット。
  4. 請求項1〜3の何れかにおいて、前記カバーヘッドは、前記液滴吐出面の周縁部に延設された側壁部を有することを特徴とする液体噴射ヘッドユニット。
  5. 請求項4において、前記側壁部が、前記液滴吐出面の周縁部に亘って設けられていることを特徴とする液体噴射ヘッドユニット。
  6. 請求項において、前記ヘッドケースを保持する保持部材を具備し、前記カバーヘッドの前記固定孔が前記保持部材に位置決め固定されていることを特徴とする液体噴射ヘッドユニット。
  7. 請求項において、前記ヘッドケースを保持すると共に走査方向に移動するキャリッジに固定される保持部材を具備し、前記カバーヘッドの前記固定孔が前記キャリッジに位置決め固定されていることを特徴とする液体噴射ヘッドユニット。
  8. 請求項1〜の何れかにおいて、前記液体噴射ヘッドには、当該液体噴射ヘッドを構成する各部材を組み立てる際に位置決めするピンが挿入されるピン挿入孔が設けられ、前記固定部が前記ピン挿入孔を塞いでいることを特徴とする液体噴射ヘッドユニット。
  9. 請求項1〜の何れかにおいて、前記カバーヘッドが、金属材料からなることを特徴とする液体噴射ヘッドユニット。
  10. 請求項1〜の何れかにおいて、前記液体噴射ヘッドの前記液滴吐出面には、撥水膜が設けられていることを特徴とする液体噴射ヘッドユニット。
  11. 請求項10において、前記撥水膜が、前記液滴吐出面の前記開口部により露出した領域のみに形成されていることを特徴とする液体噴射ヘッドユニット。
  12. 請求項1〜11の何れかの液体噴射ヘッドユニットを具備することを特徴とする液体噴射装置。
  13. 液滴を吐出する並設されたノズル開口からなるノズル列を有する液体噴射ヘッドと、該液体噴射ヘッドの液体供給口側に固定されるヘッドケースと、前記液体噴射ヘッドを少なくとも1つ以上保持するカバーヘッドとを具備する液体噴射ヘッドユニットの製造方法であって、
    前記カバーヘッドが、前記ノズル開口を露出する開口部を画成すると共に前記液体噴射ヘッドの液滴吐出面の少なくとも前記ノズル列の両端部側に接合される固定部を具備し、当該カバーヘッドに対して前記液体噴射ヘッドを位置決めして、前記固定部と液滴吐出面とを接合することを特徴とする液体噴射ヘッドユニットの製造方法。
  14. 請求項13において、前記カバーヘッドには、他部材に位置決め固定される固定孔が設けられており、当該固定孔と複数の前記ノズル開口とを位置決めして、前記カバーヘッドと前記液体噴射ヘッドとを接合することを特徴とする液体噴射ヘッドユニットの製造方法。
JP2003302855A 2003-08-27 2003-08-27 液体噴射ヘッドユニット及びその製造方法並びに液体噴射装置 Expired - Fee Related JP4419476B2 (ja)

Priority Applications (1)

Application Number Priority Date Filing Date Title
JP2003302855A JP4419476B2 (ja) 2003-08-27 2003-08-27 液体噴射ヘッドユニット及びその製造方法並びに液体噴射装置

Applications Claiming Priority (1)

Application Number Priority Date Filing Date Title
JP2003302855A JP4419476B2 (ja) 2003-08-27 2003-08-27 液体噴射ヘッドユニット及びその製造方法並びに液体噴射装置

Publications (2)

Publication Number Publication Date
JP2005067130A JP2005067130A (ja) 2005-03-17
JP4419476B2 true JP4419476B2 (ja) 2010-02-24

Family

ID=34407014

Family Applications (1)

Application Number Title Priority Date Filing Date
JP2003302855A Expired - Fee Related JP4419476B2 (ja) 2003-08-27 2003-08-27 液体噴射ヘッドユニット及びその製造方法並びに液体噴射装置

Country Status (1)

Country Link
JP (1) JP4419476B2 (ja)

Families Citing this family (9)

* Cited by examiner, † Cited by third party
Publication number Priority date Publication date Assignee Title
JP4973840B2 (ja) * 2005-08-31 2012-07-11 セイコーエプソン株式会社 液体噴射ヘッド及び液体噴射装置及び液体噴射ヘッドの製造方法
JP4935994B2 (ja) * 2007-02-16 2012-05-23 セイコーエプソン株式会社 液体噴射ヘッドユニット及び液体噴射装置
JP5717527B2 (ja) * 2010-05-19 2015-05-13 キヤノン株式会社 液体吐出ヘッド
JP5678586B2 (ja) * 2010-11-04 2015-03-04 セイコーエプソン株式会社 液体噴射ヘッド、液体噴射ヘッドユニット、液体噴射装置及び液体噴射ヘッドの製造方法
CN106335283B (zh) * 2015-07-08 2019-10-15 精工爱普生株式会社 液体喷射头单元、液体喷射头组件、液体喷射装置以及液体喷射头单元的制造方法
JP6562204B2 (ja) * 2015-07-17 2019-08-21 セイコーエプソン株式会社 液体噴射ヘッドユニット及び液体噴射装置
JP2017105026A (ja) 2015-12-08 2017-06-15 エスアイアイ・プリンテック株式会社 液体噴射ヘッド、液体噴射記録装置および液体噴射ヘッドの製造方法
JP6903937B2 (ja) * 2017-02-21 2021-07-14 セイコーエプソン株式会社 テストパターンの作成方法、テストパターン、印刷システム、プログラム
JP6798541B2 (ja) 2018-11-29 2020-12-09 セイコーエプソン株式会社 液体噴射ヘッド、液体噴射装置、及び、液体噴射装置の製造方法

Also Published As

Publication number Publication date
JP2005067130A (ja) 2005-03-17

Similar Documents

Publication Publication Date Title
JP4573022B2 (ja) 液体噴射ヘッドユニット
JP4561228B2 (ja) 液体噴射ヘッドユニット及び液体噴射ヘッドのアライメント方法
JP4947303B2 (ja) 液体噴射ヘッドユニット及び液体噴射装置
JP5136752B2 (ja) 液体噴射ヘッド及び液体噴射装置
JP4380713B2 (ja) 液体噴射ヘッドユニットの製造方法
JP2007216666A (ja) 液体噴射ヘッド及び液体噴射装置
JP4419476B2 (ja) 液体噴射ヘッドユニット及びその製造方法並びに液体噴射装置
JP2006326937A (ja) アライメント治具及び液体噴射ヘッドユニットの製造方法
JP5187486B2 (ja) 液体噴射ヘッドユニットの製造方法
JP5257563B2 (ja) 液体噴射ヘッドユニットの製造方法
JP2004209655A (ja) 液体噴射ヘッド
JP4957896B2 (ja) ノズル形成部材の製造方法及び液体噴射ヘッドの製造方法並びに液体噴射ヘッドユニットの製造方法
JP2006231678A (ja) 液体噴射ヘッドユニット及び液体噴射装置
JP4530161B2 (ja) 液体噴射装置
JP4935994B2 (ja) 液体噴射ヘッドユニット及び液体噴射装置
JP2008114555A (ja) 液体噴射ヘッドユニットの製造方法
JP4605356B2 (ja) 液体噴射ヘッドユニット及び液体噴射装置
JP5472595B2 (ja) 液体噴射ヘッド及び液体噴射装置
JP2009034862A (ja) 液体噴射ヘッドユニット及び液体噴射装置
JP2007030379A (ja) 液体噴射ヘッドユニット及び液体噴射装置
JP2007050674A (ja) 液体噴射ヘッドユニット及び液体噴射装置
JP4701795B2 (ja) 液体噴射ヘッドユニットの製造方法
JP2007152698A (ja) 液体噴射ヘッド及び液体噴射装置
KR100756149B1 (ko) 액체 분사 헤드 및 액체 분사 장치
JP2010125640A (ja) 液体噴射ヘッドユニット及びその製造方法並びに液体噴射装置

Legal Events

Date Code Title Description
A621 Written request for application examination

Free format text: JAPANESE INTERMEDIATE CODE: A621

Effective date: 20060821

RD04 Notification of resignation of power of attorney

Free format text: JAPANESE INTERMEDIATE CODE: A7424

Effective date: 20090618

RD03 Notification of appointment of power of attorney

Free format text: JAPANESE INTERMEDIATE CODE: A7423

Effective date: 20090706

A977 Report on retrieval

Free format text: JAPANESE INTERMEDIATE CODE: A971007

Effective date: 20090821

A131 Notification of reasons for refusal

Free format text: JAPANESE INTERMEDIATE CODE: A131

Effective date: 20090901

A521 Written amendment

Free format text: JAPANESE INTERMEDIATE CODE: A523

Effective date: 20091015

TRDD Decision of grant or rejection written
A01 Written decision to grant a patent or to grant a registration (utility model)

Free format text: JAPANESE INTERMEDIATE CODE: A01

Effective date: 20091110

A01 Written decision to grant a patent or to grant a registration (utility model)

Free format text: JAPANESE INTERMEDIATE CODE: A01

A61 First payment of annual fees (during grant procedure)

Free format text: JAPANESE INTERMEDIATE CODE: A61

Effective date: 20091123

FPAY Renewal fee payment (event date is renewal date of database)

Free format text: PAYMENT UNTIL: 20121211

Year of fee payment: 3

R150 Certificate of patent or registration of utility model

Ref document number: 4419476

Country of ref document: JP

Free format text: JAPANESE INTERMEDIATE CODE: R150

Free format text: JAPANESE INTERMEDIATE CODE: R150

FPAY Renewal fee payment (event date is renewal date of database)

Free format text: PAYMENT UNTIL: 20121211

Year of fee payment: 3

FPAY Renewal fee payment (event date is renewal date of database)

Free format text: PAYMENT UNTIL: 20131211

Year of fee payment: 4

S531 Written request for registration of change of domicile

Free format text: JAPANESE INTERMEDIATE CODE: R313531

R350 Written notification of registration of transfer

Free format text: JAPANESE INTERMEDIATE CODE: R350

LAPS Cancellation because of no payment of annual fees