JP4266319B2 - 光コネクタプラグ及び光コネクタ - Google Patents
光コネクタプラグ及び光コネクタ Download PDFInfo
- Publication number
- JP4266319B2 JP4266319B2 JP2003091985A JP2003091985A JP4266319B2 JP 4266319 B2 JP4266319 B2 JP 4266319B2 JP 2003091985 A JP2003091985 A JP 2003091985A JP 2003091985 A JP2003091985 A JP 2003091985A JP 4266319 B2 JP4266319 B2 JP 4266319B2
- Authority
- JP
- Japan
- Prior art keywords
- optical connector
- ferrule
- adapter
- plug
- optical
- Prior art date
- Legal status (The legal status is an assumption and is not a legal conclusion. Google has not performed a legal analysis and makes no representation as to the accuracy of the status listed.)
- Expired - Fee Related
Links
- 230000003287 optical effect Effects 0.000 title claims description 306
- 239000013307 optical fiber Substances 0.000 claims description 66
- 230000002093 peripheral effect Effects 0.000 claims description 11
- 230000003247 decreasing effect Effects 0.000 claims 1
- 238000003780 insertion Methods 0.000 description 71
- 230000037431 insertion Effects 0.000 description 71
- 210000000078 claw Anatomy 0.000 description 29
- 239000000758 substrate Substances 0.000 description 29
- 238000000034 method Methods 0.000 description 24
- NJPPVKZQTLUDBO-UHFFFAOYSA-N novaluron Chemical compound C1=C(Cl)C(OC(F)(F)C(OC(F)(F)F)F)=CC=C1NC(=O)NC(=O)C1=C(F)C=CC=C1F NJPPVKZQTLUDBO-UHFFFAOYSA-N 0.000 description 14
- 238000004891 communication Methods 0.000 description 6
- MCMNRKCIXSYSNV-UHFFFAOYSA-N Zirconium dioxide Chemical compound O=[Zr]=O MCMNRKCIXSYSNV-UHFFFAOYSA-N 0.000 description 4
- 238000004519 manufacturing process Methods 0.000 description 4
- 239000000463 material Substances 0.000 description 4
- 239000011248 coating agent Substances 0.000 description 3
- 238000000576 coating method Methods 0.000 description 3
- 238000003475 lamination Methods 0.000 description 3
- 239000002184 metal Substances 0.000 description 3
- 229910052751 metal Inorganic materials 0.000 description 3
- 238000000465 moulding Methods 0.000 description 3
- 238000003825 pressing Methods 0.000 description 3
- 239000011347 resin Substances 0.000 description 3
- 229920005989 resin Polymers 0.000 description 3
- 238000003466 welding Methods 0.000 description 3
- PXHVJJICTQNCMI-UHFFFAOYSA-N Nickel Chemical compound [Ni] PXHVJJICTQNCMI-UHFFFAOYSA-N 0.000 description 2
- 239000000853 adhesive Substances 0.000 description 2
- 230000001070 adhesive effect Effects 0.000 description 2
- 229910010293 ceramic material Inorganic materials 0.000 description 2
- 230000000694 effects Effects 0.000 description 2
- 239000011521 glass Substances 0.000 description 2
- 238000010030 laminating Methods 0.000 description 2
- 239000007769 metal material Substances 0.000 description 2
- 230000001105 regulatory effect Effects 0.000 description 2
- 239000010935 stainless steel Substances 0.000 description 2
- 229910001220 stainless steel Inorganic materials 0.000 description 2
- 229910000881 Cu alloy Inorganic materials 0.000 description 1
- 238000005452 bending Methods 0.000 description 1
- 230000005540 biological transmission Effects 0.000 description 1
- 239000005388 borosilicate glass Substances 0.000 description 1
- 238000005219 brazing Methods 0.000 description 1
- 230000006835 compression Effects 0.000 description 1
- 238000007906 compression Methods 0.000 description 1
- 230000005489 elastic deformation Effects 0.000 description 1
- 230000013011 mating Effects 0.000 description 1
- 238000012986 modification Methods 0.000 description 1
- 230000004048 modification Effects 0.000 description 1
- 229910052759 nickel Inorganic materials 0.000 description 1
- 230000000149 penetrating effect Effects 0.000 description 1
- 238000005498 polishing Methods 0.000 description 1
- 239000010453 quartz Substances 0.000 description 1
- VYPSYNLAJGMNEJ-UHFFFAOYSA-N silicon dioxide Inorganic materials O=[Si]=O VYPSYNLAJGMNEJ-UHFFFAOYSA-N 0.000 description 1
- 238000005476 soldering Methods 0.000 description 1
- 229920001187 thermosetting polymer Polymers 0.000 description 1
Images
Classifications
-
- G—PHYSICS
- G02—OPTICS
- G02B—OPTICAL ELEMENTS, SYSTEMS OR APPARATUS
- G02B6/00—Light guides; Structural details of arrangements comprising light guides and other optical elements, e.g. couplings
- G02B6/24—Coupling light guides
- G02B6/36—Mechanical coupling means
- G02B6/38—Mechanical coupling means having fibre to fibre mating means
- G02B6/3807—Dismountable connectors, i.e. comprising plugs
-
- G—PHYSICS
- G02—OPTICS
- G02B—OPTICAL ELEMENTS, SYSTEMS OR APPARATUS
- G02B6/00—Light guides; Structural details of arrangements comprising light guides and other optical elements, e.g. couplings
- G02B6/24—Coupling light guides
- G02B6/36—Mechanical coupling means
- G02B6/38—Mechanical coupling means having fibre to fibre mating means
- G02B6/3807—Dismountable connectors, i.e. comprising plugs
- G02B6/381—Dismountable connectors, i.e. comprising plugs of the ferrule type, e.g. fibre ends embedded in ferrules, connecting a pair of fibres
- G02B6/3825—Dismountable connectors, i.e. comprising plugs of the ferrule type, e.g. fibre ends embedded in ferrules, connecting a pair of fibres with an intermediate part, e.g. adapter, receptacle, linking two plugs
-
- G—PHYSICS
- G02—OPTICS
- G02B—OPTICAL ELEMENTS, SYSTEMS OR APPARATUS
- G02B6/00—Light guides; Structural details of arrangements comprising light guides and other optical elements, e.g. couplings
- G02B6/24—Coupling light guides
- G02B6/36—Mechanical coupling means
- G02B6/38—Mechanical coupling means having fibre to fibre mating means
- G02B6/3807—Dismountable connectors, i.e. comprising plugs
- G02B6/3873—Connectors using guide surfaces for aligning ferrule ends, e.g. tubes, sleeves, V-grooves, rods, pins, balls
- G02B6/3874—Connectors using guide surfaces for aligning ferrule ends, e.g. tubes, sleeves, V-grooves, rods, pins, balls using tubes, sleeves to align ferrules
- G02B6/3877—Split sleeves
-
- G—PHYSICS
- G02—OPTICS
- G02B—OPTICAL ELEMENTS, SYSTEMS OR APPARATUS
- G02B6/00—Light guides; Structural details of arrangements comprising light guides and other optical elements, e.g. couplings
- G02B6/24—Coupling light guides
- G02B6/36—Mechanical coupling means
- G02B6/38—Mechanical coupling means having fibre to fibre mating means
- G02B6/3807—Dismountable connectors, i.e. comprising plugs
- G02B6/3873—Connectors using guide surfaces for aligning ferrule ends, e.g. tubes, sleeves, V-grooves, rods, pins, balls
- G02B6/3874—Connectors using guide surfaces for aligning ferrule ends, e.g. tubes, sleeves, V-grooves, rods, pins, balls using tubes, sleeves to align ferrules
- G02B6/3878—Connectors using guide surfaces for aligning ferrule ends, e.g. tubes, sleeves, V-grooves, rods, pins, balls using tubes, sleeves to align ferrules comprising a plurality of ferrules, branching and break-out means
- G02B6/3879—Linking of individual connector plugs to an overconnector, e.g. using clamps, clips, common housings comprising several individual connector plugs
-
- G—PHYSICS
- G02—OPTICS
- G02B—OPTICAL ELEMENTS, SYSTEMS OR APPARATUS
- G02B6/00—Light guides; Structural details of arrangements comprising light guides and other optical elements, e.g. couplings
- G02B6/24—Coupling light guides
- G02B6/36—Mechanical coupling means
- G02B6/38—Mechanical coupling means having fibre to fibre mating means
- G02B6/3807—Dismountable connectors, i.e. comprising plugs
- G02B6/3897—Connectors fixed to housings, casing, frames or circuit boards
-
- G—PHYSICS
- G02—OPTICS
- G02B—OPTICAL ELEMENTS, SYSTEMS OR APPARATUS
- G02B6/00—Light guides; Structural details of arrangements comprising light guides and other optical elements, e.g. couplings
- G02B6/24—Coupling light guides
- G02B6/36—Mechanical coupling means
- G02B6/38—Mechanical coupling means having fibre to fibre mating means
- G02B6/3807—Dismountable connectors, i.e. comprising plugs
- G02B6/3898—Tools, e.g. handheld; Tuning wrenches; Jigs used with connectors, e.g. for extracting, removing or inserting in a panel, for engaging or coupling connectors, for assembling or disassembling components within the connector, for applying clips to hold two connectors together or for crimping
-
- G—PHYSICS
- G02—OPTICS
- G02B—OPTICAL ELEMENTS, SYSTEMS OR APPARATUS
- G02B6/00—Light guides; Structural details of arrangements comprising light guides and other optical elements, e.g. couplings
- G02B6/24—Coupling light guides
- G02B6/36—Mechanical coupling means
- G02B6/38—Mechanical coupling means having fibre to fibre mating means
- G02B6/3807—Dismountable connectors, i.e. comprising plugs
- G02B6/381—Dismountable connectors, i.e. comprising plugs of the ferrule type, e.g. fibre ends embedded in ferrules, connecting a pair of fibres
- G02B6/3818—Dismountable connectors, i.e. comprising plugs of the ferrule type, e.g. fibre ends embedded in ferrules, connecting a pair of fibres of a low-reflection-loss type
- G02B6/3821—Dismountable connectors, i.e. comprising plugs of the ferrule type, e.g. fibre ends embedded in ferrules, connecting a pair of fibres of a low-reflection-loss type with axial spring biasing or loading means
-
- G—PHYSICS
- G02—OPTICS
- G02B—OPTICAL ELEMENTS, SYSTEMS OR APPARATUS
- G02B6/00—Light guides; Structural details of arrangements comprising light guides and other optical elements, e.g. couplings
- G02B6/24—Coupling light guides
- G02B6/36—Mechanical coupling means
- G02B6/38—Mechanical coupling means having fibre to fibre mating means
- G02B6/3807—Dismountable connectors, i.e. comprising plugs
- G02B6/389—Dismountable connectors, i.e. comprising plugs characterised by the method of fastening connecting plugs and sockets, e.g. screw- or nut-lock, snap-in, bayonet type
- G02B6/3893—Push-pull type, e.g. snap-in, push-on
Landscapes
- Physics & Mathematics (AREA)
- General Physics & Mathematics (AREA)
- Optics & Photonics (AREA)
- Mechanical Coupling Of Light Guides (AREA)
Description
【発明の属する技術分野】
本発明は、光ファイバの先端を保持し、光ファイバ同士を光接続させる光コネクタプラグ及び光コネクタに関する。
【0002】
【従来の技術】
従来、光通信等に用いられる光ファイバ同士の光接続は、光ファイバの先端を保持した光コネクタプラグと、光コネクタプラグ同士を固定して光ファイバの光接続を行う光コネクタアダプタとを有する光コネクタを用いた方法や、光ファイバの先端面同士を溶着させる方法により行われていた。
【0003】
溶着による光ファイバ同士の光接続では、光ファイバの光接続の着脱が行えないという問題や、溶着工程が煩雑であるという問題から使用に制限があるという問題がある。
【0004】
また、光ファイバを保持する外径がφ2.5mmのフェルール用筒状体を用いて光接続を行うSC型、FC型等の光コネクタでは、小型化することができず、実装基板に実装する際に広い実装面積が必要となる。
【0005】
このため光ファイバを保持する外径がφ1.25mmのフェルール用筒状体を用いた比較的小型化されたMU型光コネクタが提案されている(例えば、非特許文献1参照)。
【0006】
このMU型光コネクタでは、光コネクタプラグと光コネクタアダプタとが外れ難く、光接続の信頼性を向上することができるものの、このようなMU型光コネクタは、一般に、光伝送装置外側のパネル面で光接続を行うように、光ファイバの外周に被覆を施した光ファイバ心線の外周に、更に抗張力体及び被覆を施した光ファイバコードを用いた光接続を行うように設計されているため、部品点数が多く小型化が困難である。このため、比較的小型のMU型光コネクタを実装基板に実装するには広い実装面積が必要で、実装基板自体の小型化を図ることができないという問題がある。
【0007】
更に、従来の光コネクタを実装基板に実装すると、光コネクタアダプタが実装基板に直接固定されるため、光ファイバを保持する光コネクタプラグを着脱するためのスペースが実装基板上に必要となり、実装基板が大型化してしまうと共に作業効率が悪いという問題がある。
【0008】
また、従来の光コネクタの光コネクタプラグ及び光コネクタアダプタのそれぞれは、部品点数が多く組み立てが困難であるという問題がある。
【0009】
このような問題を解決するため、例えば、光ファイバを保持するフェルールを、実装基板に固定された板ばねによって軸方向先端面側に付勢保持してフェルールの先端面同士を所定の圧力で当接させた光コネクタが提案されている(例えば、特許文献1及び2参照)。
【0010】
【特許文献1】
特開平2−259708号公報(第1−2頁、第1−3図)
【0011】
【特許文献2】
実開平6−73705号公報(第5頁、第1図)
【0012】
【非特許文献1】
日本工業規格(JIS) C5983 F14形光コネクタ
【0013】
【発明が解決しようとする課題】
しかしながら、上述した板ばねを使用した光コネクタでは、板ばねの耐久性能などから、着脱を繰り返すと板ばねの耐久性が劣化し、光ファイバの対向接続の悪化、すなわち、挿入損失の悪化が生じてしまうため、着脱回数が制限されてしまうという問題がある。
【0014】
また、上述した板ばねを用いた光コネクタでは、光ファイバの先端を保持したフェルールの軸を中心とした回転方向の移動を規制する手段がなく、光ファイバのコアの偏心方向を規定することができず、偏心ずれが生じて挿入損失が増大し易いという問題がある。
【0015】
更に、上述した板ばねを用いた光コネクタでは、振動及び衝撃によってフェルールが板ばねから外れ易く、信頼性が低いという問題がある。
【0016】
また、上述した板ばねを用いた光コネクタでは、光接続用スリーブに直接フェルール用筒状体の先端部を挿入するため、挿入角度が大きい場合や着脱を繰り返すことによって、フェルール用筒状体の研磨を施した先端面に傷が付き易く、光接続時の挿入損失が増大し易く信頼性が低いという問題がある。
【0017】
本発明はこのような事情に鑑み、光ファイバの挿入損失を低減して、信頼性を向上すると共に小型化した光コネクタを提供することを課題とする。
【0018】
【課題を解決するための手段】
上記課題を解決する本発明の第1の態様は、光ファイバを保持するフェルール用筒状体及び該フェルール用筒状体の後端部に設けられたつば部材を有するフェルールと、該フェルールの前記つば部材の後端部側に設けられる付勢ばねと、前記フェルール及び前記付勢ばねとを内部に直接保持すると共に、当該フェルールの先端部が挿入されて光接続される光コネクタアダプタに直接係合するプラグハウジングとを具備し、前記プラグハウジングの端部にはフェルールの後端部を係合する係合孔が形成されており、前記プラグハウジングの側部には前記光ファイバを側面側から係合孔へ半径方向に挿通可能なスリットが外周の一部に軸方向に亘って形成されており、且つ前記プラグハウジングの端部には係合孔の周囲に周方向に長い開口部が設けてあることを特徴とする光コネクタプラグにある。
本発明の第2の態様は、第1の態様において、前記フェルールの後端部は、外周面が後側ほど径を小さくしたテーパ面としてあることを特徴とする光コネクタプラグにある。
【0019】
本発明の第3の態様は、第1の態様において、前記つば部材の後端部には、前記プラグハウジングに係合する係合部が設けられており、前記プラグハウジングには、前記つば部材の前記係合部と係合することにより、前記フェルールを前記付勢ばねによって軸方向先端側に付勢された状態で保持する保持孔と、前記つば部材に係合して前記フェルールの軸を中心とした回転方向の移動を規制する第1の回転止め部とを有することを特徴とする光コネクタプラグにある。
【0020】
本発明の第4の態様は、第3の態様において、前記プラグハウジングの前記第1の回転止め部は、前記フェルールが前記付勢ばねに抗しつつ押し込まれた状態で当該プラグハウジングと前記フェルールとの相対位置が変更可能に設けられていることを特徴とする光コネクタプラグにある。
【0021】
【0022】
【0023】
【0024】
【0025】
本発明の第5の態様は、第1〜4の何れかの態様の光コネクタプラグを具備することを特徴とする光コネクタにある。
【0026】
【0027】
【0028】
【0029】
【0030】
【0031】
【0032】
【0033】
【0034】
【0035】
【0036】
【0037】
【0038】
【0039】
【0040】
係る本発明では、光コネクタプラグと光コネクタアダプタからなる光コネクタの部品点数を減少させて製造コストを低減すると共に、組立工程を簡略化することができる。また、光コネクタプラグと光コネクタアダプタの着脱回数が制限されることなく、光ファイバの先端面に傷が付くことがなく、信頼性を向上させることができる。更に、光コネクタに光コネクタアダプタと着脱自在なマウント部材を設けることによって、実装基板上での光コネクタアダプタと光コネクタプラグの着脱を行う必要がなく、実装基板を小型化することができる。
係合孔の周囲に円周方向に長い開口部が設けられているので、係合孔の周囲が弾性変形し易く、係合孔にフェルールの後端部を挿入し易い。
【0041】
【発明の実施の形態】
以下に本発明を実施形態に基づいて詳細に説明する。
【0042】
(実施形態1)
図1は、実施形態1に係る光コネクタの実装工程を示す斜視図であり、図2(a)は光コネクタの接続工程を示す断面図、図2(b)は光コネクタの接続状態を示す断面図、図2(c)は(b)のA−A′断面図であり、図3(a)及び(b)は光コネクタプラグの平面図、図3(c)は(a)のB−B′断面図であり、図4は、光コネクタプラグの組立工程を示す平面図である。
【0043】
図示するように、光コネクタ10は、光コネクタプラグ20と光コネクタアダプタ50とマウント部材70とからなる。
【0044】
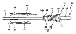
光コネクタプラグ20は、光ファイバ1を保持するフェルール21と、フェルール21を軸方向に所定範囲で移動自在に直接保持すると共に回転方向の移動を規制した第1の回転止め部22の設けられたプラグハウジング23と、フェルール21を軸方向先端面側に付勢する付勢ばね24とで構成されている。
【0045】
フェルール21は、フェルール用筒状体25と、このフェルール用筒状体25の後端部に設けられたつば部材26とを有する。
【0046】
フェルール用筒状体25は、円筒形状を有し、その内部には軸方向に貫通して光ファイバ1を挿通可能な光ファイバ挿入孔27を有している。この光ファイバ挿入孔27の後端部には、内径が開口側に向かって漸大するテーパ部27aが設けられている。このようなテーパ部27aを設けることによって、光ファイバ挿入孔27に光ファイバ1を挿入した際に、光ファイバ1の先端がフェルール用筒状体25の端面に接触することで欠けたり、折れたりするのを防止することができる。
【0047】
尚、このようなフェルール用筒状体25の材質としては、例えば、ジルコニア等のセラミックス材料、プラスチック材料及び結晶化ガラス、ホウケイ酸ガラス、石英等のガラス材料、ステンレス、ニッケル等の金属材料等を挙げることができる。尚、フェルール用筒状体25の外径は、本実施形態では、1.25mmとした。
【0048】
つば部材26は、フェルール用筒状体25の光ファイバ挿入孔27に連通して、光ファイバ1の外周に被覆を有する光ファイバ心線2が挿通可能な光ファイバ心線挿入孔28を有する。この光ファイバ心線挿入孔28の先端部側は、フェルール用筒状体25の外径と略同等の大きさの内径で形成された嵌合孔28aとなっており、フェルール用筒状体25の後端部に圧入又は接着により固着するようになっている。
【0049】
また、つば部材26の先端部側の外周には、円周方向に亘って矩形状に突起したつば部29を有する。このつば部29は、詳しくは後述するプラグハウジング23の第1の回転止め部22と係合してフェルール21の軸を中心とした回転方向の動きを規制する。
【0050】
更に、つば部材26の後方には、付勢ばね24に挿入可能な挿入部30が延設されている。この挿入部30は、後端部側に比較的外径が小径の小径部31と、つば部29側に小径部31に比べて外径が大径の大径部32とで構成されている。
【0051】
挿入部30の大径部32の外周には、円周方向に亘って突出して付勢ばね24に係合するばね用突起33が設けられている。
【0052】
また、挿入部30の小径部31の外周には、円周方向に亘って大径部32と外径が略同等となるように突出した係合突起34が設けられており、係合突起34の後端部側の面は傾斜したテーパ面34aとなっている。この係合突起34に設けられたテーパ面34aは、つば部材26の挿入部30を後述するプラグハウジング23の係合孔36に挿入する際に係合孔36を押し広げながら挿通させるためのものである。
【0053】
尚、このようなつば部材26を、本実施形態では、ステンレス等の金属で形成した。尚、つば部材26の材料及び製造方法は、特にこれに限定されず、例えば、フェルール用筒状体25の後端部にプラスチックで一体的に成形するようにしてもよい。
【0054】
また、つば部材26の挿入部30の外周には、圧縮ばね等の付勢ばね24が設けられている。この付勢ばね24は、挿入部30の大径部32に設けられたばね用突起33に係合して付勢ばね24がフェルール21から外れるのを一時的に防止している。
【0055】
一方、プラグハウジング23は、例えば、プラスチック等からなり、軸方向に貫通してフェルール21及び付勢ばね24を保持するフェルール保持孔35が設けられている。
【0056】
このフェルール保持孔35の後端部には、つば部材26の小径部31よりも大径で、且つ係合突起34よりも小径の内径を有する係合孔36が設けられている。
【0057】
この係合孔36につば部材26の挿入部30の小径部31を挿通させることで、フェルール21がプラグハウジング23内に軸方向に所定量移動自在に保持されている。
【0058】
すなわち、つば部材26の挿入部30を係合孔36に挿通すると、係合孔36よりも大径の外径を有する係合突起34が係合孔36を押し広げて弾性変形させ、係合突起34が係合孔36を挿通すると、係合孔36の内径が元に戻り、係合突起34がプラグハウジング23の係合孔34が開口する後端面に当接することで、フェルール21はプラグハウジング23に対して先端面側の移動が規制された状態で保持される。
【0059】
また、フェルール21のつば部材26の挿入部30の外周面に保持された付勢ばね24は、一端がつば部29に当接すると共に他端が係合孔36の開口する内面に当接することで、フェルール21をプラグハウジング23に対して軸方向先端側に付勢している。
【0060】
そして、付勢ばね24によって軸方向先端側に付勢されたフェルール21は、前述のように、つば部材26に設けられた係合突起34がプラグハウジング23の係合孔36が開口する後端面に当接することで、軸方向先端側への移動が規制されて先端面側に付勢された状態で保持されている。
【0061】
尚、プラグハウジング23の係合孔36は、つば部材26の挿入部30を挿通する際に係合突起34に押し広げられるため、プラグハウジング23の係合孔36の設けられた後端部には、係合孔36の周囲に円周方向に亘って断続的な2つの開口部37が設けられている。この開口部37によって係合孔36の周囲が弾性変形し易く、係合孔36につば部材26の挿入部30を挿入し易くなっている。
【0062】
また、プラグハウジング23の外周面には、軸方向に亘ってフェルール保持孔35と外部とを連通する光ファイバ用スリット38が設けられている。この光ファイバ用スリット38は、フェルール21が保持した光ファイバ1及び光ファイバ心線2の直径よりも大きな幅で、且つつば部材26の小径部31の外径よりも若干小さな幅で形成されている。
【0063】
この光ファイバ用スリット38は、光コネクタプラグ20を組み立てる際に、光ファイバ1及び光ファイバ心線2を保持したフェルール21に対し、予め光ファイバ1及び光ファイバ心線2にプラグハウジング23を挿通させておかなくても、後でプラグハウジング23を取り付けられるようにして、組み立てを簡略化するものである。
【0064】
このように、プラグハウジング23に光ファイバ用スリット38を設けることによって、光ファイバ1に予めプラグハウジング23を挿通させておく必要がないため、光ファイバ1が折れたり、傷が付くのを防止して、歩留まりを向上させることができる。
【0065】
また、プラグハウジング23には、フェルール21を挟むように一対設けられ、且つ先端部の互いに相対向する内面に係止爪39が設けられた爪部40が設けられている。
【0066】
この爪部40は、詳しくは後述する光コネクタアダプタ50のアダプタハウジング52と係合して光コネクタプラグ20と光コネクタアダプタ50とを係合させるものである。
【0067】
また、各爪部40のつば部29に対向する領域には、つば部29の外周面の相対する一対の面のそれぞれに当接するように突出して設けられた第1の回転止め部22がそれぞれ設けられている。
【0068】
この爪部40のそれぞれに設けられた第1の回転止め部22がつば部29の外周面の相対する一対の面に当接する、すなわち、一対の爪部40に設けられた第1の回転止め部22によってつば部29を挟持することで、フェルール21は、プラグハウジング23に対して軸を中心とした回転方向の動きが規制されている。
【0069】
また、一対の爪部40は、第1の回転止め部22よりも後端部側の互いに相対向する内面が、つば部29が回転した際につば部29に当接しないような間隔で形成されている。
【0070】
すなわち、光コネクタプラグ20のフェルール21を付勢ばね24の付勢力に抗して軸方向後端部側に押圧すると、第1の回転止め部22とつば部29との係合が外れ、フェルール21をプラグハウジング23に対して回転させることができる。これにより、フェルール21とプラグハウジング23とを組み立てた後でも、光ファイバ1の偏心方向によってフェルール21の回転方向の位置決めを行うことができ、詳しくは後述する光コネクタアダプタ50によって光コネクタプラグ20同士を対向接続させた際に互いの偏心方向を合わせて挿入損失を低減させることができる。
【0071】
尚、本実施形態では、つば部29の先端面に所定深さの溝部41を形成し、特に図示しないが、溝部41に係合する治具により、フェルール21を後端部側に押圧すると共に押圧した状態で回転させるようにすればよい。
【0072】
また、図1に示すように、一方の爪部40の縁部の一方には、後述する光コネクタアダプタ50の係合規制凹部63aに係合する係合規制部42が設けられている。
【0073】
この係合規制部42は、一方の爪部40の縁部の一方にのみ設けられることによって、光コネクタプラグ20が光コネクタアダプタ50に軸を中心とした回転方向の係合位置を規制することができる。すなわち、光コネクタプラグ20を光コネクタアダプタ50に係合させる際に、常に同一の回転位置で係合させることができる。これにより、光コネクタプラグ20同士を対向接続させた際に、光ファイバ1の偏心方向が異なる方向となることがなく、挿入損失が増大するのを防止することができる。
【0074】
このような光コネクタプラグ20の組み立て方法としては、まず、フェルール用筒状体25の後端部につば部材26を圧入により固定してフェルール21を形成する。次に、つば部材26の挿入部30を付勢ばね24に挿入することで、大径部32上に設けられたばね用突起33に付勢ばね24を係合し、挿入部30の外周面に付勢ばね24を仮固定する。
【0075】
次に、付勢ばね24の仮固定されたフェルール21に、例えば、熱硬化型の接着剤を介して光ファイバ1及び光ファイバ心線2を接着する。このように光ファイバ1及び光ファイバ心線2が保持されたフェルール21の先端面を、光ファイバ1の先端面と共に研磨装置等により研磨する。
【0076】
その後、図4に示すように、フェルール21に保持された光ファイバ心線2にプラグハウジング23の光ファイバ用スリット38を挿通し、つば部材26の挿入部30をプラグハウジング23の係合孔36に挿通する。このとき挿入部30は、係合突起34によって係合孔36を押し広げながら挿入され、係合突起34が係合孔36に先端側への移動が規制された状態で係合される。
【0077】
これにより、プラグハウジング23のフェルール保持孔35にフェルール21を軸方向先端側に付勢すると共に爪部40の第1の回転止め部22によって軸を中心とした回転方向の動きを規制した状態で、軸方向に所定量移動自在に保持させて、本実施形態の光コネクタプラグ20とすることができる。
【0078】
このように光コネクタプラグ20をフェルール21、付勢ばね24及びプラグハウジング23のみで構成するようにしたため、部品点数を減少させて製造コストを低減させることができる。また、フェルール21の後端部に付勢ばね24を仮固定することができると共に、光ファイバ1をフェルール21に固定した後、プラグハウジング23をフェルール21に固定することができるため、光コネクタプラグ20の組み立て手順を簡略化させることができる。
【0079】
尚、このような構成の光コネクタプラグ20と、従来のMU型光コネクタプラグ(JIS C5983 F14形光コネクタ)との寸法及び部品点数の比較を下記表1に示す。
【0080】
【表1】
【0081】
表1に示すように、実施形態1の光コネクタプラグ20は、従来のMU型光コネクタプラグに比べて部品点数が少なく、全長、幅及び高さ共に小型化を図ることができる。これにより、光コネクタプラグ20を用いた光コネクタ10の小型化を図ることができると共に、光コネクタ10を実装基板に実装した際に、高密度化を図ることができる。
【0082】
尚、このような光コネクタプラグ20を用いた光コネクタ10は、実装基板100上で光ファイバ1の外周に被覆を施した光ファイバ心線2同士を光接続するため、光ファイバ心線2の外周に抗張力体及び被覆を施した光ファイバケーブルを用いる必要がなく、これによっても小型化することができる。
【0083】
次に光コネクタ10の光コネクタアダプタ50について詳細に説明する。
【0084】
図5(a)は光コネクタアダプタの底面側からの平面図、図5(b)は(a)のC−C′断面図、図5(c)は(a)のD−D′断面図であり、図6は、光コネクタアダプタの端面側及び上面側からの平面図である。
【0085】
図5に示すように、光コネクタアダプタ50は、フェルール用筒状体25の先端部が挿入される光接続用スリーブ51と、光接続用スリーブ51が内蔵されるアダプタハウジング52とで構成されている。
【0086】
光接続用スリーブ51は、円筒形状を有し、その軸方向に貫通して設けられたフェルール挿入孔53と、長手方向一端側から他端側に亘って設けられた一条のスリット53aとを有する。また、フェルール挿入孔53は、フェルール用筒状体25の外径よりも若干小さな内径で形成されている。
【0087】
このような光接続用スリーブ51のフェルール挿入孔53には、その両側の開口からフェルール用筒状体25の先端部をそれぞれ挿入することによって光接続させるようになっている。このとき、光接続用スリーブ51は、フェルール用筒状体25の先端部が挿入されることでスリット53aが拡がる方向に弾性変形するため、フェルール用筒状体25の先端部をフェルール挿入孔53の内面に密着保持して対向接続させるようになっている。
【0088】
尚、このような光接続用スリーブ51としては、例えば、ジルコニア等のセラミック材料、銅合金等の金属材料等を挙げることができる。
【0089】
また、アダプタハウジング52は、例えば、プラスチック等の樹脂を一体成形することにより形成されており、軸方向に貫通して光接続用スリーブ51を保持する貫通孔54が設けられている。
【0090】
この貫通孔54の両端側からフェルール用筒状体25が挿入されて貫通孔54内に保持された光接続用スリーブ51に挿入されるようになっている。
【0091】
すなわち、貫通孔54は、略中心側に光接続用スリーブ51の外径よりも若干大径を有するスリーブ保持部55と、スリーブ保持部55の両端側にフェルール用筒状体25の外径と略同等の内径を有する連通孔56とが設けられ、これらの内径差によって段差部57が設けられている。
【0092】
この段差部57に光接続用スリーブ51の両端面が当接することで、光接続用スリーブ51は、スリーブ保持部55に軸方向の移動が規制された状態で保持されている。
【0093】
また、アダプタハウジング52には、スリーブ保持部55と同等の大きさで形成されてスリーブ保持部55と外部とを連通するスリーブ挿入孔58が設けられており、このスリーブ挿入孔58から光接続用スリーブ51がスリーブ保持部55内に挿入されるようになっている。
【0094】
更に、スリーブ挿入孔58の相対向する内側面には、スリーブ保持部55よりも幅狭となるように突出して設けられたスリーブ用突起59が互いに相対向するように2対設けられている。このスリーブ用突起59は、スリーブ挿入孔58の開口側に向かって突出量が小さくなるようにテーパ状に設けられており、スリーブ挿入孔58から挿入された光接続用スリーブ51は、2対のスリーブ用突起59を押し広げてスリーブ保持部55内に挿入され、挿入された光接続用スリーブ51の外周面にスリーブ用突起59が当接することで、光接続用スリーブ51はスリーブ保持部55内に半径方向の移動が規制された状態で保持されている。
【0095】
また、図1及び図2に示すように、アダプタハウジング52の両端部の外周には、相対向する面のそれぞれに光コネクタプラグ20の一対の爪部40と係合する係合凹部60が設けられている。
【0096】
この係合凹部60は、アダプタハウジング52の両端面から爪部40の長さ及び厚さと略同等に形成され、係合凹部60の底面には係合凹部60の開口面側に突出する係合凸部61が設けられている。この係合凸部61の爪部40が挿入される側の面には、テーパ面61aが形成され、係合凹部60に端面側から爪部40を挿入すると、係合凸部61のテーパ面61aに係止爪39が当接することによって爪部40が弾性変形して一対の爪部40の間が押し広げられ、係合凸部61を通過した係止爪39が係合凸部61に係合することで、光コネクタプラグ20と光コネクタアダプタ50とが係合するようになっている。
【0097】
また、アダプタハウジング52の両端面には、つば部材26のつば部29に係合してフェルール21の軸を中心とした回転方向の動きを規制する第2の回転止め部62が設けられている。
【0098】
この第2の回転止め部62は、貫通孔54の連通孔56と連通してつば部材26のつば部29が挿入される大きさを有する矩形状の連通孔として形成されており、第2の回転止め部62のつば部29が挿入される係合凹部60側には切り欠き部63が形成されている。すなわち、爪部40に設けられた第1の回転止め部22がつば部29の相対する外周面の一方に当接し、第2の回転止め部62がつば部29の相対する外周面の他方に当接することで、フェルール21の軸を中心とした回転方向の動きが規制されている。
【0099】
すなわち、光コネクタプラグ20と光コネクタアダプタ50とが爪部40及び係合凹部60によって係合することで、フェルール21の軸を中心とした回転方向の移動が規制されている。
【0100】
また、図1及び図6に示すように一方の切り欠き部63の縁部の一方には、光コネクタプラグ20の係合規制部42が挿入される係合規制凹部63aが設けられている。
【0101】
この係合規制凹部63aは、一方の切り欠き部63の縁部の一方に設けられることで、光コネクタプラグ20の軸を中心とした回転方向の係合位置を規制している。
【0102】
ここで、光コネクタプラグ20同士の光接続について説明する。
【0103】
図2(a)に示すように、光コネクタアダプタ50の一端側に一方の光コネクタプラグ20を挿入保持させる。
【0104】
詳しくは、光コネクタプラグ20の爪部40を光コネクタアダプタ50の係合凹部60に係合させる。このとき、光コネクタプラグ20には係合規制部42が一方の爪部40の縁部の一方にのみ設けられているため、この係合規制部42が光コネクタアダプタ50の係合規制凹部63aに挿入されるように係合する。
【0105】
これにより、光コネクタアダプタ50に対して光コネクタプラグ20を回転方向の係合位置を位置決めすることができる。
【0106】
また、係合された光コネクタアダプタ50と光コネクタプラグ20との間に保持されたフェルール21は、第1の回転止め部22と第2の回転止め部62とに軸を中心とした回転方向の移動が規制された状態で保持される。
【0107】
このフェルール21は、挿入部の係合突起34が係合孔36に当接することで、先端側の移動が規制された状態で、且つ後端部側への押圧による移動が可能なように付勢保持されている。
【0108】
次に、図2(b)に示すように、光コネクタアダプタ50の他端側に他方の光コネクタプラグ20を挿入保持させる。
【0109】
この光コネクタアダプタ50と光コネクタプラグ20との係合も、上述した一方の光コネクタプラグ20と光コネクタアダプタ50と同様に爪部40と係合凹部60とを係合させることで行う。
【0110】
このように他方の光コネクタプラグ20を光コネクタアダプタ50に係合させると、フェルール21同士が互いに先端面を当接させることで、付勢ばね24の付勢力に抗して後端部側に移動される。
【0111】
このように、付勢ばね24の付勢力によって先端部側に付勢されたフェルール21同士の先端面が所定の圧力で押圧された状態で当接され、光接続を行うことができる。
【0112】
このように、光コネクタプラグ20同士を光コネクタアダプタ50を介して光接続することで、光コネクタプラグ20と光コネクタアダプタ50とを何度でも着脱することができる。
【0113】
また、第2の回転止め部62によってフェルール21は回転方向の移動の規制が行われているため、フェルール21を光接続用スリーブ51に斜め方向に挿入されることがなく、フェルール21の先端面に傷が付き難い。これにより、光接続時の挿入損失を低減することができると共に信頼性を向上することができる。
【0114】
尚、光コネクタプラグ20と光コネクタアダプタ50との係合を外すには、特に図示しないが、光コネクタプラグ20の爪部40を治具により広げ、外すようにすればよい。
【0115】
また、アダプタハウジング52の一方面には、マウント部材70と係合するマウント係合部64が設けられている。
【0116】
マウント係合部64は、本実施形態では、アダプタハウジング52のスリーブ挿入孔58側の面に4箇所突出した突起として設けられており、このマウント係合部64の内面側には、係合溝64aが形成されている。
【0117】
更に、図6に示すように、アダプタハウジング52の他方面には、詳しくは後述するマウント部材70のアダプタハウジング52との着脱に用いられるアダプタ用突起76及びアダプタ係合部77と同等の形状の積層用突起65と、積層用係合部66とが設けられている。
【0118】
この積層用突起65と積層用係合部66とは、詳しくは後述するが、他の光コネクタアダプタのアダプタハウジングと着脱自在に係合させて、複数の光コネクタ10を積層させるためものである。
【0119】
このように光コネクタアダプタ50を、光接続用スリーブ51と、一体成形したアダプタハウジング52とで構成するようにしたため、部品点数を減少させてコストを低減することができる。
【0120】
このように構成される光コネクタアダプタ50と、従来のMU型光コネクタアダプタ(JIS C5983 F14形光コネクタ)との寸法及び部品点数の比較を下記表2に示す。
【0121】
【表2】
【0122】
表2に示すように、本実施形態の光コネクタアダプタ50は、従来のMU型光コネクタアダプタに比べて部品点数が少なく、全長、幅及び高さ共に小型化を図ることができる。これにより、光コネクタアダプタ50を用いた光コネクタ10の小型化を図ることができると共に、光コネクタ10を実装基板に実装した際に、高密度化を図ることができる。
【0123】
次に、マウント部材70について詳細に説明する。
【0124】
図1及び図2に示すように、マウント部材70は、平板状の部材の両端部を屈曲することで形成されたコ字状を有し、屈曲した両端部の固定部71と、2つの固定部71の間の領域の台座部72とで構成されている。
【0125】
固定部71は、実装基板100に貫通して設けられた固定孔101に挿入保持され、その先端部は、台座部72側よりも幅広で、且つ固定孔101の内径よりも幅広に形成されることで段差部73がされている。
【0126】
また、固定部71の先端面は固定孔101に挿入し易いようにテーパ面74で形成されており、幅方向略中央部には、先端から長手方向に所定量切り欠いた切り欠き部75が設けられている。
【0127】
このような固定部71を実装基板100の固定孔101に挿入すると、固定部71の縁部が固定部71のテーパ面74に当接し、切り欠き部75の幅を狭めるように固定部71が弾性変形することで固定孔101に挿通される。
【0128】
そして、挿通された固定部71は、段差部73が固定孔101の開口縁部に当接することで、固定孔101からマウント部材70が抜けるのを防止して保持される。
【0129】
また、マウント部材70の台座部72には、略中央部に固定部71とは反対側に突出してアダプタハウジング52のスリーブ挿入孔58内に突出する一対のアダプタ用突起76と、台座部72の幅方向の縁部に、アダプタハウジング52の4つのマウント係合部64の係合溝64aのそれぞれに係合する4つのアダプタ係合部77とが設けられている。
【0130】
アダプタ用突起76は、アダプタハウジング52のスリーブ挿入孔58の長手方向両端側に突出するように設けられ、このアダプタ用突起76がスリーブ挿入孔58の長手方向両端に当接することで、アダプタハウジング52はマウント部材70に対して光ファイバ1の軸方向の移動が規制されるようになっている。
【0131】
また、アダプタ係合部77は、台座部72の幅方向に傾斜して突出するように形成され、このアダプタ係合部77がマウント係合部64の係合溝64aに係合することで、アダプタハウジング52のマウント部材70に対する幅方向及び着脱方向の移動を規制して保持される。
【0132】
すなわち、アダプタハウジング52のスリーブ挿入孔58が設けられた面をマウント部材70の台座部72に当接させると、アダプタハウジング52のマウント係合部64にマウント部材70のアダプタ係合部77が係合して、幅方向及び着脱方向の移動が規制され、台座部72に設けられた一対のアダプタ用突起76がアダプタハウジン52のスリーブ挿入孔58内に突出することで、長手方向の移動が規制されて保持されるようになっている。
【0133】
尚、このようなマウント部材70と光コネクタアダプタ50とは、マウント係合部64の係合溝64aの内面が傾斜した面で形成されていると共に、アダプタ係合部77が傾斜して形成されているため、所定力で押し込む又は引き抜くことで、両者の着脱が自在になっている。
【0134】
このようなマウント部材70は、例えば、金属プレス加工により形成することができる。
【0135】
このような、光コネクタプラグ、光コネクタアダプタ及びマウント部材で構成される光コネクタの組み立て方法としては、まず、実装基板100にマウント部材70を固定する。次に、光コネクタアダプタ50の両側に光コネクタプラグ20を固定し、光コネクタプラグ20同士を光接続させる。その後、光コネクタプラグ20が固定された光コネクタアダプタ50をマウント部材70に固定することで、光ファイバ1同士を光接続させた光コネクタ10を実装基板100に実装することができる。
【0136】
また、このように実装基板100に実装された光コネクタの光コネクタプラグを外すには、光コネクタプラグ20が固定された光コネクタアダプタ50をマウント部材70から外した後、光コネクタアダプタ50から光コネクタプラグ20を外すようにすればよい。
【0137】
このようにマウント部材を光コネクタアダプタ50に着脱自在とすることで、マウント部材70を実装基板100に固定した後、光コネクタアダプタ50を着脱することができるため、光コネクタアダプタ50と光コネクタプラグ20との係合を実装基板100上で行う必要がなく、実装基板100に光コネクタアダプタ50と光コネクタプラグ20との着脱スペースを設ける必要がない。これにより実装基板100を小型化することができると共に光コネクタ10の実装を容易に行うことができる。
【0138】
ここで、図7は、光コネクタの積層での実装工程を示す斜視図であり、図8は、光コネクタの積層での実装状態を示す斜視図であり、図9は、光コネクタの積層での実装状態を示す平面図及びそのE−E′断面図である。
【0139】
本実施形態の光コネクタアダプタ50のアダプタハウジング52のマウント係合部64とは反対側の面には、積層用突起65と積層用係合部66とが設けられている。
【0140】
積層用突起65は、図5及び図6に示すように、マウント部材70のアダプタ用突起76と同等の形状を有し、他の光コネクタアダプタ50のスリーブ挿入孔58内に突出して光コネクタアダプタ50に対して他の光コネクタアダプタ50が長手方向に移動するのを防止する。
【0141】
また、積層用係合部66は、他の光コネクタアダプタ50のマウント係合部64に係合するように外周縁部に沿って溝を形成することで突出して形成されている。この積層用係合部56が他の光コネクタアダプタ50のマウント係合部64と係合することで、他の光コネクタアダプタ50は、光コネクタアダプタ50に着脱自在に保持されるようになっている。
【0142】
このように光コネクタアダプタ50のマウント係合部64とは反対側の面に、他の光コネクタアダプタ50と係合する積層用突起65と積層用係合部66とを設けることで、光コネクタアダプタ50を複数積層することができ、実装基板100上で複数の光コネクタ10を面方向に並設する必要がなく、実装基板100の実装面積を狭めて小型化を図ることができる。
【0143】
ここで、実施形態1の光コネクタ10と従来のMU型光コネクタプラグ(JIS C5983 F14形光コネクタ)との全長及び実装密度の比較を下記表3に示す。尚、この下記表3で示す実装密度は、光コネクタアダプタの両側に光コネクタプラグ20を固定したものであり、従来のMU型光コネクタを基準とした相対値である。
【0144】
【表3】
【0145】
表3に示すように、本実施形態の光コネクタ10は、従来のMU型光コネクタプラグに比べて、幅方向で2倍以上の実装密度、高さ方向で2倍の実装密度を実現できる。また、従来のMU型光コネクタに比べて本実施形態の光コネクタ10の全長を1/3とすることができるため、長手方向の実装密度も3倍とすることができる。尚、この長手方向では、光コネクタプラグ20と光コネクタアダプタ50との係合及び取り外しを狭い面積で行えるため、実質の実装密度としては3倍以上となる。
【0146】
(実施形態2)
図10は、実施形態2に係る光コネクタの積層での実装工程を示す斜視図であり、図11は、実施形態2に係る光コネクタの積層での実装状態を示す斜視図である。尚、上述した実施形態1と同様の部材には同一の符号を付して重複する説明は省略する。
【0147】
図10及び図11に示すように、光コネクタ10Aは、光コネクタプラグ20と、光コネクタアダプタ50Aと、マウント部材70Aとを具備する。
【0148】
マウント部材70Aは、屈曲部71と台座部72Aとからなり、台座部72Aの幅方向両側の縁部には、アダプタ係合部77Aが設けられている。
【0149】
このアダプタ係合部77Aは、屈曲部71とは反対側に突出するように屈曲して形成されると共に、その先端部が台座部72Aの面方向と同一方向となるように幅方向両側に向かって屈曲して形成されている。
【0150】
このようなマウント部材70Aに係合する光コネクタアダプタ50Aのアダプタハウジング52Aには、スリーブ挿入孔58側に突出したマウント係合部64Aが設けられている。
【0151】
このマウント係合部64Aは、マウント部材70A側に突出して設けられて、先端部が内側に突出した形状で形成されている。
【0152】
このような光コネクタアダプタ50Aとマウント部材70Aとは、マウント部材70Aの台座部72Aにアダプタハウジング52Aのスリーブ挿入孔58側の面を当接させた状態でスライド移動させることで、マウント係合部64Aとアダプタ係合部77Aとを係合させることができる。
【0153】
また、アダプタハウジング52Aのマウント係合部64Aとは反対側の面には、他の光コネクタアダプタ50Aのマウント係合部64Aと係合する溝状の積層係合部66Aが設けられている。
【0154】
この積層係合部66Aによって複数の光コネクタアダプタ50Aを着脱自在に積層して光コネクタ10Aを実装基板100上に積層実装することができる。
【0155】
このように、本実施形態では、マウント部材70Aに対して光コネクタアダプタ50Aをスライド移動させて係合させることで、両者を着脱自在としたが、これにより、上述した実施形態1と同様に光コネクタプラグ20Aと光コネクタアダプタ50Aとの着脱を実施し易くすると共に実装基板100を小型化することができる。
【0156】
(実施形態3)
図12は、実施形態3に係る光コネクタアダプタの組立工程を示す斜視図であり、図13は、光コネクタアダプタの平面図及びそのF−F′断面図である。尚、上述した実施形態1及び2と同様の部材には同一の符号を付して重複する説明は省略する。
【0157】
図12及び13に示すように、本実施形態の光コネクタアダプタ50Bは、フェルール用筒状体の先端部が挿入される光接続用スリーブ51と、光接続用スリーブ51が内蔵されるアダプタハウジング52Bとを具備し、アダプタハウジング52Bは、光接続用スリーブ51が挿入されると共に一方面に開口するスリーブ挿入孔58Bが設けられたハウジング本体110と、ハウジング本体110のスリーブ挿入孔58Bに嵌合する蓋部材120とで構成されている。
【0158】
ハウジング本体110は、上述した実施形態1と同様に、例えば、プラスチック等の樹脂を一体成形することにより形成されており、軸方向に貫通した貫通孔54が設けられている。
【0159】
この貫通孔54は、略中心側に光接続用スリーブ51が保持されるスリーブ保持部(図示なし)と、スリーブ保持部の両端側にフェルール用筒状体が挿入される連通孔56とを有し、スリーブ保持部と連通孔56との内径差によって段差部(図示なし)が設けられている。
【0160】
そして、ハウジング本体110には、スリーブ保持孔と同等の大きさで形成されてスリーブ保持孔と外部とを連通するスリーブ挿入孔58Bが一方面に開口するように設けられている。このようなスリーブ挿入孔58Bの開口側の一部は、蓋部材120が嵌合されると共に嵌合された蓋部材120がスリーブ保持部まで挿入されないようにスリーブ保持部よりも大きな嵌合部111となっており、この嵌合部111によって蓋部材120が当接して蓋部材120のスリーブ保持部への移動を規制する蓋用段差部112が設けられている。
【0161】
また、ハウジング本体110の嵌合部111の内面には、相対向する側面に蓋部材120の固定用突起122と係合する一対の固定用凹部113が設けられている。
【0162】
更に、ハウジング本体110の両側面には、詳しくは後述する蓋部材120が嵌合部111に嵌合した際に、蓋部材120のマウント係合部64Bが挿通されてガイドされる挿通用凹部114が設けられている。
【0163】
また、ハウジング本体110には、上述した実施形態1の光コネクタプラグ20が係合した際に、光コネクタプラグ20の爪部40の係止爪39に対応する領域に詳しくは後述するプラグ解除用治具が挿通されるプラグ解除用挿通孔115が設けられている。
【0164】
このプラグ解除用挿通孔115は、嵌合部111によって設けられた蓋用段差部112に開口し、嵌合部111に蓋部材120が嵌合した際に塞がれないようになっている。
【0165】
一方、蓋部材120は、ハウジング本体110と同様に、例えば、プラスチック等の樹脂を一体成形することにより形成されており、嵌合部111に嵌合すると共に蓋用段差部112に当接する蓋部121と、ハウジング本体110の嵌合部111が設けられた面とは反対面側から突出するマウント係合部64Bとで構成されている。
【0166】
蓋部121には、ハウジング本体110の嵌合部111に嵌合した際に、一対の固定用凹部113内のそれぞれに突出する固定用凸部122が設けられている。
【0167】
また、蓋部121には、他の光コネクタアダプタ50Bのマウント係合部64Bが係合される積層用突起65Bが設けられている。
【0168】
この蓋部121には、一体的に形成された一対のマウント係合部64Bが底面側から突出するように設けられている。このマウント係合部64Bは、蓋部材120がハウジング本体110の嵌合部111に嵌合した際に、ハウジング本体110の挿通用凹部114に挿通されてハウジング本体110の嵌合部111が設けられた面とは反対面から所定量突出するように設けられている。
【0169】
このような一対のマウント係合部64Bの先端部の相対向する内面には、マウント部材又は他のアダプタハウジング52Bに係合されるマウント係合突起113が設けられている。
【0170】
また、蓋部121には、一対のマウント係合部64Bのそれぞれに対応して、詳しくは後述するが、マウント係合部64Bとマウント部材又は他のアダプタハウジング52Bとの係合を解除するピン形状を有するマウント係合解除治具が挿通される治具挿通孔124が設けられている。
【0171】
この治具挿通孔124は、各マウント係合部64Bの内面側に配置され、マウント係合部64Bの内面には、治具挿通孔123に連続してマウント係合解除治具が挿通される治具挿通用凹部125が設けられている。
【0172】
このマウント係合部64Bの治具挿通用凹部125は、マウント係合部64Bの先端部側がテーパ面125aとなっており、蓋部材120の治具挿通孔124にマウント係合解除用治具を挿通すると、マウント係合解除治具の先端が治具挿通用凹部125のテーパ面125aに当接し、更にマウント係合解除治具を押し込むことでテーパ面125aを押し広げて、マウント係合部64Bが互いに離れる方向に弾性変形される。
【0173】
尚、蓋部材120が嵌合されるハウジング本体110の挿通用凹部114には、治具挿通孔124に挿入されたマウント係合解除治具の先端が挿入される治具ガイド用凹部115が設けられ、この治具ガイド用凹部115にマウント係合解除治具がガイドされるようになっている。
【0174】
このような構成の光コネクタアダプタ50Bは、ハウジング本体110の一方面に嵌合する蓋部材120に設けられたマウント係合部64Bが、ハウジング本体110の他方面から突出するように設けられているため、マウント係合部64Bを長くすることができ、弾性変形し易い。このため、マウント係合部64によってマウント部材又は他の光コネクタアダプタ50Bへの係合及び解除時にマウント係合部64Bに亀裂や折れが生じるのを防止することができる。
【0175】
ここで、このような光コネクタアダプタ50Bを用いた光コネクタ10Bについて説明する。尚、図14は、実施形態3に係る光コネクタの接続状態及びプラグ解除治具を示す斜視図である。
【0176】
ここで、本実施形態の光コネクタアダプタ50Bと共に光コネクタ10Bに用いられる光コネクタプラグ20は、上述した実施形態1と同様であるため重複する説明は省略する。
【0177】
図14に示すように、光コネクタ10Bの光コネクタプラグ20と光コネクタアダプタ50Bとは上述した実施形態1と同様に係合する。
【0178】
また、この係合は、アダプタ解除治具200によって解除されるようになっている。
【0179】
ここで、アダプタ解除治具200は、先端にアダプタハウジング52Bのプラグ解除用挿通孔115に挿通される一対の平板形状からなる解除部201を具備し、この解除部201の先端は厚さが漸小するテーパ部202となっている。
【0180】
このようなテーパ部202を有する解除部201をプラグ解除用挿通孔115に挿入すると、解除部201が光コネクタプラグ20の爪部40を弾性変形させて押し広げながら係止爪39とアダプタハウジング52Bとの間に挟持され、光コネクタプラグ20と光コネクタアダプタ50Bとの係合が解除されるようになっている。
【0181】
また、このような光コネクタ10Bの実装基板への実装について説明する。
【0182】
図15は、実施形態3に係る光コネクタの積層での実装工程を示す斜視図であり、図16は、実施形態3に係る光コネクタの積層での実装状態及びマウント解除治具を示す斜視図である。尚、上述した実施形態1及び2と同様の部材には同一の符号を付して重複する説明は省略する。
【0183】
図15に示すように、実装基板100に実装されるマウント部材70Bは、屈曲した両端部の固定部71と、2つの固定部71の間の領域の台座部72Bとで構成されている。
【0184】
台座部72Bには、幅方向の両側の縁部に、光コネクタアダプタ50Bのマウント係合部64Bと係合するアダプタ係合部77Bと、このアダプタ係合部77Bの両側にアダプタ用突起76Bとが設けられている。
【0185】
このアダプタ用突起76Bが、アダプタ係合部77Bに係合されたマウント係合部64Bに当接することで、光コネクタ10Bがマウント部材70Bに対して光ファイバ1の軸方向への移動されるのを規制している。
【0186】
このようなマウント部材70Bに光コネクタ10Bがマウント係合部64Bを介して着脱自在に固定される。
【0187】
また、マウント部材70Bに固定された光コネクタ10B上には、他の光コネクタ10Bがマウント係合部64Bを介して積層される。
【0188】
詳しくは、他の光コネクタ10Bのマウント係合部64Bが、マウント部材70B上の光コネクタ10Bの蓋部材120に設けられた積層用突起64Bに係合することで、積層される。
【0189】
そして、積層された光コネクタ10Bの係合や、光コネクタ10Bとマウント部材70Bとの係合は、図16に示す、マウント解除治具210によって解除することができる。
【0190】
このマウント解除治具210は、先端にアダプタハウジング52Bの治具挿通孔114に挿通される一対のピン形状を有する解除部211を具備する。
【0191】
このようなマウント解除治具210の解除部211を治具挿通孔124に挿入すると、上述したように、解除部210の先端が、マウント係合部64Bを押し広げて弾性変形させ、光コネクタ10B同士又は光コネクタ10Bとマウント部材70Bとの係合を解除するようになっている。
【0192】
このように、本実施形態の光コネクタ10Bは、部品点数を減らして小型化することができると共に、部品点数を減らしたために光コネクタプラグ20と光コネクタアダプタ50Bとの係合の解除、及び光コネクタ10B同士又は光コネクタ10Bとマウント部材70Bとの係合の解除をアダプタ解除治具200又はマウント解除治具210を用いて容易に行うことができる。尚、実装基板100に実装される光コネクタ10Bでは、光コネクタプラグ20と光コネクタアダプタ50Bとの係合の解除、及び光コネクタ10B同士又は光コネクタ10Bとマウント部材70Bとの係合の解除は、それほど頻繁に行われないため、アダプタ解除治具200又はマウント解除治具210での解除であっても煩雑になることはない。
【0193】
(他の実施形態)
以上、本発明を実施形態1〜3を説明したが、本発明の光コネクタは上述したものに限定されるものではない。
【0194】
例えば、上述した実施形態1〜3では、フェルール21の軸を中心とした回転方向の移動の規制を行うための、つば部29の形状、第1の回転止め部22及び第2の回転止め部62の形状は、上述した実施形態1〜3に限定されず、例えば、つば部を円盤形状に形成すると共に軸方向に亘ってキー溝を円周方向に亘って均等に4箇所に設け、第1の回転止め部及び第2の回転止め部をこのキー溝内に突出する突起としてもよい。
【0195】
何れにしても、光コネクタプラグと光コネクタアダプタとでフェルールの回転方向の移動を規制することができれば、上述した実施形態1〜3と同様の効果を得ることができる。
【0196】
更に、上述した実施形態1〜3では、マウント部材70〜70Bに実装基板100の固定孔101に係合する屈曲部71を設け、実装基板100にマウント部材70、70A〜70Bを実装するようにしたが、実装基板100にマウント部材70、70A〜70Bを実装する方法は、特にこれに限定されるものではない。
【0197】
ここで、マウント部材の他の例を図17に示す。尚、図17は、実施形態1のマウント部材の変形例を示す実装工程を示す斜視図である。
【0198】
図17に示すように、マウント部材70Cは、屈曲部が設けられておらず、台座部72Cのみで構成されている。
【0199】
この台座部72Cの長手方向両端側には、面方向に突出した固定突起72aが設けられており、この固定突起72aの底面側が実装基板100上に接合されるようになっている。
【0200】
尚、固定突起72aと実装基板100との接合は、特に限定されず、例えば、接着剤を介した接着又はロウ付け又はハンダ等により接合することができる。
【0201】
このようなマウント部材70Cも、金属プレス加工により形成することができる。
【0202】
また、上述した実施形態1〜3では、光コネクタ10〜10Bを実装基板100上に着脱自在に固定されるマウント部材70〜70Bを介して着脱自在に固定するようにしたが、特にこれに限定されず、例えば、実施形態3のようなマウント係合部64Bを有する光コネクタ10Bであれば、実装基板100上に直接固定するようにしてもよい。このような構成としても、光コネクタ10Bを実装基板100上に着脱自在に固定することができ、且つ光コネクタの部品点数、特に光コネクタアダプタの部品点数を更に減らして、コストを低減すると共に小型化を図ることができる。
【0203】
【発明の効果】
以上説明したように、本発明では、光コネクタプラグ、光コネクタアダプタ及びマウント部材のそれぞれを部品点数を減少させて構成したため、組立工程を簡略化することができると共に製造コストを低減して小型化を図ることができる。また、光コネクタアダプタと光コネクタプラグとの着脱回数に制限されることなく、着脱時に光ファイバの先端等に傷を付けることなく信頼性を向上することができる。更に光コネクタアダプタと実装基板に実装されるマウント部材を着脱自在としたため、光コネクタアダプタと光コネクタプラグとの着脱を実装基板上で行う必要がなく実装基板の小型化を図ることができる。
係合孔の周囲に円周方向に長い開口部が設けられているので、係合孔の周囲が弾性変形し易く、係合孔にフェルールの後端部を挿入し易い。
【図面の簡単な説明】
【0204】
【図1】本発明の実施形態1に係る光コネクタの実装工程を示す斜視図である。
【図2】本発明の実施形態1に係る光コネクタの断面図である。
【図3】本発明の実施形態1に係る光コネクタプラグの平面図及び断面図である。
【図4】本発明の実施形態1に係る光コネクタプラグの組立工程を示す平面図である。
【図5】本発明の実施形態1に係る光コネクタアダプタの平面図及び断面図である。
【図6】本発明の実施形態1に係る光コネクタアダプタの平面図である。
【図7】本発明の実施形態1に係る光コネクタの積層での実装工程を示す斜視図である。
【図8】本発明の実施形態1に係る光コネクタの積層での実装状態を示す斜視図である。
【図9】本発明の実施形態1に係る光コネクタの積層での実装状態を示す平面図及び断面図である。
【図10】本発明の実施形態2に係る光コネクタの積層での実装工程を示す斜視図である。
【図11】本発明の実施形態2に係る光コネクタの積層での実装状態を示す斜視図である。
【図12】本発明の実施形態3に係る光コネクタアダプタの組立工程を示す斜視図である。
【図13】本発明の実施形態3に係る光コネクタアダプタの平面図及び断面図である。
【図14】本発明の実施形態3に係る光コネクタの接続状態及びプラグ解除治具を示す斜視図である。
【図15】本発明の実施形態3に係る光コネクタの積層での実装工程を示す斜視図である。
【図16】本発明の実施形態3に係る光コネクタの積層での実装状態及びマウント解除治具を示す斜視図である。
【図17】本発明の他の実施形態に係るマウント部材の他の例を示す実装工程を示す斜視図である。
【符号の説明】
【0205】
10、10A、10B 光コネクタ
20 光コネクタプラグ
21 フェルール
22 コネクタハウジング
22 第1の回転止め部
50、50A、50B 光コネクタアダプタ
52、52A、52B アダプタハウジング
62 第2の回転止め部
64、64A、64B マウント係合部
70、70A、70B、70C マウント部材
100 実装基板
110 ハウジング本体
120 蓋部材
200 アダプタ解除治具
210 マウント解除治具
Claims (5)
- 光ファイバを保持するフェルール用筒状体及び該フェルール用筒状体の後端部に設けられたつば部材を有するフェルールと、該フェルールの前記つば部材の後端部側に設けられる付勢ばねと、前記フェルール及び前記付勢ばねとを内部に直接保持すると共に、当該フェルールの先端部が挿入されて光接続される光コネクタアダプタに直接係合するプラグハウジングとを具備し、前記プラグハウジングの端部にはフェルールの後端部を係合する係合孔が形成されており、前記プラグハウジングの側部には前記光ファイバを側面側から係合孔へ半径方向に挿通可能なスリットが外周の一部に軸方向に亘って形成されており、且つ前記プラグハウジングの端部には係合孔の周囲に周方向に長い開口部が設けてあることを特徴とする光コネクタプラグ。
- 請求項1において、前記フェルールの後端部は、外周面が後側ほど径を小さくしたテーパ面としてあることを特徴とする光コネクタプラグ。
- 請求項1において、前記つば部材の後端部には、前記プラグハウジングに係合する係合部が設けられており、前記プラグハウジングには、前記つば部材の前記係合部と係合することにより、前記フェルールを前記付勢ばねによって軸方向先端側に付勢された状態で保持する保持孔と、前記つば部材に係合して前記フェルールの軸を中心とした回転方向の移動を規制する第1の回転止め部とを有することを特徴とする光コネクタプラグ。
- 請求項3において、前記プラグハウジングの前記第1の回転止め部は、前記フェルールが前記付勢ばねに抗しつつ押し込まれた状態で当該プラグハウジングと前記フェルールとの相対位置が変更可能に設けられていることを特徴とする光コネクタプラグ。
- 請求項1〜4の何れかの光コネクタプラグを具備することを特徴とする光コネクタ。
Priority Applications (4)
| Application Number | Priority Date | Filing Date | Title |
|---|---|---|---|
| JP2003091985A JP4266319B2 (ja) | 2002-09-06 | 2003-03-28 | 光コネクタプラグ及び光コネクタ |
| US10/651,517 US6908233B2 (en) | 2002-09-06 | 2003-08-29 | Optical connector plug, optical connector adapter and optical connector |
| US11/150,580 US7118283B2 (en) | 2002-09-06 | 2005-06-10 | Optical connector plug, optical connector adapter and optical connector |
| US11/150,581 US7118284B2 (en) | 2002-09-06 | 2005-06-10 | Optical connector plug, optical connector adapter and optical connector |
Applications Claiming Priority (2)
| Application Number | Priority Date | Filing Date | Title |
|---|---|---|---|
| JP2002260761 | 2002-09-06 | ||
| JP2003091985A JP4266319B2 (ja) | 2002-09-06 | 2003-03-28 | 光コネクタプラグ及び光コネクタ |
Related Child Applications (1)
| Application Number | Title | Priority Date | Filing Date |
|---|---|---|---|
| JP2008206960A Division JP4336733B2 (ja) | 2002-09-06 | 2008-08-11 | 光コネクタ |
Publications (2)
| Publication Number | Publication Date |
|---|---|
| JP2004151670A JP2004151670A (ja) | 2004-05-27 |
| JP4266319B2 true JP4266319B2 (ja) | 2009-05-20 |
Family
ID=32072443
Family Applications (1)
| Application Number | Title | Priority Date | Filing Date |
|---|---|---|---|
| JP2003091985A Expired - Fee Related JP4266319B2 (ja) | 2002-09-06 | 2003-03-28 | 光コネクタプラグ及び光コネクタ |
Country Status (2)
| Country | Link |
|---|---|
| US (3) | US6908233B2 (ja) |
| JP (1) | JP4266319B2 (ja) |
Families Citing this family (135)
| Publication number | Priority date | Publication date | Assignee | Title |
|---|---|---|---|---|
| US20040247250A1 (en) * | 2003-06-03 | 2004-12-09 | Honeywell International Inc. | Integrated sleeve pluggable package |
| US6885798B2 (en) | 2003-09-08 | 2005-04-26 | Adc Telecommunications, Inc. | Fiber optic cable and furcation module |
| DE10342908A1 (de) * | 2003-09-17 | 2005-04-28 | Krone Gmbh | Gehäuse für Glasfaser- Steckverbinder und Verfahren zum Verlegen von Glasfaserkabeln |
| JP4849491B2 (ja) * | 2003-12-15 | 2012-01-11 | 神保電器株式会社 | アダプタと固定部材との取付構造 |
| US20050224585A1 (en) * | 2004-04-02 | 2005-10-13 | Durrant Richard C E | Radio frequency identification of a connector by a patch panel or other similar structure |
| WO2006019161A1 (ja) * | 2004-08-20 | 2006-02-23 | Sumitomo Electric Industries, Ltd. | 光コネクタ、及び光コネクタの組立方法 |
| US7376322B2 (en) | 2004-11-03 | 2008-05-20 | Adc Telecommunications, Inc. | Fiber optic module and system including rear connectors |
| US7376323B2 (en) | 2005-05-25 | 2008-05-20 | Adc Telecommunications, Inc. | Fiber optic adapter module |
| US7400813B2 (en) * | 2005-05-25 | 2008-07-15 | Adc Telecommunications, Inc. | Fiber optic splitter module |
| US7052186B1 (en) * | 2005-06-08 | 2006-05-30 | Itt Manufacturing Enterprises, Inc. | Secondary latch sleeve for connector connections |
| US7636507B2 (en) * | 2005-06-17 | 2009-12-22 | Adc Telecommunications, Inc. | Compact blind mateable optical splitter |
| US20070013487A1 (en) * | 2005-07-18 | 2007-01-18 | Jan Scholtz | Digital certificate on connectors and other products using RFID tags and/or labels as well as RFID reader/interrogator |
| US7418181B2 (en) | 2006-02-13 | 2008-08-26 | Adc Telecommunications, Inc. | Fiber optic splitter module |
| JP2007256372A (ja) * | 2006-03-20 | 2007-10-04 | Sumitomo Electric Ind Ltd | 光ファイバ接続部品 |
| US7832159B1 (en) * | 2006-06-06 | 2010-11-16 | Kayhart Paul H | Radiant in-floor heating system |
| DE102006046777B4 (de) * | 2006-09-29 | 2010-04-29 | Continental Automotive Gmbh | Stecksystem zum Ankoppeln mindestens einer optischen Faser |
| DE102007047068A1 (de) * | 2007-10-01 | 2009-04-02 | Ferton Holding S.A. | Vorrichtung zum Erkennen von bakteriellem Befall im Wurzelkanal von Zähnen |
| US7885505B2 (en) | 2007-10-22 | 2011-02-08 | Adc Telecommunications, Inc. | Wavelength division multiplexing module |
| US7536075B2 (en) | 2007-10-22 | 2009-05-19 | Adc Telecommunications, Inc. | Wavelength division multiplexing module |
| US8107816B2 (en) | 2008-01-29 | 2012-01-31 | Adc Telecommunications, Inc. | Wavelength division multiplexing module |
| JP2009210669A (ja) * | 2008-03-03 | 2009-09-17 | Furukawa Electric Co Ltd:The | コネクタユニット |
| JP5325498B2 (ja) * | 2008-08-19 | 2013-10-23 | 株式会社フジクラ | 光コネクタ |
| US8267595B2 (en) * | 2008-08-27 | 2012-09-18 | Protai Photonic Co., Ltd. | One-piece LC type optical fiber adapter |
| JP5148446B2 (ja) * | 2008-10-10 | 2013-02-20 | 株式会社ジャパンリーコム | コネクタ収納ケース |
| US8494329B2 (en) * | 2009-01-15 | 2013-07-23 | Adc Telecommunications, Inc. | Fiber optic module and chassis |
| JP2010256704A (ja) * | 2009-04-27 | 2010-11-11 | Suncall Corp | Lc型光コネクタ |
| CN102356341B (zh) * | 2009-04-30 | 2014-10-08 | Adamant工业株式会社 | 光纤连接器插头 |
| JP4863319B2 (ja) * | 2009-05-19 | 2012-01-25 | 日本航空電子工業株式会社 | 光コネクタ |
| JP5311570B2 (ja) | 2009-05-26 | 2013-10-09 | 日本航空電子工業株式会社 | 光コネクタ装置及び相手側光コネクタ装置 |
| US8290332B2 (en) * | 2009-08-13 | 2012-10-16 | Commscope, Inc. Of North Carolina | Optical fiber adapter |
| JP5182893B2 (ja) * | 2009-11-17 | 2013-04-17 | Nttエレクトロニクス株式会社 | 光コネクタプラグ |
| EP2354824A1 (en) * | 2010-01-29 | 2011-08-10 | CCS Technology Inc. | Hybrid connector |
| TWI464471B (zh) * | 2010-03-08 | 2014-12-11 | Protai Photonic Co Ltd | 單件式光纖適配器 |
| AU2011224314A1 (en) | 2010-03-10 | 2012-09-06 | Corning Cable Systems Llc | Fiber optic pigtail assembly allowing single and mass splicing |
| US9239442B2 (en) | 2010-04-27 | 2016-01-19 | Adc Communications (Shanghai) Co., Ltd. | Fiber optic module and chassis |
| BR112012033051A2 (pt) * | 2010-06-22 | 2016-12-20 | Sumitomo Electric Industries | conector óptico |
| JP5735248B2 (ja) * | 2010-09-30 | 2015-06-17 | 株式会社フジクラ | 光コネクタ、光コネクタの接続方法、コネクタアダプタ、光線路、光通信システム |
| US9279951B2 (en) | 2010-10-27 | 2016-03-08 | Corning Cable Systems Llc | Fiber optic module for limited space applications having a partially sealed module sub-assembly |
| US9052468B2 (en) * | 2011-03-04 | 2015-06-09 | Corning Cable Systems Llc | Fiber optic adapter mount |
| US9182563B2 (en) | 2011-03-31 | 2015-11-10 | Adc Telecommunications, Inc. | Adapter plate for fiber optic module |
| BR112013025411A2 (pt) * | 2011-04-01 | 2016-12-20 | Tyco Electronics Corp | adaptadores de fibra ótica e dispositivos conectores com recursos de montagem e sistemas e métodos de montagem incluindo os mesmos |
| US9110266B2 (en) | 2011-07-29 | 2015-08-18 | Corning Cable Systems Llc | Fiber optic cables seal and/or strain relief members, and related assemblies and methods |
| WO2013033890A1 (en) | 2011-09-06 | 2013-03-14 | Adc Telecommunications, Inc. | Adapter for fiber optic module |
| CN102520489B (zh) | 2012-01-11 | 2016-04-13 | 深圳日海通讯技术股份有限公司 | 一种光纤连接器及其装配方法 |
| US8842962B2 (en) | 2012-01-27 | 2014-09-23 | Corning Cable Systems Llc | Fiber optic cable strain relief device and method |
| CN102749684B (zh) * | 2012-03-26 | 2015-01-07 | 武汉华工正源光子技术有限公司 | 激光收发器件及其制造方法和提高其温度运作范围的方法 |
| US9250409B2 (en) | 2012-07-02 | 2016-02-02 | Corning Cable Systems Llc | Fiber-optic-module trays and drawers for fiber-optic equipment |
| JP6011199B2 (ja) * | 2012-09-24 | 2016-10-19 | 日立金属株式会社 | 光コネクタ |
| EP2725396B1 (en) | 2012-10-26 | 2016-09-14 | CCS Technology, Inc. | Strain relief device for cables and fiber optic distribution device |
| EP2725397B1 (en) | 2012-10-26 | 2015-07-29 | CCS Technology, Inc. | Fiber optic management unit and fiber optic distribution device |
| RU2670183C2 (ru) | 2012-12-19 | 2018-10-18 | Тайко Электроникс Райхем Бвба | Распределительное устройство с возможностью добавления разветвителей |
| EP2951630B1 (en) * | 2013-01-29 | 2017-06-14 | CommScope Connectivity Belgium BVBA | Fiber optic connection system |
| US20140241689A1 (en) * | 2013-02-28 | 2014-08-28 | Corning Cable Systems Llc | Ganged fiber optic connector adapter modules and assemblies having reinforcement members and staggered fiber optic connector adapter ports |
| JP6138533B2 (ja) * | 2013-03-18 | 2017-05-31 | 株式会社 オプトクエスト | マルチコアファイバ用光接続器 |
| JP5656099B1 (ja) * | 2013-06-28 | 2015-01-21 | Toto株式会社 | 光レセプタクル、フェルールおよびプラグフェルール |
| JP2015025868A (ja) * | 2013-07-24 | 2015-02-05 | Seiオプティフロンティア株式会社 | 光コネクタ及び光接続構造 |
| US9488793B2 (en) | 2013-09-10 | 2016-11-08 | Corning Optical Communications LLC | Combined optical fiber and power cable |
| WO2015063148A1 (en) * | 2013-10-31 | 2015-05-07 | Tyco Electronics Raychem Bvba | Fiber optic connection system |
| US9301030B2 (en) | 2013-11-11 | 2016-03-29 | Commscope Technologies Llc | Telecommunications module |
| US9201199B2 (en) * | 2014-01-09 | 2015-12-01 | Sung-An LIN | One-piece optical fiber adapter |
| TWM481420U (zh) * | 2014-01-22 | 2014-07-01 | Amphenol Fiber Optic Technology Shenzhen | Lc光纖可疊加組合式適配器 |
| US9798096B2 (en) * | 2014-02-07 | 2017-10-24 | Commscope Technologies Llc | Managed fiber connectivity systems |
| US9101893B1 (en) | 2014-03-17 | 2015-08-11 | Advanced Scientifics, Inc. | Mixing assembly and mixing method |
| JP6318008B2 (ja) * | 2014-05-30 | 2018-04-25 | 株式会社フジクラ | 光コネクタ |
| WO2015193384A2 (en) | 2014-06-17 | 2015-12-23 | Tyco Electronics Raychem Bvba | Cable distribution system |
| WO2015200321A1 (en) | 2014-06-23 | 2015-12-30 | Adc Telecommunications, Inc. | Fiber cable fan-out assembly and method |
| US9599779B2 (en) * | 2014-07-14 | 2017-03-21 | Alliance Fiber Optic Products, Inc. | Stackable optical fiber adapter |
| US10054753B2 (en) | 2014-10-27 | 2018-08-21 | Commscope Technologies Llc | Fiber optic cable with flexible conduit |
| WO2016100078A1 (en) * | 2014-12-19 | 2016-06-23 | 3M Innovative Properties Company | Ruggedized optical fiber connection structures and assemblies |
| CN105988165A (zh) * | 2015-02-16 | 2016-10-05 | 罗森伯格亚太电子有限公司 | 多芯光纤连接器 |
| AU2015207954C1 (en) | 2015-07-31 | 2022-05-05 | Adc Communications (Australia) Pty Limited | Cable breakout assembly |
| WO2017034931A1 (en) | 2015-08-21 | 2017-03-02 | Commscope Technologies Llc | Telecommunications module |
| US10606009B2 (en) | 2015-12-01 | 2020-03-31 | CommScope Connectivity Belgium BVBA | Cable distribution system with fan out devices |
| US10637220B2 (en) | 2016-01-28 | 2020-04-28 | CommScope Connectivity Belgium BVBA | Modular hybrid closure |
| CN108780200B (zh) | 2016-03-18 | 2021-05-07 | 康普技术有限责任公司 | 光纤电缆扇出管道结构、部件和方法 |
| US10222571B2 (en) | 2016-04-07 | 2019-03-05 | Commscope Technologies Llc | Telecommunications module and frame |
| US10295771B2 (en) | 2016-05-03 | 2019-05-21 | Corning Optical Communications LLC | Telecommunications terminal with removable modules |
| JP6715103B2 (ja) * | 2016-06-23 | 2020-07-01 | 株式会社フジクラ | 光レセプタクル |
| ES2906252T3 (es) | 2016-08-25 | 2022-04-13 | Itt Mfg Enterprises Llc | Interconexión de sellado de perfil bajo con interfaz de enganche |
| WO2018044729A1 (en) | 2016-08-31 | 2018-03-08 | Commscope Technologies Llc | Fiber optic cable clamp and clamp assembly |
| EP3526633A4 (en) | 2016-10-13 | 2020-05-20 | Commscope Technologies LLC | GLASS FIBER WHIP TRANSITION ARRANGEMENT WITH EPOXY PLUG AND CABLE DRAW RELEASE |
| US11131822B2 (en) | 2017-05-08 | 2021-09-28 | Commscope Technologies Llc | Fiber-optic breakout transition assembly |
| US10050367B1 (en) | 2017-06-06 | 2018-08-14 | Amphenol Corporation | Spring loaded electrical connector |
| US10615530B2 (en) | 2017-06-06 | 2020-04-07 | Amphenol Corporation | Spring loaded electrical connector |
| US12271040B2 (en) | 2017-06-28 | 2025-04-08 | Corning Research & Development Corporation | Fiber optic extender ports, assemblies and methods of making the same |
| EP3646075B1 (en) * | 2017-06-28 | 2025-07-30 | Corning Research & Development Corporation | Multiports having connection ports with securing features that actuate flexures and methods of making the same |
| US11668890B2 (en) | 2017-06-28 | 2023-06-06 | Corning Research & Development Corporation | Multiports and other devices having optical connection ports with securing features and methods of making the same |
| US11187859B2 (en) | 2017-06-28 | 2021-11-30 | Corning Research & Development Corporation | Fiber optic connectors and methods of making the same |
| US10359577B2 (en) | 2017-06-28 | 2019-07-23 | Corning Research & Development Corporation | Multiports and optical connectors with rotationally discrete locking and keying features |
| US11300746B2 (en) | 2017-06-28 | 2022-04-12 | Corning Research & Development Corporation | Fiber optic port module inserts, assemblies and methods of making the same |
| US11169332B2 (en) * | 2017-08-18 | 2021-11-09 | Commscope Technologies Llc | Fiber optic connector with unitary housing and fiber optic connector assembly |
| CN207965228U (zh) * | 2017-11-14 | 2018-10-12 | 烽火通信科技股份有限公司 | 一种连接器、适配器和快速插拔的光纤连接组件 |
| CA3095881A1 (en) | 2018-04-02 | 2019-10-10 | Senko Advanced Components, Inc | Hybrid ingress protected connector and adapter assembly |
| US10948664B2 (en) | 2018-05-08 | 2021-03-16 | Senko Advanced Components, Inc. | Ingress protected optical fiber connector having a reduced diameter with a removable retaining nut |
| US11067756B2 (en) * | 2018-10-05 | 2021-07-20 | Senko Advanced Components, Inc. | Small form factor stackable fiber optic adapter assemblies |
| US10641967B1 (en) | 2018-11-16 | 2020-05-05 | Corning Research & Development Corporation | Multiport assemblies including a modular adapter support array |
| WO2020112354A1 (en) | 2018-11-29 | 2020-06-04 | Corning Research & Development Corporation | Multiports having connection ports with rotating actuators and method for making the same |
| US10768382B2 (en) | 2018-11-29 | 2020-09-08 | Corning Research & Development Corporation | Multiport assemblies including access apertures and a release tool |
| EP3903136B1 (en) | 2018-12-28 | 2024-11-06 | Corning Research & Development Corporation | Multiport assemblies including mounting features or dust plugs |
| US11307359B2 (en) | 2019-02-07 | 2022-04-19 | Senko Advanced Components, Inc. | Ingress protected, outdoor rated connector with integrated optical connector plug frame |
| EP3948376B1 (en) | 2019-03-27 | 2025-10-08 | CommScope Technologies LLC | Fiber optic adapter holder; assembly; and method |
| CN209928065U (zh) * | 2019-04-11 | 2020-01-10 | 连讯通信(天津)有限公司 | 光纤连接器 |
| EP3977190B1 (en) | 2019-05-31 | 2024-04-24 | Corning Research & Development Corporation | Multiports having optical connection ports with sliding actuators |
| US11906795B2 (en) | 2019-06-19 | 2024-02-20 | Senko Advanced Components, Inc. | Fiber optic connector assembly with crimp tube subassembly and method of use |
| JP7299090B2 (ja) * | 2019-07-18 | 2023-06-27 | 富士フイルムヘルスケア株式会社 | ガイドワイヤコネクタ、超音波撮像装置 |
| US11294133B2 (en) | 2019-07-31 | 2022-04-05 | Corning Research & Development Corporation | Fiber optic networks using multiports and cable assemblies with cable-to-connector orientation |
| US11422318B2 (en) | 2019-08-08 | 2022-08-23 | Senko Advanced Components, Inc. | Push pull mechanism for an outdoor rated connector assembly |
| US11487073B2 (en) | 2019-09-30 | 2022-11-01 | Corning Research & Development Corporation | Cable input devices having an integrated locking feature and assemblies using the cable input devices |
| EP3805827B1 (en) | 2019-10-07 | 2025-07-30 | Corning Research & Development Corporation | Fiber optic terminals and fiber optic networks having variable ratio couplers |
| PL4045957T3 (pl) | 2019-10-18 | 2024-04-29 | Corning Research & Development Corporation | Terminale mające optyczne porty połączeniowe z elementami mocującymi zapewniającymi stałe siły utrzymania |
| US11650388B2 (en) | 2019-11-14 | 2023-05-16 | Corning Research & Development Corporation | Fiber optic networks having a self-supporting optical terminal and methods of installing the optical terminal |
| US11536921B2 (en) | 2020-02-11 | 2022-12-27 | Corning Research & Development Corporation | Fiber optic terminals having one or more loopback assemblies |
| US20230185031A1 (en) * | 2020-05-13 | 2023-06-15 | Commscope Technologies Llc | Installing an optical fiber |
| US12332486B2 (en) | 2020-05-21 | 2025-06-17 | Us Conec Ltd. | Ferrule seating features for a fiber optic connector |
| CN111679371B (zh) * | 2020-05-27 | 2022-05-20 | 中国航天时代电子有限公司 | 一种偏振光耦合连接装置 |
| CN111708125B (zh) * | 2020-06-24 | 2022-11-11 | 武汉光迅科技股份有限公司 | 一种光纤适配器 |
| WO2022005952A1 (en) | 2020-06-29 | 2022-01-06 | Corning Research & Development Corporation | Terminals having a multi-fiber optical connection port that inhibits damage from single-fiber connectors |
| MX2023002030A (es) | 2020-08-26 | 2023-03-15 | Afl Ig Llc | Adaptador y metodo de acoplamiento de un conector de fibra optica. |
| JP7261778B2 (ja) * | 2020-09-29 | 2023-04-20 | Kddi株式会社 | マルチコア光ファイバの接続器 |
| US11604320B2 (en) | 2020-09-30 | 2023-03-14 | Corning Research & Development Corporation | Connector assemblies for telecommunication enclosures |
| EP4237889B1 (en) | 2020-10-30 | 2025-08-27 | Corning Research & Development Corporation | Female fiber optic connectors having a rocker latch arm |
| WO2022107366A1 (ja) | 2020-11-17 | 2022-05-27 | 株式会社フジクラ | キャップ |
| US11686913B2 (en) | 2020-11-30 | 2023-06-27 | Corning Research & Development Corporation | Fiber optic cable assemblies and connector assemblies having a crimp ring and crimp body and methods of fabricating the same |
| US11880076B2 (en) | 2020-11-30 | 2024-01-23 | Corning Research & Development Corporation | Fiber optic adapter assemblies including a conversion housing and a release housing |
| US11994722B2 (en) | 2020-11-30 | 2024-05-28 | Corning Research & Development Corporation | Fiber optic adapter assemblies including an adapter housing and a locking housing |
| US11927810B2 (en) | 2020-11-30 | 2024-03-12 | Corning Research & Development Corporation | Fiber optic adapter assemblies including a conversion housing and a release member |
| CN112946831B (zh) * | 2021-04-09 | 2024-11-15 | 广东亿源通科技股份有限公司 | 一种适配器与连接器的连接结构 |
| DE102021111848A1 (de) * | 2021-05-06 | 2022-11-10 | Odu Gmbh & Co. Kg | Steckervorrichtung, Steckverbinder und Anschlusskabel |
| US11947167B2 (en) | 2021-05-26 | 2024-04-02 | Corning Research & Development Corporation | Fiber optic terminals and tools and methods for adjusting a split ratio of a fiber optic terminal |
| CN216083178U (zh) * | 2021-05-31 | 2022-03-18 | 连讯通信(天津)有限公司 | 光纤连接器组件 |
| CN118679413A (zh) * | 2022-02-24 | 2024-09-20 | 住友电气工业株式会社 | 光连接结构、第一连接体、第一光连接器、第二连接体、第二光连接器以及光连接结构的制造方法 |
| CN114815080B (zh) * | 2022-05-07 | 2023-09-26 | 中天宽带技术有限公司 | 连接器、适配器、连接组件、分离工具及缆线 |
| JP2024017273A (ja) * | 2022-07-27 | 2024-02-08 | 住友電気工業株式会社 | 光ファイババンドルコネクタ、及び、光ファイババンドルコネクタの製造方法 |
| US12580339B2 (en) | 2023-02-09 | 2026-03-17 | Amphenol Corporation | Spring loaded electrical connector |
| US20250130377A1 (en) * | 2023-10-18 | 2025-04-24 | Belden Canada Ulc | Multi-fiber connector structurally configured to provide a reduced footprint and cable volume |
Family Cites Families (4)
| Publication number | Priority date | Publication date | Assignee | Title |
|---|---|---|---|---|
| US5261019A (en) * | 1992-01-02 | 1993-11-09 | Adc Telecommunications, Inc. | Fiber optic connector |
| US6402393B1 (en) * | 2000-02-29 | 2002-06-11 | Lucent Technologies Inc. | Interconnection system for optical circuit boards |
| US6592268B2 (en) * | 2000-05-09 | 2003-07-15 | Molex Incorporated | Connector assembly floating mount |
| JP2002023026A (ja) * | 2000-07-07 | 2002-01-23 | Yazaki Corp | 光コネクタ |
-
2003
- 2003-03-28 JP JP2003091985A patent/JP4266319B2/ja not_active Expired - Fee Related
- 2003-08-29 US US10/651,517 patent/US6908233B2/en not_active Expired - Lifetime
-
2005
- 2005-06-10 US US11/150,581 patent/US7118284B2/en not_active Expired - Lifetime
- 2005-06-10 US US11/150,580 patent/US7118283B2/en not_active Expired - Lifetime
Also Published As
| Publication number | Publication date |
|---|---|
| US7118284B2 (en) | 2006-10-10 |
| US20040072454A1 (en) | 2004-04-15 |
| US7118283B2 (en) | 2006-10-10 |
| US20050226568A1 (en) | 2005-10-13 |
| JP2004151670A (ja) | 2004-05-27 |
| US20050232550A1 (en) | 2005-10-20 |
| US6908233B2 (en) | 2005-06-21 |
Similar Documents
| Publication | Publication Date | Title |
|---|---|---|
| JP4266319B2 (ja) | 光コネクタプラグ及び光コネクタ | |
| JP4951029B2 (ja) | 光コネクタアダプタ及び光コネクタ | |
| US20080013891A1 (en) | Optical fiber connector, optical fiber connecting method, and, connector converter | |
| JP2009301051A (ja) | コネクタホルダおよびコネクタホルダ付き光コネクタ | |
| EP3290975B1 (en) | Fiber optic connector assembly | |
| JP5069015B2 (ja) | 光コネクタ | |
| JP4011556B2 (ja) | 光コネクタ | |
| JP2008292708A (ja) | 光コネクタ及びその組立方法 | |
| JP4387732B2 (ja) | 光コネクタ | |
| JP2005107309A (ja) | 光コネクタおよび光コネクタの組立方法 | |
| JP2005121988A (ja) | 光ファイバ接続器、光ファイバ接続方法及びコネクタ変換器 | |
| JP5221492B2 (ja) | 光コネクタの組立方法及び光コネクタ | |
| US7118282B2 (en) | Receptacle-type optical connector easily adaptable to various specifications and method of producing the same | |
| JP5346855B2 (ja) | 光コネクタ | |
| JPH0943453A (ja) | 光コネクタ | |
| JPH10319274A (ja) | 光コネクタ及び光モジュール | |
| JP2005352274A (ja) | 光ファイバ接続部材 | |
| JP2005265987A (ja) | 光ファイバコネクタ | |
| JP2007121794A (ja) | 光コネクタ用クサビ及びそのクサビの挿入解除方法。 | |
| US7206489B2 (en) | Fixing tool for fixing a fiber holding member to an optical fiber | |
| JP2004093828A (ja) | 光コネクタハウジング | |
| US7281858B2 (en) | Optical connector which can be assembled without using screw parts | |
| JP2011175286A (ja) | 光コネクタ | |
| JP3682648B2 (ja) | 光コネクタ | |
| JPH11337770A (ja) | 光コネクタ及び光モジュール |
Legal Events
| Date | Code | Title | Description |
|---|---|---|---|
| RD01 | Notification of change of attorney |
Free format text: JAPANESE INTERMEDIATE CODE: A7421 Effective date: 20040304 |
|
| A711 | Notification of change in applicant |
Free format text: JAPANESE INTERMEDIATE CODE: A711 Effective date: 20051021 |
|
| A621 | Written request for application examination |
Free format text: JAPANESE INTERMEDIATE CODE: A621 Effective date: 20060206 |
|
| A977 | Report on retrieval |
Free format text: JAPANESE INTERMEDIATE CODE: A971007 Effective date: 20080324 |
|
| A131 | Notification of reasons for refusal |
Free format text: JAPANESE INTERMEDIATE CODE: A131 Effective date: 20080701 |
|
| A521 | Request for written amendment filed |
Free format text: JAPANESE INTERMEDIATE CODE: A523 Effective date: 20080811 |
|
| RD02 | Notification of acceptance of power of attorney |
Free format text: JAPANESE INTERMEDIATE CODE: A7422 Effective date: 20080811 |
|
| TRDD | Decision of grant or rejection written | ||
| A01 | Written decision to grant a patent or to grant a registration (utility model) |
Free format text: JAPANESE INTERMEDIATE CODE: A01 Effective date: 20090213 |
|
| A01 | Written decision to grant a patent or to grant a registration (utility model) |
Free format text: JAPANESE INTERMEDIATE CODE: A01 |
|
| A61 | First payment of annual fees (during grant procedure) |
Free format text: JAPANESE INTERMEDIATE CODE: A61 Effective date: 20090216 |
|
| R150 | Certificate of patent or registration of utility model |
Ref document number: 4266319 Country of ref document: JP Free format text: JAPANESE INTERMEDIATE CODE: R150 Free format text: JAPANESE INTERMEDIATE CODE: R150 |
|
| FPAY | Renewal fee payment (event date is renewal date of database) |
Free format text: PAYMENT UNTIL: 20120227 Year of fee payment: 3 |
|
| FPAY | Renewal fee payment (event date is renewal date of database) |
Free format text: PAYMENT UNTIL: 20120227 Year of fee payment: 3 |
|
| FPAY | Renewal fee payment (event date is renewal date of database) |
Free format text: PAYMENT UNTIL: 20130227 Year of fee payment: 4 |
|
| R250 | Receipt of annual fees |
Free format text: JAPANESE INTERMEDIATE CODE: R250 |
|
| FPAY | Renewal fee payment (event date is renewal date of database) |
Free format text: PAYMENT UNTIL: 20140227 Year of fee payment: 5 |
|
| R250 | Receipt of annual fees |
Free format text: JAPANESE INTERMEDIATE CODE: R250 |
|
| R250 | Receipt of annual fees |
Free format text: JAPANESE INTERMEDIATE CODE: R250 |
|
| R250 | Receipt of annual fees |
Free format text: JAPANESE INTERMEDIATE CODE: R250 |
|
| R250 | Receipt of annual fees |
Free format text: JAPANESE INTERMEDIATE CODE: R250 |
|
| R250 | Receipt of annual fees |
Free format text: JAPANESE INTERMEDIATE CODE: R250 |
|
| R250 | Receipt of annual fees |
Free format text: JAPANESE INTERMEDIATE CODE: R250 |
|
| R250 | Receipt of annual fees |
Free format text: JAPANESE INTERMEDIATE CODE: R250 |
|
| R250 | Receipt of annual fees |
Free format text: JAPANESE INTERMEDIATE CODE: R250 |
|
| R250 | Receipt of annual fees |
Free format text: JAPANESE INTERMEDIATE CODE: R250 |
|
| LAPS | Cancellation because of no payment of annual fees |
