JP4217455B2 - 周辺装置、情報処理方法、および制御プログラム - Google Patents
周辺装置、情報処理方法、および制御プログラム Download PDFInfo
- Publication number
- JP4217455B2 JP4217455B2 JP2002300409A JP2002300409A JP4217455B2 JP 4217455 B2 JP4217455 B2 JP 4217455B2 JP 2002300409 A JP2002300409 A JP 2002300409A JP 2002300409 A JP2002300409 A JP 2002300409A JP 4217455 B2 JP4217455 B2 JP 4217455B2
- Authority
- JP
- Japan
- Prior art keywords
- application
- license
- information
- peripheral device
- program
- Prior art date
- Legal status (The legal status is an assumption and is not a legal conclusion. Google has not performed a legal analysis and makes no representation as to the accuracy of the status listed.)
- Expired - Fee Related
Links
Images
Classifications
-
- G—PHYSICS
- G06—COMPUTING OR CALCULATING; COUNTING
- G06F—ELECTRIC DIGITAL DATA PROCESSING
- G06F21/00—Security arrangements for protecting computers, components thereof, programs or data against unauthorised activity
- G06F21/10—Protecting distributed programs or content, e.g. vending or licensing of copyrighted material ; Digital rights management [DRM]
- G06F21/107—License processing; Key processing
- G06F21/1079—Return
-
- G—PHYSICS
- G06—COMPUTING OR CALCULATING; COUNTING
- G06F—ELECTRIC DIGITAL DATA PROCESSING
- G06F13/00—Interconnection of, or transfer of information or other signals between, memories, input/output devices or central processing units
- G06F13/10—Program control for peripheral devices
-
- G—PHYSICS
- G06—COMPUTING OR CALCULATING; COUNTING
- G06F—ELECTRIC DIGITAL DATA PROCESSING
- G06F3/00—Input arrangements for transferring data to be processed into a form capable of being handled by the computer; Output arrangements for transferring data from processing unit to output unit, e.g. interface arrangements
- G06F3/12—Digital output to print unit, e.g. line printer, chain printer
-
- Y—GENERAL TAGGING OF NEW TECHNOLOGICAL DEVELOPMENTS; GENERAL TAGGING OF CROSS-SECTIONAL TECHNOLOGIES SPANNING OVER SEVERAL SECTIONS OF THE IPC; TECHNICAL SUBJECTS COVERED BY FORMER USPC CROSS-REFERENCE ART COLLECTIONS [XRACs] AND DIGESTS
- Y10—TECHNICAL SUBJECTS COVERED BY FORMER USPC
- Y10S—TECHNICAL SUBJECTS COVERED BY FORMER USPC CROSS-REFERENCE ART COLLECTIONS [XRACs] AND DIGESTS
- Y10S705/00—Data processing: financial, business practice, management, or cost/price determination
- Y10S705/901—Digital rights management
-
- Y—GENERAL TAGGING OF NEW TECHNOLOGICAL DEVELOPMENTS; GENERAL TAGGING OF CROSS-SECTIONAL TECHNOLOGIES SPANNING OVER SEVERAL SECTIONS OF THE IPC; TECHNICAL SUBJECTS COVERED BY FORMER USPC CROSS-REFERENCE ART COLLECTIONS [XRACs] AND DIGESTS
- Y10—TECHNICAL SUBJECTS COVERED BY FORMER USPC
- Y10S—TECHNICAL SUBJECTS COVERED BY FORMER USPC CROSS-REFERENCE ART COLLECTIONS [XRACs] AND DIGESTS
- Y10S705/00—Data processing: financial, business practice, management, or cost/price determination
- Y10S705/901—Digital rights management
- Y10S705/902—Licensing digital content
-
- Y—GENERAL TAGGING OF NEW TECHNOLOGICAL DEVELOPMENTS; GENERAL TAGGING OF CROSS-SECTIONAL TECHNOLOGIES SPANNING OVER SEVERAL SECTIONS OF THE IPC; TECHNICAL SUBJECTS COVERED BY FORMER USPC CROSS-REFERENCE ART COLLECTIONS [XRACs] AND DIGESTS
- Y10—TECHNICAL SUBJECTS COVERED BY FORMER USPC
- Y10S—TECHNICAL SUBJECTS COVERED BY FORMER USPC CROSS-REFERENCE ART COLLECTIONS [XRACs] AND DIGESTS
- Y10S705/00—Data processing: financial, business practice, management, or cost/price determination
- Y10S705/901—Digital rights management
- Y10S705/904—Usage protection of distributed files
-
- Y—GENERAL TAGGING OF NEW TECHNOLOGICAL DEVELOPMENTS; GENERAL TAGGING OF CROSS-SECTIONAL TECHNOLOGIES SPANNING OVER SEVERAL SECTIONS OF THE IPC; TECHNICAL SUBJECTS COVERED BY FORMER USPC CROSS-REFERENCE ART COLLECTIONS [XRACs] AND DIGESTS
- Y10—TECHNICAL SUBJECTS COVERED BY FORMER USPC
- Y10S—TECHNICAL SUBJECTS COVERED BY FORMER USPC CROSS-REFERENCE ART COLLECTIONS [XRACs] AND DIGESTS
- Y10S705/00—Data processing: financial, business practice, management, or cost/price determination
- Y10S705/901—Digital rights management
- Y10S705/911—Copy protection or prevention
Landscapes
- Engineering & Computer Science (AREA)
- Theoretical Computer Science (AREA)
- Physics & Mathematics (AREA)
- General Engineering & Computer Science (AREA)
- General Physics & Mathematics (AREA)
- Software Systems (AREA)
- Multimedia (AREA)
- Technology Law (AREA)
- Computer Hardware Design (AREA)
- Computer Security & Cryptography (AREA)
- Human Computer Interaction (AREA)
- Facsimiles In General (AREA)
- Accessory Devices And Overall Control Thereof (AREA)
- Stored Programmes (AREA)
Description
【発明の属する技術分野】
本発明は、周辺装置における処理を制御するプログラムが搭載された周辺装置、該周辺装置における方法、及び制御プログラムに関するものである。
【0002】
【従来の技術】
従来、周辺装置の一例である画像形成装置の出力総数をカウントする機構としては、メカニカルな構造をもったハード・カウンタを用いることが一般的だったが、省コスト、省スペースで多数のカウンタを実現可能なソフト・カウンタが提案された。ソフト・カウンタとは、カウント値を半導体メモリに蓄えるソフト・カウンタである。従って、カウントしたい機能毎にソフト・カウンタを用意して、機能毎に正確なカウント情報を保持することが可能となった(特開2001‐92779号公報)。以下、ソフト・カウンタを単にカウンタと呼ぶ。本願発明においては、カウンタとは、例えば、周辺装置の好適な一例であるプリンタ、ファクシミリ、スキャナ、コピー、若しくはこれらの複合機内のプログラムの実行回数、これらの画像形成装置の動作回数、アプリケーションプログラムの使用時間など、各種使用量を計測・記憶することができる手段の総称として用いている。
【0003】
一方、プリンタ機能やスキャナ機能と、これを利用するアプリケーションの組に基づいて課金を行う印刷システムが存在する(特開2002−117157号公報)。
【0004】
【特許文献1】
特開2001−92779号公報
【特許文献2】
特開2002−117157号公報
【0005】
【発明が解決しようとする課題】
上述のように、周辺装置が提供する処理を実現する各種ソフトウェアの追加・変更・削除などが容易になりつつある。また、アプリケーションごとに固定的にカウンタを設け、アプリケーションの実行回数をカウントするカウンタを備えた印刷装置が考えられつつある。
【0006】
ここで、アプリケーションごとの、カウンタの利用方法のひとつとして、アプリケーションの使用量に応じた課金を行うことが考えられる。この場合は、アプリケーションごとのカウンタをアプリケーションの権利保有者またはサービスマンなどの代理人がカウンタ値を定期的に読み出し、これに応じてアプリケーション利用者に請求を行う必要がある。しかしこの場合は、特にアプリケーションの数が増えた場合に、管理が煩雑となり、またカウンタ値を読み出す人件費が問題となる。更に、カウンタ値を、ネットワークなどを介して自動的に読み出すシステムを構築した場合でも、高い信頼性を有するシステムを構築する必要があり、カウントの度に情報収集が必要となりネットワークに負荷がかかるという問題がある。
【0007】
そこで、アプリケーションの使用量の上限値を使用権情報によって機器ごとに管理可能とし、予めアプリケーションの使用権情報を、例えば所定の認証局が正当なものであることを証明した証明書の形式や、後述する使用権情報やライセンスデータなどの形式で利用者に与えることが出来る手段を提供することが考え得る。
【0008】
ここで、使用権情報の生成は、生成ツールを入手できたものは誰でも生成可能となってしまうという問題が生ずる。そこで、本発明では、アプリケーション又は周辺装置の機能の正当な使用権の権利保有者のみが正規の使用権情報を発行可能とする手段を提供することを目的の1つとする。
【0009】
また、上述のような、有価証券・証書のような性質を持つ、機器にインストールしたアプリケーションの使用権情報を、機器の故障や交換などにより、他の機器に移動したい場合がある。さらに、一旦機器にインストールしたアプリケーションの使用権を、アプリケーションの使用中止の場合などに、アプリケーションの権利保有者に返却したい場合がある。
【0010】
そこで、本発明は、画像形成装置内にインストールされたアプリケーションの動作可能回数を、使用権情報として装置外に取り出し可能な画像形成装置を提供することをさらに別の目的とする。さらに、本発明は、画像形成装置内にインストールされたアプリケーションの動作可能回数を、どの機器にもインストール不可能な使用権情報の形で装置外に取り出し可能な画像形成装置を提供することを別の目的とする。
【0011】
【課題を解決するための手段】
プログラム又は機能を所定量使用するライセンスが設定された周辺装置において、プログラム又は機能を所定量使用するライセンスが設定された前記周辺装置とは別の周辺装置であって尚且つライセンスを管理するための使用権情報を転送すべき周辺装置である転送先周辺装置を識別するための、デバイス識別情報を入力する入力手段と、前記周辺装置に対して設定されたライセンスの下で所定の機能又はプログラムを使用可能な量を示す使用可能量を取得する取得手段と、前記取得手段が取得した使用可能量と、前記入力手段が入力したデバイス識別情報に基づき、前記転送先周辺装置におけるプログラム又は周辺装置の機能を前記使用可能量の分だけ使用可能とするライセンスが設定された使用権情報を生成する生成手段と、前記周辺装置におけるプログラム又は機能のライセンスを無効化する手段と、前記生成手段により生成された使用権情報を前記デバイス識別情報に対応する前記転送先周辺装置へ転送する転送手段とを有することを特徴とする周辺装置が一例として開示される。
【0012】
【発明の実施の形態】
以下、本発明の実施形態を実施例に沿って図面に基づいて説明する。
【0013】
(第一の実施形態)
図1は、第一の実施形態に係るシステム全体を示す構成図である。図1において、周辺装置の好適な一例である複合機100は、スキャナ、プリンタ、コピー、ファックス機能一体型の複合機であり、ネットワークを介して外部情報処理装置の好適な一例であるネットワークサーバ12、及び情報処理装置の好適な一例であるホストコンピュータ11に接続されている。さらに、複合機100は、公衆回線網を介して他の通信装置に接続されている。なお、複合機100は図示例に限らず、デジタル複写機、コピー機能付プリンタ等でもよく、ネットワークに接続された周辺機器の数は、図示例に限られない。また、画像形成装置は、複合機100に限らず、ファクシミリ、プリンタなどの印刷装置、スキャナ装置など、画像を形成可能な単機能の装置を含み、前記各装置に内蔵されるコントローラなどをも含む。また、カウンタは各種印刷装置のネットワークボード、例えばネットワークインタフェース部7等に取り付けられてもよい。
【0014】
複合機100は、主にリーダ部1、プリンタ部2、及び画像入出力制御部3で構成されている。リーダ部1は、プリンタ部2及び画像入出力制御部3に接続され、原稿の画像読み取りを行うとともに読み取った画像データをプリンタ部2又は画像入出力制御部3に出力する。プリンタ部2は、リーダ部1及び画像入出力制御部3から出力された画像データを記録紙に印刷する。画像入出力制御部3は、外部のネットワークや公衆回線網と接続し、画像データの入出力を行うと共に、ユーザが複合機100を使用したときの使用量の蓄積等を行い、更にネットワークに接続されたホストコンピュータ11からのジョブ(印刷命令等)の解析及び制御を行う。
【0015】
画像入出力制御部3は、ファクシミリ部4、ファイル部5、取得手段の一例であるネットワークインタフェース部7、PDLフォーマッタ部8、及びコア部10で構成される。ファクシミリ部4は、コア部10及び公衆回線網に接続され、公衆回線網から受信した圧縮された画像データの伸長を行い、伸長した画像データをコア部10へ送信する。また、コア部10から送信された画像データを圧縮し、公衆回線を介して圧縮した画像データを公衆回線網に送信する。ファイル部5は、コア部10及び記憶装置6に接続され、コア部10から送信された画像データの圧縮を行い、圧縮した画像データを検索するためのキーワードと共に記憶装置6に記憶させる。本実施形態では記憶手段の好適な一例である記憶装置6にはハードディスクドライブを用いているが、もちろんこれに限定されるものではない。更に、ファイル部5は、コア部10から送信されたキーワードに基づいて記憶装置6に記憶されている圧縮画像データを検索した後、その圧縮画像データを読み出して伸長を行い、コア部10へ送信する。
【0016】
ネットワークインタフェース部7は、外部のネットワークを介して接続されたホストコンピュータ11及びネットワークサーバ12とコア部10間のインタフェースである。ホストコンピュータ11(ホストコンピュータ3000)からのジョブ制御データの受信、及び画像データ等のホストコンピュータ11への送信には、ネットワークインタフェース部7を介して行う。ジョブ制御データとして、PDLデータと共に送信されるジョブ制御命令を含み、例えば、PDLデータを展開して画像データとして印刷した後、ステイプルソートして排紙させるものが挙げられる。ネットワークインタフェース部7にはMIB(Management Information Base)と呼ばれるデータベースが構築されており、SNMP(Simple Network Management Protocol)を介してネットワーク上のホストコンピュータ11と通信し、プリンタ部2の管理が可能となっている。また、ネットワークインタフェース部7は、画像形成装置上の各種機能を実現するアプリケーションのインストール要求・アンインストール要求・開始要求・停止要求等を受け付けるため、ネットワーク接続された他の機器が複合機100内のアプリケーションの制御を行うことが可能となっている。
【0017】
フォーマッタ部8は、コア部10に接続され、ホストコンピュータ11から送信されたPDLデータをプリンタ部2でプリントできる画像データに展開するものである。
【0018】
画像メモリ部9は、リーダ部1からの情報や、ネットワークインタフェース部を介しホストコンピュータ11等から送られてきた情報を一時的に蓄積しておくためのものである。
【0019】
記憶手段と解析手段を兼ねたユニットの好適な一例であるコア部10は、上述したリーダ部1、ファクシミリ部4、ファイル部5、ネットワークインタフェース部7、PDL(Page Description Language:ページ記述言語)フォーマッタ部8のそれぞれの間を流れるデータ等の制御とともにジョブ制御データの解析を行い、ユーザの使用状況・コピー枚数・印刷枚数・スキャン枚数等の情報を蓄積する。
【0020】
ホストコンピュータ11(情報処理装置)は、パーソナルコンピュータ又はワークステーション(PC/WS)であり、ネットワークサーバ12は、ネットワーク全体を制御するサーバである。また、外部情報処理装置の一例である課金サーバ13は複合機100の課金情報を管理するためのサーバを含む。課金サーバ装置13は、そのディスプレイに、複写機100のカウンタによってカウントされる使用量を表示し、管理できる。なお、操作部14は、操作パネルを含み、例えばタッチパネルを用いて実行するアプリケーション、アプリケーションに使用させる複写機の機能を選択し、入力出来る。また、アプリケーションの実行命令は、複写機100の操作部13からでも入力出来るが、外部情報処理装置の一例であるネットワークサーバ12からでも実行命令を入力出来る。そして、実行されたアプリケーションの使用量は、複写機100の後に詳しく述べるカウンタでカウントされる。
【0021】
図2は、第一の実施形態における画像形成装置のソフトウェアモジュール階層の好適な一例を示した図である。ソフトウェアモジュールはオペレーティングシステム(OS)201を有している。OS201の上には、各種機器制御のためのコントローラモジュール202を有し、その上にプログラムを逐次実行するためのインタプリタモジュール203を有する。インタプリタモジュール203の上には、動的に着脱可能な複数のアプリケーション群を管理するためのアプリケーション管理モジュール204を有する。各種機能を実現するアプリケーション205は、このアプリケーション管理モジュール204の管理下で動作する。インタプリタモジュール203を介して複写機のサービスを提供するためのアプリケーションモジュールを動作させることができる。例えば、外部サーバ装置から取得したアプリケーションモジュールが画像形成装置内に組み込まれるのに応答して、アプリケーション管理モジュール204はアプリケーション205を管理対象として追加したり、画像形成装置内からアプリケーションプログラムが削除されるのに応答して、アプリケーション管理モジュール204はアプリケーション205を管理対象から外すことができる。
【0022】
また、アプリケーション205のインストールやアンインストールを行うためのアプリケーションインストーラ206も、このアプリケーション管理モジュール204の上で動作させることができる。アプリケーションはプログラムの好適な一例であるが、画像形成装置と協働して各種処理をユーザに提供する。例えば、画像の加工、圧縮を行うアプリケーション、印刷制限などの部門管理を行うアプリケーションプログラム、アプリケーションの一部として組み込まれるプラグインモジュール、複写機の遠隔管理を行プログラム、複写機のフィニッシャなどのユニットを制御して製本を行わせるアプリケーション、特定の文書データの変換・解析プログラム、或いはいわゆるワープロソフトのような文書作成プログラム、スケジュール管理プログラム、表計算プログラム、データベース管理プログラム、さらにはインターネットを介したプリントサービスを実現するためのサーバプログラムなどが考え得る。
【0023】
これらのソフトウェアはコア部10内にあるCPU(図示省略)上で実行される。上記実施形態においてはインタプリタやOSを複写機内に組み込んでいる。もちろん、アプリケーション205が画像形成装置上で動作し、アプリケーション管理モジュール204が適切に動作する限り、上述のモジュール構成に限定されるものではない。
【0024】
図3は複合機100(複合機2702)にアプリケーションがインストールされる際の処理の流れを示すフローチャートを示す図である。次に、図3を利用して、ホストコンピュータ11から複合機100に新たなアプリケーションをインストールする場合のアプリケーションインストーラ206内の処理について説明する。ホストコンピュータ11の操作画面において、指示入力手段の好適な一例であるポインティングデバイス(図示省略)によって、アプリケーションをインストールする旨の指示を入力すると図3の処理が開始される。まず、ステップS301においてホストコンピュータ11からアプリケーション情報を受信する。アプリケーション情報は、例えば、プログラムの属性情報の好適な一例である、ベンダ名・アプリケーションID・アプリケーション名・使用メモリ・バージョン番号・最終更新日付を含む。このアプリケーション情報は、プログラムの好適な一例であるアプリケーションの使用量を管理するために用いられる。
【0025】
ステップS301において前述したプログラムの属性情報の好適な一例であるアプリケーションIDを含むアプリケーション情報を受け取ると、アプリケーションインストーラ206は、ステップS302の処理を行う。S302では、アプリケーションインストーラ206は、既に同じアプリケーションがインストールされていないかどうかを判断する。アプリケーションインストーラ206は、ステップS301で受信したアプリケーション情報を取得し、既にインストールされているアプリケーションのアプリケーション情報と比較することにより、既に同じアプリケーションがインストールされているか否かを判断する。もし、アプリケーションインストーラ206が、ステップS302において同じアプリケーションが存在すると判断した場合は処理を終了し、同じアプリケーションが存在しないと判定された場合はステップS303へ進む。ステップS303では、判断手段の好適な一例であるアプリケーションインストーラ206は、変数nに0を代入し、ステップS304へ進む。ステップS304では、アプリケーションインストーラ206は、n番目のアプリケーション用カウンタが使用中であるかどうか判断し、使用中でないならステップS305へ進む。ステップS305ではカウンタ番号−アプリケーションIDテーブルを更新してカウンタ番号nとアプリケーションIDとを対応付ける。本願においては、カウンタは、アプリケーションの使用量の一例である実行回数をカウントするカウンタを意味する。また、カウンタは、アプリケーションを立ち上げている時間の長さなどの使用時間をカウントして保持できる計測記憶手段も含む。
【0026】
図4はカウンタ番号−アプリケーションIDテーブルの例を示す図である。カウンタ番号1番のカウンタがアプリケーションID11番のアプリケーションに対応し、カウンタ番号3番のカウンタがアプリケーションID51番のアプリケーションに対応し、その他のカウンタは未使用であることを示している。ステップS305においてテーブルの更新を行ったら次にステップS306へ進む。ステップS306では、ホストからアプリケーションプログラムのダウンロードを行って複合機100内の記憶装置6に格納し、アプリケーションを利用できる状態にして、処理を終了する。一方、ステップS304においてカウンタnが使用中と判定された場合は、ステップS307へ進む。ステップS307では変数nの値を1つ増加させ、ステップS308へ進む。ステップS308では、変数nの値が、複合機100に用意されているアプリケーション別カウンタの総数Nよりも小さいかどうかを判定する。変数nの値がアプリケーション別カウンタの総数Nよりも小さい場合はステップS304へ戻り、そうでない場合は処理を終了する。
【0027】
このようにしてインストールされたアプリケーションはジョブ処理を指示するコマンド群を実行することにより、リーダ部・プリンタ部等を制御することができ、種々の機能を実現することが可能となっている。
【0028】
図5は、ジョブ処理を指示するコマンド群の一例である。ジョブ処理を指示するコマンド群は、ジョブ投入開始コマンド501、ジョブ属性設定コマンド502、ジョブデータ送信コマンド503、ジョブ投入完了コマンド504により構成される。ジョブ投入開始コマンド501は、コントローラにジョブ投入の開始を通知するコマンドであり、パラメータとしてモード511とモードに応じた付加情報512を含んでいる。コントローラは、ジョブ投入開始コマンド501の受け取りにより、ジョブ処理を行うための準備を開始する。ジョブ属性設定コマンド502は、ジョブの機能や状態を表す属性を設定するためのコマンドである。属性には、アプリケーションID・ジョブの名前・ジョブ種別・データ形式・用紙選択などといった情報があり、本コマンドでは複数の属性を連続して設定することができる。
【0029】
ジョブデータ送信コマンド503は、画像データなどジョブ処理の対象となるデータを送信するコマンドである。ただし、ジョブの内容によっては、処理対象となるデータを必要としない場合もあるので、その場合は本コマンドを省略してもよい。ジョブ投入完了コマンド504は、ジョブ処理を指示するコマンド群がすべて送付されたことを示すためのコマンドである。ジョブ投入開始コマンド501からジョブ投入完了コマンド504までの一連のコマンド群が1つのジョブ処理指示として解釈される。コントローラは、ジョブ処理の指示が行われると、リーダ部1・プリンタ部2・ファイル部5等を制御し、与えられた属性により適切な処理を行い、ジョブ種別に応じて適切なカウンタ更新要求を出す。なお、ジョブ開始コマンドには、それを実行したアプリケーションのアプリケーションIDの情報も含まれるため、コントローラやカウンタ更新手段は、現在のジョブがどのアプリケーションから実行されたものかを判別することが可能となっている。
【0030】
図6は、第一の実施形態においてカウンタの更新が行われる際のカウンタ更新手段における処理の流れを示すフローチャートを示す図である。図6のフローチャートを利用して、カウンタの更新が行われる際のカウンタ管理手段における処理の流れについて説明する。まず、ステップS601において、カウンタ更新要求を受け取り、ステップS602に進む。ステップS602では、更新要求元のアプリケーションIDを取得し、ステップS603に進む。ステップS603では変数nに0を代入し、ステップS604に進む。ステップS604ではテーブルを参照しn番のカウンタがステップS602で取得したアプリケーションIDのアプリケーションに割り当てられているかどうかチェックする。もし、n番のカウンタがステップS602で取得したアプリケーションIDのアプリケーションに割り当てられていればステップS605へ進む。ステップS605では現在のジョブ種用のn番カウンタを更新し、ステップS606へ進む。ステップS606では総数カウント用のカウンタを更新し、処理を終了する。一方、ステップS604において、n番カウンタがステップS602で取得したアプリケーションIDのアプリケーションに割り当てられていないと判定された場合は、ステップS607に進む。ステップS607では変数nがアプリケーション用カウンタの総数Nよりも小であるかどうかを判定する。もし、n<NであるならステップS608でnの値を1つ増やしステップS604へ戻る。ステップS607においてn<Nを満たさなかった場合はステップS606へ進み、総数カウント用カウンタだけを更新して処理を終了する。
【0031】
図7は、複合機100が有しているカウンタの例を示す図である。この例では、コピーカウンタ、プリントカウンタ、スキャンカウンタの3種類のカウンタがあり、そのそれぞれについてトータルカウント数を示す総数カウント用カウンタが1つとアプリケーション別カウンタがN個(カウンタ番号1からN)用意されていることを示している。コピージョブが処理される場合、1枚コピーする度にコピーカウンタがカウントアップされる。同様に、スキャンジョブでは1枚スキャンする度にスキャンカウンタがカウントアップされ、プリントジョブでは1枚プリントされる度にプリントカウンタがカウントアップされる。
【0032】
カウンタ番号−アプリケーションIDテーブルの内容が図4のようになっている場合、図7(い)のカウンタがアプリケーションID11番のアプリケーションに使用され、図7(ろ)のカウンタがアプリケーションID51番のアプリケーションによって使用される。例えば、アプリケーションID11番のアプリケーションがコピージョブを実行した場合、図7(は)のカウンタと総数カウント用カウンタがカウントアップされる。同様にプリントジョブを実行した場合は図7(に)のカウンタと総合カウンタが、スキャンジョブを実行した場合は図7(ほ)のカウンタと総合カウンタがカウントアップされる。また、リモートホストからプリントジョブ・スキャンジョブ・コピージョブなどが投入された場合、もしジョブの発行元のアプリケーションIDが既にテーブルに登録されていればアプリケーションIDに対応するカウンタと総数カウント用カウンタがカウントアップされる。ジョブ発行元のアプリケーションIDがテーブルに登録されていない場合にはそのジョブを拒否する。
【0033】
このように、画像形成装置が提供する各機能と、各機能を利用するアプリケーションの組合わせの数だけのカウント値を管理し、また、それぞれのカウント値をアプリケーション毎、各機能ごとに合計してカウントすることが出来る。これにより、アプリケーションごとの課金はもちろんであるが、アプリケーションで画像形成装置の特定の機能を利用した処理を所定動作と呼ぶと、この所定動作ごとに、使用量をカウントすることができる。例えば、特定の画像加工アプリケーションがカウンタ番号6に対応付けられているとすると、この画像加工アプリケーションを用いて所定の画像処理、例えば電子透かしを入れ込んだむなどして、コピーを行った場合はカウンタ番号6に対応するコピー用カウンタがカウントアップされる。これにより、画像加工アプリケーションを用いてコピーを行うという所定動作の使用量を管理することが出来る。もちろん、アプリケーションとしては、画像加工アプリケーションだけではなく、XML文書を加工したり、所定の文書ファイルを加工するためのアプリケーションであってもよい。さらに、画像形成装置が提供する機能は、コピー、プリント、スキャンだけでなく、フィニッシング、製本、パンチ穴あけなどのいわゆる製本処理であってもよい。
【0034】
次に、画像形成装置に既にインストールされてアプリケーションIDがあるカウンタに割り当てられているアプリケーションをアンインストールする際の処理について説明する。図8は複写機100に既にインストールされているアプリケーションをアンインストールする際の処理の流れを示すフローチャートを示す図である。
【0035】
まずステップS801において指定されたアプリケーションが動作中であるかどうかをチェックする。もし動作中であった場合は、何もせずにアンインストール処理を終了する。もし動作中でないならば安全にアンインストールすることができるので、ステップS802へ進む。ステップS802ではアンインストールするアプリケーションに関連付けられたカウンタの情報およびアプリケーション情報を課金サーバ13に送信し、ステップS803に進む。ステップS803では送信した情報を課金サーバ13が正しく受信できたかどうかチェックし、正しく受信されていた場合はステップS804へ進む。正しく受信されていなかった場合には実際にアンインストールを行わずに処理を終了する。ステップS804ではカウンタ番号−アプリケーションIDテーブルを更新し、アンインストールするアプリケーションのアプリケーションIDが割り当てられているカウンタを未使用の状態にする。ステップS805では、アプリケーションを記憶装置6の中から消去してアンインストールを行い、処理を終了する。
【0036】
以上説明したように、本実施例によれば、アプリケーションのインストール時に利用されていないカウンタを動的に割り当て、カウンタアップを行う際にその処理を引き起こしたアプリケーションに対応するカウンタをカウントアップすることにより、アプリケーション毎にコピー・プリント・スキャンのカウント数を管理することが可能となっている。
【0037】
また、アプリケーションのアンインストール時に、そのアプリケーション情報および利用していたカウンタの情報を課金サーバに保存することにより、カウント情報を損なうことなく、自由にアプリケーションのインストール・アンインストールを繰り返すことが可能となっている。
【0038】
なお、本実施形態では、インストール時に既に同じアプリケーションがインストールされている場合、処理を終了するようになっているが、バージョン情報を判定し新しいバージョンであれば自動的にインストールするようにしても良いし、ユーザにインストール処理を継続するかどうか選択させるようにしても良い。
【0039】
また、本実施形態では、アプリケーションインストーラ206は、アプリケーション管理モジュール204上で動作するアプリケーションの一種となっているが、コントローラ202に組み込まれたモジュールであってもよい。
【0040】
また、本実施形態では、コピーカウンタ・プリントカウンタ・スキャンカウンタの3種類のカウンタを用意しているが、これに限られるものではなくカウンタの種類はいくつあっても良いし、同じ機能においても用紙サイズ等によりカウンタをより細かく区分しても構わない。
【0041】
また、本実施形態では、カウンタ1セットにつき1つのアプリケーションを割り当てているが、グループID等を導入して、複数のアプリケーションで一つのカウンタセットを共用するようにしても良い。
【0042】
また、本実施形態では、総数カウント用カウンタ以外のすべてのカウンタを動的に割り当てているが、画像形成装置にあらかじめ搭載されているアプリケーションについては固定的にカウンタを割り当てておいても良い。
【0043】
また、本実施形態では、テーブルに登録されていないアプリケーションIDを持った外部からのジョブは拒否するようにしているが、総数カウント用カウンタのみをカウントアップするなどしてジョブを受け付けるようにしても良い。
【0044】
(第二の実施形態)
次に、本発明にかかる画像形成装置の第二の実施形態について説明する。
【0045】
図1は、第二の実施形態における画像形成装置の構成も示している。この図については第一の実施形態において詳細を説明したためここでは説明を省く。ただし、第二の実施形態においてホストコンピュータ11はアプリケーションが蓄積されているファイルサーバとする。以下、第一の実施形態と特に異なる部分を示す。
【0046】
図9は、第二の実施形態における複写機100のソフトウェアモジュール階層の構成を示す図である。ソフトウェアモジュールはオペレーティングシステム(OS)901を有している。OS901の上には、各種機器制御のためのコントローラモジュール902を有し、その上にプログラムを逐次実行するためのインタプリタモジュール903と汎用カウンタ(後述)を制御するための汎用カウンタ制御アプリケーション・プログラム・インタフェース(以下、汎用カウンタ制御API)904を有する。インタプリタモジュール903と汎用カウンタ制御API904の上には動的に着脱可能なアプリケーション群を管理するためのアプリケーション管理モジュール905を有する。各種機能を実現するアプリケーション906は、このアプリケーション管理モジュール905(使用量管理手段)の管理下で動作する。アプリケーションをインストール・アンインストールするためのアプリケーションであるアプリケーションインストーラ907もアプリケーション管理モジュール905上で動作する。各アプリケーション906はアプリケーション管理モジュール905経由で汎用カウンタ制御API904を利用することが可能である。なお、これらのソフトウェアはコア部10内にあるCPU(図示省略)上で実行される。
【0047】
次に図10、並びに、図11を利用してホストコンピュータ11に蓄積されているアプリケーションを複合機100にインストールする場合の、アプリケーションインストーラ907の処理について説明する。ホストコンピュータにはWebサーバが搭載され、所定のURLが有しているものとする。例えば、本実施形態においては、
「http://www.kaisha.com/appfile」なるURLにアプリケーションが配置されており、複写機の操作部14において、このURLを指定すると、ホストコンピュータ内の上記URLに対応する記憶領域から指定したアプリケーションをダウンロードし、自動的にインストールを開始する。もちろん、操作部14を用いる代わりに、外部のコンピュータ12の操作画面から入力されたURLをネットワークへ送出して、ネットワークインタフェースを介して画像形成装置が受信してコア部10に入力してもよい。
【0048】
図10は、第二の実施形態におけるアプリケーションインストーラのインストール時の画面の例を示す図である。この画面は、アプリケーションインストーラ907のメイン画面(図示省略)においてインストールを指定した場合に、複合機100の操作部14上に表示される。具体的には、テキストフィールド1001にインストールしたいアプリケーション情報が保存されているホストコンピュータ11を示すURLを入力し、1002のOKボタンを押されるのに応答して、アプリケーションインストーラは、ホストコンピュータ11からアプリケーションのダウンロードを開始し、インストール処理を行う。図10の画面でキャンセルボタンを押すことでアプリケーションインストーラメイン画面(図示省略)に戻る。
【0049】
図11は、OKボタン1002が押されてからの処理の流れを示すフローチャートを示す図である。図12は、第二の実施形態におけるカウンタ番号−アプリケーションIDテーブルの例でを示す図である。また、図13は、第二の実施形態におけるアプリケーションインストール時のカウント単位警告ダイアログ画面の例を示す図である。以下、図11乃至図13を用いて、図11に示すフローチャートを説明する。
【0050】
OKボタン1002が押下されると、まず、アプリケーションインストーラ907は、ステップS1101においてテキストフィールド1001で指定された場所にあるアプリケーションの情報を取得する。アプリケーション情報を構成する要素の例を図14に示す。
【0051】
図14は第二の実施形態におけるアプリケーション情報の構成例を示す図である。ここではアプリケーション情報の一例として、ベンダ名、アプリケーションの識別子であるアプリケーションIDとアプリケーション名、バージョン、最終更新日付、使用カウンタ数、カウンタ種別、カウントアップ単位、使用メモリ、プログラムの入手先を示すアーカイブファイルURLが記載されている。
【0052】
図11に説明を戻す。ステップS1101において、アプリケーションインストーラ907は、プログラムの属性情報の好適な一例であるアプリケーション情報を取得することが出来れば、ステップS1102へ進む。もしアプリケーション情報を取得できなかったならば、処理を終了する。本願発明の認識手段の好適な一例であるアプリケーションインストーラ907は、ステップS1102では、アプリケーション情報を取得するのに応答して、アプリケーション情報で指定されている種別のカウンタで未使用のものを判断して認識する処理を行う。もし未使用のカウンタ番号、つまり、新たに追加された、例えば外部のホストコンピュータ11などから複写機100のネットワークインタフェース部(入力部)を介して入力されたプログラムの、使用量を管理することができるカウンタを認識できなければ処理を終了する。
【0053】
一方、S1102で、アプリケーション情報に記述されているすべての種別について未使用カウンタを認識できれば、ステップS1103へ進む。ステップS1103ではアプリケーション情報に基づいて、カウントアップ単位についての確認ダイアログ(図13)を操作部に表示する。例えば、アプリケーション名とこれを一度起動した場合にカウントアップされる使用料金などを表示する。次にステップS1104に進み、ダイアログ(図13)上でどちらのボタンが押されたかを判断する。もし、中止ボタン1301が押されたと判断されたら処理を終了し、続行ボタン1302が押されたと判断されたらステップS1105に進む。ステップS1105ではアプリケーション情報に記述されているアーカイブファイルURLの情報をもとに、プログラムの本体のダウンロードを試みる。ステップS1105においてダウンロードに失敗したら処理を必要に応じてエラー表示を行い処理を終了する。一方、ダウンロードが成功したらステップS1106に進む。ステップS1106では、アプリケーションインストーラ(カウンタ管理手段)は、ステップS1105でダウンロードしたプログラムを記憶装置6に格納し、プログラムを利用できる状態にして、ステップS1107に進む。ステップS1107では、アプリケーションインストーラは、S1102で認識したカウンタ番号とアプリケーション情報に含まれるアプリケーションIDのペアを、カウンタ番号−アプリケーションIDテーブルに追加記憶して更新し、アプリケーション管理モジュール204が必要に応じてアプリケーションインストーラを認識したカウンタの使用量などを初期化し、終了する。なお、未使用カウンタが認識できない、即ち、アプリケーションインストーラは、カウンタが足りない場合には、新規アプリケーションに対応させるためのカウンタを新たに作成し、初期化して用いてもよい。
【0054】
なお、図13において、アプリケーション表示部に追加するアプリケーション名を表示し、このアプリケーションが複写機100の提供する機能である、スキャン機能、コピー機能を利用した場合のカウントアップ情報(例えば、課金情報)をカウントアップ情報表示部1304に表示するので、ユーザは、このアプリケーションの実行に際して、機能を利用させるかに応じたカウントアップ情報を確認した上でアプリケーションをインストールすることが出来る。
【0055】
図12は第二の実施形態におけるカウンタ番号−アプリケーションIDテーブルの例であり、それぞれのカウンタに付与されるカウンタ番号と、アプリケーションの識別子の好適な一例であるアプリケーションID(アプリID)とを対応付けたテーブルが、モノクロプリンタ機能、カラープリンタ機能、モノクロコピー機能、カラーコピー機能、スキャナ機能毎に用意されている様子を示している。なお、画像形成装置が提供する機能はこれらに限定されるものではなく、例えば、ステイプル機能、製本機能など、フィニッシングに関する機能も含み、画像形成装置が提供する機能であって、各機能の使用量(例えば、使用回数、使用時間)を認識できるものであればどのようなものであってもの適用可能である。ここで、0xFFFFFFFFは、カウンタが使用されていない状態であることを示すコードである。この例では、図14のアプリケーション情報を持つアプリケーションが一つだけ画像形成装置にインストールされている状況を示しており、カウンタ番号1のスキャンカウンタとカウンタ番号1の汎用カウンタが、アプリケーションIDが11であるアプリケーションに割り当てられ、その他のカウンタは未使用であることを示している。このようなテーブルを持つことにより、特定のアプリケーションが画像形成装置の機能を利用して所定の動作(例えばスキャン機能の動作、コピー機能の動作、プリント機能の動作、フィニッシング機能の動作など)を引き起こした際に、上記テーブルによって定められたカウンタ番号を有するカウンタをカウントアップさせて、アプリケーション毎の使用量を管理することが出来る。
【0056】
このように、複写機100には、カウンタを用いて前記プログラムごとに使用量を管理するアプリケーション管理モジュール204が備えられている。そして、アプリケーションインストーラ206は、複写機100に前記アプリケーションの属性を示す情報が入力されるのに応答して、追加されるプログラムの識別情報の一例であるアプリケーションIDに対応するアプリケーションの使用量を管理することができるカウンタを認識する。
【0057】
そして、アプリケーション管理モジュールは、前記追加されたプログラムを、アプリケーションインストーラ206が認識したカウンタに対応づけて前記カウンタを管理する。
【0058】
ここで、プログラムを識別するための情報とは、そのプログラムを識別できるすべての情報を含む。例えば、アプリケーションプログラムであれば、アプリケーションID,アプリケーション名、が考えられるが、ファイルの形で提供されるアプリケーションプログラムのモジュールそれ自体は、アプリケーションが格納されたモジュール名・ファイル名などを含む。もちろん、これらのファイル名・モジュール名なども当然プログラムの識別情報の範疇に含まれる。従って、アプリケーション情報と一体となったプログラムモジュール自体を、先に画像形成装置内にネットワークインターフェースを介して入力し、画像形成装置内の記憶装置に記憶するのに応答して、当該プログラムモジュールにカウンタを対応付けるか否かを判断することも考え得る。
【0059】
インストールされたアプリケーションは、第一の実施形態と同様に、ジョブ処理を指示するコマンド群(図5)を実行することにより、リーダ部1・プリンタ部2、フィニッシャ部15等を制御することができ、種々の複写機の提供する機能を実現することが可能となっている。詳細は第一の実施形態において説明したため、ここでは省略する。
【0060】
図15は、第二の実施形態において、アプリケーション管理モジュールにおける、カウントアップが行われる際のカウンタ更新手段における処理の流れを示すフローチャートを示す図である。以下、図15のフローチャートを利用して各カウンタにカウントアップ要求がきた際の処理について説明する。まず、アプリケーション管理モジュールは、ステップS1501において、例えばコア部からカウントアップ要求を受け取り、ステップS1502に進む。ステップS1502では、更新要求元のアプリケーションIDを取得し、ステップS1503に進む。ステップS1503では変数nに0を代入し、ステップS1504に進む。ステップS1504ではテーブルを参照し、n番のカウンタがステップS1502で取得したアプリケーションIDのアプリケーションに割り当てられているかどうかをチェックする。もし、n番のカウンタがステップS1502で取得したアプリケーションIDのアプリケーションに割り当てられていればステップS1505へ進む。
【0061】
ステップS1505では、アプリケーション管理手段は、アプリケーション情報から現在のジョブ種別におけるカウントアップ単位を取得する。つぎにステップS1506に進み、n番のカウンタをステップS1505で取得した単位でカウントアップし、ステップS1509へ進む。ステップS1509では,アプリケーション管理手段は、総数カウント用のカウンタをアプリケーション情報で指定されている単位でカウントアップし、処理を終了する。一方、ステップS1504において、アプリケーション管理手段は、n番カウンタがステップS1502で取得したアプリケーションIDのアプリケーションに割り当てられていないと判定した場合は、ステップS1507に進む。ステップS1507では変数nがアプリケーション用カウンタの総数Nよりも小であるかどうかを判定する。もし、n<NであるならステップS1508でnの値を1つ増やしステップS1504へ戻る。ステップS1507においてn<Nを満たさなかった場合はステップS1509へ進み、総数カウント用カウンタだけをアプリケーション情報で指定されている単位でカウントアップして処理を終了する。
【0062】
図16は、第二の実施形態における複写機が有しているカウンタの例を示す図である。この例では、コピーカウンタ(モノクロ)、スキャンカウンタ、プリントカウンタ(モノクロ)、カラーコピーカウンタ、カラープリントカウンタ、汎用カウンタの6種類のカウンタがあり、そのそれぞれについてトータルカウント数を示す総数カウント用カウンタが1つとアプリケーション別カウンタがN個(カウンタ番号1からN)用意されている。モノクロコピージョブが処理される場合、1枚コピーする度にコピーカウンタがカウントアップされる。なおこの時のカウンタの増分はアプリケーション情報の中で定義された分だけ増やされる。同様に、スキャンカウンタ、プリントカウンタ、カラーコピーカウンタ、カラープリントカウンタは、それぞれスキャンジョブ、モノクロプリントジョブ、カラーコピージョブ、カラープリントジョブが実行されたときに所定動作毎にコントローラによって自動的にカウントアップされる。汎用カウンタについては、アプリケーションが汎用カウンタ制御APIを通じて指示を出すことにより、アプリケーションの都合の良いタイミングでカウントアップすることができる。
【0063】
例えば、図14の状況で、アプリケーションIDが11のアプリケーションによりスキャンジョブが実行された場合、1枚スキャンする毎に図16(い)のカウンタが10ずつ増加していく。また、アプリケーションIDが11のアプリケーションがジョブを発行するたびに汎用カウンタAPIをコールすれば、アプリケーションIDが11のアプリケーションがジョブを発行するたびに図16(ろ)のカウンタが1ずつ増加することになる。
【0064】
図17は、第二の実施形態において、複写機にインストールされているアプリケーションをアンインストールする際の処理の流れを示すフローチャートを示す図である。以下、画像形成装置にインストールされているアプリケーションをアンインストールする際の処理について図17のフローチャートを用いて説明する。アプリケーションインストーラ203は、まずステップS1701において指定されたアプリケーションが動作中であるかどうかをチェックする。もし動作中であった場合は、何もせずにアンインストール処理を終了する。もし動作中でないならば安全にアンインストールすることができるので、ステップS1702へ進む。アプリケーションインストーラ203(認識手段)は、ステップS1702ではアンインストールするアプリケーションに関連付けられたカウンタの情報およびアプリケーション情報を、カウンタ番号−アプリケーションIDテーブルを検索して認識し、画像形成装置内に備えられた不揮発メモリに保存し、ステップS1703に進む。
【0065】
ステップS1703では不揮発メモリに正しく保存されたかどうかをチェックし、正しく保存できていればステップS1704へ進む。正しく保存できなかった場合には、実際にアンインストールを行わずに処理を終了する。アプリケーション管理モジュール204(カウンタ管理手段)は、ステップS1704ではカウンタ番号−アプリケーションIDテーブルを更新し、アンインストールするアプリケーションのアプリケーションIDが割り当てられているカウンタを解放して、未使用の状態にする。次にステップS1705でアプリケーションを記憶装置6の中から消去してアンインストールを行い、処理を終了する。
【0066】
以上説明したように、本実施例によれば、アプリケーションインストール時にカウントアップ情報の警告ダイアログを出すことにより、ユーザは所定動作1回につきのカウントアップ単位を納得した上でアプリケーションをインストールすることが可能になる。また、汎用カウンタをアプリケーションから利用可能にすることによって、アプリケーション毎の使用回数や処理量などを管理することも可能になる。
【0067】
また、アプリケーションのアンインストール時に、そのアプリケーション情報および利用していたカウンタの情報を機器内のメモリに保存することにより、カウント情報を損なうことなく、自由にアプリケーションのインストール・アンインストールを繰り返すことが可能となる。
【0068】
アプリケーション毎、機能毎に設定されたカウンタの上限値により、アプリケーションの所定動作を制限する実施例を、図18と図19を使用して説明する。
【0069】
図18は、第一の実施形態においてカウンタの更新が行われる際のカウンタ更新手段とカウンタ上限管理手段における処理の流れを示すフローチャートを示す図である。尚、図18は図6で示したカウンタ更新手段に上限管理手段を追加したものとなっている。図18のフローチャートを利用して、カウンタの更新が行われる際のカウンタ管理手段とカウンタ上限値管理手段における処理の流れについて説明する。
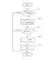
【0070】
まず、ステップS1801において、図1のコア部10からカウンタ更新要求を受け取り、ステップS1802に進む。ステップS1802では、更新要求元のアプリケーションIDを取得し、ステップS1803に進む。ステップS1803では変数nに0を代入し、ステップS1804に進む。ステップS1804ではテーブルを参照しn番のカウンタがステップS1802で取得したアプリケーションIDのアプリケーションに割り当てられているかどうか検査する。もし、n番のカウンタがステップS1802で取得したアプリケーションIDのアプリケーションに割り当てられていればステップS1805へ進む。ステップS1805では現在のジョブ種用のn番カウンタを更新し、ステップS1809へ進む。一方、ステップS1804において、n番カウンタがステップS1802で取得したアプリケーションIDのアプリケーションに割り当てられていないと判定された場合は、ステップS1807に進む。ステップS1807では変数nがアプリケーション用カウンタの総数Nよりも小であるかどうかを判定する。もし、n<NであるならステップS1808でnの値を1つ増やしステップS1804へ戻る。ステップS1807においてn<Nを満たさなかった場合はステップS1806へ進み、ステップS1806において総数カウント用カウンタだけを更新して処理を終了する。
【0071】
ステップS1809では、図19で示されるカウンタ上限値表の現在のジョブ種用のn番上限値を参照し、ステップS1805で更新されたカウンタ値と比較する。比較した結果、カウンタ値が上限値を超えていない場合は、ステップS1806で総数カウンタを更新して処理を終了する。カウンタ値が上限値を超えている場合は、ステップS1810において図1のコア部10に対してジョブの強制終了を指示し、ステップS1810に進む。ステップS1811では、ステップS1802で取得したアプリケーションIDに対応するジョブを発行したアプリケーション(図2の205)に対して、ジョブが強制終了されたことを表すイベントを送付することにより通知し、ステップS1805において総数カウンタを更新して処理を終了する。
【0072】
本実施例ではステップS1810において、ジョブを強制終了しているが、他の実施例としてはジョブを強制終了することなく、単にステップジョブを発行したアプリケーションに対して、カウンタが上限値を超えたことを表すイベントを送付することにより通知するなど、アプリケーションが所定動作を引き起こすようにしても良い。所定動作として、通知を受けたアプリケーションは、それ以降の新規ジョブを発行しないか、あるいは、ユーザに対して、警告の報知、例えば、実行対象となったアプリケーションの使用権が不足している旨の表示、該アプリケーションについての新たに使用権情報の好適な一例であるライセンスファイルのインストールを促すダイアログ画面を複合機100の操作部14に表示、またはこれらの内容をコンピュータに備えられたスピーカ(図示省略)の音声で通知するなどの処理を行うことができるし、同様にダイアログ画面を表示するための表示情報をホストコンピュータやネットワークサーバに送信して、ネットワークサーバ又はホストコンピュータの表示画面に表示するようにしてもよい。
【0073】
図19は、複合機100が有しているカウンタ上限値管理表の例を示す図である。この例では、コピーカウンタ、プリントカウンタ、スキャンカウンタの3種類のカウンタ上限値があり、そのそれぞれについてアプリケーション別カウンタがN個(カウンタ番号1からN)用意されていることを示している。
【0074】
カウンタ番号−アプリケーションIDテーブルの内容が図4のようになっている場合、図19(い)の上限値がアプリケーションID11番のアプリケーションに参照され、図19(ろ)の上限値がアプリケーションID51番のアプリケーションによって参照される。例えば、アプリケーションID11番のアプリケーションがコピージョブを実行した場合、図19(は)の上限値が参照される。同様にプリントジョブを実行した場合は図19(に)の上限値が、スキャンジョブを実行した場合は図7(ほ)の上限値が参照される。また、リモートホストからプリントジョブ・スキャンジョブ・コピージョブなどが投入された場合、もしジョブの発行元のアプリケーションIDが既にテーブルに登録されていればアプリケーションIDに対応する上限値が参照される。図7の説明で示したように、ジョブ発行元のアプリケーションIDがテーブルに登録されていない場合にはそのジョブを拒否されることになっているため、この場合の上限は登録する必要がない。例えば、画像から文字情報を認識し、抽出してASCIIコードなどコード化されたテキスト情報を含むデータを出力するOCRアプリケーションと、OCRアプリケーションと関連付けられたスキャナ機能の組を考えることが出来る。複合機の機能と、この機能に付加価値を付けることのできるアプリケーションの組合せに基づき、使用量の制限や把握、課金などができる。つまり、アプリケーション管理モジュール905は、OCRアプリケーションのプログラムと、複写機100のスキャナ機能との組合せにおいて複合機100を利用できないよう上限値が設定されている場合に、APIを介してコントローラを制御し、複合機100の機能を制限するのである。他に、アプリケーションプログラムと複合機100の機能の組合わせの例としては、高度な画像処理アプリケーションとプリンタ機能、画像処理アプリケーションとスキャナ機能、表計算や文書作成のためのオフィスアプリケーションとプリンタ、ファクシミリ、スキャナなどの組合せが考えられる。
【0075】
このように、画像形成装置が提供する各機能と、各機能を利用するアプリケーションの組合わせの数だけのカウント値および上限値を管理し、また、それぞれのカウント値をアプリケーション毎、各機能ごとに合計してカウントし同時に上限値を管理することが出来る。これにより、アプリケーションの所定動作ごとに、使用量をカウントおよび上限値を管理することができる。
【0076】
例えば、コピーアプリケーションがカウンタ番号6に対応付けられているとすると、このコピーアプリケーションの使用により、カウンタ番号6に対応するコピー用カウンタがカウントアップされ、カウンタ番号6に対応するコピー用上限値によって制限される。上限値の設定が、所定のライセンス管理機構により行われる場合、アプリケーションの使用可能回数をライセンスによって付与することが可能となり、アプリケーションの使用回数に応じた事前課金を行うことが可能となる。尚、画像形成装置が提供する機能は、コピー、プリント、スキャンだけでなく、ファックス送信・受信や、フィニッシング、製本、パンチ穴あけなどのいわゆる製本処理であってもよい。つまり、どのアプリケーションがどの機能を用いるかによって、つまり、所定のアプリケーションと、該アプリケーションによって操作される機能の組ごとに上限値を設けることができる。これにより、該アプリケーションによって所定の機能を制御することを制限したり、またアプリケーションがこれらの機能を制御することに基づいて発行されるジョブの出力を制限したり、強制的に消去したりすることが出来るのである。
【0077】
図20は、ライセンスファイルの内容を示している。ライセンスファイルは図21の処理により、アプリケーション所有権者のホストコンピュータ(図示は省略するが、図27のPC2701同様のハードウェア構成である。)によって生成される。図20において、LicenseFileID属性(ライセンスファイルID属性)は図21の処理により自動付与されるものであり、同じライセンスファイルが2つ以上存在しないように、各ライセンスファイル毎に別々の値が設定されるものである。
【0078】
DeviceSerialNo属性は、当ライセンスファイルがインストール可能な複合機のシリアル番号を表している。シリアル番号はカンマで区切って、複数表すことが可能である。ExpirationDate属性は、当ライセンスファイルのインストール期限を表している。ApplicationID属性は、当ライセンスファイルにより使用権が与えられるアプリケーションのアプリケーションIDを表している。
【0079】
ValidatedPeriod属性は、当ライセンスファイルにより付与される、アプリケーションの使用可能期間の日数を表している。
ApplicationKey属性は、当ライセンスファイルにより使用権が与えら得るアプリケーションに対して正当な所有権をもつことを証明するためのものである。アプリケーションのコードはこの値によって暗号化されており、暗号の複合に成功するとインストールが完了する。インストールが完了した場合、復号に使用した鍵は図24で示されるデータ構造により機器内に保持され、ライセンスファイルの正当性の検証に使用される。
【0080】
MaxCopy属性は、当ライセンスファイルにより使用権が与えられるアプリケーションにおけるコピー動作の最大回数を表している。ここで指定されている値は、図22に示される処理により機器内のカウンタ上限値管理表(図19)の該当する項目に設定される。この他に、プリント動作の最大回数を表すMaxPrint属性およびスキャン動作の最大回数を表すMaxScan属性がライセンスファイル内に設定可能である。
【0081】
AdditionalPrint属性は、当ライセンスファイルにより使用権が与えられるアプリケーションにおけるプリント動作の、動作可能回数の現在値からの増分を表している。ここで指定されている値は、図22に示される処理により機器内のカウンタ上限値管理表(図19)の該当する上限値に対して加算される。AdditinoalScan属性は、当ライセンスファイルにより使用権が与えられるアプリケーションにおけるスキャン動作の、動作可能回数の現在値からの増分を表している。
【0082】
ライセンスファイルにはその他のジョブ種に関わる最大動作可能回数または動作可能回数の増分が含まれている。この他に、コピー動作の動作可能回数の現在地からの増分を表すAdditionalCopy属性がライセンスファイル内に設定可能である。
【0083】
図21は、アプリケーション所有権者のホストコンピュータによってライセンスファイルを生成する処理を示す図である。
【0084】
ステップS2101において、ライセンス情報を入力する。入力するライセンス情報は、図20におけるLicenseFileID属性を除く全てのものである。入力方法としては、あらかじめライセンス情報を含むテキストファイルを用意しておき、ファイルから入力する方法や、コマンドラインのオプション設定により指定する方法などがある。
【0085】
ステップS2102では、ライセンスファイルID属性を生成する。生成されるライセンスファイルが全て異なるライセンスファイルID属性を有するようにするために、このIDはいわゆるUUID(Universal UniqueID)を使用する。UUIDは128ビットのデータ長を有し、生成に使用したホストコンピュータが有するネットワークの物理アドレス(MACアドレス)32ビットと、96ビットで表される時間の2つの情報を元に生成する方法などが考えられる。他にもCRCツールを用いて唯一性のある識別番号を生成し、一元管理することで、これを用いてもよい。
【0086】
ステップS2103では、S2101で入力されたライセンス情報とS2102で生成されたライセンスファイルID属性とをあわせて暗号化する。暗号化は、複合機100が有する秘密鍵に対応する公開鍵を使用したRSA方式などの公開鍵暗号方式により行う。別の実施例としては、複合機100が有する秘密鍵を使用したDESなどの共通鍵暗号方式により暗号化を行っても良い。
【0087】
ステップS2104では、暗号化したライセンス情報をライセンスファイルとして生成し、ファイルシステムに保存して終了する。以上の処理により生成されたライセンスファイルは、前述の通り複合機100に装備されたWebサーバー機能または電子メール機能などによりインストール可能である。
【0088】
図22は、複合機100にインストールされたライセンスファイルを処理し、図19のカウンタ上限値管理表に上限値を設定するための処理を示す図である。図22は、複合機100の上で動作する処理である。ステップS2201において、インストールされたライセンスファイルを復号化する。復号化は複合機100が有する秘密鍵により、公開鍵暗号方式によって行われる。別の実施例としては、複合機100が有する秘密鍵を用いて共通鍵暗号方式により、行っても良い。
【0089】
復号化されたライセンスファイルの内容を、ステップS2202においてインストール期限を検査する。インストール期限の検査は、図20のライセンスファイル内のExpirationDate属性の値を現在の日付と比較することにより行い、現在の日付がExpirationDate属性より後の場合は、インストールをせずに処理を終了する。
【0090】
次にステップS2203において、複合機のシリアル番号の検査を行う。シリアル番号の検査は、図20のライセンスファイル内のDeviceSerialNo属性の値と複合機100の有するシリアル番号を比較することにより行う。DeviceSerialNo属性の中に複合機100の有するシリアル番号が含まれていない場合は、インストールをせずに処理を終了する。
【0091】
次にステップS2204において、既に同じライセンスファイルがインストール済みで無いかどうかを検査する。この検査は、図20のライセンスファイル内のLicenseFileID属性の値と複合機100で保持されているインストール済みのLicenseFileID属性を比較することにより行う。インストール済みのLicenseFileID属性は複合機100の中で、図23に示されるライセンスファイルID表として保持されている。ライセンスファイル内のLicenseFileIDの値がこの表の2301に存在する場合は、既にインストール済みであるとして、インストールをせずに処理を終了する。
【0092】
同じライセンスファイルの2回以上のインストールを許可すると同じライセンスファイルを複数回インストールすることが可能となってしまい、ValidatedPeriod属性で示されるアプリケーションの使用可能期間の延長日数や、AdditionalPrint属性で示されるプリント動作の動作可能回数の増分について、ライセンス使用者がいくらでも増やすことが可能となってしまう。ステップS2204はこれを阻止するための処理である。
【0093】
次にステップS2205において、ライセンスファイルの正当性を検査する。この検査は、図20のライセンスファイル内のApplicationKey属性の値と、アプリケーションが正常にインストールされたときに保持される復号鍵とを比較して行う。インストール済みのアプリケーション鍵は複合機100の中で、図24に示されるアプリケーション鍵表として保持される。この表内の2401の列に、図20のライセンスファイル内のApplicationID属性の値が無い場合、またはあった場合にそれに該当するアプリケーション鍵2402が、ライセンスファイル内のApplicationKey属性の値と一致しない場合は、ライセンスは正当でないものとしてインストールをせずに処理を終了する。
【0094】
次にステップS2206において、有効期限を設定する。有効期限の設定は、図24に示されるアプリケーション鍵表において、ライセンスファイル内のApplicationID属性の一致する列の該当する「期限」の項目(2403)の値を、ライセンスファイル内のValidatedPeriod属性の値で書き換えることにより行う。この書き換えは、既に期限が設定されている場合は、現在の設定日付を読み出しValidatedPeriod属性に設定されている値を足して得られた新たな日付を設定することにより行う。既に期限が設定されていない場合は、現在の日付にValidatedPeriod属性に設定されている値を足して得られた日付を設定する。
【0095】
次にステップS2208において、ApplicationIDに対応する上限値を設定するためのカウンタ番号を特定する。カウンタ番号の特定は、図4のカウンタ番号―アプリケーションIDテーブルを使用して図6におけるステップS603、S604,S607,S608と同じ処理により行う。次に図19のカウンタ上限値管理表に対して特定されたカウンタ番号に該当する行について、図20のライセンスファイル内のMaxCopy属性、AdditionalPrint属性、AdditinoalScan属性の値を設定する。設定する属性がMaxCopy属性の様に上限値(最大回数)設定属性の場合は、属性に設定されている値をそのまま上限値として設定する。AdditionalPrint属性やAdditinoalScan属性の様に増分設定の属性の場合は、現在上限値として設定されている値を取得し、属性に設定されている値を加算して得られた値を、新たな上限値として設定する。
【0096】
最後に、ステップS2209において、ライセンスファイルID属性の値をライセンスファイルの期限と共に、図23で示されるライセンスファイルID表に記録して処理を終了する。ライセンスファイルIDと期限の記録は、ライセンスファイルID表に新たなレコードを追加して行う。
【0097】
このように、周辺装置の好適な一例である複合機において実行可能なプログラム又は該周辺装置の機能の一例であるプリント機能、スキャナ機能などを使用可能な使用量を示す使用権情報を管理する複写機において、使用権情報の一例であるライセンスファイルを識別するためのライセンス識別情報(ライセンスファイルID)と、プログラムの使用権の変化量を示すライセンスファイルとを外部から取得ネットワークインタフェースを介して取得し、既に組み込まれたライセンスファイルに対応するライセンスファイルIDを管理する管理プログラムが複写機内の外部HDに記憶されている。対応するライセンスファイルIDが複写機内に管理されているライセンスファイルIDに含まれるか否かを判断し、ライセンスファイルに対応するライセンスファイルIDが、管理されているライセンスファイルIDに含まれると複写機が判断した場合に、複写機内の管理プログラムが管理してい記プログラムの使用権の変化量を既に組み込まれたプログラムの使用権の変化量として操作する。例えば外部HDに記憶されているライセンス管理プログラムは、ネットワークインタフェースを介して複写機が取得したライセンスファイルの利用可能期間を示すインストール期限情報を管理したり、ライセンスファイルのインストール期限を監査したり、既にインストールされたプログラムコードの暗号化鍵をプログラムの識別するためのアプリケーションIDと共に管理することもできる。さらには、ライセンスファイルは、複写機に対応してユニークに与えられた暗号化鍵で暗号化されているものであり、暗号化されたライセンスファイルを複号する復号プログラムを搭載していてもよい。管理プログラムは、ネットワークボードを介して取得したライセンスファイルの使用権の変化量が使用権の増分を示している場合は、プログラムの使用権の変化量を既に組み込まれたプログラムの使用権を増加させるよう操作し、また、管理プログラムは、ネットワークインタフェースを介して取得したライセンスファイルが示す使用量の変化量が使用権の減少量を示している場合は、前記プログラムの使用権の変化量を既に組み込まれたプログラムの使用権を減少させるよう複写機を制御するよう制御してもよい。また、管理プログラムは、証書情報としてライセンスファイルを管理するものであり、ライセンスファイルは複合機に搭載されたプログラム又は機能を使用可能な量を示す使用権を保証する有価物として取り扱い可能なものであるようにすることも考え得る。ここで、使用権とは、複合機の所定の機能、例えば、ファクシミリ、プリント、コピー、スキャナ、カラー印刷、ステイプル、フォトペーパー、インク、トナー、その他画像形成機能に関連する機能に関する使用権を全て含む。例えば、スキャナであれば、スキャン回数、コピー回数、フォトペーパーであれば、フォトペーパーで印刷可能な枚数、インクであれば使用可能な量を使用権として数値化、記号化して表すことになる。また、プログラムの使用権は、プログラムの実行回数、実行時間などを含む。そして、プログラムとプログラムと組合わせて動作するプログラム、例えば、スキャナ機能とOCRプログラムの組などのように、機能とプログラムの組に対して、回数や時間で使用権を、ライセンスファイル内に設定することも考えられる。
【0098】
図23は複合機100が有しているライセンスファイルID表を示す図である。ライセンスファイルID表は、ライセンスファイルID(2301)とそのインストール期限(2302)とを対とするレコードを複数保持している。新たなレコードは図22で示した処理により追加される。複合機100のコア部10は定期的にライセンスファイルID表を検索し、既にインストール期限が切れているレコードを発見するとそのレコードを削除して再利用可能とする処理を行う。これにより、ライセンスファイルID表が無制限に増大することを防ぐ。
【0099】
なお、本実施例では、インストール期限をライセンスファイルID表に保持することにより、ライセンスファイルIDの増加を防いでいるが、別の実施例ではインストール期限を保持せずに、インストールされたライセンスファイルのライセンスファイルIDを無期限に全て保持するようにしても良い。この場合は、ライセンスファイルID表があらかじめ決められた大きさに達する可能性がある。この可能性を危惧する場合は、ライセンスファイルID表が予め決められた大きさに達したと判断された場合に、新たなライセンスファイルのインストールを阻止又は制限する手段を持てば良い。
【0100】
図24は複合機100が有しているアプリケーション鍵表を示す図である。アプリケーション鍵表は、アプリケーションID(2401)、アプリケーション鍵(2402)およびアプリケーションの有効期限(2403)を組とするレコードを複数保持している。新たなレコードはアプリケーションがインストールされた時に追加される。暗号化されたアプリケーションのインストールに成功した場合に、複合に使用した暗号鍵をアプリケーションIDと共に新たなレコード内に保持する。また、アプリケーションがアンインストールされた場合には、該当するレコードは削除される。
【0101】
以上のように、アプリケーションの動作可能な上限数をライセンスにより管理することにより、ライセンス発行者はアプリケーションの使用量をライセンスにより機器ごとに管理することが可能となる。さらに、ライセンスファイルIDを含むライセンスファイルを管理することにより、ライセンスの2重インストールが阻止され、これによりアプリケーションの動作可能回数を増分として与えることが可能となる。これによりライセンス発行者は、アプリケーションの最大使用量を機器ごとに管理することなく、ライセンスを付与することが可能となる。
【0102】
次に複合機100内に保持されているライセンスを、ライセンスファイルとして機器外部に取り出す実施例を、図25と図26を使用して説明する。ライセンスファイルの取り出し指示は、複合機100にネットワーク経由で接続されている、ホストコンピュータ(11,23,13)または他の複合機(図省略)上で動作しているWebブラウザ上から、複合機100に対して行う。ブラウザ上での表示例を図26に示す。
【0103】
他の実施例としては、複合機100が電子メール送受信機能を有し、複合機100にネットワーク経由で接続されているホストコンピュータや他の複合機から、複合機100に電子メールによる指示を行い、複合機100により生成されたライセンスファイルを添付ファイルとする電子メールを、複合機100が送り返しても良い。
【0104】
また他の実施例としては、複合機100がライセンスファイル生成用のコマンドセットを解釈し、複合機100にネットワーク経由で接続されているホストコンピュータや他の複合機から当コマンドセットを利用してライセンスファイル生成を指示、および取得しても良い。図25は、図26におけるライセンスファイル生成指示を、図26に示すWebページからの指示、あるいは電子メールによる指示、あるいはライセンスファイル生成用コマンドセットによる指示により、複合機100に保持されているライセンスをライセンスファイルとして機器外部に取り出す処理を示す図である。図25の処理は、複合機100の上で動作する。
【0105】
ステップS2501において、生成するライセンスファイルを使用する機器のシリアル番号を取得する。シリアル番号はライセンスファイル取り出し指示に含まれている。ライセンスの払い戻しのために、どのライセンスファイルを生成する機器を含めてどの機器にも使用させないライセンスファイルを生成する場合は、シリアル番号として存在し得ない番号(たとえば1)を使用する。図26で示すWebページの場合は、2602のライセンスファイル払い戻しモードが有効な場合はシリアル番号1を使用し、2603のライセンスファイル転送モードが有効な場合は、2604のテキスト入力に入力されたシリアル番号を使用する。
【0106】
次にステップS2502において、ライセンスファイルを生成するために必要なアプリケーション情報を取得する。必要な情報はApplicationID、ApplicationKeyおよび有効期間である。AppliationIDはライセンスファイル取り出し指示に含まれている。図26で示すWebページの場合は、2601に現在インストールされているアプリケーション名がアプリケーションIDと共にリスト表示されており、この中からライセンスファイルを生成するアプリケーションを選択する。ApplicationIDを取得したのちに、図24のアプリケーション鍵表を参照して、ApplicationIDに該当するApplicationKey(2402)を取得する。また、ApplicationIDに該当する有効期限(2403)を取得し、現在の日付からValidatedPeriodを計算し、有効期限として現在の日付を設定する。もちろん図26のユーザインタフェースは、複合機100への操作パネル(図1の14)に表示してもよい。
【0107】
次にステップS2503において、ApplicationIDに対応するライセンス情報を収集する。まず、ApplicationIDに対応する上限値を設定するためのカウンタ番号を特定する。カウンタ番号の特定は、図4のカウンタ番号―アプリケーションIDテーブルを参照し図6におけるステップS603、S604,S607,S608と同じ処理により行う。カウンタ番号が特定されると、図7のカウンタ表と図19のカウンタ上限値管理表の対応する項目からコピー、プリント、スキャンの現在値および上限値を取得し、両者の差分を取ることにより残された動作可能回数を算出する。算出された動作可能回数は、それぞれAdditionalCopy、AdditionalPrintおよびAdditionalScanの各属性の値として使用する。更に複合機100内の該当アプリケーションのライセンスを無効とするために、図7のカウンタ表の該当カウンタの現在値として、図19カウンタ上下値管理表の該当カウンタの上限値を設定する。
【0108】
次にステップS2504において、ライセンスファイルIDの生成を行う。この生成は図21のステップS2101と同一である。ただし、生成に使用する物理アドレスは、図25の処理が行われている複合機100が有するものを使用する。
【0109】
以上のステップにより、ライセンスファイルを生成するためのライセンス情報が全てそろったので、ステップS2505において、ライセンス情報の暗号化を行う。なおライセンスファイルのインストール有効期限(ExpirationDate)は固定値(例えば現在の日付から1年後)を使用する。暗号化は、転送先の複合機が有する秘密鍵に対応する公開鍵を使用した公開鍵暗号方式により行う。ただし、複合機が全て同じ秘密鍵を有する場合は、秘密鍵として複合機100自身の有する秘密鍵を使用することができる。別の実施例としては、転送先の複合機が有する秘密鍵を使用した共通鍵暗号方式により暗号化を行っても良い。
【0110】
次にステップS2506において、ライセンスファイルの生成をし、ライセンスファイル取り出し指示を行ったものに対してライセンスファイルを送信して、処理を終了する。図26で示すWebページの場合は、新たなWebページ(2607)をブラウザ上に表示し、この上でライセンスファイルを表すアイコン(2608)を表示してユーザにダウンロードを促すことにより、ライセンスファイルの送信を行う。
【0111】
図26は、ライセンスファイル取り出し指示を行うためのWebページの例である。このWebページは複合機100にネットワークで接続されたホストコンピュータ(11)のWebブラウザ上に表示される。2600はライセンスファイル取り出しを支持するためのWebページであり、このページ上において、2601でアプリケーションおよびアプリケーションIDの選択を行う。また2602または2603はライセンスファイルを払い戻しするのか、他の機器に転送するのかを選択する排他的なモードとなっており、他の機器に転送する場合は、2604のテキスト入力領域に、転送先機器のシリアル番号を入力する。
【0112】
全ての設定が完了し、2605のOKボタンを押すと、図25に示した処理が複合機100で動作する。ライセンスファイルが生成されると、2607のWebページが表示され、生成されたライセンスファイルのダウンロードが促される。ライセンスファイルのダウンロードはライセンスファイルを表すアイコン(2608)をクリックして保存することによりおこなう。
【0113】
以上のように、機器内に保持されているライセンス情報をライセンスファイルとして取り出すことを可能とすることにより、他の機器にライセンスを移動させることが可能となり、更にライセンスファイルを有価物として流通させることが可能となる。また、どの機器にもインストールできないライセンスファイルとして取り出して、ライセンス発行者に戻すことにより、ライセンス発行者はアプリケーション使用者がそれ以上ライセンスを使用しないことを確認することが可能となる。次に複数の機器にインストールされているライセンスを、ライセンス使用状況に応じて再配分して自動調整する実施例を図27から図29等を使用して説明する。
【0114】
図27は本実施例が動作するシステム構成を示す図である。
【0115】
図27において、本発明の管理装置の好適な一例であるホストコンピュータ2701と、画像形成装置の一例である複合機1(2702)、複合機2(2703)、およびプリンタ(2704)はネットワークで接続されている。ホストコンピュータ2701と複写機1などは内蔵のネットワークボード(通信制御手段)など備えており、それぞれ機器はのそれぞれのネットワークボードを介して各種データプログラムを送受信する。ここでは、管理装置はホストコンピュー2701自体であると想定しているが、管理装置は、もちろん、複写機2702などに組み込まれたコントローラ一体型装置や、内蔵ボード等であってもよい。
【0116】
以下、本発明に係る情報処理装置の一実施形態としてのホストコンピュータ3000(図27のPC2701に相当する)について説明する。図39は、本実施形態のコンピュータを含むプリンタ制御システムの構成を説明するブロック図である。なお、特に断らない限り、本発明の機能が実行されるのであれば、単体の機器であっても、複数の機器からなるシステムであっても、LAN,WAN等のネットワークを介して接続が為され処理が行われるシステムであっても本発明を適用できることは言うまでもない。図27複写機2702と同様のものであり、ネットワーク3921を介して接続される他の複写機の図示は省略する。
【0117】
図において、3000はホストコンピュータで、ROM3903のプログラム用ROMあるいは外部メモリ3911に記憶された文書処理プログラム等に基づいて図形、イメージ、文字、表(表計算等を含む)等が混在した文書処理を実行するCPU1を備え、システムバス3904に接続される各デバイスをCPU3901が総括的に制御する。外部メモリ3911には、図21、図28、図32、図33、図35、図37に示す処理を実行可能なプログラムが格納され、CPU3901によりRAMに適宜ロードされ、実行される。
【0118】
また、プリンタ側では、例えば、外部メモリ3914に図18、図22、図28、図32、図35、図37等に記載された各処理がプリンタCPU3912により適宜RAM3919に読み出され、実行される。たとえ、プリンタや、複写機2702であっても、サーバやホストコンピュータの機能を実行できるようにしても良いのである。
【0119】
また、このROM3903のプログラム用ROMあるいは外部メモリ3911には、CPU3901の制御プログラムであるオペレーティングシステムプログラム(以下OS)等を記憶し、ROM3903のフォント用ROMあるいは外部メモリ3911には上記文書処理の際に使用するフォントデータ等を記憶し、ROM3903のデータ用ROMあるいは外部メモリ3911には上記文書処理等を行う際に使用する各種データを記憶する。SC3921はスキャナユニット制御部であり、紙を光学系を用いて読み込んで電子データとしてHD3920に格納し、印刷部3917にも出力可能である。
【0120】
3902はRAMで、CPU1の主メモリ、ワークエリア等として機能する。3905はキーボードコントローラ(KBC)で、キーボード3909や不図示のポインティングデバイスからのキー入力を制御する。3906はCRTコントローラ(CRTC)で、CRTディスプレイ(CRT)3910の表示を制御する。3907はディスクコントローラ(DKC)で、ブートプログラム、各種のアプリケーション、フォントデータ、ユーザファイル、編集ファイル、プリンタ制御コマンド生成プログラム(以下プリンタドライバ)等を記憶するハードディスク(HD)、フロッピー(R)ディスク(FD)等の外部メモリ11とのアクセスを制御する。
【0121】
3908はプリンタコントローラ(PRTC)で、所定の双方向性インターフェース3921を介して複写機2702に接続されて、複写機2702との通信制御処理を実行する。なお、CPU3901は、例えばRAM2上に設定された表示情報RAMへのアウトラインフォントの展開(ラスタライズ)処理を実行し、CRT3910上でのWYSIWYGを可能としている。
【0122】
また、CPU3901は、CRT3910上の不図示のマウスカーソル等で指示されたコマンドに基づいて登録された種々のウインドウを開き、種々のデータ処理を実行する。ユーザは印刷を実行する際、印刷の設定に関するウインドウを開き、プリンタの設定や、印刷モードの選択を含むプリンタドライバに対する印刷処理方法の設定を行える。
【0123】
複合機2702において、3912はプリンタCPUで、ROM3913のプログラム用ROMに記憶された制御プログラム等あるいは外部メモリ3914に記憶された制御プログラム等に基づいてシステムバス3915に接続される印刷部(プリンタエンジン)3917に出力情報としての画像信号を出力する。
【0124】
また、このROM3913のプログラムROMには、CPU3912の制御プログラム等を記憶する。ROM3913のフォント用ROMには上記出力情報を生成する際に使用するフォントデータ等を記憶し、ROM3913のデータ用ROMにはハードディスク等の外部メモリ3914がないプリンタの場合には、ホストコンピュータ上で利用される情報等を記憶している。
【0125】
CPU3912は入力部3918を介してホストコンピュータとの通信処理が可能となっており、プリンタ内の情報等をホストコンピュータ3000に通知可能に構成されている。3919はCPU3912の主メモリ、ワークエリア等として機能するRAMで、図示しない増設ポートに接続されるオプションRAMによりメモリ容量を拡張することができるように構成されている。なお、RAM3919は、出力情報展開領域、環境データ格納領域、NVRAM等に用いられる。前述したハードディスク(HD)、ICカード等の外部メモリ14は、メモリコントローラ(MC)3920によりアクセスを制御される。
【0126】
外部メモリ3914は、オプションとして接続され、フォントデータ、エミュレーションプログラム、フォームデータ等を記憶する。また、18は前述した操作パネルで操作のためのスイッチおよびLED表示器等が配されている。また、前述した外部メモリは1個に限らず、少なくとも1個以上備え、内蔵フォントに加えてオプションフォントカード、言語系の異なるプリンタ制御言語を解釈するプログラムを格納した外部メモリを複数接続できるように構成されていてもよい。さらに、図示しないNVRAMを有し、操作パネル1501からのプリンタモード設定情報を記憶するようにしてもよい。
【0127】
図28はライセンスを再配分するための処理を示す図である。この処理は、ホストコンピュータ(2701)上で動作しても良いし、複合機(2702,2703)上またはプリンタ(2704)上で動作していても良い。複合機またはプリンタ上で図28に示す処理が動作する場合は、図27におけるホストコンピュータ(2701)は必要ない。
【0128】
図28で示す処理は、定期的に(例えば1日又は1時間に1回等)、あるいは予め設定された時刻に行われる。
【0129】
まず、ステップS2801において、各機器における、周辺装置が備えたアプリケーションの使用権の残量を示す情報を含むアプリケーション使用状況を取得する。使用状況の取得は、ライセンス使用状況取得用コマンドを機器にネットワークを介して送付し、機器から返信を受け取ることにより行う。ライセンス使用状況取得コマンドを受信した機器は、図7のカウンタ表と図19のカウンタ上限値管理表との差分から、周辺装置が備えたアプリケーションの使用権の残量の好適な一例であるアプリケーションID毎かつジョブ毎の使用可能回数を算出し返信する。各機器から受信した使用可能回数により、図29で示す各機器のライセンス使用状況表をアプリケーションID毎に、図28の処理が行われているホストコンピュータまたは機器内に作成する。
【0130】
ステップS2802からステップS2810までは、ステップS2801で収集されたシステム内に存在する全アプリケーションIDについて、繰り返し行う。
ステップS2803からステップS2805までは、全ジョブ種について繰り返し行い、繰り返し中のステップS2804でジョブ種中に使用可能回数が予め決められた閾値(例えば100)以下になっている機器を選び出し一時記憶する。
【0131】
ステップS2806でステップ2804で選出された機器があるかどうかを検査し、なければステップS2810で現在のアプリケーションIDの処理を終了し、更に検証すべきアプリケーションIDが存在する場合には、ステップS2802から次のアプリケーションIDの処理を行う。S2804で、ジョブ種とは、アプリケーションと動作させる複写機の機能ごとに使用可能回数が予め決められた閾値以下になっている機器を認識してもよいが、機器に関係なく、アプリケーションに対して使用権が設定されている場合は、あるアプリケーションについて、所定の閾値以下の機器を選定するようにホストコンピュータ内のプログラムを設定しても良い。
【0132】
ステップS2806でステップ2804で選出された機器がある場合は、ステップS2807においてライセンスファイルを取り出すための機器を選定する。選定は図29で示すライセンス使用状況表うち使用可能回数が全て0でないジョブ種(すなわち現在のアプリケーションIDで動作するジョブ種)の中から一番左のジョブ種について、使用可能回数を降順にソートし、数が大きい順からステップS2804で選出された機器の数だけ機器を選択することにより行う。これにより最もアプリケーションが使用されていない機器からライセンスを取り出すことになる。
【0133】
このように、ホストコンピュータ3000内の管理プログラムが取得した使用権の残量を示す情報の一例である使用可能回数を示す情報に基づいて、該使用権の残量が所定量より多い周辺装置と使用権の残量が所定量より少ない周辺装置を選定して認識し、認識した使用権の残量が所定量より少ない周辺装置と、使用権の残量が所定量より多い周辺装置との使用権の残量の差が少なくなる様に各周辺装置に使用権を再配分し、前記周辺装置に対して使用権情報(使用権証明書)の好適な一例であるライセンスファイルを分配する。他の実施例としては、予めライセンスを取り出す機器の順番を決めておき、それに従って順次取り出す機器を選定しても良い。さらに、使用権の残量順に並べた複写機のうち、例えば、10台複写機があるのであれば、ホストコンピュータから予め設定した5位以上を使用権の残量が所定量より多い複写機と認識し、5位に満たないものを使用権の残量が所定量より少ない複写機と判断しても良い。さらに、例えば、スキャナ機能を有する複写機がOCRアプリを実行させる際、ユーザAの、スキャナ機能とOCRアプリを実行するライセンスファイルを管理対象が10台であれば10台の複写機から収集する。そして、ライセンスファイル配分後のそれぞれの複写機が有するライセンスファイルが証明する使用権の残量が、管理対象であるすべての複写機に残された使用権の残量の総和が例えば120であれば、複写機全体の台数10で割った量12になるように再配分するようにしてもよい。再配分する単位は、例えばプリンタ機能、スキャナ機能、などの特定の機能を選択しても良いし、あるいは全ての機能ライセンスファイルを再配分するよう設定できるようしてもよい。この際、同時にアプリケーションの使用権を再配分するようにしてもよいし、アプリケーションの使用権は再配分しないように設定出来るようにしても良い。さらに、アプリケーション並びに複写機が備えた機能、例えば、プリンタ、スキャナ、ファクシミリなどの機能の使用権を管理し、アプリケーションの使用権の再配分か、又は、複写機が備えた機能に係る使用権の再配分の、いずれか一方を行うよう前記分配手段を設定する設定できるようにしてもよい。
【0134】
次にステップS2808において、ステップS2807でライセンスファイル収集先として選定されたから現在のアプリケーションIDに関してのライセンスファイルを収集する。ライセンスファイルの収集は、選定された機器に対してアプリケーションIDを指定したライセンスファイル生成用コマンドを送付し、ライセンスファイルを対象機器から受け取ることにより行う。ライセンスファイル生成用コマンドを送付された機器は、図25に示した処理フローによりライセンスファイルを生成する。
【0135】
次にステップS2809において、ステップS2804で選出された機器に対して、ステップS2808で収集したライセンスファイルを順次インストールしていく。ここでは、ホストコンピュータ3000では、図37の一連の処理を行なって、ライセンスDBを更新する。ステップS2810で現在のアプリケーションIDの処理を終了し、更に検証すべきアプリケーションIDが存在する場合には、ステップS2802から次のアプリケーションIDの処理を行い、なければ処理を終了する。
【0136】
図29は、図28のステップS2801にて作成された、システム内の各機器から収集されたアプリケーションIDごとのライセンス使用状況表を示す図である。このライセンス使用状況表は、図28の処理が行われているホストコンピュータまたは機器の中にアプリケーションIDの数だけ生成される。
【0137】
2901はシステム内にある機器のネットワーク名称を表している。2902はシステム内にある機器のネットワークアドレスを表している。2903はシステム内にある各機器に対して、コピージョブ動作が可能な回数を表している。2904はシステム内にある機器のアプリケーションIDに対して、プリントジョブ動作が可能な回数を表している。2905はシステム内にある機器のアプリケーションIDに対して、スキャンジョブ動作が可能な回数を表している。なお、2905は全ての機器のスキャンジョブ動作の可能回数が0となっているが、これはこの表が対応するアプリケーションIDでは、スキャンジョブ動作を行う必要が無いことを表している。
【0138】
以上により、ネットワークシステム内に存在する複数の機器がライセンスによりアプリケーションの動作を制限されている場合、該当アプリケーションの使用量が最も多い機器群に対して、使用量が最も少ない機器群からライセンスを移動させることにより、ネットワークシステム内でのアプリケーションの使用効率を最大化することが可能となる。
【0139】
次に、ライセンスをアプリケーションの使用開始時に動的に機器にダウンロードすることにより、ライセンスを集中管理する実施例を図27および図30から図34までを使用して説明する。
【0140】
図27は本実施例が動作するシステム構成を示す図である。図27において、ホストコンピュータ(2701)と複合機1(2702)、複合機2(2703)、およびプリンタ(2704)はネットワークで接続されている。ホストコンピュータ(2701)はライセンスを集中管理しており、複合機1(2702)、複合機2(2703)、およびプリンタ(2704)は、ユーザがアプリケーションを使用開始する時にホストコンピュータ(2701)に対してライセンスを要求して取得し、ユーザがアプリケーションを使用終了する時に、ホストコンピュータ2701(ホストコンピュータ3000と同等のものである。)に対してライセンスを返却する。
【0141】
図30は、複合機1または複合機2上動作する処理であり、アプリケーションをユーザが図1の操作部14上で使用開始・終了したイベントにより、ライセンスをホストコンピュータに要求する処理を示す図である。
【0142】
操作部14上には図31に示すログイン画面(3106)またはアプリケーション操作画面(3101)が表示されている。図30に示す処理は、ログインダイアログ(3107)が表示されており、ユーザがユーザ名をユーザ名入力領域(3108)に入力し、OKボタン(3109)を押してログインに成功しログインダイアログ(3107)が閉じて予め設定されているアプリケーションが起動される直前、またはアプリケーション操作画面(3101)が表示されており、ユーザが他のアプリケーションに切り替えるためのボタン(3102または3103)を押した直後に、ユーザ名とこれから使用するアプリケーションに対応するアプリケーションIDとをパラメータとして起動される。
【0143】
ステップS3001において、ユーザ名と使用するアプリケーションのアプリケーションID、および図30の処理を実行している機器のシリアル番号をパラメータとして有するライセンスファイル発行要求コマンドをホストコンピュータ(2701)に送付し、ライセンスファイルの発行を要求する。この要求を受けて、ホストコンピュータ(2701)では図32に示す処理を起動する。ステップS3002において、ホストコンピュータ(2701)からのライセンスファイル送付を待機し、返信を受信する。
【0144】
ステップS3003において、受信した返信にライセンスファイルが含まれているかどうかを検査し、エラー返信などでライセンスファイルが含まれていない場合は、ステップS3004においてアプリケーションの使用が出来ないことを表すダイアログを操作部14上に表示して終了する。ステップS3004においては、エラーコードが、ユーザがアプリケーションを使用する権限が無いためにライセンスファイルが発行されないという意味であるかどうかを検証し、権限が無いというエラーコードであった場合は、操作部13に権限が無いことを表すメッセージを表示する。
【0145】
ステップS3003の検査の結果、ライセンスファイルが含まれている場合は、ステップS3005に進み、受信したライセンスファイルをインストールする。ライセンスのインストールは、図22で示した処理フローにより行われる。
【0146】
ライセンスのインストールが終了すると、ステップS3006において、アプリケーションの起動を行い、ユーザにアプリケーションを使用させる。アプリケーション使用中には、図18で示した処理フローが動作し、カウンタの値がライセンスファイルによって与えられた上限値に達した場合には、アプリケーションにジョブが強制終了されたことを通知され、アプリケーションはこれ以上使用できないことを表すダイアログを表示する。
【0147】
ステップS3007において、ユーザのログアウトまたはアプリケーションの切り替えなどによりアプリケーションの終了がされたかどうかを定期的に検査し、アプリケーションが終了された場合は、ステップS3008において、ライセンス返却用ライセンスファイルを生成し、ホストコンピュータ(2701)に対して生成されたライセンスファイルを含むライセンスファイル返却コマンドを送付して処理は終了する。ステップS3008における、ライセンス返却用ライセンスファイルの生成は、図25で示した処理フローにより行われる。ただし暗号化に使用する秘密鍵は転送先のホストコンピュータ(2701)が保有するものを使用する。ステップS3008でホストコンピュータ(2701)に送付されたライセンスファイルは、図33で示される処理フローによりホストコンピュータで処理される。
【0148】
図32は、図30のステップS3001で発行された、機器からのライセンスファイル発行要求コマンドを受けてライセンスファイルを発行するための処理を示す図である。図32の処理は、ホストコンピュータ(2701)上で動作する。
ステップS3201では、図30の要求元の機器のシリアル番号、ユーザ名およびアプリケーションIDをライセンス発行要求コマンドのパラメータ内から取得する。
【0149】
ステップS3202において、図34に示すアプリケーションライセンスデータベースの中からアプリケーションIDが一致するレコードを検索し、その中のユーザ名のリスト(3402)を取得する。ステップS3203において、取得したユーザ名のリストの中に、S3201で取得したユーザ名が存在するかどうか検査する。検査した結果、ユーザ名のリスト中にユーザが無い場合は、ステップS3204でエラーをコマンド送信送信先の機器に返信して処理を終了する。
【0150】
ユーザ名のリスト中にユーザがある場合は、ステップS3205において、ライセンスファイルを生成する。ここでライセンスファイルの生成は、図21で示した処理フローに従って行われるが、ライセンス情報は図34に示すアプリケーションライセンスデータベースから取得する。各ジョブ種の動作可能回数は、動作可能回数の現在値からの増分を表す属性(AdditionalPrint,AdditionalScan,AdditionalCopy属性)として与える。データベース内にある該当アプリケーションの動作可能回数を全てライセンスファイル内に設定し、データベース内の動作可能回数を一時的に0に更新して、他の機器のために同一アプリケーション用のライセンスを発行できなくすることにより、アプリケーションの使用を制限する。
【0151】
ステップS3206において、ライセンスファイルが生成できたかどうかを検査する。アプリケーションライセンスデータベース内で動作可能回数が0になっていた場合や、要求されたアプリケーションIDに対応するレコードが同データベース内に存在していない場合は、ライセンスファイルが生成できないので、ステップS3207においてエラーをコマンド送信送信先の機器に返信して処理を終了する。
【0152】
生成されたライセンスファイルは、ステップS3208において、コマンド送信送信先の機器を認識し、認識した機器に返信して処理を終了する。
【0153】
このように、複写機内のHDに記憶されたプログラムを実行することにより、複写機100における所定の機能又はプログラムの使用可能量を取得し、前記取得手段が取得した使用可能量に基づき、周辺装置において実行可能なプログラム又は該周辺装置の機能を使用可能な使用量を示すライセンスファイルを生成し、ライセンスファイルの転送先を認識し、ライセンスファイルとして外部へ転送する。さらに、ライセンスファイルを識別可能とするためのユニークなライセンスファイルIDを生成し、生成されたライセンスファイルに追加、又は、挿入、又は、書換えを行う。さらに、ライセンスファイルの有効期限を前記ライセンス情報としてライセンスファイルに追加、又は、挿入、又は、ライセンスファイルの書換えなどを行うと好適である。さらに、プログラムの暗号化鍵を取得し、プログラムコードの暗号化鍵をライセンスファイルに追加、又は、挿入、又は、ライセンスファイルの書換えなどを行ってもよい。さらに、プログラムを識別するためのAplicationIDに対応したカウンタ値とカウンタ上限値との差分からプログラム識別情報に対応したプログラムの使用権を示す値を取得し、その値及び定義外の識別情報を暗号化し、暗号化されたライセンスファイルとして外部へ送出し、ライセンスファイルを送出した分に対応する使用権の量に基づき、カウンタ値を更新するようにしてもよい。
【0154】
図33は、図30のステップS3008でホストコンピュータ(2701)に送付されたライセンスファイルを含むライセンス返却用コマンドの処理を示す図である。ホストコンピュータは図24に示すライセンスファイルID表を保持しているものとする。なお、この図は機器から払い戻されたライセンスファイルをデータベースに戻す場合だけでなく、図21の処理により新たに生成されたライセンスファイルを、ホストコンピュータ(2701)にインストールするときにも使用される。
【0155】
ステップS3301において、ライセンスファイル払い戻しコマンドに含まれるライセンスファイルを復号化する。復号化はホストコンピュータ2701が有する秘密鍵により、公開鍵暗号方式によって行われる。別の実施例としては、ホストコンピュータ2701が有する秘密鍵により、共通鍵暗号方式により行っても良い。
【0156】
復号化されたライセンスファイルの内容を、ステップS3302においてインストール期限を検査する。インストール期限の検査は、図20のライセンスファイル内のExpirationDate属性の値を現在の日付と比較することにより行い、現在の日付がExpirationDate属性より後の場合は、インストールをせずに処理を終了する。
【0157】
次にステップS3303において、ホストコンピュータのシリアル番号の検査を行う。シリアル番号の検査は、図20のライセンスファイル内のDeviceSerialNo属性の値とホストコンピュータ(2701)の有するシリアル番号を比較することにより行う。DeviceSerialNo属性の中にホストコンピュータ(2701)の有するシリアル番号が含まれていない場合は、インストールをせずに処理を終了する。
【0158】
次にステップS3304において、既に同じライセンスファイルがインストール済みで無いかどうかを検査する。この検査は、図20のライセンスファイル内の、LicenseFileID属性の値とホストコンピュータ(2701)で保持されているインストール済みのLicenseFileID属性を比較することにより行う。インストール済みのLicenseFileID属性はホストコンピュータ(2701)の中で、図23に示されるライセンスファイルID表として保持されている。ライセンスファイル内のLicenseFileIDの値がこの表の2301に存在する場合は、既にインストール済みであるとして、インストールをせずに処理を終了する。
【0159】
同じライセンスファイルの2回以上のインストールを許可すると同じライセンスファイルを複数回インストールすることが可能となってしまい、ValidatedPeriod属性で示されるアプリケーションの使用可能期間の延長日数や、AdditionalPrint属性で示されるプリント動作の動作可能回数の増分について、ライセンス使用者がいくらでも増やすことが可能となってしまう。ステップS3304はこれを阻止するための処理である。
【0160】
次にステップS3305において、ライセンスファイルの正当性を検査する。この検査は、図20のライセンスファイル内のApplicationKey属性の値と、アプリケーションライセンスデータベース(図34)のアプリケーションキー(3408)の値とを比較することにより行う。この表内の3401の列に、図20のライセンスファイル内のApplicationID属性の値が無い場合、またはあった場合にそれに該当するアプリケーションきー(3408)が、ライセンスファイル内のApplicationKey属性の値と一致しない場合は、ライセンスは正当でないものとしてインストールをせずに処理を終了する。
【0161】
次にステップS3306において、有効期限を設定する。有効期限の設定は、図34に示されるアプリケーションライセンスデータベースにおいて、ライセンスファイル内のApplicationID属性の一致するレコードの該当する項目(3403)の値を、ライセンスファイル内のValidatedPeriod属性の値で書き換えることにより行う。この書き換えは、既に期限が設定されている場合は、現在の設定日付を読み出しValidatedPeriod属性に設定されている値を足して得られた新たな日付を設定することにより行う。既に期限が設定されていない場合は、現在の日付にValidatedPeriod属性に設定されている値を足して得られた日付を設定する。
【0162】
次にステップS3308において、ApplicationIDに対応する上限値を設定する。上限値の設定は図20のライセンスファイル内のMaxCopy属性、AdditionalPrint属性、AdditinoalScan属性の値をアプリケーションライセンスデータベース(図34)のアプリケーションIDの該当するレコードの該当する項目(3405,3406,3407)に設定することにより行う。設定する属性がMaxCopy属性の様に上限値(最大回数)設定属性の場合は、属性に設定されている値をそのまま上限値として設定する。AdditionalPrint属性やAdditinoalScan属性の様に増分設定の属性の場合は、現在上限値として設定されている値を取得し、属性に設定されている値を加算して得られた値を、新たな上限値として設定する。このステップによって図30のステップS3008で機器から戻されたライセンスがデータベースに戻されることになる。
【0163】
最後に、ステップS3309において、ライセンスファイルID属性の値をライセンスファイルの期限と共に、図23で示されるライセンスファイルID表に記録して処理を終了する。ライセンスファイルIDと期限の記録は、ライセンスファイルID表に新たなレコードを追加して行う。
【0164】
図34はホストコンピュータ(2701)が有している、アプリケーションライセンスデータベースを示す図である。このデータベースには図27で示すネットワークシステム内で動作可能なアプリケーションのライセンス情報が集中管理されている。データベースはアプリケーションIDを主キーとするレコードを複数保持し、各レコードはアプリケーションID(3401)、アプリケーションを使用可能なユーザのユーザ名のリスト(3402)、アプリケーションの有効期限(3403)、アプリケーションの動作可能回数(3405,3406,3407)およびアプリケーションの暗号鍵(3408)から構成されている。
【0165】
以上のように、複数の機器により構成されるネットワークシステムにおいて、アプリケーションライセンスをホストコンピュータで集中管理し、ユーザがアプリケーションを使用開始する時にライセンスを付与し、使用終了と共に余ったライセンスを回収することにより、アプリケーションの使用ライセンスをユーザ毎の使用権も含めて、集中管理することが出来る。
【0166】
次に、アプリケーションのライセンスファイルを予め発行したライセンス証書を用いて発行する実施例を図35および図36を使用して説明する。
【0167】
ライセンス証書とはライセンス証書番号(ID)が記述された証書であり、CD−Rなどの記憶媒体に収められたアプリケーションコードと共に、紙の形でパッケージに含まれて使用者に販売される。さらに、ライセンス証書のみをパッケージとして使用者に販売される場合も考えられる。
【0168】
アプリケーション使用者はアプリケーションを使用する機器のシリアル番号とパッケージ内に含まれるライセンス証書番号(ID)を、FAX,郵便、電話、電子メールなど何らかの形でライセンス発行者に伝え、ライセンス発行者はシリアル番号とライセンス証書番号(ID)とからライセンスファイルを生成し、フロッピー(R)ディスク、CD−R等の媒体に保存してアプリケーション使用者に送付する。
【0169】
ライセンス証書番号(ID)は、ライセンス発行者の持つホストコンピュータ内で図36で示すデータベースで管理されている。ライセンス発行者は図36で示すライセンス証書データベースを作成しておく。データベースの作成はマニュアルで行ってもよいし、何らかのツールを使用しても良い。図36において、3601はランダムに生成されたライセンス証書番号(ID)である。2つ以上同じ番号が存在しなければ、任意の番号であってよい。3602はライセンス証書が既に使用者よって使用されているかどうか(ライセンスファイルが発行されているかどうか)を表すライセンス使用状態情報である。3603はアプリケーションIDであり、3604から3607までは、アプリケーションIDに対応するライセンス情報(有効日数、動作可能回数)を表す。ライセンス情報はライセンス発行者が任意に設定する。
【0170】
図35は、アプリケーション使用者からライセンス証書番号(ID)と機器のシリアル番号を伝えられたときに、ライセンスファイルを発行する処理を示す図である。図35の処理は図36のライセンス証書データベースが存在するホストコンピュータ(図は省略するが、ハードウェア構成はPC2701と同様である。)上で動作する。この処理はウィンドウベースまたはコマンドラインベースのユーザインターフェースを有し、ライセンス証書番号(ID)と機器のシリアル番号を入力できるようになっている。
【0171】
ステップS3501において入力されたライセンス証書番号(ID)を取得する。ステップS3502において、ライセンス証書データベース(図36)を検索することにより、入力されたライセンス証書番号(ID)が存在するかどうかを検査する。検査の結果、ライセンス証書番号(ID)が存在していなかった場合は、偽のライセンス証書番号(ID)が送られてきたものとして処理を終了する。ライセンス証書番号(ID)が存在していた場合、ステップS3503において、ライセンス証書は未使用であるかどうか(すでにライセンスファイルが発行されていないかどうか)を検査する。検査は、ライセンス証書データベース(図36)において、該当するライセンス証書番号(ID)のライセンス証書状態(3602)の値を取得することにより行う。ライセンスが使用済みであった場合は、処理を終了する。
【0172】
ライセンスが未使用であった場合は、ステップS3504でライセンス証書データベースの該当するライセンス証書番号(ID)に対応するライセンス情報(有効日数3604、コピーの動作可能回数3605、プリントの動作可能回数3606およびスキャンの動作可能回数3607)を取得する。次にステップS3505で、入力された機器のシリアル番号を取得する。次に今までのステップで得られたライセンス情報により、ステップS3506においてライセンスファイルの生成を行う。ライセンスファイルの生成は図21に示した処理に従って行う。ただしライセンスファイルのインストール期限については、予め決められた固定値(例えば1年)を使用する。得られたライセンスファイルは、ファイルシステムに書き出し、後でライセンス発行者が取り出し可能としておく。次に、ライセンス証書データベースにおいて、該当するライセンス証書番号(ID)に対応するライセンス証書状態(3602)を「使用済み」に設定して、処理を終了する。
【0173】
なお、ライセンスファイルを識別するためのライセンスファイルIDを生成し、プログラムを識別するためのアプリケーションIDと使用可能量および機器の識別情報であるシリアル番号、生成されたライセンスファイルIDを使用権情報に挿入、又は、追加、又は、書き換えて追加すれば好適である。
【0174】
以上により、ライセンス証書データベースを予め構築し、これによって管理されているライセンス証書をパッケージとして流通させることを可能とすることにより、ライセンスファイルのインターネットによる直接購買以外のビジネス形態も可能となる。
【0175】
ライセンスをアプリケーションの使用開始時に動的に機器にダウンロードすることにより、ライセンスを集中管理する例を示す、図32の実施例においては、データベース内にある該当アプリケーションの動作可能回数を全てライセンスファイル内に設定し、データベース内の動作可能回数を一時的に0に更新して、他の機器のために同一アプリケーション用のライセンスを発行できなくすることにより、アプリケーションの使用を制限していた。この処理の他の実施例としては、予め決められた最大動作回数(例えば100)のみをライセンスファイルに設定し、この分をデータベース内の動作可能回数から引くことによりデータベースを一時的に更新しても良い。
【0176】
また他の実施例としては、アプリケーションの同時使用可能ユーザ数をアプリケーションのライセンス情報として設定し、これに従ったライセンスを生成しても良い。
この場合の実施例を、図37および図38を使用して説明する。
【0177】
図37は、図30のステップS3001で発行された、機器からのライセンスファイル発行要求コマンドを受けてライセンスファイルを発行するための処理を示す図である。図32の処理は、ホストコンピュータ(2701)上で動作する。
【0178】
ステップS3701では、図30の要求元の機器のシリアル番号、ユーザ名およびアプリケーションIDをライセンス発行要求コマンドのパラメータ内から取得する。
【0179】
ステップS3702において、図38に示すアプリケーションライセンスデータベースの中からアプリケーションIDが一致するレコードを検索し、その中の最大ユーザ数(3803)と現在アプリケーション使用中のユーザ数(3804)の差分から、アプリケーションを使用可能なユーザ数を算出する。
【0180】
ステップS3203において、アプリケーションを使用可能なユーザ数が0で無いかどうかを検査し、使用可能なユーザ数が0の場合は、ステップS3704でエラーをコマンド送信送信先の機器に返信して処理を終了する。
【0181】
使用可能なユーザ数が0でない場合は、ステップS3705において、ジョブ種毎の動作可能回数を使用可能なユーザ数で割る。
【0182】
ステップS3706において、ステップS3705において得られた商、および図34アプリケーションライセンスデータベースからライセンスファイルを図21で示した処理フローに従って生成する。ステップS3707において、ライセンスファイルが生成できたかどうかを検査する。アプリケーションライセンスデータベース内で動作可能回数が0になっていた場合や、要求されたアプリケーションIDに対応するレコードが同データベース内に存在していない場合は、ライセンスファイルが生成できないので、ステップS3710においてエラーをコマンド送信送信先の機器に返信して処理を終了する。
【0183】
ライセンスファイルが生成できた場合は、ステップS3708においてアプリケーションライセンスデータベースの更新を行う。更新は、アプリケーションIDが一致するレコードにおいて、現在使用中のユーザ数(3804)を1増やすこと、および、アプリケーションの動作可能回数(3805、3806、3807)から、ステップS3706で生成したライセンスファイル内に設定したアプリケーションの動作可能回数を差し引くことにより行う。
【0184】
最後にステップS3709において、コマンド送信送信先の機器に返信して処理を終了する。
【0185】
なお、図28のS2809で、図37の処理を行う。ライセンスファイルに含まれる使用権に係るユーザIDとアプリケーション、使用権の増分値を認識し、S3701で入力され、上述の処理が開始される。
【0186】
図38はホストコンピュータ(2701)が有している、アプリケーションライセンスデータベースを示す図である。このデータベースには図27で示すネットワークシステム内で動作可能なアプリケーションのライセンス情報が集中管理されている。データベースはアプリケーションIDを主キーとするレコードを複数保持し、各レコードはアプリケーションID(3801)、アプリケーションの有効期限(3402)、アプリケーションを使用可能な最大ユーザ数(3803)、アプリケーションを現在使用しているユーザ数(3804)、アプリケーションの動作可能回数(3405,3406,3407)およびアプリケーションの暗号鍵(3408)から構成されている。
【0187】
アプリケーションを使用可能な最大ユーザ数(3803)は、ライセンスファイル(図20)のMaxNoOfUsers属性により与えられ、ホストコンピュータ(2701)上で行われる図22の処理フローによりアプリケーションデータベース図38に設定される。
【0188】
インターネットの利用が困難な環境においては、何らかの方法でライセンスファイル生成に必要な多くの情報をライセンス発行者に知らせてライセンスファイルを取得しなければならないという問題があったが、本実施形態によれば、あらかじめライセンスファイル生成に必要な情報をデータベースに登録しておき、これらに識別子をつけることにより、ユーザは最低限の情報をライセンス発行者に電話や手紙など電子的な方法によらなくても容易に伝達できるようにすることにより、あらゆる環境でライセンスファイルの取得を可能となる。
【0189】
(他の実施形態)
本願図面及び明細書中に示した各処理が、外部からインストールされるプログラムによって、情報処理装置、画像形成装置によって遂行される。そして、その場合、CD−ROMやフラッシュメモリやFD等の記憶媒体により、あるいはネットワークを介して外部の記憶媒体から、プログラムを含む情報群を各情報処理装置、画像形成装置に供給される場合でも本発明は適用されるものである。
【0190】
以上のように、前述した実施形態の機能を実現するソフトウェアのプログラムコードを記録した記憶媒体を、システムあるいは装置に供給し、そのシステムあるいは装置のコンピュータ(またはCPUやMPU)が記憶媒体に格納されたプログラムコードを読出し実行することによっても、本発明の目的が達成されることは言うまでもない。
【0191】
この場合、記憶媒体から読み出されたプログラムコード自体が本実施形態の新規な機能を実現することになり、そのプログラムコードを記憶した記憶媒体は本実施形態を構成することになる。プログラムコードを供給するための記憶媒体としては、たとえば、フロッピィーディスク、ハードディスク、光ディスク、光磁気ディスク、DVD、CD−ROM、磁気テープ、不揮発性のメモリカード、ROM、EEPROM等を用いることができる。
【0192】
また、コンピュータが読み出したプログラムコードを実行することにより、前述した実施形態の機能が実現されるだけでなく、そのプログラムコードの指示に基づき、コンピュータ上で稼働しているOS(オペレーティングシステム)等が実際の処理の一部または全部を行い、その処理によって前述した実施形態の機能が実現される場合も含まれることは言うまでもない。さらに、記憶媒体から読み出されたプログラムコードが、コンピュータに挿入された機能拡張ボードやコンピュータに接続された機能拡張ユニットに備わるメモリに書き込まれた後、そのプログラムコードの指示に基づき、その機能拡張ボードや機能拡張ユニットに備わるCPU等が実際の処理の一部または全部を行い、その処理によって前述した実施形態の機能が実現される場合も含まれることは言うまでもない。
【0193】
本願発明の各実施形態によれば、画像形成装置上に複数のカウンタを用意し、アプリケーションとカウンタとの対応付けをアプリケーションのインストール時に動的に行い、アプリケーションのインストール時に未使用カウンタを動的に割り当てることができる。そして、アンインストール時にカウンタを解放することにより、アプリケーションの追加・削除が行われるような状況下においてもアプリケーション毎のカウント情報を適切に管理することが可能となる。また、これにより、画像形成装置上アプリケーションを開発したアプリケーションベンダに対して、アプリケーションの使用量に応じた課金を適切に分配することも可能になる。
【0194】
また、画像形成装置が提供するそれぞれのプログラムが提供する各処理について、カウント情報を個別に管理できるようにし、各プログラムの使用量を容易に管理できるような画像形成装置を提供することができる。
【0195】
さらに、画像形成装置が提供するそれぞれのプログラムが削除されるのに応じて、カウンタを解放するようにカウンタを管理するので、不必要なカウンタの増加を防ぎ、現在画像形成装置において実際に使用されている各プログラムの使用量を容易に管理できるような画像形成装置を提供することができる。
【0196】
さらに、画像形成装置が提供するそれぞれのプログラムの属性情報が追加されるに応じて、カウンタを解放するようにカウンタを管理するので、プログラムを確実にカウンタに対応付け、テーブルとして管理するので、現在画像形成装置において現に使用されている各プログラムの使用量を確実に取得・表示して管理できるような画像形成装置を提供することができる。
【0197】
さらに、各プログラムが利用する画像形成装置の機能ごとに使用量を管理するので、アプリケーションと、アプリケーションが提供する処理と複写機が提供する機能のよって付加された価値に応じて課金、又は、使用量管理ができるようになる。
【0198】
【発明の効果】
本発明の一つの実施形態によれば、アプリケーション又は周辺装置の機能の正当な使用権の権利保有者のみが正規の使用権情報を発行可能となる。
【0199】
また、本発明の別の実施形態によれば、有価証券・証書のような性質を持つ、機器にインストールしたアプリケーションの使用権情報を、機器の故障や交換などにより、他の機器に移動できる。また、別の側面によれば、一旦機器にインストールしたアプリケーションの使用権を、アプリケーションの使用中止の場合などに、アプリケーションの権利保有者に返却できる。
【0200】
さらに、本発明の別の実施形態によれば、画像形成装置内にインストールされたアプリケーションの動作可能回数を、使用権情報として装置外に取り出し可能な周辺装置を提供することができる。
【図面の簡単な説明】
【図1】第一の実施形態に係るシステム全体を示す構成図である。
【図2】第一の実施形態における複写機のソフトウェアモジュール階層の好適な一例を示す図である。
【図3】第一の実施形態における図1に示す複合機にアプリケーションがインストールされる際の処理の流れを示すフローチャートを示す図である。
【図4】第一の実施形態におけるカウンタ番号−アプリケーションIDテーブルの例を示す図である。
【図5】ジョブ処理を指示するコマンド群の一例を示す図である。
【図6】第一の実施形態においてカウンタの更新が行われる際のカウンタ更新手段における処理の流れを示すフローチャートを示す図である。
【図7】第一の実施形態における複合機が有しているカウンタの例を示す図である。
【図8】第一の実施形態において、複写機に既にインストールされているアプリケーションをアンインストールする際の処理の流れを示すフローチャートを示す図である。
【図9】第二の実施形態における複写機のソフトウェアモジュール階層の構成を示した図である。
【図10】第二の実施形態におけるアプリケーションインストーラのインストール時の画面の例を示す図である。
【図11】第二の実施形態において、図10のOKボタンが押されてからの処理の流れを示す不フローチャートを示す図である。
【図12】第二の実施形態におけるカウンタ番号−アプリケーションIDテーブルの例でを示す図である。
【図13】第二の実施形態におけるアプリケーションインストール時のカウント単位警告ダイアログ画面の一例を示す図である。
【図14】第二の実施形態におけるアプリケーション情報の構成例を示す図である。
【図15】第二の実施形態において、カウントアップが行われる際のカウンタ更新手段における処理の流れを示すフローチャートを示す図である。
【図16】第二の実施形態における複写機が有しているカウンタの例を示す図である。
【図17】第二の実施形態において、複写機にインストールされているアプリケーションをアンインストールする際の処理の流れを示すフローチャートを示す図である。
【図18】アプリケーションごとのカウンタ更新手段とアプリケーションカウンタ上限管理手段における処理を示す図である。
【図19】カウンタ上限値管理表を示す図である。
【図20】ラインセンスファイルの内容を示す図である。
【図21】ライセンスファイル生成処理を示す図である。
【図22】ライセンスファイル処理を示す図である。
【図23】ライセンスファイルID表を示す図である。
【図24】アプリケーション鍵表を示す図である。
【図25】アプリケーションの取り出し処理を示す図である。
【図26】ライセンスファイル取り出し用ウェブページを示す図である。
【図27】ライセンス自動配分またはライセンス集中管理の動作システム構成を示す図である。
【図28】ライセンス自動配分処理を示す図である。
【図29】ライセンス使用状況表を示す図である。
【図30】ライセンス自動配分のための機器側のライセンス要求処理を示す図である。
【図31】アプリケーション画面・ログイン画面例を示す図である。
【図32】ライセンス自動配分のためのホスト側のライセンス発行処理を示す図である。
【図33】ライセンス自動配分のための機器側のライセンス返却処理を示す図である。
【図34】使用可能ユーザ数を制限した、アプリケーションライセンスデータベースを示す図である。
【図35】ライセンス証書番号処理を示す図である。
【図36】ライセンス証書データベースを示す図である。
【図37】使用可能ユーザ数を制限した、ライセンス自動配分のためのホスト側のライセンス発行処理を示す図である。
【図38】 本実施形態のコンピュータを含むプリンタ制御システムの構成を説明するブロック図である。
【図39】本実施形態のコンピュータを含むプリンタ制御システムの構成を説明するブロック図である。
【符号の説明】
1 リーダ部
2 プリンタ部
3 画像入出力制御部
4 ファクシミリ部
5 ファイル部
6 記憶装置
7 ネットワークインタフェース部
8 フォーマッタ部
9 画像メモリ部
10 コア部
11 ホストコンピュータ
12 ネットワークサーバ
13 課金サーバ
14 操作部
15 フィニッシャ部
100 複合機
201 オペレーティングシステム
202 コントローラ
203 インタプリタ
204 アプリケーション管理
205 アプリケーションプログラム
206 アプリケーションインストーラ
501 ジョブ投入開始コマンド
502 ジョブ属性設定コマンド
503 ジョブデータ送信コマンド
504 ジョブ投入完了コマンド
511 モード
512 付加情報
901 オペレーティングシステム
902 コントローラ
903 インタプリタ
904 カウンタAPI
905 アプリケーション管理プログラム
906 アプリケーション
907 アプリケーションインストーラ
1001 URL入力部
1002 OKボタン
1301 中止ボタン
1302 続行ボタン
1303 アプリケーション名表示部
1304 カウントアップ情報表示部
Claims (12)
- プログラム又は機能を所定量使用するライセンスが設定された周辺装置において、
プログラム又は機能を所定量使用するライセンスが設定された前記周辺装置とは別の周辺装置であって尚且つライセンスを管理するための使用権情報を転送すべき周辺装置である転送先周辺装置を識別するための、デバイス識別情報を入力する入力手段と、前記周辺装置に対して設定されたライセンスの下で所定の機能又はプログラムを使用可能な量を示す使用可能量を取得する取得手段と、
前記取得手段が取得した使用可能量と、前記入力手段が入力したデバイス識別情報に基づき、前記転送先周辺装置におけるプログラム又は周辺装置の機能を前記使用可能量の分だけ使用可能とするライセンスが設定された使用権情報を生成する生成手段と、前記周辺装置におけるプログラム又は機能のライセンスを無効化する手段と、前記生成手段により生成された使用権情報を前記デバイス識別情報に対応する前記転送先周辺装置へ転送する転送手段とを有することを特徴とする周辺装置。 - 使用権情報を識別するためのユニークなライセンス識別情報を生成する識別情報生成手段を備え、
前記識別情報生成手段により生成されたライセンス識別情報を含む使用権情報を前記生成手段は生成することを特徴とする、請求項1に記載の周辺装置。 - 前記変更手段は、有効期限を含む前記使用権情報を前記生成手段は生成することを特徴とする、請求項1又は2に記載の周辺装置。
- プログラムの暗号化鍵を取得する鍵取得手段をさらに備え、前記生成手段は、プログラムコードの暗号化鍵を含む使用権情報を生成することを特徴とする、請求項1乃至3のいずれか1項に記載の周辺装置。
- プログラムを識別するためのプログラム識別情報に対応したカウンタ値とそのカウンタのカウンタ上限値との差分からプログラム識別情報に対応したプログラムの使用権情報に対して設定するべき値を取得する手段と、
当該取得された値が設定された使用権情報を暗号化する暗号化手段とをさらに備え、前記暗号化手段により暗号化された使用権情報を転送先周辺装置へ前記転送手段は転送する請求項1に記載の周辺装置。 - 使用権情報を無効化するか、使用権情報を所定の転送先周辺装置へ転送するかを指示する画面を表示させる表示情報を出力する出力手段をさらに備え、前記画面で使用権情報を転送することが指示された場合は、転送先周辺装置のデバイス識別情報を入力するための表示を表示させる情報を前記出力手段は出力する一方、前記画面で使用権情報を無効化することが指示された場合は、転送先周辺装置のデバイス識別情報を入力するための表示を表示させる情報を前記出力手段は出力せずに使用権情報を無効化することを特徴とする請求項1に記載の周辺装置。
- プログラム又は機能を所定量使用するライセンスが設定された周辺装置の制御方法おいて、
プログラム又は機能を所定量使用するライセンスが設定された前記周辺装置とは別の周辺装置であって尚且つライセンスを管理するための使用権情報を転送すべき周辺装置である転送先周辺装置を識別するための、デバイス識別情報を入力する入力工程と、前記周辺装置に対して設定されたライセンスの下で所定の機能又はプログラムを使用可能な量を示す使用可能量を取得する取得工程と、
前記取得工程が取得した使用可能量と、前記入力工程が入力したデバイス識別情報に基づき、前記転送先周辺装置におけるプログラム又は周辺装置の機能を前記使用可能量の分だけ使用可能とするライセンスが設定された使用権情報を生成する生成工程と、
前記周辺装置におけるプログラム又は機能のライセンスを無効化する工程と、前記生成工程により生成された使用権情報を前記デバイス識別情報に対応する前記転送先周辺装置へ転送する転送工程とを有することを特徴とする周辺装置の制御方法。 - 使用権情報を識別するためのユニークなライセンス識別情報を生成する識別情報生成工程を備え、
前記識別情報生成工程により生成されたライセンス識別情報を含む使用権情報を前記生成工程は生成することを特徴とする、請求項7に記載の周辺装置の制御方法。 - 前記変更工程は、有効期限を含む前記使用権情報を前記生成工程は生成することを特徴とする、請求項7又は8に記載の周辺装置の制御方法。
- プログラムの暗号化鍵を取得する鍵取得工程をさらに備え、前記生成工程は、プログラムコードの暗号化鍵を含む使用権情報を生成することを特徴とする、請求項7乃至9のいずれかに記載の周辺装置の制御方法。
- プログラムを識別するためのプログラム識別情報に対応したカウンタ値とそのカウンタのカウンタ上限値との差分からプログラム識別情報に対応したプログラムの使用権情報に対して設定するべき値を取得する工程と、
当該取得された値が設定された使用権情報を暗号化する暗号化工程とをさらに備え、前記暗号化工程により暗号化された使用権情報を転送先周辺装置へ前記転送工程は転送する請求項7に記載の周辺装置の制御方法。 - 使用権情報を無効化するか、使用権情報を所定の転送先周辺装置へ転送するかを指示する画面を表示させる表示情報を出力する出力工程をさらに備え、前記画面で使用権情報を転送することが指示された場合は、転送先周辺装置のデバイス識別情報を入力するための表示を表示させる情報を前記出力工程は出力する一方、前記画面で使用権情報を無効化することが指示された場合は、転送先周辺装置のデバイス識別情報を入力するための表示を表示させる情報を前記出力工程は出力せずに使用権情報を無効化することを特徴とする請求項7に記載の周辺装置の制御方法。
Priority Applications (8)
| Application Number | Priority Date | Filing Date | Title |
|---|---|---|---|
| JP2002300409A JP4217455B2 (ja) | 2002-10-15 | 2002-10-15 | 周辺装置、情報処理方法、および制御プログラム |
| PCT/JP2003/012772 WO2004036409A1 (en) | 2002-10-15 | 2003-10-06 | Peripheral device, information processing method, and control program |
| US10/527,909 US8175978B2 (en) | 2002-10-15 | 2003-10-06 | Managing the allowed usage amount of a program using license information |
| CNB2007100921266A CN100514346C (zh) | 2002-10-15 | 2003-10-06 | 外围设备和信息处理方法 |
| KR1020057006415A KR100811312B1 (ko) | 2002-10-15 | 2003-10-06 | 주변 장치, 정보 처리 방법 및 제어 프로그램 |
| AU2003267825A AU2003267825A1 (en) | 2002-10-15 | 2003-10-06 | Peripheral device, information processing method, and control program |
| EP03748722A EP1552379A4 (en) | 2002-10-15 | 2003-10-06 | PERIPHERAL RULES, INFORMATION PROCESSING AND TAX PROGRAM |
| CNB2003801013723A CN1318951C (zh) | 2002-10-15 | 2003-10-06 | 外围设备和信息处理方法 |
Applications Claiming Priority (1)
| Application Number | Priority Date | Filing Date | Title |
|---|---|---|---|
| JP2002300409A JP4217455B2 (ja) | 2002-10-15 | 2002-10-15 | 周辺装置、情報処理方法、および制御プログラム |
Related Child Applications (1)
| Application Number | Title | Priority Date | Filing Date |
|---|---|---|---|
| JP2008209830A Division JP4777403B2 (ja) | 2008-08-18 | 2008-08-18 | 周辺装置、情報処理方法、および制御プログラム |
Publications (3)
| Publication Number | Publication Date |
|---|---|
| JP2004139149A JP2004139149A (ja) | 2004-05-13 |
| JP2004139149A5 JP2004139149A5 (ja) | 2007-03-01 |
| JP4217455B2 true JP4217455B2 (ja) | 2009-02-04 |
Family
ID=32104983
Family Applications (1)
| Application Number | Title | Priority Date | Filing Date |
|---|---|---|---|
| JP2002300409A Expired - Fee Related JP4217455B2 (ja) | 2002-10-15 | 2002-10-15 | 周辺装置、情報処理方法、および制御プログラム |
Country Status (7)
| Country | Link |
|---|---|
| US (1) | US8175978B2 (ja) |
| EP (1) | EP1552379A4 (ja) |
| JP (1) | JP4217455B2 (ja) |
| KR (1) | KR100811312B1 (ja) |
| CN (2) | CN1318951C (ja) |
| AU (1) | AU2003267825A1 (ja) |
| WO (1) | WO2004036409A1 (ja) |
Families Citing this family (114)
| Publication number | Priority date | Publication date | Assignee | Title |
|---|---|---|---|---|
| US7885896B2 (en) | 2002-07-09 | 2011-02-08 | Avaya Inc. | Method for authorizing a substitute software license server |
| US8041642B2 (en) | 2002-07-10 | 2011-10-18 | Avaya Inc. | Predictive software license balancing |
| US7681245B2 (en) * | 2002-08-30 | 2010-03-16 | Avaya Inc. | Remote feature activator feature extraction |
| US7966520B2 (en) * | 2002-08-30 | 2011-06-21 | Avaya Inc. | Software licensing for spare processors |
| US7890997B2 (en) * | 2002-12-26 | 2011-02-15 | Avaya Inc. | Remote feature activation authentication file system |
| US7260557B2 (en) * | 2003-02-27 | 2007-08-21 | Avaya Technology Corp. | Method and apparatus for license distribution |
| US7529754B2 (en) | 2003-03-14 | 2009-05-05 | Websense, Inc. | System and method of monitoring and controlling application files |
| US7185015B2 (en) | 2003-03-14 | 2007-02-27 | Websense, Inc. | System and method of monitoring and controlling application files |
| FR2865337B1 (fr) * | 2004-01-15 | 2006-05-05 | Thomson Licensing Sa | Systeme et procede de securite pour coupe-feu et produit associe |
| JP2005234814A (ja) * | 2004-02-18 | 2005-09-02 | Fujitsu Ltd | プログラム、プログラム構築方法、記憶媒体、プログラム構築システム、端末装置 |
| WO2005098631A1 (ja) * | 2004-03-31 | 2005-10-20 | Matsushita Electric Industrial Co., Ltd. | 受信装置、送出装置、セキュリティモジュール、及びデジタル権利管理システム |
| JP4420446B2 (ja) * | 2004-06-11 | 2010-02-24 | キヤノン株式会社 | 情報処理装置及びその制御方法 |
| US7860239B2 (en) * | 2004-07-07 | 2010-12-28 | International Business Machines Corporation | Method and apparatus for metering usage of software products using multiple signatures |
| GB2416879B (en) | 2004-08-07 | 2007-04-04 | Surfcontrol Plc | Device resource access filtering system and method |
| JP2006059163A (ja) * | 2004-08-20 | 2006-03-02 | Fujitsu Support & Service Kk | ライセンス管理システム、ライセンス管理プログラム、およびライセンス管理方法 |
| JP2006059164A (ja) * | 2004-08-20 | 2006-03-02 | Fujitsu Support & Service Kk | ライセンス管理端末、ライセンス管理システム、ライセンス管理プログラム、およびライセンス管理方法 |
| GB2418108B (en) * | 2004-09-09 | 2007-06-27 | Surfcontrol Plc | System, method and apparatus for use in monitoring or controlling internet access |
| GB2418037B (en) * | 2004-09-09 | 2007-02-28 | Surfcontrol Plc | System, method and apparatus for use in monitoring or controlling internet access |
| JP4827467B2 (ja) * | 2004-09-10 | 2011-11-30 | キヤノン株式会社 | ライセンス転送システム及びライセンス情報発行サーバ |
| EP1793583A4 (en) * | 2004-09-16 | 2007-09-26 | Fujitsu Ltd | IMAGE REPLICATION CONTROL DEVICE, IMAGE REPLICATION CONTROL METHOD, PICTURE GENERATING DEVICE, PICTURE PRODUCTION PROCESS, PROGRAM AND IMAGE REPLICATING DEVICE |
| US7707405B1 (en) | 2004-09-21 | 2010-04-27 | Avaya Inc. | Secure installation activation |
| US8229858B1 (en) | 2004-09-30 | 2012-07-24 | Avaya Inc. | Generation of enterprise-wide licenses in a customer environment |
| US7747851B1 (en) * | 2004-09-30 | 2010-06-29 | Avaya Inc. | Certificate distribution via license files |
| US20060112019A1 (en) * | 2004-10-25 | 2006-05-25 | Roberts Henry J Jr | System and method of authenticating licensed computer programs |
| EP1815307A1 (en) * | 2004-11-11 | 2007-08-08 | Koninklijke Philips Electronics N.V. | Method and device for handling digital licenses |
| US8073774B2 (en) * | 2005-06-06 | 2011-12-06 | Sms.Ac, Inc. | Billing system and method for micro-transactions |
| GB0512744D0 (en) * | 2005-06-22 | 2005-07-27 | Blackspider Technologies | Method and system for filtering electronic messages |
| JP2007011082A (ja) * | 2005-06-30 | 2007-01-18 | Toshiba Corp | 画像形成装置および画像形成装置の管理方法 |
| JP4305428B2 (ja) * | 2005-08-04 | 2009-07-29 | コニカミノルタビジネステクノロジーズ株式会社 | デバイス管理用プログラム及びデバイス管理装置 |
| US10733308B2 (en) * | 2005-08-17 | 2020-08-04 | Cambium Learning, Inc. | Tags for unlocking digital content |
| EP1922883A2 (en) * | 2005-09-07 | 2008-05-21 | SMS. AC, Inc. | Automated billing and distribution platform for application providers |
| US7814023B1 (en) | 2005-09-08 | 2010-10-12 | Avaya Inc. | Secure download manager |
| US8239857B2 (en) * | 2005-12-08 | 2012-08-07 | Canon Kabushiki Kaisha | Information processing apparatus and method of installing application program |
| US7788181B2 (en) * | 2005-12-27 | 2010-08-31 | Microsoft Corporation | Software licensing using certificate issued by authorized authority |
| US8453243B2 (en) | 2005-12-28 | 2013-05-28 | Websense, Inc. | Real time lockdown |
| JP4742873B2 (ja) * | 2006-01-14 | 2011-08-10 | コニカミノルタビジネステクノロジーズ株式会社 | 情報処理装置およびグループ決定プログラム |
| US20070217648A1 (en) * | 2006-03-02 | 2007-09-20 | Thomas Muehlbauer | Fingerprinting Digital Media Content |
| US20080287095A1 (en) * | 2006-03-20 | 2008-11-20 | Sms.Ac | Systems and methods for generation, registration and mobile phone billing of a network-enabled application with one-time opt-in |
| US7826421B2 (en) * | 2006-03-20 | 2010-11-02 | Sms.Ac, Inc. | Application pod integration with automated mobile phone billing and distribution platform |
| US20080052373A1 (en) * | 2006-05-01 | 2008-02-28 | Sms.Ac | Systems and methods for a community-based user interface |
| JP4969301B2 (ja) * | 2006-05-09 | 2012-07-04 | 株式会社リコー | コンピュータ装置 |
| US7835720B2 (en) * | 2006-05-19 | 2010-11-16 | Sms.Ac, Inc. | Systems and methods for automatic generation, registration and mobile phone billing of a pod using third party web page content |
| US8010947B2 (en) | 2006-05-23 | 2011-08-30 | International Business Machines Corporation | Discovering multi-component software products based on weighted scores |
| US8020206B2 (en) * | 2006-07-10 | 2011-09-13 | Websense, Inc. | System and method of analyzing web content |
| US8615800B2 (en) | 2006-07-10 | 2013-12-24 | Websense, Inc. | System and method for analyzing web content |
| JP4501912B2 (ja) * | 2006-08-17 | 2010-07-14 | コニカミノルタビジネステクノロジーズ株式会社 | 画像形成認証システム |
| US20090024614A1 (en) * | 2006-09-06 | 2009-01-22 | Sms.Ac | Systems and methods for online content searching |
| US9654495B2 (en) | 2006-12-01 | 2017-05-16 | Websense, Llc | System and method of analyzing web addresses |
| US20080147530A1 (en) * | 2006-12-19 | 2008-06-19 | Kwan Shu-Leung | Programmatically transferring applications between handsets based on license information |
| GB2458094A (en) * | 2007-01-09 | 2009-09-09 | Surfcontrol On Demand Ltd | URL interception and categorization in firewalls |
| KR101411314B1 (ko) * | 2007-01-15 | 2014-07-02 | 삼성전자주식회사 | 디지털 콘텐츠를 관리하는 장치 및 방법 |
| GB2445764A (en) * | 2007-01-22 | 2008-07-23 | Surfcontrol Plc | Resource access filtering system and database structure for use therewith |
| CN101622849B (zh) * | 2007-02-02 | 2014-06-11 | 网圣公司 | 添加上下文以防止经由计算机网络的数据泄漏的系统和方法 |
| US7840637B2 (en) * | 2007-02-21 | 2010-11-23 | The Go Daddy Group, Inc. | Community web site for creating and maintaining a web hosting community |
| US9087356B2 (en) | 2007-02-21 | 2015-07-21 | Go Daddy Operating Company, LLC | Web hosting community |
| JP5474296B2 (ja) * | 2007-02-28 | 2014-04-16 | 株式会社リコー | 情報処理システム及び情報処理方法 |
| US8015174B2 (en) | 2007-02-28 | 2011-09-06 | Websense, Inc. | System and method of controlling access to the internet |
| JP2008243180A (ja) * | 2007-02-28 | 2008-10-09 | Ricoh Co Ltd | 画像形成装置、情報処理装置、及び情報処理方法 |
| EP2495680A3 (en) * | 2007-02-28 | 2012-10-31 | Ricoh Company, Ltd. | Information processing system, information processor, image forming apparatus, and information processing method |
| JP5066985B2 (ja) * | 2007-04-04 | 2012-11-07 | 富士ゼロックス株式会社 | 情報処理装置 |
| GB0709527D0 (en) | 2007-05-18 | 2007-06-27 | Surfcontrol Plc | Electronic messaging system, message processing apparatus and message processing method |
| US8156020B2 (en) * | 2007-06-08 | 2012-04-10 | Ricoh Company, Ltd. | Charge managing system, image forming apparatus, charge managing server, and image forming method |
| JP5001755B2 (ja) * | 2007-08-29 | 2012-08-15 | 株式会社リコー | データ処理システム及びデータ処理方法 |
| JP4441555B2 (ja) * | 2007-09-06 | 2010-03-31 | キヤノン株式会社 | デバイスシステム、デバイスシステムの制御方法、およびコンピュータプログラム |
| US8341751B2 (en) * | 2007-12-26 | 2012-12-25 | Wilson Kelce S | Software license management |
| US20090199299A1 (en) * | 2008-01-31 | 2009-08-06 | Microsoft Corporation | Integrated user experience while allocating licenses within volume licensing systems |
| KR20090089756A (ko) * | 2008-02-19 | 2009-08-24 | 삼성전자주식회사 | 휴대 단말기의 라이센스 위탁 통지 방법 및 시스템 |
| US8407784B2 (en) * | 2008-03-19 | 2013-03-26 | Websense, Inc. | Method and system for protection against information stealing software |
| US9130986B2 (en) * | 2008-03-19 | 2015-09-08 | Websense, Inc. | Method and system for protection against information stealing software |
| US9015842B2 (en) * | 2008-03-19 | 2015-04-21 | Websense, Inc. | Method and system for protection against information stealing software |
| US8370948B2 (en) * | 2008-03-19 | 2013-02-05 | Websense, Inc. | System and method for analysis of electronic information dissemination events |
| US8387150B2 (en) | 2008-06-27 | 2013-02-26 | Microsoft Corporation | Segmented media content rights management |
| EP2318955A1 (en) * | 2008-06-30 | 2011-05-11 | Websense, Inc. | System and method for dynamic and real-time categorization of webpages |
| JP5599557B2 (ja) | 2008-08-29 | 2014-10-01 | 株式会社リコー | 情報処理装置、ライセンス判定方法、プログラム及び記録媒体 |
| JP5206263B2 (ja) | 2008-09-12 | 2013-06-12 | 株式会社リコー | 情報処理装置、ライセンス判定方法、及びプログラム |
| JP2010149537A (ja) * | 2008-12-23 | 2010-07-08 | Autonetworks Technologies Ltd | 制御装置、制御方法及びコンピュータプログラム |
| JP4692652B2 (ja) * | 2009-02-18 | 2011-06-01 | コニカミノルタビジネステクノロジーズ株式会社 | ライセンス管理システム、ライセンス管理コンピュータ、ライセンス管理方法およびライセンス管理プログラム |
| AU2010254269A1 (en) * | 2009-05-26 | 2011-12-22 | Websense, Inc. | Systems and methods for efficient detection of fingerprinted data and information |
| US20100323790A1 (en) * | 2009-06-19 | 2010-12-23 | Etchegoyen Craig S | Devices and Methods for Auditing and Enforcing Computer Game Licenses |
| US9633183B2 (en) * | 2009-06-19 | 2017-04-25 | Uniloc Luxembourg S.A. | Modular software protection |
| US20100324983A1 (en) * | 2009-06-22 | 2010-12-23 | Etchegoyen Craig S | System and Method for Media Distribution |
| US9075958B2 (en) * | 2009-06-24 | 2015-07-07 | Uniloc Luxembourg S.A. | Use of fingerprint with an on-line or networked auction |
| JP5391937B2 (ja) * | 2009-09-03 | 2014-01-15 | 株式会社リコー | 画像形成装置、ライセンス処理方法、及びライセンス処理プログラム |
| JP5413078B2 (ja) * | 2009-09-14 | 2014-02-12 | 株式会社リコー | 機器管理システム、機器管理装置、仲介装置、機器管理方法、及び機器管理プログラム |
| JP2011118837A (ja) * | 2009-12-07 | 2011-06-16 | Sony Corp | 情報処理装置、情報処理方法およびプログラム |
| JP5365542B2 (ja) | 2010-02-16 | 2013-12-11 | 株式会社リコー | 仲介装置、インストールシステム、インストール方法及びインストールプログラム |
| JP5545037B2 (ja) * | 2010-05-28 | 2014-07-09 | 株式会社リコー | 情報処理装置 |
| JP2012090064A (ja) | 2010-10-19 | 2012-05-10 | Canon Inc | 画像形成装置、インストール方法及びプログラム |
| JP5915344B2 (ja) * | 2011-04-22 | 2016-05-11 | 株式会社リコー | 情報処理装置 |
| US9614678B2 (en) | 2011-06-10 | 2017-04-04 | Dell Products, Lp | System and method for extracting device uniqueness to assign a license to the device |
| KR101954215B1 (ko) * | 2011-07-12 | 2019-06-07 | 삼성전자주식회사 | 비휘발성 저장 장치의 이용 방법 및 장치 |
| US9792417B2 (en) * | 2012-06-15 | 2017-10-17 | Infosys Limited | Methods for controlling software usage |
| JP2014071695A (ja) * | 2012-09-28 | 2014-04-21 | Murata Mach Ltd | 画像形成装置 |
| US9117054B2 (en) | 2012-12-21 | 2015-08-25 | Websense, Inc. | Method and aparatus for presence based resource management |
| CN104036182B (zh) * | 2013-03-04 | 2017-09-29 | 联想(北京)有限公司 | 一种信息处理方法、提示方法、服务器及电子设备 |
| US9432269B2 (en) * | 2013-04-06 | 2016-08-30 | Citrix Systems, Inc. | Systems and methods for exporting application details using appflow |
| CN103812857A (zh) * | 2013-11-08 | 2014-05-21 | 汉柏科技有限公司 | 一种实现唯一性许可的方法 |
| JP6421419B2 (ja) | 2014-02-17 | 2018-11-14 | 株式会社リコー | 機器、情報処理システム、情報処理方法、及びプログラム |
| US9660933B2 (en) | 2014-04-17 | 2017-05-23 | Go Daddy Operating Company, LLC | Allocating and accessing hosting server resources via continuous resource availability updates |
| US9501211B2 (en) | 2014-04-17 | 2016-11-22 | GoDaddy Operating Company, LLC | User input processing for allocation of hosting server resources |
| JP2016177417A (ja) * | 2015-03-19 | 2016-10-06 | Nttエレクトロニクス株式会社 | 処理装置及び遠隔管理システム |
| DE102015209714A1 (de) * | 2015-05-27 | 2016-12-01 | Siemens Aktiengesellschaft | Vorrichtung und Verfahren zum Anpassen einer Nutzung eines Geräts |
| JP6562734B2 (ja) * | 2015-06-26 | 2019-08-21 | キヤノン株式会社 | 情報処理装置、方法、およびプログラム |
| JP2017068490A (ja) * | 2015-09-29 | 2017-04-06 | ルネサスエレクトロニクス株式会社 | ライセンス管理方法およびライセンス管理に適した半導体装置 |
| US10185855B2 (en) * | 2016-09-19 | 2019-01-22 | The Code Corporation | Using a defect pattern in an image sensor to verify license entitlement |
| JP6705395B2 (ja) * | 2017-02-23 | 2020-06-03 | 京セラドキュメントソリューションズ株式会社 | 管理サーバーおよび情報処理方法 |
| CN107885980B (zh) * | 2017-12-06 | 2020-02-11 | 武汉万创科技有限公司 | 一种软件管理方法及系统 |
| US11768922B2 (en) * | 2018-08-02 | 2023-09-26 | Nec Solution Innovators, Ltd. | License management device, program execution device and method |
| US11163728B2 (en) * | 2018-09-28 | 2021-11-02 | International Business Machines Corporation | Sharing container images utilizing a shared storage system |
| JP7395932B2 (ja) * | 2019-10-04 | 2023-12-12 | 富士フイルムビジネスイノベーション株式会社 | 情報処理装置、情報処理プログラム、及び画像形成装置 |
| US12153715B2 (en) * | 2021-03-24 | 2024-11-26 | Samsung Electronics Co., Ltd. | Method for controlling permission of application and electronic device supporting the same |
| US11934493B2 (en) * | 2021-06-17 | 2024-03-19 | EMC IP Holding Company LLC | Anti-piracy protection service-based software license management system to prevent usage of unlicensed software after the trial period |
| JP2023033949A (ja) * | 2021-08-30 | 2023-03-13 | キヤノン株式会社 | 情報処理システム、情報処理方法、プログラム |
| CN115664834A (zh) * | 2022-11-04 | 2023-01-31 | 武汉启明泰和软件服务有限公司 | 授权管理方法、装置、计算机设备和存储介质 |
Family Cites Families (31)
| Publication number | Priority date | Publication date | Assignee | Title |
|---|---|---|---|---|
| US51164A (en) * | 1865-11-28 | pitch | ||
| US5260999A (en) * | 1991-06-28 | 1993-11-09 | Digital Equipment Corporation | Filters in license management system |
| US5956505A (en) * | 1991-12-24 | 1999-09-21 | Pitney Bowes Inc. | Remote activation of software features in a data processing device |
| JPH0876994A (ja) | 1994-08-31 | 1996-03-22 | Nec Corp | ソフトウェアライセンス管理方法および装置 |
| US5638443A (en) * | 1994-11-23 | 1997-06-10 | Xerox Corporation | System for controlling the distribution and use of composite digital works |
| US5629980A (en) * | 1994-11-23 | 1997-05-13 | Xerox Corporation | System for controlling the distribution and use of digital works |
| US5758068A (en) * | 1995-09-19 | 1998-05-26 | International Business Machines Corporation | Method and apparatus for software license management |
| US7225333B2 (en) * | 1999-03-27 | 2007-05-29 | Microsoft Corporation | Secure processor architecture for use with a digital rights management (DRM) system on a computing device |
| JP2000330784A (ja) | 1999-05-21 | 2000-11-30 | Ricoh Co Ltd | プリンタ装置 |
| JP4009108B2 (ja) * | 1999-08-10 | 2007-11-14 | 富士通株式会社 | メモリカード |
| JP2001092779A (ja) | 1999-09-20 | 2001-04-06 | Canon Inc | 画像処理装置およびデータ処理方法および記憶媒体 |
| US20030088516A1 (en) * | 1999-12-21 | 2003-05-08 | Eric B. Remer | Software anti-piracy licensing |
| US20010034846A1 (en) * | 2000-02-28 | 2001-10-25 | Peter Beery | Digital data and software security protection |
| KR100630663B1 (ko) * | 2000-03-21 | 2006-10-02 | 삼성전자주식회사 | 소프트웨어의 라이센스 사용량 통제방법 |
| JP2002117157A (ja) | 2000-10-11 | 2002-04-19 | Canon Inc | アプリケーション・プログラム課金システム及び課金額計算装置及び集計サーバ及び課金管理サーバ及びアプリケーション・プログラム課金方法及び課金プログラム及び記録媒体 |
| US7154616B2 (en) * | 2000-04-27 | 2006-12-26 | Canon Kabushiki Kaisha | Application charging system, information processing apparatus, and control method therefor and memory medium storing program therefor |
| JP2002006702A (ja) * | 2000-06-26 | 2002-01-11 | Konica Corp | 画像形成装置、画像形成装置の制御方法、画像形成装置の管理方法 |
| AU2001294677A1 (en) * | 2000-09-22 | 2002-04-02 | Patchlink.Com Corporation | Non-invasive automatic offsite patch fingerprinting and updating system and method |
| JP4153152B2 (ja) * | 2000-09-26 | 2008-09-17 | 株式会社リコー | アプリ実行制御システム、アプリ実行制御方法およびその方法をコンピュータに実行させるプログラムを記録したコンピュータ読み取り可能な記録媒体 |
| US7884954B2 (en) * | 2000-10-02 | 2011-02-08 | Canon Kabushiki Kaisha | Peripheral equipment and management method thereof |
| JP2002132370A (ja) | 2000-10-26 | 2002-05-10 | Sony Corp | ライセンス管理システム、ライセンス管理方法および記録媒体 |
| JP2002176675A (ja) * | 2000-12-06 | 2002-06-21 | Seiko Epson Corp | データ伝送システム及びその方法 |
| US7127069B2 (en) * | 2000-12-07 | 2006-10-24 | Igt | Secured virtual network in a gaming environment |
| US7236958B2 (en) * | 2001-01-05 | 2007-06-26 | Microsoft Corporation | Electronic software license with software product installer identifier |
| KR100361869B1 (ko) * | 2001-03-02 | 2002-11-22 | 정지혜 | 암호화키를 이용한 소프트웨어 설치 및 실행방법 |
| US7222104B2 (en) * | 2001-05-31 | 2007-05-22 | Contentguard Holdings, Inc. | Method and apparatus for transferring usage rights and digital work having transferrable usage rights |
| DE60216940T2 (de) * | 2001-08-01 | 2007-07-05 | Matsushita Electric Industrial Co., Ltd., Kadoma | Einrichtung und verfahren zur verwaltung des inhaltsbenutzungsrechts |
| US7742992B2 (en) * | 2002-02-05 | 2010-06-22 | Pace Anti-Piracy | Delivery of a secure software license for a software product and a toolset for creating the software product |
| JP2003244354A (ja) | 2002-02-18 | 2003-08-29 | Ricoh Co Ltd | 画像形成装置 |
| JP3818503B2 (ja) * | 2002-04-15 | 2006-09-06 | ソニー株式会社 | 情報処理装置および方法、並びにプログラム |
| WO2004019182A2 (en) * | 2002-08-24 | 2004-03-04 | Ingrian Networks, Inc. | Selective feature activation |
-
2002
- 2002-10-15 JP JP2002300409A patent/JP4217455B2/ja not_active Expired - Fee Related
-
2003
- 2003-10-06 EP EP03748722A patent/EP1552379A4/en not_active Ceased
- 2003-10-06 KR KR1020057006415A patent/KR100811312B1/ko not_active Expired - Fee Related
- 2003-10-06 CN CNB2003801013723A patent/CN1318951C/zh not_active Expired - Fee Related
- 2003-10-06 WO PCT/JP2003/012772 patent/WO2004036409A1/en not_active Ceased
- 2003-10-06 CN CNB2007100921266A patent/CN100514346C/zh not_active Expired - Fee Related
- 2003-10-06 US US10/527,909 patent/US8175978B2/en not_active Expired - Fee Related
- 2003-10-06 AU AU2003267825A patent/AU2003267825A1/en not_active Abandoned
Also Published As
| Publication number | Publication date |
|---|---|
| CN1705930A (zh) | 2005-12-07 |
| KR100811312B1 (ko) | 2008-03-10 |
| EP1552379A4 (en) | 2008-03-19 |
| WO2004036409A1 (en) | 2004-04-29 |
| US20060026105A1 (en) | 2006-02-02 |
| EP1552379A1 (en) | 2005-07-13 |
| CN101030240A (zh) | 2007-09-05 |
| CN100514346C (zh) | 2009-07-15 |
| CN1318951C (zh) | 2007-05-30 |
| JP2004139149A (ja) | 2004-05-13 |
| KR20050055014A (ko) | 2005-06-10 |
| US8175978B2 (en) | 2012-05-08 |
| AU2003267825A1 (en) | 2004-05-04 |
Similar Documents
| Publication | Publication Date | Title |
|---|---|---|
| JP4217455B2 (ja) | 周辺装置、情報処理方法、および制御プログラム | |
| JP4018498B2 (ja) | 管理装置、管理方法、制御プログラム | |
| CN101253509B (zh) | 信息处理设备和限制对图像文件的操作的方法 | |
| JP4590282B2 (ja) | ライセンス管理装置、制御方法、及びプログラム | |
| US20020131059A1 (en) | Printer controller, data processing method and control program | |
| EP1335578B1 (en) | Image forming apparatus, controlling method, and control program | |
| US20100162407A1 (en) | Apparatus, method, and recording medium | |
| JP4777403B2 (ja) | 周辺装置、情報処理方法、および制御プログラム | |
| JPH11194903A (ja) | 編集画像印刷システムおよび方法 | |
| CN102707910B (zh) | 图像处理装置、输出控制系统、输出控制方法 | |
| JP2003316458A (ja) | 周辺機器管理システム、ジョブ送信方法 | |
| JP4081955B2 (ja) | 情報記録システム及び情報記録方法 | |
| US20050141012A1 (en) | Image forming apparatus and information processing apparatus capable of communicating with the image forming apparatus | |
| JP5482172B2 (ja) | 文書利用管理システム、一時利用許可書発行装置、文書利用装置及びプログラム | |
| JP3944048B2 (ja) | 画像形成装置、制御方法、及び制御プログラム | |
| US8498912B2 (en) | Charge managing system, image forming apparatus, charge managing server, and image forming method | |
| JP3679760B2 (ja) | 画像形成装置、情報処理方法、及び制御プログラム | |
| JP4706508B2 (ja) | 印刷システム、印刷装置、プリンタドライバ、および印刷制御方法 | |
| JP2006040133A (ja) | 情報処理方法及びそのシステムと装置 | |
| JP2002189945A (ja) | 課金システム及び課金処理方法、並びに記憶媒体 | |
| JP2003150355A (ja) | 印刷システム | |
| JP2005238717A (ja) | 周辺機器管理システム及び周辺機器管理方法 | |
| JP7272119B2 (ja) | 画像処理装置、画像処理プログラム及び画像処理システム | |
| US20060087688A1 (en) | Scan apparatus capable of identifying users | |
| JP2004030392A (ja) | 画像処理装置およびサーバ装置および画像処理システムおよび画像処理設定方法およびコンピュータが読取り可能な記憶媒体およびプログラム |
Legal Events
| Date | Code | Title | Description |
|---|---|---|---|
| A621 | Written request for application examination |
Free format text: JAPANESE INTERMEDIATE CODE: A621 Effective date: 20051014 |
|
| A521 | Request for written amendment filed |
Free format text: JAPANESE INTERMEDIATE CODE: A523 Effective date: 20070111 |
|
| A131 | Notification of reasons for refusal |
Free format text: JAPANESE INTERMEDIATE CODE: A131 Effective date: 20080617 |
|
| A521 | Request for written amendment filed |
Free format text: JAPANESE INTERMEDIATE CODE: A523 Effective date: 20080818 |
|
| A131 | Notification of reasons for refusal |
Free format text: JAPANESE INTERMEDIATE CODE: A131 Effective date: 20080909 |
|
| A521 | Request for written amendment filed |
Free format text: JAPANESE INTERMEDIATE CODE: A523 Effective date: 20080929 |
|
| TRDD | Decision of grant or rejection written | ||
| A01 | Written decision to grant a patent or to grant a registration (utility model) |
Free format text: JAPANESE INTERMEDIATE CODE: A01 Effective date: 20081021 |
|
| A01 | Written decision to grant a patent or to grant a registration (utility model) |
Free format text: JAPANESE INTERMEDIATE CODE: A01 |
|
| A61 | First payment of annual fees (during grant procedure) |
Free format text: JAPANESE INTERMEDIATE CODE: A61 Effective date: 20081110 |
|
| R150 | Certificate of patent or registration of utility model |
Ref document number: 4217455 Country of ref document: JP Free format text: JAPANESE INTERMEDIATE CODE: R150 Free format text: JAPANESE INTERMEDIATE CODE: R150 |
|
| FPAY | Renewal fee payment (event date is renewal date of database) |
Free format text: PAYMENT UNTIL: 20111114 Year of fee payment: 3 |
|
| FPAY | Renewal fee payment (event date is renewal date of database) |
Free format text: PAYMENT UNTIL: 20121114 Year of fee payment: 4 |
|
| FPAY | Renewal fee payment (event date is renewal date of database) |
Free format text: PAYMENT UNTIL: 20131114 Year of fee payment: 5 |
|
| LAPS | Cancellation because of no payment of annual fees |