JP4182467B2 - 回路基板、電気光学装置及び電子機器 - Google Patents
回路基板、電気光学装置及び電子機器 Download PDFInfo
- Publication number
- JP4182467B2 JP4182467B2 JP2001398522A JP2001398522A JP4182467B2 JP 4182467 B2 JP4182467 B2 JP 4182467B2 JP 2001398522 A JP2001398522 A JP 2001398522A JP 2001398522 A JP2001398522 A JP 2001398522A JP 4182467 B2 JP4182467 B2 JP 4182467B2
- Authority
- JP
- Japan
- Prior art keywords
- insulating layer
- layer
- circuit board
- interlayer insulating
- refractive index
- Prior art date
- Legal status (The legal status is an assumption and is not a legal conclusion. Google has not performed a legal analysis and makes no representation as to the accuracy of the status listed.)
- Expired - Fee Related
Links
Images
Classifications
-
- G—PHYSICS
- G02—OPTICS
- G02F—OPTICAL DEVICES OR ARRANGEMENTS FOR THE CONTROL OF LIGHT BY MODIFICATION OF THE OPTICAL PROPERTIES OF THE MEDIA OF THE ELEMENTS INVOLVED THEREIN; NON-LINEAR OPTICS; FREQUENCY-CHANGING OF LIGHT; OPTICAL LOGIC ELEMENTS; OPTICAL ANALOGUE/DIGITAL CONVERTERS
- G02F1/00—Devices or arrangements for the control of the intensity, colour, phase, polarisation or direction of light arriving from an independent light source, e.g. switching, gating or modulating; Non-linear optics
- G02F1/01—Devices or arrangements for the control of the intensity, colour, phase, polarisation or direction of light arriving from an independent light source, e.g. switching, gating or modulating; Non-linear optics for the control of the intensity, phase, polarisation or colour
- G02F1/13—Devices or arrangements for the control of the intensity, colour, phase, polarisation or direction of light arriving from an independent light source, e.g. switching, gating or modulating; Non-linear optics for the control of the intensity, phase, polarisation or colour based on liquid crystals, e.g. single liquid crystal display cells
- G02F1/133—Constructional arrangements; Operation of liquid crystal cells; Circuit arrangements
- G02F1/1333—Constructional arrangements; Manufacturing methods
- G02F1/1335—Structural association of cells with optical devices, e.g. polarisers or reflectors
-
- H—ELECTRICITY
- H05—ELECTRIC TECHNIQUES NOT OTHERWISE PROVIDED FOR
- H05B—ELECTRIC HEATING; ELECTRIC LIGHT SOURCES NOT OTHERWISE PROVIDED FOR; CIRCUIT ARRANGEMENTS FOR ELECTRIC LIGHT SOURCES, IN GENERAL
- H05B33/00—Electroluminescent light sources
- H05B33/12—Light sources with substantially two-dimensional radiating surfaces
- H05B33/22—Light sources with substantially two-dimensional radiating surfaces characterised by the chemical or physical composition or the arrangement of auxiliary dielectric or reflective layers
-
- H—ELECTRICITY
- H10—SEMICONDUCTOR DEVICES; ELECTRIC SOLID-STATE DEVICES NOT OTHERWISE PROVIDED FOR
- H10K—ORGANIC ELECTRIC SOLID-STATE DEVICES
- H10K50/00—Organic light-emitting devices
- H10K50/80—Constructional details
- H10K50/85—Arrangements for extracting light from the devices
-
- H—ELECTRICITY
- H10—SEMICONDUCTOR DEVICES; ELECTRIC SOLID-STATE DEVICES NOT OTHERWISE PROVIDED FOR
- H10K—ORGANIC ELECTRIC SOLID-STATE DEVICES
- H10K59/00—Integrated devices, or assemblies of multiple devices, comprising at least one organic light-emitting element covered by group H10K50/00
- H10K59/80—Constructional details
- H10K59/875—Arrangements for extracting light from the devices
- H10K59/879—Arrangements for extracting light from the devices comprising refractive means, e.g. lenses
-
- G—PHYSICS
- G02—OPTICS
- G02F—OPTICAL DEVICES OR ARRANGEMENTS FOR THE CONTROL OF LIGHT BY MODIFICATION OF THE OPTICAL PROPERTIES OF THE MEDIA OF THE ELEMENTS INVOLVED THEREIN; NON-LINEAR OPTICS; FREQUENCY-CHANGING OF LIGHT; OPTICAL LOGIC ELEMENTS; OPTICAL ANALOGUE/DIGITAL CONVERTERS
- G02F1/00—Devices or arrangements for the control of the intensity, colour, phase, polarisation or direction of light arriving from an independent light source, e.g. switching, gating or modulating; Non-linear optics
- G02F1/01—Devices or arrangements for the control of the intensity, colour, phase, polarisation or direction of light arriving from an independent light source, e.g. switching, gating or modulating; Non-linear optics for the control of the intensity, phase, polarisation or colour
- G02F1/13—Devices or arrangements for the control of the intensity, colour, phase, polarisation or direction of light arriving from an independent light source, e.g. switching, gating or modulating; Non-linear optics for the control of the intensity, phase, polarisation or colour based on liquid crystals, e.g. single liquid crystal display cells
- G02F1/133—Constructional arrangements; Operation of liquid crystal cells; Circuit arrangements
- G02F1/1333—Constructional arrangements; Manufacturing methods
- G02F1/1335—Structural association of cells with optical devices, e.g. polarisers or reflectors
- G02F1/133502—Antiglare, refractive index matching layers
-
- H—ELECTRICITY
- H10—SEMICONDUCTOR DEVICES; ELECTRIC SOLID-STATE DEVICES NOT OTHERWISE PROVIDED FOR
- H10K—ORGANIC ELECTRIC SOLID-STATE DEVICES
- H10K59/00—Integrated devices, or assemblies of multiple devices, comprising at least one organic light-emitting element covered by group H10K50/00
- H10K59/10—OLED displays
- H10K59/12—Active-matrix OLED [AMOLED] displays
Landscapes
- Physics & Mathematics (AREA)
- Nonlinear Science (AREA)
- Optics & Photonics (AREA)
- Mathematical Physics (AREA)
- Chemical & Material Sciences (AREA)
- Crystallography & Structural Chemistry (AREA)
- General Physics & Mathematics (AREA)
- Electroluminescent Light Sources (AREA)
- Devices For Indicating Variable Information By Combining Individual Elements (AREA)
- Thin Film Transistor (AREA)
Description
【発明の属する技術分野】
本発明は、電気光学素子が発する光や電気光学素子により変調された光が効率良く取り出される電気光学装置及び電気光学装置の製造方法、この電気光学装置を備えた電子機器、並びに回路基板及び回路基板の製造方法に関するものである。
【0002】
【従来の技術】
従来、液晶装置、有機EL(エレクトロルミネッセンス;electroluminescence)装置等の電気光学装置においては、基板上に複数の回路素子、電極、液晶又はEL素子等が積層された構成を有するものがある。例えば有機EL装置においては、発光物質を含む発光層を陽極及び陰極の電極層で挟んだ構成の発光素子を有しており、陽極側から注入された正孔と、陰極側から注入された電子とを発光能を有する発光層内で再結合し、励起状態から失括する際に発光する現象を利用している。
【0003】
【発明が解決しようとする課題】
一般に電気光学装置は電気光学素子層を含めて複数の材料層により構成されているので、電気光学素子層が発した光あるいは変調した光を外部に取り出す際には、光が通過する材料層によって減衰してしまい、十分な光の取り出し効率が得られないことがある。
【0004】
本発明はこのような事情に鑑みてなされたものであって、光の外部取り出し効率を向上でき、高い視認性が実現される電気光学装置及びその製造方法、回路基板及びその製造方法、電子機器を提供することを目的とする。
【0005】
【課題を解決するための手段】
本発明に係る第1の回路基板は、基板と、前記基板の上方に設けられた半導体膜と、前記半導体膜の上方に設けられたゲート絶縁層と、前記ゲート絶縁層の上方に設けられたゲート電極と、前記ゲート電極の上方に設けられた第1層間絶縁層と、を含み、前記第1層間絶縁層の屈折率は、前記基板の屈折率より低いことを特徴とする。
上記の回路基板において、前記第1層間絶縁層の上方に設けられた第2層間絶縁層を、さらに含み、前記第2層間絶縁層の屈折率は、前記基板の屈折率より低くしてもよい。
上記の回路基板において、前記第2層間絶縁層の上方に設けられた画素電極を、さらに含んでいてもよい。
上記の回路基板において、前記第1層間絶縁層の上方に設けられたSiO2層をさらに含んでいてもよい。
上記の回路基板において、前記第1層間絶縁層の密度は、0.4g/cm3以下であってもよい。
上記の回路基板において、前記第1層間絶縁層の上方に設けられたドレイン電極を、さらに含み、前記半導体膜は、前記ゲート絶縁層及び前記第1層間絶縁層にわたって設けられたコンタクトホールを介して前記ドレイン電極に接続されていてもよい。
本発明に係る第2の回路基板は、基板と、前記基板の上方に設けられた半導体膜と、前記半導体膜の上方に設けられたゲート絶縁層と、前記ゲート絶縁層の上方に設けられたゲート電極と、前記ゲート電極の上方に設けられた第1層間絶縁層と、前記第1層間絶縁層の上方に設けられたドレイン電極と、前記第2層間絶縁層の上方に設けられた画素電極と、前記ドレイン電極の上方に設けられ、透光性を有する保護層と、を含み、前記半導体膜は、前記ゲート絶縁層及び前記第1層間絶縁層にわたって設けられた第1のコンタクトホールを介して前記ドレイン電極に接続され、前記第1層間絶縁層の屈折率は、前記基板の屈折率より低く、前記第2層間絶縁層の屈折率は、前記基板の屈折率より低く、前記ドレイン電極は、前記第2層間絶縁層に設けられた第2のコンタクトホールを介して前記画素電極に接続されていることを特徴とする。
上記に回路基板において、前記第1層間絶縁層は、第1のSiO2膜と第2のSiO2膜とが積層して構成され、前記第1のSiO2膜は、多孔性を有し、前記第2のSiO2膜は、通常の減圧化学的気相成長法により形成されていてもよい。
上記の回路基板において、前記第1層間絶縁層は、エアロゲル、多孔質シリカ、フッ化マグネシウム、フッ素系ポリマー、多孔性ポリマーのうち少なくともいずれか1つを含んでいてもよい。
上記の回路基板において、前記第1層間絶縁層は、所定の材料に無機微粒子及び有機微粒子の少なくともいずれか一方を含有したものであってもよい。
本発明に係る他の回路基板は、基板と、前記基板の上方に設けられた半導体膜と、 前記半導体膜の上方に設けられたゲート絶縁層と、 前記ゲート絶縁層の上方に設けられたゲート電極と、前記ゲート電極の上方に設けられた第1層間絶縁層と、前記第1層間絶縁層の上方に設けられたドレイン電極と、前記第1層間絶縁層と前記ドレイン電極の上方に設けられた第2層間絶縁膜と、前記第2層間絶縁層の上方に設けられた画素電極と、前記ドレイン電極の上方に設けられ、透光性を有する保護層と、を含み、前記半導体膜は、前記ゲート絶縁層及び前記第1層間絶縁層にわたって設けられた第1のコンタクトホールを介して前記ドレイン電極に接続され、前記第1層間絶縁層の屈折率は、前記基板の屈折率より低く、前記第2層間絶縁層の屈折率は、前記基板の屈折率より低く、前記ドレイン電極は、前記第2層間絶縁層に設けられた第2のコンタクトホールを介して前記画素電極に接続されて おり、前記第1層間絶縁層は、第1のSiO2膜と第2のSiO2膜とが積層して構成され、前記第1のSiO2膜は、多孔性を有し、前記第2のSiO2膜は、通常の減圧化学的気相成長法により形成されたこと、を特徴とする回路基板。
上記の回路基板において、前記保護層は、ホウ素、炭素、及び窒素から選ばれた少なくとも一つの元素と、アルミニウム、珪素、及びリンから選ばれた少なくとも一つの元素と、を含む絶縁膜であってもよい。
上記の回路基板において、前記保護層は、珪素、アルミニウム、窒素、酸素、及び希土類元素の少なくとも一種を含む絶縁膜であってもよい。
上記の回路基板において、前記保護層は、窒化珪素膜又は窒化酸化珪素膜であってもよい。
上記の回路基板において、前記第1層間絶縁層の屈折率は1.5以下であってもよい。
上記の回路基板において、前記第1層間絶縁層の屈折率は1.2以下であってもよい。
上記の回路基板において、前記第1層間絶縁層は、光を透過可能な多孔質体により構成されていてもよい。
上記の回路基板において、前記半導体膜には、チャネル領域とソース・ドレイン領域とが形成されていてもよい。
本発明に係る第1の電気光学素子は、電気光学素子と、上記の回路基板と、を含み、前記電気光学素子からの光が取り出される方向に前記基板が位置していてもよい。
上記の電気光学装置において、前記電気光学素子は、発光素子であってもよい。
本発明に係る第1の電子機器は、上記の回路基板を備えたことを特徴とする。
本発明に係る第2の電子機器は、上記の電気光学装置を備えたことを特徴とする。
上記の課題を解決するため、本発明の電気光学装置は、電気光学素子を有する電気光学素子層を含む複数の材料層が積層されている電気光学装置であって、前記電気光学素子からの光が取り出される方向に位置する複数の材料層が配置され、前記複数の材料層のうち最表面に位置する表面材料層と前記電気光学素子層との間に前記表面材料層の屈折率より低い屈折率を有する低屈折率層が配置されていることを特徴とする。
【0006】
ここで、前記「電気光学素子からの光」とは電気光学素子が発した光のみを指すのではなく、例えば、電気光学素子によって透過光や反射光が変調された光をも含む。「最表面に位置する表面材料層」とは外界と接する材料層を意味している。
【0007】
本発明によれば、電気光学素子からの光は表面材料層より低屈折率な低屈折率層を通過してから表面材料層に入射するので、臨界角以上の角度で低屈折率層に入射した光は表面材料層との界面で臨界角以下となる方向に屈折し、表面材料層内での全反射条件から外れ、外部に取り出される。これにより、光の取り出し効率が向上し高い視認性を得ることができる。また、屈折率と誘電率とには強い正の相関関係があり、所定の材料層を低屈折率層とすることにより、低誘電率層を形成できる。
【0008】
前記電気光学素子としては、例えば、液晶素子、電気泳動素子、電子放出素子等が採用可能であるが、上記の電気光学装置の構成は、電気光学素子が発光素子である場合に特に好適である。発光素子としては、例えば、LED(発光ダイオード)素子、LD(レーザーダイオード)素子、EL(エレクトロルミネッセンス)素子、電子放出素子を用いた発光素子などが挙げられる。
【0009】
上記の電気光学装置において、前記低屈折率層を層間絶縁層とすることにより、層間絶縁層を通過する光の取り出し効率を向上させることができる。
また、屈折率と誘電率とは正の強い相関関係を示すので、層間絶縁層により、例えば、配線や電極などの導電部材が絶縁されている場合、配線間に生ずる容量を減ずるという利点も有することになる。したがって、高い光の取り出し効率と高速動作とを併せ持つ電気光学装置となる。
【0010】
この場合において、前記低屈折率層の屈折率は1.5以下に設定され、好ましくは1.2以下に設定される。
【0011】
低屈折率材料としては、光を透過可能な多孔質体、エアロゲル、多孔質シリカ、フッ化マグネシウムあるいはこれを含む材料、フッ化マグネシウムの微粒子を分散したゲル、フッ素系ポリマーあるいはこれを含む材料、分岐構造を有するような多孔性ポリマー、所定の材料に無機微粒子及び有機微粒子の少なくともいずれか一方を含有した材料などが挙げられる。
【0012】
前記電気光学素子としては、例えば、有機エレクトロルミネッセンス素子が使用可能である。有機エレクトロルミネッセンス素子は、例えば、低電圧駆動が可能であり、また、液晶素子に比べて視野角依存性が少ないなど、種々の有利性を有している。
【0013】
上記の電気光学装置において、更に能動素子を設けても良い。これにより、アクティブ駆動が可能となる。前記能動素子としては、例えば、薄膜トランジスタをはじめとするトランジスタや、薄膜ダイオード等が挙げられる。
【0014】
本発明の電気光学装置の製造方法は、第1の基材上に薄膜トランジスタを配置する工程と、前記薄膜トランジスタ及び前記第1の基材を含む第2の基材上に低屈折率層を形成する工程とを含むことを特徴とする。
【0015】
本発明の回路基板は、基板上に複数の材料層が積層されている回路基板であって、前記基板より屈折率が低い低屈折率材料からなる、少なくとも1つの低屈折率層が配置されていることを特徴とする。
【0016】
上記の回路基板において、前記複数の材料層のうち少なくとも1つは層間絶縁層であり、前記層間絶縁層は前記低屈折率材料からなる。
前記低屈折率層の屈折率は1.5以下であり、好ましくは1.2以下である。
【0017】
前記低屈折率材料としては、光を透過可能な多孔質体、エアロゲル、多孔質シリカ、フッ化マグネシウム、フッ素系ポリマー、多孔性ポリマー。所定の材料に無機微粒子及び有機微粒子の少なくともいずれか一方を含有したもの、フッ化マグネシウムの微粒子を分散したゲルなどが挙げられる。
【0018】
この場合において、回路基板は能動素子を備えており、能動素子としてはトランジスタなどが挙げられる。
【0019】
本発明の回路基板の製造方法は、第1の基材上にトランジスタを配置する工程と、前記トランジスタ及び前記第1の基材を含む第2の基材上に低屈折率層を形成する工程とを含むことを特徴とする。
【0020】
本発明の電子機器は、上記本発明の電気光学装置あるいは回路基板を備えたことを特徴とする。
本発明によれば、表示品位に優れ、明るい画面の表示部を備えた電子機器を実現できる。
【0021】
【発明の実施の形態】
以下、本発明の電気光学装置について図1,図2,図3を参照しながら説明する。図1,図2は本発明に係る電気光学装置を、有機エレクトロルミネッセンス素子を用いたアクティブマトリクス型の表示装置に適用した場合の一例を示すものであって、図1は全体回路図、図2は、図1のうち対向電極や発光素子である有機エレクトロルミネッセンス素子を取り除いた状態での各画素の拡大平面図である。
【0022】
なお、本実施形態では、有機エレクトロルミネッセンス素子(以下、適宜「EL素子」と称する)を用いた表示装置を例として説明するが、液晶素子、電気泳動素子、電子放出素子などを用いた表示装置、あるいは、LED(発光ダイオード)素子、LD(レーザーダイオード)素子などの発光素子を用いた表示装置にも適用可能である。
【0023】
図1に示すように、有機エレクトロルミネッセンス表示装置(以下、適宜「有機EL表示装置」と称する)S1は、基板と、基板上に配線された複数の走査線131と、これら走査線131に対して交差する方向に延びるように配線された複数のデータ線132と、これらデータ線132に並列に延びるように配線された複数の共通給電線133とを有しており、走査線131及びデータ線132の各交点に対応して、画素(画素領域素)ARが設けられて構成されたものである。
【0024】
データ線132に対しては、シフトレジスタ、レベルシフタ、ビデオライン、D/Aコンバータ、デコーダ、ラッチ回路及びアナログスイッチのうち少なくとも1つを備えるデータ線駆動回路90が電気的に接続されている。
一方、走査線131に対しては、シフトレジスタ、レベルシフタ及びデコーダのうち少なくとも1つを備える走査線駆動回路80が電気的に接続されている。
【0025】
なお、本実施形態では、データ線駆動回路90及び走査線駆動回路80はともに基板上に配置されているが、データ線駆動回路90及び走査線駆動回路80のそれぞれを基板上に配置するか、または基板の外に配置するかについては、適宜選択できる。
【0026】
また、図1に示すように、画素領域ARの各々には、走査線131を介して走査信号がゲート電極に供給される第1の薄膜トランジスタ22と、この第1の薄膜トランジスタ22を介してデータ線132から供給される画像信号を保持する保持容量capと、保持容量capによって保持された画像信号がゲート電極に供給される第2の薄膜トランジスタ24と、この第2の薄膜トランジスタ24を介して共通給電線133に電気的に接続したときに共通給電線133から駆動電流が流れ込む画素電極23と、この画素電極(陽極)23と対向電極(陰極)222との間に挟み込まれた発光素子3とが設けられている。なお、発光素子3としては、EL(エレクトロルミネッセンス)素子の他に、LED(発光ダイオード)素子、LD(レーザーダイオード)素子などの発光素子が挙げられる。
【0027】
走査線131を介して供給される走査信号により第1の薄膜トランジスタ22がオンとなると、そのときのデータ線132を介して供給されるデータ信号に対応する電荷が保持容量capに保持され、該保持容量capの状態に応じて、第2の薄膜トランジスタ24の導通状態が決まる。そして、第2の薄膜トランジスタ24のチャネルを介して共通給電線133から画素電極23に電流が流れ、さらに発光層60を通じて対向電極222に電流が流れることにより、発光層60は、これを流れる電流量に応じて発光する。
【0028】
次に、図2を参照しながら、各画素ARの平面構造について説明する。図2は、対向電極や有機エレクトロルミネッセンス素子を取り除いた状態での図1の拡大平面図である。図2に示すように、平面視長方形状に設定された画素電極23は、その四辺を、データ線132、共通給電線133、走査線131及び図示しない他の画素電極用の走査線によって囲まれている。なお、画素電極の形状は長方形に限られず、円形、長円形等の形状でもよい。後述するインクジェット法のように液体材料を用いて発光層などEL素子を構成する材料層を形成する場合は、画素電極を特に角のない円形や長円形などの形状とすることにより均一な材料層が得られる。
【0029】
次に、有機EL表示装置の断面構造を図3を参照しながら説明する。図3は図2のA−A矢視断面図である。
ここで、図3に示す有機EL表示装置は、薄膜トランジスタ(TFT:Thin Film Transistor)が配置された基板2側から光を取り出す形態、いわゆるバックエミッション型である。したがって、本実施形態においては、基板2が、発光素子3からの光が取り出される最表面に位置する表面材料層となっている。なお、基板2の表面に他の材料層が積層された場合には、この他の材料層が表面材料層となる。
【0030】
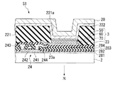
図3に示すように、バックエミッション型の有機EL表示装置S1は、基板2と、インジウム錫酸化物(ITO:Indium Tin Oxide)等の透明電極材料からなる陽極(画素電極)23と、陽極23上に配置された発光素子3と、陽極23との間で発光素子3を挟み込むように配置されている陰極(対向電極)222と、基板2上に形成され、画素電極23に対する通電を制御する通電制御部としての薄膜トランジスタ(以下、「TFT」と称する)24とを有している。更に、陰極222の上層には封止層20が設けられている。陰極222は、アルミニウム(Al)やマグネシウム(Mg)、金(Au)、銀(Ag)、カルシウム(Ca)から選ばれる少なくとも1つの金属から構成されている。陰極222は上述した各材料の合金や積層したものをも含む。TFT24は、走査線駆動回路80及びデータ線駆動回路90からの作動指令信号に基づいて作動し、画素電極23への通電制御を行う。
【0031】
発光素子3は、陽極23から正孔を輸送可能な正孔輸送層70と、電気光学物質の1つである有機EL物質を含む発光層60と、発光層60の上面に設けられている電子輸送層50とから概略構成されている。そして、電子輸送層50の上面に陰極(対向電極)222が配置されている。
【0032】
TFT24は、SiO2を主体とする下地保護層281を介して基板2の表面に設けられている。このTFT24は、下地保護層281の上層に形成されたシリコン層241と、シリコン層241を覆うように下地保護層281の上層に設けられたゲート絶縁層282と、ゲート絶縁層282の上面のうちシリコン層241に対向する部分に設けられたゲート電極242と、ゲート電極242を覆うようにゲート絶縁層282の上層に設けられた第1層間絶縁層283と、ゲート絶縁層282及び第1層間絶縁層283にわたって開孔するコンタクトホールを介してシリコン層241と接続するソース電極243と、ゲート電極242を挟んでソース電極243と対向する位置に設けられ、ゲート絶縁層282及び第1層間絶縁層283にわたって開孔するコンタクトホールを介してシリコン層241と接続するドレイン電極244と、ソース電極243及びドレイン電極244を覆うように第1層間絶縁層283の上層に設けられた第2層間絶縁層284とを備えている。
【0033】
そして、第2層間絶縁層284の上面に画素電極23が配置され、画素電極23とドレイン電極244とは、第2層間絶縁層284に設けられたコンタクトホール23aを介して接続されている。また、第2層間絶縁層284の表面のうち発光素子(EL素子)3が設けられている以外の部分と陰極222との間には、合成樹脂などからなる第3絶縁層(バンク層)221が設けられている。
【0034】
なお、ドレイン電極244の上層に、TFTの保護層を設けても良い。この保護層の形成材料としては、珪素を含む絶縁層(特に窒化酸化珪素層又は窒化珪素層が好ましい)を用いることができる。この保護層は形成されたTFT24を金属イオンや水分から保護する役割を持つ。すなわち、保護層はこれらの金属イオンなど可動イオンをTFT24側に侵入させない保護層としても働く。
【0035】
また、保護層に放熱効果を持たせることで発光素子の熱劣化を防ぐことも有効である。ただし、発光素子として有機材料を用いる場合、酸素との結合により劣化するので、酸素を放出しやすい絶縁層は用いないことが好ましい。
【0036】
可動イオンの透過を妨げ、さらに放熱効果をもつ透光性材料としては、B(ホウ素)、C(炭素)、N(窒素)から選ばれた少なくとも一つの元素と、Al(アルミニウム)、Si(珪素)、P(リン)から選ばれた少なくとも一つの元素とを含む絶縁層が挙げられる。例えば、窒化アルミニウム(AlxNy)に代表されるアルミニウムの窒化物、炭化珪素(SixCy)に代表される珪素の炭化物、窒化珪素(SixNy)に代表される珪素の窒化物、窒化ホウ素(BxNy)に代表されるホウ素の窒化物、リン化ホウ素(BxPy)に代表されるホウ素のリン化物を用いることが可能である。また、酸化アルミニウム(AlxOy)に代表されるアルミニウムの酸化物は透光性に優れ熱伝導率が20Wm-1Kー 1であり、好ましい材料の一つと言える。これらの材料には上記効果だけでなく、水分の侵入を防ぐ効果もある。
【0037】
上記化合物に他の元素を組み合わせることもできる。例えば、酸化アルミニウムに窒素を添加して、AlNxOyで示される窒化酸化アルミニウムを用いることも可能である。この材料にも放熱効果だけでなく、水分や可動イオン等の侵入を防ぐ効果がある。
【0038】
また、Si、Al、N、O、Mを含む絶縁膜(但し、Mは希土類元素の少なくとも一種、好ましくはCe(セリウム),Yb(イッテルビウム),Sm(サマリウム),Er(エルビウム),Y(イットリウム)、La(ランタン)、Gd(ガドリニウム)、Dy(ジスプロシウム)、Nd(ネオジウム)から選ばれた少なくとも一つの元素)を用いることもできる。これらの材料にも放熱効果だけでなく、水分や可動イオンの侵入を防ぐ効果がある。
【0039】
また、少なくともダイヤモンド薄膜又はアモルファスカーボン膜(特にダイヤモンドに特性の近いもの、ダイヤモンドライクカーボン等と呼ばれる。)を含む炭素膜を用いることもできる。これらは非常に熱伝導率が高く、放熱層として極めて有効である。但し、膜厚が厚くなると褐色を帯びて透過率が低下するため、なるべく薄い膜厚(好ましくは5〜100nm)で用いることが好ましい。
【0040】
なお、保護層の目的はあくまで可動イオンや水分からTFTを保護することにあるので、その効果を損なうものでないことが好ましい。したがって、上記放熱効果をもつ材料からなる薄膜を単体で用いることもできるが、これらの薄膜と、可動イオンや水分の透過を妨げうる絶縁膜(代表的には窒化珪素膜(SixNy)や窒化酸化珪素膜(SiOxNy))とを積層することは有効である。
【0041】
シリコン層241のうち、ゲート絶縁層282を挟んでゲート電極242と重なる領域がチャネル領域とされている。また、シリコン層241のうち、チャネル領域のソース側にはソース領域が設けられている。一方、チャネル領域のドレイン側にはドレイン領域が設けられている。このうち、ソース領域が、ゲート絶縁層282と第1層間絶縁層283とにわたって開孔するコンタクトホールを介して、ソース電極243に接続されている。一方、ドレイン領域が、ゲート絶縁層282と第1層間絶縁層283とにわたって開孔するコンタクトホールを介して、ソース電極243と同一層からなるドレイン電極244に接続されている。画素電極23は、ドレイン電極244を介して、シリコン層241のドレイン領域に接続されている。
【0042】
本例では、発光層60からの発光光をTFT24が設けられている基板2側から取り出す構成(バックエミッション型)であるため、基板2の形成材料としては、光を透過可能な透明あるいは半透明材料、例えば、透明なガラス、石英、サファイア、あるいはポリエステル、ポリアクリレート、ポリカーボネート、ポリエーテルケトンなどの透明な合成樹脂などが用いられる。特に、基板の形成材料としては、安価なソーダガラスが好適に用いられる。ソーダガラスを用いた場合、これにシリカコートを施すのが、酸アルカリに弱いソーダガラスを保護する効果を有し、さらに基板の平坦性をよくする効果も有するため好ましい。
また、基板に色フィルター膜や発光性物質を含む色変換膜、あるいは誘電体反射膜を配置して、発光色を制御するようにしてもよい。
【0043】
一方、TFT24が設けられている基板2とは反対側から発光光を取り出す構成(トップエミッション型)である場合には、基板2は不透明であってもよく、その場合、アルミナ等のセラミック、ステンレス等の金属シートに表面酸化などの絶縁処理を施したもの、熱硬化性樹脂、熱可塑性樹脂などを用いることができる。
【0044】
下地保護層281を形成する際には、基板2に対し、TEOS(テトラエトキシシラン)や酸素ガスなどを原料としてプラズマCVD法によって製膜することにより、下地保護層281として厚さ約200〜500nmのシリコン酸化膜が形成される。
【0045】
シリコン層241を形成する際には、まず、基板2の温度を約350℃に設定して、下地保護膜281の表面にプラズマCVD法あるいはICVD法により厚さ約30〜70nmのアモルファスシリコン層を形成する。次いで、このアモルファスシリコン層に対してレーザアニール法、急速加熱法、または固相成長法などによって結晶化工程を行い、アモルファスシリコン層をポリシリコン層に結晶化する。レーザアニール法では、例えばエキシマレーザでビームの長寸が400mmのラインビームを用い、その出力強度は例えば200mJ/cm2 とする。ラインビームについては、その短寸方向におけるレーザ強度のピーク値の90%に相当する部分が各領域毎に重なるようにラインビームを走査する。次いで、ポリシリコン層をフォトリソグラフィ法によってパターンニングして、島状のシリコン層241とする。
【0046】
なお、シリコン層241は、図1に示した第2の薄膜トランジスタ24のチャネル領域及びソース・ドレイン領域となるものであるが、異なる断面位置においては第1の薄膜トランジスタ22のチャネル領域及びソース・ドレイン領域となる半導体膜も形成されている。つまり、二種類のトランジスタ22、24は同時に形成されるが、同じ手順で作られるため、以下の説明において、トランジスタに関しては、第2の薄膜トランジスタ24についてのみ説明し、第1の薄膜トランジスタ22についてはその説明を省略する。
【0047】
ゲート絶縁層282を形成する際には、シリコン層241の表面に対して、TEOSや酸素ガスなどを原料としてプラズマCVD法を用いて製膜することにより、厚さ約60〜150nmのシリコン酸化膜または窒化膜からなるゲート絶縁層282が形成される。
【0048】
ゲート電極242は、ゲート絶縁層282上にアルミニウム、タンタル、モリブデン、チタン、タングステンなどの金属を含む導電膜をスパッタ法により形成した後、これをパターニングすることにより形成される。
【0049】
シリコン層241にソース領域及びドレイン領域を形成するには、ゲート電極242を形成した後、このゲート電極242をパターニング用マスクとして用い、この状態でリンイオンを注入する。その結果、ゲート電極242に対してセルフアライン的に高濃度不純物が導入されて、シリコン層241中にソース領域及びドレイン領域が形成される。なお、不純物が導入されなかった部分がチャネル領域となる。
【0050】
第1層間絶縁層283は、基板2より屈折率が低い低屈折率材料からなり、ゲート絶縁層282の上層に形成される。
第1層間絶縁層283の形成材料としては、シリコン酸化膜、窒化膜、あるいは多孔性を有するシリコン酸化膜(SiO2膜)などが挙げられる。多孔性を有するSiO2膜からなるゲート絶縁層282は、反応ガスとしてSi2H6とO3とを用いて、CVD法(化学的気相成長法)により形成される。これらの反応ガスを用いると、気相中に粒子の大きいSiO2が形成され、ゲート絶縁層282の上に堆積する。そのため、第1層間絶縁層283は、層中に多くの空隙を有し、多孔質体となる。そして、第1層間絶縁層283は多孔質体となることによって低屈折率材料となり、光の取り出し効率が向上できる。
【0051】
多孔質体からなる低屈折率層は、密度が0.4g/cm3以下であることが好ましい。
【0052】
低屈折率層としての第1層間絶縁層283の屈折率は1.5以下、好ましくは1.2以下に設定される。
【0053】
なお、第1層間絶縁層283の表面にH(水素)プラズマ処理をしてもよい。これにより、空隙の表面のSi−O結合中のダングリングボンドがSi−H結合に置き換えられ、膜の耐吸湿性が良くなる。そして、このプラズマ処理された第1絶縁層283の表面に別のSiO2層を設けてもよい。
また、第1層間絶縁層283をCVD法で形成する際の反応ガスは、Si2H6+O3の他に、Si2H6+O2、Si3H8+O3、Si3H8+O2としてもよい。更に、上記の反応ガスに加えて、B(ホウ素)含有の反応ガス、F(フッ素)含有の反応ガスを用いてもよい。
【0054】
第1層間絶縁層283を多孔質体として形成する際、多孔性を有するSiO2膜と、通常の減圧化学的気相成長法により形成されたSiO2膜とを積層することにより、膜質の安定した多孔質体としての第1層間絶縁層283を形成することもできる。そして、これらの膜を積層するには、減圧下におけるSiH4とO2の雰囲気中において、プラズマを断続的、又は周期的に発生させることによって可能となる。具体的には、第1層間絶縁層283は、基板2を所定のチャンバ内に収容し、例えば400℃に保持しながら、反応ガスとしてSiH4とO2を用い、RF電圧(高周波電圧)をチャンバに印加することにより形成される。成膜中においては、SiH4流量、O2流量が一定であるのに対し、RF電圧は10秒の周期でチャンバに印加される。これにともない、プラズマが10秒の周期で発生、消滅する。このように、時間変化するプラズマを用いることにより、1つのチャンバー内で、減圧CVDを用いるプロセスと、減圧下におけるプラズマCVDを用いるプロセスとを繰り返し行うことができる。そして、減圧CVDと減圧下におけるプラズマCVDとを繰り返し行うことにより、膜中に多数の空隙を有するSiO2膜が形成される。すなわち、第1層間絶縁層283は多孔性を有することになる。
【0055】
第1層間絶縁層283は、エアロゲルによって構成することもできる。エアロゲルとは、金属アルコキシドのゾルゲル反応により形成される湿潤ゲルを超臨界乾燥することによって得られる均一な超微細構造を持った光透過性の多孔質体である。エアロゲルにはシリカエアロゲルやアルミナを基調としたエアロゲルがある。このうち、シリカエアロゲルは、体積の90%以上を空隙が占め、残りが樹枝状に凝集した数10nmの微細なSiO2粒子で構成された材料であり、粒子径が光の波長よりも小さいため、光透過性を有し、その屈折率は1.2以下である。また、空隙率を変化させることによって屈折率を調整できる。ここで、基板2の材料であるガラスの屈折率は1.54、石英の屈折率は1.45である。
【0056】
シリカエアロゲルは、ゾル−ゲル法により湿潤ゲルを作製する工程、湿潤ゲルを熟成させる工程、及び超臨界乾燥法により湿潤ゲルを乾燥してエアロゲルを得る超臨界乾燥工程を経て製造される。超臨界乾燥法は、固相と液相とからなるゼリー状のゲル物質中の液体を超臨界流体と置換、除去することにより、ゲルを収縮させることなくゲル物質を乾燥するのに適した方法であって、高い空隙率を有するエアロゲルが得られる。
【0057】
例えば第1層間絶縁層283をシリカエアロゲルによって形成する際には、ゲート絶縁層282の上にエアロゲルの原料である湿潤ゲルをスピンコート法等を用いてコーティングし、超臨界乾燥することにより形成される。超臨界流体を用いた超臨界乾燥法によって、湿潤ゲル中の溶媒を超臨界流体で置換することにより、湿潤ゲル中の溶媒が除去される。なお、超臨界流体としては、二酸化炭素(CO2)、若しくは、メタノールやエタノールのようなアルコール、NH3、H2O、N2O、メタン、エタン、エチレン、プロパン、ペンタン、イソプロパノール、イソブタノール、シクロトリフルオロメタン、モノフルオロメタン、シクロヘキサノールなどを用いることができる。
【0058】
低屈折率層(各絶縁層)をシリカエアロゲルによって形成する際、基材上にスピンコートなどによって湿潤ゲルを塗布した後、超臨界乾燥するが、湿潤ゲルに合成樹脂(有機物)を混合しておいてもよい。この場合の合成樹脂は、その熱変性温度が超臨界流体の臨界温度よりも高く光を透過可能な合成樹脂である。超臨界流体として例えばアルコールを用いた場合、その熱変性温度がアルコールの臨界温度よりも高く光を透過可能な合成樹脂としては、ヒドロキシルプロピルセルロース(HPC),ポリビニルブチラール(PVB),エチルセルロース(EC)等が挙げられる(なお、PVB及びECはアルコールに可溶で水には不溶)。溶媒としてエーテルを用いる場合には樹脂として塩素系ポリエチレン等を選択し、またCO2を溶媒として用いる場合にはHPC等を選択することが望ましい。
【0059】
低屈折率層としては、シリカエアロゲルの他にアルミナを基調としたエアロゲルでもよく、基板2より低屈折率で光を透過可能な多孔質体であればよい。そして、多孔質体(エアロゲル)は密度が0.4g/cm3以下であることが好ましい。
【0060】
低屈折率層としては多孔質体でなくてもよく、エポキシ系接着剤(屈折率:1.42)やアクリル系接着剤(屈折率:1.43)など、光を透過可能で基板2より低屈折率な高分子材料からなる接着剤でもよい。これらの接着剤を単独で使用した場合であっても、基板2を構成するガラスや石英よりも屈折率が低いため、光の取り出し効率を向上できる。
【0061】
更に、低屈折率層としては、多孔質シリカでもよいし、フッ化マグネシウム(屈折率:1.38)あるいはこれを含む材料でもよい。フッ化マグネシウムによる低屈折率層はスパッタリングによって形成可能である。あるいは、フッ化マグネシウムの微粒子を分散したゲルでもよい。あるいは、フッ素系ポリマー又はこれを含む材料、例えば、パーフルオロアルキル−ポリエーテル、パーフルオロアルキルアミン、またはパーフルオロアルキル−ポリエーテル−パーフルオロアルキルアミン混合フィルムでもよい。
【0062】
更には、低屈折率層として、所定のポリマーバインダーに、可溶性もしくは分散性である低屈折率のフルオロカーボン化合物を混在したものでもよい。
ポリマーバインダーとしては、ポリビニルアルコール、ポリアクリル酸、ポリビニルピロリドン、ポリビニルスルホン酸ナトリウム塩、ポリビニルメチルエーテル、ポリエチレングリコール、ポリα−トリフルオロメチルアクリル酸、ポリビニルメチルエーテル−コ−無水マレイン酸、ポリエチレングリコール−コ−プロピレングリコール、ポリメタアクリル酸などが挙げられる。
また、フルオロカーボン化合物としては、パーフルオロオクタン酸−アンモニウム塩、パーフルオロオクタン酸−テトラメチルアンモニウム塩、C−7とC−10のパーフルオロアルキルスルホン酸アンモニウム塩、C−7とC−10のパーフルオロアルキルスルホン酸テトラメチルアンモニウム塩、フッ素化アルキル第4級アンモニウムアイオダイド、パーフルオロアジピン酸、およびパーフルオロアジピン酸の第4級アンモニウム塩などが挙げられる。
【0063】
更に、低屈折率層として空隙を導入する方法が有効であるため、上記エアロゲルの他に、微粒子を用いて微粒子間または微粒子内のミクロボイドとして空隙を形成してもよい。微粒子としては、無機微粒子あるいは有機微粒子を低屈折率層に用いることができる。
無機微粒子は、非晶質であることが好ましい。無機微粒子は、金属の酸化物、窒化物、硫化物またはハロゲン化物からなることが好ましく、金属酸化物または金属ハロゲン化物からなることがさらに好ましく、金属酸化物または金属フッ化物からなることが最も好ましい。金属原子としては、Na、K、Mg、Ca、Ba、Al、Zn、Fe、Cu、Ti、Sn、In、W、Y、Sb、Mn、Ga、V、Nb、Ta、Ag、Si、B、Bi、Mo、Ce、Cd、Be、PbおよびNiが好ましく、Mg、Ca、BおよびSiがさらに好ましい。二種類の金属を含む無機化合物を用いてもよい。特に好ましい無機化合物は、二酸化ケイ素、すなわちシリカである。
【0064】
無機微粒子内ミクロボイドは、例えば、粒子を形成するシリカの分子を架橋させることにより形成することができる。シリカの分子を架橋させると体積が縮小し、粒子が多孔質になる。ミクロボイドを有する(多孔質)無機微粒子は、ゾル−ゲル法(特開昭53−112732号、特公昭57−9051号の各公報記載)または析出法(APPLIED OPTICS、27、3356頁(1988)記載)により、分散物として直接合成することができる。また、乾燥・沈澱法で得られた粉体を、機械的に粉砕して分散物を得ることもできる。市販の多孔質無機微粒子(例えば、二酸化ケイ素ゾル)を用いてもよい。ミクロボイドを有する無機微粒子は、低屈折率層の形成のため、適当な媒体に分散した状態で使用することが好ましい。分散媒としては、水、アルコール(例、メタノール、エタノール、イソプロピルアルコール)およびケトン(例、メチルエチルケトン、メチルイソブチルケトン)が好ましい。
【0065】
有機微粒子も、非晶質であることが好ましい。有機微粒子は、モノマーの重合反応(例えば乳化重合法)により合成されるポリマー微粒子であることが好ましい。有機微粒子のポリマーはフッ素原子を含むことが好ましい。含フッ素ポリマーを合成するために用いるフッ素原子を含むモノマーの例には、フルオロオレフィン類(例、フルオロエチレン、ビニリデンフルオライド、テトラフルオロエチレン、ヘキサフルオロプロピレン、パーフルオロ−2,2−ジメチル−1,3−ジオキソール)、アクリル酸またはメタクリル酸のフッ素化アルキルエステル類およびフッ素化ビニルエーテル類が含まれる。フッ素原子を含むモノマーとフッ素原子を含まないモノマーとのコポリマーを用いてもよい。フッ素原子を含まないモノマーの例には、オレフィン類(例、エチレン、プロピレン、イソプレン、塩化ビニル、塩化ビニリデン)、アクリル酸エステル類(例、アクリル酸メチル、アクリル酸エチル、アクリル酸2−エチルヘキシル)、メタクリル酸エステル類(例、メタクリル酸メチル、メタクリル酸エチル、メタクリル酸ブチル)、スチレン類(例、スチレン、ビニルトルエン、α−メチルスチレン)、ビニルエーテル類(例、メチルビニルエーテル)、ビニルエステル類(例、酢酸ビニル、プロピオン酸ビニル)、アクリルアミド類(例、N−tert−ブチルアクリルアミド、N−シクロヘキシルアクリルアミド)、メタクリルアミド類およびアクリルニトリル類が含まれる。
【0066】
有機微粒子内ミクロボイドは、例えば、粒子を形成するポリマーを架橋させることにより形成することができる。ポリマーを架橋させると体積が縮小し、粒子が多孔質になる。粒子を形成するポリマーを架橋させるためには、ポリマーを合成するためのモノマーの20モル%以上を多官能モノマーとすることが好ましい。多官能モノマーの割合は、30乃至80モル%であることがさらに好ましく、35乃至50モル%であることが最も好ましい。多官能モノマーの例には、ジエン類(例、ブタジエン、ペンタジエン)、多価アルコールとアクリル酸とのエステル(例、エチレングリコールジアクリレート、1,4−シクロヘキサンジアクリレート、ジペンタエリスリトールヘキサアクリレート)、多価アルコールとメタクリル酸とのエステル(例、エチレングリコールジメタクリレート、1,2,4−シクロヘキサンテトラメタクリレート、ペンタエリスリトールテトラメタクリレート)、ジビニル化合物(例、ジビニルシクロヘキサン、1,4−ジビニルベンゼン)、ジビニルスルホン、ビスアクリルアミド類(例、メチレンビスアクリルアミド)およびビスメタクリルアミド類が含まれる。粒子間のミクロボイドは、微粒子を少なくとも2個以上積み重ねることにより形成することができる。
【0067】
低屈折率層を、微細空孔と微粒子状無機物とを有する材料によって構成してもよい。この場合、低屈折率層はコーティングにより形成され、微細空孔は層の塗布後に活性化ガス処理を行ない、ガスが層から離脱することによって形成される。あるいは、2種類以上の超微粒子(例えば、MgF2とSiO2 )を混在させて、膜厚方向にその混合比を変化させることによって低屈折率層を形成してもよい。混合比を変化させることにより屈折率が変化する。超微粒子は、エチルシリケートの熱分解で生じたSiO2により接着している。エチルシリケートの熱分解では、エチル部分の燃焼によって、二酸化炭素と水蒸気も発生する。二酸化炭素と水蒸気が層から離脱することにより、超微粒子の間に間隙が生じている。あるいは、多孔質シリカよりなる無機微粉末とバインダーとを含有して低屈折率層を形成してもよいし、含フッ素ポリマーからなる微粒子を2個以上積み重ねることにより、微粒子間に空隙を形成した低屈折率層を形成してもよい。
【0068】
分岐構造レベルで空隙率を向上させることもできる。例えばデンドリマーなどの分岐構造を有するポリマーを用いても低屈折率が得られる。
【0069】
そして、上記の材料を用いて、低屈折率層は、屈折率が1.5以下、好ましくは1.2以下に設定されていることが望ましい。基板2として屈折率が1.45の石英や、屈折率が約1.54のガラスなどを用いた際、基板2の屈折率より低い屈折率となる。
【0070】
ソース電極243及びドレイン電極244を形成するには、まず、第1層間絶縁層283にフォトリソグラフィ法を用いてパターニングすることにより、ソース電極及びドレイン電極に対応するコンタクトホールを形成する。次に、第1層間絶縁層283を覆うように、アルミニウムやクロム、タンタル等の金属からなる導電層を形成した後、この導電層のうち、ソース電極及びドレイン電極が形成されるべき領域を覆うようにパターニング用マスクを設けるとともに、導電層をパターニングすることにより、ソース電極243及びドレイン電極244が形成される。
【0071】
第2層間絶縁層284は、第1層間絶縁層283同様、低屈折率材料によって構成され、第1層間絶縁層283の形成方法と同様の手順で第1層間絶縁層283の上層に形成される。ここで、第2層間絶縁層284を形成したら、第2層間絶縁層284のうちドレイン電極244に対応する部分にコンタクトホール23aを形成する。
【0072】
発光素子3に接続する陽極23は、ITOやフッ素をドープしてなるSnO2、更にZnOやポリアミン等の透明電極材料からなり、コンタクトホール23aを介してTFT24のドレイン電極244に接続されている。陽極23を形成するには、前記透明電極材料からなる膜を第2層間絶縁層284上面に形成し、この膜をパターニングすることにより形成される。
【0073】
第3絶縁層(バンク層)221はアクリル樹脂、ポリイミド樹脂などの合成樹脂によって構成されている。第3絶縁層221は、陽極23が形成された後に形成される。具体的な第3絶縁層221の形成方法としては、例えば、アクリル樹脂、ポリイミド樹脂などのレジストを溶媒に融かしたものを、スピンコート、ディップコート等により塗布して絶縁層を形成する。なお、絶縁層の構成材料は、後述するインクの溶媒に溶解せず、しかもエッチング等によってパターニングしやすいものであればどのようなものでもよい。更に、絶縁層をフォトリソグラフィ技術等により同時にエッチングして、開口部221aを形成することにより、開口部221aを備えた第3絶縁層221が形成される。
【0074】
ここで、第3絶縁層221の表面には、親液性(親インク性)を示す領域と、撥液性(撥インク性)を示す領域とが形成される。本実施形態においてはプラズマ処理工程により、各領域を形成するものとしている。具体的にプラズマ処理工程は、予備加熱工程と、開口部221aの壁面並びに画素電極23の電極面を親インク性にする親インク化工程と、第3絶縁層221の上面を撥インク性にする撥インク化工程と、冷却工程とを有している。
すなわち、基材(第3絶縁層等を含む基板2)を所定温度(例えば70〜80土程度)に加熱し、次いで親インク化工程として大気雰囲気中で酸素を反応ガスとするプラズマ処理(O2プラスマ処理)を行う。続いて、撥インク化工程として大気雰囲気中で4フッ化メタンを反応ガスとするプラスマ処理(CF4プラスマ処理)を行い、プラズマ処理のために加熱された基材を室温まで冷却することで、親インク性及び撥インク性が所定箇所に付与されることとなる。なお、画素電極23の電極面についても、このCF4プラスマ処理の影響を多少受けるが、画素電極23の材料であるITO等はフッ素に対する親和性に乏しいため、親インク化工程で付与された水酸基がフッ素基で置換されることがなく、親インク性が保たれる。
【0075】
なお、第1層間絶縁層283、第2層間絶縁層284のそれぞれを低屈折率層としているが、これら2つの層を低屈折率層とする必要はなく、少なくともいずれか一方の層だけ低屈折率層としてもよい。
【0076】
一方、第1層間絶縁層283及び第2層間絶縁層284に加えて、ゲート絶縁層282も低屈折率材料により形成してもよい。こうすることにより光の取り出し効率が向上するが、TFTなどトランジスタの性能を向上させるためにはゲート絶縁層を高誘電率材料により形成することが好ましい場合がある。
【0077】
また、低屈折率材料からなる層は発光層60からの光が通過する部分に設けられていればよいので、絶縁層以外の層を低屈折率層としてもよい。更には、有機バンク層221を低屈折率層としてもよい。
【0078】
正孔輸送層70は陽極23の上面に形成されている。ここで、正孔輸送層70の形成材料としては、特に限定されることなく公知のものが使用可能であり、例えばピラゾリン誘導体、アリールアミン誘導体、スチルベン誘導体、トリフェニルジアミン誘導体等が挙げられる。具体的には、特開昭63−70257号、同63−175860号公報、特開平2−135359号、同2−135361号、同2−209988号、同3−37992号、同3−152184号公報に記載されているもの等が例示されるが、トリフェニルジアミン誘導体が好ましく、中でも4,4’−ビス(N(3−メチルフェニル)−N−フェニルアミノ)ビフェニルが好適とされる。
【0079】
なお、正孔輸送層に代えて正孔注入層を形成するようにしてもよく、さらに正孔注入層と正孔輸送層を両方形成するようにしてもよい。その場合、正孔注入層の形成材料としては、例えば銅フタロシアニン(CuPc)や、ポリテトラヒドロチオフェニルフェニレンであるポリフェニレンビニレン、1,1−ビス−(4−N,N−ジトリルアミノフェニル)シクロヘキサン、トリス(8−ヒドロキシキノリノール)アルミニウム等が挙げられるが、特に銅フタロシアニン(CuPc)を用いるのが好ましい。
【0080】
正孔注入/輸送層70を形成する際には、インクジェット法が用いられる。すなわち、上述した正孔注入/輸送層材料を含む組成物インクを陽極23の電極面上に吐出した後に、乾燥処理及び熱処理を行うことにより、電極23上に正孔注入/輸送層70が形成される。なお、この正孔注入/輸送層形成工程以降は、正孔注入/輸送層70及び発光層(有機EL層)60の酸化を防止すべく、窒素雰囲気、アルゴン雰囲気等の不活性ガス雰囲気で行うことが好ましい。例えば、インクジェットヘッド(不図示)に正孔注入/輸送層材料を含む組成物インクを充填し、インクジェットヘッドの吐出ノズルを陽極23の電極面に対向させ、インクジェットヘッドと基材(基板2)とを相対移動させながら、吐出ノズルから1滴当たりの液量が制御されたインキ滴を電極面に吐出する。次に、吐出後のインク滴を乾燥処理して組成物インクに含まれる極性溶媒を蒸発させることにより、正孔注入/輸送層70が形成される。
【0081】
なお、組成物インクとしては、例えば、ポリエチレンジオキシチオフェン等のポリチオフェン誘導体と、ポリスチレンスルホン酸等との混合物を、イソプロピルアルコール等の極性溶媒に溶解させたものを用いることができる。ここで、吐出されたインク滴は、親インク処理された陽極23の電極面上に広がり、開口部221aの底部近傍に満たされる。その一方で、撥インク処理された第3絶縁層221の上面にはインク滴がはじかれて付着しない。したがって、インク滴が所定の吐出位置からはずれて第3絶縁層221の上面に吐出されたとしても、該上面がインク滴で濡れることがなく、はじかれたインク滴が第3絶縁層221の開口部221a内に転がり込むものとされている。
【0082】
発光層60は、正孔注入/輸送層70上面に形成される。発光層60の形成材料としては、特に限定されることなく、低分子の有機発光色素や高分子発光体、すなわち各種の蛍光物質や燐光物質からなる発光物質が使用可能である。発光物質となる共役系高分子の中ではアリーレンビニレン構造を含むものが特に好ましい。低分子蛍光体では、例えばナフタレン誘導体、アントラセン誘導体、ペリレン誘導体、ポリメチン系、キサテン系、クマリン系、シアニン系などの色素類、8−ヒドロキノリンおよびその誘導体の金属錯体、芳香族アミン、テトラフェニルシクロペンタジエン誘導体等、または特開昭57−51781、同59−194393号公報等に記載されている公知のものが使用可能である。
【0083】
発光層60の形成材料として高分子蛍光体を用いる場合には、側鎖に蛍光基を有する高分子を用いることができるが、好ましくは共役系構造を主鎖に含むもので、特に、ポリチオフェン、ポリ−p−フェニレン、ポリアリーレンビニレン、ポリフルオレンおよびその誘導体が好ましい。中でもポリアリーレンビニレンおよびその誘導体が好ましい。該ポリアリーレンビニレンおよびその誘導体は、下記化学式(1)で示される繰り返し単位を全繰り返し単位の50モル%以上含む重合体である。繰り返し単位の構造にもよるが、化学式(1)で示される繰り返し単位が全繰り返し単位の70%以上であることがさらに好ましい。
−Ar−CR=CR’− (1)
〔ここで、Arは、共役結合に関与する炭素原子数が4個以上20個以下からなるアリーレン基または複素環化合物基、R、R’はそれぞれ独立に水素、炭素数1〜20のアルキル基、炭素数6〜20のアリール基、炭素数4〜20の複素環化合物、シアノ基からなる群から選ばれた基を示す。〕
【0084】
該高分子蛍光体は、化学式(1)で示される繰り返し単位以外の繰り返し単位として、芳香族化合物基またはその誘導体、複素環化合物基またはその誘導体、およびそれらを組み合わせて得られる基などを含んでいてもよい。また、化学式(1)で示される繰り返し単位や他の繰り返し単位が、エーテル基、エステル基、アミド基、イミド基などを有する非共役の単位で連結されていてもよいし、繰り返し単位にそれらの非共役部分が含まれていてもよい。
【0085】
前記高分子蛍光体において化学式(1)のArとしては、共役結合に関与する炭素原子数が4個以上20個以下からなるアリーレン基または複素環化合物基であり、下記の化学式(2)で示す芳香族化合物基またはその誘導体基、複素環化合物基またはその誘導体基、およびそれらを組み合わせて得られる基などが例示される。
【0086】
【化1】
(R1〜R92は、それぞれ独立に、水素、炭素数1〜20のアルキル基、アルコキシ基およびアルキルチオ基;炭素数6〜18のアリール基およびアリールオキシ基;ならびに炭素数4〜14の複素環化合物基からなる群から選ばれた基である。)
【0087】
これらのなかでフェニレン基、置換フェニレン基、ビフェニレン基、置換ビフェニレン基、ナフタレンジイル基、置換ナフタレンジイル基、アントラセン−9,10−ジイル基、置換アントラセン−9,10−ジイル基、ピリジン−2,5−ジイル基、置換ピリジン−2,5−ジイル基、チエニレン基および置換チエニレン基が好ましい。さらに好ましくは、フェニレン基、ビフェニレン基、ナフタレンジイル基、ピリジン−2,5−ジイル基、チエニレン基である。
【0088】
化学式(1)のR、R’が水素またはシアノ基以外の置換基である場合について述べると、炭素数1〜20のアルキル基としては、メチル基、エチル基、プロピル基、ブチル基、ペンチル基、ヘキシル基、ヘプチル基、オクチル基、デシル基、ラウリル基などが挙げられ、メチル基、エチル基、ペンチル基、ヘキシル基、ヘプチル基、オクチル基が好ましい。アリール基としては、フェニル基、4−C1〜C12アルコキシフェニル基(C1〜C12は炭素数1〜12であることを示す。以下も同様である。)、4−C1〜C12アルキルフェニル基、1−ナフチル基、2−ナフチル基などが例示される。
【0089】
溶媒可溶性の観点からは化学式(1)のArが、1つ以上の炭素数4〜20のアルキル基、アルコキシ基およびアルキルチオ基、炭素数6〜18のアリール基およびアリールオキシ基ならびに炭素数4〜14の複素環化合物基から選ばれた基を有していることが好ましい。
【0090】
これらの置換基としては以下のものが例示される。炭素数4〜20のアルキル基としては、ブチル基、ペンチル基、ヘキシル基、ヘプチル基、オクチル基、デシル基、ラウリル基などが挙げられ、ペンチル基、ヘキシル基、ヘプチル基、オクチル基が好ましい。また、炭素数4〜20のアルコキシ基としては、ブトキシ基、ペンチルオキシ基、ヘキシルオキシ基、ヘプチルオキシ基、オクチルオキシ基、デシルオキシ基、ラウリルオキシ基などが挙げられ、ペンチルオキシ基、ヘキシルオキシ基、ヘプチルオキシ基、オクチルオキシ基が好ましい。炭素数4〜20のアルキルチオ基としては、ブチルチオ基、ペンチルチオ基、ヘキシルチオ基、ヘプチルチオ基、オクチルチオ基、デシルオキシ基、ラウリルチオ基などが挙げられ、ペンチルチオ基、ヘキシルチオ基、ヘプチルチオ基、オクチルチオ基が好ましい。アリール基としては、フェニル基、4−C1〜C12アルコキシフェニル基、4−C1〜C12アルキルフェニル基、1−ナフチル基、2−ナフチル基などが例示される。アリールオキシ基としては、フェノキシ基が例示される。複素環化合物基としては2−チエニル基、2−ピロリル基、2−フリル基、2−、3−または4−ピリジル基などが例示される。これら置換基の数は、該高分子蛍光体の分子量と繰り返し単位の構成によっても異なるが、溶解性の高い高分子蛍光体を得る観点から、これらの置換基が分子量600当たり1つ以上であることがより好ましい。
【0091】
なお、前記高分子蛍光体は、ランダム、ブロックまたはグラフト共重合体であってもよいし、それらの中間的な構造を有する高分子、例えばブロック性を帯びたランダム共重合体であってもよい。蛍光の量子収率の高い高分子蛍光体を得る観点からは完全なランダム共重合体よりブロック性を帯びたランダム共重合体やブロックまたはグラフト共重合体が好ましい。また、ここで形成する有機エレクトロルミネッセンス素子は、薄膜からの蛍光を利用することから、該高分子蛍光体は固体状態で蛍光を有するものが用いられる。
【0092】
該高分子蛍光体に対して溶媒を使用する場合に、好適なものとしては、クロロホルム、塩化メチレン、ジクロロエタン、テトラヒドロフラン、トルエン、キシレンなどが例示される。高分子蛍光体の構造や分子量にもよるが、通常はこれらの溶媒に0.1wt%以上溶解させることができる。
また、前記高分子蛍光体としては、分子量がポリスチレン換算で103 〜107 であることが好ましく、それらの重合度は繰り返し構造やその割合によっても変わる。成膜性の点から一般には繰り返し構造の合計数で好ましくは4〜10000、さらに好ましくは5〜3000、特に好ましくは10〜2000である。
【0093】
このような高分子蛍光体の合成法としては、特に限定されないものの、例えばアリーレン基にアルデヒド基が2つ結合したジアルデヒド化合物と、アリーレン基にハロゲン化メチル基が2つ結合した化合物とトリフェニルホスフィンとから得られるジホスホニウム塩からのWittig反応が例示される。また、他の合成法としては、アリーレン基にハロゲン化メチル基が2つ結合した化合物からの脱ハロゲン化水素法が例示される。さらに、アリーレン基にハロゲン化メチル基が2つ結合した化合物のスルホニウム塩をアルカリで重合して得られる中間体から熱処理により該高分子蛍光体を得るスルホニウム塩分解法が例示される。いずれの合成法においても、モノマーとして、アリーレン基以外の骨格を有する化合物を加え、その存在割合を変えることにより、生成する高分子蛍光体に含まれる繰り返し単位の構造を変えることができるので、化学式(1)で示される繰り返し単位が50モル%以上となるように加減して仕込み、共重合してもよい。これらのうち、Wittig反応による方法が、反応の制御や収率の点で好ましい。
【0094】
さらに具体的に、前記高分子蛍光体の1つの例であるアリーレンビニレン系共重合体の合成法を説明する。例えば、Wittig反応により高分子蛍光体を得る場合には、例えばまず、ビス(ハロゲン化メチル)化合物、より具体的には、例えば2,5−ジオクチルオキシ−p−キシリレンジブロミドをN,N−ジメチルホルムアミド溶媒中、トリフェニルホスフィンと反応させてホスホニウム塩を合成し、これとジアルデヒド化合物、より具体的には、例えば、テレフタルアルデヒドとを、例えばエチルアルコール中、リチウムエトキシドを用いて縮合させるWittig反応により、フェニレンビニレン基と2,5−ジオクチルオキシ−p−フェニレンビニレン基を含む高分子蛍光体が得られる。このとき、共重合体を得るために2種類以上のジホスホニウム塩および/または2種類以上のジアルデヒド化合物を反応させてもよい。
これらの高分子蛍光体を発光層の形成材料として用いる場合、その純度が発光特性に影響を与えるため、合成後、再沈精製、クロマトグラフによる分別等の純化処理をすることが望ましい。
【0095】
また、前記の高分子蛍光体からなる発光層の形成材料としては、フルカラー表示をなすため、赤、緑、青の三色の発光層形成材料が用いられ、それぞれが所定のパターニング装置(インクジェット装置)によって予め設定された位置の画素ARに射出され、パターニングされる。
なお、前記の発光物質としては、ホスト材料にゲスト材料を添加した形態のものを用いることもできる。
【0096】
このような発光材料としては、ホスト材料として例えば高分子有機化合物や低分子材料が、またゲスト材料として得られる発光層の発光特性を変化させるための蛍光色素、あるいは燐光物質を含んでなるものが好適に用いられる。
高分子有機化合物としては、溶解性の低い材料の場合、例えば前駆体が塗布された後、以下の化学式(3)に示すように加熱硬化されることによって共役系高分子有機エレクトロルミネッセンス層となる発光層を生成し得るものがある。例えば、前駆体のスルホニウム塩の場合、加熱処理されることによりスルホニウム基が脱離し、共役系高分子有機化合物となるもの等がある。
また、溶解性の高い材料では、材料をそのまま塗布した後、溶媒を除去して発光層にし得るものもある。
【0097】
【化2】
【0098】
前記の高分子有機化合物は固体で強い蛍光を持ち、均質な固体超薄膜を形成することができる。しかも、形成能に富みITO電極との密着性も高く、さらに、固化した後は強固な共役系高分子膜を形成する。
【0099】
このような高分子有機化合物としては、例えばポリアリーレンビニレンが好ましい。ポリアリーレンビニレンは水系溶媒あるいは有機溶媒に可溶で第2の基体11に塗布する際の塗布液への調製が容易であり、さらに一定条件下でポリマー化することができるため、光学的にも高品質の薄膜を得ることができる。
このようなポリアリーレンビニレンとしては、PPV(ポリ(パラ−フェニレンビニレン))、MO−PPV(ポリ(2,5−ジメトキシ−1,4−フェニレンビニレン))、CN−PPV(ポリ(2,5−ビスヘキシルオキシ−1,4−フェニレン−(1−シアノビニレン)))、MEH−PPV(ポリ[2−メトキシ−5−(2’−エチルヘキシルオキシ)]−パラ−フェニレンビニレン)、等のPPV誘導体、PTV(ポリ(2,5−チエニレンビニレン))等のポリ(アルキルチオフェン)、PFV(ポリ(2,5−フリレンビニレン))、ポリ(パラフェニレン)、ポリアルキルフルオレン等が挙げられるが、なかでも化学式(4)に示すようなPPVまたはPPV誘導体の前駆体からなるものや、化学式(5)に示すようなポリアルキルフルオレン(具体的には化学式(6)に示すようなポリアルキルフルオレン系共重合体)が特に好ましい。
PPV等は強い蛍光を持ち、二重結合を形成するπ電子がポリマー鎖上で非極在化している導電性高分子でもあるため、高性能の有機エレクトロルミネッセンス素子を得ることができる。
【0100】
【化3】
【0101】
【化4】
【0102】
【化5】
【0103】
なお、前記PPV薄膜の他に発光層を形成し得る高分子有機化合物や低分子材料、すなわち本例においてホスト材料として用いられるものは、例えばアルミキノリノール錯体(Alq3)やジスチリルビフェニル、さらに化学式(7)に示すBeBq2やZn(OXZ)2 、そしてTPD、ALO、DPVBi等の従来より一般的に用いられているものに加え、ピラゾリンダイマー、キノリジンカルボン酸、ベンゾピリリウムパークロレート、ベンゾピラノキノリジン、ルブレン、フェナントロリンユウロピウム錯体等が挙げられ、これらの1種または2種以上を含む有機エレクトロルミネッセンス素子用組成物を用いることができる。
【0104】
【化6】
【0105】
一方、このようなホスト材料に添加されるゲスト材料としては、前記したように蛍光色素や燐光物質が挙げられる。特に蛍光色素は、発光層の発光特性を変化させることができ、例えば、発光層の発光効率の向上、または光吸収極大波長(発光色)を変えるための手段としても有効である。すなわち、蛍光色素は単に発光層材料としてではなく、発光機能そのものを担う色素材料として利用することができる。例えば、共役系高分子有機化合物分子上のキャリア再結合で生成したエキシトンのエネルギーを蛍光色素分子上に移すことができる。この場合、発光は蛍光量子効率が高い蛍光色素分子からのみ起こるため、発光層の電流量子効率も増加する。したがって、発光層の形成材料中に蛍光色素を加えることにより、同時に発光層の発光スペクトルも蛍光分子のものとなるので、発光色を変えるための手段としても有効となる。
【0106】
なお、ここでいう電流量子効率とは、発光機能に基づいて発光性能を考察するための尺度であって、下記式により定義される。
ηE =放出されるフォトンのエネルギー/入力電気エネルギー
そして、蛍光色素のドープによる光吸収極大波長の変換によって、例えば赤、青、緑の3原色を発光させることができ、その結果フルカラー表示体を得ることが可能となる。
さらに蛍光色素をドーピングすることにより、エレクトロルミネッセンス素子の発光効率を大幅に向上させることができる。
【0107】
蛍光色素としては、赤色の発色光を発光する発光層を形成する場合、レーザー色素のDCM−1、あるいはローダミンまたはローダミン誘導体、ペニレン等を用いるのが好ましい。これらの蛍光色素をPPVなどホスト材料にドープすることにより、発光層を形成することができるが、これらの蛍光色素は水溶性のものが多いので、水溶性を有するPPV前駆体であるスルホニウム塩にドープし、その後、加熱処理すれば、より均一な発光層の形成が可能になる。このような蛍光色素として具体的には、ローダミンB、ローダミンBベース、ローダミン6G、ローダミン101過塩素酸塩等が挙げられ、これらを2種以上混合したものであってもよい。
【0108】
また、緑色の発色光を発光する発光層を形成する場合、キナクリドン、ルブレン、DCJTおよびその誘導体を用いるのが好ましい。これらの蛍光色素についても、前記の蛍光色素と同様、PPVなどホスト材料にドープすることにより、発光層を形成することができるが、これらの蛍光色素は水溶性のものが多いので、水溶性を有するPPV前駆体であるスルホニウム塩にドープし、その後、加熱処理すれば、より均一な発光層の形成が可能になる。
【0109】
さらに、青色の発色光を発光する発光層を形成する場合、ジスチリルビフェニルおよびその誘導体を用いるのが好ましい。これらの蛍光色素についても、前記の蛍光色素と同様、PPVなどホスト材料にドープすることにより、発光層を形成することができるが、これらの蛍光色素は水溶性のものが多いので、水溶性を有するPPV前駆体であるスルホニウム塩にドープし、その後、加熱処理すれば、より均一な発光層の形成が可能になる。
【0110】
また、青色の発色光を有する他の蛍光色素としては、クマリンおよびその誘導体を挙げることができる。これらの蛍光色素は、PPVと相溶性がよく発光層の形成が容易である。また、これらのうち特にクマリンは、それ自体は溶媒に不溶であるものの、置換基を適宜に選択することによって溶解性を増し、溶媒に可溶となるものもある。このような蛍光色素として具体的には、クマリン−1、クマリン−6、クマリン−7、クマリン120、クマリン138、クマリン152、クマリン153、クマリン311、クマリン314、クマリン334、クマリン337、クマリン343等が挙げられる。
【0111】
さらに、別の青色の発色光を有する蛍光色素としては、テトラフェニルブタジエン(TPB)またはTPB誘導体、DPVBi等を挙げることができる。これらの蛍光色素は、前記赤色蛍光色素等と同様に水溶液に可溶であり、またPPVと相溶性がよく発光層の形成が容易である。
以上の蛍光色素については、各色ともに1種のみを用いてもよく、また2種以上を混合して用いてもよい。
なお、このような蛍光色素としては、化学式(8)に示すようなものや、化学式(9)に示すようなもの、さらに化学式(10)に示すようなものが用いられる。
【0112】
【化7】
【0113】
【化8】
【0114】
【化9】
【0115】
これらの蛍光色素については、前記共役系高分子有機化合物等からなるホスト材料に対し、後述する方法によって0.5〜10wt%添加するのが好ましく、1.0〜5.0wt%添加するのがより好ましい。蛍光色素の添加量が多過ぎると得られる発光層の耐候性および耐久性の維持が困難となり、一方、添加量が少な過ぎると、前述したような蛍光色素を加えることによる効果が十分に得られないからである。
【0116】
また、ホスト材料に添加されるゲスト材料としての燐光物質としては、化学式(11)に示すIr(ppy)3 、Pt(thpy)2 、PtOEPなどが好適に用いられる。
【0117】
【化10】
【0118】
なお、前記の化学式(11)に示した燐光物質をゲスト材料とした場合、ホスト材料としては、特に化学式(12)に示すCBP、DCTA、TCPBや、前記したDPVBi、Alq3が好適に用いられる。
また、前記蛍光色素と燐光物質については、これらを共にゲスト材料としてホスト材料に添加するようにしてもよい。
【0119】
【化11】
【0120】
なお、このようなホスト/ゲスト系の発光物質によって発光層60を形成する場合、例えば予めパターニング装置(インクジェット装置)にノズル等の材料供給系を複数形成しておき、これらノズルからホスト材料とゲスト材料とを予め設定した量比で同時に吐出させることにより、ホスト材料に所望する量のゲスト材料が添加されてなる発光物質による、発光層60を形成することができる。
【0121】
発光層60は、正孔注入/輸送層70の形成方法と同様の手順で形成される。すなわち、インクジェット法によって発光層材料を含む組成物インクを正孔注入/輸送層70の上面に吐出した後に、乾燥処理及び熱処理を行うことにより、第3絶縁層221に形成された開口部221a内部の正孔注入/輸送層70上に発光層60が形成される。この発光層形成工程も上述したように不活性ガス雰囲気化で行われる。吐出された組成物インクは撥インク処理された領域ではじかれるので、インク滴が所定の吐出位置からはずれたとしても、はじかれたインク滴が第3絶縁層221の開口部221a内に転がり込む。
【0122】
電子輸送層50は発光層60の上面に形成される。電子輸送層50も発光層60の形成方法と同様、インクジェット法により形成される。電子輸送層50の形成材料としては、特に限定されることなく、オキサジアゾール誘導体、アントラキノジメタンおよびその誘導体、ベンゾキノンおよびその誘導体、ナフトキノンおよびその誘導体、アントラキノンおよびその誘導体、テトラシアノアンスラキノジメタンおよびその誘導体、フルオレノン誘導体、ジフェニルジシアノエチレンおよびその誘導体、ジフェノキノン誘導体、8−ヒドロキシキノリンおよびその誘導体の金属錯体等が例示される。具体的には、先の正孔輸送層の形成材料と同様に、特開昭63−70257号、同63−175860号公報、特開平2−135359号、同2−135361号、同2−209988号、同3−37992号、同3−152184号公報に記載されているもの等が例示され、特に2−(4−ビフェニリル)−5−(4−t−ブチルフェニル)−1,3,4−オキサジアゾール、ベンゾキノン、アントラキノン、トリス(8−キノリノール)アルミニウムが好適とされる。
【0123】
なお、前述した正孔注入/輸送層70の形成材料や電子輸送層50の形成材料を発光層60の形成材料に混合し、発光層形成材料として使用してもよく、その場合に、正孔注入/輸送層形成材料や電子輸送層形成材料の使用量については、使用する化合物の種類等によっても異なるものの、十分な成膜性と発光特性を阻害しない量範囲でそれらを考慮して適宜決定される。通常は、発光層形成材料に対して1〜40重量%とされ、さらに好ましくは2〜30重量%とされる。
【0124】
なお、正孔注入/輸送層70や電子輸送層50などは、インクジェット法に限らず、マスク蒸着法を用いて形成することも可能である。
【0125】
陰極222は、電子輸送層50及び第3絶縁層221の表面全体、あるいはストライプ状に形成されている。陰極222については、もちろんAl、Mg、Li、Caなどの単体材料やMg:Ag(10:1合金)の合金材料からなる1層で形成してもよいが、2層あるいは3層からなる金属(合金を含む。)層として形成してもよい。具体的には、Li2 O(0.5nm程度)/AlやLiF(0.5nm程度)/Al、MgF2 /Alといった積層構造のものも使用可能である。陰極222は上述した金属からなる薄膜であり、光を透過可能である。
【0126】
封止層20は、外部から有機EL素子に対して大気が侵入するのを遮断するものであって、膜厚や材料は適宜選択される。封止層20を構成する材料としては、例えばセラミックや窒化珪素、酸化窒化珪素、酸化珪素などが用いられ、中でも酸化窒化珪素が透明性、ガスバリア性の観点から好ましい。封止層20は陰極222上にプラズマCVD法によって形成してもよい。
【0127】
以上説明したように、発光層60からの基板2より低屈折率な低屈折率材料からなる各絶縁層283,284を通過してから基板2に入射するので、臨界角以上の角度でこれら各絶縁層283,284に入射した光は基板2との界面で臨界角以下となる方向に屈折し、基板2内での全反射条件から外れ、外部に取り出される。これにより、光の取り出し効率が向上し、高い視認性を得ることができる。また、屈折率と誘電率とには強い相関関係があり、各絶縁層283,284を低屈折率層とすることにより低誘電率層とすることができ、配線間容量を小さくすることができるので、電気光学装置の動作速度の高速化など、動作性能を向上できる。
【0128】
なお、前記の正孔注入/輸送層70、発光層60、電子輸送層50に加えて、ホールブロッキング層を例えば発光層60の対向電極222側に形成して、発光層60の長寿命化を図ってもよい。このようなホールブロッキング層の形成材料としては、例えば化学式(13)に示すBCPや化学式(14)で示すBAlqが用いられるが、長寿命化の点ではBAlqの方が好ましい。
【0129】
【化12】
【0130】
【化13】
【0131】
[電子機器]
上記実施の形態の有機EL表示装置を備えた電子機器の例について説明する。図4は、携帯電話の一例を示した斜視図である。図4において、符号1000は携帯電話本体を示し、符号1001は上記の有機EL表示装置を用いた表示部を示している。
【0132】
図5は、腕時計型電子機器の一例を示した斜視図である。図5において、符号1100は時計本体を示し、符号1101は上記の有機EL表示装置を用いた表示部を示している。
【0133】
図6は、ワープロ、パソコンなどの携帯型情報処理装置の一例を示した斜視図である。図6において、符号1200は情報処理装置、符号1202はキーボードなどの入力部、符号1204は情報処理装置本体、符号1206は上記の有機EL表示装置を用いた表示部を示している。
【0134】
図4〜図6に示す電子機器は、上記実施の形態の有機EL表示装置を備えているので、表示品位に優れ、明るい画面の有機EL表示部を備えた電子機器を実現することができる。
【0135】
なお、本発明の技術範囲は上記実施の形態に限定されるものではなく、本発明の趣旨を逸脱しない範囲において種々の変更を加えることが可能である。
例えば上記実施の形態では、有機EL素子の構成として発光層と正孔輸送層とを一対の電極で挟持した例を挙げたが、発光層や正孔輸送層の他、電子輸送層、正孔注入層、電子注入層などの各種の機能を有する有機層を挿入してもよい。その他、実施の形態で挙げた具体的な材料などはほんの一例に過ぎず、適宜変更が可能である。
【0136】
また、本実施形態の構成の表示装置S1において、電気光学素子である発光層60を液晶層等、その他の光学表示物質に置き換えることが可能である。
【0137】
また、上記実施形態においては、TFT24が配置された基板2側から光を取り出すいわゆるバックエミッション型について説明したが、TFTが配置された基板とは反対側から光を取り出すいわゆるトップエミッション型についても、本発明の低屈折率層を適用できる。
【0138】
【発明の効果】
本発明によれば、電気光学素子からの光は基板より低屈折率な低屈折率材料からなる材料層を通過してから基板に入射するので、臨界角以上の角度で低屈折率層に入射した光は基板との界面で臨界角以下となる方向に屈折し、基板内での全反射条件から外れ、外部に取り出される。これにより、光の取り出し効率が向上し、高い視認性を得ることができる。また、屈折率と誘電率とには強い相関関係があり、所定の材料層を低屈折率層とすることにより低誘電率層を形成でき、配線間容量を小さくすることができるので、電気光学装置の動作速度の高速化など、動作性能を向上できる。
【図面の簡単な説明】
【図1】本発明の電気光学装置の一実施形態を示す図であって、エレクトロルミネッセンス表示装置に適用した例を示す概略構成図である。
【図2】図1の表示装置における画素部の平面構造を示す拡大図である。
【図3】本発明の電気光学装置の一実施形態を示す図であって、図2のA−A矢視断面図である。
【図4】本発明の電気光学装置を備えた電子機器の一例を示す図である。
【図5】本発明の電気光学装置を備えた電子機器の一例を示す図である。
【図6】本発明の電気光学装置を備えた電子機器の一例を示す図である。
【符号の説明】
2 基板
3 発光素子(電気光学素子)
23 画素電極(電極)
60 発光層(電気光学素子層)
S1 有機EL表示装置(電気光学装置、回路基板)
222 陰極(電極)
282 ゲート絶縁層
283 第1層間絶縁層(低屈折率層)
284 第2層間絶縁層(低屈折率層)
Claims (12)
- 基板と、
前記基板の上方に設けられた半導体膜と、
前記半導体膜の上方に設けられたゲート絶縁層と、
前記ゲート絶縁層の上方に設けられたゲート電極と、
前記ゲート電極の上方に設けられた第1層間絶縁層と、
前記第1層間絶縁層の上方に設けられたドレイン電極と、
前記第1層間絶縁層と前記ドレイン電極の上方に設けられた第2層間絶縁膜と、
前記第2層間絶縁層の上方に設けられた画素電極と、
前記ドレイン電極の上方に設けられ、透光性を有する保護層と、を含み、
前記半導体膜は、前記ゲート絶縁層及び前記第1層間絶縁層にわたって設けられた第1のコンタクトホールを介して前記ドレイン電極に接続され、
前記第1層間絶縁層の屈折率は、前記基板の屈折率より低く、
前記第2層間絶縁層の屈折率は、前記基板の屈折率より低く、
前記ドレイン電極は、前記第2層間絶縁層に設けられた第2のコンタクトホールを介して前記画素電極に接続されており、
前記第1層間絶縁層は、第1のSiO 2 膜と第2のSiO 2 膜とが積層して構成され、
前記第1のSiO 2 膜は、多孔性を有し、
前記第2のSiO 2 膜は、通常の減圧化学的気相成長法により形成されたこと、
を特徴とする回路基板。 - 請求項1に記載の回路基板において、
前記保護層は、ホウ素、炭素、及び窒素から選ばれた少なくとも一つの元素と、アルミニウム、珪素、及びリンから選ばれた少なくとも一つの元素と、を含む絶縁膜であること、
を特徴とする回路基板。 - 請求項1に記載の回路基板において、
前記保護層は、珪素、アルミニウム、窒素、酸素、及び希土類元素の少なくとも一種を含む絶縁膜であること、
を特徴とする回路基板。 - 請求項1に記載の回路基板において、
前記保護層は、窒化酸化珪素膜であること、
を特徴とする回路基板。 - 請求項1乃至4のいずれかに記載の回路基板において、
前記第1層間絶縁層の屈折率は1.5以下であることを特徴とする回路基板。 - 請求項1乃至5のいずれかに記載の回路基板において、
前記第1層間絶縁層の屈折率は1.2以下であることを特徴とする回路基板。 - 請求項1乃至4のいずれかに記載の回路基板において、
前記第1層間絶縁層は、光を透過可能な多孔質体により構成されていること、ことを特徴とする回路基板。 - 請求項1乃至7のいずれかに記載の回路基板において、
前記半導体膜には、チャネル領域とソース・ドレイン領域とが形成されていること、
を特徴とする回路基板。 - 電気光学素子と、
請求項1乃至8のいずれかに記載の回路基板と、を含み、
前記電気光学素子からの光が取り出される方向に前記基板が位置すること、
を特徴とする電気光学装置。 - 請求項9に記載の電気光学装置において、
前記電気光学素子は、発光素子であること、
を特徴とする電気光学装置。 - 請求項1乃至8のいずれかに記載の回路基板を備えたこと、
を特徴とする電子機器。 - 請求項9又は10に記載の電気光学装置を備えたこと、
を特徴とする電子機器。
Priority Applications (10)
| Application Number | Priority Date | Filing Date | Title |
|---|---|---|---|
| JP2001398522A JP4182467B2 (ja) | 2001-12-27 | 2001-12-27 | 回路基板、電気光学装置及び電子機器 |
| EP02258897A EP1324642A3 (en) | 2001-12-27 | 2002-12-20 | Electro-optic device, method for manufacturing electro-optic device and use in an electronic apparatus |
| EP08075526A EP1976340A3 (en) | 2001-12-27 | 2002-12-20 | Electro-optic device, method for manufacturing electro-optic device, circuit board, method for manufacturing circuit board, and electronic apparatus. |
| TW091137033A TWI301605B (en) | 2001-12-27 | 2002-12-23 | Electro-optical device, manufacturing method therefor, circuit board, manufacturing method therefor, and electronic equipment |
| CN2005100037416A CN1633224B (zh) | 2001-12-27 | 2002-12-24 | 电路板及电子仪器 |
| CNA2006100958800A CN1901244A (zh) | 2001-12-27 | 2002-12-24 | 电光学装置 |
| CNB021569851A CN1251556C (zh) | 2001-12-27 | 2002-12-24 | 电光学装置及电子仪器 |
| KR10-2002-0083914A KR100512047B1 (ko) | 2001-12-27 | 2002-12-26 | 전기 광학 장치, 전기 광학 장치의 제조 방법, 회로 기판,회로 기판의 제조 방법, 전자 기기 |
| US10/329,948 US7211838B2 (en) | 2001-12-27 | 2002-12-27 | Apparatus and method for manufacturing electro-optical devices |
| US11/727,853 US7714328B2 (en) | 2001-12-27 | 2007-03-28 | Apparatus and method for manufacturing electro-optical devices |
Applications Claiming Priority (1)
| Application Number | Priority Date | Filing Date | Title |
|---|---|---|---|
| JP2001398522A JP4182467B2 (ja) | 2001-12-27 | 2001-12-27 | 回路基板、電気光学装置及び電子機器 |
Publications (2)
| Publication Number | Publication Date |
|---|---|
| JP2003195775A JP2003195775A (ja) | 2003-07-09 |
| JP4182467B2 true JP4182467B2 (ja) | 2008-11-19 |
Family
ID=19189356
Family Applications (1)
| Application Number | Title | Priority Date | Filing Date |
|---|---|---|---|
| JP2001398522A Expired - Fee Related JP4182467B2 (ja) | 2001-12-27 | 2001-12-27 | 回路基板、電気光学装置及び電子機器 |
Country Status (6)
| Country | Link |
|---|---|
| US (2) | US7211838B2 (ja) |
| EP (2) | EP1324642A3 (ja) |
| JP (1) | JP4182467B2 (ja) |
| KR (1) | KR100512047B1 (ja) |
| CN (3) | CN1251556C (ja) |
| TW (1) | TWI301605B (ja) |
Cited By (1)
| Publication number | Priority date | Publication date | Assignee | Title |
|---|---|---|---|---|
| KR20170108176A (ko) * | 2008-12-11 | 2017-09-26 | 오스람 오엘이디 게엠베하 | 유기발광다이오드 및 조명수단 |
Families Citing this family (65)
| Publication number | Priority date | Publication date | Assignee | Title |
|---|---|---|---|---|
| TW585009B (en) * | 2002-05-03 | 2004-04-21 | Ritdisplay Corp | Active-driving type organic electroluminescent device |
| JP4640690B2 (ja) * | 2002-07-24 | 2011-03-02 | 日本電気株式会社 | アクティブマトリクス有機el表示装置の製造方法 |
| JP5183858B2 (ja) * | 2002-08-21 | 2013-04-17 | コーニンクレッカ フィリップス エレクトロニクス エヌ ヴィ | 表示装置 |
| JP2004247077A (ja) | 2003-02-12 | 2004-09-02 | Semiconductor Energy Lab Co Ltd | 発光装置及びその作製方法 |
| JP4703108B2 (ja) * | 2003-09-10 | 2011-06-15 | 三星モバイルディスプレイ株式會社 | 発光素子基板およびそれを用いた発光素子 |
| CN100367531C (zh) * | 2003-09-15 | 2008-02-06 | 统宝光电股份有限公司 | 具有光效率提升结构的有机发光组件 |
| KR100993826B1 (ko) * | 2003-11-19 | 2010-11-12 | 삼성전자주식회사 | 표시장치 및 이의 제조 방법 |
| KR100557732B1 (ko) * | 2003-12-26 | 2006-03-06 | 엘지.필립스 엘시디 주식회사 | 듀얼패널타입 유기전계발광장치 및 그 제조방법 |
| DE102004002587B4 (de) * | 2004-01-16 | 2006-06-01 | Novaled Gmbh | Bildelement für eine Aktiv-Matrix-Anzeige |
| TWI238675B (en) | 2004-01-19 | 2005-08-21 | Hitachi Displays Ltd | Organic light-emitting display and its manufacture method |
| JP4564364B2 (ja) * | 2004-01-19 | 2010-10-20 | 株式会社 日立ディスプレイズ | 有機エレクトロルミネッセンス表示装置とその製造方法 |
| KR100699988B1 (ko) * | 2004-03-19 | 2007-03-26 | 삼성에스디아이 주식회사 | 평판표시장치 |
| US7586171B2 (en) * | 2004-04-14 | 2009-09-08 | Yong Cao | Organic electronic device comprising conductive members and processes for forming and using the organic electronic device |
| JP4470627B2 (ja) * | 2004-07-15 | 2010-06-02 | 日本電気株式会社 | 光学基板、発光素子および表示装置 |
| US7812522B2 (en) * | 2004-07-22 | 2010-10-12 | Ifire Ip Corporation | Aluminum oxide and aluminum oxynitride layers for use with phosphors for electroluminescent displays |
| KR100700005B1 (ko) * | 2004-11-18 | 2007-03-26 | 삼성에스디아이 주식회사 | 유기전계발광소자 |
| TWI260798B (en) * | 2005-05-02 | 2006-08-21 | Ind Tech Res Inst | Highly heat-dissipating light-emitting diode |
| JP2007005173A (ja) * | 2005-06-24 | 2007-01-11 | Toshiba Matsushita Display Technology Co Ltd | 表示装置 |
| US8288180B2 (en) | 2005-07-04 | 2012-10-16 | Semiconductor Energy Laboratory Co., Ltd. | Method for manufacturing light emitting device |
| US8115206B2 (en) | 2005-07-22 | 2012-02-14 | Semiconductor Energy Laboratory Co., Ltd. | Semiconductor device |
| EP1780779A3 (en) * | 2005-10-28 | 2008-06-11 | Interuniversitair Microelektronica Centrum ( Imec) | A plasma for patterning advanced gate stacks |
| JP4513777B2 (ja) | 2005-11-14 | 2010-07-28 | セイコーエプソン株式会社 | 発光装置および電子機器 |
| CN100511700C (zh) * | 2005-11-14 | 2009-07-08 | 精工爱普生株式会社 | 发光装置和电子仪器 |
| JP2007141736A (ja) * | 2005-11-21 | 2007-06-07 | Fujifilm Corp | 有機電界発光素子 |
| KR101230948B1 (ko) * | 2006-06-14 | 2013-02-07 | 엘지디스플레이 주식회사 | 유기전계발광 소자 |
| DE102007004844B4 (de) * | 2007-01-31 | 2011-05-05 | Infineon Technologies Ag | Verfahren zur Herstellung eines Bauteils und Bauteil |
| US9508957B2 (en) | 2007-03-30 | 2016-11-29 | The Regents Of The University Of Michigan | OLED with improved light outcoupling |
| JP5662141B2 (ja) * | 2007-03-30 | 2015-01-28 | ザ・リージェンツ・オブ・ザ・ユニバーシティ・オブ・ミシガン | 光のアウトカップリングが改良されたoled |
| WO2008131531A1 (en) * | 2007-04-30 | 2008-11-06 | Ifire Ip Corporation | Laminated thick film dielectric structure for thick film dielectric electroluminescent displays |
| US7701037B2 (en) * | 2007-07-31 | 2010-04-20 | International Business Machines Corporation | Orientation-independent multi-layer BEOL capacitor |
| JP5192828B2 (ja) * | 2008-01-08 | 2013-05-08 | 住友化学株式会社 | 有機エレクトロルミネッセンス表示素子及びその製造方法 |
| JP4702395B2 (ja) * | 2008-05-20 | 2011-06-15 | ソニー株式会社 | 表示装置および電子機器 |
| JP4930561B2 (ja) * | 2009-09-07 | 2012-05-16 | カシオ計算機株式会社 | 電気泳動表示パネル |
| KR101635106B1 (ko) * | 2009-12-15 | 2016-06-30 | 삼성전자주식회사 | 원고대, 화상독취부 및 이를 구비하는 화상형성장치 |
| JP2011204801A (ja) * | 2010-03-24 | 2011-10-13 | Toshiba Mobile Display Co Ltd | 有機エレクトロルミネッセンス装置 |
| JP2012021036A (ja) * | 2010-07-12 | 2012-02-02 | Sumitomo Bakelite Co Ltd | 複合多孔質粒子、組成物、波長変換層および光起電装置。 |
| US8530273B2 (en) * | 2010-09-29 | 2013-09-10 | Guardian Industries Corp. | Method of making oxide thin film transistor array |
| KR20120042143A (ko) * | 2010-10-22 | 2012-05-03 | 삼성모바일디스플레이주식회사 | 유기 발광 표시 장치 및 이의 제조 방법 |
| KR20120061312A (ko) * | 2010-12-03 | 2012-06-13 | 삼성모바일디스플레이주식회사 | 유기 전계 발광 표시장치 및 그의 제조방법 |
| JP5827578B2 (ja) | 2011-02-14 | 2015-12-02 | 株式会社半導体エネルギー研究所 | 光学素子の作製方法 |
| EP2681970B1 (en) * | 2011-03-03 | 2018-01-17 | Nitto Denko Corporation | Porous films for use in light-emitting devices |
| US9853220B2 (en) | 2011-09-12 | 2017-12-26 | Nitto Denko Corporation | Efficient organic light-emitting diodes and fabrication of the same |
| JP5954651B2 (ja) | 2011-12-09 | 2016-07-20 | 株式会社Joled | 表示装置および電子機器 |
| KR20140075979A (ko) * | 2012-12-11 | 2014-06-20 | 삼성디스플레이 주식회사 | 액정 표시 장치 |
| WO2014097383A1 (ja) * | 2012-12-18 | 2014-06-26 | パイオニア株式会社 | 発光装置および発光装置の製造方法 |
| KR102046157B1 (ko) * | 2012-12-21 | 2019-12-03 | 삼성디스플레이 주식회사 | 유기 발광 표시 장치 및 그 제조 방법 |
| JP5974910B2 (ja) * | 2013-01-18 | 2016-08-23 | ソニー株式会社 | 表示パネルおよび表示装置 |
| KR101919163B1 (ko) * | 2013-08-30 | 2018-11-15 | 동우 화인켐 주식회사 | 광학 필름 |
| CN103713791A (zh) * | 2013-12-11 | 2014-04-09 | 深圳市奥科立盛科技有限公司 | 单塑胶片电容式触摸模块及其制作方法、ops触摸屏 |
| JP2015138612A (ja) * | 2014-01-21 | 2015-07-30 | 株式会社ジャパンディスプレイ | 有機エレクトロルミネセンス表示装置 |
| CN103972266B (zh) | 2014-04-16 | 2017-06-09 | 京东方科技集团股份有限公司 | 一种有机电致发光显示面板及显示装置 |
| KR102293981B1 (ko) * | 2014-10-13 | 2021-08-26 | 엘지디스플레이 주식회사 | 유기발광표시패널 및 그 제조방법 |
| CN104576693B (zh) * | 2014-12-08 | 2017-06-27 | 深圳市华星光电技术有限公司 | Oled显示装置及其制造方法 |
| US9801254B2 (en) | 2014-12-17 | 2017-10-24 | Disney Enterprises, Inc. | Backlit luminous structure with UV coating |
| CN104752490B (zh) * | 2015-04-16 | 2016-04-06 | 京东方科技集团股份有限公司 | 一种有机发光二极管显示面板及其制作方法、显示装置 |
| CN114744048A (zh) * | 2015-07-08 | 2022-07-12 | 应用材料公司 | 氮氧化硅梯度构思 |
| KR102563157B1 (ko) | 2015-08-26 | 2023-08-04 | 엘지디스플레이 주식회사 | 박막 트랜지스터 및 표시 장치 |
| WO2017034122A1 (ko) * | 2015-08-26 | 2017-03-02 | 엘지디스플레이 주식회사 | 박막 트랜지스터 및 표시 장치 |
| CN113130614B (zh) * | 2016-03-31 | 2024-12-20 | 索尼公司 | 显示装置和电子设备 |
| US11362306B2 (en) | 2018-03-06 | 2022-06-14 | Sony Semiconductor Solutions Corporation | Light emitting element unit |
| CN111244318B (zh) * | 2018-11-28 | 2021-06-22 | Tcl科技集团股份有限公司 | 一种量子点发光二极管及其制备方法 |
| JP2020181864A (ja) * | 2019-04-24 | 2020-11-05 | 三菱電機株式会社 | 半導体装置および半導体装置の製造方法 |
| CN112864014B (zh) * | 2021-01-04 | 2023-04-14 | 西安交通大学 | 蓝宝石基GaN准垂直肖特基二极管反向漏电减小方法及肖特基二极管 |
| CN114420787B (zh) * | 2021-12-22 | 2024-06-14 | 西安隆基乐叶光伏科技有限公司 | 一种太阳能电池退火方法及退火设备 |
| CN119450910A (zh) * | 2023-07-28 | 2025-02-14 | 鹏鼎控股(深圳)股份有限公司 | 高频传输电路板及其制作方法 |
Family Cites Families (44)
| Publication number | Priority date | Publication date | Assignee | Title |
|---|---|---|---|---|
| JPS53112732A (en) | 1977-03-14 | 1978-10-02 | Fuji Photo Film Co Ltd | Photosensitive material with improved physical properties of film |
| US4402927A (en) * | 1980-04-22 | 1983-09-06 | Dardel Guy Von | Silica aerogel |
| JPS601735B2 (ja) | 1980-06-18 | 1985-01-17 | 三菱電機株式会社 | 陰極線管 |
| US4356429A (en) | 1980-07-17 | 1982-10-26 | Eastman Kodak Company | Organic electroluminescent cell |
| US4539507A (en) | 1983-03-25 | 1985-09-03 | Eastman Kodak Company | Organic electroluminescent devices having improved power conversion efficiencies |
| JPS6370257A (ja) | 1986-09-12 | 1988-03-30 | Fuji Xerox Co Ltd | 電子写真用電荷輸送材料 |
| JPS63175860A (ja) | 1987-01-16 | 1988-07-20 | Fuji Xerox Co Ltd | 電子写真感光体 |
| JP2651237B2 (ja) | 1989-02-10 | 1997-09-10 | 出光興産株式会社 | 薄膜エレクトロルミネッセンス素子 |
| JPH02135359A (ja) | 1988-11-16 | 1990-05-24 | Fuji Xerox Co Ltd | 電子写真感光体 |
| JPH02135361A (ja) | 1988-11-16 | 1990-05-24 | Fuji Xerox Co Ltd | 電子写真感光体 |
| JPH0337992A (ja) | 1989-07-04 | 1991-02-19 | Idemitsu Kosan Co Ltd | 有機エレクトロルミネッセンス素子の製造方法 |
| JPH03152184A (ja) | 1989-11-08 | 1991-06-28 | Nec Corp | 有機薄膜el素子 |
| JPH03222287A (ja) * | 1990-01-26 | 1991-10-01 | Olympus Optical Co Ltd | 薄膜el素子 |
| US5198267A (en) * | 1991-09-20 | 1993-03-30 | Allied-Signal Inc. | Fluoropolymer blend anti-reflection coatings and coated articles |
| JP2846571B2 (ja) * | 1994-02-25 | 1999-01-13 | 出光興産株式会社 | 有機エレクトロルミネッセンス素子 |
| JPH07325203A (ja) * | 1994-05-31 | 1995-12-12 | Dainippon Printing Co Ltd | 防眩性反射防止フィルム、偏光板及び液晶表示装置 |
| JPH07325202A (ja) * | 1994-05-31 | 1995-12-12 | Dainippon Printing Co Ltd | 反射防止フィルム、偏光板及び液晶表示装置 |
| FR2730990B1 (fr) * | 1995-02-23 | 1997-04-04 | Saint Gobain Vitrage | Substrat transparent a revetement anti-reflets |
| JPH09288201A (ja) * | 1995-12-07 | 1997-11-04 | Fuji Photo Film Co Ltd | 反射防止膜及びそれを用いた画像表示装置 |
| US6383559B1 (en) * | 1995-12-07 | 2002-05-07 | Fuji Photo Film Co., Ltd. | Anti-reflection film and display device having the same |
| JP3180043B2 (ja) * | 1996-12-26 | 2001-06-25 | シャープ株式会社 | 画像入力装置 |
| JP3397287B2 (ja) * | 1997-03-27 | 2003-04-14 | 株式会社アドバンスト・ディスプレイ | 液晶表示装置およびその製造方法 |
| US6210858B1 (en) * | 1997-04-04 | 2001-04-03 | Fuji Photo Film Co., Ltd. | Anti-reflection film and display device using the same |
| JP3830238B2 (ja) * | 1997-08-29 | 2006-10-04 | セイコーエプソン株式会社 | アクティブマトリクス型装置 |
| JPH11195487A (ja) * | 1997-12-27 | 1999-07-21 | Tdk Corp | 有機el素子 |
| GB9815271D0 (en) * | 1998-07-14 | 1998-09-09 | Cambridge Display Tech Ltd | Particles and devices comprising particles |
| EP0989443A3 (en) * | 1998-09-22 | 2004-03-31 | Fuji Photo Film Co., Ltd. | Anti-reflection film and process for the preparation of the same |
| US6501098B2 (en) * | 1998-11-25 | 2002-12-31 | Semiconductor Energy Laboratory Co, Ltd. | Semiconductor device |
| CN1235985C (zh) * | 1998-12-09 | 2006-01-11 | 日本化药株式会社 | 硬涂覆材料以及用该材料获得的膜 |
| JP2000260571A (ja) * | 1999-03-11 | 2000-09-22 | Sanyo Electric Co Ltd | エレクトロルミネッセンス表示装置 |
| TW463528B (en) * | 1999-04-05 | 2001-11-11 | Idemitsu Kosan Co | Organic electroluminescence element and their preparation |
| JP2000323273A (ja) | 1999-05-07 | 2000-11-24 | Dainippon Printing Co Ltd | エレクトロルミネッセンス素子 |
| JP3770368B2 (ja) * | 1999-06-14 | 2006-04-26 | セイコーエプソン株式会社 | 表示装置、回路基板、回路基板の製造方法 |
| JP2001072408A (ja) | 1999-08-30 | 2001-03-21 | Matsushita Electric Works Ltd | シリカエアロゲル及びその製造方法 |
| JP3809758B2 (ja) | 1999-10-28 | 2006-08-16 | ソニー株式会社 | 表示装置及び表示装置の製造方法 |
| EP1096568A3 (en) * | 1999-10-28 | 2007-10-24 | Sony Corporation | Display apparatus and method for fabricating the same |
| JP4279971B2 (ja) * | 1999-11-10 | 2009-06-17 | パナソニック電工株式会社 | 発光素子 |
| WO2001034382A1 (en) | 1999-11-10 | 2001-05-17 | Matsushita Electric Works, Ltd. | Aerogel substrate and method for preparing the same |
| US6762553B1 (en) * | 1999-11-10 | 2004-07-13 | Matsushita Electric Works, Ltd. | Substrate for light emitting device, light emitting device and process for production of light emitting device |
| DE60026778T2 (de) * | 1999-11-10 | 2007-02-08 | Matsushita Electric Works, Ltd., Kadoma | Substrat für lichtemittierende Vorrichtung, lichtemittierende Vorrichtung und Herstellungsverfahren |
| JP2001176653A (ja) | 1999-12-14 | 2001-06-29 | Seiko Instruments Inc | 有機el素子 |
| JP2001242803A (ja) | 2000-02-29 | 2001-09-07 | Sony Corp | 表示装置及びその製造方法 |
| JP4542659B2 (ja) * | 2000-03-07 | 2010-09-15 | 出光興産株式会社 | アクティブ駆動型有機el表示装置およびその製造方法 |
| JP4378891B2 (ja) * | 2001-03-15 | 2009-12-09 | パナソニック電工株式会社 | アクティブマトリクス型発光素子及びその製法 |
-
2001
- 2001-12-27 JP JP2001398522A patent/JP4182467B2/ja not_active Expired - Fee Related
-
2002
- 2002-12-20 EP EP02258897A patent/EP1324642A3/en not_active Withdrawn
- 2002-12-20 EP EP08075526A patent/EP1976340A3/en not_active Withdrawn
- 2002-12-23 TW TW091137033A patent/TWI301605B/zh not_active IP Right Cessation
- 2002-12-24 CN CNB021569851A patent/CN1251556C/zh not_active Expired - Fee Related
- 2002-12-24 CN CNA2006100958800A patent/CN1901244A/zh active Pending
- 2002-12-24 CN CN2005100037416A patent/CN1633224B/zh not_active Expired - Fee Related
- 2002-12-26 KR KR10-2002-0083914A patent/KR100512047B1/ko not_active Expired - Fee Related
- 2002-12-27 US US10/329,948 patent/US7211838B2/en not_active Expired - Lifetime
-
2007
- 2007-03-28 US US11/727,853 patent/US7714328B2/en not_active Expired - Fee Related
Cited By (6)
| Publication number | Priority date | Publication date | Assignee | Title |
|---|---|---|---|---|
| KR20170108176A (ko) * | 2008-12-11 | 2017-09-26 | 오스람 오엘이디 게엠베하 | 유기발광다이오드 및 조명수단 |
| KR102029563B1 (ko) | 2008-12-11 | 2019-10-07 | 오스람 오엘이디 게엠베하 | 유기발광다이오드 및 조명수단 |
| US10605422B2 (en) | 2008-12-11 | 2020-03-31 | Osram Opto Semiconductors Gmbh | Organic-light-emitting diode |
| US11585504B2 (en) | 2008-12-11 | 2023-02-21 | Pictiva Displays International Limited | Organic-light-emitting diode |
| US11828425B2 (en) | 2008-12-11 | 2023-11-28 | Pictiva Displays International Limited | Organic-light emitting diode |
| US12158250B2 (en) | 2008-12-11 | 2024-12-03 | Pictiva Displays International Limited | Organic-light emitting diode |
Also Published As
| Publication number | Publication date |
|---|---|
| KR20030057371A (ko) | 2003-07-04 |
| US7211838B2 (en) | 2007-05-01 |
| EP1324642A2 (en) | 2003-07-02 |
| TWI301605B (en) | 2008-10-01 |
| US20070170429A1 (en) | 2007-07-26 |
| CN1633224A (zh) | 2005-06-29 |
| EP1976340A2 (en) | 2008-10-01 |
| CN1633224B (zh) | 2010-08-11 |
| EP1324642A3 (en) | 2004-06-16 |
| KR100512047B1 (ko) | 2005-08-31 |
| CN1901244A (zh) | 2007-01-24 |
| JP2003195775A (ja) | 2003-07-09 |
| CN1251556C (zh) | 2006-04-12 |
| TW200301456A (en) | 2003-07-01 |
| CN1429054A (zh) | 2003-07-09 |
| US7714328B2 (en) | 2010-05-11 |
| EP1976340A3 (en) | 2009-01-14 |
| US20030160247A1 (en) | 2003-08-28 |
Similar Documents
| Publication | Publication Date | Title |
|---|---|---|
| JP4182467B2 (ja) | 回路基板、電気光学装置及び電子機器 | |
| US7025647B2 (en) | Method for manufacturing laminated film, electro-optical device, method for manufacturing electro-optical device, organic electroluminescence device, and electronic appliances | |
| US7362515B2 (en) | Electro-optical device, film member, laminated film, low refractivity film, laminated multilayer film and electronic appliances | |
| KR100508296B1 (ko) | 회로 기판, 전기 광학 장치 및 전자 기기 | |
| US7696519B2 (en) | Wiring substrate, electronic device, electro-optical device, and electronic apparatus | |
| JP4015044B2 (ja) | 配線基板、電子装置及び電子機器 | |
| JP4656074B2 (ja) | 電気光学装置及び電気光学装置の製造方法 | |
| JP4015045B2 (ja) | 配線基板、電子装置及び電子機器 | |
| JP2003323138A (ja) | 回路基板、電気光学装置、電子機器 | |
| JP2006113598A (ja) | 回路基板、電気光学装置、及び電子機器 | |
| JP2006065325A (ja) | 回路基板、電気光学装置、及び電子機器 |
Legal Events
| Date | Code | Title | Description |
|---|---|---|---|
| A621 | Written request for application examination |
Free format text: JAPANESE INTERMEDIATE CODE: A621 Effective date: 20041209 |
|
| A977 | Report on retrieval |
Free format text: JAPANESE INTERMEDIATE CODE: A971007 Effective date: 20060928 |
|
| RD04 | Notification of resignation of power of attorney |
Free format text: JAPANESE INTERMEDIATE CODE: A7424 Effective date: 20070402 |
|
| A131 | Notification of reasons for refusal |
Free format text: JAPANESE INTERMEDIATE CODE: A131 Effective date: 20071002 |
|
| A521 | Request for written amendment filed |
Free format text: JAPANESE INTERMEDIATE CODE: A523 Effective date: 20071130 |
|
| A02 | Decision of refusal |
Free format text: JAPANESE INTERMEDIATE CODE: A02 Effective date: 20080325 |
|
| A521 | Request for written amendment filed |
Free format text: JAPANESE INTERMEDIATE CODE: A523 Effective date: 20080521 |
|
| A911 | Transfer to examiner for re-examination before appeal (zenchi) |
Free format text: JAPANESE INTERMEDIATE CODE: A911 Effective date: 20080529 |
|
| A131 | Notification of reasons for refusal |
Free format text: JAPANESE INTERMEDIATE CODE: A131 Effective date: 20080624 |
|
| A521 | Request for written amendment filed |
Free format text: JAPANESE INTERMEDIATE CODE: A523 Effective date: 20080709 |
|
| TRDD | Decision of grant or rejection written | ||
| A01 | Written decision to grant a patent or to grant a registration (utility model) |
Free format text: JAPANESE INTERMEDIATE CODE: A01 Effective date: 20080808 |
|
| A01 | Written decision to grant a patent or to grant a registration (utility model) |
Free format text: JAPANESE INTERMEDIATE CODE: A01 |
|
| A61 | First payment of annual fees (during grant procedure) |
Free format text: JAPANESE INTERMEDIATE CODE: A61 Effective date: 20080821 |
|
| FPAY | Renewal fee payment (event date is renewal date of database) |
Free format text: PAYMENT UNTIL: 20110912 Year of fee payment: 3 |
|
| R150 | Certificate of patent or registration of utility model |
Free format text: JAPANESE INTERMEDIATE CODE: R150 |
|
| FPAY | Renewal fee payment (event date is renewal date of database) |
Free format text: PAYMENT UNTIL: 20120912 Year of fee payment: 4 |
|
| FPAY | Renewal fee payment (event date is renewal date of database) |
Free format text: PAYMENT UNTIL: 20130912 Year of fee payment: 5 |
|
| LAPS | Cancellation because of no payment of annual fees |
