JP3971697B2 - 高周波用磁性薄膜及び磁気素子 - Google Patents
高周波用磁性薄膜及び磁気素子 Download PDFInfo
- Publication number
- JP3971697B2 JP3971697B2 JP2002366192A JP2002366192A JP3971697B2 JP 3971697 B2 JP3971697 B2 JP 3971697B2 JP 2002366192 A JP2002366192 A JP 2002366192A JP 2002366192 A JP2002366192 A JP 2002366192A JP 3971697 B2 JP3971697 B2 JP 3971697B2
- Authority
- JP
- Japan
- Prior art keywords
- layer
- thin film
- magnetic thin
- thickness
- ghz
- Prior art date
- Legal status (The legal status is an assumption and is not a legal conclusion. Google has not performed a legal analysis and makes no representation as to the accuracy of the status listed.)
- Expired - Fee Related
Links
- 230000005291 magnetic effect Effects 0.000 title claims description 278
- 239000010409 thin film Substances 0.000 title claims description 195
- 239000000203 mixture Substances 0.000 claims description 42
- 229910000808 amorphous metal alloy Inorganic materials 0.000 claims description 39
- 229910002546 FeCo Inorganic materials 0.000 claims description 22
- 229910052799 carbon Inorganic materials 0.000 claims description 21
- 229910045601 alloy Inorganic materials 0.000 claims description 14
- 239000000956 alloy Substances 0.000 claims description 14
- 239000000654 additive Substances 0.000 claims description 8
- 230000000996 additive effect Effects 0.000 claims description 8
- 229910052757 nitrogen Inorganic materials 0.000 claims description 6
- 229910052735 hafnium Inorganic materials 0.000 claims description 4
- 229910052758 niobium Inorganic materials 0.000 claims description 4
- 229910052715 tantalum Inorganic materials 0.000 claims description 4
- 229910052719 titanium Inorganic materials 0.000 claims description 4
- 229910052727 yttrium Inorganic materials 0.000 claims description 4
- 229910052726 zirconium Inorganic materials 0.000 claims description 4
- 229910019236 CoFeB Inorganic materials 0.000 claims description 3
- 229910019586 CoZrTa Inorganic materials 0.000 claims description 3
- 229910052804 chromium Inorganic materials 0.000 claims description 3
- 229910052742 iron Inorganic materials 0.000 claims description 3
- 229910052748 manganese Inorganic materials 0.000 claims description 3
- 229910052750 molybdenum Inorganic materials 0.000 claims description 3
- 229910052759 nickel Inorganic materials 0.000 claims description 3
- 229910052710 silicon Inorganic materials 0.000 claims description 3
- 229910052721 tungsten Inorganic materials 0.000 claims description 3
- 229910052720 vanadium Inorganic materials 0.000 claims description 3
- 229910019230 CoFeSiB Inorganic materials 0.000 claims description 2
- 239000010410 layer Substances 0.000 description 177
- 239000010408 film Substances 0.000 description 101
- 230000005415 magnetization Effects 0.000 description 94
- 239000002131 composite material Substances 0.000 description 85
- 230000035699 permeability Effects 0.000 description 72
- 229910017112 Fe—C Inorganic materials 0.000 description 48
- 238000000034 method Methods 0.000 description 43
- 239000000758 substrate Substances 0.000 description 35
- 230000015572 biosynthetic process Effects 0.000 description 22
- 230000000704 physical effect Effects 0.000 description 21
- OKTJSMMVPCPJKN-UHFFFAOYSA-N Carbon Chemical compound [C] OKTJSMMVPCPJKN-UHFFFAOYSA-N 0.000 description 18
- 230000000052 comparative effect Effects 0.000 description 15
- 239000013078 crystal Substances 0.000 description 15
- 238000004544 sputter deposition Methods 0.000 description 15
- 239000000463 material Substances 0.000 description 10
- 239000008188 pellet Substances 0.000 description 7
- 230000000694 effects Effects 0.000 description 6
- 239000004065 semiconductor Substances 0.000 description 6
- 239000002356 single layer Substances 0.000 description 6
- 238000004519 manufacturing process Methods 0.000 description 5
- 238000005259 measurement Methods 0.000 description 5
- IJGRMHOSHXDMSA-UHFFFAOYSA-N Atomic nitrogen Chemical compound N#N IJGRMHOSHXDMSA-UHFFFAOYSA-N 0.000 description 4
- 239000007789 gas Substances 0.000 description 4
- 238000003475 lamination Methods 0.000 description 4
- 239000000696 magnetic material Substances 0.000 description 4
- 238000002441 X-ray diffraction Methods 0.000 description 3
- 238000010438 heat treatment Methods 0.000 description 3
- 239000000523 sample Substances 0.000 description 3
- 229910001218 Gallium arsenide Inorganic materials 0.000 description 2
- 229910052774 Proactinium Inorganic materials 0.000 description 2
- MCMNRKCIXSYSNV-UHFFFAOYSA-N Zirconium dioxide Chemical compound O=[Zr]=O MCMNRKCIXSYSNV-UHFFFAOYSA-N 0.000 description 2
- 230000002411 adverse Effects 0.000 description 2
- 230000005540 biological transmission Effects 0.000 description 2
- 239000003990 capacitor Substances 0.000 description 2
- 229910010293 ceramic material Inorganic materials 0.000 description 2
- PMHQVHHXPFUNSP-UHFFFAOYSA-M copper(1+);methylsulfanylmethane;bromide Chemical compound Br[Cu].CSC PMHQVHHXPFUNSP-UHFFFAOYSA-M 0.000 description 2
- 230000007423 decrease Effects 0.000 description 2
- 230000010354 integration Effects 0.000 description 2
- 238000010030 laminating Methods 0.000 description 2
- 229910052755 nonmetal Inorganic materials 0.000 description 2
- 229920006395 saturated elastomer Polymers 0.000 description 2
- 229910000531 Co alloy Inorganic materials 0.000 description 1
- 229910052581 Si3N4 Inorganic materials 0.000 description 1
- 229910000577 Silicon-germanium Inorganic materials 0.000 description 1
- PNEYBMLMFCGWSK-UHFFFAOYSA-N aluminium oxide Inorganic materials [O-2].[O-2].[O-2].[Al+3].[Al+3] PNEYBMLMFCGWSK-UHFFFAOYSA-N 0.000 description 1
- 238000005452 bending Methods 0.000 description 1
- 239000004020 conductor Substances 0.000 description 1
- 230000001276 controlling effect Effects 0.000 description 1
- 229910052878 cordierite Inorganic materials 0.000 description 1
- 230000002596 correlated effect Effects 0.000 description 1
- 239000002178 crystalline material Substances 0.000 description 1
- 230000003247 decreasing effect Effects 0.000 description 1
- 230000007547 defect Effects 0.000 description 1
- 238000010586 diagram Methods 0.000 description 1
- JSKIRARMQDRGJZ-UHFFFAOYSA-N dimagnesium dioxido-bis[(1-oxido-3-oxo-2,4,6,8,9-pentaoxa-1,3-disila-5,7-dialuminabicyclo[3.3.1]nonan-7-yl)oxy]silane Chemical compound [Mg++].[Mg++].[O-][Si]([O-])(O[Al]1O[Al]2O[Si](=O)O[Si]([O-])(O1)O2)O[Al]1O[Al]2O[Si](=O)O[Si]([O-])(O1)O2 JSKIRARMQDRGJZ-UHFFFAOYSA-N 0.000 description 1
- KZHJGOXRZJKJNY-UHFFFAOYSA-N dioxosilane;oxo(oxoalumanyloxy)alumane Chemical compound O=[Si]=O.O=[Si]=O.O=[Al]O[Al]=O.O=[Al]O[Al]=O.O=[Al]O[Al]=O KZHJGOXRZJKJNY-UHFFFAOYSA-N 0.000 description 1
- 230000002500 effect on skin Effects 0.000 description 1
- 230000001747 exhibiting effect Effects 0.000 description 1
- 229910052839 forsterite Inorganic materials 0.000 description 1
- 239000011521 glass Substances 0.000 description 1
- 239000012535 impurity Substances 0.000 description 1
- 238000001659 ion-beam spectroscopy Methods 0.000 description 1
- HCWCAKKEBCNQJP-UHFFFAOYSA-N magnesium orthosilicate Chemical compound [Mg+2].[Mg+2].[O-][Si]([O-])([O-])[O-] HCWCAKKEBCNQJP-UHFFFAOYSA-N 0.000 description 1
- 238000001755 magnetron sputter deposition Methods 0.000 description 1
- 229910052863 mullite Inorganic materials 0.000 description 1
- 230000003647 oxidation Effects 0.000 description 1
- 238000007254 oxidation reaction Methods 0.000 description 1
- 239000002245 particle Substances 0.000 description 1
- 238000001552 radio frequency sputter deposition Methods 0.000 description 1
- 239000011347 resin Substances 0.000 description 1
- 229920005989 resin Polymers 0.000 description 1
- HBMJWWWQQXIZIP-UHFFFAOYSA-N silicon carbide Chemical compound [Si+]#[C-] HBMJWWWQQXIZIP-UHFFFAOYSA-N 0.000 description 1
- 229910010271 silicon carbide Inorganic materials 0.000 description 1
- HQVNEWCFYHHQES-UHFFFAOYSA-N silicon nitride Chemical compound N12[Si]34N5[Si]62N3[Si]51N64 HQVNEWCFYHHQES-UHFFFAOYSA-N 0.000 description 1
- 229910052596 spinel Inorganic materials 0.000 description 1
- 239000011029 spinel Substances 0.000 description 1
- -1 steatite Chemical compound 0.000 description 1
- 229910000859 α-Fe Inorganic materials 0.000 description 1
Images
Classifications
-
- H—ELECTRICITY
- H01—ELECTRIC ELEMENTS
- H01F—MAGNETS; INDUCTANCES; TRANSFORMERS; SELECTION OF MATERIALS FOR THEIR MAGNETIC PROPERTIES
- H01F10/00—Thin magnetic films, e.g. of one-domain structure
- H01F10/08—Thin magnetic films, e.g. of one-domain structure characterised by magnetic layers
- H01F10/10—Thin magnetic films, e.g. of one-domain structure characterised by magnetic layers characterised by the composition
- H01F10/12—Thin magnetic films, e.g. of one-domain structure characterised by magnetic layers characterised by the composition being metals or alloys
- H01F10/16—Thin magnetic films, e.g. of one-domain structure characterised by magnetic layers characterised by the composition being metals or alloys containing cobalt
-
- H—ELECTRICITY
- H10—SEMICONDUCTOR DEVICES; ELECTRIC SOLID-STATE DEVICES NOT OTHERWISE PROVIDED FOR
- H10D—INORGANIC ELECTRIC SEMICONDUCTOR DEVICES
- H10D84/00—Integrated devices formed in or on semiconductor substrates that comprise only semiconducting layers, e.g. on Si wafers or on GaAs-on-Si wafers
-
- B—PERFORMING OPERATIONS; TRANSPORTING
- B82—NANOTECHNOLOGY
- B82Y—SPECIFIC USES OR APPLICATIONS OF NANOSTRUCTURES; MEASUREMENT OR ANALYSIS OF NANOSTRUCTURES; MANUFACTURE OR TREATMENT OF NANOSTRUCTURES
- B82Y25/00—Nanomagnetism, e.g. magnetoimpedance, anisotropic magnetoresistance, giant magnetoresistance or tunneling magnetoresistance
-
- H—ELECTRICITY
- H01—ELECTRIC ELEMENTS
- H01F—MAGNETS; INDUCTANCES; TRANSFORMERS; SELECTION OF MATERIALS FOR THEIR MAGNETIC PROPERTIES
- H01F1/00—Magnets or magnetic bodies characterised by the magnetic materials therefor; Selection of materials for their magnetic properties
- H01F1/01—Magnets or magnetic bodies characterised by the magnetic materials therefor; Selection of materials for their magnetic properties of inorganic materials
- H01F1/03—Magnets or magnetic bodies characterised by the magnetic materials therefor; Selection of materials for their magnetic properties of inorganic materials characterised by their coercivity
- H01F1/12—Magnets or magnetic bodies characterised by the magnetic materials therefor; Selection of materials for their magnetic properties of inorganic materials characterised by their coercivity of soft-magnetic materials
- H01F1/14—Magnets or magnetic bodies characterised by the magnetic materials therefor; Selection of materials for their magnetic properties of inorganic materials characterised by their coercivity of soft-magnetic materials metals or alloys
- H01F1/147—Alloys characterised by their composition
- H01F1/153—Amorphous metallic alloys, e.g. glassy metals
- H01F1/15358—Making agglomerates therefrom, e.g. by pressing
-
- H—ELECTRICITY
- H01—ELECTRIC ELEMENTS
- H01F—MAGNETS; INDUCTANCES; TRANSFORMERS; SELECTION OF MATERIALS FOR THEIR MAGNETIC PROPERTIES
- H01F10/00—Thin magnetic films, e.g. of one-domain structure
- H01F10/08—Thin magnetic films, e.g. of one-domain structure characterised by magnetic layers
- H01F10/10—Thin magnetic films, e.g. of one-domain structure characterised by magnetic layers characterised by the composition
- H01F10/12—Thin magnetic films, e.g. of one-domain structure characterised by magnetic layers characterised by the composition being metals or alloys
- H01F10/13—Amorphous metallic alloys, e.g. glassy metals
- H01F10/132—Amorphous metallic alloys, e.g. glassy metals containing cobalt
-
- H—ELECTRICITY
- H01—ELECTRIC ELEMENTS
- H01F—MAGNETS; INDUCTANCES; TRANSFORMERS; SELECTION OF MATERIALS FOR THEIR MAGNETIC PROPERTIES
- H01F10/00—Thin magnetic films, e.g. of one-domain structure
- H01F10/08—Thin magnetic films, e.g. of one-domain structure characterised by magnetic layers
- H01F10/10—Thin magnetic films, e.g. of one-domain structure characterised by magnetic layers characterised by the composition
- H01F10/12—Thin magnetic films, e.g. of one-domain structure characterised by magnetic layers characterised by the composition being metals or alloys
- H01F10/14—Thin magnetic films, e.g. of one-domain structure characterised by magnetic layers characterised by the composition being metals or alloys containing iron or nickel
-
- H—ELECTRICITY
- H01—ELECTRIC ELEMENTS
- H01F—MAGNETS; INDUCTANCES; TRANSFORMERS; SELECTION OF MATERIALS FOR THEIR MAGNETIC PROPERTIES
- H01F10/00—Thin magnetic films, e.g. of one-domain structure
- H01F10/32—Spin-exchange-coupled multilayers, e.g. nanostructured superlattices
- H01F10/3204—Exchange coupling of amorphous multilayers
-
- H—ELECTRICITY
- H01—ELECTRIC ELEMENTS
- H01F—MAGNETS; INDUCTANCES; TRANSFORMERS; SELECTION OF MATERIALS FOR THEIR MAGNETIC PROPERTIES
- H01F17/00—Fixed inductances of the signal type
- H01F17/0006—Printed inductances
-
- H—ELECTRICITY
- H01—ELECTRIC ELEMENTS
- H01F—MAGNETS; INDUCTANCES; TRANSFORMERS; SELECTION OF MATERIALS FOR THEIR MAGNETIC PROPERTIES
- H01F41/00—Apparatus or processes specially adapted for manufacturing or assembling magnets, inductances or transformers; Apparatus or processes specially adapted for manufacturing materials characterised by their magnetic properties
- H01F41/02—Apparatus or processes specially adapted for manufacturing or assembling magnets, inductances or transformers; Apparatus or processes specially adapted for manufacturing materials characterised by their magnetic properties for manufacturing cores, coils, or magnets
- H01F41/0206—Manufacturing of magnetic cores by mechanical means
- H01F41/0213—Manufacturing of magnetic circuits made from strip(s) or ribbon(s)
- H01F41/0226—Manufacturing of magnetic circuits made from strip(s) or ribbon(s) from amorphous ribbons
-
- H—ELECTRICITY
- H01—ELECTRIC ELEMENTS
- H01F—MAGNETS; INDUCTANCES; TRANSFORMERS; SELECTION OF MATERIALS FOR THEIR MAGNETIC PROPERTIES
- H01F17/00—Fixed inductances of the signal type
- H01F17/0006—Printed inductances
- H01F17/0013—Printed inductances with stacked layers
-
- H—ELECTRICITY
- H01—ELECTRIC ELEMENTS
- H01F—MAGNETS; INDUCTANCES; TRANSFORMERS; SELECTION OF MATERIALS FOR THEIR MAGNETIC PROPERTIES
- H01F17/00—Fixed inductances of the signal type
- H01F17/04—Fixed inductances of the signal type with magnetic core
-
- H—ELECTRICITY
- H01—ELECTRIC ELEMENTS
- H01F—MAGNETS; INDUCTANCES; TRANSFORMERS; SELECTION OF MATERIALS FOR THEIR MAGNETIC PROPERTIES
- H01F41/00—Apparatus or processes specially adapted for manufacturing or assembling magnets, inductances or transformers; Apparatus or processes specially adapted for manufacturing materials characterised by their magnetic properties
- H01F41/02—Apparatus or processes specially adapted for manufacturing or assembling magnets, inductances or transformers; Apparatus or processes specially adapted for manufacturing materials characterised by their magnetic properties for manufacturing cores, coils, or magnets
- H01F41/04—Apparatus or processes specially adapted for manufacturing or assembling magnets, inductances or transformers; Apparatus or processes specially adapted for manufacturing materials characterised by their magnetic properties for manufacturing cores, coils, or magnets for manufacturing coils
- H01F41/041—Printed circuit coils
- H01F41/046—Printed circuit coils structurally combined with ferromagnetic material
-
- H—ELECTRICITY
- H01—ELECTRIC ELEMENTS
- H01F—MAGNETS; INDUCTANCES; TRANSFORMERS; SELECTION OF MATERIALS FOR THEIR MAGNETIC PROPERTIES
- H01F5/00—Coils
Landscapes
- Engineering & Computer Science (AREA)
- Power Engineering (AREA)
- Chemical & Material Sciences (AREA)
- Nanotechnology (AREA)
- Crystallography & Structural Chemistry (AREA)
- Manufacturing & Machinery (AREA)
- Physics & Mathematics (AREA)
- Dispersion Chemistry (AREA)
- Electromagnetism (AREA)
- Microelectronics & Electronic Packaging (AREA)
- Thin Magnetic Films (AREA)
- Coils Or Transformers For Communication (AREA)
- Hall/Mr Elements (AREA)
Description
【発明の属する技術分野】
本発明は、高い飽和磁化を有するとともに、GHzの高周波帯域で高い透磁率および性能指数Qを示す磁性薄膜に関し、特に、薄膜インダクタや薄膜トランスなどの高周波用平面型磁気素子、あるいはモノリシックマイクロ波集積回路(MMIC)に用いられる磁性薄膜およびインダクタに関する。
【0002】
【従来の技術】
磁気素子の小型化、高性能化に伴い、高い飽和磁化を有し、かつGHzの高周波数帯域における透磁率が高い磁性薄膜材料が求められている。
例えば、ワイヤレス送受信装置や携帯情報端末を中心に需要が高まっているモノリシックマイクロ波集積回路(MMIC)は、Si、GaAs、InPなどの半導体基板上に、トランジスタなどの能動素子と、線路、抵抗、キャパシタ、インダクタなどの受動素子とを、一括的かつ一体的に作製して構成される高周波集積回路である。
【0003】
このようなMMICにおいては、受動素子、特にインダクタやキャパシタが能動素子に比べ、大きな面積を占めている。このような受動素子の大面積の占有は、結果として、高価な半導体基板の大量消費、すなわち、MMICのコストアップにつながる。従って、チップ面積を縮小し、MMICの製造コストを低減するために、受動素子が占める面積を縮小することが課題となっている。
【0004】
MMICのインダクタとしては平面型のスパイラルコイルが多く用いられている。そのスパイラルコイルの上下面、或いは片面に軟磁性薄膜を挿入し、インダクタンスを増加させる方法(換言すれば、小さな占有面積でも従来のインダクタンスが得られる方法)がすでに提案されている(例えば、J.Appl.Phys.85,7919(1999))。
【0005】
しかしながら、磁性材料をMMICのインダクタへ応用するためには、先ず、GHzの高周波数帯域における透磁率が高く、かつ損失が少ない薄膜磁性材料を開発することが求められている。さらには渦電流損失を減ずる為に比抵抗が大きいことも求められている。
【0006】
従来、高い飽和磁化を持つ磁性材料としてFeあるいはFeCoを主成分とする合金が良く知られている。ところが、Fe系またはFeCo系合金からなる磁性薄膜をスパッタなどの成膜技術により作製すると、その膜の飽和磁化は高いものの、保磁力が大きく、また、比抵抗が小さくなってしまい良好な高周波特性を得ることは困難であった。
【0007】
一方で、軟磁気特性が優れている材料として、Co系非結晶質合金が知られている。このCo系非結晶質合金は、Coを主成分としY,Ti,Zr,Hf,Nb,Taなどから選択される1種または2種以上の元素を含む非結晶質を主体とするものである。ところがゼロ磁歪組成のCo系非結晶質合金の磁性薄膜をスパッタなどの成膜技術により作製すると、その膜の透磁率は大きいものの、飽和磁化が11kG(1.1T)程度であり、Fe系に比べて小さい。さらに、100MHz程度の周波数およびこれを超えてから損失成分(透磁率の虚数部μ”)が大きくなり、性能指数Q値が1以下となり、GHzの高周波帯域で使用する磁性材料としては好適とは言えない。
【0008】
このような適用困難な材料を用いてGHz帯のインダクタを実現させるために、磁性薄膜をマイクロワイヤ化させ、形状異方性エネルギーを増大させることにより、共鳴周波数を高周波化する試みも行われている(例えば、日本応用磁気学会誌、24,879(2000))。しかしながら、この方法では工程が複雑となってしまうばかりか、さらに、磁性薄膜の実効透磁率が低下してしまうという問題がある。
【0009】
このような実情のもとに従来より、軟磁性薄膜の高周波特性を改良するために種々の提案がなされてきた。その改良の基本方針としては、渦電流損失を抑制させたり、あるいは共鳴周波数を上昇させることなどが挙げられる。渦電流損失を抑制させる具体的な方策としては、例えば、磁性層/絶縁層(高抵抗層)との積層による多層化(例えば、特開平7-249516号公報)や、金属-非金属(酸化物、フッ化物)のグラニュラー化(例えば、J. Appl. Phys. 79, 5130 (1996))などが提案されている。しかしながら、これらの方法では、高抵抗の非磁性相が挿入されているために、飽和磁化が低下するという問題が生じる。また、金属−非金属のグラニュラー膜の場合は、透磁率が200以下であり、透磁率が低いという問題もある。
【0010】
一方、軟磁性層と高飽和磁化層を交互に積層した多層膜による高飽和磁化薄膜についての検討も行われている。すなわち、CoZr/Fe(日本応用磁気学会誌、16, 285 (1992))、FeBN/FeN(特開平5-101930号公報)、FeCrB/Fe(J. Appl. Phys. 67, 5131 (1990))、Fe-Hf-C/Fe(日本応用磁気学会誌、15, 403 (1991))など様々な組み合わせの例が報告されている。これらのものはいずれも飽和磁化を高くすることには効果がある。しかしながら、これらのものはいずれも高周波帯域での透磁率が大きくならず、GHz周波数帯域への応用は期待できない。
【0011】
【特許文献1】
特開平7−249516号公報(第1頁)
【特許文献2】
特開平5−101930号公報(第1頁)
【非特許文献1】
J. Appl. Phys. 85,7919(1999)
【非特許文献2】
J. Appl. Phys. 79, 5130 (1996)
【非特許文献3】
J. Appl. Phys. 67, 5131 (1990)
【非特許文献4】
日本応用磁気学会誌、24, 879 (2000)
【非特許文献5】
日本応用磁気学会誌、16, 285 (1992)
【非特許文献6】
日本応用磁気学会誌、15, 403 (1991)
【0012】
【発明が解決しようとする課題】
このような実状のもとに本発明は創案されたものであり、その目的は、GHz帯域の高周波領域で、高い透磁率を有し、かつ高い飽和磁化を有する高周波用磁性薄膜を提供することにある。また、本発明は、そのような磁性薄膜を用いた磁気素子を提供することを目的とする。
【0013】
【課題を解決するための手段】
本発明の高周波用磁性薄膜は、数100MHz以上の周波数帯域、特に、1GHz以上のGHz周波数帯域で使用することができる。このような高周波帯域における透磁率(以下、単に「高周波透磁率」と称す)は、試料の様々な物性と複雑に関係する物性である。この透磁率がもっとも関係が密なものとして、異方性磁界と飽和磁化がある。概ね、透磁率と共鳴周波数の積は、異方性磁界の1/2乗および飽和磁化の3/2乗に比例する関係にある。
共鳴周波数は、
fr=(γ/2π)[Hk4πMs]1/2 …式(1)
という関係式(1)で表される。ここで、frは共鳴周波数を表し、γはジャイロ磁気定数を表し、Hkは異方性磁界を表し、4πMsは飽和磁化を表している。
【0014】
従って、材料の異方性磁界および飽和磁化を大きくすることで共鳴周波数を上げ、使用限界周波数を上げることが可能となる。従来のCo系非結晶質合金薄膜の代表的な一例であるCoZrNb非結晶質合金薄膜の共鳴周波数を2GHzまで向上させるために必要な異方性磁界を上記式(1)を用いて計算してみる。すると、44Oe(3501.52A/m)以上の異方性磁界を必要とすることが算出される。この算出結果により、通常、15Oe(1193.7A/m)程度の異方性磁界しか持たない当該膜を、GHz周波数帯域へ応用することは困難であることが分かる。ところが、2GHzの共鳴周波数を実現するために必要とされる異方性磁界は、飽和磁化が、14kG(1.4T)の場合は36Oe(2864.88A/m)、18kG(1.8T)の場合は28Oe(2228.24A/m)となり、飽和磁化および結晶磁気異方性が大きいFe系合金またはFeCo系合金との組み合わせにより必要な飽和磁化および異方性磁界を実現することが期待できる。
【0015】
従来より、FeあるいはFeCoを主成分とする合金は高飽和磁化を示す材料として広く知られていた。しかしながら、Fe系またはFeCo系合金の磁性薄膜をスパッタなどの成膜技術により作製すると、飽和磁化は高いものの、保磁力が大きく、また比抵抗が小さくなってしまい良好な高周波特性を得ることが困難であった。その主原因としては、以下のことが考えられていた。すなわち、図2に示すように、スパッタなどで成膜したFe系またはFeCo系の薄膜101は、基板100の垂直方向に柱状に成長しており、この柱状構造に起因する垂直磁気異方性の発生が問題とされていた。
【0016】
しかしながら、本発明者らが鋭意研究したところ、Feに所定量のC(炭素)添加したFe−C薄膜において以下のことを知見した。
(1)所定厚さを有するFe−C薄膜も柱状構造をなすが、厚さが70nm程度以下であれば、柱状構造のアスペクト比(柱の長さと巾の比、長さ÷巾)が小さいために優れた軟磁気特性が得られる。具体的には、柱状成長しているFe−Cの平均巾は約50nmであり、柱状構造のアスペクト比が1.4以下となる厚さ70nm程度までは、柱状構造による軟磁気特性の劣化を抑制できる。このようなアスペクト比のFe−C薄膜を得るためには、図3に示すように、Co系非結晶質合金薄膜111をFe−C薄膜112とFe−C薄膜112との間に介在させることが有効である。そうすることによって、Fe−C結晶粒の連続的な柱状構造の成長を阻止することができるからである。
(2)Fe−C薄膜の成長過程を綿密に調査したところ、厚さ3nm以下程度までの膜成長初期段階においては、結晶粒径が3nm以下の微結晶状態になり、さらに、不安定な表面の割合が多くなるため、非結晶質(アモルファス)の特徴が現れる。つまり、図4に示すように、Fe−C薄膜121は基板120上に形成された非結晶質構造部分121aと、非結晶質構造部分121a上に形成される柱状構造部分121bとから構成される。非結晶質であることは、X線回折により、Fe−C薄膜の場合にはFeのbcc(110)結晶面の回折ピークが現れないことから判断すればよい。このような非結晶質構造の薄膜は、柱状構造にならないことはもちろん、非結晶質構造に起因する高抵抗(100μΩcm以上)特性が得られる。したがって、Co系非結晶質合金薄膜と積層する形態を採択すれば、軟磁気特性はもちろん高抵抗化が実現でき、GHz帯域における透磁率が大きいとともに、渦電流損失が抑制され性能指数が大きい磁性薄膜を得ることができる。
(3)以上の(1)、(2)の事項は、Fe−C薄膜に限らず、FeCo−C薄膜、さらにはCをBまたはNで置換した場合でも有効である。
【0017】
すなわち、本発明は、上述したように軟磁気特性に優れているCo系非結晶合金の薄膜と、高飽和磁化かつ高異方性磁界を持つFe−(C,B,N)またはFeCo−(C,B,N)薄膜とを積層させて、GHz領域(1GHz)で透磁率の実数部(μ’)が200以上で、かつ性能指数Q(Q=μ’/μ”)が1以上、飽和磁化が12kG(1.2T)以上の特性を容易に得ることができる高周波用の複合磁性薄膜の提供を可能にしたのである。
【0018】
したがって本発明は、T−L組成物(ただし、T=FeまたはFeCo、L=Cおよび/またはB)からなる第1の層と、第1の層のいずれかの面側に配置されたCo系非結晶質合金からなる第2の層とを含み、第1の層の厚さをT1、第2の層の厚さをT2とした場合に、T1が3〜20nmの範囲にあり、かつT1/T2が0.15〜3.50の範囲にあることを特徴とする高周波用磁性薄膜を提供する。また本発明は、T−L組成物(ただし、T=FeまたはFeCo、L=Cおよび/またはB)からなる第1の層と、第1の層のいずれかの面側に配置されたCo系非結晶質合金からなる第2の層と、を含み、第1の層の厚さをT1、第2の層の厚さをT2とした場合に、T1が0.5〜3.0nmの範囲にあり、かつT1/T2が0.8〜3.0の範囲にあることを特徴とする高周波用磁性薄膜をも提供する。第1の層は、LとしてさらにNを含むことができる。
本発明の高周波用磁性薄膜は、複数の第1の層と複数の第2の層とが積層、望ましくは交互に積層された多層膜構造によって構成されることが望ましい。
【0019】
本発明の高周波用磁性薄膜は、1GHzにおける複素透磁率の実数部(μ’)が400以上で、かつ性能指数Q(Q=μ’/μ”)が4以上、飽和磁化が14kG(1.4T)以上の特性を得ることができる。なお、本発明において、これら特性は成膜したままの状態で得ることができる。つまり、成膜完了からの経過時間を問わないが、成膜後に例えば熱処理等の処理を加えていない状態で測定した値によって本発明で規定する特性を具備するか否かの判断を行うことができる。ただし、成膜後に熱処理等の処理を加えた場合であっても、本発明で規定する特性を具備するものは本発明の範囲に含まれることは言うまでもない。以下も同様である。
この特性は第1の層および第2の層の厚さを規定することによって得ることができる。具体的には、第1の層の厚さをT1、第2の層の厚さをT2とした場合に、T1を3〜70nmの範囲とし、かつT1/T2を0.15〜3.50の範囲とすることにより、上記特性を得ることができる。
【0020】
また本発明の高周波用磁性薄膜によれば、1GHzにおける複素透磁率の実数部(μ’)が500以上で、かつ性能指数Q(Q=μ’/μ”)が10以上、飽和磁化が14kG(1.4T)以上の特性を得ることができる。
この特性は第1の層および第2の層の厚さを規定することによって得ることができる。具体的には、第1の層の厚さをT1、第2の層の厚さをT2とした場合に、第1の層の厚さT1を0.5〜3.0nmの範囲とし、かつT1/T2を0.8〜3.0の範囲とすることにより、上記特性を得ることができる。
【0021】
また、本発明の好ましい態様として、第2の層を構成するCo系非結晶質合金は、Coを主成分とし、B,C,Si,Ti,V,Cr,Mn,Fe,Ni,Y,Zr,Nb,Mo,Hf,Ta,Wから選択される少なくとも1種の添加元素を含んで形成される。
また、本発明の好ましい態様として、Co系非結晶質合金は、CoZr,CoHf,CoNb,CoMo,CoZrNb,CoZrTa,CoFeZr,CoFeNb,CoTiNb,CoZrMo,CoFeB,CoZrNbMo,CoZrMoNi,CoFeZrB,CoFeSiB,CoZrCrMoから選択されるように構成される。
また、本発明の好ましい態様として、第1の層は、その中に含有されるL元素の濃度が2〜20at%であるように構成される。
【0022】
以上の本発明によれば、FeまたはFeCoを主成分とし、単層膜で飽和磁化が16kG(1.6T)以上の特性を有する第1の層と、Coを主成分とし、単層膜で透磁率1000以上(測定周波数:10MHz)、飽和磁化が10kG(1.0T)以上、比抵抗が100μΩcm以上の特性を有する第2の層とが交互に積層している複合磁性薄膜が提供される。なお、第1の層はアスペクト比が1.4以下の柱状構造を主体とするか、または非結晶質構造から構成されることが望ましい。
【0023】
本発明の高周波用磁性薄膜はコイルを挟持するように対向配置された磁気素子の構成要素として用いることができる。この磁気素子を構成する、高周波用磁性薄膜は、T−L組成物(ただし、T=FeまたはFeCo、L=Cおよび/またはB)からなる第1の層と、第1の層のいずれかの面側に配置されたCo系非結晶質合金からなる第2の層とが交互に積層された多層膜であり、第1の層の厚さをT1、第2の層の厚さをT2とした場合に、T1が3〜20nmの範囲にあり、かつT1/T2が0.15〜3.50の範囲にあることを特徴とする。また、この高周波用磁性薄膜として、T−L組成物(ただし、T=FeまたはFeCo、L=Cおよび/またはB)からなる第1の層と、第1の層のいずれかの面側に配置されたCo系非結晶質合金からなる第2の層とが交互に積層された多層膜であり、第1の層の厚さをT1、第2の層の厚さをT2とした場合に、T1が0.5〜3.0nmの範囲にあり、かつT1/T2が0.8〜3.0の範囲にあることを特徴とする。第1の層は、LとしてさらにNを含むことができる。
【0024】
本発明の磁気素子は、コイルを挟持するように対向配置された高周波用磁性薄膜を有するものとして構成することができる。そして、平面型の磁気素子であって、その磁気素子がインダクタまたはトランスとすることができる。また、モノリシックマイクロ波集積回路に用いられるインダクタへの適用も本発明の望ましい態様として掲げることができる。
【0025】
【発明の実施の形態】
以下、本発明の高周波用磁性薄膜について詳細に説明する。
本発明の高周波用磁性薄膜1は、図1の模式的断面図に示されるように、Co系非結晶質合金層3とT−L組成物層7とが交互に積層された多層膜構造をなす複合磁性薄膜である。図1に示される実施の形態では合計8層からなる多層膜構造が例示されている。
【0026】
高周波用磁性薄膜1は、T−L組成物層7と、T−L組成物層7の一方の面側に配置されたCo系非結晶質合金層3との組み合わせがその基本的な構成となる。
T−L組成物層7のTはFeまたはFeCoであり、LはCおよび/またはBであり、さらにNを含むことができる。FeまたはFeCoを主成分とする合金からなる薄膜は、高い飽和磁化を示すものの、保磁力が大きくかつ非抵抗が小さくなる傾向にあった。そこで本発明は、軟磁気特性を向上することのできるL(Cおよび/またはBであり、さらにNを含むことができる)を含有する。ここで、T−L組成物層7は2つの形態を包含する。1つは、T−L組成物層7のアスペクト比が1.4以下の柱状構造を有する形態である。この形態をなすことより高飽和磁化および優れた軟磁気特性を得ることができる。また他の1つは、非結晶質構造である。T−L組成物層7が非結晶質構造をなすことにより、さらなる軟磁気特性の向上および高電気抵抗が達成できる。高周波特性に効果を見出すためには、T−L組成物層7は、単層膜で飽和磁化1.6T以上の特性を有することが望ましい。なお、T−L組成物層7のアスペクト比が1.4以下の柱状構造を有する形態においても、薄膜形成初期段階で非結晶質構造が形成されていることから、本願発明における柱状構造とはこの非結晶質構造部分を含む意味と解釈するものとする。
【0027】
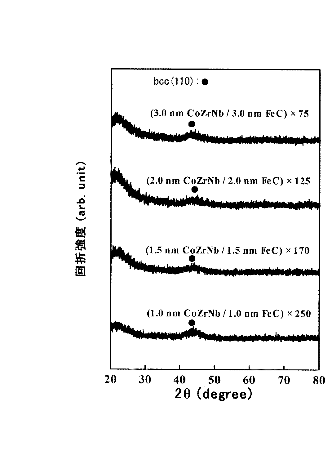
T−L組成物層7は膜厚が厚くなり、アスペクト比が1.4を超えて2.0以上になると、垂直磁気異方性が堅調にあらわれ、軟磁気特性が劣化してしまう。本発明においては、T−L組成物層7に存在する全ての結晶粒のアスペクト比が1.4以下であることが最も望ましいが、そのアスペクト比の増加分が30%以下、さらには10%以下の結晶粒を部分的に含有することを許容する。したがって、本発明ではT−L組成物層7の厚さ(T1)は100nm以下、望ましくは70nm以下とする。前述したように、T1が3nm以下になると、T−L組成物層7は前述のように非結晶質構造になり、性能的には、例えば、T1を0.2nmまで薄くしても性能の低下は起こらない。しかし、T1が薄くなりすぎると積層回数が増えるため、成膜時間が長くなるという製造上の不具合が生じる。従って、T1は、0.5nm以上、さらには1.0nm以上とすることが望ましい。
図5は厚さT1が3nm以下のFe−C薄膜とCoZrNb非結晶質合金薄膜とを積層した複合磁性薄膜のX線回折結果を示している。図5から分かるように、Fe−C薄膜の厚さが3nm以下の積層膜は、Fe−Cのbcc(110)結晶面の回折ピークは典型的な非結晶質のブロードな形状を示す。
【0028】
本発明のT−L組成物層7は、その中に含有されるL元素(Cおよび/またはBであり、さらにはNを含むことができる)濃度が2〜20at%、望ましくは4〜10at%とされる。L元素濃度が2at%未満であると、bcc構造の柱状結晶が基板に対して垂直方向に成長しやすくなり、保磁力が大きくなるとともに、比抵抗が小さくなってしまい、良好な高周波特性を得ることが困難となってしまう。この一方で、このL元素濃度が20at%を超えると、異方性磁界が減少するために共鳴周波数の低下が生じて、高周波用の薄膜として十分に機能することが困難となってしまう。また、TとしてはFeのみよりもFeCoを採用するほうが高い飽和磁化が得られることから望ましい。このときのCoの含有量は、80at%以下の範囲で適宜定めればよいが、20〜50at%の範囲で含有させることが望ましい。また、Fe、FeCo以外に本発明に悪影響を与えない範囲で他の元素を含有させることを本願発明は許容する。
【0029】
本発明において、第2の層としてCo系の非結晶質合金を用いるのは、高透磁率であり、かつ高抵抗(比抵抗が100〜200μΩcm)のために高周波域での渦電流損失が抑制できるからである。また、第2の層が結晶質の材料であると、その上に接する第1の層はその結晶の成長が第2の層の結晶構造に影響され連続的な柱状構造になってしまうのに対して、第2の層が非結晶質材料であると、第1の層が柱状構造であっても第2の層によってその成長が分断されるため、連続的な柱状構造にならないからである。Co系非結晶質合金層3は、単層膜で透磁率1000以上(10MHz)、飽和磁化10kG(1.0T)以上、比抵抗100μΩcm以上の特性を有していることが望ましい。
【0030】
本発明における第2の層としてのCo系非結晶質合金層3は、Coを主成分とし、B,C,Si,Ti,V,Cr,Mn,Fe,Ni,Y,Zr,Nb,Mo,Hf,Ta,Wから選択される少なくとも1種の添加元素を含んで形成されており、このものは非結晶質相を主体として構成されている。添加元素の割合(2種以上の場合は総和量)は、通常、5〜50at%、好ましくは、10〜30at%とされる。添加元素の割合が多くなり過ぎると、飽和磁化が小さくなってしまうという不都合が生じ、また、添加元素の割合が少なくなり過ぎると、磁歪の制御が困難となり、有効な軟磁気特性が得られなくなるという不都合が生じる。
【0031】
Co系非結晶質合金層3を構成する好適な組成系の例としては、CoZr,CoHf,CoNb,CoMo,CoZrNb,CoZrTa,CoFeZr,CoFeNb,CoTiNb,CoZrMo,CoFeB,CoZrNbMo,CoZrMoNi,CoFeZrB,CoFeSiB,CoZrCrMoなどが挙げられる。
【0032】
以上のT−L組成物層7およびCo系非結晶質合金層3を交互に積層することにより、1GHzにおける複素透磁率の実数部(μ’)が400以上で、かつ性能指数Q(Q=μ’/μ”)が4以上、飽和磁化が14kG(1.4T)以上の高周波用磁性薄膜1を得ることができる。なお、GHz領域(1GHz)で透磁率の実数部(μ’)はできるだけ大きな値をとることが望まれ、特に上限値はない。同様に、飽和磁化についてもできるだけ大きな値をとることが望まれ、特に上限値はない。
【0033】
以上の特性を得るためには、T−L組成物層7の厚さをT1、Co系非結晶質合金層3の厚さをT2とした場合に、T1を3〜70nmの範囲とし、かつT1/T2は0.15〜3.50、好ましくは0.25〜2.50とすることが重要である。この値が、3.50を超えると、T−L組成物層7のアスペクト比が大きくなり、異方性磁界および磁化困難軸方向の保磁力(Hch)が急に増大するなどして垂直磁気異方性が発生するために、特に良好な軟磁性特性を得ることができなくなるという不都合が生じてしまう。また、この値が0.15未満となると14kG(1.4T)以上の飽和磁化を得ることができなくなってしまうからである。
【0034】
また、以上のT−L組成物層7およびCo系非結晶質合金層3を交互に積層することにより、1GHzにおける複素透磁率の実数部(μ’)が500以上で、かつ性能指数Q(Q=μ’/μ”)が10以上、飽和磁化が14kG(1.4T)以上の高周波用磁性薄膜1を得ることもできる。
【0035】
以上の特性を得るためには、T−L組成物層7の厚さをT1、Co系非結晶質合金層3の厚さをT2とした場合に、T1を0.5〜3.0nmの範囲とし、かつT1/T2を0.8〜3.0の範囲にすればよい。
T1/T2が、3.0を超えると、FeCの粒子が大きく成長してしまい、130μΩcm以上の高い比抵抗が得られなくなってしまう。また、この値が0.8未満となると、高飽和磁化であるT−L組成物層7の割合が少なくなってしまい、共鳴周波数の高周波数化が困難となってしまう。好ましくは1.0以上2.5以下とされる。上記のT1、およびT1/T2を本願発明の範囲内とすることで、比抵抗が130μΩcm以上で、かつ1GHzにおける復素透磁率の実数部(μ’)が500以上、性能指数(Q=μ’/μ”)が10以上、飽和磁化が14kG(1.4T)以上という極めて優れた特性を有する複合薄膜の実現が可能となる。なお、このような特性は、前述したように、熱処理等を施さない成膜ままの状態で測定される。
【0036】
本発明の高周波用磁性薄膜1において、交互に積層されるT−L組成物層7およびCo系非結晶質合金層3の合計積層回数に関する制限はないが、通常、5〜3000回、好ましくは10〜700回程度とされる。高周波用磁性薄膜1の中で同一種類(T−L組成物層7またはCo系非結晶質合金層3)の膜は、通常、同じ膜厚となるように形成される。ただし、稀なケースとして、同一種類の膜であっても、積層箇所によって成膜厚さを他の部分と異ならしめることがあり得る。極端な例として、例えば、中間付近のT−L組成物層7の膜厚を20nm、上下のT−L組成物層7の2層の膜厚をそれぞれ5nmとするような仕様も場合によってはあり得る。このような場合、算術平均の厚さ(Tf)により算出すればよい。上記例では、算術平均値であるTf=10nmという数値を採択して、例えばTf/Tc(TcはCo系非結晶質合金層3の膜厚の算術平均値)を求めるようにすればよい。また、本発明の高周波用磁性薄膜1は、Co系非結晶質合金層3およびT−L組成物層7以外の層を配設することを許容する。
【0037】
このような本発明の高周波用磁性薄膜1の厚さは、100〜2000nm、好ましくは300〜1000nmとされる。この値が、100nm未満であると、平面型磁気素子に応用する場合、所望のパワーを扱うことが困難になるという不都合が生じ得る。また、後述の図9および図10に示される磁性薄膜を備える有芯コイルの形態としても、空芯コイルに比べてインダクタンスの増加が10%未満となる傾向が生じ、磁性薄膜の効果が十分発揮できないという不都合が生じる。また、この値が、2000nmを超えると、表皮効果による高周波損失が堅調になり、GHz帯域の損失が増大するという不都合が生じ得る。
【0038】
本発明の高周波用磁性薄膜1は、真空薄膜形成方法、特にスパッタ法により形成されることが好ましい。より具体的には、RFスパッタ、DCスパッタ、マグネトロンスパッタ、イオンビームスパッタ、誘導結合RFプラズマ支援スパッタ、ECRスパッタ、対向ターゲット式スパッタなどが用いられる。
【0039】
Co系非結晶質合金層3を形成するためのターゲットとしては、Coターゲット上に、所望の添加元素のペレットを配置した複合ターゲットを用いたり、所望の添加成分を含有するCo合金のターゲットを用いればよい。
T−L組成物層7を形成するためのターゲットとしては、Fe(またはFeCo合金)ターゲットの上にL元素のペレットを配置した複合ターゲットを用いるか、Fe(またはFeCo)とL元素の合金ターゲットを用いればよい。L元素の濃度調整は、例えば、L元素ペレットの量を調整するようにすればよい。
なお、スパッタリングはあくまで本発明の一態様であり、他の薄膜作成プロセスを適用できることは言うまでもない。本発明の高周波用磁性薄膜1の具体的な成膜方法については、後述の実施例を参照されたい。
【0040】
本発明の高周波用磁性薄膜1が形成される基板2(図1)としては、ガラス基板、セラミック材料基板、半導体基板、樹脂基板等が例示できる。セラミック材料としては、アルミナ、ジルコニア、炭化珪素、窒化珪素、窒化アルミニウム、ステアタイト、ムライト、コージライト、フォルステライト、スピネル、フェライトなどが挙げられる。中でも熱伝導率が大きく、曲げ強度も大きい窒化アルミニウムを用いることが好ましい。
また本発明の高周波用磁性薄膜1は、上述してきたように極めて優れた高周波特性を有するとともに室温で成膜ままの状態でその性能が発揮できる。そのため、MMICのような半導体プロセスで製作される高周波集積回路に最適な材料である。従って、基板11、基板21および基板31(後述の図7、図8および図10に示される)としては、Si、GaAs、InP、SiGeなどの半導体基板が例示できる。
【0041】
平面型の磁気素子をインダクタに応用した一例が図6および図7に示される。図6は、インダクタの平面図を模式的に示したものであり、図7は図6のA−A矢視断面を模式的に示した図面である。
【0042】
これらの図面に示されるインダクタ10は、基板11と、この基板11の両面にスパイラル状に形成された平面コイル12,12と、これらの平面コイル12,12と基板11面を覆うように形成された絶縁膜13,13と、これの各々の絶縁膜13,13の上を覆うように形成された一対の本発明の高周波用磁性薄膜1とを備えている。そして、上記2つの平面コイル12,12は、基板11の略中央部分に形成されたスルーホール15を介して電気的に接続されている。さらに、基板11の両面の平面コイル12,12からそれぞれ接続のための端子16が基板11の外方に引き出されている。このようなインダクタ10は、一対の高周波用磁性薄膜1によって、絶縁膜13,13を介して平面コイル12,12を挟むように構成されているので、接続端子16,16間にインダクタが形成される。
このように形成されたインダクタは、小型かつ薄型軽量で、特に1GHz以上の高周波帯域で優れたインダクタンスを示す。
なお上記説明したインダクタ10において、平面コイル12,12を並列的に複数設けることによりトランスを形成することができる。
【0043】
本発明の平面型磁気素子をインダクタに応用した他の好適な実施の形態が図8に示される。図8は、インダクタの断面を模式的に示したものである。この図に示されるようにインダクタ20は、基板21と、この基板21の上に必要に応じて形成される酸化膜22と、この酸化膜22の上に形成された本発明の高周波用磁性薄膜1aと、この高周波用磁性薄膜1aの上に形成された絶縁膜23を備え、さらにこの絶縁膜23の上に形成された平面コイル24と、これらの平面コイル24と絶縁膜23を覆うように形成された絶縁膜25と、この絶縁膜25の上に形成された本発明の高周波用磁性薄膜1bとを有している。このように形成されたインダクタ20もやはり、小型かつ薄型軽量で、特に1GHz以上の高周波帯域で優れたインダクタンスを示す。そしてこのようなインダクタ20において、平面コイル24を並列的に複数設けることによりトランスを形成することができる。
【0044】
ところで、薄膜インダクタなどの平面型磁気素子においては、それぞれの素子の設計仕様に応じた最適な透磁率を提供することが要望される。高周波帯域における透磁率は、異方性磁界と相関が高く、高周波帯域における透磁率は異方性磁界の逆数に比例する。高周波帯域における高透磁率を実現するためには、磁性薄膜面内で一軸異方性を有することが必要である。また、薄膜インダクタなどの平面型磁気素子では、磁性薄膜の飽和磁化が高いほど直流重畳特性が大きくなる事が期待できる。そのため、飽和磁化の大きさは、高周波用磁性薄膜1の設計において重要なパラメータといえる。
【0045】
本発明の高周波用磁性薄膜1を、MMIC用インダクタとして応用した実施例が図9および図10に示される。
図9はインダクタの導体層部分を抜き出した平面図を模式的に示したものであり、図9は図10のA−A矢視断面を模式的に示した図面である。
【0046】
これらの図面で示されているインダクタ30は、図10に示されるように基板31と、この基板31の上に必要に応じて形成される絶縁酸化膜32と、その絶縁酸化膜32の上に形成された本発明の高周波用磁性薄膜1aと、この高周波用磁性薄膜1aの上に形成された絶縁膜33を備え、さらにこの絶縁膜33の上に形成されたスパイラルコイル34と、このスパイラルコイル34と絶縁膜33を覆うように形成された絶縁膜35と、この絶縁膜35の上に形成された本発明の高周波用磁性薄膜1bとを有している。
【0047】
また、スパイラルコイル34は、図9に示されるように配線36を介して一対の電極37に接続されている。そして、スパイラルコイル34を囲むように設けられた一対のグラウンドパターン39は、それぞれ一対のグラウンド電極38に接続され、グラウンド−シグナル−グラウンド(G−S−G)タイプのプローブにより、ウェハ上で周波数特性を評価する形状を有している。
【0048】
本実施の形状にかかるMMIC用インダクタにおいては、磁芯となる高周波用磁性薄膜1a、1bでもってスパイラルコイル34が挟み込まれた有芯構造を採用している。そのため、スパイラルコイル34が同じ形状でありながらも高周波用磁性薄膜1a、1bが形成されていない空芯構造のインダクタに比べ、インダクタンス値が約50%向上される。従って、同じインダクタンス値を得るために必要なスパイラルコイル34の占有面積は小さくてもよいことになり、その結果としてスパイラルコイル34の小型化が実現できる。
【0049】
ところで、MMIC用インダクタに適用する磁性薄膜の材料としては、GHz帯域の高周波数で高透磁率、かつ高い性能指数Q(低損失)特性を持つことや、半導体製造プロセスによる集積化が可能であることが求められる。
GHz帯域の高周波数における高透磁率を実現するためには、共鳴周波数が高く、かつ飽和磁化が大きい材質が有利であり、一軸磁気異方性の制御が必要である。また、高い性能指数Qを得るためには、高抵抗化による渦電流損失の抑制が重要である。さらに、集積化プロセスに適用するためには、室温で成膜でき成膜ままの状態で使用できることが望ましい。すでにセッティングされている他のオンチップコンポーネントの性能および作成プロセスに加熱による悪影響を及ぼさないようにするためである。
【0050】
【実施例】
以下、具体的実施例を示し、本発明をさらに詳細に説明する。
【0051】
〔実施例1〕
以下の成膜手法に従って本発明の高周波用磁性薄膜を作製した。
Siウェハの上にSiO2を100nmの厚さに成膜したものを基板として用いた。
対向ターゲット式スパッタ装置を用いて、下記の要領で基板上に高周波用磁性薄膜を成膜(deposit)させた。すなわち、対向ターゲット式スパッタ装置内を8×10-5Paまで予備排気した後、圧力が10PaになるまでArガスを導入した後、100WのRFパワーで10分間、基板表面をスパッタエッチングした。次いで、圧力が0.4PaになるようにArガスの流量を調整し、300WのパワーでCo87Zr5Nb8ターゲット、およびFeターゲット上にC(炭素)ペレットを配置した複合ターゲットを、順次交互に繰り返しスパッタリングして後述する仕様からなる高周波用磁性薄膜としての複合磁性薄膜を成膜(deposit)させた。
成膜時には基板に−40〜−80VのDCバイアスを印加した。また、ターゲット表面の不純物の影響を防止するためにシャッターを閉めた状態で10分以上プリスパッタリングを行った。その後、シャッターを開けることにより基板上に成膜を行った。成膜速度(rate)は、CoZrNb層の成膜時で0.33nm/秒、Fe−C層の成膜時で0.27nm/秒とした。シャッターの開閉時間を制御することで交互に積層される各層の膜厚を調整した。基板上の第1層目としてCoZrNb層を成膜した後、その上にFe−C層を形成し、以下順次CoZrNb層とFe−C層とを交互に積層した。
【0052】
このような成膜手法に基づき、厚さ20nmのCoZrNb層と、厚さ5nmのFe−C層(炭素濃度:5at%)とを交互に20回ずつ順次積層して総膜厚500nm(合計40層)の本発明の複合磁性薄膜(実施例1)を形成した。
複合磁性薄膜の構造を確認したところ、Fe−C層は前述した非結晶質構造部分とその上に形成される柱状構造部分とから構成され、この柱状構造部分はアスペクト比が1.4以下であることを確認した。また、CoZrNb層は非結晶質であることが確認された。
【0053】
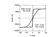
成膜後に測定された磁化曲線を図11に示した。図11に示される磁化曲線から明らかなように、積層膜では面内一軸磁気異方性が観察されており、飽和磁化として14.7kG(1.47T)、異方性磁界として45Oe(3580.99A/M)、磁化容易軸の保磁力として1.1Oe(87.53A/m)が得られた。
さらに、この複合磁性薄膜の高周波透磁率特性を図12に示した。図12に示されるグラフより、共鳴周波数は測定限界の2GHzを超えており、GHz領域で透磁率の実数部(μ’)が400以上であることが分かる。また性能指数Q(Q=μ’/μ”)は1GHzでは13の値が得られ、2GHzでは2以上の値が得られていることが分かる。なお、高周波透磁率の測定は薄膜高周波透磁率測定装置(成瀬科学器機、PHF―F1000)を用い、磁気特性は振動試料型磁力計(理研電子、BHV―35)を用いて測定した。
【0054】
〔実施例2〕
上記実施例1の成膜手法に基づき、厚さ20nmのCoZrNb層と、厚さ20nmのFe−C層(炭素濃度:5at%)とを交互に13層ずつ順次積層して総膜厚520nm(合計26層)の本発明の複合磁性薄膜(実施例2)を形成した。
複合磁性薄膜の構造を確認したところ、Fe−C層は主に柱状結晶粒から構成され、この柱状構造部分はアスペクト比が1.4以下であることを確認した。また、CoZrNb層は非結晶質であることが確認された。また、CoZrNb層は非結晶質であることが確認された。
【0055】
成膜後に測定された磁化曲線を図13に示した。図13に示される磁化曲線から明らかなように、積層膜では面内一軸磁気異方性が観察されており、飽和磁化として16.3kG(1.63T)、異方性磁界として44Oe(3501.41A/m)、磁化容易軸の保磁力として1.2Oe(95.49A/m)が得られた。
また、この複合磁性薄膜の高周波透磁率特性を図14に示した。図14に示されるグラフによれば、透磁率の実数部(μ’)が1GHzでは540の値が得られ、1.5GHzでは670の値が得られていることが分かる。また性能指数Q(Q=μ’/μ”)は1GHzでは4.7の値が得られており、1.5GHzでは2以上の値が得られていることが分かる。
【0056】
〔実施例3〕
上記実施例1の成膜手法に基づき、厚さ20nmのCoZrNb層と、厚さ50nmのFe−C層(炭素濃度:5at%)とを交互に7層ずつ順次積層して総膜厚490nm(合計14層)の本発明の複合磁性薄膜(実施例3)を形成した。
複合磁性薄膜の構造を確認したところ、Fe−C層は主に柱状結晶粒から構成され、この柱状構造部分はアスペクト比が1.4以下であることを確認した。また、CoZrNb層は非結晶質であることが確認された。
【0057】
成膜後に測定された磁化曲線を図15に示した。図15に示される磁化曲線から明らかなように、積層膜では面内一軸磁気異方性が観察されており、飽和磁化として16.7kG(1.67T)、異方性磁界として48Oe(3819.72A/m)、磁化容易軸の保磁力として1.6Oe(127.32A/m)が得られた。
また、この複合磁性薄膜の高周波透磁率特性を図16に示した。図16に示されるグラフから、GHz領域で透磁率の実数部(μ’)が500以上であることが分かる。また性能指数Q(Q=μ’/μ”)は1GHzでは6以上の値が得られ、2GHzでは2以上の値が得られていることが分かる。
【0058】
〔実施例4〕
上記実施例1の成膜手法に基づき、厚さ20nmのCoZrNb層と、厚さ2nmのFe−C層(炭素濃度:5at%)とを交互に20層ずつ順次積層して総膜厚440nm(合計40層)の本発明の複合磁性薄膜(実施例4)を形成した。
複合磁性薄膜の構造を確認したところ、Fe−C層およびCoZrNb層ともに非結晶質であることが確認された。
上記の実施例に準じた方法によって、複合磁性薄膜の物性値を求めたところ、12.5kG(1.25T)の飽和磁化、20Oe(1591.55A/m)の異方性磁界、1.1Oe(87.53A/m)の磁化容易軸の保磁力が、それぞれ、得られた。
また、1GHzにおける透磁率の実数部(μ’)は900であり、1GHzでの性能指数Q(Q=μ’/μ”)は1.3の値が得られた。
【0059】
〔実施例5〕
上記実施例1の成膜手法に基づき、厚さ20nmのCoZrNb層と、厚さ80nmのFe−C層(炭素濃度:5at%)とを交互に7層ずつ順次積層して総膜厚700nm(合計14層)の本発明の複合磁性薄膜(実施例5)を形成した。
この複合磁性薄膜の透過型電子顕微鏡による断面像を図17に示すが、Fe−C層は主に柱状結晶粒から構成され、この柱状構造部分はアスペクト比が1.4以下であることを確認した。
上記の実施例に準じた方法によって、当該複合磁性薄膜の物性値を求めたところ、18.0kG(1.80T)の飽和磁化、92Oe(7321.13A/m)の異方性磁界、2.8Oe(222.82A/m)の磁化容易軸の保磁力が、それぞれ、得られた。
また、1GHzにおける透磁率の実数部(μ’)は200であり、1GHzでの性能指数Q(Q=μ’/μ”)は8の値が得られた。
【0060】
〔実施例6〕
上記実施例1において、Fe−C層の炭素濃度を5at%から7at%に変えた。それ以外は、上記実施例1と同様にして、本発明の複合磁性薄膜(実施例6)を形成した。
上記の実施例に準じた方法によって、当該複合磁性薄膜の物性値を求めたところ、14.7kG(1.47T)の飽和磁化、42Oe(3342.25A/m)の異方性磁界、1.0Oe(79.58A/m)の磁化容易軸の保磁力が、それぞれ、得られた。
また、1GHzにおける透磁率の実数部(μ’)は410であり、1GHzでの性能指数Q(Q=μ’/μ”)は14の値が得られた。
【0061】
〔実施例7〕
上記実施例1において、Fe−C層の炭素濃度を5at%から10at%に変えた。それ以外は、上記実施例1と同様にして、本発明の複合磁性薄膜(実施例7)を形成した。
上記の実施例に準じた方法によって、当該複合磁性薄膜の物性値を求めたところ、14.5kG(1.45T)の飽和磁化、40Oe(3183.10A/m)の異方性磁界、1.0Oe(79.58A/m)の磁化容易軸の保磁力が、それぞれ、得られた。
また、1GHzにおける透磁率の実数部(μ’)は490であり、1GHzでの性能指数Q(Q=μ’/μ”)は11の値が得られた。
【0062】
〔比較例1〕
上記実施例1において、Fe−C層をFe層に変えた。それ以外は、上記実施例1と同様にして、比較例の複合磁性薄膜(比較例1)を形成した。
上記の実施例に準じた方法によって、当該複合磁性薄膜の物性値を求めたところ、17.6kG(1.76T)の飽和磁化、28Oe(2228.24A/m)の異方性磁界、18.0Oe(1432.44A/m)の磁化容易軸の保磁力が、それぞれ、得られた。
また、1GHzにおける透磁率の実数部(μ’)は120であり、1GHzでの性能指数Q(Q=μ’/μ”)は4の値が得られた。
【0063】
〔実施例8〕
上記実施例1において、Co系非結晶質合金層の組成であるCo87Zr5Nb8を、Co89Zr6Ta5に変えた。それ以外は、上記実施例1と同様にして、本発明の複合磁性薄膜(実施例8)を形成した。
上記の実施例に準じた方法によって、当該複合磁性薄膜の物性値を求めたところ、14.9kG(1.49T)の飽和磁化、44Oe(3501.44A/m)の異方性磁界、1.1Oe(87.53A/m)の磁化容易軸の保磁力が、それぞれ、得られた。
また、1GHzにおける透磁率の実数部(μ’)は455であり、1GHzでの性能指数Q(Q=μ’/μ”)は11の値が得られた。
【0064】
〔実施例9〕
上記実施例1において、Co系非結晶質合金層の組成であるCo87Zr5Nb8を、Co80Fe9Zr3B8に変えた。それ以外は、上記実施例1と同様にして、本発明の複合磁性薄膜(実施例9)を形成した。
上記の実施例に準じた方法によって、当該複合磁性薄膜の物性値を求めたところ、14.7kG(1.47T)の飽和磁化、48Oe(3919.72A/m)の異方性磁界、1.2Oe(95.49A/m)の磁化容易軸の保磁力が、それぞれ、得られた。
また、1GHzにおける透磁率の実数部(μ’)は410であり、1GHzでの性能指数Q(Q=μ’/μ”)は12の値が得られた。
【0065】
〔比較例2〕
上記実施例1において、厚さ500nmの複合磁性薄膜を、厚さ500nmのCo87Zr5Nb8の単層膜に変えた。それ以外は、上記実施例1と同様にして、比較例の複合磁性薄膜(比較例2)を形成した。
上記の実施例に準じた方法によって、当該複合磁性薄膜の物性値を求めたところ、11.5kG(1.15T)の飽和磁化、15Oe(1193.66A/m)の異方性磁界、0.8Oe(63.66A/m)の磁化容易軸の保磁力が、それぞれ、得られた。
また、1GHzにおける透磁率の実数部(μ’)は1091であり、1GHzでの性能指数Q(Q=μ’/μ”)は1の値が得られた。
【0066】
〔比較例3〕
上記実施例1において、厚さ500nmの複合磁性薄膜を、厚さ1000nmのCo89Zr6Ta5の単層膜に変えた。それ以外は、上記実施例1と同様にして、比較例の複合磁性薄膜(比較例3)を形成した。
上記の実施例に準じた方法によって、当該複合磁性薄膜の物性値を求めたところ、13.0kG(1.30T)の飽和磁化、16Oe(1273.24A/m)の異方性磁界、0.9Oe(71.62A/m)の磁化容易軸の保磁力が、それぞれ、得られた。
また、1GHzにおける透磁率の実数部(μ’)は325であり、1GHzでの性能指数Q(Q=μ’/μ”)は0.5の値が得られた。
【0067】
〔比較例4〕
上記実施例1において、厚さ500nmの複合磁性薄膜を、厚さ1000nmのCo79Fe9Zr2Ta10の単層膜に変えた。それ以外は、上記実施例1と同様にして、比較例の複合磁性薄膜(比較例4)を形成した。
上記の実施例に準じた方法によって、当該複合磁性薄膜の物性値を求めたところ、11.0kG(1.10T)の飽和磁化、36Oe(2864.79A/m)の異方性磁界、1.1Oe(87.53A/m)の磁化容易軸の保磁力が、それぞれ、得られた。
また、1GHzにおける透磁率の実数部(μ’)は327であり、1GHzでの性能指数Q(Q=μ’/μ”)は1.7の値が得られた。
【0068】
これらの結果を含めた測定値を表1にまとめて示した。
【0069】
【表1】
【0070】
表1に示すように、本発明による各実施例は、1.2T以上の飽和磁化、1.5GHz以上の共鳴周波数、1.0以上のQ値を得ることが可能である。この中で、T1が3〜70nmの範囲、かつT1/T2が0.15〜3.50の範囲にある実施例1〜3、6、7、8および9は1.4T以上の飽和磁化、2.0GHz以上の共鳴周波数、4.0以上のQ値を得ることができる。
【0071】
〔実施例10〕
Siウェハの上にSiO2の厚さを500nmの厚さに成膜したものを基板とした以外実施例1と同様にして厚さ1.0nmのCoZrNb層と、厚さ1.0nmのFe−C層(炭素濃度:5at%)とを交互に250回ずつ順次積層して総膜厚500nm(合計500層)の本発明の複合磁性薄膜(実施例10)を形成した。なお、成膜中に基板温度の制御は行っていないが、基板温度は総膜厚が500nmになるまで成膜する間に30℃まで上昇した。
複合磁性薄膜の構造を確認したところ、Fe−C層およびCoZrNb層ともに非結晶質であることが確認された。
【0072】
成膜後に測定された磁化曲線を図18に示した。図18に示される磁化曲線から明らかなように、積層膜では面内一軸磁気異方性が観察されており、飽和磁化は14.3kG(1.43T)、磁化容易軸方向の保磁力は0.6Oe(47.75A/m)、磁化困難軸方向の保磁力は0.8Oe(63.66A/m)が得られた。さらに、この実施例の積層膜の高周波透磁率特性を図19に示した。図19に示されるグラフより、共鳴周波数は測定限界の2GHzを超えており、GHz領域で透磁率の実数部(μ’)が500以上であることが分かる。また、性能指数Q(Q=μ’/μ”)は1GHzでは15の値が得られ、2GHzでは7の値が得られていることが分かる。
【0073】
〔実施例11〕
上記実施例10の成膜手法に基づき、厚さ1.5nmのCoZrNb層と、厚さ1.5nmのFe−C層(炭素濃度:5at%)とを交互に170層ずつ順次積層して総膜厚510nm(合計340層)の本発明の複合磁性薄膜(実施例11)を形成した。
複合磁性薄膜の構造を確認したところ、Fe−C層およびCoZrNb層ともに非結晶質であることが確認された。
成膜後に測定された磁化曲線を図20に示した。図20に示される磁化曲線から求めた磁気特性として、飽和磁化は15.5kG(1.55T)、磁化容易軸方向の保磁力は0.6Oe(47.75A/m)、磁化困難軸方向の保磁力は0.8Oe(63.66A/m)であった。また、この実施例の積層膜の高周波透磁率特性を図21に示した。図21に示されるグラフより、透磁率の実数部(μ’)の値として、1.0GHzでは720の値が得られ、1.5GHzでは1055の値が得られていることが分かる。また、性能指数Q(Q=μ’/μ”)の値として、1.0GHzでは13の値が得られ、1.5GHzでは5の値が得られていることが分かる。
【0074】
〔実施例12〕
上記実施例10の成膜手法に基づき、厚さ1.0nmのCoZrNb層と、厚さ2.0nmのFe−C層(炭素濃度:5at%)とを交互に170層ずつ順次積層して総膜厚510nm(合計340層)の本発明の複合磁性薄膜(実施例12)を形成した。
複合磁性薄膜の構造を確認したところ、Fe−C層およびCoZrNb層ともに非結晶質であることが確認された。
成膜後に測定された磁化曲線を図22に示した。図22に示される磁化曲線から求めた磁気特性として、飽和磁化は14.8kG(1.48T)、磁化容易軸方向の保磁力は0.7Oe(55.70A/m)、磁化困難軸方向の保磁力は1.0Oe(79.58A/m)であった。
【0075】
また、この実施例の積層膜の高周波透磁率特性を図23に示した。図23に示されるグラフより、共鳴周波数は測定限界の2GHzを超えており、GHz領域で透磁率の実数部(μ’)が500以上であることが分かる。また、性能指数Q(Q=μ’/μ”)の値として、1.0GHzでは24の値が得られ、1.5GHzでは8.5の値が得られ、2GHzでは3の値が得られていることが分かる。
【0076】
〔実施例13〕
上記実施例10の成膜手法に基づき、厚さ1.0nmのCoZrNb層と、厚さ2.8nmのFe−C層(炭素濃度:5at%)とを交互に135層ずつ順次積層して総膜厚513nm(合計270層)の本発明の複合磁性薄膜(実施例13)を形成した。
複合磁性薄膜の構造を確認したところ、Fe−C層およびCoZrNb層ともに非結晶質であることが確認された。
上記の実施例に準じた方法によって、当該複合磁性薄膜の物性値を求めたところ、15.0kG(1.50T)の飽和磁化、0.8Oe(63.66A/m)の磁化容易軸方向の保磁力、0.9Oe(71.62A/m)の磁化困難軸方向の保磁力が、それぞれ、得られた。
また、1GHzにおける透磁率の実数部(μ’)は550であり、1GHzでの性能指数Q(Q=μ’/μ”)は22の値が得られた。
【0077】
〔実施例14〕
上記実施例1の成膜手法に基づき、厚さ0.8nmのCoZrNb層と、厚さ2.8nmのFe−C層(炭素濃度:5at%)とを交互に140層ずつ順次積層して総膜厚504nm(合計280層)の本発明の複合磁性薄膜(実施例14)を形成した。
複合磁性薄膜の構造を確認したところ、Fe−C層およびCoZrNb層ともに非結晶質であることが確認された。
上記の実施例に準じた方法によって、当該複合磁性薄膜の物性値を求めたところ、15.8kG(1.58T)の飽和磁化、0.9Oe(71.62A/m)の磁化容易軸方向の保磁力、1.1Oe(87.54A/m)の磁化困難軸方向の保磁力が、それぞれ、得られた。
また、1GHzにおける透磁率の実数部(μ’)は400であり、1GHzでの性能指数Q(Q=μ’/μ”)は16の値が得られた。
【0078】
〔実施例15〕
上記実施例1の成膜手法に基づき、厚さ2.0nmのCoZrNb層と、厚さ1.0nmのFe−C層(炭素濃度:5at%)とを交互に170層ずつ順次積層して総膜厚510nm(合計340層)の本発明の複合磁性薄膜(実施例15)を形成した。
複合磁性薄膜の構造を確認したところ、Fe−C層およびCoZrNb層ともに非結晶質であることが確認された。
【0079】
上記の実施例に準じた方法によって、当該複合磁性薄膜の物性値を求めたところ、13.9kG(1.39T)の飽和磁化、0.6Oe(47.75A/m)の磁化容易軸方向の保磁力、0.7Oe(55.70A/m)の磁化困難軸方向の保磁力が、それぞれ、得られた。
また、1GHzにおける透磁率の実数部(μ’)は755であり、1GHzでの性能指数Q(Q=μ’/μ”)は6の値が得られた。
【0080】
〔比較例5〕
上記実施例10において、Fe−C層をFe層に変えた。それ以外は、上記実施例10と同様にして、比較例の複合磁性薄膜(比較例5)を形成した。
上記の実施例に準じた方法によって、当該複合磁性薄膜の物性値を求めたところ、20.7kG(2.07T)の飽和磁化、4.2Oeの磁化容易軸方向の保磁力(334.23A/m)、19.0Oe(1511.97A/m)の磁化困難軸方向の保磁力が、それぞれ、得られた。
また、1GHzにおける透磁率の実数部(μ’)は150であるが、透磁率の値が小さいためμ”の実測値には信頼性がなく、性能指数Q(Q=μ’/μ”)は求められなかった。
【0081】
〔実施例16〕
上記実施例10において、Fe−C層の炭素濃度を5at%から7at%に変えた。それ以外は、上記実施例10と同様にして、本発明の複合磁性薄膜(実施例16)を形成した。
【0082】
上記の実施例に準じた方法によって、当該複合磁性薄膜の物性値を求めたところ、14.1kG(1.41T)の飽和磁化、0.6Oe(47.75A/m)の磁化容易軸方向の保磁力、0.7Oe(55.76A/m)の磁化困難軸方向の保磁力が、それぞれ、得られた。
また、1GHzにおける透磁率の実数部(μ’)は600であり、1GHzでの性能指数Q(Q=μ’/μ”)は12の値が得られた。
【0083】
〔実施例17〕
上記実施例10において、Fe−C層の炭素濃度を5at%から10at%に変えた。それ以外は、上記実施例10と同様にして、本発明の複合磁性薄膜(実施例17)を形成した。
上記の実施例に準じた方法によって、当該複合磁性薄膜の物性値を求めたところ、14.0kG(1.40T)の飽和磁化、0.6Oe(47.75A/m)の磁化容易軸方向の保磁力、0.7Oe(55.76A/m)の磁化困難軸方向の保磁力が、それぞれ、得られた。
また、1GHzにおける透磁率の実数部(μ’)は750であり、1GHzでの性能指数Q(Q=μ’/μ”)は12の値が得られた。
【0084】
〔実施例18〕
上記実施例10において、Co系非結晶質合金層の組成であるCo87Zr5Nb8を、Co89Zr6Ta5に変えた。それ以外は、上記実施例10と同様にして、本発明の複合磁性薄膜(実施例18)を形成した。
上記の実施例に準じた方法によって、当該複合磁性薄膜の物性値を求めたところ、14.4kG(1.44T)の飽和磁化、0.6Oe(47.75A/m)の磁化容易軸方向の保磁力、0.7Oe(55.76A/m)の磁化困難軸方向の保磁力が、それぞれ、得られた。
また、1GHzにおける透磁率の実数部(μ’)は520であり、1GHzでの性能指数Q(Q=μ’/μ”)は15の値が得られた。
【0085】
〔実施例19〕
上記実施例10において、Co系非結晶質合金層の組成であるCo87Zr5Nb8を、Co80Fe9Zr3B8に変えた。それ以外は、上記実施例10と同様にして、本発明の複合磁性薄膜(実施例19)を形成した。
上記の実施例に準じた方法によって、当該複合磁性薄膜の物性値を求めたところ、15.0kG(1.50T)の飽和磁化、0.6Oe(47.75A/m)の磁化容易軸方向の保磁力、0.7Oe(55.76A/m)の磁化困難軸方向の保磁力が、それぞれ、得られた。
また、1GHzにおける透磁率の実数部(μ’)は530であり、1GHzでの性能指数Q(Q=μ’/μ”)は17の値が得られた。
【0086】
これらの結果を含めた測定値を表2にまとめて示した。
表2に示すように、本発明による各実施例は、1.4T以上の飽和磁化、1.5GHz以上の共鳴周波数、5.0以上のQ値を得ることが可能である。この中で、T1が0.5〜3.0nmの範囲、かつT1/T2が0.8〜3.0の範囲にある実施例10〜13、16、17、18および19は1.4T以上の飽和磁化、2.0GHz以上の共鳴周波数、10.0以上のQ値を得ることができる。
【0087】
【表2】
【0088】
(実施例20〜27)
薄膜形成用のターゲットを以下のものとする以外は実施例1と同様にして、表3に示す磁性薄膜を形成するとともに、その磁気特性等の物性値を測定した。その結果を表3にあわせて示す。
磁性薄膜がFe−Co−C5膜を含むものは、Fe70Co30ターゲット上にC(炭素)ペレットを配置した複合ターゲットを用いた。また、Fe−B5膜を含むものはFe95B5合金ターゲットを、また、Fe−Co−B5膜を含むものはFe65Co30B5合金ターゲットを用いた。Fe−C5―N5膜を含むものはFeターゲット上にCペレットを配置した複合ターゲットを用いたスパッタリング中にN(窒素)ガスを導入し、また、FeCo−C5−N5膜を含むものはFe70Co30ターゲットの上にCペレットを配置した複合ターゲットを用いたスパッタリング中にN(窒素)ガス導入することで作製した。
【0089】
【表3】
【0090】
表3の実施例20に示すように、第1の膜をFe−Co−C5膜とすることにより、Fe−C5膜を第1の膜とする実施例1に比べて、飽和磁化および透磁率の実数部が向上することがわかる。
また、表3の実施例21〜25から、第1の膜にはCのみならずBおよび/またはNを適用できることがわかる。
さらに、表3の実施例20、26および27を比較すると、特に優れた特性を得るためには、T1およびT1/T2を規制することが重要であることがわかる。
【0091】
【発明の効果】
上記の結果より本発明の効果は明らかである。すなわち、Co系非結晶質合金層とT−L組成物層とを積層した高周波用磁性薄膜は、高い飽和磁化を有するとともに、GHzの高周波帯域で高い透磁率および性能指数Qを示すという優れた効果が発現する。
【図面の簡単な説明】
【図1】 本発明の高周波用磁性薄膜の断面図である。
【図2】 Fe系またはFeCo系薄膜の結晶粒の状態を示す断面模式図である。
【図3】 Fe−C薄膜とCo系非結晶質合金薄膜とを積層したときのFe−C薄膜の結晶粒の状態を示す断面模式図である。
【図4】 図3の部分拡大断面図である。
【図5】 厚さT1が3nm以下のFe−C薄膜とCoZrNb非結晶質合金薄膜とを積層した複合磁性薄膜のX線回折結果を示す図である。
【図6】 本発明の高周波用磁性薄膜が適用されたインダクタの一例を示す平面図である。
【図7】 図6のA−A矢視断面図である。
【図8】 本発明の高周波用磁性薄膜が適用されたインダクタの他の例を示す断面図である。
【図9】 本発明の高周波用磁性薄膜が適用されたインダクタの他の例を示す平面図である。
【図10】 図9のA−A矢視断面図である。
【図11】 実施例1にて作成した複合磁性薄膜の磁化曲線である。
【図12】 実施例1にて作成した複合磁性薄膜の高周波透磁率特性を示すグラフである。
【図13】 実施例2にて作成した複合磁性薄膜の磁化曲線である。
【図14】 実施例2にて作成した複合磁性薄膜の高周波透磁率特性を示すグラフである。
【図15】 実施例3にて作成した複合磁性薄膜の磁化曲線である。
【図16】 実施例3にて作成した複合磁性薄膜の高周波透磁率特性を示すグラフである。
【図17】 実施例5にて作成した複合磁性薄膜の透過型電子顕微鏡による断面像を示す。
【図18】 実施例10にて作成した複合磁性薄膜の磁化曲線である。
【図19】 実施例10にて作成した複合磁性薄膜の高周波透磁率特性を示すグラフである。
【図20】 実施例11にて作成した複合磁性薄膜の磁化曲線である。
【図21】 実施例11にて作成した複合磁性薄膜の高周波透磁率特性を示すグラフである。
【図22】 実施例12にて作成した複合磁性薄膜の磁化曲線である。
【図23】 実施例12にて作成した複合磁性薄膜の高周波透磁率特性を示すグラフである。
【符号の説明】
1,1a,1b…高周波用磁性薄膜、2,11,21,31…基板、3…Co系非結晶質合金層、7…T−L組成物層、10,20,30…インダクタ
Claims (11)
- T−L組成物(ただし、T=FeまたはFeCo、L=Cおよび/またはB)からなる第1の層と、
前記第1の層のいずれかの面側に配置されたCo系非結晶質合金からなる第2の層と、を含み、
前記第1の層の厚さをT1、前記第2の層の厚さをT2とした場合に、T1が3〜20nmの範囲にあり、かつT1/T2が0.15〜3.50の範囲にあることを特徴とする高周波用磁性薄膜。 - T−L組成物(ただし、T=FeまたはFeCo、L=Cおよび/またはB)からなる第1の層と、
前記第1の層のいずれかの面側に配置されたCo系非結晶質合金からなる第2の層と、を含み、
前記第1の層の厚さをT1、前記第2の層の厚さをT2とした場合に、T1が0.5〜3.0nmの範囲にあり、かつT1/T2が0.8〜3.0の範囲にあることを特徴とする高周波用磁性薄膜。 - 前記第1の層は、前記LとしてさらにNを含むことを特徴とする請求項1又は2に記載の高周波用磁性薄膜。
- 複数の前記第1の層と複数の前記第2の層とが積層されて多層膜構造をなすことを特徴とする請求項1又は2に記載の高周波用磁性薄膜。
- 前記第2の層は、Coを主成分とし、B,C,Si,Ti,V,Cr,Mn,Fe,Ni,Y,Zr,Nb,Mo,Hf,Ta,Wから選択される少なくとも1種の添加元素を含むことを特徴とする請求項1〜4のいずれかに記載の高周波用磁性薄膜。
- 前記第2の層は、CoZr,CoHf,CoNb,CoMo,CoZrNb,CoZrTa,CoFeZr,CoFeNb,CoTiNb,CoZrMo,CoFeB,CoZrNbMo,CoZrMoNi,CoFeZrB,CoFeSiB,CoZrCrMoから選択されることを特徴とする請求項1〜5のいずれかに記載の高周波用磁性薄膜。
- 前記第1の層は、その中に含有されるL元素の濃度が2〜20at%であることを特徴とする請求項1〜6のいずれかに記載の高周波用磁性薄膜。
- 前記第1の層は、アスペクト比が1.4以下の柱状構造または非晶質構造からなることを特徴とする請求項1〜7のいずれかに記載の高周波用磁性薄膜。
- コイルを挟持するように対向配置された高周波用磁性薄膜を有する磁気素子であって、
前記高周波用磁性薄膜は、T−L組成物(ただし、T=FeまたはFeCo、L=Cおよび/またはB)からなる第1の層と、前記第1の層のいずれかの面側に配置されたCo系非結晶質合金からなる第2の層とが交互に積層された多層膜であり、
前記第1の層の厚さをT1、前記第2の層の厚さをT2とした場合に、T1が3〜20nmの範囲にあり、かつT1/T2が0.15〜3.50の範囲にあることを特徴とする磁気素子。 - コイルを挟持するように対向配置された高周波用磁性薄膜を有する磁気素子であって、
前記高周波用磁性薄膜は、T−L組成物(ただし、T=FeまたはFeCo、L=Cおよび/またはB)からなる第1の層と、前記第1の層のいずれかの面側に配置されたCo系非結晶質合金からなる第2の層とが交互に積層された多層膜であり、
前記第1の層の厚さをT1、前記第2の層の厚さをT2とした場合に、T1が0.5〜3.0nmの範囲にあり、かつT1/T2が0.8〜3.0の範囲にあることを特徴とする磁気素子。 - 前記第1の層は、前記LとしてさらにNを含むことを特徴とする請求項9又は10に記載の磁気素子。
Priority Applications (7)
| Application Number | Priority Date | Filing Date | Title |
|---|---|---|---|
| JP2002366192A JP3971697B2 (ja) | 2002-01-16 | 2002-12-18 | 高周波用磁性薄膜及び磁気素子 |
| CNB038022834A CN1333413C (zh) | 2002-01-16 | 2003-01-10 | 高频用磁性薄膜、复合磁性薄膜和使用它们的磁性元件 |
| EP03700527A EP1473742A4 (en) | 2002-01-16 | 2003-01-10 | HIGH-FREQUENCY MAGNETIC THIN FILM, COMPOUND MAGNET THIN FILM AND MAGNETIC DEVICE THEREFOR |
| US10/502,490 US7224254B2 (en) | 2002-01-16 | 2003-01-10 | High-frequency magnetic thin film, composite magnetic thin film, and magnetic device using same |
| PCT/JP2003/000163 WO2003060933A1 (en) | 2002-01-16 | 2003-01-10 | High-frequency magnetic thin film, composite magnetic thin film, and magnetic device using same |
| KR1020047008209A KR100627115B1 (ko) | 2002-01-16 | 2003-01-10 | 고주파용 자성박막, 복합 자성박막 및 그를 이용한 자기소자 |
| US11/696,622 US7369027B2 (en) | 2002-01-16 | 2007-04-04 | High frequency magnetic thin film, composite magnetic thin film and magnetic device using them |
Applications Claiming Priority (3)
| Application Number | Priority Date | Filing Date | Title |
|---|---|---|---|
| JP2002007059 | 2002-01-16 | ||
| JP2002117079 | 2002-04-19 | ||
| JP2002366192A JP3971697B2 (ja) | 2002-01-16 | 2002-12-18 | 高周波用磁性薄膜及び磁気素子 |
Publications (2)
| Publication Number | Publication Date |
|---|---|
| JP2004006619A JP2004006619A (ja) | 2004-01-08 |
| JP3971697B2 true JP3971697B2 (ja) | 2007-09-05 |
Family
ID=27348085
Family Applications (1)
| Application Number | Title | Priority Date | Filing Date |
|---|---|---|---|
| JP2002366192A Expired - Fee Related JP3971697B2 (ja) | 2002-01-16 | 2002-12-18 | 高周波用磁性薄膜及び磁気素子 |
Country Status (6)
| Country | Link |
|---|---|
| US (2) | US7224254B2 (ja) |
| EP (1) | EP1473742A4 (ja) |
| JP (1) | JP3971697B2 (ja) |
| KR (1) | KR100627115B1 (ja) |
| CN (1) | CN1333413C (ja) |
| WO (1) | WO2003060933A1 (ja) |
Families Citing this family (36)
| Publication number | Priority date | Publication date | Assignee | Title |
|---|---|---|---|---|
| JP2004235355A (ja) * | 2003-01-29 | 2004-08-19 | Tdk Corp | 軟磁性部材およびそれを用いた磁気素子 |
| CN1849676A (zh) * | 2003-09-11 | 2006-10-18 | Tdk株式会社 | 高频用磁性薄膜、其制作方法及磁元件 |
| JP2005109246A (ja) | 2003-09-30 | 2005-04-21 | Tdk Corp | 高周波用磁性薄膜、その作製方法及び磁気素子 |
| US7588840B2 (en) * | 2004-11-30 | 2009-09-15 | Tdk Corporation | Magnetic thin film and method of forming the same, magnetic device and inductor, and method of manufacturing magnetic device |
| JP4645178B2 (ja) * | 2004-11-30 | 2011-03-09 | Tdk株式会社 | 磁気素子およびインダクタ |
| FR2888994B1 (fr) * | 2005-07-21 | 2007-10-12 | Commissariat Energie Atomique | Dispositif radiofrequence avec element magnetique et procede de fabrication d'un tel element magnetique |
| JP2007048790A (ja) * | 2005-08-05 | 2007-02-22 | Sony Corp | 記憶素子及びメモリ |
| US7417524B2 (en) * | 2006-02-13 | 2008-08-26 | Taiwan Semiconductor Manufacturing Co., Ltd. | Magnetic-bias ferromagnetic spiral inductor |
| US7901802B2 (en) * | 2006-03-15 | 2011-03-08 | Seagate Technology Llc | Magnetic recording medium for perpendicular magnetic recording |
| FR2908231B1 (fr) * | 2006-11-07 | 2009-01-23 | Commissariat Energie Atomique | Noyau magnetique ferme en forme de spirale et micro-inductance integree comportant un tel noyau magnetique ferme |
| US20080157910A1 (en) * | 2006-12-29 | 2008-07-03 | Park Chang-Min | Amorphous soft magnetic layer for on-die inductively coupled wires |
| US20080157911A1 (en) * | 2006-12-29 | 2008-07-03 | Fajardo Arnel M | Soft magnetic layer for on-die inductively coupled wires with high electrical resistance |
| JPWO2008090995A1 (ja) | 2007-01-24 | 2010-05-20 | 日本電気株式会社 | インダクタ |
| US20080205130A1 (en) * | 2007-02-28 | 2008-08-28 | Freescale Semiconductor, Inc. | Mram free layer synthetic antiferromagnet structure and methods |
| JP4805886B2 (ja) * | 2007-08-31 | 2011-11-02 | 株式会社東芝 | 高周波用磁性材料およびこれを用いたアンテナ装置 |
| JP4805888B2 (ja) * | 2007-09-20 | 2011-11-02 | 株式会社東芝 | 高周波用磁性材料およびこれを用いたアンテナ装置。 |
| JP4998292B2 (ja) * | 2008-01-31 | 2012-08-15 | Tdk株式会社 | 磁性薄膜および薄膜磁気デバイス |
| JP5125706B2 (ja) * | 2008-04-09 | 2013-01-23 | 日本電気株式会社 | 可変インダクタ |
| US7800521B2 (en) * | 2008-08-05 | 2010-09-21 | Mobius Semiconductor, Inc. | Nonlinear compensation in analog to digital converters |
| CN102119429B (zh) * | 2008-09-03 | 2015-06-17 | 株式会社日立产机系统 | 静态设备用卷绕铁芯、非晶变压器及变压器用线圈绕线架 |
| US9159679B2 (en) * | 2008-09-15 | 2015-10-13 | International Rectifier Corporation | Semiconductor package with integrated passives and method for fabricating same |
| WO2010137605A1 (ja) * | 2009-05-26 | 2010-12-02 | アルプス電気株式会社 | 通信装置 |
| US9972352B2 (en) * | 2009-08-19 | 2018-05-15 | Seagate Technology Llc | Antiferromagnetic coupling layers |
| TWI417908B (zh) * | 2009-12-25 | 2013-12-01 | Ind Tech Res Inst | 具可撓性之高導磁率片材及其製作方法 |
| US8248840B2 (en) * | 2010-03-26 | 2012-08-21 | Qualcomm Incorporated | Magnetoresistive random access memory (MRAM) with integrated magnetic film enhanced circuit elements |
| CN103021614A (zh) * | 2012-11-19 | 2013-04-03 | 宁波科星材料科技有限公司 | 一种具有不同频率层的磁性材料及制备方法 |
| JP2015135870A (ja) * | 2014-01-16 | 2015-07-27 | 富士通株式会社 | インダクタ装置及びインダクタ装置の製造方法 |
| US10084032B2 (en) | 2017-01-13 | 2018-09-25 | Taiwan Semiconductor Manufacturing Company, Ltd. | Semiconductor structure and method |
| DE102017124691B4 (de) | 2017-01-13 | 2022-11-10 | Taiwan Semiconductor Manufacturing Company, Ltd. | Halbleiterstruktur und Verfahren |
| JP6891585B2 (ja) * | 2017-03-27 | 2021-06-18 | Tdk株式会社 | 強磁性多層薄膜および薄膜インダクタ |
| JP6891586B2 (ja) * | 2017-03-27 | 2021-06-18 | Tdk株式会社 | 強磁性多層薄膜および薄膜インダクタ |
| JP2020517832A (ja) * | 2017-04-27 | 2020-06-18 | エヴァテック・アーゲー | 軟磁性多層堆積装置、製造の方法、および磁性多層体 |
| CN112868074B (zh) * | 2018-11-15 | 2024-08-27 | 罗杰斯公司 | 高频磁性膜、其制造方法及用途 |
| JP7107285B2 (ja) * | 2019-07-12 | 2022-07-27 | 株式会社村田製作所 | 磁性構造体および磁性構造体の製造方法 |
| CN110444364B (zh) * | 2019-08-28 | 2021-03-30 | 电子科技大学 | 一种叠层磁性薄膜及其制备方法 |
| CN112509806B (zh) * | 2020-10-19 | 2021-12-24 | 广东麦格智芯精密仪器有限公司 | 一种利用活泼金属氧化物优化钴基薄膜电感材料磁性能的方法 |
Family Cites Families (20)
| Publication number | Priority date | Publication date | Assignee | Title |
|---|---|---|---|---|
| JPH0622170B2 (ja) * | 1983-12-16 | 1994-03-23 | 株式会社日立製作所 | 磁気ヘッド |
| JPS6365604A (ja) | 1986-09-05 | 1988-03-24 | Hitachi Ltd | 鉄系磁性体膜 |
| JPH0831372B2 (ja) | 1988-11-25 | 1996-03-27 | 財団法人生産開発科学研究所 | Fe―Co系磁性膜の製造法 |
| JPH02288209A (ja) * | 1989-04-28 | 1990-11-28 | Amorufuasu Denshi Device Kenkyusho:Kk | 多層磁性薄膜 |
| JP3121933B2 (ja) | 1991-10-25 | 2001-01-09 | ティーディーケイ株式会社 | 軟磁性薄膜 |
| JPH0669032A (ja) * | 1992-08-17 | 1994-03-11 | Mitsubishi Electric Corp | 積層磁性薄膜およびそれを用いた磁気ヘッド |
| EP0584768B1 (en) * | 1992-08-24 | 1999-08-11 | Matsushita Electric Industrial Co., Ltd. | Method for making soft magnetic film |
| JPH0729732A (ja) | 1993-07-09 | 1995-01-31 | Fuji Electric Co Ltd | 薄膜磁気素子 |
| US5837392A (en) * | 1995-11-30 | 1998-11-17 | Sony Corporation | Soft magnetic thin film and thin film magnetic head using same |
| US6004654A (en) * | 1995-02-01 | 1999-12-21 | Tdk Corporation | Magnetic multilayer film, magnetoresistance element, and method for preparing magnetoresistance element |
| US5889403A (en) * | 1995-03-31 | 1999-03-30 | Canon Denshi Kabushiki Kaisha | Magnetic detecting element utilizing magnetic impedance effect |
| US6150046A (en) * | 1997-01-31 | 2000-11-21 | Alps Electric Co., Ltd. | Combination magnetoresistive/inductive thin film magnetic head and its manufacturing method |
| JP2000252121A (ja) * | 1999-02-26 | 2000-09-14 | Alps Electric Co Ltd | 高周波用Co基金属アモルファス磁性膜とそれを用いた磁気素子、インダクタ、トランス |
| US6420042B1 (en) * | 1999-09-24 | 2002-07-16 | Nippon Steel Corporation | Fe-based amorphous alloy thin strip with ultrathin oxide layer |
| JP4531331B2 (ja) * | 2000-05-31 | 2010-08-25 | 高橋 研 | 磁性薄膜、その製造方法、その評価方法及びこれを用いた磁気ヘッド、磁気記録装置並びに磁気デバイス |
| US6853520B2 (en) * | 2000-09-05 | 2005-02-08 | Kabushiki Kaisha Toshiba | Magnetoresistance effect element |
| KR100394993B1 (ko) * | 2001-02-20 | 2003-08-19 | 한국과학기술연구원 | FeCoNiN계 연자성 박막합금 조성물 |
| JP4011355B2 (ja) * | 2002-02-04 | 2007-11-21 | 富士通株式会社 | 軟磁性膜および薄膜磁気ヘッド |
| ITMI20031055A1 (it) * | 2003-05-27 | 2004-11-28 | St Microelectronics Srl | Amplificatore cascode |
| JP2005158192A (ja) * | 2003-11-27 | 2005-06-16 | Tdk Corp | 薄膜磁気ヘッドの製造方法、ならびに磁性層パターンの形成方法 |
-
2002
- 2002-12-18 JP JP2002366192A patent/JP3971697B2/ja not_active Expired - Fee Related
-
2003
- 2003-01-10 EP EP03700527A patent/EP1473742A4/en not_active Withdrawn
- 2003-01-10 US US10/502,490 patent/US7224254B2/en not_active Expired - Fee Related
- 2003-01-10 CN CNB038022834A patent/CN1333413C/zh not_active Expired - Fee Related
- 2003-01-10 KR KR1020047008209A patent/KR100627115B1/ko not_active Expired - Fee Related
- 2003-01-10 WO PCT/JP2003/000163 patent/WO2003060933A1/ja not_active Ceased
-
2007
- 2007-04-04 US US11/696,622 patent/US7369027B2/en not_active Expired - Fee Related
Also Published As
| Publication number | Publication date |
|---|---|
| KR100627115B1 (ko) | 2006-09-25 |
| EP1473742A4 (en) | 2008-08-06 |
| US7369027B2 (en) | 2008-05-06 |
| CN1333413C (zh) | 2007-08-22 |
| CN1615529A (zh) | 2005-05-11 |
| EP1473742A1 (en) | 2004-11-03 |
| US7224254B2 (en) | 2007-05-29 |
| KR20040077665A (ko) | 2004-09-06 |
| US20070183923A1 (en) | 2007-08-09 |
| JP2004006619A (ja) | 2004-01-08 |
| WO2003060933A1 (en) | 2003-07-24 |
| US20050116803A1 (en) | 2005-06-02 |
Similar Documents
| Publication | Publication Date | Title |
|---|---|---|
| JP3971697B2 (ja) | 高周波用磁性薄膜及び磁気素子 | |
| US5998048A (en) | Article comprising anisotropic Co-Fe-Cr-N soft magnetic thin films | |
| JP3688732B2 (ja) | 平面型磁気素子および非晶質磁性薄膜 | |
| US11798725B2 (en) | Magnetic laminate, magnetic structure including same, electronic component including magnetic laminate or magnetic structure, and method for producing magnetic laminate | |
| KR100642145B1 (ko) | 고주파용 자성박막, 복합자성박막 및 이것을 사용한자기소자 | |
| JP2004235355A (ja) | 軟磁性部材およびそれを用いた磁気素子 | |
| KR100742554B1 (ko) | 고주파용 자성박막, 그 제작방법 및 자기소자 | |
| JPWO2004061876A1 (ja) | グラニュラー物質、磁性薄膜、磁気素子 | |
| US20070202359A1 (en) | Magnetic Thin Film For High Frequency, and Method of Manufacturing Same, and Magnetic Device | |
| Kataoka et al. | High frequency permeability of nanocrystalline Fe–Cu–Nb–Si–B single and multilayer films | |
| He et al. | High-frequency magnetic loss in nanogranular FeCoTiO films with different histories of induced uniaxial anisotropy | |
| Rieger et al. | High frequency performance of laminated soft magnetic films (NiFe, FeAlN, and amorphous CoFeBSi) in external fields | |
| JPH10289821A (ja) | 高周波帯域用磁気デバイス | |
| Shintaku et al. | Effect of Additives and Underlayers on the Soft Magnetic Properties of High-Bs Fe-Co Films | |
| JP3810881B2 (ja) | 高周波軟磁性膜 | |
| Sun et al. | Advanced soft magnetic materials for magnetic recording heads and integrated inductors | |
| JP2005093527A (ja) | 高周波用軟磁性薄膜及び磁気素子 | |
| JPH07201563A (ja) | 磁性薄膜構造体 | |
| JPH0462806A (ja) | 軟磁性薄膜 | |
| JPH0883714A (ja) | 磁性薄膜および薄膜磁気素子 |
Legal Events
| Date | Code | Title | Description |
|---|---|---|---|
| A621 | Written request for application examination |
Free format text: JAPANESE INTERMEDIATE CODE: A621 Effective date: 20040423 |
|
| A131 | Notification of reasons for refusal |
Free format text: JAPANESE INTERMEDIATE CODE: A131 Effective date: 20060530 |
|
| A521 | Request for written amendment filed |
Free format text: JAPANESE INTERMEDIATE CODE: A523 Effective date: 20060728 |
|
| A131 | Notification of reasons for refusal |
Free format text: JAPANESE INTERMEDIATE CODE: A131 Effective date: 20060919 |
|
| A521 | Request for written amendment filed |
Free format text: JAPANESE INTERMEDIATE CODE: A523 Effective date: 20061114 |
|
| TRDD | Decision of grant or rejection written | ||
| A01 | Written decision to grant a patent or to grant a registration (utility model) |
Free format text: JAPANESE INTERMEDIATE CODE: A01 Effective date: 20070605 |
|
| A61 | First payment of annual fees (during grant procedure) |
Free format text: JAPANESE INTERMEDIATE CODE: A61 Effective date: 20070608 |
|
| R150 | Certificate of patent or registration of utility model |
Free format text: JAPANESE INTERMEDIATE CODE: R150 Ref document number: 3971697 Country of ref document: JP Free format text: JAPANESE INTERMEDIATE CODE: R150 |
|
| FPAY | Renewal fee payment (event date is renewal date of database) |
Free format text: PAYMENT UNTIL: 20110615 Year of fee payment: 4 |
|
| FPAY | Renewal fee payment (event date is renewal date of database) |
Free format text: PAYMENT UNTIL: 20120615 Year of fee payment: 5 |
|
| FPAY | Renewal fee payment (event date is renewal date of database) |
Free format text: PAYMENT UNTIL: 20120615 Year of fee payment: 5 |
|
| FPAY | Renewal fee payment (event date is renewal date of database) |
Free format text: PAYMENT UNTIL: 20130615 Year of fee payment: 6 |
|
| FPAY | Renewal fee payment (event date is renewal date of database) |
Free format text: PAYMENT UNTIL: 20140615 Year of fee payment: 7 |
|
| LAPS | Cancellation because of no payment of annual fees |
