JP3816632B2 - 走査型顕微鏡 - Google Patents
走査型顕微鏡 Download PDFInfo
- Publication number
- JP3816632B2 JP3816632B2 JP12394697A JP12394697A JP3816632B2 JP 3816632 B2 JP3816632 B2 JP 3816632B2 JP 12394697 A JP12394697 A JP 12394697A JP 12394697 A JP12394697 A JP 12394697A JP 3816632 B2 JP3816632 B2 JP 3816632B2
- Authority
- JP
- Japan
- Prior art keywords
- scanning
- light
- light receiving
- linear
- light source
- Prior art date
- Legal status (The legal status is an assumption and is not a legal conclusion. Google has not performed a legal analysis and makes no representation as to the accuracy of the status listed.)
- Expired - Fee Related
Links
- 230000004907 flux Effects 0.000 claims description 12
- 238000001514 detection method Methods 0.000 claims description 4
- 238000005286 illumination Methods 0.000 description 41
- 238000003860 storage Methods 0.000 description 33
- 230000003287 optical effect Effects 0.000 description 21
- 239000013307 optical fiber Substances 0.000 description 14
- 238000010586 diagram Methods 0.000 description 12
- 230000000694 effects Effects 0.000 description 12
- 239000011159 matrix material Substances 0.000 description 10
- 238000003384 imaging method Methods 0.000 description 9
- 230000005284 excitation Effects 0.000 description 7
- 238000000034 method Methods 0.000 description 7
- 230000004048 modification Effects 0.000 description 7
- 238000012986 modification Methods 0.000 description 7
- 238000002073 fluorescence micrograph Methods 0.000 description 6
- 230000035945 sensitivity Effects 0.000 description 6
- 238000010521 absorption reaction Methods 0.000 description 5
- 239000007850 fluorescent dye Substances 0.000 description 5
- 210000001747 pupil Anatomy 0.000 description 5
- 230000000007 visual effect Effects 0.000 description 4
- RTAQQCXQSZGOHL-UHFFFAOYSA-N Titanium Chemical compound [Ti] RTAQQCXQSZGOHL-UHFFFAOYSA-N 0.000 description 3
- 230000008901 benefit Effects 0.000 description 3
- 230000000670 limiting effect Effects 0.000 description 3
- 230000002829 reductive effect Effects 0.000 description 3
- 229910052719 titanium Inorganic materials 0.000 description 3
- 239000010936 titanium Substances 0.000 description 3
- 238000003491 array Methods 0.000 description 2
- 230000007423 decrease Effects 0.000 description 2
- 238000005562 fading Methods 0.000 description 2
- 230000002441 reversible effect Effects 0.000 description 2
- 239000000758 substrate Substances 0.000 description 2
- 230000005540 biological transmission Effects 0.000 description 1
- 230000004397 blinking Effects 0.000 description 1
- 230000008859 change Effects 0.000 description 1
- 239000000470 constituent Substances 0.000 description 1
- 238000002845 discoloration Methods 0.000 description 1
- 230000010354 integration Effects 0.000 description 1
- 230000002452 interceptive effect Effects 0.000 description 1
- 238000004519 manufacturing process Methods 0.000 description 1
- 238000000386 microscopy Methods 0.000 description 1
- 238000000399 optical microscopy Methods 0.000 description 1
- 230000010355 oscillation Effects 0.000 description 1
- 230000036961 partial effect Effects 0.000 description 1
- 230000002265 prevention Effects 0.000 description 1
- 230000011218 segmentation Effects 0.000 description 1
- 239000004065 semiconductor Substances 0.000 description 1
- 238000004904 shortening Methods 0.000 description 1
Images
Classifications
-
- G—PHYSICS
- G02—OPTICS
- G02B—OPTICAL ELEMENTS, SYSTEMS OR APPARATUS
- G02B21/00—Microscopes
- G02B21/0004—Microscopes specially adapted for specific applications
- G02B21/002—Scanning microscopes
- G02B21/0024—Confocal scanning microscopes (CSOMs) or confocal "macroscopes"; Accessories which are not restricted to use with CSOMs, e.g. sample holders
- G02B21/0032—Optical details of illumination, e.g. light-sources, pinholes, beam splitters, slits, fibers
-
- G—PHYSICS
- G02—OPTICS
- G02B—OPTICAL ELEMENTS, SYSTEMS OR APPARATUS
- G02B21/00—Microscopes
- G02B21/0004—Microscopes specially adapted for specific applications
- G02B21/002—Scanning microscopes
- G02B21/0024—Confocal scanning microscopes (CSOMs) or confocal "macroscopes"; Accessories which are not restricted to use with CSOMs, e.g. sample holders
- G02B21/0036—Scanning details, e.g. scanning stages
- G02B21/004—Scanning details, e.g. scanning stages fixed arrays, e.g. switchable aperture arrays
-
- G—PHYSICS
- G02—OPTICS
- G02B—OPTICAL ELEMENTS, SYSTEMS OR APPARATUS
- G02B21/00—Microscopes
- G02B21/0004—Microscopes specially adapted for specific applications
- G02B21/002—Scanning microscopes
- G02B21/0024—Confocal scanning microscopes (CSOMs) or confocal "macroscopes"; Accessories which are not restricted to use with CSOMs, e.g. sample holders
- G02B21/0036—Scanning details, e.g. scanning stages
- G02B21/0048—Scanning details, e.g. scanning stages scanning mirrors, e.g. rotating or galvanomirrors, MEMS mirrors
Landscapes
- Physics & Mathematics (AREA)
- Chemical & Material Sciences (AREA)
- Analytical Chemistry (AREA)
- General Physics & Mathematics (AREA)
- Optics & Photonics (AREA)
- Microscoopes, Condenser (AREA)
Description
【発明の属する技術分野】
本発明は、共焦点走査を行うタイプの走査型顕微鏡に関する。
【0002】
【従来の技術】
このタイプの顕微鏡は、例えばT.R.Corle and G.S.Kino,“Confocal Scanning Optical Microscopy and Related Imaging Systems",Academic Press(1966)に示されているように、従来より数多くの種類のものが提案され、製品化されているが、それらに用いられている共焦点走査装置の種類から、それらを大きく分けて、シングルビーム走査装置を用いたものと、マルチビーム走査装置を用いたものの2種類に分類することができる。そこで、以下に、それらの2種類の顕微鏡の基本構成を説明しておく。
【0003】
先ず、図11によって、シングルビーム走査装置を用いた共焦点顕微鏡(以下、シングルビーム走査型顕微鏡という)の基本構成を説明する。光源より発した光束は、集光レンズによって一点に集光され、そこに配置された第一の微小開口の透過像は、第一のリレーレンズと対物レンズを介して標本上に結像される。標本によって反射された光束は、対物レンズと第一のリレーレンズとの間に配置されたビームスプリッタによって、第一の微小開口の方向とは異なる方向へ偏向される。偏向された光束は、第二のリレーレンズによって、第一の微小開口の共役位置にある第二の微小開口に集光され、その透過光の強度が、例えばフォトマルチプライアなどの検出器によって検出されるようになっている。
【0004】
また、対物レンズとビームスプリッタの間には走査装置が配置されている。この走査装置は、例えばガルバノミラーやポリゴンミラーを有していて、第一の微小開口の像を標本面上で走査する。この走査装置と検出器に接続されているコントローラは、走査装置による光束の偏向量から、標本上での第一の微小開口の結像位置を検出し、その検出信号と、その結像位置における検出器からの出力信号とによって、広い領域での標本像を得るようにし、それを、例えばテレビモニタのような画像出力装置に表示させるようになっている。尚、光源としてシングルモード発振レーザを用いた場合には、上記した第一の微小開口の配置を省略されることが多い。
【0005】
次に、特表平1−503493号公報に開示されているように、マルチビーム走査装置の一例としてニポーディスクを用いた場合における共焦点顕微鏡の基本構成を、図12を用いて説明する。光源より発した光束は、コンデンサレンズによってニポーディスク上に照射される。ニポーディスクに設けられた複数の小開口を透過することによって分割された複数の光束は、夫々、リレーレンズと対物レンズを介して標本上の一点に集光される。標本から反射した光束は、対物レンズとリレーレンズを介して再びニポーディスクの小開口上に集光される。
【0006】
ニポーディスクとコンデンサレンズとの間に配置されたビームスプリッタは、ニポーディスクからの透過光を、光源とは異なる方向へ偏向させ、それを撮影レンズがイメージセンサ上に集光させる。そのため、イメージセンサ上には、標本の反射率に比例した像が得られ、それが画像出力装置に表示されることになる。ニポーディスクに設けられた複数の小開口は、所定の間隔を空けて設けられているので、標本上に一度に当たる照明は多重スポット照明となる。しかし、ニポーディスクをモータによって高速に回転させているので、短時間で全ての標本面上を走査でき、肉眼による共焦点の観察が可能になる。
【0007】
このように、両者の基本構成の差異からも分かるように、シングルビーム走査型顕微鏡は、光源の照明効率などが良い代わりに、顕微鏡の視野全体を走査するのに時間がかかることから、ビデオレートでのリアルタイムの観察が不可能である。その点、マルチビーム走査装置を用いた共焦点顕微鏡(以下、マルチビーム走査型顕微鏡という)は、上記のようにニポーディスクを用いているものも含め、走査時間が非常に短いので、ビデオレートでのリアルタイムの観察が行え、極めて好都合である。本発明は、このようなマルチビーム走査装置を用いた共焦点顕微鏡に関するものであり、その従来例としては、上記した特表平1−503493号公報のほかに特開平5−60980号公報,特開平8−211296号公報などに記載されたものがある。
【0008】
【発明が解決しようとする課題】
ところで、このようなリアルタイムの観察に好適なマルチビーム走査型顕微鏡においても、種々の問題点がある。それらの問題点の一つとして、照明効率の問題がある。即ち、走査装置として、上記のようにニポーディスクを用いた場合には、光源から発せられた光の殆どが、ニポーディスクの、小開口を設けていない面で遮られてしまうため、照明効率が著しく悪くなり、そのままでは蛍光観察などが実質的に行えない状態になってしまう。そこで、その点を改善するための幾つかの方法が提案されているが、その一つの方法が、上記した特開平5−60980号公報に開示されている。
【0009】
その方法によれば、光源としてレーザを用い、且つコンデンサレンズとビームスプリッタとの間にはマイクロレンズアレーのような集光手段を設けることによって、レーザからの光を分割してニポーディスクの各開口位置に集光するようにし、しかも、モータによってその集光手段をニポーディスクと一体的に回転させるようにしている。しかし、この方法の場合には、照明効率が飛躍的に向上し、蛍光観察も可能となるが、反面、集光手段とニポーディスクを一体的に製作するのが極めて面倒になるという問題点がある。
【0010】
また、ニポーディスクを用いる場合も含め、従来のマルチビーム走査型顕微鏡においては、標本の位置と受光素子の位置が1対1に対応しているので、顕微鏡の光学系で決まる解像性を保持したまま標本像を取り込むようにするためには、受光手段として、CCDなどの高集積なイメージセンサを多く用いていた。しかしながら、イメージセンサは、高集積になるほど単位画素当たりの受光面積が小さくなり、感度が低下してしまうため、マルチビーム走査型顕微鏡は、シングルビーム走査型顕微鏡に比べ、高感度の検出ができないという問題点がある。更に、イメージセンサの消費電力は、受光素子の数に比例するので、高集積なイメージセンサほど消費電力が大きいという問題点がある。そのため、イメージセンサに代えて、消費電力の少ない高感度撮像管を用いることも考えられるが、その場合には、イメージセンサよりも解像性が劣ってしまうという問題点がある。
【0011】
更に、ニポーディスクを用いないマルチビーム走査型顕微鏡についても数多く提案されているが、上記した特開平8−211296号公報には、複数の点光源のマトリックスよりなる光源手段と、その各光源と共役な位置に配置された検出手段を用い、各点光源を周期的に点滅させることによって標本の走査を行い、機械的可動部を無くすようにしたものが開示されている。しかし、この従来例の場合にも、光源より発する光は大部分が遮蔽されてしまい、走査スポット部分のみを照明光として使用するようにしているため、照明効率は著しく低いものとなっている。また、受光手段としては、やはり高集積なイメージセンサを用いなければならず、受光感度を高くすることができない。その上、各高集積な点光源と検出器との位置合わせにも、困難を伴うという問題点がある。
【0012】
本発明は、このような問題点を解決するためになされたものであり、その目的は、照明効率の良いリアルタイム観察の可能な走査型顕微鏡を提供することである。また、本発明のもう一つの目的は、高感度な受光素子を使用でき、例えば蛍光像の観察のように非常に暗い標本像の観察も可能な走査型顕微鏡を提供することである。本発明の更にもう一つの目的は、共焦点顕微鏡の有する高解像性を損なわず且つ広い視野を保ったまま、受光素子の総数を少なくし、消費電力を少なくした安価な走査型顕微鏡を提供することである。
【0013】
【課題を解決するための手段】
上記の目的を達成するために、本発明の走査型顕微鏡は、規則正しく配列された複数の点光源又はそれに準じる焦点を生成する多重点光源生成手段と、複数の前記点光源又はそれに準じる焦点によって分割された小領域で偏向によって走査を行う走査手段と、前記複数の点光源又はそれに準じる焦点と共役な位置に配置された複数の検出側微小開口と、前記複数の検出側微小開口を透過した光を夫々独立に受光する複数の受光素子からなる受光手段と、前記走査手段の与える偏向量及び前記受光手段によって受光された信号より標本の像を形成する標本像生成手段とを備えているようにする。
また、上記の目的を達成するために、本発明の走査型顕微鏡は、規則正しく配列された複数の線光源又はそれに準じる線状焦点を生成する多重線光源生成手段と、隣接した前記線光源又はそれに準じる線状焦点によって挟まれた小領域で偏向によって走査を行う走査手段と、前記複数の線光源又はそれに準じる線状焦点と共役な位置に配置された複数の検出側線状開口と、前記複数の検出側線状開口と共役な位置に配置された複数の受光素子からなる受光手段と、前記走査手段の与える偏向量及び前記受光手段によって受光された信号より標本の像を形成する標本像生成手段とを備えているようにする。
更に、上記の目的を達成するために、本発明の走査型顕微鏡は、超短パルスレーザよりなる光源手段と、前記光源手段からの光束を複数の光束に分割する光束分割手段と、前記光束分割手段により分割された複数の光束から規則正しく配列した複数の焦点を生成する多重焦点生成手段と、複数の前記焦点によって分割された小領域で偏向によって走査を行う走査手段と、前記複数の焦点の略共役位置に配置された複数の受光素子からなる受光手段と、前記走査手段の与える偏向量及び前記受光手段によって受光された信号より標本の蛍光像を形成する標本像生成手段とを備えているようにする。
更にまた、上記の目的を達成するために、本発明の走査型顕微鏡は、超短パルスレーザよりなる光源手段と、前記光源手段からの光束を複数の光束に分割する光束分割手段と、前記光束分割手段により分割された複数の光束から規則正しく配列した複数の線状焦点を生成する多重線状焦点生成手段と、隣接する前記線状焦点によって挟まれた小領域で偏向によって走査を行う走査手段と、前記複数の線状焦点の略共役位置に配置された複数の受光素子からなる受光手段と、前記走査手段の与える偏向量及び前記受光手段によって受光された信号より標本の蛍光像を形成する標本像生成手段とを備えているようにする。
【0014】
【発明の実施の形態】
本願の発明の実施の形態については、先ず、上記の目的を達成することができる走査型顕微鏡に関する四つの発明の実施態様と夫々の作用効果について説明し、次に、その四つの発明に付加して適用することの可能な四つの好適な構成とその作用効果を説明し、その後に、図1〜図10を用いて夫々の実施例を説明することにする。
【0015】
そこで、先ず、請求項1に記載されている発明について説明する。本発明の顕微鏡は、規則に配列された複数の点光源又はそれに準じる焦点を生成する多重点光源生成手段と、その点光源又は焦点によって分割された小領域で偏向によって走査する走査手段と、その点光源又は焦点と共役な位置に配置された複数の検出側微小開口と、それらの検出側微小開口を透過した光を個々に受光する複数の受光素子からなる受光手段と、上記の走査手段の与える偏向量と上記の受光手段によって受光された信号から標本像を形成する標本像生成手段とで構成されている。
【0016】
本発明の顕微鏡によれば、多重点光源生成手段によって生成された複数の点光源又はそれに準じる焦点を、標本上に投影するようにしたから、光源光の遮蔽率が低く、効率の良い照明が可能になる。また、周知のように、標本の視野全面を照明するための走査時間は、走査を行う領域の面積に比例するが、本発明によれば、標本上に投影された複数の点光源又はそれに準じる焦点によって分割された小領域の範囲で偏向によって走査すればよいから、従来のシングルビーム走査型顕微鏡に比べて、高速に画像を生成することが可能であり、リアルタイムで標本像を観察することが可能になる。
【0017】
更に、上記したようなニポーディスクを用いる顕微鏡とは異なり、受光素子は、各点光源又はそれに準じる各焦点に対し1対1の関係で配置すればよいから、受光素子の総数は著しく少なくて済み、また、夫々の間隔も広くすることが可能になる。そのため、受光手段として、高感度であって素子の大きいフォトマルチプライアなどの採用が可能になり、高感度な蛍光像の検出が可能になる。また、受光素子の総数を、点光源又はそれに準じる焦点の数と同じにでき、且つ受光素子相互の間隔を広くできることから、点光源又はそれに準じる焦点と受光素子との位置合わせが容易になる。
【0018】
また、本発明における標本像生成手段が、像形成手段と画像記憶装置とを含んでおり、画像記憶装置には、予め、各受光素子の夫々の受光面上での位置座標と走査手段の与える偏向量とから演算される標本の位置を表す番地が設定されていて、像形成手段が、それらの番地に、受光素子からの信号に対応した値を書き込んでゆき、標本像を形成するようにしておけば、一回の走査が終了した時点においては、記憶装置内に標本の視野全体の画像が形成されることになり、それを画像表示装置に表示すれば、標本像を観察することが可能になる。
【0019】
更に、本発明においては、上記の点光源又は焦点が、相互に所定の角度をなす二組の等間隔な平行線によって形成される交点上に配置されるようにし、また、走査手段が、焦点によって分割された平行四辺形の小領域を偏向によって走査するようにすると、好都合である。特に、小領域の形状が長方形又は正方形になるようにすると、走査手段の製作が容易となる。また、点光源又は焦点を、走査手段の走査方向に対して微小な角度を有する等間隔な平行線上に等間隔に配置するようにしても好適となる。即ち、そのようにした場合には、走査手段を、一方向のみに走査させるだけでよいことになり、二次元領域を走査する場合に比べて、走査手段の構成を更に簡略化することが可能になる。更に、その場合、隣接する領域の走査軌跡が接するか又は一部重なるようにすれば、一方向の走査により、照明ムラのない全体の標本像を形成することが可能になる。
【0020】
本発明における多重点光源生成手段としては、ダイオードレーザマトリックスを用いることができる。ダイオードレーザマトリックスは、平面内に配列された半導体レーザの集合であり、規則正しく配列された点光源の集合体とみなすことができる。
また、本発明における走査手段としては、ガルバノミラー、ポリゴンミラー又は音響光学素子を用いると好適であり、いずれの場合も、簡単な構成で、高速且つ安定した走査を行うことが可能になる。
【0021】
本発明における受光手段としては、イメージセンサ,フォトマルチプライア,フォトンカウンタなどを用いると好適である。イメージセンサを用いた場合には、受光素子が規則正しく配列されているので、それらの受光素子を各点光源との共役位置に配置するのが容易になる。また、上記した検出側微小開口と相似形に配列されたフォトマルチプライアを用いた場合には、通常のイメージセンサを用いた場合より、高感度な標本像の検出が可能になり、蛍光像の検出なども可能になる。更に、上記した検出側微小開口と相似形に配列されたフォトンカウンタを用いた場合には、フォトマルチプライアを用いた場合より、更に高感度な標本像の検出が可能になり、微弱な蛍光像の検出なども可能になる。
【0022】
更に、本発明における多重点光源生成手段を、一つ若しくは複数の点光源、又はそれに準じる光を生成する光源手段と、その光源手段からの光束を複数の光束に分割する光束分割手段と、その光束分割手段により分割された光束より複数の焦点を生成する多重焦点生成手段とで構成するようにしても、複数の点光源に準じる複数の焦点を生成することが可能である。
【0023】
その場合、光源手段としてレーザ光源を用いると、高輝度な点光源が得られる。また、光束分割手段と多重焦点生成手段とを、複数の光ファイバで兼ねるようにすることが可能である。光ファイバの入射端に光源光を入射させれば、出射端を点光源とすることができる。更に、光束分割手段と多重焦点生成手段とを、マイクロレンズアレーで兼用するようにすれば、構成が簡単になる。しかし、マイクロレンズアレーのみでは、点光源に準じた焦点を生成できないこともある。そこで、その場合には、マイクロレンズアレーは光束分割手段としてのみ使用することにし、多重焦点生成手段としては多孔板を用い、それに形成された複数の小開口をマイクロレンズアレーの焦点位置に配置するようにしても差し支えない。しかも、そのようにした場合には、光学系の構成によって、それらの小開口が上記した検出側微小開口を兼ねるようにすれば、構成が簡単になり、且つ多孔板の小開口と検出側微小開口との位置出しを不要にすることが可能になる。
【0024】
次に、請求項2に記載されている発明について説明する。上記した請求項1に記載の発明においては、点光源又はそれに準じる焦点を使用しているのに対して、本発明においては、線光源又はそれに準じる線状焦点を使用する点が、大きく異なる点である。従って、共通する構成もあるので、それらについては簡単に説明することにする。
【0025】
本発明の顕微鏡は、規則的に配列された複数の線光源又はそれに準じる線状焦点を生成する多重線光源生成手段と、その線光源又は線状焦点によって挟まれた小領域で偏向によって走査する走査手段と、その線光源又は線状焦点と共役な位置に配置された複数の検出側線状開口と、それらの検出側線状開口と共役な位置に配置された複数の受光素子からなる受光手段と、上記の走査手段の与える偏向量と上記の受光手段によって受光された信号から標本像を形成する標本像生成手段とで構成されている
【0026】
本発明によれば、多重線光源生成手段によって生成された複数の線光源又はそれに準じる線状焦点を標本上に投影するようにしたから、光源光の遮蔽率が低く、効率の良い照明が可能になる。また、標本の視野全面を照明するための走査は、標本上に投影された隣り合う線光源又は線状焦点同志を結ぶ線分上のみで行わせることも可能となり、上記した請求項1に記載の発明の場合よりも、全走査に要する時間を短縮し、超高速化するのに適している。
【0027】
また、本発明の場合には、線光源又は線状焦点の長手方向に対して垂直な方向にしか共焦点効果が得られないが、オプティカルセクショニング効果による三次元像の構築は可能であり、光軸方向の走査を組み合わせることにより、高速な三次元画像の取り込みが可能になる。更に、受光素子は、各線光源又は各線状焦点と共役な位置に配置すればよいので、従来のイメージセンサを受光手段として用いた共焦点顕微鏡に比べ、受光素子の総数は少なくて済み、また、夫々の間隔も広くすることが可能になるため、線光源又は線状焦点と受光素子との位置合わせが容易になる。
【0028】
本発明においても、標本像生成手段が、像形成手段と画像記憶装置とを含んでいて、像形成手段が、画像記憶装置に設けられた所定の番地に、受光素子からの信号に対応した値を書き込んで、標本像を形成していくようにしておけば、一回の走査が終了した時点においては、記憶装置内に標本の視野全体の画像が形成されることになり、画像表示装置によって標本像を観察することが可能になる。
【0029】
また、本発明においては、線光源又は線状焦点を、互いに平行に且つ等間隔に配列し、走査手段が、線光源又は線状焦点の長手方向に対して所定の角度をなす方向へ一方向のみ走査するようにすれば、短い走査時間で視野全体の標本像を形成することができる。特に、線光源又は線状焦点の長手方向に対して直角方向へ一方向のみ走査するようにすれば、最短時間で全体の標本像を形成することが可能になる。
【0030】
本発明においても、走査手段としては、ガルバノミラー、ポリゴンミラー又は音響光学素子を用いると好適であり、簡単な構成で、高速且つ安定した走査を行うことが可能になる。また、本発明における受光手段としては、検出側線状開口と相似形に配列したラインセンサを用いれば、受光素子の位置合わせが簡単になる。
【0031】
更に、本発明における多重線光源生成手段を、一つ若しくは複数の点光源又はそれに準じる光を生成する光源手段と、その光源手段からの光束を複数の光束に分割する光束分割手段と、その光束分割手段により分割された光束より複数の線状焦点を生成する線状焦点生成手段とで構成するようにすれば、高輝度の線状焦点を効率よく得ることが可能となる。
【0032】
その場合、光源手段としてレーザ光源を用いると、高輝度な点光源が得られるようになる。また、光束分割手段としては、複数の光ファイバを用いるようにしてもよい。光ファイバの入射端に光源光を入射させれば、出射端で光束の分割が可能になる。更に、レーザアレーを用い、光源手段と光束分割手段とを兼ねるようにすれば、構成が簡単になる。
【0033】
本発明における線状焦点生成手段として、シリンドリカルレンズアレーを用いれば、光源手段より発した平行光束から、複数の線状焦点を生成することが可能になる。また、シリンドリカルレンズアレーだけでは、線光源に準じる線状焦点が得られない場合には、シリンドリカルレンズアレーのほかに、複数の線状開口を有するスリット板を用いるようにし、それらの線状開口をシリンドリカルレンズアレーの各焦点位置に配置させるようにすればよい。更に、光学系の構成によって、それらの線状開口が上記した検出側線状開口を兼ねるようにすれば、構成が簡単になり、且つスリット板の線状開口と検出側線状開口との位置出しを行う必要がなくなる。更にまた、シリンドリカルレンズアレーが、光束分割手段と線状焦点生成手段とを兼ねるようにすることも可能である。
【0034】
次に、請求項3に記載されている発明について説明する。本発明の顕微鏡は、特に蛍光観察に好適なものであって、超短パルスレーザよりなる光源手段と、その光源手段からの光束を複数の光束に分割する光束分割手段と、その光束分割手段により分割された複数の光束から規則正しく配列された複数の焦点を生成する多重焦点生成手段と、隣接する複数の焦点によって囲まれた小領域で偏向によって走査を行う走査手段と、上記焦点の略共役位置に配置された複数の受光素子からなる受光手段と、走査手段の与える偏向量と受光手段によって受光された信号とによって標本の蛍光像を形成する標本像生成手段とで構成されている。
【0035】
ところで、赤外光又は近赤外光を発する超短パルスレーザを用いた2光子又は多光子励起による蛍光観察法においては、共焦点観察の場合と同様なオプティカルセクショニング効果の得られることが、例えばドイツ特許DE4414940A1号公報などで知られている。このような、2光子又は多光子励起による蛍光観察法においては、標本を照射した照明光は、二つ又はそれ以上の光子がセットとなって蛍光分子の励起を行うため、照明光の波長の1/2又はそれ以下の波長で励起した場合と同等な蛍光が放出される。そして、蛍光強度は励起光強度の2乗か又はそれ以上のパワーに比例するので、励起光が焦点を結んだ部分のみで強い蛍光強度が得られることになり、結像側の共焦点開口なしにオプティカルセクショニング効果を得ることが可能となっている。
【0036】
そこで、本発明においては、光源手段として超短パルスレーザを用いることにし、そこから発した光束を光束分割手段が分割し、多重焦点生成手段によって複数の規則正しく配列された焦点を生成するようにしている。それによって、走査手段は、隣接する複数の焦点によって囲まれた小領域を偏向によって走査するだけで、標本の全視野の蛍光像を得ることが可能になるため、従来のシングルビーム走査装置を用いた2光子又は多光子走査型蛍光顕微鏡に比べ、高速に画像を生成することができ、リアルタイムの観察が可能になる。
【0037】
本発明においても、標本像生成手段が、像形成手段と画像記憶装置とを含んでいて、像形成手段が、画像記憶装置に設けられた所定の番地に、受光素子からの信号に対応した値を書き込んで、標本像を形成していくようにしておけば、一回の走査が終了した時点においては、記憶装置内に標本の視野全体の画像が形成されることになり、画像表示装置によって標本像を観察することが可能になる。
【0038】
また、本発明においては、上記の複数の焦点が、相互に所定の角度をなす二組の等間隔な平行線によって形成される交点上に配置されるようにし、また、走査手段が、焦点によって分割された平行四辺形の小領域を偏向によって走査するようにすると、好都合である。特に、小領域の形状が長方形又は正方形になるようにすると、走査手段の製作が容易となる。また、焦点を、走査手段の走査方向に対して微小な角度を有する等間隔な平行線上に等間隔に配置するようにしても好適となる。即ち、そのようにした場合には、走査手段を、一方向のみに走査させるだけでよいことになり、二次元領域を走査する場合に比べて、走査手段の構成を更に簡略化することが可能になる。更に、その場合、隣接する領域の走査軌跡が接するか又は一部重なるようにすれば、一方向の走査により、照明ムラのない全体の標本像を形成することが可能になる。
【0039】
本発明における光束分割手段と多重焦点生成手段とを、マイクロレンズアレーで兼用させることが可能である。また、複数の光ファイバで兼用させることも可能である。それによって、構成が簡単になる。また、本発明においても、走査手段として、ガルバノミラー、ポリゴンミラー又は音響光学素子を用いると好適であり、簡単な構成で、高速且つ安定した走査を行うことが可能になる。更にまた、受光手段としてフォトンカウンタを用い、上記の焦点と略共役な位置に配置すると、高感度な2光子又は多光子の蛍光像を検出することが可能になる。
【0040】
次に、請求項4に記載された発明について説明する。本発明の顕微鏡も蛍光観察に好適なものであって、超短パルスレーザよりなる光源手段と、その光源手段からの光束を複数の光束に分割する光束分割手段と、その光束分割手段により分割された複数の光束から規則正しく配列した複数の線状焦点を生成する多重線状焦点生成手段と、隣接する線状焦点によって挟まれた小領域で偏向によって走査を行う走査手段と、線状焦点の略共役位置に配置された複数の受光素子からなる受光手段と、走査手段の与える偏向量及び受光手段によって受光された信号から標本の蛍光像を形成する標本像生成手段とで構成されている。
【0041】
本発明によれば、超短パルスレーザから発した光束を、光束分割手段によって分割し、多重線状焦点生成手段によって複数の規則的に配列された線状焦点を生成するようにしているから、走査手段は、隣接する線状焦点を結ぶ線分上を走査するだけで、標本の全視野の蛍光像を得るようにすることが可能となり、上記した請求項3に記載の発明の場合よりも更に高速に画像を生成することができ、リアルタイムに観察が一段と好適に行えるようになる。
【0042】
また、本発明においても、標本像生成手段が、像形成手段と画像記憶装置とを含んでいて、像形成手段が、画像記憶装置に設けられた所定の番地に、受光素子からの信号に対応した値を書き込んで、標本像を形成していくようにしておけば、一回の走査が終了した時点においては、記憶装置内に標本の視野全体の画像が形成されることになり、画像表示装置によって標本像を観察することが可能になる。
【0043】
更に、本発明においては、線状焦点を、互いに平行に且つ等間隔に配列し、走査手段が、線状焦点の長手方向に対して所定の角度をなす方向へ一方向のみ走査するようにすれば、短時間で視野全体の標本像を形成することができる。特に、線状焦点の長手方向に対して直角方向へ一方向のみ走査するようにすれば、最短時間で全体の標本像を形成することが可能になる。
【0044】
本発明においても、光束分割手段として、複数の光ファイバを用いることができる。また、走査手段としては、ガルバノミラー、ポリゴンミラー又は音響光学素子を用いると好適であり、簡単な構成で、高速且つ安定した走査を行うことが可能になる。更に、受光手段としてフォトンカウンタを用い、上記の焦点と略共役な位置に配置すると、高感度な2光子又は多光子の蛍光像を検出することが可能になる。
【0045】
本発明における多重線状焦点生成手段として、シリンドリカルレンズアレーを用いれば、光源手段より発した平行光束から、複数の線状焦点を生成することが可能になる。また、シリンドリカルレンズアレーが、光束分割手段と多重線状焦点生成手段とを兼ねるようにすることも可能であるが、シリンドリカルレンズアレーだけでは線状焦点が好適に得られない場合には、シリンドリカルレンズアレーのほかに、請求項2の発明の説明で述べたようなスリット板を配置するようにすればよい。
【0046】
次に、上記した四つの発明の顕微鏡に、付加的に設けると、極めて好都合となる三つの構成手段について説明する。最初は、光束分割数調節手段についてである。この光束分割数調節手段は、上記した光束分割手段によって分割される光束数を増減させることができるものであって、それによって、標本上に集光する各スポットの光量を調節することが可能になり、効率のよい照明を可能にするためのものである。そのため、例えば、観察したい物体又は部位が、顕微鏡の視野の一部の領域に限られている場合には、観察者が、本人の観察したい領域のみに照明光を集光させると、光束の分割数が減少するために、各スポットの光量が増加し、観察がし易くなる。特に、観察が困難な暗い標本部分がある場合には、光束の分割数を少なくして集光させることにより、観察することが可能になる。
【0047】
また、請求項3及び4に記載された顕微鏡の場合には、励起光の照明範囲を制限することによって、蛍光色素の無駄な退色を防止することが可能になる。更に、スポット間隔を変えるようにすると種々のモード選択が可能になる。即ち、標本視野上における照明光のスポット間隔を広くしスポットの総数を減らすと、走査時間は長いが明るい像を得るモードとなり、また、標本視野上における照明光のスポット間隔を狭くしスポットの総数を増やすと、像は暗いが走査時間の短いモードとなり、更に、標本視野上における照明光のスポット間隔を狭くし照明領域も狭くすれば、短い走査時間で明るい像を得るモードとなる。そして、また、標本視野上における照明光のスポット総数を少なくして、使用する受光素子の数を節約するようにすることも可能である。
【0048】
このような光束分割数調節手段としては、光束径可変光学系を用いることが考えられ、それを光源手段と光束分割手段との間に配置し、光源から光束分割手段に入射する光束径を変化させるようにすれば、光束の分割数を調節することが可能になる。
【0049】
2番目の構成手段は投影倍率調節手段である。この投影倍率調節手段としてはズームレンズが最適であり、生成された複数の光源又は焦点が標本上へ投影されるに際し、その投影倍率を調節できるようにしたものである。このような手段を設けることによって、標本視野上での照明光のスポット間隔や照明領域の調節が可能になり、その結果、標本視野の一部の領域だけに照明を制限することによって、蛍光色素の無駄な退色を防止することが可能になるなど、上記した光束分割数調節手段と同様な種々の使い方、及びそれに伴う作用効果を得ることが可能になる。
【0050】
3番目は、投影位置調節手段である。この投影位置調節手段を設けることによって、標本視野上での照明位置を調節できる結果、標本視野の一部の領域だけに照明を制限することによって、蛍光色素の無駄な退色を防止することが可能になるなど、上記した光束分割数調節手段と同様な種々の使い方、及びそれに伴う作用効果を得ることが可能になる。そして、このような投影位置調節手段は、生成された複数の光源又は焦点の光路に配置される場合と、光源手段と光束分割手段との間に配置される場合とが考えられる。前者の場合には、その光路上に配置された光束偏向手段や走査手段で兼ねるようにすることが可能である。また、後者の場合には、光源手段からの光束が光束分割手段に入射する位置を調節することになり、前者の場合において走査手段に共振ガルバノミラーが採用され、走査手段による偏向領域の調節が簡単には行えない場合にも、照明位置の調節を可能にする。
【0051】
【実施例】
以下、図面を用いて実施例を説明する。先ず、第1実施例は、図1に示すように、光源手段としてのレーザ1と、ビームエキスパンダ2と、光束分割手段及び多重焦点生成手段としてのマイクロレンズアレー3と、多重光源生成手段と検出側微小開口とを兼ねる多孔板からなる共焦点板4と、第一のリレーレンズ5と、走査手段としての第一のガルバノミラー6及び第二のガルバノミラー7と、第二のリレーレンズ8と、対物レンズ9と、ハーフミラー10と、撮影レンズ11と、受光手段としてのイメージセンサ12と、標本像生成手段を構成する制御装置13,演算装置14,記憶装置15と、テレビモニタ16とから成っている。符号17は標本である。
【0052】
このような構成の本実施例においては、レーザ1から出射された光は、ビームエキスパンダ2で光束径が広げられ、マイクロレンズアレー3に、平行光線となって入射する。マイクロレンズアレー3は、同一特性の複数の微小なレンズが規則正しく配列された構造となっているため、入射した平行光は、各レンズごとに収束され、焦点位置において規則正しく配列される。そして、その焦点位置には、複数の微小開口を有する共焦点板4が配置されているので、そこで、規則正しく配列された複数の点光源と等価な多重点光源が生成されることになる。
【0053】
また、その場合における各点光源は、それらから発せられた光が、相互に干渉することなく、標本17上に集光されるようにするために、充分な間隔をもって配列されている。尚、その点については、E.M.McCabe,et.al.,“Direct-viewmicroscopy:optical sectioning strength for finite-sized, multiple- pinhole arrays", Jounal of Microscopy,Vol.184,Pt2,November 1996,pp.95-105 によれば、各点光源の間隔は標本面上におけるスポット径の10倍程度が適当である、と記載されている。
【0054】
二つのガルバノミラー6,7は、近接して配置されており、夫々、制御装置13に接続され、同期して作動されるようになっている。そこで、共焦点板4上の各点光源から発した光が、第一のリレーレンズ5を介して第一のガルバノミラー6に集光されると、その第一のガルバノミラー6は、それらの光束を一方向(x軸方向)に走査し、第二のガルバノミラー7は、偏向された光束を更に直交する方向(y軸方向)へ走査する。その走査軌跡は、図2(a)に示すとおりであり、標本面上において隣接する四つの点光源によって囲まれた小領域内をカバーするようになっている。
【0055】
二つのガルバノミラー6,7によって偏向された光束は、第二のリレーレンズ8によって再び集光される。対物レンズ9は、その集光位置近傍に射出瞳を合わせるようにして配置されていて、その対物レンズ9を通った光束は、共焦点板4と共役位置に配置されている標本17面上で反射される。反射された光束は、それまでとは逆の光路を辿り、共焦点板4の微小開口を逆方向から透過することによって、共焦効果を得ることになる。光束の一部は、その後、マイクロレンズアレー3に戻ることなく、ハーフミラー10によって直角に偏向され、撮影レンズ11によって共焦点像がイメージセンサ12に投影され、撮像される。言うまでもなく、イメージセンサ12は、共焦点板4の微小開口に対応して規則正しく配列されている複数の受光素子の集合体であって、それらの受光素子が、共焦点板4の夫々の開口からの光束を独立して受光するようになっている。
【0056】
また、演算装置14には、イメージセンサ12から各受光素子の信号が入力され、また、制御装置13からは二つのガルバノミラー6,7の偏向量が入力されるようになっている。そこで、演算装置14は、予め記憶してある受光素子の位置座標と、ガルバノミラー6,7の偏向量とを用いて算出した記憶装置15内の番地に、各受光素子の信号に応じた値を、夫々、書き込んでいく。そして、一通り走査が終了したときには、記憶装置15に、標本17の視野全体の像が書き込まれたことになり、その標本像は、記憶装置15に接続されたテレビモニタ16に表示され、目視による観察が可能になっている。
【0057】
尚、上記した図2に(a)についての説明からも理解されるように、本実施例においては、マイクロレンズアレー3及び共焦点板4の微小開口の配列、即ち点光源の配列が、正方配列になっているが、規則的な配列であるならば、その他の配列となるようにしても差し支えなく、例えば、図2(b)のように、点光源が六角格子の配列をとるようにしても差し支えない。そのようにした場合においても、走査は、点光源によって分割された小領域内で偏向によって行われることになる。また、図2(a),図2(b)に示された走査軌跡は、いずれも一方向繰り返し走査であるが、図2(c)に示すように、折り返し走査を行うようにしてもよく、そのようにすることによって、全走査に要する時間を短くすることが可能になる。
【0058】
更に、本実施例においては、走査手段としてガルバノミラーを使用しているが、それ以外のもの、例えばポリゴンミラーや音響光学素子を使用しても構わない。また、本実施例を一部変形し、蛍光観察が行えるようにすることも可能である。その場合には、ハーフミラー10に代えてダイクロイックミラーを用い、そのダイクロイックミラーとイメージセンサ12の間に、レーザ1が発した光の波長を吸収し、使用する蛍光色素が発する蛍光だけを透過することのできる吸収フィルタを配置すればよいことになる。
【0059】
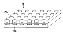
また、本実施例は、図3に示されているように変形させて実施することも可能である。この変形例は、ダイオードレーザマトリックス18が、単独で多重点光源生成手段を構成するようにしたものである。ダイオードレーザマトリックス18は、図4に示すように、行列状に配列された複数の活性領域18aの上に、共振器を含む基板18bを配置したものであり、複数の点光源を配列したものとみなすことができる。そして、このようにした場合には、共焦点板4は、図3に示すようにダイオードレーザマトリックス18と共役の位置に配置されることになる。尚、図3においては、図1に示したものと同じものに同じ符号を付けてあるので、その他の構成の説明は重複を避けるために省略する。
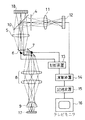
【0060】
次に、図5を用いて第2実施例を説明する。尚、図5においては、図1に示したものと同じものに同じ符号を付けてある。本実施例の構成は、光源手段としてのレーザ1と、光線分割手段としての光ファイバ19と、共焦点板(スリット板)4と共に線状焦点生成手段を構成するシリンドリカルレンズアレー20と、第一のリレーレンズ5と、走査手段としてのガルバノミラー6と、ミラー21と、第二のリレーレンズ8と、対物レンズ9と、ハーフミラー10と、撮影レンズ11と、受光手段としてのラインセンサ22と、標本像生成手段を構成する制御装置13,演算装置14,記憶装置15と、テレビモニタ16と、標本17の位置を移動させるステージ駆動装置23とから成っている。
【0061】
レーザ1から出射された光束は、複数の光ファイバ19によって分割され、シリンドリカルレンズアレー20に入射する。夫々の光束は、シリンドリカルレンズアレー20の配列に対応して複数の線状焦点を結び、その線状焦点位置に共焦点板4が配置されている。この共焦点板4は、第1実施例の場合とは異なり、スリット状の複数の開口を有していて、レーザ1,光ファイバ19,シリンドリカルレンズアレー20と共に多重線光源生成手段を構成している。尚、この多重線光源生成手段を、周知のレーザアレーとシリンドリカルレンズアレー20とで構成するようにしても差し支えない。
【0062】
このようにして、共焦点板4を通過した各光束は、第一のリレーレンズ5を介してガルバノミラー6上に集光され、ガルバノミラー6は、線状化された光束を、その線の垂直方向に走査する。ガルバノミラー6によって偏向された光束は、ミラー21によって反射された後、第二のリレーレンズ8によって再び集光され、その集光位置に射出瞳を合わせて配置されている対物レンズ9を通って標本17の表面に達する。標本面で反射された光束は、それまでとは逆の光路を辿り、リレーレンズ5によって共焦点板4上に再び集光し、共焦効果をもたらす。共焦点板4のスリット開口を透過した光束の一部は、その後、シリンドリカルレンズアレー20には戻らず、ハーフミラー10によって偏向され、撮影レンズ11によって、ラインセンサ22上に集光され、標本像がラインセンサ22上に結像される。
【0063】
演算装置14には、制御装置13からガルバノミラー6の偏向量が入力され、ラインセンサ22からは撮像信号が入力されるようになっている。記憶装置16は、演算装置14に接続されていて、そこには、予め記憶しているラインセンサ22の各受光素子の位置座標と、ガルバノミラー6の偏向量とによって算出された番地が設定されている。従って、演算装置14は、ラインセンサ22の各受光素子から入力される撮像信号に対応した値を、各番地に書き込んでいく。そして、一通り走査が終了したときに、記憶装置15に、標本17の視野全体の像が書き込まれたことになり、その標本像は、記憶装置15に接続されたテレビモニタ16に表示される。
【0064】
本実施例においては、ステージ駆動装置23が、制御装置13と接続されていて、標本17を上下方向(光軸方向)へ移動させることが可能になっている。そのため、ガルバノミラー6による標本面の一回の走査が終わるたびに、標本17を少しずつ移動させ、複数の焦点位置における共焦点像を演算装置14に取り込むことにより、演算装置14は、それらの画像を基にして三次元像を構築し、それを、テレビモニタ16に表示できるようになっている。
【0065】
このように、本実施例は、線状の開口(スリット)を用いた共焦点装置として構成されていることから、第1実施例のように点状の開口を用いた共焦点装置に比較して、共焦点性は多少劣るが、一画面の走査が非常に短時間で終了するため、焦点位置の移動を行わせながらの三次元像の構築が高速に行えるという利点がある。また、本実施例においても、構成の一部を変えることによって、蛍光観察が行えるようにすることが可能である。その場合には、ハーフミラー10に代えてダイクロイックミラーを用い、そのダイクロイックミラーとラインセンサ22の間に、レーザ1が発した光の波長を吸収し、使用する蛍光色素が発する蛍光のみを透過する吸収フィルタを配置すればよいことになる。
【0066】
次に、図6及び図7を用いて、第3実施例を説明する。尚、図6においては、図1及び図5に示したものと同じものに同じ符号を付けてある。そこで、先ず、本実施例の構成は、光源手段としてのチタンサファイアレーザ24と、ビームエキスパンダ2と、光束分割手段及び多重焦点生成手段としてのマイクロレンズアレー3と、第一のリレーレンズ5と、走査手段としてのガルバノミラー6と、ミラー21と、第二のリレーレンズ8と、対物レンズ9と、ダイクロイックミラー25と、吸収フィルタ26と、受光手段としてのフォトンカウンタ27と、標本像生成手段を構成する制御装置13,演算装置14,記憶装置15と、テレビモニタ16とから成っている。
【0067】
チタンサファイアレーザ24から出射された光束は、ビームエキスパンダ2によって広げられ、マイクロレンズアレー3によって複数のビームに分割される。分割された夫々のビームは、マイクロレンズアレー3のレンズの配列に対応したパターンで、複数の点光源に準じる焦点を結ぶ。第一のリレーレンズ5は、マイクロレンズアレー3の焦点からの光をガルバノミラー6に集光し、ガルバノミラー6は、その光束を一方向、即ちx軸方向に走査する。ガルバノミラー6によって偏向された光束は、ミラー21によって反射され、第二のリレーレンズ8の方向へ偏向される。
【0068】
ところで、本実施例においては、マイクロレンズアレー3によって生成された焦点の配列は、図7(a)に示すように、ガルバノミラー6の走査方向に対して、微小な角度θををなす軸に沿って等間隔に配置されている。そして、ガルバノミラー6による走査は、上記したようにx軸方向の一次元のみで行われる。そして、図7(b)に拡大して示したように、各焦点の直径をdとし、焦点の間隔をlとすると、走査方向に対する焦点配列の軸の角度θが、tanθ≦d/lの関係を満たすようになっている。従って、ガルバノミラー6による一次元の走査だけでも、各焦点の軌跡が重なり合い、標本面上の全視野領域が照明ムラを生じないようになっている。
【0069】
このようにして走査され、ミラー21によって偏向された光束は、リレーレンズ8によって再び集光され、その集光位置に射出瞳を合わせて配置されている対物レンズ9を通り、マイクロレンズアレー3の焦点と共役位置に配置された標本17の表面に集光される。そして、その集光された照明光は、その焦点位置付近で2光子又は多光子励起による蛍光を誘導する。このようにして発した蛍光は、それまでの光路を逆に辿り、第一のリレーレンズ5を透過した後、ダイクロイックミラー25によって、マイクロレンズアレー3とは異なる方向へ偏向される。そして、光路の途中から反射して戻ってきた励起光が吸収フィルタ26によって除去された後、マイクロレンズアレー3の焦点と共役の位置に配置されているフォトンカウンタ27の受光面に集光する。
【0070】
演算装置14には、制御装置13からガルバノミラー6の偏向量が入力され、フォトンカウンタ27からは撮像信号が入力されるようになっている。記憶装置16は、演算装置14に接続されていて、そこには、予め記憶しているフォトンカウンタ27の受光面における複数の微小開口の位置座標と、ガルバノミラー6の偏向量とによって算出された番地が設定されている。従って、演算装置14は、フォトンカウンタ27から入力される像信号に対応した値を、各番地に書き込んでいく。そして、一通り走査が終了したときに、記憶装置15に、標本17の視野全体の像が書き込まれたことになり、その標本像は、記憶装置15に接続されたテレビモニタ16に表示される。
【0071】
このように、本実施例によれば、走査手段による走査を、上記したx軸方向のように一方向へのみ行えばよいことから、従来のシングルビーム走査装置を用いた共焦点顕微鏡に比較して、遙に高速に一画面の走査が終了する。また、本実施例の受光素子には、フォトンカウンタを用いているので、超高感度な2光子又は多光子の蛍光像を観察することが可能になる。
【0072】
尚、これまでに、三つの実施例を説明したが、各実施例の構成要素を相互に組み変えるようにしても、本発明の目的は達せられ、所定の効果を得ることが可能である。例えば、第3実施例における走査手段を第1実施例における走査手段として採用するようにしても何ら差し支えない。
【0073】
次に、図8を用いて、第4実施例を説明する。本実施例は、上記した第1実施例及び第3実施例のように、多重点光源生成手段にマイクロレンズアレー3を用いた場合、そのマイクロレンズアレー3の照明面積を調節できるようにした場合の実施例である。そのため、図8には、その説明に必要な構成要素だけを示してあり、また、これまでに示したものと同じものには同じ符号を付けてある。
【0074】
本実施例として示された構成は、光源手段としてのレーザ1と、三つのレンズ28,29,30と、マイクロレンズアレー3とから成っており、レンズ28はレーザ1と一体的に組み付けられている。レンズ29とレンズ30は光束径可変光学系を形成しており、レーザ1から出射した光束は、レンズ29とレンズ30の間隔を変えることによって、マイクロレンズアレー3に対する照明面積を調節できるようになっている。図8(a)は、そのような調節によって、マイクロレンズアレー3を広範囲に照明している場合を示し、図8(b)は、中心部分だけを照明している場合を示している。
【0075】
また、本実施例においては、レーザ1とレンズ28との一体構成部と、レンズ29,30やマイクロレンズアレー3を含むその他の光学系とが、相対的に、光軸に対して垂直方向へ移動可能になっていて、投影位置調節手段を形成している。そのため、図8(b)に示したように、レンズ29とレンズ30の間隔を大きくしておき、それらに対してレーザ1及びレンズ28を偏心させると、マイクロレンズアレー3の照明部位を調節でき、ひいては標本の照明部位を調節できることになる。図8(c)は、そのようにして調節した場合の一例を示している。
【0076】
このように、本実施例によれば、レンズ29とレンズ30の位置間隔を変えたり、それらとレンズ28を偏心させることにより、顕微鏡の視野範囲において、必要な部分のみを観察することが可能になるので、その他の部分にとらわれることなく、観察がし易いという利点があるほか、レーザ1からの出射光を、制限された領域に集中して照明させることが可能であるため、例えば暗い物体であっても、その部分を明るくして観察することができるという利点がある。
【0077】
尚、本実施例においては、レンズ29とレンズ30の位置間隔を変えたり、それらとレンズ28を偏心させたりして照明領域を調節しているが、本発明は、このような構成のみに限定されず、種々の構成が考えられる。例えば、予め複数の光学系を配置しておき、それらを切り換えて使用できるようにしても差し支えない。また、別の二つの変形例が、図9(a),図9(b)に示されている。これらの変形例は、いずれもビームエキスパンダ2とマイクロレンズアレー3の間に、ミラー31,32を配置したものである。そして、図9(a)に示した変形例は、ミラー31を図の左右方向へ移動させるようにしたものであり、図9(b)に示した変形例は、ミラー32の傾きを変えるようにしたものである。尚、図9(b)に示した変形例においては、ミラー32の傾きを変えても、マイクロレンズアレー3に光束が垂直に入射するようにするために、レンズ33が配置されている。
【0078】
次に、図10を用いて、第5実施例を説明する。尚、本実施例は、第1実施例における第一のリレーレンズ5の配置位置に、正,負,正の3枚のレンズからなるズームレンズ群34を配置しており、それによって、第1実施例の場合とは、二つのガルバノミラー6,7の機能が変わるようにしたものである。そのため、図1に示したものと同じものには同じ符号を付け、重複した構成の説明は省略する。
【0079】
本実施例においても、レーザ1から出射された光束は、ビームエキスパンダ2によって広げられた後、マイクロレンズアレー3によって複数の光束に分割され、夫々の焦点が共焦点板4の微小開口上に形成されることによって、規則正しく配列した点光源が生成されるようになっている。このようにして生成された複数の点光源は、倍率可変光学系即ちズームレンズ群34によって投影倍率を調整され、二つのガルバノミラー6,7、リレーレンズ8、対物レンズ9を経て、標本17上に投影される。また、その投影に際して、二つのガルバノミラー6,7は、制御装置13によって、走査の原点を調節できるようになっていて、標本17上における照明位置を調節できるようになっている。
【0080】
このように、本実施例によれば、ズームレンズ群34を調節することにより、標本17上における照明面積を変えることが可能となり、また、二つのガルバノミラー6,7の走査原点を調節することにより、標本17上における照明位置も変えることができるようになっている。そのため、標本視野上の必要な箇所のみを照明して、不要な照明を避けるようにすることが可能になる。更に、投影倍率を下げることにより、各点光源の、標本上での間隔が狭くなるため、一画面を生成するのに必要な走査時間を短縮することも可能になる。
【0081】
尚、本実施例においては、投影倍率に対応して、対物レンズ9の瞳位置における各点光源の光束径が変化するが、投影倍率が最大のときに、その光束径が対物レンズ9の瞳径を満たすようにしておけば、対物レンズ9の解像力を確保することが可能になる。
【0082】
以上説明したことからも明らかなように、各請求項に記載の構成のほか、以下に示す構成も本願発明の特徴である。
(1)前記標本像生成手段が、像形成手段と画像記憶装置とを含んでおり、前記画像記憶装置には、前記受光素子の夫々の受光面上での位置座標と前記走査手段の与える偏向量とから演算される標本の位置を表す番地が設定されていて、それらの番地に、前記像形成手段が、前記受光素子からの信号に対応した値を書き込むことにより標本像を形成するようにしたことを特徴とする請求項1に記載の走査型共焦点顕微鏡。
(2)前記複数の点光源又はそれに準じる焦点は、互いに所定の角度をなす二組の等間隔な平行線によって形成される交点上に配置され、前記走査手段が焦点によって分割される平行四辺形の小領域を走査するようにしたことを特徴とする請求項1又は上記(1)に記載の走査型共焦点顕微鏡。
(3)前記の所定の角度が直角であり、前記の小領域の形状が長方形又は正方形であることを特徴とする上記(2)に記載の走査型共焦点顕微鏡。
(4)前記複数の点光源又はそれに準じる焦点は、前記走査手段の走査方向に対して微小な角度をなす等間隔な平行線上に等間隔に配置されており、また、前記走査手段は、一方向のみに走査を行う走査手段であることを特徴とする請求項1又は上記(1)に記載の走査型共焦点顕微鏡。
(5)前記した微小な角度は、前記走査手段によって前記複数の点光源又はそれに準じる焦点が走査されたとき、隣接する走査軌跡が接するか又は一部が重なり合うように定められていることを特徴とする上記(4)に記載の走査型共焦点顕微鏡。
(6)前記受光素子がイメージセンサであることを特徴とする請求項1、又は上記(1)〜(5)の何れかに記載の走査型共焦点顕微鏡。
(7)前記受光素子は、前記検出側微小開口と相似形に配列されたフォトマルチプライアであることを特徴とする請求項1、又は上記(1)〜(5)の何れかに記載の走査型共焦点顕微鏡。
(8)前記受光素子は、前記検出側微小開口と相似形に配列されたフォトンカウンタであることを特徴とする請求項1、又は上記(1)〜(5)の何れかに記載の走査型共焦点顕微鏡。
(9)前記走査手段が、ガルバノミラーであることを特徴とする請求項1、又は上記(1)〜(8)の何れかに記載の走査型共焦点顕微鏡。
(10)前記走査手段が、ポリゴンミラーであることを特徴とする請求項1、又は上記(1)〜(8)の何れかに記載の走査型共焦点顕微鏡。
(11)前記走査手段が、音響光学素子であることを特徴とする請求項1、又は上記(1)〜(8)の何れかに記載の走査型共焦点顕微鏡。
(12)前記多重点光源生成手段が、一つ若しくは複数の点光源又はそれに準じる光を生成する光源手段と、前記光源手段からの光束を複数の光束に分割する光束分割手段と、前記光束分割手段により分割された複数の光束から複数の焦点を生成する多重焦点生成手段とから成っていることを特徴とする請求項1、又は上記(1)〜(11)の何れかに記載の走査型共焦点顕微鏡。
(13)前記光束分割手段と前記多重焦点生成手段は、マイクロレンズアレーで兼ねていることを特徴とする上記(12)に記載の走査型共焦点顕微鏡。
(14)前記光束分割手段が、マイクロレンズアレーであり、前記多重焦点生成手段が、前記マイクロレンズアレーの焦点位置に複数の小開口を有する多孔板であることを特徴とする上記(12)に記載の走査型共焦点顕微鏡。
(15)前記多孔板の小開口は、前記検出側微小開口も兼ねていることを特徴とする上記(14)に記載の走査型共焦点顕微鏡。
(16)前記光束分割手段と前記多重焦点生成手段は、複数の光ファイバで兼ねていることを特徴とする上記(12)に記載の走査型共焦点顕微鏡。
(17)前記光源手段が、レーザ光源であることを特徴とする上記(12)に記載の走査型共焦点顕微鏡。
(18)前記多重点光源生成手段が、ダイオードレーザマトリクスであることを特徴とする請求項1、又は上記(1)〜(11)の何れかに記載の走査型共焦点顕微鏡。
(19)前記標本像生成手段が、像形成手段と画像記憶装置とを含んでおり、前記画像記憶装置には、前記受光素子の夫々の受光面上での位置座標と前記走査手段の与える偏向量とから演算される標本の位置を表す番地が設定されていて、それらの番地に、前記像形成手段が、前記受光素子からの信号に対応した値を書き込むことにより標本像を形成するようにしたことを特徴とする請求項2に記載の走査型共焦点顕微鏡。
(20)前記複数の線光源又はそれに準じる線状焦点は、互いに平行で等間隔に配列され、また、前記走査手段は前記複数の線光源又はそれに準じる線状焦点と所定の角度をなす方向に一方向のみに走査を行う走査手段であることを特徴とする請求項2又は上記(19)に記載の走査型共焦点顕微鏡。
(21)前記走査手段は、前記複数の線光源又はそれに準じる線状焦点は、その線と直角をなす方向に一方向のみに走査を行う走査手段であることを特徴とする上記(20)に記載の走査型共焦点顕微鏡。
(22)前記受光素子は、前記検出側線状開口と相似形に配列されたラインセンサであることを特徴とする請求項2、又は上記(19)〜(21)の何れかに記載の走査型共焦点顕微鏡。
(23)前記走査手段が、ガルバノミラーであることを特徴とする請求項2、又は上記(19)〜(22)の何れかに記載の走査型共焦点顕微鏡。
(24)前記走査手段が、ポリゴンミラーであることを特徴とする請求項2、又は上記(19)〜(22)の何れかに記載の走査型共焦点顕微鏡。
(25)前記走査手段が、音響光学素子であることを特徴とする請求項2、又は上記(19)〜(22)の何れかに記載の走査型共焦点顕微鏡。
(26)前記多重線光源生成手段が、一つ若しくは複数の点光源又はそれに準じる光を生成する光源手段と、前記光源手段からの光束を複数の光束に分割する光束分割手段と、前記光束分割手段により分割された複数の光束から複数の線状焦点を生成する線状焦点生成手段とから成っていることを特徴とする請求項2、又は上記(19)〜(25)の何れかに記載の走査型共焦点顕微鏡。
(27)前記線状焦点生成手段は、シリンドリカルレンズアレーを含んでいることを特徴とする上記(26)に記載の走査型共焦点顕微鏡。
(28)前記線状焦点生成手段は、前記シリンドリカルレンズアレーと、該シリンドリカルレンズアレーの焦点位置に複数の線状開口を有するスリット板とから成ることを特徴とする上記(27)に記載の走査型共焦点顕微鏡。
(29)前記スリット板は、前記検出側線状開口も兼ねていることを特徴とする上記(28)に記載の走査型共焦点顕微鏡。
(30)前記光源手段が、レーザ光源であることを特徴とする上記(26)に記載の走査型共焦点顕微鏡。
(31)前記光束分割手段が、複数の光ファイバでであることを特徴とする上記(26)〜(30)の何れかに記載の走査型共焦点顕微鏡。
(32)前記光束分割手段が、シリンドリカルレンズアレーであることを特徴とする上記(26)〜(30)の何れかに記載の走査型共焦点顕微鏡。
(33)前記光源手段と前記光束分割手段を、レーザーアレーが兼ねていることを特徴とする上記(26)〜(29)の何れかに記載の走査型共焦点顕微鏡。
(34)前記標本像生成手段が、像形成手段と画像記憶装置とを含んでおり、前記画像記憶装置には、前記受光素子の夫々の受光面上での位置座標と前記走査手段の与える偏向量とから演算される標本の位置を表す番地が設定されていて、それらの番地に、前記像形成手段が、前記受光素子からの信号に対応した値を書き込むことにより標本像を形成するようにしたことを特徴とする請求項3に記載の走査型蛍光顕微鏡。
(35)前記複数の焦点は、互いに所定の角度をなす二組の等間隔な平行線によって形成される交点上に配置され、前記走査手段が焦点によって分割される平行四辺形の小領域を走査するようにしたことを特徴とする請求項3又は上記(34)に記載の走査型蛍光顕微鏡。
(36)前記の所定の角度が直角であり、前記の小領域の形状が長方形又は正方形であることを特徴とする上記(35)に記載の走査型蛍光顕微鏡。
(37)前記複数の焦点は、前記走査手段の走査方向に対して微小な角度をなす等間隔な平行線上に等間隔に配置されており、また、前記走査手段は、一方向のみに走査を行う走査手段であることを特徴とする請求項3又は上記(34)に記載の走査型蛍光顕微鏡。
(38)前記した微小な角度は、前記走査手段によって前記複数の焦点が走査されたとき、隣接する走査軌跡が接するか又は一部が重なり合うように定められていることを特徴とする上記(37)に記載の走査型蛍光顕微鏡。
(39)前記受光素子は、前記焦点と略共役な位置に配列されたフォトンカウンタであることを特徴とする請求項3、又は上記(34)〜(36)の何れかに記載の走査型蛍光顕微鏡。
(40)前記走査手段が、ガルバノミラーであることを特徴とする請求項3、又は上記(34)〜(39)の何れかに記載の走査型蛍光顕微鏡。
(41)前記走査手段が、ポリゴンミラーであることを特徴とする請求項3、又は上記(34)〜(39)の何れかに記載の走査型蛍光顕微鏡。
(42)前記走査手段が、音響光学素子であることを特徴とする請求項3、又は上記(34)〜(39)の何れかに記載の走査型蛍光顕微鏡。
(43)前記光束分割手段と前記多重焦点生成手段を、マイクロレンズアレーで兼ねていることを特徴とする請求項3、又は上記(34)〜(42)の何れかに記載の走査型蛍光顕微鏡。
(44)前記光束分割手段と前記多重焦点生成手段を、複数の光ファイバが兼ねていることを特徴とする請求項3、又は上記(34)〜(42)の何れかに記載の走査型蛍光顕微鏡。
(45)前記標本像生成手段が、像形成手段と画像記憶装置とを含んでおり、前記画像記憶装置には、前記受光素子の夫々の受光面上での位置座標と前記走査手段の与える偏向量とから演算される標本の位置を表す番地が設定されていて、それらの番地に、前記像形成手段が、前記受光素子からの信号に対応した値を書き込むことにより標本像を形成するようにしたことを特徴とする請求項4に記載の走査型蛍光顕微鏡。
(46)前記複数の線状焦点は、互いに平行で等間隔に配列されており、また、前記走査手段は前記複数の線状焦点と所定の角度をなす方向に一方向のみに走査を行う走査手段であることを特徴とする請求項4又は上記(45)に記載の走査型蛍光顕微鏡。
(47)前記走査手段は、前記複数の線状焦点の線と直角をなす方向に一方向のみに走査を行う走査手段であることを特徴とする上記(46)に記載の走査型蛍光顕微鏡。
(48)前記受光素子は、前記複数の線状焦点と略共役な位置に配列されたラインセンサであることを特徴とする請求項4、又は上記(45)〜(47)の何れかに記載の走査型蛍光顕微鏡。
(49)前記走査手段が、ガルバノミラーであることを特徴とする請求項4、又は上記(45)〜(48)の何れかに記載の走査型蛍光顕微鏡。
(50)前記走査手段が、ポリゴンミラーであることを特徴とする請求項4、又は上記(45)〜(48)の何れかに記載の走査型蛍光顕微鏡。
(51)前記走査手段が、音響光学素子であることを特徴とする請求項4、又は上記(45)〜(48)の何れかに記載の走査型蛍光顕微鏡。
(52)前記光束分割手段が、複数の光ファイバであることを特徴とする請求項4、又は上記(45)〜(51)の何れかに記載の走査型蛍光顕微鏡。
(53)前記多重線状焦点生成手段が、シリンドリカルレンズアレーであることを特徴とする請求項4、又は上記(45)〜(52)の何れかに記載の走査型蛍光顕微鏡。
(54)前記光束分割手段と前記多重線状焦点生成手段を、シリンドリカルレンズアレーが兼ねていることを特徴とする請求項4、又は上記(45)〜(51)の何れかに記載の走査型蛍光顕微鏡。
(55)前記光束分割手段が、シリンドリカルレンズアレーであり、また、前記多重線状焦点生成手段が、前記シリンドリカルレンズアレーの焦点位置に複数の線状開口を有するスリット板であることを特徴とする請求項4、又は上記(45)〜(51)の何れかに記載の走査型蛍光顕微鏡。
(56)光束分割数調節手段が備えられて、前記光束分割手段によって分割される光束の数を調節できるようにしたことを特徴とする請求項3若しくは4、又は上記(12)〜(17)、(26)〜(32)、(34)〜(55)の何れかに記載の走査型顕微鏡。
(57)前記光束分割数調節手段が、前記光源手段と前記光束分割手段との間に配置された光束径可変光学系であることを特徴とする上記(56)に記載の走査型顕微鏡。
(58)投影倍率調節手段が、前記多重点光源生成手段と標本との間に配置されており、標本上に対する前記複数の点光源又はそれに準じる焦点の投影倍率を調節できるようにしたことを特徴とする請求項1若しくは3、又は上記(1)〜(18)、(34)〜(44)、(56)、(57)の何れかに記載の走査型顕微鏡。
(59)投影倍率調節手段が、前記多重線光源生成手段と標本との間に配置されており、標本上に対する前記複数の線光源又はそれに準じる線状焦点の投影倍率を調節できるようにしたことを特徴とする請求項2若しくは4、又は上記(19)〜(33)、(45)〜(57)の何れかに記載の走査型顕微鏡。
(60)投影位置調節手段が備えられていて、前記複数の点光源又はそれに準じる焦点の標本上への投影位置を調節できるようにしたことを特徴とする請求項1若しくは3、又は上記(1)〜(18)、(34)〜(44)、(56)〜(59)の何れかに記載の走査型顕微鏡。
(61)投影位置調節手段が備えられていて、前記複数の線光源又はそれに準じる線状焦点の標本上への投影位置を調節できるようにしたことを特徴とする請求項2若しくは4、又は上記(19)〜(33)、(45)〜(59)の何れかに記載の走査型顕微鏡。
(62)前記投影位置調節手段が、前記多重点光源生成手段と標本との間に配置された光束偏向手段であることを特徴とする上記(60)又は(61)に記載の走査型顕微鏡。
(63)前記投影位置調節手段を、前記走査手段が兼ねていることを特徴とする上記(60)又は(61)に記載の走査型顕微鏡。
(64)投影位置調節手段が、前記光源手段と前記光束分割手段の間に配置されており、前記光源手段を発した光束が前記光束分割手段に入射する位置を調節できるようにしたことを特徴とする請求項3若しくは4、又は上記(12)〜(17)、(26)〜(32)、(34)〜(55)の何れかに記載の走査型顕微鏡。
【0083】
【発明の効果】
上記のように、本発明の走査型顕微鏡によれば、照明効率が良く且つリアルタイムで観察でき、また、高感度な受光素子を使用することができるために、例えば蛍光観察のように、非常に暗い標本像の観察も可能となり、更に、共焦点顕微鏡の有する高解像性を損なわず且つ広い視野を有したままで受光素子の総数を少なくし、消費電力を少なくすることが可能となる。また、必要に応じて、標本視野内の所望の領域のみを効率よく観察できるようにすることも可能である。
【図面の簡単な説明】
【図1】第1実施例の構成図である。
【図2】第1実施例に採用することの可能な走査軌跡を示す図であって、図2(a),図2(b)は、夫々、点光源が正方配列と六方格子配列されているときの一方向繰り返し走査の場合を示し、図2(c)は、点光源が正方配列されているときの折り返し走査の場合を示している。
【図3】第1実施例の変形例を示す構成図である。
【図4】図3におけるダイオードレーザマトリックスの構造を示した説明図である。
【図5】第2実施例の構成図である。
【図6】第3実施例の構成図である。
【図7】図7(a)は第3実施例における焦点の配列と走査軌跡との関係を示す図であって、図7(b)は図7(a)の部分拡大図である。
【図8】第4実施例の構成図であって、マイクロレンズアレーの照明領域の調節状態を示すものであり、図8(a)は広範囲の照明状態、図8(b)は中心部分の照明状態、図8(c)は軸外部分の照明状態を示している。
【図9】第4実施例の変形例を示す構成図であって、図9(a)はミラーを直線的に移動させるようにした場合を示し、図8(b)はミラーの傾きを変えるようにした場合を示している。
【図10】第5実施例の構成図である。
【図11】従来例の基本構成図である。
【図12】他の従来例の基本構成図である。
【符号の説明】
1 レーザ
2 ビームエキスパンダ
3 マイクロレンズアレー
4 共焦点板
5,8 リレーレンズ
6,7 ガルバノミラー
9 対物レンズ
10 ハーフミラー
11 撮像レンズ
12 イメージセンサ
13 制御装置
14 演算装置
15 記憶装置
16 テレビモニタ
17 標本
18 ダイオードレーザマトリックス
18a 活性領域
18b 基板
19 光ファイバ
20 シリンドリカルレンズアレー
21,31,32 ミラー
22 ラインセンサ
23 ステージ駆動装置
24 チタンサファイアレーザ
25 ダイクロイックミラー
26 吸収フィルタ
27 フォトンカウンタ
28,29,30,33 レンズ
34 ズームレンズ群
Claims (4)
- 規則正しく配列された複数の点光源又はそれに準じる焦点を生成する多重点光源生成手段と、
複数の前記点光源又はそれに準じる焦点によって分割された小領域で偏向によって走査を行う走査手段と、
前記複数の点光源又はそれに準じる焦点と共役な位置に配置された複数の検出側微小開口と、
前記複数の検出側微小開口を透過した光を夫々独立に受光する複数の受光素子からなる受光手段と、
前記走査手段の与える偏向量及び前記受光手段によって受光された信号より標本の像を形成する標本像生成手段とを備えていることを特徴とする走査型共焦点顕微鏡。 - 規則正しく配列された複数の線光源又はそれに準じる線状焦点を生成する多重線光源生成手段と、
隣接した前記線光源又はそれに準じる線状焦点によって挟まれた小領域で偏向によって走査を行う走査手段と、
前記複数の線光源又はそれに準じる線状焦点と共役な位置に配置された複数の検出側線状開口と、
前記複数の検出側線状開口と共役な位置に配置された複数の受光素子からなる受光手段と、
前記走査手段の与える偏向量及び前記受光手段によって受光された信号より標本の像を形成する標本像生成手段とを備えていることを特徴とする走査型共焦点顕微鏡。 - 超短パルスレーザよりなる光源手段と、
前記光源手段からの光束を複数の光束に分割する光束分割手段と、
前記光束分割手段により分割された複数の光束から規則正しく配列した複数の焦点を生成する多重焦点生成手段と、
複数の前記焦点によって分割された小領域で偏向によって走査を行う走査手段と、
前記複数の焦点の略共役位置に配置された複数の受光素子からなる受光手段と、
前記走査手段の与える偏向量及び前記受光手段によって受光された信号より標本の蛍光像を形成する標本像生成手段とを備えていることを特徴とする走査型蛍光顕微鏡。 - 超短パルスレーザよりなる光源手段と、
前記光源手段からの光束を複数の光束に分割する光束分割手段と、
前記光束分割手段により分割された複数の光束から規則正しく配列した複数の線状焦点を生成する多重線状焦点生成手段と、
隣接する前記線状焦点によって挟まれた小領域で偏向によって走査を行う走査手段と、
前記複数の線状焦点の略共役位置に配置された複数の受光素子からなる受光手段と、
前記走査手段の与える偏向量及び前記受光手段によって受光された信号より標本の蛍光像を形成する標本像生成手段とを備えていることを特徴とする走査型蛍光顕微鏡。
Priority Applications (2)
| Application Number | Priority Date | Filing Date | Title |
|---|---|---|---|
| JP12394697A JP3816632B2 (ja) | 1997-05-14 | 1997-05-14 | 走査型顕微鏡 |
| US09/078,539 US6028306A (en) | 1997-05-14 | 1998-05-13 | Scanning microscope |
Applications Claiming Priority (1)
| Application Number | Priority Date | Filing Date | Title |
|---|---|---|---|
| JP12394697A JP3816632B2 (ja) | 1997-05-14 | 1997-05-14 | 走査型顕微鏡 |
Publications (2)
| Publication Number | Publication Date |
|---|---|
| JPH10311950A JPH10311950A (ja) | 1998-11-24 |
| JP3816632B2 true JP3816632B2 (ja) | 2006-08-30 |
Family
ID=14873266
Family Applications (1)
| Application Number | Title | Priority Date | Filing Date |
|---|---|---|---|
| JP12394697A Expired - Fee Related JP3816632B2 (ja) | 1997-05-14 | 1997-05-14 | 走査型顕微鏡 |
Country Status (2)
| Country | Link |
|---|---|
| US (1) | US6028306A (ja) |
| JP (1) | JP3816632B2 (ja) |
Families Citing this family (157)
| Publication number | Priority date | Publication date | Assignee | Title |
|---|---|---|---|---|
| DE19902624A1 (de) * | 1998-01-29 | 1999-09-30 | Leica Microsystems | Optische Anordnung zum spektralen Auffächern eines Lichtstrahls |
| KR100560588B1 (ko) * | 1998-03-16 | 2006-03-16 | 에머샘 바이오사이언시즈 코프 | 공초점 마이크로스코피 영상 시스템 |
| JP2000098259A (ja) * | 1998-09-22 | 2000-04-07 | Olympus Optical Co Ltd | 共焦点顕微鏡用撮影装置 |
| US6354501B1 (en) | 1998-11-18 | 2002-03-12 | Crossoff Incorporated | Composite authentication mark and system and method for reading the same |
| US6274873B1 (en) * | 1998-11-18 | 2001-08-14 | Dna Technologies Inc. | Spectrum analyzer for reading authentication marks |
| US6536672B1 (en) | 1998-11-18 | 2003-03-25 | Dna Technologies, Inc. | Product authentication system and method |
| US6134002A (en) * | 1999-01-14 | 2000-10-17 | Duke University | Apparatus and method for the rapid spectral resolution of confocal images |
| DE19904592C2 (de) * | 1999-02-05 | 2001-03-08 | Lavision Gmbh | Strahlteilervorrichtung |
| JP2000258699A (ja) * | 1999-03-05 | 2000-09-22 | Olympus Optical Co Ltd | 直視型共焦点光学系 |
| KR100689319B1 (ko) * | 1999-03-19 | 2007-03-09 | 올림푸스 가부시키가이샤 | 주사형 공초점현미경 |
| US6403332B1 (en) * | 1999-07-30 | 2002-06-11 | California Institute Of Technology | System and method for monitoring cellular activity |
| US6891671B1 (en) * | 2000-04-18 | 2005-05-10 | Gary Greenberg | Apparatus and methods for creating real-time 3-D images and constructing 3-D models of an object imaged in an optical system |
| GB2360162B (en) | 2000-01-07 | 2004-06-02 | Axon Instr Inc | Scanning microscope |
| US20020001089A1 (en) * | 2000-04-18 | 2002-01-03 | Price Jeffrey H. | Multiparallel three dimensional optical microscopy system |
| JP2001311874A (ja) * | 2000-04-28 | 2001-11-09 | Yokogawa Electric Corp | 光スキャナ及びこれを用いた断層画像取得装置 |
| DE10029680B4 (de) * | 2000-06-23 | 2016-06-16 | Leica Microsystems Cms Gmbh | Mikroskop-Aufbau |
| DE20012378U1 (de) * | 2000-07-17 | 2000-10-19 | Leica Microsystems Heidelberg Gmbh, 68165 Mannheim | Anordnung zur spektral empfindlichen Auf- und Durchlichtbeleuchtung |
| US6441356B1 (en) | 2000-07-28 | 2002-08-27 | Optical Biopsy Technologies | Fiber-coupled, high-speed, angled-dual-axis optical coherence scanning microscopes |
| US6351325B1 (en) | 2000-07-28 | 2002-02-26 | Optical Biopsy Technologies, Inc. | Fiber-coupled, angled-dual-axis confocal scanning microscopes for imaging in a scattering medium |
| US6423956B1 (en) * | 2000-07-28 | 2002-07-23 | Optical Biopsy Technologies | Fiber-coupled, high-speed, integrated, angled-dual-axis confocal scanning microscopes employing vertical cross-section scanning |
| US7139073B1 (en) * | 2000-09-04 | 2006-11-21 | Hamamatsu Photonics K.K. | Imaging apparatus |
| DE10044308A1 (de) * | 2000-09-07 | 2002-03-21 | Leica Microsystems | Verfahren und Vorrichtung zur Detektion von Fluoreszenzlicht bei der konfokalen Rastermikroskopie |
| DE10045245A1 (de) * | 2000-09-13 | 2002-03-28 | Siemens Ag | Einrichtung für optische Inspektion einer auf Defekte hin zu prüfenden Oberfläche eines Objekts |
| DE60133916D1 (de) * | 2000-09-18 | 2008-06-19 | Vincent Lauer | Optische konfokale abtastvorrichtung |
| US7209287B2 (en) * | 2000-09-18 | 2007-04-24 | Vincent Lauer | Confocal optical scanning device |
| US6369928B1 (en) | 2000-11-01 | 2002-04-09 | Optical Biopsy Technologies, Inc. | Fiber-coupled, angled-dual-illumination-axis confocal scanning microscopes for performing reflective and two-photon fluorescence imaging |
| US6414779B1 (en) | 2000-11-30 | 2002-07-02 | Opeical Biopsy Technologies, Inc. | Integrated angled-dual-axis confocal scanning endoscopes |
| US6856457B2 (en) * | 2001-03-27 | 2005-02-15 | Prairie Technologies, Inc. | Single and multi-aperture, translationally-coupled confocal microscope |
| KR20020084786A (ko) * | 2001-05-04 | 2002-11-11 | 이재웅 | 선형 선 스캐닝을 이용하는 공초점 영상 형성 장치 및 방법 |
| DE10133017C2 (de) * | 2001-07-06 | 2003-07-03 | Leica Microsystems | Konfokales Mikroskop |
| US20030031596A1 (en) * | 2001-08-09 | 2003-02-13 | Yokogawa Electric Corporation | Biochip reader and fluorometric imaging apparatus |
| JP2003057557A (ja) * | 2001-08-09 | 2003-02-26 | Yokogawa Electric Corp | バイオチップ読取装置 |
| DE10148188A1 (de) * | 2001-09-28 | 2003-04-17 | Leica Mikroskopie & Syst | Mikroskop mit kontrasterhöhender Bildaufnahmevorrichtung |
| DK1411345T3 (da) * | 2002-10-17 | 2007-01-02 | Direvo Biotech Ag | Multiparameter fluorimetrisk analyse parallelt med multifokalt arrangement |
| JP2004138947A (ja) * | 2002-10-21 | 2004-05-13 | Keyence Corp | 走査モード選択可能な共焦点顕微鏡システム |
| KR20040038743A (ko) * | 2002-10-29 | 2004-05-08 | 세이코 프리씨존 인크. | 표본 화상 데이터 처리 방법, 표본 검사 시스템 및 표본검사 방법 |
| US7339148B2 (en) * | 2002-12-16 | 2008-03-04 | Olympus America Inc. | Confocal microscope |
| JP2004222870A (ja) * | 2003-01-21 | 2004-08-12 | Pentax Corp | 内視鏡用プローブ |
| JP4137682B2 (ja) * | 2003-03-31 | 2008-08-20 | オリンパス株式会社 | 蛍光分光分析装置 |
| DE10327486B4 (de) * | 2003-06-17 | 2006-07-20 | Leica Microsystems Cms Gmbh | Vorrichtung zur Bestimmung gerichteter Transportprozesse |
| US20050038322A1 (en) * | 2003-08-11 | 2005-02-17 | Scimed Life Systems | Imaging endoscope |
| JP4379056B2 (ja) * | 2003-08-12 | 2009-12-09 | 富士ゼロックス株式会社 | 三次元画像撮像装置および方法 |
| US7372985B2 (en) | 2003-08-15 | 2008-05-13 | Massachusetts Institute Of Technology | Systems and methods for volumetric tissue scanning microscopy |
| US20050142608A1 (en) * | 2003-09-22 | 2005-06-30 | Yokogawa Electric Corporation | Screening method and device, and new drug screening method and device |
| DE10344060A1 (de) * | 2003-09-23 | 2005-05-04 | Zeiss Carl Jena Gmbh | Konfokales Laser-Scanning-Mikroskop |
| US7141802B2 (en) * | 2003-12-01 | 2006-11-28 | Olympus Corporation | Optical device and imaging method |
| JP4414771B2 (ja) * | 2004-01-08 | 2010-02-10 | オリンパス株式会社 | 共焦点顕微分光装置 |
| JP4677728B2 (ja) * | 2004-03-22 | 2011-04-27 | 株式会社ニコン | 共焦点顕微鏡及び共焦点顕微鏡システム |
| JP4576876B2 (ja) * | 2004-05-10 | 2010-11-10 | 株式会社ニコン | 顕微鏡システム |
| US7852551B2 (en) * | 2004-06-14 | 2010-12-14 | Olympus Corporation | Optical-scanning microscope examination apparatus |
| DE102004034966A1 (de) * | 2004-07-16 | 2006-02-02 | Carl Zeiss Jena Gmbh | Beleuchtungsvorrichtung für ein Lichtrastermikroskop mit linienförmiger Abtastung und Verwendung |
| DE102004034985A1 (de) * | 2004-07-16 | 2006-02-02 | Carl Zeiss Jena Gmbh | Verfahren zur Erfassung von Bildern einer Probe mit einem Lichtrastermikroskop mit linienförmiger Abtastung |
| DE102004034959A1 (de) | 2004-07-16 | 2006-02-16 | Carl Zeiss Jena Gmbh | Lichtrastermikroskop mit punktförmiger Lichtquellenverteilung und Verwendung |
| DE102004034979A1 (de) * | 2004-07-16 | 2006-02-16 | Carl Zeiss Jena Gmbh | Verfahren zur Erfassung mindestens eines Probenbereiches mit einem Lichtrastermikroskop mit punktförmiger Lichtquellenverteilung |
| DE102004034993A1 (de) * | 2004-07-16 | 2006-02-02 | Carl Zeiss Jena Gmbh | Lichtrastermikroskop mit linienförmiger Abtastung und Verwendung |
| DE102004034953A1 (de) * | 2004-07-16 | 2006-02-02 | Carl Zeiss Jena Gmbh | Beleuchtungsvorrichtung und Verwendung |
| DE102004034970A1 (de) * | 2004-07-16 | 2006-02-02 | Carl Zeiss Jena Gmbh | Lichtrastermikroskop und Verwendung |
| DE102004034977A1 (de) * | 2004-07-16 | 2006-02-02 | Carl Zeiss Jena Gmbh | Lichtrastermikroskop und Verwendung |
| DE102004034981A1 (de) * | 2004-07-16 | 2006-02-02 | Carl Zeiss Jena Gmbh | Lichtrastermikroskop mit punktförmiger Lichtquellenverteilung und Verwendung |
| DE102004034967A1 (de) * | 2004-07-16 | 2006-02-02 | Carl Zeiss Jena Gmbh | Beleuchtungsvorrichtung für ein Lichtrastermikroskop mit punktförmiger Lichtquellenverteilung |
| DE102004034976A1 (de) * | 2004-07-16 | 2006-02-16 | Carl Zeiss Jena Gmbh | Lichtrastermikroskop und Verwendung |
| DE102004034954A1 (de) * | 2004-07-16 | 2006-02-02 | Carl Zeiss Jena Gmbh | Verfahren zur Erfassung mindestens eines Probenbereiches mit einem Lichtrastermikroskop |
| DE102004034962A1 (de) * | 2004-07-16 | 2006-02-16 | Carl Zeiss Jena Gmbh | Mikroskop mit erhöhter Auflösung |
| DE102004034991A1 (de) * | 2004-07-16 | 2006-02-02 | Carl Zeiss Jena Gmbh | Zoomoptik für ein Lichtrastermikroskop |
| DE102004034956A1 (de) * | 2004-07-16 | 2006-02-02 | Carl Zeiss Jena Gmbh | Verfahren zur Erfassung mindestens eines Probenbereiches mit einem Lichtrastermikroskop mit linienförmiger Abtastung |
| DE102004034971A1 (de) * | 2004-07-16 | 2006-02-09 | Carl Zeiss Jena Gmbh | Lichtrastermikroskop mit linienförmiger Abtastung und Verwendung |
| DE102004034989A1 (de) | 2004-07-16 | 2006-02-09 | Carl Zeiss Jena Gmbh | Zoomoptik für ein Lichtrastermikroskop mit punktförmiger Lichtquellenverteilung und Verwendung |
| DE102004034973A1 (de) * | 2004-07-16 | 2006-02-16 | Carl Zeiss Jena Gmbh | Verfahren zur Erfassung von Bildern einer Probe mit einem Lichtrastermikroskop |
| DE102004034963A1 (de) * | 2004-07-16 | 2006-02-16 | Carl Zeiss Jena Gmbh | Verfahren zur bildlichen Erfassung von Objekten mittels eines Lichtrastermikroskopes |
| DE102004034990A1 (de) * | 2004-07-16 | 2006-02-02 | Carl Zeiss Jena Gmbh | Zoomoptik für ein Lichtrastermikroskop mit linienförmiger Abtastung und Verwendung |
| DE102004034961A1 (de) * | 2004-07-16 | 2006-02-02 | Carl Zeiss Jena Gmbh | Lichtrastermikroskop mit linienförmiger Abtastung und Verwendung |
| DE102004034951A1 (de) * | 2004-07-16 | 2006-02-02 | Carl Zeiss Jena Gmbh | Verfahren zur bildlichen Erfassung von Objekten mittels eines Lichtrastermikrokopes mit linienförmiger Abtastung |
| DE102004034996A1 (de) * | 2004-07-16 | 2006-02-02 | Carl Zeiss Jena Gmbh | Lichtrastermikroskop mit linienförmiger Abtastung |
| DE102004034988A1 (de) | 2004-07-16 | 2006-02-02 | Carl Zeiss Jena Gmbh | Lichtrastermikroskop und Verwendung |
| DE102004034987A1 (de) | 2004-07-16 | 2006-02-02 | Carl Zeiss Jena Gmbh | Lichtrastermikroskop und Verwendung |
| DE102004034984A1 (de) * | 2004-07-16 | 2006-02-02 | Carl Zeiss Jena Gmbh | Verfahren zur Erfassung von Bildern einer Probe mit einem Lichtrastermikroskop mit punktförmiger Lichtquellenverteilung |
| DE102004034975A1 (de) * | 2004-07-16 | 2006-02-16 | Carl Zeiss Jena Gmbh | Verfahren zur Erfassung von Bildern einer Probe mit einem Mikroskop |
| DE102004034994A1 (de) * | 2004-07-16 | 2006-02-02 | Carl Zeiss Jena Gmbh | Lichtrastermikroskop mit punktförmiger Lichtquellenverteilung und Verwendung |
| US7698000B2 (en) * | 2004-09-14 | 2010-04-13 | Yeda Research & Development Co., Ltd | Microscope system and method |
| JP2006106378A (ja) * | 2004-10-06 | 2006-04-20 | Yokogawa Electric Corp | 共焦点顕微鏡 |
| US7468506B2 (en) * | 2005-01-26 | 2008-12-23 | Applied Materials, Israel, Ltd. | Spot grid array scanning system |
| US7468507B2 (en) * | 2005-01-26 | 2008-12-23 | Applied Materials, Israel, Ltd. | Optical spot grid array scanning system |
| DE102005009188A1 (de) * | 2005-03-01 | 2006-09-07 | Carl Zeiss Jena Gmbh | Punktscannendes Laser-Scanning-Mikroskop sowie Verfahren zur Einstellung eines Mikroskopes |
| GB2416261A (en) * | 2005-05-21 | 2006-01-18 | Zeiss Carl Jena Gmbh | Laser scanning microscope with parallel illumination and simultaneous, locally resolved detection |
| WO2006127967A2 (en) | 2005-05-25 | 2006-11-30 | Massachusetts Institute Of Technology | Multifocal scanning microscopy systems and methods |
| EP1896831B1 (en) * | 2005-06-27 | 2013-04-10 | THE GOVERNMENT OF THE UNITED STATES OF AMERICA, represented by THE SECRETARY, DEPARTMENT OF HEALTH AND HUMAN SERVICES | A spatially selective, fixed-optics multicolor fluorescence detection system for a multichannel microfluidic device, and method for detection |
| US7684048B2 (en) | 2005-11-15 | 2010-03-23 | Applied Materials Israel, Ltd. | Scanning microscopy |
| GB0608923D0 (en) * | 2006-05-05 | 2006-06-14 | Visitech Internat Ltd | 2-d array laser confocal scanning microscope and methods of improving image quality in such microscope |
| US7990524B2 (en) * | 2006-06-30 | 2011-08-02 | The University Of Chicago | Stochastic scanning apparatus using multiphoton multifocal source |
| US9234845B2 (en) * | 2006-10-19 | 2016-01-12 | Olympus Corporation | Microscope with reflecting fluorescence illumination optical system |
| DE102007019267A1 (de) * | 2007-04-24 | 2008-10-30 | Degudent Gmbh | Messanordnung sowie Verfahren zum dreidimensionalen Messen eines Objekts |
| JP2009015218A (ja) * | 2007-07-09 | 2009-01-22 | Olympus Corp | 走査型共焦点顕微鏡 |
| US20110025837A1 (en) * | 2007-08-16 | 2011-02-03 | Koninklijke Philips Electronics N.V. | method of imaging a sample |
| US8294062B2 (en) * | 2007-08-20 | 2012-10-23 | Universal Laser Systems, Inc. | Laser beam positioning systems for material processing and methods for using such systems |
| DE102007047465A1 (de) | 2007-09-28 | 2009-04-02 | Carl Zeiss Microimaging Gmbh | Verfahren und Anordnung zur optischen Erfassung einer beleuchteten Probe |
| DE102007047468A1 (de) | 2007-09-28 | 2009-04-02 | Carl Zeiss Microimaging Gmbh | Verfahren und Anordnung zur optischen Erfassung einer beleuchteten Probe |
| JP5259154B2 (ja) | 2007-10-24 | 2013-08-07 | オリンパス株式会社 | 走査型レーザ顕微鏡 |
| US8280131B2 (en) * | 2007-11-26 | 2012-10-02 | Carl Zeiss Micro Imaging Gmbh | Method and configuration for optically detecting an illuminated specimen |
| US20090161203A1 (en) * | 2007-11-26 | 2009-06-25 | Michael Kempe | Method and Configuration for the Optical Detection of an Illuminated Specimen |
| EP2225598A1 (en) * | 2007-12-21 | 2010-09-08 | Koninklijke Philips Electronics N.V. | Scanning microscope and method of imaging a sample. |
| JP2009181088A (ja) * | 2008-02-01 | 2009-08-13 | Nikon Corp | 共焦点ユニット、共焦点顕微鏡、および共焦点絞り |
| US20110019064A1 (en) * | 2008-03-20 | 2011-01-27 | Koninklijke Philips Electronics N.V. | Two-dimensional array of radiation spots for an optical scanning device |
| KR20100010137A (ko) * | 2008-07-22 | 2010-02-01 | 삼성전기주식회사 | 프로젝션 디스플레이 장치 |
| FR2941787B1 (fr) | 2009-02-04 | 2011-04-15 | Ecole Polytech | Procede et dispositif d'acquisition de signaux en microscopie laser a balayage. |
| WO2010126790A1 (en) * | 2009-04-27 | 2010-11-04 | The Arizona Board Of Regents On Behalf Of The University Of Arizona | A novel multi-point scan architecture |
| DE102010013829A1 (de) | 2010-03-26 | 2011-09-29 | Carl Zeiss Microlmaging Gmbh | Mikroskop und Verfahren zur Erfassung von Probenlicht |
| DE102010047353A1 (de) | 2010-10-01 | 2012-04-05 | Carl Zeiss Microimaging Gmbh | Laser-Scanning-Mikroskop mit umschaltbarer Betriebsweise |
| DE102010055882A1 (de) | 2010-12-22 | 2012-06-28 | Carl Zeiss Microlmaging Gmbh | Pinhole für ein konfokales Laser-Scanning Mikroskop |
| TW201245768A (en) * | 2011-03-29 | 2012-11-16 | Sony Corp | Image pickup apparatus, image pickup device, image processing method, aperture control method, and program |
| US9103721B2 (en) | 2011-04-07 | 2015-08-11 | Uwm Research Foundation, Inc. | High speed microscope with spectral resolution |
| DE102011104379B4 (de) | 2011-06-18 | 2021-11-25 | Carl Zeiss Microscopy Gmbh | Konfokales Rastermikroskop und Verwendung, Steuerverfahren sowie programmierbare Steuereinheit für ein solches Mikroskop |
| JP5743209B2 (ja) * | 2011-06-29 | 2015-07-01 | 横河電機株式会社 | 顕微鏡装置 |
| US20130030246A1 (en) * | 2011-07-26 | 2013-01-31 | Raytheon Company | Method and apparatus for laparoscopically indentifying and locating structures embedded in fat |
| DE102011109653B4 (de) * | 2011-08-06 | 2021-11-25 | Carl Zeiss Microscopy Gmbh | Laser-Scanning-Mikroskop mit einem Beleuchtungsarray |
| DE102012019121A1 (de) | 2011-09-29 | 2013-04-04 | Carl Zeiss Microscopy Gmbh | Verfahren zur Variation des Scanfeldes eines Laser-Scanning-Mikroskops |
| DE102011114754A1 (de) | 2011-09-29 | 2013-04-04 | Carl Zeiss Microscopy Gmbh | "Laser-Scanning-Mikroskop" |
| DE102012203736A1 (de) | 2012-03-09 | 2013-09-12 | Carl Zeiss Microscopy Gmbh | Lichtrastermikroskop mit spektraler Detektion |
| JP2014010216A (ja) * | 2012-06-28 | 2014-01-20 | Lithotech Co Ltd | 多焦点共焦点顕微鏡 |
| US20150192461A1 (en) * | 2012-07-05 | 2015-07-09 | National University Of Singapore | Light microscope and method of controlling the same |
| DE102012018303A1 (de) * | 2012-09-14 | 2014-03-20 | Fraunhofer-Gesellschaft zur Förderung der angewandten Forschung e.V. | Messgerät zur Lumineszenzmessung |
| DE102012019464A1 (de) | 2012-09-28 | 2014-04-03 | Carl Zeiss Microscopy Gmbh | Konfokales Auflicht-Rastermikroskop zur Multifleck-Abtastung |
| JP6127451B2 (ja) * | 2012-11-02 | 2017-05-17 | 株式会社ニコン | 構造化照明装置及び構造化照明顕微鏡装置 |
| ES2952416T3 (es) * | 2013-09-02 | 2023-10-31 | Alcon Inc | Sistema óptico de exploración con múltiples fuentes ópticas |
| DE102013018672B4 (de) * | 2013-11-07 | 2024-05-08 | Carl Zeiss Microscopy Gmbh | Multispot-scanning mikroskop |
| DE102013021482A1 (de) * | 2013-12-17 | 2015-06-18 | Carl Zeiss Microscopy Gmbh | Verfahren zur Scanning-Mikroskopie und Scanning-Mikroskop |
| DE102013022026A1 (de) | 2013-12-19 | 2015-06-25 | Carl Zeiss Microscopy Gmbh | Mehrfarben-Scanning-Mikroskop |
| DE102014002328B4 (de) | 2014-02-12 | 2021-08-05 | Carl Zeiss Microscopy Gmbh | Multifokales Fluoreszenzrastermikroskop |
| US9599572B2 (en) | 2014-04-07 | 2017-03-21 | Orbotech Ltd. | Optical inspection system and method |
| US10352860B2 (en) | 2014-04-24 | 2019-07-16 | Bruker Nano, Inc. | Super resolution microscopy |
| JP6408796B2 (ja) * | 2014-06-11 | 2018-10-17 | オリンパス株式会社 | レーザ顕微鏡装置 |
| JP2017523439A (ja) * | 2014-06-29 | 2017-08-17 | オプティクス 3ディー エルティーディー. | 位相と強度を変調した2重構造化照明 |
| DE102014117596A1 (de) * | 2014-12-01 | 2016-06-02 | Carl Zeiss Microscopy Gmbh | Lichtmikroskop und Verfahren zum Untersuchen einer mikroskopischen Probe mit einem Lichtmikroskop |
| JP6300739B2 (ja) | 2015-01-20 | 2018-03-28 | 浜松ホトニクス株式会社 | 画像取得装置および画像取得方法 |
| JP6539052B2 (ja) * | 2015-01-20 | 2019-07-03 | 浜松ホトニクス株式会社 | 画像取得装置および画像取得方法 |
| JP6375239B2 (ja) | 2015-02-05 | 2018-08-15 | オリンパス株式会社 | レーザ顕微鏡装置 |
| WO2016126927A1 (en) * | 2015-02-06 | 2016-08-11 | Intelligent Imaging Innovations, Inc. | Improved illuminator for multi-focus confocal imaging and optimized filling of a spatial light modulator for microscopy |
| EP3268715B1 (en) | 2015-03-11 | 2024-09-25 | TissueVision, Inc. | System and methods for serial staining and imaging |
| BR112017007137A2 (pt) * | 2015-03-19 | 2017-12-19 | Koninklijke Philips Nv | scanner de patologia digital |
| JP6342842B2 (ja) * | 2015-04-30 | 2018-06-13 | オリンパス株式会社 | 走査型顕微鏡システム |
| US10130249B2 (en) | 2015-05-01 | 2018-11-20 | Canon Kabushiki Kaisha | Inspection apparatus, image processing apparatus, method of operating inspection apparatus, image processing method, and recording medium |
| DE102015107367A1 (de) | 2015-05-11 | 2016-11-17 | Carl Zeiss Ag | Auswertung von Signalen der Fluoreszenzrastermikroskopie unter Verwendung eines konfokalen Laserscanning-Mikroskops |
| US9992477B2 (en) | 2015-09-24 | 2018-06-05 | Ouster, Inc. | Optical system for collecting distance information within a field |
| DE102016102286A1 (de) | 2016-02-10 | 2017-08-10 | Carl Zeiss Microscopy Gmbh | Vorrichtung und Verfahren zur Multispot-Scanning-Mikroskopie |
| CN107991766A (zh) * | 2016-10-26 | 2018-05-04 | 中国科学技术大学 | 一种具有三维成像能力的显微镜和成像方法 |
| WO2018094290A1 (en) | 2016-11-18 | 2018-05-24 | Tissuevision, Inc. | Automated tissue section capture, indexing and storage system and methods |
| US10473766B2 (en) | 2017-03-13 | 2019-11-12 | The Charles Stark Draper Laboratory, Inc. | Light detection and ranging (LiDAR) system and method |
| WO2018208687A1 (en) * | 2017-05-06 | 2018-11-15 | Howard Hughes Medical Institute | Scanned line angular projection microscopy |
| GB201710743D0 (en) * | 2017-07-04 | 2017-08-16 | King S College London | Luminescence imaging apparatus and methods |
| DE102017125688A1 (de) * | 2017-11-03 | 2019-05-09 | Leica Microsystems Cms Gmbh | Verfahren und Vorrichtung zum Abrastern einer Probe |
| US10976533B2 (en) | 2018-02-12 | 2021-04-13 | Intelligent Imaging Innovations, Inc. | Tiling light sheet selective plane illumination microscopy using discontinuous light sheets |
| GB2573150B (en) * | 2018-04-26 | 2020-11-18 | Visitech Int Ltd | Scanning device, system and method |
| US11966036B2 (en) | 2018-11-26 | 2024-04-23 | Carl Zeiss Microscopy Gmbh | Light microscope and microscopy method |
| US12000999B2 (en) | 2018-12-17 | 2024-06-04 | Ecole Polytechnique Federale De Lausanne (Epfl) | Koehler integrator device and application thereof in a multi-focal confocal microscope |
| EP4058833B1 (en) | 2019-11-11 | 2025-01-15 | Howard Hughes Medical Institute | Random access projection microscopy |
| KR102436051B1 (ko) * | 2020-11-08 | 2022-08-24 | 단국대학교 산학협력단 | 다방향 광조사를 이용한 라이트 시트 형광 현미경 및 이의 운용방법 |
| DE102023109263B4 (de) * | 2023-04-13 | 2025-02-20 | Schölly Fiberoptic GmbH | Beleuchtungssystem, spezifische Verwendung eines Beleuchtungssystems, Ausleuchtungsverfahren und Beobachtungssystem |
| CN117369106B (zh) * | 2023-12-05 | 2024-03-08 | 北京大学 | 一种多点共聚焦图像扫描显微镜及成像方法 |
Family Cites Families (4)
| Publication number | Priority date | Publication date | Assignee | Title |
|---|---|---|---|---|
| US5022743A (en) * | 1987-03-27 | 1991-06-11 | The Board Of Trustees Of The Leland Stanford Junior University | Scanning confocal optical microscope |
| EP0727684B1 (en) * | 1991-10-31 | 2000-12-06 | Yokogawa Electric Corporation | Confocal optical scanner |
| DE4414940C2 (de) * | 1994-04-28 | 1998-07-02 | Pekka Haenninen | Lumineszenz-Rastermikroskop mit zwei Photonen Anregung |
| JPH08211296A (ja) * | 1995-02-03 | 1996-08-20 | Shimadzu Corp | 共焦点走査型光学顕微鏡 |
-
1997
- 1997-05-14 JP JP12394697A patent/JP3816632B2/ja not_active Expired - Fee Related
-
1998
- 1998-05-13 US US09/078,539 patent/US6028306A/en not_active Expired - Lifetime
Also Published As
| Publication number | Publication date |
|---|---|
| JPH10311950A (ja) | 1998-11-24 |
| US6028306A (en) | 2000-02-22 |
Similar Documents
| Publication | Publication Date | Title |
|---|---|---|
| JP3816632B2 (ja) | 走査型顕微鏡 | |
| US11762182B2 (en) | SPIM microscope with a sequential light sheet | |
| JP5259154B2 (ja) | 走査型レーザ顕微鏡 | |
| JP5642301B2 (ja) | 走査型顕微鏡、および試料の光学検鏡画像形成のための方法 | |
| US12105271B2 (en) | Microscope and method for microscopic image recording with variable illumination | |
| US9927226B2 (en) | Method and configuration for depth resolved optical detection of an illuminated specimen | |
| US20130010098A1 (en) | High-Resolution Microscope and Method for Determining the Two- or Three-Dimensional Positions of Objects | |
| US20090174935A1 (en) | Scanning microscope having complementary, serial scanners | |
| JP2008203813A (ja) | 走査型顕微鏡 | |
| US20070041090A1 (en) | Confocal laser scanning microscope | |
| US6680796B2 (en) | Microscope assemblage | |
| JP4974689B2 (ja) | 走査型顕微鏡 | |
| JP4593141B2 (ja) | 光走査型観察装置 | |
| JP4426763B2 (ja) | 共焦点顕微鏡 | |
| JP2018194634A (ja) | ライトフィールド顕微鏡 | |
| JP5822067B2 (ja) | 顕微鏡装置 | |
| JPH0427909A (ja) | 透過型顕微鏡 | |
| JP2013221822A (ja) | 検査装置 | |
| JPH0440408A (ja) | 共焦点走査型顕微鏡 | |
| JP2012208361A (ja) | 走査型顕微鏡および走査型顕微鏡システム |
Legal Events
| Date | Code | Title | Description |
|---|---|---|---|
| A977 | Report on retrieval |
Free format text: JAPANESE INTERMEDIATE CODE: A971007 Effective date: 20050908 |
|
| A131 | Notification of reasons for refusal |
Free format text: JAPANESE INTERMEDIATE CODE: A131 Effective date: 20050913 |
|
| A521 | Request for written amendment filed |
Free format text: JAPANESE INTERMEDIATE CODE: A523 Effective date: 20051110 |
|
| TRDD | Decision of grant or rejection written | ||
| A01 | Written decision to grant a patent or to grant a registration (utility model) |
Free format text: JAPANESE INTERMEDIATE CODE: A01 Effective date: 20060530 |
|
| A61 | First payment of annual fees (during grant procedure) |
Free format text: JAPANESE INTERMEDIATE CODE: A61 Effective date: 20060608 |
|
| FPAY | Renewal fee payment (event date is renewal date of database) |
Free format text: PAYMENT UNTIL: 20090616 Year of fee payment: 3 |
|
| FPAY | Renewal fee payment (event date is renewal date of database) |
Free format text: PAYMENT UNTIL: 20100616 Year of fee payment: 4 |
|
| FPAY | Renewal fee payment (event date is renewal date of database) |
Free format text: PAYMENT UNTIL: 20110616 Year of fee payment: 5 |
|
| FPAY | Renewal fee payment (event date is renewal date of database) |
Free format text: PAYMENT UNTIL: 20120616 Year of fee payment: 6 |
|
| FPAY | Renewal fee payment (event date is renewal date of database) |
Free format text: PAYMENT UNTIL: 20120616 Year of fee payment: 6 |
|
| FPAY | Renewal fee payment (event date is renewal date of database) |
Free format text: PAYMENT UNTIL: 20130616 Year of fee payment: 7 |
|
| LAPS | Cancellation because of no payment of annual fees |