JP3554677B2 - 厨房家具用キャビネット - Google Patents

厨房家具用キャビネット Download PDF

Info

Publication number
JP3554677B2
JP3554677B2 JP18556499A JP18556499A JP3554677B2 JP 3554677 B2 JP3554677 B2 JP 3554677B2 JP 18556499 A JP18556499 A JP 18556499A JP 18556499 A JP18556499 A JP 18556499A JP 3554677 B2 JP3554677 B2 JP 3554677B2
Authority
JP
Japan
Prior art keywords
cabinet
plate
drawer
storage space
kitchen furniture
Prior art date
Legal status (The legal status is an assumption and is not a legal conclusion. Google has not performed a legal analysis and makes no representation as to the accuracy of the status listed.)
Expired - Fee Related
Application number
JP18556499A
Other languages
English (en)
Other versions
JP2001008753A (ja
Inventor
朝好 後ノ上
Current Assignee (The listed assignees may be inaccurate. Google has not performed a legal analysis and makes no representation or warranty as to the accuracy of the list.)
Cleanup Corp
Original Assignee
Cleanup Corp
Priority date (The priority date is an assumption and is not a legal conclusion. Google has not performed a legal analysis and makes no representation as to the accuracy of the date listed.)
Filing date
Publication date
Application filed by Cleanup Corp filed Critical Cleanup Corp
Priority to JP18556499A priority Critical patent/JP3554677B2/ja
Publication of JP2001008753A publication Critical patent/JP2001008753A/ja
Application granted granted Critical
Publication of JP3554677B2 publication Critical patent/JP3554677B2/ja
Anticipated expiration legal-status Critical
Expired - Fee Related legal-status Critical Current

Links

Images

Landscapes

  • Combinations Of Kitchen Furniture (AREA)

Description

【0001】
【発明の属する技術分野】
本発明は、例えば所謂システムキッチンや流し台等の厨房家具用キャビネットに関し、特に食器洗浄乾燥機等の厨房機器の組み込み及び配管と一般収納を行なうためのキャビネット構造に関するものである。
【0002】
【従来の技術】
従来、所謂システムキッチンにおいては、例えば図8に示すように、システムキッチン1のベースキャビネット2に対して、食器洗浄乾燥機3を組み入れることが一般化している。
この場合、食器洗浄乾燥機3の組み込み位置が低いため、食器洗浄乾燥機3の扉3aを開いて、特に食器洗浄乾燥機3内の下段の網篭に対して食器の出し入れを行なう場合、使用者がかがむ等の無理な姿勢をとることになると共に、食器を移動する距離が比較的長くなってしまい、作業性が悪く使いづらかった。また場合によっては食器から垂れる水滴が厨房の床面に落ちてしまう等の問題があった。
【0003】
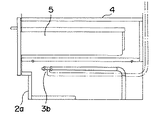
これに対して、図9乃至図11に示すように、食器洗浄乾燥機3のための棚板4を有する載置台をベースキャビネット2内に設けて、食器洗浄乾燥機3の組み込み高さを上げ、この棚板4の下方のスペースは引出し5のためのスペースとして利用し、更に床面付近の台輪2aのスペースで食器洗浄乾燥機3の給排水用の配管3bを連結する構成が採られていた。
【0004】
【発明が解決しようとする課題】
しかしながら、このような食器洗浄乾燥機3の配置では、食器洗浄乾燥機3の配管3bは台輪2a内に配管されるようになっているので、ベースキャビネット2の引出し5のためのスペースが小さくなってしまう。
さらに、引出し5のためのスペースは、配管連結やメンテナンスのための作業として利用するため、上記配管3bを、できるだけ台輪手前側の入口付近に配設する必要があり、配管が長くなり、コストが高くなるという問題があった。また、引出しのためのスペースである作業口が小さいため作業がしづらいという問題があった。
【0005】
本発明は、以上の点に鑑み、キャビネット下方に設けた引出しのスペースを大きく確保し、これによって配管連結の作業性を向上し、しかも食器洗浄乾燥機等の機器のための配管の長さをできるだけ短くするようにした、厨房家具用キャビネットを提供することを目的としている。また本発明は、機器の組み込みキャビネットでありながら、引出しのスペースを大きく確保することによって収納性を向上させることを目的としたものである。
【0006】
【課題を解決するための手段】
上記目的は、本発明によれば、左右の側板,背板及び底板とから成る上方及び前方が開放した箱体と、上側に厨房用機器のための第一の収納スペース及び下側に第二の収納スペースを画成するように、この箱体の中段に設けられていて、その後端縁が背板の手前に位置する中底板と、中底板の後端にて第の収納スペースを、その後方の第の収納スペースに連続した配管スペースに対して閉塞する区画板とを含んでおり、上記区画板が、開閉可能な点検口を備えている厨房家具用キャビネットにより、達成される。
【0007】
本発明による厨房家具用キャビネット内への厨房用機器としては、引き出し式の食器洗浄乾燥機が好ましい。
本発明による厨房家具用キャビネットは、好ましくは、上記区画板の前方の第二の収納スペース内に収納されていて、その第二の収納スペースほぼ全体が、前方に向かって引き出し可能な引出しによって構成されている。
【0008】
本発明による厨房家具用キャビネットは、好ましくは、上記中底板の前縁から下方に延びて、引出しの前板との間の間隙を閉鎖する化粧板を備えている。
【0009】
本発明による厨房家具用キャビネットは、好ましくは、上記化粧板が、厨房家具用キャビネットの前縁に対して着脱可能に、または揺動可能に取り付けられている。
【0010】
本発明による厨房家具用キャビネットは、好ましくは、上記引出しが、第二の収納スペース内に収容されると共に、その前板が、下端付近にて蹴込み部を備えている。
【0011】
上記構成によれば、配管スペースが、キャビネットの中底板の下方で且つ区画板の後方に画成されており、区画板に設けられた点検口から配管スペース内の配管の接続部のメンテナンスを行なうことができる。従って、区画板の前側に大きな収納スペースが確保され得ることになる。
また、配管スペースがキャビネットの後方に画成されていることから、配管の長さが比較的短くてすみ、無駄な配管の引回しが不要になると共に、本キャビネット内において、給水管,排水管及び電源コンセントの接続を行なうことができるので、接続作業が容易に行なわれ得る。
【0012】
好ましくは厨房用機器とし、引き出し式の食器洗浄乾燥機として構成されている。
上記区画板の前方の第二の収納スペース内に収容されていて、前方に向かって引き出し可能な引出しを備えている場合には、比較的大きな第二の収納スペースを引出しスペースとして使用することができるので、引出しが比較的大型に構成され得る。従って、この引出しにより、比較的大容量の収納容積が確保され得ることになる。
【0013】
上記中底板の前縁から下方に延びて、引出しの前板との間の間隙を閉鎖する化粧板を備えている場合には、任意の高さに設計されるキャビネット高さに対して、規格サイズの引出しを使用することにより、中底板の前縁と引出しの前板の上縁との間の間隙が、この化粧板によって閉じられ、見栄えが向上し、また厨房用機器のための第一の収納スペースの大小に応じて、化粧板の大きさを変えることで対応でき、引出しあるいは食器洗浄乾燥機の扉を造り変える必要がない。
【0014】
上記化粧板が、中底板の前縁に対して着脱可能に、または揺動可能に取り付けられている場合には、引出しを抜いた状態で、区画板の点検口から配管スペース内の配管の接続部のメンテナンスを行なう際に、第二の収納スペースの前面が完全に開放するので、メンテナンス作業が容易に行なわれ得ることになる。
【0015】
上記引出しが、第二の収納スペース内に収容されると共に、その前板が、下端付近にて蹴込み部を備えている場合には、従来のキャビネットにおいて台輪に設けられていた蹴込み部が引出しに備えられるので、使用者がシステムキッチンを使用する際に、その足先をこの蹴込み部内に入れることにより、よりキャビネットに接近して、楽に料理等の作業を行なうことができ、引出しを引き出した状態で、区画板の点検口から配管スペース内の配管の接続部のメンテナンスを行なう際に、第二の収納スペースの前面が完全に開放するので、メンテナンス作業が容易に行なわれ得ることになる。
【0016】
【発明の実施の形態】
以下、この発明の好適な実施の形態を図1乃至図7を参照しながら、詳細に説明する。
尚、以下に述べる実施の形態は、本発明の好適な具体例であるから、技術的に好ましい種々の限定が付されているが、本発明は、以下の説明において特に本発明を限定する旨の記載がない限り、これらの態様に限られるものではない。
【0017】
図1は、本発明による厨房家具用キャビネットの一実施の形態を組み込んだシステムキッチンの構成を示している。
図1において、システムキッチン10は、シンクS,加熱調理器Gを組み込んだ天板Tを備えた長尺の複合調理家具Fとして構成されている。
【0018】
この複合調理家具Fを構成するベースキャビネットKは、底板,左右の側板及び背板により上面及び前面が開放した複数個(図示の場合、4個)の各種キャビネットを構成する箱体をI型に配置し連結することにより構成されており、これらのベースキャビネットKの上面を一つの共通の天板Tで覆うと共に、各箱体の前面を覆う前板を備えた引出しを複数段配置している。
尚、各箱体の側板の前面側の下部は、所謂蹴込み部の高さ及び奥行きに合わせて切除されている。
【0019】
ここで、複数個のキャビネットは、図示の場合、左側から順に、それぞれコンロ用キャビネット14,引出しキャビネット15,シンク用キャビネット16,調理台用キャビネット20である。
コンロ用キャビネット14は、上面にコンロ(加熱調理器G)を備えると共に、三段の引出し14a,14b,14cを備えており、最上段の引出し14aは、コンロ14dを避けて、幅が狭く形成されている。
引出しキャビネット15は、三段の引出し15a,15b,15cを備えている。
シンク用キャビネット16は、公知の構成であって、上面にシンクSを備えると共に、二段の引出し16a,16bを備えており、上段の引出し16aの前板は、シンクSの前端を隠すための補助幕板を兼ねている。
【0020】
これに対して、上記調理台用キャビネット20は、本発明を適用して構成されたものであって、図2に示すように、上部には、ビルトイン機器としての食器洗浄乾燥機Wが組み込まれている。
尚、食器洗浄乾燥機Wは、調理台用キャビネット20から手前に引き出した状態(図6参照)にて、上から食器を出し入れすることができるように構成されており、シンクSで洗浄した食器を食器洗浄乾燥機W内に出し入れする際に、適宜の高さに配設されている。
【0021】
ここで、上記調理台用キャビネット20は、図3乃至図5に示すように、構成されている。
図3乃至図5において、調理台用キャビネット20は、底板21,左右の側板22及び背板23から成る箱体24と、この箱体の中段に設けられた中底板25と、配管スペースを画成する区画板26とを含んでいる。
【0022】
上記中底板25は、その後端縁が、背板23の手前に位置するように配設されており、その上方に食器洗浄乾燥機Wの専用(第一の)収納スペース25aと、その下方に後述する引出しのための第二の収納スペース25bとを画成すると共に、その後端縁と背板23との間に間隙dを形成している。
【0023】
上記区画板26は、中底板25の後端から下方に延びることにより、その後方に配管スペース27を画成していると共に、開閉可能な点検口26aを備えている。
また、上記点検口26aは、図示の場合、蓋26bが着脱可能に螺着されることにより、通常は閉じられている。
【0024】
上記配管スペース27は、上記間隙dを介して、専用(第一の)収納スペース25aと連続するようになっていると共に、配管スペース27には、給水管27a及び排水管27b(図3参照)そして必要であれば電源コンセント(図示せず)が設けられており、それぞれ食器洗浄乾燥機Wの給水管W1,排水管W2及び電源コードW3が接続されるようになっている。
尚、図示の場合には、背板23の下部(中底板25より下方の部分)が切り欠かれており、厨房の壁面に設けられた電源コンセントを利用することも可能である。
【0025】
上記第二の収納スペース25bには、引出し28が前方に向かって引出し可能に収容されている。
引出し28は、図示の場合、所謂台輪の部分まで構成されており、その前板28aは、底板21に近い下部を凹状に形成することによって、所謂蹴込み部28bを備え、合成樹脂によって一体成形されている。これによって、第二の収納スペース25bほぼ全体を引出しとして構成している。
【0026】
ここで、引出し28は、規格品として構成されており、その前板28aの幅及び高さは一定である。
このため、引出し28の前板28aの上縁と中底板25の前縁との間の間隙を閉鎖するために、中底板25の前縁から下方に延びる化粧板29が設けられている。
この化粧板29は、上縁が、中底板25の前縁あるいはキャビネットに対して、着脱可能あるいは図7に示すように前方に向かって揺動可能に取り付けられている。
また、上方の第一の収納スペース25aに収納される食器洗浄乾燥機Wの作業性を良くすべく、食器洗浄乾燥機Wが小さい場合には、中底板25の位置を上方に取り付け、この化粧板29の大きさを大きいものと変えて使用することにより、規格品として構成された引出し28あるいは食器洗浄乾燥機を造り変えることなく使用できる。
【0027】
本発明の実施の形態によるシステムキッチン10は、以上のように構成されており、コンロ用キャビネット14,引出しキャビネット15,シンク用キャビネット16については、従来と同様に据付けられ使用される。
また、調理台用キャビネット20は、所定位置に配置された後に、引出し28を取り外すと共に、化粧板29が取り外され、または前に揺動した状態にて、さらに区画板26の蓋26bが取り外された状態で、専用(第一の)収納スペース25aに食器洗浄乾燥機Wが取り付けられる。その際、食器洗浄乾燥機Wの給水管W1,排水管W2及び電源コードW3が図3に示すように、配管スペース27内に露出している給水管27a,排水管27bそして図示しない電源コンセントに接続される。
このようにして、食器洗浄乾燥機Wの接続作業は、本調理台用キャビネット20内だけで行なわれることになり、容易に行なわれ得る。
その後、区画板26の蓋26bが点検口26aに取り付けられ、引出し28が第二の収納スペース25b内に装着されることにより、調理台用キャビネット20の据付けが完了する。
【0028】
このようにして据付けられた調理台用キャビネット20によれば、図6に示すように、食器洗浄乾燥機Wを引き出した状態にて、例えばシンクS内の食器が食器洗浄乾燥機W内に入れられ、また洗浄後の食器が食器洗浄乾燥機Wから取り出される。尚、食器洗浄及び乾燥は、食器洗浄乾燥機Wを図2に示すように収納した状態で行なわれる。
また、引出し28内への各種物品の出し入れは、図7に示すように、引出し28を引き出した状態で行なわれる。その際、化粧板29が手前に揺動されることにより、引出し28の内部への物品の出し入れが容易に行なわれ得る。
【0029】
さらに、配管スペース27における配管のメンテナンスを行なう場合には、先ず引出し28が取り外されると共に、化粧板29が取り外され、または手前に揺動され、さらに区画板26の蓋26bが取り外される。
この状態で、第二の収納スペース25bから点検口26aを介して、配管スペース27へのアクセスが行なわれ、配管のメンテナンス作業が行なわれる。この場合、第二の収納スペース25bは、所謂台輪に制限されることなく、また化粧板29が取り外され、または跳ね上げられた状態にあるので、点検口26aを介しての配管のメンテナンス作業が容易に行なわれ得る。
【0030】
尚、上述した実施の形態においては、専用(第一の)収納スペース25aには、引き出した状態上方が開放した所謂トップオープンタイプの食器洗浄乾燥機Wが収容されているが、これに限らず、他のタイプ、例えば扉タイプの食器洗浄乾燥機Wを収容してもよく、さらに食器洗浄乾燥機でなく他の食器乾燥庫,炊飯器等の電源を必要とする各種厨房機器を収容してもよい。
【0031】
【発明の効果】
以上述べたように、本発明による厨房家具用キャビネットによれば、配管スペースが、キャビネットの中底板の下方で且つ区画板の後方に画成されており、区画板に設けられた点検口から配管スペース内の配管の接続部のメンテナンスを行なうことができる。従って、区画板の前側に大きな収納スペースが確保され得ることになる。
また、配管スペースがキャビネットの後方に画成されていることから、配管の長さが比較的短くて済み、無駄な配管の引回しが不要になると共に、本キャビネット内において、給水管,排水管及び電源コンセントの接続を行なうことができるので、接続作業が容易に行なわれ得る。
そこで、食器洗浄乾燥機を組み入れる厨房家具用キャビネットに好適なものである。
【0032】
上記区画板の前方の第二の収納スペース内に収容されていて、前方に向かって引き出し可能な引出しを備えている場合には、比較的大きな第二の収納スペースを引出しスペースとして使用することができるので、引出しが比較的大型に構成され得る。従って、この引出しにより、比較的大容量の収納容積が確保され得ることになる。
【0033】
上記中底板の前縁から下方に延びて、引出しの前板との間の間隙を閉鎖する化粧板を備えている場合には、任意の高さに設計されるキャビネット高さに対して、規格サイズの引出しを使用することにより、中底板の前縁と引出しの前板の上縁との間の間隙が、この化粧板によって閉じられ、見栄えが向上し、また厨房用機器のための第一の収納スペースの大小に応じて、化粧板の大きさを変えることで対応でき、引出しを造り変える必要がない。
【0034】
上記化粧板が、中底板の前縁に対して着脱可能に、または揺動可能に取り付けられている場合には、引出しを引き出した状態で、区画板の点検口から配管スペース内の配管の接続部のメンテナンスを行なう際に、第二の収納スペースの前面が完全に開放するので、メンテナンス作業が容易に行なわれ得ることになる。
【0035】
上記引出しが、第二の収納スペース内に収容されると共に、その前板が、下端付近にて蹴込み部を備えている場合には、従来のキャビネットにおいて台輪に設けられていた蹴込み部が引出しに備えられるので、使用者がシステムキッチンを使用する際に、その足先をこの蹴込み部内に入れることにより、よりキャビネットに接近して、楽に料理等の作業を行なうことができ、引出しを引き出した状態で、区画板の点検口から配管スペース内の配管の接続部のメンテナンスを行なう際に、第二の収納スペースの前面が完全に開放するので、メンテナンス作業が容易に行なわれ得ることになる。
【0036】
かくして、本発明によれば、キャビネット下方に設けた引出しのスペースを大きく確保し、これによって配管連結の作業性を向上し、しかも食器洗浄乾燥機等の機器のための配管の長さをできるだけ短くするようにした、厨房家具用キャビネットが提供され得、また本発明は、機器の組み込みキャビネットでありながら、引出しのスペースを大きく確保することによって収納性を向上した厨房家具用キャビネットが提供され得る。
【図面の簡単な説明】
【図1】本発明による厨房家具用キャビネットの一実施の形態を組み込んだシステムキッチンの構成を示す斜視図である。
【図2】本発明による厨房家具用キャビネットの一実施の形態の構成を示す斜視図である。
【図3】図2の厨房家具用キャビネットの後方から見た概略斜視図である。
【図4】図3の厨房家具用キャビネットから食器洗浄乾燥機を外した状態を示す分解斜視図である。
【図5】図2の厨房家具用キャビネットの概略断面図である。
【図6】図2の厨房家具用キャビネットの食器洗浄乾燥機を引き出した状態を示す斜視図である。
【図7】図2の厨房家具用キャビネットの引出しを引き出した状態を示す斜視図である。
【図8】従来のシステムキッチンの一例の構成を示す概略正面図である。
【図9】従来のシステムキッチンにおける食器洗浄乾燥機用のキャビネットの構成例を示す概略断面図である。
【図10】図9のキャビネットにおける要部を示す正面図である。
【図11】図9のキャビネットにおける要部を示す断面図である。
【符号の説明】
10 システムキッチン
20 調理台用キャビネット(厨房家具用キャビネット)
21 底板
22 側板
23 背板
24 箱体
25 中底板
26 区画板
27 配管スペース
28 引出し
29 化粧板

Claims (7)

  1. 左右の側板,背板及び底板とから成る上方及び前方が開放した箱体と、
    上側に厨房用機器のための第一の収納スペース及び下側に第二の収納スペースを画成するように、この箱体の中段に設けられていて、その後端縁が背板の手前に位置する中底板と、
    中底板の後端にて第二の収納スペースを、その後方の第一の収納スペースに連続した配管スペースに対して閉塞する区画板とを含んでおり、
    上記区画板が、点検口を備えていることを特徴とする厨房家具用キャビネット。
  2. 厨房用機器を引き出し式の食器洗浄乾燥機としたことを特徴とする請求項1記載の厨房家具用キャビネット。
  3. 区画板の前方の第二の収納スペースほぼ全体が、前方に向かって引き出し可能な引出しによって構成されていることを特徴とする請求項1又は請求項2記載の厨房家具用キャビネット。
  4. 中底板の前縁から下方に延びて、引出しの前板との間の間隙を閉鎖する化粧板を備えていることを特徴とする請求項記載の厨房家具用キャビネット。
  5. 化粧板が、厨房家具用キャビネットに対して着脱可能に取り付けられていることを特徴とする請求項記載の厨房家具用キャビネット。
  6. 化粧板が、厨房家具用キャビネットに対して揺動可能に取り付けられていることを特徴とする請求項記載の厨房家具用キャビネット。
  7. 引出しが、第二の収納スペース内に収容されると共に、その前板が、下端付近にて蹴込み部を備えていることを特徴とする請求項2乃至6の何れかに記載の厨房家具用キャビネット。
JP18556499A 1999-06-30 1999-06-30 厨房家具用キャビネット Expired - Fee Related JP3554677B2 (ja)

Priority Applications (1)

Application Number Priority Date Filing Date Title
JP18556499A JP3554677B2 (ja) 1999-06-30 1999-06-30 厨房家具用キャビネット

Applications Claiming Priority (1)

Application Number Priority Date Filing Date Title
JP18556499A JP3554677B2 (ja) 1999-06-30 1999-06-30 厨房家具用キャビネット

Publications (2)

Publication Number Publication Date
JP2001008753A JP2001008753A (ja) 2001-01-16
JP3554677B2 true JP3554677B2 (ja) 2004-08-18

Family

ID=16173027

Family Applications (1)

Application Number Title Priority Date Filing Date
JP18556499A Expired - Fee Related JP3554677B2 (ja) 1999-06-30 1999-06-30 厨房家具用キャビネット

Country Status (1)

Country Link
JP (1) JP3554677B2 (ja)

Cited By (1)

* Cited by examiner, † Cited by third party
Publication number Priority date Publication date Assignee Title
CN107000871A (zh) * 2014-10-24 2017-08-01 米恰特克公司 用于将食品真空封装的具有可操作的盖的真空抽屉

Families Citing this family (6)

* Cited by examiner, † Cited by third party
Publication number Priority date Publication date Assignee Title
JP4655380B2 (ja) * 2001-02-20 2011-03-23 株式会社ノーリツ キャビネット
JP3778450B2 (ja) * 2004-08-05 2006-05-24 サンウエーブ工業株式会社 システムキッチン
JP2007075475A (ja) * 2005-09-16 2007-03-29 Yamaha Livingtec Corp 食器洗い機用キャビネットの配管構造
JP5118901B2 (ja) * 2007-06-28 2013-01-16 クリナップ株式会社 厨房家具
JP6732211B2 (ja) * 2016-06-15 2020-07-29 Toto株式会社 対面式システムキッチン
CN108552792A (zh) * 2018-05-02 2018-09-21 佛山市顺德区美的洗涤电器制造有限公司 厨房电器

Cited By (2)

* Cited by examiner, † Cited by third party
Publication number Priority date Publication date Assignee Title
CN107000871A (zh) * 2014-10-24 2017-08-01 米恰特克公司 用于将食品真空封装的具有可操作的盖的真空抽屉
CN107000871B (zh) * 2014-10-24 2019-05-31 米恰特克公司 用于将食品真空封装的具有可操作的盖的真空抽屉

Also Published As

Publication number Publication date
JP2001008753A (ja) 2001-01-16

Similar Documents

Publication Publication Date Title
JPS6254002B2 (ja)
JP3554677B2 (ja) 厨房家具用キャビネット
JP4974784B2 (ja) システムキッチン
JP2512245B2 (ja) アイランドキッチン
JP2023179663A (ja) 食卓付き調理台及び集合住宅の間取り構造
JPS6318484B2 (ja)
JPH018196Y2 (ja)
JP7603366B2 (ja) 室内の収納構造
JP2000236964A (ja) 厨房家具のキャビネット
JP4989131B2 (ja) 住宅設備
CN211943098U (zh) 一种拖挂式房车新结构洗衣机柜
JPH0410306Y2 (ja)
JP7547007B2 (ja) キッチン
JPH04281925A (ja) 調理台
JP2005152082A (ja) 厨房家具用配管キャビネット
JPH0576421A (ja) アイランドキツチン
JP2003310517A (ja) 厨房装置
KR950000274Y1 (ko) 식기건조기
JP2000308534A (ja) キッチンキャビネットの設置構造
JPH05146334A (ja) サブシンク
JPH0616729B2 (ja) 厨房設備
JPH0197731A (ja) 厨房設備
JP2538681Y2 (ja) 厨房装置
JP4993483B2 (ja) システムキッチン
JPH0350756Y2 (ja)

Legal Events

Date Code Title Description
TRDD Decision of grant or rejection written
A01 Written decision to grant a patent or to grant a registration (utility model)

Free format text: JAPANESE INTERMEDIATE CODE: A01

Effective date: 20040420

A61 First payment of annual fees (during grant procedure)

Free format text: JAPANESE INTERMEDIATE CODE: A61

Effective date: 20040510

R150 Certificate of patent or registration of utility model

Free format text: JAPANESE INTERMEDIATE CODE: R150

R250 Receipt of annual fees

Free format text: JAPANESE INTERMEDIATE CODE: R250

FPAY Renewal fee payment (event date is renewal date of database)

Free format text: PAYMENT UNTIL: 20100514

Year of fee payment: 6

FPAY Renewal fee payment (event date is renewal date of database)

Free format text: PAYMENT UNTIL: 20100514

Year of fee payment: 6

FPAY Renewal fee payment (event date is renewal date of database)

Free format text: PAYMENT UNTIL: 20110514

Year of fee payment: 7

FPAY Renewal fee payment (event date is renewal date of database)

Free format text: PAYMENT UNTIL: 20120514

Year of fee payment: 8

LAPS Cancellation because of no payment of annual fees