JP2019203323A - 天井下地材の支持構造 - Google Patents

天井下地材の支持構造 Download PDF

Info

Publication number
JP2019203323A
JP2019203323A JP2018099460A JP2018099460A JP2019203323A JP 2019203323 A JP2019203323 A JP 2019203323A JP 2018099460 A JP2018099460 A JP 2018099460A JP 2018099460 A JP2018099460 A JP 2018099460A JP 2019203323 A JP2019203323 A JP 2019203323A
Authority
JP
Japan
Prior art keywords
plate portion
base material
side plate
angle
ceiling
Prior art date
Legal status (The legal status is an assumption and is not a legal conclusion. Google has not performed a legal analysis and makes no representation as to the accuracy of the status listed.)
Granted
Application number
JP2018099460A
Other languages
English (en)
Other versions
JP7128658B2 (ja
Inventor
達也 斎藤
Tatsuya Saito
達也 斎藤
貴浩 金井
Takahiro Kanai
貴浩 金井
Current Assignee (The listed assignees may be inaccurate. Google has not performed a legal analysis and makes no representation or warranty as to the accuracy of the list.)
Sanyo Industries Ltd
Original Assignee
Sanyo Industries Ltd
Priority date (The priority date is an assumption and is not a legal conclusion. Google has not performed a legal analysis and makes no representation as to the accuracy of the date listed.)
Filing date
Publication date
Application filed by Sanyo Industries Ltd filed Critical Sanyo Industries Ltd
Priority to JP2018099460A priority Critical patent/JP7128658B2/ja
Publication of JP2019203323A publication Critical patent/JP2019203323A/ja
Application granted granted Critical
Publication of JP7128658B2 publication Critical patent/JP7128658B2/ja
Active legal-status Critical Current
Anticipated expiration legal-status Critical

Links

Images

Landscapes

  • Floor Finish (AREA)
  • Finishing Walls (AREA)
  • Building Environments (AREA)

Abstract

【課題】 天井下地を構築する天井下地材の支持構造に関し、簡単な構造で耐振及び防振効果が十分に得られ、しかも施工性にも優れた天井下地材の支持構造を提供することを目的とする。【解決手段】 天井下地材8を壁際で弾性保持する下地材保持部材2を用いた天井下地材の支持構造であって、下地材保持部材は、上板部44、壁面部34に固定される固定部42、上板部44の他端部から90度±10度の範囲に屈曲形成された側板部46、及び下板部48を有し、側板部46と下板部48とがなす角度及び側板部46と上板部44とがなす角度が、弾性を維持した状態で拡縮可能に変化できるように構成し、天井下地材8の一部を上記下板部48の上部に載せ、下板部48と天井下地材8とを止着具36を用いて固定し、天井下地材8の横揺れに対して、各角度が変化し、下地材保持部材により天井下地材8の横揺れを弾性保持する構成である。【選択図】 図1

Description

本発明は、天井下地を構築する天井下地材の支持構造に関する。
従来、建物の天井では、天井下地材としてハンガーに野縁受けを吊り、クリップを用いて野縁材を配置する天井構造等が知られている。
例えば特許文献1の野縁構造は、図9に示すように、対向する壁部80に長尺状の下地材82を取り付け、該下地材82の室内側に壁際野縁84を取り付け、該壁際野縁84間に複数の野縁86を該壁際野縁84に対して直角に架設し、上記壁際野縁84の表面及び野縁86の端面との間に防振パッキン88を介在させるもので、これにより上階からの振動を下階に伝えにくい天井構造が実現できるというものである。
また特許文献2に記載の鋼製天井の吊り構造は、壁の上部に木製の壁際野縁を水平方向に延在して固定し、この壁際野縁の側面に、開口部を室内側に向けたランナーを固定させ、さらにランナーに鋼製野縁の端部を差し込み、この鋼製野縁と他の鋼製野縁の上部に、これらに対して直交して鋼製野縁受けを連結し、鋼製野縁受けは木製の吊り木にハンガー部材を介して吊り下げ支持され、これにより鋼製野縁受けと木製の吊り木の連結作業を簡単に行うことができるというものである。
特開平10−96292号公報 特開2001−262766号公報
さて、上記特許文献1の野縁構造は、防振パッキン88を用いて防振する構造であるため、この防振パッキン88の配置及び野縁86の端部の形状等に配慮が必要で手間を要するという問題がある。また、特許文献2の鋼製天井の吊り構造は、木製の壁際野縁にランナーを介して鋼製野縁の端部を当てた構成であるため、鋼製野縁からの振動を十分に防げないという問題がある。
本発明は上記問題点を解決するためになされたものであり、簡単な構造で耐振及び防振効果が十分に得られ、しかも施工性にも優れた天井下地材の支持構造を提供することを目的とする。
以上の技術的課題を解決するため、本発明は図1、3等に示すように、建物の壁面部34に取付けて使用され、天井下地材8を壁際で弾性保持する下地材保持部材2(52)を用いた天井下地材の支持構造であって、上記下地材保持部材は、上板部44、この上板部44の一端部に設けられ上記壁面部34に固定される固定部42、上記上板部44の他端部から90度±10度の範囲に屈曲形成された側板部46、及びこの側板部の下端部から上記上板部44とは反対向きに屈曲形成された下板部48を有し、上記固定部42を上記壁面部34に固定し、上記上板部44と上記下板部48とを互いに平行に保持した状態で、上記側板部46と上記下板部48とがなす角度(θ1)及び上記側板部46と上記上板部44とがなす角度(θ2)が、弾性を維持した状態で拡縮可能に変化できるように構成し、上記天井下地材8の一部を上記下板部48の上部に載せ、上記側板部46との間に間隙(S)を設け、又は隙間を設けないで配置し、当該下板部48と上記天井下地材8とを止着具36を用いて固定し、上記天井下地材8の横揺れに対して、上記各角度が変化し、上記下地材保持部材により上記天井下地材8の横揺れを弾性保持する構成である。
また、本発明に係る天井下地材の支持構造は、断面逆U字状の際架材を用い、この際架材の上板部、一方の側板部及び他方の側板部を、それぞれ上記下地材保持部材の上板部、固定部、及び側板部の一部として構成し、断面コの字状のランナー材を用い、このランナー材の下板部及び側板部の一部を、それぞれ上記下地材保持部材の下板部、及び側板部の一部として構成し、上記際架材の側板部と上記ランナー材の側板部とを重ね合わせ、止着具を用いて両者を固着して上記下地材保持部材の側板部を形成した構成である。
本発明に係る天井下地材の支持構造は、断面Z字状の横架材を用い、この横架材の上板部の一部、側板部及び下板部を、それぞれ上記下地材保持部材の上板部の一部、側板部及び下板部として構成し、断面L字状のアングル材を用い、このアングル材の縦板部及び横板部の一部を、それぞれ上記下地材保持部材の固定部及び上板部の一部として構成し、上記横架材の上板部の一部と上記アングル材の上板部の一部とを重ね合わせ、止着具を用いて両者を固着して上記下地材保持部材の上板部を形成した構成である。
本発明に係る天井下地材の支持構造は、上記際架材及び上記横架材を、それぞれ板厚が0.3mm〜1.2mm、好ましくは板厚が0.4mm〜0.8mmの薄板軽量鋼板を屈曲成形して形成した構成である。
本発明に係る天井下地材の支持構造は、上記天井下地材を野縁材とした構成である。
本発明に係る天井下地材の支持構造によれば、下地材保持部材は、上板部、固定部、側板部、及び下板部を有し、固定部を壁面部に固定し、側板部と下板部とがなす角度及び側板部と上板部とがなす角度が、弾性を維持した状態で拡縮可能に変化できるように構成し、下板部と天井下地材とを止着具を用いて固定し、天井下地材の横揺れに対して、下地材保持部材により天井下地材の横揺れを弾性保持する構成としたから、地震等による天井下地材の横揺れを効果的に弾性保持でき、簡単な構造で横揺れに対する耐振及び防振効果が十分に発揮され、しかも施工性にも優れまた部品点数も少なく経済性にも優れるという効果を奏する。
第一の実施の形態に係り、天井下地材の支持構造を示す図である。 際架材が弾性変形する状態を示す図である。 第一の実施の形態に係る下地保持部材を示す図である。 第一の実施の形態に係り、下地保持材の変化を示す図で、(a)は正常時の状態、(b)は野縁材から壁面部方向への力が作用したときの状態、(c)は野縁材から壁面部から離れる方向への力が作用したときの状態を示す。 第二の実施の形態に係り、天井下地材の支持構造を示す図である。 第二の実施の形態に係る下地保持部材を示す図である。 第二の実施の形態に係り、下地保持材の変化を示す図で、(a)は正常時の状態、(b)は野縁材から壁面部方向への力が作用したときの状態、(c)は野縁材から壁面部から離れる方向への力が作用したときの状態を示す。 第二の実施の他の形態に係り、(a)天井下地の支持横造(隙間Sを設けた形態)を示す図であり、(b)天井下地の支持構造(隙間Sを設けない形態)である。 従来例に係る野縁構造を示す図である。
以下、本発明の実施の形態を図面に基づいて説明する。
図1は、第一の実施の形態に係る天井下地材の支持構造を示したものである。
この天井下地材の支持構造では、下地材保持部材2が用いられ、この下地材保持部材2は、ここでは際架材4及びランナー材6を組み合わせて構成する。
また、天井下地材8としてここでは野縁材8を用いる。この野縁材8の下部に、天井板材10を取り付けて天井を構築する。
上記際架材4は、平坦な上板部12、この上板部12の一端部から下方に向けて固定部14が形成され、また他端部から下方に向けて側板部16(一部)が形成された断面逆U字状の長尺材である。ここで、上記上板部12と側板部16とがなす角度は90度(直角)であり、また上板部12と板状の固定部14とがなす角度も90度である。また、上記上板部12には、小さな波形(断面)の凸凹が形成されている。
上記ランナー材6は、側板部18(一部)、この側板部18の上端部から横向きに上面部20が形成され、側板部18の下端部から下板部22が横向きに屈曲形成された断面コの字状の長尺材である。上記下板部22と側板部18とがなす角度は90度(直角)であり、また側板部18と上面部20とがなす角度も90度である。
上記際架材4及びランナー材6は、何れも薄板軽量鋼板を屈曲成形したものである。
上記野縁材8としては、ここでは底面部26、両側面部28,28及び上面部30を有する断面ロの字状の角鋼材を用いており、他には断面U字状の長尺鋼材が用いられる。この野縁材8は、薄板軽量鋼板を屈曲成形したものである。
上記天井板材10は、石膏ボード等のボード材、岩綿吸音板等の仕上げ材等からなる板材である。
上記薄板軽量鋼板は、板厚が0.3mm〜1.2mm、好ましくは0.4mm〜0.8mmである。これにより、薄板軽量鋼板は弾性及び可撓性を有するものとなる。
このため、図2に示すように、鋼板を屈曲成形した際架材4の角部は、横からの外力により通常90°の角度が、90°以上の鈍角或いは90度以下の鋭角に弾性変形し、外力が無くなると通常の角度(90度)に弾性復帰する。
また、鋼板を屈曲成形したランナー材6の角部についても、外力により通常90°の角度が、90°以上或いは90度以下に弾性変形し、外力が無くなると通常の角度(90度)に弾性復帰する。
さて、上記野縁材8が配置される天井下地は、例えば、天井より吊り下げられたハンガーにより野縁受け材を保持し、各野縁受け材を所定の間隔を隔てて水平方向に配置し、上記野縁受け材の下部に、野縁受け材と交差(直交)させて野縁材8を配置し、クリップ等を用いて野縁受け材の下部に野縁材8を接続する構造がある。
なお、ここでは天井下地材8として野縁材8を適用しているが、天井下地材8として他に野縁受け材等、天井下地に用いられる横材を適用することも可能である。
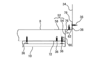
ここで、上記野縁材8の端部が対向する壁面部34に、下地材保持部材2としての際架材4及びランナー材6を取り付ける。先ず、際架材4を水平向きに配置し、止着具36を用いて際架材4の固定部14を壁面部34に固定する。
止着具36としてはネジ、セルフドリリングネジ或いはボルト等が用いられる。
さらに、際架材4の側板部16の横に、これと平行してランナー材6の側板部18を配置する。この際、際架材4の側板部16の全体が、ランナー材6の側板部18の全体と略重合する状態で、両者を合わせる。
このように、際架材4の側板部16とランナー材6の側板部18同士を、止着具36を用いて固着し、下地材保持部材2を組み立てる。そして、左右の天井の際の各壁面部34に下地材保持部材2を配置する。
このように、際架材4の側板部16とランナー材6の側板部18同士を、止着具36を用いて固着し、下地材保持部材2を組み立てる。
そして、図3に示すように下地材保持部材2の各部位を、固定部42(際架材4の固定部14)、上板部44(際架材4の上板部12)、側板部46(際架材4の側板部16及びランナー材6の側板部18)、及び下板部48(ランナー材6の下板部22)から構成する。
ここで、固定部14を壁面部34に固定した状態で、下板部22と側板部46とがなす角部の角度(θ1)、及び側板部46と上板部12とがなす角部の角度(θ2)は、上記下板部22と上板部12とが平行状態を維持するため同一の角度(θ=θ1=θ2)であり、外力が無い場合には90度(直角)である。
そして、下地材保持部材2の下板部22に野縁材8の端部を固定し、この野縁材8の左右の揺れを下地材保持部材2に順応させ弾性吸収する。このため、下板部22に固定した野縁材8から横方向の作用(力)が加わった場合、下板材22の左右移動に伴い、下地材保持部材2を形成する鋼板の弾性力により上記角度(θ、θ1、θ2)は拡大し、或いは縮小する。
上記下地材保持部材2において、平常時(横揺れ等の外力の作用がないとき)の上記角度(θ)は、ここでは90度としているが、これは90度の場合が最も角度(θ)の拡大縮小の範囲が大きく確保できるためである。上記平常時の角度(θ)を、90度よりも大きな鈍角、或いは90度よりも小さな鋭角に設定することも可能である。この場合、設定した角度(θ)を基準に、これが拡大し或いは縮小する。
但し、上記角度(θ)の拡大縮小の範囲を考慮した場合、実用的には、上記平常時の角度(θ)は90度±10度の範囲内が適当である。
通常、下地材保持部材2は、野縁材8が壁面部34方向へ移動する揺れに対しては、上記角度(θ)が縮小し、野縁材8の壁面部34とは反対方向へ移動する揺れに対して上記角度(θ)は拡大する。このように、下地材保持部材2は、上記角度(θ)の変化とともに野縁材8の横方向の揺れを弾性保持する。また、野縁材8がもとの平常時の位置に復帰したときには、上記角度(θ)も90度に弾性復帰する。
そして、図4(a)に示すように、下地材保持部材2では、野縁材8が壁面部34方向へ移動する揺れを考慮して、側板部46との間に所定の間隙(S)を設けて、下板部22の上部に野縁材8の端部9を配置する。
上記側板部46と野縁材8との間の間隙(S)の大きさは、自由に設定可能である。野縁材8が側板部46と反対方向へ移動する場合には、上記隙間(S)の大きさとは関係なく、上記角度(θ)が拡大して弾性保持可能である。
しかし、上記間隙(S)が狭い場合、或いは間隙(S)を設けない場合には、野縁材8が側板部46方向へ移動した場合、この野縁材8の端部9の上部が側板部46の上部近傍に当たるケースが考えられる。ここで、間隙(S)を設けない場合とは、上記平常時の角度(θ)にもよるが、野縁材8の一部が側板部46に当接し野縁材8が壁面部34方向に移動できない場合をさす。
これとは逆に、上記間隙(S)を大きくした場合、野縁材8の大きな揺れ(横移動)に順応可能であり弾性保持が可能である。
したがって、断面ロ字状或いは溝状の野縁材8を用いる場合には、地震等による最大揺れによる移動範囲を予め予測し、これに基づいて上記間隙(S)の大きさを設定するのが実用的である。
尚、上記野縁材8の端部9が側板部46の上部に当たる場合(間隙(S)を設けない場合等)であっても、下地材保持部材2の上板部12の可撓性を利用すれば、この撓みの範囲で野縁材8が側板部46方向へ移動することができ、弾性保持が可能となる。
他に、野縁材8の端部9を斜めに(下部を鋭角状に)カットしたものを用いた場合には、野縁材8の端部上部が側板部46の上部近傍に当たる虞が軽減され、野縁材8の横揺れに十分順応し弾性保持が可能である。
図4(a)(b)(c)は、外力に応じ、下地材保持部材2を構成する際架材4、ランナー材6及び野縁材8の相互の状態を示したものである。通常、野縁材8の下部には止着具36等を用いて天井板材10が取り付けられ、天井が構築されている。
図4(a)は、平常時など野縁材8からの力(横振動)が加わらない状態を示したものである。ここで、地震その他の原因で天井の天井板材10等が揺れて横振動が発生し、これに伴い野縁材8(長尺方向)から壁面部34方向の力が作用すると、この力(図中左向き)は野縁材8の端部9からランナー材6の下板部22に加わる。
すると、同図(b)に示すように、ランナー材6の下板部22には、壁面部34に向けた力が作用する。これと同時に、下板部22から側板部18(46)にも同様の力が作用し、ランナー材6の弾性により下板部22に対する側板部18(46)の角度(θ1)が縮小し、鋭角に屈曲する。
また同時に、際架材4の側板部16(46)の上部は上板部12によって移動が阻まれるため、際架材4の弾性により側板部16(46)は上板部12に対して、角度(θ2)が鋭角になる状態に屈曲する。ここで、下板部22と上板部12とは互いに平行であるため、角度(θ1)と角度(θ2)とは同じ(θ1=θ2=θ)である。
なお、この際、ランナー材6の上面部20は、野縁材8の上面部30に当接した状態となり、このまま側板部46(18)の角度が変化するため、角部の角度(δ)は拡大し鈍角に屈曲する。
したがって、野縁材8からの力(横振動)の作用は、ランナー材6及び際架材4の各角部を弾性屈曲させ、上記角度(θ)が縮小(鋭角)して野縁材8(及び天井板材10)が壁面部34の方向へ移動し、野縁材8を弾性保持する。
上記野縁材8が元の位置に復帰し、野縁材8からの力の作用が無くなると、ランナー材6及び際架材4の各角部の上記角度(θ)は、元の90度(直角)の状態に弾性復帰する。
次に、天井が揺れて横振動が発生し、今度は逆に、野縁材8が壁面部34から離れる方向の力が作用すると、この力(図中右向き)は野縁材8の端部9からランナー材6の下板部22に加わる。
すると、図4(c)に示すように、ランナー材6の下板部22は、壁面部34から離れる向きに力が作用する。これと同時に、下板部22から側板部18(46)にも同様の力が作用し、ランナー材6の弾性により下板部22に対する側板部18(46)の角度(θ1)が拡大し、鈍角に屈曲する。
また同時に、際架材4の側板部16(46)の上部は上板部12によって移動が阻まれるため、際架材4の弾性により側板部16(46)は上板部12に対して、角度(θ2)が鈍角になる状態に屈曲する。ここで、下板部22と上板部12とは互いに平行であるため、角度(θ1)と角度(θ2)とは同じ角度(θ1=θ2=θ)である。
なお、この際、ランナー材6の上面部20はフリーの状態であるため、角部の角度(δ)は90度のまま変わらない。
このように、横振動による野縁材8からの力の作用は、ランナー材6及び際架材4の各角部を弾性屈曲させ、上記角度(θ)が拡大(鈍角)して野縁材8が壁面部34から離れる方向へ移動し、野縁材8を弾性保持する。
上記野縁材8が元の位置に復帰し、野縁材8からの力の作用が無くなると、ランナー材6及び際架材4の各角部の上記角度(θ)は、元の90度の状態に弾性復帰する。
従って、上記第一の実施の形態によれば、地震等による天井下地材の横揺れを効果的に弾性保持でき、簡単な構造で耐振及び防振効果が十分に発揮され、しかも施工性にも優れまた部品点数も少なく経済性にも優れるという効果がある。
次に、第二の実施の形態について説明する。
尚ここでは、上記第一の実施の形態と同一の部材等は、特に説明のない限り構成及び効果等については同様であり、また同一の符号を付してここでの詳細な説明は省略する。
図5は、第二の実施の形態に係る天井下地材の支持構造を示したものである。
この天井下地材の支持構造では、下地材保持部材52が用いられ、この下地材保持部材52は、ここでは横架材54、及びL型のアングル材56を組み合わせて構成する。
また、ここでは天井下地材として野縁材8を用いる。この野縁材8の下部に、止着具36等を用いて天井板材10を取り付けて天井を構築する。
上記横架材54は、平坦な上板部62、この上板部62の一端部から下方に向けて側板部66が形成され、この側板部66から横方向(上板部62と反対向き)に向けて下板部72が形成された断面Z字状の長尺材である。ここで、上板部62と下板部72とは互いに平行である。また、上板部62と側板部66とがなす角度は90度(直角)であり、側板部66と下板部72とがなす角度も90度である。
上記アングル材56は、平坦な横板部76及びこの横板部76から上方に向け直角に屈強した縦板状の縦板部78が形成された断面L字状の長尺材である。
上記横架材54及びアングル材56は、何れも薄板軽量鋼板を屈曲成形したものである。
この薄板軽量鋼板は、板厚が0.3mm〜1.2mm、好ましくは0.4mm〜0.8mmである。これにより、薄板軽量鋼板は可撓性及び弾性を有するものとなる。
ここで、野縁材8の端部が対向する壁面部34に、下地材保持部材52としての横架材54及びアングル材56を取り付ける。先ず、アングル材56を水平向きに配置し、横板部76を水平にして縦板部78を壁面部34に押し当て、止着具36を用いて縦板部78を壁面部34に固定する。
さらに、アングル材56の下部に横架材54を配置し、この横架材54の上板部62の先端部を壁面部34に当てておく。そして、横架材54の上板部62をアングル材56の横板部76の下部に重ね、下から止着具36(セルフドリリングネジ等)を用いて両者を固着する。なお、予め止着具36を用いてアングル材56に横架材54を固着しておき、この状態でアングル材56を壁面部34に固定することとしても良い。
このように、アングル材56と横架材54同士を、止着具36を用いて固着し、下地材保持部材52を組み立てる。
そして、図6に示すように下地材保持部材52の各部位を、固定部42(アングル材56の縦板部78)、上板部44(横架材54の上板部62の一部、アングル材56の横板部76の一部)、側板部46(横架材54の側板部66)、及び下板部48(横架材54の下板部72)から構成する。
ここで、縦板部78を壁面部34に固定した状態で、下板部72と側板部66とがなす角部の角度(θ1)、及び側板部66と上板部62とがなす角部の角度(θ2)は、同一の角度(θ=θ1=θ2)であり、外力が無い場合には90度(直角)である。
そして、下地材保持部材52の下板部48に野縁材8の端部を固定し、この野縁材8の左右の揺れを下地材保持部材52に順応させ、弾性吸収する。このため、下板部72に固定した野縁材8から横方向の作用(力)が加わった場合、下板部72の左右移動に伴い、下地材保持部材52を形成する鋼板の弾性力により上記角度(θ1、θ2)は拡大し、或いは縮小する。
平常時の上記角度(θ)は、ここでは90度としているが、これは角度(θ)の拡大縮小の範囲を考慮した場合、実用的には、上記角度(θ)は90度±10度の範囲内が適当である。
尚、上記横架材54は、特に角度(θ)が鋭角に屈曲した場合、上板部62(側板部66間の角部近傍)が下方に撓む可能性がある。このため、上板部62の下部に補強板材55を配置し、上板部62の撓みを緩和するようにしても良い。この補強板材55は、止着部36を用いて上板部62と共にアングル材56の横板部76に固定する。
そして、図7に示すように、下地材保持部材52では、野縁材8が壁面部34方向へ移動する揺れを考慮して、側板部46(66)との間に所定の間隙(S)を設けて、下板部72の上部に野縁材8の端部9を配置する。
上記側板部46(66)と野縁材8との間の間隙(S)の大きさは、自由に設定可能である。野縁材8の最大揺れによる移動範囲を予測し、これに基づいて上記間隙(S)の大きさを設定するのが実用的である。
尚、上記間隙(S)を設けない構成も可能であるが、この場合、野縁材8の側板部66(46)方向への移動はできない。しかし、この場合であっても、下地材保持部材52の上板部62(44)の可撓性を利用すれば、この撓みの範囲で野縁材8が側板部66(46)方向へ移動することができ、弾性保持が可能となる。
図7(a)(b)(c)は、外力に応じ、下地材保持部材52を構成する横架材54、アングル材56及び野縁材8の相互の状態を示したものである。通常、野縁材8の下部には天井板材10が取り付けられ、天井が構築されている。
図7(a)は、平常時など野縁材8からの力(横振動)が加わらない状態を示したものである。ここで、地震その他の原因で天井が揺れ、横振動が発生して野縁材8から壁面部34方向の力が作用すると、この力(図中右向き)は野縁材8の端部9から横架材54の下板部72に加わる。
すると、同図(b)に示すように、横架材54の下板部72には、壁面部34に向けた力が作用し、同時に、横架材54の弾性により下板部72に対する側板部66(46)の角度(θ1)が縮小し、鋭角に屈曲する。また同時に、側板部66(46)の上部は、横架材54の弾性により側板部66は上板部62に対して、角度(θ2)が縮小し鋭角に屈曲する。ここで、下板部72と上板部62とは互いに平行であるため、角度(θ1)と角度(θ2)とは同じ(θ1=θ2=θ)である。
したがって、野縁材8からの力(横振動)の作用は、横架材54の各角部を弾性屈曲させ、上記角度(θ)が縮小(鋭角)して野縁材8(及び天井板材10)が壁面部34の方向へ移動し、野縁材8を弾性保持する。上記野縁材8が元の位置に復帰すると、横架材54の各角部の上記角度(θ)は、元の90度(直角)の状態に弾性復帰する。
次に、天井が揺れて横振動が発生し、今度は逆に、野縁材8が壁面部34から離れる方向の力が作用すると、この力(図中左向き)は野縁材8の端部9から横架材54の下板部72に加わる。
すると、図7(c)に示すように、横架材54の下板部72は、壁面部34から離れる向きに力が作用し、横架材54の弾性により下板部72に対する側板部66(46)の角度(θ1)が拡大し、鈍角に屈曲する。
また同時に、横架材54の側板部66(46)の上部は、横架材54の弾性により側板部66(46)は上板部62に対して、角度(θ2)が鈍角になる状態に屈曲する。ここで、上記角度(θ1)と角度(θ2)とは同じ角度(θ1=θ2=θ)である。
このように、横振動による野縁材8からの力の作用は、横架材54の各角部を弾性屈曲させ、上記角度(θ)が拡大(鈍角)して野縁材8が壁面部34から離れる方向へ移動し、野縁材8を弾性保持する。
上記野縁材8が元の状態に復帰すると、横架材54の各角部の上記角度(θ)は、元の90度の状態に弾性復帰する。
従って、上記第二の実施の形態によれば、第一の実施の形態と同様に、地震等による天井下地材の横揺れを効果的に弾性保持でき、簡単な構造で耐振及び防振効果が十分に発揮され、しかも施工性にも優れまた部品点数も少なく経済性にも優れるという効果がある。
次に、第二の実施の他の形態について説明する。
図8(a)は、他の形態に係る天井下地材の支持構造を示したものである。
尚ここでは、上記第二の実施の形態と同一の部材等は、特に説明のない限り構成及び効果等については同様であり、また同一の符号を付してここでの詳細な説明は省略する。
この天井下地材の支持構造では、第二の実施の形態と同様に下地材保持部材52が用いられ、この下地材保持部材52は、横架材54及びL型のアングル材56を組み合わせて構成する。なお、横架材54の上板部62とアングル材56の横板部76とは、予め溶着等により両者(一部)が固着されたものを使用してもよい。
ここでは、野縁材8を壁面部34と平行に配置し、この状態で下地材保持部材52の下板部72に野縁材8を配置する。そして、野縁材8が壁面部34方向へ移動する揺れを考慮して、野縁材8の側面部28と下地材保持部材52の側板部66との間に間隙(S)を設けて、野縁材8を配置する。なお、この場合、野縁材8の側面部28が壁面部34方向或いは壁面部34から離れる方向へ移動することになるが、これは、野縁材8に取り付けた天井板材10の横揺れが野縁材8に伝わり、これにより野縁材8が移動する場合等がある。
この場合、野縁材8からの力の作用に対する下地材保持部材52の動作は、上記第二の実施の形態と同様であり、横架材54の各角部を弾性屈曲させ、角度(θ=θ1=θ2)が拡大或いは縮小して野縁材8(及び天井板材10)が壁面部34方向或いは壁面部34から離れる方向へ移動し、野縁材8を弾性保持する。
図8(b)は、野縁材8の側面部28を下地材保持部材52の側板部66に当接させ、上記間隙(S)を設けない形態を示したものである。
この場合、横揺れにより野縁材8から壁面部34方向への力が作用すると、野縁材8の側面部28は下地材保持部材52の側板部66に当たった状態のままとなるが、上板部62の可撓性により、この上板部62が撓む範囲で野縁材8が壁面部34方向へ移動することができ、弾性保持が可能となる。
また、野縁材8が壁面部34から離れる方向への力が作用した場合、下地材保持部材52は各角部が弾性屈曲し、角度(θ=θ1=θ2)が拡大(鈍角)して野縁材8が壁面部34から離れる方向へ移動し、野縁材8を弾性保持する。
従って、この他の形態においても、上記第二の実施の形態と同様、横揺れに対する耐振及び防振効果が十分に発揮され、また施工性にも優れるという効果がある。
2、52 下地材保持部材
4 際架材
6 ランナー材
8 天井下地材(野縁材)
10 天井板材
34 壁面部
36 止着具
42(14、78) 固定部
44(12、62) 上板部
46(16,18,66) 側板部
48 (22,62) 下板部
54 横架材
56 アングル材

Claims (5)

  1. 建物の壁面部に取付けて使用され、天井下地材を壁際で弾性保持する下地材保持部材を用いた天井下地材の支持構造であって、
    上記下地材保持部材は、
    上板部、この上板部の一端部に設けられ上記壁面部に固定される固定部、上記上板部の他端部から90度±10度の範囲に屈曲形成された側板部、及びこの側板部の下端部から上記上板部とは反対向きに屈曲形成された下板部を有し、
    上記固定部を上記壁面部に固定し、上記上板部と上記下板部とを互いに平行に保持した状態で、上記側板部と上記下板部とがなす角度及び上記側板部と上記上板部とがなす角度が、弾性を維持した状態で拡縮可能に変化できるように構成し、
    上記天井下地材の一部を上記下板部の上部に載せ、上記側板部との間に間隙を設け、又は隙間を設けないで配置し、当該下板部と上記天井下地材とを止着具を用いて固定し、
    上記天井下地材の横揺れに対して、上記各角度が変化し、上記下地材保持部材により上記天井下地材の横揺れを弾性保持することを特徴とする天井下地材の支持構造。
  2. 断面逆U字状の際架材を用い、この際架材の上板部、一方の側板部及び他方の側板部を、それぞれ上記下地材保持部材の上板部、固定部、及び側板部の一部として構成し、
    断面コの字状のランナー材を用い、このランナー材の下板部及び側板部の一部を、それぞれ上記下地材保持部材の下板部、及び側板部の一部として構成し、
    上記際架材の側板部と上記ランナー材の側板部とを重ね合わせ、止着具を用いて両者を固着して上記下地材保持部材の側板部を形成したことを特徴とする請求項1記載の天井下地材の支持構造。
  3. 断面Z字状の横架材を用い、この横架材の上板部の一部、側板部及び下板部を、それぞれ上記下地材保持部材の上板部の一部、側板部及び下板部として構成し、
    断面L字状のアングル材を用い、このアングル材の縦板部及び横板部の一部を、それぞれ上記下地材保持部材の固定部及び上板部の一部として構成し、
    上記横架材の上板部の一部と上記アングル材の上板部の一部とを重ね合わせ、止着具を用いて両者を固着して上記下地材保持部材の上板部を形成したことを特徴とする請求項1記載の天井下地材の支持構造。
  4. 上記際架材及び上記横架材を、それぞれ板厚が0.3mm〜1.2mm、好ましくは板厚が0.4mm〜0.8mmの薄板軽量鋼板を屈曲成形して形成したことを特徴とする請求項2又は3に記載の天井下地材の支持構造。
  5. 上記天井下地材を野縁材としたことを特徴とする請求項1乃至4の何れかに記載の天井下地材の支持構造。
JP2018099460A 2018-05-24 2018-05-24 天井下地材の支持構造 Active JP7128658B2 (ja)

Priority Applications (1)

Application Number Priority Date Filing Date Title
JP2018099460A JP7128658B2 (ja) 2018-05-24 2018-05-24 天井下地材の支持構造

Applications Claiming Priority (1)

Application Number Priority Date Filing Date Title
JP2018099460A JP7128658B2 (ja) 2018-05-24 2018-05-24 天井下地材の支持構造

Publications (2)

Publication Number Publication Date
JP2019203323A true JP2019203323A (ja) 2019-11-28
JP7128658B2 JP7128658B2 (ja) 2022-08-31

Family

ID=68726324

Family Applications (1)

Application Number Title Priority Date Filing Date
JP2018099460A Active JP7128658B2 (ja) 2018-05-24 2018-05-24 天井下地材の支持構造

Country Status (1)

Country Link
JP (1) JP7128658B2 (ja)

Cited By (4)

* Cited by examiner, † Cited by third party
Publication number Priority date Publication date Assignee Title
CN114961081A (zh) * 2022-06-28 2022-08-30 北京金晟源建筑工程有限公司 一种吊顶端部与墙体转角处装饰节点结构
CN115370062A (zh) * 2022-08-29 2022-11-22 深圳市建筑装饰(集团)有限公司 一种模块化建筑装饰用的装配装置
JP7368574B1 (ja) 2022-09-28 2023-10-24 大建工業株式会社 天井構造
JP7671033B2 (ja) 2020-10-07 2025-05-01 株式会社ラ・ポルタ 不燃性磁着パネルの製造方法

Citations (5)

* Cited by examiner, † Cited by third party
Publication number Priority date Publication date Assignee Title
JPS61103289U (ja) * 1984-12-12 1986-07-01
JPH0649944A (ja) * 1992-06-18 1994-02-22 Misawa Homes Co Ltd 天井パネル
JPH09228543A (ja) * 1996-02-21 1997-09-02 Sekisui House Ltd 吹抜部の天井構造
JP2002167897A (ja) * 2000-11-29 2002-06-11 Matsushita Electric Works Ltd 天井構造
JP2012136833A (ja) * 2010-12-24 2012-07-19 Sanyuu:Kk ランナ野縁

Patent Citations (5)

* Cited by examiner, † Cited by third party
Publication number Priority date Publication date Assignee Title
JPS61103289U (ja) * 1984-12-12 1986-07-01
JPH0649944A (ja) * 1992-06-18 1994-02-22 Misawa Homes Co Ltd 天井パネル
JPH09228543A (ja) * 1996-02-21 1997-09-02 Sekisui House Ltd 吹抜部の天井構造
JP2002167897A (ja) * 2000-11-29 2002-06-11 Matsushita Electric Works Ltd 天井構造
JP2012136833A (ja) * 2010-12-24 2012-07-19 Sanyuu:Kk ランナ野縁

Cited By (6)

* Cited by examiner, † Cited by third party
Publication number Priority date Publication date Assignee Title
JP7671033B2 (ja) 2020-10-07 2025-05-01 株式会社ラ・ポルタ 不燃性磁着パネルの製造方法
CN114961081A (zh) * 2022-06-28 2022-08-30 北京金晟源建筑工程有限公司 一种吊顶端部与墙体转角处装饰节点结构
CN114961081B (zh) * 2022-06-28 2024-01-16 北京金晟源建筑工程有限公司 一种吊顶端部与墙体转角处装饰节点结构
CN115370062A (zh) * 2022-08-29 2022-11-22 深圳市建筑装饰(集团)有限公司 一种模块化建筑装饰用的装配装置
JP7368574B1 (ja) 2022-09-28 2023-10-24 大建工業株式会社 天井構造
JP2024049195A (ja) * 2022-09-28 2024-04-09 大建工業株式会社 天井構造

Also Published As

Publication number Publication date
JP7128658B2 (ja) 2022-08-31

Similar Documents

Publication Publication Date Title
JP2019203323A (ja) 天井下地材の支持構造
JP5997914B2 (ja) 天井下地構造
JP6382738B2 (ja) 建築物の天井構造
JP2017020324A (ja) 防振装置および移動間仕切り装置
JP2018154968A (ja) 建物の天井
JP7189728B2 (ja) 天井の下地構造
JP2021116629A (ja) 天井固定吊り下地補強構造
JP6222203B2 (ja) ダイナミックダンパー及び天井
JP2019078093A (ja) 床構造及びユニット建物
JP2023184262A (ja) 仕上構造
JP4365716B2 (ja) チューンドマスダンパー
KR20130125253A (ko) 절곡 판스프링으로 이루어진 방진 달대 브라켓 및 이를 이용한 방진천장
CN207749711U (zh) 连接挂片及具有其的吊顶系统
JP4306644B2 (ja) 建物の天井構造
JP6837872B2 (ja) 建物の天井構造
JP4317485B2 (ja) 建築構造及びこれに用いられる建築部材
JP4366492B2 (ja) 天井構造
JP4706281B2 (ja) 建物の制震構造
JP7744646B2 (ja) 遮音性金具及び吊り天井構造
CN203066313U (zh) 降低冲击音的地板结构
JP7063058B2 (ja) 根太材及び天井構造
JP5445862B2 (ja) 建物の天井構造
JPH0978751A (ja) 床遮音構造
JP2008248507A (ja) ダンパー、床構造、建物ユニット、ユニット建物及び建物
JP7203507B2 (ja) 制振部材及び天井構造

Legal Events

Date Code Title Description
RD03 Notification of appointment of power of attorney

Free format text: JAPANESE INTERMEDIATE CODE: A7423

Effective date: 20180913

RD04 Notification of resignation of power of attorney

Free format text: JAPANESE INTERMEDIATE CODE: A7424

Effective date: 20181016

RD04 Notification of resignation of power of attorney

Free format text: JAPANESE INTERMEDIATE CODE: A7424

Effective date: 20181018

A621 Written request for application examination

Free format text: JAPANESE INTERMEDIATE CODE: A621

Effective date: 20210518

A977 Report on retrieval

Free format text: JAPANESE INTERMEDIATE CODE: A971007

Effective date: 20220427

A131 Notification of reasons for refusal

Free format text: JAPANESE INTERMEDIATE CODE: A131

Effective date: 20220513

A521 Request for written amendment filed

Free format text: JAPANESE INTERMEDIATE CODE: A523

Effective date: 20220701

TRDD Decision of grant or rejection written
A01 Written decision to grant a patent or to grant a registration (utility model)

Free format text: JAPANESE INTERMEDIATE CODE: A01

Effective date: 20220805

A61 First payment of annual fees (during grant procedure)

Free format text: JAPANESE INTERMEDIATE CODE: A61

Effective date: 20220819

R150 Certificate of patent or registration of utility model

Ref document number: 7128658

Country of ref document: JP

Free format text: JAPANESE INTERMEDIATE CODE: R150

R250 Receipt of annual fees

Free format text: JAPANESE INTERMEDIATE CODE: R250

RD04 Notification of resignation of power of attorney

Free format text: JAPANESE INTERMEDIATE CODE: R3D04