JP2017036498A - 樹脂密着性に優れた表面処理アルミニウム材及びその製造方法、ならびに、表面処理アルミニウム材/樹脂の接合体 - Google Patents
樹脂密着性に優れた表面処理アルミニウム材及びその製造方法、ならびに、表面処理アルミニウム材/樹脂の接合体 Download PDFInfo
- Publication number
- JP2017036498A JP2017036498A JP2016145908A JP2016145908A JP2017036498A JP 2017036498 A JP2017036498 A JP 2017036498A JP 2016145908 A JP2016145908 A JP 2016145908A JP 2016145908 A JP2016145908 A JP 2016145908A JP 2017036498 A JP2017036498 A JP 2017036498A
- Authority
- JP
- Japan
- Prior art keywords
- oxide film
- aluminum material
- film layer
- aluminum oxide
- resin
- Prior art date
- Legal status (The legal status is an assumption and is not a legal conclusion. Google has not performed a legal analysis and makes no representation as to the accuracy of the status listed.)
- Granted
Links
Images
Classifications
-
- C—CHEMISTRY; METALLURGY
- C25—ELECTROLYTIC OR ELECTROPHORETIC PROCESSES; APPARATUS THEREFOR
- C25D—PROCESSES FOR THE ELECTROLYTIC OR ELECTROPHORETIC PRODUCTION OF COATINGS; ELECTROFORMING; APPARATUS THEREFOR
- C25D11/00—Electrolytic coating by surface reaction, i.e. forming conversion layers
- C25D11/02—Anodisation
- C25D11/04—Anodisation of aluminium or alloys based thereon
-
- C—CHEMISTRY; METALLURGY
- C25—ELECTROLYTIC OR ELECTROPHORETIC PROCESSES; APPARATUS THEREFOR
- C25D—PROCESSES FOR THE ELECTROLYTIC OR ELECTROPHORETIC PRODUCTION OF COATINGS; ELECTROFORMING; APPARATUS THEREFOR
- C25D11/00—Electrolytic coating by surface reaction, i.e. forming conversion layers
- C25D11/02—Anodisation
- C25D11/04—Anodisation of aluminium or alloys based thereon
- C25D11/06—Anodisation of aluminium or alloys based thereon characterised by the electrolytes used
-
- B—PERFORMING OPERATIONS; TRANSPORTING
- B05—SPRAYING OR ATOMISING IN GENERAL; APPLYING FLUENT MATERIALS TO SURFACES, IN GENERAL
- B05D—PROCESSES FOR APPLYING FLUENT MATERIALS TO SURFACES, IN GENERAL
- B05D3/00—Pretreatment of surfaces to which liquids or other fluent materials are to be applied; After-treatment of applied coatings, e.g. intermediate treating of an applied coating preparatory to subsequent applications of liquids or other fluent materials
- B05D3/007—After-treatment
-
- B—PERFORMING OPERATIONS; TRANSPORTING
- B05—SPRAYING OR ATOMISING IN GENERAL; APPLYING FLUENT MATERIALS TO SURFACES, IN GENERAL
- B05D—PROCESSES FOR APPLYING FLUENT MATERIALS TO SURFACES, IN GENERAL
- B05D7/00—Processes, other than flocking, specially adapted for applying liquids or other fluent materials to particular surfaces or for applying particular liquids or other fluent materials
- B05D7/24—Processes, other than flocking, specially adapted for applying liquids or other fluent materials to particular surfaces or for applying particular liquids or other fluent materials for applying particular liquids or other fluent materials
-
- C—CHEMISTRY; METALLURGY
- C25—ELECTROLYTIC OR ELECTROPHORETIC PROCESSES; APPARATUS THEREFOR
- C25D—PROCESSES FOR THE ELECTROLYTIC OR ELECTROPHORETIC PRODUCTION OF COATINGS; ELECTROFORMING; APPARATUS THEREFOR
- C25D11/00—Electrolytic coating by surface reaction, i.e. forming conversion layers
- C25D11/02—Anodisation
- C25D11/024—Anodisation under pulsed or modulated current or potential
-
- C—CHEMISTRY; METALLURGY
- C25—ELECTROLYTIC OR ELECTROPHORETIC PROCESSES; APPARATUS THEREFOR
- C25D—PROCESSES FOR THE ELECTROLYTIC OR ELECTROPHORETIC PRODUCTION OF COATINGS; ELECTROFORMING; APPARATUS THEREFOR
- C25D11/00—Electrolytic coating by surface reaction, i.e. forming conversion layers
- C25D11/02—Anodisation
- C25D11/04—Anodisation of aluminium or alloys based thereon
- C25D11/18—After-treatment, e.g. pore-sealing
-
- C—CHEMISTRY; METALLURGY
- C25—ELECTROLYTIC OR ELECTROPHORETIC PROCESSES; APPARATUS THEREFOR
- C25D—PROCESSES FOR THE ELECTROLYTIC OR ELECTROPHORETIC PRODUCTION OF COATINGS; ELECTROFORMING; APPARATUS THEREFOR
- C25D11/00—Electrolytic coating by surface reaction, i.e. forming conversion layers
- C25D11/02—Anodisation
- C25D11/04—Anodisation of aluminium or alloys based thereon
- C25D11/18—After-treatment, e.g. pore-sealing
- C25D11/24—Chemical after-treatment
Landscapes
- Chemical & Material Sciences (AREA)
- Engineering & Computer Science (AREA)
- Chemical Kinetics & Catalysis (AREA)
- Electrochemistry (AREA)
- Materials Engineering (AREA)
- Metallurgy (AREA)
- Organic Chemistry (AREA)
- General Chemical & Material Sciences (AREA)
- Life Sciences & Earth Sciences (AREA)
- Wood Science & Technology (AREA)
- Laminated Bodies (AREA)
- Water Treatment By Electricity Or Magnetism (AREA)
Abstract
【解決手段】表面に酸化皮膜が形成されており、前記酸化皮膜は表面側に形成された厚さ20〜500nmの多孔性アルミニウム酸化皮膜層と素地側に形成された厚さ3〜30nmのバリア型アルミニウム酸化皮膜層とから成り、前記多孔性アルミニウム酸化皮膜層には直径5〜30nmの小孔が形成されており、前記多孔性アルミニウム酸化皮膜層とバリア型アルミニウム酸化皮膜層との境界に生じる亀裂長さが当該境界長さの50%以下である樹脂密着性に優れた表面処理アルミニウム材及びその製造方法、ならびに、前記表面処理アルミニウム材と、その酸化皮膜が形成された表面に被覆した樹脂とからなる表面処理アルミニウム材/樹脂の接合体。
【選択図】図1
Description
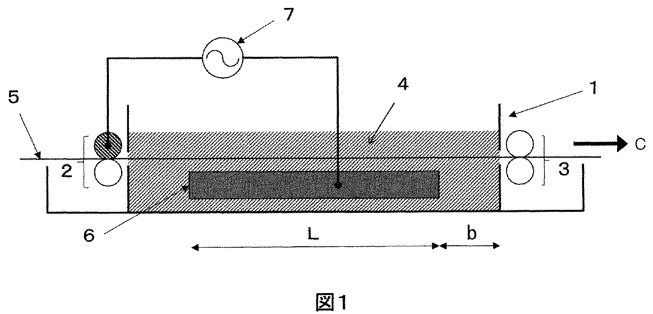
本発明に用いるアルミニウム材としては、純アルミニウム(例えば、99.0mass%以上)又はアルミニウム合金が用いられる。アルミニウム合金の成分には特に制限は無く、JISに規定される合金をはじめとする各種合金を使用することができる。形状としては特に制限されるものではないが、後述の通り連続処理を行うことから、コイル状に巻き取られたアルミニウム板や長尺の押出アルミニウム形材のような長大なアルミニウム材が好適に用いられる。またアルミニウム板においては、用途に応じてその板厚を適宜選択することができるが、軽量化と成形性の観点から0.05〜2.0mmが好ましく、0.1〜1.0mmが更に好ましい。
本発明の具体的な内容として、連続的に電解溶液中に搬送供給されるアルミニウム材の電極と固定された対電極とを用い、電解溶液がpH9〜13で液温35〜85℃のアルカリ性水溶液であり、周波数10〜100Hz、電流密度4〜50A/dm2及び電解時間5〜300秒間の条件で交流電解処理することにより、対電極に対向するアルミニウム材部分の表面に酸化皮膜を形成する方法であって、前記アルミニウム材の電極と対電極は連続的に通電されており、上記電解時間が終了してから電解処理されたアルミニウム材部分に流れる電流密度が1A/dm2未満になるまでの時間を10.0秒以下とする方法を挙げることができる。
本発明に用いるアルミニウム材の表面には、表面側に形成された多孔性アルミニウム酸化皮膜層と素地側に形成されたバリア型アルミニウム酸化皮膜層とが設けられている。すなわち、アルミニウム材表面には、多孔性アルミニウム酸化皮膜層とバリア型アルミニウム酸化皮膜層の二層によって構成される酸化皮膜が設けられている。多孔性アルミニウム酸化皮膜層が強力な接着性や密着性を発揮する一方で、バリア型アルミニウム酸化皮膜層によって、アルミニウム酸化皮膜層全体とアルミニウム素地を強固に結合する。さらに、多孔性アルミニウム酸化皮膜層とバリア型アルミニウム酸化皮膜層の境界に生じた亀裂の長さを同境界長さの50%以下とすることで、多孔性アルミニウム酸化皮膜層の脱落を抑制することができる。
多孔性アルミニウム酸化皮膜層の厚さは、20〜500nm、好ましくは50〜400nmである。20nm未満では厚さが十分でないため、後述する小孔構造の形成が不十分になり易く接着力や密着力が低下する。一方、500nmを超えると、多孔性アルミニウム酸化皮膜層自体が凝集破壊し易くなり接着力や密着力が低下する。
バリア型アルミニウム酸化皮膜層の厚さは、3〜30nm、好ましくは5〜25nmである。3nm未満では、介在層として多孔性アルミニウム酸化皮膜層とアルミニウム素地との結合に十分な結合力を付与することができず、特に、高温・多湿等の過酷環境における結合力が不十分となる。一方、30nmを超えると、その緻密性ゆえにバリア型アルミニウム酸化皮膜層が凝集破壊し易くなり、かえって接着力や密着力が低下する。
C−1及びC−2にて規定された酸化皮膜は、連続的に形成されていることが望ましく、それらの間に生じた亀裂長さはこの境界の全長の50%以下、好ましくは30%以下、最も好ましくは0%となることが求められる。電解条件との関係では、電解時間が終了してから電解処理されたアルミニウム材部分に流れる電流密度が1A/dm2未満になるまでの時間を10.0秒以下とすることにより、このような境界全長に対する亀裂長さの比率が達成される。上記比率が50%を上回った場合、この亀裂を起点とした酸化皮膜全体の脱落が容易に生じ、樹脂密着性の著しい低下をもたらす。ここで、亀裂長さの境界の全長に対する比率とは、具体的には以下のようにして決定される。すなわち、上述の亀裂は電解時間終了後の電流減衰挙動に起因する不安定な酸化皮膜層が部分的に凝集破壊するものであり、多孔性アルミニウム酸化皮膜層とバリア型アルミニウム酸化皮膜層の境界に平行して発生する。ここで、境界の全長(M)に対する亀裂長さ(m)を後述の断面TEM観察等で観察し、(m/M)として規定することができる。
酸化皮膜全体の厚さ、すなわち、C−1に記載の多孔性アルミニウム酸化皮膜層とC−2に記載のバリア型アルミニウム酸化皮膜層との厚さの合計は、アルミニウム材のいかなる場所で測定しても、その変動幅が±50%以内であることが好ましく、±20%以内であることが更に好ましい。すなわち、アルミニウム材表面における任意の複数箇所(10箇所以上が望ましく、これら各箇所においても10点以上の測定点とするのが望ましい)で測定した酸化皮膜全体厚さの算術平均をT(nm)とした場合、これら複数測定箇所における酸化皮膜全体厚さが(0.5×T)〜(1.5×T)の範囲にあることが好ましい。(0.5×T)未満の箇所が存在すると、その箇所の酸化皮膜がその周囲より薄くなる。そうすると、この薄い箇所では、接着すべき接着剤や密着すべき樹脂層などと酸化皮膜との間に隙間が生じ易くなり、十分な接触面積を確保できずに接着力や密着力が低下する場合がある。一方、(1.5×T)を超える箇所が存在すると、その箇所の酸化皮膜が周囲より厚くなる。そうすると、この厚い箇所では、密着すべき樹脂層などからの応力が集中し、酸化皮膜での凝集破壊を誘発して接着力や密着力が低下する場合がある。
本発明における多孔性アルミニウム酸化皮膜層とバリア型アルミニウム酸化皮膜層の構造観察と厚さの測定、ならびに、多孔性アルミニウム酸化皮膜層とバリア型アルミニウム酸化皮膜層の境界に生じた亀裂の長さの測定には、透過型電子顕微鏡(TEM)による断面観察が好適に用いられる。具体的には、ウルトラミクロトームや集束イオンビーム(FIB)加工装置等により厚み方向に垂直な方向に沿って切り出した薄片試料を作製する。次いで、これをTEM観察する。薄片試料の作製にあたっては、対象物に亀裂が生じている可能性があるため、FIB加工装置を用いることがより好ましい。また亀裂長さの測定及び比率計算にあたっては、TEM観察倍率を低め(5000〜10000倍程度)に設定するとともに、複数視野を観察することによって定量化することができる。
上記のようにして製造される表面処理アルミニウム材はその優れた接着性により、酸化皮膜を形成した処理面に更に樹脂を被覆することで、様々な用途に応じて使用できる。ここで、樹脂は、熱硬化性樹脂でも、熱可塑性樹脂でもどちらも用いることができ、本発明に係る表面処理アルミニウム材における処理面に形成される特定の酸化皮膜と相まって、様々な効果が付与される。
本発明例1〜24及び比較例1〜12
上記供試材から、長さ50mm、幅25mmに切断したものを2枚用意した。これら2枚の供試材同士を全幅方向に重ね合わせつつ、長さ方向には幅10mmをもって重ね合わせ、市販の2液型エポキシ接着剤(ニチバン株式会社製、アラルダイトラピッド、型番:AR−R30、重量混合比=主剤100/硬化剤100)によって重ね合わせ部分を接着し、せん断試験片を作製した。せん断試験片の長さ方向の両端部を引張試験機により100mm/分の速度にて長さ方向に沿って反対向きに引張り、その荷重(せん断応力に換算)と剥離状態によって接着性を下記の基準で評価した。なお、せん断試験片は同じ供試材から10組の試験片を作製して、それぞれについて評価した。
○:せん断応力が20N/mm2以上で、かつ、接着剤層自身が凝集破壊した状態
△:せん断応力が20N/mm2以上であるものの、接着剤層と供試材が界面剥離した状態
×:せん断応力が20N/mm2未満で、かつ、接着剤層と供試材が界面剥離した状態
2・・・電解槽に搬入される前位置に配設された一対のロール
3・・・電解槽から搬出される後位置に配設された一対のロール
4・・・電解溶液
5・・・アルミニウム材
6・・・対電極
7・・・交流電源
b・・・アルミニウム材の搬送方向に沿った対電極の終端から同方向に沿った電解槽の終端までの距離
c・・・アルミニウム材の搬送方向
L・・・アルミニウム材の搬送方向に沿った対電極の長さ
Claims (4)
- 表面に酸化皮膜が形成されており、前記酸化皮膜は表面側に形成された厚さ20〜500nmの多孔性アルミニウム酸化皮膜層と素地側に形成された厚さ3〜30nmのバリア型アルミニウム酸化皮膜層とから成り、前記多孔性アルミニウム酸化皮膜層には直径5〜30nmの小孔が形成されており、前記多孔性アルミニウム酸化皮膜層とバリア型アルミニウム酸化皮膜層との境界に生じる亀裂長さが当該境界長さの50%以下であることを特徴とする樹脂密着性に優れた表面処理アルミニウム材。
- 請求項1に記載の表面処理アルミニウム材の製造方法であって、連続的に電解溶液中に搬送供給されるアルミニウム材の電極と固定された対電極とを用い、前記電解溶液がpH9〜13で液温35〜85℃のアルカリ性水溶液であり、周波数10〜100Hz、電流密度4〜50A/dm2及び電解時間5〜300秒間の条件で交流電解処理することにより、前記対電極に対向するアルミニウム材部分の表面に酸化皮膜を形成する方法において、前記アルミニウム材の電極と対電極は連続的に通電されており、前記電解時間が終了してから電解処理されたアルミニウム材部分に流れる電流密度が1A/dm2未満になるまでの時間が10.0秒以下であることを特徴とする樹脂密着性に優れた表面処理アルミニウム材の製造方法。
- 前記アルミニウム材の電極と対電極との電極間距離が2〜150mmである、請求項2に記載の樹脂密着性に優れた表面処理アルミニウム材の製造方法。
- 請求項1に記載の表面処理アルミニウム材と、当該表面処理アルミニウム材の酸化皮膜が形成された表面に被覆した樹脂とからなることを特徴とする表面処理アルミニウム材/樹脂の接合体。
Priority Applications (6)
| Application Number | Priority Date | Filing Date | Title |
|---|---|---|---|
| US15/751,409 US11560641B2 (en) | 2015-08-13 | 2016-08-08 | Surface-treated aluminum material having excellent adhesiveness to resins, method for manufacturing the same, and surface-treated aluminum material-resin bonded body |
| MYPI2018700553A MY185682A (en) | 2015-08-13 | 2016-08-08 | Surface-treated aluminum material having excellent adhesiveness to resins, method for manufacturing the same, and surface-treated aluminum material-resin bonded body |
| KR1020187000098A KR102491868B1 (ko) | 2015-08-13 | 2016-08-08 | 수지밀착성이 우수한 표면처리 알루미늄재 및 이의 제조 방법, 그리고 표면처리 알루미늄재/수지의 접합체 |
| PCT/JP2016/073351 WO2017026461A1 (ja) | 2015-08-13 | 2016-08-08 | 樹脂密着性に優れた表面処理アルミニウム材及びその製造方法、ならびに、表面処理アルミニウム材/樹脂の接合体 |
| CN201680035520.3A CN107709631B (zh) | 2015-08-13 | 2016-08-08 | 树脂密接性优异的表面处理铝材及其制造方法、以及表面处理铝材/树脂的接合体 |
| TW105125847A TWI696728B (zh) | 2015-08-13 | 2016-08-12 | 樹脂密合性優異的表面處理鋁材及其製備方法、以及表面處理鋁材/樹脂的連接體 |
Applications Claiming Priority (2)
| Application Number | Priority Date | Filing Date | Title |
|---|---|---|---|
| JP2015159748 | 2015-08-13 | ||
| JP2015159748 | 2015-08-13 |
Publications (2)
| Publication Number | Publication Date |
|---|---|
| JP2017036498A true JP2017036498A (ja) | 2017-02-16 |
| JP6829961B2 JP6829961B2 (ja) | 2021-02-17 |
Family
ID=58047736
Family Applications (1)
| Application Number | Title | Priority Date | Filing Date |
|---|---|---|---|
| JP2016145908A Active JP6829961B2 (ja) | 2015-08-13 | 2016-07-26 | 樹脂密着性に優れた表面処理アルミニウム材及びその製造方法、ならびに、表面処理アルミニウム材/樹脂の接合体 |
Country Status (5)
| Country | Link |
|---|---|
| US (1) | US11560641B2 (ja) |
| JP (1) | JP6829961B2 (ja) |
| KR (1) | KR102491868B1 (ja) |
| CN (1) | CN107709631B (ja) |
| TW (1) | TWI696728B (ja) |
Citations (3)
| Publication number | Priority date | Publication date | Assignee | Title |
|---|---|---|---|---|
| JP2006322067A (ja) * | 2005-04-18 | 2006-11-30 | Fujifilm Holdings Corp | 構造体の製造方法 |
| JP2014028454A (ja) * | 2012-07-31 | 2014-02-13 | Uacj Corp | アルミニウム複合材及びその製造方法 |
| WO2015015768A1 (ja) * | 2013-08-01 | 2015-02-05 | 株式会社Uacj | 表面処理アルミニウム材及びその製造方法 |
Family Cites Families (11)
| Publication number | Priority date | Publication date | Assignee | Title |
|---|---|---|---|---|
| US2883045A (en) * | 1957-03-08 | 1959-04-21 | Central States Paper & Bag Co | Packaging covers for coiled sheet material |
| JPS5922395B2 (ja) * | 1981-02-02 | 1984-05-26 | 株式会社フジクラ | 印刷配線基板の製造方法 |
| CA1212073A (en) * | 1981-02-02 | 1986-09-30 | Seizo Murayama | Impregnating anodic oxide film with polymerizable compound and polymerizing and resulting wiring board |
| US20060143920A1 (en) * | 2004-12-17 | 2006-07-06 | Robert Morrison | Anodized aluminum foil sheets and expanded aluminum foil (EAF) sheets and methods of making and using the same |
| JP5145092B2 (ja) * | 2008-03-24 | 2013-02-13 | 古河スカイ株式会社 | プリント配線基板用アルミニウム材及びその製造方法 |
| JP5275701B2 (ja) * | 2008-06-20 | 2013-08-28 | 古河スカイ株式会社 | プリント配線基板用アルミニウム材及びその製造方法 |
| JP5545707B2 (ja) | 2009-07-17 | 2014-07-09 | 株式会社Uacj | アルミニウム基板及びその製造方法 |
| JP5473885B2 (ja) * | 2010-02-08 | 2014-04-16 | 富士フイルム株式会社 | 絶縁層付金属基板およびその製造方法、半導体装置およびその製造方法ならびに太陽電池およびその製造方法 |
| CN103403229B (zh) | 2010-12-27 | 2016-05-25 | 日本活塞环株式会社 | 复合镀铬覆膜及使用该覆膜的滑动部件 |
| JP6001573B2 (ja) | 2012-02-12 | 2016-10-05 | 株式会社Uacj | 表面処理アルミニウム材及びその製造方法、ならびに、樹脂被覆表面処理アルミニウム材 |
| JP5936873B2 (ja) | 2012-02-20 | 2016-06-22 | 株式会社Uacj | 酸化皮膜を介して溶接される用途用のアルミニウム材、ならびに、当該溶接用途用のアルミニウム材同士を用いた溶接構造体。 |
-
2016
- 2016-07-26 JP JP2016145908A patent/JP6829961B2/ja active Active
- 2016-08-08 US US15/751,409 patent/US11560641B2/en active Active
- 2016-08-08 CN CN201680035520.3A patent/CN107709631B/zh active Active
- 2016-08-08 KR KR1020187000098A patent/KR102491868B1/ko active Active
- 2016-08-12 TW TW105125847A patent/TWI696728B/zh active
Patent Citations (3)
| Publication number | Priority date | Publication date | Assignee | Title |
|---|---|---|---|---|
| JP2006322067A (ja) * | 2005-04-18 | 2006-11-30 | Fujifilm Holdings Corp | 構造体の製造方法 |
| JP2014028454A (ja) * | 2012-07-31 | 2014-02-13 | Uacj Corp | アルミニウム複合材及びその製造方法 |
| WO2015015768A1 (ja) * | 2013-08-01 | 2015-02-05 | 株式会社Uacj | 表面処理アルミニウム材及びその製造方法 |
Also Published As
| Publication number | Publication date |
|---|---|
| KR20180039618A (ko) | 2018-04-18 |
| TWI696728B (zh) | 2020-06-21 |
| KR102491868B1 (ko) | 2023-01-27 |
| JP6829961B2 (ja) | 2021-02-17 |
| CN107709631A (zh) | 2018-02-16 |
| TW201716643A (zh) | 2017-05-16 |
| US20180230618A1 (en) | 2018-08-16 |
| CN107709631B (zh) | 2019-10-29 |
| US11560641B2 (en) | 2023-01-24 |
Similar Documents
| Publication | Publication Date | Title |
|---|---|---|
| JP6001573B2 (ja) | 表面処理アルミニウム材及びその製造方法、ならびに、樹脂被覆表面処理アルミニウム材 | |
| CN105408527B (zh) | 表面处理铝材及其制造方法 | |
| JP6041566B2 (ja) | アルミニウム複合材及びその製造方法 | |
| JP6575968B2 (ja) | 表面処理アルミニウム材及びその製造方法、ならびに、当該表面処理アルミニウム材/樹脂層の接合体 | |
| WO2017026461A1 (ja) | 樹脂密着性に優れた表面処理アルミニウム材及びその製造方法、ならびに、表面処理アルミニウム材/樹脂の接合体 | |
| JP6168723B2 (ja) | 表面処理アルミニウム材及びその製造方法 | |
| JP6352087B2 (ja) | 表面処理アルミニウム材及びその製造方法 | |
| JP2017036498A (ja) | 樹脂密着性に優れた表面処理アルミニウム材及びその製造方法、ならびに、表面処理アルミニウム材/樹脂の接合体 | |
| JP2019026924A (ja) | 表面処理アルミニウム合金材及びその製造方法 | |
| JP7026547B2 (ja) | 表面処理アルミニウム合金材及びその製造方法 | |
| US11230785B2 (en) | Surface-treated aluminum material and method for manufacturing same; and bonded body of surface-treated aluminum material and bonding member comprising said surface-treated aluminum material, and bonding member such as resin, and method for manufacturing said bonded body | |
| JP6570168B2 (ja) | 表面処理アルミニウム材及びその製造方法 | |
| JP2021050387A (ja) | 炭素繊維強化樹脂基材の表面にめっき皮膜を有する物品の製造方法 | |
| JP2017008416A (ja) | 表面処理金属材料の製造方法、当該製造方法に用いる表面処理金属材料の製造装置、ならびに、前記製造方法によって製造される表面処理金属材料 | |
| JP2018135600A (ja) | 表面処理アルミニウム材及びその製造方法、ならびに、当該表面処理アルミニウム材と樹脂等の被接合部材とからなる表面処理アルミニウム材/被接合部材の接合体及びその製造方法 |
Legal Events
| Date | Code | Title | Description |
|---|---|---|---|
| A621 | Written request for application examination |
Free format text: JAPANESE INTERMEDIATE CODE: A621 Effective date: 20190705 |
|
| A131 | Notification of reasons for refusal |
Free format text: JAPANESE INTERMEDIATE CODE: A131 Effective date: 20200617 |
|
| A601 | Written request for extension of time |
Free format text: JAPANESE INTERMEDIATE CODE: A601 Effective date: 20200805 |
|
| A521 | Request for written amendment filed |
Free format text: JAPANESE INTERMEDIATE CODE: A523 Effective date: 20201013 |
|
| A521 | Request for written amendment filed |
Free format text: JAPANESE INTERMEDIATE CODE: A821 Effective date: 20201013 |
|
| TRDD | Decision of grant or rejection written | ||
| A01 | Written decision to grant a patent or to grant a registration (utility model) |
Free format text: JAPANESE INTERMEDIATE CODE: A01 Effective date: 20210122 |
|
| A61 | First payment of annual fees (during grant procedure) |
Free format text: JAPANESE INTERMEDIATE CODE: A61 Effective date: 20210125 |
|
| R150 | Certificate of patent or registration of utility model |
Ref document number: 6829961 Country of ref document: JP Free format text: JAPANESE INTERMEDIATE CODE: R150 |
|
| R250 | Receipt of annual fees |
Free format text: JAPANESE INTERMEDIATE CODE: R250 |
