JP2014166301A - 封入式遊技機 - Google Patents

封入式遊技機 Download PDF

Info

Publication number
JP2014166301A
JP2014166301A JP2013109088A JP2013109088A JP2014166301A JP 2014166301 A JP2014166301 A JP 2014166301A JP 2013109088 A JP2013109088 A JP 2013109088A JP 2013109088 A JP2013109088 A JP 2013109088A JP 2014166301 A JP2014166301 A JP 2014166301A
Authority
JP
Japan
Prior art keywords
game
ball
control device
information
balls
Prior art date
Legal status (The legal status is an assumption and is not a legal conclusion. Google has not performed a legal analysis and makes no representation as to the accuracy of the status listed.)
Granted
Application number
JP2013109088A
Other languages
English (en)
Other versions
JP2014166301A5 (ja
JP6318336B2 (ja
Inventor
Shogo Tatsumi
正吾 巽
Current Assignee (The listed assignees may be inaccurate. Google has not performed a legal analysis and makes no representation or warranty as to the accuracy of the list.)
Takao Co Ltd
Original Assignee
Takao Co Ltd
Priority date (The priority date is an assumption and is not a legal conclusion. Google has not performed a legal analysis and makes no representation as to the accuracy of the date listed.)
Filing date
Publication date
Application filed by Takao Co Ltd filed Critical Takao Co Ltd
Priority to JP2013109088A priority Critical patent/JP6318336B2/ja
Publication of JP2014166301A publication Critical patent/JP2014166301A/ja
Publication of JP2014166301A5 publication Critical patent/JP2014166301A5/ja
Application granted granted Critical
Publication of JP6318336B2 publication Critical patent/JP6318336B2/ja
Expired - Fee Related legal-status Critical Current
Anticipated expiration legal-status Critical

Links

Images

Landscapes

  • Pinball Game Machines (AREA)

Abstract

【課題】パチンコ店の店員に手間をかけること無く、打ち止めと、打ち止めの解除を行うことができる封入式のパチンコ機を提供する。
【解決手段】封入式のパチンコ機の主制御装置は、交換図柄により当りとなり、特別遊技が終了すると、確変状態や時短状態でない場合には、払出制御装置に持球情報を送信すると共に(S1083)、持球情報を更新し、持球数を0に設定することで(S1084)、遊技を終了させる。一方、持球情報を受信した払出制御装置は、CRユニットに該持球情報を送信し、遊技の精算を指示する。
【選択図】図28

Description

本発明は、内部に封入された遊技球を循環的に使用して遊技を行う封入式遊技機に関する。
従来、図柄変動により当否判定の結果を報知する弾球遊技機が設置されたパチンコ店では、特別遊技の終了により該弾球遊技機を打ち止めとしたり、特定の図柄(ラッキーナンバー)で当りとなった場合には、特別遊技の終了後も遊技を継続できるが、他の図柄で当りとなった場合には、特別遊技の終了により打ち止めとするルールが運用されている場合がある。
このようなルールを運用するためには、パチンコ店の店員が、各弾球遊技機における当りの有無を監視すると共に、特別遊技が終了し、打ち止めとなった弾球遊技機での遊技を終了させ、持球を交換させる必要があり、店員の作業負担が大きくなるという問題があった。
これに対し、特許文献1等には、ラッキーナンバー以外の図柄で当りとなった場合には、特別遊技の終了後に遊技球の発射装置を強制停止させることで、自動的に打ち止めにする弾球遊技機について記載されている。
特開平7−255915号公報
このような弾球遊技機によれば、パチンコ店の店員は各弾球遊技機の当りの有無を監視する必要が無くなり、店員の作業負担を低減させることができる。しかしながら、打ち止めとなった弾球遊技機で遊技を再開するためには、店員が該弾球遊技機の設定を解除する必要があり、店員に手間が生じていた。
本願発明は上記課題に鑑みてなされたものであり、パチンコ店の店員に手間をかけること無く、打ち止めと、打ち止めの解除を行うことができる封入式遊技機を提供することを目的とする。
上記課題に鑑みてなされた請求項1に係る発明は、挿入された記憶媒体に記憶された残高情報が示す金額、或いは、投入された金額の範囲内で、球貸しを行うための貸出金額の設定を受け付けるカードユニットから、該貸出金額に対応する球貸し情報を取得すると、該球貸し情報に応じた持球数を示す持球情報、或いは、その時点の持球数と該球貸し情報に応じた持球数とを合算した持球数を示す持球情報を記憶すると共に、遊技終了操作に従って、その時点における持球情報をカードユニットに出力する入出力手段と、封入された遊技球の発射に従って持球情報を更新し、該持球情報が示す持球数を減算すると共に、発射された遊技球の入賞に応じて持球情報を更新し、該持球情報が示す持球数を加算する更新手段と、所定の入賞口への入賞に起因して抽出された乱数に基づき当否判定を行い、当りの場合には、遊技者に有利な特別遊技を行う特別遊技実行手段と、特別遊技の終了後に、遊技終了操作がなされていなくても、カードユニットに対し持球情報を出力すると共に、強制的に遊技を終了させる強制終了手段と、強制終了手段による遊技終了後に、入出力手段がカードユニットから球貸し情報を取得すると、遊技を再開可能な状態とする遊技再開手段と、を備えることを特徴とする封入式遊技機に関するものである。
このような構成によれば、当否判定で当りになると、特別遊技の終了後は遊技を継続することができなくなる。このため、パチンコ店の店員に封入式遊技機の当りの有無を監視する手間をかけること無く、封入式遊技機を打ち止めにすることができる。
また、打ち止めとなった封入式遊技機は、これに併設されたカードユニットにて貸出金額の支払いを伴う球貸しがなされ、該カードユニットから球貸し情報を取得すると、遊技を再開可能な状態となる。このため、遊技者が新たに金銭を投入して球貸しを行うか、記憶媒体に記憶された残高情報により球貸しを行い、パチンコ店に不利益が生じないという場合には、自動的に遊技を再開させることができ、店員が封入式遊技機の設定を変更して打ち止めを解除する手間を省略することができる。
したがって、パチンコ店の店員に手間をかけること無く、封入式遊技機の打ち止めと、打ち止めの解除を行うことができる。
なお、「強制的に遊技を終了させる」とは、遊技球を発射できなくなる状態とすれば良く、強制終了によりカードユニットに持球情報が出力された際には、持球情報を初期化し、持球数を0とするのが好適である。これにより、発射ハンドルを操作していても遊技球が発射されることは無く、遊技者に違和感を与えたり、故障が生じたとの誤解を与えることが無くなる。また、従来のように、遊技球の発射装置への電力供給を停止させる等の必要が無くなり、簡易的な構成により遊技を終了させることができる。
また、突然遊技を強制停止させると、遊技者を驚かせてしまうおそれがあるため、遊技を強制終了する際には、例えば、演出を行う画面上に「もたせ遊技終了」,「持球数をゼロクリアします」,「打ち止め」等のメッセージを表示し、事前予告を行うのが望ましい。
また、打ち止めを解除する際(遊技を再開可能な状態とする際)には、遊技者が打ち止めの解除を把握できるようにする構成が望ましく、その際には、上記メッセージを消去することが考えられる。
また、カードユニットは、残高情報が記憶された記憶媒体の挿入と、球貸しを行うための金銭を投入することが可能な構成であっても良いし、単に該記憶媒体の挿入のみが可能な構成であっても良い。
金銭を投入可能な構成とした場合には、カードユニットに金銭が投入されると、その金額を示す残高情報を挿入された記憶媒体に記憶される。また、球貸しがなされた場合には、挿入された記憶媒体に記憶されている残高情報が更新され、該残高情報が示す金額から球貸しに用いられた貸出金額分が減額される。また、カードユニットは、遊技が終了した封入式遊技機から持球情報を取得すると、該持球情報を挿入されている記憶媒体に記憶する。
また、請求項2に記載されているように、封入式遊技機は、当否判定の結果を報知するための図柄変動を行う演出手段をさらに備え、強制終了手段は、当りとなった当否判定の結果を報知するための図柄変動で停止表示された図柄が、予め定められた図柄である終了図柄である場合には、該当りにより行われる特別遊技の終了後に、遊技終了操作がなされていなくても、カードユニットに対し持球情報を出力すると共に、強制的に遊技を終了させても良い。
このような構成によれば、ラッキーナンバー以外の図柄(終了図柄)で当りになると、特別遊技の終了後は遊技を継続することができなくなる。このため、パチンコ店の店員に封入式遊技機の当りの有無を監視する手間をかけること無く、封入式遊技機を打ち止めにすることができる。
また、打ち止めとなった封入式遊技機は、これに併設されたカードユニットにて貸出金額の支払いを伴う球貸しがなされ、該カードユニットから球貸し情報を取得すると、遊技を再開可能な状態となる。このため、遊技者が新たに金銭を投入して球貸しを行い、パチンコ店に不利益が生じないという場合には、自動的に遊技を再開させることができ、店員が封入式遊技機の設定を変更して打ち止めを解除する手間を省略することができる。
したがって、パチンコ店の店員に手間をかけること無く、弾球遊技機を打ち止めとすると共に、打ち止めの解除を行うことができる。
また、請求項3に記載されているように、封入式遊技機は、操作部を介して受け付けた操作に応じて、継続図柄或いは終了図柄となる図柄の設定を行う設定手段をさらに備えても良い。
こうすることにより、パチンコ店の経営方針等に応じてラッキーナンバー等を柔軟に変更することができる。
また、請求項4に記載されているように、設定手段は、操作部を介して遊技者から受け付けた操作に応じて、継続図柄或いは終了図柄となる図柄の設定を行っても良い。
こうすることにより、遊技者の好みに応じてラッキーナンバー等を変更することができ、遊技の興趣を高めることができる。
しかしながら、特別遊技の終了後に確変状態や時短状態に移行するにも関らず、特別遊技の終了により打ち止めとなってしまうと、遊技者は確変状態等の利益を十分に享受することができず、遊技者に不満を与えてしまうおそれがある。
また、特別遊技の終了時に保留記憶が生じている場合には、これらの保留記憶が消化されること無く打ち止めになってしまうと、これらの保留記憶により当りとなる場合には、遊技者が損をすることになり、遊技者に不満を与えてしまうおそれがある。
そこで、請求項5に記載の封入式遊技機では、強制終了手段は、当りとなった当否判定の結果を報知するための図柄変動で終了図柄が停止された場合には、特別遊技の終了後、遊技者に有利な状態が終了した後に、カードユニットに対し持球情報を出力すると共に、強制的に遊技を終了させる。
なお、遊技者に有利な状態とは、例えば、確変状態や時短状態であっても良い。
また、遊技者に有利な状態とは、保留記憶が生じている状態であっても良く、このような場合には、特別遊技の終了時に生じていた保留記憶が全て消化された時点で打ち止めとしても良いし、これらの保留記憶と、特別遊技の終了に行われた遊技により新たに生じた保留記憶とが全て消化された時点で打ち止めとしても良い。
また、これらの保留記憶に基づく当否判定で当りとなった場合には、特別遊技が行われ、該特別遊技の終了後に同様にして打ち止めとなる構成としても良い。
こうすることにより、特別遊技の終了後に確変状態や時短状態に移行する場合には、確変状態等が終了するまでは持たせ遊技を行うことができるため、遊技者は、確変状態等の利益を十分に享受することができ、遊技者に不満を与えることが無い。
また、特別遊技の終了後に保留記憶が生じている場合には、これらの保留記憶に基づく当否判定がなされた後に打ち止めとなるため、これらの保留記憶に基づく当否判定で当った場合にはその利益を得ることができ、遊技者に不満を与えることが無い。
ところで、従来、内部に封入された遊技球を循環的に使用し、持球の数をデータとして管理して遊技を行う封入式の弾球遊技機が知られているが、このような封入式の弾球遊技機では、遊技終了時にICカードに保存された持球の数に基づき景品との交換がなされる(例えば、特開2012−24203号公報)。このため、従来のように、ドル箱に貯めた遊技球の数をジェットカウンタでカウントし、景品と交換する必要が無くなり、遊技球の交換時の手間を大幅に省くことができる。
ここで、弾球遊技機や回胴式遊技機での遊技で獲得した遊技媒体(遊技球や遊技メダル)を景品に交換する際の交換レートは、一般的に1遊技媒体あたりの交換時の単価が貸出時の単価以下に設定されており、遊技媒体の貸出時には、同数の遊技媒体を交換した際に得られる景品の金額以上の料金を支払う必要がある。
この交換レートは主に地域によって異なっているが、中には、1遊技媒体あたりの交換時の単価と貸出時の単価が同じである等価交換が主流となっている地域もあり、等価交換の場合、同じ出玉でより多くの景品を獲得できるため遊技者に有利な面もある。
しかしながら、パチンコ店としては、経営上、遊技媒体の貸出により徴収した料金の総額以上の金額分の景品を遊技者に還元することはできない。このため、交換レートを等価交換とした場合、パチンコ店全体としての出玉率(賞球の総数を遊技にて発射された遊技球の総数で除算した値)を100%未満とする必要があり、実体的には該出玉率はおよそ80%以下に抑えられていると考えられる。
その結果、遊技者に多くの遊技球を獲得できたという満足感(出玉感)を与えることができず、遊技者が遊技の面白さを味わうことができないという弊害が生じており、これにより客離れが生じるおそれがある。
以下の発明は上記課題に鑑みてなされたものであり、遊技者に十分な出玉感を与えることができるカード式の遊技機を提供することを目的とする。
上記課題に鑑みてなされた第1の発明は、記憶媒体に保存された残高情報により貸し出された遊技媒体である手持遊技媒体を用いて遊技を行うカード式の遊技機であって、遊技者の操作に応じて遊技を進行させる遊技制御手段と、遊技の進行に伴い、遊技者が遊技に用いることができる手持遊技媒体の数をカウントするカウント手段と、遊技媒体を貸し出す際の貸出金額の設定を受け付ける貸出受付手段と、予め定められた貸出ルールに従い、貸出受付手段を介して設定された貸出金額に応じた遊技媒体の数を算出する貸出算出手段と、遊技媒体の貸し出しに用いられる記憶媒体に保存された残高情報により、貸出受付手段を介して設定された貸出金額に応じた遊技媒体の貸し出しが可能か否かを判定する判定手段と、判定手段により肯定判定がなされると、該判定に係る貸出金額に応じて貸出算出手段により算出された数の遊技媒体を手持遊技媒体として遊技者に貸し出す貸出手段と、予め定められた更新条件が満たされた際に、予め定められた交換ルールに従い、その時点における手持遊技媒体の数に応じた払出金額を算出し、該払出金額を記憶媒体に保存させると共に、該手持遊技媒体での遊技を中止させる払出手段と、を備え、交換ルールとは、手持遊技媒体の数に応じた払出金額を、貸出ルールに従い算出された同数の遊技媒体の貸出金額よりも低くなるように算出するというルールであること、を特徴とする。
このようなカード式に遊技機によれば、記憶媒体に保存された残高情報に基づき球貸し(遊技媒体の貸し出し)がなされると共に、更新条件が成立すると、その時点の遊技者の手持遊技媒体の数に応じた払出金額が算出され、記憶媒体に保存される。そして、例えば、遊技者が記憶媒体をパチンコ店の店員等に提示し、これを提示された店員が記憶媒体に保存された払出金額の範囲内で景品を提供することで、手持遊技媒体が景品に交換される。
また、この払出金額は、同数の遊技媒体の球貸しの際に支払われる貸出金額よりも低くなるように算出されるため、パチンコ店は、払出金額を算出する段階で、貸し出した遊技媒体の数(換言すれば、カード式の遊技機で遊技が行われた度合い)に応じて施設使用料等の付加料金を徴収することができる。このため、仮にカード式の遊技機の出玉率を100%以上にしたとしても、パチンコ店の経営上必要となる料金を確実に徴収することができる。
なお、出玉率とは、遊技者が遊技によりどの程度の遊技媒体を獲得できるかを示す指標であり、具体的には、例えば、弾球遊技機の場合であれば、賞球の総数を遊技にて発射された遊技球の総数で除算した値を出球率と捉えても良いし、回胴式遊技機の場合であれば、賞メダルの総数をベットされた遊技メダルの総数で除算した値を出球率と捉えても良い。
さらに、更新条件が満たされると、その時点で遊技者が有する手持遊技媒体が精算され、手持遊技媒体の数に応じた払出金額が算出されて記憶媒体に保存されると共に、手持遊技媒体を用いた遊技が終了される。このため、例えば、手持遊技媒体の数や遊技の状況に基づき更新条件を設定することで、遊技で獲得した手持遊技媒体を用いて行われる持たせ遊技を自動的に終了させることができ、これにより持たせ遊技に制限を課すことが可能となるため、遊技者に過剰に遊技媒体が付与されるのを防ぐことができる。
また、何らかのトラブルにより、手持遊技媒体の消失や、正常な遊技が行われない等の事態が生じると、遊技者が損失を被り、出玉感が損なわれてしまうおそれがある。しかし、このようなトラブルの発生を更新条件として手持遊技媒体の精算を行うことで、遊技者の手持遊技媒体を保護し、出玉感が損なわれることを防ぐことができる。
したがって、第1の発明に係るカード式の遊技機によれば、パチンコ店は、損失を被ること無く出玉率を向上させることができると共に、遊技者の手持遊技媒体を確実に保護することができ、遊技者に十分な出玉感を与えることが可能となる。
なお、払出金額を記憶媒体に保存させるとは、単に払出金額を示すデータを記憶媒体に保存することであっても良いし、例えば、記憶媒体に保存されている残高情報を更新して残高に払出金額を加算し、払出金額を残高として保存することであっても良い。
なお、貸出ルールとは、1つの遊技媒体を貸し出す際の料金として予め定められた基本単価と、予め定められた数の遊技媒体を貸し出す際に課される付加料金とに基づき、貸出金額に応じた遊技媒体の数を算出するというものであり、交換ルールとは、基本単価と、その時点における手持遊技媒体の数とを乗算することで払出金額を算出するものであっても良い(第2の発明)。
こうすることにより、パチンコ店は、貸し出した遊技媒体の数に応じて施設使用料等を徴収することができ、出玉率を100%以上にしたとしても、パチンコ店の経営上必要となる料金を確実に徴収することができる。したがって、損失を被ること無く出玉率を向上させることができ、遊技者に十分な出玉感を与えることが可能となる。
また、第3の発明は、記憶媒体に保存された残高情報により貸し出された遊技媒体である手持遊技媒体を用いて遊技を行うカード式の遊技機であって、遊技者の操作に応じて遊技を進行させる遊技制御手段と、遊技の進行に伴い、遊技者が遊技に用いることができる手持遊技媒体の数をカウントするカウント手段と、遊技媒体を貸し出す際の貸出金額の設定を受け付ける貸出受付手段と、予め定められた貸出ルールに従い、貸出受付手段を介して設定された貸出金額に応じた遊技媒体の数を算出する貸出算出手段と、遊技媒体の貸し出しに用いられる記憶媒体に保存された残高情報により、貸出受付手段を介して設定された貸出金額に応じた遊技媒体の貸し出しが可能か否かを判定する判定手段と、判定手段により肯定判定がなされると、該判定に係る貸出金額に応じて貸出算出手段により算出された数の遊技媒体を手持遊技媒体として遊技者に貸し出す貸出手段と、予め定められた更新条件が満たされた際に、その時点における手持遊技媒体の数を減少させる減少手段と、を備えることを特徴とする。
このような構成によれば、更新条件が満たされると手持遊技媒体の数が減ぜられるため、これにより、パチンコ店は、減少した分の手持遊技媒体の数に球貸しの際の単価を乗算した金額を、施設使用料等の付加料金として徴収することができる。このため、出玉率を抑えなくても、パチンコ店の経営上必要となる料金を確実に徴収することができる。
したがって、パチンコ店は、損失を被ること無く出玉率を向上させることができ、遊技者に十分な出玉感を与えることが可能となる。
ここで、遊技制御手段は、予め定められた条件が満たされると、大量の遊技媒体を獲得可能な大当り遊技を行い、更新条件とは、大当り遊技が終了するという条件であっても良い(第4の発明)。
こうすることにより、遊技者が大当り遊技により一定の利益を得た時点で施設使用料等を徴収することができるため、施設使用料等を支払うことへの遊技者の不満を抑えることができる。
また、従来、例えば、弾球遊技機での大当り遊技の終了後に持球を全て交換するというルールを設け、持たせ遊技を禁止しているパチンコ店が存在する。そして、このようなパチンコ店では、店員が各弾球遊技機での遊技の状況を監視し、大当り遊技が終了した際に店員が弾球遊技機のもとを訪れて遊技者の持球を交換していた。
しかしながら、第4の発明に係るカード式の遊技機によれば、大当り遊技の終了により自動的に精算がなされるため、店員が各遊技機を監視したり、大当り遊技が終了した際に持球を交換する等の必要が無くなり、パチンコ店の運営コストを大幅に低下させることができる。
さらに、カード式の遊技機は、遊技媒体として遊技球が用いられる弾球遊技機として構成されており、遊技制御手段は、始動口への入球に起因して乱数を抽出すると共に、該乱数に基づき大当り抽選を行い、該大当り抽選に当選すると、大入賞口の開放を伴う大当り遊技を行い、大当り抽選に伴い、表示部を介して複数の種類の図柄を用いて変動表示を行い、いずれかの図柄を停止表示させることで該大当り抽選の結果を報知し、大当り抽選に当選した際には、表示部を介して、該大当り抽選に係る乱数に応じた図柄を停止表示させ、更新条件とは、予め定められた図柄が停止表示されて大当り抽選に当選した後、該当選により開始された大当り遊技が終了するという条件であっても良い(第5の発明)。
このような弾球遊技機によれば、予め定められた図柄(交換図柄)での大当りにより開始された大当り遊技が終了した場合に限り持球の精算がなされ、交換図柄以外の他の図柄で大当りとなった場合には、少なくとも次回の大当りまでは持たせ遊技を行うことが可能となる。
持たせ遊技中は、遊技者は持球を多く有した状態で遊技を行い、更なる賞球の獲得にチャレンジすることができるため、持たせ遊技を可能とすることで、遊技者に対しより一層出玉感を与えることができる。
なお、カード式の遊技機を、更新条件に係る予め定められた図柄の設定を受け付ける更新条件受付手段をさらに備える構成としても良い(第6の発明)。
このような構成によれば、パチンコ店にて交換図柄を自由に設定することができ、出玉率を柔軟に調整することが可能となる。
また、更新条件とは、カウント手段によりカウントされた手持遊技媒体の数が予め定められた上限数に達したという条件であっても良い(第7の発明)。
こうすることにより、遊技者が一定の利益を得た時点で施設使用料等を徴収することができるため、施設使用料等を支払うことへの遊技者の不満を抑えることができる。
また、従来、例えば弾球遊技機での遊技に関して、持球が一定の量(例えば、所定数のドル箱分)に達した時点で持球を全て交換するルールを設け、持たせ遊技に一定の制限を課しているパチンコ店が存在する。そして、このようなパチンコ店では、店員が各弾球遊技機における持球を監視し、持球が一定の量に達した際に店員が弾球遊技機のもとを訪れて持球を交換していた。
しかしながら、第7の発明に係るカード式の遊技機によれば、手持遊技媒体の数が所定数に達した時点で自動的に精算がなされるため、店員が各遊技機を監視したり、手持遊技媒体を交換する必要が無くなり、パチンコ店の運営コストを大幅に低下させることができる。
しかしながら、遊技者が遊技に投入した金額に関らず、手持遊技媒体の数が一律な上限数に達した時点で精算がされてしまうと、遊技者に損失が生じているにも関らず施設使用料等が徴収されてしまい、遊技者に不満を与えてしまうおそれがある。
そこで、第8の発明に係るカード式の遊技機は、カウント手段によりカウントされた手持遊技媒体の数と、貸出手段により貸し出された手持遊技媒体の数との差分を算出する差分算出手段をさらに備え、更新条件とは、差分が予め定められた上限数に達したという条件となっている。
遊技者が保持している手持遊技媒体の数と貸し出された遊技媒体の数との差分は、遊技者の実質的な利益を示すが、このような構成によれば、遊技者の実質的な利益が一定の水準に達した時点で施設使用料等を徴収することができる。このため、施設使用料等を支払うことへの遊技者の不満を抑えることができる。
また、従来は、パチンコ店の店員は、各遊技者の遊技への投入金額を正確に把握することが困難であった。このため、弾球遊技機での持たせ遊技に制限を一定の課す場合等には、持球が一定の量に達した時点で一律に持球を交換するしかなく、その結果、遊技に多くの金額を投入した遊技者に不満を与えていた。
しかしながら、第8の発明に係るカード式の遊技機によれば、遊技者の実質的な利益に応じて持たせ遊技に制限を課すことができ、遊技に多くの金額を投入した遊技者の不満を取り除くことができる。
さらに、遊技者の実質的な利益が一定の水準に達した時点で自動的に精算がなされるため、店員が各遊技機を監視したり、手持遊技媒体を交換する必要が無くなり、パチンコ店の運営コストを大幅に低下させることができる。
なお、カウント手段によりカウントされた手持遊技媒体の数とは、入賞又は入球により遊技者が獲得することになる遊技媒体の総数であり、遊技制御手段がカウントする構成でも良く、カードユニットとの中継制御を行う払い出し制御手段(払出制御装置)でカウントする構成でも良く、データとして記憶される。
また、貸出手段により貸し出された手持遊技媒体の数とは、残高情報に記憶された金額の範囲内で遊技に使用する金額に対応した遊技者に貸し出される遊技媒体の数であり、データとして記憶される。
差分算出手段は、手持遊技媒体の数が零になり遊技球を発射することができなくなった時点で、新たに残高情報に記憶された金額の範囲内で追加金額に対応した手持遊技媒体の数を加算する構成が考えられる。要は、手持遊技媒体の数が零になり遊技球を発射することができなくなった時点で遊技を終了しない限り、投資金額に対応した手持ち遊技媒体の数をクリアすることなく、追加金額に対応した手持ち遊技媒体の数を加算する構成であれば良い。
これにより、追加金額が投入され、打ち止めがかけられても、遊技者の利益を損ねることはく、ホールの店員が追加打ち止め数を追加する処理も省かれる。
また、弾球遊技機の遊技状態として、大当り抽選の当選確率が上昇する確変状態や、始動口への入球確率が増加する時短状態が知られているが、確変状態等の継続中に持球数や上記差分が上限数に達する場合がある。このような場合に手持遊技媒体の精算がなされてしまうと、大当りまであと少しというところで遊技が中止されてしまい、遊技者に大きな落胆を与えてしまうおそれがある。
そこで、第9の発明に係るカード式の弾球遊技機は、遊技媒体として遊技球が用いられる弾球遊技機として構成されており、遊技制御手段は、始動口への入球に起因して乱数を抽出すると共に、該乱数に基づき大当り抽選を行い、該大当り抽選に当選すると、大入賞口の開放を伴う大当り遊技を行い、大当り抽選の当選に起因して、大当り抽選の当選確率と、始動口への入球確率とのうちの少なくとも一方が上昇する特典状態に移行すると共に、予め定められた条件が満たされると、該特典状態を終了させ、更新条件とは、カウント手段によりカウントされた持球の数が上限数に達し、且つ、特典状態が終了しているという条件であること、を特徴とする。
こうすることにより、持球数や上記差分が上限数に達した場合であっても、確変状態や時短状態が終了するまでは遊技を継続することができ、遊技者に満足感を与えることができる。また、確変状態等の継続中に大当りに当選することで、上限数を超える利益を得ることが可能となるため、遊技者に対しより一層出玉感を与えることができる。
なお、カード式の遊技機は、上限数の設定を受け付ける上限数受付手段をさらに備えていても良い(第10の発明)。
このような構成によれば、パチンコ店にて上限数を自由に設定することができ、出球率を柔軟に調整することが可能となる。
また、弾球遊技機では、確変状態や時短状態の継続中は大当り抽選に当選し易くなり、該状態への移行により遊技者は多くの遊技球を獲得することができる。
また、カード式の遊技機は、遊技媒体として遊技球が用いられる弾球遊技機として構成されており、遊技制御手段は、始動口への入球に起因して乱数を抽出すると共に、該乱数に基づき大当り抽選を行い、該大当り抽選に当選すると、大入賞口の開放を伴う大当り遊技を行い、大当り抽選の当選に起因して、大当り抽選の当選確率と、始動口への入球確率とのうちの少なくとも一方が上昇する特典状態に移行すると共に、予め定められた条件が満たされると、該特典状態を終了させ、更新条件とは、特典状態が終了するという条件であること、を特徴としても良い(第11の発明)。
こうすることにより、確変状態や時短状態が終了し、遊技者がある程度の利益を得た時点で施設使用料等を徴収することができるため、施設使用料等を支払うことへの遊技者の不満を抑えることができる。
また、従来、確変状態等が終了した時点で持球を全て交換するルールを設け、持たせ遊技に一定の制限を課しているパチンコ店が存在する。そして、このようなパチンコ店では、店員が各弾球遊技機の遊技状態を監視し、確変状態等が終了した際に店員が弾球遊技機のもとを訪れて持球を交換していた。
しかしながら、第11の発明に係るカード式の遊技機によれば、確変状態等が終了した時点で自動的に精算がなされるため、店員が各弾球遊技機を監視したり、持球を交換する必要が無くなり、パチンコ店の運営コストを大幅に低下させることができる。
また、遊技者がパチンコ店の閉店時間になっても遊技をやめようとしない場合があり、従来は、このような場合、店員は強制的に遊技者に遊技を終了させていた。
そこで、第12の発明に係るカード式の遊技機は、現在の時刻を特定する特定手段をさらに備え、更新条件とは、特定手段により、予め定められた時刻が特定されるという条件である。
このような構成によれば、閉店時間となった際に、パチンコ店の店員を煩わすこと無く遊技を終了させることができ、店員の手間を省くことができる。
また、更新条件とは、貸出手段により手持遊技媒体の貸し出しがなされたという条件であっても良い(第13の発明)。
こうすることにより、球貸しがなされ、遊技が開始される際に施設使用料等が徴収されるため、全ての遊技者から平等に施設利用料等を徴収することができ、遊技者の不満を抑えることができる。
また、遊技中に瞬間停電等が発生すると、手持遊技媒体の数を示すデータが消失したり、電源状態が不安定になることにより正常な遊技が行われず、遊技を継続していた遊技者に損失を与えてしまうおそれがある。
そこで、第14の発明に係るカード式の遊技機は、当該遊技機への電力供給の停止を検出する検出手段と、当該遊技機への電力供給の停止後、一定期間にわたり当該遊技機の各部位に電力を供給する供給手段と、をさらに備え、更新条件とは、検出手段により、当該遊技機への電力供給の停止が検出されたという条件である。
このような構成によれば、遊技機への電力供給が停止した際に手持遊技媒体の精算がなされるため、瞬間停電等の影響により手持遊技媒体の数を示すデータの消失等が生じたとしても、遊技者に損失が生じることを防ぐことができる。
さらに、第15の発明に係るカード式の遊技機は、発射装置により遊技盤に発射された遊技媒体である遊技球を回収し、回収した遊技球を発射装置により再度発射することで、内部に封入された所定数の遊技球を循環的に使用して遊技を行う封入式の弾球遊技機として構成されており、払出手段は、更新条件が満たされると、さらに、その時点における手持遊技媒体の数を記憶媒体に保存し、カード式の遊技機は、当該遊技機への電力供給が開始されると、払出手段により記憶媒体に保存された手持遊技媒体の数を取得する取得手段をさらに備え、遊技制御手段は、当該遊技機への電力供給が開始されると、取得手段により取得された数の手持遊技媒体を用いて遊技を進行させる。
このような封入式の弾球遊技機によれば、電力供給が停止すると、手持遊技媒体の数を示すデータが記憶媒体に退避され、その後、電力供給が回復すると、記憶媒体から該データが読み出され、該データが示す手持遊技媒体の数に基づき遊技が再開される。このため、瞬間停電等による電力供給の停止から復帰した際、電力供給の停止前と同様にして遊技を行うことが可能となる。
なお、カード式の遊技機は、発射装置により遊技盤に発射された遊技媒体である遊技球を回収し、回収した遊技球を発射装置により再度発射することで、内部に封入された所定数の遊技球を循環的に使用して遊技を行う封入式の弾球遊技機として構成されていても良い(第16の発明)。
こうすることにより、セキュリティ性が向上する等といった封入式の弾球遊技機の利点を享受しつつ、遊技者に十分な出玉感を与えることができる。
第1実施形態のパチンコ機の正面図である。 第1実施形態のパチンコ機の発射装置の構成を示す説明図である。 第1実施形態のパチンコ機の裏面図である。 第1実施形態のパチンコ機の電気的構成を示すブロック図である。 第1実施形態のメインルーチンについてのフローチャートである。 第1実施形態の始動口入賞確認処理についてのフローチャートである。 第1実施形態の当否判定処理についてのフローチャートである。 第1実施形態の当否判定処理についてのフローチャートである。 第1実施形態の当否判定処理についてのフローチャートである。 第1実施形態の当否判定処理についてのフローチャートである。 第1実施形態の持球数加減算処理についてのフローチャートである。 第1実施形態の演出表示装置に表示される持球数の表示態様を示す説明図である。 第1実施形態の計数処理についてのフローチャートである。 第1実施形態の持球情報処理についてのフローチャートである。 第1実施形態の貸出処理についてのフローチャートである。 第1実施形態の更新条件判定処理1,図柄設定処理についてのフローチャートである。 第1実施形態の更新条件判定処理2,上限数設定処理についてのフローチャートである。 第1実施形態の更新条件判定処理3についてのフローチャートである。 第1実施形態の更新条件判定処理4についてのフローチャートである。 第1実施形態の更新条件判定処理5についてのフローチャートである。 第2実施形態のパチンコ機の電気的構成を示すブロック図である。 第2実施形態の持球情報処理についてのフローチャートである。 第2実施形態の停電復帰処理についてのフローチャートである。 第2実施形態の強制終了処理1についてのフローチャートである。 第2実施形態の強制終了処理2についてのフローチャートである。 第2実施形態の総貸出数カウント処理についてのフローチャートである。 第2実施形態の遊技続行操作受付処理についてのフローチャートである。 第2実施形態の強制終了処理3についてのフローチャートである。 第2実施形態の強制終了処理4についてのフローチャートである。
以下、本発明の実施形態について図面を用いて説明する。なお、本発明の実施の形態は、下記の実施形態に何ら限定されることはなく、本発明の技術的範囲に属する限り種々の形態を採りうる。
[第1実施形態]
[構成の説明]
本発明を適用した第1実施形態の遊技機たるパチンコ機を説明する。本パチンコ機は、機台内に所定数の遊技球が封入されており、封入された遊技球を遊技盤の遊技領域に向けて発射するとともに、入賞した遊技球(入賞球)、入賞しなかったアウト球に関わらず発射された遊技球を回収し、回収した遊技球を再度発射することで内部の遊技球を循環的に使用して遊技を行う構成(封入式)となっている。
図1に示すように、パチンコ機1は、縦長の固定外郭保持枠をなす外枠10にて構成の各部を保持する構造としてある。外枠10には、左側の上下の位置に設けたヒンジ101を介して、板ガラス110が嵌め込まれた前枠(ガラス枠)11および図略の内枠が開閉可能に設けてある。なお、これら前枠11および前記内枠は、シリンダ錠18により外枠10に閉鎖ロックされ、シリンダ錠18に所定の鍵を挿入し、鍵を時計回りに操作して前記内枠を開放するようになし、反時計まわりの操作により前枠11を開放する。
前枠11の板ガラス110の奥には、前記内枠に保持された遊技盤2が設けてある。
前枠11の下部の左右両側位置には、それぞれ、スピーカ112が設置してあり、これらにより遊技音が出力され、遊技の趣向性を向上させる。また、前枠11には、遊技状態に応じて発光する枠側装飾ランプ113のほか、遊技の異常を報知するLED類が設けてある。
前枠11の下半部の右側には、発射ハンドル14が設けてあり、該発射ハンドル14を時計回りに操作することにより、前枠11の上部左端に設けられた発射装置31が作動し、左斜め上方から遊技盤2に向けて遊技球が発射される。
本パチンコ機1には、記憶媒体(例えばICカード)にアクセスするカードユニット(CRユニット)60が併設されており、このICカードには、遊技球を貸出し可能な金額(残高)を示す残高情報や、遊技者の持球の数を示す持球情報や、遊技者の持球数から算出された払出金額を示す払出金額情報が保存される。
そして、パチンコ機1は、CRユニット60を介してICカードにアクセスし、読み出した残高情報が示す残高に基づき遊技者に持球を貸し出すと共に、遊技終了時等に払出金額を算出してICカードに保存するカード式のパチンコ機として構成されている。
なお、パチンコ機1にICカードを挿入する挿入部を設け、CRユニット60を経由すること無く、パチンコ機1から直接ICカードにアクセスする構成としても良い。
CRユニット60に関連して、パチンコ機1には、前枠11の下半部の左側に貸出SW171、返却SW172および残高表示装置173が設けてある。
また、貸出SW171、返却SW172、および残高表示装置173に隣接して、遊技者が操作可能な遊技ボタン15と、その外周を囲むようにジョグダイヤル16が設置されている。
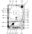
遊技盤2には、レール体201によって囲まれた遊技領域20が形成されている。遊技領域20には、その中央部にセンターケースが装着され、センターケースには、演出図柄表示装置21(全体の図示は省略)のLCDパネルが配設されている。また、センターケースには、周知のものと同様にワープ入口、ワープ樋(遊技球通路)、ステージなどが設けられている。
演出図柄表示装置21の左右両側位置には、遊技球が通過可能な通過ゲート22がそれぞれ設置されている。また、演出図柄表示装置21の中央下方位置には、常時上方へ向かって開口し、遊技球の入球が可能な第1特別図柄始動口(以下、第1特図始動口という)23と、その直下位置には、普通電動役物(普電役物)により開閉可能であり、開放時にのみ入球可能の第2特別図柄始動口(以下、第2特図始動口という)24が設けられている。
前記第1特図始動口23及び第2特図始動口24は、特別図柄(以下、単に特図という)の大当り抽選(当否判定)を実行する始動口である。各第1及び第2の特図始動口23,24は、遊技球が入球すると複数種類の乱数が抽出され、抽出された乱数は特図の保留記憶として記憶される。
第2特図始動口24は、前記通過ゲート22への遊技球の通過に起因して実行される普通図柄(以下、単に普図という)の抽選で当りとなることにより前記普電役物が所定の時間開放する。
第1及び第2特図始動口23,24の左右両側位置には、複数の普通入賞口26が配されている。また、第2特図始動口24の下方には、開閉板にて開閉される大入賞口25が配され、盤面最下部にはアウト口29が設けられている。
尚、遊技盤2の遊技領域20には、多数の遊技釘が植設されている。
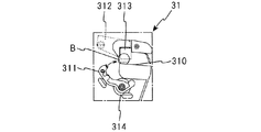
図2に示すように、発射装置31は、中央に発射台310が設けられ、該発射台310へは球送り機構312の作動により開口部313を経て遊技球Bが一球ずつ送り出される。そして、発射モータ314により駆動する発射槌311の作動により遊技球Bを打ち出して、遊技盤2の遊技領域20へ向けて発射する。
図3に示すように、パチンコ機1の裏側は、前記遊技盤2を脱着可能に取付ける内枠30が収納されている。内枠30は、前記前枠11と同様に、一方の側縁(図3の右側)の上下位置が前記外枠10にヒンジ結合され、開閉可能に設置されている。
そして、前枠11の裏面および内枠30には、主制御装置40、払出制御装置41、サブ統合制御装置42、演出図柄制御装置43、発射装置31、電源基板(図略)が設けられている。
主制御装置40、サブ統合制御装置42、発射装置31および演出図柄制御装置43は遊技盤2の裏面に設けられ、払出制御装置41、電源基板は内枠30に設けられている。
なお、電源基板には、例えば、大容量のコンデンサ等から構成された補助電源(特許請求の範囲における供給手段に相当)が設けられており、パチンコ機1の稼動中に該補助電源に電力が充電されると共に、パチンコ機1への電力供給が停止されると、該補助電源から各部位に電力が供給される構成となっている。これにより、パチンコ機1は、電力供給が停止した場合であっても一定期間にわたり動作を継続することができ、瞬間停電が発生しても遊技を継続することができる。
また、パチンコ機の裏面には下部に、遊技盤に発射された遊技球を回収し、回収した遊技球を研磨する研磨装置45が設置されており、更に、研磨した遊技球をパチンコ機の下部から上部の前記発射装置31へ送る揚送装置33が、内枠30の裏面右側に沿って上下方向に設置されている。
図4は、本パチンコ機1の電気的構成を示すもので、遊技の制御を司る主制御装置40を中心に、副制御装置として払出制御装置41、サブ統合制御装置42および演出図柄制御装置43を具備する構成である。主制御装置40、払出制御装置41、サブ統合制御装置42および演出図柄制御装置43においては、何れもCPU,ROM,RAM,入力ポート,出力ポート等を備え、これら制御装置は、何れもCPUにより、2ms周期又は4ms周期の割り込み信号に起因してROMに搭載しているメインルーチンおよびサブルーチンからなるプログラムが開始され、各種の制御が実行される。
主制御装置40は、前枠(ガラス枠)11、内枠30が開放しているか否か検出するガラス枠開放SW(スイッチ)501および内枠開放SW502と電気的に接続され、遊技盤中継端子板541を介して、第1特図始動口23への入球を検出する第1始動口SW503、第2特図始動口24への入球を検出する第2始動口SW504、普図通過ゲート22への入球を検出する普通図柄作動SW505、左右の各普通入賞口26への入球を検出する左入賞口SW506及び右入賞口SW507、大入賞口25への入球を検出するカウントSW508、第1,第2特図始動口23,24や大入賞口25ないし普通入賞口26等の各入賞口へ入賞した入賞球を検出する入賞球センサ509、入賞することなくアウトとなったアウト球を検出するアウト球センサ510、不正行為を検出するための磁石センサ511及び電波センサ512等と電気的に接続され、各SW,センサからの検出信号が入力される。
尚、前記入賞球センサ509は、第1,第2特図始動口23,24や、大入賞口25ないし普通入賞口26等の各入賞口へ入賞した入賞球を回収し、前記研磨装置45へ送るため、遊技盤の裏面に設けられた球通路の下流部に設置され、各入賞口への入賞球を一括して検出するように構成されている。
前記アウト球センサ510は、アウト口29から研磨装置45へアウト球を送る球通路に設けられている。
主制御装置40は、搭載しているプログラムに従って動作して、上述の検出信号などに基づいて遊技の進行に関わる各種のコマンドを生成し、払出制御装置41,サブ統合制御装置42,演出図柄制御装置43へ向けてのコマンドの出力や、図柄表示装置中継端子板542を介して特図表示装置27、特図保留数表示装置271、普通図柄表示装置28及び普図保留数表示装置281の表示制御を行う。尚、これら表示装置27,271,28,281は、遊技盤2の前面の遊技領域20の外部に設けてある。
また、主制御装置40は、遊技盤中継端子板541を介して大入賞口ソレノイド513を駆動して大入賞口25を開放作動せしめ、普電役物ソレノイド514を駆動して第2特図始動口24の普電役物を開閉する。
主制御装置40は、払出制御装置41と双方向通信が可能に接続されている。
また、主制御装置40には、時計機能が設けられている。なお、払出制御装置41,CRユニット60を経由してホールコンピュータ500から現在の時刻を示す時刻情報を取得する構成としても良い。
払出制御装置41は、CRユニット端子板548を介してCRユニット60と通信可能に接続されている。また、残高表示装置173を介して、貸出SW171,返却SW172による貸出要求,返却要求の操作信号を受付けるように構成されている。払出制御装置41は、前記貸出要求,返却要求の操作信号に基づいて、CRユニット60との間で通信を行い、CRユニット60に挿入されたICカードに関する残高情報の把握や、貸出要求信号に応じた貸出し球数の設定や、返却要求信号に応じて残高情報の返却処理等を行う。
CRユニット60は、遊技施設のホールコンピュータ500と通信可能に設続され、払出制御装置41との通信内容に基づいてパチンコ機1の遊技情報をホールコンピュータ500へ送信するように構成されている。
また、払出制御装置41は、発射操作部中継端子板543を介して、持球数を計数する操作を行なう計数SW174の操作信号や、前記発射ハンドル14の操作量を検出するハンドルボリューム520の操作量検出信号や、発射停止SW522の停止検出信号や、発射ハンドル14に遊技者が接触(操作)していることを検出するタッチSW521等の検出信号が入力される。
更に、払出制御装置41は、発射装置中継端子板544を介して、前記発射装置31の入口での遊技球の有無を検出する発射入口センサ524や、発射モータ314や、前記球送り機構312を駆動する球送りソレノイド526が接続されている。そして、払出制御装置41は、主制御装置40から送られてくる遊技状況が反映されたコマンドや、前記ハンドルボリューム520,タッチSW521,発射停止SW522,発射入口センサ524の信号等に基づいて、発射モータ314,球送りソレノイド526を駆動制御し、遊技球を発射および停止させる。
更にまた、払出制御装置41は、前記CRユニット60との通信処理や、遊技球の発射に関する制御の他、研磨装置中継端子板545を介してカセットスイッチ527と研磨モータセンサ528の検出信号が入力され、これら検出信号に応じて、カセットモータ529および研磨モータ530を駆動し、前記研磨装置45を制御せしめる構成である。
また、研磨装置45の制御の他に、払出制御装置41は、揚上中継端子板546を介して揚上入口センサ532と揚上モータ監視センサ533の検出信号が入力され、これら検出信号に応じて揚上モータ531を駆動し、前記揚送装置33を制御せしめる。
更に、払出制御装置41には、内枠中継端子板547を介して、パチンコ機1内の遊技球の適正量を検出する適正量検出センサ534、満タンセンサ535、および夜間監視スイッチ536等の検出信号が入力される構成である。
サブ統合制御装置42には、ジョグダイヤル16および遊技ボタン15の操作を検出する検出信号が入力される。
そして、サブ統合制御装置42は、スピーカ112を駆動して音声を出力することや、各種LEDや各種ランプ113の点灯、消灯等を制御する。更に、演出図柄制御装置43へキャラクタなどを表示する擬似演出や特図の擬似図柄の表示態様のコマンドを送信する。
演出図柄制御装置43は、LCDパネルユニットや付属ユニットと共に演出図柄表示装置21を構成している。演出図柄制御装置43は、サブ統合制御装置42から送られてくるコマンドに応じて演出図柄表示装置21のLCDパネルの表示を制御する。
本パチンコ機1において遊技を開始する場合、ICカードの残高情報の範囲内で遊技球の貸出しを行い、これを遊技に使用することが可能な持球として遊技を開始する。また、これ以外にも、CRユニット60へのICカード挿入時に、該ICカードに持球数の記憶がある場合には、これを読み取り、持球として遊技を開始する。
パチンコ機1の遊技は、第1,第2特図始動口23,24への入球があると、これに起因して特図当否判定用の乱数値が抽出され、該乱数値に基づいて当否判定を行い、特図表示装置27において特図の図柄変動を開始すると共に、演出図柄表示装置21において特図に対応する擬似演出図柄の図柄変動を開始する。
前記特図の判定結果が大当りであれば、大当り図柄を決めて各表示装置21,27に大当り図柄を確定表示し、大当り遊技(特別遊技)を実行する。大当り遊技は、大入賞口25を開放し、所定の時間または入球数が所定数に達して閉じるまでの動作を1ラウンドとして、所定数のラウンドを継続することを基本遊技としている。
尚、第2特図始動口24の普電役物は、通過ゲート22への入球に起因して普図の当否抽選が実施され、当否抽選の結果が当りであれば開放される。
また、本パチンコ機1は、大当り遊技後に、遊技状態が特別図柄の当選確率が高確率となる「確変」機能が付与された遊技状態(確変状態)や、第2特図始動口24の普電役物の開放時間が延長される「開放延長」機能が付与された遊技状態(時短状態)へと移行可能な構成である。
なお、パチンコ機1は、特定の図柄で大当りとなった際に確変状態や時短状態に移行する構成となっていても良いし、大当りとなった後に必ず確変状態等に移行する構成となっていても良い。また、大当りとなった際の図柄(当り図柄)に応じて確変状態等の継続期間が定められる構成としても良いし、当り図柄に関らず、確変状態等が所定期間にわたり継続する構成としても良い。
そして、本パチンコ機1は、演出図柄表示装置21において、遊技に応じて特図の変動に伴う演出表示を実施するとともに、遊技に使用することが可能な遊技球としての持球数の表示と、賞球数を表示する構成とされている。
[動作の説明]
以下、主制御装置40および払出制御装置41で実行される本発明に関わりの深いプログラム処理について説明する。
(1)メインルーチンについて
図5は、主制御装置40で実行される「メインルーチン」のフローチャートを示し、「メインルーチン」は本処理(S100〜S110,S115)と残余処理(S111)とで構成され、2ms又は4ms周期の割り込み信号に起因して開始され、最初に正常割り込みか否かを判断する(S100)。この判断はRAMの特定アドレスに特定の数値が書き込まれているか否かに基づいて行われ、ここで否定判断(S100:no)なら初期設定(S115)を実行する。前述の正常割り込みか否かを判断するための数値は、この初期設定の一環としてRAMに書き込まれる。
正常割り込みなら(S100:yes)、初期値乱数更新処理(S101),特図の当否判定用の乱数値である大当り決定用乱数の更新処理(S102),特図の大当り図柄決定用乱数の更新処理(S103),普図の当り判定用乱数の更新処理(S104),特図のリーチに関するリーチ判定用乱数の更新処理(S105),特図の変動パターンに関する変動パターン決定用乱数の更新処理(S106),入賞確認処理(S107),当否判定処理(S108),各出力処理(S109),不正監視処理(S110)を行って、次に割り込み信号が入力されるまでの残余時間内には初期乱数更新処理(S111)をループ処理する。
次に、前記の入賞確認処理(S107)、当否判定処理(S108)および各出力処理(S109)の一部のサブルーチンについて説明する。
(2)始動入賞確認処理について
図6に示す「始動入賞確認処理」は、前記入賞確認処理(S107)のサブルーチンで、第1特図始動口23および第2特図始動口24への入球があれば(S200:yes)、入球に対応する特図の保留記憶が満杯か確認する(S201)。第1実施形態における記憶可能な保留記憶数は4個である。
保留記憶が満杯でなければ(S201:no)、S202の抽出乱数保留記憶処理において、前記入球に起因して抽出した複数の乱数値(大当り決定用乱数,大当り図柄決定用乱数,リーチ判定用乱数,変動パターン決定用乱数等)を保留記憶として記憶する。また、この処理では、第1又は第2特図保留数表示装置271,272の点灯数を1つ増加させるとともに、サブ統合制御装置42へ現在の保留記憶数を送信するコマンドの送信処理を行う。その後、リターンする。
(3)当否判定処理について
図7ないし図10は、「当否判定処理」のフローチャートを示す。図7に示すように「当否判定処理」は、先ず、役物連続作動装置の作動を確認して大当り遊技中であるか否かを確認し(S300)、大当り遊技中でなければ(S300:no)、第1、第2特図が変動中であるか否かを確認し(S301)、変動中でなければ(S301:no)、第1、第2特図の確定図柄が表示中であるか否かを確認する(S302)。尚、前記役物連続作動装置が作動中(S300:yes)であれば「特別遊技処理」に移行する。
前記S302の処理で確定図柄が表示中でなければ(S302:no)、図8に示すように、特図の保留記憶があるか否かを確認する(S310)。保留記憶がなければ(S310:no)、「特別遊技処理」に移行する。保留記憶があれば(S310:yes)、記憶数を減算し、保留記憶のシフト処理を行う(S311)。該シフト処理により特図の保留記憶のうち最も古い保留記憶が当否判定の対象となる。
次に、S312の処理で、確変フラグを確認して現在の遊技状態が確変状態(高確率)であるか否かを確認する(確変フラグが「1」であれば確変中)。確変中であれば(S312:yes)、確変時の当否判定用テーブルと前記当否判定の対象となる保留記憶の大当り決定用乱数とを対比して大当りか否か当否判定を行う(S313)。
確変中でなければ(S312:no)、通常確率(低確率)の当否判定用テーブルと前記大当り決定用乱数とを対比して大当りか否か当否判定を行う(S314)。
続くS315の処理では、S313又はS314の処理の当否判定が大当りか否かの確認を行う。
大当りであれば(S315:yes)、S316の処理において、前記当否判定の対象となる保留記憶の大当り図柄決定用乱数に基づいて大当り図柄を決定する。
S317の処理では、前記当否判定の対象となる保留記憶の変動パターン決定用乱数に基づいて、演出図柄表示装置21に表示される特図の大当り用の変動時間などといった変動パターンを決定する。
変動パターンの決定後、S318で大当り設定処理を行う。この処理では、前記決定された大当り図柄に基づき、大当り遊技の開放パターンの設定を行う。例えば、演出図柄表示装置21で実行される大当り遊技のオープニング演出の時間の設定、エンディング演出の時間の設定、および大入賞口25の開放態様の設定がなされる。更に、大当り遊技終了後の特典遊技状態として確変と時短が付与されるか否かの設定、確変の継続期間を制限する確変カウンタの設定、時短の継続期間を制限する時短カウンタ設定等の処理がなされる。
S315の処理において、大当りでなくハズレであれば(S315:no)、S319の処理において、前記当否判定の対象となる保留記憶のハズレ図柄決定用乱数に基づいてハズレ図柄を決定し、続いて、演出図柄表示装置21に表示される特図のハズレ用の変動時間などといった変動パターンを決定する(S320)。続くハズレ設定処理(S321)では、遊技状態が確変,時短であれば、これらの継続期間をカウントする確変回数と時短回数を減算する。
S318又はS321の各設定処理の後、S322の処理では、特図表示装置27の図柄変動開始制御を行い、サブ統合制御装置42へ図柄の変動開始コマンド,図柄指定コマンドを送信し、「特別遊技処理」へ移行し大当り時には大入賞口25を開放する大当り遊技が実施される。
前記図7のS301の処理で特図の変動中のときは(S301:yes)、図9に示すように、図柄の変動時間が経過したことを確認すると(S330:yes)、確定図柄表示処理(S331)において、特図表示装置27の変動表示を終了させる制御を行い、サブ統合制御装置42および演出図柄制御装置43へ変動表示および演出表示を終了させるように図柄確定コマンドを送信し、「特別遊技処理」へ移行する。
前記図7のS302の処理で確定図柄を表示中であれば(S302:yes)、図10のS340の処理に移行して、確定図柄表示時間が終了したか否かを確認する。確定図柄表示時間が終了していなければ(S340:no)、「特別遊技処理」へ移行する。
一方、確定図柄表示時間が終了したことを確認すると(S340:yes)、確定図柄表示終了の処理(S341)により特図表示装置27の特図の確定図柄表示を終了させる制御を行い、サブ統合制御装置42へ特図に対応する擬似図柄の確定表示を終了させるようにコマンドを送信する。
続いて、特図の図柄が大当りになる組合せであるか否かを確認し(S342)、大当りになる組合せであったときは(S342:yes)、確変フラグが「1」であれば(S343:yes)、確変フラグに「0」をセットする(S344)。次に、時短フラグが「1」であれば(S345:yes)、時短フラグに「0」をセットする(S346)。これらの処理により、大当り遊技(特別遊技)中での遊技状態を通常状態にリセットする。
S347の処理では条件装置の作動を開始させ、S348の処理では役物連続作動装置の作動を開始させる。条件装置は大当り遊技で役物連続作動装置の作動に必要な装置であり、役物連続作動装置は特別電動役物を連続して作動させる装置である。
そして、大当り開始演出処理(S349)により、サブ統合制御装置42へ大当り演出を開始させるようにコマンドを送信し、「特別遊技処理」に移行する。
S342の処理で、大当りになる組合せでなければ(S342:no)、確変フラグが「1」であるか否かを確認し(S350)、確変フラグが「1」であり(S350:yes)、確変カウンタ(回数)が「0」であれば(S351:yes)、確変フラグを「0」にセットする(S352)。
続く処理で時短フラグが「1」であり(S353:yes)、時短カウンタ(回数)が「0」であれば(S354:yes)、時短フラグを「0」にセットする(S355)。
続くS356の状態指定コマンド送信処理では、遊技状態を示す確変フラグや時短フラグの情報等を含む状態指定コマンドを、サブ統合制御装置42へ送信する。
S357の処理では、今回の当否判定後の保留記憶数が「0」であるか確認し(保留記憶が有るか無いか確認)、保留記憶が無ければ(S357:yes)、サブ統合制御装置42へ向けて、次に前記特図変動開始コマンドが出力されるまで特図の図柄変動を待機するように指示する待機状態指定コマンドを送信する(S358)。その後、「特別遊技処理」に移行する。
(4)持球数加減算処理について
次に、演出図柄表示装置21の持球数の表示に関して、主制御装置40で実行されるプログラム処理について説明する。図11に示す「持球数加減算処理」は、前記「メインルーチン」の「各出力処理」のサブルーチンであり、「持球数加減算処理」では先ず、主制御装置40において遊技に使用可能な遊技球である持球情報(持球の数を示す情報)の記憶が無いか否かを確認する(S400)。持球情報が無ければ(S400:yes)、続くS401の処理において、CRユニット60へのICカード挿入時にカードに持球数の記憶がある場合にカードから読み出された持球情報、又はカードに持球数の記憶がなく遊技者により新規ないし追加により持球として遊技球の貸出しがなされた持球情報を、払出制御装置41を介して受信したか否かを確認し、持球情報の受信を待つ。
持球情報の受信があれば(S401:yes)、主制御装置40内のRAMなどの記憶媒体に受信した持球情報を保存する(S402)。
なお、主制御装置40は、持球情報の記憶の有無に関らず、球貸し等に応じた持球情報の受信があればこれを保存するか、或いは、既に保存されている持球情報が示す持球数に新たに受信した持球情報が示す持球数を加算し、該持球情報を更新する構成としても良い。
S400の処理で持球情報の記憶があれば(S400:no)、続くS403の処理において、第1,第2始動口SW503,504、左,右入賞口SW506,507、カウントSW508の検出信号により第1,第2特図始動口23,24や、大入賞口25ないし普通入賞口26への入賞があったか否かを確認する。入賞が検出されれば(S403:yes)、入賞に応じて付与される賞球の数を持球数に加算し、持球情報を更新する(S404)。次に、前記賞球数を演出図柄表示装置21に表示させる準備(処理)を行う(S405)。
前記S403の処理において入賞の検出が無ければ(S403:no)、入賞球センサ509による入賞球の検出、又はアウト球センサ510によるアウト球の検出があったか否かを確認する(S406)。入賞球又はアウト球の検出があれば(S406:yes)、持球数から1を減算して持球情報を更新する(S407)。
そして、続くS408の処理において、前記S402で記憶した持球情報、又はS407で更新された持球情報、S404での賞球数の情報がサブ統合制御装置42を介して演出図柄制御装置43へ送信され、演出図柄制御装置43の制御により現在の遊技状態の前記持球数と前記賞球数とを演出図柄表示装置21に表示させる。
図12に示すように演出図柄表示装置21の表示画面には、特図に関する擬似図柄表示(3桁の数字)210の右下部において上下二段に持球情報を表示せしめる。下部には持球数211を、上部には賞球表示212を表示せしめる。尚、該表示態様は一表示例であり、これに限らず他の表示態様でもよい。
(5)計数処理について
遊技の終了は、遊技者が前記計数SW174を操作することでなされる。図13に示す「計数処理」は、遊技の終了に関して主制御装置40で実行される処理である。この処理は、先ず、計数SW174が操作され、計数信号を受信したか否かを確認する(S500)。この場合、計数SW174は払出制御装置41と接続されており、計数信号は主制御装置40へ払出制御装置41を介して送信される。
計数信号の受信があれば(S500:yes)、続くS501の待機処理において、遊技盤を流下中の遊技球があると正確な持球数の算出ができないため、全ての遊技球が回収されるのに充分な所定の時間を待機とする。
そして、S502の処理において、全ての遊技球が回収されるのに充分な時間経過後に、前記「持球数加減算処理」により更新された持球情報(持球数)を払出制御装置41へ送信する。その後、主制御装置40の持球情報をクリアする(S503)。
(6)持球情報処理について
次に、持球情報に関して払出制御装置41で実行されるプログラム処理である「持球情報処理」について、図14を用いて説明する。なお、本処理は、払出制御装置41にて定期的に実行される。
S600では、払出制御装置41は、パチンコ機1への電力供給の開始時か否かを判定し、肯定判定が得られた場合には(S600:Yes)、S601に処理を移行すると共に、否定判定が得られた場合には(S600:No)、S602に処理を移行する。
S601では、払出制御装置41は、CRユニット60に対し、例えば、後述する更新条件判定処理3によりパチンコ機1への電力供給停止時等にCRユニット60に挿入されているICカードに保存された持球情報の送信を要求し、S602に処理を移行する。
なお、後述する実施例3の更新条件判定処理3が行われない場合には、S600,S601の処理を省略しても良い。
S602では、払出制御装置41は、CRユニット60から、ICカード挿入時にICカードから読み出された持球情報や、S601での送信要求に応じて送信された持球情報を受信したか否かを判定する。そして、肯定判定が得られた場合には(S602:Yes)、S603に処理を移行し、否定判定が得られた場合には(S602:No)、S604に処理を移行する。
S603では、払出制御装置41は、主制御装置40に受信した持球情報を送信し、本処理を終了する。なお、持球情報を受信した主制御装置40では、「持球数加減算処理」のS402,S408の処理が行われる。
一方、S604では、払出制御装置41は、遊技終了時の「計数処理」のS502の処理や後述する「更新条件判定処理1〜4」により、主制御装置40から持球情報を受信したか否かを判定する。そして、肯定判定が得られた場合には(S604:Yes)、S605に処理を移行し、否定判定が得られた場合には(S604:No)、S607に処理を移行する。
S605では、払出制御装置41は、交換ルールに従い、受信した持球情報が示す持球数から払出金額を算出し、S606に処理を移行する。
パチンコ機1では、所定数の持球の払出金額を、後述する貸出ルールに従い同数の遊技球の球貸しを行った際の貸出金額よりも低くなるように算出する交換ルールが定められている。これにより、払出金額を算出する段階で、遊技者から施設使用料等の付加料金を徴収することができる。
この交換ルールの具体例としては、例えば、後述する貸出ルールにおいて、球貸しの際の遊技球1球あたりの単価が、基本単価と付加料金とを加算した金額となっている場合であれば、基本単価に持球数を乗算して得られた金額を、払出金額とすることが考えられる。
また、このほかにも、球貸し時の単価よりも低い単価を持球数に乗算して得られた金額を払出金額としても良い。また、持球数に1未満の所定の係数を乗算して得られた値や、持球数から所定値を減算して得られた値と、球貸し時の単価とを乗算して得られた金額を、払出金額としても良い。
なお、後述する実施例1,2,5のように、遊技者の持球数を減じることで付加料金を徴収するということも考えられ、このような場合には、球貸しの際と同じ単価で払出金額を算出することが考えられる。
S606では、払出制御装置41は、算出した払出金額をCRユニット60に送信すると共に、CRユニット60に対し該払出金額をICカードに保存することを指示し、本処理を終了する。なお、払出金額を受信したCRユニット60は、該払出金額を示す払出金額情報をICカードに保存し、遊技者は、例えば、該ICカードをパチンコ店の店員に提示することで、該ICカードに保存されている払出金額分の景品を取得する。
一方、S607では、払出制御装置41は、遊技を終了するために計数SW174が操作されたか否を判定し、肯定判定が得られた場合には(S607:Yes)、S608に処理を移行すると共に、否定判定が得られた場合には(S607:No)、本処理を終了する。
S608では、払出制御装置41は、主制御装置40に対し、計数SW174が操作されたことを示す計数信号を送信し、本処理を終了する。なお、計数信号を受信した主制御装置40は、上述した「計数処理」により、持球情報の払出制御装置41への送信等を実行する。
(7)貸出処理について
次に、遊技球を持球として貸し出すプログラム処理である「貸出処理」について、図15を用いて説明する。なお、本処理は、払出制御装置41にて定期的に実行される。
S700では、払出制御装置41は、貸出SW171の操作の有無を判定し、肯定判定が得られた場合には(S700:Yes)、S701に処理を移行すると共に、否定判定が得られた場合には(S700:No)、本処理を終了する。
S701では、払出制御装置41は、貸出SW171の操作に対応する貸出金額(球貸しの際に遊技者が支払う金額)を特定し、CRユニット60に貸出金額を送信する。貸出金額を受信したCRユニット60は、ICカードに保存されている残高情報が示す残高から貸出金額を減額し、残高情報を更新すると共に、球貸しが可能である旨を払出制御装置41に送信する。なお、残高が貸出金額に満たない場合には、球貸しが不可能である旨を払出制御装置41に送信する。
S702では、払出制御装置41は、CRユニット60から、球貸しが可能である旨を受信したか否かを判定し、肯定判定が得られた場合には(S702:Yes)、S703に処理を移行すると共に、否定判定が得られた場合には(S702:No)、本処理を終了する。
S703では、払出制御装置41は、貸出ルールに従い、貸出金額に応じた遊技球の数(貸球数)を算出する。具体的には、例えば、遊技球1球あたりの料金である基本単価(例えば4円)と、遊技球1球につき設定された施設使用料等の付加料金(例えば1円)とを加算した金額を単価とし、貸出金額を該単価で除算した数を貸球数としても良い。
なお、付加料金は2球以上の所定数の遊技球につき設定されていても良く、このような場合であれば、所定数の遊技球を貸し出す度に付加料金が課されることになる。
また、貸出ルールは、例えば、交換時の遊技球1球あたりの単価よりも高い単価で貸球数を算出するという内容であっても良い。
続くS704では、払出制御装置41は、主制御装置40に対し、球貸しがなされた旨と、算出した貸球数分の持球数を示す持球情報を送信し、本処理を終了する。なお、持球情報を受信した主制御装置40では、「持球数加減算処理」のS402,S408の処理が行われ、主制御装置40が保持している持球数に貸球数が加算される。
(8)更新処理について
第1実施形態のパチンコ機1では、予め定められた更新条件が満たされると更新処理が行われる。この更新処理とは、遊技を中止して持球情報が示す持球数分の払出金額をICカードに保存するといったものや、持球数を減少させるといったものであり、これにより、パチンコ店は施設使用料等の徴収が可能となり、さらには、持たせ遊技を制限して過度な出玉を抑止すること等が可能となる。
以下では、更新処理を行う際の実施例1〜5について説明するが、第1実施形態のパチンコ機1では、以下に説明する実施例のうちのいずれかを実行するか、或いは、これらの実施例のうちの全部または一部を適宜組合せて実行することが考えられる。
<実施例1>
実施例1では、パチンコ機1の遊技に関する各種状態に基づき定められた更新条件が設けられている。
まず、主制御装置40にて行われる「更新条件判定処理1」について、図16(a)に記載のフローチャートを用いて説明する。なお、「更新条件判定処理1」は、「メインルーチン」の「各出力処理」のサブルーチンとして構成されている。
S800では、主制御装置40は、遊技に関する各種状態に基づき定められた更新条件が満たされたか否かを判定し、肯定判定が得られた場合には(S800:Yes)、S801に処理を移行すると共に、否定判定が得られた場合には(S800:No)、本処理を終了する。
具体的には、該更新条件とは、例えば、大当り遊技が終了したという条件であっても良いし、交換図柄(予め定められた特別図柄或いは擬似図柄)が停止表示された大当りによって開始された大当り遊技が終了したという条件であっても良い。また、確変状態、時短状態、或いは、確変状態且つ時短状態である遊技状態(特典状態)が終了した(大当り遊技以外の通常の遊技中に、確変フラグや時短フラグが1から0に変化した)という条件であっても良い。
S801では、主制御装置40は、更新処理を行い、本処理を終了する。
具体的には、更新処理とは、例えば、払出制御装置41に対し、現時点の持球数を示す持球情報を送信すると共に、該持球数の精算を指示し、さらに、主制御装置40に記憶されている現在の持球情報をクリアして遊技を中止するといった内容であっても良い。なお、持球情報を受信した払出制御装置41は、上述した「持球情報処理」のS605,S606により、交換ルールに従い払出金額を算出し、CRユニット60に対し払出金額をICカードに保存することを指示する。
このほかにも、更新処理とは、例えば、持球数を予め定められた割合で減少させる、或いは、持球数から所定数の遊技球数を減算するという処理であっても良い。なお、これに加えて、主制御装置40は、払出制御装置41に対し、減少後の持球数を示す持球情報を送信すると共に、該持球数の精算を指示し、さらに、主制御装置40に記憶されている現在の持球情報をクリアして遊技を中止しても良い。
ここで、減少させる割合や、減算する所定数は、例えば、持球数や、現在の持球数から貸球の総数を減算した差分(換言すれば、遊技者の実質的な利益)に応じて設定されても良い。そして、該差分が例えば0以下の場合等には、持球数を減少させない構成としても良い。
なお、貸球の総数とは、例えば、使用中のICカードを用いて貸し出された貸球の総数であっても良い。このような場合であれば、主制御装置40は、払出制御装置41を介してCRユニット60へのICカードの挿入を検出した後、該検出から該ICカードが排出されるまでの間において、遊技球の貸し出しに応じて払出制御装置41から受信した持球情報が示す持球数の総和を、貸球の総数として算出しても良い。
また、貸球の総数とは、パチンコ機1での遊技の継続期間中に貸し出された貸球の総数であっても良いし、所定時間内に貸し出された貸球の総数であっても良い。
次に、交換図柄が停止表示された大当りによって開始された大当り遊技が終了したという更新条件が設けられている場合において、交換図柄を設定する「図柄設定処理」について、図16(b)に記載のフローチャートを用いて説明する。なお、「図柄設定処理」は、「メインルーチン」の「各出力処理」のサブルーチンとして構成されている。
S900では、主制御装置40は、交換図柄を設定する図柄設定操作を受け付けたか否かを判定し、肯定判定が得られた場合には(S900:Yes)、S901に処理を移行すると共に、否定判定が得られた場合には(S900:No)、本処理を終了する。
なお、図柄設定操作とは、例えば、主制御装置40に接続された図示しないディップスイッチ等の操作部を介して行われる操作であっても良い。また、図柄設定操作は、パチンコ機1が設置されたパチンコ店の店員により行われることが想定され、このような操作部は、パチンコ機1の内部に配置することが考えられる。
S901では、主制御装置40は、図柄設定操作に対応する図柄を交換図柄として設定し、本処理を終了する。
なお、パチンコ機1は、「図柄設定処理」を行わず、常に予め定められた図柄を交換図柄として用いても良い。
<実施例2>
実施例2では、通常状態(特典状態でない遊技状態)中に持球数や、現在の持球数から貸球の総数を減算した差分が上限数に達したこと等を更新条件としている。
まず、主制御装置40にて行われる「更新条件判定処理2」について、図17(a)に記載のフローチャートを用いて説明する。なお、「更新条件判定処理2」は、「メインルーチン」の「各出力処理」のサブルーチンとして構成されている。
S810では、主制御装置40は、持球数が上限数に達したか否かを判定し、肯定判定が得られた場合には(S810:Yes)、S811に処理を移行すると共に、否定判定が得られた場合には(S810:No)、本処理を終了する。
なお、主制御装置40は、S810において、現在の持球数から貸球の総数を減算して差分を算出し、持球数に替えて、該差分が上限数に達したか否かを判定しても良い。
S811では、主制御装置40は、確変フラグや時短フラグの状態に基づき特典状態が終了したか否かを判定し、肯定判定が得られた場合には(S811:Yes)、S812に処理を移行すると共に、否定判定が得られた場合には(S811:No)、本処理を終了する。
なお、主制御装置40は、特典状態中に大当りとなり、大当り遊技が開始された場合は、該大当り遊技中は特典状態が継続しているものとみなしても良い。このとき、該大当り遊技の終了後も特典状態が継続するという可能性もあり、このような場合には、大当りを跨いで特典状態が継続することになる。
また、S811の処理を省略し、遊技状態に関らず、持球数や上記差分が上限数に達した際にS812の処理が実行される構成としても良い。
S812では、主制御装置40は、実施例1と同様の更新処理を行い、本処理を終了する。
次に、上限数を設定する「上限数設定処理」について、図17(b)に記載のフローチャートを用いて説明する。なお、「上限数設定処理」は、「メインルーチン」の「各出力処理」のサブルーチンとして構成されている。
S910では、主制御装置40は、上限数を設定する上限数設定操作を受け付けたか否かを判定し、肯定判定が得られた場合には(S910:Yes)、S911に処理を移行すると共に、否定判定が得られた場合には(S910:No)、本処理を終了する。
なお、上限数設定操作とは、例えば、主制御装置40に接続された図示しないディップスイッチ等の操作部を介して上限数を段階的に設定する操作であっても良い(無論、上限数を直接入力する操作であっても良い)。また、上限数設定操作は、パチンコ機1が設置されたパチンコ店の店員により行われることが想定され、このような操作部は、パチンコ機1の内部に配置することが考えられる。
S911では、主制御装置40は、上限数設定操作に応じて上限数を設定し、本処理を終了する。
<実施例3>
実施例3では、パチンコ機1への電力供給が停止したことを更新条件としている。以下では、主制御装置40にて行われる「更新条件判定処理3」について、図18に記載のフローチャートを用いて説明する。なお、「更新条件判定処理3」は、「メインルーチン」の「各出力処理」のサブルーチンとして構成されている。
S820では、主制御装置40は、電源基板からの信号に基づき、パチンコ機1への電力供給が停止したか否かを判定し、肯定判定が得られた場合には(S820:Yes)、S821に処理を移行すると共に、否定判定が得られた場合には(S820:No)、本処理を終了する。
S821では、主制御装置40は、電力供給の停止から予め定められた待機時間が経過したか否かを判定し、肯定判定が得られた場合には(S821:Yes)、S822に処理を移行すると共に、否定判定が得られた場合には(S821:No)、本処理を終了する。
なお、上述したように、電源基板には、電力供給停止後、一定期間にわたり各部位に電力を供給する補助電源が設けられているが、上記待機時間とは、補助電源による電力供給が可能な時間未満に設定することが考えられる。具体的には、例えば、補助電源による電力供給が可能な時間が、およそ30秒程度であると考えられる場合であれば、上記待機時間を15秒程度とすることが考えられる。
S822では、主制御装置40は、更新処理を行い、S823に処理を移行する。
具体的には、更新処理とは、例えば、払出制御装置41に対し、現時点の持球数を示す持球情報を送信すると共に、該持球数の精算を指示し、さらに、主制御装置40に記憶されている現在の持球情報をクリアして遊技を中止するといった内容であっても良い。なお、持球情報を受信した払出制御装置41は、上述した「持球情報処理」のS605,S606により、交換ルールに従い払出金額を算出し、CRユニット60に対し払出金額をICカードに保存することを指示する。
S823では、主制御装置40は、払出制御装置41に対し、S822にて送信した持球情報をICカードに保存することを指示し、持球情報をICカードに退避させた後に本処理を終了する。なお、本指示を受け取った払出制御装置41は、先に受信した持球情報をCRユニット60に送信し、該持球情報をICカードに保存することを指示する。
その後、パチンコ機1への電力供給が再開された場合には、払出制御装置41は、上述した「持球情報処理」のS601,S603にて、CRユニット60から退避させた持球情報を取得し、該持球情報を主制御装置40に送信する。そして、主制御装置40は、退避させた持球情報により遊技を再開する。
なお、更新条件判定処理3にて持球情報の退避を行わない構成としても良い。
<実施例4>
実施例4では、パチンコ機1が設置されたパチンコ店の閉店時刻の到来を更新条件としている。以下では、主制御装置40にて行われる「更新条件判定処理4」について、図19に記載のフローチャートを用いて説明する。なお、「更新条件判定処理4」は、「メインルーチン」の「各出力処理」のサブルーチンとして構成されている。
S830では、主制御装置40は、時計機能により現在の時刻を特定し、S831に処理を移行する。
S831では、主制御装置40は、パチンコ店の閉店時刻(或いは、閉店時刻の例えば10分前の時刻)が到来したか否かを判定し、肯定判定が得られた場合には(S831:Yes)、S832に処理を移行すると共に、否定判定が得られた場合には(S831:No)、本処理を終了する。
S832では、主制御装置40は、実施例3と同様の更新処理を行い、本処理を終了する。
<実施例5>
実施例5では、球貸しが行われたことを更新条件としている。以下では、主制御装置40にて行われる「更新条件判定処理5」について、図20に記載のフローチャートを用いて説明する。なお、「更新条件判定処理5」は、「メインルーチン」の「各出力処理」のサブルーチンとして構成されている。
S840では、主制御装置40は、払出制御装置41から球貸しがなされた旨の通知を受け取ったか否かを判定し、肯定判定が得られた場合には(S840:Yes)、S841に処理を移行すると共に、否定判定が得られた場合には(S840:No)、本処理を終了する。
S841では、主制御装置40は、更新処理を行い、本処理を終了する。
ここで、更新処理とは、例えば、持球数を予め定められた割合で減少させる、或いは、持球数から所定数の遊技球数を減算するという処理であっても良い。
ここで、減少させる割合や、減算する所定数は、例えば、持球数や、現在の持球数から貸球の総数を減算した差分(換言すれば、遊技者の実質的な利益)に応じて設定されても良い。そして、該差分が例えば0以下の場合等には、持球数を減少させない構成としても良い。
[効果]
第1実施形態のパチンコ機1によれば、ICカードに保存された残高情報に基づき球貸しがなされると共に、更新条件が成立すると、その時点の持球数に応じた払出金額が算出されてICカードに保存され、該ICカードに保存された払出金額により景品との交換がなされる。
また、この払出金額は、例えば、遊技球1球あたりの単価が球貸しの際の1球あたりの単価よりも低くなるように算出されたり、持球数を減じた後に算出されるため、パチンコ店は、払出金額を算出する段階で施設使用料等の付加料金を徴収することができる。このため、仮にパチンコ機1の出玉率を100%以上にしたとしても、パチンコ店の経営上必要となる料金を確実に徴収することができる。
さらに、更新条件が満たされると、持球が精算されて払出金額がICカードに保存され、遊技が終了される構成となっており、実施例1〜5や貸出処理において実行される更新処理を適宜実行することで、持たせ遊技に制限を課すことや、停電等のトラブルから遊技者の持球を保護すること等が可能となる。
これにより、パチンコ店に不利益が生じることを回避しつつ出玉率を向上させることや、遊技者の手持遊技媒体を確実に保護して出玉感が損なわれることを回避することができ、遊技者に十分な出玉感を与えることが可能となる。
[第2実施形態]
[構成の説明]
次に、第2実施形態の封入式のパチンコ機の構成について説明する(図21参照)。
第2実施形態のパチンコ機1は、第1実施形態のパチンコ機1と同様の構成を有しているが、貸出SW171,返却SW172,残高表示装置173が設けられていない点や、主制御装置40に接続された持球数表示部46を備える点で相違している。
また、CRユニット60に関しても、第2実施形態では、タッチパネルや液晶ディスプレイ等から構成され、貸出金額の設定を受け付けると共に、設定された貸出金額や貸し出される遊技球数(貸出数)を表示するタッチパネル部61が設けられている点で第1実施形態と相違している。
また、CRユニット60は、金銭の投入が可能な構成となっており、挿入されたICカードに記憶されている残高情報、或いは、投入された金額の範囲内で、タッチパネル部61を介して貸出金額の入力を受け付け、球貸しを行う構成となっている。そして、球貸しの際には、CRユニット60からパチンコ機1の払出制御装置41に対し、球貸しがなされた旨の情報と、貸出数分の持球数を示す持球情報(球貸し情報)が送信される。
なお、CRユニット60は、金銭が投入された場合には、投入金額をICカードに記憶されている残高情報に加算し、球貸しがなされた場合には、ICカードの残高情報から貸出金額を減額する構成としても良い。また、投入された金額の範囲内で球貸しを行った場合は、残金を返却する構成としても良い。また、CRユニット60は、金銭の投入ができず、挿入されたICカードのみにより球貸しが可能な構成となっていても良い。
また、貸出数分の持球数を示す持球情報に替えて、CRユニット60からパチンコ機1に対し、貸出金額を示す情報を送信し、パチンコ機1にて該情報に基づき貸出数を算出する構成としても良い。また、ICカードに遊技に使用可能な持球数を示す持球情報が保存されている場合には、ICカードがCRユニット60に挿入された際に該持球情報を読み出し、パチンコ機1に送信しても良い。
また、パチンコ機1での遊技が終了する際には、パチンコ機1の払出制御装置41からCRユニット60に対しその時点の持球情報が送信され、CRユニット60では、該持球情報に基づき精算がなされ、払出金額が挿入されているICカードに記憶される。なお、該持球情報を該ICカードにそのまま記憶する構成としても良い。また、パチンコ機1は、遊技終了時にその時点の持球情報が示す持球数に相当する金額を算出し、持球情報に替えて該金額を示す情報を送信しても良い。
また、第2実施形態では、第1実施形態と同様にパチンコ機1の電源基板に補助電源が設けられている。なお、停電時は、該補助電源により併設されたCRユニット60に電力を供給する構成としても良いし、CRユニット60にも同様にして補助電源を設けても良い。
[動作の説明]
次に、第2実施形態の封入式のパチンコ機1の動作について説明する。
第2実施形態においても、主制御装置40は、第1実施形態と同様の「メインルーチン」,「始動入賞確認処理」,「当否判定処理」,「特別遊技処理」,「計数処理」等を行うが、「持球数加減算処理」の内容が一部相違している。
以下では、主制御装置40における「持球数加減算処理」と、払出制御装置41の処理について説明する。
(1)持球数加減算処理について
第2実施形態においても、主制御装置40は、第1実施形態の「持球数加減算処理」とほぼ同様の処理を行うが、S408において、S402で記憶した持球情報が示す持球数を、持球数表示部46に表示する点で相違している。
(2)持球情報処理について
次に、持球情報に関して払出制御装置41で実行されるプログラム処理である「持球情報処理」について、図22を用いて説明する。なお、本処理は、払出制御装置41にて定期的に実行される。
S1000では、払出制御装置41は、パチンコ機1の停電発生後、補助電源による一定時間にわたる動作中に電力供給が回復したか否かを判定し、肯定判定が得られた場合には(S1000:Yes)、S1001に処理を移行すると共に、否定判定が得られた場合には(S1000:No)、S1002に処理を移行する。
なお、S1000では、パチンコ機1の停電発生後、補助電源による動作が可能と予想される時間内に電力供給が回復したか否かを判定しても良い。
S1001では、払出制御装置41は、CRユニット60に対し、後述する強制終了処理4によりパチンコ機1への電力供給停止時等にCRユニット60に退避された持球情報の送信を要求し、S1002に処理を移行する。
S1002では、払出制御装置41は、CRユニット60から、球貸しに応じて送信された持球情報や、S1001での送信要求に応じて送信された持球情報を受信したか否かを判定する。そして、肯定判定が得られた場合には(S1002:Yes)、S1003に処理を移行し、否定判定が得られた場合には(S1002:No)、S1006に処理を移行する。
S1003では、払出制御装置41は、停電発生後、電力供給が回復し、CRユニット60に対し、退避された持球情報の送信を要求したか否かを判定する。そして、肯定判定が得られた場合には(S1003:Yes)、S1005に処理を移行し、否定判定が得られた場合には(S1003:No)、S1004に処理を移行する。
S1004では、払出制御装置41は、CRユニット60から受信した持球情報を主制御装置40に送信し、本処理を終了する。なお、持球情報を受信した主制御装置40では、「持球数加減算処理」のS402,S408の処理が行われ、遊技を再開可能な状態となる。
また、払出制御装置41は、球貸しによりCRユニット60から持球情報を受信した場合には、持球情報と共に、球貸しがなされた旨を示す情報を主制御装置40に送信する。
また、後述する強制終了処理1〜4により遊技が強制終了された後は、払出制御装置41は、CRユニット60から、球貸しがなされた旨の情報と、持球情報(球貸し情報)を受信すると、S1004の処理により該持球情報を主制御装置40に送信し、遊技を再開させる。しかし、払出制御装置41は、球貸し以外の要因によりCRユニット60から持球情報を受信しても、該持球情報を主制御装置40に送信せず、遊技を再開させない。
また、強制終了後に遊技を再開させる場合、演出図柄表示装置21に強制終了メッセージが表示されている場合には、主制御装置40は、サブ統合制御装置42にコマンドを送信し、強制終了メッセージを消去することが考えられる。
また、S1005では、払出制御装置41は、後述する「停電復帰処理」を実行し、本処理を終了する。
一方、S1006では、払出制御装置41は、遊技終了時の「計数処理」のS502の処理や後述する「強制終了処理1〜4」により、主制御装置40から送信された持球情報を受信したか否かを判定する。そして、肯定判定が得られた場合には(S1006:Yes)、S1007に処理を移行し、否定判定が得られた場合には(S1006:No)、S1010に処理を移行する。
S1007では、払出制御装置41は、停電中か否かを判定し、肯定判定が得られた場合には(S1007:Yes)、S1008に処理を移行すると共に、否定判定が得られた場合には(S1007:No)、S1009に処理を移行する。
S1008では、払出制御装置41は、受信した持球情報(退避させる持球情報)を保存すると共に、CRユニット60に送信し、該持球情報をCRユニット60に退避させて本処理を終了する。このとき、払出制御装置41は、CRユニット60に対し、停電により持球情報を退避させる旨の情報を送信しても良い。また、持球情報を受信したCRユニット60は、該持球情報をICカードに保存しても良い。
また、S1009では、払出制御装置41は、受信した持球情報をCRユニット60に送信すると共に、CRユニット60に対し精算を指示し、本処理を終了する。なお、持球情報を受信したCRユニット60は、持球情報が示す持球数に基づき払出金額を算出し、ICカードに保存する。また、払出制御装置41にて持球情報が示す持球数に基づき払出金額を算出し、CRユニット60に送信する構成としても良い。
一方、S1010では、払出制御装置41は、遊技を終了するために計数SW174が操作されたか否を判定し、肯定判定が得られた場合には(S1010:Yes)、S1011に処理を移行すると共に、否定判定が得られた場合には(S1010:No)、本処理を終了する。
S1011では、払出制御装置41は、主制御装置40に対し、計数SW174が操作されたことを示す計数信号を送信し、本処理を終了する。なお、計数信号を受信した主制御装置40は、上述した「計数処理」により、持球情報の払出制御装置41への送信等を実行する。
なお、後述する強制終了処理4が行われない場合には、S1000,S1001,S1003,S1005の処理を省略しても良い。
(3)停電復帰処理について
次に、停電復帰直後に主制御装置40に持球情報を送信する「停電復帰処理」について、図23を用いて説明する。なお、本処理は、「持球情報処理」のサブルーチンとして構成されている。
S1020では、払出制御装置41は、退避直前に保存した持球情報が示す持球数と、CRユニット60から受信した持球情報が示す持球数とが一致するか否かを判定する。そして、肯定判定が得られた場合には(S1020:Yes)、S1021に処理を移行すると共に、否定判定が得られた場合には(S1020:No)、S1022に処理を移行する。
S1021では、払出制御装置41は、退避直前に保存した持球情報(或いは、CRユニット60から受信した持球情報)を主制御装置40に送信し、本処理を終了する。
また、S1022では、払出制御装置41は、CRユニット60から受信した持球情報を主制御装置40に送信し、本処理を終了する。
(4)強制終了処理について
第2実施形態のパチンコ機1では、予め定められた条件が満たされると、遊技が強制的に終了され、CRユニット60にその時点の持球情報が送信される。
以下では、強制終了処理を行う際の実施例1〜4について説明するが、第2実施形態のパチンコ機1では、以下に説明する実施例のうちのいずれかを実行するか、或いは、これらの実施例のうちの全部または一部を適宜組合せて実行することが考えられる。
<実施例1>
(1)強制終了処理1について
実施例1では、持球数が上限数に達すると、遊技を強制的に終了させて持球を精算させる「強制終了処理1」が行われる。以下では、図24のフローチャートを用いて「強制終了処理1」について説明する。なお、「強制終了処理1」は、主制御装置40にて行われ、「メインルーチン」の「各出力処理」のサブルーチンとして構成されている。
S1040では、主制御装置40は、持球情報が示す持球数が上限数に近づいた場合(例えば、上限数と持球数との差分が50未満となった場合)に、持球数と上限数とを表示する等して、強制終了についての予告を行う。
具体的には、例えば、持球数表示部46での持球数の表示に加えて、持球数表示部46にて上限数を表示しても良い。また、サブ統合制御装置42にコマンドを送信し、演出図柄表示装置21にて持球数と上限数とを表示しても良い。さらに、上限数と持球数との差分が所定数未満(例えば10未満)となった場合には、上限数と持球数の色を変えたり点滅表示をする等して、警告表示を行っても良い。
続くS1041では、主制御装置40は、持球情報が示す持球数が上限数に達したか否かを判定し、肯定判定が得られた場合には(S1041:Yes)、S1042に処理を移行すると共に、否定判定が得られた場合には(S1041:No)、本処理を終了する。
S1042では、主制御装置40は、払出制御装置41に現時点の持球情報を送信し、S1043に処理を移行する。なお、持球情報を受信した払出制御装置41は、上述した「持球情報処理」のS1009により、CRユニット60に持球情報を送信する。
S1043では、主制御装置40は、現在の持球情報を更新し、持球数を0に設定することで遊技を終了させ、本処理を終了する。
なお、主制御装置40は、遊技を強制終了させる際には、サブ統合制御装置42にコマンドを送信し、演出図柄表示装置21に、「もたせ遊技終了」,「持球数をゼロクリアします」,「打ち止め」等の強制終了メッセージを表示し、遊技終了を通知しても良い。
また、主制御装置40は、持球情報が示す持球数が上限数に達し、且つ、パチンコ機1が遊技者に有利な状態でない場合(例えば、特典状態でなく、且つ、保留記憶が存在しない場合)に、S1042,S1043の処理を実行する構成としても良い。
(2)上限数設定処理について
また、実施例1では、主制御装置40は、第1実施形態と同様の上限数設定処理を実行し、上限数設定操作に応じて上限数を設定する。なお、上限数設定操作を受け付ける操作部は、第1実施形態と同様、パチンコ機1の内部に配置することが考えられる。
<実施例2>
(1)強制終了処理2について
実施例2では、一人の遊技者が継続的に遊技を行う遊技期間中に貸し出された持球の総数(総貸出数)が上限数に達すると、遊技を強制的に終了させて持球を精算させる「強制終了処理2」が行われる。
以下では、図25のフローチャートを用いて「強制終了処理2」について説明する。なお、「強制終了処理2」は、主制御装置40にて行われ、「メインルーチン」の「各出力処理」のサブルーチンとして構成されている。
S1050では、主制御装置40は、総貸出数を示す総貸出数情報を参照し、総貸出数が上限数に近づいた場合(例えば、上限数と総貸出数との差分が50未満となった場合)に、総貸出数と上限数とを表示する等して、強制終了についての予告を行う。
具体的には、例えば、サブ統合制御装置42にコマンドを送信し、演出図柄表示装置21にて総貸出数と上限数とを表示しても良い。さらに、上限数と総貸出数との差分が所定数未満(例えば10未満)となった場合には、上限数と総貸出数の色を変えたり点滅表示をする等して、警告表示を行っても良い。
続くS1051では、主制御装置40は、総貸出数を示す総貸出数情報を参照すると共に、総貸出数が上限数に達したか否かを判定し、肯定判定が得られた場合には(S1051:Yes)、S1052に処理を移行すると共に、否定判定が得られた場合には(S1051:No)、本処理を終了する。
S1052では、主制御装置40は、払出制御装置41に現時点の持球情報を送信し、S1053に処理を移行する。なお、持球情報を受信した払出制御装置41は、上述した「持球情報処理」のS1009により、CRユニット60に持球情報を送信する。
S1053では、主制御装置40は、現在の持球情報を更新し、持球数を0に設定することで遊技を終了させ、本処理を終了する。
なお、主制御装置40は、遊技を強制終了させる際には、サブ統合制御装置42にコマンドを送信し、演出図柄表示装置21に、「もたせ遊技終了」,「持球数をゼロクリアします」,「打ち止め」等の強制終了メッセージを表示し、遊技終了を通知しても良い。
また、主制御装置40は、総貸出数が上限数に達し、且つ、パチンコ機1が遊技者に有利な状態でない場合(例えば、特典状態でなく、且つ、保留記憶が存在しない場合)に、S1052,S1053の処理を実行する構成としても良い。
(2)総貸出数カウント処理について
次に、図26のフローチャートを用いて、総貸出数をカウントする総貸出数カウント処理について説明する。なお、「総貸出数カウント処理」は、主制御装置40にて行われ、「メインルーチン」の「各出力処理」のサブルーチンとして構成されている。
S1060では、主制御装置40は、球貸しがなされたか否か(払出制御装置41から球貸しがなされた旨の情報と共に持球情報を受信したか否か)を判定する。そして、肯定判定が得られた場合には(S1060:Yes)、S1061に処理を移行すると共に、否定判定が得られた場合には(S1060:No)、本処理を終了する。
S1061では、主制御装置40は、持球情報が示す持球数が0より大きい値か否かを判定し、肯定判定が得られた場合には(S1061:Yes)、S1065に処理を移行すると共に、否定判定が得られた場合には(S1061:No)、S1062に処理を移行する。
S1062では、主制御装置40は、持球情報が示す持球数が0となった後、予め定められた遊技続行時間が経過したか否かを判定する。なお、遊技続行時間とは、例えば、遊技者が財布から金銭を取り出し、CRユニット60に対し球貸しのための操作を行うのに必要となる予想時間に一定の猶予時間を加算した時間であっても良く、一例として1分程度とすることが考えられる。
そして、肯定判定が得られた場合には(S1062:Yes)、S1063に処理を移行すると共に、否定判定が得られた場合には(S1062:No)、S1064に処理を移行する。
なお、S1062において、持球情報が示す持球数が0となった後、タッチSW521により発射ハンドル14から手が離されたことが検出された時点から遊技続行時間が経過したか否かを判定し、肯定判定が得られた場合にはS1063に、否定判定が得られた場合にはS1064に処理を移行する構成としても良い。
S1063では、主制御装置40は、遊技者から、遊技を続行する旨の操作(遊技続行操作)を受け付けたか否かを判定する。そして、肯定判定が得られた場合には(S1063:Yes)、S1065に処理を移行すると共に、否定判定が得られた場合には(S1063:No)、S1064に処理を移行する。
S1064では、主制御装置40は、総貸出数情報を更新して総貸出数を0に設定し、S1065に処理を移行する。
S1065では、主制御装置40は、総貸出数情報を更新し、球貸しにより払出制御装置41から受信した持球情報が示す持球数(換言すれば貸出数)を総貸出数に加算し、本処理を終了する。
なお、主制御装置40は、S1063の処理を省略し、持球数が0となった後、所定時間内に球貸しにより持球情報を取得した場合には、同一の遊技者により球貸しがなされたとみなして、該持球情報が示す持球数(貸出数)を総貸出数に加算しても良い。
また、主制御装置40は、同一の遊技者による球貸しがなされた際の持球情報を取得すると、該持球情報を保存しておき、強制終了処理2を実行する度に、保存されている持球情報に基づき総貸出数を算出しても良い。
また、総貸出数とは、同一の遊技者による一連の遊技期間に該遊技者によりなされた球貸しにより貸し出された貸出数の総和と完全に一致することが好適だが、必ずしも完全に一致する必要は無く、例えば、遊技期間における最初の球貸しにおける貸出数を除いたものを総貸出数としても良い。
(3)遊技続行操作受付処理について
次に、図27のフローチャートを用いて、持球数が0となった後、遊技続行時間内に、遊技続行操作を受け付ける遊技続行操作受付処理について説明する。なお、「遊技続行操作受付処理」は、主制御装置40にて行われ、「メインルーチン」の「各出力処理」のサブルーチンとして構成されている。
S1070では、主制御装置40は、持球情報を参照し、持球数が0か否かを判定する。そして、肯定判定が得られた場合には(S1070:Yes)、S1071に処理を移行すると共に、否定判定が得られた場合には(S1070:No)、本処理を終了する。
S1071では、主制御装置40は、持球数が0となった後、遊技続行時間が経過したか否かを判定し、肯定判定が得られた場合には(S1071:Yes)、S1072に処理を移行すると共に、否定判定が得られた場合には(S1071:No)、本処理を終了する。
S1072では、主制御装置40は、サブ統合制御装置42にコマンドを送信し、演出図柄表示装置21に、遊技を続行するか否かの問合せを行う問合せ画面を表示させる。
続くS1073では、主制御装置40は、操作部を介して遊技続行操作を受け付け、本処理を終了する。なお、該操作部は、主制御装置40に接続されていても良い。また、該操作部は、払出制御装置41に接続されていても良く、このような場合には、該操作部の操作信号が、払出制御装置41を経由して主制御装置40に送信されることになる。
(4)上限数設定処理について
また、実施例2では、主制御装置40は、第1実施形態と同様の上限数設定処理を実行し、上限数設定操作に応じて上限数を設定する。なお、上限数設定操作を受け付ける操作部は、第1実施形態と同様、パチンコ機1の内部に配置することが考えられる。
<実施例3>
(1)強制終了処理3について
実施例3では、特別遊技が終了すると、当り図柄が交換図柄の場合には、遊技を強制的に終了させて持球を精算させる「強制終了処理3」が行われる。以下では、図28のフローチャートを用いて「強制終了処理3」について説明する。なお、「強制終了処理3」は、主制御装置40にて行われ、「メインルーチン」の「各出力処理」のサブルーチンとして構成されている。
S1080では、主制御装置40は、特別遊技の終了後か否かを判定し、肯定判定が得られた場合には(S1080:Yes)、S1081に処理を移行すると共に、否定判定が得られた場合には(S1080:No)、本処理を終了する。
S1081では、主制御装置40は、当り図柄が交換図柄か否かを判定し、肯定判定が得られた場合には(S1081:Yes)、S1082に処理を移行すると共に、否定判定が得られた場合には(S1081:No)、本処理を終了する。
S1082では、主制御装置40は、遊技者に有利な状態か否かを判定する。具体的には、特典状態である場合を遊技者に有利な状態とみなしても良いし、保留記憶が存在している状態を遊技者に有利な状態としても良い。また、特別遊技の終了後から、該特別遊技の終了時点で生じていた保留記憶が消化されるまでの期間を、遊技者に有利な状態としても良い。そして、肯定判定が得られた場合には(S1082:Yes)、本処理を終了すると共に、否定判定が得られた場合には(S1082:No)、S1083に処理を移行する。
S1083では、主制御装置40は、払出制御装置41に現時点の持球情報を送信し、S1084に処理を移行する。なお、持球情報を受信した払出制御装置41は、上述した「持球情報処理」のS1009により、CRユニット60に持球情報を送信する。
S1084では、主制御装置40は、現在の持球情報を更新し、持球数を0に設定することで遊技を終了させ、本処理を終了する。
なお、特別遊技終了後、遊技者に有利な状態である場合には、該状態が終了すると、S1083,S1084の処理が実行され、遊技が強制終了される。
また、主制御装置40は、遊技を強制終了させる際には、サブ統合制御装置42にコマンドを送信し、演出図柄表示装置21に、「もたせ遊技終了」,「持球数をゼロクリアします」,「打ち止め」等の強制終了メッセージを表示し、遊技終了を通知しても良い。
また、主制御装置40は、S1081,S1082の処理を省略し、特別遊技が終了した際には、持球情報をCRユニット60に送信すると共に、持球数を0に設定し、遊技を強制終了させても良い。
また、主制御装置40は、S1082の処理を省略し、交換図柄で当りとなった後、特別遊技が終了した際には、持球情報をCRユニット60に送信すると共に、持球数を0に設定し、遊技を強制終了させても良い。
(2)図柄設定処理について
また、実施例3では、主制御装置40は、第1実施形態と同様の図柄設定処理を実行し、図柄設定操作に応じて交換図柄を設定する。
なお、図柄設定操作は、例えば、主制御装置40に接続された図示しない操作部を介して行われる操作であっても良い。また、例えば、払出制御装置41に接続された図示しない操作部を介して図柄設定操作を受け付け、払出制御装置41から主制御装置40に対し、図柄設定操作がなされた旨を示す操作信号を送信する構成としても良い。
また、この操作部は、パチンコ店の店員により行われることを想定し、パチンコ機1の内部に配置しても良いし、遊技者による図柄設定操作を受け付け可能となるよう、パチンコ機1の正面側等に配置しても良い。
<実施例4>
実施例4では、パチンコ機1への電力供給が停止すると、遊技を強制的に終了させると共に、持球情報をCRユニット60に退避させる「強制終了処理4」が行われる。以下では、図29のフローチャートを用いて「強制終了処理4」について説明する。なお、「強制終了処理4」は、主制御装置40にて行われ、「メインルーチン」の「各出力処理」のサブルーチンとして構成されている。
S1090では、主制御装置40は、電源基板からの信号に基づき、パチンコ機1への電力供給が停止したか否かを判定し、肯定判定が得られた場合には(S1090:Yes)、S1091に処理を移行すると共に、否定判定が得られた場合には(S1090:No)、本処理を終了する。
なお、上述したように、パチンコ機1の電源基板には補助電源が設けられているため、パチンコ機1は、停電後も一定時間にわたり動作することができる。また、停電検出時に、主制御装置40は、払出制御装置41を経由して、CRユニット60に対し、停電が生じたことを示す電力供給停止信号を送信しても良い。
S1091では、主制御装置40は、持球情報をCRユニット60に退避させるため、払出制御装置41に現時点の持球情報を送信し、S1092に処理を移行する。なお、持球情報を受信した払出制御装置41は、上述した「持球情報処理」のS1008により、CRユニット60に持球情報を送信し、持球情報を退避させる。
S1092では、主制御装置40は、現在の持球情報を更新し、持球数を0に設定することで遊技を終了させ、本処理を終了する。
なお、主制御装置40は、遊技を強制終了させる際には、サブ統合制御装置42にコマンドを送信し、演出図柄表示装置21に、「もたせ遊技終了」,「持球数をゼロクリアします」,「打ち止め」等の強制終了メッセージを表示し、遊技終了を通知しても良い。
[他の実施形態]
(1)第1実施形態ではパチンコ機1を例に挙げて説明を行ったが、本発明は、封入式として構成されていないカード式のパチンコ機にも適用できる。
本発明が適用されたパチンコ機は、第1実施形態のパチンコ機1と同様に主制御装置40や払出制御装置41等を備え、パチンコ機1と同様にして貸球数や持球情報が管理されるものの、球貸しの際には島設備から供給される遊技球を上皿等に払い出し、該遊技球を用いて遊技が行われる構成とすることが考えられる。
ただし、該パチンコ機は、外部から遊技球を投入できないよう上皿等が密封された構造となっているのが好ましい。このような場合、該パチンコ機は、島設備から供給された遊技球が用いられるという点で、1台のパチンコ機内に遊技球が封入された封入式と相違することになる。
すなわち、払出制御装置41は、「貸出処理」を実行し、貸出SW171が操作された場合には、貸出ルールに従い貸出金額に応じた遊技球の数(貸球数)を算出し、島設備から供給される遊技球のうち、貸球数分の遊技球を上皿に排出する。
一方、主制御装置40は、「持球数加減算処理」のS403〜S407と同様にして、各種入賞口への入賞や、入賞球センサ509やアウト球センサ510からの信号により持球数をカウントし、持球情報を随時更新する。また、主制御装置40は、「計数処理」を実行し、計数SW174が操作された場合には、持球情報を払出制御装置41に送信する。
また、払出制御装置41は、主制御装置40から持球情報を受信すると、「持球情報処理」のS605,S606と同様にして払出金額を算出してCRユニット60に送信し、ICカードにこれを保存させる。
さらに、パチンコ機は、実施例1〜5のうちのいずれかを実行するか、或いは、これらの実施例のうちの全部または一部を適宜組合せて実行する。
なお、実施例1〜5の更新条件判定処理1〜5における更新処理(S801,S812,S822,S832)において、主制御装置40は、例えば、入賞を無効にする、或いは、払出制御装置41を介して発射装置31の発射モータ314を停止させる等といった遊技を不可能とする処理を行うのが望ましい。
また、実施例3の更新条件判定処理3に関して、パチンコ機が封入式でない場合には、電力供給停止時に持球情報をICカードに退避させる必要性は低いと考えられるため、S823を省略しても良い。
このような場合であっても、同様の効果を得ることができる。
(2)さらに、本発明は、第1実施形態と同様に、ICカードに保存された残高情報に基づき遊技メダルの貸し出しを行うと共に、遊技者の遊技メダルの枚数から払出金額を算出して該ICカードに保存するカード式の回胴式遊技機にも適用することができる。このような場合、パチンコ機1の主制御装置40や払出制御装置41に替わって、回胴式遊技機を統括制御する主制御基板が各種処理を行うことになる。
主制御基板は、第1実施形態と同様の「貸出処理」を実行し、遊技者からの指示に応じて、「貸出処理」と同様の貸出ルールに従い貸出金額に応じた遊技メダルの枚数(貸出枚数)を算出する。具体例を挙げると、遊技メダル1球あたりの料金である基本単価(例えば20円)と、遊技メダル1枚につき設定された施設使用料等の付加料金(例えば5円)とを加算した金額を単価とし、貸出金額を該単価で除算した数を貸球枚数としても良い。
そして、貸出枚数の遊技メダルを上皿に排出するか、或いは、貸出枚数をクレジット数(遊技に用いることができる遊技メダルの枚数)に加算し、該クレジット数をクレジット情報として保存する。
なお、本発明が適用された回胴式遊技機では、遊技者の手元にある遊技メダルの枚数(遊技者が遊技に用いることができる遊技メダルの枚数)を、全てクレジット数として管理するのが好適であると考えられる。このため、一般的な回胴式遊技機はクレジット数の上限が50となっているが、本発明が適用された回胴式遊技機では、遊技者による獲得が想定される遊技メダルの最大枚数を考慮してクレジット数の上限を設定するのが好適であると考えられる。
また、主制御基板は、遊技メダルのベットや入賞役の成立等に応じてクレジット数をカウントすると共に、クレジット情報を更新する。さらに、遊技者からの指示に応じて、「持球情報処理」と同様の交換ルールに従い、クレジット情報が示すクレジット数に応じた払出金額を算出し、ICカードにこれを保存する。
さらに、回胴式遊技機は、実施例1〜5のうちのいずれかを実行するか、或いは、これらの実施例のうちの全部または一部を適宜組合せて実行する。
なお、本発明を回胴式遊技機に適用した場合においては、遊技球が遊技メダルに、貸球が貸しメダル(回胴式遊技機により貸し出された遊技メダル)に、持球数がクレジット数に、持球情報がクレジット情報に、大当り遊技がボーナスゲームに、確変状態或いは時短状態がATやRT等に相当する。
このような場合であっても、同様の効果を得ることができる。
(3)第1,第2実施形態のパチンコ機1では、遊技中に計数SW174が押されると、持球から払出金額が算出され、該払出金額がCRユニット60に挿入されているICカードに保存される。しかし、持球のICカードへの保存を指示する持球保存SWをさらに設け、主制御装置40は、遊技中に持球保存SWが押されると、その時点の持球情報を払出制御装置41に送信すると共に、該持球情報をクリアしてもよい。そして、持球情報を受信した払出制御装置41は、CRユニット60に該持球情報を送信し、ICカードに該持球情報を保存させても良い。
さらに、持球保存SWの操作信号をCRユニット60にも送信する構成とし、CRユニット60は、持球保存SWの操作を検出すると、払出制御装置41からの指示に応じて持球情報をICカードに保存した後、該ICカードを排出しても良い。
こうすることにより、遊技で獲得した持球を用いて他のパチンコ機で遊技を行うことが可能となる。
(4)第2実施形態のパチンコ機1では、持球数や球貸しのタイミングや遊技者から受け付けた操作に基づき、同一遊技者による遊技期間になされた球貸しであるか否かを判定しているが、これに限定されることは無い。
具体的には、例えば、パチンコ機1やパチンコ機1の前に設けられた椅子等にカメラ等のセンサを取り付け、持球数が0となった後、遊技者が離席する前にパチンコ機1がCRユニット60から持球情報を取得した場合には、同一遊技者による遊技期間に球貸しがなされたとみなしても良い。
また、このような判定方法と、第2実施形態に記載の判定方法を組み合わせた方法により、同一遊技者による遊技期間になされた球貸しであるか否かを判定しても良い。
このような場合であっても、同様の効果を得ることができる。
(5)第2実施形態のパチンコ機1では、停電発生後、電力供給が回復すると、CRユニット60に対し持球情報の送信を要求することで、退避させた持球情報を取得する構成となっている。
しかしながら、これに限らず、CRユニット60は、停電時にパチンコ機1から持球情報を受信すると、以後、例えば周期的なタイミングで、パチンコ機1に対し該持球情報を送信しても良い。そして、パチンコ機1は、補助電源による動作中に電力供給が回復すると、CRユニット60が送信した持球情報を受信することで、退避させた持球情報を取得しても良い。
このような構成を有する場合であっても、同様の効果を得ることができる。
[特許請求の範囲との対応]
上記実施形態の説明で用いた用語と、特許請求の範囲の記載に用いた用語との対応を示す。
第2実施形態におけるパチンコ機1の演出図柄表示装置21,サブ統合制御装置42,演出図柄制御装置43が、演出手段に相当する。
また、第2実施形態における持球数加減算処理のS402が入出力手段に、S404,S407が更新手段に相当し、計数処理のS502が入出力手段に、持球情報処理のS1004が入出力手段,遊技再開手段に、特別遊技処理が特別遊技実行手段に相当する。
また、強制終了処理3のS1083,S1084が強制終了手段に、図柄設定処理のS901が設定手段に相当する。
1…パチンコ機、2…遊技盤、14…発射ハンドル、15…遊技ボタン、16…ジョグダイヤル、20…遊技領域、21…演出図柄表示装置、22…通過ゲート、23…第1特図始動口、24…第2特図始動口、25…大入賞口、26…普通入賞口、27…特図表示装置、271…特図保留数表示装置、28…普通図柄表示装置、281…普図保留数表示装置、29…アウト口、31…発射装置、33…揚送装置、40…主制御装置、41…払出制御装置、42…サブ統合制御装置、43…演出図柄制御装置、45…研磨装置、46…持球数表示部、60…CRユニット、61…タッチパネル部、171…貸出SW、172…返却SW、173…残高表示装置、174…計数SW。

Claims (5)

  1. 挿入された記憶媒体に記憶された残高情報が示す金額、或いは、投入された金額の範囲内で、球貸しを行うための貸出金額の設定を受け付けるカードユニットから、該貸出金額に対応する球貸し情報を取得すると、該球貸し情報に応じた持球数を示す持球情報、或いは、その時点の持球数と該球貸し情報に応じた持球数とを合算した持球数を示す前記持球情報を記憶すると共に、遊技終了操作に従って、その時点における前記持球情報を前記カードユニットに出力する入出力手段と、
    封入された遊技球の発射に従って前記持球情報を更新し、該持球情報が示す持球数を減算すると共に、発射された遊技球の入賞に応じて前記持球情報を更新し、該持球情報が示す持球数を加算する更新手段と、
    所定の入賞口への入賞に起因して抽出された乱数に基づき当否判定を行い、当りの場合には、遊技者に有利な特別遊技を行う特別遊技実行手段と、
    前記特別遊技の終了後に、前記遊技終了操作がなされていなくても、前記カードユニットに対し前記持球情報を出力すると共に、強制的に遊技を終了させる強制終了手段と、
    前記強制終了手段による遊技終了後に、前記入出力手段が前記カードユニットから前記球貸し情報を取得すると、遊技を再開可能な状態とする遊技再開手段と、
    を備えることを特徴とする封入式遊技機。
  2. 請求項1に記載の封入式遊技機において、
    前記当否判定の結果を報知するための図柄変動を行う演出手段をさらに備え、
    前記強制終了手段は、当りとなった前記当否判定の結果を報知するための前記図柄変動で停止表示された図柄が、予め定められた図柄である終了図柄である場合には、該当りにより行われる前記特別遊技の終了後に、前記遊技終了操作がなされていなくても、前記カードユニットに対し前記持球情報を出力すると共に、強制的に遊技を終了させること、
    を特徴とする封入式遊技機。
  3. 請求項2に記載の封入式遊技機において、
    操作部を介して受け付けた操作に応じて、前記継続図柄或いは前記終了図柄となる図柄の設定を行う設定手段をさらに備えること、
    を特徴とする封入式遊技機。
  4. 請求項3に記載の封入式遊技機において、
    前記設定手段は、前記操作部を介して遊技者から受け付けた操作に応じて、前記継続図柄或いは前記終了図柄となる図柄の設定を行うこと、
    を特徴とする封入式遊技機。
  5. 請求項2から請求項4のうちのいずれか1項に記載の封入式遊技機において、
    前記強制終了手段は、当りとなった前記当否判定の結果を報知するための前記図柄変動で前記終了図柄が停止された場合には、前記特別遊技の終了後、遊技者に有利な状態が終了した後に、前記カードユニットに対し前記持球情報を出力すると共に、強制的に遊技を終了させること、
    を特徴とする封入式遊技機。
JP2013109088A 2013-01-30 2013-05-23 封入式遊技機 Expired - Fee Related JP6318336B2 (ja)

Priority Applications (1)

Application Number Priority Date Filing Date Title
JP2013109088A JP6318336B2 (ja) 2013-01-30 2013-05-23 封入式遊技機

Applications Claiming Priority (3)

Application Number Priority Date Filing Date Title
JP2013015928 2013-01-30
JP2013015928 2013-01-30
JP2013109088A JP6318336B2 (ja) 2013-01-30 2013-05-23 封入式遊技機

Publications (3)

Publication Number Publication Date
JP2014166301A true JP2014166301A (ja) 2014-09-11
JP2014166301A5 JP2014166301A5 (ja) 2016-06-30
JP6318336B2 JP6318336B2 (ja) 2018-05-09

Family

ID=51616369

Family Applications (4)

Application Number Title Priority Date Filing Date
JP2013109090A Expired - Fee Related JP6364589B2 (ja) 2013-01-30 2013-05-23 カード式の遊技機
JP2013109087A Expired - Fee Related JP6318340B2 (ja) 2013-01-30 2013-05-23 封入式遊技機
JP2013109088A Expired - Fee Related JP6318336B2 (ja) 2013-01-30 2013-05-23 封入式遊技機
JP2013109089A Expired - Fee Related JP6393876B2 (ja) 2013-01-30 2013-05-23 封入式遊技機

Family Applications Before (2)

Application Number Title Priority Date Filing Date
JP2013109090A Expired - Fee Related JP6364589B2 (ja) 2013-01-30 2013-05-23 カード式の遊技機
JP2013109087A Expired - Fee Related JP6318340B2 (ja) 2013-01-30 2013-05-23 封入式遊技機

Family Applications After (1)

Application Number Title Priority Date Filing Date
JP2013109089A Expired - Fee Related JP6393876B2 (ja) 2013-01-30 2013-05-23 封入式遊技機

Country Status (1)

Country Link
JP (4) JP6364589B2 (ja)

Cited By (14)

* Cited by examiner, † Cited by third party
Publication number Priority date Publication date Assignee Title
JP2023007962A (ja) * 2021-07-02 2023-01-19 株式会社大一商会 遊技機
JP2023007964A (ja) * 2021-07-02 2023-01-19 株式会社大一商会 遊技機
JP2023025671A (ja) * 2022-06-20 2023-02-22 株式会社ニューギン 遊技機
JP2023065779A (ja) * 2021-10-28 2023-05-15 株式会社大一商会 遊技機
JP2023065783A (ja) * 2021-10-28 2023-05-15 株式会社大一商会 遊技機
JP2023065780A (ja) * 2021-10-28 2023-05-15 株式会社大一商会 遊技機
JP2023065781A (ja) * 2021-10-28 2023-05-15 株式会社大一商会 遊技機
JP2023065784A (ja) * 2021-10-28 2023-05-15 株式会社大一商会 遊技機
JP2023065782A (ja) * 2021-10-28 2023-05-15 株式会社大一商会 遊技機
JP2023065785A (ja) * 2021-10-28 2023-05-15 株式会社大一商会 遊技機
JP2023126016A (ja) * 2022-02-28 2023-09-07 株式会社大一商会 遊技機
JP2023126017A (ja) * 2022-02-28 2023-09-07 株式会社大一商会 遊技機
JP2023126015A (ja) * 2022-02-28 2023-09-07 株式会社大一商会 遊技機
JP2023126014A (ja) * 2022-02-28 2023-09-07 株式会社大一商会 遊技機

Families Citing this family (34)

* Cited by examiner, † Cited by third party
Publication number Priority date Publication date Assignee Title
JP6587799B2 (ja) * 2014-12-19 2019-10-09 グローリー株式会社 遊技システム
JP6420708B2 (ja) * 2015-04-08 2018-11-07 ダイコク電機株式会社 遊技場用管理システム
JP2019092894A (ja) * 2017-11-22 2019-06-20 株式会社三洋物産 遊技機
JP2019092893A (ja) * 2017-11-22 2019-06-20 株式会社三洋物産 遊技機
JP7072842B2 (ja) * 2018-03-23 2022-05-23 株式会社サンセイアールアンドディ 遊技機
JP6557397B1 (ja) * 2018-11-20 2019-08-07 山佐株式会社 遊技機
JP7648984B2 (ja) * 2021-05-21 2025-03-19 サクサ株式会社 ユニット装置及び遊技システム
JP7734368B2 (ja) * 2021-10-20 2025-09-05 株式会社大一商会 遊技機
JP7702709B2 (ja) * 2021-10-28 2025-07-04 株式会社大一商会 遊技機
JP7702711B2 (ja) * 2021-10-28 2025-07-04 株式会社大一商会 遊技機
JP7702710B2 (ja) * 2021-10-28 2025-07-04 株式会社大一商会 遊技機
JP7768539B2 (ja) * 2021-10-28 2025-11-12 株式会社大一商会 遊技機
JP7572060B2 (ja) * 2021-11-24 2024-10-23 株式会社ソフイア 遊技機
JP2023078013A (ja) * 2021-11-25 2023-06-06 株式会社平和 遊技機
JP7555595B2 (ja) * 2021-12-07 2024-09-25 株式会社サンセイアールアンドディ 遊技機
JP7738972B2 (ja) * 2022-02-10 2025-09-16 株式会社大一商会 遊技機
JP2023117212A (ja) * 2022-02-10 2023-08-23 株式会社サンセイアールアンドディ 遊技機
JP2023117214A (ja) * 2022-02-10 2023-08-23 株式会社サンセイアールアンドディ 遊技機
JP7738971B2 (ja) * 2022-02-10 2025-09-16 株式会社大一商会 遊技機
JP7550464B2 (ja) * 2022-03-16 2024-09-13 株式会社ニューギン 遊技機
JP7678342B2 (ja) * 2022-03-17 2025-05-16 サミー株式会社 遊技機
JP7678339B2 (ja) * 2022-03-17 2025-05-16 サミー株式会社 遊技機
JP7678333B2 (ja) * 2022-03-17 2025-05-16 サミー株式会社 遊技機
JP7678340B2 (ja) * 2022-03-17 2025-05-16 サミー株式会社 遊技機
JP7678337B2 (ja) * 2022-03-17 2025-05-16 サミー株式会社 遊技機
JP7678334B2 (ja) * 2022-03-17 2025-05-16 サミー株式会社 遊技機
JP7678336B2 (ja) * 2022-03-17 2025-05-16 サミー株式会社 遊技機
JP7678338B2 (ja) * 2022-03-17 2025-05-16 サミー株式会社 遊技機
JP2023154594A (ja) * 2022-04-07 2023-10-20 株式会社三洋物産 遊技機
JP7765092B2 (ja) * 2023-03-31 2025-11-06 京楽産業.株式会社 遊技機
JP7765094B2 (ja) * 2023-03-31 2025-11-06 京楽産業.株式会社 遊技機
JP7765091B2 (ja) * 2023-03-31 2025-11-06 京楽産業.株式会社 遊技機
JP7765093B2 (ja) * 2023-03-31 2025-11-06 京楽産業.株式会社 遊技機
JP7761947B2 (ja) * 2023-03-31 2025-10-29 京楽産業.株式会社 遊技機

Citations (2)

* Cited by examiner, † Cited by third party
Publication number Priority date Publication date Assignee Title
JPH0584354A (ja) * 1991-09-27 1993-04-06 Sophia Co Ltd カード式遊技機
JPH08299530A (ja) * 1995-05-12 1996-11-19 Sophia Co Ltd 封入球式遊技機

Family Cites Families (14)

* Cited by examiner, † Cited by third party
Publication number Priority date Publication date Assignee Title
JPS5581673A (en) * 1978-12-18 1980-06-19 Sofuia Kk Pinball machine
JPH0412782A (ja) * 1990-05-07 1992-01-17 Daikoku Denki Co Ltd パチンコゲーム機
JPH0523431A (ja) * 1991-07-24 1993-02-02 Sophia Co Ltd パチンコ機の管理システム装置
JP2693865B2 (ja) * 1993-02-17 1997-12-24 株式会社エース電研 記憶媒体を利用する遊技場システム
JPH0739628A (ja) * 1993-07-27 1995-02-10 Sophia Co Ltd 封入球式遊技機
JPH07213686A (ja) * 1994-01-31 1995-08-15 Sophia Co Ltd 封入球式遊技機
JPH1085420A (ja) * 1996-09-13 1998-04-07 Pfu Ltd 遊技場管理システム
JP2002123651A (ja) * 2000-10-13 2002-04-26 Sophia Co Ltd 間接税徴収システム及び間接税徴収方法
JP2006061370A (ja) * 2004-08-26 2006-03-09 Takao:Kk 弾球遊技機
JP2006204512A (ja) * 2005-01-27 2006-08-10 Heiwa Corp 映像式パチンコ機
JP5190590B2 (ja) * 2007-10-25 2013-04-24 株式会社北電子 打止数管理装置
JP5763349B2 (ja) * 2011-01-13 2015-08-12 京楽産業.株式会社 遊技ユニット
JP5823132B2 (ja) * 2011-01-27 2015-11-25 株式会社ジョイコシステムズ 遊技媒体貸出装置
JP5791356B2 (ja) * 2011-04-28 2015-10-07 株式会社三共 遊技機、および遊技枠

Patent Citations (2)

* Cited by examiner, † Cited by third party
Publication number Priority date Publication date Assignee Title
JPH0584354A (ja) * 1991-09-27 1993-04-06 Sophia Co Ltd カード式遊技機
JPH08299530A (ja) * 1995-05-12 1996-11-19 Sophia Co Ltd 封入球式遊技機

Cited By (28)

* Cited by examiner, † Cited by third party
Publication number Priority date Publication date Assignee Title
JP2023007962A (ja) * 2021-07-02 2023-01-19 株式会社大一商会 遊技機
JP2023007964A (ja) * 2021-07-02 2023-01-19 株式会社大一商会 遊技機
JP7646161B2 (ja) 2021-07-02 2025-03-17 株式会社大一商会 遊技機
JP7646163B2 (ja) 2021-07-02 2025-03-17 株式会社大一商会 遊技機
JP2024053052A (ja) * 2021-07-02 2024-04-12 株式会社大一商会 遊技機
JP2024053050A (ja) * 2021-07-02 2024-04-12 株式会社大一商会 遊技機
JP2023065784A (ja) * 2021-10-28 2023-05-15 株式会社大一商会 遊技機
JP7651181B2 (ja) 2021-10-28 2025-03-26 株式会社大一商会 遊技機
JP2023065782A (ja) * 2021-10-28 2023-05-15 株式会社大一商会 遊技機
JP2023065785A (ja) * 2021-10-28 2023-05-15 株式会社大一商会 遊技機
JP7656300B2 (ja) 2021-10-28 2025-04-03 株式会社大一商会 遊技機
JP7651180B2 (ja) 2021-10-28 2025-03-26 株式会社大一商会 遊技機
JP2023065781A (ja) * 2021-10-28 2023-05-15 株式会社大一商会 遊技機
JP7651179B2 (ja) 2021-10-28 2025-03-26 株式会社大一商会 遊技機
JP2023065780A (ja) * 2021-10-28 2023-05-15 株式会社大一商会 遊技機
JP2023065783A (ja) * 2021-10-28 2023-05-15 株式会社大一商会 遊技機
JP7651178B2 (ja) 2021-10-28 2025-03-26 株式会社大一商会 遊技機
JP7651177B2 (ja) 2021-10-28 2025-03-26 株式会社大一商会 遊技機
JP7651182B2 (ja) 2021-10-28 2025-03-26 株式会社大一商会 遊技機
JP2023065779A (ja) * 2021-10-28 2023-05-15 株式会社大一商会 遊技機
JP2023126015A (ja) * 2022-02-28 2023-09-07 株式会社大一商会 遊技機
JP7586438B2 (ja) 2022-02-28 2024-11-19 株式会社大一商会 遊技機
JP7586439B2 (ja) 2022-02-28 2024-11-19 株式会社大一商会 遊技機
JP2023126014A (ja) * 2022-02-28 2023-09-07 株式会社大一商会 遊技機
JP2023126017A (ja) * 2022-02-28 2023-09-07 株式会社大一商会 遊技機
JP2023126016A (ja) * 2022-02-28 2023-09-07 株式会社大一商会 遊技機
JP2023025671A (ja) * 2022-06-20 2023-02-22 株式会社ニューギン 遊技機
JP7502807B2 (ja) 2022-06-20 2024-06-19 株式会社ニューギン 遊技機

Also Published As

Publication number Publication date
JP6393876B2 (ja) 2018-09-26
JP6318340B2 (ja) 2018-05-09
JP6364589B2 (ja) 2018-08-01
JP2014166302A (ja) 2014-09-11
JP2014166300A (ja) 2014-09-11
JP2014166303A (ja) 2014-09-11
JP6318336B2 (ja) 2018-05-09

Similar Documents

Publication Publication Date Title
JP6318336B2 (ja) 封入式遊技機
JP6225302B2 (ja) 封入式遊技機
JP6758566B2 (ja) 遊技機
JP2010269028A (ja) 遊技用装置
JP6355953B2 (ja) 遊技機
JP6337248B2 (ja) 封入式遊技機
JP6263692B2 (ja) 封入式遊技機
JP5728669B2 (ja) カード式の遊技機
JP5611413B2 (ja) 封入式遊技機
JP5625147B2 (ja) 封入式遊技機
JP2014217645A (ja) 封入式遊技機
JP6019291B2 (ja) 封入式遊技機
JP2022049819A (ja) 遊技機
JP2018034057A (ja) 遊技機
JP2018034058A (ja) 遊技機

Legal Events

Date Code Title Description
A521 Request for written amendment filed

Free format text: JAPANESE INTERMEDIATE CODE: A523

Effective date: 20160516

A621 Written request for application examination

Free format text: JAPANESE INTERMEDIATE CODE: A621

Effective date: 20160516

A977 Report on retrieval

Free format text: JAPANESE INTERMEDIATE CODE: A971007

Effective date: 20170306

A131 Notification of reasons for refusal

Free format text: JAPANESE INTERMEDIATE CODE: A131

Effective date: 20170314

A521 Request for written amendment filed

Free format text: JAPANESE INTERMEDIATE CODE: A523

Effective date: 20170425

A131 Notification of reasons for refusal

Free format text: JAPANESE INTERMEDIATE CODE: A131

Effective date: 20170905

A521 Request for written amendment filed

Free format text: JAPANESE INTERMEDIATE CODE: A523

Effective date: 20170913

TRDD Decision of grant or rejection written
A01 Written decision to grant a patent or to grant a registration (utility model)

Free format text: JAPANESE INTERMEDIATE CODE: A01

Effective date: 20180116

A61 First payment of annual fees (during grant procedure)

Free format text: JAPANESE INTERMEDIATE CODE: A61

Effective date: 20180122

R150 Certificate of patent or registration of utility model

Ref document number: 6318336

Country of ref document: JP

Free format text: JAPANESE INTERMEDIATE CODE: R150

R250 Receipt of annual fees

Free format text: JAPANESE INTERMEDIATE CODE: R250

LAPS Cancellation because of no payment of annual fees