JP2010143769A - カレット除去装置 - Google Patents

カレット除去装置 Download PDF

Info

Publication number
JP2010143769A
JP2010143769A JP2008319093A JP2008319093A JP2010143769A JP 2010143769 A JP2010143769 A JP 2010143769A JP 2008319093 A JP2008319093 A JP 2008319093A JP 2008319093 A JP2008319093 A JP 2008319093A JP 2010143769 A JP2010143769 A JP 2010143769A
Authority
JP
Japan
Prior art keywords
gas
cullet
gas passage
pair
gas injection
Prior art date
Legal status (The legal status is an assumption and is not a legal conclusion. Google has not performed a legal analysis and makes no representation as to the accuracy of the status listed.)
Granted
Application number
JP2008319093A
Other languages
English (en)
Other versions
JP2010143769A5 (ja
JP5426152B2 (ja
Inventor
Yasutomo Okajima
康智 岡島
Current Assignee (The listed assignees may be inaccurate. Google has not performed a legal analysis and makes no representation or warranty as to the accuracy of the list.)
Mitsuboshi Diamond Industrial Co Ltd
Original Assignee
Mitsuboshi Diamond Industrial Co Ltd
Priority date (The priority date is an assumption and is not a legal conclusion. Google has not performed a legal analysis and makes no representation as to the accuracy of the date listed.)
Filing date
Publication date
Application filed by Mitsuboshi Diamond Industrial Co Ltd filed Critical Mitsuboshi Diamond Industrial Co Ltd
Priority to JP2008319093A priority Critical patent/JP5426152B2/ja
Priority to KR1020090124682A priority patent/KR101168179B1/ko
Priority to TW098143095A priority patent/TW201024058A/zh
Priority to CN200910261306.1A priority patent/CN101759354B/zh
Publication of JP2010143769A publication Critical patent/JP2010143769A/ja
Publication of JP2010143769A5 publication Critical patent/JP2010143769A5/ja
Application granted granted Critical
Publication of JP5426152B2 publication Critical patent/JP5426152B2/ja
Expired - Fee Related legal-status Critical Current
Anticipated expiration legal-status Critical

Links

Images

Classifications

    • CCHEMISTRY; METALLURGY
    • C03GLASS; MINERAL OR SLAG WOOL
    • C03BMANUFACTURE, SHAPING, OR SUPPLEMENTARY PROCESSES
    • C03B33/00Severing cooled glass
    • C03B33/02Cutting or splitting sheet glass or ribbons; Apparatus or machines therefor
    • C03B33/023Cutting or splitting sheet glass or ribbons; Apparatus or machines therefor the sheet or ribbon being in a horizontal position
    • C03B33/033Apparatus for opening score lines in glass sheets
    • CCHEMISTRY; METALLURGY
    • C03GLASS; MINERAL OR SLAG WOOL
    • C03BMANUFACTURE, SHAPING, OR SUPPLEMENTARY PROCESSES
    • C03B33/00Severing cooled glass
    • C03B33/02Cutting or splitting sheet glass or ribbons; Apparatus or machines therefor
    • C03B33/023Cutting or splitting sheet glass or ribbons; Apparatus or machines therefor the sheet or ribbon being in a horizontal position
    • C03B33/027Scoring tool holders; Driving mechanisms therefor
    • CCHEMISTRY; METALLURGY
    • C03GLASS; MINERAL OR SLAG WOOL
    • C03BMANUFACTURE, SHAPING, OR SUPPLEMENTARY PROCESSES
    • C03B33/00Severing cooled glass
    • C03B33/02Cutting or splitting sheet glass or ribbons; Apparatus or machines therefor
    • C03B33/023Cutting or splitting sheet glass or ribbons; Apparatus or machines therefor the sheet or ribbon being in a horizontal position
    • C03B33/037Controlling or regulating
    • GPHYSICS
    • G02OPTICS
    • G02FOPTICAL DEVICES OR ARRANGEMENTS FOR THE CONTROL OF LIGHT BY MODIFICATION OF THE OPTICAL PROPERTIES OF THE MEDIA OF THE ELEMENTS INVOLVED THEREIN; NON-LINEAR OPTICS; FREQUENCY-CHANGING OF LIGHT; OPTICAL LOGIC ELEMENTS; OPTICAL ANALOGUE/DIGITAL CONVERTERS
    • G02F1/00Devices or arrangements for the control of the intensity, colour, phase, polarisation or direction of light arriving from an independent light source, e.g. switching, gating or modulating; Non-linear optics
    • G02F1/01Devices or arrangements for the control of the intensity, colour, phase, polarisation or direction of light arriving from an independent light source, e.g. switching, gating or modulating; Non-linear optics for the control of the intensity, phase, polarisation or colour 
    • G02F1/13Devices or arrangements for the control of the intensity, colour, phase, polarisation or direction of light arriving from an independent light source, e.g. switching, gating or modulating; Non-linear optics for the control of the intensity, phase, polarisation or colour  based on liquid crystals, e.g. single liquid crystal display cells
    • G02F1/1303Apparatus specially adapted to the manufacture of LCDs
    • YGENERAL TAGGING OF NEW TECHNOLOGICAL DEVELOPMENTS; GENERAL TAGGING OF CROSS-SECTIONAL TECHNOLOGIES SPANNING OVER SEVERAL SECTIONS OF THE IPC; TECHNICAL SUBJECTS COVERED BY FORMER USPC CROSS-REFERENCE ART COLLECTIONS [XRACs] AND DIGESTS
    • Y02TECHNOLOGIES OR APPLICATIONS FOR MITIGATION OR ADAPTATION AGAINST CLIMATE CHANGE
    • Y02PCLIMATE CHANGE MITIGATION TECHNOLOGIES IN THE PRODUCTION OR PROCESSING OF GOODS
    • Y02P40/00Technologies relating to the processing of minerals
    • Y02P40/50Glass production, e.g. reusing waste heat during processing or shaping
    • Y02P40/57Improving the yield, e-g- reduction of reject rates

Landscapes

  • Chemical & Material Sciences (AREA)
  • Engineering & Computer Science (AREA)
  • Materials Engineering (AREA)
  • Organic Chemistry (AREA)
  • Cleaning In General (AREA)
  • Re-Forming, After-Treatment, Cutting And Transporting Of Glass Products (AREA)
  • Processing Of Stones Or Stones Resemblance Materials (AREA)

Abstract

【課題】粉状の埃が周囲に散乱することなく確実に吸引することができる、非接触型のカレット除去装置を提供する。
【解決手段】脆性材料をスクライブ又はブレークする場合に生じるカレットを吸引して除去する。下方へ向かうにつれて断面積が漸次減少する一対の気体通過部112、112と、気体通過部112、112の上部にそれぞれ設けてある、圧縮気体を噴射する一対の気体噴射部113、113と、一対の気体通過部112、112の下端部間を接続し、断面形状が一定である直管部114と、一対の気体通過部112、112の上端部に設けてある、気体を吸引する吸引装置とを有している。直管部114の下方にて開口されたカレット吸引口111が形成されており、直管部114を流れる気流によりカレット吸引口111から周辺空気とともにカレットを吸引する。
【選択図】図2

Description

本発明は、ガラス板等の脆性材料にスクライブラインを形成する場合、ガラス板等の脆性材料をブレークする場合等に発生する屑、切粉等のカレットを、脆性材料に接触することなく確実に除去することができるカレット除去装置に関する。
ガラス基板を製造する場合、一般に脆性材料であるガラス基板の表面にスクライブラインを形成し、ガラス基板に所定の荷重を付加することにより、所望のサイズになるようガラス基板をブレークする。スクライブラインを形成する場合にはガラス基板の表面を削り、ブレークする場合には割れ等が生じることから、カレットと呼ばれるガラス屑、ガラス切粉等が必ず発生する。
脆性材料を加工することにより生じるカレットのような粉状の埃を除去するため、例えば特許文献1では、搬送される打抜きシート表面の全幅にわたって、ほぼ均等に空気を吹き付けて紙粉等の埃を舞い上げ、シート表面からはね返った空気とともに舞い上がった紙粉等の埃を吸い込む集塵装置が開示されている。また、特許文献2では、静止したガラス基板の表面に対し20乃至40度の角度で切断予定線に空気を吹き付け、吸引ノズルによりガラス屑を吸引して排出するガラス板切断方法が開示されている。
さらに特許文献3では、走行する紙シートに対して斜め45度前後の方向にて処理空気を吹き出し、誘引された周辺空気によって紙粉等の埃を浮上させ、処理空気、周辺空気及び紙粉等の埃を吸引する紙粉除去装置が開示されている。
特開平10−71596号公報 特開2006−89325号公報 特開2006−26752号公報
しかし、特許文献1乃至3に開示されているような空気を吹き付けて粉状の埃を浮上させて吸引する方法では、浮上した埃を100%吸引することは保証できない。したがって、吸引されなかった粉状の埃により周辺環境が汚染される可能性も高く、作業者の健康上の観点からも長時間の継続使用に耐えることが困難になるという問題点があった。
また、自動車のワイパーのように、ガラス基板の表面にブレードを接触させてカレットを除去する装置も開発されている。しかし、カレットは切断面に生じていることが多く、またスクライブラインを形成した場合に生じたカレットは、ブレードによりスクライブライン内へと寄せてしまい、ブレーク時に飛散するおそれがあった。
本発明は斯かる事情に鑑みてなされたものであり、粉状の埃が周囲に散乱することなく確実に吸引することができる、非接触型のカレット除去装置を提供することを目的とする。
上記目的を達成するために第1発明に係るカレット除去装置は、脆性材料をスクライブ又はブレークする場合に生じるカレットを吸引して除去するカレット除去装置において、上昇及び下降する気流をそれぞれ導く一対の気体通過部と、該気体通過部の少なくとも一方の上部に設けてある、一端が該気体通過部に開口し、他端が気体を噴射する気体噴射機構に接続される気体噴射部と、一対の前記気体通過部の下端部間を接続してある、断面形状が一定の直管部と、一対の前記気体通過部の上端部に開口し、気体を吸引する吸引機構に接続される吸引開口部とを有し、前記直管部の下方にて開口されたカレット吸引口が形成されていることを特徴とする。
第1発明では、上昇及び下降する気流をそれぞれ導く一対の気体通過部と、該気体通過部の少なくとも一方の上部に設けてある、一端が該気体通過部に開口し、他端が気体を噴射する気体噴射機構に接続される気体噴射部と、一対の気体通過部の下端部間を接続してある、断面形状が一定の直管部と、一対の気体通過部の上端部に開口し、気体を吸引する吸引機構に接続される吸引開口部とを有している。気体噴射部のいずれか一方から気体を噴射し、一方の気体通過部から直管部を経由して、他方の気体通過部へと吸引装置により吸引される。直管部の下方にカレット吸引口が形成されており、直管部に生じる気体の層流により負圧が発生し、カレット吸引口近傍の周辺空気がカレット吸引口から吸引される。
したがって、カレット吸引口近傍に存在するカレットはカレット吸引口から内部へ吸引され、他方の気体通過部を経由して外部へ排出される。また、カレットに気体を吹き付けていないのでカレットが浮上する等周囲環境へ飛散することがなく、ガラス板等の脆性材料に接触することなくカレットのみを確実に吸引することができる。さらに、気体噴射部と気体通過部とを適宜選択することにより、脆性材料と本装置との相対的な移動方向に応じて内部の気体の流れる方向を切り替えることができ、いずれの方向へ移動する場合であっても効果的にカレットを吸引することが可能となる。
また、第2発明に係るカレット除去装置は、第1発明において、前記直管部は、中心軸が前記カレット吸引口の下方にて支持される脆性材料の表面と略平行となるように配設してあることを特徴とする。
第2発明では、直管部を、中心軸がカレット吸引口の下方にて支持される脆性材料の表面と略平行となるように配設することにより、直管部には脆性材料の表面と略平行となる気体の層流が生じる。層流に起因して生じた負圧により、カレット吸引口近傍の周辺空気がカレット吸引口から吸引され、周辺空気とともにカレットも吸引することができる。
また、第3発明に係るカレット除去装置は、第1又は第2発明において、前記気体噴射部は、前記気体通過部のそれぞれの上部に設けてあり、前記気体噴射部の一端は前記気体通過部に開口してあり、他端は前記気体噴射部のいずれか一方から気体が噴射されるよう選択する噴射選択切替部を介して前記気体噴射機構に接続してあり、一対の前記気体通過部の上端部のいずれか一方が前記吸引開口部へ接続されるよう切り替える流路切替部を有し、脆性材料の相対的な移動方向に応じて、一対の前記気体噴射部のいずれか一方から気体を噴射し、他方の前記気体噴射部が設けてある前記気体通過部の上端部と前記吸引開口部が接続されるよう前記流路切替部を切り替えるようにしてあることを特徴とする。
第3発明では、気体噴射部が、気体通過部のそれぞれの上部に設けてあり、気体噴射部の一端は気体通過部に開口しており、他端は気体噴射部のいずれか一方から気体が噴射されるよう選択する噴射選択切替部を介して気体噴射機構に接続してある。一対の気体通過部の上端部のいずれか一方が吸引開口部へ接続されるよう切り替える流路切替部を有しており、脆性材料の相対的な移動方向に応じて、一対の気体噴射部のいずれか一方から気体を噴射し、他方の気体噴射部が設けてある気体通過部の上端部と吸引開口部とが接続されるよう流路切替部を切り替える。したがって、脆性材料と本装置との相対的な移動方向に応じて内部の気体の流れる方向を切り替えることができ、本装置に対して脆性材料が相対的にいずれの方向へ移動する場合であっても効果的にカレットを吸引することが可能となる。
また、第4発明に係るカレット除去装置は、第3発明において、脆性材料が近づく方向側に設けてある一対の前記気体噴射部のいずれか一方から気体を噴射し、脆性材料が離れる方向側で前記気体通過部の上端部と前記吸引開口部とが接続されるよう前記流路切替部を切り替えるようにしてあることを特徴とする。
第4発明では、ガラス板等の脆性材料が近づく方向側に設けてある一の気体噴射部から気体を噴射し、脆性材料が離れる方向側で気体通過部の上端部と吸引開口部とが接続されるよう切り替えることにより、本装置に対する脆性材料の相対的な移動方向に応じて効果的にカレットを吸引することが可能となる。
また、第5発明に係るカレット除去装置は、第1乃至第4発明のいずれか1つにおいて、一対の前記気体噴射部の下方に、通過する気体の流れを整流する整流部材を配設してあることを特徴とする。
第5発明では、整流部材を配設することにより、内部を通過する気体を可能な限り層流に近づけることができ、直管部におけるカレット吸引効果を、脆性材料の相対的な移動方向と略直交する方向に均一化することができる。
また、第6発明に係るカレット除去装置は、第5発明において、前記脆性材料の相対的な移動方向と略直交する方向に、複数の前記整流部材を配設してあることを特徴とする。
第6発明では、脆性材料の相対的な移動方向と略直交する方向に、複数の整流部材を配設することにより、より均一な気体の流れを生じさせることができ、直管部において均質な層流を生じさせることが可能となる。
また、第7発明に係るカレット除去装置は、第6発明において、複数の前記整流部材は、中央部分から離れるにつれてサイズが小さくなるように配設してあることを特徴とする。
第7発明では、整流部材を、中央部分から離れるにつれてサイズが小さくなるよう配設することにより、より均一な気体の流れを生じさせることができ、直管部において均質な層流を生じさせることが可能となる。
また、第8発明に係るカレット除去装置は、第1乃至第7発明のいずれか1つにおいて、一対の前記気体通過部は、下方へ向かうにつれて断面積が漸次減少することを特徴とする。
第8発明では、一対の気体通過部は、下方へ向かうにつれて断面積が漸次減少することにより、下方へ進むにつれて流速が増加し、直管部にて一定の流速を有する層流を生じさせることができる。
上記構成により、気体噴射部のいずれか一方から気体を噴射し、一方の気体通過部から直管部を経由して、他方の気体通過部へと吸引装置により吸引される。直管部の下方にカレット吸引口が形成されており、直管部に生じる気体の層流により負圧が発生し、カレット吸引口近傍の周辺空気がカレット吸引口から吸引される。
したがって、カレット吸引口近傍に存在するカレットはカレット吸引口から内部へ吸引され、他方の気体通過部を経由して外部へ排出される。また、カレットに気体を吹き付けていないのでカレットが浮上する等周囲環境へ飛散することがなく、ガラス板等の脆性材料に接触することなくカレットのみを確実に吸引することができる。さらに、気体噴射部と気体通過部とを適宜選択することにより、脆性材料と本装置との相対的な移動方向に応じて内部の気体の流れる方向を切り替えることができ、いずれの方向へ移動する場合であっても効果的にカレットを吸引することが可能となる。
以下に、本発明をその実施の形態を示す図面に基づいて詳細に説明する。図1は、本発明の実施の形態に係るカレット除去装置の構成を示す模式図である。
図1に示すように、本発明の実施の形態に係るカレット除去装置1は、ガラス板等の脆性材料3をスクライブするスクライブ装置及び/又はブレークするブレーク装置の支持台2上を相対的に矢印方向へ移動するガラス板3の上方に配置されており、本体部11の下端部には、カレットを吸引するカレット吸引口111を設けてある。カレット吸引口111から吸引されたカレットは、本体部11の内部を通過して吸引管12を介して吸引装置(吸引機構)13へと吸引される。
吸引装置13が吸引する気体は、気体噴射装置(気体噴射機構)15、15のうちいずれか一方から、接続されている噴射管14を介して本体部11の内部にて噴射される。図2は、本発明の実施の形態に係るカレット除去装置1のガラス板3の移動方向に沿った面での断面図である。
図2において、本発明の実施の形態に係るカレット除去装置1の本体部11には、内部を気体が流れることが可能な一対の流路である気体通過部112、112が形成されている。気体通過部112、112は、下方へ向かうにつれて断面積が漸次減少するように形成されている。これにより、内部を流れる気体の流速が加速されるとともに、乱流、渦流の発生を少しでも防止する。
気体通過部112、112の上端部は合流しており、吸引管接続部材116の吸引開口部116Aに吸引管12を挿入してある。吸引管12は吸引装置13と接続してあり、吸引管12を介して気体通過部112、112の内部の気体が吸い上げられる。
気体通過部112、112の合流部には、いずれかの気体通過部112のみへ流路を切り替える切替弁(流路切替部)115を設けてある。切替弁115が図2の実線で示す方向に切り替えられている場合、図2に向かって右側の気体通過部112から気体を吸い上げ、切替弁115が図2の破線で示す方向に切り替えられている場合、図2に向かって左側の気体通過部112から気体を吸い上げる。
気体通過部112、112の内部の上端部近傍には、気流を生成するための気体、例えば圧縮気体を噴射する一対の気体噴射部113、113が備えてある。図3は、気体噴射部113を含む気体噴射機構の構成を示す模式図である。気体噴射部113は、略円筒形状を有する本体120に、一列に複数の孔部121、121、・・・を設けてある。本体120は、噴射管14を介して気体を本体120へ供給する気体噴射装置15に接続されている。
気体噴射部113、113は、いずれか一方が気体を噴射している場合、他方は噴射しないように制御される。すなわち、噴射管14、14、14を介して、気体噴射部113、113及び気体噴射装置15は流路切替バルブ(噴射選択切替部)130に接続されている。流路切替バルブ130のアクチュエータ131は、上述した切替弁115のアクチュエータ141、カレット除去装置1の移動機構部150とともに制御部200に接続されている。制御部200は、カレット除去装置1の移動機構部150の動作を制御してカレット除去装置1の移動方向を定め、移動方向に連動させて、切替弁115のアクチュエータ141の動作及び流路切替バルブ130のアクチュエータ131の動作を制御して、内部を流れる気体の方向を制御する。これにより、カレット除去装置1の内部に一定方向で一定速度を有する気体の流れを生じさせることができる。
図4は、気体噴射部113と切替弁115との関係を示す模式図である。図4(a)に示すように、気体噴射部113Aが圧縮気体を下方へ噴射する場合、切替弁115は左側の気体通過部112A、すなわち圧縮気体を噴射している側の気体通過部112Aを閉鎖するように切り替える。このようにすることで、気体噴射部113Aから噴射された圧縮気体は、直管部114を経由して右側の気体通過部112Bへと誘導される。そして、吸引管12を介して接続されている吸引装置13により、上方へと吸い上げられることにより、反時計回りの気体の流れが生じる。
一方、図4(b)に示すように、気体噴射部113Bが圧縮気体を下方へ噴射する場合、切替弁115は左側の気体通過部112B、すなわち圧縮気体を噴射している側の気体通過部112Bを閉鎖するように切り替える。このようにすることで、気体噴射部113Bから噴射された圧縮気体は、直管部114を経由して左側の気体通過部112Aへと誘導される。そして、吸引管12を介して接続されている吸引装置13により、上方へと吸い上げられることにより、時計回りの気体の流れが生じる。
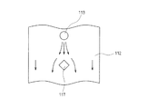
一対の気体通過部112、112の下端部は、断面形状が一定である直管部114により接続されており、直管部114の下方には、カレットを吸引するべく開口されているカレット吸引口111が形成されている。
図5は、カレット吸引口111近傍の気体の流れる状態を示す模式図である。直管部114には可能な限り層流に近い気流が提供され、カレット吸引口111の近傍を比較的速い流速で流れることにより、カレット吸引口111近傍の直管部114の内部には負圧が発生する。したがって、大気圧よりも直管部114の内部の圧力の方が低くなるので、カレット吸引口111近傍の外側にある周辺空気は、直管部114の内部へと吸引される。したがって、カレット吸引口111の近傍に存在するカレットは、斯かる周辺空気の流れによりカレット吸引口111から直管部114の内部へと誘導され、内部に生じている気流により吸引装置13まで誘導される。
また、図4にも示したように、気体噴射部113A、113Bと、切替弁115とを連動させることにより、気体の流れる方向を制御することができるので、カレット除去の対象となるガラス板3が、本体部11と相対的にどちらの方向へ移動する場合であっても、気体の流れる方向を切り替えることにより効果的にカレットを吸引することが可能となる。
例えば図4において、ガラス板3が左から右へと移動する場合には図4(a)に示すように反時計回りに気体が流れる。逆にガラス板3が右から左へと移動する場合には図4(b)に示すように時計回りに気体が流れる。このようにすることで、移動方向に応じて効果的にカレットを吸引することができる方向に気体が流れる方向を切り替えることができ、カレットを確実に吸引して除去することが可能となる。
なお、カレット吸引口111は、ガラス板3の移動方向と略直交する方向に長軸又は長辺を有するスリット形状をなしている。したがって、吸引装置13による吸引力は、ガラス板3の移動方向と略直交する方向の気体通過部112の中央部近傍ほど大きくなる。図6は、吸引装置13による気体通過部112の内部の吸引力の大きさを示す模式図である。図6に示すように、気体通過部112の中央部分ほど吸引力が大きく、端部分になるほど吸引力が小さくなっている。
そこで、本実施の形態では、ガラス板3の移動方向と略直交する方向の気体通過部112の中央部近傍に整流部材117を配設する。図7は、整流部材117を配設した場合の気体通過部112の内部の気体の流れる状態を示す模式図である。図7に示すように、整流部材117を気体通過部112の中央部近傍に配設することにより、中央部近傍の気流が外側に回りこみ、中央部近傍での吸引力が小さくなる。一方、吸引された気流が外側へ押し出されることにより、吸引力が比較的小さかった気体通過部112の端部分の吸引力が大きくなる。したがって、気体通過部112の内部の吸引力が、ガラス板3の移動方向と略直交する方向で均一になるよう補正することができる。
また、整流部材117は、図2に示すように気体噴射部113の下方に配設することが好ましい。気体噴射部113も、ガラス板3の移動方向と略直交する方向の気体通過部112の中央部近傍にて圧縮気体を噴射していることから、気体通過部112の中央部分ほど気体の流速が速く、端部分になるほど気体の流速が遅くなる。斯かる速度差の存在により、直管部114にて層流を生成することは困難であった。
図8は、整流部材117を中央部近傍に配設した場合の気体通過部112の内部の気体の流れを示す模式図である。図8に示すように、整流部材117を気体通過部112の中央部近傍に配設することにより、中央部近傍の気流が外側に回りこみ、中央部近傍の気体の流速が減速される。一方、気流が外側へ押し出されることにより、気体通過部112の端部分の気体の流速を加速することができる。したがって、気体通過部112の内部の流速が、ガラス板3の移動方向と略直交する方向で均一になるよう補正することができ、直管部114にて層流を生成することが容易となる。
また、整流部材117は、気体通過部112に1つ配設することに限定されるものではなく、複数配設しても良い。図9は、整流部材117を複数配設した場合の気体通過部112の内部を示す模式図である。図9に示すように、整流部材117は、ガラス板3の移動方向と略直交する方向の気体通過部112の中央部近傍に配設された整流部材117Aを一番大きなサイズとし、端部分へ向かうにつれて整流部材117B、117Cのサイズを漸次小さくしてある。これは、中央部近傍ほど吸引力が大きく、気体の流速も速いことから、吸引力の減少効果及び気体の流速の減速効果を強め、端部分になるほど吸引力が小さく、気体の流速も遅いことから、吸引力の減少効果及び気体の流速の減速効果を弱めるためである。
さらに、直管部114にて均質な層流を生成するためには、中央部近傍に配設された整流部材117Aを中心として、左右対称に他の整流部材を配設することが好ましい。これにより、気体が左右方向で均一に流れるように補正することができる。
また、整流部材117の形状は特に限定されるものではない。ただし、本実施の形態に係るカレット除去装置1では、気体の流れる方向がガラス板3の移動方向により切り替わることから、上下対称である形状が好ましい。図10は、整流部材117の気体の流れる方向に沿った面での断面形状の例示図である。
図10(a)に示すように、2つの円錐形状を底面で張り合わせたような形状であれば、気体の流れる方向が切り替わった場合であっても、同等の効果が期待できる。また、図10(b)に示すような楕円球形状、あるいは涙滴形状であっても良い。
以上のように本実施の形態によれば、カレットに気体を吹き付けていないのでカレットが浮上する等周囲環境へ散乱することがなく、ガラス板3等の脆性材料に接触することなくカレットのみを確実に吸引することができる。さらに、気体噴射部113と気体通過部112とを適宜選択することにより、ガラス板3と本体部11との相対移動方向に応じて内部の気体の流れる方向を切り替えることができ、いずれの方向へ移動する場合であっても効果的にカレットを吸引することが可能となる。
なお、上述した実施の形態では、吸引装置13を1基設け、切替弁115で切り替える構成としているが、特にこれに限定されるものではなく、吸引装置13を2基設けて軌道タイミングを切り替える構成であっても良い。
また、脆性材料はガラス板に限定されるものではなく、分断する場合にスクライブラインを形成し、その後でブレーク処理をすることにより高い品質にて分断を行う脆性材料であれば、その種類を問わない。
その他、本発明の趣旨の範囲内であれば多種の変形、置換等が可能である。例えば切替弁115を用いることなく、気体噴射部113を気体通過部112の一方のみに設ける構成であっても、カレット吸引効果は奏することができる。図11は、切替弁115を用いない場合の本発明の実施の形態に係るカレット除去装置1のガラス板の移動方向に沿った面での断面図である。図11に示すように、切替弁115の代わりに隔壁161を設け、隔壁161により気体の通路が遮断されている側の気体通過部112の上部に気体噴射部113を設けてある。
斯かる構成であっても、直管部114内には層流が生じ、カレット吸引口111近傍には負圧が生じるので、カレットを効果的に吸引することができることは言うまでもない。
本発明の実施の形態に係るカレット除去装置の構成を示す模式図である。 本発明の実施の形態に係るカレット除去装置のガラス板の移動方向に沿った面での断面図である。 気体噴射部を含む気体噴射機構の構成を示す模式図である。 気体噴射部と切替弁との関係を示す模式図である。 カレット吸引口近傍の気体の流れる状態を示す模式図である。 吸引装置による気体通過部の内部の吸引力の大きさを示す模式図である。 整流部材を配設した場合の気体通過部の内部の気体の流れる状態を示す模式図である。 整流部材を中央部近傍に配設した場合の気体通過部の内部の気体の流れを示す模式図である。 整流部材を複数配設した場合の気体通過部の内部を示す模式図である。 整流部材の気体の流れる方向に沿った面での断面形状の例示図である。 切替弁を用いない場合の本発明の実施の形態に係るカレット除去装置のガラス板の移動方向に沿った面での断面図である。
符号の説明
1 カレット除去装置
3 ガラス板(脆性材料)
11 本体部
13 吸引装置(吸引機構)
111 カレット吸引口
112、112A、112B 気体通過部
113、113A、113B 気体噴射部(気体噴射機構)
114 直管部
115 切替弁(流路切替部)
116A 吸引開口部
117 整流部材

Claims (8)

  1. 脆性材料をスクライブ又はブレークする場合に生じるカレットを吸引して除去するカレット除去装置において、
    上昇及び下降する気流をそれぞれ導く一対の気体通過部と、
    該気体通過部の少なくとも一方の上部に設けてある、一端が該気体通過部に開口し、他端が気体を噴射する気体噴射機構に接続される気体噴射部と、
    一対の前記気体通過部の下端部間を接続してある、断面形状が一定の直管部と、
    一対の前記気体通過部の上端部に開口し、気体を吸引する吸引機構に接続される吸引開口部と
    を有し、
    前記直管部の下方にて開口されたカレット吸引口が形成されていることを特徴とするカレット除去装置。
  2. 前記直管部は、中心軸が前記カレット吸引口の下方にて支持される脆性材料の表面と略平行となるように配設してあることを特徴とする請求項1記載のカレット除去装置。
  3. 前記気体噴射部は、前記気体通過部のそれぞれの上部に設けてあり、
    前記気体噴射部の一端は前記気体通過部に開口してあり、他端は前記気体噴射部のいずれか一方から気体が噴射されるよう選択する噴射選択切替部を介して前記気体噴射機構に接続してあり、
    一対の前記気体通過部の上端部のいずれか一方が前記吸引開口部へ接続されるよう切り替える流路切替部を有し、
    脆性材料の相対的な移動方向に応じて、一対の前記気体噴射部のいずれか一方から気体を噴射し、他方の前記気体噴射部が設けてある前記気体通過部の上端部と前記吸引開口部とが接続されるよう前記流路切替部を切り替えるようにしてあることを特徴とする請求項1又は2記載のカレット除去装置。
  4. 脆性材料が近づく方向側に設けてある一対の前記気体噴射部のいずれか一方から気体を噴射し、脆性材料が離れる方向側で前記気体通過部の上端部と前記吸引開口部とが接続されるよう前記流路切替部を切り替えるようにしてあることを特徴とする請求項3記載のカレット除去装置。
  5. 一対の前記気体噴射部の下方に、通過する気体の流れを整流する整流部材を配設してあることを特徴とする請求項1乃至4のいずれか一項に記載のカレット除去装置。
  6. 前記脆性材料の相対的な移動方向と略直交する方向に、複数の前記整流部材を配設してあることを特徴とする請求項5記載のカレット除去装置。
  7. 複数の前記整流部材は、中央部分から離れるにつれてサイズが小さくなるように配設してあることを特徴とする請求項6記載のカレット除去装置。
  8. 一対の前記気体通過部は、下方へ向かうにつれて断面積が漸次減少することを特徴とする請求項1乃至7のいずれか一項に記載のカレット除去装置。
JP2008319093A 2008-12-16 2008-12-16 カレット除去装置 Expired - Fee Related JP5426152B2 (ja)

Priority Applications (4)

Application Number Priority Date Filing Date Title
JP2008319093A JP5426152B2 (ja) 2008-12-16 2008-12-16 カレット除去装置
KR1020090124682A KR101168179B1 (ko) 2008-12-16 2009-12-15 컬릿 제거 장치
TW098143095A TW201024058A (en) 2008-12-16 2009-12-16 Device for removing cullet
CN200910261306.1A CN101759354B (zh) 2008-12-16 2009-12-16 玻璃屑除去装置

Applications Claiming Priority (1)

Application Number Priority Date Filing Date Title
JP2008319093A JP5426152B2 (ja) 2008-12-16 2008-12-16 カレット除去装置

Publications (3)

Publication Number Publication Date
JP2010143769A true JP2010143769A (ja) 2010-07-01
JP2010143769A5 JP2010143769A5 (ja) 2011-12-08
JP5426152B2 JP5426152B2 (ja) 2014-02-26

Family

ID=42367635

Family Applications (1)

Application Number Title Priority Date Filing Date
JP2008319093A Expired - Fee Related JP5426152B2 (ja) 2008-12-16 2008-12-16 カレット除去装置

Country Status (4)

Country Link
JP (1) JP5426152B2 (ja)
KR (1) KR101168179B1 (ja)
CN (1) CN101759354B (ja)
TW (1) TW201024058A (ja)

Cited By (3)

* Cited by examiner, † Cited by third party
Publication number Priority date Publication date Assignee Title
JP2015093827A (ja) * 2013-11-13 2015-05-18 上海和輝光電有限公司Everdisplay Optronics (Shanghai) Limited 切断集塵装置及び切断方法
JP2016006844A (ja) * 2014-05-29 2016-01-14 三星ダイヤモンド工業株式会社 溝加工ヘッドの集塵機構及び溝加工装置
WO2017179436A1 (ja) * 2016-04-12 2017-10-19 日本電気硝子株式会社 板ガラスの製造方法および製造装置

Families Citing this family (5)

* Cited by examiner, † Cited by third party
Publication number Priority date Publication date Assignee Title
CN102503107A (zh) * 2011-10-28 2012-06-20 深圳市华星光电技术有限公司 一种切割机构的碎屑收集装置、lcd面板切割碎屑吸除装置
US8893600B2 (en) 2012-09-28 2014-11-25 Shenzhen China Star Optroelectronics Technology Co., Ltd. Dust protection method for glass substrate cutter
CN102849934B (zh) * 2012-09-28 2014-10-22 深圳市华星光电技术有限公司 玻璃基板切割机的防尘方法
JP6757496B2 (ja) * 2016-12-02 2020-09-23 日本電気硝子株式会社 ガラス板の製造方法
CN109987829A (zh) * 2019-02-15 2019-07-09 彩虹(合肥)液晶玻璃有限公司 一种精切机气路切换装置

Citations (7)

* Cited by examiner, † Cited by third party
Publication number Priority date Publication date Assignee Title
JPS59119383U (ja) * 1983-02-01 1984-08-11 エーザイ株式会社 洗浄用ノズル
JPS62502804A (ja) * 1985-04-11 1987-11-12 ツエ−ル,デイ−テル 表面クリ−ニング装置
JPS62190684U (ja) * 1986-05-26 1987-12-04
JPS634947A (ja) * 1986-06-26 1988-01-09 Dainippon Printing Co Ltd 活版輪転印刷機の版洗浄装置
JP2000176337A (ja) * 1998-12-21 2000-06-27 Matsuo Sangyo Kk 静電粉体塗装用ブースの壁面清掃装置
JP2002011666A (ja) * 2000-06-23 2002-01-15 Ricoh Co Ltd ブラスト装置
JP2008094690A (ja) * 2006-10-16 2008-04-24 Seiko Epson Corp ガラスカレットの除去装置、ガラスカレットの除去方法および基板分断装置

Family Cites Families (5)

* Cited by examiner, † Cited by third party
Publication number Priority date Publication date Assignee Title
US7931755B2 (en) * 2003-12-19 2011-04-26 Mitsuboshi Diamond Industrial Co., Ltd Method for removing deposit from substrate and method for drying substrate, as well as apparatus for removing deposit from substrate and apparatus for drying substrate using these methods
JP2006026752A (ja) * 2004-07-12 2006-02-02 Nippon Paper Industries Co Ltd 紙粉除去装置
JP2006089325A (ja) * 2004-09-22 2006-04-06 Pioneer Electronic Corp ガラス板切断方法及びその装置並びにプラズマディスプレイパネルの製造方法及びその装置
JP2008094691A (ja) 2006-10-16 2008-04-24 Seiko Epson Corp ガラスカレットの除去装置、ガラスカレットの除去方法および基板分断装置
JP2008127228A (ja) 2006-11-17 2008-06-05 Shibuya Kogyo Co Ltd 板材加工装置

Patent Citations (7)

* Cited by examiner, † Cited by third party
Publication number Priority date Publication date Assignee Title
JPS59119383U (ja) * 1983-02-01 1984-08-11 エーザイ株式会社 洗浄用ノズル
JPS62502804A (ja) * 1985-04-11 1987-11-12 ツエ−ル,デイ−テル 表面クリ−ニング装置
JPS62190684U (ja) * 1986-05-26 1987-12-04
JPS634947A (ja) * 1986-06-26 1988-01-09 Dainippon Printing Co Ltd 活版輪転印刷機の版洗浄装置
JP2000176337A (ja) * 1998-12-21 2000-06-27 Matsuo Sangyo Kk 静電粉体塗装用ブースの壁面清掃装置
JP2002011666A (ja) * 2000-06-23 2002-01-15 Ricoh Co Ltd ブラスト装置
JP2008094690A (ja) * 2006-10-16 2008-04-24 Seiko Epson Corp ガラスカレットの除去装置、ガラスカレットの除去方法および基板分断装置

Cited By (3)

* Cited by examiner, † Cited by third party
Publication number Priority date Publication date Assignee Title
JP2015093827A (ja) * 2013-11-13 2015-05-18 上海和輝光電有限公司Everdisplay Optronics (Shanghai) Limited 切断集塵装置及び切断方法
JP2016006844A (ja) * 2014-05-29 2016-01-14 三星ダイヤモンド工業株式会社 溝加工ヘッドの集塵機構及び溝加工装置
WO2017179436A1 (ja) * 2016-04-12 2017-10-19 日本電気硝子株式会社 板ガラスの製造方法および製造装置

Also Published As

Publication number Publication date
TWI374801B (ja) 2012-10-21
KR101168179B1 (ko) 2012-07-24
CN101759354A (zh) 2010-06-30
CN101759354B (zh) 2014-05-28
TW201024058A (en) 2010-07-01
JP5426152B2 (ja) 2014-02-26
KR20100069607A (ko) 2010-06-24

Similar Documents

Publication Publication Date Title
JP5426152B2 (ja) カレット除去装置
EP2368646A2 (en) Air dust collector
KR101323671B1 (ko) 브레이크 장치 및 브레이크 방법
EP1958906A3 (en) Sheet delivery/guide apparatus
JP5454999B2 (ja) 塵埃吸引方法及び塵埃吸引装置
TWI363034B (en) Workpiece separation unit and vibratory conveying apparatus
JP2009269157A (ja) 断裁装置
EP4353397A1 (en) Laser processing device and laser processing method
KR20170011860A (ko) 집진 장치 및 이를 구비한 방향성 전기강판의 자구미세화 설비
JP2009019688A (ja) 静圧軸受
JP6171545B2 (ja) レーザ加工煙清浄装置、レーザ加工装置
JP2017202441A (ja) 除塵装置
JP5440622B2 (ja) 乾式クリーニング装置及び乾式クリーニング方法
EP3875210A1 (en) Laser processing device with gas ports and central suction port
JP2014100721A (ja) レーザ加工装置およびレーザ加工における集塵方法
JP2014039921A (ja) 乾式クリーニング筐体、乾式クリーニング装置及び乾式クリーニング方法
JP6076606B2 (ja) 浮上搬送装置および浮上搬送方法
JP5822437B2 (ja) 保持具
JP2005186173A (ja) シート材の切断方法及びその装置
JP2023115739A (ja) 微粒子の除去装置及び除去方法
JP2007059416A (ja) 基板処理装置
CN104162908B (zh) 具有清洁功能的板材切断装置
JP2005145633A (ja) エア搬送装置
JP2012000737A (ja) 保持具
EP3943230B1 (en) Laser processing device

Legal Events

Date Code Title Description
A521 Written amendment

Free format text: JAPANESE INTERMEDIATE CODE: A523

Effective date: 20111024

A621 Written request for application examination

Free format text: JAPANESE INTERMEDIATE CODE: A621

Effective date: 20111024

A977 Report on retrieval

Free format text: JAPANESE INTERMEDIATE CODE: A971007

Effective date: 20130131

A131 Notification of reasons for refusal

Free format text: JAPANESE INTERMEDIATE CODE: A131

Effective date: 20130219

A131 Notification of reasons for refusal

Free format text: JAPANESE INTERMEDIATE CODE: A131

Effective date: 20130806

TRDD Decision of grant or rejection written
A01 Written decision to grant a patent or to grant a registration (utility model)

Free format text: JAPANESE INTERMEDIATE CODE: A01

Effective date: 20131105

A61 First payment of annual fees (during grant procedure)

Free format text: JAPANESE INTERMEDIATE CODE: A61

Effective date: 20131128

R150 Certificate of patent or registration of utility model

Free format text: JAPANESE INTERMEDIATE CODE: R150

LAPS Cancellation because of no payment of annual fees