JP2010143386A - 空気入りタイヤ及びその製造方法 - Google Patents
空気入りタイヤ及びその製造方法 Download PDFInfo
- Publication number
- JP2010143386A JP2010143386A JP2008322470A JP2008322470A JP2010143386A JP 2010143386 A JP2010143386 A JP 2010143386A JP 2008322470 A JP2008322470 A JP 2008322470A JP 2008322470 A JP2008322470 A JP 2008322470A JP 2010143386 A JP2010143386 A JP 2010143386A
- Authority
- JP
- Japan
- Prior art keywords
- tire
- sheet
- circumferential direction
- divided
- rubber
- Prior art date
- Legal status (The legal status is an assumption and is not a legal conclusion. Google has not performed a legal analysis and makes no representation as to the accuracy of the status listed.)
- Pending
Links
- 238000004519 manufacturing process Methods 0.000 title claims abstract description 22
- 229920001971 elastomer Polymers 0.000 claims abstract description 70
- 239000005060 rubber Substances 0.000 claims abstract description 70
- 238000000465 moulding Methods 0.000 claims description 22
- 238000010030 laminating Methods 0.000 claims 2
- 230000003068 static effect Effects 0.000 abstract description 7
- 238000000034 method Methods 0.000 description 16
- 239000011324 bead Substances 0.000 description 8
- 230000002093 peripheral effect Effects 0.000 description 7
- 238000010586 diagram Methods 0.000 description 6
- 238000004804 winding Methods 0.000 description 5
- 238000005520 cutting process Methods 0.000 description 2
- 238000001125 extrusion Methods 0.000 description 2
- 239000000945 filler Substances 0.000 description 2
- 229910000831 Steel Inorganic materials 0.000 description 1
- 229920005549 butyl rubber Polymers 0.000 description 1
- 239000000470 constituent Substances 0.000 description 1
- 230000000694 effects Effects 0.000 description 1
- 239000000835 fiber Substances 0.000 description 1
- 239000000463 material Substances 0.000 description 1
- 239000002184 metal Substances 0.000 description 1
- 230000035699 permeability Effects 0.000 description 1
- 239000010959 steel Substances 0.000 description 1
- 238000003860 storage Methods 0.000 description 1
- 238000004073 vulcanization Methods 0.000 description 1
Images
Classifications
-
- B—PERFORMING OPERATIONS; TRANSPORTING
- B29—WORKING OF PLASTICS; WORKING OF SUBSTANCES IN A PLASTIC STATE IN GENERAL
- B29D—PRODUCING PARTICULAR ARTICLES FROM PLASTICS OR FROM SUBSTANCES IN A PLASTIC STATE
- B29D30/00—Producing pneumatic or solid tyres or parts thereof
- B29D30/06—Pneumatic tyres or parts thereof (e.g. produced by casting, moulding, compression moulding, injection moulding, centrifugal casting)
- B29D30/08—Building tyres
- B29D30/20—Building tyres by the flat-tyre method, i.e. building on cylindrical drums
-
- B—PERFORMING OPERATIONS; TRANSPORTING
- B29—WORKING OF PLASTICS; WORKING OF SUBSTANCES IN A PLASTIC STATE IN GENERAL
- B29D—PRODUCING PARTICULAR ARTICLES FROM PLASTICS OR FROM SUBSTANCES IN A PLASTIC STATE
- B29D30/00—Producing pneumatic or solid tyres or parts thereof
- B29D30/06—Pneumatic tyres or parts thereof (e.g. produced by casting, moulding, compression moulding, injection moulding, centrifugal casting)
- B29D30/08—Building tyres
- B29D30/20—Building tyres by the flat-tyre method, i.e. building on cylindrical drums
- B29D30/30—Applying the layers; Guiding or stretching the layers during application
- B29D30/3042—Applying the layers; Guiding or stretching the layers during application by feeding cut-to-length pieces in a direction perpendicular to the drum axis and in a plane parallel to the drum axis, and placing the pieces side-by-side to form an annular element
-
- B—PERFORMING OPERATIONS; TRANSPORTING
- B29—WORKING OF PLASTICS; WORKING OF SUBSTANCES IN A PLASTIC STATE IN GENERAL
- B29D—PRODUCING PARTICULAR ARTICLES FROM PLASTICS OR FROM SUBSTANCES IN A PLASTIC STATE
- B29D30/00—Producing pneumatic or solid tyres or parts thereof
- B29D30/06—Pneumatic tyres or parts thereof (e.g. produced by casting, moulding, compression moulding, injection moulding, centrifugal casting)
- B29D30/38—Textile inserts, e.g. cord or canvas layers, for tyres; Treatment of inserts prior to building the tyre
- B29D30/42—Endless textile bands without bead-rings
- B29D2030/421—General aspects of the joining methods and devices for creating the bands
- B29D2030/423—Joining by overlapping
-
- B—PERFORMING OPERATIONS; TRANSPORTING
- B60—VEHICLES IN GENERAL
- B60C—VEHICLE TYRES; TYRE INFLATION; TYRE CHANGING; CONNECTING VALVES TO INFLATABLE ELASTIC BODIES IN GENERAL; DEVICES OR ARRANGEMENTS RELATED TO TYRES
- B60C5/00—Inflatable pneumatic tyres or inner tubes
- B60C5/12—Inflatable pneumatic tyres or inner tubes without separate inflatable inserts, e.g. tubeless tyres with transverse section open to the rim
- B60C5/14—Inflatable pneumatic tyres or inner tubes without separate inflatable inserts, e.g. tubeless tyres with transverse section open to the rim with impervious liner or coating on the inner wall of the tyre
- B60C2005/147—Inflatable pneumatic tyres or inner tubes without separate inflatable inserts, e.g. tubeless tyres with transverse section open to the rim with impervious liner or coating on the inner wall of the tyre characterised by the joint or splice
-
- Y—GENERAL TAGGING OF NEW TECHNOLOGICAL DEVELOPMENTS; GENERAL TAGGING OF CROSS-SECTIONAL TECHNOLOGIES SPANNING OVER SEVERAL SECTIONS OF THE IPC; TECHNICAL SUBJECTS COVERED BY FORMER USPC CROSS-REFERENCE ART COLLECTIONS [XRACs] AND DIGESTS
- Y10—TECHNICAL SUBJECTS COVERED BY FORMER USPC
- Y10T—TECHNICAL SUBJECTS COVERED BY FORMER US CLASSIFICATION
- Y10T152/00—Resilient tires and wheels
- Y10T152/10—Tires, resilient
- Y10T152/10495—Pneumatic tire or inner tube
- Y10T152/10621—Sectional casings
- Y10T152/1063—Circumferential
Landscapes
- Engineering & Computer Science (AREA)
- Mechanical Engineering (AREA)
- Tyre Moulding (AREA)
- Tires In General (AREA)
Abstract
【課題】タイヤ周方向に分割されたシート状ゴムを用いる場合でも、タイヤ径方向のインチサイズが異なるタイヤへの段替時間の短縮を図ることができるとともに、タイヤのユニフォミティを改善することのできる空気入りタイヤ及びその製造方法を提供する。
【解決手段】シート状ゴムの分割シートS1 ,S2 ,…を、合計値がタイヤの呼び径の値となる複数の整数値N1 ,N2 ,…でタイヤ周方向に分割した位置でスプライスするようにしたので、一部の分割シートが互いに共通の整数値に対応したタイヤ周方向長さを有するシート状ゴムを用いることにより、一部の分割シートを共用することができる。また、シート状ゴムを互いにスプライス位置がタイヤ周方向にずれるように配置したので、タイヤ静バランス性を向上させることができる。
【選択図】図15
【解決手段】シート状ゴムの分割シートS1 ,S2 ,…を、合計値がタイヤの呼び径の値となる複数の整数値N1 ,N2 ,…でタイヤ周方向に分割した位置でスプライスするようにしたので、一部の分割シートが互いに共通の整数値に対応したタイヤ周方向長さを有するシート状ゴムを用いることにより、一部の分割シートを共用することができる。また、シート状ゴムを互いにスプライス位置がタイヤ周方向にずれるように配置したので、タイヤ静バランス性を向上させることができる。
【選択図】図15
Description
本発明は、例えば乗用車、トラック、バス等に用いられる空気入りタイヤ及びその製造方法に関するものである。
従来、この種の空気入りタイヤを製造する場合には、タイヤの周長に対応した幅寸法を有する帯状ゴムをタイヤの幅方向のサイズに応じた長さに切断することにより、タイヤ径方向のインチサイズに応じたタイヤ周方向長さのシート状ゴムを形成し、これを成形ドラムに巻き付けてタイヤ周方向両端部をスプライスすることにより、インナーライナやカーカス等のタイヤ構成部材を成形ドラム上で成形するようにしている(例えば、特許文献1参照。)。
しかしながら、前記帯状ゴムはタイヤの周長に応じた大きな幅寸法となるため、材料の運搬や保管に不都合であるとともに、タイヤ径方向のインチサイズが異なるタイヤを製造する場合は、帯状ゴムを幅寸法の異なるものに交換する必要があり、段替作業に長時間を要するという問題がある。
そこで、シート状ゴムをタイヤ周方向に分割してスプライスすることにより、幅寸法の小さい帯状ゴムを用いるとともに、タイヤ径方向のインチサイズが異なるタイヤを製造する場合には、分割したシート状ゴムの一部に対応する帯状ゴムを共用し、他の帯状ゴムのみを交換して段替時間の短縮を図るようにしたものが知られている(例えば、特許文献2参照。)。
特開平8−150670号公報
特開2006−150684号公報
しかしながら、前記従来例のように、タイヤ周方向に分割されたシート状ゴムを用いる場合は、分割した分だけシート状ゴムのスプライス部が多くなり、例えばインナーライナやカーカス等のようにタイヤ径方向に積層される部材同士でスプライス部が重なり合うと、タイヤのユニフォミティを悪化させるという問題点があった。
本発明は前記問題点に鑑みてなされたものであり、その目的とするところは、タイヤ周方向に分割されたシート状ゴムを用いる場合でも、タイヤ径方向のインチサイズが異なるタイヤへの段替時間の短縮を図ることができるとともに、タイヤのユニフォミティを改善することのできる空気入りタイヤ及びその製造方法を提供することにある。
本発明は前記目的を達成するために、タイヤ周方向に分割してスプライスされたシート状ゴムをタイヤ径方向に積層してなる空気入りタイヤにおいて、前記シート状ゴムの分割シートを、合計値がタイヤの呼び径の値となる複数の整数値でタイヤ周方向に分割した位置でスプライスし、タイヤ径方向に積層される複数のシート状ゴムを互いに分割シートのスプライス位置がタイヤ周方向にずれるように配置している。
また、本発明は前記目的を達成するために、シート状ゴムをタイヤ周方向に分割してスプライスし、タイヤ径方向に積層する空気入りタイヤの製造方法において、前記シート状ゴムの分割シートを、合計値がタイヤの呼び径の値となる複数の整数値でタイヤ周方向に分割した位置でスプライスし、複数のシート状ゴムを互いに分割シートのスプライス位置がタイヤ周方向にずれるように配置して積層するようにしている。
これにより、合計値がタイヤの呼び径の値となる複数の整数値でタイヤ周方向に分割した位置でシート状ゴムの分割シートがスプライスされることから、一部の分割シートが互いに共通の整数値に対応したタイヤ周方向長さを有するシート状ゴムを用いることにより、一部の分割シートを共用することができる。また、シート状ゴムのスプライス位置がタイヤ周方向にずれるように配置されることから、タイヤ静バランス性が向上する。
本発明によれば、一部の分割シートが互いに共通の整数値に対応したタイヤ周方向長さを有するシート状ゴムを用いることにより、一部の分割シートを共用することができるので、タイヤ径方向のインチサイズが異なるタイヤへの段替時間を短縮することができ、生産性の向上を図ることができる。また、タイヤ静バランス性を向上させることができるので、ユニフォミティの改善を図ることもできる。
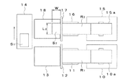
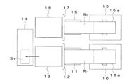
図1乃至図20は本発明の一実施形態を示すもので、図1は空気入りタイヤの部分正面断面図、図2はカーカス及びインナーライナのスプライス部を示す側面図、図3乃至図12はシート状ゴムの成形工程を示す平面図、図13及び図14は成形ドラムへのシート状ゴムの巻き付け工程を示す斜視図、図15及び図16はカーカス及びインナーライナの概略側面図、図17及び図18は分割比の組み合わせ例を示す図、図19及び図20は試験結果を示す図である。
同図に示す空気入りタイヤは、タイヤ外周面側に形成されるトレッド部1と、タイヤ幅方向両側に形成される一対のサイドウォール部2と、タイヤ幅方向両側に形成される一対のビード部3とから構成されている。また、この空気入りタイヤは、タイヤ内面側に配置されるインナーライナ4と、インナーライナ4の外側に配置されるカーカス5と、タイヤ幅方向両側に配置される一対のビード部材6と、カーカス5の外側に配置されるベルト7と、タイヤ外周面側に配置されるトレッド部材8と、タイヤ両側面側に配置される一対のサイドウォール部材9とから形成されている。
インナーライナ4は、ブチルゴムを主体とする気体透過性の低いシート状のゴムからなり、カーカス5の内周面側に配置される。
カーカス5は、複数本のカーカスコード5aがタイヤの周方向に配列されたシート状のゴムからなり、その幅方向両端側をビード部材を巻き込むようにタイヤ幅方向内側から外側に向けてサイドウォール部2側に折り返される。
ビード部材6は、金属線等のワイヤを束ねてなるビードコア6aと、断面略三角形状のゴムからなるビードフィラー6bとからなり、ビードフィラー6bはビードコア6aの外周側に配置される。
ベルト7はスチールや高強度繊維等からなるベルトコードをシート状のゴムで被覆してなり、カーカス5の外周面側に配置される。
トレッド部材8は押出成形によって形成されたゴムからなり、カーカス5の幅方向中央側及びベルト7の外周面側を覆うように配置され、その外周面にはトレッドパターンの溝1aが加硫成型時に形成される。
サイドウォール部材9は押出成形によって形成されたゴムからなり、カーカス5のタイヤ幅方向両側を覆うように配置される。
次に、本実施形態のタイヤ製造方法について説明する。尚、以下に説明する工程はタイヤ製造工程の一部を示すもので、他の製造工程については従来と同等であるため省略する。
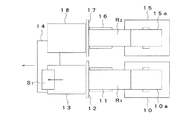
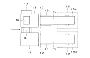
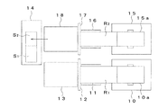
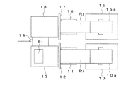
まず、インナーライナ4及びカーカス5となるシート状ゴムの成形工程では、図3に示すように第1の台車10のドラム10aから引き出された第1の帯状ゴムR1 を第1のコンベア11によって長手方向(タイヤ幅方向一方)に搬送するとともに、カッター12によって幅方向(タイヤ周方向)に所定の幅Wで切断することにより、1枚目の分割シートS1 を形成する。次に、図4に示すように一枚目の分割シートS1 を第2のコンベア13に移載し、図5に示すようにトレイ14をタイヤ幅方向他方に移動して第2のコンベア13の下方に配置する。続いて、図6に示すように第2のコンベア13によって1枚目の分割シートS1 をタイヤ幅方向一方に送り出しながらトレイ14を同一方向に移動することにより、図7に示すように1枚目の分割シートS1 をトレイ14に移載する。この後、図8に示すように第2の台車15のドラム15aから引き出された第2の帯状ゴムR2 を第3のコンベア16によって長手方向(タイヤ幅方向一方)に搬送するとともに、カッター17によって幅方向(タイヤ周方向)に所定の幅Wで切断することにより、2枚目の分割シートS2 を形成する。次に、トレイ14をタイヤ周方向一方に移動した後、図9に示すように2枚目の分割シートS2 を第4のコンベア18に移載し、図10に示すようにトレイ14をタイヤ幅方向他方に移動して第4のコンベア18の下方に配置する。続いて、図11に示すように第4のコンベア18によって2枚目の分割シートS2 をタイヤ幅方向一方に送り出しながらトレイ14を同一方向に移動することにより、図12に示すように2枚目の分割シートS2 をタイヤ周方向一端側が1枚目の分割シートS1 のタイヤ周方向他端側に重なり合うようにトレイ14に移載し、各分割シートS1 ,S2 をスプライスすることにより、インナーライナ4またはカーカス5となるシート状ゴムを形成する。
次に、前述のようにしてシート状のインナーライナ4(分割シートS1-1 ,S2-1 )及びカーカス5(分割シートS1-2 ,S2-2 )を形成した後は、図13に示すようにインナーライナ4を成形ドラム19に巻き付けてタイヤ周方向両端部をスプライスし、図14に示すようにカーカス5をインナーライナ4の上から成形ドラム19に巻き付けてタイヤ周方向両端部をスプライスすることにより、図2に示すようにインナーライナ4とカーカス5を積層する。
この場合、インナーライナ4及びカーカス5を、合計値がタイヤの呼び径(インチサイズ)の値となる複数の整数値N1 ,N2 ,…でタイヤ周方向に分割するとともに、互いにスプライス位置がタイヤ周方向にずれるように配置する。
即ち、図15に示すようにインナーライナ4及びカーカス5を互いにタイヤ周方向の分割比が異なるように形成する。例えば、タイヤの呼び径が15インチの場合、図15(a) に示すように、インナーライナ4の1枚目、2枚目及び3枚目の分割シートS1-1 ,S2-1 ,S3-1 の整数値N1 ,N2 ,N3 をそれぞれ「5」とし、カーカス5の1枚目の分割シートS1-2 の整数値N1 を「8」、2枚目の分割シートS2-2 の整数値N2 を「7」として、インナーライナ4の分割シートS1-1 ,S2-1 ,S3-1 とカーカス5の分割シートS1-2 ,S2-2 のスプライス位置がタイヤ周方向にずれるように配置する。また、図15(b) に示すように、インナーライナ4の1枚目の分割シートS1-1 の整数値N1 を「5」、2枚目の分割シートS2-1 の整数値N2 を「10」とし、カーカス5の1枚目の分割シートS1-2 の整数値N1 を「9」、2枚目の分割シートS2-2 の整数値N2 を「6」として、インナーライナ4の分割シートS1-1 ,S2-1 とカーカス5の分割シートS1-2 ,S2-2 のスプライス位置がタイヤ周方向にずれるように配置する。
更に、図16に示すようにインナーライナ4及びカーカス5を互いにタイヤ周方向の分割比が等しくなるように形成し、互いにスプライス位置がタイヤ径方向の中心に対して点対称となるように配置するようにしてもよい。例えば、タイヤの呼び径が15インチの場合、図16(a) に示すように、インナーライナ4の1枚目、2枚目及び3枚目の分割シートS1-1 ,S2-1 ,S3-1 の整数値N1 ,N2 ,N3 をそれぞれ「5」とし、カーカス5の1枚目、2枚目及び3枚目の分割シートS1-2 ,S2-2 ,S3-2 の整数値N1 ,N2 ,N3 もそれぞれ「5」として、インナーライナ4の分割シートS1-1 ,S2-1 ,S3-1 とカーカス5の分割シートS1-2 ,S2-2 ,S3-2 のスプライス位置がタイヤ周方向にずれるように点対称に配置する。また、タイヤの呼び径が16インチの場合、図16(b) に示すように、インナーライナ4の1枚目の分割シートS1-1 の整数値N1 を「15」、2枚目の分割シートS2-1 の整数値N2 を「1」とし、カーカス5の1枚目の分割シートS1-2 の整数値N1 を「1」、2枚目の分割シートS2-2 の整数値N2 を「15」として、インナーライナ4の分割シートS1-1 ,S2-1 とカーカス5の分割シートS1-2 ,S2-2 のスプライス位置がタイヤ周方向に点対称にずれるように配置する。
また、互いにタイヤの呼び径が異なる複数種類のタイヤを製造する場合には、少なくとも一部の分割シートが互いに共通の整数値N1 ,N2 ,…に対応したタイヤ周方向長さを有するシート状ゴムを用いる。
例えば、呼び径が15インチ、16インチ及び17インチのタイヤを製造する場合、図17に示すように、15インチでは1枚目の分割シートS1 の整数値N1 を「8」、2枚目の分割シートS2 の整数値N2 を「7」とし、16インチでは1枚目の分割シートS1 の整数値N1 及び2枚目の分割シートS2 の整数値N2 をそれぞれ「8」とし、17インチでは1枚目の分割シートS1 の整数値N1 を「8」、2枚目の分割シートS2 の整数値N2 を「9」とすることにより、1枚目の分割シートS1 (整数値N1 =「8」)を各インチサイズで共用することができる。
また、呼び径が16インチ、17インチ及び18インチのタイヤを製造する場合、図18に示すように、16インチでは1枚目の分割シートS1 の整数値N1 を「15」、2枚目の分割シートS2 の整数値N2 を「1」とし、17インチでは1枚目の分割シートS1 の整数値N1 を「15」、2枚目の分割シートS2 の整数値N2 及び3枚目の分割シートS3 の整数値N3 をそれぞれ「1」とし、18インチでは1枚目の分割シートS1 の整数値N1 を「15」、2枚目の分割シートS2 の整数値N2 を「3」とすることにより、1枚目の分割シートS1 (整数値N1 =「15」)を各インチサイズで共用することができる。
ここで、本発明の実施例1及び従来例1について、タイヤの生産性の試験を行ったところ、図19に示す結果が得られた。従来例1ではタイヤ周方向に分割していない16インチ用のシート状ゴムを用いて16インチの未加硫タイヤを成形した後、17インチ用の他のシート状ゴムを用いて17インチの未加硫タイヤを成形した。一方、実施例1では、タイヤ周方向に二分割したシート状ゴムを用い、1枚目及び2枚目の分割シートS1 ,S2 の整数値N1 ,N2 をそれぞれ「8」として16インチの未加硫タイヤを成形した後、1枚目の分割シートS1 の整数値N1 を「8」、2枚目の分割シートS2 の整数値N2 を「9」として17インチの未加硫タイヤを成形した。
この試験では、タイヤサイズ215/50R16のタイヤを100本成形した後、タイヤサイズ215/50R17のタイヤを100本成形した場合の所要時間から1日当たりの生産量を算出し、従来例1を100として指数化した値が大きいほど優位性があるとして評価した。試験の結果、従来例1ではサイズ変更時の段替作業に15分〜30分の時間を要したが、実施例1は、1枚目の分割シートS1 (整数値N1 =「8」)を各インチサイズで共用しているため、段替えの必要がなく、従来例1に比べて生産性に優れているという結果が得られた。
次に、本発明の実施例2,3及び従来例2について、タイヤ静バランスの試験を行ったところ、図20に示す結果が得られた。従来例2には、カーカスとインナーライナをそれぞれタイヤ周方向一箇所ずつスプライスし、互いにスプライス部がタイヤ周方向に一致するように重ね合わせたものを用いた。実施例2には、互いにタイヤ周方向の分割比が異なるカーカス及びインナーライナをスプライス位置がタイヤ周方向にずれるように配置したものを用いた。即ち、実施例2のカーカスには、1枚目の分割シートS1 の整数値N1 を「8」、2枚目の分割シートS2 の整数値N2 を「7」としたシート状ゴムを用い、インナーライナには、1枚目、2枚目及び3枚目の分割シートS1 ,S2 ,S3 に整数値N1 ,N2 ,N3 をそれぞれ「5」としたシート状ゴムを用いた。また、実施例3には、互いにタイヤ周方向の分割比が等しいカーカス及びインナーライナをスプライス位置がタイヤ径方向の中心に対して点対称となるように配置したものを用いた。即ち、実施例3のカーカス及びインナーライナには、1枚目、2枚目及び3枚目の分割シートS1 ,S2 ,S3 に整数値N1 ,N2 ,N3 をそれぞれ「5」としたシート状ゴムを用いた。尚、本試験は、タイヤサイズ205/60R15のタイヤを用いて行った。
この試験では、タイヤ静バランスをJASOC607により測定するとともに、従来例1を100として指数化し、指数の値が大きいほど優位性があるとして評価した。試験の結果、本発明の実施例2及び3は、それぞれ従来例2よりもタイヤ静バランス性に優れ、ユニフォミティが向上するという結果が得られた。
このように、本実施形態によれば、カーカス5及びインナーライナ4となるシート状ゴムの分割シートS1 ,S2 ,…を、合計値がタイヤの呼び径の値となる複数の整数値N1 ,N2 ,…でタイヤ周方向に分割した位置でスプライスするようにしたので、一部の分割シートが互いに共通の整数値に対応したタイヤ周方向長さを有するシート状ゴムを用いることにより、一部の分割シートを共用することができ、タイヤ径方向のインチサイズが異なるタイヤへの段替時間の短縮を図ることができる。また、カーカス5及びインナーライナ4を互いにスプライス位置がタイヤ周方向にずれるように配置したので、タイヤ静バランス性を向上させることができ、ユニフォミティの改善を図ることができる。
この場合、互いにタイヤ周方向の分割比が異なるカーカス5及びインナーライナ4をタイヤ径方向に積層するようにしたので、スプライス位置をタイヤ周方向に容易にずらすことができ、ユニフォミティの改善に極めて有利である。
また、互いにタイヤ周方向の分割比が等しいカーカス5及びインナーライナ4を、互いにスプライス位置がタイヤ径方向の中心に対して点対称となるように配置するようにしたので、スプライス位置をタイヤ周方向に等間隔でずらすことができ、ユニフォミティの改善効果をより一層高めることができる。
更に、予め分割シート同士がスプライスされたカーカス5及びインナーライナ4をそれぞれ成形ドラム19に巻き付けてタイヤ周方向両端部をスプライスするようにしたので、成形ドラム19への巻き付け作業を容易に行うことができ、生産性の向上を図ることができる。
尚、前記実施形態では、カーカス5及びインナーライナ4を成形する場合を示したが、本発明は他のタイヤ構成部材となるシート状ゴムにも適用することができる。
4…インナーライナ、5…カーカス、19…成形ドラム、S1 ,S2 ,S3 …分割シート。
Claims (10)
- タイヤ周方向に分割してスプライスされたシート状ゴムをタイヤ径方向に積層してなる空気入りタイヤにおいて、
前記シート状ゴムの分割シートを、合計値がタイヤの呼び径の値となる複数の整数値でタイヤ周方向に分割した位置でスプライスし、
タイヤ径方向に積層される複数のシート状ゴムを互いに分割シートのスプライス位置がタイヤ周方向にずれるように配置した
ことを特徴とする空気入りタイヤ。 - タイヤ径方向に積層される複数のシート状ゴムを互いに分割シートのタイヤ周方向の分割比が異なるように形成した
ことを特徴とする請求項1記載の空気入りタイヤ。 - タイヤ径方向に積層される複数のシート状ゴムを、互いに分割シートのタイヤ周方向の分割比が等しくなるように形成するとともに、互いにスプライス位置がタイヤ径方向の中心に対して点対称となるように配置した
ことを特徴とする請求項1記載の空気入りタイヤ。 - 前記複数のシート状ゴムがそれぞれカーカスとインナーライナである
ことを特徴とする請求項1、2または3記載の空気入りタイヤ。 - シート状ゴムをタイヤ周方向に分割してスプライスし、タイヤ径方向に積層する空気入りタイヤの製造方法において、
前記シート状ゴムの分割シートを、合計値がタイヤの呼び径の値となる複数の整数値でタイヤ周方向に分割した位置でスプライスし、
複数のシート状ゴムを互いに分割シートのスプライス位置がタイヤ周方向にずれるように配置して積層する
ことを特徴とする空気入りタイヤの製造方法。 - 互いに分割シートのタイヤ周方向の分割比が異なる複数のシート状ゴムをタイヤ径方向に積層する
ことを特徴とする請求項5記載の空気入りタイヤの製造方法。 - 互いに分割シートのタイヤ周方向の分割比が等しい複数のシート状ゴムを、互いにスプライス位置がタイヤ径方向の中心に対して点対称となるように配置してタイヤ径方向に積層する
ことを特徴とする請求項5記載の空気入りタイヤの製造方法。 - 予め分割シート同士がスプライスされたシート状ゴムを成形ドラムに巻き付けてタイヤ周方向両端部をスプライスする
ことを特徴とする請求項5、6または7記載の空気入りタイヤの製造方法。 - 互いにタイヤの呼び径が異なる複数種類のタイヤのシート状ゴムに、少なくとも一部の分割シートが互いに共通の整数値に対応したタイヤ周方向長さを有するシート状ゴムを用いる
ことを特徴とする請求項5、6、7または8記載の空気入りタイヤの製造方法。 - 前記複数のシート状ゴムがそれぞれカーカスとインナーライナである
ことを特徴とする請求項5、6、7、8または9記載の空気入りタイヤの製造方法。
Priority Applications (6)
| Application Number | Priority Date | Filing Date | Title |
|---|---|---|---|
| JP2008322470A JP2010143386A (ja) | 2008-12-18 | 2008-12-18 | 空気入りタイヤ及びその製造方法 |
| US12/613,337 US20100154954A1 (en) | 2008-12-18 | 2009-11-05 | Pneumatic tire and method for manufacturing the same |
| DE102009055692A DE102009055692A1 (de) | 2008-12-18 | 2009-11-25 | Pneumatischer Reifen und Verfahren zur Herstellung desselben |
| RU2009143688/05A RU2423239C1 (ru) | 2008-12-18 | 2009-11-25 | Пневматическая шина и способ ее изготовления |
| CN2009102532702A CN101913307A (zh) | 2008-12-18 | 2009-12-11 | 充气轮胎及用于制造充气轮胎的方法 |
| US13/750,435 US20130133813A1 (en) | 2008-12-18 | 2013-01-25 | Pneumatic tire and method for manufacturing the same |
Applications Claiming Priority (1)
| Application Number | Priority Date | Filing Date | Title |
|---|---|---|---|
| JP2008322470A JP2010143386A (ja) | 2008-12-18 | 2008-12-18 | 空気入りタイヤ及びその製造方法 |
Publications (1)
| Publication Number | Publication Date |
|---|---|
| JP2010143386A true JP2010143386A (ja) | 2010-07-01 |
Family
ID=42221089
Family Applications (1)
| Application Number | Title | Priority Date | Filing Date |
|---|---|---|---|
| JP2008322470A Pending JP2010143386A (ja) | 2008-12-18 | 2008-12-18 | 空気入りタイヤ及びその製造方法 |
Country Status (5)
| Country | Link |
|---|---|
| US (2) | US20100154954A1 (ja) |
| JP (1) | JP2010143386A (ja) |
| CN (1) | CN101913307A (ja) |
| DE (1) | DE102009055692A1 (ja) |
| RU (1) | RU2423239C1 (ja) |
Cited By (2)
| Publication number | Priority date | Publication date | Assignee | Title |
|---|---|---|---|---|
| JP2012240658A (ja) * | 2011-05-24 | 2012-12-10 | Yokohama Rubber Co Ltd:The | 空気入りタイヤ |
| WO2014054597A1 (ja) * | 2012-10-03 | 2014-04-10 | 横浜ゴム株式会社 | 空気入りタイヤ |
Families Citing this family (4)
| Publication number | Priority date | Publication date | Assignee | Title |
|---|---|---|---|---|
| DE112013004167T5 (de) * | 2012-10-03 | 2015-05-13 | The Yokohama Rubber Co., Ltd. | Luftreifen |
| RU2698877C2 (ru) * | 2014-12-24 | 2019-08-30 | Пирелли Тайр С.П.А. | Установка для накопления или выдачи удлиненного элемента для сборки шин и способ накопления или выдачи удлиненного элемента, намотанного на бобины |
| JP7403305B2 (ja) * | 2019-12-13 | 2023-12-22 | Toyo Tire株式会社 | 空気入りタイヤ及びその製造方法 |
| JP7602994B2 (ja) * | 2021-12-14 | 2024-12-19 | 株式会社ブリヂストン | 生タイヤ製造方法、及び、生タイヤ製造装置 |
Citations (3)
| Publication number | Priority date | Publication date | Assignee | Title |
|---|---|---|---|---|
| JPH10217711A (ja) * | 1997-02-04 | 1998-08-18 | Yokohama Rubber Co Ltd:The | 空気入りタイヤ及びその製造方法 |
| JP2004175157A (ja) * | 2002-11-25 | 2004-06-24 | Bridgestone Corp | 空気入りタイヤ |
| JP2005246622A (ja) * | 2004-03-01 | 2005-09-15 | Bridgestone Corp | 生タイヤの成型方法および空気入りタイヤ |
Family Cites Families (16)
| Publication number | Priority date | Publication date | Assignee | Title |
|---|---|---|---|---|
| US1295014A (en) * | 1916-09-28 | 1919-02-18 | Rene Hustinx | Outer cover for pneumatic tires for bicycles, motor-vehicles, and the like. |
| US1918553A (en) * | 1929-10-04 | 1933-07-18 | Goodyear Tire & Rubber | Pneumatic tire and method of making it |
| BE508165A (ja) * | 1951-03-21 | |||
| US3826297A (en) * | 1972-10-26 | 1974-07-30 | Steelastic Co | Radial tire carcass |
| IT978572B (it) * | 1973-01-29 | 1974-09-20 | Pirelli | Metodo per la fabbricazione di semilavorati in tessuto gommato in particolare di intermedi cin turanti per pneumatici |
| SU1725516A1 (ru) * | 1990-04-27 | 1994-07-30 | Всесоюзный Научно-Исследовательский И Конструкторский Институт По Оборудованию Для Шинной Промышленности | Способ наложения ленточного эластичного материала на вращающийся объект |
| JPH0764163B2 (ja) * | 1990-07-06 | 1995-07-12 | 住友ゴム工業株式会社 | 空気入りタイヤ |
| JPH06115313A (ja) * | 1992-10-01 | 1994-04-26 | Yokohama Rubber Co Ltd:The | 空気入りラジアルタイヤ |
| JP3390273B2 (ja) | 1994-11-30 | 2003-03-24 | 横浜ゴム株式会社 | 帯状材料の供給方法及びその装置 |
| RU2184036C1 (ru) * | 2000-11-02 | 2002-06-27 | Открытое акционерное общество "Научно-исследовательский и конструкторский институт по оборудованию для шинной промышленности" | Устройство для подачи ленточного материала на сборочный барабан |
| JP4346436B2 (ja) * | 2003-12-25 | 2009-10-21 | 横浜ゴム株式会社 | 空気入りタイヤ及びその製造方法 |
| JP4816860B2 (ja) | 2004-11-26 | 2011-11-16 | 横浜ゴム株式会社 | シート状部材の成形方法及びその装置 |
| US20060137804A1 (en) * | 2004-12-23 | 2006-06-29 | Downing Daniel R | Method for making tire ply |
| JP4275148B2 (ja) * | 2006-04-28 | 2009-06-10 | 横浜ゴム株式会社 | 空気入りタイヤ及びその製造方法 |
| JP4725416B2 (ja) * | 2006-05-26 | 2011-07-13 | 横浜ゴム株式会社 | 空気入りタイヤの製造方法 |
| JP2008221638A (ja) * | 2007-03-13 | 2008-09-25 | Bridgestone Corp | シート状タイヤ構成部材の製造方法及び製造装置 |
-
2008
- 2008-12-18 JP JP2008322470A patent/JP2010143386A/ja active Pending
-
2009
- 2009-11-05 US US12/613,337 patent/US20100154954A1/en not_active Abandoned
- 2009-11-25 RU RU2009143688/05A patent/RU2423239C1/ru not_active IP Right Cessation
- 2009-11-25 DE DE102009055692A patent/DE102009055692A1/de not_active Withdrawn
- 2009-12-11 CN CN2009102532702A patent/CN101913307A/zh active Pending
-
2013
- 2013-01-25 US US13/750,435 patent/US20130133813A1/en not_active Abandoned
Patent Citations (3)
| Publication number | Priority date | Publication date | Assignee | Title |
|---|---|---|---|---|
| JPH10217711A (ja) * | 1997-02-04 | 1998-08-18 | Yokohama Rubber Co Ltd:The | 空気入りタイヤ及びその製造方法 |
| JP2004175157A (ja) * | 2002-11-25 | 2004-06-24 | Bridgestone Corp | 空気入りタイヤ |
| JP2005246622A (ja) * | 2004-03-01 | 2005-09-15 | Bridgestone Corp | 生タイヤの成型方法および空気入りタイヤ |
Cited By (3)
| Publication number | Priority date | Publication date | Assignee | Title |
|---|---|---|---|---|
| JP2012240658A (ja) * | 2011-05-24 | 2012-12-10 | Yokohama Rubber Co Ltd:The | 空気入りタイヤ |
| WO2014054597A1 (ja) * | 2012-10-03 | 2014-04-10 | 横浜ゴム株式会社 | 空気入りタイヤ |
| US9895934B2 (en) | 2012-10-03 | 2018-02-20 | The Yokohama Rubber Co., Ltd. | Pneumatic tire |
Also Published As
| Publication number | Publication date |
|---|---|
| US20130133813A1 (en) | 2013-05-30 |
| DE102009055692A1 (de) | 2010-07-01 |
| US20100154954A1 (en) | 2010-06-24 |
| CN101913307A (zh) | 2010-12-15 |
| RU2009143688A (ru) | 2011-05-27 |
| RU2423239C1 (ru) | 2011-07-10 |
Similar Documents
| Publication | Publication Date | Title |
|---|---|---|
| US20100181000A1 (en) | Pneumatic tire and method for manufacturing the same | |
| JP2010143386A (ja) | 空気入りタイヤ及びその製造方法 | |
| CN100480067C (zh) | 充气轮胎及其制造方法 | |
| JP2010052472A (ja) | 空気入りタイヤ及びその製造方法 | |
| US20180178585A1 (en) | Tire ply joint configuration | |
| US20240375442A1 (en) | Tire and tire production method | |
| US20110146887A1 (en) | Tire ply and method of manufacture | |
| JP2014008928A (ja) | 空気入りタイヤ及びその製造方法 | |
| JP2008290607A (ja) | 空気入りラジアルタイヤ | |
| JP2016107932A (ja) | タイヤ、タイヤ製造方法、および、トリート複合材成形装置 | |
| JP2008290609A (ja) | 空気入りラジアルタイヤ | |
| JP4996112B2 (ja) | 空気入りラジアルタイヤ | |
| JP2008030660A (ja) | 空気入りタイヤ及びその製造方法 | |
| JP5529563B2 (ja) | 空気入りタイヤ | |
| JP4973991B2 (ja) | 空気入りタイヤの製造方法 | |
| EP2990191B1 (en) | Tire ply and method of its manufacture | |
| JP2005041328A (ja) | 空気入りタイヤ | |
| JP2001038822A (ja) | 大型空気入りタイヤおよびその製造方法 | |
| JP2005088816A (ja) | 空気入りタイヤ及びその製造方法 | |
| JPS5959502A (ja) | 空気入りタイヤ | |
| WO2018016182A1 (ja) | 空気入りタイヤの製造方法、および空気入りタイヤ | |
| JP6147577B2 (ja) | 空気入りタイヤ | |
| JP2003145643A (ja) | タイヤの製造方法およびタイヤ | |
| JP2005081978A (ja) | ランフラットタイヤおよびその製造方法 | |
| JP2001277813A (ja) | 自動車用空気入りラジアルタイヤ及びその製造方法 |
Legal Events
| Date | Code | Title | Description |
|---|---|---|---|
| A621 | Written request for application examination |
Free format text: JAPANESE INTERMEDIATE CODE: A621 Effective date: 20111208 |
|
| A977 | Report on retrieval |
Free format text: JAPANESE INTERMEDIATE CODE: A971007 Effective date: 20130110 |
|
| A131 | Notification of reasons for refusal |
Free format text: JAPANESE INTERMEDIATE CODE: A131 Effective date: 20130212 |
|
| A02 | Decision of refusal |
Free format text: JAPANESE INTERMEDIATE CODE: A02 Effective date: 20130703 |