JP2010091085A - レンジ判定装置 - Google Patents

レンジ判定装置 Download PDF

Info

Publication number
JP2010091085A
JP2010091085A JP2008264224A JP2008264224A JP2010091085A JP 2010091085 A JP2010091085 A JP 2010091085A JP 2008264224 A JP2008264224 A JP 2008264224A JP 2008264224 A JP2008264224 A JP 2008264224A JP 2010091085 A JP2010091085 A JP 2010091085A
Authority
JP
Japan
Prior art keywords
shift
range
operation pattern
hydraulic pressure
ecu
Prior art date
Legal status (The legal status is an assumption and is not a legal conclusion. Google has not performed a legal analysis and makes no representation as to the accuracy of the status listed.)
Granted
Application number
JP2008264224A
Other languages
English (en)
Other versions
JP4539772B2 (ja
Inventor
Naoki Itatsu
直樹 板津
Yoshinobu Nozaki
芳信 野崎
Current Assignee (The listed assignees may be inaccurate. Google has not performed a legal analysis and makes no representation or warranty as to the accuracy of the list.)
Toyota Motor Corp
Original Assignee
Toyota Motor Corp
Priority date (The priority date is an assumption and is not a legal conclusion. Google has not performed a legal analysis and makes no representation as to the accuracy of the date listed.)
Filing date
Publication date
Application filed by Toyota Motor Corp filed Critical Toyota Motor Corp
Priority to JP2008264224A priority Critical patent/JP4539772B2/ja
Priority to US13/119,603 priority patent/US8538642B2/en
Priority to CN200980140007.0A priority patent/CN102257293B/zh
Priority to PCT/JP2009/004375 priority patent/WO2010041372A1/ja
Priority to DE112009002437.8T priority patent/DE112009002437B4/de
Publication of JP2010091085A publication Critical patent/JP2010091085A/ja
Application granted granted Critical
Publication of JP4539772B2 publication Critical patent/JP4539772B2/ja
Expired - Fee Related legal-status Critical Current
Anticipated expiration legal-status Critical

Links

Images

Classifications

    • FMECHANICAL ENGINEERING; LIGHTING; HEATING; WEAPONS; BLASTING
    • F16ENGINEERING ELEMENTS AND UNITS; GENERAL MEASURES FOR PRODUCING AND MAINTAINING EFFECTIVE FUNCTIONING OF MACHINES OR INSTALLATIONS; THERMAL INSULATION IN GENERAL
    • F16HGEARING
    • F16H61/00Control functions within control units of change-speed- or reversing-gearings for conveying rotary motion ; Control of exclusively fluid gearing, friction gearing, gearings with endless flexible members or other particular types of gearing
    • F16H61/12Detecting malfunction or potential malfunction, e.g. fail safe ; Circumventing or fixing failures
    • FMECHANICAL ENGINEERING; LIGHTING; HEATING; WEAPONS; BLASTING
    • F16ENGINEERING ELEMENTS AND UNITS; GENERAL MEASURES FOR PRODUCING AND MAINTAINING EFFECTIVE FUNCTIONING OF MACHINES OR INSTALLATIONS; THERMAL INSULATION IN GENERAL
    • F16HGEARING
    • F16H59/00Control inputs to control units of change-speed- or reversing-gearings for conveying rotary motion
    • F16H59/68Inputs being a function of gearing status
    • F16H59/70Inputs being a function of gearing status dependent on the ratio established
    • FMECHANICAL ENGINEERING; LIGHTING; HEATING; WEAPONS; BLASTING
    • F16ENGINEERING ELEMENTS AND UNITS; GENERAL MEASURES FOR PRODUCING AND MAINTAINING EFFECTIVE FUNCTIONING OF MACHINES OR INSTALLATIONS; THERMAL INSULATION IN GENERAL
    • F16HGEARING
    • F16H59/00Control inputs to control units of change-speed- or reversing-gearings for conveying rotary motion
    • F16H59/68Inputs being a function of gearing status
    • F16H2059/683Sensing pressure in control systems or in fluid-controlled devices, e.g. by pressure sensors
    • FMECHANICAL ENGINEERING; LIGHTING; HEATING; WEAPONS; BLASTING
    • F16ENGINEERING ELEMENTS AND UNITS; GENERAL MEASURES FOR PRODUCING AND MAINTAINING EFFECTIVE FUNCTIONING OF MACHINES OR INSTALLATIONS; THERMAL INSULATION IN GENERAL
    • F16HGEARING
    • F16H61/00Control functions within control units of change-speed- or reversing-gearings for conveying rotary motion ; Control of exclusively fluid gearing, friction gearing, gearings with endless flexible members or other particular types of gearing
    • F16H61/26Generation or transmission of movements for final actuating mechanisms
    • F16H61/28Generation or transmission of movements for final actuating mechanisms with at least one movement of the final actuating mechanism being caused by a non-mechanical force, e.g. power-assisted
    • F16H61/32Electric motors , actuators or related electrical control means  therefor
    • F16H2061/326Actuators for range selection, i.e. actuators for controlling the range selector or the manual range valve in the transmission
    • FMECHANICAL ENGINEERING; LIGHTING; HEATING; WEAPONS; BLASTING
    • F16ENGINEERING ELEMENTS AND UNITS; GENERAL MEASURES FOR PRODUCING AND MAINTAINING EFFECTIVE FUNCTIONING OF MACHINES OR INSTALLATIONS; THERMAL INSULATION IN GENERAL
    • F16HGEARING
    • F16H61/00Control functions within control units of change-speed- or reversing-gearings for conveying rotary motion ; Control of exclusively fluid gearing, friction gearing, gearings with endless flexible members or other particular types of gearing
    • F16H61/68Control functions within control units of change-speed- or reversing-gearings for conveying rotary motion ; Control of exclusively fluid gearing, friction gearing, gearings with endless flexible members or other particular types of gearing specially adapted for stepped gearings
    • F16H61/684Control functions within control units of change-speed- or reversing-gearings for conveying rotary motion ; Control of exclusively fluid gearing, friction gearing, gearings with endless flexible members or other particular types of gearing specially adapted for stepped gearings without interruption of drive
    • F16H61/686Control functions within control units of change-speed- or reversing-gearings for conveying rotary motion ; Control of exclusively fluid gearing, friction gearing, gearings with endless flexible members or other particular types of gearing specially adapted for stepped gearings without interruption of drive with orbital gears

Landscapes

  • Engineering & Computer Science (AREA)
  • General Engineering & Computer Science (AREA)
  • Mechanical Engineering (AREA)
  • Control Of Transmission Device (AREA)
  • Gear-Shifting Mechanisms (AREA)

Abstract

【課題】マニュアル弁を備えていない自動変速機であっても変速中にシフトレンジが不定となってしまうことを防止することができる車両のレンジ判定装置を提供する。
【解決手段】駆動源の出力トルクを伝達する遊星歯車の歯車変速機構と、係合状態と解放状態との間で作動状態が切り替えられる複数の摩擦係合要素とを備え、複数の摩擦係合要素の作動状態によって歯車変速機構のトルク伝達経路が切り替えられて変速が実現される自動変速機に用いられるとともに、作動状態に基づいて実際のシフトレンジの判定を行うレンジ判定装置において、T−ECU4は、変速中でない場合に油圧センサによる検出結果と予め記憶された作動パターンとに基づいて現在のシフトレンジを判定する。
【選択図】図1

Description

本発明は、車両に搭載された自動変速機におけるシフトレンジの判定を行うレンジ判定装置に関する。
従来、車両に搭載される自動変速機にあっては、エンジンからの動力がトルクコンバータを介して変速機構に伝達されるようになっており、摩擦係合要素としてのクラッチやブレーキの係合および解放を行い、複数のギアによって形成される動力伝達経路が切り替えられて、所望の変速段を形成するようになっている。
クラッチおよびブレーキは、油圧制御回路の一部を構成するソレノイド弁およびマニュアル弁等によって油圧回路が切り換えられることにより、その係合状態および解放状態が切り換えられ、シフトレバーの操作位置に応じて複数の前進変速段および後進段が成立させられるようになっている。
このマニュアル弁は、シフトレバーの操作位置に応じて機械的に切り替えられるようになっており、エンジンによって回転駆動されるオイルポンプによって生成されたライン圧が各油圧回路に供給されるようになっている。
近年、シフトレバーの操作位置に応じて電気的にシフト制御を行うシフトバイワイヤが存在し、これに伴いマニュアル弁を備えていない自動変速機も存在しつつある(例えば、特許文献1参照)。
この従来の特許文献1に記載された自動変速機にあっては、マニュアル弁を備えていないため、電磁弁ロジックに基づいていずれのソレノイド弁を作動させるか予め定められており、後進段等や所望の前進変速段を形成するために対応したソレノイド弁を作動させるようになっている。これにより、従来の特許文献1に記載された自動変速機にあっては、対応したソレノイド弁を作動させることにより、クラッチロジックに基づいたブレーキおよびクラッチを作動させて、後進段等や所望の前進変速段が形成されるようになっている。
ここで、シフトバイワイヤによってシフトレンジの変更が実現される自動変速機にあっては、シフトレバーの操作位置に応じて設けられたシフトポジションセンサからの検出結果に基づいてトランスミッション制御装置(以下、T−ECUという)が各ソレノイド弁を制御するようになっている。
ここで、T−ECUは、自動変速機の故障等を判定するため、常に実際の各シフトレンジのうちいずれのシフトレンジで有るかを保持する必要がある。
特表2002−533631号公報
しかしながら、上述のような従来の特許文献1に記載された自動変速機にあっては、T−ECUが実際に現在のシフトレンジがどの状態であるかを判定することに関して考慮されていないため、T−ECUが実際に現在のシフトレンジがどの状態であるかを判定することができないという問題があった。
すなわち、例えばマニュアル弁を有する自動変速機にあっては、シフトレバーの操作位置を検出する複数のシフトポジションセンサからの検出結果に基づいて、シフトレンジを判定することも考えられるが、上述のような従来の特許文献1に記載された自動変速機にあっては、マニュアル弁を有していないことに加えて、T−ECUが実際に現在のシフトレンジがどの状態であるかを判定することに関して考慮されていない。
また、このような従来の特許文献1に記載された自動変速機にあっては、例えばブレーキやクラッチに供給する油圧を検出する油圧センサや、クラッチやブレーキを作動させるソレノイドに供給される油圧を検出する油圧センサを設けて、その検出結果と予め記憶された摩擦係合要素の作動状態の作動パターンとに基づいて実際のシフトレンジを判定することも考えられる。しかしながら、例えばDレンジにおいては、特に変速中の場合クラッチやブレーキの掴み変えのタイミングによってシフトレンジを判定する作動パターンにない組み合わせパターンが生じることがあり、現在のシフトレンジが不定となってしまうおそれがあるという問題があった。
特に、近年の自動変速機にあっては、変速段が多く形成されクラッチやブレーキの係合状態および解放状態が切り替わる頻度が多くなっているため、シフトレンジが不定となってしまうおそれがあるという問題があった。
本発明は、上述のような従来の問題を解決するためになされたもので、マニュアル弁を備えていない自動変速機であっても変速中にシフトレンジが不定となってしまうことを防止することができるレンジ判定装置を提供することを目的とする。
本発明に係るレンジ判定装置は、上記目的達成のため、(1)駆動源の出力トルクを伝達する遊星歯車を有する歯車変速機構と、係合状態と解放状態との間で作動状態が切り替えられる複数の摩擦係合要素とを備え、前記複数の摩擦係合要素の前記作動状態によって前記歯車変速機構のトルク伝達経路が切り替えられて変速が実現される自動変速機に用いられるとともに、前記作動状態に基づいて実際のシフトレンジの判定を行うレンジ判定装置において、前記各摩擦係合要素の前記作動状態を切り替える油圧を制御する油圧制御手段と、前記油圧制御手段によって制御されたそれぞれの油圧を検出する複数の油圧検出手段と、前記各摩擦係合要素の前記作動状態を表す作動パターンを記憶する記憶手段と、前記油圧制御手段によって前記各摩擦係合要素の前記作動状態が切り替えられる変速中であるか否かを判定する変速判定手段と、前記変速判定手段によって前記変速中でないと判定された場合に、前記油圧検出手段による油圧検出結果と前記記憶手段によって記憶された作動パターンとに基づいて現在のシフトレンジを判定するシフトレンジ判定手段と、を備える。
この構成により、変速中でないと判定された場合、油圧検出手段による油圧検出結果と記憶手段によって記憶された作動パターンとに基づいて現在のシフトレンジを判定するので、シフトレンジを正確に判定することができるとともに、一方変速中と判定された場合、作動パターンに基づくシフトレンジの判定を行わないので、油圧検出結果と作動パターンとが一致しないことに起因したシフトレンジの不定となってしまうことを防止することができる。したがって、マニュアル弁を備えていない自動変速機であっても変速中にシフトレンジが不定となってしまうことを防止することができる。
上記(1)に記載のレンジ判定装置において、(2)前記シフトレンジ判定手段は、前記変速判定手段によって前記変速中であると判定された場合、前記変速前の判定結果を現在のシフトレンジとするよう構成する。
この構成により、シフトレンジの変更を伴わない変速中に、各摩擦係合要素の作動状態を切り替える前、すなわち変速前のシフトレンジの判定結果を現在のシフトレンジとすることができるので、シフトレンジが不定となってしまうことを防止することができる。
上記(1)または(2)に記載のレンジ判定装置において、(3)前記変速判定手段によって前記変速中であると判定された場合に、前記油圧検出手段による油圧検出結果が、前記記憶手段によって記憶された作動パターンと一致するか否かを判定する一致判定手段をさらに備え、前記シフトレンジ判定手段は、前記一致判定手段によって作動パターンと一致すると判定された場合、前記油圧検出手段による油圧検出結果と前記記憶手段によって記憶された作動パターンとに基づいて現在のシフトレンジを判定し、前記一致判定手段によって作動パターンと一致しないと判定された場合、前記変速前の判定結果を現在のシフトレンジとするよう構成する。
この構成により、変速中であると判定された場合であっても、一致判定手段により油圧検出手段による検出結果が記憶手段に記憶された作動パターンと一致すると判定された場合、油圧検出手段による油圧検出結果と記憶手段によって記憶された作動パターンとに基づいて現在のシフトレンジを判定するので、変速中であっても作動パターンに基づく判定を行い、シフトレンジの判定精度を向上することができる。一方、変速中であると判定された場合であっても、一致判定手段によって作動パターンと一致しないと判定された場合、変速前の判定結果を現在のシフトレンジとするのでシフトレンジが不定となってしまうことを防止することができる。
上記(1)または(2)に記載のレンジ判定装置において、(4)前記記憶手段は、前記変速に伴い前記摩擦係合要素の前記作動状態を切り替えた際に、前記作動パターンと一致しない組み合わせが生じ得る変速を予め記憶しており、前記変速判定手段は、前記変速中であると判定した場合に、前記記憶手段に記憶された前記作動パターンに一致しない組み合わせが生じ得る変速に該当するか否かを判定し、前記シフトレンジ判定手段は、前記変速判定手段によって前記作動パターンに一致しない組み合わせが生じ得る変速に該当しないと判定された場合、前記油圧検出手段による油圧検出結果と前記記憶手段によって記憶された作動パターンとに基づいて現在のシフトレンジを判定し、前記変速判定手段によって前記作動パターンに一致しない組み合わせが生じ得る変速に該当すると判定された場合、前記変速前の判定結果を現在のシフトレンジとするよう構成する。
この構成により、変速判定手段が、変速中であると判定した場合であっても、作動パターンに一致しない組み合わせが生じ得る変速に該当しないと判定した場合、油圧検出手段による油圧検出結果と記憶手段によって記憶された作動パターンとに基づいて現在のシフトレンジを判定するので、変速中であっても作動パターンに基づく判定を行い、シフトレンジの判定精度を向上することができる。一方、変速判定手段が、変速中であると判定した場合であっても、前記作動パターンに一致しない組み合わせが生じ得る変速に該当すると判定した場合、変速前の判定結果を現在のシフトレンジとするのでシフトレンジが不定となってしまうことを防止することができる。
本発明によれば、マニュアル弁を備えていない自動変速機であっても変速中にシフトレンジが不定となってしまうことを防止することができるレンジ判定装置を提供することができる。
以下、本発明の実施の形態について、図面を参照して説明する。
(第1の実施の形態)
図1は、本発明の第1の実施の形態に係る車両に搭載されるパワートレーンの概略構成図である。
まず、構成について説明する。
図1に示すように、車両に搭載されるパワートレーンは、主として、駆動源としてのエンジン1と、変速を実現可能な自動変速機2と、エンジン制御装置3と、トランスミッション制御装置4と、を含んで構成されている。
エンジン1は、外部から吸入する空気と燃料噴射弁5から噴射される燃料とを適宜の比率で混合した混合気を燃焼させることにより、回転動力を発生させるようになっている。この燃料噴射弁5は、エンジン制御装置3により制御される。
自動変速機2は、主として、トルクコンバータ20、変速機構部30、油圧制御装置40、オイルポンプ60を含んで構成されており、前進8段、後進1段の変速が可能になっている。
変速機構部30は、エンジン1からの出力トルクを伝達する遊星歯車を有する歯車変速機構や係合状態と解放状態との間で作動状態が切り替えられる後述する複数の摩擦係合要素等を含んでおり、複数の摩擦係合要素の作動状態によって歯車変速機構のトルク伝達経路が切り替えられる。このように、トルク伝達経路が切り替えられることにより、トルクコンバータ20から入力軸9に入力される回転動力を変速して出力軸10に出力するようになっている。油圧制御装置40は、変速機構部30の変速動作を制御するようになっている。
エンジン制御装置3およびトランスミッション制御装置4は、一般的に公知のECU(Electronic Control Unit)とされ、ハードウエア構成については略同様な構成となっている。エンジン制御装置3は、エンジン1を制御するようになっており、一方トランスミッション制御装置4は、油圧制御装置40を制御するようになっており、この油圧制御装置40を制御することによって、変速機構部30における適宜の変速段つまり動力伝達経路を成立させるようになっている。
トランスミッション制御装置(以下、再びT−ECUという)4は、エンジン制御装置3との間で送受信可能に接続されており、必要に応じてエンジン制御装置3からエンジン制御に関する種々の情報を取得するようになっている。ここで、本実施の形態におけるT−ECU4は、本発明のレンジ判定装置を構成しており、自動変速機2に適用可能となっている。
なお、T−ECU4が特徴的であるため、この具体的な構成については後述する。
図2は、本発明の第1の実施の形態に係る自動変速機のスケルトン図である。
図2に示すように、トルクコンバータ20は、エンジン1(図1参照)に回転連結されており、ポンプインペラ21、タービンランナ22、ステータ23、ワンウェイクラッチ24、ステータシャフト25、ロックアップクラッチ26を含んで構成されている。
ワンウェイクラッチ24は、ステータ23を変速機構部30の自動変速機2のケース2
aに一方向の回転のみ許容するようになっている。ステータシャフト25は、ワンウェイクラッチ24のインナレースを自動変速機のケースに固定するようになっている。
ロックアップクラッチ26は、トルクコンバータ20のポンプインペラ21とタービンランナ22とを直結できるようになっており、必要に応じて、ポンプインペラ21(入力側)とタービンランナ22(出力側)とを直結する係合状態と、ポンプインペラ21とタービンランナ22とを切り離す解放状態と、係合状態と解放状態との中間の半係合状態とを取り得るようになっている。
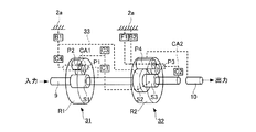
図3は、本発明の第1の実施の形態に係る自動変速機の変速機構部を模式的に示す斜視図である。
図2および図3に示すように、フロントプラネタリ31と、リアプラネタリ32と、中間ドラム33と、第1〜第4クラッチC1〜C4と、第1,第2ブレーキB1,B2とを含む構成となっている。ここで、第1〜第4クラッチC1〜C4、第1,第2ブレーキB1,B2は、本発明における摩擦係合要素を構成している。
フロントプラネタリ31は、ダブルピニオンタイプと呼ばれる歯車式遊星機構とされており、第1サンギアS1と、第1リングギアR1と、複数個のインナーピニオンギアP1と、複数個のアウターピニオンギアP2と、第1キャリアCA1とを含む構成となっている。
なお、第1サンギアS1は、自動変速機2のケース2aに固定されて回転不可能とされ、第1リングギアR1は、中間ドラム33に第3クラッチC3を介して一体回転可能な状態または相対回転可能な状態に支持され、内径側に第1サンギアS1が同心状に挿入されている。
複数個のインナーピニオンギアP1および複数個のアウターピニオンギアP2は、第1サンギアS1と第1リングギアR1との対向環状空間の円周数ヶ所に介装されており、複数個のインナーピニオンギアP1は、第1サンギアS1に噛合され、また、複数個のアウターピニオンギアP2は、インナーピニオンギアP1と第1リングギアR1とに噛合されている。
第1キャリアCA1は、両ピニオンギアP1,P2を回転可能に支持するもので、この第1キャリアCA1の中心軸部が入力軸9に一体的に連結され、第1キャリアCA1において両ピニオンギアP1,P2を支持する各支持軸部が第4クラッチC4を介して中間ドラム33に一体回転可能な状態または相対回転可能な状態に支持されている。
また、中間ドラム33は、第1リングギアR1の外径側に回転可能に配置されており、第1ブレーキB1を介して自動変速機2のケース2aに回転不可能な状態または相対回転可能な状態に支持されている。
リアプラネタリ32は、ラビニオタイプと呼ばれる歯車式遊星機構とされており、大径の第2サンギアS2と、小径の第3サンギアS3と、第2リングギアR2と、複数個のショートピニオンギアP3と、複数個のロングピニオンギアP4と、第2キャリアCA2とを含む構成となっている。
なお、第2サンギアS2は、中間ドラム33に連結され、第3サンギアS3は、第1クラッチC1を介してフロントプラネタリ31の第1リングギアR1に一体回転可能または相対回転可能に連結され、第2リングギアR2は、出力軸10に一体に連結されている。
また、複数個のショートピニオンギアP3は、第3サンギアS3に噛合され、複数個のロングピニオンギアP4は、第2サンギアS2および第2リングギアR2に噛合するとともにショートピニオンギアP3を介して第3サンギアS3に噛合されている。
さらに、第2キャリヤCA2は、複数個のショートピニオンギアP3および複数個のロングピニオンギアP4を回転可能に支持するもので、その中心軸部が第2クラッチC2を介して入力軸9に連結され、この第2キャリアCA2において各ピニオンギアP3,P4を支持する各支持軸部が、第2ブレーキB2およびワンウェイクラッチF1を介して自動変速機2のケース2aに支持されている。
そして、第1〜第4クラッチC1〜C4および第1,第2ブレーキB1,B2は、オイルの粘性を利用した湿式多板摩擦係合装置によって構成されている。
第1クラッチC1は、リアプラネタリ32の第3サンギアS3をフロントプラネタリ31の第1リングギアR1に対して一体回転可能な係合状態または相対回転可能な解放状態とするようになっている。
第2クラッチC2は、リアプラネタリ32の第2キャリヤCA2を入力軸9に対して一体回転可能な係合状態または相対回転可能な解放状態とするようになっている。
第3クラッチC3は、フロントプラネタリ31の第1リングギアR1を中間ドラム33に対して一体回転可能な係合状態または相対回転可能な解放状態とするようになっている。
第4クラッチC4は、フロントプラネタリ31の第1キャリアCA1を中間ドラム33に対して一体回転可能な係合状態または相対回転可能な解放状態とするようになっている。
第1ブレーキB1は、中間ドラム33を自動変速機2のケース2aに対して一体化して回転不可能な係合状態または相対回転可能な解放状態とするようになっている。
第2ブレーキB2は、リアプラネタリ32の第2キャリアCA2を自動変速機2のケース2aに対して一体化して回転不可能な係合状態または相対回転可能な解放状態とするようになっている。
ワンウェイクラッチF1は、リアプラネタリ32の第2キャリアCA2の一方向のみの回転を許容するようになっている。
図4は、本発明の第1の実施の形態に係る自動変速機の油圧制御装置の回路図である。
図4に示すように、油圧制御装置40は、例えばリニアソレノイド弁SL1〜SL6や油圧制御回路を含んで構成されており、例えば変速機構部30(図1参照)を制御可能となっている。そして、油圧制御装置40は、後述するシフトレバー装置の操作に応じてリニアソレノイド弁SL1〜SL6や、図示しないソレノイド弁を制御することによって、各摩擦係合要素の作動状態やパーキングロック機構の作動状態を切り替える油圧を制御するようになっている。油圧制御回路は、第1〜第4クラッチC1〜C4、および第1,第2ブレーキB1,B2は、その係合状態および解放状態を切り替える各油圧アクチュエータ(油圧シリンダ)AC1,AC2,AC3,AC4,AB1,AB2を有している。また、油圧制御回路は、パーキングロック機構の作動状態、すなわち、パーキングギアにパーキングポールが噛み合うロック状態と非ロック状態を切り替える図示しない油圧アクチュエータ(油圧シリンダ)を有している。
また、この各油圧アクチュエータ(油圧シリンダ)AC1,AC2,AC3,AC4,AB1,AB2は、リニアソレノイド弁SL1〜SL6や図示しないソレノイド弁によってその作動を制御するようになっている。
各油圧アクチュエータAC1,AC2,AC3,AC4,AB1,AB2には、ライン油圧PLがそれぞれリニアソレノイド弁SL1〜SL6によりT−ECU4からの指令信号に応じた係合油圧PC1,PC2,PC3,PC4,PB1,PB2に調圧されるようになっており、ライン油圧PLがそれぞれ直接的に供給されるようになっている。
このライン油圧PLは、エンジン1により回転駆動される機械式のオイルポンプ60(図1参照)によって発生するようになっている。
リニアソレノイド弁SL1〜SL6は、基本的にはいずれも同じ構成で、T−ECU4により独立に励磁、非励磁され、各油圧アクチュエータAC1,AC2,AC3,AC4,AB1,AB2の油圧が独立に調圧制御されて第1〜第4クラッチC1〜C4、および第1,第2ブレーキB1,B2の係合油圧PC1,PC2,PC3,PC4,PB1,PB2が制御可能になっている。そして、変速機構部30は、後述する作動表に示すように所定の摩擦係合要素が係合させられることによって各変速段が成立するようになっている。
油圧センサ101〜104は、各油圧アクチュエータAC1,AC2,AC4,AB2に供給される油圧を検出するようになっており、予め設定された閾値に基づく検出結果、すなわち各摩擦係合要素が係合状態であるONを表す信号、各摩擦係合要素が解放状態であるOFFを表す信号をT−ECU4に出力するようになっている。
なお、本実施の形態においては、油圧センサ101〜104は、閾値の設定にもよるが各摩擦係合要素の係合状態が切り替えられる際、OFFする側がONする側より早いものとして説明している。また、油圧センサ101〜104は、各油圧アクチュエータAC1,AC2,AC4,AB2に供給される油圧を検出するようになっているが、単に例示であってこれに限定されない。
図5は、本発明の第1の実施の形態に係るトランスミッション制御装置の構成を示す図である。
図5に示すように、T−ECU4は、中央処理装置(CPU)51と、読出し専用メモリとしてのROM52と、ランダムアクセスメモリ(RAM)53と、バックアップRAM54と、入力インターフェース55と、出力インターフェース56とを双方向性バス57によって相互に接続した構成になっている。
CPU51は、ROM52に記憶された各種制御プログラムや制御マップに基づいて演算処理を実行する。ROM52には、変速機構部30の変速動作を制御するための各種制御プログラムが記憶されている。また、ROM52には、以下に説明する処理を実現するプログラム、車速とアクセル開度とによって定義される変速線図に対応したマップ、変速終了の判定を行うための変速段に応じたギア比等が記憶されている。RAM53は、CPU51での演算結果や各センサから入力されたデータ等を一時的に記憶するメモリである。バックアップRAM54は、各種の保存すべきデータを記憶する不揮発性のメモリである。
入力インターフェース55には、エンジン回転速度センサ91、入力軸回転数センサ92、出力軸回転数センサ93、アクセル開度センサ95、パーキングセンサ96、油圧センサ101〜104等の各種センサが接続されている。
また、出力インターフェース56には、油圧制御装置40の構成要素として例えばリニアソレノイド弁(SL1〜SL6)や、ソレノイド弁が接続されている。
エンジン回転速度センサ91は、エンジン1の回転が伝達されるトルクコンバータ20のポンプインペラ21の回転速度をエンジン回転速度として検出するようになっている。
また、入力軸回転数センサ92は、入力軸9の回転数を検出するようになっている。また、出力軸回転数センサ93は、出力軸10の回転数を検出するようになっている。
また、アクセル開度センサ95は、アクセルペダルの踏み込み量を検出するようになっている。パーキングセンサ96は、図示しないパーキングロック機構のピストンシリンダ内に設けられ、パーキングギアにパーキングポールが係合しているロック状態であるかを検出するようになっている。このパーキングセンサ96がON状態であれば、前述するロック状態となり、OFF状態であれば非ロック状態となる。
また、油圧センサ101〜104は、T−ECU4および油圧制御装置40によって制御された各摩擦係合要素にそれぞれ供給される油圧を検出するようになっている。また、T−ECU4は、各種センサ等の検出結果に応じてリニアソレノイド弁(SL1〜SL6)や、ソレノイド弁を制御可能になっている。
T−ECU4は、入力インターフェース55を介してシフトレンジを選択するシフトレバー装置45に接続されており、シフトレバー装置45から出力された選択信号に基づいて油圧制御装置40を制御してシフトレンジを切り替えるようになっている。また、T−ECU4は、シフトレンジを表示するシフト表示装置46に接続されており、選択されたシフトレンジに応じてシフト表示装置46の表示を切り替えるようになっている。
シフトレバー装置45は、シフトレバー47とパーキングボタン48とを有し、シフトレバー47の操作によりリバースレンジ(R)、ニュートラルレンジ(N)、Dレンジとしてのドライブレンジ(D)を選択でき、パーキングボタン48の押下によりパーキングレンジ(P)を選択できるようになっている。そして、シフトレバー装置45は、その操作に応じた位置にセンサが複数設けられており、シフトレバー47の操作により選択されたシフトレンジに対応する選択信号をT−ECU4に出力するようになっている。
また、T−ECU4は、シフトレンジに対応したシフト位置にシフトレバー47が一定時間保持されることで、シフトレンジを切り替えるよう油圧制御装置40を制御するようになっている。T−ECU4は、例えばシフトレバーがDレンジに対応する位置に操作されると、前述した変速線図に基づく変速が実行される。
上述したように、油圧制御装置40は、各シフトレンジに対応したライン油圧を調整するとともに、変速段に対応したライン油圧を調整して、各摩擦係合要素に油圧を供給するようになっている。
なお、本実施の形態にあっては、シフトレバー装置45およびシフト表示装置46が直接T−ECU4に接続されているが、これに限らず、シフトレバー装置45およびシフト表示装置46が図示しないシフトバイワイヤECUを介してT−ECU4に接続するようにしてもよい。また、本実施の形態におけるシフトレバー装置45は、自動変速モードの他に手動変速モードも選択可能であるが、説明省略する。
ここで、上述した変速機構部30における各変速段を成立させる条件について、図6および図7に示している。
図6は、第1〜第4クラッチC1〜C4、第1,第2ブレーキB1,B2およびワンウェイクラッチF1における係合状態または解放状態と各変速段との関係を示す係合表である。この係合表において、○印は「係合状態」、×印は「解放状態」、◎印は「エンジンブレーキ時に係合状態」、△印は「駆動時のみ係合状態」を示す。
図7は、第1〜第4クラッチC1〜C4、第1,第2ブレーキB1,B2およびワンウェイクラッチF1の係合により成立される変速段(第1速段〜第8速段、後進段)と、そのときの前後二つのプラネタリ31,32における各構成要素の回転数比との関係を示す速度線図である。
この図7において、各縦軸方向は二つのプラネタリ31,32における各構成要素の速
度比であり、各縦軸の間隔は、各要素のギア比に応じて設定される。また、第1〜第4ク
ラッチC1〜C4、第1,第2ブレーキB1,B2およびワンウェイクラッチF1が係合
される点に、C1〜C4、B1、B2、F1を記入している。
さらに、図7に記載している入力1〜入力4とは、入力軸9からの回転動力の入力位置を示し、また、図7に記載している出力とは、出力軸10に出力させる回転動力の出力位置を示している。
図9は、油圧センサやパーキングセンサにより検出される摩擦係合要素の作動状態を示す図であって、(a)は、摩擦係合要素の作動パターンを示す図であり、(b)は5速から6速への変速中の摩擦係合要素の作動状態を説明する図である。
本実施の形態における自動変速機の場合、T−ECU4は、図9(a)に示した作動パターンに基づいて現在のレンジを判定するようになっている。前述した図6に示した係合表からシフトレンジ判定に必要な第1クラッチC1、第2クラッチC2、第4クラッチC4、第2ブレーキB2の作動状態を示しており、さらにパーキングセンサの作動状態を示している。T−ECU4のROM52には、この作動パターンに対応したマップが予め記憶されている。したがって、T−ECU4は、記憶手段を構成する。なお、この図9(b)については後述するが、摩擦係合要素が係合状態である場合には「○」で表示し、摩擦係合要素が解放状態である場合には「×」で表記しており、パーキングセンサがONの場合には「○」で表記しており、パーキングセンサがOFFの場合には「×」で表記している。
以下、本発明の第1の実施の形態に係るT−ECU4の特徴的な構成について説明する。
T−ECU4は、実際の摩擦係合要素の作動状態に基づいてDレンジ走行中か否かを判定するようになっている。具体的には、T−ECU4は、油圧センサ101〜104によって検出された検出結果と作動パターンとに基づいてDレンジ走行中か否かを判定するようになっている。また、T−ECU4は、変速中の場合、実際の摩擦係合要素の作動状態に基づかずに後述するようにDレンジが保持された際もDレンジ走行中と判定するようになっている。
また、T−ECU4は、各摩擦係合要素の作動状態を切り替える油圧を制御するようになっている。具体的には、T−ECU4は、油圧制御装置を制御することによってリニアソレノイド弁(SL1〜SL6)を制御し、クラッチおよびブレーキの作動状態を切り替える油圧を制御するようになっている。したがって、T−ECU4は、油圧制御手段を構成する。
また、T−ECU4は、第1クラッチC1、第2クラッチC2、第4クラッチC4および第2ブレーキB2に設けられた各油圧センサ101〜104からの検出結果を取得して、これらの作動状態を判定するようになっている。具体的には、T−ECU4は、各油圧センサ101〜104から出力されたON状態を表す信号やOFF状態を表す信号を取得して、この検出結果に基づいて摩擦係合要素が作動状態か解放状態かを判定するようになっている。すなわちT−ECU4および各油圧センサ101〜104は、油圧検出手段を構成する。
また、T−ECU4は、各摩擦係合要素の作動状態が切り替えられる変速中であるか否かを判定するようになっている。具体的には、T−ECU4は、図示しないソレノイド弁やリニアソレノイド弁(SL1〜SL6)に例えば変速線図に基づいた変速開始の制御信号を出力したか否かで変速開始と判断するようになっており、一方、入力軸回転数センサ92の検出結果と、出力軸回転数センサ93の検出結果と、当該制御信号に対応した変速段のギア比とに基づいて、変速が完了したか否かを判定するようになっている。したがって、T−ECU4は、変速が開始されたと判定し、一方変速が完了するまでの間を変速中と判定するようになっている。すなわち、T−ECU4は、変速判定手段を構成している。
また、T−ECU4は、クラッチやブレーキの作動状態に基づいて実際のシフトレンジの判定を行うようになっている。つまり、T−ECU4は、変速中でない場合に、各油圧センサ101〜104によって検出された検出結果とROM52に記憶された作動パターンとに基づいて現在のシフトレンジを判定するようになっている。具体的には、T−ECU4は、前述したように変速開始の制御信号が出力してから、変速が完了するまでの間でない場合に、現在のシフトレンジの判定を作動パターンに基づいて行うようになっている。一方、T−ECU4は、変速中である場合、変速前の判定結果を現在のシフトレンジとして前回値を保持するようになっている。すなわち、T−ECU4は、シフトレンジ判定手段を構成する。
次に、動作について説明する。
図8は、本発明の第1の実施の形態に係るT−ECU4の動作を示すフロー図である。以下に説明する処理は、予めROM52に記憶されているプログラムによって実現され、所定の時間間隔でCPUによって実行される。
図8に示すように、まず、T−ECU4は、Dレンジ走行中か否かを判定する(ステップS1)。具体的には、T−ECU4は、後述するステップにおいて油圧センサ101〜104によって検出された検出結果と作動パターンとに基づいてDレンジと判定した際、Dレンジ走行中と判定するとともに、後述するステップにおいて変速中の場合にDレンジが保持された際もDレンジ走行中と判定する。
次に、T−ECU4は、変速中か否かを判定する(ステップS2)。具体的には、T−ECU4が、変速開始の制御信号が出力してから変速が完了するまでの間であるか否かを判定する。
次に、T−ECU4は、ステップS2において変速中であると判定した場合には、変速開始直前のシフトレンジを保持する(ステップS3)。具体的には、T−ECU4は、変速中である場合、変速前の判定結果を現在のシフトレンジとして前回値を保持する。
一方、T−ECU4は、ステップS2において変速中でないと判定した場合には、作動パターンに基づいてシフトレンジを判定する(ステップS4)。具体的には、T−ECU4は、変速中でない場合、油圧センサ101〜104の検出結果と作動パターンに基づいて現在のシフトレンジを判定する。
ここで、図9(b)を参照して4速から6速への変速中の摩擦係合要素の作動状態について説明する。
自動変速機によって例えば4速から6速に変速が実行される場合に、各摩擦係合要素およびパーキングセンサの状態が図9(b)に示す通りとなる。
図9(b)に示すように、自動変速機が4速から6速に変速が実行される場合、第1クラッチC1が解放状態となり、第2クラッチC2が係合状態となるが、変速過渡中である変速中にあっては、第1クラッチC1と第2クラッチC2とが解放状態となってしまう場合がある。この場合、特にDレンジにおいて第4クラッチC4のみが係合状態となっている作動パターンが存在しないことが明らかとなる。そこで本実施の形態に係るレンジ判定装置は、図9(a)に示すような作動パターンを用いた判定を常に実行せずに、変速中の場合には変速開始前のDレンジを保持する。
また、各摩擦係合要素の係合状態が切り替えられる際、油圧センサ101〜104の閾値の設定によってOFFする側がONする側より早いので、クラッチC4のみが係合状態となっているが、逆に閾値の設定によってOFFする側がONする側より遅い場合には、5速から6速への変速中において第1クラッチC1、第2クラッチC2、第4クラッチC4のいずれもが係合状態となる。この場合も、作動パターンにない組み合わせとなってしまうことが明らかとなる。
前述したように、4速から6速に変速が実現される場合と5速から6速に変速する場合とを例に説明したが、単なる一例であってこれに限定されない。すなわち、油圧センサから検出された検出結果によっては作動パターン以外の組み合わせとなってしまう変速であっても、変速中はDレンジを保持するので同様にシフトレンジが不定となってしまうことがない。
以上のように、本実施の形態に係るレンジ判定装置は、変速中でないと判定された場合、油圧センサ101〜104による油圧検出結果とROM52に記憶された作動パターンとに基づいて現在のシフトレンジを判定するので、シフトレンジを正確に判定することができる。一方、変速中と判定された場合、作動パターンに基づくシフトレンジの判定を行わないので、油圧検出結果と作動パターンとが一致しないことに起因したシフトレンジの不定となってしまうことを防止することができる。したがって、マニュアル弁を備えていない自動変速機であっても変速中にシフトレンジが不定となってしまうことを防止することができる。
さらに、本実施の形態に係るレンジ判定装置は、シフトレンジの変更を伴わない変速中、すなわちDレンジでの変速中に、各摩擦係合要素の作動状態を切り替える前、すなわち変速前のシフトレンジの判定結果を現在のシフトレンジとすることができるので、シフトレンジが不定となってしまうことを防止することができる。
このように、シフトレンジが不定となってしまうことがないので、自動変速機の故障と判定してしまうといった誤判定を防止することができ、自動変速機の故障を示す表示等が行われるという不具合を防止することができる。
なお、上述した実施の形態においては、変速中の場合にDレンジを保持しているが、これに限定されず、次に説明する第2の実施の形態のように、変速中であってもDレンジにおける作動パターンのいずれかに一致する場合には、作動パターンに基づいてシフトレンジを判定するようにしてもよい。
(第2の実施の形態)
本発明の第2の実施の形態に係るレンジ判定装置を構成するT−ECUについて説明する。
なお、第2の実施の形態に係るT−ECUを含む構成は、上述の第1の実施の形態に係るT−ECUを含む構成とほぼ同様であり、各構成要素については、第1の実施の形態と同様の符号を用いて説明し、特に相違点についてのみ詳述する。
T−ECU4は、変速中であると判定した場合に、油圧センサ101〜104によって検出された検出結果が、ROM52に記憶された作動パターンと一致するか否かを判定するようになっている。すなわち、T−ECU4は、一致判定手段を構成する。
また、T−ECU4は、作動パターンと一致すると判定した場合、油圧センサ101〜104によって検出した検出結果とROM52に記憶された作動パターンとに基づいて現在のシフトレンジを判定するようになっている。さらに、T−ECU4は、作動パターンと一致しないと判定した場合、変速前の判定結果を現在のシフトレンジとして前回値を保持するようになっている。
次に、動作について説明する。
図10は、本発明の第2の実施の形態に係るT−ECU4の動作を示すフロー図である。以下に説明する処理は、予めROM52に記憶されているプログラムによって実現され、所定の時間間隔でCPUによって実行される。
T−ECU4は、図10に示すように、Dレンジ走行中か否かを判定する(ステップS11)。具体的には、T−ECU4は、後述するステップにおいて油圧センサ101〜104によって検出された検出結果と作動パターンとに基づいてDレンジと判定した際、Dレンジ走行中と判定するとともに、後述するステップにおいて変速中の場合にDレンジが保持された際もDレンジ走行中と判定する。
次に、T−ECU4は、変速中か否かを判定する(ステップS12)。具体的には、T−ECU4が、変速開始の制御信号が出力してから変速が完了するまでの間であるか否かを判定する。
T−ECU4は、変速中であると判定した場合には、油圧センサ101〜104による検出結果が、ROMに記憶された作動パターンと一致するか否かを判定する(ステップS13)。
そして、T−ECU4は、ステップS13において、作動パターンと一致しないと判定した場合には、変速開始直前のシフトレンジを保持し(ステップS14)、一方作動パターンと一致すると判定した場合には、作動パターンで現在のシフトレンジを判定する(ステップS15)。
以上のように、本実施の形態に係るレンジ判定装置は、変速中であると判定した場合であっても、油圧センサ101〜104によって検出された検出結果が、ROM52に記憶された作動パターンと一致する場合、油圧センサ101〜104によって検出された検出結果とROM52に記憶された作動パターンとに基づいて現在のシフトレンジを判定するので、変速中であっても作動パターンに基づく判定を行い、シフトレンジの判定精度を向上することができる。一方、変速中であると判定された場合であっても、油圧センサ101〜104によって検出された検出結果が、ROM52に記憶された作動パターンと一致しない場合、変速前の判定結果を現在のシフトレンジとするのでシフトレンジが不定となってしまうことを防止することができる。
なお、上述した実施の形態においては、変速中の場合であっても油圧センサの検出結果が作動パターンに一致する場合、作動パターンに基づいて現在のシフトレンジを判定しているが、これに限定されず、次に説明する第3の実施の形態のように、変速中に摩擦係合要素の作動状態を切り替えた場合に、作動パターンと一致しない組み合わせが生じ得る変速をROMに予め記憶しておき、当該変速に該当する場合に変速前の判定結果を現在のシフトレンジとするようにしてもよい。
(第3の実施の形態)
本発明の第3の実施の形態に係るレンジ判定装置を構成するT−ECUについて説明する。
なお、第3の実施の形態に係るT−ECUを含む構成は、上述の第1の実施の形態に係るレンジ判定装置を含む構成とほぼ同様であり、各構成要素については、第1の実施の形態と同様の符号を用いて説明し、特に相違点についてのみ詳述する。
T−ECU4は、変速に伴い各摩擦係合要素の作動状態を切り替えた際に、作動パターンと一致しない組み合わせが生じ得る変速を予めROM52に記憶している。また、T−ECU4は、変速中であると判定された場合に、ROM52に記憶された作動パターンに一致しない組み合わせが生じ得る変速に該当するか否かを判定するようになっている。したがって、T−ECU4は、本発明の変速判定手段を構成する。
T−ECU4は、変速中であると判定した場合に、第1クラッチC1および第2クラッチC2の掴み換えのある変速か否かを判定するようになっている。具体的には、第1クラッチC1および第2クラッチC2の掴み換えのある変速の場合、例えば4速から6速への飛びアップシフトや6速から4速への飛びダウンシフトの変速の場合か否かを判定するようになっている。
ここで、前述したように油圧センサ101〜104が、ONするよりOFFする方が早いので、図9(a)に示す作動パターンを参照するとDレンジにおいては必ず少なくとも第1クラッチC1および第2クラッチC2のいずれか一方が係合状態であるので、このような掴み換えが生じる変速の場合、図9(b)に示すように第1クラッチC1、第2クラッチC2の両方のクラッチがOFFになってしまい作動パターンにない組み合わせとなってしまう。このため、T−ECU4は、変速中にシフトレンジが不定となってしまう変速を予めROM52に記憶しておき、変速線図に基づいた変速が当該変速に該当するか否かの判定を行うようになっている。
T−ECU4は、作動パターンに一致しない組み合わせが生じ得る変速に該当しないと判定した場合、油圧センサ101〜104による検出結果と作動パターンとに基づいて現在のシフトレンジを判定し、作動パターンに一致しない組み合わせが生じ得る変速に該当すると判定した場合、変速前の判定結果を現在のシフトレンジとするようになっている。
また、T−ECU4は、変速中であると判定した場合に、第1クラッチC1および第2クラッチC2の掴み換えのある変速でないと、油圧センサ101〜104によって検出した検出結果とROM52に記憶された作動パターンとに基づいて現在のシフトレンジを判定するようになっている。さらに、T−ECU4は、変速中であると判定した場合に、第1クラッチC1および第2クラッチC2の掴み換えのある変速であると、変速前の判定結果を現在のシフトレンジとして前回値を保持するようになっている。
次に、動作について説明する。
図11は、本発明の第3の実施の形態に係るT−ECU4の動作を示すフロー図である。以下に説明する処理は、予めROM52に記憶されているプログラムによって実現され、所定の時間間隔でCPUによって実行される。
T−ECU4は、図11に示すように、Dレンジ走行中か否かを判定する(ステップS11)。具体的には、T−ECU4は、後述するステップにおいて油圧センサ101〜104によって検出された検出結果と作動パターンとに基づいてDレンジと判定した際、Dレンジ走行中と判定するとともに、後述するステップにおいて変速中の場合にDレンジが保持された際もDレンジ走行中と判定する。
次に、T−ECU4は、変速中か否かを判定する(ステップS22)。具体的には、T−ECU4が、変速開始の制御信号が出力してから変速が完了するまでの間であるか否かを判定する。
T−ECU4は、変速中であると判定した場合には、第1クラッチC1および第2クラッチC2の掴み換えのある変速か否かを判定する(ステップS23)。
そして、T−ECU4は、ステップS23において、第1クラッチC1および第2クラッチC2の掴み換えのある変速であると判定した場合には、変速開始直前のシフトレンジを保持し(ステップS24)、一方第1クラッチC1および第2クラッチC2の掴み換えのある変速でないと判定した場合には、作動パターンで現在のシフトレンジを判定する(ステップS25)。
なお、上述した各実施の形態における車両に搭載されるパワートレーンは、一例であってこれに限定されず、本発明に係るレンジ判定装置が適用可能なパワートレーンが含まれる。
以上のように、本実施の形態に係るレンジ判定装置は、変速中に作動パターンにない組み合わせが生じ得る変速を予めROM52に記憶しているので、このような変速の場合には、変速開始直前のシフトレンジを保持するので、現在のシフトレンジが不定となってしまうことを防止することができる。一方、変速中に作動パターンにない組み合わせが生じ得る変速でない場合には、作動パターンで現在のシフトレンジを判定することができる。したがって、変速中であってもシフトレンジの判定精度を向上することができる。
以上説明したように、本発明に係るレンジ判定装置は、マニュアル弁を備えていない自動変速機であっても変速中にシフトレンジが不定となってしまうことを防止することができ、車両に搭載された自動変速機におけるレンジの判定を行うレンジ判定装置に有用である。
本発明の第1の実施の形態に係る車両に搭載されるパワートレーンの概略構成図である。 本発明の第1の実施の形態に係る自動変速機のスケルトン図である。 本発明の第1の実施の形態に係る自動変速機の変速機構部を模式的に示す斜視図である。 本発明の第1の実施の形態に係る自動変速機の油圧制御装置の回路図である。 本発明の第1の実施の形態に係るトランスミッション制御装置の構成を示す図である。 本発明の第1の実施の形態に係る変速機構部における各クラッチおよび各ブレーキ等の係合表である。 本発明の第1の実施の形態に係る各プラネタリにおける各構成要素の回転数比を変速段毎に示す速度線図である。 本発明の第1の実施の形態に係るT−ECUの動作を示すフロー図である。 本発明の第1の実施の形態に係る油圧センサやパーキングセンサにより検出される摩擦係合要素の作動状態を示す図であり、(a)は、摩擦係合要素の作動パターンを示す図であり、(b)は4速から6速への変速中の摩擦係合要素の作動状態を説明する図である。 本発明の第2の実施の形態に係るT−ECUの動作を示すフロー図である。 本発明の第3の実施の形態に係るT−ECUの動作を示すフロー図である。
符号の説明
1 エンジン
2 自動変速機
3 エンジン制御装置
4 トランスミッション制御装置(変速判定手段、シフトレンジ判定手段、一致判定手段、レンジ判定装置)
9 入力軸
10 出力軸
20 トルクコンバータ
30 変速機構部
31 フロントプラネタリ
32 リアプラネタリ
40 油圧制御装置(油圧制御手段)
45 シフトレバー装置
51 CPU
52 ROM(記憶手段)
53 RAM
54 バックアップRAM
55 入力インターフェース
56 出力インターフェース
91 エンジン回転速度センサ
92 入力軸回転数センサ
93 出力軸回転数センサ
95 アクセル開度センサ
96 パーキングセンサ
100 作動パターン
101〜104 油圧センサ(油圧検出手段)

Claims (4)

  1. 駆動源の出力トルクを伝達する遊星歯車を有する歯車変速機構と、係合状態と解放状態との間で作動状態が切り替えられる複数の摩擦係合要素とを備え、前記複数の摩擦係合要素の前記作動状態によって前記歯車変速機構のトルク伝達経路が切り替えられて変速が実現される自動変速機に用いられるとともに、前記作動状態に基づいて実際のシフトレンジの判定を行うレンジ判定装置において、
    前記各摩擦係合要素の前記作動状態を切り替える油圧を制御する油圧制御手段と、
    前記油圧制御手段によって制御されたそれぞれの油圧を検出する複数の油圧検出手段と、
    前記各摩擦係合要素の前記作動状態を表す作動パターンを記憶する記憶手段と、
    前記油圧制御手段によって前記各摩擦係合要素の前記作動状態が切り替えられる変速中であるか否かを判定する変速判定手段と、
    前記変速判定手段によって前記変速中でないと判定された場合に、前記油圧検出手段による油圧検出結果と前記記憶手段によって記憶された作動パターンとに基づいて現在のシフトレンジを判定するシフトレンジ判定手段と、を備えたことを特徴とするレンジ判定装置。
  2. 前記シフトレンジ判定手段は、前記変速判定手段によって前記変速中であると判定された場合、前記変速前の判定結果を現在のシフトレンジとすることを特徴とする請求項1に記載されたレンジ判定装置。
  3. 前記変速判定手段によって前記変速中であると判定された場合に、前記油圧検出手段による油圧検出結果が、前記記憶手段によって記憶された作動パターンと一致するか否かを判定する一致判定手段をさらに備え、
    前記シフトレンジ判定手段は、前記一致判定手段によって作動パターンと一致すると判定された場合、前記油圧検出手段による油圧検出結果と前記記憶手段によって記憶された作動パターンとに基づいて現在のシフトレンジを判定し、前記一致判定手段によって作動パターンと一致しないと判定された場合、前記変速前の判定結果を現在のシフトレンジとすることを特徴とする請求項1または請求項2に記載されたレンジ判定装置。
  4. 前記記憶手段は、前記変速に伴い前記摩擦係合要素の前記作動状態を切り替えた際に、前記作動パターンと一致しない組み合わせが生じ得る変速を予め記憶しており、
    前記変速判定手段は、前記変速中であると判定した場合に、前記記憶手段に記憶された前記作動パターンに一致しない組み合わせが生じ得る変速に該当するか否かを判定し、
    前記シフトレンジ判定手段は、前記変速判定手段によって前記作動パターンに一致しない組み合わせが生じ得る変速に該当しないと判定された場合、前記油圧検出手段による油圧検出結果と前記記憶手段によって記憶された作動パターンとに基づいて現在のシフトレンジを判定し、前記変速判定手段によって前記作動パターンに一致しない組み合わせが生じ得る変速に該当すると判定された場合、前記変速前の判定結果を現在のシフトレンジとすることを特徴とする請求項1または請求項2に記載されたレンジ判定装置。
JP2008264224A 2008-10-10 2008-10-10 レンジ判定装置 Expired - Fee Related JP4539772B2 (ja)

Priority Applications (5)

Application Number Priority Date Filing Date Title
JP2008264224A JP4539772B2 (ja) 2008-10-10 2008-10-10 レンジ判定装置
US13/119,603 US8538642B2 (en) 2008-10-10 2009-09-04 Range determination apparatus
CN200980140007.0A CN102257293B (zh) 2008-10-10 2009-09-04 范围判定装置
PCT/JP2009/004375 WO2010041372A1 (ja) 2008-10-10 2009-09-04 レンジ判定装置
DE112009002437.8T DE112009002437B4 (de) 2008-10-10 2009-09-04 Bereichsbestimmungsvorrichtung

Applications Claiming Priority (1)

Application Number Priority Date Filing Date Title
JP2008264224A JP4539772B2 (ja) 2008-10-10 2008-10-10 レンジ判定装置

Publications (2)

Publication Number Publication Date
JP2010091085A true JP2010091085A (ja) 2010-04-22
JP4539772B2 JP4539772B2 (ja) 2010-09-08

Family

ID=42100334

Family Applications (1)

Application Number Title Priority Date Filing Date
JP2008264224A Expired - Fee Related JP4539772B2 (ja) 2008-10-10 2008-10-10 レンジ判定装置

Country Status (5)

Country Link
US (1) US8538642B2 (ja)
JP (1) JP4539772B2 (ja)
CN (1) CN102257293B (ja)
DE (1) DE112009002437B4 (ja)
WO (1) WO2010041372A1 (ja)

Families Citing this family (6)

* Cited by examiner, † Cited by third party
Publication number Priority date Publication date Assignee Title
US9528601B2 (en) * 2014-07-01 2016-12-27 GL Global Technology Operations LLC Automatic transmission power flow detection
US10215277B2 (en) * 2014-08-05 2019-02-26 Jatco Ltd Controller for continuously variable transmission
US9494232B2 (en) 2015-01-07 2016-11-15 GM Global Technology Operations LLC Method and apparatus for monitoring a transmission range selector
JP6523776B2 (ja) * 2015-04-30 2019-06-05 本田技研工業株式会社 制御装置
CN106763741A (zh) * 2016-12-30 2017-05-31 盛瑞传动股份有限公司 一种有效提高换挡品质的离合器控制油路
CN106763740A (zh) * 2016-12-30 2017-05-31 盛瑞传动股份有限公司 一种能有效提高换挡品质的离合器控制油路

Citations (1)

* Cited by examiner, † Cited by third party
Publication number Priority date Publication date Assignee Title
JP2001059570A (ja) * 1999-08-20 2001-03-06 Jatco Transtechnology Ltd 自動変速機の故障時変速制御装置

Family Cites Families (20)

* Cited by examiner, † Cited by third party
Publication number Priority date Publication date Assignee Title
JPH03177655A (ja) * 1989-12-06 1991-08-01 Toyota Motor Corp 自動変速機の変速制御装置
US5166879A (en) * 1990-12-03 1992-11-24 Ford Motor Company Load condition preemption of scheduled gearshifts in an automatic transmission
JP3097339B2 (ja) * 1992-08-14 2000-10-10 三菱自動車工業株式会社 車両用自動変速機の変速制御方法
JP3541087B2 (ja) * 1995-06-16 2004-07-07 トヨタ自動車株式会社 自動変速機の制御装置
DE19544517C2 (de) * 1995-11-29 1999-08-05 Siemens Ag Steuereinrichtung für ein automatisches Kraftfahrzeuggetriebe
DE19858543A1 (de) 1998-12-18 2000-06-21 Zahnradfabrik Friedrichshafen Steuereinrichtung für ein automatisches Kraftfahrzeug-Getriebe
KR20040046829A (ko) * 2002-11-28 2004-06-05 현대자동차주식회사 차량용 자동변속기의 변속 제어방법 및 장치
US6807472B2 (en) * 2002-12-23 2004-10-19 Eaton Corporation Closed loop control of shifting clutch actuators in an automatic speed change transmission
JP4314522B2 (ja) * 2004-03-31 2009-08-19 株式会社デンソー 自動変速機制御装置
JP4220494B2 (ja) * 2005-05-31 2009-02-04 ジヤトコ株式会社 自動変速機の故障時制御装置
JP4887677B2 (ja) * 2005-07-19 2012-02-29 トヨタ自動車株式会社 車両用自動変速機の油圧制御装置
JP4367425B2 (ja) * 2006-03-07 2009-11-18 トヨタ自動車株式会社 車両の制御装置
JP4265625B2 (ja) * 2006-07-03 2009-05-20 トヨタ自動車株式会社 車両の駆動力制御装置
JP2008051258A (ja) * 2006-08-25 2008-03-06 Toyota Motor Corp 自動変速機のシフト切換装置、切換方法、その方法を実現するプログラムおよびそのプログラムを記録した記録媒体
JP2008128312A (ja) * 2006-11-17 2008-06-05 Toyota Motor Corp 自動変速機の制御装置
JP4263210B2 (ja) * 2006-12-20 2009-05-13 ジヤトコ株式会社 自動変速機
JP4418477B2 (ja) * 2007-03-22 2010-02-17 ジヤトコ株式会社 自動変速機
JP4535115B2 (ja) * 2007-10-31 2010-09-01 トヨタ自動車株式会社 車両の制御装置
DE102008000209A1 (de) 2008-02-01 2009-08-06 Zf Friedrichshafen Ag Verfahren zum Betreiben eines Automatgetriebes
US20120065854A1 (en) * 2010-09-10 2012-03-15 Caterpillar Inc. System and method to prevent shift hunting in a powertrain

Patent Citations (1)

* Cited by examiner, † Cited by third party
Publication number Priority date Publication date Assignee Title
JP2001059570A (ja) * 1999-08-20 2001-03-06 Jatco Transtechnology Ltd 自動変速機の故障時変速制御装置

Also Published As

Publication number Publication date
US20110190994A1 (en) 2011-08-04
JP4539772B2 (ja) 2010-09-08
WO2010041372A1 (ja) 2010-04-15
CN102257293A (zh) 2011-11-23
DE112009002437B4 (de) 2020-01-23
DE112009002437T5 (de) 2012-02-02
US8538642B2 (en) 2013-09-17
CN102257293B (zh) 2014-02-19

Similar Documents

Publication Publication Date Title
US6978691B2 (en) Shift control apparatus and method for automated twin clutch transmission
US7713170B2 (en) Shift control method of automatic transmission
JPH1073157A (ja) 変速装置の制御方法およびその装置
JP4539772B2 (ja) レンジ判定装置
KR20080058179A (ko) 자동 변속기
CN101828052B (zh) 车辆控制装置
US7779714B2 (en) Surrogate engine speed signal for controlling a dual clutch powershift transmission
JP4633165B2 (ja) 自動変速機の制御装置
JP4231513B2 (ja) 自動変速機
US7914417B2 (en) Shift control apparatus of automatic transmission
JP4284820B2 (ja) 車両の自動変速装置
JP4742928B2 (ja) 複数クラッチ式変速機の変速制御装置
WO2016017131A1 (ja) 自動変速機の制御装置及び制御方法
JP2001191819A (ja) 自動変速機の制御装置
JP5239760B2 (ja) 車両の変速制御装置
JP6056813B2 (ja) 自動変速機の制御装置及び制御方法
JP4066598B2 (ja) 自動変速機の油圧制御装置
KR101526216B1 (ko) 스피드 센서 값을 이용한 클러치 이상감지방법
JP2009008208A (ja) アクチュエータの制御システムおよびアクチュエータ
JP5039611B2 (ja) 自動変速機の過回転防止制御方法及び装置
JP2010209928A (ja) レンジ表示装置
JP4003395B2 (ja) 自動変速機の制御装置
CN113323998A (zh) 控制装置
JP2010221748A (ja) 車両用表示装置
JP2021089044A (ja) 変速制御装置

Legal Events

Date Code Title Description
TRDD Decision of grant or rejection written
A01 Written decision to grant a patent or to grant a registration (utility model)

Free format text: JAPANESE INTERMEDIATE CODE: A01

Effective date: 20100601

A01 Written decision to grant a patent or to grant a registration (utility model)

Free format text: JAPANESE INTERMEDIATE CODE: A01

A61 First payment of annual fees (during grant procedure)

Free format text: JAPANESE INTERMEDIATE CODE: A61

Effective date: 20100614

R151 Written notification of patent or utility model registration

Ref document number: 4539772

Country of ref document: JP

Free format text: JAPANESE INTERMEDIATE CODE: R151

FPAY Renewal fee payment (event date is renewal date of database)

Free format text: PAYMENT UNTIL: 20130702

Year of fee payment: 3

LAPS Cancellation because of no payment of annual fees