JP2010067426A - L型同軸コネクタ - Google Patents

L型同軸コネクタ Download PDF

Info

Publication number
JP2010067426A
JP2010067426A JP2008231758A JP2008231758A JP2010067426A JP 2010067426 A JP2010067426 A JP 2010067426A JP 2008231758 A JP2008231758 A JP 2008231758A JP 2008231758 A JP2008231758 A JP 2008231758A JP 2010067426 A JP2010067426 A JP 2010067426A
Authority
JP
Japan
Prior art keywords
bushing
coaxial connector
housing
opening
caulking
Prior art date
Legal status (The legal status is an assumption and is not a legal conclusion. Google has not performed a legal analysis and makes no representation as to the accuracy of the status listed.)
Granted
Application number
JP2008231758A
Other languages
English (en)
Other versions
JP4720881B2 (ja
Inventor
Katsumi Kozai
克己 幸西
Susumu Hashimoto
進 橋本
Current Assignee (The listed assignees may be inaccurate. Google has not performed a legal analysis and makes no representation or warranty as to the accuracy of the list.)
Murata Manufacturing Co Ltd
Original Assignee
Murata Manufacturing Co Ltd
Priority date (The priority date is an assumption and is not a legal conclusion. Google has not performed a legal analysis and makes no representation as to the accuracy of the date listed.)
Filing date
Publication date
Application filed by Murata Manufacturing Co Ltd filed Critical Murata Manufacturing Co Ltd
Priority to JP2008231758A priority Critical patent/JP4720881B2/ja
Priority to TW098126893A priority patent/TWI382607B/zh
Priority to US12/544,417 priority patent/US8047871B2/en
Priority to KR1020090084934A priority patent/KR101041318B1/ko
Priority to CN2009101734139A priority patent/CN101673909B/zh
Priority to EP09252155.8A priority patent/EP2175524B1/en
Publication of JP2010067426A publication Critical patent/JP2010067426A/ja
Application granted granted Critical
Publication of JP4720881B2 publication Critical patent/JP4720881B2/ja
Active legal-status Critical Current
Anticipated expiration legal-status Critical

Links

Images

Classifications

    • HELECTRICITY
    • H01ELECTRIC ELEMENTS
    • H01RELECTRICALLY-CONDUCTIVE CONNECTIONS; STRUCTURAL ASSOCIATIONS OF A PLURALITY OF MUTUALLY-INSULATED ELECTRICAL CONNECTING ELEMENTS; COUPLING DEVICES; CURRENT COLLECTORS
    • H01R9/00Structural associations of a plurality of mutually-insulated electrical connecting elements, e.g. terminal strips or terminal blocks; Terminals or binding posts mounted upon a base or in a case; Bases therefor
    • H01R9/03Connectors arranged to contact a plurality of the conductors of a multiconductor cable, e.g. tapping connections
    • H01R9/05Connectors arranged to contact a plurality of the conductors of a multiconductor cable, e.g. tapping connections for coaxial cables
    • H01R9/0518Connection to outer conductor by crimping or by crimping ferrule
    • HELECTRICITY
    • H01ELECTRIC ELEMENTS
    • H01RELECTRICALLY-CONDUCTIVE CONNECTIONS; STRUCTURAL ASSOCIATIONS OF A PLURALITY OF MUTUALLY-INSULATED ELECTRICAL CONNECTING ELEMENTS; COUPLING DEVICES; CURRENT COLLECTORS
    • H01R13/00Details of coupling devices of the kinds covered by groups H01R12/70 or H01R24/00 - H01R33/00
    • H01R13/46Bases; Cases
    • H01R13/502Bases; Cases composed of different pieces
    • H01R13/506Bases; Cases composed of different pieces assembled by snap action of the parts
    • HELECTRICITY
    • H01ELECTRIC ELEMENTS
    • H01RELECTRICALLY-CONDUCTIVE CONNECTIONS; STRUCTURAL ASSOCIATIONS OF A PLURALITY OF MUTUALLY-INSULATED ELECTRICAL CONNECTING ELEMENTS; COUPLING DEVICES; CURRENT COLLECTORS
    • H01R2103/00Two poles
    • HELECTRICITY
    • H01ELECTRIC ELEMENTS
    • H01RELECTRICALLY-CONDUCTIVE CONNECTIONS; STRUCTURAL ASSOCIATIONS OF A PLURALITY OF MUTUALLY-INSULATED ELECTRICAL CONNECTING ELEMENTS; COUPLING DEVICES; CURRENT COLLECTORS
    • H01R24/00Two-part coupling devices, or either of their cooperating parts, characterised by their overall structure
    • H01R24/38Two-part coupling devices, or either of their cooperating parts, characterised by their overall structure having concentrically or coaxially arranged contacts
    • H01R24/40Two-part coupling devices, or either of their cooperating parts, characterised by their overall structure having concentrically or coaxially arranged contacts specially adapted for high frequency
    • H01R24/54Intermediate parts, e.g. adapters, splitters or elbows
    • H01R24/545Elbows

Landscapes

  • Coupling Device And Connection With Printed Circuit (AREA)

Abstract

【課題】安価に作製可能なL型同軸コネクタを提供する。
【解決手段】ハウジング12は、開口を有していると共に、開口から挿入されるレセプタクルの外部導体と接触する円筒部20、及び、円筒部20に接続されていると共に、該開口を覆っている背面部21を有しており、1枚の金属板により作製されている。ブッシング14において円筒部20に収まっている部分の径は、開口の径以下の大きさを有している。ハウジング12は、背面部21から延在しているかしめ部26であって、ブッシング14を挟んで該背面部21と対向するように折り曲げられることにより、該ブッシング14をハウジング12に固定しているかしめ部26を、更に含んでいる。
【選択図】図2

Description

本発明は、L型同軸コネクタに関し、より特定的には、中心導体及び外導体を有するレセプタクルに着脱可能なL型同軸コネクタに関する。
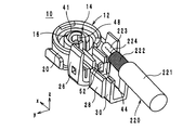
従来のL型同軸コネクタとしては、例えば、特許文献1に記載の同軸コネクタが知られている。図17は、特許文献1に記載の同軸コネクタ210及びレセプタクル230の分解斜視図である。
同軸コネクタ210は、ハウジング212、ブッシング214、ソケット216及び絶縁シート218により構成され、同軸ケーブル220の先端に取り付けられると共に、レセプタクル230に対して着脱される。同軸ケーブル220は、外導体222及び中心導体224を有している。また、レセプタクル230は、外部導体232及び中心導体234により構成されている。
ハウジング212は、図17に示すように、円筒部226、蓋部228及びかしめ部229により構成されており、同軸ケーブル220の外導体222と接続される。ブッシング214は、絶縁性材料により作製され、図17に示すように、ハウジング212の円筒部226内に取り付けられる。ソケット216は、ブッシング214に取り付けられると共に、同軸ケーブル220の中心導体224と接続される。絶縁シート218は、ソケット216と蓋部228との間に設けられる。ブッシング214、ソケット216及び絶縁シート218が、ハウジング212に対して取り付けられると、蓋部228が閉じられると共に、かしめ部229がかしめられる。これにより、円筒部226、蓋部228及び同軸ケーブル220が固定される。
前記のように構成された同軸コネクタ210は、レセプタクル230に装着される。具体的には、外部導体232が、円筒部226内に挿入されることにより、該円筒部226と接触すると共に、中心導体234が、ソケット216に挿入される。これにより、同軸ケーブル220の外導体222とレセプタクル230の外部導体232とが電気的に接続され、同軸ケーブル220の中心導体224とレセプタクル230の中心導体234とが電気的に接続される。
ところで、特許文献1に記載の同軸コネクタ210では、以下に説明するように、安価に作製することが困難であった。より詳細には、1枚の金属板に対してプレス加工等を施すことによりハウジング212を作製する。そして、ブッシング214、ソケット216及び絶縁シート218を、図17の状態のハウジング212に対して取り付けて、蓋部228を閉じると共に、かしめ部229をかしめる。
以上のように、同軸コネクタ210の製造では、図17の状態のハウジング212を作製する工程と、蓋部228を閉じる工程との間において、ブッシング214、ソケット216及び絶縁シート218を取り付ける工程を行っている。ここで、同軸コネクタ210の製造コスト低減の観点からは、ハウジング212の加工は、1つのライン上において連続して行われることが好ましい。したがって、図17の状態のハウジング212を作製する工程と、蓋部228を閉じる工程とは、1つのライン上において連続して行われることが好ましい。
しかしながら、同軸コネクタ210において、図17の状態のハウジング212を作製した直後に、蓋部228を閉じてしまうと、ブッシング214、ソケット216及び絶縁シート218を取り付けることができない。故に、同軸コネクタ210を安価に作製することは困難であった。
特開2006−228614号公報
そこで、本発明の目的は、安価に作製可能なL型同軸コネクタを提供することである。
本発明の一形態であるL型同軸コネクタは、中心導体及び外部導体を有するレセプタクルに着脱可能なL型同軸コネクタにおいて、第1の開口及び第2の開口を有していると共に、該第1の開口から挿入される前記外部導体と接触する円筒部、及び、該円筒部に接続されていると共に、該第2の開口を覆っている背面部を有しており、1枚の金属板により作製されているハウジングと、前記ハウジングに取り付けられているブッシングと、前記ブッシングに取り付けられ、かつ、該ブッシングにより前記ハウジングと絶縁されているソケットであって、前記中心導体と接続されるソケットと、を備え、前記ブッシングにおいて前記円筒部に収まっている部分の径は、前記第1の開口の径以下の大きさを有しており、前記ハウジングは、前記背面部から延在しているかしめ部であって、前記ブッシングを挟んで該背面部と対向するように折り曲げられることにより、該ブッシングを前記ハウジングに固定しているかしめ部を、更に含んでいること、を特徴とする。
本発明によれば、安価に作製可能なL型同軸コネクタを得ることができる。
以下に、本発明の一実施形態に係るL型同軸コネクタについて、図面を参照して説明する。
(L型同軸コネクタの構成)
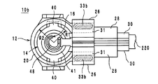
図1は、本発明の一実施形態に係るL型同軸コネクタ10の外観斜視図である。図2は、L型同軸コネクタ10の分解斜視図である。図3は、L型同軸コネクタ10の断面構造図である。図4は、L型同軸コネクタ10のハウジング12の組立て途中における斜視図である。図5は、L型同軸コネクタ10を平面視した図である。図1ないし図3(特に、図2参照)において、ハウジング12、ブッシング14及びソケット16が重ねられる方向をz軸方向とする。z軸方向の正方向は、ハウジング12からソケット16へと向かう方向である。また、同軸ケーブル220が延在している方向をx軸方向とし、x軸方向とz軸方向に直交する方向をy軸方向とする。x軸方向の正方向は、同軸ケーブル220からソケット16へと向かう方向である。
L型同軸コネクタ10は、図1及び図2に示すように、ハウジング12、ブッシング14及びソケット16により構成されており、同軸ケーブル220の先端に取り付けて用いられる。同軸ケーブル220は、絶縁膜221、外導体222、絶縁膜223及び中心導体224により構成されている。また、L型同軸コネクタ10は、図3(a)及び図3(b)に示すように、外部導体232及び中心導体234を有する示したレセプタクル230(外観斜視図については図17参照)に対して、着脱可能である。
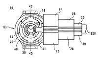
ハウジング12は、1枚の金属板(例えば、ばね用りん青銅)により作製され、図2及び図4に示すように、円筒部20、背面部21、固定部24及びかしめ部26,28,30により構成されている。円筒部20は、一部(x軸方向の負方向側の部分)が切り欠かれており、z軸方向の正方向側に位置する開口O1及びz軸方向の負方向側に位置する開口O2を有している。
背面部21は、円筒部20に接続されており、蓋部22及び延在部23により構成されている。背面部21上には、ブッシング14及び同軸ケーブル220が載置される。蓋部22は、円筒部20に接続されており、図4の状態から90度だけ折り曲げられて、図2に示すように、円筒部20の開口O2を覆う板状部材である。延在部23は、該蓋部22からx軸方向の負方向側に延在している板状部材である。
固定部24は、円筒部20に接続されていると共に、支持部31及び弾性部33により構成され、図2に示すように、ブッシング14とy軸方向に並んでいる。支持部31は、図4に示すように、z軸方向の正方向側から開口O1を平面視したときに、円筒部20の端部のそれぞれに設けられている。より詳細には、2つの支持部31は、円筒部20が切り欠かれることにより形成される2つの端部からx軸方向の負方向側へと延在し、互いに対向している板状部材である。
弾性部33は、図4に示すように、支持部31に接続されていると共に、支持部31に対向している板状部材である。より詳細には、支持部31と弾性部33とは、1枚の板状部材がU字型に折り曲げられることにより構成されている。また、弾性部33において、支持部31と対向している面と反対側の面には、凸部34が設けられている。
かしめ部26は、L型同軸コネクタ10の組立て前の状態において、図2に示すように、背面部21から垂直な方向(z軸方向)に向かって延在している板状部材である。かしめ部26は、2つ設けられており、背面部21を挟んで対向している。かしめ部26は、図1に示すように折り曲げられることにより、ブッシング14、ソケット16、同軸ケーブル220をハウジング12に固定する役割を果たす。
また、かしめ部26において、互いに対向している面には、図4に示すように、凹部32が設けられている。図4では、凹部32は、かしめ部26を貫通している孔である。凹部32と凸部34とは、図2に示すように、背面部21が折り曲げられた状態で、互いに係合し合う。凹部32及び凸部34は、かしめ部26が折り曲げられていない状態においても、ハウジング12の弾性力により、背面部21が円筒部20から離れることなく、蓋部22が開口O2を覆った状態を維持可能とする保持機構である。なお、凹部32が、弾性部33に設けられ、凸部34が、かしめ部26に設けられていてもよい。
かしめ部28,30は、L型同軸コネクタ10の組立て前の状態において、図4に示すように、背面部21から垂直な方向(z軸方向)に向かって延在している板状部材である。かしめ部28,30は、2つずつ設けられており、背面部21を挟んで対向している。すなわち、かしめ部28,30及び背面部21は、コ字型をなしている。ただし、かしめ部28,30及び背面部21は、例えば、U字型をなしていてもよい。かしめ部28,30は、図1に示すように折り曲げられることにより、同軸ケーブル220をハウジング12に固定する役割を果たす。以上のように、かしめ部26,28,30は、L型同軸コネクタ10の組立て前の状態において、z軸方向の正方向側から見たときに、図2に示すように、z軸方向に延在することにより、ブッシング14が載置されるべき背面部21が露出する構造を有している。
ブッシング14は、樹脂(例えば、液晶ポリマー)からなる絶縁体により構成されており、ハウジング12とソケット16とを絶縁する役割を果たしている。ブッシング14は、ハウジング12に取り付けられており、図2に示すように、円形部36及び保持部38により構成されている。
円形部36は、ソケット16を保持する役割を果たし、図2に示すように、背面部39、凸部40及び円筒部41により構成されている。背面部39は、z軸方向から平面視したときに、円形をなす板状部材であり、ブッシング14がハウジング12に取り付けられた際に、図1に示すように、円筒部20内に収まっている部分である(すなわち、凸部40は含まない)。また、該背面部39の半径R1は、図5に示すように、円筒部20の内周面の半径R2以下の大きさを有している。これにより、背面部39は、開口O1をz軸方向に通過することができる。
凸部40は、円形の背面部39の中心から遠ざかる方向(すなわち、半径方向)に向かって背面部39の外縁から延在している。更に、背面部39の中心から凸部40の先端までの距離は、円筒部20の内周面の半径R2よりも大きい。また、円筒部20の内周面には、図示しない凹部が設けられている。そこで、該凸部40は、図2に示すようにブッシング14がz軸方向の正方向側からハウジング12に押し込まれるようにして取り付けられた際に、図5に示すように、円筒部20の凹部に挿入される。これにより、ハウジング12からブッシング14が抜け落ちることを防止している。
円筒部41は、図2に示すように、背面部39のz軸方向の正方向側の面上に設けられ、z軸方向から平面視したときに、円環の一部が切り欠かれた形状を有している。図2では、円筒部41は、保持部38が接続されている部分が切り欠かれている。
保持部38は、ソケット16を保持する役割を果たし、図2に示すように、背面部42、支持部44及び蓋部46により構成されている。背面部42は、円形部36の背面部39からx軸方向の負方向側に向かって延在している長方形状の板状部材である。該背面部42上には、図2に示すように、ソケット16が載置される。
支持部44は、図2に示すように、背面部42から垂直な方向(z軸方向)に向かって延在している板状部材である。支持部44は、2つ設けられており、背面部42を挟んで対向しており、ソケット16がy軸方向にずれないように該ソケット16を支持する役割を果たす。蓋部46は、2つ設けられており、L型同軸コネクタ10の組立て前の状態において、支持部44のそれぞれからz軸方向の正方向側に向かって延在している板状部材である。蓋部46は、ブッシング14にソケット16及び同軸ケーブル220が取り付けられた後に、かしめ部26と共に折り曲げられることにより、ソケット16及び同軸ケーブル220をブッシング14に固定する役割を果たす。
ソケット16は、1枚の金属板(例えば、ばね用りん青銅)により作製され、図1及び図2に示すように、ブッシング14に取り付けられ、該ブッシング14によりハウジング12と絶縁されている。該ソケット16は、図2に示すように、円筒部48、背面部50及び取り付け部52により構成されている。円筒部48は、図2に示すように、背面部50のx軸方向の正方向側に接続されており、z軸方向から平面視したときに、円環の一部が切り欠かれた形状を有している。円筒部48の半径は、ブッシング14の円筒部41の半径よりも小さい。よって、円筒部48は、L型同軸コネクタ10が組立てられた際に、図1に示すように、円筒部41内に収まっている。
背面部50は、円筒部41からx軸方向の負方向側に延在している板状部材である。取り付け部52は、背面部50のx軸方向の負方向側の端部において、z軸方向の正方向側に折り曲げられて形成されており、同軸ケーブル220の中心導体224と接続される。より詳細には、取り付け部52は、隙間を介して2枚の板状部材が並ぶように作製されている。そして、同軸ケーブル220の中心導体224が取り付け部52の隙間にはさまれるように、z軸方向の正方向側から負方向側へと、同軸ケーブル220が取り付け部52に押さえつけられる。これにより、同軸ケーブル220の絶縁膜223の一部が取り付け部52により切断されて、取り付け部52と中心導体224とが接続される。
以上のように構成されたL型同軸コネクタ10は、以下に説明する手順により組立てられる。図6及び図7は、L型同軸コネクタ10の組立て途中における分解斜視図である。図8ないし図10は、L型同軸コネクタ10の組立て時における工程断面図である。
まず、図6に示すように、ハウジング12に対してブッシング14を取り付ける。より詳細には、円筒部20内に円形部36が収まると共に、支持部31間に保持部38が収まるように、z軸方向の正方向側からブッシング14をハウジング12に対して押し込むようにして取り付ける。この際、凸部40が、図5に示すように、円筒部20の凹部に挿入される。
次に、図6及び図7に示すように、ブッシング14に対してソケット16を取り付ける。より詳細には、円筒部41内に円筒部48が収まると共に、支持部44間に背面部50及び取り付け部52が収まるように、z軸方向の正方向側からソケット16をブッシング14に対して取り付ける(図6及び図7では、一方の支持部44のみ記載)。この状態では、かしめ部26が折り曲げられていないので、ブッシング14は、z軸方向の正方向に向かって露出している。
次に、図7に示すように、同軸ケーブル220をL型同軸コネクタ10に対して取り付ける。この際、同軸ケーブル220は、先端において、外導体222及び絶縁膜223が露出するように加工されている。ただし、中心導体224は、露出していない。絶縁膜223が取り付け部52上に位置し、外導体222がかしめ部28間に位置し、絶縁膜221がかしめ部30間に位置するように、同軸ケーブル220をL型同軸コネクタ10に載置する。
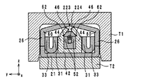
同軸ケーブル220を載置すると、かしめ部26,28,30のかしめ工程を行う。かしめ工程は、図8ないし図10に示すように、治具T1,T2を用いて行われる。まず、L型同軸コネクタ10を治具T2上に載置する。次に、図8に示すように、治具T1をz軸方向の正方向側から下降させる。治具T1は、図8に示すように、z軸方向の負方向側が開口したコ字型の断面構造を有している。そこで、治具T1内にL型同軸コネクタ10が収まるように、治具T1を下降させる。
治具T1を下降させていくと、かしめ部26が治具T1に接触する。かしめ部26には、図8に示すように、溝60が設けられているので、治具T1よりz軸方向の正方向側から力を受けると、該溝60において折れ曲がる。
更に、治具T1を下降させていくと、図9に示すように、かしめ部26は、蓋部46に接触する。図8に示すように、支持部44と蓋部46との間には、溝62が設けられている。そのため、蓋部46は、かしめ部26よりz軸方向の正方向側から力を受けると、図9に示すように、溝62において折れ曲がる。
蓋部46が折れ曲がると、同軸ケーブル220の絶縁膜223は、該蓋部46により取り付け部52に抑え付けられるようになる。このとき、絶縁膜223の一部は、取り付け部52により切断される。これにより、図9に示すように、同軸ケーブル220の中心導体224が、取り付け部52の隙間内に進入していく。
更に、治具T1を下降させていくと、図10に示すように、かしめ部26が閉じると共に、蓋部46が閉じる。この際、かしめ部26は、ブッシング14及び固定部24を挟んで背面部21と対向するように折り曲げられることにより、該ブッシング14をハウジング12に固定している。更に、固定部24は、y軸方向において、ブッシング14とかしめ部26との間に位置し、弾性部33は、かしめ部26に圧接するようになる。
また、同軸ケーブル220の中心導体224は、取り付け部52の隙間の間に位置するようになる。これにより、ソケット16と中心導体224とが電気的に接続されるようになる。
なお、かしめ部26のかしめ工程において、かしめ部28,30も同時にかしめることが可能である。かしめ部28は、外導体222の周囲を取り囲むようにかしめられる。これにより、ハウジング12と外導体222とは、かしめ部28において電気的に接続されるようになる。また、かしめ部30は、絶縁膜221を取り囲むようにかしめられる。以上の工程を経て、L型同軸コネクタ10は、図1に示すような構成を有するようになる。
次に、L型同軸コネクタ10のレセプタクル230への着脱について説明する。レセプタクル230は、図17に示すように、外部導体232及び中心導体234により構成されている。外部導体232は、円筒形状の電極である。中心導体234は、外部導体232の中心に延在している電極である。
前記L型同軸コネクタ10をレセプタクル230に装着する際には、図3(a)及び図3(b)に示すように、外部導体232を開口O1から円筒部20に挿入する。これにより、円筒部20の内周面と外部導体232の外周面とが接触し、同軸ケーブル220の外導体222とレセプタクル230の外部導体232とがハウジング12を介して電気的に接続されるようになる。この際、円筒部20は、外部導体232により押し広げられる。これにより、円筒部20の内周面が、外部導体232の外周面に圧接するようになり、L型同軸コネクタ10がレセプタクル230から容易に外れることが防止されている。
また、外部導体232が円筒部20に挿入されると同時に、図3(a)及び図3(b)に示すように、中心導体234がソケット16の円筒部48に挿入される。これにより、中心導体234の外周面と円筒部48の内周面とが接触し、同軸ケーブル220の中心導体224とレセプタクル230の中心導体234とがソケット16を介して電気的に接続されるようになる。
(効果)
以上のように構成されたL型同軸コネクタ10は、以下に説明するように、安価に作製可能である。より詳細には、L型同軸コネクタ10では、図5に示すように、背面部39の半径R1は、円筒部20の半径R2以下の大きさを有している。そのため、背面部39は、z軸方向の正方向側から円筒部20の開口O1を通過することができる。すなわち、背面部39をz軸方向の正方向側から取り付けることが可能である。更に、かしめ部26は、ブッシング14を挟んで背面部21と対向するように折り曲げられてブッシング14とハウジング12とを固定している。そのため、かしめ部26が折り曲げられる前の状態では、ブッシング14の保持部38は、図2に示すように、z軸方向の正方向側に向かって露出している。故に、ブッシング14の保持部38をz軸方向の正方向側からハウジング12に取り付けることが可能である。故に、L型同軸コネクタ10では、ブッシング14をz軸方向の正方向側からハウジング12に対して取り付けることができる。
前記のようにブッシング14をz軸方向の正方向側からハウジング12に対して取り付けることができる場合には、図2に示すように円筒部20の開口O2が背面部21により覆われた状態であっても、ブッシング14をハウジング12に対して取り付けることが可能となる。したがって、L型同軸コネクタ10では、図4に示すハウジング12を作製する工程と、背面部21を折り曲げる工程と1つのライン上において連続して行うことができる。その結果、L型同軸コネクタ10を安価に作製することが可能となる。
また、L型同軸コネクタ10によれば、以下に説明するように、ハウジング12を精度良く組み立てることができる。より詳細には、従来の同軸コネクタ210の製造では、図17の状態のハウジング212を作製する工程と、ハウジング212の蓋部228を閉じる工程とは異なる者により行われる。より詳細には、ハウジング212の作製は、プレス加工を専門とする者により行われるのに対して、蓋部228を閉じる工程は、プレス加工を専門としない者(同軸コネクタ210の生産者)により行われる。プレス加工を専門とする者は、プレス加工を専門としない者よりも、蓋部228を閉じるような金属加工を精度良く行うことができる。したがって、同軸コネクタ210の作製において、ハウジング212の蓋部228を閉じる工程は、プレス加工を専門とする者により行われることが望ましい。
しかしながら、プレス加工を専門とする者が蓋部228を閉じる工程を行うことは、製造コストの観点から好ましくない。より詳細には、蓋部228を閉じる工程は、ブッシング214等の取り付け工程後に行われる。そのため、同軸コネクタ210において、プレス加工を専門とする者が蓋部228を閉じるためには、プレス加工を専門としない者がブッシング214等を取り付けた後に、プレス加工を専門とする者に同軸コネクタ210の半製品を引き渡す必要がある。故に、プレス加工を専門とする者とプレス加工を専門としない者との間を同軸コネクタ210の半製品が行き来することになり、製造コストが大幅に増加してしまう。
一方、L型同軸コネクタ10では、背面部21が折り曲げられた状態のハウジング12に対して、ブッシング14及びソケット16を取り付けることが可能である。故に、L型同軸コネクタ10の生産者は、図2に示すように、背面部21が折り曲げられた状態のハウジング12を購入し、該ハウジング12に対してブッシング14及びソケット16を取り付けることにより、L型同軸コネクタ10を作製できる。そのため、ハウジング12の背面部21を折り曲げる工程は、プレス加工を専門とする者により行われるようになる。その結果、L型同軸コネクタ10では、ハウジング12が精度良く組立てられるようになる。
また、L型同軸コネクタ10では、図4に示すように、凹部32及び凸部34が設けられている。そのため、凹部32と凸部34とが係合することにより、固定部24に対してかしめ部26が固定されるようになる。その結果、かしめ部26がかしめられていない状態であっても、ハウジング12は、図2に示すように、背面部21が折り曲げられて開口O2を覆った状態を維持することができる。
(変形例)
L型同軸コネクタ10は、前記実施形態に示したものに限らない。よって、L型同軸コネクタ10は、その要旨の範囲内において、変更可能である。以下に、L型同軸コネクタ10の変形例について図面を参照しながら説明する。図11及び図12は、その他の組立て方によるL型同軸コネクタ10の組立て途中における分解斜視図である。
前記実施形態では、図6及び図7に示すように、ブッシング14をハウジング12に対して取り付けた後に、ソケット16をブッシング14に取り付けている。しかしながら、ブッシング14及びソケット16の取り付け順はこれに限らない。例えば、図11に示すように、ソケット16をブッシング14に取り付けた後に、図12に示すように、ブッシング14をハウジング12に取り付けるようにしてもよい。
また、ブッシング14では、図2に示すように、円筒部41に切り欠きが設けられている。このような切り欠きが設けられることにより、ソケット16をブッシング14に対してz軸方向の正方向側から取り付けることができるようになる。
しかしながら、ブッシング14では、図3(b)のAの位置において、ソケット16と外部導体232とが短絡するおそれがある。より詳細には、円筒部41に切り欠きが設けられていると、該切り欠きの部分において、ソケット16の背面部50は、z軸方向の正方向に向かって露出するようになる。このようなソケット16を有するL型同軸コネクタ10に対して、レセプタクル230が取り付けられると、背面部50が露出している部分において、背面部50と外部導体232とが近接してしまう。その結果、L型同軸コネクタ10がレセプタクル230に強く押し付けられてしまった場合等に、ソケット16と外部導体232とが短絡してしまうおそれがある。
そこで、図13の外観斜視図に示すブッシング14'を用いてもよい。図13に示すブッシング14'は、円筒部41に切り欠きが設けられていない。その代わり、ブッシング14'が、xz平面により2つに分割されている。更に、円筒部41の下面と背面部42の上面との間に隙間SP2が設けられている。隙間SP2を通過するように背面部42上にソケット16を載置する。そして、2つに分割されているブッシング14'を接合する。この後、ブッシング14'及び同軸ケーブル220を、図11及び図12に示した工程と同様の工程によりハウジング12に取り付ける。最後に、かしめ部26,28,30をかしめることにより、L型同軸コネクタ10が完成する。
図13に示すブッシング14'を用いた場合には、円筒部41に切り欠きが設けられていないので、ソケット16の背面部50がz軸方向の正方向側に向かって露出することがない。よって、L型同軸コネクタ10がレセプタクル230に強く押し付けられてしまった場合等においても、ソケット16と外部導体232とが短絡してしまうおそれがない。ただし、ブッシング14'を用いた場合には、ブッシング14'に対してソケット16を取り付けた後に、ブッシング14'をハウジング12に取り付ける必要がある。
また、前記実施形態に係るL型同軸コネクタ10では、弾性部33は、図2に示すように、支持部31をU字型に折り曲げて作製されているが、弾性部33の構造は、これに限らない。図14は、第1の変形例に係るL型同軸コネクタ10aを平面視した図である。図15は、第2の変形例に係るL型同軸コネクタ10bを平面視した図である。
L型同軸コネクタ10aでは、かしめ部26及び支持部31は、隙間SP3を空けて設けられた板状部材である。かしめ部26は、弾性部33aを備えている。より詳細には、弾性部33aは、かしめ部26の一部が折り曲げられて、支持部31に圧接している。該L型同軸コネクタ10aにおいても、L型同軸コネクタ10と同様に、かしめ部26と支持部31との間に弾性力を働かせることができるので、円筒部20が外部導体232に圧接する力を適切な大きさに設定することが容易となる。その結果、L型同軸コネクタ10aを適度な力でレセプタクルに着脱することができるようになる。なお、図14に示したL型同軸コネクタ10aでは、弾性部33aは、かしめ部26の一部が折り曲げられて作製されていると共に、支持部31に対して圧接しているが、弾性部33aは、例えば、支持部31の一部が折り曲げられて作成されていると共に、かしめ部26に対して圧接していてもよい。
また、弾性部33は、図15に示す弾性部33bのように、ハウジング12とは別体であってもよい。該弾性部33bは、かしめ部26と支持部31との間に設けられているエラストマーからなる弾性体である。該L型同軸コネクタ10bにおいても、L型同軸コネクタ10と同様に、かしめ部26と支持部31との間に弾性力を働かせることができるので、円筒部20が外部導体232に圧接する力を適切な大きさに設定することが容易となる。その結果、L型同軸コネクタ10bを適度な力でレセプタクルに着脱することができるようになる。
また、前記実施形態に係るL型同軸コネクタ10では、図5に示すように、背面部39から突出している凸部40と円筒部20の内周面に設けられている凹部とが係合することにより、ブッシング14がハウジング12から抜け落ちることを防止している。ただし、ブッシング14がハウジング12から抜け落ちることを防止する構成はこれに限らない。図16は、第3の変形例に係るL型同軸コネクタ10cを平面視した図である。
図16に示すように、ハウジング12は、開口O1において、円筒部20の内側に向かって突出している凸部60を更に備えていてもよい。これにより、凸部60は、z軸方向から平面視したときに、ブッシング14と僅かに重なることにより、ブッシング14がハウジング12から抜け落ちることを防止している。
本発明の一実施形態に係るL型同軸コネクタの外観斜視図である。 図1のL型同軸コネクタの分解斜視図である。 図1のL型同軸コネクタの断面構造図である。 図1のL型同軸コネクタのハウジングの組立て途中における斜視図である。 図1のL型同軸コネクタを平面視した図である。 図1のL型同軸コネクタの組立て途中における分解斜視図である。 図1のL型同軸コネクタの組立て途中における分解斜視図である。 図1のL型同軸コネクタの組立て時における工程断面図である。 図1のL型同軸コネクタの組立て時における工程断面図である。 図1のL型同軸コネクタの組立て時における工程断面図である。 その他の組立て方によるL型同軸コネクタの組立て途中における分解斜視図である。 その他の組立て方によるL型同軸コネクタの組立て途中における分解斜視図である。 変形例に係るブッシングの外観斜視図である。 第1の変形例に係るL型同軸コネクタを平面視した図である。 第2の変形例に係るL型同軸コネクタを平面視した図である。 第3の変形例に係るL型同軸コネクタを平面視した図である。 特許文献1に記載の同軸コネクタ及びレセプタクルの分解斜視図である。
符号の説明
O1,O2 開口
10,10a,10b,10c L型同軸コネクタ
12 ハウジング
14,14' ブッシング
16 ソケット
20,41,48 円筒部
21,39,42,50 背面部
22,46 蓋部
23 延在部
24 固定部
26,28,30 かしめ部
31,44 支持部
32 凹部
33,33a,33b 弾性部
34,40,60 凸部
36 円形部
38 保持部
52 取り付け部

Claims (7)

  1. 中心導体及び外部導体を有するレセプタクルに着脱可能なL型同軸コネクタにおいて、
    第1の開口及び第2の開口を有していると共に、該第1の開口から挿入される前記外部導体と接触する円筒部、及び、該円筒部に接続されていると共に、該第2の開口を覆っている背面部を有しており、1枚の金属板により作製されているハウジングと、
    前記ハウジングに取り付けられているブッシングと、
    前記ブッシングに取り付けられ、かつ、該ブッシングにより前記ハウジングと絶縁されているソケットであって、前記中心導体と接続されるソケットと、
    を備え、
    前記ブッシングにおいて前記円筒部に収まっている部分の径は、前記第1の開口の径以下の大きさを有しており、
    前記ハウジングは、
    前記背面部から延在しているかしめ部であって、前記ブッシングを挟んで該背面部と対向するように折り曲げられることにより、該ブッシングを前記ハウジングに固定しているかしめ部を、
    更に含んでいること、
    を特徴とするL型同軸コネクタ。
  2. 前記ハウジングは、
    前記かしめ部が折り曲げられていない状態においても、前記背面部が前記第2の開口を覆った状態を維持可能とする保持機構を、
    更に備えていること、
    を特徴とする請求項1に記載のL型同軸コネクタ。
  3. 前記ハウジングは、
    前記円筒部に接続され、前記背面部上において前記ブッシングと並んでいる固定部を、
    更に備え、
    前記かしめ部は、前記ブッシング及び前記固定部を挟んで前記背面部と対向するように折り曲げられており、
    前記保持機構は、前記かしめ部又は前記固定部のいずれか一方に設けられている第1の凸部と、該かしめ部又は該固定部のいずれか他方に設けられ、該第1の凸部と係合する第2の凹部とにより構成されていること、
    を特徴とする請求項2に記載のL型同軸コネクタ。
  4. 前記第2の開口から前記第1の開口へと向かう方向を第1の方向とした場合において、前記かしめ部が折り曲げられていない状態では、前記ブッシングは、前記ハウジングから前記第1の方向に向かって露出していること、
    を特徴とする請求項1ないし請求項3のいずれかに記載のL型同軸コネクタ。
  5. 前記ハウジングは、同軸ケーブルの外導体に電気的に接続され、
    前記ソケットは、前記同軸ケーブルの中心導体に電気的に接続されていること、
    を特徴とする請求項1ないし請求項4のいずれかに記載のL型同軸コネクタ。
  6. 前記ブッシングは、
    前記円筒部に収まっている部分の中心から延在している第2の凸部を、
    更に備え、
    前記第2の凸部は、前記円筒部の内周面に設けられた凹部に挿入されていること、
    を特徴とする請求項1ないし請求項5のいずれかに記載のL型同軸コネクタ。
  7. 前記ハウジングは、
    前記第1の開口において、前記円筒部の内側に向かって突出している第3の凸部を、
    更に備えていること、
    を特徴とする請求項1ないし請求項5のいずれかに記載のL型同軸コネクタ。
JP2008231758A 2008-09-10 2008-09-10 L型同軸コネクタ Active JP4720881B2 (ja)

Priority Applications (6)

Application Number Priority Date Filing Date Title
JP2008231758A JP4720881B2 (ja) 2008-09-10 2008-09-10 L型同軸コネクタ
TW098126893A TWI382607B (zh) 2008-09-10 2009-08-11 L型同軸連接器
US12/544,417 US8047871B2 (en) 2008-09-10 2009-08-20 L-shaped coaxial connector
KR1020090084934A KR101041318B1 (ko) 2008-09-10 2009-09-09 L형 동축 커넥터
CN2009101734139A CN101673909B (zh) 2008-09-10 2009-09-10 L型同轴连接器
EP09252155.8A EP2175524B1 (en) 2008-09-10 2009-09-10 L-shaped coaxial connector

Applications Claiming Priority (1)

Application Number Priority Date Filing Date Title
JP2008231758A JP4720881B2 (ja) 2008-09-10 2008-09-10 L型同軸コネクタ

Publications (2)

Publication Number Publication Date
JP2010067426A true JP2010067426A (ja) 2010-03-25
JP4720881B2 JP4720881B2 (ja) 2011-07-13

Family

ID=41664667

Family Applications (1)

Application Number Title Priority Date Filing Date
JP2008231758A Active JP4720881B2 (ja) 2008-09-10 2008-09-10 L型同軸コネクタ

Country Status (6)

Country Link
US (1) US8047871B2 (ja)
EP (1) EP2175524B1 (ja)
JP (1) JP4720881B2 (ja)
KR (1) KR101041318B1 (ja)
CN (1) CN101673909B (ja)
TW (1) TWI382607B (ja)

Cited By (3)

* Cited by examiner, † Cited by third party
Publication number Priority date Publication date Assignee Title
JP2011198528A (ja) * 2010-03-18 2011-10-06 Jst Mfg Co Ltd 同軸コネクタ及び基板用コネクタ
JP2016110709A (ja) * 2014-12-02 2016-06-20 ヒロセ電機株式会社 芯線の保持、固定機能を有した同軸ケーブルコネクタ
JP2021125441A (ja) * 2020-02-10 2021-08-30 ヒロセ電機株式会社 同軸電気コネクタ

Families Citing this family (15)

* Cited by examiner, † Cited by third party
Publication number Priority date Publication date Assignee Title
US8317540B2 (en) * 2010-10-13 2012-11-27 Shih-Chieh Chen Coaxial connector with shielding shell
JP5408239B2 (ja) * 2011-12-09 2014-02-05 株式会社村田製作所 取り付け方法
JP2013157113A (ja) 2012-01-27 2013-08-15 Hosiden Corp 同軸コネクタ
JP5763007B2 (ja) * 2012-04-19 2015-08-12 ヒロセ電機株式会社 電気コネクタ
CN102842838B (zh) * 2012-08-01 2015-01-07 番禺得意精密电子工业有限公司 线缆连接器的制造方法及其线缆连接器
JP5768989B2 (ja) * 2013-09-06 2015-08-26 第一精工株式会社 同軸コネクタ装置
US10224124B2 (en) 2014-01-07 2019-03-05 Minipumps, Llc Welding washers for microwire welding
CN104183985A (zh) * 2014-09-05 2014-12-03 江苏东升电子科技有限公司 一种带金属架的连接器
JP6593631B2 (ja) * 2015-09-24 2019-10-23 株式会社オートネットワーク技術研究所 コネクタ
JP6390862B2 (ja) * 2016-03-23 2018-09-19 Smk株式会社 L型同軸コネクタ
KR101788041B1 (ko) * 2016-05-04 2017-10-19 주식회사 기가레인 동축 케이블 커넥터
JP6693611B1 (ja) * 2018-08-10 2020-05-13 株式会社村田製作所 面実装型コネクタ及び面実装型コネクタセット
CN113196591B (zh) * 2018-12-19 2023-07-21 株式会社村田制作所 L型同轴连接器中的绝缘性部件的定位构造
DE102019117473A1 (de) * 2019-06-28 2020-12-31 Tesat-Spacecom Gmbh & Co. Kg Schaltungsanordnung bestehend aus zwei miteinander verbundenen Hochfrequenzkomponenten
JP7344150B2 (ja) * 2020-02-10 2023-09-13 ヒロセ電機株式会社 同軸電気コネクタの製造方法

Citations (5)

* Cited by examiner, † Cited by third party
Publication number Priority date Publication date Assignee Title
JP2003331997A (ja) * 2002-05-08 2003-11-21 Honda Tsushin Kogyo Co Ltd ミニ同軸コネクタ
JP2006179409A (ja) * 2004-12-24 2006-07-06 I-Pex Co Ltd L型同軸ケーブル用リセプタクルコネクタ
JP2006228614A (ja) * 2005-02-18 2006-08-31 Murata Mfg Co Ltd 同軸コネクタ及び通信装置
JP2008192369A (ja) * 2007-02-01 2008-08-21 Japan Aviation Electronics Industry Ltd コネクタ
JP2010020948A (ja) * 2008-07-09 2010-01-28 tian-mei Chen 同軸ケーブルのコネクタ

Family Cites Families (8)

* Cited by examiner, † Cited by third party
Publication number Priority date Publication date Assignee Title
JP2504704B2 (ja) * 1991-03-12 1996-06-05 ヒロセ電機株式会社 同軸ケ―ブル用コネクタと結線方法
JP3120692B2 (ja) * 1995-04-18 2000-12-25 株式会社村田製作所 同軸コネクタ
JP3679651B2 (ja) * 1999-07-30 2005-08-03 ヒロセ電機株式会社 L型同軸コネクタ
US6416357B1 (en) * 2001-03-12 2002-07-09 Hon Hai Precision Ind. Co., Ltd. Cable end connector with low profile after assembly
US6712645B1 (en) * 2003-04-22 2004-03-30 Input Output Precise Corporation Cable fixture of coaxial connector
JP4136924B2 (ja) 2003-12-19 2008-08-20 ヒロセ電機株式会社 同軸電気コネクタ
JP4549277B2 (ja) 2005-10-27 2010-09-22 矢崎総業株式会社 コネクタ
CN201054430Y (zh) 2007-01-31 2008-04-30 黄淑薰 线缆连接器改良结构

Patent Citations (5)

* Cited by examiner, † Cited by third party
Publication number Priority date Publication date Assignee Title
JP2003331997A (ja) * 2002-05-08 2003-11-21 Honda Tsushin Kogyo Co Ltd ミニ同軸コネクタ
JP2006179409A (ja) * 2004-12-24 2006-07-06 I-Pex Co Ltd L型同軸ケーブル用リセプタクルコネクタ
JP2006228614A (ja) * 2005-02-18 2006-08-31 Murata Mfg Co Ltd 同軸コネクタ及び通信装置
JP2008192369A (ja) * 2007-02-01 2008-08-21 Japan Aviation Electronics Industry Ltd コネクタ
JP2010020948A (ja) * 2008-07-09 2010-01-28 tian-mei Chen 同軸ケーブルのコネクタ

Cited By (4)

* Cited by examiner, † Cited by third party
Publication number Priority date Publication date Assignee Title
JP2011198528A (ja) * 2010-03-18 2011-10-06 Jst Mfg Co Ltd 同軸コネクタ及び基板用コネクタ
JP2016110709A (ja) * 2014-12-02 2016-06-20 ヒロセ電機株式会社 芯線の保持、固定機能を有した同軸ケーブルコネクタ
JP2021125441A (ja) * 2020-02-10 2021-08-30 ヒロセ電機株式会社 同軸電気コネクタ
JP7407611B2 (ja) 2020-02-10 2024-01-04 ヒロセ電機株式会社 同軸電気コネクタ

Also Published As

Publication number Publication date
KR101041318B1 (ko) 2011-06-14
CN101673909A (zh) 2010-03-17
KR20100030600A (ko) 2010-03-18
EP2175524A1 (en) 2010-04-14
TW201014069A (en) 2010-04-01
JP4720881B2 (ja) 2011-07-13
US20100062639A1 (en) 2010-03-11
TWI382607B (zh) 2013-01-11
US8047871B2 (en) 2011-11-01
EP2175524B1 (en) 2016-06-01
CN101673909B (zh) 2012-05-30

Similar Documents

Publication Publication Date Title
JP4720881B2 (ja) L型同軸コネクタ
JP4730415B2 (ja) L型同軸コネクタ
CN101685909B (zh) L型同轴连接器及其制造方法
US8616924B2 (en) Female terminal for connector
JP6840559B2 (ja) コネクタ
TWI548166B (zh) Coaxial connectors and connections
JP2021018905A (ja) コネクタ
JP5053759B2 (ja) ソケット端子
JP2021018906A (ja) コネクタ
US20180358740A1 (en) Shield connector and connector connection structure
TWI467858B (zh) Coaxial connector
JP2020072065A (ja) 改良した端子を備えた電源用コネクタ装置
KR102374774B1 (ko) 창을 갖는 동축 케이블 커넥터, 및 이 동축 케이블 커넥터를 이용한 동축 커넥터 장치
JP2008103152A (ja) ソケット端子
TWI458209B (zh) Installation of coaxial connectors
JP2013097914A (ja) 同軸コネクタ
JP2010176960A (ja) 電気コネクタ
CN110416839A (zh) 微型同轴连接器
TWM486193U (zh) 同軸連接器之結構改良

Legal Events

Date Code Title Description
A621 Written request for application examination

Free format text: JAPANESE INTERMEDIATE CODE: A621

Effective date: 20100201

A977 Report on retrieval

Free format text: JAPANESE INTERMEDIATE CODE: A971007

Effective date: 20100628

A131 Notification of reasons for refusal

Free format text: JAPANESE INTERMEDIATE CODE: A131

Effective date: 20100720

A521 Written amendment

Free format text: JAPANESE INTERMEDIATE CODE: A523

Effective date: 20100906

TRDD Decision of grant or rejection written
A01 Written decision to grant a patent or to grant a registration (utility model)

Free format text: JAPANESE INTERMEDIATE CODE: A01

Effective date: 20110308

A61 First payment of annual fees (during grant procedure)

Free format text: JAPANESE INTERMEDIATE CODE: A61

Effective date: 20110321

FPAY Renewal fee payment (event date is renewal date of database)

Free format text: PAYMENT UNTIL: 20140415

Year of fee payment: 3

R150 Certificate of patent or registration of utility model

Ref document number: 4720881

Country of ref document: JP

Free format text: JAPANESE INTERMEDIATE CODE: R150

Free format text: JAPANESE INTERMEDIATE CODE: R150