JP2010054523A - 撮像レンズ - Google Patents
撮像レンズ Download PDFInfo
- Publication number
- JP2010054523A JP2010054523A JP2007124819A JP2007124819A JP2010054523A JP 2010054523 A JP2010054523 A JP 2010054523A JP 2007124819 A JP2007124819 A JP 2007124819A JP 2007124819 A JP2007124819 A JP 2007124819A JP 2010054523 A JP2010054523 A JP 2010054523A
- Authority
- JP
- Japan
- Prior art keywords
- lens
- sub
- image side
- object side
- imaging
- Prior art date
- Legal status (The legal status is an assumption and is not a legal conclusion. Google has not performed a legal analysis and makes no representation as to the accuracy of the status listed.)
- Granted
Links
Images
Classifications
-
- G—PHYSICS
- G02—OPTICS
- G02B—OPTICAL ELEMENTS, SYSTEMS OR APPARATUS
- G02B13/00—Optical objectives specially designed for the purposes specified below
- G02B13/001—Miniaturised objectives for electronic devices, e.g. portable telephones, webcams, PDAs, small digital cameras
- G02B13/0055—Miniaturised objectives for electronic devices, e.g. portable telephones, webcams, PDAs, small digital cameras employing a special optical element
- G02B13/006—Miniaturised objectives for electronic devices, e.g. portable telephones, webcams, PDAs, small digital cameras employing a special optical element at least one element being a compound optical element, e.g. cemented elements
-
- G—PHYSICS
- G02—OPTICS
- G02B—OPTICAL ELEMENTS, SYSTEMS OR APPARATUS
- G02B1/00—Optical elements characterised by the material of which they are made; Optical coatings for optical elements
-
- G—PHYSICS
- G02—OPTICS
- G02B—OPTICAL ELEMENTS, SYSTEMS OR APPARATUS
- G02B1/00—Optical elements characterised by the material of which they are made; Optical coatings for optical elements
- G02B1/04—Optical elements characterised by the material of which they are made; Optical coatings for optical elements made of organic materials, e.g. plastics
- G02B1/041—Lenses
-
- G—PHYSICS
- G02—OPTICS
- G02B—OPTICAL ELEMENTS, SYSTEMS OR APPARATUS
- G02B13/00—Optical objectives specially designed for the purposes specified below
- G02B13/001—Miniaturised objectives for electronic devices, e.g. portable telephones, webcams, PDAs, small digital cameras
- G02B13/0015—Miniaturised objectives for electronic devices, e.g. portable telephones, webcams, PDAs, small digital cameras characterised by the lens design
- G02B13/002—Miniaturised objectives for electronic devices, e.g. portable telephones, webcams, PDAs, small digital cameras characterised by the lens design having at least one aspherical surface
- G02B13/0035—Miniaturised objectives for electronic devices, e.g. portable telephones, webcams, PDAs, small digital cameras characterised by the lens design having at least one aspherical surface having three lenses
-
- G—PHYSICS
- G02—OPTICS
- G02B—OPTICAL ELEMENTS, SYSTEMS OR APPARATUS
- G02B7/00—Mountings, adjusting means, or light-tight connections, for optical elements
- G02B7/008—Mountings, adjusting means, or light-tight connections, for optical elements with means for compensating for changes in temperature or for controlling the temperature; thermal stabilisation
-
- G—PHYSICS
- G02—OPTICS
- G02B—OPTICAL ELEMENTS, SYSTEMS OR APPARATUS
- G02B9/00—Optical objectives characterised both by the number of the components and their arrangements according to their sign, i.e. + or -
- G02B9/12—Optical objectives characterised both by the number of the components and their arrangements according to their sign, i.e. + or - having three components only
- G02B9/14—Optical objectives characterised both by the number of the components and their arrangements according to their sign, i.e. + or - having three components only arranged + - +
- G02B9/24—Optical objectives characterised both by the number of the components and their arrangements according to their sign, i.e. + or - having three components only arranged + - + two of the components having compound lenses
- G02B9/28—Optical objectives characterised both by the number of the components and their arrangements according to their sign, i.e. + or - having three components only arranged + - + two of the components having compound lenses the middle and rear components having compound lenses
Landscapes
- Physics & Mathematics (AREA)
- General Physics & Mathematics (AREA)
- Optics & Photonics (AREA)
- Lenses (AREA)
Abstract
【解決手段】第1レンズ14と、開口絞りSと、第2レンズ16と、第3レンズ18とを具え、物体側から像側に向って、この順に配列されて構成される撮像レンズである。第1レンズには、単レンズが用いられている。第2レンズは、物体側から像側に向って、第1サブレンズL1、第2サブレンズL2、及び第3サブレンズL3の順に配列されている。また、第3レンズは、物体側から像側に向って、第4サブレンズL4、第5サブレンズL5、及び第6サブレンズL6の順に配列されている。第1レンズは、透明硬化性シリコーン樹脂で形成され、第1、第3、第4、及び第6サブレンズも、透明硬化性シリコーン樹脂で形成されている。第2サブレンズ、及び第5サブレンズは、高軟化温度のガラス材料を用いて形成されている。
【選択図】図1
Description
0≦|N5-N6|≦0.1 (1-2)
0≦|ν5-ν4|≦30.0 (1-3)
0≦|ν5-ν6|≦30.0 (1-4)
0≦|N9-N8|≦0.1 (1-5)
0≦|N9-N10|≦0.1 (1-6)
0≦|ν9-ν8|≦30.0 (1-7)
0≦|ν9-ν10|≦30.0 (1-8)
ただし、
N4:前記第1サブレンズの屈折率
N5:前記第2サブレンズの屈折率
N6:前記第3サブレンズの屈折率
ν4:前記第1サブレンズのアッベ数
ν5:前記第2サブレンズのアッベ数
ν6:前記第3サブレンズのアッベ数
N8:前記第4サブレンズの屈折率
N9:前記第5サブレンズの屈折率
N10:前記第6サブレンズの屈折率
ν8:前記第4サブレンズのアッベ数
ν9:前記第5サブレンズのアッベ数
ν10:前記第6サブレンズのアッベ数
である。
0≦|N3-N4|≦0.1 (2-2)
0≦|ν3-ν2|≦30.0 (2-3)
0≦|ν3-ν4|≦30.0 (2-4)
0≦|N10-N9|≦0.1 (2-5)
0≦|N10-N11|≦0.1 (2-6)
0≦|ν10-ν9|≦30.0 (2-7)
0≦|ν10-ν11|≦30.0 (2-8)
ただし、
N2:前記第1サブレンズの屈折率
N3:前記第2サブレンズの屈折率
N4:前記第3サブレンズの屈折率
ν2:前記第1サブレンズのアッベ数
ν3:前記第2サブレンズのアッベ数
ν4:前記第3サブレンズのアッベ数
N9:前記第4サブレンズの屈折率
N10:前記第5サブレンズの屈折率
N11:前記第6サブレンズの屈折率
ν9:前記第4サブレンズのアッベ数
ν10:前記第5サブレンズのアッベ数
ν11:前記第6サブレンズのアッベ数
である。
0≦|N3-N4|≦0.1 (3-2)
0≦|ν3-ν2|≦30.0 (3-3)
0≦|ν3-ν4|≦30.0 (3-4)
0≦|N8-N7|≦0.1 (3-5)
0≦|N8-N9|≦0.1 (3-6)
0≦|ν8-ν7|≦30.0 (3-7)
0≦|ν8-ν9|≦30.0 (3-8)
ただし、
N2:第1サブレンズの屈折率
N3:第2サブレンズの屈折率
N4:第3サブレンズの屈折率
ν2:第1サブレンズのアッベ数
ν3:第2サブレンズのアッベ数
ν4:第3サブレンズのアッベ数
N7:第4サブレンズの屈折率
N8:第5サブレンズの屈折率
N9:第6サブレンズの屈折率
ν7:第4サブレンズのアッベ数
ν8:第5サブレンズのアッベ数
ν9:第6サブレンズのアッベ数
である。
0≦|N7-N8|≦0.1 (4-2)
0≦|ν7-ν6|≦30.0 (4-3)
0≦|ν7-ν8|≦30.0 (4-4)
ただし、
N6:前記第1サブレンズの屈折率
N7:前記第2サブレンズの屈折率
N8:前記第3サブレンズの屈折率
ν6:前記第1サブレンズのアッベ数
ν7:前記第2サブレンズのアッベ数
ν8:前記第3サブレンズのアッベ数
である。
0≦|N6-N7|≦0.1 (5-2)
0≦|ν6-ν5|≦30.0 (5-3)
0≦|ν6-ν7|≦30.0 (5-4)
ただし、
N5:前記第1サブレンズの屈折率
N6:前記第2サブレンズの屈折率
N7:前記第3サブレンズの屈折率
ν5:前記第1サブレンズのアッベ数
ν6:前記第2サブレンズのアッベ数
ν7:前記第3サブレンズのアッベ数
である。
0≦|N3-N4|≦0.1 (6-2)
0≦|ν3-ν2|≦30.0 (6-3)
0≦|ν3-ν4|≦30.0 (6-4)
ただし、
N2:前記第1サブレンズの屈折率
N3:前記第2サブレンズの屈折率
N4:前記第3サブレンズの屈折率
ν2:前記第1サブレンズのアッベ数
ν3:前記第2サブレンズのアッベ数
ν4:前記第3サブレンズのアッベ数
である。
ri は i番目の面の光軸上曲率半径、
di は i番目の面からi+1番目の面までの距離、
Nj は 絞りも含めて数えて第j番目に当たるレンズ(あるいはサブレンズ)の屈折率、及び
νjは 絞りも含めて数えて第j番目に当たるレンズ(あるいはサブレンズ)の素材のアッベ数、
をそれぞれ示す。
ただし、
Z : 面頂点に対する接平面からの深さ
c : 面の光軸上の曲率
h : 光軸からの高さ
k : 円錐定数
A0: 4次の非球面係数
B0: 6次の非球面係数
C0: 8次の非球面係数
D0: 10次の非球面係数
である。
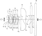
実施例1の撮像レンズは、この発明の第1形態の撮像レンズであって、第1の撮像レンズの実施例であり、図1及び図2に示すように、第1レンズ14と、開口絞りSと、第2レンズ16及び第3レンズ18とを具え、物体側から像側に向って、第1レンズ14、開口絞りS、第2レンズ16、第3レンズ18の順に配列されて構成されている。
(A)第1サブレンズL1の屈折率N4は、N4=1.51000である。
(B)第2サブレンズL2の屈折率N5は、N5=1.51633である。
(C)第3サブレンズL3の屈折率N6は、N6=1.51000である。
(D)第1サブレンズL1のアッベ数ν4は、ν4=56.0である。
(E)第2サブレンズL2のアッベ数ν5は、ν5=64.0である。
(F)第3サブレンズL3のアッベ数ν6は、ν6=56.0である。
(G)第4サブレンズL4の屈折率N8は、N8=1.51000である。
(H)第5サブレンズL5の屈折率N9は、N9=1.51633である。
(I)第6サブレンズL6の屈折率N10は、N10=1.51000である。
(J)第4サブレンズL4のアッベ数ν8は、ν8=56.0である。
(K)第5サブレンズL5のアッベ数ν9は、ν9=64.0である。
(L)第6サブレンズL6のアッベ数ν10は、ν10=56.0である。
0≦|N5-N6|≦0.1 (1-2)
0≦|ν5-ν4|≦30.0 (1-3)
0≦|ν5-ν6|≦30.0 (1-4)
0≦|N9-N8|≦0.1 (1-5)
0≦|N9-N10|≦0.1 (1-6)
0≦|ν9-ν8|≦30.0 (1-7)
0≦|ν9-ν10|≦30.0 (1-8)
ただし、
N4:前記第1サブレンズの屈折率
N5:前記第2サブレンズの屈折率
N6:前記第3サブレンズの屈折率
ν4:前記第1サブレンズのアッベ数
ν5:前記第2サブレンズのアッベ数
ν6:前記第3サブレンズのアッベ数
N8:前記第4サブレンズの屈折率
N9:前記第5サブレンズの屈折率
N10:前記第6サブレンズの屈折率
ν8:前記第4サブレンズのアッベ数
ν9:前記第5サブレンズのアッベ数
ν10:前記第6サブレンズのアッベ数
である。
実施例2の撮像レンズは、この発明の第1形態の撮像レンズであって、この発明の第2の撮像レンズの実施例であり、図6及び図7に示すように、開口絞り(第1絞り)S1と、第1レンズ14と、第2絞りS2と、第2レンズ16と、第3レンズ18とを具え、物体側から像側に向って、開口絞りS1、第1レンズ14、第2絞りS2、第2レンズ16、第3レンズ18の順に配列されて構成されている。
(A)第1サブレンズL1の屈折率N2は、N2=1.51000である。
(B)第2サブレンズL2の屈折率N3は、N3=1.51633である。
(C)第3サブレンズL3の屈折率N4は、N4=1.51000である。
(D)第1サブレンズL1のアッベ数ν2は、ν2=56.0である。
(E)第2サブレンズL2のアッベ数ν3は、ν3=64.0である。
(F)第3サブレンズL3のアッベ数ν4は、ν4=56.0である。
(G)第4サブレンズL4の屈折率N9は、N9=1.51000である。
(H)第5サブレンズL5の屈折率N10は、N10=1.51633である。
(I)第6サブレンズL6の屈折率N11は、N11=1.51000である。
(J)第4サブレンズL4のアッベ数ν9は、ν9=56.0である。
(K)第5サブレンズL5のアッベ数ν10は、ν10=64.0である。
(L)第6サブレンズL6のアッベ数ν11は、ν11=56.0である。
0≦|N3-N4|≦0.1 (2-2)
0≦|ν3-ν2|≦30.0 (2-3)
0≦|ν3-ν4|≦30.0 (2-4)
0≦|N10-N9|≦0.1 (2-5)
0≦|N10-N11|≦0.1 (2-6)
0≦|ν10-ν9|≦30.0 (2-7)
0≦|ν10-ν11|≦30.0 (2-8)
ただし、
N2:前記第1サブレンズの屈折率
N3:前記第2サブレンズの屈折率
N4:前記第3サブレンズの屈折率
ν2:前記第1サブレンズのアッベ数
ν3:前記第2サブレンズのアッベ数
ν4:前記第3サブレンズのアッベ数
N9:前記第4サブレンズの屈折率
N10:前記第5サブレンズの屈折率
N11:前記第6サブレンズの屈折率
ν9:前記第4サブレンズのアッベ数
ν10:前記第5サブレンズのアッベ数
ν11:前記第6サブレンズのアッベ数
である。
実施例3の撮像レンズは、この発明の第1形態の撮像レンズであって、この発明の第3の撮像レンズの実施例であり、図11及び図12に示すように、開口絞り(第1絞り)S1と、第1レンズ14と、第2絞りS2と、第2レンズ16と、第3レンズ18とを具え、物体側から像側に向って、第1絞りS1、第1レンズ14、第2絞りS2、第2レンズ16、第3レンズ18の順に配列されて構成されている。
(A)第1サブレンズL1の屈折率N2は、N2=1.53000である。
(B)第2サブレンズL2の屈折率N3は、N3=1.51633である。
(C)第3サブレンズL3の屈折率N4は、N4=1.53000である。
(D)第1サブレンズL1のアッベ数ν2は、ν2=35.0である。
(E)第2サブレンズL2のアッベ数ν3は、ν3=64.0である。
(F)第3サブレンズL3のアッベ数ν4は、ν4=35.0である。
(G)第4サブレンズL4の屈折率N7は、N7=1.60000である。
(H)第5サブレンズL5の屈折率N8は、N8=1.60342である。
(I)第6サブレンズL6の屈折率N9は、N9=1.60000である。
(J)第4サブレンズL4のアッベ数ν7は、ν7=30.0である。
(K)第5サブレンズL5のアッベ数ν8は、ν8=38.0である。
(L)第6サブレンズL6のアッベ数ν9は、ν9=30.0である。
0≦|N3-N4|≦0.1 (3-2)
0≦|ν3-ν2|≦30.0 (3-3)
0≦|ν3-ν4|≦30.0 (3-4)
0≦|N8-N7|≦0.1 (3-5)
0≦|N8-N9|≦0.1 (3-6)
0≦|ν8-ν7|≦30.0 (3-7)
0≦|ν8-ν9|≦30.0 (3-8)
ただし、
N2:第1サブレンズの屈折率
N3:第2サブレンズの屈折率
N4:第3サブレンズの屈折率
ν2:第1サブレンズのアッベ数
ν3:第2サブレンズのアッベ数
ν4:第3サブレンズのアッベ数
N7:第4サブレンズの屈折率
N8:第5サブレンズの屈折率
N9:第6サブレンズの屈折率
ν7:第4サブレンズのアッベ数
ν8:第5サブレンズのアッベ数
ν9:第6サブレンズのアッベ数
である。
実施例4の撮像レンズは、この発明の第1形態の撮像レンズであって、この発明の第1の撮像レンズの実施例であり、図16及び図17に示すように、第1レンズ14と、開口絞りSと、第2レンズ16と、第3レンズ18とを具え、物体側から像側に向って、第1レンズ14、開口絞りS、第2レンズ16、第3レンズ18の順に配列されて構成されている。
(A)第1サブレンズL1の屈折率N4は、N4=1.51000である。
(B)第2サブレンズL2の屈折率N5は、N5=1.51630である。
(C)第3サブレンズL3の屈折率N6は、N6=1.51000である。
(D)第1サブレンズL1のアッベ数ν4は、ν4=56.0である。
(E)第2サブレンズL2のアッベ数ν5は、ν5=64.0である。
(F)第3サブレンズL3のアッベ数ν6は、ν6=56.0である。
(G)第4サブレンズL4の屈折率N8は、N8=1.51000である。
(H)第5サブレンズL5の屈折率N9は、N9=1.51630である。
(I)第6サブレンズL6の屈折率N10は、N10=1.51000である。
(J)第4サブレンズL4のアッベ数ν8は、ν8=56.0である。
(K)第5サブレンズL5のアッベ数ν9は、ν9=64.0である。
(L)第6サブレンズL6のアッベ数ν10は、ν10=56.0である。
実施例5の撮像レンズは、この発明の第1形態の撮像レンズであって、この発明の第2の撮像レンズの実施例であり、図21及び図22に示すように、開口絞り(第1絞り)S1と、第1レンズ14と、第2絞りS2と、第2レンズ16と、第3レンズ18とを具え、物体側から像側に向って、第1絞りS1、第1レンズ14、第2絞りS2、第2レンズ16、第3レンズ18の順に配列されて構成されている。
(A)第1サブレンズL1の屈折率N2は、N2=1.51000である。
(B)第2サブレンズL2の屈折率N3は、N3=1.51633である。
(C)第3サブレンズL3の屈折率N4は、N4=1.51000である。
(D)第1サブレンズL1のアッベ数ν2は、ν2=56.0である。
(E)第2サブレンズL2のアッベ数ν3は、ν3=64.0である。
(F)第3サブレンズL3のアッベ数ν4は、ν4=56.0である。
(G)第4サブレンズL4の屈折率N9は、N9=1.51000である。
(H)第5サブレンズL5の屈折率N10は、N10=1.51633である。
(I)第6サブレンズL6の屈折率N11は、N11=1.51000である。
(J)第4サブレンズL4のアッベ数ν9は、ν9=56.0である。
(K)第5サブレンズL5のアッベ数ν10は、ν10=64.0である。
(L)第6サブレンズL6のアッベ数ν11は、ν11=56.0である。
実施例6の撮像レンズは、この発明の第1形態の撮像レンズであって、この発明の第3の撮像レンズの実施例であり、図26及び図27に示すように、開口絞り(第1絞り)S1と、第1レンズ14と、第2絞りS2と、第2レンズ16と、第3レンズ18とを具え、物体側から像側に向って、第1絞りS1、第1レンズ14、第2絞りS2、第2レンズ16、第3レンズ18の順に配列されて構成されている。
(A)第1サブレンズL1の屈折率N2は、N2=1.51000である。
(B)第2サブレンズL2の屈折率N3は、N3=1.51633である。
(C)第3サブレンズL3の屈折率N4は、N4=1.51000である。
(D)第1サブレンズL1のアッベ数ν2は、ν2=56.0である。
(E)第2サブレンズL2のアッベ数ν3は、ν3=64.0である。
(F)第3サブレンズL3のアッベ数ν4は、ν4=56.0である。
(G)第4サブレンズL4の屈折率N7は、N7=1.51000である。
(H)第5サブレンズL5の屈折率N8は、N8=1.51633である。
(I)第6サブレンズL6の屈折率N9は、N9=1.51000である。
(J)第4サブレンズL4のアッベ数ν7は、ν7=56.0である。
(K)第5サブレンズL5のアッベ数ν8は、ν8=64.0である。
(L)第6サブレンズL6のアッベ数ν9は、ν9=56.0である。
実施例7の撮像レンズは、この発明の第2形態の撮像レンズであって、第4の撮像レンズの実施例であり、図31及び図32に示すように、第1レンズ14と、開口絞りSと、第2レンズ16と、第3レンズ18とを具え、物体側から像側に向って、第1レンズ14、開口絞りS、第2レンズ16、第3レンズ18の順に配列されて構成されている。
(A)第1サブレンズL1の屈折率N6は、N6=1.51000である。
(B)第2サブレンズL2の屈折率N7は、N7=1.51633である。
(C)第3サブレンズL3の屈折率N8は、N8=1.51000である。
(D)第1サブレンズL1のアッベ数ν6は、ν6=56.0である。
(E)第2サブレンズL2のアッベ数ν7は、ν7=64.0である。
(F)第3サブレンズL3のアッベ数ν8は、ν8=56.0である。
0≦|N7-N8|≦0.1 (4-2)
0≦|ν7-ν6|≦30.0 (4-3)
0≦|ν7-ν8|≦30.0 (4-4)
ただし、
N6:前記第1サブレンズの屈折率
N7:前記第2サブレンズの屈折率
N8:前記第3サブレンズの屈折率
ν6:前記第1サブレンズのアッベ数
ν7:前記第2サブレンズのアッベ数
ν8:前記第3サブレンズのアッベ数
である。
実施例8の撮像レンズは、この発明の第2形態の撮像レンズであって、この発明の第5の撮像レンズの実施例であり、図36及び図37に示すように、開口絞り(第1絞り)S1と、第1レンズ14と、第2絞りS2と、第2レンズ16と、第3レンズ18とを具え、物体側から像側に向って、この順に配列されて構成されている。
(A)第1サブレンズL1の屈折率N5は、N5=1.60000である。
(B)第2サブレンズL2の屈折率N6は、N6=1.60342である。
(C)第3サブレンズL3の屈折率N7は、N7=1.60000である。
(D)第1サブレンズL1のアッベ数ν5は、ν5=30.0である。
(E)第2サブレンズL2のアッベ数ν6は、ν6=38.0である。
(F)第3サブレンズL3のアッベ数ν7は、ν7=30.0である。
0≦|N6-N7|≦0.1 (5-2)
0≦|ν6-ν5|≦30.0 (5-3)
0≦|ν6-ν7|≦30.0 (5-4)
ただし、
N5:前記第1サブレンズの屈折率
N6:前記第2サブレンズの屈折率
N7:前記第3サブレンズの屈折率
ν5:前記第1サブレンズのアッベ数
ν6:前記第2サブレンズのアッベ数
ν7:前記第3サブレンズのアッベ数
である。
実施例9の撮像レンズは、この発明の第2形態の撮像レンズであって、この発明の第6の撮像レンズの実施例であり、図41及び図42に示すように、開口絞り(第1絞り)S1と、第1レンズ14と、第2絞りS2と、第2レンズ16と、第3レンズ18とを具え、物体側から像側に向って、この順に配列されて構成されている。
(A)第1サブレンズL1の屈折率N2は、N2=1.53000である。
(B)第2サブレンズL2の屈折率N3は、N3=1.51633である。
(C)第3サブレンズL3の屈折率N4は、N4=1.53000である。
(D)第1サブレンズL1のアッベ数ν2は、ν2=35.0である。
(E)第2サブレンズL2のアッベ数ν3は、ν3=64.0である。
(F)第3サブレンズL3のアッベ数ν4は、ν4=35.0である。
0≦|N3-N4|≦0.1 (6-2)
0≦|ν3-ν2|≦30.0 (6-3)
0≦|ν3-ν4|≦30.0 (6-4)
ただし、
N2:前記第1サブレンズの屈折率
N3:前記第2サブレンズの屈折率
N4:前記第3サブレンズの屈折率
ν2:前記第1サブレンズのアッベ数
ν3:前記第2サブレンズのアッベ数
ν4:前記第3サブレンズのアッベ数
である。
接合型複合レンズは、サブレンズ同士を、直接接着あるいは間接接着することによって製造される。この間接接着は、既に述べたように、サブレンズ間に接着剤を介在させて実現される。この場合は、第1〜第3サブレンズを先ず形成し、接着剤を第2サブレンズの第1サブレンズ又は第3サブレンズに対向する面、あるいは、第1サブレンズ又は第3サブレンズの第2サブレンズに対抗する面に塗布して、両者を密着させれば良い。
12:カバーガラス
14:第1レンズ
16:第2レンズ
18:第3レンズ
20、30:金型
24、34:透明硬化性シリコーン樹脂
26:光学ガラス
36:第1サブレンズの物体側面
38:第3サブレンズの像側面
S:開口絞り
S1:第1絞り(開口絞り)
S2:第2絞り
L1:第1サブレンズ
L2:第2サブレンズ
L3:第3サブレンズ
L4:第4サブレンズ
L5:第5サブレンズ
L6:第6サブレンズ
Claims (19)
- 第1レンズと、第2レンズと、第3レンズとを具え、
該第1レンズ、該第2レンズ、及び該第3レンズのうち一つのレンズが、硬化性樹脂材料又は高軟化温度の光学レンズの形成用材料で形成される単レンズであって、
残りの二つのレンズが、それぞれ第1サブレンズ、第2サブレンズ、及び第3サブレンズの3枚のサブレンズをこの順に接着した状態にある接合型複合レンズであり、
該接合型複合レンズそれぞれは、
前記第1サブレンズ及び前記第3サブレンズが、硬化性樹脂材料で形成され、
前記第2サブレンズが、高軟化温度の光学レンズの形成用材料で形成される
ことを特徴とする撮像レンズ。 - 第1レンズと、第2レンズと、第3レンズとを具え、
該第1レンズ、該第2レンズ、及び該第3レンズのうち二つのレンズが、硬化性樹脂材料又は高軟化温度の光学レンズの形成用材料で形成される単レンズであって、
残りの一つのレンズが、第1サブレンズ、第2サブレンズ、及び第3サブレンズの3枚のサブレンズをこの順に接着した状態にある接合型複合レンズであり、
該接合型複合レンズは、
前記第1サブレンズ及び前記第3サブレンズが、硬化性樹脂材料で形成され、
前記第2サブレンズが、高軟化温度の光学レンズの形成用材料で形成される
ことを特徴とする撮像レンズ。 - 第1レンズと、開口絞りと、第2レンズと、第3レンズとを具え、
物体側から像側に向って、前記第1レンズ、前記開口絞り、前記第2レンズ、前記第3レンズの順に配列されて構成され、
前記第1レンズは、近軸上で物体側に凸面を向けたメニスカス形状の単レンズであり、
前記第2レンズは、物体側から像側に向って、第1サブレンズ、第2サブレンズ及び第3サブレンズの順に配列され、前記第1サブレンズと前記第2サブレンズとが接着され、かつ前記第2サブレンズと前記第3サブレンズとが接着された状態の接合型複合レンズであり、
前記第3レンズは、物体側から像側に向って、第4サブレンズ、第5サブレンズ及び第6サブレンズの順に配列され、前記第4サブレンズと前記第5サブレンズとが接着され、かつ前記第5サブレンズと前記第6サブレンズとが接着された状態の接合型複合レンズであり、
前記第1レンズが硬化性樹脂材料又は高軟化温度の光学レンズの形成用材料で形成され、
前記第1サブレンズ、前記第3サブレンズ、前記第4サブレンズ、及び前記第6サブレンズが硬化性樹脂材料で形成され、
前記第2サブレンズ、及び前記第5サブレンズが、高軟化温度の光学レンズの形成用材料で形成され、
以下の条件(1-1)〜(1-8)を満たすことを特徴とする撮像レンズ。
0≦|N5-N4|≦0.1 (1-1)
0≦|N5-N6|≦0.1 (1-2)
0≦|ν5-ν4|≦30.0 (1-3)
0≦|ν5-ν6|≦30.0 (1-4)
0≦|N9-N8|≦0.1 (1-5)
0≦|N9-N10|≦0.1 (1-6)
0≦|ν9-ν8|≦30.0 (1-7)
0≦|ν9-ν10|≦30.0 (1-8)
ただし、
N4:前記第1サブレンズの屈折率
N5:前記第2サブレンズの屈折率
N6:前記第3サブレンズの屈折率
ν4:前記第1サブレンズのアッベ数
ν5:前記第2サブレンズのアッベ数
ν6:前記第3サブレンズのアッベ数
N8:前記第4サブレンズの屈折率
N9:前記第5サブレンズの屈折率
N10:前記第6サブレンズの屈折率
ν8:前記第4サブレンズのアッベ数
ν9:前記第5サブレンズのアッベ数
ν10:前記第6サブレンズのアッベ数
である。 - 前記第2サブレンズが、平行平面ガラス板であって、
前記第1サブレンズが、近軸上で当該第1サブレンズの物体側面が物体側に凹面を向けた平凹レンズであり、
前記第3サブレンズが、近軸上で当該第3サブレンズの像側面が像側に凸面を向けた平凸レンズであり、
前記第5サブレンズが、平行平面ガラス板であって、
前記第4サブレンズが、近軸上で当該第4サブレンズの物体側面が物体側に凸面を向けた平凸レンズであり、
前記第6サブレンズが、近軸上で当該第6サブレンズの像側面が像側に凹面を向けた平凹レンズである
ことを特徴とする請求項3に記載の撮像レンズ。 - 前記第2サブレンズが、像側に凸面を向けたメニスカスレンズであって、
前記第1サブレンズが、近軸上で当該第1サブレンズの物体側面が物体側に凹面を向けたレンズであり、
前記第3サブレンズが、近軸上で当該第3サブレンズの像側面が像側に凸面を向けたレンズであり、
前記第5サブレンズが、両側の面が凸面である両凸レンズであって、
前記第4サブレンズが、近軸上で当該第4サブレンズの物体側面が物体側に凸面を向けたレンズであり、
前記第6サブレンズが、近軸上で当該第6サブレンズの像側面が像側に凹面を向けたレンズである
ことを特徴とする請求項3に記載の撮像レンズ。 - 開口絞り(第1絞り)と、第1レンズと、第2絞りと、第2レンズと、第3レンズとを具え、
物体側から像側に向って、前記開口絞り、前記第1レンズ、前記第2絞り、前記第2レンズ、前記第3レンズの順に配列されて構成され、
前記第1レンズは、物体側から像側に向って、第1サブレンズ、第2サブレンズ及び第3サブレンズの順に配列され、前記第1サブレンズと前記第2サブレンズとが接着され、かつ前記第2サブレンズと前記第3サブレンズとが接着された状態の接合型複合レンズであり、
前記第2レンズは、近軸上で像側に凸面を向けたメニスカス形状の単レンズであり、
前記第3レンズは、物体側から像側に向って、第4サブレンズ、第5サブレンズ及び第6サブレンズの順に配列され、前記第4サブレンズと前記第5サブレンズとが接着され、かつ前記第5サブレンズと前記第6サブレンズとが接着された状態の接合型複合レンズであり、
前記第2レンズが、硬化性樹脂材料又は高軟化温度の光学レンズの形成用材料で形成され、
前記第1サブレンズ、前記第3サブレンズ、前記第4サブレンズ、及び前記第6サブレンズが硬化性樹脂材料で形成され、
前記第2サブレンズ及び前記第5サブレンズが、高軟化温度の光学レンズの形成用材料で形成され、
以下の条件(2-1)〜(2-8)を満たすことを特徴とする撮像レンズ。
0≦|N3-N2|≦0.1 (2-1)
0≦|N3-N4|≦0.1 (2-2)
0≦|ν3-ν2|≦30.0 (2-3)
0≦|ν3-ν4|≦30.0 (2-4)
0≦|N10-N9|≦0.1 (2-5)
0≦|N10-N11|≦0.1 (2-6)
0≦|ν10-ν9|≦30.0 (2-7)
0≦|ν10-ν11|≦30.0 (2-8)
ただし、
N2:前記第1サブレンズの屈折率
N3:前記第2サブレンズの屈折率
N4:前記第3サブレンズの屈折率
ν2:前記第1サブレンズのアッベ数
ν3:前記第2サブレンズのアッベ数
ν4:前記第3サブレンズのアッベ数
N9:前記第4サブレンズの屈折率
N10:前記第5サブレンズの屈折率
N11:前記第6サブレンズの屈折率
ν9:前記第4サブレンズのアッベ数
ν10:前記第5サブレンズのアッベ数
ν11:前記第6サブレンズのアッベ数
である。 - 前記第2サブレンズが、並行平面ガラス板であって、
前記第1サブレンズが、近軸上で当該第1サブレンズの物体側面が物体側に凸面を向けた平凸レンズであり、
前記第3サブレンズが、近軸上で当該第3サブレンズの像側面が像側に凸面を向けた平凸レンズであり、
前記第5サブレンズが、平行平面ガラス板であって、
前記第4サブレンズが、近軸上で当該第4サブレンズの物体側面が物体側に凸面を向けた平凸レンズであり、
前記第6サブレンズが、近軸上で当該第6サブレンズの像側面が像側に凹面を向けた平凹レンズである
ことを特徴とする請求項6に記載の撮像レンズ。 - 前記第2サブレンズが、両側の面が凸面である両凸レンズであり、
前記第1サブレンズが、近軸上で当該第1サブレンズの物体側面が物体側に凸面を向けたレンズであり、
前記第3サブレンズが、近軸上で当該第3サブレンズの像側面が像側に凸面を向けたレンズであり、
前記第5サブレンズが、像側に凸面を向けたメニスカスレンズであって、
前記第4サブレンズが、近軸上で当該第4サブレンズの物体側面が物体側に凸面を向けたレンズであり、
前記第6サブレンズが、近軸上で当該第6サブレンズの像側面が像側に凹面を向けたレンズである
ことを特徴とする請求項6に記載の撮像レンズ。 - 開口絞り(第1絞り)と、第1レンズと、第2絞りと、第2レンズと、第3レンズとを具え、
物体側から像側に向って、前記開口絞り、前記第1レンズ、前記第2絞り、前記第2レンズ、前記第3レンズの順に配列されて構成され、
前記第1レンズは、物体側から像側に向って、第1サブレンズ、第2サブレンズ及び第3サブレンズの順に配列され、前記第1サブレンズと前記第2サブレンズとが接着され、かつ前記第2サブレンズと前記第3サブレンズとが接着された状態の接合型複合レンズであり、
前記第2レンズは、物体側から像側に向って、第4サブレンズ、第5サブレンズ及び第6サブレンズの順に配列され、前記第4サブレンズと前記第5サブレンズとが接着され、かつ前記第5サブレンズと前記第6サブレンズとが接着された状態の接合型複合レンズであり、
前記第3レンズは、近軸上で像側に凹面を向けたメニスカス形状の単レンズであり、
前記第1サブレンズ、前記第3サブレンズ、前記第4サブレンズ、及び前記第6サブレンズが硬化性樹脂材料で形成され、
前記第2サブレンズ、前記第5サブレンズが、高軟化温度の光学レンズの形成用材料で形成され、
前記第3レンズが、硬化性樹脂材料又は高軟化温度の光学レンズの形成用材料で形成され、
以下の条件(3-1)〜(3-8)を満たすことを特徴とする撮像レンズ。
0≦|N3-N2|≦0.1 (3-1)
0≦|N3-N4|≦0.1 (3-2)
0≦|ν3-ν2|≦30.0 (3-3)
0≦|ν3-ν4|≦30.0 (3-4)
0≦|N8-N7|≦0.1 (3-5)
0≦|N8-N9|≦0.1 (3-6)
0≦|ν8-ν7|≦30.0 (3-7)
0≦|ν8-ν9|≦30.0 (3-8)
ただし、
N2:第1サブレンズの屈折率
N3:第2サブレンズの屈折率
N4:第3サブレンズの屈折率
ν2:第1サブレンズのアッベ数
ν3:第2サブレンズのアッベ数
ν4:第3サブレンズのアッベ数
N7:第4サブレンズの屈折率
N8:第5サブレンズの屈折率
N9:第6サブレンズの屈折率
ν7:第4サブレンズのアッベ数
ν8:第5サブレンズのアッベ数
ν9:第6サブレンズのアッベ数
である。 - 前記第2サブレンズが、平行平面ガラス板であって、
前記第1サブレンズが、近軸上で当該第1サブレンズの物体側面が物体側に凸面を向けた平凸レンズであり、
前記第3サブレンズが、近軸上で当該第3サブレンズの像側面が像側に凸面を向けた平凸レンズであり、
前記第5サブレンズが、平行平面ガラス板であって、
前記第4サブレンズが、近軸上で当該第4サブレンズの物体側面が物体側に凹面を向けた平凹レンズであり、
前記第6サブレンズが、近軸上で当該第6サブレンズの像側面が像側に凸面を向けた平凸レンズである
ことを特徴とする請求項9に記載の撮像レンズ。 - 前記第2サブレンズが、両側の面が凸面である両凸レンズであって、
前記第1サブレンズが、近軸上で当該第1サブレンズの物体側面が物体側に凸面を向けたレンズであり、
前記第3サブレンズが、近軸上で当該第3サブレンズの像側面が像側に凸面を向けたレンズであり、
前記第5サブレンズが、像側に凸面を向けたメニスカスレンズであって、
前記第4サブレンズが、近軸上で当該第4サブレンズの物体側面が物体側に凹面を向けたレンズであり、
前記第6サブレンズが、近軸上で当該第6サブレンズの像側面が像側に凸面を向けたレンズである
ことを特徴とする請求項9に記載の撮像レンズ。 - 第1レンズと、開口絞りと、第2レンズと、第3レンズとを具え、
物体側から像側に向って、前記第1レンズ、前記開口絞り、前記第2レンズ、前記第3レンズの順に配列されて構成され、
前記第1レンズは、近軸上で物体側に凸面を向けたメニスカス形状の単レンズであり、
前記第2レンズは、近軸上で像側に凸面を向けたメニスカス形状の単レンズであり、
前記第3レンズは、物体側から像側に向って、第1サブレンズ、第2サブレンズ及び第3サブレンズの順に配列され、前記第1サブレンズと前記第2サブレンズとが接着され、かつ前記第2サブレンズと前記第3サブレンズとが接着された状態の接合型複合レンズであり、
前記第1レンズ、前記第2レンズ、前記第1サブレンズ、及び前記第3サブレンズが硬化性樹脂材料で形成され、
前記第2サブレンズが、高軟化温度の光学レンズの形成用材料で形成され、
以下の条件(4-1)〜(4-4)を満たすことを特徴とする撮像レンズ。
0≦|N7-N6|≦0.1 (4-1)
0≦|N7-N8|≦0.1 (4-2)
0≦|ν7-ν6|≦30.0 (4-3)
0≦|ν7-ν8|≦30.0 (4-4)
ただし、
N6:前記第1サブレンズの屈折率
N7:前記第2サブレンズの屈折率
N8:前記第3サブレンズの屈折率
ν6:前記第1サブレンズのアッベ数
ν7:前記第2サブレンズのアッベ数
ν8:前記第3サブレンズのアッベ数
である。 - 前記第2サブレンズが、平行平面ガラス板であって、
前記第1サブレンズが、近軸上で当該第1サブレンズの物体側面が物体側に凸面を向けた平凸レンズであり、
前記第3サブレンズが、近軸上で当該第3サブレンズの像側面が像側に凹面を向けた平凹レンズである
ことを特徴とする請求項12に記載の撮像レンズ。 - 開口絞り(第1絞り)と、第1レンズと、第2絞りと、第2レンズと、第3レンズとを具え、
物体側から像側に向って、前記開口絞り、前記第1レンズ、前記第2絞り、前記第2レンズ、前記第3レンズの順に配列されて構成され、
前記第1レンズは、両側の面が凸面である両凸レンズであり、
前記第2レンズは、物体側から像側に向って、第1サブレンズ、第2サブレンズ及び第3サブレンズの順に配列され、前記第1サブレンズと前記第2サブレンズとが接着され、かつ前記第2サブレンズと前記第3サブレンズとが接着された状態の接合型複合レンズであり、
前記第3レンズは、近軸上で像側に凹面を向けたメニスカス形状の単レンズであり、
前記第1レンズ、前記第1サブレンズ、及び前記第3サブレンズが硬化性樹脂材料で形成され、
前記第2サブレンズ、前記第3レンズが、高軟化温度の光学レンズの形成用材料で形成され、
以下の条件(5-1)〜(5-4)を満たすことを特徴とする撮像レンズ。
0≦|N6-N5|≦0.1 (5-1)
0≦|N6-N7|≦0.1 (5-2)
0≦|ν6-ν5|≦30.0 (5-3)
0≦|ν6-ν7|≦30.0 (5-4)
ただし、
N5:前記第1サブレンズの屈折率
N6:前記第2サブレンズの屈折率
N7:前記第3サブレンズの屈折率
ν5:前記第1サブレンズのアッベ数
ν6:前記第2サブレンズのアッベ数
ν7:前記第3サブレンズのアッベ数
である。 - 前記第2サブレンズが、平行平面ガラス板であって、
前記第1サブレンズが、近軸上で当該第1サブレンズの物体側面が物体側に凹面を向けた平凹レンズであり、
前記第3サブレンズが、近軸上で当該第3サブレンズの像側面が像側に凸面を向けた平凸レンズである
ことを特徴とする請求項14に記載の撮像レンズ。 - 開口絞り(第1絞り)と、第1レンズと、第2絞りと、第2レンズと、第3レンズとを具え、
物体側から像側に向って、前記開口絞り、前記第1レンズ、前記第2絞り、前記第2レンズ、前記第3レンズの順に配列されて構成され、
前記第1レンズが、物体側から像側に向って、第1サブレンズ、第2サブレンズ及び第3サブレンズの順に配列され、前記第1サブレンズと前記第2サブレンズとが接着され、かつ前記第2サブレンズと前記第3サブレンズとが接着された状態の接合型複合レンズであり、
前記第2レンズは、近軸上で像側に凸面を向けたメニスカス形状の単レンズであり、
前記第3レンズは、近軸上で像側に凹面を向けたメニスカス形状の単レンズであり、
前記第1サブレンズ、前記第3サブレンズ、前記第2レンズが硬化性樹脂材料で形成され、
前記第2サブレンズ、前記第3レンズが、高軟化温度の光学レンズの形成用材料で形成され、
以下の条件(6-1)〜(6-4)を満たすことを特徴とする撮像レンズ。
0≦|N3-N2|≦0.1 (6-1)
0≦|N3-N4|≦0.1 (6-2)
0≦|ν3-ν2|≦30.0 (6-3)
0≦|ν3-ν4|≦30.0 (6-4)
ただし、
N2:前記第1サブレンズの屈折率
N3:前記第2サブレンズの屈折率
N4:前記第3サブレンズの屈折率
ν2:前記第1サブレンズのアッベ数
ν3:前記第2サブレンズのアッベ数
ν4:前記第3サブレンズのアッベ数
である。 - 前記第2サブレンズが、平行平面ガラス板であって、
前記第1サブレンズが、近軸上で当該第1サブレンズの物体側面が物体側に凸面を向けた平凸レンズであり、
前記第3サブレンズが、近軸上で当該第3サブレンズの像側面が像側に凸面を向けた平凸レンズである
ことを特徴とする請求項16に記載の撮像レンズ。 - 前記第1レンズの物体側面、前記第1レンズの像側面、前記第2レンズの物体側面、前記第2レンズの像側面、前記第3レンズの物体側面、及び前記第3レンズの像側面が非球面であることを特徴とする請求項1〜17のいずれか一項に記載の撮像レンズ。
- 前記硬化性樹脂材料が、透明硬化性シリコーン樹脂であることを特徴とする請求項1〜18のいずれか一項に記載の撮像レンズ。
Priority Applications (7)
| Application Number | Priority Date | Filing Date | Title |
|---|---|---|---|
| JP2007124819A JP4022246B1 (ja) | 2007-05-09 | 2007-05-09 | 撮像レンズ |
| KR1020097002628A KR20090082882A (ko) | 2007-05-09 | 2007-12-18 | 촬상 렌즈 |
| PCT/JP2007/074293 WO2008139657A1 (ja) | 2007-05-09 | 2007-12-18 | 撮像レンズ |
| EP07850781A EP2023177A4 (en) | 2007-05-09 | 2007-12-18 | FIGURE LENS |
| US12/225,967 US7880981B2 (en) | 2007-05-09 | 2007-12-18 | Imaging lens |
| CN2007800125607A CN101421658B (zh) | 2007-05-09 | 2007-12-18 | 摄像镜头 |
| TW097116040A TW200903022A (en) | 2007-05-09 | 2008-05-01 | Imaging lens |
Applications Claiming Priority (1)
| Application Number | Priority Date | Filing Date | Title |
|---|---|---|---|
| JP2007124819A JP4022246B1 (ja) | 2007-05-09 | 2007-05-09 | 撮像レンズ |
Publications (2)
| Publication Number | Publication Date |
|---|---|
| JP4022246B1 JP4022246B1 (ja) | 2007-12-12 |
| JP2010054523A true JP2010054523A (ja) | 2010-03-11 |
Family
ID=38857856
Family Applications (1)
| Application Number | Title | Priority Date | Filing Date |
|---|---|---|---|
| JP2007124819A Active JP4022246B1 (ja) | 2007-05-09 | 2007-05-09 | 撮像レンズ |
Country Status (7)
| Country | Link |
|---|---|
| US (1) | US7880981B2 (ja) |
| EP (1) | EP2023177A4 (ja) |
| JP (1) | JP4022246B1 (ja) |
| KR (1) | KR20090082882A (ja) |
| CN (1) | CN101421658B (ja) |
| TW (1) | TW200903022A (ja) |
| WO (1) | WO2008139657A1 (ja) |
Cited By (1)
| Publication number | Priority date | Publication date | Assignee | Title |
|---|---|---|---|---|
| WO2013058111A1 (ja) * | 2011-10-20 | 2013-04-25 | コニカミノルタアドバンストレイヤー株式会社 | 撮像レンズ |
Families Citing this family (51)
| Publication number | Priority date | Publication date | Assignee | Title |
|---|---|---|---|---|
| JP3926380B1 (ja) * | 2006-12-07 | 2007-06-06 | マイルストーン株式会社 | 撮像レンズ |
| WO2008102773A1 (ja) * | 2007-02-19 | 2008-08-28 | Konica Minolta Opto, Inc. | 撮像レンズ、撮像装置、携帯端末、および撮像レンズの製造方法 |
| EP2113800A4 (en) * | 2007-02-19 | 2012-03-07 | Konica Minolta Opto Inc | LENS AND IMAGING DEVICE, AND MOBILE TERMINAL |
| JP4022246B1 (ja) * | 2007-05-09 | 2007-12-12 | マイルストーン株式会社 | 撮像レンズ |
| WO2009069467A1 (ja) * | 2007-11-29 | 2009-06-04 | Konica Minolta Opto, Inc. | 撮像レンズ、撮像装置及び携帯端末 |
| WO2009110311A1 (ja) * | 2008-03-07 | 2009-09-11 | コニカミノルタオプト株式会社 | 撮像レンズ、撮像装置及び撮像レンズの製造方法 |
| US8368786B2 (en) * | 2008-03-21 | 2013-02-05 | Konica Minolta Opto, Inc. | Image pickup lens including at least one lens block wherein a lens portion or lens portions are formed on a lens substrate, image pickup device, digital apparatus and manufacturing method of image pickup lens |
| WO2009125654A1 (ja) * | 2008-04-08 | 2009-10-15 | コニカミノルタオプト株式会社 | レンズブロックの製造方法、レンズブロック、撮像レンズ、撮像装置及び携帯端末 |
| JPWO2010047178A1 (ja) * | 2008-10-24 | 2012-03-22 | コニカミノルタオプト株式会社 | 撮像レンズ及び撮像装置並びに携帯端末 |
| JP5601857B2 (ja) * | 2009-04-07 | 2014-10-08 | 富士フイルム株式会社 | 撮像レンズおよび撮像装置、ならびに携帯端末機器 |
| JPWO2010143458A1 (ja) * | 2009-06-10 | 2012-11-22 | コニカミノルタアドバンストレイヤー株式会社 | 撮像レンズ及び撮像装置 |
| WO2010146899A1 (ja) * | 2009-06-16 | 2010-12-23 | コニカミノルタオプト株式会社 | 撮像レンズ、撮像装置及び携帯端末 |
| JP2011017764A (ja) * | 2009-07-07 | 2011-01-27 | Konica Minolta Opto Inc | 撮像レンズ,撮像装置及び携帯端末 |
| TWI421557B (zh) | 2009-07-14 | 2014-01-01 | 大立光電股份有限公司 | 攝像透鏡系統 |
| JP5589509B2 (ja) * | 2009-12-28 | 2014-09-17 | ソニー株式会社 | 光学ユニットおよび撮像装置 |
| JP5636713B2 (ja) | 2010-03-24 | 2014-12-10 | ソニー株式会社 | 光学ユニットおよび撮像装置 |
| NL2005164C2 (nl) * | 2010-07-28 | 2012-01-31 | Anteryon Internat B V | Optische eenheid. |
| TWI416198B (zh) | 2010-11-19 | 2013-11-21 | Largan Precision Co Ltd | 光學取像系統 |
| JP5664172B2 (ja) * | 2010-11-25 | 2015-02-04 | ソニー株式会社 | 光学ユニットおよび撮像装置 |
| TWI424216B (zh) | 2011-06-28 | 2014-01-21 | Largan Precision Co | 光學影像鏡組 |
| CN103048767B (zh) * | 2011-10-14 | 2016-05-11 | 鸿富锦精密工业(深圳)有限公司 | 镜头系统 |
| JP5861932B2 (ja) * | 2012-02-28 | 2016-02-16 | 株式会社オプトロジック | 撮像レンズ |
| TWI570467B (zh) | 2012-07-06 | 2017-02-11 | 大立光電股份有限公司 | 光學影像拾取系統組 |
| TWI449947B (zh) | 2012-08-13 | 2014-08-21 | Largan Precision Co Ltd | 影像鏡片系統組 |
| WO2014063106A1 (en) | 2012-10-18 | 2014-04-24 | The Arizona Board Of Regents On Behalf Of The University Of Arizona | Multi-resolution foveated endoscope/laparoscope |
| TWI467225B (zh) | 2013-10-29 | 2015-01-01 | Largan Precision Co Ltd | 影像拾取系統透鏡組、取像裝置及可攜裝置 |
| TWI472825B (zh) | 2013-11-13 | 2015-02-11 | Largan Precision Co Ltd | 取像透鏡組、取像裝置及可攜裝置 |
| TWI510804B (zh) | 2014-08-01 | 2015-12-01 | Largan Precision Co Ltd | 取像用光學鏡組、取像裝置及電子裝置 |
| TWI518360B (zh) | 2014-08-26 | 2016-01-21 | 大立光電股份有限公司 | 取像光學透鏡組、取像裝置以及電子裝置 |
| TWI548893B (zh) | 2014-11-12 | 2016-09-11 | 大立光電股份有限公司 | 攝影用光學鏡組、取像裝置及電子裝置 |
| WO2016118423A1 (en) * | 2015-01-22 | 2016-07-28 | Arizona Board Of Regents On Behalf Of The University Of Arizona | Low-cost compact disposable imaging probe |
| TWI588526B (zh) * | 2016-01-22 | 2017-06-21 | 大立光電股份有限公司 | 成像用光學鏡頭組、取像裝置及電子裝置 |
| TWI640809B (zh) | 2017-05-19 | 2018-11-11 | 大立光電股份有限公司 | 攝影鏡片系統、取像裝置及電子裝置 |
| TWI629503B (zh) | 2017-06-14 | 2018-07-11 | 大立光電股份有限公司 | 影像擷取鏡片系統組、取像裝置及電子裝置 |
| TWI640811B (zh) | 2017-06-16 | 2018-11-11 | 大立光電股份有限公司 | 攝像系統鏡片組、取像裝置及電子裝置 |
| TWI634360B (zh) | 2017-09-29 | 2018-09-01 | 大立光電股份有限公司 | 電子裝置 |
| TWI655474B (zh) | 2017-12-22 | 2019-04-01 | 大立光電股份有限公司 | 取像用光學鏡頭、取像裝置及電子裝置 |
| TWI652520B (zh) | 2018-03-02 | 2019-03-01 | 大立光電股份有限公司 | 電子裝置 |
| WO2019174433A1 (zh) | 2018-03-12 | 2019-09-19 | Oppo广东移动通信有限公司 | 激光投射模组、深度相机和电子装置 |
| CN108508618B (zh) * | 2018-03-12 | 2020-01-10 | Oppo广东移动通信有限公司 | 激光投射模组、深度相机和电子装置 |
| CN108303756B (zh) * | 2018-03-12 | 2020-01-10 | Oppo广东移动通信有限公司 | 激光投射模组、深度相机和电子装置 |
| CN108490631B (zh) * | 2018-03-12 | 2020-08-21 | Oppo广东移动通信有限公司 | 结构光投射器、图像获取结构和电子装置 |
| CN108594449B (zh) * | 2018-03-12 | 2020-01-10 | Oppo广东移动通信有限公司 | 激光投射模组、深度相机和电子装置 |
| CN108646425B (zh) * | 2018-04-03 | 2019-08-23 | Oppo广东移动通信有限公司 | 激光投射器、图像获取装置及电子设备 |
| TWI657282B (zh) | 2018-09-05 | 2019-04-21 | 大立光電股份有限公司 | 取像透鏡系統、取像裝置及電子裝置 |
| CN111142217A (zh) * | 2018-11-05 | 2020-05-12 | 致伸科技股份有限公司 | 影像采集装置 |
| TWI689746B (zh) | 2019-03-22 | 2020-04-01 | 大立光電股份有限公司 | 光學成像系統、取像裝置及電子裝置 |
| CN110244438B (zh) * | 2019-07-24 | 2024-05-14 | 浙江舜宇光学有限公司 | 光学成像系统 |
| TWI827857B (zh) * | 2020-07-03 | 2024-01-01 | 先進光電科技股份有限公司 | 光學成像系統 |
| CN111694133B (zh) * | 2020-07-23 | 2025-01-21 | 厦门力鼎光电股份有限公司 | 一种光学成像镜头 |
| TWI836347B (zh) | 2022-02-16 | 2024-03-21 | 大立光電股份有限公司 | 影像擷取鏡片系統組、取像裝置及電子裝置 |
Citations (9)
| Publication number | Priority date | Publication date | Assignee | Title |
|---|---|---|---|---|
| JPS5826003U (ja) * | 1981-08-14 | 1983-02-19 | 株式会社リコー | レンズ構造 |
| JPS5946601A (ja) * | 1982-09-09 | 1984-03-16 | Olympus Optical Co Ltd | ガラスレンズをインサ−トしたプラスチツクレンズ |
| JPS61203401A (ja) * | 1985-03-05 | 1986-09-09 | Mitsubishi Electric Corp | 一体型ハイブリツドレンズ及びその製造装置 |
| JPH03155514A (ja) * | 1989-02-09 | 1991-07-03 | Asahi Optical Co Ltd | 光情報記録再生装置の光学系 |
| JPH08313804A (ja) * | 1995-05-19 | 1996-11-29 | Olympus Optical Co Ltd | 広角レンズ |
| JP2002055274A (ja) * | 2000-08-11 | 2002-02-20 | Fuji Photo Optical Co Ltd | 光記録媒体用対物レンズおよびこれを用いた光ピックアップ装置 |
| JP2006133270A (ja) * | 2004-11-02 | 2006-05-25 | Matsushita Electric Ind Co Ltd | 撮影レンズ |
| JP2006323365A (ja) * | 2005-05-18 | 2006-11-30 | Samsung Electro-Mechanics Co Ltd | ウェーハスケールレンズ及びこれを具備する光学系 |
| JP2006337731A (ja) * | 2005-06-02 | 2006-12-14 | Olympus Corp | 2群ズームレンズ及びそれを備えた電子撮像装置 |
Family Cites Families (23)
| Publication number | Priority date | Publication date | Assignee | Title |
|---|---|---|---|---|
| US3524699A (en) * | 1967-05-13 | 1970-08-18 | Nippon Kogaku Kk | Symmetrical relay lens of equi-magnification |
| DE3127706A1 (de) | 1981-07-14 | 1983-02-10 | Krupp-Koppers Gmbh, 4300 Essen | Verfahren zur erzeugung von methanol-synthesegas |
| FR2642883B1 (ja) | 1989-02-09 | 1995-06-02 | Asahi Optical Co Ltd | |
| EP0989417A4 (en) * | 1997-06-06 | 2001-10-17 | Nippon Zeon Co | SHAPED MATERIAL FOR PLASTIC LENSES |
| JP2001242308A (ja) | 2000-03-01 | 2001-09-07 | Canon Electronics Inc | 複合レンズ及びその製造方法 |
| JP2001300944A (ja) | 2000-04-20 | 2001-10-30 | Sony Corp | 複合レンズの成形方法及び複合レンズ |
| JP2001305309A (ja) | 2000-04-25 | 2001-10-31 | Sony Corp | 複合レンズ |
| JP4467768B2 (ja) | 2000-11-20 | 2010-05-26 | ソニー株式会社 | 複合レンズ製造装置及び複合レンズ製造方法 |
| JP4443758B2 (ja) | 2000-11-20 | 2010-03-31 | ソニー株式会社 | 複合レンズ製造装置及び複合レンズ製造方法 |
| JP2003005031A (ja) | 2001-06-18 | 2003-01-08 | Milestone Kk | 撮像用レンズ |
| JP4051994B2 (ja) | 2002-04-23 | 2008-02-27 | ソニー株式会社 | 複合レンズの成型方法及び複合レンズ |
| JP2004053834A (ja) | 2002-07-18 | 2004-02-19 | Asahi Glass Co Ltd | 対物レンズ |
| JP3755149B2 (ja) | 2002-07-29 | 2006-03-15 | ミツミ電機株式会社 | カメラモジュールの基板への実装方法 |
| JP3915733B2 (ja) | 2003-04-25 | 2007-05-16 | ミツミ電機株式会社 | カメラモジュールの実装構造 |
| JP4158978B2 (ja) | 2003-08-06 | 2008-10-01 | Hoya株式会社 | ガラスモールドレンズの製造方法 |
| JP4598379B2 (ja) | 2003-09-08 | 2010-12-15 | セイコープレシジョン株式会社 | 絞り構造体およびこれを備えた複合レンズ装置 |
| JP2005258239A (ja) | 2004-03-15 | 2005-09-22 | Seiko Epson Corp | 画像形成装置 |
| JP2005305938A (ja) | 2004-04-23 | 2005-11-04 | Seiko Precision Inc | 複合レンズの製造方法 |
| JP4467388B2 (ja) | 2004-09-07 | 2010-05-26 | 三洋電機株式会社 | 複合レンズ、複合レンズの製造方法、及びレンズモジュール |
| JP2006195053A (ja) | 2005-01-12 | 2006-07-27 | Sony Corp | 複合レンズ、レンズ保持構造、レンズユニット及び撮像装置 |
| JP4781001B2 (ja) | 2005-04-26 | 2011-09-28 | 三洋電機株式会社 | 複合レンズの製造方法 |
| JP3799615B2 (ja) | 2005-10-17 | 2006-07-19 | ミツミ電機株式会社 | カメラモジュールの基板への実装方法 |
| JP4022246B1 (ja) * | 2007-05-09 | 2007-12-12 | マイルストーン株式会社 | 撮像レンズ |
-
2007
- 2007-05-09 JP JP2007124819A patent/JP4022246B1/ja active Active
- 2007-12-18 CN CN2007800125607A patent/CN101421658B/zh active Active
- 2007-12-18 WO PCT/JP2007/074293 patent/WO2008139657A1/ja not_active Ceased
- 2007-12-18 US US12/225,967 patent/US7880981B2/en active Active
- 2007-12-18 KR KR1020097002628A patent/KR20090082882A/ko not_active Ceased
- 2007-12-18 EP EP07850781A patent/EP2023177A4/en not_active Withdrawn
-
2008
- 2008-05-01 TW TW097116040A patent/TW200903022A/zh unknown
Patent Citations (9)
| Publication number | Priority date | Publication date | Assignee | Title |
|---|---|---|---|---|
| JPS5826003U (ja) * | 1981-08-14 | 1983-02-19 | 株式会社リコー | レンズ構造 |
| JPS5946601A (ja) * | 1982-09-09 | 1984-03-16 | Olympus Optical Co Ltd | ガラスレンズをインサ−トしたプラスチツクレンズ |
| JPS61203401A (ja) * | 1985-03-05 | 1986-09-09 | Mitsubishi Electric Corp | 一体型ハイブリツドレンズ及びその製造装置 |
| JPH03155514A (ja) * | 1989-02-09 | 1991-07-03 | Asahi Optical Co Ltd | 光情報記録再生装置の光学系 |
| JPH08313804A (ja) * | 1995-05-19 | 1996-11-29 | Olympus Optical Co Ltd | 広角レンズ |
| JP2002055274A (ja) * | 2000-08-11 | 2002-02-20 | Fuji Photo Optical Co Ltd | 光記録媒体用対物レンズおよびこれを用いた光ピックアップ装置 |
| JP2006133270A (ja) * | 2004-11-02 | 2006-05-25 | Matsushita Electric Ind Co Ltd | 撮影レンズ |
| JP2006323365A (ja) * | 2005-05-18 | 2006-11-30 | Samsung Electro-Mechanics Co Ltd | ウェーハスケールレンズ及びこれを具備する光学系 |
| JP2006337731A (ja) * | 2005-06-02 | 2006-12-14 | Olympus Corp | 2群ズームレンズ及びそれを備えた電子撮像装置 |
Cited By (1)
| Publication number | Priority date | Publication date | Assignee | Title |
|---|---|---|---|---|
| WO2013058111A1 (ja) * | 2011-10-20 | 2013-04-25 | コニカミノルタアドバンストレイヤー株式会社 | 撮像レンズ |
Also Published As
| Publication number | Publication date |
|---|---|
| US7880981B2 (en) | 2011-02-01 |
| CN101421658B (zh) | 2010-08-04 |
| TW200903022A (en) | 2009-01-16 |
| EP2023177A1 (en) | 2009-02-11 |
| KR20090082882A (ko) | 2009-07-31 |
| WO2008139657A1 (ja) | 2008-11-20 |
| EP2023177A4 (en) | 2009-05-20 |
| US20100165485A1 (en) | 2010-07-01 |
| CN101421658A (zh) | 2009-04-29 |
| JP4022246B1 (ja) | 2007-12-12 |
Similar Documents
| Publication | Publication Date | Title |
|---|---|---|
| JP4022246B1 (ja) | 撮像レンズ | |
| JP3946245B1 (ja) | 撮像レンズ | |
| JP3926380B1 (ja) | 撮像レンズ | |
| CN101553748B (zh) | 摄像镜头 | |
| CN101313239B (zh) | 摄像镜头 | |
| CN101490593B (zh) | 摄像镜头 | |
| JP3976780B1 (ja) | 撮像レンズ |
Legal Events
| Date | Code | Title | Description |
|---|---|---|---|
| TRDD | Decision of grant or rejection written | ||
| A01 | Written decision to grant a patent or to grant a registration (utility model) |
Free format text: JAPANESE INTERMEDIATE CODE: A01 Effective date: 20070925 |
|
| A61 | First payment of annual fees (during grant procedure) |
Free format text: JAPANESE INTERMEDIATE CODE: A61 Effective date: 20070928 |
|
| FPAY | Renewal fee payment (event date is renewal date of database) |
Free format text: PAYMENT UNTIL: 20101005 Year of fee payment: 3 |
|
| R150 | Certificate of patent or registration of utility model |
Ref document number: 4022246 Country of ref document: JP Free format text: JAPANESE INTERMEDIATE CODE: R150 Free format text: JAPANESE INTERMEDIATE CODE: R150 |
|
| FPAY | Renewal fee payment (event date is renewal date of database) |
Free format text: PAYMENT UNTIL: 20101005 Year of fee payment: 3 |
|
| S531 | Written request for registration of change of domicile |
Free format text: JAPANESE INTERMEDIATE CODE: R313531 |
|
| FPAY | Renewal fee payment (event date is renewal date of database) |
Free format text: PAYMENT UNTIL: 20101005 Year of fee payment: 3 |
|
| R350 | Written notification of registration of transfer |
Free format text: JAPANESE INTERMEDIATE CODE: R350 |
|
| FPAY | Renewal fee payment (event date is renewal date of database) |
Free format text: PAYMENT UNTIL: 20111005 Year of fee payment: 4 |
|
| R250 | Receipt of annual fees |
Free format text: JAPANESE INTERMEDIATE CODE: R250 |
|
| FPAY | Renewal fee payment (event date is renewal date of database) |
Free format text: PAYMENT UNTIL: 20111005 Year of fee payment: 4 |
|
| FPAY | Renewal fee payment (event date is renewal date of database) |
Free format text: PAYMENT UNTIL: 20121005 Year of fee payment: 5 |
|
| R250 | Receipt of annual fees |
Free format text: JAPANESE INTERMEDIATE CODE: R250 |
|
| FPAY | Renewal fee payment (event date is renewal date of database) |
Free format text: PAYMENT UNTIL: 20121005 Year of fee payment: 5 |
|
| FPAY | Renewal fee payment (event date is renewal date of database) |
Free format text: PAYMENT UNTIL: 20131005 Year of fee payment: 6 |
|
| R250 | Receipt of annual fees |
Free format text: JAPANESE INTERMEDIATE CODE: R250 |
|
| R250 | Receipt of annual fees |
Free format text: JAPANESE INTERMEDIATE CODE: R250 |
|
| R250 | Receipt of annual fees |
Free format text: JAPANESE INTERMEDIATE CODE: R250 |
|
| R250 | Receipt of annual fees |
Free format text: JAPANESE INTERMEDIATE CODE: R250 |
|
| S111 | Request for change of ownership or part of ownership |
Free format text: JAPANESE INTERMEDIATE CODE: R313113 |
|
| R350 | Written notification of registration of transfer |
Free format text: JAPANESE INTERMEDIATE CODE: R350 |
|
| R250 | Receipt of annual fees |
Free format text: JAPANESE INTERMEDIATE CODE: R250 |
|
| R250 | Receipt of annual fees |
Free format text: JAPANESE INTERMEDIATE CODE: R250 |
|
| R250 | Receipt of annual fees |
Free format text: JAPANESE INTERMEDIATE CODE: R250 |
|
| R250 | Receipt of annual fees |
Free format text: JAPANESE INTERMEDIATE CODE: R250 |
|
| R250 | Receipt of annual fees |
Free format text: JAPANESE INTERMEDIATE CODE: R250 |
|
| R250 | Receipt of annual fees |
Free format text: JAPANESE INTERMEDIATE CODE: R250 |
|
| R250 | Receipt of annual fees |
Free format text: JAPANESE INTERMEDIATE CODE: R250 |
|
| R250 | Receipt of annual fees |
Free format text: JAPANESE INTERMEDIATE CODE: R250 |
|
| R250 | Receipt of annual fees |
Free format text: JAPANESE INTERMEDIATE CODE: R250 |
|
| R250 | Receipt of annual fees |
Free format text: JAPANESE INTERMEDIATE CODE: R250 |
