JP2010034493A - 平角導線の端子への巻付け方法およびその巻付け方法を用いた電子部品の製造方法並びに平角導線の巻線装置 - Google Patents

平角導線の端子への巻付け方法およびその巻付け方法を用いた電子部品の製造方法並びに平角導線の巻線装置 Download PDF

Info

Publication number
JP2010034493A
JP2010034493A JP2009004057A JP2009004057A JP2010034493A JP 2010034493 A JP2010034493 A JP 2010034493A JP 2009004057 A JP2009004057 A JP 2009004057A JP 2009004057 A JP2009004057 A JP 2009004057A JP 2010034493 A JP2010034493 A JP 2010034493A
Authority
JP
Japan
Prior art keywords
nozzle
flat
terminal
conducting wire
winding
Prior art date
Legal status (The legal status is an assumption and is not a legal conclusion. Google has not performed a legal analysis and makes no representation as to the accuracy of the status listed.)
Granted
Application number
JP2009004057A
Other languages
English (en)
Other versions
JP5141562B2 (ja
Inventor
Ryuichi Kanbe
隆一 神戸
Current Assignee (The listed assignees may be inaccurate. Google has not performed a legal analysis and makes no representation or warranty as to the accuracy of the list.)
Denso Corp
Original Assignee
Denso Corp
Priority date (The priority date is an assumption and is not a legal conclusion. Google has not performed a legal analysis and makes no representation as to the accuracy of the date listed.)
Filing date
Publication date
Application filed by Denso Corp filed Critical Denso Corp
Priority to JP2009004057A priority Critical patent/JP5141562B2/ja
Publication of JP2010034493A publication Critical patent/JP2010034493A/ja
Application granted granted Critical
Publication of JP5141562B2 publication Critical patent/JP5141562B2/ja
Active legal-status Critical Current
Anticipated expiration legal-status Critical

Links

Images

Landscapes

  • Manufacturing Cores, Coils, And Magnets (AREA)
  • Coil Winding Methods And Apparatuses (AREA)

Abstract

【課題】平角導線の端子への巻付け方法およびその巻付け方法を用いた電子部品の製造方法並びに平角導線の巻線装置を提供する。
【解決手段】ノズル10から出た平角導線4の線端(巻き始め)を、ボビン2のターミナル部5におけるターミナル端子6基端部の始端保持部6tにおけるかしめ部6tbに差込んでかしめ固定する。次いで、ノズル10を、180度自転させるとともに、ノズル10をボビン2の始端保持部6tの周りに、自転とは反対周りに180度公転させつつ、所定の半ピッチ進行させる。さらに、ノズル10を自転させると共に、ノズル10を、自転とは反対周りに180度公転させつつ、所定の半ピッチ進行させる。
【選択図】図14

Description

本発明は、電子部品におけるコイル部品を形成するに当たり、平角線などの導線を巻付ける、平角導線の端子への巻付け方法およびその巻付け方法を用いた電子部品の製造方法並びに平角導線の巻線装置に関するものである。
従来、電子部品におけるコイル部品を形成する際、ボビンに巻付ける導線は、通常、断面形状が円形であり、そのために、例えば、特許文献1のように、端子の周囲をノズルが移動することで端子に導線を巻付け処理していた。
すなわち、特許文献1では、ノズルから繰り出した線材をボビンの軸線方向一端側に設けた巻回始端保持部に取り付けた後、線材をボビンの軸線方向中心側へ一定長引き出してからボビンの周方向へ屈曲させてボビンとノズルとの相対回転による巻線を開始するというコイルの巻線方法を開示している。
この巻線方法においては、ボビンを巻回始端保持部の側が固定端側となるように片持ち支持し、巻回始端保持部に取り付けた線材を、ボビンの自由端側へ引き出しつつ、ボビンと当接可能なコイル押えにより引き出された線材を、ボビンに押し付けた後、この押し付け位置から先の線材をノズルとボビンとの相対回転によりボビンの周方向へ屈曲させるようにしている。
特開平6−251972号公報
しかしながら、このような巻付け方法によって、平角導線の巻き付けを行うとすると、巻線装置のノズルの回転を止め、ノズルを端子の周囲を移動させた場合、端子に導線を巻付けることは可能であるが、導線が捩じられることにより、平角導線の一面が常に端子に接触するように、巻くことができない。
平角導線の一面が常に端子に接触した状態で巻かれないと、後の溶接工程(例えばヒュージング工程)を良好に行うことができず、溶接強度が不足する。
さらには、端子固定で、端子の周囲をノズルが移動すると、ノズルの穴の向きが相対的に移動してしまう。
本発明は、以上のような課題を改善するために提案されたものであって、平角線などの導線のように、強度の低い導線を効果的に巻付けることができる、平角導線の端子への巻付け方法およびその巻付け方法を用いた電子部品の製造方法並びに平角導線の巻線装置を提供することを目的とする。
上記の課題を解決するために、請求項1記載の発明では、平角導線(4)の始端側を端子へ巻付ける平角導線(4)の端子への巻付け方法であって、平角導線(4)の始端側を端子側に固定し、案内手段たるノズル(10)から平角導線(4)を引き出しつつ、ノズル(10)を介して平角導線(4)を所定角度自転させると共に、ノズル(10)を介して平角導線(4)を端子周囲に、自転と反対回りに同角度公転させつつ、端子延在方向に進行させることを特徴とする。
これにより、平角導線(4)を端子に巻付ける際、捩れが生じることなく、端子に平角導線(4)の一面が常に接触した状態で巻付けることができる。
請求項2に記載の発明では、平角導線(4)の終端側を端子へ巻付ける平角導線(4)の端子への巻付け方法であって、案内手段たるノズル(10)から平角導線(4)を引き出しつつ、ノズル(10)を介して平角導線(4)を所定角度自転させると共に、ノズル(10)を介して平角導線(4)を端子周囲に、自転と反対回りに同角度公転させつつ、端子延在方向に後退させ、平角導線(4)の終端側を端子側に固定することを特徴とする。
これにより、平角導線(4)を端子に巻付ける際、捩れが生じることなく、端子に平角導線(4)の一面が常に接触した状態で巻付けることができる。
請求項3に記載の発明では、平角導線(4)を端子側に、かしめ固定によって固定することを特徴とする。
これにより、コイル形成工程後、かしめ固定した箇所をヒュージングにより溶接工程を行うことができる。
請求項4に記載の発明では、電子部品におけるコイル部(1)を形成するに当たり、巻線装置(3)におけるノズル(10)から引き出された平角導線(4)を端子側に巻き止めて、ボビン(2)自体を回転させて、平角導線(4)をボビン(2)に巻付ける電子部品の製造方法において、平角導線(4)の始端側をボビン(2)に設けた巻回始端保持部(6t)に固定し、案内手段たるノズル(10)から平角導線(4)を引き出しつつ、ノズル(10)を介して平角導線(4)を所定角度自転させると共に、ノズル(10)を介して平角導線(4)を巻回始端保持部(6t)周囲に、自転と反対回りに同角度公転させつつ、巻回始端保持部(6t)延在方向に進行させることを特徴とする。
これにより、平角導線(4)を捩れることなく、端子に平角導線(4)の一面を常に接触した状態で巻付けることができ、後続する工程を支障なく実行することができる。
請求項5に記載の発明では、平角導線(4)を巻回始端保持部(6t)側に、かしめ固定によって固定することを特徴とする。
これにより、コイル形成工程後、かしめ固定した箇所をヒュージングにより溶接工程を行うことができる。
請求項6に記載の発明では、電子部品におけるコイル部(1)を形成するに当たり、巻線装置(3)におけるノズル(10)から引き出された平角導線(4)を端子側に巻き止めて、ボビン(2)自体を回転させて、平角導線(4)をボビン(2)に巻付ける電子部品の製造方法において、案内手段たるノズル(10)から平角導線(4)を引き出しつつ、ノズル(10)を介して平角導線(4)を所定角度自転させると共に、ノズル(10)を介して平角導線(4)をボビン(2)に設けた巻回終端保持部(7t)周囲に、自転と反対回りに同角度公転させつつ、巻回終端保持部(7t)延在方向に後退させ、平角導線(4)の終端側を巻回終端保持部(7t)側に固定することを特徴とする。
これにより、平角導線(4)を捩れることなく、端子に平角導線(4)の一面を常に接触した状態で巻付けることができ、後続する工程を支障なく実行することができる。
請求項7に記載の発明では、平角導線(4)を巻回終端保持部(7t)側に、かしめ固定によって固定することを特徴とする。
これにより、コイル形成工程後、かしめ固定した箇所をヒュージングにより溶接工程を行うことができる。
請求項8に記載の発明では、巻線装置(3)は、ボビン(2)を保持するための主軸(8)と、平角導線(4)を引き出して、案内手段たるノズル(10)を介して平角導線(4)を、移動調節可能に構成した可動部(9)と、ノズル(10)を軸回りに自転駆動するノズル回転用サーボモータ(11)とを備えたことを特徴とする。
巻付ける導線が平角導線(4)であっても、サーボモータ(11)によりノズル(10)を自転させつつ、可動部(9)により、ノズル(10)をボビン(2)における端子周囲に公転させることで、捩れが生じることなく、端子に巻付けることができる。
請求項9に記載の発明では、コイル部(1)を有する電子部品は、インジェクタであることを特徴とする。
これにより、インジェクタのコイル部(1)を高精度に巻付け工程を行うことができ、製品不良率低下に寄与することができる。
請求項10に記載の発明では、電子部品におけるコイル部(1)のボビン(2)に平角導線(4)を巻付ける平角導線の巻線装置(3)であって、コイル部(1)のボビン(2)を保持するための主軸(8)と、装置本体に巻回格納した平角導線(4)を、案内手段たるノズル(10)を介して引き出して、複数軸方向に移動操作可能に保持する可動部(9)と、平角導線(4)を、ノズル(10)を介してノズル(10)の軸回りに自転駆動するノズル回転用サーボモータ(11)とを備え、ノズル(10)を介して平角導線(4)を所定角度自転させると共に、自転と反対回りに同角度公転させつつ、ノズル(10)の軸延在方向に進行させるようにし、ノズル(10)における、ノズル(10)内の平角導線(4)の案内通路(10p)は、中途部位の断面が偏平形状であり、先端側の断面が円形状であることを特徴とする。
これにより、装置本体に巻回格納した平角導線(4)を、ノズル(10)を介して引き出すにあたり、案内通路(10p)を通過する際、中途の偏平部位において、捩れないように支えることができる。すなわち、可動部(9)によりノズル(10)を、複数軸方向に移動させてコイル部(1)のボビン(2)に平角導線(4)を巻付ける動作を行っても、捩れることはなく、しかも、ノズル(10)の先端が断面円形状であるため、ノズル(10)の巻回動作に、平角導線(4)は遅れることなく追随し、平角導線(4)に対し、無用のストレスがかかることはない。
さらに請求項11に記載の発明では、ノズル(10)における案内通路(10p)は、断面偏平形状の中途部位から断面円形状の先端に向かって内径が拡開していることを特徴とする。
ノズル(10)の断面偏平形状の中途部位から先端に向かって内径が拡開しているため、ノズル(10)の巻回動作に、一層、平角導線(4)は追随して捩れることなく、平角導線(4)に対し、無用のストレスがかかることはない。
なお、上記各手段の括弧内の符号は、後述する実施形態に記載の具体的手段との対応関係を示す一例である。
本発明によれば、平角導線を端子に巻付ける際、捩れが生じることなく、端子に平角導線の一面が常に接触した状態で巻付けることができる。このため、コイル形成工程後、かしめ固定した箇所を、後続する工程であるヒュージングにより溶接工程を効果的に行うことができる。
以上の巻付け方法を用いてインジェクタのコイル部を作製すれば、インジェクタの製品不良率低下に寄与することができる。
本発明に係る平角導線の端子への巻付け方法を実行するための巻線装置の一実施形態を示した、要部構成説明図である。 図1に示す巻線装置を用いて形成される電子部品のコイル部の一例を示す、構成説明図である。 図2に示す、コイル部の断面説明図である。 図3に示す図2に示す、コイル部のボビンに巻き付けられる導線の始端、終端を、絡げ、かしめ固定するための始端保持部の一例を示した、外観斜視図である。 ノズルの一具体例を示した断面説明図である。 図5aにおけるA−A線に沿う、切断矢視図である。 ノズルの別方向からの要部断面説明図である。 図4に示す始端保持部に対する、導線の絡げ、かしめ工程における途中経過時、並びにその際のノズルの動作の説明図である。 図4に示す始端保持部に対する、導線の絡げ、かしめ工程における途中経過時の、概略斜視図である。 図5aに示すノズルを介して、平角導線を引き出す際の、断面説明図である。 図4に示す始端保持部に対する、導線の絡げ、かしめ工程における途中経過時の、概略斜視図である。 図4に示す始端保持部に対する、導線の絡げ、かしめ工程における途中経過時の、概略斜視図である。 図4に示す始端保持部に対する、導線の絡げ、かしめ工程における途中経過時の、概略斜視図である。 図4に示す始端保持部に対する、導線の絡げ、かしめ工程における途中経過時の、概略斜視図である。 図4に示す始端保持部に対する、導線の絡げ、かしめ工程における途中経過時の、概略斜視図である。 図4に示す始端保持部に対する、導線の絡げ、かしめ工程における途中経過時の、概略斜視図である。 図4に示す始端保持部に対する、導線の絡げ、かしめ工程完了時の、概略斜視図である。
以下、本発明に係る平角導線の端子への巻付け方法を実施するための一例として、ここではコイル部を有する小型電子部品(例えばインジェクタ)の製造方法を挙げて説明する。
なおインジェクタは、図示は省略するが、例えば三方電磁弁と、オリフィスと油圧ピストンと、ノズル部とを備え、コンピュータの制御下に、三方電磁弁をONとして、制御室の高圧燃料がオリフィスを介して流出し、ノズルニードル弁が上昇して噴射が開始され、三方電磁弁をOFFとすることで、オリフィスを介して制御室に高圧燃料が加わり、油圧ピストンを介してニードル弁が下降して噴射を終了する機能を有している。そして、三方電磁弁における電磁コイルには、耐熱被膜が形成された平角導線(後述)が巻回されている。
図1に、上述のようなインジェクタを製造するために、インジェクタのコイル部1を形成する工程のうち、コイル部1のボビン2に、巻線装置3を用いて、平角導線4を巻付ける工程を示している。
インジェクタのコイル部1は、上述した三方電磁弁における電磁コイルであり、円筒状のボビン2と、ボビン2外周に一体的にターミナル部5を突設し、かかるターミナル部5に、外部と電気的に接続する長尺なターミナル端子6、7を平行状に突設している(図2、図3参照)。
そして、これらターミナル端子6、7基端部に、それぞれ、巻回される平角導線4の巻き始め、巻き終わりを絡めてかしめ止めする始端保持部6tと、終端保持部7tとを突設している。
始端保持部6t、終端保持部7tは、それぞれ端子上にターミナル端子6、7に突設したもので、平角導線4を絡める絡め部6ta、7taと、先端に設けて平角導線4を挟み込んでかしめ止めするかしめ部6tb、7tbとを備えている(図4参照)。かかるかしめ部6tb、7tbには、平角導線4の幅広一面を密着させて挟み込み、かしめ止めするようにしている。これにより、後の溶接工程(ヒュージング工程)を良好に行えるようにしている。
平角導線4は、断面長方形状の、表面に絶縁被膜(図示省略)を形成した、幅広面を有する金属銅線で構成している。
次に、図1に示した巻線装置3について、概略説明する。
巻線装置3は、コイル部1のボビン2を保持するための主軸8と、装置本体(図示省略)に巻回格納した平角導線4を引き出して、案内手段たるノズル10を介して平角導線4を、XYZ方向に移動操作可能に保持する可動部9と、平角導線4を、ノズル10を介してノズル10の軸回りに自転駆動するノズル回転用サーボモータ11とを備えている。
可動部9は、装置本体(図示省略)における駆動機構により、ノズル10を、ホルダ12を介して、XYZ軸方向に移動させる構成となっている。
この場合、ホルダ12は、X軸に平行に軸心を合わせてあり、軸心に沿って装置本体内に格納された平角導線4のロールから、平角導線4を引き出すための通路Rが形成されている。かかるホルダ12の先端にノズル10を同軸的に嵌合保持している。
ノズル10は、基端部を上記ホルダ12の先端に差込むように嵌入してホルダ12における通路Rに連通させている。かかるノズル10には、詳細は後述するが、案内通路10pの中途に、ガイドする平角導線4の外形に合わせた、偏平な偏平通路hが形成されている。
なお、以上のようなホルダ12は、X軸方向に安定して移動できるように支持する、支持腕13を備えている。
そして、ホルダ12には、ホルダ12の軸心、ノズル10の案内通路10pを通る軸心回りに、回動可能にノズル回転用サーボモータ11を動力的に回動可能に連結している。この場合、ホルダ12の外周に設けた受動プーリと、サーボモータ11の出力軸11aに装着した駆動プーリ11pとの間に掛け渡した動力伝達ベルト14によって、動力的に連結している。
なお、これら可動部9、可動部9搭載のノズル回転用サーボモータ11は、装置本体に格納された制御盤に設定された動作プログラムにより、後述する動作を行う設定となっている。
ここで、ノズル10について、図5a、図5b、図5cに一例を詳細に示し、説明する。
ノズル10は、ノズル10内の平角導線4の案内通路10pには、中途部位、すなわち先端寄りの中途部位には、断面が偏平形状の偏平通路hが設けられており、且つ、先端側の断面が円形状となっており、さらには、先端開口縁部が面取りされている。
かかるノズル10において、ホルダ12に同軸的に嵌入保持される、外径が太い基部側から、先端寄りの中途部位における偏平通路hまでの案内通路10pの内径は、偏平通路hから、先端側までの案内通路10pの内径に比較して大としている。
以上のようなノズル10の案内通路10pにおいて、先端側の断面円形の内径は、ここではΦ0.4程である。偏平通路hの断面において、長辺側が先端側の断面円形の内径と同様、Φ0.4である。一方、短辺側は、平角導線4の短辺(幅)の半分以下である、Φ0.18としている。
さらに、案内通路10pと中途部位における偏平通路h間の境界は、平角導線4が、円滑に案内通路10pから偏平通路hにもたらされるようにテーパー部tpを設けている。
次に、以上のような巻線装置3を使用した、平角導線4の端子への巻付け方法についてその手順を説明する。
平角導線4をインジェクタにおけるコイル部1に巻付けるに当たり、まず、ボビン2を巻線装置3の主軸8にセットする。なお、ノズル10は、当初、主軸8と直交方向(X軸方向)にある。
次に、ノズル10から出た平角導線4の線端(巻き始め)を、ボビン2のターミナル部5におけるターミナル端子6基端部の始端保持部6tにおけるかしめ部6tbに差込んでかしめ固定する。このとき、平角導線4の幅広一面が密着されるようにする(図6参照)。
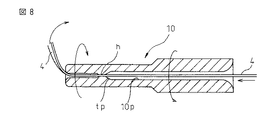
次いで、ノズル回転用サーボモータ11により、動力伝達ベルト14、ホルダ12、ノズル10を介して平角導線4を180度自転させると共に、巻線装置3における装置本体における駆動機構により、ノズル10を介して平角導線4を巻回始端保持部6t周囲に、自転と反対回りに180度公転させる。同時に、巻線装置3における装置本体における駆動機構により、ノズル10を、所定の半ピッチ進行させる(図7参照)。
その際、装置本体に巻回格納した平角導線4は、ノズル10を介して引き出され、案内通路10pを通過する際、中途の偏平通路hにより、捩れないように支えることができる。すなわち、可動部9によりノズル10を、XYZ軸方向に移動させてコイル部1のボビン2に平角導線4を巻付ける動作を行っても、捩れることはなく、しかも、ノズル10の先端が断面円形状であるため、ノズル10の巻回動作に、平角導線4は遅れることなく追随し、平角導線4に対し、無用のストレスがかかることはない(図8参照)。
さらに、ノズル10を、ノズル回転用サーボモータ11によりホルダ12を介して180度自転させ、装置本体における駆動機構により始端保持部6tの周りに、自転と反対回りに180度公転させつつ、所定の半ピッチ進行させる(図7、図10、図12参照)。
このように、ノズル10はボビン2の始端保持部6tの周りを自転しながら、公転する。
ノズル10の移動に伴い、平角導線4がノズル10から引き出される。
これにより、平角導線4の一面を始端保持部6tに確実に接触させた状態で、螺旋状に巻付けることができる。
以上のような動作を、4回繰り返すことで、720度回転移動したことになり、これにより、始端保持部6tの周りに平角導線4を2回巻付けることができる(図10〜図15参照)。
次に、巻線装置3における装置本体における駆動機構により、ホルダ12を介してノズル10をZ軸方向に移動させ、ボビン2の巻線位置にもたらす(図1参照)。
主軸8を回転させてボビン2を回転させると同時に、ノズル10を装置本体における駆動機構により、Z軸方向に往復移動させて、ボビン2に平角導線4を所定回数巻付ける。これにより、ボビン2に平角導線4のコイルとして形成することができる。
そして、平角導線4の始端側の絡げ動作と同様、巻線装置3における装置本体における駆動機構により、ノズル10をX軸方向に後退させつつ、ノズル回転用サーボモータ11により、動力伝達ベルト14、ホルダ12を介して、180度自転させる。
このとき、装置本体における駆動機構により、ノズル10をボビン2の終端保持部7tの周りを、自転とは反対回りに180度公転させる。
このようにして、ノズル10はボビン2の終端保持部7tの周りを自転しながら、公転することができる。
ノズル10の移動に伴い、平角導線4がノズル10から引き出される。
以上のような動作を、4回繰り返すことで、720度回転移動したことになり、これにより、終端保持部7tの周りに平角導線4を2回巻付けることができる。なお、以上の動作は、始端保持部6tへの巻付け工程と同じであり、逆に進行するだけであるので、図示は省略している。
そして、ノズル10を移動させて、平角導線4の終端側を、ボビン2のターミナル部5におけるターミナル端子7基端部の終端保持部7tにおけるかしめ部7tbに差込んでかしめ固定して切断し、コイル部1の端子巻付け、コイル形成工程を完了することができる。
以上のように、平角導線4をインジェクタのコイル部を構成するボビン2にコイル形成する際に、平角導線4を自転させるとともに、始端保持部6t、終端保持部7t周囲に、自転とは反対周りに公転させつつ、進行、後退させて平角導線4を引き出しながら、ボビン2のターミナル部5におけるターミナル端子6、7基端部の始端保持部6t、終端保持部7tに平角導線4の一面を捩れることなく、密着させた状態でかしめ固定し、コイルを形成することができるので、コイル形成工程の後のヒュージング工程による、溶接工程を良好に行うことができ、結果、不良品率を抑えた、インジェクタの製造を行うことができる。
以上、本発明に係る平角導線の端子への巻付け方法を実施するための巻線装置3を示し、説明したが、平角導線4の案内手段たるノズル10の構成は上述の構成に限られない。
すなわち、ノズル10における案内通路10pは、断面偏平形状の中途部位から断面円形状の先端に向かって内径が拡開する形状とすることもできる。
このような構成によれば、ノズル10の巻回動作に、一層、平角導線4は追随して捩れることなく、平角導線4に対し、無用のストレスがかかることはない。
さらに、本発明の本発明に係る平角導線の端子への巻付け方法を実施するための巻線装置3は、インジェクタのコイル部に限られないのはもちろんである。
1 コイル部
2 ボビン
3 巻線装置
4 平角導線
5 ターミナル部
6、7 ターミナル端子
6t 始端保持部
7t 終端保持部
6ta、7ta 絡め部
6tb、7tb かしめ部
8 主軸
9 可動部
10 ノズル
10p 案内通路
11 サーボモータ
11a 出力軸
11p 駆動プーリ
12 ホルダ
13 支持腕
14 動力伝達ベルト
R 通路
h 偏平通路
tp テーパ部

Claims (11)

  1. 平角導線(4)の始端側を端子へ巻付ける平角導線(4)の端子への巻付け方法であって、
    前記平角導線(4)の始端側を端子側に固定し、案内手段たるノズル(10)から前記平角導線(4)を引き出しつつ、前記ノズル(10)を介して平角導線(4)を所定角度自転させると共に、前記ノズル(10)を介して平角導線(4)を前記端子周囲に、前記自転と反対回りに同角度公転させつつ、前記端子延在方向に進行させることを特徴とする平角導線(4)の端子への巻付け方法。
  2. 平角導線(4)の終端側を端子へ巻付ける平角導線(4)の端子への巻付け方法であって、
    案内手段たるノズル(10)から前記平角導線(4)を引き出しつつ、前記ノズル(10)を介して前記平角導線(4)を所定角度自転させると共に、前記ノズル(10)を介して前記平角導線(4)を前記端子周囲に、前記自転と反対回りに同角度公転させつつ、前記端子延在方向に後退させ、
    前記平角導線(4)の終端側を端子側に固定することを特徴とする平角導線の端子への巻付け方法。
  3. 前記平角導線(4)を端子側に、かしめ固定によって固定することを特徴とする請求項1または2に記載の平角導線の端子への巻付け方法。
  4. 電子部品におけるコイル部(1)を形成するに当たり、巻線装置(3)におけるノズル(10)から引き出された平角導線(4)を端子側に巻き止めて、ボビン(2)自体を回転させて、前記平角導線(4)を前記ボビン(2)に巻付ける電子部品の製造方法において、
    前記平角導線(4)の始端側をボビン(2)に設けた巻回始端保持部(6t)に固定し、案内手段たるノズル(10)から前記平角導線(4)を引き出しつつ、前記ノズル(10)を介して平角導線(4)を所定角度自転させると共に、前記ノズル(10)を介して平角導線(4)を前記巻回始端保持部(6t)周囲に、前記自転と反対回りに同角度公転させつつ、前記巻回始端保持部(6t)延在方向に進行させることを特徴とする電子部品の製造方法。
  5. 前記平角導線(4)を前記巻回始端保持部(6t)側に、かしめ固定によって固定することを特徴とする請求項4に記載の電子部品の製造方法。
  6. 電子部品におけるコイル部(1)を形成するに当たり、巻線装置(3)におけるノズル(10)から引き出された平角導線(4)を端子側に巻き止めて、ボビン(2)自体を回転させて、前記平角導線(4)を前記ボビン(2)に巻付ける電子部品の製造方法において、
    案内手段たるノズル(10)から前記平角導線(4)を引き出しつつ、前記ノズル(10)を介して前記平角導線(4)を所定角度自転させると共に、前記ノズル(10)を介して前記平角導線(4)を前記ボビン(2)に設けた巻回終端保持部(7t)周囲に、前記自転と反対回りに同角度公転させつつ、前記巻回終端保持部(7t)延在方向に後退させ、
    前記平角導線(4)の終端側を前記巻回終端保持部(7t)側に固定することを特徴とする電子部品の製造方法。
  7. 前記平角導線(4)を前記巻回終端保持部(7t)側に、かしめ固定によって固定することを特徴とする請求項6に記載の電子部品の製造方法。
  8. 前記巻線装置(3)は、前記ボビン(2)を保持するための主軸(8)と、
    前記平角導線(4)を引き出して、案内手段たるノズル(10)を介して前記平角導線(4)を、移動調節可能に構成した可動部(9)と、
    前記ノズル(10)を軸回りに自転駆動するノズル回転用サーボモータ(11)と、
    を備えたことを特徴とする請求項4または6に記載の電子部品の製造方法。
  9. 前記コイル部(1)を有する電子部品は、インジェクタであることを特徴とする請求項4〜8記載のうち、いずれか1に記載の電子部品の製造方法。
  10. 電子部品におけるコイル部(1)のボビン(2)に平角導線(4)を巻付ける平角導線の巻線装置(3)であって、
    前記コイル部(1)のボビン(2)を保持するための主軸(8)と、
    装置本体に巻回格納した前記平角導線(4)を、案内手段たるノズル(10)を介して引き出して、複数軸方向に移動操作可能に保持する可動部(9)と、
    前記平角導線(4)を、前記ノズル(10)を介してノズル(10)の軸回りに自転駆動するノズル回転用サーボモータ(11)とを備え、
    前記ノズル(10)を介して平角導線(4)を所定角度自転させると共に、前記自転と反対回りに同角度公転させつつ、前記ノズル(10)の軸延在方向に進行させるようにし、
    前記ノズル(10)における、ノズル(10)内の前記平角導線(4)の案内通路(10p)は、中途部位の断面が偏平形状であり、先端側の断面が円形状であることを特徴とする平角導線の巻線装置。
  11. 前記ノズル(10)における案内通路(10p)は、前記断面偏平形状の中途部位から前記断面円形状の先端に向かって内径が拡開していることを特徴とする請求項10に記載の平角導線の巻線装置。
JP2009004057A 2008-06-25 2009-01-09 平角導線の端子への巻付けを含むボビンへの平角導線の巻線装置 Active JP5141562B2 (ja)

Priority Applications (1)

Application Number Priority Date Filing Date Title
JP2009004057A JP5141562B2 (ja) 2008-06-25 2009-01-09 平角導線の端子への巻付けを含むボビンへの平角導線の巻線装置

Applications Claiming Priority (3)

Application Number Priority Date Filing Date Title
JP2008166442 2008-06-25
JP2008166442 2008-06-25
JP2009004057A JP5141562B2 (ja) 2008-06-25 2009-01-09 平角導線の端子への巻付けを含むボビンへの平角導線の巻線装置

Publications (2)

Publication Number Publication Date
JP2010034493A true JP2010034493A (ja) 2010-02-12
JP5141562B2 JP5141562B2 (ja) 2013-02-13

Family

ID=41738587

Family Applications (1)

Application Number Title Priority Date Filing Date
JP2009004057A Active JP5141562B2 (ja) 2008-06-25 2009-01-09 平角導線の端子への巻付けを含むボビンへの平角導線の巻線装置

Country Status (1)

Country Link
JP (1) JP5141562B2 (ja)

Cited By (3)

* Cited by examiner, † Cited by third party
Publication number Priority date Publication date Assignee Title
CN102606789A (zh) * 2011-01-24 2012-07-25 株式会社鹭宫制作所 线圈及使用线圈的电磁阀
CN102682999A (zh) * 2012-05-13 2012-09-19 江苏有能电力自动化有限公司 消谐补偿变电装置多层箔式线圈绕线机
CN114242447A (zh) * 2022-02-25 2022-03-25 绵阳聚贤自动化设备有限公司 网络滤波器的绕脚头

Citations (3)

* Cited by examiner, † Cited by third party
Publication number Priority date Publication date Assignee Title
JPS5489248A (en) * 1977-12-27 1979-07-16 Showa Electric Wire & Cable Co Flat type wire coil winding machine
JPS642978A (en) * 1987-06-23 1989-01-06 Nippon Denso Co Ltd Wire winder
JPH06251972A (ja) * 1993-03-01 1994-09-09 Tanaka Seiki Kk コイルの巻線方法および巻線装置

Patent Citations (3)

* Cited by examiner, † Cited by third party
Publication number Priority date Publication date Assignee Title
JPS5489248A (en) * 1977-12-27 1979-07-16 Showa Electric Wire & Cable Co Flat type wire coil winding machine
JPS642978A (en) * 1987-06-23 1989-01-06 Nippon Denso Co Ltd Wire winder
JPH06251972A (ja) * 1993-03-01 1994-09-09 Tanaka Seiki Kk コイルの巻線方法および巻線装置

Cited By (6)

* Cited by examiner, † Cited by third party
Publication number Priority date Publication date Assignee Title
CN102606789A (zh) * 2011-01-24 2012-07-25 株式会社鹭宫制作所 线圈及使用线圈的电磁阀
JP2012156188A (ja) * 2011-01-24 2012-08-16 Saginomiya Seisakusho Inc コイルおよびコイルを用いた電磁弁
KR101320524B1 (ko) * 2011-01-24 2013-10-23 가부시키가이샤 사기노미야세이사쿠쇼 코일 및 코일을 이용한 전자 밸브
CN102682999A (zh) * 2012-05-13 2012-09-19 江苏有能电力自动化有限公司 消谐补偿变电装置多层箔式线圈绕线机
CN114242447A (zh) * 2022-02-25 2022-03-25 绵阳聚贤自动化设备有限公司 网络滤波器的绕脚头
CN114242447B (zh) * 2022-02-25 2022-05-20 绵阳聚贤自动化设备有限公司 网络滤波器的绕脚头

Also Published As

Publication number Publication date
JP5141562B2 (ja) 2013-02-13

Similar Documents

Publication Publication Date Title
CN103247436B (zh) 线圈的多线绕线装置及其多线绕线方法
JP5936268B2 (ja) 巻線装置及び線材の端子への絡げ方法
JP6292301B2 (ja) 巻線型電子部品の製造方法
EP1158649B1 (en) Stator winding method and winding device for electric motors
JP5239822B2 (ja) 巻線型コイル部品の製造方法
JP5701558B2 (ja) フライヤー式巻線方法
JP6112714B2 (ja) コイル製造装置
EP2732454B1 (en) Apparatus and method for winding poles of cores for electric dynamo machines
JP2017011132A (ja) ワイヤ巻回方法およびワイヤ巻回装置
JP5141562B2 (ja) 平角導線の端子への巻付けを含むボビンへの平角導線の巻線装置
JP2010135710A (ja) 多連巻きコイル巻線方法及び装置
CN108987099A (zh) 电感的绞线方法
JP5054424B2 (ja) 巻線方法、巻線機及び多極電機子用ワーク
CN112309708A (zh) 一种自动绞线绕线方法及设备
CN213905126U (zh) 一种自动绞线绕线设备
CN107424837B (zh) 铰线装置及其控制方法、共模电感绕线机及其绕线方法
JP2007074838A (ja) 回転電機におけるステータの巻線端末処理構造及び処理方法
JP5516067B2 (ja) コイル部品の製造装置
JP7449671B2 (ja) 巻線方法及び巻線機
JP3539180B2 (ja) 巻線機
JP5196568B2 (ja) 線材の絡げ方法
JP4301995B2 (ja) コイル部品の製造方法
JP4544148B2 (ja) 分割巻線型コイル部品の製造方法およびワイヤの巻線方法
JP2007250801A (ja) 巻線端末処理方法および装置
JP2007124897A (ja) 多極電機子の巻線方法及び巻線装置

Legal Events

Date Code Title Description
A621 Written request for application examination

Free format text: JAPANESE INTERMEDIATE CODE: A621

Effective date: 20110204

A977 Report on retrieval

Free format text: JAPANESE INTERMEDIATE CODE: A971007

Effective date: 20120309

A131 Notification of reasons for refusal

Free format text: JAPANESE INTERMEDIATE CODE: A131

Effective date: 20120327

A521 Request for written amendment filed

Free format text: JAPANESE INTERMEDIATE CODE: A523

Effective date: 20120502

TRDD Decision of grant or rejection written
A01 Written decision to grant a patent or to grant a registration (utility model)

Free format text: JAPANESE INTERMEDIATE CODE: A01

Effective date: 20121023

A01 Written decision to grant a patent or to grant a registration (utility model)

Free format text: JAPANESE INTERMEDIATE CODE: A01

A61 First payment of annual fees (during grant procedure)

Free format text: JAPANESE INTERMEDIATE CODE: A61

Effective date: 20121105

FPAY Renewal fee payment (event date is renewal date of database)

Free format text: PAYMENT UNTIL: 20151130

Year of fee payment: 3

R151 Written notification of patent or utility model registration

Ref document number: 5141562

Country of ref document: JP

Free format text: JAPANESE INTERMEDIATE CODE: R151

R250 Receipt of annual fees

Free format text: JAPANESE INTERMEDIATE CODE: R250

R250 Receipt of annual fees

Free format text: JAPANESE INTERMEDIATE CODE: R250

R250 Receipt of annual fees

Free format text: JAPANESE INTERMEDIATE CODE: R250

R250 Receipt of annual fees

Free format text: JAPANESE INTERMEDIATE CODE: R250

R250 Receipt of annual fees

Free format text: JAPANESE INTERMEDIATE CODE: R250

R250 Receipt of annual fees

Free format text: JAPANESE INTERMEDIATE CODE: R250

R250 Receipt of annual fees

Free format text: JAPANESE INTERMEDIATE CODE: R250

R250 Receipt of annual fees

Free format text: JAPANESE INTERMEDIATE CODE: R250

R250 Receipt of annual fees

Free format text: JAPANESE INTERMEDIATE CODE: R250

R250 Receipt of annual fees

Free format text: JAPANESE INTERMEDIATE CODE: R250

R250 Receipt of annual fees

Free format text: JAPANESE INTERMEDIATE CODE: R250