JP2010034278A - 半導体装置 - Google Patents

半導体装置 Download PDF

Info

Publication number
JP2010034278A
JP2010034278A JP2008194670A JP2008194670A JP2010034278A JP 2010034278 A JP2010034278 A JP 2010034278A JP 2008194670 A JP2008194670 A JP 2008194670A JP 2008194670 A JP2008194670 A JP 2008194670A JP 2010034278 A JP2010034278 A JP 2010034278A
Authority
JP
Japan
Prior art keywords
semiconductor chip
lead
semiconductor device
solder layer
protrusions
Prior art date
Legal status (The legal status is an assumption and is not a legal conclusion. Google has not performed a legal analysis and makes no representation as to the accuracy of the status listed.)
Granted
Application number
JP2008194670A
Other languages
English (en)
Other versions
JP5049221B2 (ja
Inventor
Masahiro Kawaguchi
真寛 川口
Current Assignee (The listed assignees may be inaccurate. Google has not performed a legal analysis and makes no representation or warranty as to the accuracy of the list.)
Rohm Co Ltd
Original Assignee
Rohm Co Ltd
Priority date (The priority date is an assumption and is not a legal conclusion. Google has not performed a legal analysis and makes no representation as to the accuracy of the date listed.)
Filing date
Publication date
Application filed by Rohm Co Ltd filed Critical Rohm Co Ltd
Priority to JP2008194670A priority Critical patent/JP5049221B2/ja
Publication of JP2010034278A publication Critical patent/JP2010034278A/ja
Application granted granted Critical
Publication of JP5049221B2 publication Critical patent/JP5049221B2/ja
Expired - Fee Related legal-status Critical Current
Anticipated expiration legal-status Critical

Links

Images

Classifications

    • H10W72/30
    • H10W72/931
    • H10W90/736

Landscapes

  • Die Bonding (AREA)
  • Lead Frames For Integrated Circuits (AREA)

Abstract

【課題】クラックなどの不良が生じにくく、安定した動作が可能な半導体装置を提供すること。
【解決手段】矩形状の半導体チップ1と、表面に半導体チップ1を搭載する板状のリード2と、半導体チップ1とリード2とを接着する緩衝部材3と、を備えた半導体装置A1であって、リード2の表面には、半導体チップ1との間に緩衝部材3が介在する複数の突起21が形成されており、複数の突起21は、リード2の厚み方向視において、半導体チップ1の四隅と重ならないように配置されていることを特徴とする。
【選択図】 図2

Description

本発明は、パワーモジュールなどの半導体装置に関する。
図9は、従来の半導体装置の一例を示している(たとえば特許文献1参照)。同図に示された半導体装置Xは、半導体チップ91、半導体チップ91を搭載するリード92、半導体チップ91とリード92とを接着するハンダ層93、および、これらを保護する樹脂パッケージ94を備えている。半導体チップ91は、たとえば、消費電力の多いパワートランジスタやパワーICである。このような半導体チップ91は動作時に大きな電圧がかかるため発熱し、半導体チップ91、リード92、ハンダ層93、および樹脂パッケージ94を膨張させる。膨張時および収縮時に、半導体チップ91、リード92、ハンダ層93、および樹脂パッケージ94の材料間の線膨張係数の差に起因して、応力が発生する。ハンダ層3は、ハンダ材が液相状態より冷却され凝固点に達したとき、Pbの溶け込んだα相と、Snの溶け込んだβ相という2つの固相状態となって凝固して形成される。α相とβ相は、半導体チップ91またはリード92との接合部において、凝固した直後は小さな粒子状態であり、一様に分布している。この状態のとき、ハンダ層3は、機械的特性に優れ、応力を緩和する性質を備えており、緩衝部材として機能することが期待されている。
しかしながら、ハンダ層3は、高温状態に置かれたり、応力を受け続けたりすると、α相およびβ相が溶け合ったり拡散したりしてより大きな粒子状態になるため、応力の緩和を十分に行えなくなることがあった。さらに、ハンダ層3にα相とβ相との境界を起点とするクラックが生じることがあり、半導体装置Xの故障の要因となっていた。また、ハンダ層93を形成する際に、加熱されて液状となったハンダ材がリード92上を流れやすいため、ハンダ層93を均一に設けるのは困難であり、半導体チップ91が傾いた状態で固定されてしまい不良となることがあった。
特許第3721073号公報
本発明は、上記した事情のもとで考え出されたものであって、不良が生じにくく、安定した動作が可能な半導体装置を提供することを課題とする。
本発明によって提供される半導体装置は、矩形状の半導体チップと、表面に上記半導体チップを搭載する板状のリードと、上記半導体チップと上記リードとを接着する緩衝部材と、を備えた半導体装置であって、上記リードの表面には、上記半導体チップとの間に上記緩衝部材が介在する複数の突起が形成されており、上記複数の突起は、上記リードの厚み方向視において、上記半導体チップの四隅と重ならないように配置されていることを特徴とする。
このような構成によれば、上記緩衝部材の、上記リードの厚み方向視において上記半導体チップの四隅と重なる部分は、少なくとも上記突起に重なる部分よりも厚く形成される。さらに、上記緩衝部材となる液体材料を上記リード上に流し込む際に、上記液体材料の流れを上記突起により調整することができるため、上記緩衝部材を均一に好ましい厚みに形成しやすくなっている。このため、上記半導体装置では、上記緩衝部材にかかる応力が分散しやすいように上記緩衝部材を厚く形成することが可能となっている。したがって、上記半導体装置では、上記緩衝部材にクラックが生じにくい。また上記半導体チップが傾くのを防ぐことができ、不良が生じにくく安定した動作が可能となっている。
本発明の好ましい実施の形態においては、上記リードの表面の上記複数の突起の外側に凹部が形成されている。このような構成によれば、上記緩衝部材を液状にして上記リード上に流し込む際に、上記緩衝部材の流れを止めることができるため、上記緩衝部材を厚く形成しやくなっている。
本発明の好ましい実施の形態においては、上記凹部が、上記リードの厚み方向視において、上記半導体チップの外周と重なるように形成されている。このような構成によれば、上記緩衝部材の、上記リードの厚み方向視において上記半導体チップの外周と重なる部分の厚みをより大きくすることが可能となる。
本発明の好ましい実施の形態においては、上記緩衝部材の外周縁が、上記凹の内に位置している。このような構成によれば、上記緩衝部材を液状にして上記リード上に流し込む際に、上記緩衝部材が広がり過ぎて薄い部分が生じるのを防ぐことができる。
本発明の好ましい実施の形態においては、上記半導体チップの外周縁が曲面によって形成されている。このような構成によれば、上記半導体チップの外周縁に応力が集中しにくいため、上記半導体チップの外周縁と上記緩衝部材との剥離を防ぐ上で好ましい。
本発明の好ましい実施の形態においては、上記リードの上記半導体チップと対向する面が凸面に形成されている。このような構成によれば、上記緩衝部材が、上記半導体チップの外周縁に近づくほど厚くなっている。このため、上記緩衝部材から上記半導体チップにかかる力も分散され、上記半導体チップと上記緩衝部材との剥離を防ぎやすくなっている。
本発明の好ましい実施の形態においては、上記リードの厚み方向視において上記複数の突起と重ならない部分での上記緩衝部材の厚みは、30μm〜70μmである。
本発明のその他の特徴および利点は、添付図面を参照して以下に行う詳細な説明によって、より明らかとなろう。
図1は、本発明に係る半導体装置の第1実施形態を平面図で示している。図2には、図1のII-II線に沿う断面図を示している。図1および図2に示す半導体装置A1は、半導体チップ1、リード2、ハンダ層3、および、樹脂パッケージ4を備えたパワーモジュールである。なお、リード2の表面の様子を示すために、図1では、半導体チップ1およびハンダ層3の一部と樹脂パッケージ4とを省略している。なお、図1は、リード2の厚み方向視における平面を示しており、以下の説明における平面視はリード2の厚み方向視と同一である。
半導体チップ1は、たとえば、一辺の長さが4mm程度の電力の制御を行うパワーICである。半導体チップ1は、平面視において、四隅の頂角が丸く形成された正方形状に形成されている。半導体チップ1の外周縁は、たとえばレーザーを用いて上下から切断することにより、曲面で構成されている。この半導体チップ1は、リード2の表面にハンダ層3を介して搭載されている。
リード2は、たとえばCu製であり、厚さ1〜2mm程度の板状に形成されている。このリード2は、平面視において、四隅の角が丸く形成された、一辺の長さがたとえば20mmの正方形となっている。このリード2には、4個の同形の突起21と、これらの突起21を囲む凹部22とを備えている。
各突起21は、図1に仮想線で示した、半導体チップ1よりも小さい正方形21Aの各四辺に沿って延びるように形成されている。この正方形21Aの各辺は半導体チップ1の各辺と平行となっている。各突起21は、正方形21Aの各頂点周辺までは延びていない。さらに、図2に示すように、各突起21の断面は半円状に形成されている。各突起21は、たとえば5μm〜40μm程度、リード2の表面から突き出している。
凹部22は、図1および図2に示すように、平面視において半導体チップ1の外周と重なるように形成されている。この凹部22は、たとえば5μm〜40μm程度、リード2の表面から凹んでいる。
ハンダ層3は、本発明に係る緩衝部材であり、たとえば、直径5〜10μm程度の金属粒が添加されたハンダ材によって形成されている。上記金属粒としては、たとえばAg,CuまたはTeが用いられる。このハンダ層3は、リード2の各突起21に囲まれた領域にハンダ材を流し込むことにより形成されており、平面視において凹部22の外縁近傍まで広がっている。また、このハンダ層3は、平面視において複数の突起21と重ならない部分での厚みが、突起21がリード2の表面から突き出す長さよりも大きくなるように形成されている。このため、ハンダ層3は、突起21と半導体チップ1との間に入り込むように形成されている。
樹脂パッケージ4は、半導体チップ1、リード2、およびハンダ層3を覆うように形成されており、半導体チップ1、リード2、およびハンダ層3を保護している。
次に、上記構成の半導体装置A1の作用について説明する。
本実施形態によれば、加熱により液状となったハンダ材をリード2の各突起21に囲まれた領域に流し込んだ際に、ハンダ材の流れが突起21により妨げられるため、ハンダ材がリード2上を広がる速度は遅くなる。このため、ハンダ層3を厚く形成しやすくなっている。ハンダ層3は、厚く形成されることにより、受ける応力を分散することができ、Pbの溶け込んだα相およびSnの溶け込んだβ相が小さな粒子として一様に分布する状態を持続しやすくなっている。この状態のハンダ層3は、半導体チップ1およびリード2にかかる応力を緩和する緩衝部材として好ましく機能する。さらに、ハンダ層3にクラックが生じにくくなっている。従って、半導体装置A1は、不良が生じにくく安定した動作が可能となっている。
また、本実施形態によれば、各突起21が同形であるため、ハンダ材の広がり方に偏りが生じにくく、半導体チップ1が傾いた状態で固定されるのを防ぐことができる。
また、本実施形態によれば、ハンダ材は、各突起21同士の隙間から流れ出るため、応力の集中しやすい半導体チップ1の四隅にはハンダ材が流れ込みやすくなっている。このため、より確かに、平面視において半導体チップ1の四隅と重なるハンダ層3の厚みを厚くすることが可能となっている。
また、本実施形態によれば、凹部22が設けられているため、ハンダ材が流れてハンダ層3が薄くなってしまうのを防ぐことができる。さらに、平面視において凹部22が半導体チップ1の外周と重なるように形成されているため、半導体チップ1の外周と重なるハンダ層3が厚くなりやすくなっている。半導体チップ1の外周部分、特に四隅は応力がかかりやすいため、これらの部分と重なるハンダ層3の厚みが大きくなることは、応力を緩和する上で好ましい。
また、本実施形態によれば、ハンダ層3が平面視において凹部22の外側に広がらないように形成されているため、ハンダ層3の裾部分が過度に広がりにくくなっている。このため、ハンダ層3は厚みが薄くなる部分が生じにくく、クラックが発生しにくくなっている。
また、本実施形態によれば、半導体チップ1の外周縁が曲面で形成されているため、半導体チップ1の外周縁にかかる応力が分散されやすく、半導体チップ1とハンダ層3との剥離が生じにくくなっている。
また、本実施形態によれば、ハンダ材には金属粒が添加されているため、ハンダ層3の厚さが金属粒の直径より小さくなることがない。さらに、金属粒を均一に添加すれば、ハンダ層3に支持される半導体チップ1が傾くのを防ぐのに好ましい効果を得ることができる。また、さらに、金属粒が添加されることにより、ハンダ層3のPbを含むα相と、Snを含むβ相とが分離するのを抑制することができる。このことは、ハンダ層3にクラックが生じるのを防ぐのに好ましい。
また、上記構成の半導体装置A1では、半導体チップ1は、ハンダ層3および樹脂パッケージ4から応力を受ける。半導体チップ1がハンダ層3から受ける応力は、ハンダ層3が厚くなるほど弱くなる傾向がある。一方、ハンダ層3および半導体チップ1の厚みの合計が大きくなるほど、樹脂パッケージ4の厚みも大きくなるため、半導体チップ1が樹脂パッケージ4から受ける応力は強くなる傾向がある。図3には、TCY試験において、半導体装置A1を25℃から150℃に加熱した際の、ハンダ層3の厚みと半導体チップ1に発生する応力の大きさとの関係を示している。ただし、ここでのハンダ層3の厚みは、平面視において複数の突起21および凹部22のいずれとも重ならない部分での厚みのことを指すものとする。図3によると、ハンダ層3の厚みが30〜70μmのとき、半導体チップ1に発生する応力が小さくなっている。このため、半導体装置A1は、ハンダ層3の厚みを30〜70μmとすれば、より安定した動作を期待できる。
図4〜図7は、本発明の他の実施形態を示しており、図8には参考例を示している。なお、これらの図において上記実施形態と同一または類似の要素には、上記実施形態と同一の符号を付し、説明を省略している。
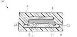
図4は、本発明に係る半導体装置の第2実施形態を断面図で示している。図4に示す半導体装置A2では、リード2の表面が、平面視における中央に寄るほど半導体チップ1に近づく凸面に形成されている。
このような半導体装置A2では、ハンダ層3が凸面状のリード2上に形成されるため、外周縁ほど厚くなっており、中央に応力が集中しにくい形状となっている。このため、ハンダ層3から半導体チップ1に加わる応力が分散されやすく、半導体チップ1とハンダ層3との剥離が生じにくくなっている。このため、半導体装置A2は、不良が生じにくくより安定した動作が期待できる。
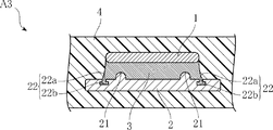
図5は、本発明に係る半導体装置の第3実施形態を断面図で示している。図5に示す半導体装置A3では、凹部22が、リード2の表面に開口する開口部22aと、開口部22aと連結され、開口部22aよりも幅の広い底部22bとで構成されている。
このような半導体装置A3では、開口部22aが狭く形成されているため、ハンダ材が凹部22に流れ込む速度を抑えることができる。このため、ハンダ材が凹部22に流れ込みすぎてハンダ層3の厚みが損なわれるのを防ぐことができる。
図6は、本発明に係る半導体装置の第4実施形態を平面図で示している。リード2の表面の様子を示すために、図6では、半導体チップ1およびハンダ層3の一部と、樹脂パッケージ4とを省略している。図6に示す半導体装置A4では、半導体チップ1およびリード2が、平面視において角が丸い長方形状に形成されている。さらに、複数の突起21a,21bが、仮想線で示す長方形21Bの各辺に沿って配列されており、これらの突起21を囲むように凹部22が形成されている。
複数の突起21aは、それぞれ同形であり、長方形21Aの各長辺に沿って一定の間隔で並べられている。複数の突起21bはそれぞれ同形であり、長方形21Aの各短辺に沿って一定の間隔で並べられている。突起21a,21bの断面は、たとえば同形の長方形状となっている。また、各突起21aの長方形21Bの各長辺に沿って延びる長さは、角突起21bの長方形21Bの各短辺に沿って延びる長さよりも長くなっている。また、突起21a,21bは、長方形21Bの各頂点を回避するように設けられている。
このような半導体装置A4においても、突起21a,21bによって、ハンダ材の流れを抑えることができるため、ハンダ層3を厚く形成しやすくなっている。このため、半導体装置A4は、半導体装置A1の場合と同様に、熱変形によって生じる応力を緩和することが可能となっており、半導体チップ1がハンダ層3から剥離しにくく、安定した動作が可能となっている。
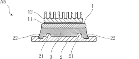
図7は、本発明に係る半導体装置の第5実施形態を断面図で示している。図7に示す半導体装置A5は、半導体装置A1と異なり樹脂パッケージ4を備えておらず、半導体チップ1に複数の放熱板を有する放熱部材12が取り付けられた構成となっている。放熱部材12は、半導体チップ1の表面に接着層11を介して接着されている。さらに、この半導体装置A5におけるハンダ層3の厚さは70μm以上となっている。
このような半導体装置A5では、半導体装置A1のように樹脂パッケージ4が半導体チプ1に応力を及ぼすことがないため、ハンダ層3をより厚く形成することが可能となっている。このため、ハンダ層3から半導体チップ1にかかる応力をより好ましく緩和することができる。従って、半導体装置A5では、より一層、熱変形によって生じる応力を緩和することが可能となっており、半導体チップ1がハンダ層3から剥離しにくく、安定した動作が可能となっている。
さらに、半導体装置A5では、半導体チップ1に放熱部材12が取り付けられているため、熱変形自体が生じにくくなっている。このため、より安定した動作を期待できる。
図8は、半導体装置の参考例を平面図で示している。リード2の表面の様子を示すために、図8では、半導体チップ1およびハンダ層3の一部と、樹脂パッケージ4とを省略している。図8に示す半導体装置A6では、半導体チップ1が平面視円形に形成されており、平面視においてリード2の四隅と半導体チップ1との間に試験用端子5が配置されている。さらに、リード2には、仮想線で示す円21Cに沿って並ぶ4個の同形の突起21cが形成されており、これらの突起21cを囲む平面視環状の凹部22が形成されている。突起21cの平面視における形状は、円環の一部となっている。
試験用端子5は、たとえばリード2の抵抗値を試験的に測定するための端子である。なお、試験用端子5を設ける代わりに樹脂などを成形し、その密着強度を測定しても構わない。
このような半導体装置A6においても、突起21cによって、ハンダ材の流れる速さを抑えることができるため、ハンダ層3を厚く形成しやすくなっている。このため、半導体装置A6は、熱変形によって生じる応力を緩和することが可能となっており、半導体チップ1がハンダ層3から剥離しにくく、安定した動作が可能となっている。さらに、半導体装置A6では、半導体チップ1に角がないため、応力が集中する場所がなく、半導体チップ1がハンダ層3から剥離しにくくなっている。
本発明に係る半導体装置は、上述した実施形態に限定されるものではない。本発明に係る半導体装置の各部の具体的な構成は、種々に設計変更自在である。上記実施形態においては、リード2は、Cu製であるが、たとえばAgやNiといったハンダとの濡れ性のよい金属材料によりメッキされたリードであってもよい。また、半導体チップ1のリード2と対向する側の面に、AgやNiといったハンダとの濡れ性のよい金属材料によるメッキを施してもよい。このようなメッキを施すと半導体チップ1の外周縁にハンダ材が広がりやすくなり、半導体チップ1とハンダ層3との間の応力を分散する上で好ましい効果を得ることができる。
上記実施形態では、ハンダ層3の外周縁が凹部22内に形成されているが、ハンダ層3の外周円が凹部22から外れている場合も本発明の範囲内である。このような場合でも、凹部22はハンダ層3が広がりすぎるのを防ぐのに効果的である。
上記実施形態では、各突起21の断面は、半円状または長方形状であるが、たとえば楔形であっても構わない。また、凹部22の断面形状も自在に設定可能である。
本発明の第1実施形態に係る半導体装置の一例を示す平面図である。 図1のII-II線に沿う断面図である。 図1に示す半導体装置におけるハンダ層の厚みと半導体チップにかかる応力との関係を示す図である。 本発明の第2実施形態に係る半導体装置の一例を示す断面図である。 本発明の第3実施形態に係る半導体装置の一例を示す断面図である。 本発明の第4実施形態に係る半導体装置の一例を示す平面図である。 本発明の第5実施形態に係る半導体装置の一例を示す断面図である。 半導体装置の参考例を示す平面図である。 従来の半導体装置の一例を示す断面図である。
符号の説明
A1,A2,A3,A4,A5,A6 半導体装置
1 半導体チップ
2 リード
3 ハンダ層
4 樹脂パッケージ
5 試験用端子
11 接着層
12 放熱部材
21,21a,21b,21c 突起
21A 正方形
21B 長方形
21C 円
22 凹部
22a 開口部
22b 底部

Claims (7)

  1. 矩形状の半導体チップと、
    表面に上記半導体チップを搭載する板状のリードと、
    上記半導体チップと上記リードとを接着する緩衝部材と、
    を備えた半導体装置であって、
    上記リードの表面には、上記半導体チップとの間に上記緩衝部材が介在する複数の突起が形成されており、
    上記複数の突起は、上記リードの厚み方向視において、上記半導体チップの四隅と重ならないように配置されていることを特徴とする、半導体装置。
  2. 上記リードの表面の上記複数の突起の外側に凹部が形成されている、請求項1に記載の半導体装置。
  3. 上記凹部が、上記リードの厚み方向視において、上記半導体チップの外周と重なるように形成されている、請求項2に記載の半導体装置。
  4. 上記緩衝部材の外周縁が、上記凹部内に位置している、請求項2または3に記載の半導体装置。
  5. 上記半導体チップの外周縁が曲面によって形成されている、請求項1ないし4のいずれかに記載の半導体装置。
  6. 上記リードの上記半導体チップと対向する面が凸面に形成されている、請求項1ないし5のいずれかに記載の半導体装置。
  7. 上記リードの厚み方向視において上記複数の突起と重ならない部分での上記緩衝部材の厚みは、30μm〜70μmである、請求項1ないし6のいずれかに記載の半導体装置。
JP2008194670A 2008-07-29 2008-07-29 半導体装置 Expired - Fee Related JP5049221B2 (ja)

Priority Applications (1)

Application Number Priority Date Filing Date Title
JP2008194670A JP5049221B2 (ja) 2008-07-29 2008-07-29 半導体装置

Applications Claiming Priority (1)

Application Number Priority Date Filing Date Title
JP2008194670A JP5049221B2 (ja) 2008-07-29 2008-07-29 半導体装置

Publications (2)

Publication Number Publication Date
JP2010034278A true JP2010034278A (ja) 2010-02-12
JP5049221B2 JP5049221B2 (ja) 2012-10-17

Family

ID=41738418

Family Applications (1)

Application Number Title Priority Date Filing Date
JP2008194670A Expired - Fee Related JP5049221B2 (ja) 2008-07-29 2008-07-29 半導体装置

Country Status (1)

Country Link
JP (1) JP5049221B2 (ja)

Cited By (5)

* Cited by examiner, † Cited by third party
Publication number Priority date Publication date Assignee Title
JP2015109294A (ja) * 2013-12-03 2015-06-11 三菱電機株式会社 電力用半導体装置およびその製造方法
WO2015107871A1 (ja) * 2014-01-15 2015-07-23 パナソニックIpマネジメント株式会社 半導体装置
JP2020188078A (ja) * 2019-05-10 2020-11-19 ローム株式会社 半導体装置
JP2022108915A (ja) * 2021-01-14 2022-07-27 住友電気工業株式会社 半導体装置
WO2025027909A1 (ja) * 2023-07-31 2025-02-06 株式会社 東芝 半導体装置

Citations (11)

* Cited by examiner, † Cited by third party
Publication number Priority date Publication date Assignee Title
JPS5492178A (en) * 1977-12-29 1979-07-21 Mitsubishi Electric Corp Manufacture of metal substrate
JPS56129739U (ja) * 1980-02-29 1981-10-02
JPS583237A (ja) * 1981-06-29 1983-01-10 Fujitsu Ltd 半導体装置
JPS6066846A (ja) * 1983-09-24 1985-04-17 Nippon Denso Co Ltd 半導体整流装置
JPS60128624A (ja) * 1983-12-15 1985-07-09 Fuji Electric Co Ltd 半導体装置
JPS60167347U (ja) * 1984-04-13 1985-11-06 三菱電機株式会社 半導体装置
JPS61187258A (ja) * 1985-02-14 1986-08-20 Mitsubishi Electric Corp 半導体集積回路チツプ
JPH0637122A (ja) * 1992-07-15 1994-02-10 Hitachi Ltd 半導体装置
JP2001127233A (ja) * 1999-10-29 2001-05-11 Matsushita Electronics Industry Corp 樹脂封止型半導体装置
JP2006066663A (ja) * 2004-08-27 2006-03-09 Matsushita Electric Ind Co Ltd 半導体パッケージ部品
JP2006351950A (ja) * 2005-06-17 2006-12-28 Rohm Co Ltd 半導体装置及び半導体装置の製造方法

Patent Citations (11)

* Cited by examiner, † Cited by third party
Publication number Priority date Publication date Assignee Title
JPS5492178A (en) * 1977-12-29 1979-07-21 Mitsubishi Electric Corp Manufacture of metal substrate
JPS56129739U (ja) * 1980-02-29 1981-10-02
JPS583237A (ja) * 1981-06-29 1983-01-10 Fujitsu Ltd 半導体装置
JPS6066846A (ja) * 1983-09-24 1985-04-17 Nippon Denso Co Ltd 半導体整流装置
JPS60128624A (ja) * 1983-12-15 1985-07-09 Fuji Electric Co Ltd 半導体装置
JPS60167347U (ja) * 1984-04-13 1985-11-06 三菱電機株式会社 半導体装置
JPS61187258A (ja) * 1985-02-14 1986-08-20 Mitsubishi Electric Corp 半導体集積回路チツプ
JPH0637122A (ja) * 1992-07-15 1994-02-10 Hitachi Ltd 半導体装置
JP2001127233A (ja) * 1999-10-29 2001-05-11 Matsushita Electronics Industry Corp 樹脂封止型半導体装置
JP2006066663A (ja) * 2004-08-27 2006-03-09 Matsushita Electric Ind Co Ltd 半導体パッケージ部品
JP2006351950A (ja) * 2005-06-17 2006-12-28 Rohm Co Ltd 半導体装置及び半導体装置の製造方法

Cited By (8)

* Cited by examiner, † Cited by third party
Publication number Priority date Publication date Assignee Title
JP2015109294A (ja) * 2013-12-03 2015-06-11 三菱電機株式会社 電力用半導体装置およびその製造方法
WO2015107871A1 (ja) * 2014-01-15 2015-07-23 パナソニックIpマネジメント株式会社 半導体装置
JPWO2015107871A1 (ja) * 2014-01-15 2017-03-23 パナソニックIpマネジメント株式会社 半導体装置
JP2020188078A (ja) * 2019-05-10 2020-11-19 ローム株式会社 半導体装置
JP7423197B2 (ja) 2019-05-10 2024-01-29 ローム株式会社 半導体装置
JP2022108915A (ja) * 2021-01-14 2022-07-27 住友電気工業株式会社 半導体装置
JP7703855B2 (ja) 2021-01-14 2025-07-08 住友電気工業株式会社 半導体装置
WO2025027909A1 (ja) * 2023-07-31 2025-02-06 株式会社 東芝 半導体装置

Also Published As

Publication number Publication date
JP5049221B2 (ja) 2012-10-17

Similar Documents

Publication Publication Date Title
JP5729468B2 (ja) 半導体装置
JP5387685B2 (ja) 半導体装置の製造方法
EP2784810B1 (en) Chip packaging structure and chip packaging method
JP5066529B2 (ja) 半導体素子の実装構造体及び半導体素子の実装方法
JP5049221B2 (ja) 半導体装置
EP2571050A1 (en) Semiconductor device
JPWO2012157583A1 (ja) 半導体装置とその製造方法
CN104094387A (zh) 电气元件和/或电子元件的连接装置
KR101609495B1 (ko) 반도체 장치 및 반도체 장치의 제조 방법
JP2005260181A (ja) 樹脂封止型半導体装置及びその製造方法
JP2003526208A (ja) 射出成形技術を用いて電子部品をパッケージングするデバイス
JP4967277B2 (ja) 半導体装置およびその製造方法
JP2014175454A (ja) 電力用半導体装置および電力用半導体装置の製造方法
JP2013157357A (ja) 発光装置
JP2002190560A (ja) 半導体装置
JP2007235022A (ja) 接着フィルム
JP5381175B2 (ja) 半導体装置及び半導体装置の製造方法
JP4367376B2 (ja) 電力半導体装置
JP6232697B2 (ja) パワーモジュール
JP2009147123A (ja) 半導体装置及びその製造方法
JP2008124176A (ja) 電力用半導体装置
JP2019009280A (ja) 半導体装置
JP2009099709A (ja) 半導体装置
JP2006318980A (ja) 半導体装置および半導体装置の製造方法
JP6304085B2 (ja) 半導体装置及び半導体装置の製造方法

Legal Events

Date Code Title Description
A621 Written request for application examination

Free format text: JAPANESE INTERMEDIATE CODE: A621

Effective date: 20110708

A977 Report on retrieval

Free format text: JAPANESE INTERMEDIATE CODE: A971007

Effective date: 20120425

A131 Notification of reasons for refusal

Free format text: JAPANESE INTERMEDIATE CODE: A131

Effective date: 20120501

A521 Request for written amendment filed

Free format text: JAPANESE INTERMEDIATE CODE: A523

Effective date: 20120628

TRDD Decision of grant or rejection written
A01 Written decision to grant a patent or to grant a registration (utility model)

Free format text: JAPANESE INTERMEDIATE CODE: A01

Effective date: 20120717

A01 Written decision to grant a patent or to grant a registration (utility model)

Free format text: JAPANESE INTERMEDIATE CODE: A01

A61 First payment of annual fees (during grant procedure)

Free format text: JAPANESE INTERMEDIATE CODE: A61

Effective date: 20120720

FPAY Renewal fee payment (event date is renewal date of database)

Free format text: PAYMENT UNTIL: 20150727

Year of fee payment: 3

R150 Certificate of patent or registration of utility model

Free format text: JAPANESE INTERMEDIATE CODE: R150

LAPS Cancellation because of no payment of annual fees