JP2010033683A - 不揮発性半導体記憶装置 - Google Patents

不揮発性半導体記憶装置 Download PDF

Info

Publication number
JP2010033683A
JP2010033683A JP2008197608A JP2008197608A JP2010033683A JP 2010033683 A JP2010033683 A JP 2010033683A JP 2008197608 A JP2008197608 A JP 2008197608A JP 2008197608 A JP2008197608 A JP 2008197608A JP 2010033683 A JP2010033683 A JP 2010033683A
Authority
JP
Japan
Prior art keywords
data
memory cell
write
voltage
mat
Prior art date
Legal status (The legal status is an assumption and is not a legal conclusion. Google has not performed a legal analysis and makes no representation as to the accuracy of the status listed.)
Granted
Application number
JP2008197608A
Other languages
English (en)
Other versions
JP5268481B2 (ja
Inventor
Hiroyuki Nagashima
宏行 永嶋
Hirofumi Inoue
裕文 井上
Current Assignee (The listed assignees may be inaccurate. Google has not performed a legal analysis and makes no representation or warranty as to the accuracy of the list.)
Toshiba Corp
Original Assignee
Toshiba Corp
Priority date (The priority date is an assumption and is not a legal conclusion. Google has not performed a legal analysis and makes no representation as to the accuracy of the date listed.)
Filing date
Publication date
Application filed by Toshiba Corp filed Critical Toshiba Corp
Priority to JP2008197608A priority Critical patent/JP5268481B2/ja
Priority to US12/511,443 priority patent/US7957203B2/en
Publication of JP2010033683A publication Critical patent/JP2010033683A/ja
Priority to US13/099,540 priority patent/US8391082B2/en
Priority to US13/768,359 priority patent/US8842481B2/en
Application granted granted Critical
Publication of JP5268481B2 publication Critical patent/JP5268481B2/ja
Priority to US14/479,563 priority patent/US9324427B2/en
Expired - Fee Related legal-status Critical Current
Anticipated expiration legal-status Critical

Links

Images

Classifications

    • GPHYSICS
    • G11INFORMATION STORAGE
    • G11CSTATIC STORES
    • G11C13/00Digital stores characterised by the use of storage elements not covered by groups G11C11/00, G11C23/00, or G11C25/00
    • G11C13/0002Digital stores characterised by the use of storage elements not covered by groups G11C11/00, G11C23/00, or G11C25/00 using resistive RAM [RRAM] elements
    • G11C13/0021Auxiliary circuits
    • G11C13/0069Writing or programming circuits or methods
    • GPHYSICS
    • G11INFORMATION STORAGE
    • G11CSTATIC STORES
    • G11C13/00Digital stores characterised by the use of storage elements not covered by groups G11C11/00, G11C23/00, or G11C25/00
    • G11C13/0002Digital stores characterised by the use of storage elements not covered by groups G11C11/00, G11C23/00, or G11C25/00 using resistive RAM [RRAM] elements
    • G11C13/0004Digital stores characterised by the use of storage elements not covered by groups G11C11/00, G11C23/00, or G11C25/00 using resistive RAM [RRAM] elements comprising amorphous/crystalline phase transition cells
    • GPHYSICS
    • G11INFORMATION STORAGE
    • G11CSTATIC STORES
    • G11C13/00Digital stores characterised by the use of storage elements not covered by groups G11C11/00, G11C23/00, or G11C25/00
    • G11C13/0002Digital stores characterised by the use of storage elements not covered by groups G11C11/00, G11C23/00, or G11C25/00 using resistive RAM [RRAM] elements
    • G11C13/0007Digital stores characterised by the use of storage elements not covered by groups G11C11/00, G11C23/00, or G11C25/00 using resistive RAM [RRAM] elements comprising metal oxide memory material, e.g. perovskites
    • GPHYSICS
    • G11INFORMATION STORAGE
    • G11CSTATIC STORES
    • G11C13/00Digital stores characterised by the use of storage elements not covered by groups G11C11/00, G11C23/00, or G11C25/00
    • G11C13/0002Digital stores characterised by the use of storage elements not covered by groups G11C11/00, G11C23/00, or G11C25/00 using resistive RAM [RRAM] elements
    • G11C13/0009RRAM elements whose operation depends upon chemical change
    • G11C13/0011RRAM elements whose operation depends upon chemical change comprising conductive bridging RAM [CBRAM] or programming metallization cells [PMCs]
    • GPHYSICS
    • G11INFORMATION STORAGE
    • G11CSTATIC STORES
    • G11C13/00Digital stores characterised by the use of storage elements not covered by groups G11C11/00, G11C23/00, or G11C25/00
    • G11C13/0002Digital stores characterised by the use of storage elements not covered by groups G11C11/00, G11C23/00, or G11C25/00 using resistive RAM [RRAM] elements
    • G11C13/0021Auxiliary circuits
    • G11C13/0061Timing circuits or methods
    • GPHYSICS
    • G11INFORMATION STORAGE
    • G11CSTATIC STORES
    • G11C13/00Digital stores characterised by the use of storage elements not covered by groups G11C11/00, G11C23/00, or G11C25/00
    • G11C13/0002Digital stores characterised by the use of storage elements not covered by groups G11C11/00, G11C23/00, or G11C25/00 using resistive RAM [RRAM] elements
    • G11C13/0021Auxiliary circuits
    • G11C13/0097Erasing, e.g. resetting, circuits or methods
    • GPHYSICS
    • G11INFORMATION STORAGE
    • G11CSTATIC STORES
    • G11C7/00Arrangements for writing information into, or reading information out from, a digital store
    • G11C7/10Input/output [I/O] data interface arrangements, e.g. I/O data control circuits, I/O data buffers
    • G11C7/1006Data managing, e.g. manipulating data before writing or reading out, data bus switches or control circuits therefor
    • GPHYSICS
    • G11INFORMATION STORAGE
    • G11CSTATIC STORES
    • G11C7/00Arrangements for writing information into, or reading information out from, a digital store
    • G11C7/10Input/output [I/O] data interface arrangements, e.g. I/O data control circuits, I/O data buffers
    • G11C7/1051Data output circuits, e.g. read-out amplifiers, data output buffers, data output registers, data output level conversion circuits
    • GPHYSICS
    • G11INFORMATION STORAGE
    • G11CSTATIC STORES
    • G11C7/00Arrangements for writing information into, or reading information out from, a digital store
    • G11C7/10Input/output [I/O] data interface arrangements, e.g. I/O data control circuits, I/O data buffers
    • G11C7/1075Input/output [I/O] data interface arrangements, e.g. I/O data control circuits, I/O data buffers for multiport memories each having random access ports and serial ports, e.g. video RAM
    • GPHYSICS
    • G11INFORMATION STORAGE
    • G11CSTATIC STORES
    • G11C7/00Arrangements for writing information into, or reading information out from, a digital store
    • G11C7/22Read-write [R-W] timing or clocking circuits; Read-write [R-W] control signal generators or management 
    • GPHYSICS
    • G11INFORMATION STORAGE
    • G11CSTATIC STORES
    • G11C8/00Arrangements for selecting an address in a digital store
    • G11C8/16Multiple access memory array, e.g. addressing one storage element via at least two independent addressing line groups
    • GPHYSICS
    • G11INFORMATION STORAGE
    • G11CSTATIC STORES
    • G11C13/00Digital stores characterised by the use of storage elements not covered by groups G11C11/00, G11C23/00, or G11C25/00
    • G11C13/0002Digital stores characterised by the use of storage elements not covered by groups G11C11/00, G11C23/00, or G11C25/00 using resistive RAM [RRAM] elements
    • G11C13/0021Auxiliary circuits
    • G11C13/0069Writing or programming circuits or methods
    • G11C2013/0076Write operation performed depending on read result
    • GPHYSICS
    • G11INFORMATION STORAGE
    • G11CSTATIC STORES
    • G11C13/00Digital stores characterised by the use of storage elements not covered by groups G11C11/00, G11C23/00, or G11C25/00
    • G11C13/0002Digital stores characterised by the use of storage elements not covered by groups G11C11/00, G11C23/00, or G11C25/00 using resistive RAM [RRAM] elements
    • G11C13/0021Auxiliary circuits
    • G11C13/0069Writing or programming circuits or methods
    • G11C2013/0078Write using current through the cell
    • GPHYSICS
    • G11INFORMATION STORAGE
    • G11CSTATIC STORES
    • G11C13/00Digital stores characterised by the use of storage elements not covered by groups G11C11/00, G11C23/00, or G11C25/00
    • G11C13/0002Digital stores characterised by the use of storage elements not covered by groups G11C11/00, G11C23/00, or G11C25/00 using resistive RAM [RRAM] elements
    • G11C13/0021Auxiliary circuits
    • G11C13/0069Writing or programming circuits or methods
    • G11C2013/0092Write characterized by the shape, e.g. form, length, amplitude of the write pulse
    • GPHYSICS
    • G11INFORMATION STORAGE
    • G11CSTATIC STORES
    • G11C2213/00Indexing scheme relating to G11C13/00 for features not covered by this group
    • G11C2213/30Resistive cell, memory material aspects
    • G11C2213/31Material having complex metal oxide, e.g. perovskite structure
    • GPHYSICS
    • G11INFORMATION STORAGE
    • G11CSTATIC STORES
    • G11C2213/00Indexing scheme relating to G11C13/00 for features not covered by this group
    • G11C2213/70Resistive array aspects
    • G11C2213/72Array wherein the access device being a diode
    • GPHYSICS
    • G11INFORMATION STORAGE
    • G11CSTATIC STORES
    • G11C2216/00Indexing scheme relating to G11C16/00 and subgroups, for features not directly covered by these groups
    • G11C2216/12Reading and writing aspects of erasable programmable read-only memories
    • G11C2216/24Nonvolatile memory in which programming can be carried out in one memory bank or array whilst a word or sector in another bank or array is being erased simultaneously

Landscapes

  • Engineering & Computer Science (AREA)
  • Chemical & Material Sciences (AREA)
  • Crystallography & Structural Chemistry (AREA)
  • Materials Engineering (AREA)
  • Microelectronics & Electronic Packaging (AREA)
  • Multimedia (AREA)
  • Semiconductor Memories (AREA)

Abstract

【課題】複数のメモリセルに対するデータ書き込み/消去を一括同時動作させることで、データ保存の処理速度を向上する。
【解決手段】複数の第1の配線、これら複数の配線と交差する複数の第2の配線、並びに前記第1及び第2の配線の交差部で両配線間に接続された電気的書き換えが可能で抵抗値をデータとして不揮発に記憶する可変抵抗素子及び非オーミック素子の直列回路からなるメモリセルを有する複数のMATをマトリクス配列してなるセルアレイと、前記各MATに接続されて各MAT毎に内部のメモリセルに対して、入力データに応じたデータの書き込み又は消去を行う複数の書き込み/消去回路とを有し、複数の前記書き込み/消去回路の一部が、対応するMAT内のメモリセルに対してデータを書き込むと同時に、複数の前記書き込み/消去回路の他の一部が対応するMAT内のメモリセルに対してデータの消去を実行する。
【選択図】図7

Description

本発明は、抵抗値をデータとして記憶する可変抵抗素子を用いた不揮発性半導体記憶装置に関する。
従来、電気的に書き換え可能な不揮発性メモリとしては、フローティングゲート構造を有するメモリセルをNAND接続又はNOR接続してセルアレイを構成したフラッシュメモリが周知である。また、不揮発性で且つ高速なランダムアクセスが可能なメモリとして、強誘電体メモリも知られている。
一方、メモリセルの更なる微細化を図る技術として、可変抵抗素子をメモリセルに使用した抵抗変化型メモリが提案されている。可変抵抗素子としては、カルコゲナイド化合物の結晶/アモルファス化の状態変化によって抵抗値を変化させる相変化メモリ素子、トンネル磁気抵抗効果による抵抗変化を用いるMRAM素子、導電性ポリマーで抵抗素子が形成されるポリマー強誘電RAM(PFRAM)のメモリ素子、電気パルス印加によって抵抗変化を起こすReRAM素子等が知られている(特許文献1)。
この抵抗変化型メモリはトランジスタに替えてショットキーダイオードと可変抵抗素子の直列回路によりメモリセルを構成することができるので、積層が容易で3次元構造化することにより更なる高集積化が図れるという利点がある(特許文献2)。
このような抵抗変化型メモリに対するデータ書き込み方法の一つとして、一旦、全メモリセルをクリアしておく方法がある。この方法は、直前に記憶されていたデータを考慮する必要がなく、該当するメモリセルに対して“0”データのみを書き込めば良いという利点がある。しかし、この方法は、リセットのための処理時間を要するため、抵抗変化型メモリが有する動作速度のパフォーマンスを十分に発揮することができない。
特開2006−344349号、段落0021 特開2005−522045号
上記問題に鑑み、本発明では、複数のメモリセルに対するデータ書き込み/消去を一括同時動作させることで、データ保存の処理速度を向上させた不揮発性半導体記憶装置を提供することを目的とする。
本発明の一つの態様に係る不揮発性半導体記憶装置は、複数の第1の配線、これら複数の配線と交差する複数の第2の配線、並びに前記第1及び第2の配線の交差部で両配線間に接続された電気的書き換えが可能で抵抗値をデータとして不揮発に記憶する可変抵抗素子及び非オーミック素子の直列回路からなるメモリセルを有する複数のMAT(単位セルアレイ)をマトリクス配列してなるセルアレイと、前記各MATに接続されて各MAT毎に内部のメモリセルに対して、入力データに応じたデータの書き込み又は消去を行う複数の書き込み/消去回路とを有し、複数の前記書き込み/消去回路の一部が、対応するMAT内のメモリセルに対してデータを書き込むと同時に、複数の前記書き込み/消去回路の他の一部が対応するMAT内のメモリセルに対してデータの消去を実行することを特徴とする。
本発明によれば、複数のメモリセルに対するデータ書き込み/消去を一括同時動作させることで、データ保存の処理速度を向上させた不揮発性半導体記憶装置を提供することができる。
以下、図面を参照しながら、本発明に係る不揮発性半導体記憶装置の実施の形態について詳細に説明する。
[第1の実施形態]
図1は、本発明の第1の実施形態に係る不揮発性メモリのブロック図である。
この不揮発性メモリは、後述するReRAM(可変抵抗素子)等の抵抗変化型素子をメモリセルとして使用したマトリクス状に配置された複数のMAT(単位セルアレイ)1を備える。また、各MAT1に接続され、カラム制御回路2及びロウ制御回路3からなる複数の書き込み/消去回路を備えている。カラム制御回路2は、MAT1のビット線BLを制御し、メモリセルのデータ消去、メモリセルヘのデータ書き込み、及びメモリセルからのデータ読み出しを行う。また、ロウ制御回路3は、MAT1のワード線WLを選択し、メモリセルのデータ消去、メモリセルヘのデータ書き込み、及びメモリセルからのデータ読み出しに必要な電圧を印加する。
データ入出力バッファ4は、図示しない外部のホストにI/O線を介して接続され、書き込みデータの受け取り、消去命令の受け取り、読み出しデータの出力、アドレスデータやコマンドデータの受け取りを行う。
データ入出力バッファ4は、受け取った入力データをカラム制御回路2に送り、カラム制御回路2から読み出されたデータを受け取って外部に出力する。外部からデータ入出力バッファ4に供給されたアドレスは、アドレスレジスタ5を介してカラム制御回路2及びロウ制御回路3に送られる。また、ホストからデータ入出力バッファ4に供給されたコマンドは、コマンド・インターフェイス6に送られる。コマンド・インターフェイス6は、ホストからの外部制御信号を受け、データ入出力バッファ4に入力されたデータが書き込みデータかコマンドかアドレスかを判断し、コマンドであれば受け取りコマンド信号としてコントローラ7に転送する。コントローラ7は、この不揮発性メモリ全体の管理を行うもので、ホストからのコマンドを受け付け、読み出し、書き込み、消去、データの入出力管理等を行う。また、外部のホストは、コントローラ7が管理するステータス情報を受け取り、動作結果を判断することも可能である。さらに、このステータス情報は書き込み、消去の制御にも利用される。
また、コントローラ7によってパルスジェネレータ8が制御される。この制御により、パルスジェネレータ8は、任意の電圧及びタイミングのパルスを出力することが可能となる。ここで、形成されたパルスはカラム制御回路2及びロウ制御回路3で選択された任意の配線へ転送することが可能である。
なお、MAT1以外の周辺回路素子は、配線層に形成されたMAT1の直下のSi基板に形成可能であり、これにより、この不揮発性メモリのチップ面積はほぼ、複数のMAT1を合わせた面積に等しくすることも可能である。
図2は、MAT1の一部の斜視図、図3は、図2におけるI−I´線で切断して矢印方向に見たメモリセル1個分の断面図である。
複数本の第1の配線としてワード線WL0〜WL2が平行に配設され、これと交差して複数本の第2の配線としてビット線BL0〜BL2が平行に配設され、これらの各交差部に両配線に挟まれるようにメモリセルMCが配置される。ワード線WL及びビット線BLは、熱に強く、且つ抵抗値の低い材料が望ましく、例えばW、WSi、NiSi、CoSi等を用いることができる。
メモリセルMCは、図3に示すように、可変抵抗素子VRと非オーミック素子NOの直列接続回路からなる。
可変抵抗素子VRとしては、電圧印加によって、電流、熱、化学エネルギー等を介して抵抗値を変化させることができるもので、上下にバリアメタル及び接着層として機能する電極EL1、EL2が配置される。電極材としては、Pt、Au、Ag、TiAlN、SrRuO、Ru、RuN、Ir、Co、Ti、TiN、TaN、LaNiO、Al、PtIrOx、PtRhOx、Rh、TaAlN等が用いられる。また、配向性を一様にするようなメタル膜の挿入も可能である。また、別途バッファ層、バリアメタル層、接着層等を挿入することも可能である。
可変抵抗素子VRは、カルコゲナイド等のように結晶状態と非晶質状態の相転移により抵抗値を変化させるもの(PCRAM)、金属陽イオンを析出させて電極間に架橋(コンタクティングブリッジ)を形成したり、析出した金属をイオン化したりして架橋を破壊することで抵抗値を変化させるもの(CBRAM)、一致した理論はない(抵抗変化の要因として、電極界面に存在する電荷トラップにトラップされた電荷の存在の有無により抵抗変化が起きるというもの、酸素欠損等に起因する伝導パスの存在の有無により抵抗変化が起きるというものとに、大きく2つに分かれている。)ものの電圧あるいは電流印加により抵抗値が変化するもの(ReRAM)、等を用いることができる。
図4は、ReRAMの例を示す図である。図4に示す可変抵抗素子VRは、電極層11、13の間に記録層12を配置してなる。記録層12は、少なくとも2種類の陽イオン元素を有する複合化合物から構成される。陽イオン元素の少なくとも1種類は電子が不完全に満たされたd軌道を有する遷移元素とし、且つ隣接する陽イオン元素間の最短距離は、0.32nm以下とする。具体的には、化学式AxMyXz(AとMは互いに異なる元素)で表され、例えばスピネル構造(AM)、イルメナイト構造(AMO)、デラフォサイト構造(AMO)、LiMoN構造(AMN)、ウルフラマイト構造(AMO)、オリビン構造(AMO)、ホランダイト構造(AxMO)、ラムスデライト構造(AxMO)、ぺロブスカイト構造(AMO)等の結晶構造を持つ材料により構成される。
図4の例では、AがZn、MがMn、XがOである。記録層12内の小さな白丸は拡散イオン(Zn)、大きな白丸は陰イオン(O)、小さな黒丸は遷移元素イオン(Mn)をそれぞれ表している。記録層12の初期状態は高抵抗状態であるが、電極層11を固定電位、電極層13側に負の電圧を印加すると、記録層12中の拡散イオンの一部が電極層13側に移動し、記録層12内の拡散イオンが陰イオンに対して相対的に減少する。電極層13側に移動した拡散イオンは、電極層13から電子を受け取り、メタルとして析出するため、メタル層14を形成する。記録層12の内部では、陰イオンが過剰となり、結果的に記録層12内の遷移元素イオンの下層を上昇させる。これにより、記録層12はキャリアの注入により電子伝導性を有するようになってセット動作が完了する。再生に関しては、記録層12を構成する材料が抵抗変化を起こさない程度の微小な電流値を流せば良い。プログラム状態(低抵抗状態)を初期状態(高抵抗状態)にリセットするには、例えば記録層12に大電流を充分な時間流してジュール加熱して、記録層12の酸化還元反応を促進すれば良い。また、セット時と逆向きの電場を印加することによってもリセット動作が可能である。
非オーミック素子NOは、例えば、ショットキーダイオード、PN接合ダイオード、PINダイオード等の各種ダイオード、MIM(Metal-Insulator-Metal)構造、SIS構造(Silicon-Insulator-Silicon)等からなる。ここにもバリアメタル層、接着層を形成する電極EL2、EL3を挿入しても良い。また、ダイオードを使用する場合はその特性上、ユニポーラ動作を行うことができ、また、MIM構造、SIS構造等の場合にはバイポーラ動作を行うことが可能である。なお、非オーミック素子NOと可変抵抗崇子VRの配置は、図3と上下を逆にしても良いし、非オーミック素子NOの極性を上下反転させても良い。
なお、以下の説明において、可変抵抗素子VRの抵抗状態が高抵抗状態にある場合をデータ“1”、低抵抗状態にある場合をデータ“0”とする。また、書き込み動作あるいはセット動作を「“0”書き込み動作」、一方、消去動作あるいはリセット動作を「“1”書き込み動作」と表現することもある。
次に、本実施形態のデータ書き込み動作について説明する。
図5及び図6は、MAT1の回路図である。
MAT1は、ワード線WLを例えば1024本、これらワード線WLと交差するビット線BLを例えば512本有している。また、1024×512ある各配線の交差部には、アノードがワード線WLに接続された非オーミック素子NOであるダイオードDiと、このダイオードDiのカソード及びビット線BL間に接続された可変抵抗素子VRとからなるメモリセルMCが接続されている。MAT1のサイズは、ワード線WLやビット線BL等の電圧降下、CR遅延、データ書き込み動作の処理速度等を勘案して任意に決定することができる。例えば、図5に示すMAT1の他、1024×2048等、MATのサイズは自由に選択することができる。
この構成によるMAT1について、具体例としてメモリセルMC1に“0”、その他のメモリセルMCに“1”を書き込み場合について説明する。
まず、このようなMAT1に対するデータの書き込み方法として、一旦、MAT1内の全メモリセルMCを“1”にクリア(リセット動作)する方法が考えられる。この方法は、直前に記憶されていたデータを考慮する必要がなく、入力された“0”データのみを書き込めば良いという利点がある。
MAT1内の全メモリセルMCをリセットするため、図5の場合、MAT1の発熱を考慮して1本のワード線WLに接続された所定数のメモリセルMC毎に処理する。具体例として、図5の点線で囲まれ、ワード線WL1に接続されたメモリセルMC1〜MC3を“1”にクリアする方法を説明する。
この場合、ロウ制御回路3からワード線WL1に対し、ワード線リセット電圧Vresetwl(例えば1V)が供給されるとともに、カラム制御回路3からビット線BL1〜BL3に対し、ビット線リセット電圧Vresetbl(例えば0V)が供給される。その結果、メモリセルMC1〜MC3のダイオードDiには、順方向バイアスがかかり、可変抵抗素子VRは、高抵抗状態に遷移する。 一方、他のメモリセルMCに接続されたワード線WL2、WL3に対しては、ロウ制御回路3からワード線非選択電圧Vnswl(例えば0V)が供給される。その結果、他のメモリセルMCのダイオードDiには、逆方向バイアスがかかり、可変抵抗素子VRの抵抗状態は遷移しない。これにより、メモリセルMC1〜MC3は“1”にクリアされる。以上を全てのワード線WLについて繰り返すことで全メモリセルMCは “1”にクリアされる。
また、リセット時のメモリセルMCの発熱を考慮する必要がない場合には、全てのワード線WLにワード線リセット電圧Vresetwl(例えば3V)を供給することで、MAT1全体を一括にリセットすることもできる。この場合、ワード線WL毎に“1”でクリアするより、時間の短縮が図れる。
なお、以下の説明において、上記の具体例でいうメモリセルMC1〜MC3のように一括して処理される複数のメモリセルMCの組を「ページ」と表現することもある。
次に、メモリセルMC1に“0”を書き込む。
この場合、ロウ制御回路3からワード線WL1に対し、ワード線セット電圧Vsetwl(例えば3V)が供給されるとともに、カラム制御回路3からメモリセルMC1に接続されたビット線BL1に対し、ビット線セット電圧Vsetbl(例えば0V)が供給される。一方、その他のメモリセルMCに接続されたワード線WL及びビット線BLに対しては、それぞれワード線非選択電圧Vnswl(例えば0V)及びビット線非選択電圧Vnsbl(例えば3V)が供給される。その結果、メモリセルMC1のダイオードDiには、順方向バイアスがかかり、可変抵抗素子VRは、低抵抗状態に遷移する。一方、他のメモリセルMCのダイオードDiには、逆方向バイアスがかかり、可変抵抗素子VRの抵抗状態は遷移しない。これにより、メモリセルMC1にのみ“0”が書き込まれる。
以上により、メモリセルMC1へ“0”、その他のメモリセルMCへ“0”を書き込むことができる。
しかし、この方法によれば、一旦、全てのメモリセルMCを“1”でクリアする必要があり、その分だけ処理時間が長くなる点が問題となる。また、このデータ書き込み方法では、1ページを構成するメモリセルMCが密接に配置されているため、各メモリセルMCのダイオードDi及び可変抵抗素子VRの発熱が相互に影響し、動作が不安定になる要因となる。
そこで、本実施形態では、図7に示すように、各MAT1から1個のメモリセルMCを選択し、図中の点線で囲まれたページを構成する各メモリセルMCに対しデータ“0”又は“1”を同時に書き込む。
これにより、図5及び図6の場合に比べデータ書き込みに先立ってリセットする必要がなくなるためデータ書き込み処理に要する時間を短縮することができる。さらに、ページを構成する複数のメモリセルMCが互いに離間して配置されているため、データ書き込み動作時のメモリセルMCの発熱の影響を緩和することができる。
図8は、本実施形態におけるセルアレイのブロック図であり、図中の白丸で囲まれた数字は各メモリセルMCに対し割り当てられた論理アドレスを示す。
図8のセルアレイは、ワード線WLが延びるx方向に4列、ビット線BLが延びるy方向に3行、合計12のMAT1に分けられている。以下の説明において、図8の上段にあるMAT1を左からMAT#0、#1、#2、#3、中段にあるMAT1を左からMAT#4、#5、#6、#7、下段にあるMAT1をMAT#8、#9、#10、#11とする。また、各MAT1には、カラム制御回路2及びロウ制御回路3が設けられている。これらカラム制御回路2及びロウ制御回路3には、図1に示したパルスジェネレータ8から、データの書き込み/読み出しに必要な各種パルス電圧が供給される。
y方向に並ぶMAT#0、#4、#8のカラム制御回路2は、トランスファトランジスタT0、T4、T8を介してIOパッド0に接続されている。同様に、MAT#1、#5、#9のカラム制御回路2は、トランスファトランジスタT1、T5、T9を介してIOパッド1に、MAT#2、#6、#10のカラム制御回路2は、トランスファトランジスタT2、T6、T10を介してIOパッド2に、MAT#3、#7、#11のカラム制御回路2は、トランスファトランジスタT3、T7、T11を介してIOパッド3にそれぞれ接続されている。
また、x方向に並ぶ、トランスファトランジスタT0〜T3のゲートには、共通の入力データ選択信号IDST0が入力される。同様に、トランスファトランジスタT4〜T7及びT8〜T11のゲートには、それぞれ共通の入力データ選択信号IDST1及びIDST2が入力される。この入力データ選択信号IDST0〜2は、入力されるアドレスに基づいて決定される信号である。
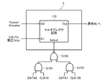
さらに、各MAT1のロウ制御回路3は、図9に示す選択回路であるマルチプレクサ回路15を備える。このマルチプレクサ回路15は、パルスジェネレータ8からロウ制御回路3に供給されるワード線セット電圧Vsetwl及びワード線リセット電圧Vresetwlを選択的に選択ワード線WLに供給するものである。いずれの電圧を供給するかは、入力データDINにより決定される。具体的には、入力データが“0”の場合、選択ワード線WLにワード線セット電圧Vsetwlを供給し、“1”の場合、選択ワード線WLにワード線リセット電圧Vresetwlを供給する。
各MAT1のカラム制御回路2も、図9と同様の回路を備える。カラム制御回路2が備えるマルチプレクサ回路は、パルスジェネレータ8からカラム制御回路2に供給されるビット線セット電圧Vsetbl及びビット線リセット電圧Vresetblを選択的に選択ワード線WLに供給するものである。
次に、このセルアレイが有する各メモリセルMCに対する論理アドレスの割り付けについて説明する。
論理アドレスiは、論理アドレスi−12のメモリセルMCの右側、i−6144(ビット線BLが512本の場合)のメモリセルMCの下側に隣接するメモリセルMCに割り当てられている。また、MATnの左上隅に位置するメモリセルMCには、論理アドレスnが割り当てられている。例えば、MAT#2の場合、MAT1の左上隅、右上隅、左下隅、右下隅に位置する各メモリセルMCには、それぞれ論理アドレス#2、#6134、#6285314、#6291446が割り当てられていることになる(ワード線WLが1024本、ビット線BLが512本の場合)。
また、MAT1は12個あり、各MAT1につき1個ずつのメモリセルMCが選択されることから、1ページを構成するメモリセルMCの数は12個になる。したがって、j番目のページは、論理アドレス12×(j−1)から論理アドレス12×(j−1)+11のメモリセルMCにより構成される。例えば、2番目のページは、論理アドレス#12〜#23の12個のメモリセルMCにより構成されていることになる。
次に、このようなセルアレイに対するデータ書き込みについて説明する。
始めに、外部から与えられた入力データは、IOパッドを介して各MAT1にあるカラム制御回路2に転送される。図8の構成によればIOパッドが4個あるため、12個全てのMAT1のカラム制御回路2に入力データを転送する場合、3回に分けて転送する必要がある。具体的には、まず、4ビットの入力データがIOパッド0〜3に用意される。その後、入力データ選択信号IDST0がアクティブ(“H”)になると、トランスファトランジスタT0〜T3がオンされ、IOパッド0〜3とMAT#0〜#3のカラム制御回路2が接続される。これにより、IOパッド0〜3にある入力データがMAT#0〜#3のカラム制御回路2に転送される。次に、続く4ビットの入力データがIOパッド0〜3に用意される。その後、入力データ選択信号IDST1がアクティブ(“H”)になると、トランスファトランジスタT4〜T7がオンされ、IOパッド0〜3とMAT#4〜#7のカラム制御回路2が接続される。これにより、IOパッド0〜3にある入力データがMAT#4〜#7のカラム制御回路2に転送される。同様に、続く4ビットの入力データがMAT#8〜#11のカラム制御回路2に転送される。以上により、全てのMAT1のカラム制御回路2に1ビットの入力データが準備される。ここで、入力データ選択信号IDST0〜2は、動作サイクル毎に順次アクティブになるよう制御される。
この状態で、各MAT1の選択メモリセルMCにデータを書き込む。
続いて、各MAT1のデータ書き込み動作について説明する。
まず、入力データが“0”であった場合について説明する。この場合のMAT1のワード線WL及びビット線BLに対する供給電圧は図6と同様である。
メモリセルMC1に接続されているワード線WL1及びビット線BL1には、それぞれ、ロウ制御回路2からワード線セット電圧Vsetwl(例えば3V)、カラム制御回路3からビット線セット電圧Vsetbl(例えば0V)が供給される。その結果、メモリセルMC1のダイオードDiには、順方向バイアスがかかり、可変抵抗素子VRが低抵抗状態にあった場合は低抵抗状態が維持され、高抵抗状態にあった場合は低抵抗状態に遷移する。一方、その他のメモリセルMCに接続されているワード線WL及びビット線BLには、ロウ制御回路3からワード線非選択電圧Vnswl(例えば0V)、カラム制御回路2からビット線非選択電圧Vnsbl(例えば3V)が供給される。その結果、メモリセルMCのダイオードDiには逆方向バイアスがかかり、可変抵抗素子VRの抵抗状態は遷移しない。これにより、メモリセルMC1にのみ“0”が書き込まれる。
次に、入力データが“1”であった場合について図10を用いて説明する。
メモリセルMC1に接続されているワード線WL1及びビット線BL1には、それぞれ、ロウ制御回路2からワード線リセット電圧Vresetwl(例えば1V)、カラム制御回路3からビット線リセット電圧Vsetbl(例えば0V)が供給される。その結果、メモリセルMC1のダイオードDiには、順方向バイアスがかかり、可変抵抗素子VRが高抵抗状態にあった場合は高抵抗状態が維持され、低抵抗状態にあった場合は高抵抗状態に遷移する。一方、その他のメモリセルMCに接続されているワード線WL及びビット線BLには、ロウ制御回路3からワード線非選択電圧Vnswl(例えば0V)、カラム制御回路2からビット線非選択電圧Vnsbl(例えば1V)が供給される。その結果、メモリセルMCのダイオードDiには逆方向バイアスがかかり、可変抵抗素子VRの抵抗状態は遷移しない。これにより、メモリセルMC1にのみ“1”が書き込まれる。
以上のデータ書き込みをMAT#0〜MAT#11について一括に行うことで、1ページ分のデータ書き込みが完了する。さらに、この処理を全ページについて繰り返すことで、セルアレイ全体のデータ書き込みが完了する。
次に、“1”書き込み時及び“0”書き込み時のワード線WL及びビット線BLに対する電圧供給時間が異なる場合の制御方法について説明する。
図11は、この場合における各MATの動作波形であり、(a)、(b)は、それぞれ入力データが“0”、“1”の場合である。
図11の例では、“0”書き込み時の選択ワード線WLに対するワード線セット電圧Vsetwlの供給時間より、“1”書き込み時の選択ワード線WLに対するワード線リセット電圧Vresetwlの供給時間の方がΔtだけ長い。これは、上述の通り、リセット動作においては、可変抵抗素子VRに対して長時間電流を流すことでジュール加熱による酸化還元反応を促進させるためである。
この場合、マルチプレクサ回路15の後段に更に図12に示すマルチプレクサ回路115を追加する。
マルチプレクサ回路115は、マルチプレクサ回路15から与えられるワード線セット電圧Vsetwl又はワード線リセット電圧Vresetwlとリカバリ電圧(例えば0V)を選択的にワード線WLに供給するものである。ここで、リカバリ電圧とは、ワード線セット電圧Vsetwl又はワード線リセット電圧Vresetwlを所定時間供給した後、ワード線WLに供給する平常時の電圧である。マルチプレクサ回路115は、入力データが“0”の場合にアクティブ(“H”)になるデータ識別信号DATA0及び図1に示すコントローラ7から10回分のクロックが与えられている間アクティブ(“H”)になるクロック回数信号CLK10を入力とするAND回路G101の出力と、入力データが“1”の場合にアクティブ(“H”)になるデータ識別信号DATA1及び図1に示すコントローラ7から100回分のクロックが与えられている間アクティブ(“H”)になるクロック回数信号CLK100を入力とするAND回路G102の出力とを入力とするNORゲートG103の出力により制御される。クロック回数信号は、“0”及び“1”書き込み時の選択ワード線WLに対するワード線セット電圧Vsetwl及びワード線リセット電圧Vresetwlの供給時間とステートマシンから与えられるクロック周期により決定される信号である。図12の例では、このクロック周期が10nsであった場合、“0”書き込み時のワード線セット電圧Vsetwl供給時間と“1”書き込み時のワード線リセット電圧Vresetwl供給時間は、それぞれ100ns及び1μsになる。これら供給時間は、クロック回数信号のアクティブ期間により調整することができる。
続いて、このマルチプレクサ回路115の動作を説明する。
入力データが“0”の場合、図9のマルチプレクサ回路115の入力In0にはマルチプレクサ15からワード線セット電圧Vsetwlが供給される。また、入力データ識別信号DATA0及びクロック回数信号CLK10、CLK100は“H”(アクティブ)、入力データ識別信号DATA1は“L”になる。この場合、ANDゲートG101の出力は“H”、NORゲートG103の出力は“L”となる。その結果、選択ワード線WLには、ワード線セット電圧Vsetwlが供給される。その後、ステートマシンから10回のパルスが供給されるとクロック回数信号CLK10は“L”になるため、ANDゲートG101の出力は“L”、NORゲートG103の出力は“H”になる。その結果、選択ワード線WLにはリカバリ電圧が供給される。
次に、入力データが“1”の場合、マルチプレクサ回路115の入力In0にはワード線リセット電圧Vresetwlが供給される。また、入力データ識別信号DATA1及びクロック回数信号CLK10、CLK100は“H”(アクティブ)、入力データ識別信号DATA1は“L”になる。この場合、ANDゲートG102の出力は“H”、NORゲートG103の出力は“L”となる。その結果、選択ワード線WLには、ワード線リセット電圧Vresetwlが供給される。その後、ステートマシンから100回のパルスが供給されるとクロック回数信号CLK100が“L”になるため、ANDゲートG101の出力は“L”、NORゲートG103の出力は“H”になる。その結果、選択ワード線WLにはリカバリ電圧が供給される。
カラム制御回路2も、図12に示す回路と同様の回路を備えている。カラム制御回路2のマルチプレクサ回路の場合、入力データに応じて入力In0にビット線セット電圧Vsetbl(例えば0V)又はビット線リセット電圧Vresetbl(例えば0V)が入力される。
以上により、選択ワード線WL及び選択ビット線BLに接続されたメモリセルMCにデータが書き込まれる。これを全てのMAT1について同時に行うことで、1ページ分のデータ書き込みが完了する。
なお、上記実施形態の場合、“0”書き込みに100ns、“1”書き込みに1μs要するため、1ページ分のデータ書き込みに要する時間は、1μsとなり、図5及び図6に示す場合と比べて、100nsの処理時間の短縮を図ることができる。
次に、データ書き込み時のベリファイ動作について説明する。上記書き込み動作にさらにベリファイ動作を追加することで、より確実にデータを書き込むことができる。
例えば、あるMAT1に対する入力データが“1”だった場合、上記同様、このMAT1の選択メモリセルMCに“1”を書き込む。その後、選択メモリセルMCの保持データを読み出し、選択メモリセルMCが高抵抗状態に遷移しているか否かを確認する。ここで、選択メモリセルMCが高抵抗状態であった場合、“1”の書き込みが正常に完了していることになるため、当該メモリセルMCに対する書き込み処理を終了する。一方、高抵抗状態に遷移していなかった場合、選択メモリセルMCの抵抗状態が高抵抗状態に遷移するまで、“1”の書き込み動作及びベリファイ動作を繰り返す。
また、入力データが“0”だった場合も同様に、選択メモリセルMCが低抵抗状態に遷移するまで“0”の書き込み動作及びベリファイ動作を繰り返す。
本実施形態によれば、“0”書き込み動作をする前に、メモリセルMCを一律にリセットするデータ書き込み方法に比べて、データ書き込み処理に要する時間を削減することができる。
また、1ページを構成する各メモリセルMCが相互に離間しているため、データ書き込み動作時の各メモリセルMCからの発熱の影響を緩和することができる。
さらに、図12に示すマルチプレクサ回路115によるデータ書き込み動作時の電圧供給時間を調整し、あるいは、データ書き込み処理内でベリファイ動作をすることにより、より安定したデータ書き込み処理を実現することができる。
[第2の実施形態]
第1の実施形態における場合、選択メモリセルMCの保持データに関わらず、最低1回のデータ書き込み動作をともなった。そのため、保持データが“0”の場合であっても、さらに“0”を書き込むことになる。この場合、メモリセルMCの可変抵抗素子VRは低抵抗状態にあるため大電流が流れ、メモリセルMC等の破壊が生じかねない。
そこで、第2の実施形態に係る不揮発性メモリでは、データ書き込み処理を図13に示す所定の手順で処理する。
まず、入力データが各MAT1のカラム制御回路2に転送された後(S301)、1回目のデータ書き込み動作の前に、予め選択メモリセルMCの保持データを読み出す(S302)。
次に、この読み出した保持データと入力データとを比較し(S303)、結果が一致していればデータ書き込み動作をしないまま終了する。一方、結果が一致していない場合、データ書き込み動作及びベリファイ動作を、結果が一致するまで繰り返し行う(S304)。
以上を全てのMAT1に対し行うことで1ページ分のデータ書き込み処理が完了する。
本実施形態によれば、入力データ及び選択メモリセルMCの保持データが共に“0”であった場合のデータ書き込み動作がないため、その際に発生する大電流によるメモリセルMC等の破壊を回避することができる。
[第3の実施形態]
第2の実施形態では、入力データ及び選択メモリセルMCの保持データが共に“0”であった場合、データ書き込み動作が行われなかった。しかし、メモリセルMCに使用する可変抵抗素子VRの抵抗状態が低抵抗状態にある場合、障壁ポテンシャルを越えるような熱エネルギーが加わることで、より電気化学ポテンシャルが低く熱的安定状態にある高抵抗状態に遷移するという性質がある。そのため、メモリセルMCの保持データが“0”である場合であっても、高抵抗状態への遷移を抑制するため、敢えて“0”を上書きしたい場合がある。
そこで、入力データと選択メモリセルMCの保持データが共に“0”であった場合であっても“0”書き込み動作をするとともに、その際の大電流の発生を抑制する不揮発性メモリについて説明する。
図14は、第3の実施形態に係る不揮発性メモリのセルアレイの一部を示すブロック図である。
この不揮発性メモリは、第1から第2の実施形態の不揮発性メモリの配線に電流リミット機能を追加したものである。
各MATのビット線BL及びカラム制御回路3の間には複数のトランスファトランジスタT401、T402、・・・が設けられており、これらのゲートには、電流リミット回路401の出力が接続されている。トランスファトランジスタT401、T402、・・・は、ビット線BLに流れる電流を制限するものであり、その制限値は、電流リミット回路401により制御される。
この電流リミット回路401は、リミット電圧Vlim1又はVlim2を選択的にトランスファトランジスタT401、T402、・・・のゲート電圧として与える回路である。ここで、リミット電圧Vlim1は、選択メモリセルMCの可変抵抗素子VRの抵抗状態が遷移する通常のデータ書き込み動作時に選択される電圧であり、データ書き込み動作時にビット線BLに流れる電流より大きな電流を制限するためのゲート電圧となる。一方、リミット電圧Vlim2は、選択メモリセルMCの保持データ及び入力データDINがともに“0”だった場合に選択される電圧であり、大電流が流れないようにリミット電圧Vlim1よりもさらに低いレベルのゲート電圧となる。なお、選択メモリセルMCの保持データ及び入力データDINが共に“1”だった場合、メモリセルMCの可変抵抗素子VRは高抵抗状態に維持されるため、特に電流制限を加える必要はない。
本実施形態によれば、入力データDIN及び選択メモリセルMCの保持データが共に“0”であった場合でも、メモリセルMC等に大電流を流すことなく、選択メモリセルMCに対する“0”書き込みを行える。さらに、入力データDIN及び選択メモリセルMCの保持データの関係に応じて適切に電流制限をかけることができるため、消費電力の低減をも図ることができる。
[第4の実施形態]
第1〜第3の実施形態では、メモリセルMCの非オーミック素子NOにダイオードDiを使用していたため、ワード線WLからビット線BLの方向にしか電流が流れないユニポーラ動作であった。しかし、これら実施形態は、バイポーラ動作する不揮発性メモリにも応用することができる。
図15は、本発明の第4の実施形態に係る不揮発性メモリの“0”書き込み時(a)及び“1”書き込み時(b)の各MAT1の動作波形図である。また、図16は、同実施形態におけるMAT1の回路と“0”書き込み時(a)及び“1”書き込み時(b)のワード線WL及びビット線BLに対する供給電圧を示す図である。
メモリセルMC´の非オーミック素子NOにはキャパシタCが用いられる。キャパシタCとしては、例えばMIMキャパシタ、SISキャパシタなどを用いることができる。
図16(a)中の点線で囲まれたメモリセルMC´1に“0”を書き込む場合、メモリセルMC´1に接続されたワード線WL1及びビット線BL1には、それぞれワード線セット電圧Vsetwl(例えば3V)及びビット線セット電圧Vsetbl(例えば0V)が供給される。この場合のワード線セット電圧Vsetwlとビット線セット電圧Vsetblは可変抵抗素子VRを低抵抗状態に遷移させるために必要な電位差となるように設定する。一方、その他のメモリセルMC´に接続されたワード線WL及びビット線BLには、それぞれワード線非選択電圧Vnswl(例えば1V)及びビット線非選択電圧Vnsbl(例えば2V)が供給される。この場合のワード線非選択電圧Vnswlは、ビット線セット電圧Vsetbl及びビット線非選択電圧Vnsbl双方との関係においてメモリセルMC´の可変抵抗素子VRの抵抗状態が遷移しない程度の電位差になるように設定する。同様に、ビット線非選択電圧Vnsblは、ワード線セット電圧Vsetwl及びワード線非選択電圧Vnswl双方との関係においてメモリセルMC´の可変抵抗素子VRの抵抗状態が遷移しない程度の電位差になるように設定する。その結果、選択されたメモリセルMC´1は低抵抗状態に遷移し、その他のメモリセルMC´の抵抗状態は遷移しない。これにより、メモリセルMC´1にのみ“0”が書き込まれる。
図16(b)中の点線で囲まれたメモリセルMC´1に“1”を書き込む場合、メモリセルMC´1に接続されたワード線WL1及びビット線BL1には、それぞれワード線リセット電圧Vresetwl(例えば−3V)及びビット線リセット電圧Vresetbl(例えば0V)が供給される。この場合のワード線リセット電圧Vresetwlとビット線リセット電圧Vresetblは可変抵抗素子VRを高抵抗状態に遷移させるために必要な電位差となるように設定する。一方、その他のメモリセルMC´に接続されたワード線WL及びビット線BLには、それぞれワード線非選択電圧Vnswl(例えば−1V)及びビット線非選択電圧Vnsbl(例えば−2V)が供給される。この場合のワード線非選択電圧Vnswl及びビット線非選択電圧は“0”書き込み時と同様に設定する。その結果、選択されたメモリセルMC´1は高抵抗状態に遷移し、その他のメモリセルMC´の抵抗状態は遷移しない。これにより、メモリセルMC´1にのみ“1”が書き込まれる。
本実施形態によっても、第1〜第3の実施形態と同様の効果を得ることができる。さらに、“0”書き込み動作と逆極性の電圧をメモリセルMC´の可変抵抗素子VRに供給することで“1”書き込み動作を行っているため、“0”書き込み動作と同程度の時間により“1”書き込み動作をすることができる。そのためユニポーラ動作による第1〜第3の実施形態における場合より、さらに迅速なデータ書き込み処理が可能となる。
[第5の実施形態]
図17は、本発明の第5の実施形態に係る不揮発性メモリの“0”書き込み時(a)及び“1”書き込み時(b)の各MAT1の動作波形図である。また、図18は、同実施形態におけるMAT1の回路と“1”書き込み時の各配線に対する供給電圧を示す図である。
本実施形態における場合、“0”書き込み動作については、第4の実施形態における場合と同様である。
次に、図18中の点線で囲まれたメモリセルMC´1に“1”を書き込む場合について説明する。この場合、“0”書き込み動作時に選択ワード線WL1及び非選択ワード線WLに供給された電圧と選択ビット線BL1及び非選択ビット線BLに供給された電圧を相互に入れ替えて供給する。つまり、選択ワード線WL1には0Vのワード線リセット電圧Vresetwl、非選択ワード線WLには2Vのワード線非選択電圧Vnswl、選択ビット線BL1には3Vのビット線リセット電圧Vresetbl、非選択ビット線BLには1Vのビット線非選択電圧Vnsblがそれぞれ供給される。その結果、選択されたメモリセルMC´1は高抵抗状態に遷移し、その他のメモリセルMC´の抵抗状態は遷移しない。これにより、メモリセルMC´1にのみ“1”が書き込まれる。
このように、本実施形態によれば、入力データに応じて、ワード線WLとビット線BLに供給する電圧を相互に入れ替えることでも、第4の実施形態と同様の効果を得ることができる。
[その他]
以上、不揮発性メモリ、特に抵抗変化型メモリについて説明したが、第1〜第3の実施形態については、他の半導体記憶装置にも適用することができる。
本発明の第1の実施形態に係る不揮発性メモリのブロック図である。 同実施形態に係る不揮発性メモリのMATの一部を示す斜視図である。 図2におけるI−I´線で切断して矢印方向に見たメモリセル1個分の断面図である。 同実施形態における可変抵抗素子の一例を示す模式的な断面図である。 同実施形態におけるMATの回路と“1”書き込み時の各配線に対する供給電圧を示す図である。 同実施形態におけるMATの回路と“0”書き込み時の各配線に対する供給電圧を示す図である。 同実施形態におけるセルアレイのページ構成を示す概略図である。 同実施形態におけるセルアレイのブロック図である。 同実施形態におけるロウ制御回路の一部機能を示すブロック図である。 同実施形態におけるMATの回路と“1”書き込み時の各配線に対する供給電圧を示す図である。 同実施形態における“0”書き込み時(a)及び“1”書き込み時(b)の各MATの動作波形図である。 同実施形態におけるロウ制御回路の一部機能を示すブロック図である。 本発明の第2の実施形態の係る不揮発性メモリのデータ書き込み処理のフロー図である。 本発明の第3の実施形態に係る不揮発性メモリのセルアレイの一部を示すブロック図である。 本発明の第4の実施形態に係る不揮発性メモリの“0”書き込み時(a)及び“1”書き込み時(b)の各MATの動作波形図である。 同実施形態におけるMATの回路と“0”書き込み時(a)及び“1”書き込み時(b)の各配線に対する供給電圧を示す図である。 本発明の第5の実施形態に係る不揮発性メモリの“0”書き込み時(a)及び“1”書き込み時(b)の各MATの動作波形図である。 同実施形態におけるMATの回路と“1”書き込み時の各配線に対する供給電圧を示す図である。
符号の説明
1・・・MAT(単位セルアレイ)、2・・・カラム制御回路、3・・・ロウ制御回路、4・・・データ入出力バッファ、5・・・アドレスレジスタ、6・・・コマンド・インターフェイス、7・・・コントローラ、8・・・パルスジェネレータ、11、13・・・電極層、12・・・記録層、14・・・メタル層、401・・・電流リミット回路、BL・・・ビット線、C・・・キャパシタ、DATA0、DATA1・・・入力データ識別信号、Di・・・ダイオード、DIN・・・入力データ、EL・・・電極、G101、G102・・・ANDゲート、G103・・・NORゲート、IDST・・・入力データ選択信号、MC、MC´・・・メモリセル、NO・・・非オーミック素子、T・・・トランスファトランジスタ、Vlim1、Vlim2・・・リミット電圧、Vnsbl・・・ビット線非選択電圧、Vnswl・・・ワード線非選択電圧、VR・・・可変抵抗素子、Vresetbl・・・ビット線リセット電圧、Vresetwl・・・ワード線リセット電圧、Vsetbl・・・ビット線セット電圧、Vsetwl・・・ワード線セット電圧、WL・・・ワード線。

Claims (5)

  1. 複数の第1の配線、これら複数の配線と交差する複数の第2の配線、並びに前記第1及び第2の配線の交差部で両配線間に接続された電気的書き換えが可能で抵抗値をデータとして不揮発に記憶する可変抵抗素子及び非オーミック素子の直列回路からなるメモリセルを有する複数のMAT(単位セルアレイ)をマトリクス配列してなるセルアレイと、
    前記各MATに接続されて各MAT毎に内部のメモリセルに対して、入力データに応じたデータの書き込み又は消去を行う複数の書き込み/消去回路と
    を有し、
    複数の前記書き込み/消去回路の一部が、対応するMAT内のメモリセルに対してデータを書き込むと同時に、複数の前記書き込み/消去回路の他の一部が対応するMAT内のメモリセルに対してデータの消去を実行する
    ことを特徴とする不揮発性半導体記憶装置。
  2. データ書き込み用の書き込み電圧とデータ消去用の消去電圧とを同時に発生させるパルスジェネレータを備え、
    前記書き込み/消去回路は、前記パルスジェネレータからの書き込み電圧と消去電圧を入力しこれら電圧を入力データに応じて選択して前記第1の配線又は第2の配線に転送する選択回路を備えている
    ことを特徴とする請求項1記載の不揮発性半導体記憶装置。
  3. 前記選択回路は、前記書き込み電圧又は消去電圧をそれらの印加時間だけ選択して前記第1の配線又は第2の配線に転送し、それ以外はリカバリ電圧を選択して前記第1の配線又は第2の配線に転送する
    ことを特徴とする請求項2記載の不揮発性半導体記憶装置。
  4. 前記書き込み/消去回路は、選択メモリセルの保持データを読み出すと共に入力データを入力し、前記保持データが入力データと等しい場合には、対応するMATに対するアクセスを行わない
    ことを特徴とする請求項1記載の不揮発性半導体記憶装置。
  5. 前記入力データが書き込みデータである場合に前記メモリセルに流れる電流値を制限する電流リミッタ回路を有する
    ことを特徴とする請求項1記載の不揮発性半導体記憶装置。
JP2008197608A 2008-07-31 2008-07-31 不揮発性半導体記憶装置 Expired - Fee Related JP5268481B2 (ja)

Priority Applications (5)

Application Number Priority Date Filing Date Title
JP2008197608A JP5268481B2 (ja) 2008-07-31 2008-07-31 不揮発性半導体記憶装置
US12/511,443 US7957203B2 (en) 2008-07-31 2009-07-29 Nonvolatile semiconductor memory device
US13/099,540 US8391082B2 (en) 2008-07-31 2011-05-03 Nonvolatile semiconductor memory device
US13/768,359 US8842481B2 (en) 2008-07-31 2013-02-15 Nonvolatile semiconductor memory device
US14/479,563 US9324427B2 (en) 2008-07-31 2014-09-08 Nonvolatile semiconductor memory device

Applications Claiming Priority (1)

Application Number Priority Date Filing Date Title
JP2008197608A JP5268481B2 (ja) 2008-07-31 2008-07-31 不揮発性半導体記憶装置

Publications (2)

Publication Number Publication Date
JP2010033683A true JP2010033683A (ja) 2010-02-12
JP5268481B2 JP5268481B2 (ja) 2013-08-21

Family

ID=41608198

Family Applications (1)

Application Number Title Priority Date Filing Date
JP2008197608A Expired - Fee Related JP5268481B2 (ja) 2008-07-31 2008-07-31 不揮発性半導体記憶装置

Country Status (2)

Country Link
US (4) US7957203B2 (ja)
JP (1) JP5268481B2 (ja)

Cited By (8)

* Cited by examiner, † Cited by third party
Publication number Priority date Publication date Assignee Title
JP2011175723A (ja) * 2010-02-24 2011-09-08 Hynix Semiconductor Inc 半導体メモリ装置
JP2012119018A (ja) * 2010-11-30 2012-06-21 Hitachi Ltd 半導体装置および情報処理システム
JP2012123892A (ja) * 2010-12-07 2012-06-28 Hynix Semiconductor Inc 半導体メモリ装置及びその駆動方法
JP2012198968A (ja) * 2011-03-22 2012-10-18 Toshiba Corp 不揮発性半導体記憶装置
JP2012212477A (ja) * 2011-03-30 2012-11-01 Toshiba Corp 抵抗変化メモリ
JP2013041649A (ja) * 2011-08-17 2013-02-28 Kanazawa Univ 抵抗変化型不揮発性記憶素子の書き込み回路
JP2013077681A (ja) * 2011-09-30 2013-04-25 Nec Corp 抵抗変化素子及びそのプログラミング方法
WO2022259653A1 (ja) * 2021-06-08 2022-12-15 ソニーセミコンダクタソリューションズ株式会社 メモリセルアレイユニット

Families Citing this family (16)

* Cited by examiner, † Cited by third party
Publication number Priority date Publication date Assignee Title
JP5268481B2 (ja) * 2008-07-31 2013-08-21 株式会社東芝 不揮発性半導体記憶装置
JP2010044827A (ja) 2008-08-13 2010-02-25 Toshiba Corp 不揮発性半導体記憶装置
US8289749B2 (en) * 2009-10-08 2012-10-16 Sandisk 3D Llc Soft forming reversible resistivity-switching element for bipolar switching
US8848430B2 (en) * 2010-02-23 2014-09-30 Sandisk 3D Llc Step soft program for reversible resistivity-switching elements
JP2013004143A (ja) * 2011-06-16 2013-01-07 Toshiba Corp 不揮発性半導体記憶装置
JP5802625B2 (ja) * 2012-08-24 2015-10-28 株式会社東芝 不揮発性半導体記憶装置
US8995166B2 (en) * 2012-12-20 2015-03-31 Intermolecular, Inc. Multi-level memory array having resistive elements for multi-bit data storage
US9349450B2 (en) 2013-06-10 2016-05-24 Micron Technology, Inc. Memory devices and memory operational methods including single erase operation of conductive bridge memory cells
US9178143B2 (en) * 2013-07-29 2015-11-03 Industrial Technology Research Institute Resistive memory structure
KR102151183B1 (ko) 2014-06-30 2020-09-02 삼성전자주식회사 저항성 메모리 장치 및 저항성 메모리 장치의 동작방법
KR102261817B1 (ko) 2014-12-15 2021-06-07 삼성전자주식회사 다수의 레이어들을 포함하는 저항성 메모리 장치, 저항성 메모리 시스템 및 저항성 메모리 시스템의 동작방법
US11017838B2 (en) 2016-08-04 2021-05-25 Samsung Electronics Co., Ltd. Nonvolatile memory devices
KR102620562B1 (ko) * 2016-08-04 2024-01-03 삼성전자주식회사 비휘발성 메모리 장치
US11043497B1 (en) * 2019-12-19 2021-06-22 Micron Technology, Inc. Integrated memory having non-ohmic devices and capacitors
JP2022125684A (ja) * 2021-02-17 2022-08-29 キオクシア株式会社 抵抗変化型記憶装置
US20240389486A1 (en) * 2023-05-15 2024-11-21 Taiwan Semiconductor Manufacturing Company Limited Capacitor circuit providing self-adjusting capacitance and methods for forming the same

Citations (4)

* Cited by examiner, † Cited by third party
Publication number Priority date Publication date Assignee Title
JP2005108395A (ja) * 2003-09-12 2005-04-21 Renesas Technology Corp 記憶装置
WO2008012871A1 (fr) * 2006-07-25 2008-01-31 Fujitsu Limited Dispositif à mémoire à semi-conducteur rémanente
WO2008032394A1 (en) * 2006-09-15 2008-03-20 Renesas Technology Corp. Semiconductor device
JP2008159178A (ja) * 2006-12-25 2008-07-10 Elpida Memory Inc 半導体記憶装置とその書き込み制御方法

Family Cites Families (13)

* Cited by examiner, † Cited by third party
Publication number Priority date Publication date Assignee Title
JP2003152117A (ja) * 2001-11-19 2003-05-23 Mitsubishi Electric Corp 不揮発性半導体記憶装置
JP4124635B2 (ja) * 2002-12-05 2008-07-23 シャープ株式会社 半導体記憶装置及びメモリセルアレイの消去方法
JP4537680B2 (ja) * 2003-08-04 2010-09-01 株式会社東芝 不揮発性半導体記憶装置及びその動作方法、製造方法、半導体集積回路及びシステム
JP4189395B2 (ja) * 2004-07-28 2008-12-03 シャープ株式会社 不揮発性半導体記憶装置及び読み出し方法
KR100610014B1 (ko) * 2004-09-06 2006-08-09 삼성전자주식회사 리키지 전류 보상 가능한 반도체 메모리 장치
KR101202340B1 (ko) * 2005-01-21 2012-11-16 삼성디스플레이 주식회사 청색 발광 화합물 및 이를 채용한 유기 전계 발광 소자
JP5268481B2 (ja) * 2008-07-31 2013-08-21 株式会社東芝 不揮発性半導体記憶装置
JP2010044827A (ja) 2008-08-13 2010-02-25 Toshiba Corp 不揮発性半導体記憶装置
JP4846813B2 (ja) * 2009-03-12 2011-12-28 株式会社東芝 不揮発性半導体記憶装置
JP2010225227A (ja) * 2009-03-23 2010-10-07 Toshiba Corp 不揮発性半導体記憶装置
JP4880101B1 (ja) * 2010-06-29 2012-02-22 パナソニック株式会社 不揮発性記憶装置及びその駆動方法
KR20130021199A (ko) * 2011-08-22 2013-03-05 삼성전자주식회사 비휘발성 메모리 소자 및 그 구동 방법
US9053787B2 (en) * 2012-03-29 2015-06-09 Panasonic Intellectual Property Management Co., Ltd. Crosspoint nonvolatile memory device and method of driving the same

Patent Citations (4)

* Cited by examiner, † Cited by third party
Publication number Priority date Publication date Assignee Title
JP2005108395A (ja) * 2003-09-12 2005-04-21 Renesas Technology Corp 記憶装置
WO2008012871A1 (fr) * 2006-07-25 2008-01-31 Fujitsu Limited Dispositif à mémoire à semi-conducteur rémanente
WO2008032394A1 (en) * 2006-09-15 2008-03-20 Renesas Technology Corp. Semiconductor device
JP2008159178A (ja) * 2006-12-25 2008-07-10 Elpida Memory Inc 半導体記憶装置とその書き込み制御方法

Cited By (8)

* Cited by examiner, † Cited by third party
Publication number Priority date Publication date Assignee Title
JP2011175723A (ja) * 2010-02-24 2011-09-08 Hynix Semiconductor Inc 半導体メモリ装置
JP2012119018A (ja) * 2010-11-30 2012-06-21 Hitachi Ltd 半導体装置および情報処理システム
JP2012123892A (ja) * 2010-12-07 2012-06-28 Hynix Semiconductor Inc 半導体メモリ装置及びその駆動方法
JP2012198968A (ja) * 2011-03-22 2012-10-18 Toshiba Corp 不揮発性半導体記憶装置
JP2012212477A (ja) * 2011-03-30 2012-11-01 Toshiba Corp 抵抗変化メモリ
JP2013041649A (ja) * 2011-08-17 2013-02-28 Kanazawa Univ 抵抗変化型不揮発性記憶素子の書き込み回路
JP2013077681A (ja) * 2011-09-30 2013-04-25 Nec Corp 抵抗変化素子及びそのプログラミング方法
WO2022259653A1 (ja) * 2021-06-08 2022-12-15 ソニーセミコンダクタソリューションズ株式会社 メモリセルアレイユニット

Also Published As

Publication number Publication date
US8391082B2 (en) 2013-03-05
US9324427B2 (en) 2016-04-26
US7957203B2 (en) 2011-06-07
US20140376302A1 (en) 2014-12-25
US20110205784A1 (en) 2011-08-25
US20130155756A1 (en) 2013-06-20
US20100027318A1 (en) 2010-02-04
US8842481B2 (en) 2014-09-23
JP5268481B2 (ja) 2013-08-21

Similar Documents

Publication Publication Date Title
JP5268481B2 (ja) 不揮発性半導体記憶装置
JP5049814B2 (ja) 不揮発性半導体記憶装置のデータ書き込み方法
JP5178448B2 (ja) 不揮発性半導体記憶装置
US11100985B2 (en) Nonvolatile semiconductor memory device
JP5100554B2 (ja) 半導体記憶装置
JP5006369B2 (ja) 不揮発性半導体記憶装置
JP5049733B2 (ja) 情報処理システム
JP4719233B2 (ja) 不揮発性半導体記憶装置
JP2010225227A (ja) 不揮発性半導体記憶装置
JP2010040150A (ja) 不揮発性半導体記憶装置
JP5450846B2 (ja) 不揮発性半導体記憶装置

Legal Events

Date Code Title Description
A621 Written request for application examination

Free format text: JAPANESE INTERMEDIATE CODE: A621

Effective date: 20100915

A977 Report on retrieval

Free format text: JAPANESE INTERMEDIATE CODE: A971007

Effective date: 20120821

A131 Notification of reasons for refusal

Free format text: JAPANESE INTERMEDIATE CODE: A131

Effective date: 20120828

A521 Written amendment

Free format text: JAPANESE INTERMEDIATE CODE: A523

Effective date: 20121026

A131 Notification of reasons for refusal

Free format text: JAPANESE INTERMEDIATE CODE: A131

Effective date: 20121120

A521 Written amendment

Free format text: JAPANESE INTERMEDIATE CODE: A523

Effective date: 20130115

A131 Notification of reasons for refusal

Free format text: JAPANESE INTERMEDIATE CODE: A131

Effective date: 20130205

RD01 Notification of change of attorney

Free format text: JAPANESE INTERMEDIATE CODE: A7421

Effective date: 20130221

A521 Written amendment

Free format text: JAPANESE INTERMEDIATE CODE: A523

Effective date: 20130228

TRDD Decision of grant or rejection written
A01 Written decision to grant a patent or to grant a registration (utility model)

Free format text: JAPANESE INTERMEDIATE CODE: A01

Effective date: 20130409

A61 First payment of annual fees (during grant procedure)

Free format text: JAPANESE INTERMEDIATE CODE: A61

Effective date: 20130507

LAPS Cancellation because of no payment of annual fees