JP2010027710A - 半導体モジュール - Google Patents

半導体モジュール Download PDF

Info

Publication number
JP2010027710A
JP2010027710A JP2008184724A JP2008184724A JP2010027710A JP 2010027710 A JP2010027710 A JP 2010027710A JP 2008184724 A JP2008184724 A JP 2008184724A JP 2008184724 A JP2008184724 A JP 2008184724A JP 2010027710 A JP2010027710 A JP 2010027710A
Authority
JP
Japan
Prior art keywords
emitter
side wiring
gate
semiconductor switch
collector
Prior art date
Legal status (The legal status is an assumption and is not a legal conclusion. Google has not performed a legal analysis and makes no representation as to the accuracy of the status listed.)
Granted
Application number
JP2008184724A
Other languages
English (en)
Other versions
JP5207862B2 (ja
Inventor
Osamu Usui
修 碓井
Current Assignee (The listed assignees may be inaccurate. Google has not performed a legal analysis and makes no representation or warranty as to the accuracy of the list.)
Mitsubishi Electric Corp
Original Assignee
Mitsubishi Electric Corp
Priority date (The priority date is an assumption and is not a legal conclusion. Google has not performed a legal analysis and makes no representation as to the accuracy of the date listed.)
Filing date
Publication date
Application filed by Mitsubishi Electric Corp filed Critical Mitsubishi Electric Corp
Priority to JP2008184724A priority Critical patent/JP5207862B2/ja
Publication of JP2010027710A publication Critical patent/JP2010027710A/ja
Application granted granted Critical
Publication of JP5207862B2 publication Critical patent/JP5207862B2/ja
Active legal-status Critical Current
Anticipated expiration legal-status Critical

Links

Images

Classifications

    • H10W72/5445
    • H10W72/5475

Landscapes

  • Power Conversion In General (AREA)
  • Inverter Devices (AREA)

Abstract

【課題】各半導体スイッチ素子に流れる電流を同一にし、寿命が長く信頼性の高い半導体モジュールを提供する。
【解決手段】並列に接続された半導体スイッチ素子2a,2bと、コレクタ端子8と半導体スイッチ素子2a,2bのコレクタ電極とを接続するコレクタ中継導体10と、エミッタ端子9とエミッタ電極とを接続するためのエミッタワイヤ7a、7b及びエミッタ中継導体11と、ゲート端子18とゲート電極とを接続するためのゲート中継導体16とを備え、コレクタ中継導体10とエミッタ中継導体11を流れる電流によってゲート中継導体16において発生する誘導起電力と、エミッタワイヤ7a、7bにおいて発生する誘導起電力とが同一となるようコレクタ中継導体10、エミッタ中継導体11、ゲート中継導体16及びエミッタワイヤ7a、7bを配置する。
【選択図】図4

Description

この発明は、IGBT(insulated gate bipolar transistor)等の電圧駆動型の半導体スイッチ素子からなる半導体モジュールに関するものであり、特に半導体モジュールの配線構造に関するものである。
複数の半導体スイッチ素子が並列に接続された半導体モジュールにおいて、主電流により各半導体スイッチ素子のゲート・エミッタ間に誘導起電力を発生すると、各半導体スイッチ素子間においてゲート・エミッタ間電圧に差が発生し、各半導体スイッチ素子に流れる電流が不均一となり、半導体モジュールの信頼性が低下するという問題があった。
このような問題点を解決するための従来技術として、並列に接続された半導体スイッチ素子のエミッタ間接続導体に発生するリアクトル成分の電圧降下に相当する電圧を発生させる電圧源と、電圧源を介して半導体スイッチ素子を駆動する駆動手段を有し、リアクトル成分によるエミッタ電位の降下を電圧源によってゲート電位に加えることにより、各半導体スイッチ素子のゲート・エミッタ間の電圧を均一にしたものがあった(特許文献1)。
特開平07−177727号公報(図1)
上記特許文献1に示されたものでは、各半導体スイッチ素子のエミッタ配線の自己インダクタンス差に起因して発生するゲート・エミッタ間の電圧差を均一にするものであるため、相互インダクタンス差に起因して発生するゲート・エミッタ間の電圧差を均一にすることはできなかった。更には主電流が流れるエミッタ側共通端子をゲート・エミッタ間電圧の基準電位とする構造であるため、エミッタ配線における自己インダクタンスのばらつきを避けるために、大電流である主電流が流れるエミッタ配線とは別に各半導体スイッチ素子のエミッタ電極に主電流が流れない制御エミッタ配線を設けて、これをゲート・エミッタ間電圧の基準電位として自己インダクタンスの影響を受けないようにした構造においては、ゲート・エミッタ間の電圧差を均一にし、各半導体スイッチ素子に流れる電流を同一にすることはできなかった。
各半導体スイッチ素子に流れる電流が相違し、特定の半導体スイッチ素子に電流が集中すると、その半導体スイッチ素子の温度が上昇し、高温、低温を繰り返すことによって半導体モジュールの寿命が短くなったり、短絡した場合の耐久性を低下させてしまうという問題があった。
この発明は、上記のような問題点を解決するためになされたものであり、相互インダクタンス差に起因してゲート・エミッタ間に電圧差が発生するような構造及び制御エミッタ配線を設けるような構造においても、各半導体スイッチ素子に流れる電流を同一にし、寿命が長く信頼性の高い半導体モジュールを提供することを目的としている。
この発明の請求項1に係る半導体モジュールは、複数の半導体スイッチ素子が対称線に対して対称に配置されるとともに、対称に配置された上記半導体スイッチ素子同士が並列に接続され、更にコレクタ端子、エミッタ端子、ゲート端子及び制御エミッタ端子を有するものであって、複数の半導体スイッチ素子のゲート電極とゲート端子とを接続するとともに電流経路が対称線に対して対称に配置されているゲート側配線と、複数の半導体スイッチ素子の制御エミッタ電極と制御エミッタ端子とを接続するとともに電流経路が対称線に対して対称に配置されている制御エミッタ側配線と、複数の半導体スイッチ素子のコレクタ電極とコレクタ端子とを接続し、電流経路が対称線に対して対称に配置されている第1のコレクタ側配線及び電流経路が対称線に対して非対称に配置されている第2のコレクタ側配線と、複数の半導体スイッチ素子のエミッタ電極とエミッタ端子とを接続し、電流経路が対称線に対して対称に配置されている第1のエミッタ側配線及び電流経路が対称線に対して非対称に配置されている第2のエミッタ側配線とを備え、第2のエミッタ側配線及び第2のコレクタ側配線を流れる電流によって、ゲート側配線において発生する誘導起電力による電圧と第1のエミッタ側配線において発生する誘導起電力による電圧とが同一となるよう第2のコレクタ側配線、第1及び第2のエミッタ側配線及びゲート側配線を配置したものである。
この発明の請求項2に係る半導体モジュールは、第2のエミッタ側配線及び第2のコレクタ側配線を流れる電流によって、第1のエミッタ側配線において発生する誘導起電力と制御エミッタ側配線において発生する誘導起電力とにより複数の半導体スイッチ素子のエミッタ電極間において生ずる電圧が、第2のエミッタ側配線及び第2のコレクタ側配線を流れる電流によって、ゲート側配線において発生する誘導起電力により複数の半導体スイッチ素子のゲート電極間において生ずる電圧と同等になるよう第2のコレクタ側配線、第1及び第2のエミッタ側配線、ゲート側配線及び制御エミッタ側配線を配置したものである。
この発明の請求項3に係る半導体モジュールは、複数の半導体スイッチ素子が対称線に対して対称に配置されるとともに、対称に配置された半導体スイッチ素子同士が並列に接続され、更にコレクタ端子、エミッタ端子、ゲート端子及び制御エミッタ端子を有するものであって、複数の半導体スイッチ素子のゲート電極とゲート端子とを接続するとともに電流経路が対称線に対して対称に配置されている第1のゲート側配線と、複数の半導体スイッチ素子のゲート電極間を接続するとともに電流経路が対称線に対して対称に配置されている第2のゲート側配線と、複数の半導体スイッチ素子の制御エミッタ電極と制御エミッタ端子とを接続するとともに電流経路が対称線に対して対称に配置されている制御エミッタ側配線と、複数の半導体スイッチ素子のコレクタ電極とコレクタ端子とを接続し、電流経路が対称線に対して対称に配置されている第1のコレクタ側配線及び電流経路が対称線に対して非対称に配置されている第2のコレクタ側配線と、複数の半導体スイッチ素子のエミッタ電極とエミッタ端子とを接続し、電流経路が対称線に対して対称に配置されている第1のエミッタ側配線及び電流経路が対称線に対して非対称に配置されている第2のエミッタ側配線とを備え、第2のエミッタ側配線及び第2のコレクタ側配線を流れる電流によって、第1のエミッタ側配線において発生する誘導起電力と制御エミッタ側配線において発生する誘導起電力とにより複数の半導体スイッチ素子のエミッタ電極間において生ずる電圧が、第2のエミッタ側配線及び第2のコレクタ側配線を流れる電流によって、第1のゲート側配線において発生する誘導起電力と第2のゲート側配線において発生する誘導起電力とにより複数の半導体スイッチ素子のゲート電極間において生ずる電圧と同等になるよう第2のコレクタ側配線、第1及び第2のエミッタ側配線、第1及び第2のゲート側配線及び制御エミッタ側配線を配置したものである。
この発明の請求項4に係る半導体モジュールは、複数の半導体スイッチ素子が対称線に対して対称に配置されるとともに、対称に配置された半導体スイッチ素子同士が並列に接続され、更にコレクタ端子、エミッタ端子、ゲート端子及び制御エミッタ端子を有するものであって、複数の半導体スイッチ素子のゲート電極とゲート端子とを接続するとともに電流経路が対称線に対して対称に配置されている第1のゲート側配線と、複数の半導体スイッチ素子のゲート電極間を接続するとともに電流経路が対称線に対して対称に配置されている第2のゲート側配線と、複数の半導体スイッチ素子の制御エミッタ電極と制御エミッタ端子とを接続するとともに電流経路が対称線に対して対称に配置されている第1の制御エミッタ側配線と、複数の半導体スイッチ素子の制御エミッタ電極間を接続するとともに電流経路が対称線に対して対称に配置されている第2の制御エミッタ側配線と、複数の半導体スイッチ素子のコレクタ電極とコレクタ端子とを接続し、電流経路が対称線に対して対称に配置されている第1のコレクタ側配線及び電流経路が対称線に対して非対称に配置されている第2のコレクタ側配線と、複数の半導体スイッチ素子のエミッタ電極とエミッタ端子とを接続し、電流経路が対称線に対して対称に配置されている第1のエミッタ側配線及び電流経路が対称線に対して非対称に配置されている第2のエミッタ側配線とを備え、第2のエミッタ側配線及び第2のコレクタ側配線を流れる電流によって、第1のエミッタ側配線において発生する誘導起電力と第1の制御エミッタ側配線において発生する誘導起電力と第2の制御エミッタ側配線において発生する誘導起電力とにより複数の半導体スイッチ素子のエミッタ電極間において生ずる電圧が、第2のエミッタ側配線及び第2のコレクタ側配線を流れる電流によって第1のゲート側配線において発生する誘導起電力と第2のゲート側配線において発生する誘導起電力とにより複数の半導体スイッチ素子のゲート電極間において生ずる電圧と同等に近づくよう第2のコレクタ側配線、第1及び第2のエミッタ側配線、第1及び第2のゲート側配線及び第1及び第2の制御エミッタ側配線を配置したものである。
この発明の請求項1に係る半導体モジュールによれば、複数の半導体スイッチ素子が対称線に対して対称に配置されるとともに、対称に配置された上記半導体スイッチ素子同士が並列に接続され、更にコレクタ端子、エミッタ端子、ゲート端子及び制御エミッタ端子を有するものであって、複数の半導体スイッチ素子のゲート電極とゲート端子とを接続するとともに電流経路が対称線に対して対称に配置されているゲート側配線と、複数の半導体スイッチ素子の制御エミッタ電極と制御エミッタ端子とを接続するとともに電流経路が対称線に対して対称に配置されている制御エミッタ側配線と、複数の半導体スイッチ素子のコレクタ電極とコレクタ端子とを接続し、電流経路が対称線に対して対称に配置されている第1のコレクタ側配線及び電流経路が対称線に対して非対称に配置されている第2のコレクタ側配線と、複数の半導体スイッチ素子のエミッタ電極とエミッタ端子とを接続し、電流経路が対称線に対して対称に配置されている第1のエミッタ側配線及び電流経路が対称線に対して非対称に配置されている第2のエミッタ側配線とを備え、第2のエミッタ側配線及び第2のコレクタ側配線を流れる電流によって、ゲート側配線において発生する誘導起電力による電圧と第1のエミッタ側配線において発生する誘導起電力による電圧とが同一となるよう第2のコレクタ側配線、第1及び第2のエミッタ側配線及びゲート側配線を配置したので、各半導体スイッチ素子に印加されるゲート・エミッタ間電圧を均等にし、各半導体スイッチ素子に流れる電流を同一にすることにより、寿命が長く信頼性の高い半導体モジュールを得ることができる。
この発明の請求項2に係る半導体モジュールによれば、第2のエミッタ側配線及び第2のコレクタ側配線を流れる電流によって、第1のエミッタ側配線において発生する誘導起電力と制御エミッタ側配線において発生する誘導起電力とにより複数の半導体スイッチ素子のエミッタ電極間において生ずる電圧が、第2のエミッタ側配線及び第2のコレクタ側配線を流れる電流によって、ゲート側配線において発生する誘導起電力により複数の半導体スイッチ素子のゲート電極間において生ずる電圧と同等になるよう第2のコレクタ側配線、第1及び第2のエミッタ側配線、ゲート側配線及び制御エミッタ側配線を配置したので、各半導体スイッチ素子に印加されるゲート・エミッタ間電圧を均等にし、各半導体スイッチ素子に流れる電流を同一にすることにより、寿命が長く信頼性の高い半導体モジュールを得ることができる。
この発明の請求項3に係る半導体モジュールによれば、複数の半導体スイッチ素子が対称線に対して対称に配置されるとともに、対称に配置された半導体スイッチ素子同士が並列に接続され、更にコレクタ端子、エミッタ端子、ゲート端子及び制御エミッタ端子を有するものであって、複数の半導体スイッチ素子のゲート電極とゲート端子とを接続するとともに電流経路が対称線に対して対称に配置されている第1のゲート側配線と、複数の半導体スイッチ素子のゲート電極間を接続するとともに電流経路が対称線に対して対称に配置されている第2のゲート側配線と、複数の半導体スイッチ素子の制御エミッタ電極と制御エミッタ端子とを接続するとともに電流経路が対称線に対して対称に配置されている制御エミッタ側配線と、複数の半導体スイッチ素子のコレクタ電極とコレクタ端子とを接続し、電流経路が対称線に対して対称に配置されている第1のコレクタ側配線及び電流経路が対称線に対して非対称に配置されている第2のコレクタ側配線と、複数の半導体スイッチ素子のエミッタ電極とエミッタ端子とを接続し、電流経路が対称線に対して対称に配置されている第1のエミッタ側配線及び電流経路が対称線に対して非対称に配置されている第2のエミッタ側配線とを備え、第2のエミッタ側配線及び第2のコレクタ側配線を流れる電流によって、第1のエミッタ側配線において発生する誘導起電力と制御エミッタ側配線において発生する誘導起電力とにより複数の半導体スイッチ素子のエミッタ電極間において生ずる電圧が、第2のエミッタ側配線及び第2のコレクタ側配線を流れる電流によって、第1のゲート側配線において発生する誘導起電力と第2のゲート側配線において発生する誘導起電力とにより複数の半導体スイッチ素子のゲート電極間において生ずる電圧と同等になるよう第2のコレクタ側配線、第1及び第2のエミッタ側配線、第1及び第2のゲート側配線及び制御エミッタ側配線を配置したので、各半導体スイッチ素子に印加されるゲート・エミッタ間電圧を均等にし、各半導体スイッチ素子に流れる電流を同一にすることにより、寿命が長く信頼性の高い半導体モジュールを得ることができる。
この発明の請求項4に係る半導体モジュールによれば、複数の半導体スイッチ素子が対称線に対して対称に配置されるとともに、対称に配置された半導体スイッチ素子同士が並列に接続され、更にコレクタ端子、エミッタ端子、ゲート端子及び制御エミッタ端子を有するものであって、複数の半導体スイッチ素子のゲート電極とゲート端子とを接続するとともに電流経路が対称線に対して対称に配置されている第1のゲート側配線と、複数の半導体スイッチ素子のゲート電極間を接続するとともに電流経路が対称線に対して対称に配置されている第2のゲート側配線と、複数の半導体スイッチ素子の制御エミッタ電極と制御エミッタ端子とを接続するとともに電流経路が対称線に対して対称に配置されている第1の制御エミッタ側配線と、複数の半導体スイッチ素子の制御エミッタ電極間を接続するとともに電流経路が対称線に対して対称に配置されている第2の制御エミッタ側配線と、複数の半導体スイッチ素子のコレクタ電極とコレクタ端子とを接続し、電流経路が対称線に対して対称に配置されている第1のコレクタ側配線及び電流経路が対称線に対して非対称に配置されている第2のコレクタ側配線と、複数の半導体スイッチ素子のエミッタ電極とエミッタ端子とを接続し、電流経路が対称線に対して対称に配置されている第1のエミッタ側配線及び電流経路が対称線に対して非対称に配置されている第2のエミッタ側配線とを備え、第2のエミッタ側配線及び第2のコレクタ側配線を流れる電流によって、第1のエミッタ側配線において発生する誘導起電力と第1の制御エミッタ側配線において発生する誘導起電力と第2の制御エミッタ側配線において発生する誘導起電力とにより複数の半導体スイッチ素子のエミッタ電極間において生ずる電圧が、第2のエミッタ側配線及び第2のコレクタ側配線を流れる電流によって第1のゲート側配線において発生する誘導起電力と第2のゲート側配線において発生する誘導起電力とにより複数の半導体スイッチ素子のゲート電極間において生ずる電圧と同等に近づくよう第2のコレクタ側配線、第1及び第2のエミッタ側配線、第1及び第2のゲート側配線及び第1及び第2の制御エミッタ側配線を配置したので、半導体スイッチ素子のゲート・エミッタ間電圧を均一に近づけることができ、半導体スイッチ素子に流れる電流を均等に近づけることができる。
実施の形態1.
以下この発明の一実施形態を図に基づいて説明する。図1はこの発明の実施の形態1による半導体モジュール1の内部配線構造を示す斜視図、図2は図1のP方向から見た半導体モジュール1の内部配線構造を示す斜視図、図3は上記内部配線を示す簡略回路図である。IGBTチップ等からなる半導体スイッチ素子2a,2bはコレクタパターン3a,3b上に配置されるとともに、各半導体スイッチ素子2a,2bのコレクタ電極100a、100bとコレクタパターン3a,3bははんだ等により接続されている。
コレクタパターン3a,3bは絶縁板5a,5b上に配置される。エミッタパターン4と半導体スイッチ素子2a,2bのエミッタ電極101a、101bはエミッタワイヤ7a,7bによって接続される。エミッタパターン4は絶縁板5c上に配置される。コレクタ端子8とコレクタパターン3a,3bはコレクタ中継導体10を介して接続され、エミッタ端子9とエミッタパターン4はエミッタ中継導体11を介して接続される。
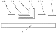
半導体スイッチ素子2a,2bの制御用の配線であるゲート中継導体16と制御エミッタ中継導体17はベース板6から一定の距離の位置に配置され、ゲート中継導体16にはゲート電源接続用の正極側端子であるゲート端子18が配置され、制御エミッタ中継導体17には制御エミッタ電源接続用の負極側端子である制御エミッタ端子19が配置される。
半導体スイッチ素子2a,2bのゲート電極103a、103bとゲート中継導体16は、ゲートワイヤ12a,12b、ゲートパターン13a,13b、ゲートピン14a,14bを介して接続され、これによりゲート電極103a、103bとゲート端子18とを接続するゲート側配線が構成される。半導体スイッチ素子2a,2bの制御エミッタ電極102a、102bと制御エミッタ中継導体17は、エミッタワイヤ7a,7b、エミッタパターン4、制御エミッタピン15を介して接続され、これにより制御エミッタ電極102a、102bと制御エミッタ端子19とを接続する制御エミッタ側配線が構成される。ゲートパターン13a,13bは絶縁板5d,5e上に配置される。絶縁板5a〜5eはベース板6上に配置される。又図3に示すように、エミッタ電極101aは制御エミッタ電極102aと同じ場所から取り出されるとともに、エミッタ電極101bは制御エミッタ電極102bと同じ場所から取り出される。
図4はコレクタ端子8とエミッタ端子9を除いた半導体モジュール1の内部配線構造を示す平面図である。半導体スイッチ素子2aと2bは半導体モジュール1における対称線20に対して対称に配置されるとともに、コレクタ端子8とエミッタ端子9を除いた半導体モジュール1を構成する内部部品は、対称線20に対して左右略対称に配置される。但し後述するように、矢印Xで示すコレクタ中継導体10を流れる電流経路と対称となる電流経路は存在せず、更に矢印Yで示すエミッタ中継導体11を流れる電流経路と対称となる電流経路は存在しない。図5は半導体モジュール1の内部配線構造を示す側面図である。エミッタワイヤ7a,7bとゲート中継導体16は略同等な高さに配置される。
図6はコレクタ側配線の電流経路を示す平面図、図7はエミッタ側配線の電流経路を示す平面図である。主電流は、コレクタ端子8から半導体モジュール1内に入り、コレクタ中継導体10で2方向に分流し、コレクタパターン3a,3bを通って、半導体スイッチ素子2a,2bのコレクタ電極100a、100bに流れ込む。このようにしてコレクタ電極100a、100bとコレクタ端子8とを接続するコレクタ側配線が構成される。半導体スイッチ素子2a,2bのエミッタ電極101a、101bから出た電流は、エミッタワイヤ7a,7bを介してエミッタパターン4に流れ込み、エミッタパターン4において分流していた電流が合流し、エミッタ中継導体11を通り、エミッタ端子9から半導体モジュール1の外に出る。このようにしてエミッタ電極101a、101bとエミッタ端子9とを接続するエミッタ側配線が構成される。
このような電流経路のうち、図6中の矢印Xで示すコレクタ中継導体10を流れる電流経路と、図7中の矢印Yで示すエミッタ中継導体11を流れる電流経路は対称線20に対して非対称であるのに対し、矢印Xと矢印Yを除く電流経路は対称線20に対し対称となる。ここで上記コレクタ側配線のうち、電流経路が対称線20に対して対称に配置されている配線を第1のコレクタ側配線といい、矢印Xで示すコレクタ中継導体10を流れる電流経路のように、電流経路が対称線20に対して非対称に配置されている配線を第2のコレクタ側配線という。更に上記エミッタ側配線のうち、電流経路が対称線20に対して対称に配置されている配線を第1のエミッタ側配線といい、矢印Yで示すエミッタ中継導体11を流れる電流経路のように、電流経路が対称線20に対して非対称に配置されている配線を第2のエミッタ側配線という。
半導体モジュール1には周波数の高い交流電流が流れるので、電流による磁束は時間によって変化し、他の配線に誘導起電力を発生させる場合がある。誘導起電力がゲート側配線やエミッタ側配線に発生すると、並列接続された半導体スイッチ素子のゲート・エミッタ間電圧を不均等にさせる場合があり、それに伴い並列接続された半導体スイッチ素子に流れる電流が不均一になる。
第1のコレクタ側配線及び第1のエミッタ側配線は対称線20に対し対称の関係にあり、ゲートワイヤ12a、12b、ゲートパターン13a、13b、ゲートピン14a,14b及びゲート中継導体16からなるゲート側配線と、エミッタワイヤ7a、7b、エミッタパターン4、制御エミッタピン15及び制御エミッタ中継導体17からなる制御エミッタ側配線も対称線20に対し略対称に配置されているので、矢印Xと矢印Yを除く電流に起因して発生する誘導起電力は、半導体スイッチ素子2a、2bのゲート・エミッタ間電圧に略同等な影響を及ぼす。このため互いに相殺し合うので、半導体スイッチ素子2a、2bに流れる電流の均一性に影響を与えない。
これに対して矢印Xと矢印Yの電流経路は対称線20に対し非対称の関係にあるので、矢印Xと矢印Yの電流による磁束に起因して発生する誘導起電力が、半導体スイッチ素子2a、2bのゲート・エミッタ間電圧に異なる影響を及ぼすことにより、電流が不均一になる場合が生じる。本実施形態においては、エミッタワイヤ7a、7bが制御エミッタ側配線を構成するとともに、第1のエミッタ側配線も構成する。
以上の点を考慮し、本発明においては図4に示すように矢印Xと矢印Yの電流が流れるコレクタ中継導体10及びエミッタ中継導体11に対して平行であり、かつ矢印Xの部分の長さと矢印Yの部分の長さとを合せた長さを有するゲート中継導体16の矢印A部と、コレクタ中継導体10及びエミッタ中継導体11に対して平行であり、かつ矢印Xの部分の長さと矢印Yの部分の長さとを合せた長さを有するエミッタワイヤ7a及び7bの矢印B部を以下のように構成するものである。
即ちコレクタ中継導体10とゲート中継導体16における矢印A部との距離をC、エミッタ中継導体11とエミッタワイヤ7a及び7bにおける矢印B部との距離をDとした場合、CとDが略同等になるように配置したものである。ここで距離Cは、ゲート中継導体16におけるコレクタ中継導体10側の端部とコレクタ中継導体10までの距離であり、距離Dは、エミッタワイヤ7aのうち最もエミッタ中継導体11に近いエミッタワイヤ7aからエミッタ中継導体11までの距離である。尚図4においては、距離Cの方が距離Dよりも長いように見えるが、実際には距離Cと距離Dは略同等である。
ここで図4においては、コレクタ中継導体10及びエミッタ中継導体11よりこれらと平行な位置関係にあるゲート中継導体16およびエミッタワイヤ7a、7bが長い状態を示している。この場合、ゲート中継導体16における矢印A部とエミッタワイヤ7a、7bにおける矢印B部の長さが略同一となる。なお、ゲート中継導体16およびエミッタワイヤ7a、7bがコレクタ中継導体10及びエミッタ中継導体11より短い場合には、ゲート中継導体16における矢印A部とエミッタワイヤ7a、7bにおける矢印B部の長さが略同一となるように構成する。
このように構成したことにより、電流Xと電流Yの大きさは略同一であるとともに、電流Xが流れている部分のベース板6からの高さと電流Yが流れている部分のベース板6からの高さも略同一であるので、ゲート中継導体16の矢印A部とエミッタワイヤ7a,7bの矢印B部には電流X及び電流Yによって略同等な誘導起電力が発生することとなり、半導体スイッチ素子2aのゲート電極と半導体スイッチ素子2bのゲート電極間に発生する電圧は、半導体スイッチ素子2aのエミッタ電極と半導体スイッチ素子2bのエミッタ電極間に発生する電圧と略同等にすることができる。従って、半導体スイッチ素子2aと2bのゲート・エミッタ間電圧を均等にし、半導体スイッチ素子2aと2bに流れる電流を均等にすることができる。
なお上記説明においては、エミッタワイヤ7a,7bとゲート中継導体16の高さを略同等としたが、高さが異なる場合であってもよく、この場合矢印Xと矢印Yの電流が流れるコレクタ中継導体10及びエミッタ中継導体11からの水平方向の距離を調整することにより、ゲート中継導体16の矢印A部に発生する誘導起電力とエミッタワイヤ7a、7bの矢印B部に発生する誘導起電力を略同一にして、半導体スイッチ素子2a、2bに流れる電流を均等にすることができる。
更に上記説明においては、コレクタ中継導体10及びエミッタ中継導体11に対してゲート中継導体16及びエミッタワイヤ7a、7bが平行に配置されている場合について説明したが、平行に配置されていない場合は、エミッタワイヤ7a,7bとコレクタ中継導体10及びエミッタ中継導体11間のそれぞれの最短距離と、ゲート中継導体16とコレクタ中継導体10及びエミッタ中継導体11間のそれぞれの最短距離が略同等で、更にエミッタワイヤ7a,7bとコレクタ中継導体10及びエミッタ中継導体11間のそれぞれの最長距離と、ゲート中継導体16とコレクタ中継導体10及びエミッタ中継導体11間のそれぞれの最長距離が略同等であるように構成すればよい。
以上のように本発明によれば、各半導体スイッチ素子に流れる電流を同一にし、寿命が長く信頼性の高い半導体モジュールを提供することができるとともに、余分な電流を流すことがなくなるので、エネルギー消費量を削減することができる。又各半導体スイッチ素子の発熱を均一にすることにより、特定の半導体スイッチ素子のみが多く発熱することを回避することができるので、冷却構造が小さくて済み、減量化を図ることができるとともに、装置全体が小さく済むので、包装も小さくて済む。また装置自体が小さいので、廃棄する際ゴミも少なくて済み、従って環境に対しても優しいものとなる。
実施の形態2.
図8はこの発明の実施の形態2による半導体モジュールの内部配線構造を示す斜視図、図9は図8のQ方向から見た半導体モジュール1の内部配線構造を示す斜視図である。半導体スイッチ素子2a,2bの制御エミッタ電極102a、102bと制御エミッタ中継導体17は、制御エミッタワイヤ21a,21b、制御エミッタパターン22a,22b、制御エミッタピン15a,15bを介して接続されることにより、制御エミッタ側配線が構成されている。又制御エミッタパターン22a,22bはゲートパターン13a,13bと同様に絶縁板5d,5e上に配置される。
また、半導体スイッチ素子2a,2bの第1のエミッタ側配線及び制御エミッタ側配線は、半導体スイッチ素子2a,2bのエミッタ電極101a、101b、エミッタワイヤ7a,7b、エミッタパターン4a,4b、エミッタ中継導体11、制御エミッタワイヤ21a,21b、制御エミッタパターン22a,22b、制御エミッタピン15a,15b、制御エミッタ中継導体17によって閉ループを形成している。図10は上記内部配線構造を示す簡略回路図である。
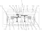
図11はコレクタ端子8とエミッタ端子9、ゲート中継導体16を除いた半導体モジュール1の内部配線構造を示す平面図、図12はコレクタ端子8とエミッタ端子9、制御エミッタ中継導体17を除いた半導体モジュール1の内部配線構造を示す平面図、図13は対称線20における断面図である。
コレクタ端子8とエミッタ端子9を除いた半導体モジュール1を構成する内部部品は、対称線20に対して略対称に配置される。但し矢印Xで示すコレクタ中継導体10を流れる電流経路と対称となる電流経路は存在せず、更に矢印Yで示すエミッタ中継導体11を流れる電流経路と対称となる電流経路は存在しない。ゲート中継導体16と制御エミッタ中継導体17は接近して配置され、またゲート中継導体16と制御エミッタ中継導体17及び第2のエミッタ中継導体23は略同等な高さに配置される。
ここで第2のエミッタ中継導体23とはエミッタ中継導体11の一部を構成するものであり、ベース板6に対して平行に配置されている部分をいう。本実施形態においては、第2のエミッタ中継導体23が第1のエミッタ側配線を構成し、エミッタ中継導体11のうちの電流Yが流れる部分が第2のエミッタ側配線を構成する。又図11に示すように、制御エミッタ中継導体17と矢印Xの電流が流れるコレクタ中継導体10との距離をE1、制御エミッタ中継導体17と矢印Yの電流が流れるエミッタ中継導体11との距離をE2、第2のエミッタ中継導体23と矢印Xの電流が流れるコレクタ中継導体10との距離をF1、第2のエミッタ中継導体23と矢印Yの電流が流れるエミッタ中継導体11との距離をF2としたとき、E1>F2並びにE2>F1となるようにしたものである。
このため、第2のエミッタ中継導体23に発生する誘導起電力が制御エミッタ中継導体17に発生する誘導起電力よりも大きくなる。更に図12に示すように、ゲート中継導体16と矢印Xの電流が流れるコレクタ中継導体10との距離をG1,ゲート中継導体16と矢印Yの電流が流れるエミッタ中継導体11との距離をG2としたとき、E1>G1>F2並びにE2>G2>F1となるように設定したものである。
このように構成したことにより、半導体スイッチ素子2a,2bのエミッタ電極101a、101bは、閉ループ中の第2のエミッタ中継導体23と制御エミッタ中継導体17の間に位置しているので、半導体スイッチ素子2aのエミッタ電極101aと半導体スイッチ素子2bのエミッタ電極101b間に発生する電圧は、第2のエミッタ中継導体23に発生する誘導起電力と制御エミッタ中継導体17に発生する誘導起電力の間の値となる。
一方、ゲート中継導体16に発生する誘導起電力、すなわち半導体スイッチ素子2aのゲート電極103aと半導体スイッチ素子2bのゲート電極103b間に発生する電圧は、第2のエミッタ中継導体23に発生する誘導起電力と制御エミッタ中継導体17に発生する誘導起電力の間の値となる。
そしてE1、G1、F1、E2、G2、F2の値を調整することにより、半導体スイッチ素子2aのゲート電極103aと半導体スイッチ素子2bのゲート電極103b間に発生する電圧を、半導体スイッチ素子2aのエミッタ電極101aと半導体スイッチ素子2bのエミッタ電極101b間に発生する電圧と略同等にすることができるので、半導体スイッチ素子2a、2bにおけるゲート・エミッタ間電圧を略均等にして、半導体スイッチ素子2a、2bに流れる電流を均等にすることができる。
実施の形態3.
図14はこの発明の実施の形態3による半導体モジュールの内部配線構造を示す斜視図、図15は図14のR方向から見た半導体モジュール1の内部配線構造を示す斜視図である。半導体スイッチ素子2a,2bの第1のエミッタ側配線及び制御エミッタ側配線は、半導体スイッチ素子2a,2bのエミッタ電極101a、101b、エミッタワイヤ7a,7b、エミッタパターン4a,4b、エミッタ中継導体11、制御エミッタワイヤ21a,21b、制御エミッタパターン22a,22b、制御エミッタピン15a,15b、制御エミッタ中継導体17によって、閉ループを形成している。また、ゲート中継導体16a,16bも閉ループを形成している。
図16は上記内部配線構造を示す簡略回路図である。図17はコレクタ端子8とエミッタ端子9、ゲート中継導体16a、16bを除いた半導体モジュール1の内部配線構造を示す平面図、図18はコレクタ端子8とエミッタ端子9、制御エミッタ中継導体17を除いた半導体モジュール1の内部配線構造を示す平面図、図19は対称線20における断面図である。
コレクタ端子8とエミッタ端子9を除いた半導体モジュール1を構成する内部部品は、対称線20に対して略対称に配置される。但し矢印Xで示すコレクタ中継導体10を流れる電流経路と対称となる電流経路は存在せず、更に矢印Yで示すエミッタ中継導体11を流れる電流経路と対称となる電流経路は存在しない。ゲート中継導体16a,16bと制御エミッタ中継導体17は接近して配置され、またゲート中継導体16a,16bと制御エミッタ中継導体17及び第2のエミッタ中継導体23は略同等な高さに配置される。又ゲート中継導体16aが第1のゲート側配線を構成するとともに、ゲート中継導体16bが第2のゲート側配線を構成し、又第2のエミッタ中継導体23が第1のエミッタ側配線を構成する。更にゲート中継導体16bは半導体スイッチ素子2a、2bのゲート電極103aと103b間を接続している。
本実施形態においては、図17に示すように、制御エミッタ中継導体17と矢印Xの電流が流れるコレクタ中継導体10との距離をE1,制御エミッタ中継導体17と矢印Yの電流が流れるエミッタ中継導体11との距離をE2、第2のエミッタ中継導体23と矢印Xの電流が流れるコレクタ中継導体10との距離をF1,第2のエミッタ中継導体23と矢印Yの電流が流れるエミッタ中継導体11との距離をF2としたとき、E1>F2並びにE2>F1となるようにしたものである。
このため第2のエミッタ中継導体23に発生する誘導起電力が制御エミッタ中継導体17に発生する誘導起電力よりも大きくなる。更に図18に示すように、ゲート中継導体16aと矢印Xの電流が流れるコレクタ中継導体10との距離をH1,ゲート中継導体16aと矢印Yの電流が流れるエミッタ中継導体11との距離をH2、ゲート中継導体16bとコレクタ中継導体10との距離をI1、ゲート中継導体16bとエミッタ中継導体11との距離をI2としたとき、H1=F2、H2=F1、I1=E2、I2=E1となるように構成したものである。
このように構成したことにより、電流Xと電流Yは略同一なので、ゲート中継導体16aと第2のエミッタ中継導体23に発生する誘導起電力は略同等になる。また、ゲート中継導体16bと制御エミッタ中継導体17に発生する誘導起電力も略同等になる。半導体スイッチ素子2a,2bのゲート電極は、閉ループ中のゲート中継導体16aとゲート中継導体16bの間に位置しているので、半導体スイッチ素子2aのゲート電極103aと半導体スイッチ素子2bのゲート電極103b間に発生する電圧は、ゲート中継導体16aに発生する誘導起電力とゲート中継導体16bに発生する誘導起電力の間の値になる。
同様に半導体スイッチ素子2a,2bのエミッタ電極は、閉ループ中の第2のエミッタ中継導体23と制御エミッタ中継導体17の間に位置しているので、半導体スイッチ素子2aのエミッタ電極と半導体スイッチ素子2bのエミッタ電極間に発生する電圧は、第2のエミッタ中継導体23に発生する誘導起電力と制御エミッタ中継導体17に発生する誘導起電力の間の値になる。
従って、半導体スイッチ素子2aのゲート電極と半導体スイッチ素子2bのゲート電極間に発生する電圧は、半導体スイッチ素子2aのエミッタ電極と半導体スイッチ素子2bのエミッタ電極間に発生する電圧とほぼ同等にすることができるので、半導体スイッチ素子2a、2bにおけるゲート・エミッタ間電圧をほぼ均等にして、半導体スイッチ素子2a、2bに流れる電流を均等にすることができる。
尚上記説明においては、H1=F2、H2=F1、I1=E2、I2=E1となるようにコレクタ中継導体10,エミッタ中継導体11,ゲート中継導体16a、16b、制御エミッタ中継導体17及び第2のエミッタ中継導体23を配置したが、電流X、Yによって第2のエミッタ中継導体23において発生する誘導起電力と電流X、Yによって制御エミッタ中継導体17において発生する誘導起電力とにより半導体スイッチ素子2a、2bのエミッタ電極間において生ずる電圧が、電流X、Yによってゲート中継導体16aにおいて発生する誘導起電力と、電流X、Yによってゲート中継導体16bにおいて発生する誘導起電力とにより半導体スイッチ素子2a、2bのゲート電極間において生ずる電圧と同等になるようにすれば上記配置関係に限るものではない。
実施の形態4.
図20はこの発明の実施の形態4による半導体モジュールの内部配線構造を示す斜視図、図21は同じく正面図、図22はコレクタ端子8、エミッタ端子9、ゲート中継導体16、制御エミッタ中継導体17を除いた半導体モジュール1の内部配線構造を示す平面図である。
半導体スイッチ素子2a,2c,2eと半導体スイッチ素子2b,2d,2fは対称線20に対して対称関係となるようコレクタパターン3a,3b上に配置され、並列に接続されている。エミッタパターン4と半導体スイッチ素子2a〜2fのエミッタ電極はエミッタワイヤ7a〜7fによって接続される。半導体スイッチ素子2a〜2fのエミッタ電極と制御エミッタ中継導体17は、制御エミッタワイヤ21a〜21f、制御エミッタパターン22a,22b、制御エミッタピン15a,15bを介して接続される。
また、半導体スイッチ素子2a〜2fの第1のエミッタ側配線及び制御エミッタ側配線は、半導体スイッチ素子2a〜2fのエミッタ電極、エミッタワイヤ7a〜7f、エミッタパターン4、制御エミッタワイヤ21a〜21f、制御エミッタパターン22a,22b、制御エミッタピン15a,15b、制御エミッタ中継導体17によって、閉ループを形成している。
半導体スイッチ素子2a〜2fのゲート電極とゲート中継導体16は、ゲートワイヤ12a〜12f、ゲートパターン13a,13b、ゲートピン14a,14bを介して接続される。また、対称線20に対して対称配置されている半導体スイッチ素子2aと2b、半導体スイッチ素子2cと2d、半導体スイッチ素子2eと2fのそれぞれのゲート電極間は、ゲートワイヤ12g,12h,12iで接続されることによりゲート側配線も閉ループを形成している。
ゲート中継導体16と制御エミッタ中継導体17は接近して積層配置される。コレクタ端子8とエミッタ端子9を除いた半導体モジュール1を構成する内部部品は、対称線20に対して略対称に配置される。但し矢印Xで示すコレクタ中継導体10を流れる電流経路と対称となる電流経路は存在せず、更に矢印Yで示すエミッタ中継導体11を流れる電流経路と対称となる電流経路は存在しない。ゲートワイヤ12g,12h,12i、エミッタワイヤ7a〜7f、ゲート中継導体16、制御エミッタ中継導体17は、矢印Xと矢印Yの電流が流れるコレクタ中継導体10及びエミッタ中継導体11に対して平行に配置されるとともに、ゲート中継導体16と制御エミッタ中継導体17はコレクタ中継導体10及びエミッタ中継導体11からの距離が略同じになるように配置されている。
また、ゲートワイヤ12gと矢印Xと矢印Yの電流が流れるコレクタ中継導体10及びエミッタ中継導体11との距離と、エミッタワイヤ7a、7bとコレクタ中継導体10及びエミッタ中継導体11との最短距離は略同等になるように配置されており、ゲートワイヤ12hとエミッタワイヤ7c、7dとの関係及びゲートワイヤ12iとエミッタワイヤ7e、7fとの関係も同様に設定されている。
このように構成することにより、例えば半導体スイッチ素子2a、2bの関係において、エミッタワイヤ7a、7bにおいて発生する誘導起電力とゲートワイヤ12gにおいて発生する誘導起電力とを同等にすることができるとともに、ゲート中継導体16において発生する誘導起電力と制御エミッタ中継導体17において発生する誘導起電力を同等にすることができるので、半導体スイッチ素子2a、2bのゲート電極間に発生する電圧は、半導体スイッチ素子2a、2bのエミッタ電極間に発生する電圧と略同等にすることができ、従って半導体スイッチ素子2a、2bのゲート・エミッタ間電圧を略均等にして、半導体スイッチ素子2a、2bに流れる電流を略均等にすることができる。
以上のことは半導体スイッチ素子2c、2dの関係及び半導体スイッチ素子2e、2fとの関係においても同じである。また、対称線20に対して複数の半導体スイッチ素子が対称配置されている場合、図14に示すように狭い空間に大きなゲート中継導体を配置することなく、対称配置されている半導体スイッチ素子のゲート電極間をワイヤで接続することにより、容易に半導体スイッチ素子に流れる電流を均等化することができる。
実施の形態5.
図23はこの発明の実施の形態5による半導体モジュールの内部配線構造を示す斜視図である。ゲート中継導体16は制御エミッタ中継導体17と接近して積層配置されている部分16aと積層配置されていない部分16bから構成される。制御エミッタ中継導体17と積層されていないゲート中継導体16bは、第2のエミッタ中継導体23に接近して配置される。
そしてゲート中継導体16bと矢印X、矢印Yの電流が流れるコレクタ中継導体10及びエミッタ中継導体11との距離は、第2のエミッタ中継導体23と矢印X、矢印Yの電流が流れるコレクタ中継導体10及びエミッタ中継導体11との距離と略同等に構成するとともに、ゲート中継導体16aと矢印X、矢印Yの電流が流れるコレクタ中継導体10及びエミッタ中継導体11との距離は、制御エミッタ中継導体17と矢印X、矢印Yの電流が流れるコレクタ中継導体10及びエミッタ中継導体11との距離と略同等に構成する。
また、コレクタ中継導体10と第2のエミッタ中継導体23も接近して配置される。このように構成することにより、第2のエミッタ中継導体23において発生する誘導起電力とゲート中継導体16bにおいて発生する誘導起電力とを同等にすることができるとともに、ゲート中継導体16aにおいて発生する誘導起電力と制御エミッタ中継導体17において発生する誘導起電力を同等にすることができるので、半導体スイッチ素子2aのゲート電極と半導体スイッチ素子2bのゲート電極間に発生する電圧は、半導体スイッチ素子2aのエミッタ電極と半導体スイッチ素子2bのエミッタ電極間に発生する電圧と略同等にすることができ、従って半導体スイッチ素子2aと2bのゲート・エミッタ間電圧を略均等にして、半導体スイッチ素子2aと2bに流れる電流を略均等にすることができる。
又コレクタ中継導体10と第2のエミッタ中継導体23も接近して配置しており、更にコレクタ中継導体10に流れる電流の向きと第2のエミッタ中継導体23に流れる電流の向きは逆であるので、コレクタ端子8とエミッタ端子9間のインダクタンスを低減することができ、半導体スイッチ素子2a,2bのターンオフ時のサージ電圧も低減することができる。
実施の形態6.
図24はこの発明の実施の形態6による半導体モジュールの内部構造を示す斜視図、図25は図24におけるエミッタ側配線のみを示す平面図、図26はゲート側配線のみを示す平面図、図27は制御エミッタ側配線のみを示す平面図である。本実施形態においては、図25,図26に示すように、第2のエミッタ中継導体23において、矢印Xと矢印Yの電流が流れるコレクタ中継導体10及びエミッタ中継導体11に対し平行な部分Jの長さがゲート中継導体16bにおいて同じく矢印Xと矢印Yに対し平行な部分Kの長さより短く、又図27に示すように、制御エミッタ中継導体17は制御エミッタ中継導体17aと制御エミッタ中継導体17bから構成され、制御エミッタ中継導体17a、17bによって閉ループが形成されている。更に制御エミッタ中継導体17aが第1の制御エミッタ側配線を構成し、制御エミッタ中継導体17bが第2の制御エミッタ側配線を構成する。更にゲート中継導体16bは半導体スイッチ素子2a、2bのゲート電極103aと103b間を接続している。
半導体スイッチ素子2a、2bのゲート電極間に発生する電圧は、ゲート中継導体16aに発生する誘導起電力とゲート中継導体16bに発生する誘導起電力の間の値となり、半導体スイッチ素子2a、2bのエミッタ電極間に発生する電圧は、制御エミッタ中継導体17に発生する誘導起電力と第2のエミッタ中継導体23に発生する誘導起電力の間の値となる。
ゲート中継導体16aと制御エミッタ中継導体17aは接近して積層配置されているので、これらに発生する誘導起電力は同等であるが、ゲート中継導体16bと第2のエミッタ中継導体23においては上記のようにコレクタ中継導体10及びエミッタ中継導体11に対して平行をなす長さが異なるので(K>J)、この部分に発生する誘導起電力も異なる。そこで以上の点を考慮し、本実施形態においては、図24、図27に示すようにゲート中継導体16及び制御エミッタ中継導体17の両者とも閉ループを形成するようにするとともに、ゲート中継導体16と制御エミッタ中継導体17の全部分を接近して積層配置し、更にゲート中継導体16bと制御エミッタ中継導体17bを第2のエミッタ中継導体23に接近して積層配置したものである。
このように構成したことにより、制御エミッタ中継導体17の一部分である17bにはゲート中継導体16bと略同等の誘導起電力が発生し、制御エミッタ中継導体17bは第2のエミッタ中継導体23と並列に接続されるので、半導体スイッチ素子2aと2bのエミッタ電極間に発生する電圧を、半導体スイッチ素子2aと2bのゲート電極間に発生する電圧に近づけることができる。従って、半導体スイッチ素子2aと2bのゲート・エミッタ間電圧を均一に近づけることができ、半導体スイッチ素子2aと2bに流れる電流を均等に近づけることができる。
この発明の実施の形態1による半導体モジュールの内部配線構造を示す斜視図である。 図1のP方向から見た半導体モジュールの内部配線構造を示す斜視図である。 この発明の実施の形態1による半導体モジュールの内部配線を示す簡略回路図である。 コレクタ端子とエミッタ端子を除いた半導体モジュールの内部配線構造を示す平面図である。 半導体モジュールの内部配線構造を示す側面図である。 コレクタ側配線の電流経路を示す平面図である。 エミッタ側配線の電流経路を示す平面図である。 この発明の実施の形態2による半導体モジュールの内部配線構造を示す斜視図である。 図8のQ方向から見た半導体モジュールの内部配線構造を示す斜視図である。 この発明の実施の形態2による半導体モジュールの内部配線を示す簡略回路図である。 コレクタ端子とエミッタ端子、ゲート中継導体を除いた半導体モジュールの内部配線構造を示す平面図である。 コレクタ端子とエミッタ端子、制御エミッタ中継導体を除いた半導体モジュールの内部配線構造を示す平面図である。 対称線における断面図である。 この発明の実施の形態3による半導体モジュールの内部配線構造を示す斜視図である。 図14のR方向から見た半導体モジュール1の内部配線構造を示す斜視図であるである。 この発明の実施の形態3による半導体モジュールの内部配線を示す簡略回路図である。 コレクタ端子とエミッタ端子、ゲート中継導体を除いた半導体モジュールの内部配線構造を示す平面図である。 コレクタ端子とエミッタ端子、制御エミッタ中継導体を除いた半導体モジュールの内部配線構造を示す平面図ある。 対称線における断面図である。 この発明の実施の形態4による半導体モジュールの内部配線構造を示す斜視図である。 この発明の実施の形態4による半導体モジュールの内部配線構造を示す正面図である。 コレクタ端子、エミッタ端子、ゲート中継導体、制御エミッタ中継導体を除いた半導体モジュールの内部配線構造を示す平面図である。 この発明の実施の形態5による半導体モジュールの内部配線構造を示す斜視図である。 この発明の実施の形態6による半導体モジュールの内部構造を示す斜視図である。 図24におけるエミッタ側配線のみを示す平面図である。 図24におけるゲート側配線のみを示す平面図である。 図24における制御エミッタ側配線のみを示す平面図である。
符号の説明
1 半導体モジュール、2a,2b,2c,2d,2e,2f 半導体スイッチ素子、
3a,3b コレクタパターン、4,4a,4b エミッタパターン、
7a,7b,7c,7d,7e,7f エミッタワイヤ、8 コレクタ端子、
9 エミッタ端子、10 コレクタ中継導体、11 エミッタ中継導体、
12a,12b,12c,12d,12e,12f,12g,12h,12i ゲートワイヤ、
13a,13b ゲートパターン、14a,14b ゲートピン、
15,15a,15b 制御エミッタピン、16,16a,16b ゲート中継導体、
17 制御エミッタ中継導体、18 ゲート端子、19 制御エミッタ端子、
21a,21b,21c,21d,21e,21f 制御エミッタワイヤ、
22a,22b 制御エミッタパターン、23 第2のエミッタ中継導体、
100a,100b コレクタ電極、101a,101b エミッタ電極、
102a,102b 制御エミッタ電極、103a,103b ゲート電極。

Claims (4)

  1. 複数の半導体スイッチ素子が対称線に対して対称に配置されるとともに、対称に配置された上記半導体スイッチ素子同士が並列に接続され、更にコレクタ端子、エミッタ端子、ゲート端子及び制御エミッタ端子を有する半導体モジュールであって、
    上記複数の半導体スイッチ素子のゲート電極と上記ゲート端子とを接続するとともに電流経路が上記対称線に対して対称に配置されているゲート側配線と、
    上記複数の半導体スイッチ素子の制御エミッタ電極と上記制御エミッタ端子とを接続するとともに電流経路が上記対称線に対して対称に配置されている制御エミッタ側配線と、
    上記複数の半導体スイッチ素子のコレクタ電極と上記コレクタ端子とを接続し、電流経路が上記対称線に対して対称に配置されている第1のコレクタ側配線及び電流経路が上記対称線に対して非対称に配置されている第2のコレクタ側配線と、
    上記複数の半導体スイッチ素子のエミッタ電極と上記エミッタ端子とを接続し、電流経路が上記対称線に対して対称に配置されている第1のエミッタ側配線及び電流経路が上記対称線に対して非対称に配置されている第2のエミッタ側配線とを備えた半導体モジュールにおいて、
    上記第2のエミッタ側配線及び上記第2のコレクタ側配線を流れる電流によって、上記ゲート側配線において発生する誘導起電力による電圧と上記第1のエミッタ側配線において発生する誘導起電力による電圧とが同一となるよう上記第2のコレクタ側配線、上記第1及び第2のエミッタ側配線及び上記ゲート側配線を配置したことを特徴とする半導体モジュール。
  2. 複数の半導体スイッチ素子が対称線に対して対称に配置されるとともに、対称に配置された上記半導体スイッチ素子同士が並列に接続され、更にコレクタ端子、エミッタ端子、ゲート端子及び制御エミッタ端子を有する半導体モジュールであって、
    上記複数の半導体スイッチ素子のゲート電極と上記ゲート端子とを接続するとともに電流経路が上記対称線に対して対称に配置されているゲート側配線と、
    上記複数の半導体スイッチ素子の制御エミッタ電極と上記制御エミッタ端子とを接続するとともに電流経路が上記対称線に対して対称に配置されている制御エミッタ側配線と、
    上記複数の半導体スイッチ素子のコレクタ電極と上記コレクタ端子とを接続し、電流経路が上記対称線に対して対称に配置されている第1のコレクタ側配線及び電流経路が上記対称線に対して非対称に配置されている第2のコレクタ側配線と、
    上記複数の半導体スイッチ素子のエミッタ電極と上記エミッタ端子とを接続し、電流経路が上記対称線に対して対称に配置されている第1のエミッタ側配線及び電流経路が上記対称線に対して非対称に配置されている第2のエミッタ側配線とを備えた半導体モジュールにおいて、
    上記第2のエミッタ側配線及び上記第2のコレクタ側配線を流れる電流によって、上記第1のエミッタ側配線において発生する誘導起電力と上記制御エミッタ側配線において発生する誘導起電力とにより上記複数の半導体スイッチ素子の上記エミッタ電極間において生ずる電圧が、
    上記第2のエミッタ側配線及び上記第2のコレクタ側配線を流れる電流によって、上記ゲート側配線において発生する誘導起電力により上記複数の半導体スイッチ素子の上記ゲート電極間において生ずる電圧と同等になるよう上記第2のコレクタ側配線、上記第1及び第2のエミッタ側配線、上記ゲート側配線及び上記制御エミッタ側配線を配置したことを特徴とする半導体モジュール。
  3. 複数の半導体スイッチ素子が対称線に対して対称に配置されるとともに、対称に配置された上記半導体スイッチ素子同士が並列に接続され、更にコレクタ端子、エミッタ端子、ゲート端子及び制御エミッタ端子を有する半導体モジュールであって、
    上記複数の半導体スイッチ素子のゲート電極と上記ゲート端子とを接続するとともに電流経路が上記対称線に対して対称に配置されている第1のゲート側配線と、
    上記複数の半導体スイッチ素子の上記ゲート電極間を接続するとともに電流経路が上記対称線に対して対称に配置されている第2のゲート側配線と、
    上記複数の半導体スイッチ素子の制御エミッタ電極と上記制御エミッタ端子とを接続するとともに電流経路が上記対称線に対して対称に配置されている制御エミッタ側配線と、
    上記複数の半導体スイッチ素子のコレクタ電極と上記コレクタ端子とを接続し、電流経路が上記対称線に対して対称に配置されている第1のコレクタ側配線及び電流経路が上記対称線に対して非対称に配置されている第2のコレクタ側配線と、
    上記複数の半導体スイッチ素子のエミッタ電極と上記エミッタ端子とを接続し、電流経路が上記対称線に対して対称に配置されている第1のエミッタ側配線及び電流経路が上記対称線に対して非対称に配置されている第2のエミッタ側配線とを備えた半導体モジュールにおいて、
    上記第2のエミッタ側配線及び上記第2のコレクタ側配線を流れる電流によって、上記第1のエミッタ側配線において発生する誘導起電力と上記制御エミッタ側配線において発生する誘導起電力とにより上記複数の半導体スイッチ素子の上記エミッタ電極間において生ずる電圧が、
    上記第2のエミッタ側配線及び上記第2のコレクタ側配線を流れる電流によって、上記第1のゲート側配線において発生する誘導起電力と上記第2のゲート側配線において発生する誘導起電力とにより上記複数の半導体スイッチ素子の上記ゲート電極間において生ずる電圧と同等になるよう上記第2のコレクタ側配線、上記第1及び第2のエミッタ側配線、上記第1及び第2のゲート側配線及び上記制御エミッタ側配線を配置したことを特徴とする半導体モジュール。
  4. 複数の半導体スイッチ素子が対称線に対して対称に配置されるとともに、対称に配置された上記半導体スイッチ素子同士が並列に接続され、更にコレクタ端子、エミッタ端子、ゲート端子及び制御エミッタ端子を有する半導体モジュールであって、
    上記複数の半導体スイッチ素子のゲート電極と上記ゲート端子とを接続するとともに電流経路が上記対称線に対して対称に配置されている第1のゲート側配線と、
    上記複数の半導体スイッチ素子の上記ゲート電極間を接続するとともに電流経路が上記対称線に対して対称に配置されている第2のゲート側配線と、
    上記複数の半導体スイッチ素子の制御エミッタ電極と上記制御エミッタ端子とを接続するとともに電流経路が上記対称線に対して対称に配置されている第1の制御エミッタ側配線と、
    上記複数の半導体スイッチ素子の上記制御エミッタ電極間を接続するとともに電流経路が上記対称線に対して対称に配置されている第2の制御エミッタ側配線と、
    上記複数の半導体スイッチ素子のコレクタ電極と上記コレクタ端子とを接続し、電流経路が上記対称線に対して対称に配置されている第1のコレクタ側配線及び電流経路が上記対称線に対して非対称に配置されている第2のコレクタ側配線と、
    上記複数の半導体スイッチ素子のエミッタ電極と上記エミッタ端子とを接続し、電流経路が上記対称線に対して対称に配置されている第1のエミッタ側配線及び電流経路が上記対称線に対して非対称に配置されている第2のエミッタ側配線とを備えた半導体モジュールにおいて、
    上記第2のエミッタ側配線及び上記第2のコレクタ側配線を流れる電流によって、上記第1のエミッタ側配線において発生する誘導起電力と上記第1の制御エミッタ側配線において発生する誘導起電力と上記第2の制御エミッタ側配線において発生する誘導起電力とにより上記複数の半導体スイッチ素子の上記エミッタ電極間において生ずる電圧が、
    上記第2のエミッタ側配線及び上記第2のコレクタ側配線を流れる電流によって上記第1のゲート側配線において発生する誘導起電力と上記第2のゲート側配線において発生する誘導起電力とにより上記複数の半導体スイッチ素子の上記ゲート電極間において生ずる電圧と同等に近づくよう上記第2のコレクタ側配線、上記第1及び第2のエミッタ側配線、上記第1及び第2のゲート側配線及び上記第1及び第2の制御エミッタ側配線を配置したことを特徴とする半導体モジュール。
JP2008184724A 2008-07-16 2008-07-16 半導体モジュール Active JP5207862B2 (ja)

Priority Applications (1)

Application Number Priority Date Filing Date Title
JP2008184724A JP5207862B2 (ja) 2008-07-16 2008-07-16 半導体モジュール

Applications Claiming Priority (1)

Application Number Priority Date Filing Date Title
JP2008184724A JP5207862B2 (ja) 2008-07-16 2008-07-16 半導体モジュール

Publications (2)

Publication Number Publication Date
JP2010027710A true JP2010027710A (ja) 2010-02-04
JP5207862B2 JP5207862B2 (ja) 2013-06-12

Family

ID=41733281

Family Applications (1)

Application Number Title Priority Date Filing Date
JP2008184724A Active JP5207862B2 (ja) 2008-07-16 2008-07-16 半導体モジュール

Country Status (1)

Country Link
JP (1) JP5207862B2 (ja)

Cited By (9)

* Cited by examiner, † Cited by third party
Publication number Priority date Publication date Assignee Title
JPWO2014014012A1 (ja) * 2012-07-19 2016-07-07 三菱電機株式会社 電力用半導体モジュール
US9799597B2 (en) 2015-09-04 2017-10-24 Kabushiki Kaisha Toshiba Semiconductor package
WO2019021731A1 (ja) * 2017-07-27 2019-01-31 株式会社デンソー 半導体モジュール
CN111095760A (zh) * 2017-09-29 2020-05-01 日立汽车系统株式会社 电力转换装置
JP2021072293A (ja) * 2019-10-29 2021-05-06 三菱電機株式会社 半導体パワーモジュール
US11271043B2 (en) 2017-04-19 2022-03-08 Mitsubishi Electric Corporation Semiconductor module and power conversion apparatus
CN115411018A (zh) * 2022-04-08 2022-11-29 安世半导体科技(上海)有限公司 优化寄生参数的功率半导体器件封装结构
CN115700980A (zh) * 2021-07-15 2023-02-07 三菱电机株式会社 半导体装置
DE112014006786B4 (de) 2014-07-04 2023-08-03 Mitsubishi Electric Corporation Leistungshalbleitervorrichtung

Citations (8)

* Cited by examiner, † Cited by third party
Publication number Priority date Publication date Assignee Title
JPH08191130A (ja) * 1995-01-11 1996-07-23 Hitachi Ltd 半導体モジュール
JPH1074886A (ja) * 1996-08-30 1998-03-17 Hitachi Ltd 半導体モジュール
JPH1084077A (ja) * 1996-09-06 1998-03-31 Hitachi Ltd 半導体モジュール及びこれを用いたインバータ装置
JPH10125856A (ja) * 1996-10-18 1998-05-15 Hitachi Ltd パワー半導体装置
JPH11163257A (ja) * 1997-11-26 1999-06-18 Fuji Electric Co Ltd 半導体装置
JP2001185679A (ja) * 1999-12-27 2001-07-06 Mitsubishi Electric Corp 半導体スイッチ装置
JP2006094557A (ja) * 2005-11-21 2006-04-06 Renesas Technology Corp 半導体素子及び高周波電力増幅装置並びに無線通信機
JP2008091809A (ja) * 2006-10-05 2008-04-17 Mitsubishi Electric Corp 半導体モジュール

Patent Citations (8)

* Cited by examiner, † Cited by third party
Publication number Priority date Publication date Assignee Title
JPH08191130A (ja) * 1995-01-11 1996-07-23 Hitachi Ltd 半導体モジュール
JPH1074886A (ja) * 1996-08-30 1998-03-17 Hitachi Ltd 半導体モジュール
JPH1084077A (ja) * 1996-09-06 1998-03-31 Hitachi Ltd 半導体モジュール及びこれを用いたインバータ装置
JPH10125856A (ja) * 1996-10-18 1998-05-15 Hitachi Ltd パワー半導体装置
JPH11163257A (ja) * 1997-11-26 1999-06-18 Fuji Electric Co Ltd 半導体装置
JP2001185679A (ja) * 1999-12-27 2001-07-06 Mitsubishi Electric Corp 半導体スイッチ装置
JP2006094557A (ja) * 2005-11-21 2006-04-06 Renesas Technology Corp 半導体素子及び高周波電力増幅装置並びに無線通信機
JP2008091809A (ja) * 2006-10-05 2008-04-17 Mitsubishi Electric Corp 半導体モジュール

Cited By (13)

* Cited by examiner, † Cited by third party
Publication number Priority date Publication date Assignee Title
JPWO2014014012A1 (ja) * 2012-07-19 2016-07-07 三菱電機株式会社 電力用半導体モジュール
DE112014006786B4 (de) 2014-07-04 2023-08-03 Mitsubishi Electric Corporation Leistungshalbleitervorrichtung
US9799597B2 (en) 2015-09-04 2017-10-24 Kabushiki Kaisha Toshiba Semiconductor package
US11271043B2 (en) 2017-04-19 2022-03-08 Mitsubishi Electric Corporation Semiconductor module and power conversion apparatus
WO2019021731A1 (ja) * 2017-07-27 2019-01-31 株式会社デンソー 半導体モジュール
JP2019029457A (ja) * 2017-07-27 2019-02-21 株式会社デンソー 半導体モジュール
US11127695B2 (en) 2017-09-29 2021-09-21 Hitachi Automotive Systems, Ltd. Power conversion device for reducing an inductance difference between control signal wires of a power semiconductor and suppressing a current unbalancing of the control signals
CN111095760B (zh) * 2017-09-29 2022-12-20 日立安斯泰莫株式会社 电力转换装置
CN111095760A (zh) * 2017-09-29 2020-05-01 日立汽车系统株式会社 电力转换装置
DE112018003628B4 (de) * 2017-09-29 2025-10-30 Hitachi Astemo, Ltd. Leistungsumsetzungsvorrichtung
JP2021072293A (ja) * 2019-10-29 2021-05-06 三菱電機株式会社 半導体パワーモジュール
CN115700980A (zh) * 2021-07-15 2023-02-07 三菱电机株式会社 半导体装置
CN115411018A (zh) * 2022-04-08 2022-11-29 安世半导体科技(上海)有限公司 优化寄生参数的功率半导体器件封装结构

Also Published As

Publication number Publication date
JP5207862B2 (ja) 2013-06-12

Similar Documents

Publication Publication Date Title
JP5207862B2 (ja) 半導体モジュール
JP6400201B2 (ja) パワー半導体モジュール
JP4955078B2 (ja) 半導体装置
US10002858B2 (en) Power transistor module
JP6179490B2 (ja) パワーモジュール
JP4292652B2 (ja) パワー半導体モジュール
JP2020515034A (ja) ゲートパスインダクタンスが低いパワー半導体モジュール
JP5174085B2 (ja) 半導体装置
CN103051312A (zh) 低阻抗栅极控制方法和设备
JP2008091809A (ja) 半導体モジュール
JP7034043B2 (ja) パワーモジュール及びパワーモジュールを有する電気装置
JP2014056920A (ja) 半導体装置
US20180152093A1 (en) Power conversion device
US10536090B2 (en) Bus bar structure and power conversion device using same
JPWO2017033642A1 (ja) 半導体装置、半導体集積回路、及び負荷駆動装置
JP5138714B2 (ja) 電力用半導体装置
JP4471823B2 (ja) 電力半導体装置
JP2009259990A (ja) 半導体モジュール
JP7555882B2 (ja) パワー半導体モジュール及びそれを用いた電力変換装置
JP2007185026A (ja) 電力変換装置
KR20240079698A (ko) 파워 모듈
JP2019140364A (ja) 半導体装置
JP2005101256A (ja) 電力用半導体装置
US20190109077A1 (en) Semiconductor apparatus
JP4073621B2 (ja) パワーモジュール

Legal Events

Date Code Title Description
A621 Written request for application examination

Free format text: JAPANESE INTERMEDIATE CODE: A621

Effective date: 20101004

TRDD Decision of grant or rejection written
A977 Report on retrieval

Free format text: JAPANESE INTERMEDIATE CODE: A971007

Effective date: 20130117

A01 Written decision to grant a patent or to grant a registration (utility model)

Free format text: JAPANESE INTERMEDIATE CODE: A01

Effective date: 20130122

A61 First payment of annual fees (during grant procedure)

Free format text: JAPANESE INTERMEDIATE CODE: A61

Effective date: 20130219

FPAY Renewal fee payment (event date is renewal date of database)

Free format text: PAYMENT UNTIL: 20160301

Year of fee payment: 3

R150 Certificate of patent or registration of utility model

Ref document number: 5207862

Country of ref document: JP

Free format text: JAPANESE INTERMEDIATE CODE: R150

Free format text: JAPANESE INTERMEDIATE CODE: R150

R250 Receipt of annual fees

Free format text: JAPANESE INTERMEDIATE CODE: R250

R250 Receipt of annual fees

Free format text: JAPANESE INTERMEDIATE CODE: R250

R250 Receipt of annual fees

Free format text: JAPANESE INTERMEDIATE CODE: R250

R250 Receipt of annual fees

Free format text: JAPANESE INTERMEDIATE CODE: R250

R250 Receipt of annual fees

Free format text: JAPANESE INTERMEDIATE CODE: R250

R250 Receipt of annual fees

Free format text: JAPANESE INTERMEDIATE CODE: R250

R250 Receipt of annual fees

Free format text: JAPANESE INTERMEDIATE CODE: R250

R250 Receipt of annual fees

Free format text: JAPANESE INTERMEDIATE CODE: R250

R250 Receipt of annual fees

Free format text: JAPANESE INTERMEDIATE CODE: R250

R250 Receipt of annual fees

Free format text: JAPANESE INTERMEDIATE CODE: R250