JP2010021769A - 画像処理装置及び画像処理プログラム - Google Patents

画像処理装置及び画像処理プログラム Download PDF

Info

Publication number
JP2010021769A
JP2010021769A JP2008180106A JP2008180106A JP2010021769A JP 2010021769 A JP2010021769 A JP 2010021769A JP 2008180106 A JP2008180106 A JP 2008180106A JP 2008180106 A JP2008180106 A JP 2008180106A JP 2010021769 A JP2010021769 A JP 2010021769A
Authority
JP
Japan
Prior art keywords
image
concealment
reason
area
specifying
Prior art date
Legal status (The legal status is an assumption and is not a legal conclusion. Google has not performed a legal analysis and makes no representation as to the accuracy of the status listed.)
Granted
Application number
JP2008180106A
Other languages
English (en)
Other versions
JP4577419B2 (ja
Inventor
Teruka Saito
照花 斎藤
Current Assignee (The listed assignees may be inaccurate. Google has not performed a legal analysis and makes no representation or warranty as to the accuracy of the list.)
Fujifilm Business Innovation Corp
Original Assignee
Fuji Xerox Co Ltd
Priority date (The priority date is an assumption and is not a legal conclusion. Google has not performed a legal analysis and makes no representation as to the accuracy of the date listed.)
Filing date
Publication date
Application filed by Fuji Xerox Co Ltd filed Critical Fuji Xerox Co Ltd
Priority to JP2008180106A priority Critical patent/JP4577419B2/ja
Priority to US12/359,074 priority patent/US8331692B2/en
Priority to AU2009200307A priority patent/AU2009200307B2/en
Priority to EP09001164A priority patent/EP2144184A1/en
Priority to CN200910129426.6A priority patent/CN101626451B/zh
Publication of JP2010021769A publication Critical patent/JP2010021769A/ja
Application granted granted Critical
Publication of JP4577419B2 publication Critical patent/JP4577419B2/ja
Expired - Fee Related legal-status Critical Current
Anticipated expiration legal-status Critical

Links

Images

Classifications

    • GPHYSICS
    • G06COMPUTING OR CALCULATING; COUNTING
    • G06FELECTRIC DIGITAL DATA PROCESSING
    • G06F21/00Security arrangements for protecting computers, components thereof, programs or data against unauthorised activity
    • G06F21/60Protecting data
    • G06F21/606Protecting data by securing the transmission between two devices or processes
    • G06F21/608Secure printing

Landscapes

  • Engineering & Computer Science (AREA)
  • Theoretical Computer Science (AREA)
  • Software Systems (AREA)
  • General Health & Medical Sciences (AREA)
  • Computer Hardware Design (AREA)
  • Computer Security & Cryptography (AREA)
  • Health & Medical Sciences (AREA)
  • Physics & Mathematics (AREA)
  • General Engineering & Computer Science (AREA)
  • General Physics & Mathematics (AREA)
  • Bioethics (AREA)
  • Editing Of Facsimile Originals (AREA)
  • Image Processing (AREA)

Abstract

【課題】文書を公開するに際して、情報を隠蔽するような場合にあって、その隠蔽の妥当性を判断させることができるようにした画像処理装置を提供する。
【解決手段】画像処理装置の画像受付手段は画像を受け付け、追記部分抽出手段は前記画像受付手段によって受け付けられた画像に追記された部分を抽出し、隠蔽領域特定手段は前記追記部分抽出手段によって抽出された追記部分に基づいて、前記画像内の隠蔽する領域を特定し、隠蔽理由特定手段は前記画像に対する操作に関する情報又は前記追記部分抽出手段によって抽出された追記部分に関する特徴に基づいて、隠蔽する理由を特定し、画像隠蔽手段は前記隠蔽領域特定手段によって特定された領域を前記画像内から隠蔽し、画像付加手段は前記隠蔽理由特定手段によって特定された理由に関する情報を前記画像に付加する。
【選択図】図1

Description

本発明は、画像処理装置及び画像処理プログラムに関する。
行政機関等が保有する文書を公開することが行われている。しかしながら、その文書には、個人情報保護等の観点から隠蔽すべき情報が含まれていることがある。そこで、これらの文書を公開する際には、この隠蔽すべき情報が記載されている箇所を、黒く塗り潰すこと(いわゆる墨塗り)等が行われている。
これに関連する技術として、例えば、特許文献1には、開示文書を作成する際に隠蔽すべき情報と隠蔽してはいけない情報を知らなくても作業を行うことを可能にすることを課題とし、非開示文字列と非開示理由とを対応付けて管理する非開示辞書と、強制開示文字列と強制開示理由とを対応付けて管理する強制開示辞書とを用い、文書中に開示タグ、開示理由、強制開示タグ、強制開示理由を埋め込み、開示タグのついた文字列については、無意味な文字列に置換することで前記課題を解決することが開示されている。
また、例えば、特許文献2には、ディジタル型カラー複写機において、原稿画像上で、画像処理領域と該領域での画像処理とをそれぞれ指定できるようにすることを目的とし、第1プリスキャンによって原稿の副走査方向先端部を読み取り、そして、前記先端部の主走査方向に等分される領域毎に色マーカーによるマーキングを識別し、前記領域毎に予め設定されている画像処理に対応するマーカー色を記憶し、次いで、第2プリスキャンを行って、原稿中に色マーカーで指示された画像処理領域を識別し、ここで、領域指定に用いられたマーカー色と、前記第1プリスキャンで識別されたマーカー色とを比較し、領域毎に画像処理を設定し、次に、本スキャンを実行し、指定された領域内の画像データに画像処理を施して出力することが開示されている。
また、例えば、特許文献3には、文書中のプライバシー情報部分の自動伏字加工処理を実現して、文書を容易に流通させることを可能にすることを課題とし、パソコンやネット端末、その他、文書作成編集機器に、入力文書からプライバシー情報に関する固有名詞部分を抽出する手段、抽出された固有名詞部分の種類等に応じて、該抽出された固有名詞部分を特定不可能な記号、アルファベット文字あるいはイニシャル文字等に置換する手段を設けることが開示されている。
特開2004−118599号公報 特開平06−121146号公報 特開2002−259363号公報
ところで、文書を公開するに際して、情報を隠蔽するような場合にあって、単に隠蔽するだけでは、その隠蔽の妥当性を判断することができない。
本発明は、かかる課題を解決するようにした画像処理装置及び画像処理プログラムを提供することを目的としている。
かかる目的を達成するための本発明の要旨とするところは、次の各項の発明に存する。
請求項1の発明は、画像を受け付ける画像受付手段と、前記画像受付手段によって受け付けられた画像に追記された部分を抽出する追記部分抽出手段と、前記追記部分抽出手段によって抽出された追記部分に基づいて、前記画像内の隠蔽する領域を特定する隠蔽領域特定手段と、前記画像に対する操作に関する情報又は前記追記部分抽出手段によって抽出された追記部分に関する特徴に基づいて、隠蔽する理由を特定する隠蔽理由特定手段と、前記隠蔽領域特定手段によって特定された領域を前記画像内から隠蔽する画像隠蔽手段と、前記隠蔽理由特定手段によって特定された理由に関する情報を前記画像に付加する画像付加手段を具備することを特徴とする画像処理装置である。
請求項2の発明は、前記隠蔽理由特定手段は、前記画像に対する操作に関する情報として、操作者の操作に応じた情報又は操作者を特定する情報を用いることを特徴とする請求項1に記載の画像処理装置である。
請求項3の発明は、前記隠蔽理由特定手段は、前記追記部分に関する特徴として、該追記部分の色情報の他に、該追記部分の形態又は前記隠蔽領域特定手段によって特定された隠蔽領域内の文字認識結果を組み合わせて用いることを特徴とする請求項1又は2に記載の画像処理装置である。
請求項4の発明は、前記画像付加手段は、前記画像内の空白領域の大きさに応じて、前記理由に関する情報を表示した画像を付加させることを特徴とする請求項1から3のいずれか一項に記載の画像処理装置である。
請求項5の発明は、前記画像付加手段は、前記理由に関する情報として、隠蔽した者を特定できる情報を含むことを特徴とする請求項1から4のいずれか一項に記載の画像処理装置である。
請求項6の発明は、コンピュータを、画像を受け付ける画像受付手段と、前記画像受付手段によって受け付けられた画像に追記された部分を抽出する追記部分抽出手段と、前記追記部分抽出手段によって抽出された追記部分に基づいて、前記画像内の隠蔽する領域を特定する隠蔽領域特定手段と、前記画像に対する操作に関する情報又は前記追記部分抽出手段によって抽出された追記部分に関する特徴に基づいて、隠蔽する理由を特定する隠蔽理由特定手段と、前記隠蔽領域特定手段によって特定された領域を前記画像内から隠蔽する画像隠蔽手段と、前記隠蔽理由特定手段によって特定された理由に関する情報を前記画像に付加する画像付加手段として機能させることを特徴とする画像処理プログラムである。
請求項1の画像処理装置によれば、文書を公開するに際して、情報を隠蔽するような場合にあって、その隠蔽の妥当性を判断させることができる。
請求項2の画像処理装置によれば、操作者の意図した理由を特定することができるようになる。
請求項3の画像処理装置によれば、追記部分の色情報だけでは理由の特定が困難な場合であっても、誤った理由を特定してしまうことを抑制することができる。
請求項4の画像処理装置によれば、理由に関する情報を元の文書と重ねて表示することを抑制することができる。
請求項5の画像処理装置によれば、隠蔽した者を隠蔽妥当性の判断資料として提出することができるようになる。
請求項6の画像処理プログラムによれば、文書を公開するに際して、情報を隠蔽するような場合にあって、その隠蔽の妥当性を判断させることができる。
以下、図面に基づき本発明を実現するにあたっての好適な一実施の形態の例を説明する。
図1は、本実施の形態の構成例についての概念的なモジュール構成図を示している。
なお、モジュールとは、一般的に論理的に分離可能なソフトウェア(コンピュータ・プログラム)、ハードウェア等の部品を指す。したがって、本実施の形態におけるモジュールはコンピュータ・プログラムにおけるモジュールのことだけでなく、ハードウェア構成におけるモジュールも指す。それゆえ、本実施の形態は、コンピュータ・プログラム、システム及び方法の説明をも兼ねている。ただし、説明の都合上、「記憶する」、「記憶させる」、これらと同等の文言を用いるが、これらの文言は、実施の形態がコンピュータ・プログラムの場合は、記憶装置に記憶させる、又は記憶装置に記憶させるように制御するの意である。また、モジュールは機能にほぼ一対一に対応しているが、実装においては、1モジュールを1プログラムで構成してもよいし、複数モジュールを1プログラムで構成してもよく、逆に1モジュールを複数プログラムで構成してもよい。また、複数モジュールは1コンピュータによって実行されてもよいし、分散又は並列環境におけるコンピュータによって1モジュールが複数コンピュータで実行されてもよい。なお、1つのモジュールに他のモジュールが含まれていてもよい。また、以下、「接続」とは物理的な接続の他、論理的な接続(データの授受、指示、データ間の参照関係等)の場合にも用いる。
また、システム又は装置とは、複数のコンピュータ、ハードウェア、装置等がネットワーク(一対一対応の通信接続を含む)等の通信手段で接続されて構成されるほか、1つのコンピュータ、ハードウェア、装置等によって実現される場合も含まれる。「装置」と「システム」とは、互いに同義の用語として用いる。「予め定められた」とは、対象としている処理の前であることをいい、本実施の形態による処理が始まる前、本実施の形態による処理が始まった後であっても、そのときの状況・状態に応じて、又はそれまでの状況・状態に応じて定まることの意を含めて用いる。
本実施の形態は、図1に示すように、画像受付モジュール110、追記抽出モジュール120、マスク領域特定モジュール130、マスク理由特定モジュール140、マスク領域変換モジュール150、付加画像生成モジュール160、合成モジュール170、印刷モジュール180を有している。
画像受付モジュール110は、追記抽出モジュール120、合成モジュール170と接続されており、対象とする画像を受け付け、その画像(以下、原画像ともいう)を追記抽出モジュール120、合成モジュール170へ渡す。画像を受け付けるとは、スキャナで画像を読み込むこと、ファックスで画像を受信すること、画像データベース等から画像を読み出すこと等が含まれる。対象とする画像は、公開対象の文書であり、隠蔽すべき部分に追記が行われている。その画像は、1枚であってもよいし、複数枚であってもよい。追記は、例えば、黒以外の半透明の色インクを有するペンで行われたものであり、黒色の文字の上から塗っても、その文字が判明するものであり、そのペンはマーカーペン、蛍光ペン等と呼ばれているものである。なお、このマーカーペン等で追記された部分を特にマーカー画像ともいう。また、赤色のボールペン等で追記されたものであってもよい。
追記抽出モジュール120は、画像受付モジュール110、マスク領域特定モジュール130と接続されており、画像受付モジュール110から原画像を受け取り、その原画像に追記された部分を抽出し、その追記部分をマスク領域特定モジュール130へ渡す。抽出は、例えば、追記された色の領域を抽出すること、受け取った原画像と追記がされていない画像とを比較して(例えば、EOR論理演算を行って)追記部分を抽出すること等で行う。
また、追記抽出モジュール120は、画像受付モジュール110によって受け付けられた画像に追記された部分を、第1の閾値を用いて抽出し、次に、第1の閾値を用いて抽出された部分に並ぶ領域内の特徴に基づいて、第2の閾値を算出し、画像受付モジュール110によって受け付けられた画像に追記された部分を、第2の閾値を用いて、抽出するようにしてもよい。さらに、追記(特にマーカー画像)が画像内の黒画素(例えば線分)によって途切れてしまうような場合に対応するために、閾値の算出では、領域内の特徴として、その領域内の画素密度又は線分量を用いるようにしてもよい。なお、「第1の閾値を用いて抽出された部分に並ぶ領域」とは、第1の閾値を用いて抽出された領域の周囲の領域をいう。より具体的には、第1の閾値を用いて抽出された領域に、文字行の方向(抽出した文字行の外接矩形における長い辺の方向)で隣接する領域、つまり、第1の閾値を用いて抽出された領域の追記方向(線の描画方向)における前後の方向にある領域をいう。具体例については図4を用いて後述する。
また、第2の閾値を算出する際に用いる線分量は、第1の閾値を用いて抽出された追記部分の縦辺の長さと横辺の長さを比較して、より短い辺の方向に沿った線分の量としてもよい。つまり、第1の閾値を用いて抽出した追記部分の外接矩形の縦辺と横辺のうち短い辺と平行(前後30度程度の傾きを許す)である線分(つまり、長辺とは垂直(前後30度程度の傾きを許す)である線分といってもよい)の本数のことである。具体例については、図7を用いて後述する。
また、第2の閾値は、第1の閾値を用いて抽出した追記部分よりも大きな領域を抽出できる値であり、第2の閾値を用いた追記部分の抽出は、第1の閾値を用いて抽出された追記部分に並ぶ領域に対して、第2の閾値を用いて、追記された部分を抽出するようにしてもよい。つまり、第1の閾値を用いて抽出した追記部分は途切れたものである可能性があるので、これを延長した追記部分を抽出するためであり、また、処理領域の削減を図るために、その可能性のある部分に対してのみ抽出処理を施すものである。
マスク領域特定モジュール130は、追記抽出モジュール120、マスク理由特定モジュール140と接続されており、追記抽出モジュール120によって抽出された追記部分に基づいて、画像内の隠蔽する領域(以下、隠蔽領域、マスク領域ともいう)を特定する。追記部分は、手書きであることが多いため矩形ではない場合が多いこと、隠蔽したい部分が追記部分からはみ出てしまうこと等があり得る。したがって、追記部分に忠実に隠蔽するのでは、隠蔽ができない場合がある。これらに対処するものであり、追記部分内の黒画素等からなる文字画像等の外接矩形を抽出して、この外接矩形を統合した領域をマスク領域とするものである。
マスク理由特定モジュール140は、マスク領域特定モジュール130、マスク領域変換モジュール150と接続されており、マスク領域特定モジュール130から隠蔽領域、追記部分を受け取り、画像に対する操作に関する情報又は追記抽出モジュール120によって抽出された追記部分に関する特徴に基づいて、隠蔽する理由を特定する。そして、隠蔽理由、隠蔽領域をマスク領域変換モジュール150に渡す。マスク理由特定モジュール140は、回数計数モジュール141、操作者検出モジュール142、特徴抽出モジュール143、文字認識モジュール144を有しており、これらによる検出等の結果のうちいずれか1つ又は組み合わせたものを用いて隠蔽理由を特定する。
なお、隠蔽する(不開示とする)理由としては、例えば、次にあげるものがある。
(1)特定の個人を識別できる情報(個人情報)
(2)法人の正当な利益を害する情報(法人情報)
(3)国の安全、諸外国との信頼関係等を害する情報(国家安全情報)
(4)公共の安全、秩序維持に支障を及ぼす情報(公共安全情報)
(5)審議・検討等に関する情報で、意思決定の中立性等を不当に害する、不当に国民の間に混乱を生じさせるおそれがある情報(審議検討等情報)
(6)行政機関又は独立行政法人等の事務・事業の適正な遂行に支障を及ぼす情報(事務事業情報)
また、隠蔽理由に関する情報として、隠蔽理由又は隠蔽した者(追記を行った者、隠蔽を指示した責任者、部署名等を含む)がある。
回数計数モジュール141、操作者検出モジュール142は、画像に対する操作に関する情報として、操作者の操作に応じた情報又は操作者を特定する情報を用いるようにしてもよい。より具体的には、操作者の操作に応じた情報として、本実施の形態を使用する際に、操作者が理由を指定すること、理由毎に追記を行った文書を複数部用意し、本実施の形態を使用する回数毎に理由を対応させること(1回目は理由1等)等がある。操作者を特定する情報として、本実施の形態を使用するにあたって、操作者のID(IDentification data)カード等を読み取り、これらから操作者IDを抽出するようにしてもよい。また、予め設定された操作者IDと責任者IDとの対応表等から責任者IDを抽出するようにしてもよい。
特徴抽出モジュール143は、追記部分に関する特徴として、その追記部分の色情報を抽出する。また、この他に、追記部分の形態(線幅、線種、サイズ等)を抽出するようにしてもよい。文字認識モジュール144は、マスク領域特定モジュール130によって特定された隠蔽領域内の文字画像を認識する。
マスク領域変換モジュール150は、マスク理由特定モジュール140、付加画像生成モジュール160と接続されており、マスク理由特定モジュール140から隠蔽理由、隠蔽領域を受け取り、マスク領域特定モジュール130によって特定された領域を変換する。そして、隠蔽理由、変換した領域を付加画像生成モジュール160に渡す。また、マスク領域変換モジュール150は、マスク領域特定モジュール130によって特定された複数の隠蔽領域の大きさに基づいて、その隠蔽領域の大きさを変換するようにしてもよい。例えば、複数の隠蔽領域の大きさの平均値を算出して、その平均値の大きさに統一すること等がある。隠蔽領域の大きさの変換については、図16を用いて後述する。
付加画像生成モジュール160は、マスク領域変換モジュール150、合成モジュール170と接続されており、マスク領域変換モジュール150から隠蔽理由、隠蔽領域を受け取り、マスク理由特定モジュール140によって特定された理由に関する情報を用いて隠蔽理由を示す画像(隠蔽理由画像、付加画像ともいう)を生成する。そして、隠蔽領域、隠蔽理由画像を合成モジュール170へ渡す。なお、隠蔽理由画像には隠蔽した者を特定できる情報を示す画像も含まれるようにしてもよい。また、付加画像生成モジュール160は、隠蔽領域毎にそのサイズに応じて表示を異ならせてもよい。例えば、隠蔽領域のサイズが隠蔽理由を記載できるだけの大きさであれば、その隠蔽領域に直接隠蔽理由を表示し、それ以外の場合は記号で代替し、別紙にその記号の意味を表示するようにしてもよい。なお、その判断は、隠蔽理由の文字数、その文字の大きさによる表示領域のサイズを算出して、隠蔽領域のサイズと比較することにより行う。また、隠蔽理由によってその隠蔽領域の形態(色、形状等)を異ならせるようにしてもよい。例えば、理由1は赤色、理由2は円形状等の如くである。具体的な隠蔽理由画像については、図10を用いて後述する。
合成モジュール170は、画像受付モジュール110、付加画像生成モジュール160、印刷モジュール180と接続されており、画像受付モジュール110によって受け付けられた原画像に対して、マスク領域特定モジュール130によって特定された領域をその原画像内から隠蔽し、付加画像生成モジュール160によって生成された隠蔽理由を示す画像を原画像に付加する。
なお、合成モジュール170は、原画像内の空白領域の大きさに応じて、隠蔽理由に関する情報を表示した画像を付加させるようにしてもよい。つまり、原画像内に隠蔽理由を表示できるだけの大きさの空白領域がある場合は、その空白領域に隠蔽理由を表示させ、画像内に隠蔽理由を表示できるだけの大きさの空白領域がない場合は、理由を表示した別紙のように画像の枚数(ページ数)を付加(ページ数を増加)させる。例えば、各隠蔽理由を表示できるサイズを予め算出しておき、そのサイズ又は表示すべき隠蔽理由が複数ある場合はそのサイズの合計が、画像内の空白領域のサイズよりも大きい場合に、別紙の画像を生成する。なお、ここでのサイズとは、面積のみならず、表示するために必要な縦横の長さのことであってもよい。
また、合成モジュール170は、マスク領域変換モジュール150によって隠蔽領域が変換された場合は、その変換された隠蔽領域のサイズに応じて、原画像に対しても変換を行う。つまり、隠蔽領域以外の領域を変換する。また、原画像内の文字行の長さを保つように、マスク領域特定モジュール130によって特定された領域以外の領域を変換する。原画像に対しての変換については、図16を用いて後述する。
印刷モジュール180は、合成モジュール170と接続されており、合成モジュール170によって合成された画像(隠蔽し、隠蔽理由画像が付加された画像)を出力する(例えば、プリンタ等で印刷する)。この印刷された画像が公開の対象となる。なお、印刷することのみならず、ディスプレイに出力すること、通信回線を介して他のファックスへ送信すること、画像DBへ格納すること等であってもよい。
なお、本実施の形態として、マスク理由特定モジュール140、マスク領域変換モジュール150、付加画像生成モジュール160がないものであってもよく、その場合はマスク領域特定モジュール130と合成モジュール170が接続されている。また、マスク理由特定モジュール140、付加画像生成モジュール160がないものであってもよく、その場合はマスク領域特定モジュール130とマスク領域変換モジュール150とが、マスク領域変換モジュール150と合成モジュール170とが接続されている。また、マスク領域変換モジュール150がないものであってもよく、その場合はマスク理由特定モジュール140と付加画像生成モジュール160が接続されている。
図2は、本実施の形態による処理例を示すフローチャートである。
ステップS202では、画像受付モジュール110が、追記を施された画像を受け取る。
ステップS204では、追記抽出モジュール120が、原画像から追記部分を抽出する。より詳細な処理例については、図3、図6を用いて後述する。
ステップS206では、マスク領域特定モジュール130が、ステップS204で抽出された追記部分から、マスクすべき領域を特定する。
ステップS208では、マスク理由特定モジュール140が、マスクする理由を特定する。
ステップS210では、マスク領域変換モジュール150が、マスク領域の変換が必要か否かを判断する。かかる判断において必要であると判断した場合はステップS212へ進み、それ以外の場合はステップS214へ進む。例えば、ここでの判断は、マスク領域が同じ大きさである場合(予め定められた値の範囲以内にある場合は同じ大きさであると判断してもよい)は、マスク領域の変換が不要であると判断してもよい。その際の判断対象となるマスク領域は、同じ行内に含まれるマスク領域のみとしてもよい。
ステップS212では、マスク領域変換モジュール150が、マスク領域を変換する。
ステップS214では、付加画像生成モジュール160が、付加画像の生成が必要か否かを判断する。かかる判断において必要であると判断した場合はステップS216へ進み、それ以外の場合はステップS218へ進む。例えば、ここでの判断は、操作者からの指定に応じて判断してもよい。
ステップS216では、付加画像生成モジュール160が、付加画像を生成する。
ステップS218では、合成モジュール170が、ステップS202で受け付けられた原画像とステップS206で特定されたマスク領域(又はステップS212で変換されたマスク領域)又はステップS216で生成された付加画像とを合成する。
ステップS220では、印刷モジュール180が、ステップS218で合成された画像を印刷する。
図3は、追記抽出モジュール120による第1の処理例を示すフローチャートである。対象とする文書の画像を得るためにスキャナで読み取った場合に、そのスキャナの設定や画像圧縮の影響などによって、特にマーカー画像の場合に、追記部分の抽出が困難となる場合がある。つまり、追記した者の意図通りの隠蔽ではなくなることを抑制するために、図3又は図6で示したフローチャートによる処理例を行う。
ステップS302では、予め定められた第1の閾値を用いて追記部分を抽出する。例えば、L空間で彩度が第1の閾値以上の領域を抽出する。図4に示す例では、「F」、「#」、「G」、「H」の部分に網がけして表した領域が追記部分である。
ステップS304では、画像内から画素塊(文字画像ともいう)を切り出す。なお、画素塊とは、4連結又は8連結で連続する画素領域を少なくとも含み、これらの画素領域の集合をも含む。これらの画素領域の集合とは、4連結等で連続した画素領域が複数あり、その複数の画素領域は近傍にあるものをいう。ここで、近傍にあるものとは、例えば、互いの画素領域が距離的に近いもの、文章としての1行から1文字ずつ切り出すように縦又は横方向に射影し、空白地点で切り出した画像領域、又は一定間隔で切り出した画像領域等がある。
なお、1つの画素塊として、1文字の画像となる場合が多い。ただし、実際に人間が文字として認識できる画素領域である必要はない。文字の一部分、文字を形成しない画素領域等もあり、何らかの画素の塊であればよい。
図4に示した例では、「D」、「E」、「F」、「#」、「G」、「H」、「I」、「J」、「K」、「L」が切り出した文字画像である。
ステップS306では、対象としている文字画像を特定し、さらにその周辺にある文字画像を特定する。つまり、ステップS302で抽出した追記部分とステップS304で切り出した文字画像の重なるところを対象文字画像とする。そして、周辺文字画像とは、対象文字画像と予め定めた距離以内にある文字画像のことである。さらに、追記部分の外接矩形をとり、その長手方向(図4の例では横方向)にある文字画像を周辺文字画像とするようにしてもよい。図4の例では、対象文字画像402〜405、周辺文字画像401、周辺文字画像406である。
ステップS308では、周辺文字画像の密度(その文字画像の外接矩形の面積に占める黒画素の割合)を計算する。
ステップS310では、ステップS308で計算した密度に応じて、第1の閾値を変更して第2の閾値を算出する。より具体的には、密度が高ければ閾値を下げて(つまり、より追記部分を大きくできるようにする方向)、密度が低ければ元の閾値に近い値となるようにする。
ステップS312では、ステップS310で算出した第2の閾値を用いて原画像から追記部分を再度抽出する。ステップS302と同様の処理を行ってもよいし、周辺文字画像の部分に対してのみ抽出処理を施すようにしてもよい。図5の例では、確定したマスク領域500(対象文字画像402〜405を含んでいる)を示している。
図6は、追記抽出モジュール120による第2の処理例を示すフローチャートである。図3に示すフローチャート例と同等の処理の場合は、そのステップを示すことで説明を省略する。特にマーカー画像を切断するような線分があり、その線分の周囲で文字強調などの処理のため白抜けが発生した場合、膨張・収縮処理を繰り返すような後処理を行っても、切断されたものをつなぐことが困難な場合があり、これに対処するための処理である。
ステップS602は、ステップS302と同等である。
ステップS604では、原画像の行方向(縦書き/横書き)を判断する。例えば、原画像全体に対して射影を行い、高い射影が存在する方向が文字行の方向となる。また、追記部分の縦横比から行方向を判断するようにしてもよい。
ステップS606は、ステップS304と同等である。
ステップS608は、ステップS306と同等である。
ステップS610では、周辺文字画像の線分量を抽出する。ステップS604で判断した行方向を横切る方向にある線分の数を抽出する。例えば、図7(a)の例に示すように周辺文字画像が「H」である場合、行方向が横であれば、図7(b)の例に示すように縦方向に射影をとり、線分の数は2本であることを抽出する。また、予め定めた方向パターンとのマッチング処理によって線分量を抽出するようにしてもよい。
ステップS612では、ステップS610で抽出した線分量に応じて、第1の閾値を変更して第2の閾値を算出する。より具体的には、線分量が多ければ閾値を下げて(つまり、より追記部分を大きくできるようにする方向)、線分量が少なければ元の閾値に近い値となるようにする。
ステップS614は、ステップS312と同等である。
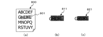
図8は、マスク領域特定モジュール130の処理対象の画像の例を示す説明図である。
マスク領域特定モジュール130は、追記抽出モジュール120によって抽出された追記部分を矩形に整形する処理を行う。この処理の際に、追記部分に対して文字画像のはみ出し、不足を解消するものである。例えば、図8(a)の例に示すように、対象画像800には追記部分801があり、追記部分801の外接矩形を抽出すると、図8(b)の例に示すようにマスク領域811のようになり、上、左、右方向にはみ出しが生じてしまう。そこで、マスク領域特定モジュール130は、マスク領域811内に予め定めた割合(例えば、50%)以上含まれている文字画像のみからなる外接矩形を抽出して、図8(c)の例に示すようなマスク領域821を特定する。
ここで、図9、図10を用いて、本実施の形態が対象とする文書、印刷する文書の例を示す。
図9は、画像受付モジュール110が受け付けた画像の例を示す説明図である。
対象画像900には、追記部分911、追記部分912、追記部分913、追記部分921がある。追記部分911〜913は、同色のマーカーペンによって塗られた領域であるが、追記部分921は追記部分911等とは異なる色のマーカーペンによって囲まれた領域である。なお、追記部分911〜913は個人情報であり、追記部分921は審議検討等情報である。
図10は、合成モジュール170によって合成処理された画像(付加画像生成モジュール160によって生成された付加画像を含む)の例を示す説明図である。
対象画像900に対して、出力画像1000と出力付加画像1050を印刷する。出力画像1000には、マスク領域1011、マスク領域1012、マスク領域1013、マスク領域1021がある。マスク領域1011〜1013は隠蔽理由が「A」であることを示す画像であり、マスク領域1021は隠蔽理由が「E.審議検討等情報」であることを示す画像である。出力付加画像1050は、「A」等がどのような理由であるかということを示すものである。なお、マスク領域1011〜1013は、マスク領域1021のように隠蔽理由を表示するには充分な大きさを有していないので、記号のみを表示し、その記号の意味を表示している出力付加画像1050を付加している。また、出力画像1000内には、出力付加画像1050で表示した画像を挿入できるような空白領域を有していないので、出力付加画像1050を付加している。
マスク理由特定モジュール140は、隠蔽理由を特定する。例えば、図9に示したように、追記を行う者は、隠蔽理由によって追記の色を使い分けている。マスク理由特定モジュール140は、これらの情報を用いて隠蔽理由を特定している。
例えば、文書を複数部複製して、1つの文書に対して1つの隠蔽理由でのみ追記し、複製した他の文書に対して別の隠蔽理由で追記するような運用を行ったとする。そして、スキャン順序によって理由を決定したとする。例えば、理由Aで追記した文書を1回目に読み込ませ、理由Bで追記した文書を2回目に読み込ませる等である。このような場合、回数計数モジュール141が、回数を検知し、予め定められた回数−理由対応表1100を用いて理由を特定する。図11は、回数−理由対応表1100のデータ構造例を示す説明図である。回数−理由対応表1100は、回数欄1101、理由欄1102を有している。また、本実施の形態を操作者が使用する際に、隠蔽理由を指定するようにしてもよい。
他の例として、隠蔽理由毎に操作者を担当させる運用であってもよい。例えば、甲さんは理由Aの担当である。このような場合、操作者検出モジュール142が、操作者を検出し、予め定められた操作者−理由対応表1200を用いて理由を特定する。図12は、操作者−理由対応表1200のデータ構造例を示す説明図である。操作者−理由対応表1200は、操作者欄1201、理由欄1202を有している。
また、他の例として、追記したマーカー色によって隠蔽理由を決めておく運用であってもよい。例えば、赤色は理由A等である。このような場合、特徴抽出モジュール143が追記部分の色を抽出し、予め定められたマーカー色−理由対応表1300を用いて理由を特定する。図13は、マーカー色−理由対応表1300のデータ構造例を示す説明図である。マーカー色−理由対応表1300は、マーカー色欄1301、理由欄1302を有している。このマーカー色の他に、追記の線幅、線種、サイズ等であってもよい。特に、対応できる理由を増やすためには、異なる色ではあるが同色系の色を用いる場合よりも、別の特徴と組み合わせて用いた方がよい。
また、他の例として、マスク領域内の文字を認識して運用に頼らないようにしてもよい。例えば、「国家」等の文字が含まれていれば理由C等である。このような場合、文字認識モジュール144は、マスク領域内に対して文字認識処理を行い、予め定められた文字認識結果−理由対応表1400を用いて理由を特定する。図14は、文字認識結果−理由対応表1400のデータ構造例を示す説明図である。文字認識結果−理由対応表1400は、文字認識結果欄1401、理由欄1402を有している。
図15は、マスク領域変換モジュール150、合成モジュール170による処理例を示すフローチャートである。マスク領域の大きさによって、隠蔽されている文字を推定できてしまう場合があるが(特に、氏名等は推定しやすい場合がある)、これに対処するものである。
ステップS1502では、マスク領域変換モジュール150が、原画像から文字行を切り出す。図6の例に示したステップS604と同等の処理を行ってもよいし、その結果を用いるようにしてもよい。図16(a)の例で示すと、対象画像1600内から3行の文字行を切り出す。
ステップS1504では、マスク領域変換モジュール150が、マスク領域がある文字行に対して、文字画像を切り出す。図3の例に示したステップS304と同等の処理を行ってもよいし、その結果を用いるようにしてもよい。図16(a)の例で示すと、マスク領域1611、1612がある1行目と2行目の文字行から文字画像を切り出す。つまり、1行目からは「A」〜「J」の文字画像、2行目からは「K」〜「S」の文字画像を切り出す。
ステップS1506では、マスク領域変換モジュール150が、各マスク領域の幅を計測し、その平均値を算出する。図16(a)の例で示すと、マスク領域1611(3文字分)とマスク領域1612(2文字分)の幅を計測して、その平均値を算出する。
ステップS1508では、マスク領域変換モジュール150が、各マスク領域の幅をステップS1506で算出した平均値に変更する。つまり、複数のマスク領域のサイズは同じ大きさとなる。図16の例で示すと、マスク領域1611はマスク領域1661に、マスク領域1612はマスク領域1662に変換されている。マスク領域1661とマスク領域1662は同じ幅である。
ステップS1510では、合成モジュール170が、マスク領域以外の文字画像の間隔を、原画像の文字行と同等の長さの文字行となるように調整する。図16(b)の例で示すと、1行目の文字画像の間隔は長くし、2行目の文字画像の間隔は短くすることになる。これによって、出力画像1650における文字行の長さは、原画像からは変更されないことになる。
ステップS1512では、合成モジュール170が、ステップS1510で調整した間隔にしたがって、文字画像を移動する。
ここでは、マスク領域の幅の平均値を算出するようにしたが、最小値、最大値等を用いるようにしてもよい。また、マスク領域の変換を全てのマスク領域を対象としたが、文字行毎に行うようにしてもよい。
図17を参照して、本実施の形態のハードウェア構成例について説明する。図17に示す構成は、例えばパーソナルコンピュータ(PC)などによって構成されるものであり、スキャナ等のデータ読み取り部1717と、プリンタなどのデータ出力部1718を備えたハードウェア構成例を示している。
CPU(Central Processing Unit)1701は、前述の実施の形態において説明した各種のモジュール、すなわち、追記抽出モジュール120、マスク領域特定モジュール130、マスク理由特定モジュール140、マスク領域変換モジュール150、付加画像生成モジュール160、合成モジュール170等の各モジュールの実行シーケンスを記述したコンピュータ・プログラムにしたがった処理を実行する制御部である。
ROM(Read Only Memory)1702は、CPU1701が使用するプログラムや演算パラメータ等を格納する。RAM(Random Access Memory)1703は、CPU1701の実行において使用するプログラムや、その実行において適宜変化するパラメータ等を格納する。これらはCPUバスなどから構成されるホストバス1704により相互に接続されている。
ホストバス1704は、ブリッジ1705を介して、PCI(Peripheral Component Interconnect/Interface)バスなどの外部バス1706に接続されている。
キーボード1708、マウス等のポインティングデバイス1709は、操作者により操作される入力デバイスである。ディスプレイ1710は、液晶表示装置又はCRT(Cathode Ray Tube)などからなり、各種情報をテキストやイメージ情報として表示する。
HDD(Hard Disk Drive)1711は、ハードディスクを内蔵し、ハードディスクを駆動し、CPU1701によって実行するプログラムや情報を記録又は再生させる。ハードディスクには、画像受付モジュール110が受け付けた画像、合成モジュール170によって合成処理された画像などが格納される。さらに、その他の各種のデータ処理プログラム等、各種コンピュータ・プログラムが格納される。
ドライブ1712は、装着されている磁気ディスク、光ディスク、光磁気ディスク、又は半導体メモリ等のリムーバブル記録媒体1713に記録されているデータ又はプログラムを読み出して、そのデータ又はプログラムを、インタフェース1707、外部バス1706、ブリッジ1705、及びホストバス1704を介して接続されているRAM1703に供給する。リムーバブル記録媒体1713も、ハードディスクと同様のデータ記録領域として利用可能である。
接続ポート1714は、外部接続機器1715を接続するポートであり、USB、IEEE1394等の接続部を持つ。接続ポート1714は、インタフェース1707、及び外部バス1706、ブリッジ1705、ホストバス1704等を介してCPU1701等に接続されている。通信部1716は、ネットワークに接続され、外部とのデータ通信処理を実行する。データ読み取り部1717は、例えばスキャナであり、ドキュメントの読み取り処理を実行する。データ出力部1718は、例えばプリンタであり、ドキュメントデータの出力処理を実行する。
なお、図17に示すハードウェア構成は、1つの構成例を示すものであり、本実施の形態は、図17に示す構成に限らず、本実施の形態において説明したモジュールを実行可能な構成であればよい。例えば、一部のモジュールを専用のハードウェア(例えば特定用途向け集積回路(Application Specific Integrated Circuit:ASIC)等)で構成してもよく、一部のモジュールは外部のシステム内にあり通信回線で接続しているような形態でもよく、さらに図17に示すシステムが複数互いに通信回線によって接続されていて互いに協調動作するようにしてもよい。また、複写機、ファックス、スキャナ、プリンタ、複合機(スキャナ、プリンタ、複写機、ファックス等のいずれか2つ以上の機能を有している画像処理装置)などに組み込まれていてもよい。
前記実施の形態においては、横書きの文書の画像を例示したが、縦書きの文書であってもよい。また、隠蔽する対象は文字画像を例示したが、他の画像(図形、写真等)であってもよい。
なお、説明したプログラムについては、記録媒体に格納して提供してもよく、また、そのプログラムを通信手段によって提供してもよい。その場合、例えば、前記説明したプログラムについて、「プログラムを記録したコンピュータ読み取り可能な記録媒体」の発明として捉えてもよい。
「プログラムを記録したコンピュータ読み取り可能な記録媒体」とは、プログラムのインストール、実行、プログラムの流通などのために用いられる、プログラムが記録されたコンピュータで読み取り可能な記録媒体をいう。
なお、記録媒体としては、例えば、デジタル・バーサタイル・ディスク(DVD)であって、DVDフォーラムで策定された規格である「DVD−R、DVD−RW、DVD−RAM等」、DVD+RWで策定された規格である「DVD+R、DVD+RW等」、コンパクトディスク(CD)であって、読出し専用メモリ(CD−ROM)、CDレコーダブル(CD−R)、CDリライタブル(CD−RW)等、ブルーレイ・ディスク(Blue−ray Disk)、光磁気ディスク(MO)、フレキシブルディスク(FD)、磁気テープ、ハードディスク、読出し専用メモリ(ROM)、電気的消去及び書換可能な読出し専用メモリ(EEPROM)、フラッシュ・メモリ、ランダム・アクセス・メモリ(RAM)等が含まれる。
そして、前記のプログラム又はその一部は、前記記録媒体に記録して保存や流通等させてもよい。また、通信によって、例えば、ローカル・エリア・ネットワーク(LAN)、メトロポリタン・エリア・ネットワーク(MAN)、ワイド・エリア・ネットワーク(WAN)、インターネット、イントラネット、エクストラネット等に用いられる有線ネットワーク、あるいは無線通信ネットワーク、さらにこれらの組み合わせ等の伝送媒体を用いて伝送させてもよく、また、搬送波に乗せて搬送させてもよい。
さらに、前記のプログラムは、他のプログラムの一部分であってもよく、あるいは別個のプログラムと共に記録媒体に記録されていてもよい。また、複数の記録媒体に分割して
記録されていてもよい。また、圧縮や暗号化など、復元可能であればどのような態様で記録されていてもよい。
なお、本実施の形態は、以下に示す発明としても把握でき、これらとマスク理由特定モジュール140、付加画像生成モジュール160とを組み合わせてもよい。
(B1)画像を受け付ける画像受付手段と、
前記画像受付手段によって受け付けられた画像に追記された部分を抽出する追記部分抽出手段と、
前記追記部分抽出手段によって抽出された追記部分に基づいて、前記画像内の隠蔽する領域を特定する隠蔽領域特定手段と、
前記隠蔽領域特定手段によって特定された領域を変換する領域変換手段と、
前記領域変換手段によって変換された領域を用いて、前記隠蔽領域特定手段によって特定された領域を前記画像内から隠蔽する画像隠蔽手段
を具備することを特徴とする画像処理装置。
(B2)前記領域変換手段は、前記隠蔽領域特定手段によって特定された複数の領域の大きさに基づいて、該領域の大きさを変換する
ことを特徴とする(B1)に記載の画像処理装置。
(B3)前記画像隠蔽手段は、前記隠蔽領域特定手段によって特定された領域以外の領域を変換する
ことを特徴とする(B1)又は(B2)に記載の画像処理装置。
(B4)前記画像隠蔽手段は、前記画像受付手段によって受け付けられた画像内の文字行の長さを保つように、前記隠蔽領域特定手段によって特定された領域以外の領域を変換する
ことを特徴とする(B3)に記載の画像処理装置。
(B5)コンピュータを、
画像を受け付ける画像受付手段と、
前記画像受付手段によって受け付けられた画像に追記された部分を抽出する追記部分抽出手段と、
前記追記部分抽出手段によって抽出された追記部分に基づいて、前記画像内の隠蔽する領域を特定する隠蔽領域特定手段と、
前記隠蔽領域特定手段によって特定された領域を変換する領域変換手段と、
前記領域変換手段によって変換された領域を用いて、前記隠蔽領域特定手段によって特定された領域を前記画像内から隠蔽する画像隠蔽手段
として機能させることを特徴とする画像処理プログラム。
(C1)画像を受け付ける画像受付手段と、
前記画像受付手段によって受け付けられた画像に追記された部分を、第1の閾値を用いて抽出する第1の追記部分抽出手段と、
前記第1の追記部分抽出手段によって抽出された部分に並ぶ領域内の特徴に基づいて、第2の閾値を算出する閾値算出手段と、
前記画像受付手段によって受け付けられた画像に追記された部分を、前記閾値算出手段によって算出された第2の閾値を用いて抽出する第2の追記部分抽出手段と、
前記第2の追記部分抽出手段によって抽出された追記部分に基づいて、前記画像内の隠蔽する領域を特定する隠蔽領域特定手段と、
前記隠蔽領域特定手段によって特定された領域を前記画像内から隠蔽する画像隠蔽手段
を具備することを特徴とする画像処理装置。
(C2)前記閾値算出手段は、前記領域内の特徴として、該領域内の画素密度又は線分量を用いる
ことを特徴とする(C1)に記載の画像処理装置。
(C3)前記閾値算出手段が用いる線分量は、前記第1の追記部分抽出手段に抽出された追記部分の縦辺の長さと横辺の長さを比較して、より短い辺の方向に沿った線分の量である
ことを特徴とする(C2)に記載の画像処理装置。
(C4)前記閾値算出手段によって算出される第2の閾値は、前記第1の閾値を用いて抽出した追記部分よりも大きな領域を抽出できる値であり、
前記第2の追記部分抽出手段は、前記第1の追記部分抽出手段によって抽出された追記部分に並ぶ領域に対して、前記第2の閾値を用いて、追記された部分を抽出する
ことを特徴とする(C1)から(C3)のいずれか一項に記載の画像処理装置。
(C5)コンピュータを、
画像を受け付ける画像受付手段と、
前記画像受付手段によって受け付けられた画像に追記された部分を、第1の閾値を用いて抽出する第1の追記部分抽出手段と、
前記第1の追記部分抽出手段によって抽出された部分に並ぶ領域内の特徴に基づいて、第2の閾値を算出する閾値算出手段と、
前記画像受付手段によって受け付けられた画像に追記された部分を、前記閾値算出手段によって算出された第2の閾値を用いて抽出する第2の追記部分抽出手段と、
前記第2の追記部分抽出手段によって抽出された追記部分に基づいて、前記画像内の隠蔽する領域を特定する隠蔽領域特定手段と、
前記隠蔽領域特定手段によって特定された領域を前記画像内から隠蔽する画像隠蔽手段
として機能させることを特徴とする画像処理プログラム。
本実施の形態の構成例についての概念的なモジュール構成図である。 本実施の形態による処理例を示すフローチャートである。 追記抽出モジュールによる第1の処理例を示すフローチャートである。 追記抽出モジュールの処理対象の画像の例を示す説明図である。 追記抽出モジュールによって処理された画像の例を示す説明図である。 追記抽出モジュールによる第2の処理例を示すフローチャートである。 線分量の例を示す説明図である。 マスク領域特定モジュールの処理対象の画像の例を示す説明図である。 画像受付モジュールが受け付けた画像の例を示す説明図である。 合成モジュールによって合成処理された画像の例を示す説明図である。 回数−理由対応表のデータ構造例を示す説明図である。 操作者−理由対応表のデータ構造例を示す説明図である。 マーカー色−理由対応表のデータ構造例を示す説明図である。 文字認識結果−理由対応表のデータ構造例を示す説明図である。 マスク領域変換モジュール、合成モジュールによる処理例を示すフローチャートである。 マスク領域変換モジュールの処理対象の画像の例を示す説明図である。 本実施の形態を実現するコンピュータのハードウェア構成例を示すブロック図である。
符号の説明
110…画像受付モジュール
120…追記抽出モジュール
130…マスク領域特定モジュール
140…マスク理由特定モジュール
141…回数計数モジュール
142…操作者検出モジュール
143…特徴抽出モジュール
144…文字認識モジュール
150…マスク領域変換モジュール
160…付加画像生成モジュール
170…合成モジュール
180…印刷モジュール

Claims (6)

  1. 画像を受け付ける画像受付手段と、
    前記画像受付手段によって受け付けられた画像に追記された部分を抽出する追記部分抽出手段と、
    前記追記部分抽出手段によって抽出された追記部分に基づいて、前記画像内の隠蔽する領域を特定する隠蔽領域特定手段と、
    前記画像に対する操作に関する情報又は前記追記部分抽出手段によって抽出された追記部分に関する特徴に基づいて、隠蔽する理由を特定する隠蔽理由特定手段と、
    前記隠蔽領域特定手段によって特定された領域を前記画像内から隠蔽する画像隠蔽手段と、
    前記隠蔽理由特定手段によって特定された理由に関する情報を前記画像に付加する画像付加手段
    を具備することを特徴とする画像処理装置。
  2. 前記隠蔽理由特定手段は、前記画像に対する操作に関する情報として、操作者の操作に応じた情報又は操作者を特定する情報を用いる
    ことを特徴とする請求項1に記載の画像処理装置。
  3. 前記隠蔽理由特定手段は、前記追記部分に関する特徴として、該追記部分の色情報の他に、該追記部分の形態又は前記隠蔽領域特定手段によって特定された隠蔽領域内の文字認識結果を組み合わせて用いる
    ことを特徴とする請求項1又は2に記載の画像処理装置。
  4. 前記画像付加手段は、前記画像内の空白領域の大きさに応じて、前記理由に関する情報を表示した画像を付加させる
    ことを特徴とする請求項1から3のいずれか一項に記載の画像処理装置。
  5. 前記画像付加手段は、前記理由に関する情報として、隠蔽した者を特定できる情報を含む
    ことを特徴とする請求項1から4のいずれか一項に記載の画像処理装置。
  6. コンピュータを、
    画像を受け付ける画像受付手段と、
    前記画像受付手段によって受け付けられた画像に追記された部分を抽出する追記部分抽出手段と、
    前記追記部分抽出手段によって抽出された追記部分に基づいて、前記画像内の隠蔽する領域を特定する隠蔽領域特定手段と、
    前記画像に対する操作に関する情報又は前記追記部分抽出手段によって抽出された追記部分に関する特徴に基づいて、隠蔽する理由を特定する隠蔽理由特定手段と、
    前記隠蔽領域特定手段によって特定された領域を前記画像内から隠蔽する画像隠蔽手段と、
    前記隠蔽理由特定手段によって特定された理由に関する情報を前記画像に付加する画像付加手段
    として機能させることを特徴とする画像処理プログラム。
JP2008180106A 2008-07-10 2008-07-10 画像処理装置及び画像処理プログラム Expired - Fee Related JP4577419B2 (ja)

Priority Applications (5)

Application Number Priority Date Filing Date Title
JP2008180106A JP4577419B2 (ja) 2008-07-10 2008-07-10 画像処理装置及び画像処理プログラム
US12/359,074 US8331692B2 (en) 2008-07-10 2009-01-23 Image processing system and computer readable medium
AU2009200307A AU2009200307B2 (en) 2008-07-10 2009-01-28 Image processing system and image processing program
EP09001164A EP2144184A1 (en) 2008-07-10 2009-01-28 Image processing system and image processing program
CN200910129426.6A CN101626451B (zh) 2008-07-10 2009-03-18 图像处理系统和图像处理方法

Applications Claiming Priority (1)

Application Number Priority Date Filing Date Title
JP2008180106A JP4577419B2 (ja) 2008-07-10 2008-07-10 画像処理装置及び画像処理プログラム

Publications (2)

Publication Number Publication Date
JP2010021769A true JP2010021769A (ja) 2010-01-28
JP4577419B2 JP4577419B2 (ja) 2010-11-10

Family

ID=40810094

Family Applications (1)

Application Number Title Priority Date Filing Date
JP2008180106A Expired - Fee Related JP4577419B2 (ja) 2008-07-10 2008-07-10 画像処理装置及び画像処理プログラム

Country Status (5)

Country Link
US (1) US8331692B2 (ja)
EP (1) EP2144184A1 (ja)
JP (1) JP4577419B2 (ja)
CN (1) CN101626451B (ja)
AU (1) AU2009200307B2 (ja)

Cited By (3)

* Cited by examiner, † Cited by third party
Publication number Priority date Publication date Assignee Title
JP2012039236A (ja) * 2010-08-04 2012-02-23 Murata Mach Ltd 画像処理装置、画像処理方法、及び、画像処理プログラム
JP2014090228A (ja) * 2012-10-29 2014-05-15 Oki Data Corp 画像読み取り装置及び画像形成装置
JP2018078355A (ja) * 2016-11-07 2018-05-17 京セラドキュメントソリューションズ株式会社 画像処理装置

Families Citing this family (8)

* Cited by examiner, † Cited by third party
Publication number Priority date Publication date Assignee Title
JP5304529B2 (ja) * 2009-08-17 2013-10-02 富士ゼロックス株式会社 画像処理装置及び画像処理プログラム
CN102455844B (zh) * 2010-10-21 2014-12-10 英华达(上海)电子有限公司 电子书阅读设备及其控制方法
CN102646089B (zh) * 2011-02-16 2014-08-27 汉王科技股份有限公司 电子阅读器文字的隐藏和显示方法,及隐藏和显示装置
TWI485571B (zh) * 2013-07-03 2015-05-21 具隱藏身分認證之電子書閱讀系統
JP6607354B2 (ja) * 2016-11-10 2019-11-20 京セラドキュメントソリューションズ株式会社 画像形成システム、画像形成方法及び画像形成プログラム
JP6651675B1 (ja) * 2018-09-14 2020-02-19 三菱電機株式会社 画像情報処理装置、画像情報処理方法、及び画像情報処理プログラム
JP2021052321A (ja) * 2019-09-25 2021-04-01 ソニー株式会社 画像処理装置、画像処理方法、プログラム、および画像処理システム
CN113012264B (zh) * 2021-03-25 2024-08-20 北京有竹居网络技术有限公司 一种图片处理方法、装置和设备

Citations (4)

* Cited by examiner, † Cited by third party
Publication number Priority date Publication date Assignee Title
JPH1125077A (ja) * 1997-06-30 1999-01-29 Canon Inc 文書管理装置及びシステム及び方法
JP2001325258A (ja) * 2000-05-15 2001-11-22 Mitsubishi Electric Corp 書類管理システム
JP2007110453A (ja) * 2005-10-13 2007-04-26 Ricoh Co Ltd 画像処理装置、画像処理方法、画像処理プログラム及び記録媒体
JP2007166341A (ja) * 2005-12-14 2007-06-28 Fuji Xerox Co Ltd 画像処理装置及び画像処理方法

Family Cites Families (29)

* Cited by examiner, † Cited by third party
Publication number Priority date Publication date Assignee Title
JPH04233368A (ja) * 1990-12-28 1992-08-21 Canon Inc カラー原稿読取装置
JPH0549031A (ja) 1991-08-15 1993-02-26 Pioneer Electron Corp 画像監視装置
JPH05274464A (ja) 1992-03-27 1993-10-22 Nec Corp 電子ファイリング装置
JPH05292312A (ja) 1992-04-15 1993-11-05 Ricoh Co Ltd 網点領域分離装置
JPH06121146A (ja) 1992-10-01 1994-04-28 Konica Corp 画像処理装置
US5424853A (en) * 1993-04-19 1995-06-13 Sharp Kabushiki Kaisha Image processing apparatus
JP3342742B2 (ja) * 1993-04-22 2002-11-11 株式会社日立メディコ 画像処理装置
JP3563754B2 (ja) 1993-12-28 2004-09-08 キヤノン株式会社 画像処理装置および画像処理方法
JPH0918708A (ja) * 1995-06-30 1997-01-17 Omron Corp 画像処理方法およびその方法を用いた画像入力装置,制御装置,画像出力装置,ならびに画像処理システム
JPH0962175A (ja) 1995-08-21 1997-03-07 Casio Comput Co Ltd 文書処理装置
JPH1091768A (ja) 1996-09-12 1998-04-10 Canon Inc 電子ファイリング装置及び電子ファイリング方法
US6125213A (en) * 1997-02-17 2000-09-26 Canon Kabushiki Kaisha Image processing method, an image processing apparatus, and a storage medium readable by a computer
JP3342373B2 (ja) 1997-10-08 2002-11-05 三洋電機株式会社 マーカー領域獲得方法及び装置、及び領域分割装置
JP4174117B2 (ja) 1999-02-09 2008-10-29 キヤノン株式会社 情報処理装置及び情報処理方法並びに記憶媒体
US6570997B2 (en) * 1998-03-20 2003-05-27 Canon Kabushiki Kaisha Image processing apparatus and method therefor, and storage medium
US6470094B1 (en) * 2000-03-14 2002-10-22 Intel Corporation Generalized text localization in images
WO2002037291A1 (en) * 2000-10-26 2002-05-10 Matsushita Electric Industrial Co., Ltd. Printing-object image designating device
JP2002259363A (ja) 2001-03-01 2002-09-13 Nippon Telegr & Teleph Corp <Ntt> 文書伏字加工方法、文書伏字加工装置、文書伏字加工処理プログラム及びその記録媒体
JP3882729B2 (ja) 2002-09-27 2007-02-21 富士通株式会社 情報開示プログラム
JP2005039453A (ja) 2003-07-18 2005-02-10 Ricoh Co Ltd カラー印刷装置
JP3993845B2 (ja) 2003-08-28 2007-10-17 シャープ株式会社 画像処理装置、画像処理方法および画像処理プログラム
US7542160B2 (en) * 2003-08-29 2009-06-02 Hewlett-Packard Development Company, L.P. Rendering with substituted validation input
JP2006135664A (ja) 2004-11-05 2006-05-25 Fuji Xerox Co Ltd 画像処理装置及びプログラム
JP4343820B2 (ja) 2004-12-13 2009-10-14 株式会社リコー 画像処理装置
EP1910976A4 (en) * 2005-07-29 2013-08-21 Ernst & Young U S Llp METHOD AND APPARATUS FOR PROVIDING A UNIFIED DRAFTING SYSTEM
JP4856925B2 (ja) * 2005-10-07 2012-01-18 株式会社リコー 画像処理装置、画像処理方法及び画像処理プログラム
JP4270230B2 (ja) * 2006-07-11 2009-05-27 ソニー株式会社 撮像装置および方法、画像処理装置および方法、並びにプログラム
JP2008085820A (ja) * 2006-09-28 2008-04-10 Fuji Xerox Co Ltd 文書処理装置、システム及びプログラム
JP4577420B2 (ja) * 2008-07-10 2010-11-10 富士ゼロックス株式会社 画像処理装置及び画像処理プログラム

Patent Citations (4)

* Cited by examiner, † Cited by third party
Publication number Priority date Publication date Assignee Title
JPH1125077A (ja) * 1997-06-30 1999-01-29 Canon Inc 文書管理装置及びシステム及び方法
JP2001325258A (ja) * 2000-05-15 2001-11-22 Mitsubishi Electric Corp 書類管理システム
JP2007110453A (ja) * 2005-10-13 2007-04-26 Ricoh Co Ltd 画像処理装置、画像処理方法、画像処理プログラム及び記録媒体
JP2007166341A (ja) * 2005-12-14 2007-06-28 Fuji Xerox Co Ltd 画像処理装置及び画像処理方法

Cited By (3)

* Cited by examiner, † Cited by third party
Publication number Priority date Publication date Assignee Title
JP2012039236A (ja) * 2010-08-04 2012-02-23 Murata Mach Ltd 画像処理装置、画像処理方法、及び、画像処理プログラム
JP2014090228A (ja) * 2012-10-29 2014-05-15 Oki Data Corp 画像読み取り装置及び画像形成装置
JP2018078355A (ja) * 2016-11-07 2018-05-17 京セラドキュメントソリューションズ株式会社 画像処理装置

Also Published As

Publication number Publication date
JP4577419B2 (ja) 2010-11-10
US20100008533A1 (en) 2010-01-14
US8331692B2 (en) 2012-12-11
AU2009200307A1 (en) 2010-01-28
CN101626451A (zh) 2010-01-13
AU2009200307B2 (en) 2010-06-03
EP2144184A1 (en) 2010-01-13
CN101626451B (zh) 2013-12-18

Similar Documents

Publication Publication Date Title
JP4577421B2 (ja) 画像処理装置及び画像処理プログラム
JP4577419B2 (ja) 画像処理装置及び画像処理プログラム
JP4623169B2 (ja) 画像処理装置及び画像処理プログラム
JP4577420B2 (ja) 画像処理装置及び画像処理プログラム
US20080209549A1 (en) Computer readable medium, document processing apparatus, document processing system, document processing method, and computer data signal
KR101248449B1 (ko) 정보 처리 장치, 정보 처리 방법 및 컴퓨터 판독 가능한 기억 매체
JP5732861B2 (ja) 画像処理装置及び画像処理プログラム
JP2007134987A (ja) 透かし情報埋め込み装置,透かし情報埋め込み方法,およびコンピュータプログラム
JP5742283B2 (ja) 画像処理装置及び画像処理プログラム
JP5720182B2 (ja) 画像処理装置及び画像処理プログラム
JP2009081791A (ja) 画像処理装置及び画像処理プログラム
JP6606885B2 (ja) 画像処理装置及び画像処理プログラム
JP5923981B2 (ja) 画像処理装置及び画像処理プログラム
JP5434273B2 (ja) 画像処理装置及び画像処理プログラム
JP2012238949A (ja) 画像処理装置及び画像処理プログラム
JP4687625B2 (ja) 画像処理システムおよび画像処理プログラム
JP2009060216A (ja) 画像処理装置及び画像処理プログラム
JP6135349B2 (ja) 画像処理装置及び画像処理プログラム
JP5434272B2 (ja) 情報処理装置及び情報処理プログラム
JP5720166B2 (ja) 画像処理装置及び画像処理プログラム
JP2010081077A (ja) 画像形成装置、画像形成プログラム
JP2011160307A (ja) 画像処理装置及び画像処理プログラム

Legal Events

Date Code Title Description
A977 Report on retrieval

Free format text: JAPANESE INTERMEDIATE CODE: A971007

Effective date: 20100430

A131 Notification of reasons for refusal

Free format text: JAPANESE INTERMEDIATE CODE: A131

Effective date: 20100518

A521 Request for written amendment filed

Free format text: JAPANESE INTERMEDIATE CODE: A523

Effective date: 20100702

TRDD Decision of grant or rejection written
A01 Written decision to grant a patent or to grant a registration (utility model)

Free format text: JAPANESE INTERMEDIATE CODE: A01

Effective date: 20100727

A01 Written decision to grant a patent or to grant a registration (utility model)

Free format text: JAPANESE INTERMEDIATE CODE: A01

A61 First payment of annual fees (during grant procedure)

Free format text: JAPANESE INTERMEDIATE CODE: A61

Effective date: 20100809

FPAY Renewal fee payment (event date is renewal date of database)

Free format text: PAYMENT UNTIL: 20130903

Year of fee payment: 3

R150 Certificate of patent or registration of utility model

Ref document number: 4577419

Country of ref document: JP

Free format text: JAPANESE INTERMEDIATE CODE: R150

Free format text: JAPANESE INTERMEDIATE CODE: R150

S533 Written request for registration of change of name

Free format text: JAPANESE INTERMEDIATE CODE: R313533

R350 Written notification of registration of transfer

Free format text: JAPANESE INTERMEDIATE CODE: R350

LAPS Cancellation because of no payment of annual fees