JP2010021585A - 半導体発光装置の製造方法 - Google Patents

半導体発光装置の製造方法 Download PDF

Info

Publication number
JP2010021585A
JP2010021585A JP2009245841A JP2009245841A JP2010021585A JP 2010021585 A JP2010021585 A JP 2010021585A JP 2009245841 A JP2009245841 A JP 2009245841A JP 2009245841 A JP2009245841 A JP 2009245841A JP 2010021585 A JP2010021585 A JP 2010021585A
Authority
JP
Japan
Prior art keywords
light emitting
layer
cladding layer
substrate
type cladding
Prior art date
Legal status (The legal status is an assumption and is not a legal conclusion. Google has not performed a legal analysis and makes no representation as to the accuracy of the status listed.)
Granted
Application number
JP2009245841A
Other languages
English (en)
Other versions
JP5240156B2 (ja
Inventor
Hiroaki Abe
博明 阿部
Shinichi Azuma
新一 我妻
Nozomi Hoshi
望 星
Yoichi Suzuki
洋一 鈴木
Current Assignee (The listed assignees may be inaccurate. Google has not performed a legal analysis and makes no representation or warranty as to the accuracy of the list.)
Sony Corp
Original Assignee
Sony Corp
Priority date (The priority date is an assumption and is not a legal conclusion. Google has not performed a legal analysis and makes no representation as to the accuracy of the date listed.)
Filing date
Publication date
Application filed by Sony Corp filed Critical Sony Corp
Priority to JP2009245841A priority Critical patent/JP5240156B2/ja
Publication of JP2010021585A publication Critical patent/JP2010021585A/ja
Application granted granted Critical
Publication of JP5240156B2 publication Critical patent/JP5240156B2/ja
Anticipated expiration legal-status Critical
Expired - Fee Related legal-status Critical Current

Links

Images

Classifications

    • GPHYSICS
    • G11INFORMATION STORAGE
    • G11BINFORMATION STORAGE BASED ON RELATIVE MOVEMENT BETWEEN RECORD CARRIER AND TRANSDUCER
    • G11B7/00Recording or reproducing by optical means, e.g. recording using a thermal beam of optical radiation by modifying optical properties or the physical structure, reproducing using an optical beam at lower power by sensing optical properties; Record carriers therefor
    • G11B7/12Heads, e.g. forming of the optical beam spot or modulation of the optical beam
    • G11B7/125Optical beam sources therefor, e.g. laser control circuitry specially adapted for optical storage devices; Modulators, e.g. means for controlling the size or intensity of optical spots or optical traces
    • G11B7/126Circuits, methods or arrangements for laser control or stabilisation
    • BPERFORMING OPERATIONS; TRANSPORTING
    • B82NANOTECHNOLOGY
    • B82YSPECIFIC USES OR APPLICATIONS OF NANOSTRUCTURES; MEASUREMENT OR ANALYSIS OF NANOSTRUCTURES; MANUFACTURE OR TREATMENT OF NANOSTRUCTURES
    • B82Y20/00Nanooptics, e.g. quantum optics or photonic crystals
    • GPHYSICS
    • G11INFORMATION STORAGE
    • G11BINFORMATION STORAGE BASED ON RELATIVE MOVEMENT BETWEEN RECORD CARRIER AND TRANSDUCER
    • G11B7/00Recording or reproducing by optical means, e.g. recording using a thermal beam of optical radiation by modifying optical properties or the physical structure, reproducing using an optical beam at lower power by sensing optical properties; Record carriers therefor
    • G11B7/12Heads, e.g. forming of the optical beam spot or modulation of the optical beam
    • G11B7/125Optical beam sources therefor, e.g. laser control circuitry specially adapted for optical storage devices; Modulators, e.g. means for controlling the size or intensity of optical spots or optical traces
    • G11B7/127Lasers; Multiple laser arrays
    • GPHYSICS
    • G11INFORMATION STORAGE
    • G11BINFORMATION STORAGE BASED ON RELATIVE MOVEMENT BETWEEN RECORD CARRIER AND TRANSDUCER
    • G11B7/00Recording or reproducing by optical means, e.g. recording using a thermal beam of optical radiation by modifying optical properties or the physical structure, reproducing using an optical beam at lower power by sensing optical properties; Record carriers therefor
    • G11B7/12Heads, e.g. forming of the optical beam spot or modulation of the optical beam
    • G11B7/125Optical beam sources therefor, e.g. laser control circuitry specially adapted for optical storage devices; Modulators, e.g. means for controlling the size or intensity of optical spots or optical traces
    • G11B7/127Lasers; Multiple laser arrays
    • G11B7/1275Two or more lasers having different wavelengths
    • HELECTRICITY
    • H01ELECTRIC ELEMENTS
    • H01SDEVICES USING THE PROCESS OF LIGHT AMPLIFICATION BY STIMULATED EMISSION OF RADIATION [LASER] TO AMPLIFY OR GENERATE LIGHT; DEVICES USING STIMULATED EMISSION OF ELECTROMAGNETIC RADIATION IN WAVE RANGES OTHER THAN OPTICAL
    • H01S5/00Semiconductor lasers
    • H01S5/02Structural details or components not essential to laser action
    • H01S5/026Monolithically integrated components, e.g. waveguides, monitoring photo-detectors, drivers
    • HELECTRICITY
    • H01ELECTRIC ELEMENTS
    • H01SDEVICES USING THE PROCESS OF LIGHT AMPLIFICATION BY STIMULATED EMISSION OF RADIATION [LASER] TO AMPLIFY OR GENERATE LIGHT; DEVICES USING STIMULATED EMISSION OF ELECTROMAGNETIC RADIATION IN WAVE RANGES OTHER THAN OPTICAL
    • H01S5/00Semiconductor lasers
    • H01S5/20Structure or shape of the semiconductor body to guide the optical wave ; Confining structures perpendicular to the optical axis, e.g. index or gain guiding, stripe geometry, broad area lasers, gain tailoring, transverse or lateral reflectors, special cladding structures, MQW barrier reflection layers
    • H01S5/22Structure or shape of the semiconductor body to guide the optical wave ; Confining structures perpendicular to the optical axis, e.g. index or gain guiding, stripe geometry, broad area lasers, gain tailoring, transverse or lateral reflectors, special cladding structures, MQW barrier reflection layers having a ridge or stripe structure
    • HELECTRICITY
    • H01ELECTRIC ELEMENTS
    • H01SDEVICES USING THE PROCESS OF LIGHT AMPLIFICATION BY STIMULATED EMISSION OF RADIATION [LASER] TO AMPLIFY OR GENERATE LIGHT; DEVICES USING STIMULATED EMISSION OF ELECTROMAGNETIC RADIATION IN WAVE RANGES OTHER THAN OPTICAL
    • H01S5/00Semiconductor lasers
    • H01S5/30Structure or shape of the active region; Materials used for the active region
    • H01S5/32Structure or shape of the active region; Materials used for the active region comprising PN junctions, e.g. hetero- or double- heterostructures
    • H01S5/323Structure or shape of the active region; Materials used for the active region comprising PN junctions, e.g. hetero- or double- heterostructures in AIIIBV compounds, e.g. AlGaAs-laser, InP-based laser
    • HELECTRICITY
    • H01ELECTRIC ELEMENTS
    • H01SDEVICES USING THE PROCESS OF LIGHT AMPLIFICATION BY STIMULATED EMISSION OF RADIATION [LASER] TO AMPLIFY OR GENERATE LIGHT; DEVICES USING STIMULATED EMISSION OF ELECTROMAGNETIC RADIATION IN WAVE RANGES OTHER THAN OPTICAL
    • H01S5/00Semiconductor lasers
    • H01S5/20Structure or shape of the semiconductor body to guide the optical wave ; Confining structures perpendicular to the optical axis, e.g. index or gain guiding, stripe geometry, broad area lasers, gain tailoring, transverse or lateral reflectors, special cladding structures, MQW barrier reflection layers
    • H01S5/22Structure or shape of the semiconductor body to guide the optical wave ; Confining structures perpendicular to the optical axis, e.g. index or gain guiding, stripe geometry, broad area lasers, gain tailoring, transverse or lateral reflectors, special cladding structures, MQW barrier reflection layers having a ridge or stripe structure
    • H01S5/2201Structure or shape of the semiconductor body to guide the optical wave ; Confining structures perpendicular to the optical axis, e.g. index or gain guiding, stripe geometry, broad area lasers, gain tailoring, transverse or lateral reflectors, special cladding structures, MQW barrier reflection layers having a ridge or stripe structure in a specific crystallographic orientation
    • HELECTRICITY
    • H01ELECTRIC ELEMENTS
    • H01SDEVICES USING THE PROCESS OF LIGHT AMPLIFICATION BY STIMULATED EMISSION OF RADIATION [LASER] TO AMPLIFY OR GENERATE LIGHT; DEVICES USING STIMULATED EMISSION OF ELECTROMAGNETIC RADIATION IN WAVE RANGES OTHER THAN OPTICAL
    • H01S5/00Semiconductor lasers
    • H01S5/30Structure or shape of the active region; Materials used for the active region
    • H01S5/34Structure or shape of the active region; Materials used for the active region comprising quantum well or superlattice structures, e.g. single quantum well [SQW] lasers, multiple quantum well [MQW] lasers or graded index separate confinement heterostructure [GRINSCH] lasers
    • H01S5/343Structure or shape of the active region; Materials used for the active region comprising quantum well or superlattice structures, e.g. single quantum well [SQW] lasers, multiple quantum well [MQW] lasers or graded index separate confinement heterostructure [GRINSCH] lasers in AIIIBV compounds, e.g. AlGaAs-laser, InP-based laser
    • H01S5/34313Structure or shape of the active region; Materials used for the active region comprising quantum well or superlattice structures, e.g. single quantum well [SQW] lasers, multiple quantum well [MQW] lasers or graded index separate confinement heterostructure [GRINSCH] lasers in AIIIBV compounds, e.g. AlGaAs-laser, InP-based laser with a well layer having only As as V-compound, e.g. AlGaAs, InGaAs
    • HELECTRICITY
    • H01ELECTRIC ELEMENTS
    • H01SDEVICES USING THE PROCESS OF LIGHT AMPLIFICATION BY STIMULATED EMISSION OF RADIATION [LASER] TO AMPLIFY OR GENERATE LIGHT; DEVICES USING STIMULATED EMISSION OF ELECTROMAGNETIC RADIATION IN WAVE RANGES OTHER THAN OPTICAL
    • H01S5/00Semiconductor lasers
    • H01S5/30Structure or shape of the active region; Materials used for the active region
    • H01S5/34Structure or shape of the active region; Materials used for the active region comprising quantum well or superlattice structures, e.g. single quantum well [SQW] lasers, multiple quantum well [MQW] lasers or graded index separate confinement heterostructure [GRINSCH] lasers
    • H01S5/343Structure or shape of the active region; Materials used for the active region comprising quantum well or superlattice structures, e.g. single quantum well [SQW] lasers, multiple quantum well [MQW] lasers or graded index separate confinement heterostructure [GRINSCH] lasers in AIIIBV compounds, e.g. AlGaAs-laser, InP-based laser
    • H01S5/34326Structure or shape of the active region; Materials used for the active region comprising quantum well or superlattice structures, e.g. single quantum well [SQW] lasers, multiple quantum well [MQW] lasers or graded index separate confinement heterostructure [GRINSCH] lasers in AIIIBV compounds, e.g. AlGaAs-laser, InP-based laser with a well layer based on InGa(Al)P, e.g. red laser
    • HELECTRICITY
    • H01ELECTRIC ELEMENTS
    • H01SDEVICES USING THE PROCESS OF LIGHT AMPLIFICATION BY STIMULATED EMISSION OF RADIATION [LASER] TO AMPLIFY OR GENERATE LIGHT; DEVICES USING STIMULATED EMISSION OF ELECTROMAGNETIC RADIATION IN WAVE RANGES OTHER THAN OPTICAL
    • H01S5/00Semiconductor lasers
    • H01S5/40Arrangement of two or more semiconductor lasers, not provided for in groups H01S5/02 - H01S5/30
    • H01S5/4025Array arrangements, e.g. constituted by discrete laser diodes or laser bar
    • H01S5/4031Edge-emitting structures
    • H01S5/4056Edge-emitting structures emitting light in more than one direction
    • HELECTRICITY
    • H01ELECTRIC ELEMENTS
    • H01SDEVICES USING THE PROCESS OF LIGHT AMPLIFICATION BY STIMULATED EMISSION OF RADIATION [LASER] TO AMPLIFY OR GENERATE LIGHT; DEVICES USING STIMULATED EMISSION OF ELECTROMAGNETIC RADIATION IN WAVE RANGES OTHER THAN OPTICAL
    • H01S5/00Semiconductor lasers
    • H01S5/40Arrangement of two or more semiconductor lasers, not provided for in groups H01S5/02 - H01S5/30
    • H01S5/4025Array arrangements, e.g. constituted by discrete laser diodes or laser bar
    • H01S5/4087Array arrangements, e.g. constituted by discrete laser diodes or laser bar emitting more than one wavelength

Landscapes

  • Physics & Mathematics (AREA)
  • Optics & Photonics (AREA)
  • Condensed Matter Physics & Semiconductors (AREA)
  • Electromagnetism (AREA)
  • General Physics & Mathematics (AREA)
  • Chemical & Material Sciences (AREA)
  • Engineering & Computer Science (AREA)
  • Nanotechnology (AREA)
  • Biophysics (AREA)
  • Crystallography & Structural Chemistry (AREA)
  • Life Sciences & Earth Sciences (AREA)
  • Geometry (AREA)
  • Semiconductor Lasers (AREA)
  • Optical Head (AREA)

Abstract

【課題】共通光学系のレンズシフト量を最小限にすることができ、光ディスク装置の小型化を図ることができる半導体発光装置の製造方法を提供する。
【解決手段】基板22に、n型クラッド層41ないしp型コンタクト層44を順次成長させ、p型コンタクト層44およびp型クラッド層43の上層部を選択的にエッチングして細い帯状の非対称なリッジ部を形成する。p型コンタクト層44ないしn型クラッド層41を選択的に除去することにより、基板22の(011)面側にAlGaInP系レーザ素子24を形成する。基板22に、n型クラッド層52ないしp型コンタクト層55を順次成長させたのち、これらを選択的に除去し、p型コンタクト層55およびp型クラッド層54の上層部に電流ブロック領域56を形成することにより、基板22の(0−1−1)面側にAlGaAsレーザ素子26を形成する。
【選択図】図3

Description

本発明は、1チップに発光波長の異なる複数の発光素子が作り込まれた所謂モノシリック型の半導体発光装置およびこれを用いた光ディスク装置に係り、特に、発光素子としてAlGaInP系およびAlGaAs系の素子を共通基板上に有する半導体発光装置および光ディスク装置に関する。
近年、半導体発光装置の分野においては、共通基板上に発光波長が異なる複数の発光素子を有する半導体レーザ(LD;laser diode )(多波長レーザという。)の開発が活発になされている。
これらの多波長レーザは、例えば光ディスク装置の光源として用いられる。現在、一般に光ディスク装置では、780nm帯の半導体レーザ光がCD(Compact Disk)の再生に用いられると共に、CD−R(CD recordable ),CD−RW(CD Rewritable )あるいはMD(Mini Disk )などの記録可能な光ディスクの記録・再生に用いられている。また、650nm帯の半導体レーザ光がDVD(Digital Versatile Disk)の記録・再生に用いられている。従って、上述したような多波長レーザを光ディスク装置に搭載することにより、既存の複数種類の光ディスクのいずれに関しても、記録または再生が可能となる。
このような多波長レーザの一例として、1チップに発光波長の異なる2つの半導体レーザが作り込まれた所謂モノシリック2波長半導体レーザが提案されている。このモノシリックレーザをDVDおよびCDの再生/記録処理の共通光源として用いることにより、光学ピックアップの小型化と光学系の調整の簡略化を図ることが可能になる。
この種の2波長半導体レーザとしては、DVD用の光源としてのAlGaInP系の赤色半導体レーザ素子(以下、AlGaInP系レーザ素子という)と、CD用の光源としてのAlGaAsの赤色半導体レーザ素子(以下、AlGaAs系レーザ素子という)とを備えたものが挙げられる。
図7(A),図7(B)は、この2波長半導体レーザの具体的な構成の一例を表すもので、図7(A)は平面構成、図7(B)は図7(A)の矢視II−II線に沿った断面構成であり、レーザ光の主出射面側から見た図である。2波長半導体レーザ10は、GaAsからなる共通の基板11上にAlGaInP系レーザ素子12とAlGaAs系レーザ素子13とを備えている。基板11は所定の角度(オフ角)で傾斜した所謂オフ基板(off 基板)であり、ここでは主出射面(011)11cから見て、結晶面(100)に対して反時計廻り方向、すなわち(011)面11aから(011)面11bに向かって傾斜している。
このようにオフ基板を用いるのは、基板から成長するレーザ素子12,13に対して自然超格子が形成されるのを抑制し、発振波長の短波長化を図るためである。
AlGaInP系レーザ素子12は、発振波長650nm帯の赤色発光素子であり、基板11上に順次成膜された、AlGaInP下部クラッド層、活性層、AlGaInP上部クラッド層、GaInP層およびGaAsコンタクト層等により構成され、その上部部分は、両側に絶縁層からなる電流ブロック領域17が形成されたエアエッジ型レーザストライプ14となっている。一方、AlGaAs系レーザ素子13は、発振波長780nm帯の赤色発光素子であり、基板11上に順次成膜された、AlGaAs下部クラッド層、活性層、AlGaAs上部クラッド層、GaAsコンタクト層等を備え、その上部部分は、両側にB+ イオンのイオン注入層からなる電流ブロック領域16が形成された埋め込み型のレーザストライプ15となっている。
AlGaInP系レーザ素子12およびAlGaAs系レーザ素子13は、各々のレーザストライプ14,15が互に平行になるように配置されると共に、レーザ光の主出射面(011)11c側から見て、AlGaInP系レーザ素子12は基板中心線より(011)面11a側に、AlGaAs系レーザ素子13は基板中心線より(011)面11b側に配置されており、レーザストライプ14,15の中心線間隔Sは120μmとなっている。
上述の2波長半導体レーザでは、図8からも明らかなように、AlGaInP系レーザ素子12の光軸L1 と、AlGaAs系レーザ素子13の光軸L2 とは主出射面側から見て間隔S分だけずれている。
したがって、この2波長半導体レーザを、DVDおよびCDの再生/記録装置の共通光源として用いる場合には、DVDまたはCDの読み出しまたは書き換えに際し、AlGaInP系レーザ素子とAlGaAs系レーザ素子との間で共通光学系の切り換え、すなわち各々の光軸を共通光学系に対して整合させることが必要になる。
このようにAlGaInP系レーザ素子またはAlGaAs系レーザ素子の光軸を共通光学系に対して整合させるためには、共通光学系のレンズを相対的に移動させる必要があるが、その移動量は、装置全体の小型化のためには最小限にすることが望ましい。このようなことから従来の2波長半導体レーザでは、AlGaInP系レーザ素子12およびAlGaAs系レーザ素子13の互いのレーザ光の主出射位置が近接するようにレーザストライプ14,15が配置されている。
しかしながら、従来の2波長半導体レーザでは、レーザストライプ14,15が近接するように2つの素子を配置しているものの、ある程度の分離領域が必要であり、2つの素子間の間隔Sを短くするには限界があった。
また、理由は後述するが、2つの素子を極力近接させたとしても、図8にも示したようにAlGaInP系レーザ素子12の光軸L1 がレーザストライプ14の中心軸14aから外側にずれ、光軸L1 と光軸L2 との間が離れてしまい、その結果、共通光学系のレンズシフト量が素子間の距離Sよりも大きくなるという問題があった。
本発明はかかる問題点に鑑みてなされたもので、第1の目的は、2つの発光素子の光軸間の間隔をより短くし、光ディスク装置に適用した場合の共通光学系のレンズシフト量を最小限にすることができ、光ディスク装置の小型化を図ることができる半導体発光装置を提供することにある。
本発明の第2の目的は、本発明の半導体発光装置を用いて、共通光学系のレンズシフト量を最小限にすることができ、それによって小型化を図ることができる光ディスク装置を提供することにある。
本発明による半導体発光装置は、共通基板の主面の隣接する位置に、主出射面が同一方向の少なくとも1組の発光素子を有するものであって、主出射面側から見て、側面が結晶軸方向に対して時計廻り方向に所定の角度(オフ角)で傾斜してなる基板と、主出射面側から見て、対向する2つの側面のうち左側が右側よりもなだらかな台形状の断面を有する第1の発光素子と、この第1の発光素子と対をなすと共に、主出射面側からみて、前記第1の発光素子の左側に形成された第2の発光素子とを備えたものである。
このような構成を有すると、第1の発光素子および第2の発光素子をともに互いに平行な帯状形状とした場合、素子材料の選択によって、第2の発光素子は帯状形状の中心軸と光軸方向が一致するのに対し、第1の発光素子は、その光軸が帯状形状の中心軸と一致若しくは第2の発光素子の光軸側に接近する。
具体的には以下の構成とすることが望ましい。
すなわち、第1の発光素子および第2の発光素子の主出射面は(011)面であると共に、基板は、主出射面側から見たその両側面が、結晶軸(100)に対して(011)面から(011)面に向かう方向に傾斜してなり、第1の発光素子は(011)面側、第2の発光素子は(011)面側にそれぞれ配置されている。また、基板はGaAs系でそのオフ角度は2度以上15度以下であり、第1の発光素子はAlGaInP系のレーザ素子、第2の発光素子はAlGaAs系のレーザ素子であることが好ましい。
本発明による光ディスク装置は、本発明の半導体発光装置を光源とし、複数種類の光ディスクに対して情報の記録または再生のうちの少なくとも一方を行うものであり、光ディスクに対する情報の読み出しまたは書き込みを行う際に、第1の発光素子と第2の発光素子の光軸同士が平行若しくは接近しているため、従来に比べて、少ないレンズシフト量をもって、例えばDVDからCD、あるいはCDからDVDへの切り換えが行われる。
以上説明したように本発明の半導体発光装置によれば、主出射面側から見て、側面が時計廻り方向に所定の角度(オフ角)で傾斜してなる基板の主面に、断面が台形(リッジ)状の第1の発光素子を、主出射面側から見て、対向する2つの側面のうち左側が右側よりもなだらかになるように形成すると共に、第2の発光素子を主出射面側から見て、第1の発光素子の左側に形成するようにしたので、従来のものに比べて第1の発光素子の光軸が第2の発光素子の光軸側に接近する。
したがって、この半導体発光装置を光ディスク装置の光源とすることにより、光ディスクに対する情報の読み出しまたは書き込みを行う際に、わずかなレンズシフト量をもって、例えばDVDからCD、あるいはCDからDVDへの切り換えを行うことができる。よって、レンズシフト量が従来のモノシリック2波長半導体レーザに比べて著しく小さくなり、これにより光学ピックアップの光学系の調整が容易になり、製造歩留りが向上する。また、レンズシフト量を小さくできることからレンズシフトに伴う光学収差を低減でき、DVD,CD等のディスクDからの信号のSN比(ジッター)を高く確保でき、安定した性能で光学ピックアップによる読み取りおよび書き込みを行うことが可能になる。
図1(A)は本発明の一実施の形態に係る2波長半導体レーザの構成を表す平面図、図1Bは同じく正面図である。 図2は、2波長半導体レーザの光軸の接近状態を説明するための図である。 図3(A)および図3(B)は、図1(A)に示した半導体発光装置の製造方法を説明するための断面図である。 図4(A)および図4(B)は、図3(B)に続く製造工程を説明するための断面図である。 図5(A)および図5(B)は、図4(B)に続く製造工程を説明するための断面図である。 図6は、本発明の2波長半導体レーザを用いた光ディスク装置の構成図である。 図7(A)は従来の2波長半導体レーザの構成を表す平面図、図7(B)は同じく正面図である。 図8は、従来の2波長半導体レーザにおける2つの光軸間の離間状態を説明するための図である。
以下、本発明の実施の形態について、図面を参照して詳細に説明する。
図1(A)および図1(B)は、本発明の一実施の形態に係る2波長半導体レーザ20の構成を表すもので、図1(A)は平面状態、図1(B)は図1(A)の矢視I−I線に沿った断面構成であり、レーザ光の主出射面側から見た図である。
この2波長半導体レーザ20は、GaAsからなる共通の基板22の主面に、AlGaInP系レーザ素子24およびAlGaAs系レーザ素子26を備えている。基板22は両側面が結晶軸方向に対して所定の角度(オフ角θoff )で傾斜したオフ基板(off 基板)であり、ここでは、紙面手前側から見て時計廻り方向、すなわち(011)面22aから(011)面22bに向かって(100)面に対して2度以上15度以下の範囲の角度(θoff )をもって傾斜している。2つのレーザ光の主出射面は、紙面の手前側、すなわち(011)面22cである。
この基板22上に後述の成長法により形成されるAlGaInP系レーザ素子24は断面が非対称のリッジ(台形)形状となり、主出射面側から見て、対向する2つの側面のうち左側の面24aは右側の面24bよりもなだらかになる。AlGaAs系レーザ素子26も同様に、主出射面側から見て、対向する2つの側面のうち左側の面26aが右側の面26bよりもなだらかになる。
AlGaInP系レーザ素子24は、例えば発振波長650nm帯の赤色発光素子であり、基板22上に順次成膜された、GaInPバッファ層、AlGaInP下部クラッド層、活性層、AlGaInP上部クラッド層、GaInP層およびGaAsコンタクト層等により構成され、その上部部分は両側に電流ブロック領域45が形成されたエアエッジ型のレーザストライプ28となっている。
一方、AlGaAs系レーザ素子26は、例えば発振波長780nm帯の赤色発光素子であり、基板22上に順次成膜された、GaAsバッファ層、AlGaAs下部クラッド層、活性層、AlGaAs上部クラッド層およびGaAsコンタクト層等により構成され、その上部部分は両側にB+ イオンのイオン注入層からなる電流ブロック領域56が形成された埋め込み型のレーザストライプ30となっている。
AlGaInP系レーザ素子24およびAlGaAs系レーザ素子26は、各々のストライプ28,30が互に平行になるように配置されると共に、レーザ光の主出射面(011)面22c側から見て、AlGaInP系レーザ素子24は基板中心線より(011)面22b側に、AlGaAs系レーザ素子26は基板中心線より(011)面22a側に配置されており、ストライプ28,30の中心線間隔Sは120μmとなっている。
図7(B)でも説明したように、従来の2波長半導体レーザ10においては、レーザ光の主出射面(011)11c側から見て、基板11の傾斜方向は半時計廻り方向であり、かつ、AlGaInP系レーザ素子12は基板中心線より(011)面11a側に、AlGaAs系レーザ素子13は基板中心線より(011)面11b側に配置されている。
これに対して、本実施の形態の2波長半導体レーザ20は、基板22の傾斜の向きが逆であり、レーザ光の主出射面(011)面22c側から見て、AlGaInP系レーザ素子24を基板中心線より(011)面22b側(右側)に、また、AlGaAs系レーザ素子26を基板中心線より(011)面22a側(左側)に配置するようにしたものである。ここで、レーザ光の主出射面から見た、AlGaInP系レーザ素子24のAlGaAs系レーザ素子26側、すなわち左側の傾斜面24aは右側の傾斜面24bよりもなだらかになっている。
本発明者らは、DVDからCD、あるいはCDからDVDに切り換える際のレンズシフト量を小さくする研究の過程で、従来のモノシリック2波長半導体レーザでは、図8にも示したように、AlGaInP系レーザ素子12の光軸L1 がレーザ光の主出射方向に向かって、AlGaAs系レーザ素子13の光軸L2 から離間するように、つまり離れ目になっているために、レンズ移動量が大きくなっていることを見いだした。そして、広がりの角度θが大きい場合には、レンズシフト量による調整範囲を超えるために、光ピックアップの性能不良を生ずることもあることが判明した。
AlGaInP系レーザ素子12の光軸L1 が離れ目になる理由は以下のように考えられる。すなわち、前述のように発振波長の短波長化を図るためにオフ基板を使用したとき、ウェットエッチングによりリッジ部を形成すると、リッジ部が非対称になる。これはエッチングを、結晶方位に依存してエッチングレートに選択性のあるエッチャントを用いるためである。このようにリッジ部の側壁の傾斜角度が非対称になることによって、傾斜のなだらかな方(図7(B)では右側)で光の閉じ込め効果が弱くなり光分布が非対称になる結果、2つのレーザの光軸が離れ目になる。
そこで、本発明者らは、上記オフ基板とは逆方向に傾斜したオフ基板(逆オフ基板)を用いると、リッジ部の側壁の傾斜具合が従来と左右が逆になり光閉じ込めの非対称性も逆になって2つの光軸が接近すると考え、種々の実験を行った。実験の結果、2度以上15度以下の範囲の傾斜角度(オフ角度)を有するオフ基板上に、上述のような特定の位置関係をもって2つレーザ素子を配置することにより、2つのレーザ素子の光軸同士を互いに平行にし、更には接近させることができることを見いだした。
オフ角度(θoff )が2度未満になると自然超格子発生の抑制効果がでないために、発振波長が所望の波長よりも大きくなってしまい、また、15度よりも大きくなると、以下の2つの問題が発生する。第1に、オフ角度が15度よりも大きくなると、リッジ形状の非対称性が強まり、逆オフ基板を用いた場合の2つのレーザの光軸の接近度合いが強まり過ぎる。
第2に、オフ角度が15度よりも大きくなると、チップ化する際に劈開させたときに、チップの断面形状が平行四辺形となる度合が強まり、チップマウントやワイヤボンドの組立工程において支障をきたすことになる。また、オフ角度が15度よりも大きくなっても、短波長化の効果は変わらず、10度の場合と同程度である。
本実施の形態の2波長半導体レーザ20では、上述の構成によって、図2に示したように、AlGaInP系レーザ素子24の光軸L1 を、AlGaAs系レーザ素子26の光軸L2 に対して平行、更には0.5度(=θ)程度の角度で接近させることができる。ここで、θは、AlGaInP系レーザ素子24におけるレーザストライプ28の中心軸28aと光軸L1 との間のなす角度である。なお、AlGaAs系レーザ素子26の光軸L2 はレーザストライプ30の中心軸30aとほぼ一致する。
このようにAlGaInP系レーザ素子24およびAlGaAs系レーザ素子26の光軸L1 ,L2 同士が平行になる若しくは接近することから、後述のように、読み出しまたは書き込みを行う際に、DVDからCD、あるいはCDからDVDに切り換えるときのレンズシフト量を従来のモノシリック2波長半導体レーザ10に比べて著しく小さくすることができる。
次に、上記2波長半導体レーザ20の製造方法について説明する。
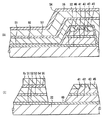
まず、図3(A)に示したように、例えば、厚さ350μm程度のn型GaAsよりなる基板22(オフ基板)を用意し、この基板22の表面にMOCVD法により、n型InGaP混晶よりなるバッファ層40,n型AlGaInP混晶よりなるn型クラッド層41,Alx Gay In1-x-y P(但し、x≧0かつy≧0)混晶よりなる活性層42,p型AlGaInP混晶よりなるp型クラッド層43およびp型GaAsよりなるp型コンタクト層44を順次成長させる。
次いで、図3(B)に示したように、p側コンタクト層44の上に図示しないマスクを形成し、p側コンタクト層44およびp型クラッド層43の上層部を選択的にエッチングしてこれらを細い帯状とし、p型クラッド層43を表面に露出させる。続いて、p側コンタクト層44上の図示しないマスクを利用して、p型クラッド層43およびp側コンタクト層44の側面を覆うように絶縁層(電流ブロック領域)45を形成する。
次いで、p型コンタクト層44の上にAlGaInP系レーザ素子24の形成予定領域に対応して選択的にレジスト膜R1 を形成する。そののち、このレジスト膜R1 をマスクとして、例えば硫酸系のエッチング液を用いてp型コンタクト層44,リン酸系または塩酸系のエッチング液を用いてp型クラッド層43,活性層42およびn型クラッド層41のレジスト膜R1 に覆われていない部分をそれぞれ選択的に除去する。そののち、レジスト膜R1 を除去する。
これにより、前述の理由から、基板22上に、断面が台形状で、かつ紙面に向かって左側の側面が右側の側面よりもなだらかなAlGaInP系レーザ素子24が得られる。
続いて、図4(A)に示したように、例えばMOCVD法により、n型GaAsよりなるバッファ層51,n型AlGaAs混晶よりなるn型クラッド層52,Alx Ga1-x As(但し、x≧0)混晶よりなる活性層53,p型AlGaAs混晶よりなるp型クラッド層54およびp型GaAsよりなるp型コンタクト層55を順次成長させる。
そののち、図4(B)に示したように、p型コンタクト層55の上にAlGaInP系レーザ素子24の形成予定領域に対応してレジスト膜R2 を形成する。続いて、このレジスト膜R2 をマスクとして、例えば、硫酸系のエッチング液を用いてp型コンタクト層55を選択的に除去し、フッ酸系のエッチング液を用いてp型クラッド層54,活性層53およびn型クラッド層52をそれぞれ選択的に除去し、塩酸系のエッチング液を用いてバッファ層51を選択的に除去する。そののち、レジスト膜R2 を除去する。
レジスト膜R2 を除去したのち、図5(A)に示したように、例えば図示しない細い帯状のマスクを用いて、p型コンタクト層55およびp型クラッド層54の上層部にイオン注入法によりケイ素などのn型不純物を導入する。これにより、不純物が導入された領域は絶縁化され、電流ブロック領域56となる。
電流ブロック領域56を形成したのち、図5(B)に示したように、p型コンタクト層44,55の表面およびその近傍に、例えば、ニッケル,白金および金を順次蒸着し、p側電極46,57をそれぞれ形成する。更に、基板22の裏面側を例えばラッピングおよびポリッシングすることにより、基板22の厚さを例えば100μm程度とする。
続いて、この基板22の裏面側に、例えば、金とゲルマニウムとの合金,ニッケルおよび金を順次蒸着し、2つのレーザ素子24,26に共通のn側電極60を形成する。そののち、加熱処理を行い、p側電極46,57およびn側電極60をそれぞれ合金化する。更に、基板22を例えばp側電極46,57の長さ方向に対して垂直に所定の幅で劈開し、その劈開面に一対の反射鏡膜を形成する。これにより本実施の形態の2波長半導体レーザ20が作製される。
なお、この2波長半導体レーザ20は、例えば光ディスク装置(光ピックアップ)に用いられる。
図6は、その光ディスク装置の構成を模式的に表すものである。この光ディスク装置は、波長の異なる光を用いて光ディスクに記録されている情報をそれぞれ読み出し(再生)し、また光ディスクに情報を書き込む(記録)ためのものである。
この光ディスク装置は、制御部111の制御に基づいて、2波長半導体レーザ20内のレーザ素子24,26のいずれか一方の出射光Lout を光ディスクDへ導くと共に、光ディスクDからの信号光(反射光Lref )読み取るための光学系、すなわち、ビームスプリッタ112,コリメータレンズ113,ミラー114,開口制限アパーチャ115,対物レンズ116,信号光検出用レンズ117,信号光検出用受光素子118および信号光再生回路119を備えている。信号光検出用受光素子118には、一方のAlGaInP系レーザ素子24から出射された650nm帯の赤色レーザ光を受光するための第1フォトダイオード118Aと、一方のAlGaAs系レーザ素子26から出射された780nm帯の赤色レーザ光を受光するための第2フォトダイオード118Bとが含まれている。
この光ディスク装置では、2波長半導体レーザ20のAlGaInP系レーザ素子24またはAlGaAs系レーザ素子26から例えば強度の大きい出射光Lout が出射されると、この出射光Lout はビームスプリッタ112で反射し、コリメータレンズ113で平行光にされ、ミラー114で反射される。ミラー114で反射した出射光Lout は、開口制限アパーチャ115を通過したのち、対物レンズ116により集光されて光ディスクDに入射する。これにより、光ディスクDに情報が書き込まれる。また、2波長半導体レーザ20から微弱な出射光Lout が出射されると、この出射光Lout は、上述したように各光学系を経て光ディスクDに入射したのち、光ディスクDで反射する。この反射光Lref は、対物レンズ116,開口制限アパーチャ115,ミラー114,コリメータレンズ113およびビームスプリッタ112を経て、信号光検出用レンズ117を通過し、信号光検出用受光素子118に入射し、ここで電気信号に変換された後、信号光再生回路119において光ディスクDに書き込まれた情報の再生が行われる。
ここで、出射光Lout が、AlGaInP系レーザ素子24からの650nm帯の赤色レーザ光である場合には、信号光検出用受光素子118において第1フォトダイオード118A、また、AlGaAs系レーザ素子26から出射された780nm帯の赤色レーザ光である場合には、第2フォトダイオード118Bにそれぞれ受光される点を除いて、2つのレーザ素子24,26のレーザ光の経路は同じである。
前述のようにAlGaInP系レーザ素子24およびAlGaAs系レーザ素子26の光軸同士が接近することから、読み出しまたは書き込みを行う際に、光ディスクDをDVDからCD、あるいはCDからDVDに切り換えるときのレンズシフト量が従来のモノシリック2波長半導体レーザに比べて著しく小さくなっているので、光学ピックアップの光学系の調整が容易になり、光学ピックアップの歩留りが向上する。また、レンズシフト量を小さくできることからレンズシフトに伴う光学収差を低減でき、DVD,CD等のディスクDからの信号のSN比(ジッター)を高く確保でき、安定した性能で光学ピックアップによる読み取りおよび書き込みを行うことができる。
なお、記録媒体としては、CD,DVDに限らず、その他、CD−ROM(Read Onry Memory),CD−R,CD−RW,MD,DVD−ROMなどの既存の各種光ディスクは勿論のこと、DVD−RAM(Random Access Memory),DVD+RWあるいはDVD−R/RWなどのほか、更に高い面記録密度(例えば20Gバイト以上)を有する記録可能な光ディスク(例えば、次世代の光ディスク装置として提唱されているDVR(Digital Video Recorder)またはVDR(Video Disk Recorder )が挙げられるが、これらについても、本実施の形態の2波長半導体レーザ20を用いて記録・再生を行うことが可能となる。このような次世代の記録可能な大容量ディスクを利用することができれば、映像データを録画することができると共に、録画したデータ(画像)を良好な画質で操作性よく再生することができる。
なお、ここでは、2波長半導体レーザ20を光ディスク記録再生装置に適用した例について説明したが、光ディスク再生装置,光ディスク記録装置,光磁気ディスク(MO;Magneto-optical disk)などの記録・再生を行うための光磁気ディスク装置あるいは光通信装置などの光装置全般に適用できることは勿論、高温で動作する必要のある車載用の半導体レーザ装置を備えた機器などにも適用可能である。
上記実施の形態では、AlGaAs系およびAlGaInP系の化合物よりなる各層をMOCVD法により形成する場合について説明したが、MBE(Molecular Beam Epitaxy)法やハイドライド気相成長法などの他の気相成長法により形成するようにしてもよい。
また、第1の発光素子としてのAlGaInP系レーザ素子24および第2の発光素子としてのAlGaAs系レーザ素子26の組成は、GaAs基板に格子整合する限り特に制約されるものではない。
更に、素子としてはAlGaInP系/AlGaAs系の組み合わせに限られるものではなく、要は、主出射方向から見て、オフ基板の側面が結晶軸方向に対して時計廻り方向に所定の範囲(2〜15度)の角度で傾斜し、主出射面側から見て、一方(右側)の発光素子が、対向する2つの側面のうち左側が右側よりもなだらかな台形状の断面を有するものであればよい。

Claims (6)

  1. 共通基板の主面の隣接する位置に、主出射面が同一方向の少なくとも1組の発光素子を有する半導体発光装置の製造方法であって、
    主出射面(01−1)側から見たその両側面が、結晶軸(100)方向に対して(0−1−1)面から(011)面に向かう方向に所定の角度(オフ角)で傾斜してなる共通基板に、第1のn型クラッド層,第1の活性層,第1のp型クラッド層および第1のp型コンタクト層を順次成長させる工程と、
    前記第1のp型コンタクト層および前記第1のp型クラッド層の上層部を選択的にエッチングして細い帯状のリッジ部を形成すると共に、前記リッジ部を、主出射面側から見て、対向する2つの側面のうち左側が右側よりもなだらかな台形状の断面を有する非対称なリッジ部とする工程と、
    前記第1のp型コンタクト層および前記第1のp型クラッド層の側面を覆う絶縁層を形成する工程と、
    前記第1のp型コンタクト層,前記第1のp型クラッド層,前記第1の活性層および前記第1のn型クラッド層を選択的に除去することにより、前記共通基板の(011)面側に、主出射面側から見て、対向する2つの側面のうち左側が右側よりもなだらかな台形状の断面を有する第1の発光素子を形成する工程と、
    前記共通基板に、第2のn型クラッド層,第2の活性層,第2のp型クラッド層および第2のp型コンタクト層を順次成長させる工程と、
    前記第2のp型コンタクト層,前記第2のp型クラッド層,前記第2の活性層および前記第2のn型クラッド層を選択的に除去する工程と、
    前記第2のp型コンタクト層および前記第2のp型クラッド層の上層部に電流ブロック領域を形成することにより、前記共通基板の(0−1−1)面側に、前記第1の発光素子と対をなす第2の発光素子を形成する工程と
    を含む半導体発光装置の製造方法。
  2. 前記第1の発光素子のリッジ部を、結晶方位に依存してエッチングレートに選択性のあるエッチャントを用いたウェットエッチングにより形成する
    請求項1記載の半導体発光装置の製造方法。
  3. 前記第2の発光素子の電流ブロック領域を、イオン注入法により形成する
    請求項2記載の半導体発光装置の製造方法。
  4. 前記基板のオフ角度は2度以上15度以下である
    請求項1記載の半導体発光装置の製造方法。
  5. 前記基板はGaAs系の基板であり、前記第1の発光素子はAlGaInP系のレーザ素子、第2の発光素子はAlGaAs系のレーザ素子である
    請求項1記載の半導体発光装置の製造方法。
  6. 前記第1の発光素子は650nm帯、前記第2の発光素子は750nm帯の波長のレーザ光をそれぞれ出射する
    請求項5記載の半導体発光装置の製造方法。
JP2009245841A 2002-02-21 2009-10-26 半導体発光装置の製造方法 Expired - Fee Related JP5240156B2 (ja)

Priority Applications (1)

Application Number Priority Date Filing Date Title
JP2009245841A JP5240156B2 (ja) 2002-02-21 2009-10-26 半導体発光装置の製造方法

Applications Claiming Priority (3)

Application Number Priority Date Filing Date Title
JP2002044651 2002-02-21
JP2002044651 2002-02-21
JP2009245841A JP5240156B2 (ja) 2002-02-21 2009-10-26 半導体発光装置の製造方法

Related Parent Applications (1)

Application Number Title Priority Date Filing Date
JP2003570434A Division JPWO2003071642A1 (ja) 2002-02-21 2003-02-20 半導体発光装置およびそれを用いた光ディスク装置

Publications (2)

Publication Number Publication Date
JP2010021585A true JP2010021585A (ja) 2010-01-28
JP5240156B2 JP5240156B2 (ja) 2013-07-17

Family

ID=27750560

Family Applications (2)

Application Number Title Priority Date Filing Date
JP2003570434A Pending JPWO2003071642A1 (ja) 2002-02-21 2003-02-20 半導体発光装置およびそれを用いた光ディスク装置
JP2009245841A Expired - Fee Related JP5240156B2 (ja) 2002-02-21 2009-10-26 半導体発光装置の製造方法

Family Applications Before (1)

Application Number Title Priority Date Filing Date
JP2003570434A Pending JPWO2003071642A1 (ja) 2002-02-21 2003-02-20 半導体発光装置およびそれを用いた光ディスク装置

Country Status (6)

Country Link
US (2) US6995399B2 (ja)
JP (2) JPWO2003071642A1 (ja)
KR (1) KR100918328B1 (ja)
CN (1) CN1264259C (ja)
TW (1) TWI228338B (ja)
WO (1) WO2003071642A1 (ja)

Cited By (3)

* Cited by examiner, † Cited by third party
Publication number Priority date Publication date Assignee Title
JPWO2019021802A1 (ja) * 2017-07-26 2020-05-28 パナソニック株式会社 半導体レーザ素子及び半導体レーザ装置
JPWO2019216364A1 (ja) * 2018-05-09 2021-05-20 国立研究開発法人理化学研究所 光学装置及び光音響顕微鏡
JP2022162707A (ja) * 2021-04-13 2022-10-25 ウシオ電機株式会社 半導体発光素子

Families Citing this family (12)

* Cited by examiner, † Cited by third party
Publication number Priority date Publication date Assignee Title
KR100918328B1 (ko) * 2002-02-21 2009-09-22 소니 가부시끼 가이샤 반도체 발광 장치 및 그를 이용한 광디스크 장치
JP2006120668A (ja) * 2004-10-19 2006-05-11 Mitsubishi Electric Corp 半導体レーザ
JP2006313875A (ja) * 2005-04-08 2006-11-16 Mitsubishi Electric Corp 半導体レーザ装置
KR100848759B1 (ko) * 2007-08-07 2008-07-25 김정수 복수개의 도파관이 형성된 반도체 레이저 다이오드 칩
JP5347541B2 (ja) * 2009-01-30 2013-11-20 三洋電機株式会社 半導体レーザ素子およびそれを備えた半導体レーザ装置
JP2011049295A (ja) * 2009-08-26 2011-03-10 Toshiba Corp 半導体レーザ装置
JP5493624B2 (ja) * 2009-09-15 2014-05-14 ソニー株式会社 画像表示装置及び電子機器
KR20140006485A (ko) * 2012-07-05 2014-01-16 삼성전자주식회사 멀티셀 어레이를 갖는 반도체 발광장치 및 그 제조 방법
KR20150101783A (ko) * 2014-02-27 2015-09-04 서울바이오시스 주식회사 발광 다이오드 및 그 제조 방법
US20170207605A1 (en) * 2014-07-25 2017-07-20 Mitsubishi Electric Corporation Semiconductor laser device
US11398715B2 (en) * 2018-02-26 2022-07-26 Panasonic Holdings Corporation Semiconductor light emitting device
KR102601950B1 (ko) * 2018-11-16 2023-11-14 삼성전자주식회사 Led 소자, led 소자의 제조 방법 및 led 소자를 포함하는 디스플레이 장치

Citations (2)

* Cited by examiner, † Cited by third party
Publication number Priority date Publication date Assignee Title
JP2000349387A (ja) * 1999-06-02 2000-12-15 Sony Corp 半導体レーザ装置及びその作製方法
JP2001144373A (ja) * 1999-11-16 2001-05-25 Matsushita Electronics Industry Corp 半導体レーザ装置の製造方法

Family Cites Families (8)

* Cited by examiner, † Cited by third party
Publication number Priority date Publication date Assignee Title
JP3281805B2 (ja) 1996-06-28 2002-05-13 三洋電機株式会社 半導体レーザ装置
JPH11186651A (ja) 1997-12-19 1999-07-09 Sony Corp 集積型半導体発光装置
JP4147602B2 (ja) * 1998-02-02 2008-09-10 ソニー株式会社 自励発振型半導体レーザ
JP2000244060A (ja) * 1998-12-22 2000-09-08 Sony Corp 半導体発光装置およびその製造方法
JP2000195827A (ja) * 1998-12-25 2000-07-14 Oki Electric Ind Co Ltd Ledアレイチップおよびその製造方法ならびにダイシング装置
US6813290B1 (en) * 1999-11-25 2004-11-02 Matsushita Electric Industrial Co., Ltd. Semiconductor laser device and method for fabricating the same
JP2001244574A (ja) 1999-12-22 2001-09-07 Asahi Glass Co Ltd 2波長光源装置および光ヘッド装置
KR100918328B1 (ko) * 2002-02-21 2009-09-22 소니 가부시끼 가이샤 반도체 발광 장치 및 그를 이용한 광디스크 장치

Patent Citations (2)

* Cited by examiner, † Cited by third party
Publication number Priority date Publication date Assignee Title
JP2000349387A (ja) * 1999-06-02 2000-12-15 Sony Corp 半導体レーザ装置及びその作製方法
JP2001144373A (ja) * 1999-11-16 2001-05-25 Matsushita Electronics Industry Corp 半導体レーザ装置の製造方法

Cited By (6)

* Cited by examiner, † Cited by third party
Publication number Priority date Publication date Assignee Title
JPWO2019021802A1 (ja) * 2017-07-26 2020-05-28 パナソニック株式会社 半導体レーザ素子及び半導体レーザ装置
JPWO2019216364A1 (ja) * 2018-05-09 2021-05-20 国立研究開発法人理化学研究所 光学装置及び光音響顕微鏡
JP7291959B2 (ja) 2018-05-09 2023-06-16 国立研究開発法人理化学研究所 光学装置及び光音響顕微鏡
US11959882B2 (en) 2018-05-09 2024-04-16 Riken Optical device and photoacoustic microscope
JP2022162707A (ja) * 2021-04-13 2022-10-25 ウシオ電機株式会社 半導体発光素子
JP7635619B2 (ja) 2021-04-13 2025-02-26 ウシオ電機株式会社 半導体発光素子

Also Published As

Publication number Publication date
WO2003071642A1 (fr) 2003-08-28
KR20040078172A (ko) 2004-09-09
TWI228338B (en) 2005-02-21
US6995399B2 (en) 2006-02-07
CN1498447A (zh) 2004-05-19
JP5240156B2 (ja) 2013-07-17
US7141827B2 (en) 2006-11-28
CN1264259C (zh) 2006-07-12
US20050258434A1 (en) 2005-11-24
KR100918328B1 (ko) 2009-09-22
US20040113157A1 (en) 2004-06-17
TW200405631A (en) 2004-04-01
JPWO2003071642A1 (ja) 2005-06-16

Similar Documents

Publication Publication Date Title
JP5240156B2 (ja) 半導体発光装置の製造方法
KR20010082662A (ko) 발광 디바이스 및 그것을 사용하는 광학 디바이스
JPH1146039A (ja) 二波長単一構造集積縦型キャビティ表面放射レーザおよびその製造方法
KR100624058B1 (ko) 반도체 발광 장치 및 그의 제조 방법
KR100782285B1 (ko) 반도체 레이저 장치, 레이저 결합기, 데이터 재생 장치,데이터 기록 장치 및 반도체 레이저 장치의 제조 방법
US6930024B2 (en) Semiconductor laser device and method for fabricating the same
US6781944B1 (en) Optical information processor with monolithically integrated light emitting device, light receiving devices and optics
JP2002217499A (ja) 半導体レーザ素子、その製造方法、およびそれを用いた光ピックアップ
JP2003298193A (ja) 発光装置およびそれを用いた光装置並びに発光装置の製造方法
JP2006080307A (ja) 半導体レーザアレイ及びその製造方法、多波長半導体レーザ装置
JP3818815B2 (ja) 半導体レーザ素子及びその製造方法
JP3493276B2 (ja) 半導体レーザ装置及びその製造方法
KR100360143B1 (ko) 반도체 레이저 소자 및 그의 제조방법
JP2002197707A (ja) 光ピックアップ
JP2001250255A (ja) 光学装置及び光ディスク装置
JP4821829B2 (ja) 半導体発光装置の製造方法
JP4706162B2 (ja) 光学装置、光ディスク装置、及びこれらの光ビーム位置調整方法
JP2001244573A (ja) 半導体発光装置の製造方法
WO2005015701A1 (ja) 多ビームレーザを用いた光源
JP2000187876A (ja) 光学装置および光ディスク装置
JP2004047096A (ja) 光学的記録再生装置用光学ヘッド
JP2001250253A (ja) 光学装置、光ディスク装置、及びこれらの光スポット調整方法
JP2004079168A (ja) 光学的記録再生装置用光学ヘッド
JP2001250263A (ja) 光学装置、光ディスク装置、及びこれらの光ビーム位置調整方法
JP2004328011A (ja) 半導体発光装置の製造方法

Legal Events

Date Code Title Description
A521 Request for written amendment filed

Free format text: JAPANESE INTERMEDIATE CODE: A523

Effective date: 20091027

A621 Written request for application examination

Free format text: JAPANESE INTERMEDIATE CODE: A621

Effective date: 20091027

A131 Notification of reasons for refusal

Free format text: JAPANESE INTERMEDIATE CODE: A131

Effective date: 20120905

A521 Request for written amendment filed

Free format text: JAPANESE INTERMEDIATE CODE: A523

Effective date: 20121029

TRDD Decision of grant or rejection written
A01 Written decision to grant a patent or to grant a registration (utility model)

Free format text: JAPANESE INTERMEDIATE CODE: A01

Effective date: 20130305

A61 First payment of annual fees (during grant procedure)

Free format text: JAPANESE INTERMEDIATE CODE: A61

Effective date: 20130318

FPAY Renewal fee payment (event date is renewal date of database)

Free format text: PAYMENT UNTIL: 20160412

Year of fee payment: 3

FPAY Renewal fee payment (event date is renewal date of database)

Free format text: PAYMENT UNTIL: 20160412

Year of fee payment: 3

LAPS Cancellation because of no payment of annual fees