JP2010012774A - インクジェット記録ヘッドおよびその製造方法 - Google Patents

インクジェット記録ヘッドおよびその製造方法 Download PDF

Info

Publication number
JP2010012774A
JP2010012774A JP2009113565A JP2009113565A JP2010012774A JP 2010012774 A JP2010012774 A JP 2010012774A JP 2009113565 A JP2009113565 A JP 2009113565A JP 2009113565 A JP2009113565 A JP 2009113565A JP 2010012774 A JP2010012774 A JP 2010012774A
Authority
JP
Japan
Prior art keywords
element substrate
recording element
arrangement
recording head
adhesive
Prior art date
Legal status (The legal status is an assumption and is not a legal conclusion. Google has not performed a legal analysis and makes no representation as to the accuracy of the status listed.)
Granted
Application number
JP2009113565A
Other languages
English (en)
Other versions
JP5464901B2 (ja
Inventor
Hirotaka Miyazaki
浩孝 宮崎
Current Assignee (The listed assignees may be inaccurate. Google has not performed a legal analysis and makes no representation or warranty as to the accuracy of the list.)
Canon Inc
Original Assignee
Canon Inc
Priority date (The priority date is an assumption and is not a legal conclusion. Google has not performed a legal analysis and makes no representation as to the accuracy of the date listed.)
Filing date
Publication date
Application filed by Canon Inc filed Critical Canon Inc
Priority to JP2009113565A priority Critical patent/JP5464901B2/ja
Priority to US12/472,889 priority patent/US8272130B2/en
Priority to CN2009101473035A priority patent/CN101607477B/zh
Publication of JP2010012774A publication Critical patent/JP2010012774A/ja
Priority to US13/556,389 priority patent/US9802410B2/en
Application granted granted Critical
Publication of JP5464901B2 publication Critical patent/JP5464901B2/ja
Active legal-status Critical Current
Anticipated expiration legal-status Critical

Links

Images

Classifications

    • BPERFORMING OPERATIONS; TRANSPORTING
    • B41PRINTING; LINING MACHINES; TYPEWRITERS; STAMPS
    • B41JTYPEWRITERS; SELECTIVE PRINTING MECHANISMS, i.e. MECHANISMS PRINTING OTHERWISE THAN FROM A FORME; CORRECTION OF TYPOGRAPHICAL ERRORS
    • B41J2/00Typewriters or selective printing mechanisms characterised by the printing or marking process for which they are designed
    • B41J2/005Typewriters or selective printing mechanisms characterised by the printing or marking process for which they are designed characterised by bringing liquid or particles selectively into contact with a printing material
    • B41J2/01Ink jet
    • B41J2/135Nozzles
    • B41J2/16Production of nozzles
    • B41J2/1621Manufacturing processes
    • B41J2/1623Manufacturing processes bonding and adhesion
    • BPERFORMING OPERATIONS; TRANSPORTING
    • B29WORKING OF PLASTICS; WORKING OF SUBSTANCES IN A PLASTIC STATE IN GENERAL
    • B29CSHAPING OR JOINING OF PLASTICS; SHAPING OF MATERIAL IN A PLASTIC STATE, NOT OTHERWISE PROVIDED FOR; AFTER-TREATMENT OF THE SHAPED PRODUCTS, e.g. REPAIRING
    • B29C35/00Heating, cooling or curing, e.g. crosslinking or vulcanising; Apparatus therefor
    • B29C35/02Heating or curing, e.g. crosslinking or vulcanizing during moulding, e.g. in a mould
    • B29C35/08Heating or curing, e.g. crosslinking or vulcanizing during moulding, e.g. in a mould by wave energy or particle radiation
    • B29C35/0805Heating or curing, e.g. crosslinking or vulcanizing during moulding, e.g. in a mould by wave energy or particle radiation using electromagnetic radiation
    • B29C2035/0827Heating or curing, e.g. crosslinking or vulcanizing during moulding, e.g. in a mould by wave energy or particle radiation using electromagnetic radiation using UV radiation
    • BPERFORMING OPERATIONS; TRANSPORTING
    • B29WORKING OF PLASTICS; WORKING OF SUBSTANCES IN A PLASTIC STATE IN GENERAL
    • B29CSHAPING OR JOINING OF PLASTICS; SHAPING OF MATERIAL IN A PLASTIC STATE, NOT OTHERWISE PROVIDED FOR; AFTER-TREATMENT OF THE SHAPED PRODUCTS, e.g. REPAIRING
    • B29C65/00Joining or sealing of preformed parts, e.g. welding of plastics materials; Apparatus therefor
    • B29C65/02Joining or sealing of preformed parts, e.g. welding of plastics materials; Apparatus therefor by heating, with or without pressure
    • B29C65/14Joining or sealing of preformed parts, e.g. welding of plastics materials; Apparatus therefor by heating, with or without pressure using wave energy, i.e. electromagnetic radiation, or particle radiation
    • B29C65/1403Joining or sealing of preformed parts, e.g. welding of plastics materials; Apparatus therefor by heating, with or without pressure using wave energy, i.e. electromagnetic radiation, or particle radiation characterised by the type of electromagnetic or particle radiation
    • B29C65/1406Ultraviolet [UV] radiation
    • BPERFORMING OPERATIONS; TRANSPORTING
    • B29WORKING OF PLASTICS; WORKING OF SUBSTANCES IN A PLASTIC STATE IN GENERAL
    • B29CSHAPING OR JOINING OF PLASTICS; SHAPING OF MATERIAL IN A PLASTIC STATE, NOT OTHERWISE PROVIDED FOR; AFTER-TREATMENT OF THE SHAPED PRODUCTS, e.g. REPAIRING
    • B29C65/00Joining or sealing of preformed parts, e.g. welding of plastics materials; Apparatus therefor
    • B29C65/02Joining or sealing of preformed parts, e.g. welding of plastics materials; Apparatus therefor by heating, with or without pressure
    • B29C65/14Joining or sealing of preformed parts, e.g. welding of plastics materials; Apparatus therefor by heating, with or without pressure using wave energy, i.e. electromagnetic radiation, or particle radiation
    • B29C65/1403Joining or sealing of preformed parts, e.g. welding of plastics materials; Apparatus therefor by heating, with or without pressure using wave energy, i.e. electromagnetic radiation, or particle radiation characterised by the type of electromagnetic or particle radiation
    • B29C65/1412Infrared [IR] radiation
    • BPERFORMING OPERATIONS; TRANSPORTING
    • B29WORKING OF PLASTICS; WORKING OF SUBSTANCES IN A PLASTIC STATE IN GENERAL
    • B29CSHAPING OR JOINING OF PLASTICS; SHAPING OF MATERIAL IN A PLASTIC STATE, NOT OTHERWISE PROVIDED FOR; AFTER-TREATMENT OF THE SHAPED PRODUCTS, e.g. REPAIRING
    • B29C65/00Joining or sealing of preformed parts, e.g. welding of plastics materials; Apparatus therefor
    • B29C65/48Joining or sealing of preformed parts, e.g. welding of plastics materials; Apparatus therefor using adhesives, i.e. using supplementary joining material; solvent bonding
    • B29C65/4805Joining or sealing of preformed parts, e.g. welding of plastics materials; Apparatus therefor using adhesives, i.e. using supplementary joining material; solvent bonding characterised by the type of adhesives
    • B29C65/483Reactive adhesives, e.g. chemically curing adhesives
    • B29C65/4835Heat curing adhesives
    • BPERFORMING OPERATIONS; TRANSPORTING
    • B29WORKING OF PLASTICS; WORKING OF SUBSTANCES IN A PLASTIC STATE IN GENERAL
    • B29CSHAPING OR JOINING OF PLASTICS; SHAPING OF MATERIAL IN A PLASTIC STATE, NOT OTHERWISE PROVIDED FOR; AFTER-TREATMENT OF THE SHAPED PRODUCTS, e.g. REPAIRING
    • B29C65/00Joining or sealing of preformed parts, e.g. welding of plastics materials; Apparatus therefor
    • B29C65/48Joining or sealing of preformed parts, e.g. welding of plastics materials; Apparatus therefor using adhesives, i.e. using supplementary joining material; solvent bonding
    • B29C65/50Joining or sealing of preformed parts, e.g. welding of plastics materials; Apparatus therefor using adhesives, i.e. using supplementary joining material; solvent bonding using adhesive tape, e.g. thermoplastic tape; using threads or the like
    • B29C65/5057Joining or sealing of preformed parts, e.g. welding of plastics materials; Apparatus therefor using adhesives, i.e. using supplementary joining material; solvent bonding using adhesive tape, e.g. thermoplastic tape; using threads or the like positioned between the surfaces to be joined
    • BPERFORMING OPERATIONS; TRANSPORTING
    • B29WORKING OF PLASTICS; WORKING OF SUBSTANCES IN A PLASTIC STATE IN GENERAL
    • B29CSHAPING OR JOINING OF PLASTICS; SHAPING OF MATERIAL IN A PLASTIC STATE, NOT OTHERWISE PROVIDED FOR; AFTER-TREATMENT OF THE SHAPED PRODUCTS, e.g. REPAIRING
    • B29C66/00General aspects of processes or apparatus for joining preformed parts
    • B29C66/50General aspects of joining tubular articles; General aspects of joining long products, i.e. bars or profiled elements; General aspects of joining single elements to tubular articles, hollow articles or bars; General aspects of joining several hollow-preforms to form hollow or tubular articles
    • B29C66/51Joining tubular articles, profiled elements or bars; Joining single elements to tubular articles, hollow articles or bars; Joining several hollow-preforms to form hollow or tubular articles
    • B29C66/53Joining single elements to tubular articles, hollow articles or bars
    • B29C66/534Joining single elements to open ends of tubular or hollow articles or to the ends of bars
    • B29C66/5346Joining single elements to open ends of tubular or hollow articles or to the ends of bars said single elements being substantially flat
    • B29C66/53461Joining single elements to open ends of tubular or hollow articles or to the ends of bars said single elements being substantially flat joining substantially flat covers and/or substantially flat bottoms to open ends of container bodies
    • BPERFORMING OPERATIONS; TRANSPORTING
    • B29WORKING OF PLASTICS; WORKING OF SUBSTANCES IN A PLASTIC STATE IN GENERAL
    • B29CSHAPING OR JOINING OF PLASTICS; SHAPING OF MATERIAL IN A PLASTIC STATE, NOT OTHERWISE PROVIDED FOR; AFTER-TREATMENT OF THE SHAPED PRODUCTS, e.g. REPAIRING
    • B29C66/00General aspects of processes or apparatus for joining preformed parts
    • B29C66/90Measuring or controlling the joining process
    • B29C66/96Measuring or controlling the joining process characterised by the method for implementing the controlling of the joining process
    • B29C66/967Measuring or controlling the joining process characterised by the method for implementing the controlling of the joining process involving special data inputs or special data outputs, e.g. for monitoring purposes
    • B29C66/9672Measuring or controlling the joining process characterised by the method for implementing the controlling of the joining process involving special data inputs or special data outputs, e.g. for monitoring purposes involving special data inputs, e.g. involving barcodes, RFID tags
    • BPERFORMING OPERATIONS; TRANSPORTING
    • B29WORKING OF PLASTICS; WORKING OF SUBSTANCES IN A PLASTIC STATE IN GENERAL
    • B29KINDEXING SCHEME ASSOCIATED WITH SUBCLASSES B29B, B29C OR B29D, RELATING TO MOULDING MATERIALS OR TO MATERIALS FOR MOULDS, REINFORCEMENTS, FILLERS OR PREFORMED PARTS, e.g. INSERTS
    • B29K2083/00Use of polymers having silicon, with or without sulfur, nitrogen, oxygen, or carbon only, in the main chain, as moulding material
    • BPERFORMING OPERATIONS; TRANSPORTING
    • B29WORKING OF PLASTICS; WORKING OF SUBSTANCES IN A PLASTIC STATE IN GENERAL
    • B29LINDEXING SCHEME ASSOCIATED WITH SUBCLASS B29C, RELATING TO PARTICULAR ARTICLES
    • B29L2031/00Other particular articles
    • B29L2031/767Printing equipment or accessories therefor
    • BPERFORMING OPERATIONS; TRANSPORTING
    • B41PRINTING; LINING MACHINES; TYPEWRITERS; STAMPS
    • B41JTYPEWRITERS; SELECTIVE PRINTING MECHANISMS, i.e. MECHANISMS PRINTING OTHERWISE THAN FROM A FORME; CORRECTION OF TYPOGRAPHICAL ERRORS
    • B41J2/00Typewriters or selective printing mechanisms characterised by the printing or marking process for which they are designed
    • B41J2/005Typewriters or selective printing mechanisms characterised by the printing or marking process for which they are designed characterised by bringing liquid or particles selectively into contact with a printing material
    • B41J2/01Ink jet
    • B41J2/135Nozzles
    • B41J2/14Structure thereof only for on-demand ink jet heads
    • B41J2002/14362Assembling elements of heads
    • BPERFORMING OPERATIONS; TRANSPORTING
    • B41PRINTING; LINING MACHINES; TYPEWRITERS; STAMPS
    • B41JTYPEWRITERS; SELECTIVE PRINTING MECHANISMS, i.e. MECHANISMS PRINTING OTHERWISE THAN FROM A FORME; CORRECTION OF TYPOGRAPHICAL ERRORS
    • B41J2202/00Embodiments of or processes related to ink-jet or thermal heads
    • B41J2202/01Embodiments of or processes related to ink-jet heads
    • B41J2202/22Manufacturing print heads
    • YGENERAL TAGGING OF NEW TECHNOLOGICAL DEVELOPMENTS; GENERAL TAGGING OF CROSS-SECTIONAL TECHNOLOGIES SPANNING OVER SEVERAL SECTIONS OF THE IPC; TECHNICAL SUBJECTS COVERED BY FORMER USPC CROSS-REFERENCE ART COLLECTIONS [XRACs] AND DIGESTS
    • Y10TECHNICAL SUBJECTS COVERED BY FORMER USPC
    • Y10TTECHNICAL SUBJECTS COVERED BY FORMER US CLASSIFICATION
    • Y10T156/00Adhesive bonding and miscellaneous chemical manufacture
    • Y10T156/10Methods of surface bonding and/or assembly therefor
    • YGENERAL TAGGING OF NEW TECHNOLOGICAL DEVELOPMENTS; GENERAL TAGGING OF CROSS-SECTIONAL TECHNOLOGIES SPANNING OVER SEVERAL SECTIONS OF THE IPC; TECHNICAL SUBJECTS COVERED BY FORMER USPC CROSS-REFERENCE ART COLLECTIONS [XRACs] AND DIGESTS
    • Y10TECHNICAL SUBJECTS COVERED BY FORMER USPC
    • Y10TTECHNICAL SUBJECTS COVERED BY FORMER US CLASSIFICATION
    • Y10T29/00Metal working
    • Y10T29/49Method of mechanical manufacture
    • Y10T29/49002Electrical device making
    • Y10T29/49082Resistor making
    • Y10T29/49083Heater type
    • YGENERAL TAGGING OF NEW TECHNOLOGICAL DEVELOPMENTS; GENERAL TAGGING OF CROSS-SECTIONAL TECHNOLOGIES SPANNING OVER SEVERAL SECTIONS OF THE IPC; TECHNICAL SUBJECTS COVERED BY FORMER USPC CROSS-REFERENCE ART COLLECTIONS [XRACs] AND DIGESTS
    • Y10TECHNICAL SUBJECTS COVERED BY FORMER USPC
    • Y10TTECHNICAL SUBJECTS COVERED BY FORMER US CLASSIFICATION
    • Y10T29/00Metal working
    • Y10T29/49Method of mechanical manufacture
    • Y10T29/49002Electrical device making
    • Y10T29/49117Conductor or circuit manufacturing
    • Y10T29/49124On flat or curved insulated base, e.g., printed circuit, etc.
    • Y10T29/4913Assembling to base an electrical component, e.g., capacitor, etc.
    • Y10T29/49133Assembling to base an electrical component, e.g., capacitor, etc. with component orienting
    • YGENERAL TAGGING OF NEW TECHNOLOGICAL DEVELOPMENTS; GENERAL TAGGING OF CROSS-SECTIONAL TECHNOLOGIES SPANNING OVER SEVERAL SECTIONS OF THE IPC; TECHNICAL SUBJECTS COVERED BY FORMER USPC CROSS-REFERENCE ART COLLECTIONS [XRACs] AND DIGESTS
    • Y10TECHNICAL SUBJECTS COVERED BY FORMER USPC
    • Y10TTECHNICAL SUBJECTS COVERED BY FORMER US CLASSIFICATION
    • Y10T29/00Metal working
    • Y10T29/49Method of mechanical manufacture
    • Y10T29/49401Fluid pattern dispersing device making, e.g., ink jet

Landscapes

  • Engineering & Computer Science (AREA)
  • Manufacturing & Machinery (AREA)
  • Particle Formation And Scattering Control In Inkjet Printers (AREA)

Abstract

【課題】より短い時間で記録素子基板を配設面に対し精度良く接着することが可能なインクジェット記録ヘッドの製造方法を提供する。
【解決手段】配設部材120の配設面121内に凸平面部124を形成することにより、記録素子基板110と配設部材120の接着層の中に熱硬化接着剤125の薄い箇所を部分的に設ける。そして、記録素子基板110と配設部材120の相対的な位置を調整した後に、上記薄い箇所の接着剤層を硬化させる。これにより、比較的短時間で記録素子基板110を配設部材120に接着することが可能となる。よって、配設面121に凹凸が存在する場合であっても、精度の高い状態で記録素子基板110と配設部材120を接着固定し、記録ヘッドの量産性を向上させることが可能となる。
【選択図】図1

Description

本発明はインクジェット記録装置に搭載可能なインクジェット記録ヘッドの構成およびその製造方法に関する。特に、インクを吐出するための記録素子が形成された記録素子基板と、当該記録素子基板を配設しこれにインクを供給するための配設部材を、精度の高い状態で短時間に接着する方法に関する。
インクジェット記録装置は、記録データに応じてインクを吐出する記録素子を複数備えた記録ヘッドを用い、記録媒体にドットを形成することによって画像を記録する。近年では、より高精細で高解像度な画像を記録するために、小液滴を高密度に吐出することが可能な記録ヘッドの開発が推し進められている。
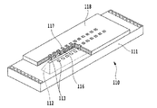
図9は、特許文献1に開示されているサイドシュータ型のインクジェット記録ヘッドの構成を説明するための分解斜視図である。インクジェット記録ヘッド1は、複数の記録素子が配置された記録素子基板110と、記録素子基板110にインクを供給するための配設部材120と、記録素子基板110に記録信号を伝達する電気配線基板130とを備えている。
図10は、記録素子基板110の構成を一部分解した状態で説明するための斜視図である。記録素子基板110は、厚さ0.5〜1mmのSi基板111を備え、Si基板111には溝状の貫通口からなるインク供給口112が、Siの結晶方位を利用した異方性エッチングやサンドブラストなどの方法によって形成されている。また、Si基板111上のインク供給口112を挟んだ両側には、電気熱変換素子113が記録解像度に対応したピッチで配列されており、これに電力を供給するためのAl等の電気配線とともに、フォトリソ技術により形成されている。Si基板111上には、供給されたインクを吐出口117まで導くためのインク流路116が形成された流路形成部材118が、吐出口117と電気熱変換素子113が対向するように配置されている。1つの記録素子は、電気熱変換素子113、インク流路116および吐出口117によって構成される。インク供給口112からインク流路116まで導かれたインクは、個々の電気熱変換素子113で発生する気泡の成長エネルギによって、吐出口117より滴となって吐出される。記録動作に伴って消費されたインクは、記録素子基板110と連結された配設部材120のインクタンクから安定して供給される仕組みになっている。
配設部材120は、このように記録素子基板110にインクを供給する役割を果たすが、これとともに記録素子基板110を定位置に配設し、支持する役割も果たしている。よって、配設部材120と記録素子基板110は所定の相対位置に、水平垂直方向共に精度よく配置されることが望まれる。具体的には、まず、記録素子基板110のインク供給口112が、配設部材120に形成されたインク供給路の位置に正確に配置されることが望まれる。また、記録素子基板110に配列する複数の記録素子の配列方向が、記録ヘッド1の主走査方向に対し垂直な方向に配列することが望まれる。更に、記録素子基板110の吐出口面が配設部材120の配設面121に対し、平行に配置されることが望まれる。この3番目の条件が満たされないと、吐出口が形成された面が記録媒体面に対し傾きを持つことになるので、吐出されるインクも傾いた状態で記録媒体に着弾し、画像を劣化させる要因となる。
但し、一般に配設部材120はコストや加工性等の点からモールド成型品であるため、配設面121には複雑な三次元形状が現れ、理想的な平滑性が得られない場合が多い。そして、平滑性に乏しい配設面121に、そのまま記録素子基板110を接着すると、吐出口が形成された面の傾きは三次元形状の微小な凹凸の影響を直に受け、水平性を確保することが困難になる。
例えば、特許文献2では、配設面121に複数個の凸平面部を設け、当該凸平面部について、その平面性を良好な状態に保つことで、吐出口が形成された面の平行性を向上させる技術が開示されている。このような構成であれば、凸平面部以外の配設面121に三次元形状の凹凸が含まれていたとしても、吐出口が形成された面の水平性を確保することが出来る。
また、近年では、CCDカメラなどを利用して記録素子基板110を配設面121に対して水平垂直方向に正確に位置合わせしておきながら、両者の間に介在する接着剤を紫外線によって硬化させる方法も採用されている。
図11は、上記方法を採用した記録ヘッドの組み立て工程を説明するための図である。まず、STEP1によって、配設部材120の配設面121に熱硬化接着剤125を塗布する。次に、STEP2において、ギャングボンディング法により電気配線基板と電気接続された記録素子基板110を、供給フィンガー600で吸着し、配設部材120の上方に移動させる。更に、STEP2において、2つのCCDカメラを備えた画像処理システムを用いて記録素子基板110を水平垂直方向に正確に位置合わせする。
続くSTEP3では、記録素子基板110を下降させ熱硬化接着剤125にこれを当接させる。このとき記録素子基板110は、配設部材120に完全には当接せず、熱硬化接着剤150中に浮いた状態となっている。その後、STEP4において、上記姿勢を保持したまま、光照射機620によって紫外線を照射し、記録素子基板110を昇温させる。これにより、記録素子基板110に接触する熱硬化接着剤125は徐々に硬化し、記録素子基板H1100と配設部材120とを接着固定する。最後に、記録素子基板110周辺と電気接続部を封止剤で封止し、熱キュアを施す事により記録ヘッドが完成する。
このような方法によれば、配設面121に微小な凹凸があっても、凹凸の高低差以上の均一な厚みを有する接着剤層によって、記録素子基板110の吐出口が形成された面を配設面121に対し水平に接着することが出来る。なお、以上説明したような、CCDや熱硬化接着剤を用いた記録素子基板の接着方法は、例えば特許文献3に開示されている。
特開2006―15733号公報 特開平11―147314号公報 特開2002−154209号公報
しかしながら、特許文献2の方法であっても、複数の凸平面部同士の高さには、どうしてもある程度のばらつき含まれる。そして、その程度が近年要求されるような高水準の水平性を実現することを困難にしている。具体的には、凸平面部同士の高さのばらつきは、記録位置精度の観点からは10μm以下に抑えたいが、実際のモールド成型では、どうしても20μm程度のばらつきが発生してしまう。
一方、凹凸の高低差以上の接着剤層を形成する構成であれば、複数の凸平面部を設けることなく、記録素子基板110の吐出口面を配設面121に対し平行に接着することが可能である。具体的には、モールド成型品の配設面121には50μm程度の凹凸が存在するが、これよりも大きな70μm程度の厚さを有する接着層を形成すれば、凹凸に左右されることなく記録素子基板110を水平に固定することが出来る。
ただし、接着層の厚みを大きくすると、熱硬化接着剤が充分な強度まで硬化するまでに必要な熱量、すなわち硬化のために要される時間が増大する。その結果、インクジェット記録ヘッドを量産するに当たり、タイムコストの上昇が招致されてしまう。
本発明は上記問題点を解決するためになされたものである。よってその目的とするところは、より短い時間で記録素子基板を配設面に対し精度良く接着することが可能なインクジェット記録ヘッドの製造方法を提供することである。
上記課題を解決するための本発明は、インクを吐出するためのエネルギを発生する記録素子を備えた記録素子基板と、該記録素子基板を配設するための配設面を備えた配設部材と、前記記録素子基板の接着がなされる面と前記配設面との間に介在することにより、前記記録素子基板と前記配設部材とを接着するための接着剤とを備えたインクジェット記録ヘッドであって、前記配設面には少なくとも1つの、先端が前記接着がなされる面と平行な平面である凸部、が設けられ、前記接着剤は前記接着がなされる面と前記平面との間にも介在していることを特徴とする。
また、インクを吐出するためのエネルギを発生する記録素子を備えた記録素子基板と、該記録素子基板を配設するための配設面と、該配設面に設けられた少なくとも1つの、先端が平面である凸部と、を含む配設部材とを備えたインクジェット記録ヘッドの製造方法であって、前記配設面と前記平面とに接着剤を設ける工程と、前記記録素子基板の接着がなされる面と前記平面とが平行となる様に、前記記録素子基板を前記接着剤に当接させる工程と、前記接着剤を硬化させる硬化工程とを有することを特徴とする。
本発明によれば、記録素子基板と配設部材の接着面の中に熱硬化接着剤層の薄い箇所を部分的に設けることにより、比較的短時間で記録素子基板を配設部材に接着することが可能となる。よって、配設面に凹凸が存在する場合であっても、精度の高い状態で記録素子基板と配設部材を短時間で接着固定し、記録ヘッドの量産性を向上させることが可能となる。
実施例1のインクジェット記録ヘッドにおける配設部材と記録素子基板の接着状態を説明するための断面図である。 実施例1の接着前の配設部材の配設面近傍の概略を説明するための上面図である。 配設部材を形成するのに用いる型の構成を説明するための概略断面図である。 (a)〜(c)は、凸平面部駒において、凸平面部を形成する工程を説明するための概略図である。 実施例1の記録ヘッドの一連の組み立て工程のうち、凸平面部を持つ配設面に記録素子基板を接着固定する工程を説明するための図である。 、実施例2のインクジェット記録ヘッドにおける配設部材と記録素子基板の接着状態を説明するための断面図である。 実施例2の接着前の配設部材の配設面近傍の概略を説明するための上面図である。 実施例2の記録ヘッドの一連の組み立て工程のうち、凸平面部を持つ配設面に記録素子基板を接着固定する工程を説明するための図である。 特許文献1に開示されているサイドシュータ型のインクジェット記録ヘッドの構成を説明するための分解斜視図である。 記録素子基板の構成を一部分解した状態で説明するための斜視図である。 従来の記録ヘッドの組み立て工程を説明するための図である。
(実施例1)
以下に、本実施形態の記録ヘッドおよびその製造方法を詳しく説明する。
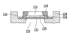
図1は、本実施例のインクジェット記録ヘッドにおける配設部材120と、吐出口や吐出のためのエネルギを発生する電気熱変換素子を配した記録素子基板110の接着状態を説明するための断面図である。また、図2は接着前の配設部材120の配設面121近傍の概略を説明するための上面図である。
記録素子基板110を配設するための配設面121はモールド成型品であり、その中央には、インク供給路122が備えられている。記録素子基板110を破線で示した接続位置123に精度よく設置することにより、インク供給路122と記録素子基板110のインク供給口112が連結し、記録素子基板110にインクを安定して供給することが出来るようになる。
本実施例において、接続位置123の長手方向の両端には、先端が平面である凸平面部124が2箇所形成されている。このような凸平面部124を設けることにより、凸平面部における記録素子基板110と配設面121の間に介在する熱硬化接着剤125の厚さを凸平面部以外の領域に比べて薄くすることが出来る。このように凸平面部を部分的に形成することで、後述するようにその部位の平面度ばらつきを抑えることが可能となる。平面度のばらつきを抑えるためには、その先端が接着される凸平面部の面積は小さいほうが好ましく、凸平面部同士のばらつきの影響を考慮すると、凸平面部の数は複数であっても少ないほうが好ましい。本実施例のように凸平面部を2個所とすることで凸平面部の平面度を高く保ちつつ、接続位置123の長手方向の両端に1つずつ形成することで、記録素子基板の平面の維持が可能となり好ましい。
図3は配設部材H1200を形成するのに用いる型500の構成を説明するための概略断面図である。図に示すように、型500は、外側駒510、内側駒530および凸平面部駒520の3つの部分から構成され、精度を必要とする凸平面部駒は入れ子構造となっている。
図4(a)〜(c)は、凸平面部駒520において、凸平面部124を形成する工程を説明するための概略図である。図4(a)は、切削形成することによって凸平面部124以外の形状が形成された平面部駒520の側面と上面を示している。
このような状態の平面部駒520の凸部予定箇所521に対し、放電加工を行うことにより、図4(b)に示すような凸平面部の形状が形成される。更に、形成された型を用いて成形された配設部材の凸平面部の精度を測定し、ずれた分だけ再び放電加工によって凸部の高さ補正を行う。これにより、凸平面部のための型が完成する(図4(c))。
本実施例において、型の成形材料としては、例えば変性ポリフェニレンエーテルを用いることが出来る。この場合、配設面121から凸平面部124の上面までの高さを0.05mmとし、凸平面部124の平面度のばらつきは0.015mm程度に抑えることが出来る。
図5は、記録ヘッドの一連の組み立て工程のうち、凸平面部124を持つ配設面121に、記録素子基板110を、熱硬化接着剤を介して接着固定する工程を説明するための図である。
まず、STEP1において、配設部材120の配設面121に熱硬化接着剤125を塗布する。このとき使用される熱硬化接着剤としては、粘度が高く、インク供給口等に流れ込まない性質を持つものが望ましい。
続くSTEP2において、記録素子基板110を治具(供給フィンガー600)で吸着し、配設面121の上方にこれを移動する。そして、CCDカメラなどを備えた画像処理システムを利用して、記録素子基板110の位置調整を行う。ここで行う位置調整によって、記録素子基板110のインク供給口112は、配設部材120に形成されたインク供給路122と連通可能となる。また、記録素子基板110は配設面121に対して平行に配置される。
STEP3では、供給フィンガー600を下降させて、記録素子基板110を凸平面部124の上面から20μm程度離れた位置に配置し、熱硬化接着剤125と当接させる。この状態において熱硬化接着剤125は未だ硬化していないので、調整した位置から記録素子基板110がずれないように、供給フィンガー600によって記録素子基板110を吸着したまま、その姿勢を保持する。
その後、STEP4において、記録素子基板表面121の供給フィンガーに覆われていない部分に、光照射機620によって光を照射する。本実施例では、光源にUV光を使用し、記録素子基板110の短手側面端近傍の2箇所に8000mW/cm2(365nm波長)の光を照射する。この照射により、記録素子基板110は昇温し、記録素子基板110の裏面に存在する熱硬化接着剤125は硬化して、記録素子基板110と配設部材120は上記調整された位置で接着固定される。すなわち、凸平面部124の平面度のばらつきは0.015mm程度存在するが、記録素子基板110はこの凹凸に影響されること無く、配設部材120の凸平面部124の上面から約0.020mm(20μm)離れた位置にて、水平に固定される。また、2箇所の凸平面部124上に存在する熱硬化接着剤は、STEP4の硬化工程において厚みが少ない分、平面以外の他の部分よりも早期に硬化する。よって、結果的に、記録素子基板110が配設部材120に必要な強度で接着固定されるまでの光照射時間を、凸平面部を設けない場合に比べて短縮することが出来る。
本実施例の場合は、凸平面部を設けない場合に比べて光照射時間を約20%短縮することが出来、記録ヘッド自体の量産性を従来よりも向上させることが可能となった。また本実施例においては、凸平面部を配設部材120における接続位置123(図2参照)の長手方向の両端に形成したので、記録素子基板110の両端部から接着剤が硬化する。よって、短時間(約2秒)でその部位の接着剤が硬化するとともに、配設部材120と記録素子基板110との水平性を精度良く保つことが可能となる。このような構成は記録素子基板110が長くなるほど有効となる。特に記録素子基板の長手方向の長さが0.85インチ以上になると記録素子基板の平面性を維持することが難しくなるので本実施例の構成は好ましい。
また凸平面部以外の部位に配されている熱硬化接着剤は、この時点ではすべて硬化していなくてもよい。つまり凸平面部にある相対的に薄い熱硬化接着剤のみが硬化していれば良いものである。その他の部位の接着剤については、例えば、記録素子基板110と電気配線基板130との電気接続部を封止した後に100℃で1時間程度の加熱を行い、熱硬化接着剤を完全に硬化させればよい。
(実施例2)
図6は、本実施例のインクジェット記録ヘッドにおける配設部材120と記録素子基板110の接着状態を説明するための断面図である。また、Fig.7は接着前の配設部材120の配設面121近傍の概略を説明するための上面図である。本実施例では、接続位置123の略中央に2つの凸平面部126が形成されている。このような位置に凸平面部を設けることにより、記録素子基板110と配設面121の間の熱硬化接着剤125の厚みを部分的に薄くした接着部分を設けることが出来る。
図8は、本実施例の記録ヘッドの一連の組み立て工程のうち、凸平面部126を持つ配設面121に記録素子基板110を接着固定する工程を説明するための図である。
まず、STEP1において、配設部材120の配設面121に熱硬化接着剤125を塗布する。このとき使用される熱硬化接着剤としては、実施例1と同様、粘度が高く、インク供給口等に流れ込まない性質を持つものが望ましい。
続くSTEP2において、内蔵されたヒータ601によって既に一定温度(本実施例では150℃)に加熱された供給フィンガー600を用い、記録素子基板110を吸着し、配設面121の上方にこれを移動する。そして、CCDカメラなどを備えた画像処理システムを利用して、記録素子基板110の位置調整を行う。ここで行う位置調整によって、記録素子基板110のインク流路は、配設部材120に形成されたインク供給路122と連通可能となる。また、記録素子基板110は配設面121に対して平行に配置される。
STEP3では、供給フィンガー600を下降させて、記録素子基板110を凸平面部126の上面から20μm程度離れた位置に配置し、熱硬化接着剤125と当接させる。本実施例では、記録素子基板110が既に加熱されているので、これが熱効果接着剤125に当接した瞬間から、熱硬化接着剤125の硬化は開始する。充分に熱硬化接着剤が硬化するまでの間、記録素子基板110が調整した位置からずれないように、供給フィンガー600は記録素子基板110を吸着した状態でその姿勢を維持する。少なくとも記録素子基板110と凸平面部126の間の熱硬化接着剤125が充分に硬化したら、供給フィンガー600による記録素子基板110の吸着を解除する。
以上説明した工程により、記録素子基板110と配設部材120は上記調整された位置で接着固定される。凸平面部126の平面度のばらつきは0.015mm程度存在するが、記録素子基板110はこの凹凸に影響されること無く、配設部材120の凸平面部126の上面から約20μm離れた位置にて、ほぼ水平に固定される。また、凸平面部126上に存在する熱硬化接着剤は、STEP3の硬化工程において、厚みが少ない分他の部分よりも早期に硬化する。
更に本実施例では、熱硬化接着剤125と当接する以前から記録素子基板110が加熱されているので、上述した実施例1よりも、記録素子基板110が配設部材120に必要な強度で接着固定されるまでの時間を更に短縮することが期待出来る。また本実施例のように過熱された供給フィンガーを使用する際には、凸平面部を供給フィンガーと記録素子基板との吸着領域に対応する部位に設けることが伝熱を考慮すると好ましい。特に供給フィンガーからの熱をすみやかに記録素子基板に伝熱する点を考慮すると、凸平面部を配設部材120における記録素子基板110の中央部に対応する位置に2箇所形成することが好ましい。
なお、以上の実施例では、光源にUV光を使用したり、直接記録素子基板を加熱したりしたが、使用する熱硬化接着剤が硬化するに充分な熱量が得られさえすれば、どのような手段で、熱硬化接着剤を過熱しても構わない。例えば、赤外線等の他の光源を使用することも可能である。
また、上記実施例では、成形材料として変性ポリフェニレンエーテルを用い、配設面121から凸平面部126の上面までの高さを0.05mmとしたが、本発明はこれに限定されるものではない。配設面121から凸平面部126の上面までの高さは、数値的には0.01〜0.20mm位が望ましいが、成形材料特性、金型精度、熱硬化接着剤の物性値等を考慮して適切な値に調整されれば本発明は有効に機能する。
更に、凸平面部を形成する位置も上記2つの実施例に限定されるものではない。凸平面部を設けた箇所の熱硬化接着剤をなるべく早い時期に硬化させるように、記録素子基板の凸平面部に対応する部分が効果的に加熱されれば、本発明の効果は充分得ることが出来る。
また、記録素子基板を精度良く接着するためには、凸平面部を3箇所設けることも好ましい。この場合、凸平面部を、インク供給路122の一方の側の領域の接続位置123の長手方向の両端部に2つ、インク供給路の他方の側の領域の、接続位置123の長手方向の中央部に1つ、凸平面部を設けることが好ましい。
以上説明したように本発明によれば、記録素子基板と配設部材の接着面の中に接着剤層の薄い箇所を部分的に設け、記録素子基板と配設部材の相対的な位置を調整した後に、上記薄い箇所の接着剤層を硬化させる。これにより、比較的短時間で記録素子基板を配設部材に精度よく接着することが可能となる。結果、配設面に凹凸が存在する場合であっても、精度の高い状態で記録ヘッドの量産性を向上させることが可能となる。
1 インクジェット記録ヘッド
110 記録素子基板
112 インク供給口
113 電気熱変換素子
116 インク流路
117 吐出口
111 Siウェハー
120 配設部材
121 配設面
122 インク供給路
123 接着位置
124 凸平面部
125 熱硬化接着剤
126 凸平面部
130 電気配線基板
500 型
510 外側駒
520 平面部駒
521 凸部予定箇所
530 内側駒
600 供給フィンガー
601 ヒータ
620 光照射機

Claims (11)

  1. インクを吐出するためのエネルギを発生する記録素子を備えた記録素子基板と、
    該記録素子基板を配設するための配設面を備えた配設部材と、
    前記記録素子基板の接着がなされる面と前記配設面との間に介在することにより、前記記録素子基板と前記配設部材とを接着するための接着剤と
    を備えたインクジェット記録ヘッドであって、
    前記配設面には少なくとも1つの、先端が前記接着がなされる面と平行な平面である凸部、が設けられ、前記接着剤は前記接着がなされる面と前記平面との間にも介在していることを特徴とするインクジェット記録ヘッド。
  2. 前記平面と前記記録素子基板の前記接着がなされる面との間に存在する前記接着剤の厚さは、前記平面以外の前記配設面と前記記録素子基板の前記接着がなされる面との間に存在する前記接着剤の厚さよりも薄いことを特徴とする請求項1に記載のインクジェット記録ヘッド。
  3. 前記配設面には複数の前記凸部が形成されていることを特徴とする請求項1または2に記載のインクジェット記録ヘッド。
  4. 前記配設部材はモールド成型品であることを特徴とする請求項1乃至3のいずれかに記載のインクジェット記録ヘッド。
  5. 前記配設部材は前記記録素子基板にインクを供給する供給路を備えることを特徴とする請求項1ないし4のいずれかに記載のインクジェット記録ヘッド。
  6. インクを吐出するためのエネルギを発生する記録素子を備えた記録素子基板と、
    該記録素子基板を配設するための配設面と、該配設面に設けられた少なくとも1つの、先端が平面である凸部と、を含む配設部材と
    を備えたインクジェット記録ヘッドの製造方法であって、
    前記配設面と前記平面とに接着剤を設ける工程と、
    前記記録素子基板の接着がなされる面と前記平面とが平行となる様に、前記記録素子基板を前記接着剤に当接させる工程と、
    前記接着剤を硬化させる硬化工程と
    を有することを特徴とするインクジェット記録ヘッドの製造方法。
  7. 前記硬化工程では、前記平面に塗布された前記接着剤が前記配設面に塗布された前記接着剤よりも早期に硬化することを特徴とする請求項6に記載のインクジェット記録ヘッドの製造方法。
  8. 前記硬化工程では、前記記録素子基板に光を照射することによって前記記録素子基板を昇温させることを特徴とする請求項6または7に記載のインクジェット記録ヘッドの製造方法。
  9. 前記硬化工程では、ヒータを用いて加熱することによって前記記録素子基板を昇温させることを特徴とする請求項6または7に記載のインクジェット記録ヘッドの製造方法。
  10. 前記記録素子基板を前記接着剤に当接させる前に、過熱された治具により前記記録素子基板を吸着し保持させることを特徴とする請求項6乃至9のいずれかに記載のインクジェット記録ヘッドの製造方法。
  11. 前記平面は前記治具と前記記録素子基板との吸着領域に対応する部位に形成されていることを特徴とする請求項10に記載のインクジェット記録ヘッドの製造方法。
JP2009113565A 2008-06-06 2009-05-08 インクジェット記録ヘッドおよびその製造方法 Active JP5464901B2 (ja)

Priority Applications (4)

Application Number Priority Date Filing Date Title
JP2009113565A JP5464901B2 (ja) 2008-06-06 2009-05-08 インクジェット記録ヘッドおよびその製造方法
US12/472,889 US8272130B2 (en) 2008-06-06 2009-05-27 Method of manufacturing an ink jet print head
CN2009101473035A CN101607477B (zh) 2008-06-06 2009-06-05 喷墨打印头和喷墨打印头的制造方法
US13/556,389 US9802410B2 (en) 2008-06-06 2012-07-24 Ink jet print head

Applications Claiming Priority (3)

Application Number Priority Date Filing Date Title
JP2008149376 2008-06-06
JP2008149376 2008-06-06
JP2009113565A JP5464901B2 (ja) 2008-06-06 2009-05-08 インクジェット記録ヘッドおよびその製造方法

Publications (2)

Publication Number Publication Date
JP2010012774A true JP2010012774A (ja) 2010-01-21
JP5464901B2 JP5464901B2 (ja) 2014-04-09

Family

ID=41399919

Family Applications (1)

Application Number Title Priority Date Filing Date
JP2009113565A Active JP5464901B2 (ja) 2008-06-06 2009-05-08 インクジェット記録ヘッドおよびその製造方法

Country Status (3)

Country Link
US (2) US8272130B2 (ja)
JP (1) JP5464901B2 (ja)
CN (1) CN101607477B (ja)

Families Citing this family (15)

* Cited by examiner, † Cited by third party
Publication number Priority date Publication date Assignee Title
JP5738018B2 (ja) * 2011-03-10 2015-06-17 キヤノン株式会社 インクジェット記録ヘッドとその製造方法
JP5828682B2 (ja) * 2011-06-06 2015-12-09 キヤノン株式会社 液体吐出ヘッドの製造方法
RU2633873C2 (ru) 2013-02-28 2017-10-18 Хьюлетт-Паккард Дивелопмент Компани, Л.П. Формованная проточная для текучей среды структура
US10632752B2 (en) 2013-02-28 2020-04-28 Hewlett-Packard Development Company, L.P. Printed circuit board fluid flow structure and method for making a printed circuit board fluid flow structure
US10821729B2 (en) 2013-02-28 2020-11-03 Hewlett-Packard Development Company, L.P. Transfer molded fluid flow structure
US10029467B2 (en) 2013-02-28 2018-07-24 Hewlett-Packard Development Company, L.P. Molded printhead
KR101827070B1 (ko) 2013-02-28 2018-02-07 휴렛-팩커드 디벨롭먼트 컴퍼니, 엘.피. 유체 유동 구조체 성형
US9539814B2 (en) 2013-02-28 2017-01-10 Hewlett-Packard Development Company, L.P. Molded printhead
HUE045188T2 (hu) 2013-02-28 2019-12-30 Hewlett Packard Development Co Öntött nyomtató rúd
CN105189122B (zh) 2013-03-20 2017-05-10 惠普发展公司,有限责任合伙企业 具有暴露的前表面和后表面的模制芯片条
JP6137918B2 (ja) * 2013-04-12 2017-05-31 キヤノン株式会社 インクジェット記録ヘッドおよびインクジェット記録装置
JP2014240136A (ja) * 2013-06-11 2014-12-25 キヤノン株式会社 液体吐出ヘッドの製造方法および液体吐出ヘッド
JP6433263B2 (ja) 2014-01-14 2018-12-05 キヤノン株式会社 液体吐出ヘッドの製造方法
JP6719911B2 (ja) 2016-01-19 2020-07-08 キヤノン株式会社 液体吐出ヘッドの製造方法
US20210316553A1 (en) * 2018-11-21 2021-10-14 Hewlett-Packard Development Company, L.P. Curved fluid ejection modules

Citations (4)

* Cited by examiner, † Cited by third party
Publication number Priority date Publication date Assignee Title
JP2004047573A (ja) * 2002-07-09 2004-02-12 Canon Inc レーザ光源装置
JP2005138306A (ja) * 2003-11-04 2005-06-02 Canon Inc インクジェットヘッド
JP2006003563A (ja) * 2004-06-16 2006-01-05 Ricoh Co Ltd アライメント接合方法、アライメント接合装置
JP2007290243A (ja) * 2006-04-25 2007-11-08 Canon Inc インクジェット記録ヘッドおよびインクジェット記録ヘッドの製造方法

Family Cites Families (12)

* Cited by examiner, † Cited by third party
Publication number Priority date Publication date Assignee Title
JPH04345858A (ja) * 1991-05-23 1992-12-01 Seiko Epson Corp インクジェットヘッド
US5852460A (en) * 1995-03-06 1998-12-22 Hewlett-Packard Company Inkjet print cartridge design to decrease deformation of the printhead when adhesively sealing the printhead to the print cartridge
JP3437425B2 (ja) 1997-11-17 2003-08-18 キヤノン株式会社 インクジェット記録ヘッド及びインクジェット記録装置
US6241335B1 (en) * 1997-12-24 2001-06-05 Canon Kabushiki Kaisha Method of producing ink jet recording head and ink jet recording head produced by the method
DE19856333A1 (de) * 1998-12-07 2000-06-08 Bosch Gmbh Robert Klebeverfahren
JP4780875B2 (ja) 2000-09-06 2011-09-28 キヤノン株式会社 インクジェット記録ヘッドの製造方法
US6652702B2 (en) * 2000-09-06 2003-11-25 Canon Kabushiki Kaisha Ink jet recording head and method for manufacturing ink jet recording head
JP4137088B2 (ja) * 2004-06-02 2008-08-20 キヤノン株式会社 ヘッド基板、記録ヘッド、ヘッドカートリッジ、記録装置、及び情報入出力方法
JP4194580B2 (ja) * 2004-06-02 2008-12-10 キヤノン株式会社 ヘッド基板、記録ヘッド、ヘッドカートリッジ、及び記録装置
JP4338202B2 (ja) 2004-06-02 2009-10-07 キヤノン株式会社 液体吐出ヘッドおよびそれを備える液体吐出装置
CN100503248C (zh) * 2004-06-02 2009-06-24 佳能株式会社 头基板、记录头、头盒、记录装置以及信息输入输出方法
JP5322719B2 (ja) * 2008-03-24 2013-10-23 キヤノン株式会社 インクジェット記録ヘッド

Patent Citations (4)

* Cited by examiner, † Cited by third party
Publication number Priority date Publication date Assignee Title
JP2004047573A (ja) * 2002-07-09 2004-02-12 Canon Inc レーザ光源装置
JP2005138306A (ja) * 2003-11-04 2005-06-02 Canon Inc インクジェットヘッド
JP2006003563A (ja) * 2004-06-16 2006-01-05 Ricoh Co Ltd アライメント接合方法、アライメント接合装置
JP2007290243A (ja) * 2006-04-25 2007-11-08 Canon Inc インクジェット記録ヘッドおよびインクジェット記録ヘッドの製造方法

Also Published As

Publication number Publication date
JP5464901B2 (ja) 2014-04-09
US20120287205A1 (en) 2012-11-15
US20090303278A1 (en) 2009-12-10
CN101607477A (zh) 2009-12-23
US8272130B2 (en) 2012-09-25
CN101607477B (zh) 2011-10-05
US9802410B2 (en) 2017-10-31

Similar Documents

Publication Publication Date Title
JP5464901B2 (ja) インクジェット記録ヘッドおよびその製造方法
KR0156449B1 (ko) 잉크 제트 헤드 제조 방법, 상기 방법에 의해 제조된 잉크 제트 헤드, 및 잉크 제트 헤드를 구비한 잉크 제트 장치
KR101025427B1 (ko) 액체 토출 헤드 및 액체 토출 헤드의 제조 방법
JP3850370B2 (ja) インクジェットヘッドユニットおよびその製造方法
CN100339221C (zh) 液滴喷出装置的制造方法及液滴喷出方法
WO2003080345A1 (en) Method of assembling ink jet head unit
US7984549B2 (en) Method of manufacturing ink-jet recording head
JP2009298108A (ja) インクジェット記録ヘッドの製造方法およびインクジェット記録ヘッド
JP2008296533A (ja) インクジェットヘッド及びインクジェットヘッドの製造方法
US8814317B2 (en) Liquid ejection head and method of manufacturing the same
JPH1140621A (ja) Tabフィルムのビームリードの接合装置および該接合装置によって電気的接合された半導体チップならびに液体噴射記録ヘッド
JP2018176580A (ja) 液体吐出ヘッドおよびその製造方法
JP7195829B2 (ja) 液体吐出ヘッド及び液体吐出装置の製造方法
US11155084B2 (en) Liquid ejecting head and manufacturing method thereof
US20060221139A1 (en) Ink jet print head and ink jet printing apparatus
JP2014188985A (ja) モジュール・ブラケット結合体の製造方法
JP2011110792A (ja) 液体吐出ヘッドの製造方法
JP2018083365A (ja) 液体吐出ヘッドおよびその製造方法
JP3517498B2 (ja) インクジェットヘッドの製造方法
JP2019202470A (ja) 液体吐出ヘッドの製造方法
US20240300243A1 (en) Manufacturing method of liquid ejection head and liquid ejection head
JP2007076226A (ja) 液滴吐出ヘッドおよびその製造方法
JP3231196B2 (ja) インクジェットヘッドの製造方法、インクジェットヘッドおよびインクジェット記録装置
JP5279355B2 (ja) 液体吐出装置の製造方法
JP2007250761A (ja) 半導体デバイスの製造方法

Legal Events

Date Code Title Description
RD02 Notification of acceptance of power of attorney

Free format text: JAPANESE INTERMEDIATE CODE: A7422

Effective date: 20101106

A621 Written request for application examination

Free format text: JAPANESE INTERMEDIATE CODE: A621

Effective date: 20120423

A131 Notification of reasons for refusal

Free format text: JAPANESE INTERMEDIATE CODE: A131

Effective date: 20130416

A977 Report on retrieval

Free format text: JAPANESE INTERMEDIATE CODE: A971007

Effective date: 20130417

A521 Written amendment

Free format text: JAPANESE INTERMEDIATE CODE: A523

Effective date: 20130617

A131 Notification of reasons for refusal

Free format text: JAPANESE INTERMEDIATE CODE: A131

Effective date: 20130723

A521 Written amendment

Free format text: JAPANESE INTERMEDIATE CODE: A523

Effective date: 20130924

TRDD Decision of grant or rejection written
A01 Written decision to grant a patent or to grant a registration (utility model)

Free format text: JAPANESE INTERMEDIATE CODE: A01

Effective date: 20131224

A61 First payment of annual fees (during grant procedure)

Free format text: JAPANESE INTERMEDIATE CODE: A61

Effective date: 20140121

R151 Written notification of patent or utility model registration

Ref document number: 5464901

Country of ref document: JP

Free format text: JAPANESE INTERMEDIATE CODE: R151