JP2010010330A - 半導体装置 - Google Patents

半導体装置 Download PDF

Info

Publication number
JP2010010330A
JP2010010330A JP2008166991A JP2008166991A JP2010010330A JP 2010010330 A JP2010010330 A JP 2010010330A JP 2008166991 A JP2008166991 A JP 2008166991A JP 2008166991 A JP2008166991 A JP 2008166991A JP 2010010330 A JP2010010330 A JP 2010010330A
Authority
JP
Japan
Prior art keywords
electrode lead
semiconductor device
sealing resin
semiconductor element
semiconductor
Prior art date
Legal status (The legal status is an assumption and is not a legal conclusion. Google has not performed a legal analysis and makes no representation as to the accuracy of the status listed.)
Granted
Application number
JP2008166991A
Other languages
English (en)
Other versions
JP4666185B2 (ja
Inventor
Hiroshi Yoshida
博 吉田
Tatsuo Ota
達雄 太田
Nobutake Taniguchi
信剛 谷口
Shingo Sudo
進吾 須藤
Current Assignee (The listed assignees may be inaccurate. Google has not performed a legal analysis and makes no representation or warranty as to the accuracy of the list.)
Mitsubishi Electric Corp
Original Assignee
Mitsubishi Electric Corp
Priority date (The priority date is an assumption and is not a legal conclusion. Google has not performed a legal analysis and makes no representation as to the accuracy of the date listed.)
Filing date
Publication date
Application filed by Mitsubishi Electric Corp filed Critical Mitsubishi Electric Corp
Priority to JP2008166991A priority Critical patent/JP4666185B2/ja
Priority to US12/203,524 priority patent/US7768118B2/en
Priority to DE102008050852.7A priority patent/DE102008050852B4/de
Publication of JP2010010330A publication Critical patent/JP2010010330A/ja
Application granted granted Critical
Publication of JP4666185B2 publication Critical patent/JP4666185B2/ja
Active legal-status Critical Current
Anticipated expiration legal-status Critical

Links

Images

Classifications

    • HELECTRICITY
    • H01ELECTRIC ELEMENTS
    • H01LSEMICONDUCTOR DEVICES NOT COVERED BY CLASS H10
    • H01L23/00Details of semiconductor or other solid state devices
    • H01L23/28Encapsulations, e.g. encapsulating layers, coatings, e.g. for protection
    • H01L23/31Encapsulations, e.g. encapsulating layers, coatings, e.g. for protection characterised by the arrangement or shape
    • H01L23/3107Encapsulations, e.g. encapsulating layers, coatings, e.g. for protection characterised by the arrangement or shape the device being completely enclosed
    • HELECTRICITY
    • H01ELECTRIC ELEMENTS
    • H01LSEMICONDUCTOR DEVICES NOT COVERED BY CLASS H10
    • H01L23/00Details of semiconductor or other solid state devices
    • H01L23/34Arrangements for cooling, heating, ventilating or temperature compensation ; Temperature sensing arrangements
    • H01L23/36Selection of materials, or shaping, to facilitate cooling or heating, e.g. heatsinks
    • H01L23/373Cooling facilitated by selection of materials for the device or materials for thermal expansion adaptation, e.g. carbon
    • H01L23/3735Laminates or multilayers, e.g. direct bond copper ceramic substrates
    • HELECTRICITY
    • H01ELECTRIC ELEMENTS
    • H01LSEMICONDUCTOR DEVICES NOT COVERED BY CLASS H10
    • H01L23/00Details of semiconductor or other solid state devices
    • H01L23/48Arrangements for conducting electric current to or from the solid state body in operation, e.g. leads, terminal arrangements ; Selection of materials therefor
    • H01L23/488Arrangements for conducting electric current to or from the solid state body in operation, e.g. leads, terminal arrangements ; Selection of materials therefor consisting of soldered or bonded constructions
    • H01L23/495Lead-frames or other flat leads
    • H01L23/49517Additional leads
    • H01L23/49524Additional leads the additional leads being a tape carrier or flat leads
    • HELECTRICITY
    • H01ELECTRIC ELEMENTS
    • H01LSEMICONDUCTOR DEVICES NOT COVERED BY CLASS H10
    • H01L23/00Details of semiconductor or other solid state devices
    • H01L23/48Arrangements for conducting electric current to or from the solid state body in operation, e.g. leads, terminal arrangements ; Selection of materials therefor
    • H01L23/488Arrangements for conducting electric current to or from the solid state body in operation, e.g. leads, terminal arrangements ; Selection of materials therefor consisting of soldered or bonded constructions
    • H01L23/495Lead-frames or other flat leads
    • H01L23/49517Additional leads
    • H01L23/49531Additional leads the additional leads being a wiring board
    • HELECTRICITY
    • H01ELECTRIC ELEMENTS
    • H01LSEMICONDUCTOR DEVICES NOT COVERED BY CLASS H10
    • H01L23/00Details of semiconductor or other solid state devices
    • H01L23/48Arrangements for conducting electric current to or from the solid state body in operation, e.g. leads, terminal arrangements ; Selection of materials therefor
    • H01L23/488Arrangements for conducting electric current to or from the solid state body in operation, e.g. leads, terminal arrangements ; Selection of materials therefor consisting of soldered or bonded constructions
    • H01L23/498Leads, i.e. metallisations or lead-frames on insulating substrates, e.g. chip carriers
    • H01L23/49811Additional leads joined to the metallisation on the insulating substrate, e.g. pins, bumps, wires, flat leads
    • HELECTRICITY
    • H01ELECTRIC ELEMENTS
    • H01LSEMICONDUCTOR DEVICES NOT COVERED BY CLASS H10
    • H01L2224/00Indexing scheme for arrangements for connecting or disconnecting semiconductor or solid-state bodies and methods related thereto as covered by H01L24/00
    • H01L2224/01Means for bonding being attached to, or being formed on, the surface to be connected, e.g. chip-to-package, die-attach, "first-level" interconnects; Manufacturing methods related thereto
    • H01L2224/34Strap connectors, e.g. copper straps for grounding power devices; Manufacturing methods related thereto
    • H01L2224/36Structure, shape, material or disposition of the strap connectors prior to the connecting process
    • H01L2224/37Structure, shape, material or disposition of the strap connectors prior to the connecting process of an individual strap connector
    • H01L2224/37001Core members of the connector
    • H01L2224/3701Shape
    • H01L2224/37011Shape comprising apertures or cavities
    • HELECTRICITY
    • H01ELECTRIC ELEMENTS
    • H01LSEMICONDUCTOR DEVICES NOT COVERED BY CLASS H10
    • H01L2224/00Indexing scheme for arrangements for connecting or disconnecting semiconductor or solid-state bodies and methods related thereto as covered by H01L24/00
    • H01L2224/01Means for bonding being attached to, or being formed on, the surface to be connected, e.g. chip-to-package, die-attach, "first-level" interconnects; Manufacturing methods related thereto
    • H01L2224/34Strap connectors, e.g. copper straps for grounding power devices; Manufacturing methods related thereto
    • H01L2224/39Structure, shape, material or disposition of the strap connectors after the connecting process
    • H01L2224/40Structure, shape, material or disposition of the strap connectors after the connecting process of an individual strap connector
    • H01L2224/401Disposition
    • H01L2224/40151Connecting between a semiconductor or solid-state body and an item not being a semiconductor or solid-state body, e.g. chip-to-substrate, chip-to-passive
    • H01L2224/40221Connecting between a semiconductor or solid-state body and an item not being a semiconductor or solid-state body, e.g. chip-to-substrate, chip-to-passive the body and the item being stacked
    • H01L2224/40225Connecting between a semiconductor or solid-state body and an item not being a semiconductor or solid-state body, e.g. chip-to-substrate, chip-to-passive the body and the item being stacked the item being non-metallic, e.g. insulating substrate with or without metallisation
    • HELECTRICITY
    • H01ELECTRIC ELEMENTS
    • H01LSEMICONDUCTOR DEVICES NOT COVERED BY CLASS H10
    • H01L2224/00Indexing scheme for arrangements for connecting or disconnecting semiconductor or solid-state bodies and methods related thereto as covered by H01L24/00
    • H01L2224/01Means for bonding being attached to, or being formed on, the surface to be connected, e.g. chip-to-package, die-attach, "first-level" interconnects; Manufacturing methods related thereto
    • H01L2224/42Wire connectors; Manufacturing methods related thereto
    • H01L2224/44Structure, shape, material or disposition of the wire connectors prior to the connecting process
    • H01L2224/45Structure, shape, material or disposition of the wire connectors prior to the connecting process of an individual wire connector
    • H01L2224/45001Core members of the connector
    • H01L2224/45099Material
    • H01L2224/451Material with a principal constituent of the material being a metal or a metalloid, e.g. boron (B), silicon (Si), germanium (Ge), arsenic (As), antimony (Sb), tellurium (Te) and polonium (Po), and alloys thereof
    • H01L2224/45117Material with a principal constituent of the material being a metal or a metalloid, e.g. boron (B), silicon (Si), germanium (Ge), arsenic (As), antimony (Sb), tellurium (Te) and polonium (Po), and alloys thereof the principal constituent melting at a temperature of greater than or equal to 400°C and less than 950°C
    • H01L2224/45124Aluminium (Al) as principal constituent
    • HELECTRICITY
    • H01ELECTRIC ELEMENTS
    • H01LSEMICONDUCTOR DEVICES NOT COVERED BY CLASS H10
    • H01L2224/00Indexing scheme for arrangements for connecting or disconnecting semiconductor or solid-state bodies and methods related thereto as covered by H01L24/00
    • H01L2224/80Methods for connecting semiconductor or other solid state bodies using means for bonding being attached to, or being formed on, the surface to be connected
    • H01L2224/84Methods for connecting semiconductor or other solid state bodies using means for bonding being attached to, or being formed on, the surface to be connected using a strap connector
    • H01L2224/848Bonding techniques
    • H01L2224/84801Soldering or alloying
    • HELECTRICITY
    • H01ELECTRIC ELEMENTS
    • H01LSEMICONDUCTOR DEVICES NOT COVERED BY CLASS H10
    • H01L25/00Assemblies consisting of a plurality of semiconductor or other solid state devices
    • H01L25/03Assemblies consisting of a plurality of semiconductor or other solid state devices all the devices being of a type provided for in a single subclass of subclasses H10B, H10D, H10F, H10H, H10K or H10N, e.g. assemblies of rectifier diodes
    • H01L25/04Assemblies consisting of a plurality of semiconductor or other solid state devices all the devices being of a type provided for in a single subclass of subclasses H10B, H10D, H10F, H10H, H10K or H10N, e.g. assemblies of rectifier diodes the devices not having separate containers
    • H01L25/07Assemblies consisting of a plurality of semiconductor or other solid state devices all the devices being of a type provided for in a single subclass of subclasses H10B, H10D, H10F, H10H, H10K or H10N, e.g. assemblies of rectifier diodes the devices not having separate containers the devices being of a type provided for in group subclass H10D
    • H01L25/072Assemblies consisting of a plurality of semiconductor or other solid state devices all the devices being of a type provided for in a single subclass of subclasses H10B, H10D, H10F, H10H, H10K or H10N, e.g. assemblies of rectifier diodes the devices not having separate containers the devices being of a type provided for in group subclass H10D the devices being arranged next to each other
    • HELECTRICITY
    • H01ELECTRIC ELEMENTS
    • H01LSEMICONDUCTOR DEVICES NOT COVERED BY CLASS H10
    • H01L2924/00Indexing scheme for arrangements or methods for connecting or disconnecting semiconductor or solid-state bodies as covered by H01L24/00
    • H01L2924/0001Technical content checked by a classifier
    • H01L2924/00014Technical content checked by a classifier the subject-matter covered by the group, the symbol of which is combined with the symbol of this group, being disclosed without further technical details
    • HELECTRICITY
    • H01ELECTRIC ELEMENTS
    • H01LSEMICONDUCTOR DEVICES NOT COVERED BY CLASS H10
    • H01L2924/00Indexing scheme for arrangements or methods for connecting or disconnecting semiconductor or solid-state bodies as covered by H01L24/00
    • H01L2924/01Chemical elements
    • H01L2924/01005Boron [B]
    • HELECTRICITY
    • H01ELECTRIC ELEMENTS
    • H01LSEMICONDUCTOR DEVICES NOT COVERED BY CLASS H10
    • H01L2924/00Indexing scheme for arrangements or methods for connecting or disconnecting semiconductor or solid-state bodies as covered by H01L24/00
    • H01L2924/01Chemical elements
    • H01L2924/01006Carbon [C]
    • HELECTRICITY
    • H01ELECTRIC ELEMENTS
    • H01LSEMICONDUCTOR DEVICES NOT COVERED BY CLASS H10
    • H01L2924/00Indexing scheme for arrangements or methods for connecting or disconnecting semiconductor or solid-state bodies as covered by H01L24/00
    • H01L2924/01Chemical elements
    • H01L2924/01013Aluminum [Al]
    • HELECTRICITY
    • H01ELECTRIC ELEMENTS
    • H01LSEMICONDUCTOR DEVICES NOT COVERED BY CLASS H10
    • H01L2924/00Indexing scheme for arrangements or methods for connecting or disconnecting semiconductor or solid-state bodies as covered by H01L24/00
    • H01L2924/01Chemical elements
    • H01L2924/01014Silicon [Si]
    • HELECTRICITY
    • H01ELECTRIC ELEMENTS
    • H01LSEMICONDUCTOR DEVICES NOT COVERED BY CLASS H10
    • H01L2924/00Indexing scheme for arrangements or methods for connecting or disconnecting semiconductor or solid-state bodies as covered by H01L24/00
    • H01L2924/01Chemical elements
    • H01L2924/01019Potassium [K]
    • HELECTRICITY
    • H01ELECTRIC ELEMENTS
    • H01LSEMICONDUCTOR DEVICES NOT COVERED BY CLASS H10
    • H01L2924/00Indexing scheme for arrangements or methods for connecting or disconnecting semiconductor or solid-state bodies as covered by H01L24/00
    • H01L2924/01Chemical elements
    • H01L2924/01029Copper [Cu]
    • HELECTRICITY
    • H01ELECTRIC ELEMENTS
    • H01LSEMICONDUCTOR DEVICES NOT COVERED BY CLASS H10
    • H01L2924/00Indexing scheme for arrangements or methods for connecting or disconnecting semiconductor or solid-state bodies as covered by H01L24/00
    • H01L2924/01Chemical elements
    • H01L2924/01033Arsenic [As]
    • HELECTRICITY
    • H01ELECTRIC ELEMENTS
    • H01LSEMICONDUCTOR DEVICES NOT COVERED BY CLASS H10
    • H01L2924/00Indexing scheme for arrangements or methods for connecting or disconnecting semiconductor or solid-state bodies as covered by H01L24/00
    • H01L2924/01Chemical elements
    • H01L2924/0106Neodymium [Nd]
    • HELECTRICITY
    • H01ELECTRIC ELEMENTS
    • H01LSEMICONDUCTOR DEVICES NOT COVERED BY CLASS H10
    • H01L2924/00Indexing scheme for arrangements or methods for connecting or disconnecting semiconductor or solid-state bodies as covered by H01L24/00
    • H01L2924/01Chemical elements
    • H01L2924/01068Erbium [Er]
    • HELECTRICITY
    • H01ELECTRIC ELEMENTS
    • H01LSEMICONDUCTOR DEVICES NOT COVERED BY CLASS H10
    • H01L2924/00Indexing scheme for arrangements or methods for connecting or disconnecting semiconductor or solid-state bodies as covered by H01L24/00
    • H01L2924/01Chemical elements
    • H01L2924/01074Tungsten [W]
    • HELECTRICITY
    • H01ELECTRIC ELEMENTS
    • H01LSEMICONDUCTOR DEVICES NOT COVERED BY CLASS H10
    • H01L2924/00Indexing scheme for arrangements or methods for connecting or disconnecting semiconductor or solid-state bodies as covered by H01L24/00
    • H01L2924/01Chemical elements
    • H01L2924/01082Lead [Pb]
    • HELECTRICITY
    • H01ELECTRIC ELEMENTS
    • H01LSEMICONDUCTOR DEVICES NOT COVERED BY CLASS H10
    • H01L2924/00Indexing scheme for arrangements or methods for connecting or disconnecting semiconductor or solid-state bodies as covered by H01L24/00
    • H01L2924/15Details of package parts other than the semiconductor or other solid state devices to be connected
    • H01L2924/181Encapsulation
    • HELECTRICITY
    • H01ELECTRIC ELEMENTS
    • H01LSEMICONDUCTOR DEVICES NOT COVERED BY CLASS H10
    • H01L2924/00Indexing scheme for arrangements or methods for connecting or disconnecting semiconductor or solid-state bodies as covered by H01L24/00
    • H01L2924/19Details of hybrid assemblies other than the semiconductor or other solid state devices to be connected
    • H01L2924/1901Structure
    • H01L2924/1904Component type
    • H01L2924/19043Component type being a resistor
    • HELECTRICITY
    • H01ELECTRIC ELEMENTS
    • H01LSEMICONDUCTOR DEVICES NOT COVERED BY CLASS H10
    • H01L2924/00Indexing scheme for arrangements or methods for connecting or disconnecting semiconductor or solid-state bodies as covered by H01L24/00
    • H01L2924/30Technical effects
    • H01L2924/35Mechanical effects
    • H01L2924/351Thermal stress

Landscapes

  • Engineering & Computer Science (AREA)
  • Physics & Mathematics (AREA)
  • Condensed Matter Physics & Semiconductors (AREA)
  • General Physics & Mathematics (AREA)
  • Computer Hardware Design (AREA)
  • Microelectronics & Electronic Packaging (AREA)
  • Power Engineering (AREA)
  • Chemical & Material Sciences (AREA)
  • Ceramic Engineering (AREA)
  • Materials Engineering (AREA)
  • Structures Or Materials For Encapsulating Or Coating Semiconductor Devices Or Solid State Devices (AREA)

Abstract

【課題】電極リードの接合部における熱応力を緩和することによって、疲労破壊の発生が生じにくい半導体装置を提供する。
【解決手段】半導体装置は、基板11と、半導体素子4と、電極リード51と、封止樹脂部とを有する。基板11は、回路パターン3が形成された主面を有する。半導体素子4は、第1および第2の面を有し、第1の面と主面とが互いに面するように基板上に配置されている。電極リード51は、回路パターン3に接合された一方端と、第2の面にハンダ接合された他方端とを有する。他方端は、互いに分割された複数の部分を有する。封止樹脂部は、半導体素子4および電極リード51を封止している。
【選択図】図2

Description

本発明は、半導体装置に関し、特に、半導体素子を封止する封止樹脂部を有する半導体装置に関するものである。
半導体装置には、たとえば特開2003−264265号公報に開示されているように、モールド樹脂(封止樹脂部)を有する電力用半導体装置がある。この公報によれば、電力用半導体装置は、半導体素子と、金属ブロックと、リードフレームと、筐体とを有する。半導体素子は、表面及び裏面を有する。金属ブロックは、半導体素子の裏面に固着されている。リードフレームは、半導体素子の表面にハンダにより固着されている。筐体は、半導体素子、金属ブロックおよびリードフレームをモールド樹脂で一体成形している。
この電力用半導体装置の構成によれば、リードフレームと半導体素子とをモールド樹脂が取り囲むので、両者の間の接合を強化することができ、リードフレームの接続部での疲労破壊が生じにくい、と上記公報には記載されている。
特開2003−264265号公報
しかしながら、上記の電力用半導体装置では、半導体装置の発熱または半導体装置の使用環境の変化が生じた場合に、ハンダ付部にかかる熱応力による疲労破壊が生じることがあるという問題があった。
この熱応力は、半導体装置の各構成部材間の線膨張係数の格差に起因している。線膨張係数の格差について例示すると、半導体素子に用いられるシリコンの線膨張係数は2.3×10-6(1/K)程度、電極リードに用いられる銅の線膨張係数は16.7×10-6程度、封止樹脂の線膨張係数は18×10-6程度である。このように線膨張係数に格差があることで熱応力が生じる結果、リードフレーム(電極リード)の接合部での疲労破壊が生じやすい。
本発明は、上記の課題に鑑みてなされたものであり、その目的は、電極リードの接合部における熱応力を緩和することによって、疲労破壊の発生が生じにくい半導体装置を提供することである。
本発明の半導体装置は、基板と、半導体素子と、電極リードと、封止樹脂部とを有する。基板は、回路パターンが形成された主面を有する。半導体素子は、第1および第2の面を有し、第1の面と主面とが互いに面するように基板上に配置されている。電極リードは、回路パターンに接合された一方端と、第2の面にハンダ接合された他方端とを有する。他方端は、互いに分割された複数の部分を有する。封止樹脂部は、半導体素子および電極リードを封止している。
本発明によれば、電極リードの他方端は、互いに分割された複数の部分を有する。よって、分割方向に交差する方向に沿って複数の部分が互いに相対的に変位することができる。この変位により熱応力が緩和されるので、半導体装置の疲労破壊の発生を抑制することができる。
以下、本発明の実施の形態について図に基づいて説明する。
(実施の形態1)
図1は、本発明の実施の形態1における半導体装置の構成を概略的に示す斜視図である。図2は、本発明の実施の形態1における半導体装置の封止樹脂部の内部の構成を概略的に示す斜視図である。図3は、本発明の実施の形態1における半導体装置の電極リードの構成を概略的に示す斜視図である。図4は、図3の線IV−IVに沿った概略断面図である。
図1〜図4を参照して、本実施の形態の半導体装置100は、基板11と、半導体素子4および42と、電極リード51と、封止樹脂部10と、信号リード6と、信号端子7と、主端子8とを有する。
半導体素子4および42の各々と回路パターン3とは、電極リード51および信号リード6により電気的に接続されている。また信号端子7と主端子8とにより、半導体装置100は外部と接続される。このようにして形成された電気的経路のうち、半導体素子4、42、および電極リード51を介して主端子8間を結ぶ経路が、半導体装置100の主電流の経路となっている。
基板11は、ベース板1と、絶縁層2と、回路パターン3とを有する。絶縁層2は、ベース板1の主面上に形成されている。回路パターン3は、絶縁層2上に形成されている。これにより、基板11は、回路パターン3が形成された主面(図2において図示されている面)を有する。ベース板1は、熱伝導性が高い材質である金属からなる。この金属は、たとえば銅またはアルミニウムである。絶縁層2は、たとえばAlN、BN、Al23またはシリカからなる粒子を含有している。回路パターン3は、たとえば銅またはアルミニウムからなる薄膜がエッチングされることで形成されている。これにより、半導体素子4および42の各々とベース板1との絶縁性が確保されつつ、基板11は半導体素子4および42からの熱を効率的に放熱することができる。
封止樹脂部10は、半導体素子4、42、および電極リード51を封止している。封止樹脂部10は、たとえばエポキシ樹脂またはPPS(ポリフェニレンサルファイド)からなる。これにより半導体装置100の筐体強度が確保されるので、半導体素子4および42がより確実に保護される。
封止樹脂部10を充填することによる封止が行なわれる際は、半導体素子4および42と電極リード51との間に隙間が発生しにくくなるような充填条件が用いられる。すなわち、充填位置、充填圧、流動などのプロセス条件と、粘度などの樹脂材の物性値とが最適化される。充填位置としては、電極リード51の内側から充填が開始され、電極リード51付近の充填が完了された後に、その周辺に充填が行なわれるような位置が好ましい。また封止樹脂部10がエポキシ樹脂からなる場合、粘度と線膨張係数とが考慮されて、封止樹脂部10に含有されるフィラーが選定される。樹脂材の粘度は、充填の障害とならない程度の大きさとされ、たとえば4000Pa・s(60℃における値)程度とされる。
半導体素子4および42の各々は、第1の面(基板11に面する面)と、第1の面と正対する第2の面(図2において図示されている面)を有し、この第1の面と、基板11の主面とが互いに面するように、基板11上に配置されている。
電極リード51は、一方端EA(図2における右下端)と、他方端EB(図2における左上端)とを有する。一方端EAは回路パターン3に接合されている。他方端EBは半導体素子4および42の各々の第2の面にハンダ接合されている。他方端EBは、互いに分割された複数の部分P1およびP2を有する。すなわち、他方端EBは、部分P1と部分P2との境界に沿った方向(分割方向)に沿って分割されている。
部分P1は、図4に示すように、接合部P1Jと、配線部P1Cと、連結部P1Mとを有する。接合部P1Jは、半導体素子4および42の各々の第2の面(図2において図示されている面)に接合されている。配線部P1Cは、接合部P1Jに対して、半導体素子4および42の第2の面に直交する方向(図4における縦方向)に間隔を空けて配置されている。連結部P1Mは、接合部P1Jと配線部P1Cとを繋いでいる。
また部分P2も、図4に示すように、部分P1と同様の構成を有している。すなわち部分P2は、接合部P2Jと、配線部P2Cと、連結部P2Mとを有する。接合部P2Jは、半導体素子4および42の各々の第2の面(図2において図示されている面)に接合されている。配線部P2Cは、接合部P2Jに対して、半導体素子4および42の第2の面に直交する方向(図4における縦方向)に間隔を空けて配置されている。連結部P2Mは、接合部P2Jと配線部P2Cとを繋いでいる。
電極リード51の厚さと幅とは、電流容量に支障がないように設定される。たとえば、電極リード51は、板厚0.2〜0.3mmの銅材から構成される。また電極リード51の材質は、電極リードと半導体素子4および42との接合部の応力が緩和されるような物性値を有することが好ましく、たとえば線膨張係数が10×10-6(1/K)以下の金属が用いられる。
次に、本実施の形態と比較しつつ、その変形例について説明する。図5は、本発明の実施の形態1の変形例における電極リードの構成を概略的に示す断面図である。
図4および図5を参照して、上述した電極リード51(図4)は、連結部P1Mの一方面側(図中における右側)に接合部P1Jおよび配線部P1Cを有し、連結部P2Mの一方面側(図中における左側)に接合部P2JおよびP2Cを有する。一方、その変形例である電極リード52(図5)は、連結部P1Mの他方面側(図中における左側)に接合部P1Jを有し、また連結部P2Mの他方面側(図中における右側)に接合部P2Jを有する。
本実施の形態によれば、電極リード51の他方端EB(図3)は、互いに分割された複数の部分P1およびP2を有する。よって電極リード51の弾性変形により、複数の部分P1およびP2が、分割方向(部分P1と部分P2との境界に沿った方向)に交差する方向(図3における線IV−IVの方向)に沿って、互いに相対的に変位することができる。すなわち部分P1とP2とが近づいたり遠ざかったりすることができる。これによりより熱応力が緩和されるので、半導体装置100の疲労破壊の発生を抑制することができる。
なお仮に複数の部分P1およびP2の各々の先端(図3の左上端)が互いに一体化されているとすると、すなわち電極リードが分割されていないとすると、部分P1およびP2の各々の先端が相対的に変位することができなくなる。このため部分P1とP2とが互いにより束縛されるので、電極リードの弾性変形による熱応力の緩和が不十分となる。分割されていない電極リードの一例が、従来の電極リード51Z(図13)である。電極リード51Zの他方端EBZは、貫通孔は有するものの、分割されてはいない。
また本実施の形態によれば、電極リード51の他方端EB(図3)は、互いに分割された部分P1およびP2を有し、かつ部分P1およびP2の間は封止樹脂部により隔てられる。部分P1およびP2の熱伝導率は、たとえば400W/m・Kであり、封止樹脂部10の熱伝導率は、たとえば0.5W/m・Kである。よって他方端EBにおいて、高い熱伝導率を有する材質からなる分割された複数の部分P1、P2が設けられ、かつ、この複数の部分P1、P2の間は低い熱伝導率を有する材質からなる封止樹脂部10により隔てられている。この構成により、電極リード51の他方端EBにおいて主要な伝熱経路が分枝して広がるので、半導体素子4から生じた熱を拡散させることができる。これにより温度分布がより平均化されるので、熱応力に起因する半導体装置100の疲労破壊の発生を、より抑制することができる。
また、電極リード51が分割された部分を有するので、半導体装置100の製造工程において封止樹脂部10が充填される際の障害物が少なくなる。これにより、より隙間なく封止樹脂部10を形成することができる。
また、電極リード51による接続の代わりにアルミワイヤ接続が行なわれる場合に比して、より短時間でより高い強度の接続を行なうことができる。
また、接合部P1JおよびP2Jとは別に配線部P1CおよびP2Cが設けられている。これにより電極リード51を流れる電流に対する電極リード51の断面積をより十分に確保することができる。よって半導体素子4および42をより低い抵抗で回路パターン3に接続することができる。
また、本実施の形態およびその変形例によれば、電極リード51および52の下の封止樹脂部10の収縮の影響を低減することで、半導体装置100の疲労破壊の発生を、より抑制することができる。この効果について、以下に説明する。
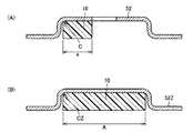
図6は、本発明の実施の形態1の変形例における電極リードと封止樹脂部との間の作用を説明する図(A)、および比較例における電極リードと封止樹脂部との間の作用を説明する図(B)である。なお図6においては、封止樹脂部10の一部と、電極リードとのみが図示されている。
図6(A)および(B)を参照して、本実施の形態の変形例の電極リード52が用いられる場合(図6(A)の場合)、電極リード52下の分割された一方の領域の幅寸法aの部分における封止樹脂部10の収縮が電極リード52下の角部Cに作用する。一方、比較例の電極リード52Zが用いられる場合(図6(B)の場合)、電極リード52Z下の幅寸法Aの部分における封止樹脂部10の収縮が電極リード52Z下の角部CZに作用する。すなわち、電極リード52下の角部Cには、電極リード52Z下の角部CZよりも小さな幅寸法の領域の封止樹脂部10からの応力が作用する。このため、角部Cに加わる応力は、角部CZに加わる応力に比して小さくなる。これにより半導体装置100の疲労破壊の発生を、より抑制することができる。
なお本実施の形態においては互いに分割された配線部P1CおよびP2Cのそれぞれに、連結部P1Mおよび接合部P1Jからなる部分と、連結部P2Mおよび接合部P2Jからなる部分とが繋がっていたが、本発明はこれに限定されるものではない。半導体素子4との接合部が分割されていれば、たとえば電極リード57(図7および図8)のように、電極リードの配線部が分割されていなくてもよい。
(実施の形態2)
図9は、本発明の実施の形態2における半導体装置の電極リードの構成を概略的に示す斜視図である。図10は、図9の線X−Xに沿った概略断面図である。
図9および図10を参照して、本実施の形態の電極リード56は、一方端EAx(図9における右下端)と、他方端EBx(図9における左上端)とを有する。一方端EAxは回路パターン3(図9において図示せず)に接合されている。他方端EBxは半導体素子4および42の各々の第2の面(図9において図示せず)にハンダ接合されている。他方端EBxは、互いに分割された複数の部分P1xおよびP2xを有する。すなわち、他方端EBxは、部分P1xと部分P2xとの境界に沿った方向(分割方向)に沿って分割されている。
部分P1xは、図10に示すように、接合部P1Jと、配線部P1Cxを有する。接合部P1Jは、半導体素子4および42の各々の第2の面(図2において図示されている面)に接合されている。配線部P1Cxは、半導体素子4および42の第2の面に直交する方向(図8における縦方向)に延びている。
また部分P2xも、図10に示すように、部分P1xと同様の構成を有する。すなわち、部分P2xは、接合部P2Jと、配線部P2Cxを有する。接合部P2Jは、半導体素子4および42の各々の第2の面(図2において図示されている面)に接合されている。配線部P1Cxは、半導体素子4および42の第2の面に直交する方向(図10における縦方向)に延びている。
配線部P1CxおよびP2Cxは、半導体素子4の第2の面(図10において図示せず)と直交する法線方向NNを有する板状部であって、電極リード56の上側(図10における上側)に位置している。
図11は、本発明の実施の形態2における半導体装置における半導体素子および電極リードの近傍の様子を概略的に示す部分断面図(A)、および本発明の実施の形態1における半導体装置における半導体素子および電極リードの近傍の様子を概略的に示す部分断面図(B)である。
図11(A)を参照して、領域RGは、封止樹脂部10のうち半導体素子4の第2の面(図中における上面)の法線方向NDにおいて、本実施の形態の電極リード56の部分P2xによって半導体素子4の第2の面から隔てられている領域である。領域RGは法線方向NDに沿って部分P2xから露出されている。すなわち領域RGの封止樹脂部10は、法線方向NDに沿って部分P2xによって挟まれていない。これは法線方向NNが法線方向NDと直交しており、その結果法線方向NNが法線方向NDと逆向きの成分を有さないことによる。
なお上記においては図11(A)を用いて部分P2xについて説明したが、部分P1xについても同様である。
図11(B)を参照して、領域RGZ1およびRGZ2は、封止樹脂部10のうち半導体素子4の第2の面(図中における上面)の法線方向NDにおいて、実施の形態1の電極リード51の部分P2によって半導体素子4の第2の面から隔てられている領域である。領域RGZ1およびRGZ2のうち領域RGZ1は、その上面が配線部P2Cに覆われている。すなわち領域RGZ1は法線方向NDに沿って部分P2から露出されていない。これにより、領域RGZ1の封止樹脂部10は、法線方向NDに沿って、接合部P2Jと配線部P2Cとに挟まれている。この結果、領域RGZ1は両端(図11(B)における上端および下端)が部分P2により拘束されている。これは、配線部P2Cの法線方向NNZが法線方向NDと逆向きの成分を有することによる。
なお、上記以外の構成については、上述した実施の形態1の構成とほぼ同じであるため、同一または対応する要素について同一の符号を付し、その説明を繰り返さない。
本実施の形態によれば、封止樹脂部10の領域RG(図11(A))は法線方向NDに沿って部分P2xによって挟まれていない。よって領域RGは自由に伸縮しやすく、電極リード56に応力を及ぼす作用が小さい。よって電極リード56が受ける応力が小さくなるので、半導体装置の疲労破壊の発生をより抑制することができる。
次に本実施の形態の効果を確認するために行なわれた応力シミュレーションの結果について説明する。このシミュレーションは、本実施の形態の電極リード56を有する半導体装置と、従来の電極リード51Z(図13および図14)を有する半導体装置との各々について行なわれた。電極リード51Zは、一方端EAZおよび他方端EBZを有する。一方端EAおよび他方端EBは両方とも分割されていない。図12は、本発明の実施の形態2における半導体装置における電極リードが受ける応力と、従来の半導体装置における電極リードが受ける応力とを示すグラフである。
図12を参照して、半導体装置の周囲温度が20℃から100℃まで80℃変化した場合、従来の半導体装置の電極接合部の応力が1とされると、本実施の形態の半導体装置の電極接合部の応力は0.88であった。すなわち熱応力が約12%緩和された。
今回開示された実施の形態はすべての点で例示であって制限的なものではないと考えられるべきである。本発明の範囲は上記した説明ではなくて特許請求の範囲によって示され、特許請求の範囲と均等の意味および範囲内でのすべての変更が含まれることが意図される。
本発明は、半導体素子を封止する封止樹脂部を有する半導体装置に特に有利に適用され得る。
本発明の実施の形態1における半導体装置の構成を概略的に示す斜視図である。 本発明の実施の形態1における半導体装置の封止樹脂部の内部の構成を概略的に示す斜視図である。 本発明の実施の形態1における半導体装置の電極リードの構成を概略的に示す斜視図である。 図3の線IV−IVに沿った概略断面図である。 本発明の実施の形態1の変形例における電極リードの構成を概略的に示す断面図である。 本発明の実施の形態1の変形例における電極リードと封止樹脂部との間の作用を説明する図(A)、および比較例における電極リードと封止樹脂部との間の作用を説明する図(B)である。 本発明の実施の形態1の他の変形例における電極リードおよび半導体素子の近傍を概略的に示す斜視図である。 図7の線VIII−VIIIに沿った概略断面図である。 本発明の実施の形態2における半導体装置の電極リードの構成を概略的に示す斜視図である。 図9の線X−Xに沿った概略断面図である。 本発明の実施の形態2における半導体装置における半導体素子および電極リードの近傍の様子を概略的に示す部分断面図(A)、および本発明の実施の形態1における半導体装置における半導体素子および電極リードの近傍の様子を概略的に示す部分断面図(B)である。 本発明の実施の形態2における半導体装置における電極リードが受ける応力と、従来の半導体装置における電極リードが受ける応力とを示すグラフである。 従来の電極リードの構成を概略的に示す斜視図である。 図13の線XIV−XIVに沿った概略断面図である。
符号の説明
1 ベース板、2 絶縁層、3 回路パターン、4,42 半導体素子、6 信号リード、7 信号端子、8 主端子、10 封止樹脂部、11 基板、51,52,56,57 電極リード、100 半導体装置。

Claims (3)

  1. 回路パターンが形成された主面を有する基板と、
    第1および第2の面を有し、前記第1の面と前記主面とが互いに面するように前記基板上に配置された半導体素子と、
    前記回路パターンに接合された一方端と、前記第2の面にハンダ接合された他方端とを有する電極リードとを備え、
    前記他方端は、互いに分割された複数の部分を有し、
    前記半導体素子および前記電極リードを封止する封止樹脂部をさらに備えた、半導体装置。
  2. 前記複数の部分の各々は、前記第2の面に接合された接合部と、前記接合部に対して前記第2の面に直交する方向に間隔を空けて配置された配線部と、前記接合部と前記配線部とを繋ぐ連結部とを有する、請求項1に記載の半導体装置。
  3. 前記封止樹脂部のうち前記第2の面の法線方向において前記複数の部分によって前記第2の面から隔てられている領域は、前記第2の面の法線方向に沿って前記複数の部分から露出されている、請求項1に記載の半導体装置。
JP2008166991A 2008-06-26 2008-06-26 半導体装置 Active JP4666185B2 (ja)

Priority Applications (3)

Application Number Priority Date Filing Date Title
JP2008166991A JP4666185B2 (ja) 2008-06-26 2008-06-26 半導体装置
US12/203,524 US7768118B2 (en) 2008-06-26 2008-09-03 Semiconductor device
DE102008050852.7A DE102008050852B4 (de) 2008-06-26 2008-10-08 Halbleitervorrichtung mit abdichtendem Harzabschnitt

Applications Claiming Priority (1)

Application Number Priority Date Filing Date Title
JP2008166991A JP4666185B2 (ja) 2008-06-26 2008-06-26 半導体装置

Publications (2)

Publication Number Publication Date
JP2010010330A true JP2010010330A (ja) 2010-01-14
JP4666185B2 JP4666185B2 (ja) 2011-04-06

Family

ID=41396874

Family Applications (1)

Application Number Title Priority Date Filing Date
JP2008166991A Active JP4666185B2 (ja) 2008-06-26 2008-06-26 半導体装置

Country Status (3)

Country Link
US (1) US7768118B2 (ja)
JP (1) JP4666185B2 (ja)
DE (1) DE102008050852B4 (ja)

Cited By (7)

* Cited by examiner, † Cited by third party
Publication number Priority date Publication date Assignee Title
WO2015125772A1 (ja) * 2014-02-24 2015-08-27 三菱電機株式会社 電極リードおよび半導体装置
CN110574159A (zh) * 2017-05-11 2019-12-13 三菱电机株式会社 功率模块、电力变换装置以及功率模块的制造方法
CN112236860A (zh) * 2018-06-12 2021-01-15 三菱电机株式会社 功率半导体模块以及电力变换装置
WO2021157045A1 (ja) * 2020-02-07 2021-08-12 三菱電機株式会社 半導体装置および半導体装置の製造方法
JP2024102810A (ja) * 2023-01-19 2024-07-31 ジェイエムジェイ コリア カンパニー リミテッド 半導体パッケージ及びその製造方法
WO2025088687A1 (ja) * 2023-10-24 2025-05-01 三菱電機株式会社 半導体装置
US12315838B2 (en) 2020-03-13 2025-05-27 Fuji Electric Co., Ltd. Wiring structure and semiconductor module

Families Citing this family (13)

* Cited by examiner, † Cited by third party
Publication number Priority date Publication date Assignee Title
JP5380376B2 (ja) * 2010-06-21 2014-01-08 日立オートモティブシステムズ株式会社 パワー半導体装置
USD653634S1 (en) * 2010-10-28 2012-02-07 Fuji Electric Co., Ltd. Semiconductor
USD653633S1 (en) * 2010-12-14 2012-02-07 Fuji Electric Co., Ltd. Semiconductor
JP2013016629A (ja) 2011-07-04 2013-01-24 Mitsubishi Electric Corp 半導体モジュール
EP2930747A1 (en) * 2014-04-07 2015-10-14 Nxp B.V. Lead for connection to a semiconductor device
JP6451747B2 (ja) * 2014-11-28 2019-01-16 富士電機株式会社 半導体装置
USD774479S1 (en) * 2014-11-28 2016-12-20 Fuji Electric Co., Ltd. Semiconductor module
JP6485257B2 (ja) * 2015-07-01 2019-03-20 富士電機株式会社 半導体装置及び半導体装置の製造方法
JP7001960B2 (ja) * 2018-03-23 2022-01-20 株式会社オートネットワーク技術研究所 回路構成体
CN115101498B (zh) * 2022-05-18 2025-03-14 华为数字能源技术有限公司 功率模块、电源系统、车辆及光伏系统
DE102022207848A1 (de) 2022-07-29 2023-11-16 Vitesco Technologies Germany Gmbh Kontaktierungselement für Leistungshalbleitermodule, Leistungshalbleitermodul und Inverter mit einem Kontaktierungselement
EP4362087A1 (en) * 2022-10-28 2024-05-01 Infineon Technologies AG Power semiconductor module arrangement
DE102022133982A1 (de) * 2022-12-19 2024-06-20 Semikron Danfoss GmbH Leistungsmodul

Citations (10)

* Cited by examiner, † Cited by third party
Publication number Priority date Publication date Assignee Title
JPH04336460A (ja) * 1991-05-14 1992-11-24 Fuji Electric Co Ltd 半導体装置
JPH04354362A (ja) * 1991-05-31 1992-12-08 Nippondenso Co Ltd 電気溶接に適したリード及び端子の構造
JPH10335553A (ja) * 1997-05-28 1998-12-18 Samsung Electro Mech Co Ltd 圧電素子3端子部品を有する電子部品
JP2002100716A (ja) * 2000-09-21 2002-04-05 Toshiba Corp 半導体装置の製造方法および半導体装置
JP2003258179A (ja) * 2002-02-28 2003-09-12 Sanyo Electric Co Ltd 半導体装置およびその製造方法
JP2004228461A (ja) * 2003-01-27 2004-08-12 Mitsubishi Electric Corp 半導体装置
JP2006202885A (ja) * 2005-01-19 2006-08-03 Mitsubishi Electric Corp 半導体装置
JP2007103810A (ja) * 2005-10-07 2007-04-19 Mitsubishi Electric Corp 半導体装置およびその製造方法
JP2007266608A (ja) * 2006-03-29 2007-10-11 Infineon Technologies Ag 半導体モジュール
JP2009141080A (ja) * 2007-12-05 2009-06-25 Toshiba Corp リードフレームおよび半導体装置

Family Cites Families (8)

* Cited by examiner, † Cited by third party
Publication number Priority date Publication date Assignee Title
JP2725954B2 (ja) * 1992-07-21 1998-03-11 三菱電機株式会社 半導体装置およびその製造方法
US5956231A (en) * 1994-10-07 1999-09-21 Hitachi, Ltd. Semiconductor device having power semiconductor elements
US5705848A (en) * 1995-11-24 1998-01-06 Asea Brown Boveri Ag Power semiconductor module having a plurality of submodules
JP2002359334A (ja) 2001-05-31 2002-12-13 Toyota Industries Corp 半導体装置の端子構造
JP2003264265A (ja) 2002-03-08 2003-09-19 Mitsubishi Electric Corp 電力用半導体装置
JP4455488B2 (ja) 2005-12-19 2010-04-21 三菱電機株式会社 半導体装置
JP4349364B2 (ja) 2005-12-26 2009-10-21 三菱電機株式会社 半導体装置
JP2007235004A (ja) * 2006-03-03 2007-09-13 Mitsubishi Electric Corp 半導体装置

Patent Citations (10)

* Cited by examiner, † Cited by third party
Publication number Priority date Publication date Assignee Title
JPH04336460A (ja) * 1991-05-14 1992-11-24 Fuji Electric Co Ltd 半導体装置
JPH04354362A (ja) * 1991-05-31 1992-12-08 Nippondenso Co Ltd 電気溶接に適したリード及び端子の構造
JPH10335553A (ja) * 1997-05-28 1998-12-18 Samsung Electro Mech Co Ltd 圧電素子3端子部品を有する電子部品
JP2002100716A (ja) * 2000-09-21 2002-04-05 Toshiba Corp 半導体装置の製造方法および半導体装置
JP2003258179A (ja) * 2002-02-28 2003-09-12 Sanyo Electric Co Ltd 半導体装置およびその製造方法
JP2004228461A (ja) * 2003-01-27 2004-08-12 Mitsubishi Electric Corp 半導体装置
JP2006202885A (ja) * 2005-01-19 2006-08-03 Mitsubishi Electric Corp 半導体装置
JP2007103810A (ja) * 2005-10-07 2007-04-19 Mitsubishi Electric Corp 半導体装置およびその製造方法
JP2007266608A (ja) * 2006-03-29 2007-10-11 Infineon Technologies Ag 半導体モジュール
JP2009141080A (ja) * 2007-12-05 2009-06-25 Toshiba Corp リードフレームおよび半導体装置

Cited By (13)

* Cited by examiner, † Cited by third party
Publication number Priority date Publication date Assignee Title
WO2015125772A1 (ja) * 2014-02-24 2015-08-27 三菱電機株式会社 電極リードおよび半導体装置
CN110574159B (zh) * 2017-05-11 2023-04-04 三菱电机株式会社 功率模块、电力变换装置以及功率模块的制造方法
CN110574159A (zh) * 2017-05-11 2019-12-13 三菱电机株式会社 功率模块、电力变换装置以及功率模块的制造方法
CN112236860A (zh) * 2018-06-12 2021-01-15 三菱电机株式会社 功率半导体模块以及电力变换装置
CN112236860B (zh) * 2018-06-12 2024-04-16 三菱电机株式会社 功率半导体模块以及电力变换装置
JP7267469B2 (ja) 2020-02-07 2023-05-01 三菱電機株式会社 半導体装置および半導体装置の製造方法
JPWO2021157045A1 (ja) * 2020-02-07 2021-08-12
WO2021157045A1 (ja) * 2020-02-07 2021-08-12 三菱電機株式会社 半導体装置および半導体装置の製造方法
US12334407B2 (en) 2020-02-07 2025-06-17 Mitsubishi Electric Corporation Semiconductor device and method of manufacturing semiconductor device
US12315838B2 (en) 2020-03-13 2025-05-27 Fuji Electric Co., Ltd. Wiring structure and semiconductor module
JP2024102810A (ja) * 2023-01-19 2024-07-31 ジェイエムジェイ コリア カンパニー リミテッド 半導体パッケージ及びその製造方法
JP7681920B2 (ja) 2023-01-19 2025-05-23 ジェイエムジェイ コリア カンパニー リミテッド 半導体パッケージ及びその製造方法
WO2025088687A1 (ja) * 2023-10-24 2025-05-01 三菱電機株式会社 半導体装置

Also Published As

Publication number Publication date
US7768118B2 (en) 2010-08-03
US20090321900A1 (en) 2009-12-31
JP4666185B2 (ja) 2011-04-06
DE102008050852B4 (de) 2015-06-03
DE102008050852A1 (de) 2010-01-07

Similar Documents

Publication Publication Date Title
JP4666185B2 (ja) 半導体装置
JP6012533B2 (ja) 電力用半導体装置
US9293400B2 (en) Package with terminal pins with lateral reversal point and laterally exposed free end
US20070262409A1 (en) Lead frame and semiconductor device using the same
US10163752B2 (en) Semiconductor device
CN103378042A (zh) 半导体封装模块
JP4686248B2 (ja) 光半導体装置、及び光半導体装置製造方法
JP2020038914A (ja) 半導体装置
US11094615B2 (en) Semiconductor apparatus including leads and bonding wires
CN110933900B (zh) 电气设备和散热器
JP5481104B2 (ja) 半導体装置
US20090130908A1 (en) Memory module, socket and mounting method providing improved heat dissipating characteristics
BR102018013849A2 (pt) Módulo semicondutor
JP2006332573A (ja) パワーモジュールのパッケージ構造
CN100461404C (zh) 半导体器件
JP5098301B2 (ja) 電力用半導体装置
JP5273265B2 (ja) 電力用半導体装置
CN111466158A (zh) 用于电机的控制器
CN110444536A (zh) 一种电力用逆变电路装置
JP6292066B2 (ja) 電力用半導体装置
JP7543735B2 (ja) 半導体モジュール
CN104064538B (zh) 具有构造为膜复合物的连接装置的功率组件
CN107431055A (zh) 半导体装置
JP7050487B2 (ja) 電子デバイス
JP5180495B2 (ja) 半導体装置およびその製造方法

Legal Events

Date Code Title Description
A621 Written request for application examination

Free format text: JAPANESE INTERMEDIATE CODE: A621

Effective date: 20100512

A131 Notification of reasons for refusal

Free format text: JAPANESE INTERMEDIATE CODE: A131

Effective date: 20100914

A521 Request for written amendment filed

Free format text: JAPANESE INTERMEDIATE CODE: A523

Effective date: 20101111

TRDD Decision of grant or rejection written
A01 Written decision to grant a patent or to grant a registration (utility model)

Free format text: JAPANESE INTERMEDIATE CODE: A01

Effective date: 20101214

A01 Written decision to grant a patent or to grant a registration (utility model)

Free format text: JAPANESE INTERMEDIATE CODE: A01

A61 First payment of annual fees (during grant procedure)

Free format text: JAPANESE INTERMEDIATE CODE: A61

Effective date: 20101228

FPAY Renewal fee payment (event date is renewal date of database)

Free format text: PAYMENT UNTIL: 20140121

Year of fee payment: 3

R150 Certificate of patent or registration of utility model

Free format text: JAPANESE INTERMEDIATE CODE: R150

Ref document number: 4666185

Country of ref document: JP

Free format text: JAPANESE INTERMEDIATE CODE: R150

R250 Receipt of annual fees

Free format text: JAPANESE INTERMEDIATE CODE: R250

R250 Receipt of annual fees

Free format text: JAPANESE INTERMEDIATE CODE: R250

R250 Receipt of annual fees

Free format text: JAPANESE INTERMEDIATE CODE: R250

R250 Receipt of annual fees

Free format text: JAPANESE INTERMEDIATE CODE: R250

R250 Receipt of annual fees

Free format text: JAPANESE INTERMEDIATE CODE: R250

R250 Receipt of annual fees

Free format text: JAPANESE INTERMEDIATE CODE: R250

R250 Receipt of annual fees

Free format text: JAPANESE INTERMEDIATE CODE: R250

R250 Receipt of annual fees

Free format text: JAPANESE INTERMEDIATE CODE: R250

R250 Receipt of annual fees

Free format text: JAPANESE INTERMEDIATE CODE: R250

R250 Receipt of annual fees

Free format text: JAPANESE INTERMEDIATE CODE: R250

R250 Receipt of annual fees

Free format text: JAPANESE INTERMEDIATE CODE: R250