JP2010005974A - チップホルダ及びホルダユニット - Google Patents

チップホルダ及びホルダユニット Download PDF

Info

Publication number
JP2010005974A
JP2010005974A JP2008169830A JP2008169830A JP2010005974A JP 2010005974 A JP2010005974 A JP 2010005974A JP 2008169830 A JP2008169830 A JP 2008169830A JP 2008169830 A JP2008169830 A JP 2008169830A JP 2010005974 A JP2010005974 A JP 2010005974A
Authority
JP
Japan
Prior art keywords
holder
scribing wheel
pin
hole
chip
Prior art date
Legal status (The legal status is an assumption and is not a legal conclusion. Google has not performed a legal analysis and makes no representation as to the accuracy of the status listed.)
Granted
Application number
JP2008169830A
Other languages
English (en)
Other versions
JP5332344B2 (ja
Inventor
Masao Yamamoto
正男 山本
Haruo Wakayama
治雄 若山
Current Assignee (The listed assignees may be inaccurate. Google has not performed a legal analysis and makes no representation or warranty as to the accuracy of the list.)
Mitsuboshi Diamond Industrial Co Ltd
Original Assignee
Mitsuboshi Diamond Industrial Co Ltd
Priority date (The priority date is an assumption and is not a legal conclusion. Google has not performed a legal analysis and makes no representation as to the accuracy of the date listed.)
Filing date
Publication date
Application filed by Mitsuboshi Diamond Industrial Co Ltd filed Critical Mitsuboshi Diamond Industrial Co Ltd
Priority to JP2008169830A priority Critical patent/JP5332344B2/ja
Priority to TW098118337A priority patent/TWI410312B/zh
Priority to TW100129926A priority patent/TWI471206B/zh
Priority to TW100129927A priority patent/TWI478799B/zh
Priority to KR1020090054836A priority patent/KR101092325B1/ko
Priority to CN2009101422851A priority patent/CN101618574B/zh
Priority to CN201210004288.0A priority patent/CN102514106B/zh
Priority to CN201210004286.1A priority patent/CN102555095B/zh
Publication of JP2010005974A publication Critical patent/JP2010005974A/ja
Priority to HK10105304.8A priority patent/HK1138538B/xx
Priority to KR1020110096307A priority patent/KR101173876B1/ko
Priority to KR1020110096304A priority patent/KR101173875B1/ko
Application granted granted Critical
Publication of JP5332344B2 publication Critical patent/JP5332344B2/ja
Expired - Fee Related legal-status Critical Current
Anticipated expiration legal-status Critical

Links

Images

Classifications

    • BPERFORMING OPERATIONS; TRANSPORTING
    • B28WORKING CEMENT, CLAY, OR STONE
    • B28DWORKING STONE OR STONE-LIKE MATERIALS
    • B28D7/00Accessories specially adapted for use with machines or devices of the preceding groups
    • BPERFORMING OPERATIONS; TRANSPORTING
    • B28WORKING CEMENT, CLAY, OR STONE
    • B28DWORKING STONE OR STONE-LIKE MATERIALS
    • B28D1/00Working stone or stone-like materials, e.g. brick, concrete or glass, not provided for elsewhere; Machines, devices, tools therefor
    • B28D1/22Working stone or stone-like materials, e.g. brick, concrete or glass, not provided for elsewhere; Machines, devices, tools therefor by cutting, e.g. incising
    • B28D1/225Working stone or stone-like materials, e.g. brick, concrete or glass, not provided for elsewhere; Machines, devices, tools therefor by cutting, e.g. incising for scoring or breaking, e.g. tiles
    • BPERFORMING OPERATIONS; TRANSPORTING
    • B28WORKING CEMENT, CLAY, OR STONE
    • B28DWORKING STONE OR STONE-LIKE MATERIALS
    • B28D1/00Working stone or stone-like materials, e.g. brick, concrete or glass, not provided for elsewhere; Machines, devices, tools therefor
    • B28D1/22Working stone or stone-like materials, e.g. brick, concrete or glass, not provided for elsewhere; Machines, devices, tools therefor by cutting, e.g. incising
    • B28D1/24Working stone or stone-like materials, e.g. brick, concrete or glass, not provided for elsewhere; Machines, devices, tools therefor by cutting, e.g. incising with cutting discs
    • CCHEMISTRY; METALLURGY
    • C03GLASS; MINERAL OR SLAG WOOL
    • C03BMANUFACTURE, SHAPING, OR SUPPLEMENTARY PROCESSES
    • C03B33/00Severing cooled glass
    • C03B33/02Cutting or splitting sheet glass or ribbons; Apparatus or machines therefor
    • C03B33/023Cutting or splitting sheet glass or ribbons; Apparatus or machines therefor the sheet or ribbon being in a horizontal position
    • C03B33/027Scoring tool holders; Driving mechanisms therefor

Landscapes

  • Engineering & Computer Science (AREA)
  • Mechanical Engineering (AREA)
  • Mining & Mineral Resources (AREA)
  • Chemical & Material Sciences (AREA)
  • Materials Engineering (AREA)
  • Organic Chemistry (AREA)
  • Processing Of Stones Or Stones Resemblance Materials (AREA)
  • Re-Forming, After-Treatment, Cutting And Transporting Of Glass Products (AREA)
  • Treatment Of Fiber Materials (AREA)

Abstract

【課題】スクライブラインの形成位置を安定させ、所望の位置からのずれが生じないようにすることを目的とする。
【解決手段】カッターホイール12Aの側面に貫通孔を形成し、かつ外周に沿って稜線をなす刃先を形成する。ホルダ11Aに、カッターホイール12Aを挿入するホルダ溝14を形成し、ホルダ溝14を直線状に貫通するピン孔15Aを形成する。表面にスパイラル溝が設けられた円柱部材であるピン13Aを、ピン孔15A及びカッターホイール12Aの貫通孔に挿入し、ホルダ溝14内でカッターホイール12Aを回転自在に保持してチップホルダ10Aを構成する。これによってスクライブ中のカッターホイール12Aは、ピン13Aに沿ってホルダ溝14の側面と接するところまで移動する。
【選択図】図5

Description

本発明は、脆性材料基板を分断するためのスクライブラインを形成するスクライブ装置のチップホルダ(スクライビングホイール用ホルダ)及びホルダユニット(チップホルダユニット)に関する。
脆性材料基板を所望の寸法にスクライブするためのスクライブ装置がある。スクライブ装置は、脆性材料基板と対向するスクライブヘッドにホルダユニットを備えており、ホルダユニットにはスクライビングホイールを有するチップホルダが取り付けられている。図1は、従来のチップホルダの構成を示す図である。図1(a)は正面図、図1(b)は側面図、図1(c)は下面を表す図である。チップホルダ100は、ホルダ101、スクライビングホイール102、及びピン103を有している。
図1に示すようにチップホルダ100の下部には、ホルダ溝104及びピン孔105が形成されている。スクライビングホイール102は円板状の部材であり、2つの円形の側面の中心を貫通する貫通孔、及びスクライビングホイール102の外周部に沿ったV字形の刃を有するものである。V字形の刃先は、スクライビングホイール102の外周に沿った稜線を形成している。稜線の両側の傾斜面(外周辺部)は、通常、90〜160°の角度(収束角)で相互に交差し稜線を形成する。ピン103は円柱形の部材であり、スクライビングホイール102の貫通孔及びホルダ101のピン孔105に挿入されて、スクライビングホイール102を回転自在に保持するものである。
チップホルダ100は、スクライビングホイール102をホルダ溝104内で保持し、ピン103をピン孔105、及びスクライビングホイール102の貫通孔に挿入して固定している。このようなチップホルダを備えるスクライブ装置として、特許文献1に示すものがある。
国際特許公開 WO2007/063979号公報
スクライビングホイールの厚みは例えば0.65mm程である。ホルダ溝の幅はスクライビングホイールの厚みよりも例えば0.02mm程広く、スクライビングホイールとホルダ溝との間にはクリアランスが確保されている。このクリアランスによりスクライビングホイールは、ホルダ溝内でピンに沿って0.02mm程度移動することができる。しかしクリアランスが設けられているため、スクライブラインの形成位置が安定せず所望の位置からずれる原因となっていた。
本発明は、このような従来のスクライブ装置において、スクライブラインの形成位置がずれるという問題点に鑑みてなされたものであって、スクライブラインの形成位置を安定させ、所望の位置からのずれが生じないようにすることを目的とする。
この課題を解決するために、本発明のチップホルダは、円板状であって中心に貫通孔を有し、円板外周部に沿ってV字形の稜線をなす刃先を形成する2つの曲面を有するスクライビングホイールと、前記スクライビングホイールを挿入するための一定の幅を持つホルダ溝、前記ホルダ溝の形成部を直線状に貫通するピン孔、及び前記ピン孔及び前記スクライビングホイールの貫通孔に挿入され、前記ホルダ溝内で前記スクライビングホイールを回転自在に保持するピンを有するホルダと、を具備し、前記スクライビングホイールの回転によって前記スクライビングホイールを前記ホルダ溝の一方の側面に移動させ当接させるものである。
ここで前記ピンは、円柱状であってその外周に沿って螺旋状の溝が設けられているようにしてもよい。
ここで前記ピンは、円柱状かつテーパー状としてもよい。
ここで前記ホルダのピン孔は、垂直から傾けて形成されるようにしてもよい。
ここで前記スクライビングホイールは、前記貫通孔を有する2つの側面の間で、厚さ方向の真中よりも一方の側面寄りにV字形の稜線をなす刃先を有するようにしてもよい。
ここで前記スクライビングホイールは、稜線面に垂直な面と前記一方の曲面とが交わってできる線の、前記稜線面に対する角度、及び前記稜線面に垂直な面と前記他方の曲面とが交わってできる線の、前記稜線面に対する角度とが、相互に異なるようにしてもよい。
ここで前記スクライビングホイールは、前記スクライビングホイールの貫通孔の壁面に沿って螺旋状の溝を有するようにしてもよい。
この課題を解決するために、本発明のホルダユニットは、前記のチップホルダと、前記チップホルダが取り付けられるホルダジョイントと、を有するホルダユニットであって、前記ホルダジョイントは、ベアリングと、前記ベアリングに取り付けられ、前記チップホルダのスクライビングホイールが前記ベアリングの中心軸から一定距離を隔てた位置に配置されるように前記チップホルダを保持する保持部と、を具備するものである。
このような特徴を有する本発明によれば、脆性材料基板上のスクライブラインの形成位置を安定させることができ、スクライブラインの形成精度のばらつきを解消することができる。
(第1の実施の形態)
本発明のチップホルダ及びホルダユニットの第1の実施の形態について図2〜図7を用いて説明する。図2は、本実施の形態のスクライブヘッド及びホルダユニットの構成を示す図である。スクライブヘッド1の下部には、チップホルダ10A及びホルダジョイント20からなるホルダユニットが取り付けられている。
図3及び図4は、チップホルダ及びホルダジョイントを示す図である。図3に示すようにチップホルダ10Aは、ホルダ11Aの上部を切り欠いてできた取付部、及びホルダ11Aの下部にスクライビングホイール12Aを有している。
次にホルダジョイント20は、図3及び図4に示すように、上部にベアリング21a、21bを有しており、下部がチップホルダを保持する保持部22となっている。ホルダジョイント20の保持部22には、図示のように円形の開口23が形成されており、その内側にマグネット24が埋設されている。又開口23の内部には中心軸から隔てた位置に中心軸と垂直な平行ピン25が設けられる。平行ピン25は円柱の部材であって、図示のようにホルダ11Aの取付部に接してチップホルダ10Aを位置決めするものである。
このチップホルダ10Aをホルダジョイント20に取付ける際には、図4に示すようにホルダジョイント20の開口23にチップホルダ10Aをその取付部から挿入する。そうすればチップホルダ10Aの先端部がマグネット24によって吸引され、更に取付部が平行ピン25に接触して位置決め固定される。
このようにホルダジョイント20に固定されたチップホルダ10Aは、ベアリング21a、21bの中心軸周りに保持部22とともに回転自在となる。通常、チップホルダ10Aのスクライビングホイール12Aの中心は、ベアリング21a、21bの中心軸から一定距離を隔てた位置にオフセットして配置される。このオフセットによって保持部22は、スクライブ中にスクライブの方向が変化しても、スクライビングホイール12Aが常にホルダジョイント20の移動方向に向かってベアリング21a、21bの中心軸の後方に位置するように、ベアリング21a、21bによって回転する。よって、スクライブ中のスクライビングホイール12Aは、一定の方向に回転する。
図5は、チップホルダ10Aの構成を簡便に示す図である。図5(a)は正面図、図5(b)は側面図、図5(c)は下面を示す図である。図中矢印で示すX軸方向は紙面水平方向を示し、Y軸方向は紙面上下方向を示す。図5(a)及び(b)のチップホルダ10Aは、上面及び下面がX軸方向と平行になるように描かれている。チップホルダ10Aは、ホルダ11A、スクライビングホイール12A、及びピン13Aを有している。
ホルダ11Aは、例えば金属で形成された円柱形の部材であって、図5(b)に示すように、上部の一部が切り欠かれてできた取付部を有している。図5(a)に示すように、ホルダ11Aはホルダ溝14を有している。ホルダ溝14は例えば幅約0.67mmであって、Y軸方向に平行に形成されている。さらにホルダ11Aはピン孔15Aを有している。ピン孔15Aは円形の貫通孔であって、X軸方向に平行にホルダ11Aを貫通してホルダ溝14と垂直に交差している。さらにピン孔15Aは、図5(a)の右端の開口付近に段部を有している。この段部によって、一方の開口は他方の開口よりも口径が小さくなっている。
スクライビングホイール12Aは、例えば焼結ダイヤモンドで形成された、例えば厚さ約0.65mmの円板状の部材であって、中心に貫通孔を有している。またスクライビングホイール12Aは、外周部に沿ってV字形の刃を有するものであり、V字形の刃先はスクライビングホイール12Aの外周に沿った稜線を形成し、スクライビングホイール12Aの厚さ方向の真中に位置している。稜線の両側の傾斜面(外周辺部)は、通常、90〜160°の角度(収束角)で相互に交差し稜線を形成する。
図6は、ピン13Aを示す図である。ピン13Aは、例えば、超硬合金等の金属、焼結ダイヤモンドで形成された円柱形の部材であって、一端が尖頭形状を有している。またピン13Aの表面には、螺旋状の溝が刻まれている。螺旋状の溝の溝幅及び溝の深さは、ともに例えば数μmとする。
スクライビングホイール12Aをホルダ溝14内に挿入して保持し、ピン13Aを尖頭形状の部分からピン孔15A、及びスクライビングホイール12Aの貫通孔に挿入する。ピン13Aの尖頭形状の部分が、ピン孔15Aの一方の開口付近にある段部と接するところでピン13Aをピン孔15Aに固定する。これによってスクライビングホイール12Aはピン13Aに回転自在に保持され、図5に示すチップホルダ10Aが得られる。
このチップホルダ10Aをホルダジョイントに取り付け、更にスクライブヘッドに固定して、スクライビングホイール12Aを脆性材料基板に当接させながらチップホルダ10Aを脆性材料基板と相対移動させると、スクライビングホイール12Aはチップホルダ10Aの移動にしたがって回転ながら脆性材料基板上を相対移動することとなり、脆性材料基板上にスクライブラインが形成される。このとき回転するスクライビングホイール12Aとピン13Aとの間で摺動摩擦力が発生し、この摺動摩擦力がピン13A表面のスパイラル溝から受ける影響によって、スクライビングホイール12Aはピン13Aに沿って図5(a)の右方向に移動する。移動したスクライビングホイール12Aは、図7に示すようにホルダ溝14の側面と接するところまで移動して、スクライブラインを形成し続ける。
本実施の形態では、スクライビングホイール12Aがホルダ溝14の側面と接すると、接していない側面との間に約0.02mmの隙間が生じるが、スクライビングホイール12Aが回転している間は、この状態が維持される。よってスクライビングホイール12Aのホルダ溝14内での位置が安定するので、スクライビングホイール12Aの進行方向に対する左右のぶれがなくなり、形成されるスクライブラインの位置が安定する。
なお、本実施の形態のスクライビングホイール12Aの貫通孔の内壁に、ピン13Aのような螺旋状の溝を刻んでもよい。スクライビングホイール12Aの回転方向を考慮して螺旋状の溝を刻む方向を決定すれば、より確実にスクライビングホイール12Aをホルダ溝14の側面と接する位置まで移動させ保持することができる。
また、スクライビングホイール12Aの貫通孔の内壁に螺旋状の溝を刻み、かつピン13Aの表面を平滑な状態にしてチップホルダ10Aを構成しても、本実施の形態と同じ効果を得ることができる。
(第2の実施の形態)
本発明の第2の実施の形態によるチップホルダについて図8〜図10を用いて説明する。本実施の形態によるスクライブヘッドの構成は、第1の実施の形態と同じである。図8は、本実施の形態によるチップホルダ10Bの構成を示す正面図である。チップホルダ10Bは、ホルダ11B、スクライビングホイール12A、及びピン13Bを有している。第1の実施の形態で用いられた構成要素と同じのものについては同一の符号を付している。
ホルダ11Bの構成は、第1の実施の形態のホルダ11Aとほぼ同じであり、ホルダ溝14及びピン孔15Bを有している。ピン孔15Bは、第1の実施の形態のピン孔15Aと同様にX軸方向に平行にホルダ11Bを貫通してホルダ溝14と垂直に交差するが、形状は第1の実施の形態のピン孔15Aとは異なっており、図8に示すようにテーパー状になっている。ホルダ11を貫通するピン孔15Bは、第1の実施の形態のピン孔15Aと同様に図8の右端の開口付近に段部を有している。
図9は、ピン13Bを示す図である。ピン13Bは、例えば、超硬合金等の金属製、焼結ダイヤモンド製等のテーパー状に形成された部材であって、径の小さな右端は尖頭形状である。ピン孔15Bの内径とピン13Bの外径とは、ピン13Bをピン孔15Bに隙間なく挿入することができる大きさとなっている。
これらホルダ11B、スクライビングホイール12A、及びピン13Bを用いてチップホルダ10Bを構成する。スクライビングホイール12Aをホルダ溝14内に挿入して保持し、ピン13Bをその尖頭形状の部分からピン孔15B、及びスクライビングホイール12Aの貫通孔に挿入する。ピン13Bの尖頭形状の部分が、ピン孔15Bの開口付近にある段部と接するところでピン13Bをピン孔15Bに固定する。これによってスクライビングホイール12Aはピン13Bに回転自在に保持され、図8に示すチップホルダ10Bが構成される。
このチップホルダ10Bをホルダジョイントに取り付け、更にスクライブヘッドに固定して、チップホルダ10Bのスクライビングホイール12Aを脆性材料基板に当接させながらチップホルダ10Bを脆性材料基板と相対移動させると、スクライビングホイール12Aはチップホルダ10Bの移動にしたがって回転ながら脆性材料基板上を相対移動することとなり、脆性材料基板上にスクライブラインが形成される。このとき回転するスクライビングホイール12Aは、図中右方向のピン13Bの径が小さな方向へ移動する。移動したスクライビングホイール12Aは、図10に示すようにホルダ溝14の側面と接するところまで移動して、スクライブラインを形成し続ける。
本実施の形態においてもスクライビングホイール12Aのホルダ溝14内での位置が安定するので、スクライビングホイール12Aの進行方向に対する左右のぶれがなくなり、形成されるスクライブラインの位置が安定する。
(第3の実施の形態)
本発明の第3の実施の形態によるチップホルダについて図11〜図13を用いて説明する。本実施の形態によるスクライブヘッドの構成は、第1の実施の形態と同じである。図11は、本実施の形態によるチップホルダ10Cの構成を示す正面図である。チップホルダ10Cは、ホルダ11C、スクライビングホイール12B、及びピン13Cを有している。第1の実施の形態で用いられた構成要素と同じのものについては同一の符号を付している。
ホルダ11Cの構成は、第1の実施の形態のホルダ11Aとほぼ同じであり、ホルダ溝14及びピン孔15Cを有している。ピン孔15Cは、第1の実施の形態のピン孔15Aと同様の円形の貫通孔であるが、図面左側から右側に向かってY軸方向上側に変位している。その結果ホルダ11Cの表面にある2つの開口のうち、図面右側の開口は図面左側の開口に比べてY軸方向上側に変位している。なお、ピン孔15Cは、第1の実施の形態のピン孔15Aと同様に2つの開口のうちの1つの開口付近に段部を有している。
ピン13Cは第1の実施の形態のピン13Aと同様の形状を有するものであるが、表面は螺旋状のスパイラル溝を有しておらず、図12に示すように平滑である。
スクライビングホイール12Bは、第1の実施の形態のスクライビングホイール12Aと同様の構成を有するものであるが、スクライビングホイール12Aの貫通孔よりも直径の大きい貫通孔を有している。この貫通孔によってスクライビングホイール12Bは、X軸方向に対して傾斜して配置されるピン13Cを貫通孔に通しても、スクライビングホイールを回転自在に保持することができる。
これらホルダ11C、スクライビングホイール12B、及びピン13Cを用いてチップホルダ10Cを構成する。スクライビングホイール12Bをホルダ溝14内で保持し、ピン13Cを尖頭形状を有する部分からピン孔15C、及びスクライビングホイール12Bの貫通孔に挿入する。ピン13Cの尖頭部分が、ピン孔15Cの開口付近にある段部と接するところでピン13Cをピン孔15Cに固定する。これによってスクライビングホイール12Bはピン13Cに回転自在に保持され、図11に示すチップホルダ10Cが構成される。
このチップホルダ10Cをホルダジョイントに取り付け、更にスクライブヘッドに固定して、チップホルダ10Cのスクライビングホイール12Bを脆性材料基板に当接させながらチップホルダ10Cを脆性材料基板と相対移動させると、スクライビングホイール12Bはチップホルダ10Cの移動にしたがって回転ながら脆性材料基板上を相対移動することとなり、脆性材料基板上にスクライブラインが形成される。このとき回転するスクライビングホイール12Bは、ピン13Cに沿ってY軸方向上側へ移動する。移動したスクライビングホイール12Bは、図13に示すようにホルダ溝14の側面と接するところまで図中右方向へ移動して、スクライブラインを形成し続ける。
本実施の形態においてもスクライビングホイール12Bのホルダ溝14内での位置が安定するので、スクライビングホイール12Bの進行方向に対する左右のぶれがなくなり、形成されるスクライブラインの位置が安定する。
(第4の実施の形態)
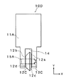
本発明の第4の実施の形態によるチップホルダについて図14〜図16を用いて説明する。本実施の形態によるスクライブヘッドの構成は、第1の実施の形態と同じである。チップホルダ10Dは、ホルダ11A、スクライビングホイール12C、及びピン13Cを有している。ホルダ11A、ピン13Cなど、第1及び第3の実施の形態で用いられた構成要素と同じものについては同一の符号を付している。
スクライビングホイール12Cは、例えば超硬合金、焼結ダイヤモンドで形成された部材である。スクライビングホイール12Cは、互いに合同な底面を有し且つ高さの異なる2つの円錐台を底面で重ね合わせた形状であり、対向する2つの円形の側面12a、12bと、円錐台の側面である曲面12c、12dを有している。側面12a、12bは、中心を貫く貫通孔を有している。曲面12c、12dはV字形の刃を形成しており、曲面12c、12dの接線には刃先の稜線が形成されている。この稜線は、図14に示すようにスクライビングホイール12Cの厚さ方向の真中ではなく側面12a寄りに形成されている。
図15は、スクライビングホイール12Cを側面12a、12bの貫通孔の中心軸を通る平面で切断したときの断面を、拡大して示す断面図である。図15は、曲面12c、12d、及び貫通孔を示している。破線は紙面背後に隠れた稜線である。図15の破線は、稜線を含む平面(図示せず、以下、稜線面という)の位置と一致している。この稜線面に垂直な面、即ち図15の紙面に平行な面と曲面12cとが交わる部分にできる線の、稜線面に対する角度を角度θ1とする。また、図15の紙面に平行な面と曲面12dとが交わる部分にできる線の、稜線面に対する角度を角度θ2とする。スクライビングホイール12Cは、角度θ1と角度θ2が等しくなるように構成されている。
なお、稜線面に垂直な面と曲面12c及び12dとが交わる部分にできる線は、少なくとも稜線面との交点部分では直線状であるので、角度θ1及び角度θ2を定義することができる。
これらホルダ11A、スクライビングホイール12C、及びピン13Cを用いてチップホルダ10Dを構成する。スクライビングホイール12Cをホルダ溝14内に挿入して保持し、ピン13Cをその尖頭形状を有する部分からピン孔15A、及びスクライビングホイール12Cの貫通孔に挿入する。ピン13Cは、尖頭部分がピン孔15Aの開口付近にある段部と接するところでピン孔15Aに固定される。これによってスクライビングホイール12Cはピン13Cに回転自在に保持され、図14に示すチップホルダ10Dが構成される。
このチップホルダ10Dをホルダジョイントに取り付け、更にスクライブヘッドに固定して、チップホルダ10Dのスクライビングホイール12Cを脆性材料基板に当接させながらチップホルダ10Dを脆性材料基板と相対移動させると、スクライビングホイール12Cはチップホルダ10Dの移動にしたがって回転ながら脆性材料基板上を相対移動することとなり、脆性材料基板上にスクライブラインが形成される。このとき回転するスクライビングホイール12Cは、刃先の稜線が厚さ方向の真中には無いため、ピン13Cに沿って稜線に近い側面の方向へ向かって移動する。移動したスクライビングホイール12Cは、図16に示すようにホルダ溝14の側面と接するところまで図中右側の側面12aの方向に移動して、スクライブラインを形成し続ける。
本実施の形態においてもスクライビングホイール12Cのホルダ溝14内での位置が安定するので、スクライビングホイール12Cの進行方向に対する左右のぶれがなくなり、形成されるスクライブラインの位置が安定する。
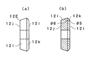
スクライビングホイール12Cの第1の変形例について説明する。図17(a)は、第1の変形例であるスクライビングホイール12Dを拡大して示す図である。スクライビングホイール12Dは、例えば超硬合金、焼結ダイヤモンドで形成された部材である。スクライビングホイール12Dは、互いに合同な底面を有し且つ高さの等しい2つの円錐台を底面で重ね合わせた形状であり、対向する2つの円状の側面12e、12fと、円錐台の側面である曲面12g、12hを有している。側面12e、12fは、中心に円筒状の貫通孔を有している。曲面12g、12hはV字形の刃を形成しており、曲面12g、12hの接線には刃先の稜線が形成されている。この稜線は、図17(a)に示すようにスクライビングホイール12Dの厚さ方向の真中に形成されている。
図17(b)は、スクライビングホイール12Dを側面12e、12fの貫通孔の中心軸を通る平面で切断したときの断面を、拡大して示す断面図である。図17(b)は、曲面12g、12h、及び貫通孔を示している。破線は紙面背後に隠れた稜線である。図17(b)の破線は、稜線面(図示せず)の位置と一致しており、稜線面に垂直な面と曲面12g、12hとが交わる部分にできる2本の線の、稜線面に対する角度をそれぞれ角度θ3、θ4とする。スクライビングホイール12Dは、角度θ3と角度θ4が異なるように構成されている。図17(b)では、θ3<θ4となっており、角度θ3と角度θ4は、例えば角度θ3を45°〜65°(例えば、55°)とし、角度θ4を55°〜75°(例えば、65°)とすることができる。
スクライブラインを形成する際に、スクライビングホイール12Dをスクライビングホイール12Cの代わりに用いても、スクライビングホイール12Dはピン13Cに沿って図面右側の側面12eの方向へ移動するので、スクライビングホイール12Cと同様の効果を得ることができる。
スクライビングホイール12Cの第2の変形例について説明する。図18(a)は、第2の変形例であるスクライビングホイール12Eを拡大して示す図である。スクライビングホイール12Eは、例えば超硬合金、焼結ダイヤモンドで形成された部材である。スクライビングホイール12Eは、互いに合同な底面を有し且つ高さの異なる2つの円錐台を底面で重ね合わせた形状であり、対向する2つの円状の側面12i、12jと、円錐台の側面である曲面12k、12lを有している。側面12i、12jは、中心に円筒状の貫通孔を有している。曲面12k、12lはV字形の刃を形成しており、曲面12k、12lの接線には刃先の稜線が形成されている。この稜線は、図18に示すようにスクライビングホイール12Eの厚さ方向の真中ではなく側面12i寄りに形成されている。
図18(b)は、スクライビングホイール12Eを側面12i、12jの貫通孔の中心軸を通る平面で切断したときの断面を、拡大して示す断面図である。図18(b)は、曲面12k、12l、及び貫通孔を示している。破線は紙面背後に隠れた稜線である。図18(b)の破線は、稜線面(図示せず)の位置と一致しており、稜線面に垂直な面と曲面12k、12lとが交わる部分にできる2本の線の、稜線面に対する角度をそれぞれ角度θ5、θ6とする。スクライビングホイール12Eは、角度θ5と角度θ6が異なるように構成されている。図18(b)では、θ5<θ6となっている。角度θ5と角度θ6は、例えば、角度θ5を45°〜65°(例えば、55°)とし、角度θ6を55°〜75°(例えば、65°)とすることができる。
スクライブラインを形成する際に、スクライビングホイール12Eをスクライビングホイール12Cの代わりに用いても、スクライビングホイール12Eはピン13Cに沿って図面右側の側面12iの方向へ移動するので、スクライビングホイール12Cと同様の効果を得ることができる。
なお、本実施の形態のスクライビングホイール12C〜12Eの貫通孔の内壁に、第1の実施の形態のピン13Aのような螺旋状の溝を刻んでもよい。これによって確実に、スクライビングホイール12C〜12Eをホルダ溝14の側面と接するところまで移動させることができる。
また、本実施の形態の平滑な表面のピン13Cの代わりに、第1の実施の形態のピン13Aを用いてもよい。これによって確実に、スクライビングホイール12C〜12Eをホルダ溝14の側面と接するところまで移動させることができる。
第1〜第4の実施の形態で例示したスクライビングホイールの厚み及びホルダ溝の幅は、この例示に限らず任意に選択できるものであることは言うまでもない。
第1〜第4の実施の形態によるチップホルダは、自動的に脆性材料基板をスクライブする自動スクライブ装置に限らず、脆性材料基板を手切りする脆性材料切断用カッターに取り付けて用いることもできる。
本発明は、スクライブ中のスクライビングホイールの位置を安定させることができるので、スクライブを自動で行うスクライブ装置や、脆性材料基板を手切りする脆性材料切断用カッターに用いることができる。
従来のチップホルダの構成を示す図である。 本発明の第1の実施の形態によるスクライブヘッドの構成を示す図である。 本発明の第1の実施の形態によるホルダユニットの構成を示す図である。 本発明の第1の実施の形態によるホルダジョイントにチップホルダを挿入するときの状態を示す図である。 本発明の第1の実施の形態によるチップホルダの構成を示す図である。 チップホルダに用いられるピンを示す図である。 本発明の第1の実施の形態によるチップホルダのスクライビングホイールの移動を示す図である。 本発明の第2の実施の形態によるチップホルダの構成を示す図である。 チップホルダに用いられるピンを示す図である。 本発明の第2の実施の形態によるチップホルダのスクライビングホイールの移動を示す図である。 本発明の第3の実施の形態によるチップホルダの構成を示す図である。 チップホルダに用いられるピンを示す図である。 本発明の第3の実施の形態によるチップホルダのスクライビングホイールの移動を示す図である。 本発明の第4の実施の形態によるチップホルダの構成を示す図である。 本発明の第4の実施の形態によるスクライビングホイール12Cの断面を拡大して示す図である。 本発明の第4の実施の形態によるチップホルダのスクライビングホイールの移動を示す図である。 本発明の第4の実施の形態の第1の変形例によるスクライビングホイール12D及びその断面を拡大して示す図である。 本発明の第4の実施の形態の第2の変形例によるスクライビングホイール12E及びその断面を拡大して示す図である。
符号の説明
1 スクライブヘッド
10A〜10D チップホルダ
11A〜11C ホルダ
12a、12b、12e、12f、12i、12j 側面
12c、12d、12g、12h、12k、12l 曲面
12A〜12E スクライビングホイール
13A〜13C ピン
14 ホルダ溝
15A〜15C ピン孔
20 ホルダジョイント

Claims (8)

  1. 円板状であって中心に貫通孔を有し、円板外周部に沿ってV字形の稜線をなす刃先を形成する2つの曲面を有するスクライビングホイールと、
    前記スクライビングホイールを挿入するための一定の幅を持つホルダ溝、前記ホルダ溝の形成部を直線状に貫通するピン孔、及び前記ピン孔及び前記スクライビングホイールの貫通孔に挿入され、前記ホルダ溝内で前記スクライビングホイールを回転自在に保持するピンを有するホルダと、を具備し、
    前記スクライビングホイールの回転によって前記スクライビングホイールを前記ホルダ溝の一方の側面に移動させ当接させるチップホルダ。
  2. 前記ピンは、円柱状であってその外周に沿って螺旋状の溝が設けられている請求項1に記載のチップホルダ。
  3. 前記ピンは、円柱状かつテーパー状である請求項1に記載のチップホルダ。
  4. 前記ホルダのピン孔は、垂直から傾けて形成された請求項1に記載のチップホルダ。
  5. 前記スクライビングホイールは、前記貫通孔を有する2つの側面の間で、厚さ方向の真中よりも一方の側面寄りにV字形の稜線をなす刃先を有する請求項1に記載のチップホルダ。
  6. 前記スクライビングホイールは、稜線面に垂直な面と前記一方の曲面とが交わってできる線の、前記稜線面に対する角度、及び前記稜線面に垂直な面と前記他方の曲面とが交わってできる線の、前記稜線面に対する角度とが、相互に異なる請求項1に記載のチップホルダ。
  7. 前記スクライビングホイールは、前記スクライビングホイールの貫通孔の壁面に沿って螺旋状の溝を有する請求項1〜6のいずれか1項に記載のチップホルダ。
  8. 請求項1〜7のいずれか1項に記載のチップホルダと、前記チップホルダが取り付けられるホルダジョイントと、を有するホルダユニットであって、
    前記ホルダジョイントは、
    ベアリングと、
    前記ベアリングに取り付けられ、前記チップホルダのスクライビングホイールが前記ベアリングの中心軸から一定距離を隔てた位置に配置されるように前記チップホルダを保持する保持部と、を具備するホルダユニット。
JP2008169830A 2008-06-30 2008-06-30 チップホルダ及びホルダユニット Expired - Fee Related JP5332344B2 (ja)

Priority Applications (11)

Application Number Priority Date Filing Date Title
JP2008169830A JP5332344B2 (ja) 2008-06-30 2008-06-30 チップホルダ及びホルダユニット
TW098118337A TWI410312B (zh) 2008-06-30 2009-06-03 Cutter wheel retainer and retainer unit
TW100129926A TWI471206B (zh) 2008-06-30 2009-06-03 Cutter retainer and retainer unit
TW100129927A TWI478799B (zh) 2008-06-30 2009-06-03 Cutter retainer and retainer unit
KR1020090054836A KR101092325B1 (ko) 2008-06-30 2009-06-19 팁 홀더 및 홀더 유닛
CN201210004288.0A CN102514106B (zh) 2008-06-30 2009-06-29 刀轮保持具
CN2009101422851A CN101618574B (zh) 2008-06-30 2009-06-29 刀轮保持具以及保持具单元
CN201210004286.1A CN102555095B (zh) 2008-06-30 2009-06-29 保持划线轮的圆柱状的销
HK10105304.8A HK1138538B (en) 2008-06-30 2010-05-31 Tip holder and holder unit
KR1020110096307A KR101173876B1 (ko) 2008-06-30 2011-09-23 팁 홀더
KR1020110096304A KR101173875B1 (ko) 2008-06-30 2011-09-23 스크라이빙 휠 보지용 핀

Applications Claiming Priority (1)

Application Number Priority Date Filing Date Title
JP2008169830A JP5332344B2 (ja) 2008-06-30 2008-06-30 チップホルダ及びホルダユニット

Related Child Applications (2)

Application Number Title Priority Date Filing Date
JP2011168216A Division JP5440809B2 (ja) 2011-08-01 2011-08-01 チップホルダ
JP2011168215A Division JP5440808B2 (ja) 2011-08-01 2011-08-01 ピン

Publications (2)

Publication Number Publication Date
JP2010005974A true JP2010005974A (ja) 2010-01-14
JP5332344B2 JP5332344B2 (ja) 2013-11-06

Family

ID=41512062

Family Applications (1)

Application Number Title Priority Date Filing Date
JP2008169830A Expired - Fee Related JP5332344B2 (ja) 2008-06-30 2008-06-30 チップホルダ及びホルダユニット

Country Status (4)

Country Link
JP (1) JP5332344B2 (ja)
KR (3) KR101092325B1 (ja)
CN (3) CN101618574B (ja)
TW (3) TWI471206B (ja)

Cited By (9)

* Cited by examiner, † Cited by third party
Publication number Priority date Publication date Assignee Title
JP2014503462A (ja) * 2011-05-13 2014-02-13 ハン,ジェスン 偏心補償用スクライバー装置
JP2014144888A (ja) * 2013-01-29 2014-08-14 Mitsuboshi Diamond Industrial Co Ltd スクライビングホイール用ピン、ホルダーユニット及びスクライブ装置
JP2017226108A (ja) * 2016-06-21 2017-12-28 三星ダイヤモンド工業株式会社 スクライブ装置およびホルダユニット
JP2018015903A (ja) * 2016-07-25 2018-02-01 三星ダイヤモンド工業株式会社 スクライブ方法並びにスクライブ装置
JP2019098606A (ja) * 2017-11-30 2019-06-24 三星ダイヤモンド工業株式会社 スクライビングホイール、このスクライビングホイールを備えるチップホルダ、支持ピン、およびこの支持ピンを備えるチップホルダ
CN109970330A (zh) * 2017-12-28 2019-07-05 三星钻石工业股份有限公司 划刻装置及划刻方法
JP2019177697A (ja) * 2019-05-31 2019-10-17 三星ダイヤモンド工業株式会社 スクライブ装置及びホルダユニット
JP2019217679A (ja) * 2018-06-19 2019-12-26 三星ダイヤモンド工業株式会社 ホルダユニットおよびスクライブ装置
JP2020196254A (ja) * 2019-05-30 2020-12-10 三星ダイヤモンド工業株式会社 ホルダユニットおよびピン

Families Citing this family (15)

* Cited by examiner, † Cited by third party
Publication number Priority date Publication date Assignee Title
JP5538090B2 (ja) * 2010-06-23 2014-07-02 株式会社ジャパンディスプレイ ガラスカッター
JP5323149B2 (ja) * 2011-08-19 2013-10-23 三星ダイヤモンド工業株式会社 ホイールユニット
TWI504576B (zh) * 2011-10-13 2015-10-21 Mitsuboshi Diamond Ind Co Ltd A holder, a holder unit and a scribing device
JP2013237135A (ja) * 2012-05-17 2013-11-28 Mitsuboshi Diamond Industrial Co Ltd スクライブ処理システム
JP5906148B2 (ja) * 2012-06-29 2016-04-20 三星ダイヤモンド工業株式会社 チップホルダ収納体
JP5894876B2 (ja) * 2012-06-29 2016-03-30 三星ダイヤモンド工業株式会社 チップホルダ収納体
JP2014008714A (ja) * 2012-06-29 2014-01-20 Mitsuboshi Diamond Industrial Co Ltd チップホルダ収納体
JP2014008711A (ja) * 2012-06-29 2014-01-20 Mitsuboshi Diamond Industrial Co Ltd チップホルダ及びチップホルダ収納セット
JP2014188729A (ja) * 2013-03-26 2014-10-06 Mitsuboshi Diamond Industrial Co Ltd スクライビングホイール、スクライブ装置及びスクライビングホイールの製造方法
CN104175304A (zh) * 2014-08-18 2014-12-03 爱佩仪中测(成都)精密仪器有限公司 一种自动调节的划线装置
JP6740606B2 (ja) * 2015-07-31 2020-08-19 三星ダイヤモンド工業株式会社 カッターホイール
KR102493911B1 (ko) * 2016-07-19 2023-01-31 이화다이아몬드공업 주식회사 팁 홀딩장치
JP2018020533A (ja) * 2016-08-05 2018-02-08 ファインテック株式会社 スクライブヘッド及びそれを備えたスクライブ装置
JP6936485B2 (ja) * 2017-12-27 2021-09-15 三星ダイヤモンド工業株式会社 スクライブ装置およびホルダユニット
TW202128579A (zh) * 2019-11-29 2021-08-01 日商三星鑽石工業股份有限公司 刀輪支持構造、保持具、保持具單元及保持具組件

Citations (9)

* Cited by examiner, † Cited by third party
Publication number Priority date Publication date Assignee Title
JPS5723452Y2 (ja) * 1977-02-14 1982-05-21
JPS5988428U (ja) * 1982-12-07 1984-06-15 三星ダイヤモンド工業株式会社 ガラス用切刃
JPS61150833U (ja) * 1985-03-08 1986-09-18
JPH07223828A (ja) * 1994-02-14 1995-08-22 Nippon Sheet Glass Co Ltd ガラス板の切断方法
JPH0985734A (ja) * 1995-09-27 1997-03-31 Nippon Sheet Glass Co Ltd ホイルカッタ
JPH09249427A (ja) * 1996-03-14 1997-09-22 Kawaguchiko Seimitsu Kk アーム揺動方式スクライブカッター
JPH09278474A (ja) * 1996-04-08 1997-10-28 Nippon Sheet Glass Co Ltd ガラスホイルカッタおよびガラス板切断方法
JP3370314B2 (ja) * 2000-08-04 2003-01-27 三星ダイヤモンド工業株式会社 脆性基板用カッターホイール
JP2007118355A (ja) * 2005-10-27 2007-05-17 Nagase Integrex Co Ltd スクライブ装置

Family Cites Families (25)

* Cited by examiner, † Cited by third party
Publication number Priority date Publication date Assignee Title
US3570336A (en) * 1968-10-23 1971-03-16 Red Devil Inc Holder for glass cutting wheel
CN2167868Y (zh) * 1993-06-29 1994-06-08 刘金成 斜侧式万向脚轮
CN2227026Y (zh) * 1995-07-14 1996-05-15 孔彦 一种新型挂图架
CN1079068C (zh) * 1998-12-31 2002-02-13 中国人民解放军海军航空技术学院 一种电瓶启动车的前轮收放装置
EP1179512B1 (en) * 2000-08-11 2011-12-28 Mitsuboshi Diamond Industrial Co., Ltd. Cutter wheel, apparatus and method for scribing brittle materials
US6393700B1 (en) * 2000-08-15 2002-05-28 Emerson Electric Co. Tube cutter
JP4948725B2 (ja) * 2000-12-05 2012-06-06 三星ダイヤモンド工業株式会社 チップホルダー
CN2498276Y (zh) * 2001-10-11 2002-07-03 郑觉生 可任意定位铰链
JP2003137575A (ja) * 2001-10-25 2003-05-14 Toyo Sangyo Kk ガラス切断用カッターホイールの支持装置およびガラス切断装置
JP2003171133A (ja) * 2001-12-04 2003-06-17 Toyo Sangyo Kk カッターホイルの支持装置
JP2004042423A (ja) * 2002-07-11 2004-02-12 Mitsuboshi Diamond Industrial Co Ltd スクライブ装置
CN100396448C (zh) * 2003-01-15 2008-06-25 Thk株式会社 划线装置
JP2004223799A (ja) * 2003-01-21 2004-08-12 Nikken Dia:Kk 脆性材料用のホイールカッター
KR100923680B1 (ko) * 2003-04-29 2009-10-28 엘지디스플레이 주식회사 액정 표시패널의 절단장치
US7676937B2 (en) * 2003-12-29 2010-03-16 Mitsuboshi Diamond Industrial Co., Ltd. Scribe head and scribe device
JP2005297523A (ja) * 2004-04-06 2005-10-27 Mitsuboshi Diamond Industrial Co Ltd カッターピン
CN1323817C (zh) * 2004-12-22 2007-07-04 孙春雨 一种能控制切割深度的刀轮
TWI449678B (zh) * 2005-12-01 2014-08-21 Mitsuboshi Diamond Ind Co Ltd Cutter wheel holder
KR100745577B1 (ko) * 2005-12-29 2007-08-03 주식회사 탑 엔지니어링 자기식 압력 조절 스크라이버
KR20070103188A (ko) * 2006-04-18 2007-10-23 주식회사 탑 엔지니어링 기판 스크라이브 장치
CN2937609Y (zh) * 2006-08-15 2007-08-22 南阳二机石油装备(集团)有限公司 螺纹紧固圆锥销轴
TWM312564U (en) * 2006-12-12 2007-05-21 Yan-Hau Chen Improvement structure for anchored reinforcing bar
TWM327871U (en) * 2007-09-11 2008-03-01 shu-lin Liu Improved structure of knife stage for cutting wheel
KR20090058806A (ko) * 2007-12-05 2009-06-10 주식회사 탑 엔지니어링 스크라이브 장치
KR101694311B1 (ko) * 2010-07-01 2017-01-09 주식회사 탑 엔지니어링 글래스 패널의 스크라이빙 장치 및 스크라이빙 방법

Patent Citations (9)

* Cited by examiner, † Cited by third party
Publication number Priority date Publication date Assignee Title
JPS5723452Y2 (ja) * 1977-02-14 1982-05-21
JPS5988428U (ja) * 1982-12-07 1984-06-15 三星ダイヤモンド工業株式会社 ガラス用切刃
JPS61150833U (ja) * 1985-03-08 1986-09-18
JPH07223828A (ja) * 1994-02-14 1995-08-22 Nippon Sheet Glass Co Ltd ガラス板の切断方法
JPH0985734A (ja) * 1995-09-27 1997-03-31 Nippon Sheet Glass Co Ltd ホイルカッタ
JPH09249427A (ja) * 1996-03-14 1997-09-22 Kawaguchiko Seimitsu Kk アーム揺動方式スクライブカッター
JPH09278474A (ja) * 1996-04-08 1997-10-28 Nippon Sheet Glass Co Ltd ガラスホイルカッタおよびガラス板切断方法
JP3370314B2 (ja) * 2000-08-04 2003-01-27 三星ダイヤモンド工業株式会社 脆性基板用カッターホイール
JP2007118355A (ja) * 2005-10-27 2007-05-17 Nagase Integrex Co Ltd スクライブ装置

Cited By (15)

* Cited by examiner, † Cited by third party
Publication number Priority date Publication date Assignee Title
JP2014503462A (ja) * 2011-05-13 2014-02-13 ハン,ジェスン 偏心補償用スクライバー装置
JP2014144888A (ja) * 2013-01-29 2014-08-14 Mitsuboshi Diamond Industrial Co Ltd スクライビングホイール用ピン、ホルダーユニット及びスクライブ装置
JP2017226108A (ja) * 2016-06-21 2017-12-28 三星ダイヤモンド工業株式会社 スクライブ装置およびホルダユニット
JP2018015903A (ja) * 2016-07-25 2018-02-01 三星ダイヤモンド工業株式会社 スクライブ方法並びにスクライブ装置
CN107650277A (zh) * 2016-07-25 2018-02-02 三星钻石工业股份有限公司 划线方法以及划线装置
TWI825041B (zh) * 2017-11-30 2023-12-11 日商三星鑽石工業股份有限公司 劃線輪、具備該劃線輪之刀片保持具、支持銷、及具備該支持銷之刀片保持具
JP2019098606A (ja) * 2017-11-30 2019-06-24 三星ダイヤモンド工業株式会社 スクライビングホイール、このスクライビングホイールを備えるチップホルダ、支持ピン、およびこの支持ピンを備えるチップホルダ
CN109970330A (zh) * 2017-12-28 2019-07-05 三星钻石工业股份有限公司 划刻装置及划刻方法
JP7075652B2 (ja) 2017-12-28 2022-05-26 三星ダイヤモンド工業株式会社 スクライブ装置およびスクライブ方法
JP2019121621A (ja) * 2017-12-28 2019-07-22 三星ダイヤモンド工業株式会社 スクライブ装置およびスクライブ方法
JP2019217679A (ja) * 2018-06-19 2019-12-26 三星ダイヤモンド工業株式会社 ホルダユニットおよびスクライブ装置
JP7109061B2 (ja) 2018-06-19 2022-07-29 三星ダイヤモンド工業株式会社 ホルダユニットおよびスクライブ装置
JP2020196254A (ja) * 2019-05-30 2020-12-10 三星ダイヤモンド工業株式会社 ホルダユニットおよびピン
JP7474475B2 (ja) 2019-05-30 2024-04-25 三星ダイヤモンド工業株式会社 ホルダユニットおよびピン
JP2019177697A (ja) * 2019-05-31 2019-10-17 三星ダイヤモンド工業株式会社 スクライブ装置及びホルダユニット

Also Published As

Publication number Publication date
CN102514106B (zh) 2014-12-10
TWI478799B (zh) 2015-04-01
JP5332344B2 (ja) 2013-11-06
KR101173876B1 (ko) 2012-08-14
CN102555095B (zh) 2015-09-16
KR20110110756A (ko) 2011-10-07
KR20110111353A (ko) 2011-10-11
CN101618574A (zh) 2010-01-06
CN102514106A (zh) 2012-06-27
KR101092325B1 (ko) 2011-12-09
KR20100003205A (ko) 2010-01-07
KR101173875B1 (ko) 2012-08-14
TW201213075A (en) 2012-04-01
TWI471206B (zh) 2015-02-01
TW201217129A (en) 2012-05-01
TWI410312B (zh) 2013-10-01
HK1138538A1 (en) 2010-08-27
CN101618574B (zh) 2012-03-07
TW201000278A (en) 2010-01-01
CN102555095A (zh) 2012-07-11

Similar Documents

Publication Publication Date Title
JP5332344B2 (ja) チップホルダ及びホルダユニット
JP5440808B2 (ja) ピン
JP4948725B2 (ja) チップホルダー
JP5257323B2 (ja) チップホルダユニット
JP5440809B2 (ja) チップホルダ
JP2018020533A (ja) スクライブヘッド及びそれを備えたスクライブ装置
KR102625913B1 (ko) 스크라이빙 휠, 이 스크라이빙 휠을 구비하는 칩 홀더, 지지 핀 및 이 지지 핀을 구비하는 칩 홀더
TWI652235B (zh) Holder, holder unit and scoring device
TWI576321B (zh) Engraving wheel retainer, retainer unit and scribing device
JP4960428B2 (ja) チップホルダユニット
JP6936485B2 (ja) スクライブ装置およびホルダユニット
JP5934050B2 (ja) ホルダー、ホルダーユニット及びスクライブ装置
HK1138538B (en) Tip holder and holder unit
JP5510525B2 (ja) チップホルダユニット及びホルダ
JP2014065173A (ja) チップホルダ及びチップホルダユニット
JP2012115991A (ja) スクライビングホイール
JP2011168410A (ja) 基板分断ユニット
KR20110047123A (ko) 팁 홀더 유닛

Legal Events

Date Code Title Description
A621 Written request for application examination

Free format text: JAPANESE INTERMEDIATE CODE: A621

Effective date: 20110210

A131 Notification of reasons for refusal

Free format text: JAPANESE INTERMEDIATE CODE: A131

Effective date: 20121107

A977 Report on retrieval

Free format text: JAPANESE INTERMEDIATE CODE: A971007

Effective date: 20121108

A521 Request for written amendment filed

Free format text: JAPANESE INTERMEDIATE CODE: A523

Effective date: 20121225

TRDD Decision of grant or rejection written
A01 Written decision to grant a patent or to grant a registration (utility model)

Free format text: JAPANESE INTERMEDIATE CODE: A01

Effective date: 20130702

A61 First payment of annual fees (during grant procedure)

Free format text: JAPANESE INTERMEDIATE CODE: A61

Effective date: 20130715

R150 Certificate of patent or registration of utility model

Ref document number: 5332344

Country of ref document: JP

Free format text: JAPANESE INTERMEDIATE CODE: R150

Free format text: JAPANESE INTERMEDIATE CODE: R150

LAPS Cancellation because of no payment of annual fees