JP2010003686A - 二次電池及びその製造方法 - Google Patents

二次電池及びその製造方法 Download PDF

Info

Publication number
JP2010003686A
JP2010003686A JP2009129151A JP2009129151A JP2010003686A JP 2010003686 A JP2010003686 A JP 2010003686A JP 2009129151 A JP2009129151 A JP 2009129151A JP 2009129151 A JP2009129151 A JP 2009129151A JP 2010003686 A JP2010003686 A JP 2010003686A
Authority
JP
Japan
Prior art keywords
case
secondary battery
conductive member
electrode assembly
electrode plate
Prior art date
Legal status (The legal status is an assumption and is not a legal conclusion. Google has not performed a legal analysis and makes no representation as to the accuracy of the status listed.)
Granted
Application number
JP2009129151A
Other languages
English (en)
Other versions
JP5306905B2 (ja
Inventor
Tae-Won Kim
泰元 金
有業 ▲ヒョン▼
Yoo-Eup Hyung
Current Assignee (The listed assignees may be inaccurate. Google has not performed a legal analysis and makes no representation or warranty as to the accuracy of the list.)
Samsung SDI Co Ltd
Original Assignee
Samsung SDI Co Ltd
Priority date (The priority date is an assumption and is not a legal conclusion. Google has not performed a legal analysis and makes no representation as to the accuracy of the date listed.)
Filing date
Publication date
Application filed by Samsung SDI Co Ltd filed Critical Samsung SDI Co Ltd
Publication of JP2010003686A publication Critical patent/JP2010003686A/ja
Application granted granted Critical
Publication of JP5306905B2 publication Critical patent/JP5306905B2/ja
Active legal-status Critical Current
Anticipated expiration legal-status Critical

Links

Images

Classifications

    • HELECTRICITY
    • H01ELECTRIC ELEMENTS
    • H01MPROCESSES OR MEANS, e.g. BATTERIES, FOR THE DIRECT CONVERSION OF CHEMICAL ENERGY INTO ELECTRICAL ENERGY
    • H01M50/00Constructional details or processes of manufacture of the non-active parts of electrochemical cells other than fuel cells, e.g. hybrid cells
    • H01M50/50Current conducting connections for cells or batteries
    • H01M50/528Fixed electrical connections, i.e. not intended for disconnection
    • BPERFORMING OPERATIONS; TRANSPORTING
    • B23MACHINE TOOLS; METAL-WORKING NOT OTHERWISE PROVIDED FOR
    • B23KSOLDERING OR UNSOLDERING; WELDING; CLADDING OR PLATING BY SOLDERING OR WELDING; CUTTING BY APPLYING HEAT LOCALLY, e.g. FLAME CUTTING; WORKING BY LASER BEAM
    • B23K26/00Working by laser beam, e.g. welding, cutting or boring
    • B23K26/20Bonding
    • B23K26/21Bonding by welding
    • HELECTRICITY
    • H01ELECTRIC ELEMENTS
    • H01MPROCESSES OR MEANS, e.g. BATTERIES, FOR THE DIRECT CONVERSION OF CHEMICAL ENERGY INTO ELECTRICAL ENERGY
    • H01M50/00Constructional details or processes of manufacture of the non-active parts of electrochemical cells other than fuel cells, e.g. hybrid cells
    • H01M50/50Current conducting connections for cells or batteries
    • H01M50/528Fixed electrical connections, i.e. not intended for disconnection
    • H01M50/529Intercell connections through partitions, e.g. in a battery casing
    • HELECTRICITY
    • H01ELECTRIC ELEMENTS
    • H01MPROCESSES OR MEANS, e.g. BATTERIES, FOR THE DIRECT CONVERSION OF CHEMICAL ENERGY INTO ELECTRICAL ENERGY
    • H01M50/00Constructional details or processes of manufacture of the non-active parts of electrochemical cells other than fuel cells, e.g. hybrid cells
    • H01M50/50Current conducting connections for cells or batteries
    • H01M50/531Electrode connections inside a battery casing
    • H01M50/534Electrode connections inside a battery casing characterised by the material of the leads or tabs
    • HELECTRICITY
    • H01ELECTRIC ELEMENTS
    • H01MPROCESSES OR MEANS, e.g. BATTERIES, FOR THE DIRECT CONVERSION OF CHEMICAL ENERGY INTO ELECTRICAL ENERGY
    • H01M50/00Constructional details or processes of manufacture of the non-active parts of electrochemical cells other than fuel cells, e.g. hybrid cells
    • H01M50/50Current conducting connections for cells or batteries
    • H01M50/531Electrode connections inside a battery casing
    • H01M50/536Electrode connections inside a battery casing characterised by the method of fixing the leads to the electrodes, e.g. by welding
    • BPERFORMING OPERATIONS; TRANSPORTING
    • B23MACHINE TOOLS; METAL-WORKING NOT OTHERWISE PROVIDED FOR
    • B23KSOLDERING OR UNSOLDERING; WELDING; CLADDING OR PLATING BY SOLDERING OR WELDING; CUTTING BY APPLYING HEAT LOCALLY, e.g. FLAME CUTTING; WORKING BY LASER BEAM
    • B23K2101/00Articles made by soldering, welding or cutting
    • B23K2101/36Electric or electronic devices
    • B23K2101/38Conductors
    • YGENERAL TAGGING OF NEW TECHNOLOGICAL DEVELOPMENTS; GENERAL TAGGING OF CROSS-SECTIONAL TECHNOLOGIES SPANNING OVER SEVERAL SECTIONS OF THE IPC; TECHNICAL SUBJECTS COVERED BY FORMER USPC CROSS-REFERENCE ART COLLECTIONS [XRACs] AND DIGESTS
    • Y02TECHNOLOGIES OR APPLICATIONS FOR MITIGATION OR ADAPTATION AGAINST CLIMATE CHANGE
    • Y02EREDUCTION OF GREENHOUSE GAS [GHG] EMISSIONS, RELATED TO ENERGY GENERATION, TRANSMISSION OR DISTRIBUTION
    • Y02E60/00Enabling technologies; Technologies with a potential or indirect contribution to GHG emissions mitigation
    • Y02E60/10Energy storage using batteries
    • YGENERAL TAGGING OF NEW TECHNOLOGICAL DEVELOPMENTS; GENERAL TAGGING OF CROSS-SECTIONAL TECHNOLOGIES SPANNING OVER SEVERAL SECTIONS OF THE IPC; TECHNICAL SUBJECTS COVERED BY FORMER USPC CROSS-REFERENCE ART COLLECTIONS [XRACs] AND DIGESTS
    • Y02TECHNOLOGIES OR APPLICATIONS FOR MITIGATION OR ADAPTATION AGAINST CLIMATE CHANGE
    • Y02PCLIMATE CHANGE MITIGATION TECHNOLOGIES IN THE PRODUCTION OR PROCESSING OF GOODS
    • Y02P70/00Climate change mitigation technologies in the production process for final industrial or consumer products
    • Y02P70/50Manufacturing or production processes characterised by the final manufactured product
    • YGENERAL TAGGING OF NEW TECHNOLOGICAL DEVELOPMENTS; GENERAL TAGGING OF CROSS-SECTIONAL TECHNOLOGIES SPANNING OVER SEVERAL SECTIONS OF THE IPC; TECHNICAL SUBJECTS COVERED BY FORMER USPC CROSS-REFERENCE ART COLLECTIONS [XRACs] AND DIGESTS
    • Y10TECHNICAL SUBJECTS COVERED BY FORMER USPC
    • Y10TTECHNICAL SUBJECTS COVERED BY FORMER US CLASSIFICATION
    • Y10T29/00Metal working
    • Y10T29/49Method of mechanical manufacture
    • Y10T29/49002Electrical device making
    • Y10T29/49108Electric battery cell making

Landscapes

  • Chemical & Material Sciences (AREA)
  • Chemical Kinetics & Catalysis (AREA)
  • Electrochemistry (AREA)
  • General Chemical & Material Sciences (AREA)
  • Physics & Mathematics (AREA)
  • Optics & Photonics (AREA)
  • Engineering & Computer Science (AREA)
  • Plasma & Fusion (AREA)
  • Mechanical Engineering (AREA)
  • Connection Of Batteries Or Terminals (AREA)
  • Sealing Battery Cases Or Jackets (AREA)
  • Secondary Cells (AREA)

Abstract

【課題】ケースとリードタップを連結する過程でケースの内部にスパッタが発生しないようにする二次電池及びその製造方法を提供すること。
【解決手段】前記二次電池は、電極組立体、電極組立体を収容するケース、ケースの内側に収容されて電極組立体とケースを電気的に連結させる少なくとも一つのリードタップ及びケースとリードタップを結合させる溶接部を含む。前記二次電池で、前記ケースはケース内部にスパッタを発生させないでリードタップに電気的に連結される。前記溶接部は、前記ケースの外部底表面から前記リードタップに延長されることを特徴とする。
【選択図】図1D

Description

本発明は、二次電池及びその製造方法に関する。
典型的なリチウムイオン二次電池で、電極組立体と電解質はケースに収容されて密封される。このようなリチウムイオン二次電池は、ケースの材質によって缶型リチウムイオン二次電池とパウチ型リチウムイオン二次電池に分けられる。
例えば、缶型リチウムイオン二次電池は、電極組立体と電極組立体の正極と陰極に電気的に連結される金属材質のケースを含んで形成される。前記電極組立体は、リードタップによってケースと電気的に連結される。ケースとリードタップの連結はある適正な方法によって行われて、主に抵抗溶接によって行われる。
しかし、前記抵抗溶接は溶接過程で電極組立体とケースのショートを誘発させる溶接スパッタ(spatter)が発生するという問題があった。
前記電極組立体とケースとの間の電気伝導性を増加させようとする場合に、たびたび二つ以上の部分的に重なるリードタップが使われる。このような場合に、抵抗溶接がそれぞれのリードタップをケースに連結させるためにたびたび遂行されるが、これは製造工程時間を増加させて製造工程を複雑にさせる。
さらに、前記ケースとリードタップとの間の抵抗溶接は、抵抗溶接過程で欠陷がある溶接結合を誘発するようになる。たびたび、前記リードを形成する材料は低い抵抗を有し、これは発生する熱を減少させて不十分な溶接を誘発するようになる。
そこで、本発明は、上記課題に鑑みてなされたものであり、本発明の目的とするところは、ケースと少なくとも一つのリードタップが連結される過程でケースの内部に残存物またはスパッタが発生されないようにする二次電池及びその製造方法を提供することにある。
また、本発明はケースと複数個のリードタップを連結する過程で工程段階の数が増加されないようにする二次電池及びその製造方法を提供することに他の目的がある。
また、本発明はケースと少なくとも一つのリードタップとの間の接触抵抗を考慮しなくても良い溶接性を有する溶接部が形成されることができる二次電池及びその製造方法を提供することにまた他の目的がある。
本発明にかかる二次電池は、導電性材料で形成されて、外部面を具備して内部空間を限定して、第1表面を具備する缶を含むケースを含む。また、前記二次電池は第1電極板と第2電極板及び前記第1電極板と第2電極板との間に配置されるセパレーターを具備して、前記ケースの内部空間に位置する電極組立体を含む。また、前記二次電池は第2電極板に結合される少なくとも一つの導電部材を含んで、前記少なくとも一つの導電部材は第1位置で前記第1表面に溶接されて、溶接部は前記ケースの外部から形成されることができる。また、前記溶接部は断面積が前記少なくとも一つの導電部材でより前記ケースの外部表面でさらに大きくて、ケースの内部に延長されて形成されることができる。
本発明にかかる二次電池の製造方法は、正極板と負極板及び前記正極板と負極板との間に位置するセパレーターを具備する電極組立体を提供する段階と少なくとも一つの導電部材を前記電極組立体に連結する段階を含むことができる。また、前記二次電池の製造方法は、前記正極板と負極板及びセパレーターを具備する前記電極組立体をケースの内部に位置させる段階と前記少なくとも一つの導電部材を前記ケースの第1表面に接触させる段階を含むことができる。また、前記二次電池の製造方法は、前記ケースを前記少なくとも一つの導電部材の第1段に溶接する段階を含んで、前記溶接部は前記ケースの外部面から形成されて、前記電極組立体にスパッタが流入されることを防止するようになされることができる。
以上説明したように本発明によれば、ケースとリードタップを連結する過程でケースの内部にスパッタが発生されないので、二次電池の安全性を向上することができる。
また、本発明によれば、ケースと複数個のリードタップを連結する過程で工程段階の数が増加されなくて、製造時間を短縮させることができる。
さらに、また、本発明によれば、ケースとリードタップとの間の接触抵抗を考慮しなくても良い溶接性を有する溶接部を形成して溶接不良を減少させることができる。
本発明の第1の実施形態にかかる二次電池の分解斜視図を示す。 本発明の第1の実施形態にかかる二次電池において、図1Aに示された二次電池が組み立てられた状態の斜視図を示す。 本発明の第1の実施形態にかかる二次電池において、図1Bに示された二次電池のI−I線を切開して断面図を示す。 本発明の第1の実施形態にかかる二次電池において、図1Cに示された1d領域を拡大して見た部分断面図を示す。 図1Dに示す本発明の第1の実施形態にかかる二次電池と比較した関連技術にかかる二次電池の部分断面図を示す。 本発明の第2の実施形態にかかる二次電池の部分断面図を示す。 本発明の第3の実施形態にかかる二次電池の部分断面図を示す。 本発明の第3の実施形態にかかる二次電池において、図3Aに示された二次電池の底面図を示す。 本発明の各実施形態にかかる二次電池製造方法の流れ図を示す。 本発明の各実施形態にかかる二次電池製造方法において、図4Aの二次電池製造方法の流れ図による工程図を示す。 本発明の各実施形態にかかる二次電池製造方法において、図4Aの二次電池製造方法の流れ図による工程図を示す。 本発明の各実施形態にかかる二次電池製造方法において、図4Aの二次電池製造方法の流れ図による工程図を示す。
以下に添付図面を参照しながら、本発明の好適な実施の形態について詳細に説明する。なお、本明細書及び図面において、実質的に同一の機能構成を有する構成要素については、同一の符号を付することにより重複説明を省略する。また、それぞれの実施例では同一又は類似な効果及び作用に対して重複して説明しないことにする。
図1Aは、本発明の第1の実施形態にかかる二次電池の分解斜視図である。図1Bは図1Aに示された二次電池が結合された状態の斜視図である。図1Cは図1Bに示された二次電池のI−I線による断面図である。図1Dは、図1Cに示された1d領域に対する部分拡大断面図である。図1Eは、図1Dに対応する比較例による二次電池の部分断面図である。
図1A〜図1Dに示されたところのように、本発明の一実施例による二次電池100は、電極組立体110、ケース120、リードタップ130及び溶接部140を含んで形成される。また、前記二次電池100は絶縁部材(isolation member)として上部絶縁板150と下部絶縁板160をさらに含んで形成される。
前記電極組立体110は、正極板111と負極板112及びセパレーター113を含んで形成される。前記セパレーター113は正極板111と負極板112との間に正極板111と負極板112を分離するために配置される。また、前記正極板111、セパレーター113及び負極板112はゼリー−ロール形態で巻取されて電極組立体110を形成する。前記電極組立体110の巻取中心部には通路110aが形成される。以下で前記正極板111は、第1電極板に、前記負極板112は、第2電極板に形成される。
前記正極板111は、正極集電体と正極活物質層から構成されている。前記正極活物質層はリチウムを含む層状化合物と、正極活物質粒子らの間の結合力を向上させるバインダー、正極活物質層の伝導性を向上させる導電材を含むことができる。前記正極集電体は、一般的にアルミニウムが使われて正極活物質層を支持する役割をするようになる。
前記負極板112は、陰極集電体と陰極活物質層とから構成される。前記陰極活物質層は、ハードカーボンまたは黒煙のようなカーボンと、陰極活物質粒子との間の結合力を向上させるバインダーを含むことができる。前記陰極集電体は一般的に銅が使われて、陰極活物質層を支持する役割をするようになる。
前記セパレーター113は、正極板111と負極板112との間に介されて正極板111と負極板112を絶縁させて、イオンらを通過させる。前記セパレーター113は一般的にポリエチレン(PE)またはポリプロピレン(PP)で形成されて、但し、ここでその材質を限定するものではない。
前記電極組立体110は、正極板111に付着した正極タップ114をさらに含んで形成されることができる。また、前記正極タップ114はサブ組立体122eと電気的に連結される。前記正極タップ114はニッケルまたはニッケルを含む合金のような電気伝導性金属で形成されることができる。
前記ケース120は、缶121と、キャップ組立体122を含んで形成される。本実施形態で、前記ケース120は電極組立体110を収容して密閉させる役割をする。また、前記ケース120は電解液(図示せず)を収容することができる。一方、前記ケース120は図面上で円筒状に示したが、前記ケース120は、本発明の技術的思想から脱することがなければ断面が多角形状または多数の他の形状で形成されることがあるというものとして理解されてもよい。
前記缶121は、外部面を具備して内部空間を限定して、底表面を具備するようになる。また、前記缶121は少なくとも一つの側壁と少なくとも一つの垂直表面を具備することができるし、少なくとも一つの垂直表面は少なくとも一つの側壁と垂直方向に形成されることができる。また、前記缶121の少なくとも一つの垂直表面は缶の底表面に形成されることができる。また、前記缶121は一端部に開口部121aが形成されて、開口部121aを通じて内部空間に電極組立体110を収容する。
前記缶121は、缶121の外周部に沿ってビーディング部121bが形成される。前記ビーディング部121bは絶縁ガスケット122dの下端と電極組立体110の上面の間で凹な構造を有するように内部方向に凹に入って行くように形成される。また、前記開口部121aは折曲部121cが形成されるように折曲される。前記折曲部121cは絶縁ガスケット122dの上部周囲表面と密着される。
前記缶121は、アルミニウムまたはステンレススチールのような伝導性金属材質で形成されて、リードタップ130のような導電部材130と電気的に連結される。また、前記下部絶縁板160は缶121の内部底表面に設置されて、電極組立体110の下部表面と缶121の内部底表面を電気的に絶縁させるようになる。
前記キャップ組立体122はキャップアップ122a、安全素子122b、安全ベント122c、絶縁ガスケット122dを含む。また、前記キャップ組立体122はサブ組立体122eをさらに含んで形成されることができる。前記キャップ組立体122は絶縁ガスケット122dによって缶121から電気的に絶縁される。
前記キャップアップ122aは、キャップアップ122aの中央で突き出される円形突出部122a1を含む。また、前記キャップアップ122aは円形突出部122a1の円形フレーム部にガスを排出するために形成される多数のガス排出ホール122a2を含む。前記キャップアップ122aはステンレススチールと同じ金属材質で形成されて、安全素子122bに電気的に連結されることができる。
前記安全素子122bは、キャップアップ122aと安全ベント122cとの間に配置される。前記安全素子122bは円形のリング形状で形成されてキャップアップ122aと安全ベント122cを電気的に連結させる。本実施形態にかかる二次電池の場合、前記安全素子122bはPTC素子で形成されることができる。前記安全素子122bは二次電池100の温度が臨界値以上に上昇される場合にキャップアップ122aと安全ベント122cとの間の電流を遮断して、二次電池100の過熱及び爆発を防止する。
前記安全ベント122cは、安全素子122bの下部に配置される。また、前記安全ベント122cは破断溝122c1が形成される。前記破断溝122c1は、二次電池100の内部圧力が特定臨界値で上昇する場合に破断される。このような破断で二次電池の内部ガスはガス排出ホール122a2を通じて排出されて、二次電池100の内部圧力の過度な増加による損傷または爆発から二次電池100を保護するようになる。
前記絶縁ガスケット122dは、外郭円周部の一部が折曲されてキャップアップ122aと安全素子122b及び安全ベント122cの外郭円周部を囲む。ここで、前記絶縁ガスケット122dは缶121に形成されるビーディング部121bと折曲部121cによって缶121と一体型で結合する。本実施形態にかかる二次電池の場合、前記絶縁ガスケット122dは、ポリエチレンテレフタレート(PET;Polyethylene Terephthalate)やポリエチレン(PE;Polyethylene)のような樹脂材質で形成されて、缶121とキャップ組立体122との構成要素を絶縁させるようになる。
前記サブ組立体122eは安全ベント122cの下部面に配置される。
本実施形態にかかる二次電池の場合、前記サブ組立体122eは絶縁プレート121e1と絶縁プレート121e1に密着されたメインプレート121e2及びメインプレート121e2に接続されたサブプレート121e3を含むことができる。
前記絶縁プレート122e1は、安全ベント122cとメインプレート122e2との間に配置されて、安全ベント122cとメインプレート122e2を絶縁させる。前記安全ベント122cは何の障害なしにサブプレート122e3と電気的に連結されることが必要である。このために、前記絶縁プレート122e1は、安全ベント122cとメインプレート122e2を絶縁させるためにメインプレート122e2の上面一部に形成される。
前記メインプレート121e2は、下部面にメインプレート121e2の直径より小さな直径を有する突出部が形成される。また、中央ホール122e4が突出部の間に形成される。前記メインプレート121e2に形成された中央ホール122e4の周辺には缶121の内部ガス排出を円滑にさせるためのガス通過ホール122e5らが形成される。
前記サブプレート122e3は、メインプレート121e2の中央ホール122e4を覆うようにメインプレート121e2の下部に結合されて、メインプレート121e2と電気的に連結される。また、前記サブプレート122e3は、安全ベント122cと電気的に連結されて、正極タップ114と電気的に連結される。
前記リードタップ130は、導電部材としてケース120に収容されて、電極組立体110の負極板112をケース120に電気的に連結させる。また、前記リードタップ130は電極組立体110の下部表面と缶121の内部底表面との間に挿入されるように折曲される。よって、前記リードタップ130は電極組立体110から缶121の側壁に平行に延長される第1部と、第1部から缶121の底表面に平行に延長される第2部を具備することができる。よって、前記リードタップ130の第1部は絶縁部材と側壁との間に位置するようになって、第2部は絶縁部材と缶121の底表面との間に位置することができる。ここで、前記絶縁部材は以下で説明する下部絶縁板であることができる。
前記リードタップ130は、伝導性金属材質で形成される。特に、前記リードタップ130はニッケル、銅、アルミニウム、ステンレススチール及びこれらの合金のうちで選択されるいずれか一つの材質でなされることができる。
前記缶121は、溶接部140によってリードタップ130に連結される。前記溶接部140は、缶121の第1表面から缶121とリードタップ130の第1位置まで形成される。ここで、前記第1表面は外部底表面であることができるし、前記第1位置は缶121とリードタップ130の接触位置であることができる。したがって、前記溶接部140は缶121の第1表面である外部底表面でレーザー溶接によって形成される。図示したように、前記溶接部140はリードタップ130が位置する缶120の外部表面断面積が内部表面の断面積より大きくなるように形成されることができる。
また、本実施形態にかかる二次電池で前記溶接部140が缶121の第1表面である底表面に形成されたが、前記溶接部140はキャップ組立体122のキャップアップ122aのような外部表面にも形成されることができる。すなわち、前記溶接部140はリードタップ130の結合位置によってケース120のどこに形成されてもよい。
前記溶接部140は、缶121の開口部121aと対向する面である底表面に形成される。前記缶121はリードタップ130によって負極板112と電気的に連結される。このような場合に、前記二次電池は他の二次電池と直列で連結されて高電圧のバッテリーパックを形成するようになる。例えば、前記缶121の底表面は他の二次電池らの正極と電気的に連結される。よって、前記溶接部140が底表面に形成された二次電池は他の二次電池と直列で連結される時、二次電池間の電気的な連結経路が最小化される。その結果、前記二次電池らの内部抵抗が減少されて、二次電池の発熱を防止するようになる。
前記上部絶縁板150は、電極組立体110の上部表面に位置する。前記上部絶縁板150は、電極組立体110の上部表面に位置して、サブ組立体122eと電極組立体110を絶縁させる役割をする。また、前記上部絶縁板150には中央に正極タップ通過ホール151が形成されて正極タップ114を通過させる。
前記下部絶縁板160は、電極組立体110の下部表面に配置される。前記下部絶縁板160は円形の板形状で形成されて、電極組立体110の底表面とリードタップ130との間を絶縁させる役割をする。
前記したところのような二次電池は、缶121の外部底表面でレーザー溶接が施行されて、リードタップ130が缶121に連結されるので安全性が向上する。図1Eを参照すると、図1Dの比較例による関連技術にかかる二次電池の部分断面図が示されている。図1Eを参照すると、関連技術にかかる二次電池で、抵抗溶接部140fは缶121とリードタップ130eが接触される領域に形成される。前記抵抗溶接部140fは次のような過程によって形成される。先ず、前記リードタップ130eと缶121を正極棒11aと陰極棒11bで利用して接触させる。前記正極棒11aと陰極棒11bを通じて電流が流れる時、リードタップ130eと缶121の接触領域のうちで接触抵抗が一番高い接触領域で熱が発生して、接触領域を溶融させるようになる。その結果、前記リードタップ130eは缶121の底面と結合するようになる。リードタップ130eは缶121との間で接触抵抗を高めるために複数個の突起130e1が形成される。前記突起130e1らは抵抗溶接でたびたび必要な追加的なスポット溶接を含んで、製造費用を増加させることができる。
前記抵抗溶接は、溶接方式の特性上抵抗溶接部140fでスパッタ(spatter)の発生を伴うようになる。前記スパッタは、リードタップ130eと缶121の接触領域(または、第1位置)が溶融される時に発生する熱い粒子で形成された火花である。前記スパッタは、電極組立体110の通路110aや電極組立体110の下部面に流入される。特に、前記スパッタが電極組立体110の通路110aに飛散されて流入される場合、電極組立体110のショートを誘発させて電極組立体110の安全性を低下させるようになる。また、前記スパッタ粒子はパーティクル(particle)形態で堅く固まって缶121の内部に残存するようになるので、電極組立体110の安全性に悪い影響を与えるようになる。
しかし、本発明の第1の実施形態にかかる二次電池は、レーザー溶接方式を利用するようになるので、抵抗溶接部の溶接方式とは違いスパッタの発生を抑えて安全性が向上する。さらに、本発明の第1の実施形態にかかる二次電池では前記溶接が缶121の外部底表面で施行されるので、溶接不良をより容易に肉眼で識別することができる。
図2は、本発明の第2の実施形態にかかる二次電池の部分断面図である。
図2を参照すると、本発明の第2の実施形態にかかる二次電池は、電極組立体110、ケース(一部図示)121、第1リードタップ231と第2リードタップ232及び、溶接部240を含んで形成される。前記電極組立体110及びケース(一部図示)121は以前の実施例で説明したところと同一であるので、ここで反復される説明は省略する。本実施形態にかかる二次電池では、リードタップら231、232と溶接部240について以下でより具体的に説明する。
前記第1リードタップ231及び第2リードタップ232は電極組立体110の負極板と電気的に連結される。この時、前記第1リードタップ231と第2リードタップ232は電極組立体110の両側に位置する第1面と第2面にそれぞれ結合されることができる。ここで、前記第1面と第2面は電極組立体110の外側でお互いに対向する任意の二つの面を意味することができる。一方、前記第1リードタップ231と第2リードタップ232は溶接部が形成される位置で部分的に互いに重なるように形成される。この場合、溶接部240は缶121の外部底表面(または、第1表面)で複数個のリードタップ231、232が互いに重なった位置(または、第1位置)まで延長される。前記溶接部240は、レーザー溶接によって形成される。よって、レーザーのエネルギーと照射時間を調節すると、缶121の外部底表面から複数個のリードタップが重なった部位まで溶接の深さを制御することができる。
レーザー溶接の結果によって、前記第1リードタップ231と第2リードタップ232が電極組立体110の負極板と電気的に連結されるので、電極組立体110と缶121が電気的に連結される。
前記第1リードタップ231は、ニッケル、銅、アルミニウム及びステンレススチールのうちで選択されたいずれか一つの材質でなされるか、またはこれらの合金でなされる。また、前記第2リードタップ232はニッケル、銅、アルミニウム及び、ステンレススチールのうちで選択されたいずれか一つの材質でなされるか、またはこれらの合金でなされる。前記溶接部240は、第1リードタップ231と第2リードタップ232の材質にかかわらずレーザー溶接によって形成されることができる。
前記リードタップ231、232は材質にかかわらず溶接前にお互いに部分的に重なることができる。例えば、前記第1リードタップ231と第2リードタップ232がそれぞれニッケルと銅で形成される時、これらは何の欠陷がなしにレーザー溶接によって溶接されることができる。結論として、前記溶接部240はリードタップ231、232の材質にかかわらず形成されることができる。
一方、図1Eを参照すると、前記抵抗溶接部140fは工程の特定上、一つのリードタップ130eと缶121の内側面を比較的簡単な方法によって形成することができる。抵抗溶接によって重なったリードタップ231、232を溶接しようとする場合には、その工程が非常に複雑になる。しかし、本実施例で前記溶接部240は、リードタップ231、232と缶121を互いに接触させた後、レーザー溶接によってリードタップ231、232らと缶121を非常に簡単な方法で結合させて形成することができる。
図3Aは、本発明のまた他の実施例による二次電池の部分断面図である。図3Bは図3Aに示された二次電池の底面図である。
図3A及び図3Bに示すように、本発明のまた他の実施例による二次電池は、電極組立体110、ケース(一部図示)121、第1リードタップ331、第2リードタップ332、第3リードタップ333、第4リードタップ334及び、溶接部340を含んで形成される。前記電極組立体110及びケース(一部図示)121は前の実施例で説明したところのように同一であるので、反復的な説明は省略する。本実施形態では、リードタップら331、332、333、334と溶接部340に対してより具体的に説明する。
図3Bに示すように、前記リードタップ331、332、333、334らは缶121の中央でお互いに部分的に重なって十字形状で形成される。前記リードタップ331、332、333、334らは電極組立体110の負極板112に一定な間隔で付着する。この時、前記電極組立体110はリードタップをそれぞれ付着する部分である第1側、第2側、第3側及び第4側を具備することができる。前記第1側、第2側、第3側及び第4側は、電極組立体110の外側で、一定角度でお互いに離隔される領域で限定されることができる。
前記溶接部340は、缶121の外部底表面にレーザーが照射されて形成される。その結果、前記リードタップ331、332、333、334は缶121の外部底表面から第1リードタップ331まで溶融されて缶121に固着する。
前記二次電池で前記缶121は、リードタップ331、332、333、334らによって電極組立体110と電気的になる。このような構造によって、前記電極組立体110は、缶121の下部面まで高出力のエネルギーを瞬間的に、またはほとんど瞬間的に放出することができる。瞬間的なエネルギー放出が可能なことは缶121の外部面でレーザー溶接によって複数個のリードタップ331、332、333、334らが缶121と電気的に連結されるからである。
本実施例で、前記レーザー溶接は複数個のリードタップ331、332、333、334を缶121と連結させるために、缶121の外部面で実施される。よって、前記レーザー溶接は、抵抗溶接に比べて非常に簡単な方法で溶接部を形成するために使われることができる。
図4Aは、本発明の一実施例による二次電池製造方法の流れ図である。図4B〜図4Dは、図4Aの二次電池製造方法の流れ図による工程図である。本実施例では前で図1A〜図1Dを参照して説明した二次電池を参照して説明する。
図4Aに示すように、本発明の一実施例で二次電池の製造方法は、リードタップ接触段階(S10)及びレーザー照射段階(S20)を含んで形成される。また、前記二次電池の製造方法は、正極板111と負極板112及び前記正極板111と負極板112との間に位置するセパレーター113を具備する電極組立体110を提供する段階と少なくとも一つの導電部材であるリードタップ130を電極組立体110に連結する段階をさらに含むことができる。但し、前記二つの段階は二次電池の製造において一般的な過程であるので、ここで詳細な説明は省略する。
前記リードタップ接触段階(S10)で、図4Bに示すように、前記リードタップ130は、一端部に開口部が形成された缶121の内部底表面に密着させる。この時、前記リードタップの接触段階(S10)前に前記電極組立体110を缶121の内部に位置させる段階があらかじめ遂行されることができる。また、このような場合にケース内部で電極組立体110の下部に絶縁部材である下部絶縁板160をあらかじめ位置させて、電極組立体110とリードタップ130との間を絶縁させるようになる。
前記リードタップ130は、缶121に収容された電極組立体110に連結される。図2〜図3Bに示すように、缶121の内部底表面に重なった複数個のリードタップ130が一つのリードタップ130の代わりに使われることができる。このような場合には前記複数個のリードタップ130がそれぞれ電極組立体110に連結される。また、前記複数個のリードタップは缶の内部底表面の溶接部が形成される位置でお互いに重なるように接触される。
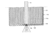
図4Cに示すように、前記リードタップ密着段階(S10)では、プッシャー13が缶121の内部に挿入されて、前記リードタップ130を缶121の内部底表面に密着させるようになる。また、前記リードタップ密着段階(S10)ではプッシャー130を使ってリードタップ130が缶121の内部底表面により強く密着されるようにする。すなわち、前記リードタップ密着段階(S10)は、リードタップ130に力を加える過程をさらに含むことができる。前記リードタップ130に力を加える過程は、リードタップ130の溶接過程でリードタップ130に力を加えてリードタップ130が缶121により強く密着されるようにする。前記プッシャー13は、電極組立体110の通路110aを通じて流入されて、リードタップ130と密着される。
前記レーザー照射段階(S20)は、図4Dに示すように、リードタップ130が密着された缶121の内部底表面の反対面である缶121の外部底表面にレーザーを照査する。
また、前記レーザー照射段階(S20)で、前記溶接はパルスレーザー溶接によって遂行されることができる。前記パルスレーザー溶接はシーム(seam)レーザー溶接またはロングパルス(longpulse)レーザー溶接であることができる。
前記シーム(seam)レーザー溶接の一周期で、オン(on)になる時間が0.1msecないし10msecであることがある。特に、前記オン(on)になる時間は、少なくとも0.1msecで調整して缶121とリードタップが充分に溶融されるようにして、10msec以下で調整して缶121が過度に溶融されて穴が形成されないようにする。前記シームレーザー溶接は良い成形性を有するレーザー溶接部を形成するために何回も施行されることができる。
また、前記ロングパルスレーザー溶接の一周期で、オン(on)になる時間が10msecないし50msecであることがある。特に、前記オン(on)になる時間は少なくとも10msecで調整して缶121とリードタップ130が充分に溶融されるようにして、50msec以下で調整して缶121が過度に溶融されて穴が形成されることを防止するようになる。前記ロングパルスレーザー溶接は、レーザー照射時間をシームレーザー溶接と違い長くして一回のレーザー照射だけで溶接部を形成することができる。
前記レーザーエネルギーは、1Jouleないし100Jouleの範囲内であることができる。すなわち、前記レーザーエネルギーは少なくとも1Jouleで調整してリードタップ130まで溶接部が形成されることができるようにして、100Joule以下で調整して缶121が過度に溶融されて穴が形成されることを防止するようになる。
この時、前記レーザーエネルギーの瞬間最大出力(peak output)は、1kwないし10kwの範囲内で形成されることができる。すなわち、前記レーザーエネルギーの瞬間最高出力は、少なくとも1kwで調整してリードタップ130まで溶接部が形成されることができるようにして、10kw以下で調整して缶121が過度に溶融されて穴が形成されることを防止するようになる。
本発明は、二次電池及びその製造方法に関するものであり、より詳細には、ケースとリードタップを連結する過程でケースの内部にスパッタが発生されないようにする二次電池及びその製造方法に関するものである。
以上、添付図面を参照しながら本発明の好適な実施形態について詳細に説明したが、本発明はかかる例に限定されない。本発明の属する技術の分野における通常の知識を有する者であれば、特許請求の範囲に記載された技術的思想の範疇内において、各種の変更例または修正例に想到し得ることは明らかであり、これらについても、当然に本発明の技術的範囲に属するものと了解される。
110 電極組立体
120 ケース
130、231、232、331、332、333、342 リードタップ
140、240、340 溶接部

Claims (20)

  1. 導電性材料で形成されて、外部面を具備しており、当該外部面に接して内部空間を形成する第1表面を具備する缶を含むケースと、
    第1電極板、第2電極板、及び前記第1電極板と第2電極板との間に配置されるセパレーターを具備して、前記ケースの内部空間に位置する電極組立体と、
    前記第2電極板に結合される少なくとも一つの導電部材と、
    前記少なくとも一つの導電部材は第1位置で前記第1表面に溶接されて、前記ケースと前記導電部材との間に形成される溶接部と、
    を含んで、
    前記溶接部は、前記ケースの外部から形成されることを特徴とする、二次電池。
  2. 前記缶の上部に位置して、前記第1電極板に結合されるキャップ組立体をさらに含んで、前記キャップ組立体は前記缶から電気的に絶縁されることを特徴とする、請求項1に記載の二次電池。
  3. 前記溶接部の断面は、前記導電部材で形成されており、前記ケースの外部表面に向かうに従い大きくなり、前記電極組立体にスパッタが流入されることを防止することを特徴とする、請求項1または2に記載の二次電池。
  4. 前記第1表面の第1位置をカバーする絶縁部材をさらに含むことを特徴とする、請求項1に記載の二次電池。
  5. 前記ケースと前記導電部材との間に形成される前記溶接部は、レーザー溶接によって形成されることを特徴とする、請求項1に記載の二次電池。
  6. 前記ケースは円筒形状であり、前記第1表面は底面であることを特徴とする、請求項1〜5のいずれか1項に記載の二次電池。
  7. 前記第1電極板は正極板であり、前記第2電極板は負極板であることを特徴とする、請求項1〜6のいずれか1項に記載の二次電池。
  8. 前記ケースは、少なくとも一つの側壁と少なくとも一つの垂直表面が形成されており、
    前記垂直表面は前記側壁と垂直であり、
    前記第1表面は、前記垂直表面であることを特徴とする、請求項1〜7のいずれか1項に記載の二次電池。
  9. 前記導電部材は前記側壁に平行に延長される第1部と前記垂直表面に平行に延長される第2部を具備するリードタップを含んで、
    前記リードタップの前記第1部は、前記絶縁部材と前記側壁の間に位置して、前記第2部は前記絶縁部材と前記垂直表面の間に位置することを特徴とする、請求項8に記載の二次電池。
  10. 前記リードタップは、ニッケル、銅、アルミニウム、ステンレススチール及び前記ニッケル、前記銅、前記アルミニウム、及び前記ステンレススチールの合金で形成されるグループから選択される材質で形成されることを特徴とする、請求項9に記載の二次電池。
  11. 前記電極組立体は第1面と第2面を具備して、
    前記導電部材は二つのリードタップを含んで、
    前記リードタップは、それぞれ前記電極組立体の前記第1面と前記第2面に結合されて、
    前記リードタップは、前記第1表面の第1位置で互いに重なって前記第1位置で前記ケースと共に溶接されることを特徴とする、請求項9または10に記載の二次電池。
  12. 前記電極組立体は、第1側、第2側、第3側、及び第4側を含んで、
    前記少なくとも一つの導電部材は前記第1側、前記第2側、前記第3側、及び前記第4側にそれぞれ結合される4個のリードタップを含んで、前記第1表面の第1位置でお互いに重なって前記ケースと共に前記第1位置で溶接されることを特徴とする、請求項9または10に記載の二次電池。
  13. 前記電極組立体は、円筒形状であることを特徴とする、請求項11または12に記載の二次電池。
  14. 正極板、負極板、及び前記正極板と前記負極板との間に位置するセパレーターを具備する電極組立体を提供する段階と、
    少なくとも一つの導電部材を前記電極組立体に連結する段階と、
    前記正極板と負極板及びセパレーターを具備する前記電極組立体をケースの内部に位置させる段階と、
    前記少なくとも一つの導電部材を前記ケースの第1表面に接触させる段階と、
    前記ケースを前記少なくとも一つの導電部材の第1段に溶接して、前記ケースと前記導電部材との間に溶接部を形成する段階と、
    を含んで、
    前記溶接部は、前記ケースの外部面から形成されて前記電極組立体にスパッタが流入されることを防止するようになされることを特徴とする、二次電池の製造方法。
  15. 前記少なくとも一つの導電部材を前記電極組立体に連結する段階は、複数個のリードタップを前記電極組立体に連結する過程を含んで、
    前記少なくとも一つの導電部材を接触させる段階は、複数個のリードタップを前記第1表面の第1位置でお互いに重なるようにする過程を含むことを特徴とする、請求項14に記載の二次電池の製造方法。
  16. 前記ケース内部に絶縁部材を位置させて前記電極組立体を絶縁させる段階をさらに含んで、
    前記絶縁部材は、前記少なくとも一つの導電部材が前記ケースに溶接される位置で前記少なくとも一つの導電部材と電極組立体との間に位置することを特徴とする、請求項14または15に記載の二次電池の製造方法。
  17. 前記ケースを前記少なくとも一つの導電部材に溶接する段階は、前記ケースを前記導電部材にレーザー溶接する過程を含むことを特徴とする、請求項14〜16のいずれかに記載の二次電池の製造方法。
  18. 前記ケースを前記少なくとも一つの導電部材にレーザー溶接する過程は、前記ケースの外部でレーザーエネルギーを照射する過程を含んで、
    前記レーザーエネルギーは、1〜100Jouleの間のエネルギーを有して、瞬間最大出力エネルギーが1〜10kwであることを特徴とする、請求項17に記載の二次電池の製造方法。
  19. 前記導電部材に力を加える段階をさらに含んで、前記導電部材に力を加える段階は、前記ケースの溶接過程で前記導電部材が前記ケースに密着されながら行われるようにすることを特徴とする、請求項14に記載の二次電池の製造方法。
  20. 前記導電部材に力を加える段階は、プッシャーを使って前記導電部材を前記ケースに強く接触させながら行われることを特徴とする、請求項19に記載の二次電池の製造方法。
JP2009129151A 2008-06-20 2009-05-28 二次電池及びその製造方法 Active JP5306905B2 (ja)

Applications Claiming Priority (4)

Application Number Priority Date Filing Date Title
US7455908P 2008-06-20 2008-06-20
US61/074559 2008-06-20
US12/270558 2008-11-13
US12/270,558 US8703327B2 (en) 2008-06-20 2008-11-13 Rechargeable battery and manufacturing method thereof

Publications (2)

Publication Number Publication Date
JP2010003686A true JP2010003686A (ja) 2010-01-07
JP5306905B2 JP5306905B2 (ja) 2013-10-02

Family

ID=41091963

Family Applications (1)

Application Number Title Priority Date Filing Date
JP2009129151A Active JP5306905B2 (ja) 2008-06-20 2009-05-28 二次電池及びその製造方法

Country Status (5)

Country Link
US (1) US8703327B2 (ja)
EP (1) EP2136425B1 (ja)
JP (1) JP5306905B2 (ja)
KR (1) KR101296944B1 (ja)
CN (1) CN101609903B (ja)

Cited By (11)

* Cited by examiner, † Cited by third party
Publication number Priority date Publication date Assignee Title
JP2012185912A (ja) * 2011-03-03 2012-09-27 Hitachi Vehicle Energy Ltd 円筒形二次電池
WO2015129154A1 (ja) * 2014-02-27 2015-09-03 三洋電機株式会社 電池及び電池の製造方法
JP2016173972A (ja) * 2015-03-18 2016-09-29 パナソニックIpマネジメント株式会社 密閉型電池及びその製造方法
WO2017085918A1 (ja) * 2015-11-19 2017-05-26 三洋電機株式会社 非水電解質二次電池
JP2019057520A (ja) * 2019-01-18 2019-04-11 パナソニックIpマネジメント株式会社 密閉型電池及びその製造方法
JPWO2019004039A1 (ja) * 2017-06-28 2020-04-30 三洋電機株式会社 電池及びその製造方法
WO2021167093A1 (ja) * 2020-02-19 2021-08-26 株式会社片岡製作所 溶接用治具及びレーザ加工機
US11139519B2 (en) 2017-08-30 2021-10-05 Sanyo Electric Co., Ltd. Sealed cell and method for manufacturing same
WO2022196442A1 (ja) 2021-03-17 2022-09-22 三洋電機株式会社 密閉電池
US11717916B2 (en) 2018-03-30 2023-08-08 Panasonic Energy Co., Ltd. Cylindrical battery and method of manufacturing same
WO2025047154A1 (ja) * 2023-08-31 2025-03-06 パナソニックIpマネジメント株式会社 円筒形電池

Families Citing this family (16)

* Cited by examiner, † Cited by third party
Publication number Priority date Publication date Assignee Title
KR100965683B1 (ko) * 2008-03-31 2010-06-24 삼성에스디아이 주식회사 배터리 팩
KR100971342B1 (ko) * 2008-06-03 2010-07-20 삼성에스디아이 주식회사 리튬 폴리머 전지
JP5767115B2 (ja) 2009-02-09 2015-08-19 ファルタ マイクロバッテリー ゲゼルシャフト ミット ベシュレンクテル ハフツング ボタン電池とそれを製造する方法
DE102009060800A1 (de) 2009-06-18 2011-06-09 Varta Microbattery Gmbh Knopfzelle mit Wickelelektrode und Verfahren zu ihrer Herstellung
KR20130053026A (ko) 2011-11-14 2013-05-23 삼성에스디아이 주식회사 이차전지
KR101416763B1 (ko) * 2012-12-31 2014-07-11 킴스테크날리지 주식회사 전기에너지 저장장치의 단자 및 이의 조립 방법
DE102013204341A1 (de) * 2013-03-13 2014-09-18 Robert Bosch Gmbh Sicherheitselement für Batteriezelle
CN105958109B (zh) * 2016-06-08 2019-02-01 惠州亿纬锂能股份有限公司 一种可充电硬壳锂离子电池
US11431046B2 (en) 2018-08-21 2022-08-30 Nio Technology (Anhui) Co., Ltd. Lithium-ion cell using aluminum can
KR102392543B1 (ko) * 2018-11-27 2022-04-28 주식회사 엘지에너지솔루션 전기 저항 용접 장치 및 이를 이용한 전지 제조 방법
CN111900275A (zh) 2020-08-04 2020-11-06 珠海冠宇电池股份有限公司 扣式电池及其制备方法
CN112768845B (zh) * 2021-04-09 2021-09-14 江苏时代新能源科技有限公司 电池单体及其制造方法和制造系统、电池以及用电装置
KR102792213B1 (ko) * 2021-05-11 2025-04-04 주식회사 엘지에너지솔루션 원통형 이차 전지 제조 방법
CN117397118A (zh) * 2021-07-07 2024-01-12 合肥国轩高科动力能源有限公司 圆柱形电池单元、电池和用于形成圆柱形电池单元的方法
CA3234294A1 (en) * 2021-10-14 2023-04-20 Min-Woo Kim Cylindrical secondary battery to which laser welding is applied and fabricating method thereof, battery pack and vehicle including the same
WO2023101422A1 (ko) * 2021-12-01 2023-06-08 주식회사 엘지에너지솔루션 저항이 감소된 원통형 전지

Citations (5)

* Cited by examiner, † Cited by third party
Publication number Priority date Publication date Assignee Title
JPH04162351A (ja) * 1990-10-25 1992-06-05 Toshiba Battery Co Ltd 円筒形電池の製造方法
JPH08293299A (ja) * 1995-04-24 1996-11-05 Matsushita Electric Ind Co Ltd 電池の製造法
JP2000285898A (ja) * 1999-03-31 2000-10-13 Nec Corp 非水電解液二次電池
JP2004158318A (ja) * 2002-11-07 2004-06-03 Matsushita Electric Ind Co Ltd 円筒形電池とその製造方法
JP2006324049A (ja) * 2005-05-17 2006-11-30 Sony Corp 非水電解質二次電池

Family Cites Families (26)

* Cited by examiner, † Cited by third party
Publication number Priority date Publication date Assignee Title
US1234567A (en) * 1915-09-14 1917-07-24 Edward J Quigley Soft collar.
JP3738136B2 (ja) 1998-08-31 2006-01-25 三洋電機株式会社 電池
JP2000331717A (ja) 1999-05-21 2000-11-30 Toshiba Corp 密閉二次電池の製造方法および密閉二次電池
JP2002352789A (ja) 2001-05-24 2002-12-06 Shin Kobe Electric Mach Co Ltd 二次電池
US7090945B2 (en) 2001-08-06 2006-08-15 Matsushita Electric Industrial Co., Ltd. Cell, connected-cell body, and battery module using the same
JP2004022363A (ja) 2002-06-17 2004-01-22 Sony Corp 非電解質二次電池
JP2004071266A (ja) 2002-08-05 2004-03-04 Sanyo Electric Co Ltd 非水電解液二次電池及びその製造方法
JP4184927B2 (ja) 2002-12-27 2008-11-19 三星エスディアイ株式会社 2次電池及びその製造方法
JP2004303618A (ja) 2003-03-31 2004-10-28 Mitsumi Electric Co Ltd 端子構造及び二次電池保護回路
DE10326906B4 (de) 2003-06-14 2008-09-11 Varta Automotive Systems Gmbh Akkumulator und Verfahren zur Herstellung einer dichten Kontaktklemmendurchführung
JP4175975B2 (ja) 2003-07-24 2008-11-05 三洋電機株式会社 電池およびその製造方法
US20050044691A1 (en) * 2003-08-25 2005-03-03 Charles Su Method for manufacturing a forged golf iron club head
JP4530333B2 (ja) 2003-11-14 2010-08-25 日立マクセル株式会社 密閉型電池
KR100614372B1 (ko) 2004-06-25 2006-08-21 삼성에스디아이 주식회사 원통형 리튬 이차 전지 및 그의 제조 방법
JP2006040775A (ja) 2004-07-29 2006-02-09 Tocad Energy Co Ltd 電池の組み合わせ構造
JP4718812B2 (ja) 2004-09-06 2011-07-06 Necエナジーデバイス株式会社 二次電池パック
KR100686807B1 (ko) 2005-03-25 2007-02-26 삼성에스디아이 주식회사 폴리머 배터리 팩 및 그 제조 방법
KR100686814B1 (ko) 2005-04-26 2007-02-26 삼성에스디아이 주식회사 폴리머 배터리 팩 및 그 제조 방법
KR100686815B1 (ko) 2005-04-26 2007-02-26 삼성에스디아이 주식회사 폴리머 배터리 팩 및 그 제조 방법
KR100816183B1 (ko) 2005-09-22 2008-03-21 삼성에스디아이 주식회사 보호회로기판에 형성된 홀에 끼워지는 도전성 탭을 갖는배터리 팩
KR100721831B1 (ko) 2005-10-17 2007-05-28 삼성전자주식회사 배터리 팩
KR100719730B1 (ko) 2005-12-29 2007-05-17 삼성에스디아이 주식회사 원통형 리튬 이차전지
KR101222301B1 (ko) 2006-03-28 2013-01-15 삼성에스디아이 주식회사 이차 전지
US20080220316A1 (en) * 2007-03-06 2008-09-11 Berkowitz Fred J End cap seal assembly for a lithium cell
KR100965683B1 (ko) 2008-03-31 2010-06-24 삼성에스디아이 주식회사 배터리 팩
KR100971342B1 (ko) 2008-06-03 2010-07-20 삼성에스디아이 주식회사 리튬 폴리머 전지

Patent Citations (5)

* Cited by examiner, † Cited by third party
Publication number Priority date Publication date Assignee Title
JPH04162351A (ja) * 1990-10-25 1992-06-05 Toshiba Battery Co Ltd 円筒形電池の製造方法
JPH08293299A (ja) * 1995-04-24 1996-11-05 Matsushita Electric Ind Co Ltd 電池の製造法
JP2000285898A (ja) * 1999-03-31 2000-10-13 Nec Corp 非水電解液二次電池
JP2004158318A (ja) * 2002-11-07 2004-06-03 Matsushita Electric Ind Co Ltd 円筒形電池とその製造方法
JP2006324049A (ja) * 2005-05-17 2006-11-30 Sony Corp 非水電解質二次電池

Cited By (18)

* Cited by examiner, † Cited by third party
Publication number Priority date Publication date Assignee Title
JP2012185912A (ja) * 2011-03-03 2012-09-27 Hitachi Vehicle Energy Ltd 円筒形二次電池
US10319979B2 (en) 2014-02-27 2019-06-11 Sanyo Electric Co., Ltd. Battery and method of manufacturing battery
WO2015129154A1 (ja) * 2014-02-27 2015-09-03 三洋電機株式会社 電池及び電池の製造方法
JP2015162326A (ja) * 2014-02-27 2015-09-07 三洋電機株式会社 電池及び電池の製造方法
JP2016173972A (ja) * 2015-03-18 2016-09-29 パナソニックIpマネジメント株式会社 密閉型電池及びその製造方法
US10468655B2 (en) 2015-11-19 2019-11-05 Sanyo Electric Co., Ltd. Nonaqueous electrolyte secondary batteries
JPWO2017085918A1 (ja) * 2015-11-19 2018-09-06 三洋電機株式会社 非水電解質二次電池
WO2017085918A1 (ja) * 2015-11-19 2017-05-26 三洋電機株式会社 非水電解質二次電池
JPWO2019004039A1 (ja) * 2017-06-28 2020-04-30 三洋電機株式会社 電池及びその製造方法
US11456513B2 (en) 2017-06-28 2022-09-27 Sanyo Electric Co., Ltd. Battery and method for producing the same
US11139519B2 (en) 2017-08-30 2021-10-05 Sanyo Electric Co., Ltd. Sealed cell and method for manufacturing same
US11717916B2 (en) 2018-03-30 2023-08-08 Panasonic Energy Co., Ltd. Cylindrical battery and method of manufacturing same
JP2019057520A (ja) * 2019-01-18 2019-04-11 パナソニックIpマネジメント株式会社 密閉型電池及びその製造方法
WO2021167093A1 (ja) * 2020-02-19 2021-08-26 株式会社片岡製作所 溶接用治具及びレーザ加工機
WO2022196442A1 (ja) 2021-03-17 2022-09-22 三洋電機株式会社 密閉電池
JPWO2022196442A1 (ja) * 2021-03-17 2022-09-22
JP7757390B2 (ja) 2021-03-17 2025-10-21 パナソニックエナジー株式会社 密閉電池
WO2025047154A1 (ja) * 2023-08-31 2025-03-06 パナソニックIpマネジメント株式会社 円筒形電池

Also Published As

Publication number Publication date
EP2136425B1 (en) 2020-02-12
US8703327B2 (en) 2014-04-22
EP2136425A1 (en) 2009-12-23
JP5306905B2 (ja) 2013-10-02
CN101609903B (zh) 2012-02-15
US20090317712A1 (en) 2009-12-24
KR101296944B1 (ko) 2013-08-14
CN101609903A (zh) 2009-12-23
KR20090132492A (ko) 2009-12-30

Similar Documents

Publication Publication Date Title
JP5306905B2 (ja) 二次電池及びその製造方法
KR102659830B1 (ko) 이차 전지 및 그 제조 방법
JP4401065B2 (ja) 二次電池及びその製造方法
JP5116235B2 (ja) 密閉型電池
JP7048859B2 (ja) 多層構造の電池ケースを有する二次電池及びその製造方法
JP4297367B2 (ja) 二次電池及びその製造方法
US10403862B2 (en) Battery
JP6699563B2 (ja) 蓄電素子
KR102553135B1 (ko) 배터리 팩 및 그 제조 방법
JP2020074286A (ja) 二次電池
JP6476941B2 (ja) 蓄電素子、蓄電素子を備えた蓄電装置、蓄電素子の製造方法、及び蓄電装置の製造方法
JP2009140870A (ja) 密閉電池用端子及び密閉電池
CN112368878B (zh) 二次电池
KR102642159B1 (ko) 이차 전지
US10797297B2 (en) Secondary battery
KR101711993B1 (ko) 퓨즈를 갖는 이차 전지
CN111081965A (zh) 电池和电池的制造方法
KR20180093838A (ko) 캡조립체 제조방법 및 그에 의한 캡조립체
US20250183430A1 (en) Electric battery
JP2002141099A (ja) 密閉電池
JP2020013706A (ja) 蓄電装置及び蓄電装置の製造方法
KR102716801B1 (ko) 캡 조립체 및 이를 포함하는 이차전지 제조 방법
JP5966904B2 (ja) 蓄電装置
JP7808280B2 (ja) 蓄電装置、及び蓄電装置の製造方法

Legal Events

Date Code Title Description
A977 Report on retrieval

Free format text: JAPANESE INTERMEDIATE CODE: A971007

Effective date: 20120123

A131 Notification of reasons for refusal

Free format text: JAPANESE INTERMEDIATE CODE: A131

Effective date: 20120131

A521 Request for written amendment filed

Free format text: JAPANESE INTERMEDIATE CODE: A523

Effective date: 20120426

RD03 Notification of appointment of power of attorney

Free format text: JAPANESE INTERMEDIATE CODE: A7423

Effective date: 20120426

A02 Decision of refusal

Free format text: JAPANESE INTERMEDIATE CODE: A02

Effective date: 20121225

A521 Request for written amendment filed

Free format text: JAPANESE INTERMEDIATE CODE: A523

Effective date: 20130418

A911 Transfer to examiner for re-examination before appeal (zenchi)

Free format text: JAPANESE INTERMEDIATE CODE: A911

Effective date: 20130520

TRDD Decision of grant or rejection written
A01 Written decision to grant a patent or to grant a registration (utility model)

Free format text: JAPANESE INTERMEDIATE CODE: A01

Effective date: 20130618

A61 First payment of annual fees (during grant procedure)

Free format text: JAPANESE INTERMEDIATE CODE: A61

Effective date: 20130626

R150 Certificate of patent or registration of utility model

Free format text: JAPANESE INTERMEDIATE CODE: R150

Ref document number: 5306905

Country of ref document: JP

Free format text: JAPANESE INTERMEDIATE CODE: R150

R250 Receipt of annual fees

Free format text: JAPANESE INTERMEDIATE CODE: R250

R250 Receipt of annual fees

Free format text: JAPANESE INTERMEDIATE CODE: R250

R250 Receipt of annual fees

Free format text: JAPANESE INTERMEDIATE CODE: R250

R250 Receipt of annual fees

Free format text: JAPANESE INTERMEDIATE CODE: R250

R250 Receipt of annual fees

Free format text: JAPANESE INTERMEDIATE CODE: R250

R250 Receipt of annual fees

Free format text: JAPANESE INTERMEDIATE CODE: R250

R250 Receipt of annual fees

Free format text: JAPANESE INTERMEDIATE CODE: R250

R250 Receipt of annual fees

Free format text: JAPANESE INTERMEDIATE CODE: R250

R250 Receipt of annual fees

Free format text: JAPANESE INTERMEDIATE CODE: R250

R250 Receipt of annual fees

Free format text: JAPANESE INTERMEDIATE CODE: R250