JP2006304559A - 変形構造体およびケーブルの支持装置 - Google Patents

変形構造体およびケーブルの支持装置 Download PDF

Info

Publication number
JP2006304559A
JP2006304559A JP2005125723A JP2005125723A JP2006304559A JP 2006304559 A JP2006304559 A JP 2006304559A JP 2005125723 A JP2005125723 A JP 2005125723A JP 2005125723 A JP2005125723 A JP 2005125723A JP 2006304559 A JP2006304559 A JP 2006304559A
Authority
JP
Japan
Prior art keywords
axis
deformable structure
cable
coupling
base
Prior art date
Legal status (The legal status is an assumption and is not a legal conclusion. Google has not performed a legal analysis and makes no representation as to the accuracy of the status listed.)
Granted
Application number
JP2005125723A
Other languages
English (en)
Other versions
JP4376822B2 (ja
Inventor
Takashi Harada
貴志 原田
Yuji Maeguchi
裕二 前口
Takahiro Inada
隆浩 稲田
Current Assignee (The listed assignees may be inaccurate. Google has not performed a legal analysis and makes no representation or warranty as to the accuracy of the list.)
Kawasaki Heavy Industries Ltd
Original Assignee
Kawasaki Heavy Industries Ltd
Priority date (The priority date is an assumption and is not a legal conclusion. Google has not performed a legal analysis and makes no representation as to the accuracy of the date listed.)
Filing date
Publication date
Family has litigation
First worldwide family litigation filed litigation Critical https://patents.darts-ip.com/?family=36763022&utm_source=google_patent&utm_medium=platform_link&utm_campaign=public_patent_search&patent=JP2006304559(A) "Global patent litigation dataset” by Darts-ip is licensed under a Creative Commons Attribution 4.0 International License.
Application filed by Kawasaki Heavy Industries Ltd filed Critical Kawasaki Heavy Industries Ltd
Priority to JP2005125723A priority Critical patent/JP4376822B2/ja
Priority to KR1020060036229A priority patent/KR100808308B1/ko
Priority to US11/408,001 priority patent/US7484351B2/en
Priority to EP06252180A priority patent/EP1714751B1/en
Priority to CNB2006100777858A priority patent/CN100445050C/zh
Publication of JP2006304559A publication Critical patent/JP2006304559A/ja
Application granted granted Critical
Publication of JP4376822B2 publication Critical patent/JP4376822B2/ja
Anticipated expiration legal-status Critical
Expired - Lifetime legal-status Critical Current

Links

Images

Classifications

    • FMECHANICAL ENGINEERING; LIGHTING; HEATING; WEAPONS; BLASTING
    • F16ENGINEERING ELEMENTS AND UNITS; GENERAL MEASURES FOR PRODUCING AND MAINTAINING EFFECTIVE FUNCTIONING OF MACHINES OR INSTALLATIONS; THERMAL INSULATION IN GENERAL
    • F16LPIPES; JOINTS OR FITTINGS FOR PIPES; SUPPORTS FOR PIPES, CABLES OR PROTECTIVE TUBING; MEANS FOR THERMAL INSULATION IN GENERAL
    • F16L3/00Supports for pipes, cables or protective tubing, e.g. hangers, holders, clamps, cleats, clips, brackets
    • F16L3/01Supports for pipes, cables or protective tubing, e.g. hangers, holders, clamps, cleats, clips, brackets for supporting or guiding the pipes, cables or protective tubing, between relatively movable points, e.g. movable channels
    • F16L3/015Supports for pipes, cables or protective tubing, e.g. hangers, holders, clamps, cleats, clips, brackets for supporting or guiding the pipes, cables or protective tubing, between relatively movable points, e.g. movable channels using articulated- or supple-guiding elements
    • BPERFORMING OPERATIONS; TRANSPORTING
    • B25HAND TOOLS; PORTABLE POWER-DRIVEN TOOLS; MANIPULATORS
    • B25JMANIPULATORS; CHAMBERS PROVIDED WITH MANIPULATION DEVICES
    • B25J19/00Accessories fitted to manipulators, e.g. for monitoring, for viewing; Safety devices combined with or specially adapted for use in connection with manipulators
    • B25J19/0025Means for supplying energy to the end effector
    • FMECHANICAL ENGINEERING; LIGHTING; HEATING; WEAPONS; BLASTING
    • F16ENGINEERING ELEMENTS AND UNITS; GENERAL MEASURES FOR PRODUCING AND MAINTAINING EFFECTIVE FUNCTIONING OF MACHINES OR INSTALLATIONS; THERMAL INSULATION IN GENERAL
    • F16GBELTS, CABLES, OR ROPES, PREDOMINANTLY USED FOR DRIVING PURPOSES; CHAINS; FITTINGS PREDOMINANTLY USED THEREFOR
    • F16G13/00Chains
    • F16G13/12Hauling- or hoisting-chains so called ornamental chains
    • F16G13/16Hauling- or hoisting-chains so called ornamental chains with arrangements for holding electric cables, hoses, or the like
    • FMECHANICAL ENGINEERING; LIGHTING; HEATING; WEAPONS; BLASTING
    • F16ENGINEERING ELEMENTS AND UNITS; GENERAL MEASURES FOR PRODUCING AND MAINTAINING EFFECTIVE FUNCTIONING OF MACHINES OR INSTALLATIONS; THERMAL INSULATION IN GENERAL
    • F16LPIPES; JOINTS OR FITTINGS FOR PIPES; SUPPORTS FOR PIPES, CABLES OR PROTECTIVE TUBING; MEANS FOR THERMAL INSULATION IN GENERAL
    • F16L3/00Supports for pipes, cables or protective tubing, e.g. hangers, holders, clamps, cleats, clips, brackets
    • F16L3/26Supports for pipes, cables or protective tubing, e.g. hangers, holders, clamps, cleats, clips, brackets specially adapted for supporting the pipes all along their length, e.g. pipe channels or ducts
    • FMECHANICAL ENGINEERING; LIGHTING; HEATING; WEAPONS; BLASTING
    • F16ENGINEERING ELEMENTS AND UNITS; GENERAL MEASURES FOR PRODUCING AND MAINTAINING EFFECTIVE FUNCTIONING OF MACHINES OR INSTALLATIONS; THERMAL INSULATION IN GENERAL
    • F16LPIPES; JOINTS OR FITTINGS FOR PIPES; SUPPORTS FOR PIPES, CABLES OR PROTECTIVE TUBING; MEANS FOR THERMAL INSULATION IN GENERAL
    • F16L57/00Protection of pipes or objects of similar shape against external or internal damage or wear
    • F16L57/02Protection of pipes or objects of similar shape against external or internal damage or wear against cracking or buckling
    • HELECTRICITY
    • H02GENERATION; CONVERSION OR DISTRIBUTION OF ELECTRIC POWER
    • H02GINSTALLATION OF ELECTRIC CABLES OR LINES, OR OF COMBINED OPTICAL AND ELECTRIC CABLES OR LINES
    • H02G11/00Arrangements of electric cables or lines between relatively-movable parts

Landscapes

  • Engineering & Computer Science (AREA)
  • General Engineering & Computer Science (AREA)
  • Mechanical Engineering (AREA)
  • Robotics (AREA)
  • Manipulator (AREA)
  • Electric Cable Arrangement Between Relatively Moving Parts (AREA)
  • Flexible Shafts (AREA)
  • Installation Of Indoor Wiring (AREA)

Abstract


【課題】 ケーブルの支持装置に用いられる変形構造体であって、強度を向上して、予め定める変形形状に維持することができる変形構造体を提供する。
【解決手段】 一方の基部102に設けられるスペーサ部材104が、他方の基部102に当接することによって、延在方向に隣接する各結合部の第1軸線が互いに傾斜し、変形構造体83を円弧状に延ばすことができる。スペーサ部材104が他方の基部102に当接した状態から、スペーサ部材104の両側の2つの基部102がさらに近接する方向の外力が与えられた場合、スペーサ部材104によって、両側の基部102が互いに近接することが阻まれる。このような外力が与えられたとしても、基部102とスペーサ部材104とに力が与えられるのみで、構造的に強度の弱い結合部に与えられる力を抑えることができる。これによって結合部102が破損することを防止することができ、変形構造体の強度83を向上することができる。
【選択図】 図1

Description

本発明は、可撓性を有するケーブルを支持するケーブル支持装置に用いられる変形構造体に関する。特に、ロボット用ケーブルを支持するケーブル支持装置に用いられる変形構造体に関する。
産業用ロボットは、アームの外周に沿ってケーブルが延びる。ケーブルの一端部はエンドエフェクタに接続され、他端部は動力源などの周囲装置に接続される。ケーブルは、エンドエフェクタに動力および指令を与えるための配線の束と、エンドエフェクタの動作に必要な流体を供給する配管の束とを含む。ケーブルは、産業用ロボットに設けられる複数のクランプ部材によって部分的に拘束される。
ロボットアームが、手首ひねり、手首曲げまたは手首回転の少なくともいずれかを行うなどして、ロボットの各軸が互いに相対変位する場合、各軸に設けられるクランプ部材の間の距離が変化する。これによってケーブルは、クランプ部材間で変形して、弛みまたは張りが生じる。ロボットの各軸が大きく変位すると、ケーブルが弛みすぎて周辺機器と干渉したり、ケーブルが張りすぎて破断したりするおそれがある。
ケーブルが不所望に変形することを防ぐケーブル支持装置が特許文献1に開示されている。特許文献1に開示されるケーブル支持装置は、固定部と水平旋回部とを有する駆動装置に設けられる。具体的には、固定部の外周に巻回して、立体空間内にU字形状に屈曲する帯状部材が取付けられる。この帯状部材の屈曲内面には角錐状のサポートブロックが多数密接配置される。ケーブルは、帯状部材に支持され、湾曲して弛んだ状態で固定部の外周を巻回する。固定部に対して水平旋回部が角変位した場合、ケーブルは、帯状部材とともに旋回軸線に近接した状態を保って変形し、不所望に変形することが防がれる。
また特許文献2に開示されるケーブル支持装置は、特許文献1に記載の帯状部材とサポートブロックとに換えて、チェーン部材が用いられる。チェーン部材は、ケーブルが挿通する円弧状の通路を形成する。各チェーン部材は、隣接するチェーン部材に対して予め定める方向に所定量角変位可能に形成される。このようなケーブル支持装置もまた、駆動装置に対してケーブルが離反することを防ぐ。
実公昭58−184293号公報 特開昭62−34795号公報
上述した各特許文献に示されるケーブル支持装置には、円弧状に形成されてケーブルを支持する変形構造体を有する。変形構造体は、駆動装置に設定される旋回軸線まわりに巻回して設けられる。そして変形構造体は、延在方向に並ぶ複数の角変位部分を有し、各角変位部分は、隣接する角変位部分に対して前記旋回軸線に平行な軸線まわりの角変位を防ぐとともに、前記旋回軸線に直交する軸線まわりの角変位を許容する。
特許文献1に開示されるケーブル支持装置は、自重によって変形構造体が変形することを防ぐために、変形構造体を下方から支持するリング状の支持部材を必要とする。このような支持部材が設けられることによって、装置が大形化してしまうという問題がある。また旋回軸線が水平に延びる場合には、変形構造体が予め定める姿勢を保つことができず、ケーブルの支持を行うことができない。
特許文献2に開示されるケーブル支持装置の変形構造体は、複数のチェーン要素がピンによってそれぞれ結合される。変形構造体は、自重に抗して予め定める曲率半径を維持するために、2つのチェーン要素を連結するピン嵌合部分に負荷がかかる。チェーン要素のピン嵌合部分は、2つのチェーン要素を互いに相対角変位する必要があるので、構造上強度が低く、ピン嵌合部分が破損しやすい。したがって変形構造体の自重を大きくすることができない。このことは、旋回軸線が水平に延びる場合、変形構造体を挿通するケーブルの自重が重い場合、変形構造体に大きい加速度が与えられる場合などにも同様の問題が発生する。
したがって本発明の目的は、強度を向上して、予め定める変形形状に確実に維持することができるケーブルの支持装置およびそれに用いられる変形構造体を提供することである。
本発明は、可撓性を有するケーブルを支持するケーブル支持装置に用いられ、略円弧長尺状に形成されて予め定める方向に所定量変形可能な変形構造体であって、
予め定める延在軸線に沿う延在方向に並んで互いに結合される結合部であって、結合される2つの結合部のうち一方の結合部が、他方の結合部に対して、一方の結合部に設定されて延在軸線に交差する第1軸線まわりに所定量の角変位が自在な複数の結合部と、
前記第1軸線に沿う第1方向に延びて、結合部が連なる基部と、
延在方向に隣接する2つの基部のうち、少なくとも一方の基部に設けられて第1方向に関して結合部と異なる位置から延在方向に突出する規制部であって、他方の基部に当接することで、延在方向に隣接する2つの基部にそれぞれ連なる各結合部の第1軸線が互いに傾斜する規制部とを含むことを特徴とする変形構造体である。
また本発明は、規制部は、結合部を挟んで基部の第1方向両側部分にそれぞれ設けられることを特徴とする。
また本発明は、結合される2つの結合部のうち一方の結合部が、他方の結合部に対して、前記第1軸線と延在軸線とに対して直交する第2軸線まわりに角変位自在に形成され、
規制部は、一方の基部に対して着脱可能に設けられることを含むことを特徴とする。
また本発明は、規制部のうちで他方の基部に対向する対向面は、前記第1軸線まわりに湾曲し、第1軸線からの距離が一定の曲率半径を有する曲面に形成されることを特徴とする。
また本発明は、他方の基部は、一方の基部に設けられる規制部が当接する当接部が形成され、当接部は、規制部が当接部に当接した状態で、延在軸線と第1軸線とを含んで構成される仮想平面に関して両側で、規制部に当接することを特徴とする。
また本発明は、規制部が他方の基部に接触した状態に維持する維持部材をさらに含むことを特徴とする。
また本発明は、第1駆動部と、前記第1駆動部に対して予め定められる旋回軸線まわりに相対角変位する第2駆動部とを含んで構成される駆動装置に設けられ、前記第1駆動部と前記第2駆動部とにわたって延びて、可撓性を有するケーブルを支持するケーブルの支持装置であって、
(a)前記第1駆動部に固定される第1固定部と、
(b)前記第2駆動部に固定され、第1固定部に対して前記旋回軸線の軸線方向に間隔をあけて配置される第2固定部と、
(c)前記変形構造体であって、延在方向一端部が第1固定部に固定され、延在方向他端部が第2固定部に固定されて、前記駆動装置の外周にそって湾曲して延び、各結合部分は、隣接する結合部に対して前記旋回軸線に平行な軸線まわりの角変位が規制部によって防がれるとともに、前記旋回軸線に直交する軸線まわりの所定量の角変位を許容する変形構造体と、
(d)ケーブルを変形構造体の延在軸線に沿って保持する保持部とを含むことを特徴とするケーブルの支持装置である。
請求項1記載の本発明によれば、複数の結合部が結合されることによって、延在方向に延びる長尺体を構成することができる。また各基部にそれぞれ設けられる規制部が、他方の基部にそれぞれ当接することによって、延在方向に隣接する各結合部の第1軸線が互いに傾斜する。各結合部の第1軸線が一定角度でそれぞれ傾斜することによって、複数の結合部が結合されて構成される長尺体を、予め定める許容曲率半径の円弧に沿って延ばすことができる。この状態で、一方の結合部を他方の結合部に対して第1軸線まわりに所定量角変位させることができる。
規制部が他方の基部に当接した状態において、変形構造体の許容曲率半径を超えて変形する方向の力、すなわち規制部の両側の2つの基部がさらに近接する方向の力が与えられた場合、規制部の両側の基部が互いに近接することが、規制部によって阻まれる。したがって規制部が他方の基部に当接した状態では、変形構造体が許容曲率半径を超えて変形することが阻止される。
このような外力が与えられたとき、規制部と結合部とが異なる位置に設けられるので、基部と規制部とに力が与えられ、構造的に強度の弱い結合部に大きな力が与えられることが防がれる。これによって変形構造体の許容曲率半径を超えて変更するような力が与えられたとしても、結合部が破損することを防止することができる。これによって変形構造体の強度を向上することができる。
このような本発明の変形構造体を、後述するケーブル支持装置に用いることによって、ケーブル支持装置が任意の姿勢に配置された場合であっても、別途支持部材を用いることなく、ケーブル支持装置を所望の変形状態に維持することができる。たとえば変形構造体に保持されるケーブルを、ロボットなどの駆動装置の外周面に近接配置させることができる。ここで本発明において、ケーブルは、可撓性を有する長尺物を意味する。たとえばケーブルは、電気配線および電力配線のほか、冷却水、塗料または作動流体などが流れる流体通路を形成するホースであってもよい。また本発明において円弧状とは、非直線形状、すなわち湾曲形状を意味し、楕円弧などの中心軸線まわりに延びる円弧以外の曲線であってもよい。
上述したように本発明の変形構造体は、その強度を向上することができる。したがって変形構造体がケーブル支持装置に用いられた場合、ケーブル支持装置の姿勢、変形構造体またはケーブルの自重が大きい場合、変形構造体に大きい加速度が与えられる場合など、変形構造体に与えられる外力が大きい場合であっても、予め定める姿勢に変形構造体を維持することができ、ケーブルを駆動装置の外周面に近接配置させることができる。
また請求項2記載の本発明によれば、結合部を挟んで基部の第1方向両側部分に規制部がそれぞれ設けられる。これによって変形構造体の許容曲率半径を超えて変形する方向の力が与えられた場合、結合部を挟んで第1方向両側に設けられるそれぞれの規制部と、基部とに力が与えられる。これによって結合部に与えられる力をさらに抑えることができる。したがって結合部が破損することをより確実に防止することができ、変形構造体の強度をさらに向上することができる。
また請求項3記載の本発明によれば、延在方向に隣接する2つの結合部は、規制部が外された状態では、一方の結合部が他方の結合部に対して第2軸線まわりに角変位することができる。規制部が一方の基部に装着された状態では、2つの基部が互いに近接する方向に角変位すると、2つの基部の間に配置される規制部が、隣接する2つの基部に当接する。このような状態では、2つの基部は、さらに近接する方向に変位することが阻止される。これによって2つの基部が設けられる2つの結合部もまた角変位が阻止される。このように規制部によって基部が近接する方向の角変位を阻止することで、変形構造体は、予め定める変形範囲で湾曲する形状に形成することができる。
規制部の大きさ、基部に規制部を装着する位置などを選択することによって、規制部が他方の基部に当接した状態における変形構造体の許容曲率半径を任意に設定することができる。このように許容曲率半径を設定することで、許容曲率半径を変更するために結合部および基部を変更する必要がない。したがって許容曲率半径の異なる変形構造体に対して、結合部および基部を共通化して、構成部品の汎用性を向上することができ、製造コストを低下することができる。
また請求項4記載の本発明によれば、規制部のうちで他方の基部に対向する対向面が、第1軸線からの距離が一定な曲率半径を有して第1軸線まわりに湾曲する。これによって規制部が他方の基部に当接した状態であっても、他方の結合部に対して一方の結合部を第1軸線まわりに滑らかに角変位させることができる。また規制部が他方の基部に当接した状態で一方の結合部を第1軸線まわりに角変位しても、2つの結合部に設定される第1軸線の傾斜を一定に保つことができる。たとえば規制部は、球体に形成されてもよく、円柱状に形成されてもよく、円錐状に形成されてもよい。
また請求項5記載の本発明によれば、延在軸線と第1軸線とを含む仮想平面に関して両側で、規制部と他方の基部とがそれぞれ当接する。これによって一方の結合部が、他方の結合部に対して、延在軸線まわりに角変位することを阻止することができる。したがって各結合部に沿ってケーブルを沿わせた場合、ケーブルが延在軸線まわりに捩れることを防ぐことができる。
また請求項6記載の本発明によれば、規制部が隣接する基部と接触した状態に維持する維持部材をさらに含む。これによって他方の基部が規制部と離れた状態で角変位することを防ぐことができ、一方の結合部が他方の結合部に対して、不所望に角変位することを防ぐことができる。
また請求項7記載の本発明によれば、ケーブル支持装置に上述する変形構造体が用いられる。変形構造体は、周方向に湾曲して弛んだ状態で駆動装置の外周に巻きついた状態で、駆動装置に対して旋回軸線の半径方向に離反することを防ぐ。たとえば旋回軸線が水平に延びる場合でも、変位規制部は、自重によって下方に垂れることを防ぐ。したがって変形構造体は、駆動装置に近接した近接姿勢を保つことことができる。
このことは、第2駆動部が第1駆動部に対して旋回軸線まわりに相対角変位する場合も同様である。変形構造体は、旋回軸線に直交する軸線まわりの変形を許容するので、変形構造体の延在方向一端部は、延在方向他端部に対して旋回軸線の周方向に相対変位可能となる。第2駆動部が第1駆動部に対して相対角変位すると、それにともなって第2固定部が第1固定部に対して旋回軸線まわりを相対角変位する。このとき変形構造体は、第1固定部と第2固定部との周方向位置関係の変化に追従して、延在方向一端部と延在方向他端部とが周方向にずれるように変形する。これによって変形構造体は、駆動装置から離反することなく変形する。
また保持部によって変形構造体にケーブルが保持されることで、変形構造体とともにケーブルが弛んだとしても、ケーブルが駆動装置から離反することが防がれる。また駆動装置に対して、周囲の装置とケーブルとが衝突することを防ぐとともに、駆動装置の動作をケーブルが妨げることを防ぐことができる。またケーブルに過度の張りが生じることを防ぐことができ、ケーブルの損傷を防ぐことができる。
またケーブルの支持装置は、上述した変形構造体によってケーブルを支持することで、変形構造体を支持する機構を必要とすることなく、支持装置の構造を簡単化することができる。たとえば変形構造体を支持する支持部材をなくすることで、支持装置の大形化を防ぐことができる。また支持部材とケーブルとが摺接することがないので、ケーブルの損傷を防ぐことができる。また変形構造体の強度を向上できるので、ケーブルの支持装置の姿勢、移動速度、支持するケーブルの重量などによって変形構造体に与えられる外力が大きい場合であっても、破損することを防いで、駆動装置に近接した状態でケーブルを支持することができる。
図1は、本発明の実施の一形態である変形構造体83の一部を示す斜視図である。本発明の実施の一形態の変形構造体83は、略円弧長尺状に形成される。変形構造体83は、予め定める変形許容方向に関する変形を所定量許容し、予め定める変形阻止方向に関する変形を阻止する。また変形構造体83は、後述するケーブル支持装置の一部を構成する。ケーブル支持装置は、ロボットなどの駆動装置の外周に沿って延びるケーブルを支持する装置である。
変形構造体83は、予め定める曲率半径を有する円弧状に形成され、予め定める延在軸線Xに沿う延在方向Sに並ぶ複数の角変位部分100を有する。角変位部分100は、延在方向Sに等間隔に並んで配置され、隣接する角変位部分100が互いに連結される。延在方向Sに隣接する2つの角変位部分100のうち、一方の角変位部分100は、一方の角変位部分100に設定される角変位点Pまわりに、他方の角変位部分100に対して、予め定める許容範囲内で角変位可能に形成される。これによって複数の角変位部分100が連結される連結体である変形構造体83は、全体として変形可能となる。
角変位部分100は、結合部101と、基部102と、規制部104,105とを含む。結合部101は、隣接する2つの角変位部分100を連結するための部分であり、延在方向Sに並んで互いに結合される。一方の角変位部分100の結合部101は、延在方向Sに隣接する他方の角変位部分100の結合部101に結合される。
結合部101には、第1軸線Yが設定される。第1軸線Yは、延在軸線Xに交差する方向に延びる。本実施の形態では、第1軸線Yは延在軸線Xに直交して延びる。結合される2つの結合部101のうち一方の結合部101は、他方の結合部101に対して、一方の結合部101に設定される第1軸線Yまわりに所定量の角変位が自在に形成される。また結合部101は、延在軸線Xと第1軸線Yとにともに垂直な第2軸線Zまわりに所定量の角変位が自在に形成される。本実施の形態では、結合された2つの結合部101は、玉継手構造を有することによって、第1軸線Yおよび第2軸線Zまわりに相対角変位可能となる。
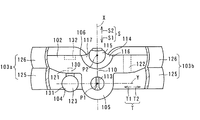
基部102は、結合部101毎に設けられ、結合部101に連なる。基部102は、第1軸線Yに沿う第1方向Tに延びて、結合部101が連なる。また基部102は、結合部101から第1軸線Yに沿って延びる第1方向T両側にそれぞれ突出する。すなわち基部102は、結合部101から第1方向一方T1に突出するとともに、結合部101から第1方向他方T2に突出する。本実施の形態では、基部102は、略板状に形成され、その第1方向T中央部分に結合部101が配置される。
規制部104,105は、変形構造体83が予め定める許容曲率半径で湾曲するように設定するための部分である。規制部104,105は、延在方向Sに隣接する2つの基部102のうち、少なくともいずれか一方の基部102に設けられて、基部102のうち結合部101が設けられる位置とは異なる位置から延在方向Sに突出する。本実施の形態では、規制部104,105は、各基部102にそれぞれ設けられる。延在方向Sに隣接する2つの基部102のうち、一方に形成される規制部104,105は、他方の基部102に当接可能に形成される。一方の基部102に形成される規制部104,105に、他方の基部102が当接することで、一方の基部102に連なる結合部101と、他方の基部102に連なる結合部101とのそれぞれに設定される第1軸線Yが互いに傾斜する。本実施の形態では、規制部104,105は、基部102の第1方向両側部分にそれぞれ設けられる。第1方向一方T1の規制部104は、基部102に着脱可能に形成されるスペーサ部材104によって実現される。また第1方向他方T2の規制部105は、基部102に連なり、延在軸線Xまわりに周方向に延びる外套部分103の一部分によって実現される。
図2は、角変位部分100を拡大して示す斜視図である。以下、延在方向Sに沿って延びる軸線を延在軸線Xと称し、延在軸線Xに垂直な一軸線を第1軸線Yと称し、延在軸線Xと第1軸線Yとにともに垂直な軸線を第2軸線Zと称する。また第1軸線Yに沿って延びる方向を第1方向Tと称し、第2軸線Zに沿って延びる方向を第2方向Uと称する。
結合部101は、中心部110と、中心部110から延在方向一方S1に連なる第1継手部107と、中心部110から延在方向他方S2に連なる第2継手部106とを含む。第1継手部107は、延在方向一方S1に隣接する結合部101と結合するための部分である。また第2継手部106は、延在方向他方S2に隣接する結合部101と結合するための部分である。
本実施の形態では、2つの結合部101が結合される結合構造は、球面対偶を有する玉継手構造によって実現される。これによって単に2つの結合部101が結合された状態では、一方の結合部101は、他方の結合部101に対して、予め定める角変位範囲内で、各結合部101の連結部分に設定される角変位点Pまわりに任意の方向に角変位可能となる。
図3は、図2に示すS3−S3切断面線で角変位部分100を切断した断面図であり、図4は、図2に示すS4−S4切断面線で角変位部分100を切断した断面図であり、図5は、図2に示すS5−S5切断面線で角変位部分100を切断した断面図である。
第1継手部107は、略板状に形成されて、中心部110に連なる。第1継手部107は、中心部110の第2方向一方U1側部分から、延在方向一方S1に突出する。第1継手部107は、第2軸線Zに垂直な投影面に投影した場合の投影形状が半円形状に形成され、延在方向一方S1に向かうにつれて第1方向寸法が先細となる。第1継手部107には、第2方向他方側表面111から第2方向一方U1に没入するソケット凹所113が形成される。第1継手部107のうちでソケット凹所113に臨む内周面112は、第1継手部107に設定される第1角変位点P1を中心とする仮想球体の一表面に沿って延びる。第2軸線Zに垂直な平面におけるソケット凹所113の内径は、第2方向他方側表面111から第2方向一方U1に向かうにつれて拡径し、延在軸線Xを超えると第2方向一方U1に向かうにつれて縮径する。ここで第1継手部107とソケット凹所113とは、第2軸線Zに垂直な平面に関して同軸に形成される。また第1角変位点P1は、中心部110よりも延在方向一方S1に位置し、延在軸線X上の一点となる。
第2継手部106は、中心部110に連なって略U字状に形成される周壁部116と、周壁部116に連なる底部114と、底部114から第2方向一方U1に突出する突起部115とを含んで構成される。周壁部116は、延在方向一方S1に凸となる半円筒状に形成される。周壁部116は、第2継手部106に設定される第2角変位点P2まわりにU字状に湾曲する。ここで第2角変位点P2は、中心部110よりも延在方向他方S2に位置し、延在軸線X上の一点となる。
底部114は、第1継手部107の第2方向他方側表面111よりも第2方向他方U2に配置され、周壁部116の第2方向他方側端部120を覆う。底部114は、少なくとも第2角変位点P2よりも延在方向他方S2に延びる。突起部115は、底部114から第2方向一方U1に突出し、前記第2角変位点P2を通過する。突起部115は、前記第2角変位点P2を中心とする球状に形成される球体部分118と、球体部分118と底部114とを連結する連結部分119とを含んで構成される。第2軸線Zに垂直な平面における球体部分118の外径は、連結部分119から第2方向一方U1に向かうにつれて拡径し、延在軸線Xを超えると第2方向一方U1に向かうにつれて縮径する。ここで球体部分118の外径は、前記ソケット凹所113の内径とほぼ等しく形成される。また突起部115は、周壁部116に対して隙間をあけて形成される。これによって第2継手部106は、第2軸線Zに垂直な投影面に投影した場合の投影形状において、略U字状に形成され、延在方向一方S1に向かうにつれて第1方向T寸法が先細となる嵌合凹所117が形成される。この嵌合凹所117は、第1継手部107の外径よりも大きい外径を有する。
延在方向Sに隣接する2つの結合部101のうち、一方の結合部101の第2継手部106の嵌合凹所117に、他方の結合部101の第1継手部107が嵌り込む。また第1継手部107のソケット凹所113に、第2継手部106の突起部115の球体部分118が嵌り込む。この場合、第2継手部106の第2角変位点P2と、第1継手部107の第1角変位点P1とが一致する。また2つの結合部101が結合された状態で、一方の結合部101における第2継手部106の周壁部116および底部114に対して、他方の結合部101における第1継手部107との間に隙間が形成される。
これによって球体部分118がソケット凹所113から抜け出ることが防がれた状態で、ソケット凹所113に対して球体部分118が相対角変位可能となる。したがって一方の結合部101は、他方の結合部101に対して、角変位点Pまわりに予め定める角度範囲内で角変位することができる。
スペーサ部材104は、複数の結合部101が連結された状態で、一方の結合部101の基部102と、他方の結合部101の基部102との間に嵌り込む。これによってスペーサ部材104は、結合される2つの結合部101の角変位を制限することができる。また各基部102には、スペーサ部材104が着脱自在に嵌り込む着座部121が形成される。本実施の形態では、着座部121は、基部102の延在方向一方S1側でかつ第1方向一方T1側部分に形成される。
スペーサ部材104は、着座部121に嵌り込むことで、基部102と一体に形成される。スペーサ部材104は、第1継手部107から第1方向一方T1に離れた位置で、基部102よりも延在方向一方S1に突出する。スペーサ部材104は、着座部121に嵌合する嵌合部130と、嵌合部130に連なり、基部102から延在方向一方S1に突出する間隔調整部131とを含む。本実施の形態では、スペーサ部材104は、全ての基部102にはめ込まれ、各スペーサ部材104は、同一形状に形成される。
嵌合部130は、円柱状に形成され、着座部121に形成される凹所に嵌り込む。また間隔調整部131は、略球状に形成される。間隔調整部131は、嵌合部130が着座部121に形成される凹所に嵌り込んだ状態で、延在方向一方S1側表面である対向面123が形成される。対向面123は、第1角変位点P1を通過して第1方向Tに延びる軸線からの距離が一定の曲率半径を有して湾曲し、延在方向一方S1に向かって凸な曲面となる。ここで対向面123は、対向する基部102に当接する面となる。
また基部102の延在方向他方S2には、延在方向Sに隣接する基部102に装着されたスペーサ部材104が当接する当接部132が形成される。当接部132は、延在方向Sに隣接する基部102の着座部121に装着されるスペーサ部材104に対向し、そのスペーサ部材104に同軸な没入凹所が形成される。この没入凹所は、基部102を延在方向Sに貫通する円柱状の挿通孔によって実現される。この没入凹所は、スペーサ部材104の間隔調整部131の先端部分が嵌り込み、間隔調整部131の直径よりも小さい内径を有する。当接部132は、スペーサ部材104が当接部132に嵌合した状態で、第2角変位中心P2を通過して延在方向Sに延びる延在軸線Xと前記第1軸線Yとを含んで構成される仮想平面に関して両側で、スペーサ部材104に当接する。本実施の形態では、没入凹所を一周する当接部132の開口部に、スペーサ部材104の対向面121が当接する。これによってスペーサ部材104の対向面121を一周する円部分が、当接部132に当接する。
また基部102の第1方向他方側T2部分には、延在方向Sに貫通する貫通孔122が形成される。各基部102に形成される貫通孔122には、長尺状のワイヤー部材124がそれぞれ挿通する。ワイヤー部材124は、一端部および他端部が貫通孔122よりも大きい直径を有する。またワイヤー部材124は、全ての貫通孔122を順番に挿通した状態で、一端部と他端部との距離が縮められることで、各基部102のうち第1方向他方T2側部分が互いに延在方向Sに近接する方向の力を与え続ける。変形構造体83にワイヤー部材124が設けられることで、変形構造体83が不所望に変形することを防ぐことができる。
図6は、角変位部分100を示す正面図である。本実施の形態では、基部102の第1方向一方T1側端部127には、前記延在軸線Xの周方向に沿って湾曲する第1外套部103aが連なる。第1外套部103aは、基部102を周方向中央として半円状に形成される。また基部102の第1方向他方T2側端部128には、前記延在軸線Xの周方向に沿って湾曲する第2外套部103bが連なる。第2外套部103bは、基部102を周方向中央として半円状に形成される。このように2つの外套部103a,103bが形成されることによって、角変位部分100は、略筒状に形成される。各外套部103a,1203bは、ケーブル22が結合部101から離反することを防ぐ保持部となる。
また各外套部103a,103bは、外皮部分125と、内皮部分126とがそれぞれ形成される。外皮部分125は、外套部103a,103bのうちの延在方向一方S1側に形成され、内皮部分126は、外套部103a,103bのうちの延在方向他方S2側に形成される。外皮部分125は、中心角が約180度の円弧状に形成されて、半筒状に形成される。内皮部分126は、中心角が約180度の円弧状に形成されて、半筒状に形成される。内皮部分126は、外皮部分125に連なり、内皮部分126は、外皮部分125に同軸に形成される。外皮部分125の内径は、内皮部分126の外径とほぼ等しく形成される。外皮部分125の内周面は、前記第1角変位点P1を中心とする仮想球体の周面の一部に沿う。また内皮部分126の外周面は、前記第2角変位点P2を中心とする仮想球体の周面の一部に沿う。
延在方向Sに隣接する2つの結合部101が互いに結合した状態では、延在方向一方S1の結合部101の内皮部分126が、延在方向他方S2の結合部101の外皮部分125に嵌り込む。上述したように外皮部分125の内周面と、内皮部分126の外周面とが球面状に形成されることで、一方の結合部101に対して他方の結合部101が角変位した場合であっても、外皮部分125が内皮部分126を部分的に覆った状態を保ち、各結合部101の変形を円滑にすることができる。
各外套部103のうち、内皮部分126が基部102に結合される。内皮部分126は、延在方向一方S1側部分が基部102に連なり、基部102に連なる部分から延在方向他方S2に延びる。2つの結合部101が互いに結合した状態から、角変位点Pを通過して第2方向Uに延びる軸線まわりに周方向一方に角変位した場合、一方の基部102に、他方の基部102に連結される内皮部分126が当接する。これによって、各基部102は、角変位点Pを通過して第2方向Uに延びる軸線まわりにさらに周方向一方に角変位することが阻止される。すなわち外套部103の内皮部分126は、スペーサ部材104とともに、結合部101の角変位を規制する規制部105となる。
以下、スペーサ部材104を第1規制部104と称し、スペーサ部材104に対して結合部101を挟んで反対側に配置される内皮部分126を第2規制部105と称する場合がある。一方の基部102に設けられる第1規制部104と、他方の基部102とが当接することによって、一方の基部102と他方の基部102とが、第1方向一方T1側で延在方向Sにさらに近接変位することが阻止される。また一方の基部102に設けられる第2規制部105と、他方の基部102とが当接することによって、一方の基部102と他方の基部102とが、第2方向他方T2側で延在方向Sにさらに近接変位することが阻止される。
2つの結合部101が結合された状態で、一方の結合部101に設定される第1軸線Yと、他方の結合部101に設定される第1軸線Yとが平行に配置された状態における、一方の基部102の着座部121から他方の基部102の当接部132までの距離に対して、第1規制部104の延在方向寸法が大きく形成される。言換えると、一方の結合部101に設定される第1軸線Yと、他方の結合部101に設定される第1軸線Yとが傾斜するように、第1規制部104および第2規制部105とが、隣接する2つの基部102の間に嵌り込む。これによって2つの結合部101が結合された状態で、一方の結合部101に設定される第1軸線Yと、他方の結合部101に設定される第1軸線Yとが非平行、すなわち互いに傾斜した状態となる。
また本実施の形態では、一方の基部102に設けられる第1規制部104と第2規制部105とが、他方の基部102にともに当接する。このように第1規制部104および第2規制部105によって、延在方向Sに隣接する各第1軸線Yの傾斜角度がそれぞれ一定に設定される。これによって変形構造体83は、予め定める許容曲率半径を有する略円弧状に延び、角変位部分100が隣接する角変位部分100に対して第1軸線Yまわりに角変位可能に形成される。
図7は、制限部129を説明するために、変形構造体83を簡略化して示す図である。図7(1)は、延在軸線Xが一直線に延びる変形状態を示し、図7(2)は、延在軸線Xが、第2方向Uに湾曲して延びる変形状態を示す。角変位部分100は、第1軸線Yまわりの角変位量が所定量を超えることを制限する制限部129が設けられる。本実施の形態では、制限部129は、基部102に設けられ、基部102から第2方向両方向U1,U2にそれぞれ突出する。具体的には、制限部129は、基部102の第1方向両側T1,T2から第2方向両方向U1,U2に突出する外套部103の外皮部分125によって実現される。制限部129が、基部102の第2方向Uの両側に形成されることによって、結合部101が第1軸線Yまわりに周方向一方および周方向他方に所定量を超えて角変位することを阻止することができる。
図7(1)に示す延在軸線Xが一直線に延びる変形状態から、一方の基部102が、他方の基部102に対して第1軸線Yまわりに周方向に角変位した場合、図7(2)に示すように、予め定める所定量角変位すると、一方の基部102に連なる制限部129と、他方の基部102に連なる制限部129とが当接する。これによって各基部102は、第1軸線Yまわりに角変位する角変位量が制限され、予め定める角変位量を超えて第1軸線Yまわりに角変位することが阻止される。
図8は、変形構造体83の一部を示す平面図であり、図9は、変形構造体83の一部を示す断面図である。延在方向Sに隣接する2つの結合部101は、玉継手構造によって連結されているので、スペーサ部材104が嵌め込まれていない場合には、一方の結合部101が他方の結合部101に対して予め定める角度範囲内で、角変位点Pまわりの任意の方向に角変位することができる。
図9に示すように、変形構造体83は、延在方向Sに隣接する2つの角変位部分100にそれぞれ形成される基部102の間にスペーサ部材104が嵌り込む。スペーサ部材104が嵌り込んだ状態では、結合部101を挟んでスペーサ部材104と反対側で、一方の基部102に連なる内皮部分126と、他方の基部102とが当接する。これによって隣接する基部102は、スペーサ部材104が嵌り込んだ状態から、角変位点Pを通過する第2軸線Zまわりに相対変位することが阻止され、残余の方向の変位が許容される。
このように結合部101を挟んで第1方向Tの両側に、それぞれ規制部104,105が設けられることで、変形構造体83の曲率半径が所定の許容曲率半径に対して、変更されることが阻止される。変形構造体83は、第1規制部104および第2規制部105によって、許容曲率半径を有するように設定される。ここで、結合部101の第1軸線Yまわりの所定量の角変位が許容されることで、変形構造体83は、第1方向Tに湾曲した状態を保ちながら、第2方向Uに変形可能に形成される。これによって図2に示すように、各角変位部分100は、隣接する角変位部分100に対して、予め定める第2軸線Zまわり方向Aの角変位が阻止される。また第1軸線Xまわりの方向Cの所定量の角変位が許容される。
さらにワイヤー部材124によって、第1方向他方T2の基部102が、延在方向Sに互いに近接する力を与えることによって、より確実に変形構造体83の湾曲状態を維持することができる。また変形構造体83の剛性を高めることができ、変形構造体83に予め定める大きさの変形力が与えられる場合に変形させることができ、予め定める大きさの変形力より小さい変形力が与えられる場合に、変形構造体83が不所望に変形することを防ぐことができる。さらにワイヤー部材124は、各基部102のうち第1方向他方T2側部分が互いに延在方向Sに近接する方向の力を与え続ける。これによって、ワイヤー部材124は、第2規制部105が他方の基部102に接触した状態に維持する維持部材となる。
図10は、本実施の形態の変形構造体83を簡略化して示す平面図である。変形構造体83は、ケーブル支持装置に用いられた場合、変形構造体83を変形させる変形外力が与えられる。変形外力の1つとして、変形構造体83の許容曲率半径を変更するような変形外力F1,F2が与えられる場合がある。
曲率半径を変更するような変更外力F1,F2が与えられた場合、一方の基部102に設けられる規制部104,105が、他方の基部102に直接または間接的に当接する。これによって変形構造体83が許容曲率半径に維持され、この許容曲率半径を超えて変形することが阻止される。このように各規制部104,105が、結合部101に対して第1方向Tに異なる位置に配置されるので、上述した変形外力が変形構造体83に与えられたとしても、結合部101に与えられる外力を抑えることができる。
たとえば各基部102のうち、第1方向一方T1側端部127を近接する方向の変形外力F1が与えられた場合、基部102と第1規制部104にほとんどの力が与えられ、構造的に強度の弱い結合部101に与えられる力を小さくすることができる。また各基部102のうち、第1方向他方T2側端部128を近接する方向の変形外力F2が与えられた場合、基部102と第2規制部105にほとんどの力が与えられ、構造的に強度の弱い結合部101に与えられる力を小さくすることができる。
このように変形構造体83の許容曲率半径を変更するような力が与えられたとしても、結合部が破損することを防止することができ、変形構造体83の強度を向上することができる。また本実施の形態では、各規制部104が結合部101の両側にそれぞれ配置されることによって、予め定められる曲率半径を大きくする外力および小さくする外力のいずれの外力が与えられたとしても、結合部101に与えられる力を減らして、変形構造体83の強度を向上することができる。
図11は、比較例の変形構造体283を簡略化して示す平面図である。比較例の変形構造体283は、角変位部分200を結合するための結合部201が、基部202の第1方向両側に形成される。ピン結合によって一方の角変位部分200と、他方の角変位部分とが結合される。また変形構造体83の曲率半径を決定するための各規制部204,205もまた基部202の第1方向両側に配置される。したがって規制部204,205と結合部201とが一箇所に合わさった構造に形成される。
このような、比較例の変形構造体283に、曲率半径を変更するような変形外力F1,F2が与えられた場合、結合部201に変形外力F1,F2が与えられるとともに、変形外力に起因するせん断力が結合部201に作用する。構造的に強度の低い結合部201にこのような力が与えられることで、比較例の変形構造体283は、結合部201から破損しやすい。
これに対して図10を用いて示したように、本実施の形態の変形構造体83は、結合部83に与えられる力を減らすことができ、比較例の変形構造体283に対して、その強度を向上することができる。このことは制限部129に関しても同様である。すなわち各結合部101の第1軸線Yまわりの角変位を制限する制限部129が、結合部101とは異なる位置に配置されることによって、第1軸線Yまわりに所定各変位量を超えて角変位しようとする力が与えられた場合であっても、制限部129に与えられる外力を抑えることができ、変形構造体283の強度を向上することができる。
このように本実施の形態に従えば、変形構造体83の強度を向上することができる。したがって変形構造体83がケーブル支持装置に用いられた場合、ケーブル支持装置の姿勢などにかかわらずに、ケーブルをロボットなどの駆動装置の外周面に近接配置させることができる。また変形構造体83またはケーブルの自重が大きい場合、変形構造体に大きい加速度が与えられる場合などであっても、予め定める許容曲率半径を有する変形形状に変形構造体83を維持することができる。
また本実施の形態によれば、結合部101を挟んで基部102の第1方向T両側部分に規制部104,105がそれぞれ設けられる。これによって変形構造体83の曲率半径を変更する方向の力が与えられた場合、結合部102を挟んで第1方向T両側に設けられる各規制部104,105の両方と、規制部104とに力が与えられる。これによって結合部101が破損することをさらに確実に防止することができる。
また本実施の形態によれば、延在方向Sに隣接する2つの結合部101は、スペーサ部材104が外された状態では、一方の結合部101が他方の結合部102に対して第2軸線まわりに角変位することができる。したがって基部102に装着するスペーサ部材104の大きさ、基部102にスペーサ部材104を装着する位置などを選択することによって、スペーサ部材104が他方の基部102に当接した状態における変形構造体83の曲率半径を任意に設定することができる。このようにして変形構造体83の曲率半径を設定する場合、結合部101および基部102を変更する必要がなく、結合部101および基部102を共通化して、変形構造体83を構成する構成部品の汎用性を向上することができ、製造コストを低下することができる。
また本実施の形態によれば、スペーサ部材104のうちで他方の基部102に対向する対向面123が、第1軸線Yに関して一定な曲率半径を有して第1軸線Yまわりに湾曲する。これによって結合部102が第1軸線Yまわりに角変位した場合であっても、スペーサ部材104と他方の基部102とが当接する当接位置と、第1軸線Yまでの距離を一定に保つことができる。またスペーサ部材104が他方の基部102に当接した状態であっても、他方の結合部102に対して一方の結合部101を第1軸線Yまわりに滑らかに角変位させることができる。なお、スペーサ部材104は、球体に形成されてもよく、円柱状に形成されてもよく、円錐状に形成されてもよい。
また本実施の形態によれば、延在軸線Xと第1軸線Yとを含む仮想平面に関して両側で、スペーサ部材104と他方の基部102とがそれぞれ当接する。これによって一方の結合部102が、他方の結合部102に対して、延在軸線Xまわりに角変位することが阻止される。すなわち、図2に示すように、延在軸線Xまわりの方向Cの角変位が阻止される。これによって各結合部102に沿ってケーブルを沿わせた場合、ケーブルが延在軸線Xまわりに捩れることを防ぐことができる。
また変形構造体83は、スペーサ部材104および第2規制部105となる内皮部分とが、隣接する基部102と直接または間接的に接触した状態に維持するワイヤー部材124をさらに含む。これによって他方の基部102が規制部104,105と離れた状態で角変位することを防ぐことができ、一方の基部102が他方の基部102に対して、不所望に角変位することをより確実に防ぐことができる。
また第1継手部107と第2継手部105とを嵌め合わせることによって、角変位部分100を連結することができる。これによってピン部材などの他の構成部品を必要とすることなく、変形構造体83を連結することができ、容易に組立てることができる。またピン部材など他の部品が設けられる場合に比べて結合部101の強度を向上することができる。
図12は、変形構造体83を簡略化して示す図であり、図13は、変形構造体83の変形状態の一例を説明するための図である。結合部101を延在方向Sに連結した場合、変形構造体83は、延在方向両端部87,88を結ぶ直線と、変形構造体83の延在方向Sに沿って延びる曲線とで囲まれた仮想面140が平面となるような第1変形状態に変形可能である。第1変形状態では、変形構造体83は、前記仮想面140に垂直な垂直軸線Wまわりに湾曲した略円弧状に形成される。そして角変位部分100が前記垂直軸線Wに関して周方向に並び、角変位部分100のうちで、各結合部101よりも前記垂直軸線Wに関して半径方向外方にスペーサ部材104が位置する。角変位部分100は、隣接する角変位部分100に対して、前記垂直軸線Wに直交する直交軸線Vまわりに角変位可能である。この直交軸線Vは、注目する角変位部分100毎に設定され、上述した第1軸線Yとほぼ一致する。
図13に示すように、変形構造体83は、各結合部101が互いに角変位することで、第1変形状態に対して延在方向中間部89が略U字状に変形する第2変形状態に変形可能である。第2変形状態では、延在方向中間部89に設定される直交軸線Vと垂直軸線Wとを含む平面に変形構造体83を投影した場合、その形状は、第1変形状態とほぼ同様の曲率半径を有する。
図14は、変形構造体83の他の変形状態を簡略化して示す図である。変形構造体83は、棒状の駆動装置150の周面に沿って延びる。駆動装置150は、第1駆動部152と、前記第1駆動部152に対して予め定められる旋回軸線Lまわりに相対角変位する第2駆動部151とを含んで構成される。変形構造体83は、上述した第2変形状態に変形可能な状態で、駆動装置150に固定される。具体的には、変形構造体83は、延在方向一端部87が第1駆動部152に固定され、延在方向他端部88が第2駆動部151に固定されて、前記駆動装置150の外周にそって湾曲して延びる。この場合、延在方向Sに並ぶ複数の角変位部分100は、隣接する角変位部分100に対して前記旋回軸線Lに平行な軸線まわりの角変位を防ぐとともに、前記旋回軸線Lに直交する軸線まわりの角変位を所定量許容する。
図14(1)は、図13に示す変形状態で駆動装置140に取付けられた状態を示す。図14(1)に示すように、変形構造体83の延在方向方向両端部87,88が、旋回軸線Lに対して同位置に配置された状態で、変形構造体83は、延在方向一端部87から周方向一方に延びて延在方向中央部89に達し、延在方向中央部89で折り返して周方向他方に延びて延在方向他端部88に達する。
各角変位部分100は、隣接する他の角変位部分100に対して旋回軸線Lに直交する軸線まわりにそれぞれ角変位することが可能であるので、変形構造体83は、旋回軸線Lに直交する軸線まわりに変形することが可能となる。また各角変位部分100が、隣接する他の角変位部分100に対して旋回軸線Lに平行な軸線まわりにそれぞれ角変位することを阻止する。これによって変形構造体83は、駆動装置150の外周に巻きついた状態で、駆動装置150に対して旋回軸線Lの半径方向に離反することを防ぐ。たとえば旋回軸線Lが水平に延びる場合でも、変形構造体83は、自重によって下方に垂れることを防ぐ。したがって変形構造体83は、変形構造体83を支持する支持部材を別途必要とすることなく、駆動装置150から離反することを防ぐことができ、駆動装置150に近接した近接姿勢を保つことことができる。
このことは、第2駆動部151が第1駆動部152に対して旋回軸線Lまわりに相対角変位する場合も同様である。図14(2)は、図14(1)に示す状態から、第2駆動体151が周方向一方に180度角変位した状態を示し、図14(3)は、図14(1)に示す状態から第2駆動体151が周方向他方に180度角変位した状態を示す。図11(2)および図14(3)に示すように、変形構造体83は、旋回軸線Lに直交する軸線まわりの変形を許容するので、変形構造体83の延在方向一端部87は、延在方向他端部88に対して旋回軸線Lの周方向に相対変位可能となる。第2駆動部151が第1駆動部152に対して相対角変位すると、それにともなって、延在方向一端部87と延在方向他端部88とが周方向にずれるように変形する。このように変形構造体83が変形するときも、変形構造体83は、駆動装置150から離反することを防ぐことができる。
このような変形構造体83の内部空間にケーブルを通すことによって、変形構造体83とともにケーブルが弛んだとしても、ケーブルが駆動装置150から離反することが防がれる。また駆動装置150に対して、周囲の装置とケーブルとが衝突することを防ぐとともに、駆動装置150の動作をケーブルが妨げることを防ぐことができる。またケーブルに過度の張りが生じることを防ぐことができ、ケーブルの損傷を防ぐことができる。
以上のような変形構造体83は、本発明の例示であって、発明の範囲内で構成を変更することができる。たとえば実施の形態では、スペーサ部材104が着脱可能に基部102に装着されるとしたが、スペーサ部材104は、基部102と一体に構成されていてもよい。これによって部品点数を減らすことができ、生産コストを低下することができる。また組立て作業を簡単化することができ、変形構造体83の強度を向上することができる。
また本実施の形態では、第1規制部104となるスペーサ部材104と、第2規制部105となる内皮部分106とが、ともに他方の基部102に当接した状態に保たれたが、第2軸線Zまわりの角変位が所定量許容される場合には、第1規制部104と第2規制部105とが同時に規制部102に当接しなくてもよい。すなわち第1規制部104および第2規制部と、他方の基部102との間に隙間を形成してもよい。これによって変形構造体83に第2軸線Zまわりに所定量変形可能とすることができ、より円滑に変形構造体83を変形させることができる。このような場合であっても、規制部104,105によって、変形構造体が許容曲率半径を超えて変形することを阻止することができる。
また本実施の形態では、内皮部分106を第2規制部105として設定したが、別途第2のスペーサ部材を基部102に装着するなどして、第2規制部105を実現してもよい。また本実施の形態では、結合部101に対して、第1方向両側に規制部104,105が設けられるとしたが、変形構造体の用途によっては、結合部101に対して、第1方向一方T1にのみ規制部104が設けられてもよい。この場合であっても、第2軸線Zに対して周方向一方に、予め定める許容曲率半径を超えて変形することを阻止することができる。また本実施の形態では、各基部102から延在方向一方T1に各規制部104,105が突出するとしたが、各規制部104,105の少なくとも一方が、基部102に対して延在方向他方T1に突出してもよい。また各規制部104,105は、基部102に対して延在方向一方および他方の両方に突出してもよい。この場合、規制部104,105が設けられる基部102と、規制部104,105が設けられない基部102とが用いられてもよい。
また本実施の形態では、延在軸線Xまわりを囲む外套部103によって、ケーブルを保持する保持部を実現したが、他の構成によって保持部を実現してもよい。たとえばケーブルと基部102とをクランプするクランプ部材によって、保持部を実現してもよい。
また本実施の形態では、2つの結合部101は、玉継手構造によって連結されるとしたが、他の結合構造、たとえば自在継手構造によって2つの結合部101が結合されてもよい。またスペーサ部材104が基部102に固定される場合には、結合部101は、第2軸線Zまわりに角変位する必要がないので、2つの結合部101を結合する結合構造について、ピン結合のような単純な結合構造によって実現することができる。
図15は、駆動装置150に変形構造体83が装着された場合における変形構造体83の寸法を説明するための図である。駆動装置150の旋回軸線まわりの回転半径をr1とする。また図9に示すような、変形構造体83のうち、スペーサ部材140によって規定される第1方向Tの許容曲率半径をr2とし、図7(2)に示すような、変形構造体83のうち、制限部129によって規定される第2方向Uの最小曲率半径をr3とする。
この場合、変形構造体83の第1方向Tの許容曲率半径r2は、r1+αに設定される。ここで、αは、変形構造体83と駆動装置150との間の隙間に設定され、変形構造体83が駆動装置150に当接しない状態で小さい値に設定される。これによって、変形構造体83が駆動装置150に当接することを防いだうえで、変形構造体83を駆動装置150に近接させることができる。また変形構造体83の一端部87と他端部88との間の、旋回軸線に沿う方向の距離mは、2×r3に設定される。すなわち、一端部87と他端部88との間の、旋回軸線に沿う方向の距離mは、制限部129によって変形が制限されるなかで、一端部87から他端部88まで軸線方向に離れた位置に配置可能な距離に設定される。これによって変形構造体83を無理なく変形させることができる。
本実施の形態では、変形構造体83が駆動装置150に装着された状態で、旋回軸線Lに沿う方向の距離mは、300mmに設定される。また変形構造体83の第1方向Tの許容曲率半径r2は、150mmに設定される。また制限部129によって規定される第2方向Uの最小曲率半径r3は、150mmに設定される。
また上述変形構造体83が円弧状に延びるとしたが、この円弧は、一端部87から他端部88の角度が360度以下を含むことはもちろん、360度以上に設定されてもよい。またたとえば変形構造体83が駆動装置150から取外されて、その延在方向両端部87,88を結ぶ直線と、変形構造体の延在方向に沿って延びる曲線とで囲まれた仮想面が平面となるような第1変形状態においては、変形構造体83は、仮想面上を湾曲して延びて仮想面を垂直に延びる垂直軸線Wまわりに延びる円弧であってもよく。その円弧の中心角度は、360度以下であってもよい。
また変形構造体83が駆動装置150から取外された状態で、変形構造体83は、予め定める中心軸線まわりに巻回するコイル状に延びてもよい。この場合、延在方向一端部87から中心軸線まわりに360度を超えて角変位して延びることで延在方向他端部88に達する。本実施の形態では、変形構造体83は、駆動装置150から取外された状態で、コイル状に変形可能であり、この場合、一端部87から中心軸線まわりに440度角変位することで、他端部883に達する。このように一端部87と他端部88の角度が360度以上に設定されることによって、第1駆動部40に対する第2駆動部39の旋回範囲が大きくなっても、第2駆動部39に追従して、変形構造体83を変形させることができる。このように変形構造体83を螺旋状に形成することで、第2駆動部39を第1駆動部40に対して、±240角変位させた場合であっても、変形構造体83が第2駆動部39に追従して角変位させることができる。
図16は、他の実施の形態の変形構造体83が駆動装置151に装着された状態を簡略化して示す図であり、図17は、変形構造体83の曲率半径を示す図である。他の実施の形態の変形構造体183は、図1に示す変形構造体183について、ほぼ同様の形状を示し、スペーサ部材104によって規定される許容曲率半径が異なる。同様の構成については説明を省略する。
他の実施の形態の変形構造体183は、異なる大きさのスペーサ部材104が各基部102に装着される。そして変形構造体183は、曲率半径が大きい大径部分190と、曲率半径が小さい小径部分191とが形成される。小径部分190と大径部分とは、延在方向に連なる。変形構造体183のうち大径部分190は、大きいスペーサ部材104が基部102に嵌り込むことによって、曲率半径が大きくなる。また変形構造体183のうち小径部分191は、小さいスペーサ部材104が基部102に嵌り込むことによって、曲率半径が小さくなる。
このような延在方向Sに進むにつれて、曲率半径が異なる変形構造体183は、外径形状が一様でない駆動装置151を巻回する。図16に示す駆動装置151は、変形構造体183の一端部187から他端部188まで進むにつれて、その外径形状が異なる。変形構造体183のうちで大径部分190は、駆動装置151のうち外径が大きくなる部分154に臨む。また変形構造体183のうちで大径部分191は、駆動装置151のうち外径が小さくなる部分153に臨む。具体的には、大径部分190の曲率半径r4は、駆動装置151の大径部分154の直径rと、予め定める第1隙間量αとを加算した値に設定される。同様に、小径部分191の曲率半径r5は、駆動装置151の小径部分153の直径rと、予め定める第2隙間量αとを加算した値に設定される。これによって駆動装置151の外径が一様でない場合であっても、変形構造体183が駆動装置151の外周部から大きく離反することを防ぐことができる。
ここで、上述したようにスペーサ部材104は、基部102に対して着脱自在に形成される。これによって大きさの異なるスペーサ部材104を基部102にそれぞれ装着することで、容易に変形構造体183の曲率半径を変更することができる。したがって外径が異なる駆動装置150であっても、共通の結合部101および基部102を用いることができ、汎用性を向上することができる。
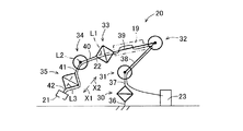
図18は、本発明の実施の一形態である産業用ロボット20に設けられるケーブルの支持装置19を示す正面図である。ケーブル支持装置19は、上述した変形構造体83を含む。図19は、産業用ロボット20の一部を示す正面図であり、図20は、産業用ロボット20の一部を切断して示す断面図であり、図21は、産業用ロボット20の一部を示す側面図である。
本発明の実施の一形態では、産業用ロボット20は、垂直多関節型6軸ロボットであり、スポット接合を行う。産業用ロボット20は、相互に角変位可能に複数の可動部が連結され、先端部に溶接ガンが装着される。産業用ロボット20は、各可動部を相互に角変位することによって、溶接ガンを予め定める溶接位置に移動させて、溶接位置でスポット接合を行う。溶接ガンは、ロボットの先端部に装着されるエンドエフェクタとなる。
ロボット20は、溶接動作を行うためのケーブル22が設けられる。本実施の形態ではケーブル22は、溶接ガンに溶接用の電流を供給する電源装置、溶接ガン21が駆動するための動力を供給する電源装置、溶接ガン21の動作信号を与えるロボットコントローラ、溶接ガンを冷却する冷却水を供給する冷却水の供給ポンプなどの周囲装置と、溶接ガンとを接続する。したがってケーブル22は、周囲装置から動力、信号、電力、気体および液体などを溶接ガン21に供給する配線および配管の束となる。このようにケーブル22は、可撓性を有する長尺物であって、ロボット20の各駆動部の相互の角変位にともなって変形する。
ロボット20は、少なくとも第1駆動部39と、第1駆動部39に対して予め定められる旋回軸線L1まわりに相対角変位する第2駆動部40とを含む駆動装置となる。ロボット20は、第1駆動部39に対して第2駆動部を旋回軸線L1まわりに角変位駆動する駆動手段と、駆動手段を制御するロボットコントローラとを含む。コントローラが角変位指令を駆動手段に与えることによって、駆動手段は、第1駆動部39に対して第2駆動部40を旋回軸線L1まわりに回転駆動する。またロボット20は、第1駆動部40と第2駆動部39とにわたって延びるケーブルを案内するケーブル支持装置19を含む。
また旋回軸線L1に沿って延びる方向を軸線方向Nとし、旋回軸線L1まわりに旋回する方向を周方向Qとし、旋回軸線L1に垂直な平面に沿って、旋回軸線L1に対して近接および離反する方向を半径方向Rと称する。また軸線方向Nのうち、第1駆動部39から第2駆動部40に進む方向を軸線方向一方N1と称し、第2駆動部40から第1駆動部39に進む方向を軸線方向他方N2と称する。
第1駆動部39および第2駆動部40は、外形形状が略円柱状に形成され、旋回軸線L1に対してそれぞれ同軸に延びる。第1駆動部39と第2駆動部40とは、関節部33を介して連結される。関節部33を介して、第1駆動部39と第2駆動部40とが連結されることで、各駆動部39,40は、旋回軸線L1まわりに相対角変位可能となる。第2駆動部40は、駆動手段によって第1駆動部39に対して旋回軸線L1まわりに角変位駆動される。たとえば駆動手段は、第2駆動部40または第1駆動部39に内蔵されるサーボモータによって実現される。
ケーブル支持装置19は、第1駆動部39に固定される第1固定部81と、第2固定部40に固定される第2固定部82と、ケーブル22を案内する変形構造体83とを含んで構成される。第1固定部81は、第1駆動部39に直接または間接的に固定され、第1駆動部39から半径方向Rに突出する。また第2固定部82は、第1固定部81よりも第2駆動部寄りに配置され、第1固定部81に対して軸線方向Nに間隔をあけて配置される。
第2固定部82は、第2駆動部側部分84と、連結部分85と、第1駆動部側部分86とを有する。第2駆動部側部分84は、第2駆動部40のうちで第1駆動部寄りの部分に直接または間接的に固定され、第2駆動部40から半径方向Rに突出する。また連結部分85は、第1駆動部側部分86と第2駆動部側部分84とを連結する。連結部分85は、第2駆動部側部分84から軸線方向Nに延び、第2駆動部40および第1駆動部39の外周面に対して半径方向Rに間隔をあけて配置される。第1駆動部側部分86は、第1駆動部39の外周面に間隔をあけて対向し、第1固定部81よりも第2駆動部寄りに配置される。このように第2固定部82は、第1駆動部39から半径方向Rに離れた位置に配置されることで、第1駆動部39に接触することが防がれる。
第2固定部82は、第1駆動部39に対して第2駆動部40が旋回軸線L1まわりに角変位した場合、第1駆動部39に接触することなく、第2駆動部40とともに旋回軸線L1まわりを角変位する。これに対して第1固定部81は第2駆動部40の角変位にかかわらず、第1駆動部39とともに固定される。したがって第1固定部81と第2固定部82とは、第2駆動部40が角変位すると、互いの周方向Qの相対位置が変化する。
変形構造体83は、長尺円筒状に形成され、その延在方向一端部87が第1固定部81に固定され、延在方向他端部88が第2固定部82の第1駆動部側部分86に固定される。変形構造体83の両端部87,88は、第1駆動部39に対して半径方向Rに間隔をあけた位置で各固定部81,82によってそれぞれ固定される。また各両端部87,88は、軸線方向Nに間隔をあけた位置で各固定部81,82によってそれぞれ固定される。また変形構造体83の一端部87は、第1固定部81から旋回軸線L1に垂直な仮想平面に沿って周方向Q一方に延びる。また変形構造体83の他端部88は、第2固定部86の第1駆動部側部分86から旋回軸線L1に垂直な仮想平面に沿って周方向Q一方に延びる。
変形構造体83は、両端部87,88が各固定部81,82にそれぞれ固定された状態で、第1駆動部39の外周面に沿って湾曲して延びるとともに軸線方向Nに延びる。具体的には、変形構造体83は、延在方向一端部87から軸線方向一方N1に進むにつれて周方向Q一方に延びたあとで折り返して、周方向Q他方に延びて延在方向他端部88に達する。このように変形構造体83は、旋回軸線L1の周方向に沿って略U字状に湾曲する。
たとえば変形構造体83は、図18に示すように、第1固定部81と第2固定部の第1駆動部側部分86とが周方向Qに一致した状態では、一端部87から軸線方向Nに沿って進むにつれて、周方向一方に向かって延び、延在方向中央部89に達すると、延在方向中央部89で折り返して周方向他方に向かって延びて他端部88に達する。
また図20に示すように、変形構造体83は、略筒状に形成されており、ケーブル22が緩やかに挿通する挿通孔94が形成される。挿通孔94は、変形構造体83の延在方向に貫通し、ケーブル22の外径よりも大きい内径に形成される。ケーブル22は、変形構造体83の挿通孔94を挿通することによって、変形構造体83に案内される。ケーブル22は、変形構造体83を挿通する挿通部分22aと、挿通部分22aよりも軸線方向一方N1の一方側部分22bと、挿通部分22bよりも軸線方向他方N2の他方側部分22cとを有する。ケーブル22のうちで一方側部分22bは、第3固定部91を介して、第2駆動体40または第2駆動体40よりも遊端部側の部分に固定される。またケーブル22のうちで他方側22cは、第4固定部95を介して、第1駆動部39または第1駆動部よりも基端部側の部分に固定される。
図22〜図25は、ケーブル支持装置19のケーブル案内状態を示す図である。図22(1)〜図22(3)、図23(1)、図23(2)の順に第2駆動体40が周方向一方に角変位する状態を示す。また図24(1)〜図24(3)、図25(1)、図25(2)の順に第2駆動体40が周方向他方に角変位する状態を示す。
変形構造体83は、第1固定部81と第2固定部82との周方向位置関係の変化に追従して、延在方向一端部87と延在方向他端部88とが周方向Qにずれるように変形する。このように変形構造体83が変形するときも、変形構造体83が第1駆動体39から離反することを防ぐことができる。
また変形構造体83内にケーブル22が保持されることで、変形構造体83とともにケーブル22が弛んだとしても、ケーブル22が第1駆動体39から離反することが防がれる。また第1駆動体39に対して、周囲の装置とケーブル22とが衝突することを防ぐとともに、第1駆動体39の動作をケーブル22が妨げることを防ぐことができる。またケーブル22に過度の張りが生じることを防ぐことができ、ケーブル22の損傷を防ぐことができる。
またケーブル22が変形構造体83内を緩やかに挿通することで、ケーブル22は、変形構造体83に対して延在方向Sに垂直な方向に離反することが防がれる。これによってケーブル22が、第1駆動部39から離反することを防ぐことができ、ロボット20の動作をケーブル22が阻害することをより確実に防ぐことができる。またケーブル22は、変形構造体83に対して、延在方向Sに移動可能に保たれる。これによって第2駆動部40が第1駆動部39に対して角変位した場合に、ケーブル22の一部に集中的に力が与えられることを防ぎ、ケーブル22の寿命を長くすることができる。
また第2駆動部40が第1駆動部39に対して角変位した場合に、変形構造体83の内周面のほぼ全面にわたってケーブル22を保持することができ、ケーブル22を確実に保持することができる。またケーブル22の一部に集中的に力が与えられることをより確実に防ぐことができる。またケーブル22は、変形構造体83の変形に沿って変形させることで、ケーブル22の曲率半径を変形構造体83の曲率半径とほぼ同程度にすることができ、ケーブルの曲率半径が過小になることを防ぐことができる。
また変形構造体83を旋回軸線Lの周方向に沿って延ばすことで、延在方向一端部87と延在方向他端部88との旋回軸線Lの変形可能量を大きくすることができ、第2駆動部40が第1駆動部39に対して角変位可能な角変位量を増やすことができる。また変形構造体83は、旋回軸線Lの周方向に延びることでロボットが動作したとしても、変形構造体83が、ロボットおよびロボットの周囲の装置と接触することを防ぐことができる。
また変形構造体83の第1変形状態における曲率半径が、変形構造体83に隣接する第1駆動部39の半径よりも大きく設定される。たとえば変形構造体83の曲率半径が第1駆動部39の回転半径よりも過小であれば、変形構造体83とロボットとが接触するおそれがある。本実施形態では、上述したように変形構造体83の曲率半径が第1駆動部39の半径よりも大きく設定されることで、変形構造体83とロボットとの接触を防ぐことができる。また好ましくは、変形構造体83の曲率半径を第1駆動部の回転半径に対して予め定める範囲内にすることで、変形構造体83を第1駆動部39に可及的に近接して配置することができ、支持装置19を小形化することができる。
図26は、産業用ロボット20を簡略化した図である。産業用ロボット20は、主に溶接ガン21の3次元位置を決定するための3つの関節部30,31,32と、主に溶接ガン21の姿勢を決定するための3つの関節部33,34,35とを有する。また各関節部30〜35によって連結される複数の可動部37〜42を有する。
具体的には、産業用ロボット20は、基台36と、アーム第1関節部30と、第1アーム37と、アーム第2関節部31と、第2アーム38と、アーム第3関節部32と、第3アーム39とを含む。基台36は、予め定める固定位置に固定される。第1アーム37は、アーム第1関節部30を介して基台36に連結される。第2アーム38は、アーム第2関節部31を介して第1アーム37に連結される。第3アーム39は、アーム第3関節部32を介して第2アーム38に連結される。
アーム第1関節部30は、アーム第1軸線まわりに角変位可能に第1アーム37を連結する。アーム第1軸線は、予め基台36に設定され、たとえば鉛直に延びる。アーム第2関節部31は、アーム第2軸線まわりに角変位可能に第2アーム38を連結する。アーム第2軸線は、第1アーム37に設定される。アーム第2軸線は、前記アーム第1軸線に交差し、アーム第1軸線に対して垂直に延びる。アーム第3関節部32は、アーム第3軸線まわりに角変位可能に第3アーム39を連結する。アーム第3軸線は、第2アーム38に設定され、前記アーム第2軸線に対して平行に延びる。
また産業用ロボット20は、手首第1関節部33と、第1手首可動部40と、手首第2関節部34と、第2手首可動部41と、手首第3関節部35と、第3手首可動部42とを含む。第1手首可動部40は、手首第1関節部33を介して第3アーム39に連結される。第2手首可動部41は、手首第2関節部33を介して第1手首可動部40に連結される。第3手首可動部42は、手首第3関節部35を介して第2手首可動部41に連結される。
手首第1関節部33は、手首第1軸線L1まわりに角変位可能に第1手首可動部40を連結する。手首第1軸線L1は、第3アーム39に設定され、第3アーム39と同軸に延びて、アーム第3軸線に垂直に延びる。手首第2関節部34は、手首第2軸線L2まわりに角変位可能に第2手首可動部41を連結する。手首第2軸線L2は、第1手首可動部40に設定される。手首第2軸線L2は、前記手首第1軸線L1に交差し、手首第1軸線L1に対して垂直に延びる。
手首第3関節部35は、手首第3軸線L3まわりに角変位可能に第3手首可動部42を連結する。手首第3軸線L3は、第2手首可動部41に設定され、前記手首第2軸線L2に対して垂直に延びる。手首第1軸線L1、手首第2軸線L2および手首第3軸線L3は、互いに1点で交差する。また第3手首可動部42は、溶接ガン21が装着される。
上述した各アーム37〜39および各手首可動部40〜42は、ロボットの可動部となり、駆動手段によって対応する軸線まわりに角変位駆動する。これによって第3手首可動部42に装着される溶接ガン21を任意の位置および姿勢に配置することができる。なお、本明細書において角変位は、360°以上の角変位も含む。また、可動部に沿って溶接ガン21に向かう方向を先端方向X1と称し、可動部に沿って基台36に向かう方向を基端方向X2と称する場合がある。
溶接ガン21と周囲装置23とを接続するケーブル22は、少なくとも第3アーム39と各手首可動部40〜42とに沿って延びる。産業用ロボット20は、ケーブル22を案内するケーブル支持装置19を有する。ケーブル支持装置19は、各手首可動部40〜42が相互に変位した場合でも、ケーブル22を各手首可動部40〜42に沿わせた状態に保つ。本実施の形態のケーブル支持装置19は、主として、第1駆動部となる第3アーム39と、第2駆動部となる第1手首可動部40とにわたって延びるケーブルを案内する。
また本実施の形態では、図19〜図21に示すように、第2手首可動部41は、略U字状に形成されて、凹所が形成される。第2手首可動部41の凹所は、第1手首可動部40の先端部に嵌り込む。第2関節部34は、第1手首可動部40と第2手首可動部41とを連結する。第3手首可動部41は、第3関節部35を介して第2関節部41の先端部に連結される。
また産業用ロボット20は、ケーブル22を第2駆動部40とともに角変位させるための第3固定部91を有する。第3固定部91は、第2固定部82の第1駆動部側部分86よりも、先端方向X1に配置される。本実施の形態では、図20に示すように、第3固定部91は、前記第2固定部82の連結部分85に設けられる。第3固定部91は、ケーブル22と連結部分85とを固定する。ケーブル22のうち第3固定部91によって固定される部分は、第3固定部91に対して軸線方向Nにずれることが阻止される。これによって第2手首可動部41および第3手首可動部42の角変位にともなって、変形構造体83内のケーブルが引き出されることを防ぐことができる。
また産業用ロボット20は、ケーブル22を案内するケーブル案内部52を有する。ケーブル案内部52は、第2手首可動部41に連結される。具体的には、ケーブル案内部52は、第1連結部材53を介して、第2手首可動部41に連結される。第1連結部材53は、第2手首可動部41に固定される。
第1連結部材53は、第2手首可動部41から突出して延びる基部分53aと、基部分53aから第2軸線L2に平行に延びる受部53bとが形成される。ケーブル案内部52は、第1連結部材53の受部53bに連結され、第2軸線L2上に配置される。言換えると第2軸線L2は、ケーブル案内部52を挿通する。
ケーブル案内部52は、受部53bに連結される支持部分54と、支持部分54から第2軸線L2に沿って延びる案内部分55とが形成される。また案内部分55は、ケーブル22が挿通可能な挿通孔が形成される。この挿通孔は、ケーブル22の外径よりも大きい内径を有する。なお、挿通孔の軸線は、第2軸線L2と垂直に延びる。
第3固定部91から先端方向X1に向かって延びるケーブル部分22bは、ケーブル案内部52の挿通孔を挿通し、溶接ガン21に向かって延びる。ケーブル22は、ケーブル案内部52の挿通孔に、緩やかに挿通することによって、ケーブル案内部52に対して移動および角変位が許容された状態で案内される。
また産業用ロボット20は、第3手首可動部42にケーブル22を部分的に固定する先端側ケーブル固定部56を有する。先端側ケーブル固定部56は、第3手首可動部42の先端側部分58に第2連結部材60を介して固定される。また、先端側ケーブル固定部56から先端方向X1に向かって延びるケーブル22は、溶接ガン21に設定される接続位置に接続される。
産業用ロボット20は、カバー体61を有する。カバー体61は、ケーブル22のうちで、第2固定部82から先端側ケーブル固定部56まで延びるケーブル部分22bを覆う。カバー体61は、ケーブル22が、各手首可動部40,41,42から大きく離れることを防ぐ。カバー体61は、円筒状に形成される。したがってケーブル案内部52の挿通孔は、カバー体61を挿通可能に形成される。
本実施の形態では、カバー体61は、可撓性および弾発性を有し、カバー体の軸線まわりに螺旋状に延びるコイルばねを含んで構成される。カバー体61は、延在方向一端部92が、前記第2固定部82の連結部分85に固定され、延在方向他端部93が、第3手首可動部42の先端側部分58に固定される。コイルばねは、予め定める標準状態に対して各手首可動部40〜42が最も変形した変形状態で、カバー体61が大きく変位することがないように長さおよびバネ力が設定される。
このようにカバー体61がコイルばねを含んで実現されることによって、各手首可動部40〜42が変形した場合に、カバー体61が大きく変位することを防ぐことができ、カバー体61およびカバー体61に収容されるケーブル22がロボットの動作を阻害することを防ぐことができる。たとえば第1手首可動部40が第3アーム39に対して角変位する場合、ケーブル案内部52に対して先端方向X1のカバー体部分61bが基端方向X2に引っ張られる。また第3手首可動部42が第2手首可動部41に対して角変位する場合、ケーブル案内部52に対して基端方向X2のカバー体部分61aが先端方向X1に引っ張られる。このような場合に、カバー体61がコイルばねの復元力によって標準状態に復元することで、カバー体61の弛みが大きくなることを防ぐことができる。
本実施の形態では、ケーブル内には、複数の小ケーブルが内蔵される。小ケーブルは、電流を流すための1つの溶接ケーブルと、水を流すための4つの水ホースと、サーボ信号を流すための2つのサーボガン用ケーブルと、温度検出用の1つのサーモケーブルである。なお、このようなケーブルに内蔵される小ケーブルの構成は、あくまで一例示であって、適宜変更することができる。
以上のように本実施の形態のケーブル支持装置19に従えば、カバー体61内で、ケーブル22が弛んだとしても、第1駆動部39から離反することを防ぐことができ、弛んだケーブル22が周辺機器に干渉することを防ぐことができる。これによってケーブル22の寿命を延ばすとともに、狭い領域に溶接ガン21を配置することができる。また上述したように、変形構造体83の強度を向上することで、ロボットの動作とともにケーブル支持装置19が任意の姿勢に変位したとしても変形構造体83がロボットから離反することを確実に防ぐことができる。たとえば、旋回軸線Lが水平に配置されても、鉛直に配置されたとしても、変形構造体83は変形構造体83を支持するための支持部材を必要とすることなく、自立姿勢を確実に保つことができる。
またケーブル支持装置19によって案内されるケーブルの重量が大きい場合や、ロボットが高速で動作する場合であっても、変形構造体83の強度が向上されているので、変形構造体83の曲率半径を小さくした状態で、維持することができる。これによってロボットが狭隘な作業空間で作業を行う場合であっても、変形構造体83が周囲の装置に衝突することを防ぐことができる。また上述したように、第1駆動部39に対する第2駆動部40の角変位量が大きい場合であっても、案内部材なしに自立姿勢を保つことができる。またスペーサ部材104によって、変形構造体83の湾曲状態を保つことによって、繰り返し変形構造体83を変形させたとしても、変形構造体83の所望の変形状態に保つことができる。
またケーブル22がケーブル保持部51から抜け出て先端方向X1に向かって移動することがないので、ケーブル保持部51とケーブル案内部との間のケーブル部分22bが大きく弛んだ状態になることを防ぐことができる。上述したように、ケーブル22の弛みを少なくすることで、ケーブル22が各手首可動部40〜42に接触する可能性を減らすことができる。
またケーブル22が第1駆動部の外周を湾曲して巻きつくことによって、第1駆動部の長さが短くても、ケーブル22が弛んだ状態から張った状態に移るまでに角変位可能な第1手首可動部40の可動範囲を広くすることができる。さらに従来技術のように、環状の案内部材を設ける必要がないので、ロボットを安価にかつ軽量化することができる。
以上のような実施の形態は、本発明の例示であって、発明の範囲内において構成を変更することができる。たとえばケーブル支持装置19は、産業用ロボットに設けられるとしたが、第1駆動部と第2駆動部とを有して、それらが旋回軸線まわりに相対的に角変位する駆動装置150に設けられる。したがって産業ロボット以外、たとえば工作機械、自動車製造装置などの他の駆動装置に設けられてもよい。また本実施の形態では、第1駆動部40に対して、第2駆動部39が角変位するとしたが、逆に第2駆動部39に対して第1駆動部40が角変位してもよい。また本実施の形態では、変形構造体83は、第1駆動部40に隣接して配置されるとしたが、第2駆動部39に隣接されてもよく、また第1駆動部40および第2駆動部39に跨って延びてもよい。
本発明の実施の一形態である変形構造体83の一部を示す斜視図である。 角変位部分100を拡大して示す斜視図である。 図2に示すS3−S3切断面線で角変位部分100を切断した断面図である。 図2に示すS4−S4切断面線で角変位部分100を切断した断面図である。 図2に示すS5−S5切断面線で角変位部分100を切断した断面図である。 角変位部分100を示す正面図である。 制限部129を説明するために、変形構造体83を簡略化して示す図である。 変形構造体83の一部を示す平面図である。 変形構造体83の一部を示す断面図である。 本実施の形態の変形構造体83を簡略化して示す平面図である。 比較例の変形構造体283を簡略化して示す平面図である。 変形構造体83を簡略化して示す図である。 変形構造体83の変形状態の一例を説明するための図である。 変形構造体83の他の変形状態を簡略化して示す図である。 駆動装置150に変形構造体83が装着された場合における変形構造体83の寸法を説明するための図である。 他の実施の形態の変形構造体83が駆動装置151に装着された状態を簡略化して示す図である。 変形構造体83の曲率半径を示す図である。 本発明の実施の一形態である産業用ロボット20に設けられるケーブルの支持装置19を示す正面図である。 産業用ロボット20の一部を示す正面図である。 産業用ロボット20の一部を切断して示す断面図である。
産業用ロボット20の一部を示す側面図である。 ケーブル支持装置19のケーブル案内状態を示す図である。 ケーブル支持装置19のケーブル案内状態を示す図である。 ケーブル支持装置19のケーブル案内状態を示す図である。 ケーブル支持装置19のケーブル案内状態を示す図である。 産業用ロボット20を簡略化した図である。
符号の説明
19 ケーブルの支持装置
20 産業用ロボット
22 ケーブル
81 第1固定部
82 第2固定部
83 変形構造体
101 結合部
102 基部
103 外套部
125 外皮部
126 内皮部
104 スペーサ部材
121 着座部
124 ワイヤー部材
123 対向面
129 制限部
132 当接部
S 延在方向
X 延在軸線
T 第1方向
Y 第1軸線
U 第2方向
Z 第2軸線

Claims (7)

  1. 可撓性を有するケーブルを支持するケーブル支持装置に用いられ、略円弧長尺状に形成されて予め定める方向に所定量変形可能な変形構造体であって、
    予め定める延在軸線に沿う延在方向に並んで互いに結合される結合部であって、結合される2つの結合部のうち一方の結合部が、他方の結合部に対して、一方の結合部に設定されて延在軸線に交差する第1軸線まわりに所定量の角変位が自在な複数の結合部と、
    前記第1軸線に沿う第1方向に延びて、結合部が連なる基部と、
    延在方向に隣接する2つの基部のうち、少なくとも一方の基部に設けられて第1方向に関して結合部と異なる位置から延在方向に突出する規制部であって、他方の基部に当接することで、延在方向に隣接する2つの基部にそれぞれ連なる各結合部の第1軸線が互いに傾斜する規制部とを含むことを特徴とする変形構造体。
  2. 規制部は、結合部を挟んで基部の第1方向両側部分にそれぞれ設けられることを特徴とする請求項1記載の変形構造体。
  3. 結合される2つの結合部のうち一方の結合部が、他方の結合部に対して、前記第1軸線と延在軸線とに対して直交する第2軸線まわりに角変位自在に形成され、
    規制部は、一方の基部に対して着脱可能に設けられることを特徴とする請求項1または2記載の変形構造体。
  4. 規制部のうちで他方の基部に対向する対向面は、前記第1軸線まわりに湾曲し、第1軸線からの距離が一定の曲率半径を有する曲面に形成されることを特徴とする請求項1〜3のいずれか1つに記載の変形構造体。
  5. 他方の基部は、一方の基部に設けられる規制部が当接する当接部が形成され、当接部は、規制部が当接部に当接した状態で、延在軸線と第1軸線とを含んで構成される仮想平面に関して両側で、規制部に当接することを特徴とする請求項1〜4のいずれか1つに記載の変形構造体。
  6. 規制部が他方の基部に接触した状態に維持する維持部材をさらに含むことを特徴とする請求項1〜5のいずれか1つに記載の変形構造体。
  7. 第1駆動部と、前記第1駆動部に対して予め定められる旋回軸線まわりに相対角変位する第2駆動部とを含んで構成される駆動装置に設けられ、前記第1駆動部と前記第2駆動部とにわたって延びて、可撓性を有するケーブルを支持するケーブルの支持装置であって、
    (a)前記第1駆動部に固定される第1固定部と、
    (b)前記第2駆動部に固定され、第1固定部に対して前記旋回軸線の軸線方向に間隔をあけて配置される第2固定部と、
    (c)請求項1〜6のいずれか1つに記載の変形構造体であって、延在方向一端部が第1固定部に固定され、延在方向他端部が第2固定部に固定されて、前記駆動装置の外周にそって湾曲して延び、各結合部分は、隣接する結合部に対して前記旋回軸線に平行な軸線まわりの角変位が規制部によって防がれるとともに、前記旋回軸線に直交する軸線まわりの所定量の角変位を許容する変形構造体と、
    (d)ケーブルを変形構造体の延在軸線に沿って保持する保持部とを含むことを特徴とするケーブルの支持装置。
JP2005125723A 2005-04-22 2005-04-22 変形構造体およびケーブルの支持装置 Expired - Lifetime JP4376822B2 (ja)

Priority Applications (5)

Application Number Priority Date Filing Date Title
JP2005125723A JP4376822B2 (ja) 2005-04-22 2005-04-22 変形構造体およびケーブルの支持装置
KR1020060036229A KR100808308B1 (ko) 2005-04-22 2006-04-21 가변구조물과 케이블지지시스템
US11/408,001 US7484351B2 (en) 2005-04-22 2006-04-21 Deformable structure and cable support system
EP06252180A EP1714751B1 (en) 2005-04-22 2006-04-21 Deformable structure and cable support system
CNB2006100777858A CN100445050C (zh) 2005-04-22 2006-04-24 可变形结构和缆线支承系统

Applications Claiming Priority (1)

Application Number Priority Date Filing Date Title
JP2005125723A JP4376822B2 (ja) 2005-04-22 2005-04-22 変形構造体およびケーブルの支持装置

Publications (2)

Publication Number Publication Date
JP2006304559A true JP2006304559A (ja) 2006-11-02
JP4376822B2 JP4376822B2 (ja) 2009-12-02

Family

ID=36763022

Family Applications (1)

Application Number Title Priority Date Filing Date
JP2005125723A Expired - Lifetime JP4376822B2 (ja) 2005-04-22 2005-04-22 変形構造体およびケーブルの支持装置

Country Status (5)

Country Link
US (1) US7484351B2 (ja)
EP (1) EP1714751B1 (ja)
JP (1) JP4376822B2 (ja)
KR (1) KR100808308B1 (ja)
CN (1) CN100445050C (ja)

Cited By (5)

* Cited by examiner, † Cited by third party
Publication number Priority date Publication date Assignee Title
KR20150139587A (ko) * 2013-04-05 2015-12-11 이구스 게엠베하 다축 방향으로 각도 조정 가능한 링크를 포함하는 케이블 가이드
KR20160139174A (ko) * 2015-05-27 2016-12-07 주식회사 오피스안건사 케이블 정리용 조립식 홀더
JP2018122404A (ja) * 2017-02-01 2018-08-09 株式会社神戸製鋼所 多関節溶接ロボット
KR20180135937A (ko) * 2016-04-20 2018-12-21 이구스 게엠베하 코일링 및 언코일링될 수 있는 적어도 하나의 공급 라인을 위한 라인 가이딩 시스템 및 이를 위한 로터리 가이드
JP2019013138A (ja) * 2017-05-11 2019-01-24 ヘラーマンタイトン・ゲゼルシャフト・ミット・ベシュレンクテル・ハフツングHellermannTyton GmbH ケーブルチャネルモジュール、ケーブルチャネルモジュールのモジュール式アセンブリ、および、モジュール式アセンブリを組み立てる方法

Families Citing this family (35)

* Cited by examiner, † Cited by third party
Publication number Priority date Publication date Assignee Title
US7644571B2 (en) * 2005-06-01 2010-01-12 Durr Systems, Inc. Hose conduit element for a paint robot
DE502006001189D1 (de) * 2006-02-27 2008-09-04 Bauer Maschinen Gmbh Versorgungsband
AU2007308935B2 (en) * 2006-10-24 2014-07-17 Carnegie Mellon University Steerable multi-linked device having a modular link assembly
JP5656313B2 (ja) 2008-09-05 2015-01-21 カーネギー メロン ユニバーシティ 球形遠位アセンブリを伴う多関節内視鏡装置
US7984605B2 (en) * 2008-09-10 2011-07-26 Netapp, Inc. Cable chain return system and associated methods
US7552581B1 (en) * 2008-09-10 2009-06-30 Lsi Corporation Articulating cable chain assembly
US8215592B2 (en) * 2008-11-26 2012-07-10 Obo Bettermann Of North America EGC compliant wire mesh cable tray system
DE202009005546U1 (de) 2009-04-16 2009-06-18 Igus Gmbh Kabelführung
DE102010003282B4 (de) * 2010-03-25 2015-08-20 Trumpf Werkzeugmaschinen Gmbh + Co. Kg Leitungsführungseinrichtung, insbesondere Energieführungskette
JP4837117B2 (ja) 2010-04-14 2011-12-14 ファナック株式会社 ロボットアーム部の線条体配設機構
JP4865882B2 (ja) * 2010-04-16 2012-02-01 ファナック株式会社 ロボット手首部の線条体配設機構
US8297560B2 (en) * 2010-08-10 2012-10-30 Modernsolid Industrial Co., Ltd. Line-management assembly
FR2965866B1 (fr) 2010-10-08 2013-11-01 Peugeot Citroen Automobiles Sa Dispositif pour transmettre des efforts de traction entre au moins deux cables
CN102918731B (zh) * 2011-03-28 2015-12-02 株式会社润工社 线缆支承构件及线缆支承装置
KR101289985B1 (ko) * 2011-05-27 2013-07-26 한양대학교 에리카산학협력단 로봇 관절체 메커니즘
US8549831B2 (en) 2011-06-08 2013-10-08 Lsi Corporation Systems and methods for tool-less retractable storage of lengths of cable chain
JP5890653B2 (ja) * 2011-10-28 2016-03-22 川崎重工業株式会社 多軸ロボット
JP5661718B2 (ja) 2012-10-12 2015-01-28 ファナック株式会社 ロボットの線条体取付装置
CN103878784B (zh) * 2014-03-19 2016-03-09 苏州大学 一种水下蛇形机器人关节模块
US9557005B2 (en) 2014-05-23 2017-01-31 Roger Neil Rovekamp Planar non-compressible rigidizable chain assembly
CN104959996A (zh) * 2015-06-26 2015-10-07 常州展华机器人有限公司 自动机器人机械手连接线保护管套
WO2017019027A1 (en) * 2015-07-28 2017-02-02 Halliburton Energy Services, Inc. Curved links for wiring conduit
JP6501120B2 (ja) * 2015-10-23 2019-04-17 住友電装株式会社 電線ガイド
CN106066903B (zh) * 2016-01-26 2019-03-29 西北工业大学 一种面向机器人末端执行器的结构强度校核方法
DE102016203361A1 (de) * 2016-03-01 2017-09-07 Kuka Roboter Gmbh Industrieroboter mit einer Schutzmanschette
JP6734103B2 (ja) * 2016-04-06 2020-08-05 川崎重工業株式会社 ロボット制御装置および同制御装置を備えたロボット
DE202016105507U1 (de) * 2016-10-04 2017-11-07 Igus Gmbh Drehdurchführung für Leitungen
CN107053258A (zh) * 2017-05-26 2017-08-18 绵阳伦奇机器人有限公司 一种拖链的铰接结构
CN107565494B (zh) * 2017-09-27 2024-02-02 中国电子科技集团公司第五十四研究所 一种平面内旋转运动有限角度走线装置
KR102159813B1 (ko) * 2018-12-27 2020-09-24 재단법인대구경북과학기술원 순응 관절
WO2021178230A1 (en) * 2020-03-02 2021-09-10 Corning Research & Development Corporation Optical fiber cable tensile strength limiting system
US11848546B2 (en) 2021-02-01 2023-12-19 Magna Powertrain Of America, Inc. High voltage wire protection system for electric vehicles
DE202021100995U1 (de) * 2021-02-26 2022-05-30 Igus Gmbh Räumlich auslenkbare Leitungsführungseinrichtung, insbesondere für einen Roboter
CN117189523A (zh) * 2022-05-31 2023-12-08 金风科技股份有限公司 盘管装置、液冷系统以及风力发电机组
US12460749B2 (en) 2023-04-28 2025-11-04 Hellermanntyton Corporation Cradle mount fixings

Family Cites Families (18)

* Cited by examiner, † Cited by third party
Publication number Priority date Publication date Assignee Title
US4409455A (en) 1982-03-05 1983-10-11 Cincinnati Milacron Inc. Dielectric heating section for blow molding machine
JPS58184293U (ja) * 1982-06-02 1983-12-08 三機工業株式会社 旋回部のケ−ブル支持装置
US4582281A (en) * 1983-06-06 1986-04-15 Sine Products Company Flexible support and carrier assembly
JPS6234795A (ja) 1985-08-01 1987-02-14 フアナツク株式会社 産業用ロボツトのケ−ブル支持装置
IT208046Z2 (it) * 1986-09-15 1988-03-31 Tecno Mobili E Forniture Per A Organo passocavo flessibile a snodi bidirezionali.
US5824957A (en) * 1991-09-03 1998-10-20 Technology Finance Corporation (Proprietary) Limited Electrical cable containment
CA2116860A1 (en) * 1991-09-03 1993-03-18 Nicholas Hugo Holshausen Electrical cable containment
JPH0573339U (ja) * 1992-03-11 1993-10-08 大和電業株式会社 開放型ケーブルドラッグチェーン
DE19716695C1 (de) * 1997-04-21 1998-12-10 Kabelschlepp Gmbh Energieführungskette zum stationären Führen von Leitungen
DK174401B1 (da) * 1997-05-15 2003-02-10 Raunkjaer Hans Thyge System til fremføring af bundter af ledninger
DE29913063U1 (de) * 1999-07-30 2000-02-17 Igus Spritzgußteile für die Industrie GmbH, 51147 Köln Energiezuführungskette
JP3356758B2 (ja) * 2000-09-13 2002-12-16 株式会社椿本チエイン ケーブルドラグチェーン
DE20107003U1 (de) * 2001-04-23 2002-09-19 Igus Spritzgußteile für die Industrie GmbH, 51147 Köln Energieführungskette
JP4142304B2 (ja) * 2001-10-22 2008-09-03 株式会社安川電機 アーク溶接用ロボット
DE10216081B4 (de) * 2002-04-11 2005-03-31 Kabelschlepp Gmbh Roboter mit einer Leitungsführungseinrichtung
KR200292293Y1 (ko) * 2002-07-25 2002-10-18 김두진 케이블체인용 체인구
JP3717071B2 (ja) * 2002-11-05 2005-11-16 株式会社椿本チエイン 密閉型ケーブルドラグチェーン
DE20305677U1 (de) 2003-04-07 2003-07-10 Igus Spritzgußteile für die Industrie GmbH, 51147 Köln Kabelführung

Cited By (12)

* Cited by examiner, † Cited by third party
Publication number Priority date Publication date Assignee Title
KR20150139587A (ko) * 2013-04-05 2015-12-11 이구스 게엠베하 다축 방향으로 각도 조정 가능한 링크를 포함하는 케이블 가이드
KR102284885B1 (ko) 2013-04-05 2021-08-02 이구스 게엠베하 다축 방향으로 각도 조정 가능한 링크를 포함하는 케이블 가이드
KR20160139174A (ko) * 2015-05-27 2016-12-07 주식회사 오피스안건사 케이블 정리용 조립식 홀더
KR101689756B1 (ko) * 2015-05-27 2017-01-09 주식회사 오피스안건사 케이블 정리용 조립식 홀더
KR20180135937A (ko) * 2016-04-20 2018-12-21 이구스 게엠베하 코일링 및 언코일링될 수 있는 적어도 하나의 공급 라인을 위한 라인 가이딩 시스템 및 이를 위한 로터리 가이드
JP2019520282A (ja) * 2016-04-20 2019-07-18 イグス ゲゼルシャフト ミット ベシュレンクター ハフトゥング 巻取りおよび巻出しされ得る少なくとも1本の供給ラインのための線材案内システム、および線材案内システムのための回転式ガイド
US11235947B2 (en) 2016-04-20 2022-02-01 Igus Gmbh Line guiding system for at least one supply line which can be coiled and uncoiled and rotary guide therefor
JP7084876B2 (ja) 2016-04-20 2022-06-15 イグス ゲゼルシャフト ミット ベシュレンクター ハフトゥング 巻取りおよび巻出しされ得る少なくとも1本の供給ラインのための線材案内システム、および線材案内システムのための回転式ガイド
KR102554680B1 (ko) 2016-04-20 2023-07-13 이구스 게엠베하 코일링 및 언코일링될 수 있는 적어도 하나의 공급 라인을 위한 라인 가이딩 시스템 및 이를 위한 로터리 가이드
JP2018122404A (ja) * 2017-02-01 2018-08-09 株式会社神戸製鋼所 多関節溶接ロボット
US11220011B2 (en) 2017-02-01 2022-01-11 Kobe Steel, Ltd. Multi-jointed welding robot
JP2019013138A (ja) * 2017-05-11 2019-01-24 ヘラーマンタイトン・ゲゼルシャフト・ミット・ベシュレンクテル・ハフツングHellermannTyton GmbH ケーブルチャネルモジュール、ケーブルチャネルモジュールのモジュール式アセンブリ、および、モジュール式アセンブリを組み立てる方法

Also Published As

Publication number Publication date
KR20060111407A (ko) 2006-10-27
EP1714751A2 (en) 2006-10-25
KR100808308B1 (ko) 2008-02-27
EP1714751A3 (en) 2007-12-26
CN1850456A (zh) 2006-10-25
US7484351B2 (en) 2009-02-03
JP4376822B2 (ja) 2009-12-02
EP1714751B1 (en) 2012-05-16
CN100445050C (zh) 2008-12-24
US20060258229A1 (en) 2006-11-16

Similar Documents

Publication Publication Date Title
JP4376822B2 (ja) 変形構造体およびケーブルの支持装置
CN110248778B (zh) 多关节焊接机器人
JP4099628B2 (ja) 産業用ロボット
CN104275707B (zh) 机器人用驱动线缆的处理构造体和机器人装置
CN100411831C (zh) 机器人手臂的线缆的配设构造及具备它的工业用机器人
CN109421065B (zh) 机器人以及机器人系统
EP1743748B1 (en) Guiding structure comprising a flexible tabular guide member for an umbilical member of an industrial robot
JP6605432B2 (ja) 産業用ロボット
JP2009522121A (ja) ロボットアーム
JP5833836B2 (ja) 多関節型産業用ロボット
JP2007229874A (ja) 産業用ロボット
WO2001039933A1 (en) Industrial robot
JP2015027713A (ja) ロボット
KR102020278B1 (ko) 산업용 로봇의 케이블 가이드 장치
JP2014050898A (ja) パラレルリンクロボットの線条体処理構造
JP4831867B2 (ja) 産業用ロボットおよびその動作方法
JP5151514B2 (ja) 線条体案内機構を備えた産業用ロボット
EP1602460A1 (en) Umbilical member managing system for industrial robot
US20240189983A1 (en) Continuum arm robot joint
JP5151513B2 (ja) 線条体案内機構を備えた産業用ロボット
JP2006159372A (ja) 産業用ロボット
JP2004223635A (ja) パラレルリンク機構の配線配管構造
JP2003311672A (ja) ロボットの線条体案内装置
JP2007175849A (ja) ロボット
KR102879475B1 (ko) 다관절 장치

Legal Events

Date Code Title Description
A621 Written request for application examination

Free format text: JAPANESE INTERMEDIATE CODE: A621

Effective date: 20070112

A977 Report on retrieval

Free format text: JAPANESE INTERMEDIATE CODE: A971007

Effective date: 20081028

A131 Notification of reasons for refusal

Free format text: JAPANESE INTERMEDIATE CODE: A131

Effective date: 20090106

A521 Request for written amendment filed

Free format text: JAPANESE INTERMEDIATE CODE: A523

Effective date: 20090309

A131 Notification of reasons for refusal

Free format text: JAPANESE INTERMEDIATE CODE: A131

Effective date: 20090526

A521 Request for written amendment filed

Free format text: JAPANESE INTERMEDIATE CODE: A523

Effective date: 20090727

TRDD Decision of grant or rejection written
A01 Written decision to grant a patent or to grant a registration (utility model)

Free format text: JAPANESE INTERMEDIATE CODE: A01

Effective date: 20090908

A01 Written decision to grant a patent or to grant a registration (utility model)

Free format text: JAPANESE INTERMEDIATE CODE: A01

A61 First payment of annual fees (during grant procedure)

Free format text: JAPANESE INTERMEDIATE CODE: A61

Effective date: 20090909

R150 Certificate of patent or registration of utility model

Ref document number: 4376822

Country of ref document: JP

Free format text: JAPANESE INTERMEDIATE CODE: R150

Free format text: JAPANESE INTERMEDIATE CODE: R150

FPAY Renewal fee payment (event date is renewal date of database)

Free format text: PAYMENT UNTIL: 20120918

Year of fee payment: 3

FPAY Renewal fee payment (event date is renewal date of database)

Free format text: PAYMENT UNTIL: 20120918

Year of fee payment: 3

FPAY Renewal fee payment (event date is renewal date of database)

Free format text: PAYMENT UNTIL: 20130918

Year of fee payment: 4

FPAY Renewal fee payment (event date is renewal date of database)

Free format text: PAYMENT UNTIL: 20140918

Year of fee payment: 5

R250 Receipt of annual fees

Free format text: JAPANESE INTERMEDIATE CODE: R250

R250 Receipt of annual fees

Free format text: JAPANESE INTERMEDIATE CODE: R250

EXPY Cancellation because of completion of term