JP2006014635A - 握り玉整形装置 - Google Patents
握り玉整形装置 Download PDFInfo
- Publication number
- JP2006014635A JP2006014635A JP2004194529A JP2004194529A JP2006014635A JP 2006014635 A JP2006014635 A JP 2006014635A JP 2004194529 A JP2004194529 A JP 2004194529A JP 2004194529 A JP2004194529 A JP 2004194529A JP 2006014635 A JP2006014635 A JP 2006014635A
- Authority
- JP
- Japan
- Prior art keywords
- shaping
- rice
- rollers
- roller
- ball
- Prior art date
- Legal status (The legal status is an assumption and is not a legal conclusion. Google has not performed a legal analysis and makes no representation as to the accuracy of the status listed.)
- Pending
Links
- 241000209094 Oryza Species 0.000 claims abstract description 59
- 235000007164 Oryza sativa Nutrition 0.000 claims abstract description 59
- 235000009566 rice Nutrition 0.000 claims abstract description 59
- 230000002093 peripheral effect Effects 0.000 claims abstract description 28
- 230000007246 mechanism Effects 0.000 claims abstract description 6
- 238000007493 shaping process Methods 0.000 claims description 152
- 230000007723 transport mechanism Effects 0.000 claims description 16
- 230000006835 compression Effects 0.000 claims description 11
- 238000007906 compression Methods 0.000 claims description 11
- 230000015572 biosynthetic process Effects 0.000 abstract 1
- 230000004048 modification Effects 0.000 description 4
- 238000012986 modification Methods 0.000 description 4
- 230000005540 biological transmission Effects 0.000 description 2
- 238000007792 addition Methods 0.000 description 1
- 235000012149 noodles Nutrition 0.000 description 1
- 238000003756 stirring Methods 0.000 description 1
Images
Landscapes
- Cereal-Derived Products (AREA)
Abstract
【課題】 簡単な構成にて定量分の握り玉を整形することができる握り玉整形装置を提供すること。
【解決手段】 搬送機構3の下方に周面10に凹部12が形成された1対の整形ローラ9a、9bを設け、これら整形ローラ9a、9bをその周面が当接し、かつ逆方向に同期回転した際に互いの凹部12、12が対向するように配置する。これにより、整形ローラ9a、9bを回転させるのみで、整形ローラ9a、9bの凹部12、12内に送り出された米飯が双方の凹部12、12の内面により圧縮されて握り玉状に整形されるとともに、整形ローラ9a、9bの周面10、10同士が当接して凹部12、12内の整形された米飯、すなわち定量分の米飯が切り離される。
【選択図】 図4
【解決手段】 搬送機構3の下方に周面10に凹部12が形成された1対の整形ローラ9a、9bを設け、これら整形ローラ9a、9bをその周面が当接し、かつ逆方向に同期回転した際に互いの凹部12、12が対向するように配置する。これにより、整形ローラ9a、9bを回転させるのみで、整形ローラ9a、9bの凹部12、12内に送り出された米飯が双方の凹部12、12の内面により圧縮されて握り玉状に整形されるとともに、整形ローラ9a、9bの周面10、10同士が当接して凹部12、12内の整形された米飯、すなわち定量分の米飯が切り離される。
【選択図】 図4
Description
本発明は、飯を握り玉状に整形する握り玉整形装置に関する。
従来の握り玉整形装置では、開口部より供給された米飯を圧縮しながら下方に送り出す圧縮装置を設け、圧縮装置により送り出された米飯が切断刃により切断されることにより定量ずつターンテーブルの型枠用穴内に供給され、型枠用穴内に供給された米飯が上下昇降自在に設けられた上型が設けられた押圧装置により押圧されて握り玉が整形されるようになっている(例えば、特許文献1参照)。
上述のように、従来の握り玉整形装置では、圧縮装置により送り出された米飯を定量ずつターンテーブルの型枠用穴に供給するための切断刃とターンテーブルに供給された米飯を整形するための押圧装置が各々設けられているので、部品点数も多くなるうえに、機構も複雑となり故障の原因ともなった。
本発明は、このような問題点に着目してなされたもので、簡単な構成にて定量分の握り玉を整形することができる握り玉整形装置を提供することを目的とする。
上記課題を解決するために、本発明の請求項1に記載の握り玉整形装置は、飯を握り玉状に整形する握り玉整形装置であって、
飯を所定の方向に送り出す搬送機構を備え、
周面に凹部が形成された整形ローラと、
前記搬送機構により前記整形ローラの凹部内に送り出された飯を該整形ローラの回転に伴い圧縮する圧縮面と前記整形ローラの周面に当接する当接面が形成された整形部材と、
が前記搬送機構の送り出し側に設けられていることを特徴としている。
この特徴によれば、整形ローラを回転させるのみで、凹部内に送り出された飯が圧縮面により圧縮されて握り玉状に整形されるとともに、整形ローラの周面が当接面に当接して搬送機構から送り出された飯と凹部内の飯とが切り離されるので、簡単な構成にて定量分の握り玉を整形することができる。
飯を所定の方向に送り出す搬送機構を備え、
周面に凹部が形成された整形ローラと、
前記搬送機構により前記整形ローラの凹部内に送り出された飯を該整形ローラの回転に伴い圧縮する圧縮面と前記整形ローラの周面に当接する当接面が形成された整形部材と、
が前記搬送機構の送り出し側に設けられていることを特徴としている。
この特徴によれば、整形ローラを回転させるのみで、凹部内に送り出された飯が圧縮面により圧縮されて握り玉状に整形されるとともに、整形ローラの周面が当接面に当接して搬送機構から送り出された飯と凹部内の飯とが切り離されるので、簡単な構成にて定量分の握り玉を整形することができる。
本発明の請求項2に記載の握り玉整形装置は、請求項1に記載の握り玉整形装置であって、
1対の前記整形ローラの周面同士が当接して配置され、該1対の整形ローラを互いの凹部が同時期に対向するように各々逆方向に回転させるとともに、
前記整形部材が前記整形ローラにて構成されていることを特徴としている。
この特徴によれば、1対の整形ローラにおける一方の整形ローラの凹部内面が他方の整形ローラの凹部内の飯を圧縮する圧縮面として機能し、一方の整形ローラの周面が他方の整形ローラの周面に当接する当接面として機能するので、凹部内の飯を均一な力で圧縮できるうえに、左右対称の見栄えの良い握り玉を整形できる。
1対の前記整形ローラの周面同士が当接して配置され、該1対の整形ローラを互いの凹部が同時期に対向するように各々逆方向に回転させるとともに、
前記整形部材が前記整形ローラにて構成されていることを特徴としている。
この特徴によれば、1対の整形ローラにおける一方の整形ローラの凹部内面が他方の整形ローラの凹部内の飯を圧縮する圧縮面として機能し、一方の整形ローラの周面が他方の整形ローラの周面に当接する当接面として機能するので、凹部内の飯を均一な力で圧縮できるうえに、左右対称の見栄えの良い握り玉を整形できる。
本発明の請求項3に記載の握り玉整形装置は、請求項1に記載の握り玉整形装置であって、
1対の前記整形ローラの周面同士が当接して配置され、該1対の整形ローラを互いの凹部が同時期に対向しないように各々逆方向に回転させるとともに、
前記整形部材が前記整形ローラにて構成されていることを特徴としている。
この特徴によれば、1対の整形ローラにおける一方の整形ローラの周面が他方の整形ローラの凹部内の飯を圧縮する圧縮面及び該他方の整形ローラの周面に当接する当接面として機能し、一方の整形ローラの凹部と他方の整形ローラの凹部とで別個の握り玉を整形できるので、短時間で多くの握り玉を整形できる。
1対の前記整形ローラの周面同士が当接して配置され、該1対の整形ローラを互いの凹部が同時期に対向しないように各々逆方向に回転させるとともに、
前記整形部材が前記整形ローラにて構成されていることを特徴としている。
この特徴によれば、1対の整形ローラにおける一方の整形ローラの周面が他方の整形ローラの凹部内の飯を圧縮する圧縮面及び該他方の整形ローラの周面に当接する当接面として機能し、一方の整形ローラの凹部と他方の整形ローラの凹部とで別個の握り玉を整形できるので、短時間で多くの握り玉を整形できる。
本発明の請求項4に記載の握り玉整形装置は、請求項1〜3のいずれかに記載の握り玉整形装置であって、
前記整形ローラの周面には前記凹部が複数形成されていることを特徴としている。
この特徴によれば、整形ローラの1回の回転で複数の握り玉を整形できるので、短時間で多くの握り玉を整形できる。
前記整形ローラの周面には前記凹部が複数形成されていることを特徴としている。
この特徴によれば、整形ローラの1回の回転で複数の握り玉を整形できるので、短時間で多くの握り玉を整形できる。
本発明の請求項5に記載の握り玉整形装置は、請求項1〜4のいずれかに記載の握り玉整形装置であって、
前記整形ローラの下方に該整形ローラの回転に応じて移動する移動板が設けられていることを特徴としている。
この特徴によれば、整形ローラから離脱した握り玉が重なってしまうことを防止できる。
前記整形ローラの下方に該整形ローラの回転に応じて移動する移動板が設けられていることを特徴としている。
この特徴によれば、整形ローラから離脱した握り玉が重なってしまうことを防止できる。
本発明の実施例を以下に説明する。
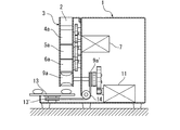
本発明の実施例を図面に基づいて説明すると、本実施例の握り玉整形装置1は、図1に示すように、上部に設置される撹拌装置(図示略)から開口部2に供給された米飯を圧縮しながら下方に送り出す搬送機構3が設けられている。
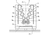
搬送機構3は、図2及び図3に示すように、離間して配置された3対の搬送ローラ4a、4b、5a、5b、6a、6bからなり、下方に設けられたものほど、その離間幅が狭くなるように配置されている。
これら搬送ローラ4a、4b、5a、5b、6a、6bは、駆動モータ7の駆動により図2中矢印方向に回転するようになっており、搬送ローラ4a、4b、5a、5b、6a、6bの回転により、開口部2から供給された米飯が徐々に圧縮されつつ下方に搬送されるようになっている。尚、図2中の8は、駆動モータ7の動力を搬送ローラ4a、4b、5a、5b、6a、6bに伝達するための伝達ギアである。
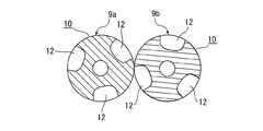
搬送ローラ4a、4b、5a、5b、6a、6bのうち最も下部に配置された搬送ローラ6a、6bの下方には、図2及び図3に示すように、1対の整形ローラ9a、9bが、その周面10、10が互いに当接するように配置されている。
これら1対の整形ローラ9a、9bは、駆動モータ11の駆動により図2中左側の整形ローラ9aが時計回りに、図2中右側の整形ローラ9bが反時計回りに同期して回転するようになっている。すなわち各々が内側に向かって同期回転するようになっている。
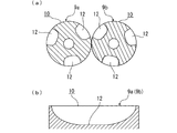
また、1対の整形ローラ9a、9bの周面10、10には、図4(a)(b)に示すように、回転軸方向に長い略半球状の凹部12が各々3つ等間隔に形成されており、回転時に互いの凹部12同士が対向するように配置されている。
整形ローラ9a、9bの下方には、ターンテーブル13が設けられている。ターンテーブル13の回転軸にはプーリー13’が設けられている。そして、プーリー13’と整形ローラ9bの回転軸に設けられたプーリー9b’間に架けられた伝達ベルト14を介して駆動モータ11の動力が伝達され、ターンテーブル13が図1中矢印方向に回転するようになっている。すなわちターンテーブル13は、整形ローラ9a、9bの回転に連動して回転するようになっている。
次に、本実施例の握り玉整形装置1の動作状況について説明する。
まず、図5(a)に示すように、整形ローラ9a、9bの凹部12、12が上方で向き合う状態となったときに、搬送ローラ4a、4b、5a、5b、6a、6bを回転させて定量分の米飯を送り出す。これにより、米飯が整形ローラ9a、9bの凹部12、12内に送り出される。
次いで、搬送ローラ4a、4b、5a、5b、6a、6bの回転を停止して、整形ローラ9a、9bを回転させる。これに伴い、図5(b)に示すように、整形ローラ9aの凹部12の内面により内側の米飯が整形ローラ9bの凹部12側に押圧され、整形ローラ9bの凹部12の内面により内側の米飯が整形ローラ9aの凹部12側に押圧される。すなわち双方の整形ローラ9a、9bの凹部12、12の内面により米飯が圧縮される。また、前述のように凹部12、12は、回転軸方向に長い略半球状に形成されているので、双方の凹部12、12から圧縮されることで、内部の米飯が細長い球状、すなわち握り玉状に整形される。
また、整形ローラ9a、9bが図6(a)の位置まで回転した時点で、整形ローラ9a、9bの周面10、10同士が当接した状態となり、搬送機構3から送り出された米飯と整形ローラ9a、9bの凹部12、12により握り玉状に整形された米飯とが切り分けられる。すなわち整形ローラ9a、9bの周面10、10同士の当接により搬送機構3から送り出された定量分の米飯が切り分けられることとなる。
更に、図6(b)に示すように、整形ローラ9a、9bが回転することで整形ローラ9a、9bの凹部12、12内面により握り玉状の米飯が押し出されるとともに、米飯自体の重みにより下方のターンテーブル13上に落下するようになっている。
また、凹部12、12が図5(a)に示す位置となった時点で整形ローラ9a、9bの回転を停止し、これらの動作を繰り返すことにより、搬送機構3から送り出された米飯が順次定量分の握り玉状に整形されるようになっている。
以上説明したように、本実施例の握り玉整形装置1では、整形ローラ9a、9bを回転させるのみで、整形ローラ9a、9bの凹部12、12内に送り出された米飯が双方の凹部12、12の内面により圧縮されて握り玉状に整形されるとともに、整形ローラ9a、9bの周面10、10同士が当接して凹部12、12内の整形された米飯、すなわち定量分の米飯が切り離されるので、簡単な構成にて定量分の握り玉を整形することができる。
また、本実施例では、整形ローラ9aの凹部12内面が整形ローラ9bの凹部12内の米飯を圧縮する圧縮面として機能し、整形ローラ9bの凹部12内面が整形ローラ9aの凹部12内の米飯を圧縮する圧縮面として機能するとともに、整形ローラ9aの周面10が整形ローラ9bの周面10に当接する当接面として機能し、整形ローラ9bの周面10が整形ローラ9aの周面10に当接する当接面として機能する。すなわち整形ローラ9a、9bはともに本発明の整形ローラ及び整形部材として機能する。これにより、凹部12、12内の米飯を均一な力で圧縮できるので、整形された米飯の食感を均一化することができるとともに、左右対象の凹部12、12にて圧縮されるので、見栄えの良い握り玉を整形できる。更に、凹部12の深さを浅く形成してもボリュームのある握り玉状に整形できるので、凹部12から米飯が離脱し易い。
また、本実施例では、整形ローラ9a、9bの周面10、10に各々複数(本実施例では3つ)の凹部12が形成されており、整形ローラ9a、9bの1回の回転で複数の握り玉を整形できるので、整形ローラ9a、9bの回転速度を上げなくとも短時間で多くの握り玉を整形できる。
また、本実施例では、整形ローラ9a、9bの回転に連動して回転するターンテーブル13が設けられており、以前に整形されてターンテーブル13上に落下した米飯が整形ローラ9a、9bの回転に伴い整形ローラ9a、9bの下方から移動するので、新たに整形された米飯が以前に整形された米飯の上に重なってしまうことを防止できる。
また、本実施例では、搬送機構3が定量分の米飯を送り出した後停止するので、搬送機構3から余分に米飯が送り出されて整形ローラ9a、9bの周面10、10の間に巻き込まれてしまうことを防止できる。
以上、本発明の実施例を図面により説明してきたが、具体的な構成はこれら実施例に限られるものではなく、本発明の要旨を逸脱しない範囲における変更や追加があっても本発明に含まれる。
例えば、前述の実施例では、1対の整形ローラ9a、9bの周面10、10同士が当接して配置され、これら1対の整形ローラ9a、9bを互いの凹部12、12が同時期に対向するように配置されているが、図7に示すように、1対の整形ローラ9a、9bを互いの凹部12、12が同時期に対向しないように、すなわち互いの凹部12、12をずれた位置に配置する構成としても良く、このようにすれば、整形ローラ9aの周面が整形ローラ9bの凹部12内の飯を圧縮する圧縮面及び整形ローラ9bの周面10と当接する当接面として機能するとともに、整形ローラ9bの周面が整形ローラ9aの凹部12内の飯を圧縮する圧縮面及び整形ローラ9aの周面10と当接する当接面として機能し、整形ローラ9aの凹部12と整形ローラ9bの凹部12とで別個に握り玉状の米飯を整形できるので、短時間で多くの握り玉を整形できる。
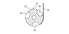
また、図8に示すように、搬送機構3の下方に回転軸方向に長い略半球状の凹部16が周面17に形成された整形ローラ15とその周面17に当接する整形板18(整形部材)を設けた構成としても良く、このようにした場合でも、整形ローラ15を回転することで搬送機構3から送り出された凹部16内の米飯が整形板18により圧縮され、細長い半球状の握り玉に整形されるとともに、整形ローラ15の周面17と整形板18が当接して凹部16内の整形された米飯が切り離されるので、簡単な構成にて定量分の握り玉を整形することができる。
また、図9に示すように、整形ローラ9a、9bの凹部12、12や整形ローラ15の凹部16の底面と底面部18の間に付勢部材19を取り付けて、底面部18が外方に向かって付勢されるようにしても良く、このようにすれば、凹部内の米飯を適度な力で圧縮できるとともに、整形された米飯の凹部からの離脱を補助することができる。
また、前述の実施例では、整形する握り玉として握り寿司に用いるしゃり玉を想定しているため、整形ローラ9a、9bの凹部12、12や整形ローラ15の凹部16が回転軸方向に長い半球状に形成されたものを例示しているが、例えば、握り玉の用途に合わせてこれら整形ローラの凹部を直方体状や半円筒状、半球状等、適宜に変更したものでも良い。
また、前述の実施例では、搬送機構3が下方に米飯を搬送する構成としているが、例えば、ベルトコンベア等により、横方向に搬送し、搬送方向側に整形ローラ及び整形部材を設けても良い。
1 握り玉整形装置
2 開口部
3 搬送機構
9a、9b 整形ローラ
10 周面
12 凹部
2 開口部
3 搬送機構
9a、9b 整形ローラ
10 周面
12 凹部
Claims (5)
- 飯を握り玉状に整形する握り玉整形装置であって、
飯を所定の方向に送り出す搬送機構を備え、
周面に凹部が形成された整形ローラと、
前記搬送機構により前記整形ローラの凹部内に送り出された飯を該整形ローラの回転に伴い圧縮する圧縮面と前記整形ローラの周面に当接する当接面が形成された整形部材と、
が前記搬送機構の送り出し側に設けられていることを特徴とする握り玉整形装置。 - 1対の前記整形ローラの周面同士が当接して配置され、該1対の整形ローラを互いの凹部が同時期に対向するように各々逆方向に回転させるとともに、
前記整形部材が前記整形ローラにて構成されていることを特徴とする請求項1に記載の握り玉整形装置。 - 1対の前記整形ローラの周面同士が当接して配置され、該1対の整形ローラを互いの凹部が同時期に対向しないように各々逆方向に回転させるとともに、
前記整形部材が前記整形ローラにて構成されていることを特徴とする請求項1に記載の握り玉整形装置。 - 前記整形ローラの周面には前記凹部が複数形成されていることを特徴とする請求項1〜3のいずれかに記載の握り玉整形装置。
- 前記整形ローラの下方に該整形ローラの回転に応じて移動する移動板が設けられていることを特徴とする請求項1〜4のいずれかに記載の握り玉整形装置。
Priority Applications (1)
| Application Number | Priority Date | Filing Date | Title |
|---|---|---|---|
| JP2004194529A JP2006014635A (ja) | 2004-06-30 | 2004-06-30 | 握り玉整形装置 |
Applications Claiming Priority (1)
| Application Number | Priority Date | Filing Date | Title |
|---|---|---|---|
| JP2004194529A JP2006014635A (ja) | 2004-06-30 | 2004-06-30 | 握り玉整形装置 |
Publications (1)
| Publication Number | Publication Date |
|---|---|
| JP2006014635A true JP2006014635A (ja) | 2006-01-19 |
Family
ID=35789420
Family Applications (1)
| Application Number | Title | Priority Date | Filing Date |
|---|---|---|---|
| JP2004194529A Pending JP2006014635A (ja) | 2004-06-30 | 2004-06-30 | 握り玉整形装置 |
Country Status (1)
| Country | Link |
|---|---|
| JP (1) | JP2006014635A (ja) |
Cited By (5)
| Publication number | Priority date | Publication date | Assignee | Title |
|---|---|---|---|---|
| JP2012029617A (ja) * | 2010-07-30 | 2012-02-16 | Audio Technica Corp | 米飯成形装置およびその制御方法 |
| JP2012152150A (ja) * | 2011-01-27 | 2012-08-16 | Audio Technica Corp | 米飯成型装置 |
| JP2013138651A (ja) * | 2011-12-29 | 2013-07-18 | Fuji Seiki Co Ltd | シャリ玉成型装置 |
| CN104957739A (zh) * | 2015-07-13 | 2015-10-07 | 王国良 | 一种自动化丸子生产装置 |
| CN105310097A (zh) * | 2015-07-29 | 2016-02-10 | 浙江海洋学院 | 一种带鱼调理食品的加工装置 |
Citations (5)
| Publication number | Priority date | Publication date | Assignee | Title |
|---|---|---|---|---|
| JPS6147160A (ja) * | 1984-08-10 | 1986-03-07 | Audio Technica Corp | 食品成形機 |
| JPS61202665A (ja) * | 1985-03-07 | 1986-09-08 | Audio Technica Corp | 食品成形機 |
| JPH1156274A (ja) * | 1997-08-21 | 1999-03-02 | Makoto Suzuki | 食品成形装置 |
| JPH11206330A (ja) * | 1998-01-22 | 1999-08-03 | Ex Systems:Kk | 食品成型装置 |
| JP2006000026A (ja) * | 2004-06-16 | 2006-01-05 | Audio Technica Corp | 米飯成型装置 |
-
2004
- 2004-06-30 JP JP2004194529A patent/JP2006014635A/ja active Pending
Patent Citations (5)
| Publication number | Priority date | Publication date | Assignee | Title |
|---|---|---|---|---|
| JPS6147160A (ja) * | 1984-08-10 | 1986-03-07 | Audio Technica Corp | 食品成形機 |
| JPS61202665A (ja) * | 1985-03-07 | 1986-09-08 | Audio Technica Corp | 食品成形機 |
| JPH1156274A (ja) * | 1997-08-21 | 1999-03-02 | Makoto Suzuki | 食品成形装置 |
| JPH11206330A (ja) * | 1998-01-22 | 1999-08-03 | Ex Systems:Kk | 食品成型装置 |
| JP2006000026A (ja) * | 2004-06-16 | 2006-01-05 | Audio Technica Corp | 米飯成型装置 |
Cited By (5)
| Publication number | Priority date | Publication date | Assignee | Title |
|---|---|---|---|---|
| JP2012029617A (ja) * | 2010-07-30 | 2012-02-16 | Audio Technica Corp | 米飯成形装置およびその制御方法 |
| JP2012152150A (ja) * | 2011-01-27 | 2012-08-16 | Audio Technica Corp | 米飯成型装置 |
| JP2013138651A (ja) * | 2011-12-29 | 2013-07-18 | Fuji Seiki Co Ltd | シャリ玉成型装置 |
| CN104957739A (zh) * | 2015-07-13 | 2015-10-07 | 王国良 | 一种自动化丸子生产装置 |
| CN105310097A (zh) * | 2015-07-29 | 2016-02-10 | 浙江海洋学院 | 一种带鱼调理食品的加工装置 |
Similar Documents
| Publication | Publication Date | Title |
|---|---|---|
| US10308442B2 (en) | Conveyed-object discharge device | |
| MX2008002195A (es) | Sistemas y metodos para proporcionar un transportador de sincronizacion mejorada. | |
| CN101678958A (zh) | 分层式单排机 | |
| CN110546088B (zh) | 输送装置和输送方向改变装置 | |
| JP2006014635A (ja) | 握り玉整形装置 | |
| US5320575A (en) | Machine for automatically cutting shells of crab legs | |
| KR20060025725A (ko) | 떡 및 제과용 소재 자동절단장치 | |
| JP2003070432A (ja) | 米飯成形装置 | |
| JP2015231884A (ja) | パン反転装置及びパン搬送システム | |
| JPH11206330A (ja) | 食品成型装置 | |
| JP3203709U (ja) | 異形鋼板の搬送装置 | |
| CN211020831U (zh) | 用于棒糖机的糖杆防卡输送机构 | |
| WO2006022482A1 (en) | Noodles manufacturing apparatus | |
| CN204546601U (zh) | 一种传送切片联动的食品切条机 | |
| CN204546600U (zh) | 一种传送切片联动的切片机 | |
| JP2007105014A (ja) | シャリ玉製造装置 | |
| CN219543366U (zh) | 一种吐司面包自动生产线 | |
| JP6957060B1 (ja) | 部品供給装置 | |
| JP4256063B2 (ja) | 茶巾寿司製造機 | |
| KR200338022Y1 (ko) | 홈 성형장치 | |
| JP7153919B2 (ja) | 寿司玉成形装置 | |
| KR100476306B1 (ko) | 자동조심형 환봉 가이드 장치 | |
| JPH05304932A (ja) | スライス装置用原木供給装置 | |
| JP3088715B1 (ja) | 御櫃型寿司玉成形装置 | |
| JP2021178379A (ja) | 三連スライサー |
Legal Events
| Date | Code | Title | Description |
|---|---|---|---|
| A621 | Written request for application examination |
Free format text: JAPANESE INTERMEDIATE CODE: A621 Effective date: 20070507 |
|
| A977 | Report on retrieval |
Free format text: JAPANESE INTERMEDIATE CODE: A971007 Effective date: 20090928 |
|
| A131 | Notification of reasons for refusal |
Free format text: JAPANESE INTERMEDIATE CODE: A131 Effective date: 20100202 |
|
| A02 | Decision of refusal |
Free format text: JAPANESE INTERMEDIATE CODE: A02 Effective date: 20100601 |