JP2005297074A - 金属製薄板ドラムの切断装置 - Google Patents

金属製薄板ドラムの切断装置 Download PDF

Info

Publication number
JP2005297074A
JP2005297074A JP2004111860A JP2004111860A JP2005297074A JP 2005297074 A JP2005297074 A JP 2005297074A JP 2004111860 A JP2004111860 A JP 2004111860A JP 2004111860 A JP2004111860 A JP 2004111860A JP 2005297074 A JP2005297074 A JP 2005297074A
Authority
JP
Japan
Prior art keywords
drum
holding member
claw portion
diameter
support shaft
Prior art date
Legal status (The legal status is an assumption and is not a legal conclusion. Google has not performed a legal analysis and makes no representation as to the accuracy of the status listed.)
Granted
Application number
JP2004111860A
Other languages
English (en)
Other versions
JP4249648B2 (ja
Inventor
Tsutomu Maruyama
勉 丸山
Current Assignee (The listed assignees may be inaccurate. Google has not performed a legal analysis and makes no representation or warranty as to the accuracy of the list.)
Honda Motor Co Ltd
Original Assignee
Honda Motor Co Ltd
Priority date (The priority date is an assumption and is not a legal conclusion. Google has not performed a legal analysis and makes no representation as to the accuracy of the date listed.)
Filing date
Publication date
Application filed by Honda Motor Co Ltd filed Critical Honda Motor Co Ltd
Priority to JP2004111860A priority Critical patent/JP4249648B2/ja
Publication of JP2005297074A publication Critical patent/JP2005297074A/ja
Application granted granted Critical
Publication of JP4249648B2 publication Critical patent/JP4249648B2/ja
Anticipated expiration legal-status Critical
Expired - Fee Related legal-status Critical Current

Links

Images

Landscapes

  • Accessories And Tools For Shearing Machines (AREA)

Abstract

【課題】径の異なるドラムを容易に保持することができ、製造コストを削減することができる金属製薄板ドラムの切断装置を提供する。
【解決手段】
支持軸11は、ドラム2を外周に保持する保持部材12と、ドラム2より大径の大径ドラムを保持する大径ドラム用保持部材とを選択的に支持する。支持軸11にクランプ手段15を設ける。クランプ手段15は、保持部材12のドラム2端部に圧接する第1爪部20と、大径ドラム用保持部材を支持軸に支持したときに大径ドラムの端部に圧接する第2爪部22とを備える。第1爪部20は、保持部材12のドラム2に切り込んだ時の押切り刃具5と第2爪部22との接触を回避する位置に延出して設けられる。
【選択図】図1

Description

本発明は、金属製の薄板により円筒状に形成されたドラムを輪切り状に切断する金属製薄板ドラムの切断装置に関する。
例えば、無段変速機に採用される動力伝達用のベルトにおいては、環状に積層配列された複数のエレメントを一体に結束するために、複数の金属リングを積層してなる積層リングが用いられる。この種の積層リングを構成する金属リングは、矩形状の金属製薄板の両端縁を溶接接合して形成された円筒状のドラムを所定幅で輪切り状に切断することによって形成される。
従来、円筒状のドラムを所定幅毎に切断して前記金属リングを形成する切断装置として、例えば、特許文献1に見られるものが知られている。該切断装置によって前記金属リングを形成する場合には、先ず、回転駆動される支持軸に支持されて外径が拡縮自在の円筒状のコレットにドラムを装着した後、該コレットと支持軸との間に設けられた拡径手段によりコレットを拡径し、これによって、コレットの周壁をドラムの内周面に圧接して該ドラムを支持する。そして、該コレットに支持されたドラムはその側面から押切り刃具が圧接されて輪切りにされ、これによって、コレットに支持された状態で金属リングが形成される。
ところで、前述した無段変速機に採用される動力伝達用のベルトにおいて更に周長の大きなものを製造するためには、それに応じて周長の大きい金属リングを用いる必要がある。そこで、大径のドラムを輪切り状に切断することで周長が大である金属リングを得ることができる。
しかし、前述のコレットを用いて大径のドラムを保持する場合には、該コレットの拡径量を極めて大きく増加させなければならず、前記拡径手段による拡径が困難となる。そのため、ドラムの径に応じたコレットと拡径手段とを備える切断装置を複数用意する必要があり、製造コストが増加する不都合があった。
再表02/028580号公報(第1図)
かかる不都合を解消して、本発明は、径の異なるドラムを容易に保持することができ、製造コストを削減することができる金属製薄板ドラムの切断装置を提供することを目的とする。
かかる目的を達成するために、本発明は、金属製の薄板により円筒状に形成されたドラムを所定幅毎に切断して複数の金属リングを形成する金属製薄板ドラムの切断装置であって、前記ドラムを外周に保持する筒状の保持部材と、該保持部材の内部に挿着することにより該保持部材を着脱自在に支持して回転駆動される支持軸と、該支持軸に設けられ、前記保持部材に保持されたドラムの一端縁部をクランプして該ドラムを保持部材に固定するクランプ手段と、該保持部材に保持されて回転されるドラムの外側から該ドラムに切り込んで該ドラムを輪切り状に切断する押切り刃具と、該刃具をドラムの軸線方向に移動させつつ所定寸法毎にドラムに押し当てる刃具移動手段とを備え、前記支持軸は、前記保持部材と前記ドラムより大径の大径ドラムを保持すべく該保持部材より外径が大とされた大径ドラム用保持部材とを選択的に支持可能とされており、前記クランプ手段は、前記支持軸に前記保持部材を支持したときにドラムの一端縁部に圧接する第1爪部と、前記支持軸に前記大径ドラム用保持部材を支持したときに大径ドラムの一端縁部に圧接する第2爪部と、第1爪部と第2爪部とを一体に支持する揺動自在の揺動部材と、該揺動部材の揺動を駆動して両爪部を圧接方向に揺動させる揺動駆動手段とを備え、前記第1爪部は、前記支持軸に前記保持部材を支持したときに切り込み時の押切り刃具と前記第2爪部との接触を回避する位置に延出して設けられ、前記大径ドラム用保持部材には、前記支持軸に支持されたときに前記第1爪部を揺動可能な空隙を存して収容する収容部が形成されていることを特徴とする。
本発明の切断装置によってドラムを切断する場合には、先ず、前記支持軸に前記保持部材を装着し、次いで、該保持部材にドラムを装着する。続いて、前記クランプ手段の揺動部材を揺動駆動手段により揺動させ、該揺動部材に支持された第1爪部をドラムの一端縁部に圧接させる。これにより、ドラムはその一端縁部が第1爪部と保持部材の外周面とに挟持され、保持部材に固定される。この状態で前記支持軸を回転させ、ドラムの外周から前記刃具移動手段によって押切り刃具を押し当てる。これにより、押切り刃具がドラムに切り込み、該ドラムが回転状態であるため、輪切り状に切断される。押切り刃具は、前記刃具移動手段によって、前記クランプ手段の第1爪部が圧接している側と反対側から順次所定幅毎に切り込む。これによって、所定幅の複数の金属リングが切断形成される。そして、押切り刃具が前記第1爪部に最も近接した位置のドラムに切り込むとき、該第1爪部が押切り刃具と前記第2爪部との接触を回避する位置に延出して設けられているので、押切り刃具が前記第2爪部に当たって切り込み動作が阻害されることなく、前記第1爪部に極めて近接した位置で押切り刃具による切断を行うことができる。これによって、ドラムの全長にわたって無駄のない切断が行なえ歩留まり良く複数の金属リングを形成することができる。
前記ドラムより大径の大径ドラムを切断する場合には、先ず、前記支持軸から前記保持部材を取り外し、該支持軸に前記大径ドラム用保持部材を装着する。次いで、該大径ドラム用保持部材に大径ドラムを装着する。このとき、第1爪部は該大径ドラム用保持部材に形成された収容部に収容されるので、第1爪部と大径ドラム用保持部材とが干渉することが防止される。続いて、前記クランプ手段の揺動部材を揺動駆動手段により揺動させ、該揺動部材に支持された第2爪部を大径ドラムの一端縁部に圧接させる。このとき、前記大径ドラム用保持部材の収容部は第1爪部が揺動可能な空隙を備えるので該第1爪部と一体に揺動部材に支持された第2爪部の揺動を円滑に行うことができる。
これにより、大径ドラムはその一端縁部が第2爪部と保持部材の外周面とに挟持され、大径ドラム用保持部材に固定される。この状態で前記支持軸を回転させ、大径ドラムの外周から前記刃具移動手段によって押切り刃具を押し当てる。これにより、押切り刃具が大径ドラムに切り込み、該大径ドラムが回転状態であるため、輪切り状に切断される。このように、本発明の切断装置によれば、前記保持部材と前記大径ドラム用保持部材とを選択的に支持軸に取り付けることにより、周長の異なる大小の金属リングを容易に形成することができ、金属リングの製造コストを削減することができる。
また、本発明において、前記押切り刃具は、所定の刃角に形成された切刃を備え、前記第1爪部及び第2爪部は、該押切り刃具に対向する先端壁に、前記切刃の一側面に対応する傾斜面が形成されていることが好ましい。こうすることにより、押切り刃具が各爪部の最も近接した位置に切り込むとき、切刃の刃角に応じて傾斜して形成されている切刃の一側面が各爪部の先端壁に干渉するまでの距離を極めて小とすることができ、各爪部に一層近接した位置で切刃を切り込ませて歩留まり良く複数の金属リングを形成することができる。しかも、各爪部の先端壁に前記傾斜面を設けることにより各爪部の形状を比較的大とすることで、切刃との干渉を防止して各爪部の強度を向上させることができる。
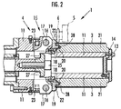
本発明の一実施形態を図面に基づいて説明する。図1は本実施形態のドラムの切断装置を示す説明的断面図、図2は大径ドラム用保持部材を支持した切断装置の要部の説明的断面図、図3はクランプ手段の作動を示す拡大説明図、図4は第1及び第2爪部と切刃との位置関係を示す拡大説明図である。
図1に示す本実施形態の切断装置1は、金属製の薄板により円筒状に形成されたドラムを所定幅毎に切断して複数の金属リングを形成するものである。なお、該ドラムは、周長の異なる金属リングを得るために、小径ドラム2(図1参照)と大径ドラム3(図2参照)とが用意される。
先ず、本実施形態の切断装置1の構成を説明する。図1に示すように、切断装置1は、ドラム(小径ドラム2や大径ドラム3)を保持して回転させるドラム保持装置4と、該ドラム保持装置4に保持されたドラム(小径ドラム2や大径ドラム3)を輪切り状に切断する押切り刃具5とを備えている。該押切り刃具5は円盤状の切刃6を回転自在に備え、切刃6は切断時に図示しない刃具移動手段によってドラム(小径ドラム2や大径ドラム3)の軸線方向に移動されつつ所定寸法毎にドラム(小径ドラム2や大径ドラム3)に押し当てられる。
ドラム保持装置4は、図示しない回転駆動手段により回転される回転軸7と、該回転軸7に複数の連結部材8,9,10を介して連結された支持軸11とを備えている。支持軸11には、小径ドラム2を装着する円筒状の小径ドラム用保持部材12が着脱自在に支持される。なお、小径ドラム用保持部材12は、支持軸11の先端から装着された後、該支持軸11の先端にボルト13によって取り外し自在に設けられた固定部材14により支持軸11に固定される。
また、支持軸11の基端部には、小径ドラム用保持部材12に保持された小径ドラム2をクランプするクランプ手段15が設けられている。該クランプ手段15は、枢軸16に揺動自在に支持された揺動部材17と、該揺動部材17の先端にボルト18によって連結された爪部材19とを備えている。
該爪部材19は、小径ドラム用保持部材12に保持された小径ドラム2の一端部に圧接して小径ドラム2を固定する第1爪部20と、図2に示すように後述する大径ドラム用保持部材21に保持された大径ドラム3の一端部に圧接して大径ドラム3を固定する第2爪部22とを一体に備えている。第1爪部20は、第2爪部22よりも先端方向に延出されて設けられている。これにより、図1において仮想線示するように、切り込み時の押切り刃具5と第2爪部22との接触が回避される。
また、図1に示すように、前記揺動部材17は、バネ部材23により第1爪部20が小径ドラム2から離反する揺動方向に付勢されている。回転軸7及び支持軸11の内部には、その軸線方向に進退するドローバー24が設けられている。該ドローバー24の先端には、ボルト25を介して当接部材26が固定されており、前記揺動部材17には、当接部材26に当接すべく支持軸11の内部に向かって突出する当接部27が形成されている。ドローバー24は、図示しない進退駆動手段により進退駆動され、詳しくは後述するが、ドローバー24が後退したとき、当接部材26が揺動部材17の当接部27に当接して該揺動部材17を揺動させる。
前記支持軸11は、図2に示すように、大径ドラム3を装着する円筒状の大径ドラム用保持部材21を着脱自在に支持することができる。大径ドラム用保持部材21は、小径ドラム用保持部材12と同様に、支持軸11の先端から装着された後、前記固定部材14により支持軸11に固定される。このとき、大径ドラム用保持部材21には、前記第1爪部20との干渉を回避するために、該第1爪部20を揺動可能な空隙を存して収容する収容部28が形成されている。
支持軸11に大径ドラム用保持部材21を装着したときには、前記爪部材19の第2爪部22が大径ドラム3の一端部に圧接して大径ドラム3を固定する。このように、本実施形態の切断装置1によれば、小径ドラム用保持部材12と大径ドラム用保持部材21とを前記支持軸11に選択的に取り付けることができ、小径ドラム2と大径ドラム3との何れであっても容易に切断することができる。
次に、本実施形態の切断装置1によるドラムの切断作業を説明する。図1を参照すれば、先ず、支持軸11の先端から固定部材14を取り外して小径ドラム用保持部材12又は大径ドラム用保持部材21を支持軸11に装着し、固定部材14を取り付ける。小径ドラム用保持部材12を装着した場合には、次いで、図3(a)に示すように、ドローバー24を前進させて当接部材26による揺動部材17の当接部27への当接を解除する。これにより、揺動部材17はバネ部材23による付勢によって揺動し、第1爪部20が小径ドラム用保持部材12から離反する。そして、小径ドラム用保持部材12に小径ドラム2を装着し、図3(b)に示すように、ドローバー24を後退させる。これにより、当接部材26が揺動部材17の当接部27に当接して揺動部材17が揺動し、第1爪部20が小径ドラム2に圧接して小径ドラム2が小径ドラム用保持部材12に固定される。続いて、回転軸7の回転によって小径ドラム2が回転され、図1を参照すれば、押切り刃具5により、先端部から基端部方向に所定幅毎に小径ドラム2が切断される。
そして、図4(a)に示すように、押切り刃具5が第1爪部20の最も近接した位置に切り込むとき、第1爪部20が押切り刃具5と前記第2爪部22との接触を回避する位置に延出して設けられていることにより、押切り刃具5が前記第2爪部22に当たって切り込み動作が阻害されることなく、前記第1爪部20に極めて近接した位置で押切り刃具5による切断を行うことができる。なお、押切り刃具5の切刃6は所定の刃角に形成されているが、第1爪部20の先端壁に、切刃6の一側面に対応する傾斜面29を形成しておくことにより、切刃6を第1爪部20の極めて近い位置に切り込ませることができ、歩留まり良く複数の金属リングを形成することができる。
また、小径ドラム用保持部材12に替えて大径ドラム用保持部材21を支持軸11に装着した場合には、図3(a)に仮想線で示すように、第2爪部22を大径ドラム用保持部材21から離反させて大径ドラム3を装着し、続いて、図3(b)に示すように、第2爪部22を大径ドラム3に圧接させて大径ドラム3を大径ドラム用保持部材21に固定する。このとき、大径ドラム用保持部材21は前記収容部28に第2爪部22を収容しているので、揺動部材17の揺動が円滑に行われる。次いで、回転軸7の回転によって大径ドラム3を回転させ、図2を参照すれば、押切り刃具5により、先端部から基端部方向に所定幅毎に大径ドラム3を切断する。
そして、図4(b)に示すように、第2爪部22の先端壁にも、切刃6の一側面に対応する傾斜面30を形成しておくことにより、切刃6を第2爪部22の極めて近い位置に切り込ませることができ、歩留まり良く複数の金属リングを形成することができる。
本発明の一実施形態のドラムの切断装置を示す説明的断面図。 大径ドラム用保持部材を支持した切断装置の要部の説明的断面図。 クランプ手段の作動を示す拡大説明図。 第1及び第2爪部と切刃との位置関係を示す拡大説明図。
符号の説明
1…切断装置、2…小径ドラム(ドラム)、3…大径ドラム、5…押切り刃具、6…切刃、11…支持軸、12…小径ドラム用保持部材(保持部材)、15…クランプ手段、17…揺動部材、20…第1爪部、21…大径ドラム用保持部材、22…第2爪部、28…収容部、29,30…傾斜面。

Claims (2)

  1. 金属製の薄板により円筒状に形成されたドラムを所定幅毎に切断して複数の金属リングを形成する金属製薄板ドラムの切断装置であって、
    前記ドラムを外周に保持する筒状の保持部材と、
    該保持部材の内部に挿着することにより該保持部材を着脱自在に支持して回転駆動される支持軸と、
    該支持軸に設けられ、前記保持部材に保持されたドラムの一端縁部をクランプして該ドラムを保持部材に固定するクランプ手段と、
    該保持部材に保持されて回転されるドラムの外側から該ドラムに切り込んで該ドラムを輪切り状に切断する押切り刃具と、
    該刃具をドラムの軸線方向に移動させつつ所定寸法毎にドラムに押し当てる刃具移動手段とを備え、
    前記支持軸は、前記保持部材と前記ドラムより大径の大径ドラムを保持すべく該保持部材より外径が大とされた大径ドラム用保持部材とを選択的に支持可能とされており、
    前記クランプ手段は、前記支持軸に前記保持部材を支持したときにドラムの一端縁部に圧接する第1爪部と、前記支持軸に前記大径ドラム用保持部材を支持したときに大径ドラムの一端縁部に圧接する第2爪部と、第1爪部と第2爪部とを一体に支持する揺動自在の揺動部材と、該揺動部材の揺動を駆動して両爪部を圧接方向に揺動させる揺動駆動手段とを備え、
    前記第1爪部は、前記支持軸に前記保持部材を支持したときに切り込み時の押切り刃具と前記第2爪部との接触を回避する位置に延出して設けられ、
    前記大径ドラム用保持部材には、前記支持軸に支持されたときに前記第1爪部を揺動可能な空隙を存して収容する収容部が形成されていることを特徴とする金属製薄板ドラムの切断装置。
  2. 前記押切り刃具は、所定の刃角に形成された切刃を備え、
    前記第1爪部及び第2爪部は、該押切り刃具に対向する先端壁に、前記切刃の一側面に対応する傾斜面が形成されていることを特徴とする請求項1記載の金属製薄板ドラムの切断装置。
JP2004111860A 2004-04-06 2004-04-06 金属製薄板ドラムの切断装置 Expired - Fee Related JP4249648B2 (ja)

Priority Applications (1)

Application Number Priority Date Filing Date Title
JP2004111860A JP4249648B2 (ja) 2004-04-06 2004-04-06 金属製薄板ドラムの切断装置

Applications Claiming Priority (1)

Application Number Priority Date Filing Date Title
JP2004111860A JP4249648B2 (ja) 2004-04-06 2004-04-06 金属製薄板ドラムの切断装置

Publications (2)

Publication Number Publication Date
JP2005297074A true JP2005297074A (ja) 2005-10-27
JP4249648B2 JP4249648B2 (ja) 2009-04-02

Family

ID=35329245

Family Applications (1)

Application Number Title Priority Date Filing Date
JP2004111860A Expired - Fee Related JP4249648B2 (ja) 2004-04-06 2004-04-06 金属製薄板ドラムの切断装置

Country Status (1)

Country Link
JP (1) JP4249648B2 (ja)

Cited By (3)

* Cited by examiner, † Cited by third party
Publication number Priority date Publication date Assignee Title
EP2216127A1 (en) 2009-02-10 2010-08-11 Honda Motor Co., Ltd. Apparatus and method for cutting hollow cylindrical workpiece with a chilled/cooled rotatable workpiece holder
DE102011004236A1 (de) 2010-02-16 2011-08-18 Honda Motor Co., Ltd., Tokyo Schneidevorrichtung für ein zylindrisches Werkstück
DE102011004246A1 (de) 2010-02-16 2011-08-18 Honda Motor Co., Ltd. Herstellungsverfahren eines Metallrings

Cited By (9)

* Cited by examiner, † Cited by third party
Publication number Priority date Publication date Assignee Title
EP2216127A1 (en) 2009-02-10 2010-08-11 Honda Motor Co., Ltd. Apparatus and method for cutting hollow cylindrical workpiece with a chilled/cooled rotatable workpiece holder
CN101797664A (zh) * 2009-02-10 2010-08-11 本田技研工业株式会社 用于切割中空圆筒形工件的设备和方法
US8487207B2 (en) 2009-02-10 2013-07-16 Honda Motor Co., Ltd. Apparatus and method for cutting hollow cylindrical workpiece
DE102011004236A1 (de) 2010-02-16 2011-08-18 Honda Motor Co., Ltd., Tokyo Schneidevorrichtung für ein zylindrisches Werkstück
DE102011004246A1 (de) 2010-02-16 2011-08-18 Honda Motor Co., Ltd. Herstellungsverfahren eines Metallrings
CN102161132A (zh) * 2010-02-16 2011-08-24 本田技研工业株式会社 金属环的制造方法
CN102161133A (zh) * 2010-02-16 2011-08-24 本田技研工业株式会社 圆筒形工件切割器
DE102011004246B4 (de) * 2010-02-16 2012-09-06 Honda Motor Co., Ltd. Herstellungsverfahren eines Metallrings und Verwendung des Metallrings
DE102011004236B4 (de) * 2010-02-16 2013-04-11 Honda Motor Co., Ltd. Schneidevorrichtung für ein zylindrisches Werkstück

Also Published As

Publication number Publication date
JP4249648B2 (ja) 2009-04-02

Similar Documents

Publication Publication Date Title
JP2011235298A (ja) 拡管工具
JP4249648B2 (ja) 金属製薄板ドラムの切断装置
JP2014083635A (ja) パイプ切断機
JP2010214449A (ja) 塑性加工装置及び塑性加工方法
JP4826178B2 (ja) 切断装置および切断方法
JP2020066043A (ja) 軸肥大加工用金型、軸肥大加工装置、段付き軸の製造方法及び段付き軸
JPH0940234A (ja) シート状物巻取機とそのボビンチャッキング装置
JP4892327B2 (ja) 管体切断装置及び管体切断方法
JP2004304954A (ja) 電機子の線材切断方法及び線材切断装置
JP3338008B2 (ja) 超音波振動用共振器の支持装置
JP4739853B2 (ja) シート切断装置及び切断方法
JP3146237U (ja) 回転工具用取付軸および該取付軸を備えた回転工具
JP2003103404A (ja) センタードリル付きローリングセンター
JP2005095996A (ja) チャック装置
JP2004291048A (ja) スピニング成形機
CN219703643U (zh) 一种波纹管切割机
JP3833210B2 (ja) ビードワイヤーの巻付け装置
JP2015020236A (ja) 管体切断装置
JP4539411B2 (ja) かしめ装置
JP4763304B2 (ja) 管状部材の切断方法およびその装置
JPH0232334Y2 (ja)
JP4173828B2 (ja) 金属製薄板ドラムの切断装置
JP2004097692A (ja) 円盤状ブラシ素子の製造装置
JP2023074180A5 (ja)
JP2009155034A (ja) 金属製触媒担体の巻取り機

Legal Events

Date Code Title Description
A621 Written request for application examination

Effective date: 20061130

Free format text: JAPANESE INTERMEDIATE CODE: A621

A977 Report on retrieval

Effective date: 20080930

Free format text: JAPANESE INTERMEDIATE CODE: A971007

TRDD Decision of grant or rejection written
A01 Written decision to grant a patent or to grant a registration (utility model)

Free format text: JAPANESE INTERMEDIATE CODE: A01

Effective date: 20090113

A01 Written decision to grant a patent or to grant a registration (utility model)

Free format text: JAPANESE INTERMEDIATE CODE: A01

A61 First payment of annual fees (during grant procedure)

Effective date: 20090115

Free format text: JAPANESE INTERMEDIATE CODE: A61

FPAY Renewal fee payment (prs date is renewal date of database)

Free format text: PAYMENT UNTIL: 20120123

Year of fee payment: 3

R150 Certificate of patent (=grant) or registration of utility model

Free format text: JAPANESE INTERMEDIATE CODE: R150

LAPS Cancellation because of no payment of annual fees