JP2005296700A - 液体材料の吐出装置 - Google Patents

液体材料の吐出装置 Download PDF

Info

Publication number
JP2005296700A
JP2005296700A JP2004111968A JP2004111968A JP2005296700A JP 2005296700 A JP2005296700 A JP 2005296700A JP 2004111968 A JP2004111968 A JP 2004111968A JP 2004111968 A JP2004111968 A JP 2004111968A JP 2005296700 A JP2005296700 A JP 2005296700A
Authority
JP
Japan
Prior art keywords
liquid material
metering
discharge
unit
valve
Prior art date
Legal status (The legal status is an assumption and is not a legal conclusion. Google has not performed a legal analysis and makes no representation as to the accuracy of the status listed.)
Granted
Application number
JP2004111968A
Other languages
English (en)
Other versions
JP2005296700A5 (ja
JP4647229B2 (ja
Inventor
Kazumasa Ikushima
和正 生島
Current Assignee (The listed assignees may be inaccurate. Google has not performed a legal analysis and makes no representation or warranty as to the accuracy of the list.)
Musashi Engineering Co Ltd
Original Assignee
Musashi Engineering Co Ltd
Priority date (The priority date is an assumption and is not a legal conclusion. Google has not performed a legal analysis and makes no representation as to the accuracy of the date listed.)
Filing date
Publication date
Application filed by Musashi Engineering Co Ltd filed Critical Musashi Engineering Co Ltd
Priority to JP2004111968A priority Critical patent/JP4647229B2/ja
Publication of JP2005296700A publication Critical patent/JP2005296700A/ja
Publication of JP2005296700A5 publication Critical patent/JP2005296700A5/ja
Application granted granted Critical
Publication of JP4647229B2 publication Critical patent/JP4647229B2/ja
Anticipated expiration legal-status Critical
Expired - Lifetime legal-status Critical Current

Links

Images

Landscapes

  • Coating Apparatus (AREA)

Abstract

【課題】 適正な飛滴圧力を得て、安定した吐出を行い、また作業を容易とし、クリーンな液材を飛滴することができる液体材料の吐出装置を提供すること。
【解決手段】 液体を吐出する吐出口を有する吐出部と、計量部の計量孔の内壁面に密接して摺動するプランジャーの後退移動により液材を計量孔に吸入し、プランジャーの進出移動により液材を前記吐出部より吐出する計量部と、液材貯留部と計量部とを連通する第一の位置、および吐出口とを連通する第二の位置、を切り替え、かつ、前記吐出部と前記計量部に密着して摺動するバルブと、からなる液体材料の吐出装置において、前記計量部を前記液材貯留部の先端部に配設、好ましくは連接または一体に形成して配設することを特徴とする液体材料の吐出装置。前記バルブはモータを駆動源とする。前記計量孔は、前記計量部の内壁面に穿った少なくとも2つの孔のうちの1つの孔とする。前記計量孔は、前記計量部の内部底面から貯留部側へ延出された管を形成する。
【選択図】 図7

Description

本発明は、液体材料を滴下または飛滴させて吐出する技術分野に関し、前記液体材料を定量的に吐出する技術に関する。
特許文献1、2に示すように、液材を飛滴する技術としては、進退動作を行うプランジャーを用い、急速前進するプランジャーを弁座に当接させることにより急激に停止させ、プランジャーの前方に位置する液材に慣性力を印加し、この慣性力により液材を飛滴する技術が知られているが、この技術では、液材を飛滴させるために必要な慣性力を、停止している弁座に運動するプランジャーを当接させて、プランジャーの運動を瞬時に停止して得るために、プランジャーおよび弁座の損傷が激しく、また損傷した部材片が液材に混入・溶解してしまうという問題があった。
そこで、本出願人は、上記問題を解決すべく、液材吐出用プランジャーの先端面を液剤に密接させた後、プランジャーを高速前進させ、次いでプランジャー駆動手段を急激に停止させることにより、急速前進するプランジャーを弁座に当接させることなく急激に停止させ、プランジャーの前方に位置する液材に慣性力を印加し、この慣性力により液材を飛滴する技術を提案し、さらに、これを実施する具体的な装置として、管形状の計量部と、前記計量部に内接するプランジャーと、吐出口を備えるノズルと、前記計量部と前記ノズルとを連通する第1のバルブと、液剤を貯留する貯留容器と、前記貯留容器と前記計量部とを連通する第2のバルブと、で構成されており、前記計量部の内径と前記第1のバルブの弁体に設ける通孔とが、実質的に同径とする装置を提案した(特許文献3)。
特開2002−282740号公報 特開2001−287798号公報 特開2003−190871号公報
上記先願の発明は、所期の目的は達成できたが、さらなる吐出安定性、メンテナンス性を求め、次のような改善点を見いだした。
すなわち、吐出液材を変更する際に、吐出装置の液材が接液する箇所を洗浄するが、特に、先願の特徴である「前記計量部の内径と前記第1のバルブの弁体に設ける通孔とが、実質的に同径」とするために、先願の実施例でも開示されているロータリーバルブを用いると、弁体が弁座に対して回転摺動する構造に起因して、弁体と弁座とのわずかな間隙に液材が入り込んでしまい、十分な洗浄を施すには、分解洗浄を必要とするなど非常に手間のかかる作業を要していた。
また前記間隙は、弁体の摺動を円滑にするため、弁体と弁体と弁座との間に規定量設けられて構成されており、この間隙に満たされた液材は、急峻な圧力上昇を望む吐出システムにおいては、不要な液材占有空間が広がることとなり、分解洗浄を必要とするなど非常に手間のかかる作業を要していた。また、この間隙に入り込む液材を制御することはできず吐出量の安定性を妨げる要因ともなる。
そこで、本発明は、適正な液材の飛滴流速を得ることができ、不要な液材占有空間を効果的に排除し、急峻な圧力上昇を得て、適正な飛滴圧力を得ることができ、安定した吐出を行うことができる液体材料の吐出装置を提供することを目的とする。また、洗浄作業を容易とし、クリーンな液材を飛滴することができる液体材料の吐出装置を提供することを目的とする。
本発明は、液体を吐出する吐出口を有する吐出部と、計量部の計量孔の内壁面に密接して摺動するプランジャーの後退移動により液材を計量孔に吸入し、プランジャーの進出移動により液材を前記吐出部より吐出する計量部と、液材貯留部と計量部とを連通する第一の位置、および吐出口とを連通する第二の位置、を切り替え、かつ、前記吐出部と前記計量部に密着して摺動するバルブと、からなる液体材料の吐出装置において、前記計量部を前記液材貯留部の先端部に配設することを特徴とする液体材料の吐出装置である。
前記計量部を前記液材貯留部の先端部に、連接してあるいは一体に形成して、配設することを特徴としており、その場合、本発明は、液体を吐出する吐出口を有する吐出部と、計量部の計量孔の内壁面に密接して摺動するプランジャーの後退移動により液材を計量孔に吸入し、プランジャーの進出移動により液材を前記吐出部より吐出する計量部と、液材貯留部と計量部とを連通する第一の位置、および吐出口とを連通する第二の位置、を切り替え、かつ、前記吐出部と前記計量部に密着して摺動するバルブと、からなる液体材料の吐出装置において、前記計量部を前記液材貯留部の先端部に、連接してあるいは一体に形成して、配設することを特徴とする液体材料の吐出装置である。
前記バルブはモータを駆動源とすることを特徴としており、その場合、本発明は、液体を吐出する吐出口を有する吐出部と、計量部の計量孔の内壁面に密接して摺動するプランジャーの後退移動により液材を計量孔に吸入し、プランジャーの進出移動により液材を前記吐出部より吐出する計量部と、液材貯留部と計量部とを連通する第一の位置、および吐出口とを連通する第二の位置、を切り替え、かつ、前記吐出部と前記計量部に密着して摺動するバルブと、からなる液体材料の吐出装置において、前記計量部を前記液材貯留部の先端部に配設する、具体的には連接してあるいは一体に形成して配設すること、ならびに、前記バルブはモータを駆動源とすることを特徴とする液体材料の吐出装置である。
前記計量孔は、前記計量部の内壁面に穿った少なくとも2つの孔のうち1つの孔とすること、好ましくは前記計量孔は、前記計量部の内部底面から貯留部側へ延出された管を形成することを特徴としており、その場合、本発明は、液体を吐出する吐出口を有する吐出部と、計量部の計量孔の内壁面に密接して摺動するプランジャーの後退移動により液材を計量孔に吸入し、プランジャーの進出移動により液材を前記吐出部より吐出する計量部と、液材貯留部と計量部とを連通する第一の位置、および吐出口とを連通する第二の位置、を切り替え、かつ、前記吐出部と前記計量部に密着して摺動するバルブと、からなる液体材料の吐出装置において、前記計量部を前記液材貯留部の先端部に配設すること、具体的には連接してあるいは一体に形成して配設すること、ならびに、前記計量孔は、前記計量部の内壁面に穿った少なくとも2つの孔のうち1つの孔とすること、好ましくは前記計量孔は、前記計量部の内部底面から貯留部側へ延出された管を形成すること、必要に応じ前記バルブはモータを駆動源とすること、を特徴とする液体材料の吐出装置である。
このように本発明は、弁体と弁座との間に間隙が無く、バルブ部が吐出部と計量部に密着して摺動する構成となっているから、不要な液材占有空間を効果的に排除し、急峻な圧力上昇を得て、適正な飛滴圧力を得ることができる。本計量部の構造は、貯留部から計量部に液体材料を流動させることができ、高速に繰り返して吐出することに有利である。
また、計量部から吐出口に至る流路は、吐出口に向かって常に同径または小径となっているので、適正な液材の飛滴流速を得ることができる。
さらに、前記密着して摺動する構成によって、吐出量の安定性を妨げる要因であった前記間隙に入り込む液材が無くなるため、極めて安定した吐出を行うことができ、一定した吐出量を得ることができる。
加えて、バルブ部のみを吐出装置より着脱可能に構成できるから、バルブ部の取り外しを容易とし、また、バルブ部をシンプルな構造とすることができるため、洗浄作業を容易とし、洗浄作業時間を短くすることができるだけでなく、洗い残しが無くなるため、液材の種類を交換してもコンタミすることなく、クリーンな液材を飛滴することができる。
バルブの駆動にモータを用いたので、プランジャーの動作と同期させることが容易になり、液材の高速に連続吐出することが可能になる。
液体を吐出する吐出口を有する吐出部と、計量部の内壁面に密接して摺動するプランジャーの後退移動により液材を計量部に吸入し、プランジャーの進出移動により液材を前記吐出部より吐出する計量部と、液材貯留部と計量部とを連通する第一の位置、および吐出口とを連通する第二の位置、を切り替え、かつ、前記吐出部と前記計量部に密着して摺動するバルブと、からなる液体材料の吐出装置において、前記吐出部を小径に前記液材貯留部を大径にすると共に、前記吐出部を前記液材貯留部の先端部に同芯に、連接してあるいは一体に形成して、配設する。
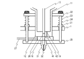
《全体構造》
本発明の液体材料の吐出装置は図1に示すように、平行に配置された、ベース1、板(天板)3、中間板4とそれらを結合する支柱板2とで構成した機枠と、ベース1に配設されたバルブ部と、ベース1および中間板4の間に配設され、一体に形成された液材貯留部11と計量部12とからなる液材供給部と、天板3と中間板4の間に配置されねじ伝導装置を用いたたプランジャー駆動部と、ベース1の下方に配設されたノズルベース25に配設された吐出部とで構成されている。
以下、各部の構成を詳細に説明する。
《液材供給部》
液材供給部は、たとえば図2に示すように、上部が中間板4に設けた保持孔に嵌め込まれる大径部で形成され、下部がベース1に設けた保持孔に嵌め込まれる小径で形成された容器状の液材貯留部11と、液材貯留部11の下端に一体に形成され、計量孔18、および、計量孔18と平行に設けられ貫通孔19が形成された計量部12と、計量部12内を密接して進退移動するプランジャー13と、プランジャー13を駆動するプランジャー駆動用モータ14と、プランジャー駆動用モータ14の動力をプランジャー13に伝える伝導機構とで構成されている。
《バルブ部》
バルブの保持部は、たとえば図2に示すように、中心に穿たれた孔により計量部12に沿って摺動可能であり、計量部12挿入孔に対して点対称に複数の取付孔を設けたなシャフトベース22と、シャフトベース22の取付孔に固定され、ベース1に配設されたブッシュ21を貫通し下方に延びるシャフト24と、シャフト24の下方突端に固定されたノズルベース25と、ブッシュ21とシャフトベース22と、シャフト24を囲繞するスプリング23と、で構成されている。
シャフトベース22とノズルベース25は、シャフト24によって一体的に組立てられスプリング23により上方(ノズルベース25が液材貯留部11に接触する方向)に付勢されているので、スプリング23の付勢力に抗してシャフトベース22、ノズルベース25、シャフト24の組立体をシャフト24がブッシュ21に沿って下方に移動させると液材貯留部11とノズルベース25の間に間隙ができるので、この間隙を利用してバルブ26をバルブホルダー27に着脱することができる。
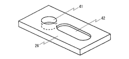
バルブ26は、たとえば図2、図3に示すように、上面を液材貯留部11の下面に密接する接触面とし、下面をノズルベース25の上面に密接する接触面とし、第1の位置で計量部12と貫通孔(液材供給口)19を介して貯留容器とを連通させる凹部42と第2の位置で計量部12とノズル31とを連通させる(バルブの)貫通孔41とを備えている。
また、バルブ26の側壁に密着するバルブホルダー27により水平方向に位置決めされ、バルブ駆動用モータ28によるバルブ26の進退移動に連動して移動する。このとき、バルブ26は、前記ノズルベース25と前記液材貯留部11のそれぞれに密接して摺動し、スプリング23の作用により、バルブ26に設けられた貫通孔41および凹部42から液材の漏出しが無いように流路が密閉される。
なお、図示の例ではバルブ26の外形を方形に形成したが、貫通孔41および凹部42の位置関係が同じであれば円形に形成しても良い。
《吐出部》
吐出部はノズルベース25の下面に取り付けるノズル31で構成されており、先端に吐出口32を有し、計量部12からノズル31先端の吐出口32に至る流路は、計量部12の内径を最大径とし、前記吐出口32の内径を最小径として構成し、計量部と吐出口の間の流路は、常に吐出口側が小径または同径となるように構成されている。
なお、上記例では、ノズルベース25から延出したノズル31を採用しているが、ノズルベース25に滴下量に適した径の孔を穿って液材を吐出するようにしてもよい。
なおまた、ノズル31の吐出口32とバルブ26との距離は極力小さいことが、後述のプランジャー13の進出時に加圧すべき液材体積を最小とすることができ 、飛滴に必要な急峻な圧力上昇が得られるため好ましい。
《液材吐出作業》
上記構成の液材吐出装置を用いた液材吐出作業を説明する。
液材が全く計量部に導入されていない状態においては、バルブ駆動用モータ28によってバルブ26を後退移動させバルブ26を貫通孔19と計量部12とが連通する第1の位置にした後に、プランジャー駆動用モータ14を作動させてプランジャー13を後退移動させ、液材貯留部11から貫通孔19、バルブ26の凹部42を通して計量孔18に充填させる。
その後、プランジャー13を進出移動させて先端を液材に密接させ、計量部の気泡を排除する。なお、このような気泡抜きは、例えば、出願人が特開2003−190871号において既に出願済である気泡抜き機構が設けられたプランジャーを用いて行っても良い。
その後に、バルブ駆動用モータ28によってバルブ26を進出移動させバルブ26を計量部12と吐出口32とが連通する第2の位置にし、プランジャー駆動用モータ14を高速作動しプランジャー13を規定量高速に進出移動させて、計量部12に貯えた液材をノズル31先端の吐出口32より飛滴させる。
計量部12から吐出口32に至る流路は、常に吐出口32に向かって小径となっているので、計量部12から吐出口32に向かう液材の流速は、計量部12から吐出口32に向かって高速となり、ノズル31先端の吐出口32においては飛滴するのに十分な液材の流速を得ることができる。
このように、計量部に吸入した液材はすべて計量部より排出する。
このように吐出作業の繰り返しにおいては、プランジャー13の動作が吐出毎に均一となるよう、プランジャー13の先端位置を、常に一定した位置から後退動作し、一定した位置から進出動作させる。
図4は、本実施例の液体材料の吐出装置の要部を示し、この実施例では、バルブ部と吐出部の構成は実施例1と同様であるが、液材供給部における計量部を貯留部の内部側に延出させて円筒部16を形成することで、液材貯留部11の下部の厚みを薄くすることができ、液送路の貯留部から計量部12に導く流路を短くすることができ、流路抵抗を減らし速やかに計量部12へ液材を導くことができ、これは、吐出を速やかに繰り返して行うこと(高速連続吐出)を可能にする。
図5は、本実施例の液体材料の吐出装置の要部を示し、この実施例は、実施例2をさらに改良したもので、図6に示すように、計量部12の内周面に密接するガイド17をプランジャー13の定位置に取り付けることによって、装置のセットアップ時にプランジャー13を計量部12に挿入することを容易にし、さらに、プランジャー13の先端が液送路に進入することを防止する。
プランジャー13の先端面がバルブと計量部先端面とが摺接する面に位置するときにガイド17の下端面が貯留部内に延出された先端面に当接するようにプランジャー13に対するガイド17の取り付け位置を調整すると、計量部12内に吸入した液材を計量部12から全て排出することができるので、吐出、滴下、飛滴のために加圧する液材を必要最小量とすることができ、吐出を速やかに繰り返して行うこと(高速連続吐出)を可能にする。
図7(a)、(b)は、本実施例の液体材料の吐出装置の要部を示し、この実施例は、液材貯留部11と計量部12を別体に形成し、液材貯留部11の内周に螺設した雌ねじ部に計量部12の外周に螺設した雄ねじ部を螺合して両者を一体化する。
装置概略図である。 実施例1の液体材料の吐出装置の要部の拡大断面図である。 バルブの概略斜視図である。 実施例2の液体材料の吐出装置の要部の断面図である。 実施例3の液体材料の吐出装置の要部の断面図である。 実施例3のガイドの平面図である。 実施例4の液体材料の吐出装置の要部の断面図である。a:液材貯留部と計量部とを連通する第一の位置、b:液材貯留部と吐出口とを連通する第二の位置
符号の説明
1 ベース
2 支柱板
3 板(天板)
4 中間板
11 液材貯留部
12 計量部
13 プランジャー
14 プランジャー駆動用モータ
16 円筒部
17 ガイド
18 計量孔
19 貫通孔(液材供給口)
21 ブッシュ
22 シャフトベース
23 スプリング
24 シャフト
25 ノズルベース
26 バルブ
27 バルブホルダー
28 バルブ駆動用モータ
31 ノズル
32 吐出口
41 (バルブの)貫通孔
42 (バルブの)凹部

Claims (6)

  1. 液体を吐出する吐出口を有する吐出部と、計量部の計量孔の内壁面に密接して摺動するプランジャーの後退移動により液材を計量孔に吸入し、プランジャーの進出移動により液材を前記吐出部より吐出する計量部と、液材貯留部と計量部とを連通する第一の位置、および吐出口とを連通する第二の位置、を切り替え、かつ、前記吐出部と前記計量部に密着して摺動するバルブと、からなる液体材料の吐出装置において、前記計量部を前記液材貯留部の先端部に配設することを特徴とする液体材料の吐出装置。
  2. 前記計量部を前記液材貯留部の先端部に連接して配設すること特徴とする請求項1記載の液体材料の吐出装置。
  3. 前記計量部を前記液材貯留部の先端部に一体に形成して配設することを特徴とする請求項1記載の液体材料の吐出装置。
  4. 前記バルブはモータを駆動源とすることを特徴とする請求項1ないし請求項3記載のいずれかの液体材料の吐出装置。
  5. 前記計量孔は、前記計量部の内壁面に穿った少なくとも2つの孔のうちの1つの孔とすることを特徴とする請求項1ないし請求項4のいずれかの液体材料の吐出装置。
  6. 前記計量孔は、前記計量部の内部底面から貯留部側へ延出された管を形成することを特徴とする請求項5記載の液体材料の吐出装置。
JP2004111968A 2004-04-06 2004-04-06 液体材料の吐出装置 Expired - Lifetime JP4647229B2 (ja)

Priority Applications (1)

Application Number Priority Date Filing Date Title
JP2004111968A JP4647229B2 (ja) 2004-04-06 2004-04-06 液体材料の吐出装置

Applications Claiming Priority (1)

Application Number Priority Date Filing Date Title
JP2004111968A JP4647229B2 (ja) 2004-04-06 2004-04-06 液体材料の吐出装置

Publications (3)

Publication Number Publication Date
JP2005296700A true JP2005296700A (ja) 2005-10-27
JP2005296700A5 JP2005296700A5 (ja) 2007-05-17
JP4647229B2 JP4647229B2 (ja) 2011-03-09

Family

ID=35328900

Family Applications (1)

Application Number Title Priority Date Filing Date
JP2004111968A Expired - Lifetime JP4647229B2 (ja) 2004-04-06 2004-04-06 液体材料の吐出装置

Country Status (1)

Country Link
JP (1) JP4647229B2 (ja)

Cited By (9)

* Cited by examiner, † Cited by third party
Publication number Priority date Publication date Assignee Title
WO2007080911A1 (ja) 2006-01-12 2007-07-19 Musashi Engineering, Inc. 液材吐出装置
WO2008108097A1 (ja) * 2007-03-08 2008-09-12 Musashi Engineering, Inc. 液滴吐出装置および方法
WO2008146464A1 (ja) 2007-05-18 2008-12-04 Musashi Engineering, Inc. 液体材料吐出方法および装置
JP2009008252A (ja) * 2007-04-30 2009-01-15 Marco Systemanalyse & Entwicklung Gmbh バルブ
US8807400B2 (en) 2007-03-30 2014-08-19 Musashi Engineering, Inc. Liquid droplet discharging device having advanced position specifying mechanism
DE102013224453A1 (de) * 2013-11-28 2015-05-28 Marco Systemanalyse Und Entwicklung Gmbh Ventil zur Dosierung von Medien im Kleinstmengenbereich
KR20160132381A (ko) 2014-03-10 2016-11-18 무사시 엔지니어링 가부시키가이샤 도포 장치 및 도포 방법
WO2021204680A1 (de) 2020-04-08 2021-10-14 HoGroTec GmbH Druckvorrichtung, vorzugsweise 3d-drucker
DE102007017186B4 (de) 2006-04-24 2022-10-20 Illinois Tool Works Inc. System mit intermittierend betätigbarem rezirkulierendem Steuermodul und Abgabedüse mit im Inneren angeordneter fixierter Öffnung

Citations (10)

* Cited by examiner, † Cited by third party
Publication number Priority date Publication date Assignee Title
JPS4993930A (ja) * 1973-01-11 1974-09-06
JPS5022695B1 (ja) * 1969-09-19 1975-08-01
JPS5770472U (ja) * 1980-10-13 1982-04-28
JPS5951829U (ja) * 1982-06-18 1984-04-05 佐藤工業株式会社 グラウト注入管
JP2001227456A (ja) * 1999-12-09 2001-08-24 Musashi Eng Co Ltd 液体の定量吐出方法およびその装置
JP2001287798A (ja) * 2000-04-06 2001-10-16 Musashi Eng Co Ltd 切換弁の漏洩を防止した液体の定量吐出方法および装置
JP2002098059A (ja) * 2000-09-22 2002-04-05 Dainippon Ink & Chem Inc ポンプおよびディスク製造装置
JP2002282740A (ja) * 2001-03-27 2002-10-02 Musashi Eng Co Ltd 液滴の形成方法および液滴定量吐出装置
JP2003126750A (ja) * 2001-10-25 2003-05-07 Musashi Eng Co Ltd 液材の吐出方法およびその装置
JP2004160276A (ja) * 2002-11-08 2004-06-10 Musashi Eng Co Ltd 液体材料の吐出装置

Patent Citations (10)

* Cited by examiner, † Cited by third party
Publication number Priority date Publication date Assignee Title
JPS5022695B1 (ja) * 1969-09-19 1975-08-01
JPS4993930A (ja) * 1973-01-11 1974-09-06
JPS5770472U (ja) * 1980-10-13 1982-04-28
JPS5951829U (ja) * 1982-06-18 1984-04-05 佐藤工業株式会社 グラウト注入管
JP2001227456A (ja) * 1999-12-09 2001-08-24 Musashi Eng Co Ltd 液体の定量吐出方法およびその装置
JP2001287798A (ja) * 2000-04-06 2001-10-16 Musashi Eng Co Ltd 切換弁の漏洩を防止した液体の定量吐出方法および装置
JP2002098059A (ja) * 2000-09-22 2002-04-05 Dainippon Ink & Chem Inc ポンプおよびディスク製造装置
JP2002282740A (ja) * 2001-03-27 2002-10-02 Musashi Eng Co Ltd 液滴の形成方法および液滴定量吐出装置
JP2003126750A (ja) * 2001-10-25 2003-05-07 Musashi Eng Co Ltd 液材の吐出方法およびその装置
JP2004160276A (ja) * 2002-11-08 2004-06-10 Musashi Eng Co Ltd 液体材料の吐出装置

Cited By (17)

* Cited by examiner, † Cited by third party
Publication number Priority date Publication date Assignee Title
WO2007080911A1 (ja) 2006-01-12 2007-07-19 Musashi Engineering, Inc. 液材吐出装置
JP4969461B2 (ja) * 2006-01-12 2012-07-04 武蔵エンジニアリング株式会社 液材吐出装置
US8262179B2 (en) 2006-01-12 2012-09-11 Musashi Engineering, Inc. Liquid material discharge device
KR101411446B1 (ko) * 2006-01-12 2014-06-24 무사시 엔지니어링 가부시키가이샤 액재 토출 장치
DE102007017186B4 (de) 2006-04-24 2022-10-20 Illinois Tool Works Inc. System mit intermittierend betätigbarem rezirkulierendem Steuermodul und Abgabedüse mit im Inneren angeordneter fixierter Öffnung
WO2008108097A1 (ja) * 2007-03-08 2008-09-12 Musashi Engineering, Inc. 液滴吐出装置および方法
US8807400B2 (en) 2007-03-30 2014-08-19 Musashi Engineering, Inc. Liquid droplet discharging device having advanced position specifying mechanism
JP2009008252A (ja) * 2007-04-30 2009-01-15 Marco Systemanalyse & Entwicklung Gmbh バルブ
US9701143B2 (en) 2007-05-18 2017-07-11 Musashi Engineering, Inc. Method and apparatus for discharging liquid material
US9156054B2 (en) 2007-05-18 2015-10-13 Musashi Engineering, Inc. Method and apparatus for discharging liquid material
US9393787B2 (en) 2007-05-18 2016-07-19 Musashi Engineering, Inc. Method and apparatus for discharging liquid material
WO2008146464A1 (ja) 2007-05-18 2008-12-04 Musashi Engineering, Inc. 液体材料吐出方法および装置
DE102013224453A1 (de) * 2013-11-28 2015-05-28 Marco Systemanalyse Und Entwicklung Gmbh Ventil zur Dosierung von Medien im Kleinstmengenbereich
KR20160132381A (ko) 2014-03-10 2016-11-18 무사시 엔지니어링 가부시키가이샤 도포 장치 및 도포 방법
US10449565B2 (en) 2014-03-10 2019-10-22 Musashi Engineering, Inc. Application device and application method
WO2021204680A1 (de) 2020-04-08 2021-10-14 HoGroTec GmbH Druckvorrichtung, vorzugsweise 3d-drucker
DE102020109847A1 (de) 2020-04-08 2021-10-14 HoGroTec GmbH Druckvorrichtung, vorzugsweise 3D-Drucker

Also Published As

Publication number Publication date
JP4647229B2 (ja) 2011-03-09

Similar Documents

Publication Publication Date Title
JP4898778B2 (ja) 脱泡機構を備える液材吐出装置
TWI610824B (zh) 液體材料之吐出方法及裝置
KR101395126B1 (ko) 액체 재료 토출 장치
BR112018014477B1 (pt) Dispositivo de ejeção de material líquido, e, aparelho de aplicação
JP4647229B2 (ja) 液体材料の吐出装置
KR20160053922A (ko) 노즐 및 이 노즐을 구비하는 액체 재료 토출 장치
JP2016055284A (ja) 粘性材料の小ビードを吐出する装置及び方法
JP2010046854A (ja) 流体噴射装置
JP2002509023A (ja) 所定容量の液体を分配する装置
JP5923877B2 (ja) 液体噴射装置
KR100633220B1 (ko) 액재의 토출방법 및 그 장치
KR101187153B1 (ko) 액적조정방법, 액적토출방법 및 액적토출장치
JP6745262B2 (ja) ノンインパクト噴射吐出モジュール及び方法
US8454121B2 (en) Liquid ejecting apparatus
JP4036431B2 (ja) 液材の吐出方法およびその装置
JP4255701B2 (ja) 液材の吐出方法およびその装置
JP4282056B2 (ja) 液体材料の吐出装置
JP5601094B2 (ja) 液体噴射装置、液体噴射装置におけるフラッシング方法
JP4604602B2 (ja) 液体噴射装置及び液体噴射装置の吸引機構
JP4618739B2 (ja) 液材の吐出方法およびその装置
JP2013188963A (ja) 液体受容装置及び液体噴射装置
JP5729016B2 (ja) 液体噴射装置、メンテナンス方法
JP2008221702A (ja) ワイピング装置、及び同ワイピング装置を備えたメンテナンスユニット及び流体噴射装置
JP2019042948A (ja) インクカートリッジの嵌合機構
JP5429049B2 (ja) メンテナンス装置、流体噴射装置及びメンテナンス方法

Legal Events

Date Code Title Description
A521 Request for written amendment filed

Free format text: JAPANESE INTERMEDIATE CODE: A821

Effective date: 20070322

Free format text: JAPANESE INTERMEDIATE CODE: A523

Effective date: 20070322

A621 Written request for application examination

Free format text: JAPANESE INTERMEDIATE CODE: A621

Effective date: 20070322

A977 Report on retrieval

Free format text: JAPANESE INTERMEDIATE CODE: A971007

Effective date: 20090911

A131 Notification of reasons for refusal

Free format text: JAPANESE INTERMEDIATE CODE: A131

Effective date: 20090915

A521 Request for written amendment filed

Free format text: JAPANESE INTERMEDIATE CODE: A821

Effective date: 20091112

Free format text: JAPANESE INTERMEDIATE CODE: A523

Effective date: 20091112

A131 Notification of reasons for refusal

Free format text: JAPANESE INTERMEDIATE CODE: A131

Effective date: 20100517

A521 Request for written amendment filed

Free format text: JAPANESE INTERMEDIATE CODE: A523

Effective date: 20100625

Free format text: JAPANESE INTERMEDIATE CODE: A821

Effective date: 20100625

TRDD Decision of grant or rejection written
A01 Written decision to grant a patent or to grant a registration (utility model)

Free format text: JAPANESE INTERMEDIATE CODE: A01

Effective date: 20101207

A01 Written decision to grant a patent or to grant a registration (utility model)

Free format text: JAPANESE INTERMEDIATE CODE: A01

A61 First payment of annual fees (during grant procedure)

Free format text: JAPANESE INTERMEDIATE CODE: A61

Effective date: 20101208

FPAY Renewal fee payment (event date is renewal date of database)

Free format text: PAYMENT UNTIL: 20131217

Year of fee payment: 3

R150 Certificate of patent or registration of utility model

Free format text: JAPANESE INTERMEDIATE CODE: R150

Ref document number: 4647229

Country of ref document: JP

Free format text: JAPANESE INTERMEDIATE CODE: R150

R250 Receipt of annual fees

Free format text: JAPANESE INTERMEDIATE CODE: R250

R250 Receipt of annual fees

Free format text: JAPANESE INTERMEDIATE CODE: R250

R250 Receipt of annual fees

Free format text: JAPANESE INTERMEDIATE CODE: R250

R250 Receipt of annual fees

Free format text: JAPANESE INTERMEDIATE CODE: R250

R250 Receipt of annual fees

Free format text: JAPANESE INTERMEDIATE CODE: R250

R250 Receipt of annual fees

Free format text: JAPANESE INTERMEDIATE CODE: R250

R250 Receipt of annual fees

Free format text: JAPANESE INTERMEDIATE CODE: R250

R250 Receipt of annual fees

Free format text: JAPANESE INTERMEDIATE CODE: R250

R250 Receipt of annual fees

Free format text: JAPANESE INTERMEDIATE CODE: R250

R250 Receipt of annual fees

Free format text: JAPANESE INTERMEDIATE CODE: R250

R250 Receipt of annual fees

Free format text: JAPANESE INTERMEDIATE CODE: R250

EXPY Cancellation because of completion of term