JP2005294733A - 光半導体素子封止用シートおよび該シートを用いた光半導体装置の製造方法 - Google Patents
光半導体素子封止用シートおよび該シートを用いた光半導体装置の製造方法 Download PDFInfo
- Publication number
- JP2005294733A JP2005294733A JP2004111050A JP2004111050A JP2005294733A JP 2005294733 A JP2005294733 A JP 2005294733A JP 2004111050 A JP2004111050 A JP 2004111050A JP 2004111050 A JP2004111050 A JP 2004111050A JP 2005294733 A JP2005294733 A JP 2005294733A
- Authority
- JP
- Japan
- Prior art keywords
- optical semiconductor
- layer
- sheet
- semiconductor element
- diisocyanate
- Prior art date
- Legal status (The legal status is an assumption and is not a legal conclusion. Google has not performed a legal analysis and makes no representation as to the accuracy of the status listed.)
- Pending
Links
Images
Classifications
-
- B—PERFORMING OPERATIONS; TRANSPORTING
- B29—WORKING OF PLASTICS; WORKING OF SUBSTANCES IN A PLASTIC STATE IN GENERAL
- B29C—SHAPING OR JOINING OF PLASTICS; SHAPING OF MATERIAL IN A PLASTIC STATE, NOT OTHERWISE PROVIDED FOR; AFTER-TREATMENT OF THE SHAPED PRODUCTS, e.g. REPAIRING
- B29C43/00—Compression moulding, i.e. applying external pressure to flow the moulding material; Apparatus therefor
- B29C43/02—Compression moulding, i.e. applying external pressure to flow the moulding material; Apparatus therefor of articles of definite length, i.e. discrete articles
- B29C43/20—Making multilayered or multicoloured articles
- B29C43/203—Making multilayered articles
-
- B—PERFORMING OPERATIONS; TRANSPORTING
- B29—WORKING OF PLASTICS; WORKING OF SUBSTANCES IN A PLASTIC STATE IN GENERAL
- B29C—SHAPING OR JOINING OF PLASTICS; SHAPING OF MATERIAL IN A PLASTIC STATE, NOT OTHERWISE PROVIDED FOR; AFTER-TREATMENT OF THE SHAPED PRODUCTS, e.g. REPAIRING
- B29C43/00—Compression moulding, i.e. applying external pressure to flow the moulding material; Apparatus therefor
- B29C43/02—Compression moulding, i.e. applying external pressure to flow the moulding material; Apparatus therefor of articles of definite length, i.e. discrete articles
- B29C43/18—Compression moulding, i.e. applying external pressure to flow the moulding material; Apparatus therefor of articles of definite length, i.e. discrete articles incorporating preformed parts or layers, e.g. compression moulding around inserts or for coating articles
-
- B—PERFORMING OPERATIONS; TRANSPORTING
- B29—WORKING OF PLASTICS; WORKING OF SUBSTANCES IN A PLASTIC STATE IN GENERAL
- B29L—INDEXING SCHEME ASSOCIATED WITH SUBCLASS B29C, RELATING TO PARTICULAR ARTICLES
- B29L2011/00—Optical elements, e.g. lenses, prisms
- B29L2011/0016—Lenses
-
- H—ELECTRICITY
- H10—SEMICONDUCTOR DEVICES; ELECTRIC SOLID-STATE DEVICES NOT OTHERWISE PROVIDED FOR
- H10H—INORGANIC LIGHT-EMITTING SEMICONDUCTOR DEVICES HAVING POTENTIAL BARRIERS
- H10H20/00—Individual inorganic light-emitting semiconductor devices having potential barriers, e.g. light-emitting diodes [LED]
- H10H20/80—Constructional details
- H10H20/85—Packages
- H10H20/852—Encapsulations
Landscapes
- Engineering & Computer Science (AREA)
- Mechanical Engineering (AREA)
- Led Device Packages (AREA)
- Optical Integrated Circuits (AREA)
- Structures Or Materials For Encapsulating Or Coating Semiconductor Devices Or Solid State Devices (AREA)
- Blow-Moulding Or Thermoforming Of Plastics Or The Like (AREA)
Abstract
【課題】光半導体装置の製造の際に、光半導体素子の樹脂封止を簡便に行うことができ、さらに、得られた光半導体装置の光取り出し効率を高く維持することができる、光半導体素子封止用シートを提供すること。
【解決手段】複数の樹脂層が積層される光半導体素子封止用シートであって、光半導体と接する側の最外樹脂層(A層)の上に該A層の屈折率より低い屈折率を有する樹脂層(B層)が積層されてなる光半導体素子封止用シート。
【選択図】なし
【解決手段】複数の樹脂層が積層される光半導体素子封止用シートであって、光半導体と接する側の最外樹脂層(A層)の上に該A層の屈折率より低い屈折率を有する樹脂層(B層)が積層されてなる光半導体素子封止用シート。
【選択図】なし
Description
本発明は、光半導体素子封止用シートおよび光半導体装置の製造方法に関する。
光半導体素子に直接接する第1の封止樹脂をディッピングまたはポッティングにより形成し、光半導体装置の光取り出し効率を向上させるために、樹脂層の屈折率を光半導体素子側から最外層に向けて順次小さくした複数の樹脂層で光半導体素子を封止した光半導体装置が知られている(特許文献1参照)。
特開平10−65220号公報
しかしながら、ディッピング及びポッティングによる樹脂封止では、液状樹脂を個々の光半導体素子に所定量滴下する手間がかかる。また、屈折率の異なる複数の樹脂層で光半導体素子を封止する場合、複数の工程が必要であり手間がかかる。
従って、本発明は、光半導体装置の製造の際に、光半導体素子の樹脂封止を簡便に行うことができ、さらに、得られた光半導体装置の光取り出し効率を高く維持することができる、光半導体素子封止用シートを提供することを目的とする。
すなわち、本発明は、
〔1〕複数の樹脂層が積層される光半導体素子封止用シートであって、光半導体と接する側の最外樹脂層(A層)の上に該A層の屈折率より低い屈折率を有する樹脂層(B層)が積層されてなる光半導体素子封止用シート、
〔2〕複数の樹脂層における各層の屈折率が、前記A層から反対側の最外樹脂層に向けて順に小さい、前記〔1〕記載のシート、
〔3〕前記A層の屈折率が1.5以上である前記〔1〕または〔2〕記載のシート、
〔4〕前記A層がポリカルボジイミドからなる前記〔1〕〜〔3〕いずれか記載のシート、
〔5〕前記B層がエポキシ樹脂からなる前記〔4〕記載のシート、ならびに
〔6〕(1)配線回路基板の光半導体素子が搭載された面に前記〔1〕〜〔5〕いずれか記載のシートを積層する工程、および
(2)工程(1)で積層したシートを加圧成型する工程
を含む、光半導体装置の製造方法
に関する。
〔1〕複数の樹脂層が積層される光半導体素子封止用シートであって、光半導体と接する側の最外樹脂層(A層)の上に該A層の屈折率より低い屈折率を有する樹脂層(B層)が積層されてなる光半導体素子封止用シート、
〔2〕複数の樹脂層における各層の屈折率が、前記A層から反対側の最外樹脂層に向けて順に小さい、前記〔1〕記載のシート、
〔3〕前記A層の屈折率が1.5以上である前記〔1〕または〔2〕記載のシート、
〔4〕前記A層がポリカルボジイミドからなる前記〔1〕〜〔3〕いずれか記載のシート、
〔5〕前記B層がエポキシ樹脂からなる前記〔4〕記載のシート、ならびに
〔6〕(1)配線回路基板の光半導体素子が搭載された面に前記〔1〕〜〔5〕いずれか記載のシートを積層する工程、および
(2)工程(1)で積層したシートを加圧成型する工程
を含む、光半導体装置の製造方法
に関する。
本発明により、光半導体装置の製造の際に、光半導体素子の樹脂封止を簡便に行うことができるという効果が奏される。
本発明の光半導体素子封止用シートは、複数の樹脂層が積層されたものであり、光半導体素子と接する側の最外樹脂層(A層)の上に該A層の屈折率よりも低い屈折率を有する樹脂層(B層)が積層されていることに一つの大きな特徴を有する。
本発明の光半導体素子封止用シート3の一例を図1に示す。A層1の上にB層2が積層されている。
本発明に用いられる光半導体素子5は、通常、光半導体装置に用いられるものであれば特に限定されず、例えば、窒化ガリウム(GaN、屈折率:2.5)、ガリウムリン(GaP、屈折率:2.9)、ガリウム砒素(GaAs、屈折率:3.5)等が挙げられ、これらの中では、青色発光し、蛍光体を介して白色LEDの製造ができるという観点から、GaNが好ましい。
光半導体素子が搭載される配線回路基板4も特に限定されないが、例えば、ガラス−エポキシ基板に銅配線を積層したリジッド基板、ポリイミドフィルム上に銅配線を積層したフレキシブル基板などが挙げられる。
当該配線回路基板4への光半導体素子5の搭載方法としては、発光面に電極が配置された光半導体素子を搭載するのに好適なフェイスアップ搭載法、発光面とは逆の面に電極が配置された光半導体素子を搭載するのに好適なフリップリップ搭載法などが挙げられる。
A層1に用いられる樹脂としては、ポリエーテルサルフォン、ポリイミド、芳香族ポリアミド、ポリカルボジイミド、エポキシ樹脂、トリアセチルセルロースなどが挙げられ、該樹脂を後述するようにして熱硬化することで光半導体素子が封止される。従って、A層の屈折率、すなわち樹脂の硬化体の屈折率は、光半導体素子からの光取り出し効率を高める観点から、好ましくは1.5以上、より好ましくは1.5〜2.1、さらに好ましくは1.7〜2.1である。当該屈折率は後述の実施例1に記載の方法により測定することができる。なお、A層の屈折率は、A層を構成する樹脂の種類、成分、量等を適宜選定することにより、所望の値に調整することができる。
A層に用いられる樹脂のうち、高屈折率が得られる観点から、ポリカルボジイミドが好ましく、以下の一般式(1):
(式中、Rはジイソシアナート残基を、R1はモノイソシアナート残基を表し、nは1〜100の整数である)
を有するポリカルボジイミドがさらに好ましい。
を有するポリカルボジイミドがさらに好ましい。
各樹脂は、市販されているものを使用してもよいし、ポリカルボジイミドに関しては、例えば、以下のように1種または2種以上のジイソシアネートを縮合反応させ、モノイソシアネートで末端封鎖することにより製造することもできる。なお、前記式(1)中、Rは、原料として用いられるジイソシアネートの残基を、R1は、同様に原料として用いられるモノイソシアネートの残基を表す。
原料であるジイソシアネート及びモノイソシアネートは芳香族系又は脂肪族系のいずれであってもよく、それぞれ芳香族系又は脂肪族系のものを単独で若しくは両者を共に用いることができる。高屈折率が得られる観点から、芳香族系のものが好適に使用される。即ち、ジイソシアネート及びモノイソシアネートの少なくとも一方が芳香族系のものを含むか若しくは芳香族系であるか、又はいずれも芳香族系のものであるのが好ましい。中でも、ジイソシアネートが脂肪族系及び芳香族系のものであり、かつモノイソシアネートが芳香族系のものであるのがより好ましく、ジイソシアネート及びモノイソシアネートのいずれもが芳香族系のものであるのが特に好ましい。
本発明において用いられるジイソシアネートとしては、例えば、ヘキサメチレンジイソシアネート、ドデカメチレンジイソシアネート、2,2,4−トリメチルヘキサメチレンジイソシアネート、4,4’−ジシクロヘキシルメタンジイソシアネート、キシリレンジイソシアネート、テトラメチルキシリレンジイソシアネート、イソホロンジイソシアネート、シクロヘキシルジイソシアネート、リジンジイソシアネート、メチルシクロヘキサン−2,4’−ジイソシアネート、4,4’−ジフェニルメタンジイソシアネート、4,4’−ジフェニルエーテルジイソシアネート、2,6−トリレンジイソシアネート、2,4−トリレンジイソシアネート、ナフタレンジイソシアネート、1−メトキシフェニル−2,4−ジイソシアネート、3,3’−ジメトキシ−4,4’−ジフェニルメタンジイソシアネート、4,4’−ジフェニルエーテルジイソシアネート、3,3’−ジメチル−4,4’−ジフェニルエーテルジイソシアネート、2,2−ビス[4−(4−イソシアネートフェノキシ)フェニル]ヘキサフルオロプロパン、2,2−ビス[4−(4−イソシアネートフェノキシ)フェニル]プロパンなどが挙げられる。
中でも、高屈折率が得られる観点から、ジイソシアネートとしては、トリレンジイソシアネート、4,4’−ジフェニルメタンジイソシアネート及びナフタレンジイソシアネートからなる群より選ばれる少なくとも1種が好適に使用され、ナフタレンジイソシアネートがより好適に使用される。
これらのジイソシアネートは単独で若しくは2種以上を混合して用いることができる。
原料であるジイソシアネートとしては、用いられる全ジイソシアネート中、芳香族ジイソシアネートが、好ましくは10モル%以上(上限は100%)含まれるものが好適である。当該ジイソシアネートとしては、前記好適なものを用いるのが望ましい。
本発明において用いられるモノイソシアネートとしては、例えば、シクロヘキシルイソシアネート、フェニルイソシアネート、p−ニトロフェニルイソシアネート、p−及びm−トリルイソシアネート、p−ホルミルフェニルイソシアネート、p−イソプロピルフェニルイソシアネート、1−ナフチルイソシアネートなどが挙げられる。
モノイソシアネートとしては、モノイソシアネート同士間での反応が生じず、かつ効率よくポリカルボジイミドの末端封鎖が進行するという観点から、芳香族モノイソシアネートが好適に使用され、1−ナフチルイソシアネートがより好適に使用される。
これらのモノイソシアネートは単独で若しくは2種以上を混合して用いることができる。
末端封鎖に使用されるモノイソシアネートは、使用するジイソシアネート成分100モルに対して1〜10モルの範囲で用いるのが好ましい。ジイソシアネート成分100モルに対してモノイソシアネート成分を1モル以上で用いると、得られるポリカルボジイミドの分子量が大きくなりすぎたり架橋反応が生ずることがないため、例えば、ポリカルボジイミド溶液の粘度の上昇ないし当該溶液の固化が生じたり、当該溶液の保存安定性の低下が生ずることがないので好ましい。また、ジイソシアネート成分100モルに対してモノイソシアネート成分を10モル以下で用いると、ポリカルボジイミド溶液の粘度が適度であり、例えば、当該溶液の塗布乾燥によるフィルム成型において良好な成膜を行うことができるので好ましい。モノイソシアネートをジイソシアネート成分に対し前記範囲で用いて末端封鎖したポリカルボジイミド溶液は、特に保存安定性に優れる。
本発明に用いられるポリカルボジイミドの製造は、所定の溶媒中、カルボジイミド化触媒の存在下、原料としてのジイソシアネートを縮合反応によりカルボジイミド化させ、モノイソシアネートにより末端封鎖することにより行う。
ジイソシアネートの縮合反応の反応温度としては、通常、0〜150℃であり、好ましくは10〜120℃である。
原料のジイソシアネートに脂肪族ジイソシアネートと芳香族ジイソシアネートとを併用する場合は低温で反応させるのが好ましい。反応温度としては、0〜50℃が好ましく、10〜40℃がより好ましい。反応温度がかかる範囲内であれば、脂肪族ジイソシアネートと芳香族ジイソシアネートとの縮合反応が充分に進行するので好ましい。
脂肪族ジイソシアネートと芳香族ジイソシアネートとからなるポリカルボジイミドに対し、反応溶液中に過剰に存在する芳香族ジイソシアネートを、さらに反応させることを所望する場合、反応温度は40〜150℃が好ましく、50〜120℃がより好ましい。反応温度がかかる範囲内であれば、任意の溶媒を用いて反応を円滑に進行させることができるので好ましい。
反応溶液中のジイソシアネート濃度は5〜80重量%であるのが好適である。ジイソシアネート濃度がかかる範囲内にあれば、カルボジイミド化が充分に進行し、また、反応の制御が容易であるので好ましい。
モノイソシアネートによる末端封鎖は、ジイソシアネートのカルボジイミド化の初期、中期、末期又は全般にわたり、モノイソシアネートを反応溶液中に加えることにより行うことができる。当該モノイソシアネートとしては芳香族モノイソシアネートが好ましい。
カルボジイミド化触媒としては、公知のリン系触媒がいずれも好適に用いられる。例えば、1−フェニル−2−ホスホレン−1−オキシド、3−メチル−2−ホスホレン−1−オキシド、1−エチル−2−ホスホレン−1−オキシド、3−メチル−1−フェニル−2−ホスホレン−2−オキシド、或いはこれらの3−ホスホレン異性体などのホスホレンオキシドが挙げられる。
ポリカルボジイミドの製造に用いられる溶媒(有機溶媒)としては、公知のものが使用される。具体的には、テトラクロロエチレン、1,2−ジクロロエタン、クロロホルムなどのハロゲン化炭化水素、アセトン、メチルエチルケトン、メチルイソブチルケトン、シクロヘキサノンなどのケトン系溶媒、テトラヒドロフラン、ジオキサンなどの環状エーテル系溶媒、トルエン、キシレンなどの芳香族炭化水素系溶媒が挙げられる。これらの溶媒は単独で若しくは2種以上を混合して用いることができる。また、これらの溶媒は、得られたポリカルボジイミドを溶解する場合にも用いられる。
なお、反応の終点は、赤外分光分析(IR測定)によるカルボジイミド構造(N=C=N)由来の吸収(2140cm−1)の観測及びイソシアネート由来の吸収(2280cm−1)の消失により確認することができる。
カルボジイミド化反応の終了後、通常、ポリカルボジイミドは溶液として得られるが、さらにメタノール、エタノール、イソプロピルアルコール、ヘキサンなどの貧溶媒に得られた溶液を投入し、ポリカルボジイミドを沈澱として析出させ、未反応のモノマーや触媒を取り除いてもよい。
また、一旦、沈澱として回収されたポリカルボジイミドの溶液を調製するには、当該沈澱を所定の操作により洗浄し、乾燥を行い、再度有機溶媒に溶解する。このような操作を行うことにより、ポリカルボジイミド溶液の保存安定性を向上させることができる。
さらに、ポリカルボジイミド溶液中に副生成物が含まれる場合には、例えば、適当な吸着剤を用い、副生成物を吸着除去して、精製してもよい。吸着剤としては、例えば、アルミナゲル、シリカゲル、活性炭、ゼオライト、活性酸化マグネシウム、活性ボーキサイト、フラースアース、活性白土、分子ふるいカーボンなどが挙げられ、それらの吸着剤は単独で若しくは2種以上を併用することができる。
以上より、ポリカルボジイミドが得られる。当該ポリカルボジイミドとしては、主鎖構造が芳香族及び脂肪族ジイソシアネートから構成され、かつ末端封鎖が芳香族モノイソシアネートよりなるものが好適であり、主鎖構造が芳香族ジイソシアネートから構成され、かつ末端封鎖が芳香族モノイソシアネートよりなるものがさらに好適である。
具体的には、ポリカルボジイミドとしては、前記一般式(1)のRで表されるジイソシアネート残基中、10モル%以上(上限は100モル%)が芳香族ジイソシアネート残基であるものが好ましく、前記一般式(1)のR1で表されるモノイソシアネート残基が芳香族モノイソシアネート残基であるものが好ましい。また、該芳香族ジイソシアネート残基としては、トリレンジイソシアネート残基、4,4’−ジフェニルメタンジイソシアネート残基及びナフタレンジイソシアネート残基からなる群より選ばれる少なくとも1種が好ましく、ナフタレンジイソシアネート残基がより好ましく、該芳香族モノイソシアネート残基としては、1−ナフチルイソシアネート残基が好ましい。
以上のように得られたポリカルボジイミドを用いたA層の屈折率は、好ましくは1.5〜2.1である。
さらに、A層の屈折率を調整する目的で、酸化チタン、酸化ジルコニウムなどの無機微粒子を樹脂層に分散させてA層を形成してもよい。
A層を構成する樹脂層は、例えば、前記樹脂をトルエン、シクロヘキサノン、メチルエチルケトンなどの有機溶剤に好ましくは20〜50重量%の濃度になるように溶解して樹脂溶液を作製し、例えば、表面をシリコーン処理した離型シート、またはB層の上にキャスティング、スピンコート、ロールコーティング等の方法により、適当な厚さに製膜し、さらに、硬化反応を進行させず、溶媒の除去が可能な程度の温度で乾燥させて得られる。製膜した樹脂溶液を乾燥させる温度は、樹脂や溶媒の種類によって異なるため一概には決定できないが、20〜350℃が好ましく、50〜200℃がより好ましく、70〜200℃がさらに好ましい。また、加熱乾燥後の該樹脂層の厚さは、光半導体素子への追従性を考慮すると、2〜50μmが好ましく、5〜30μmがさらに好ましい。以上のようにして得られた樹脂層をA層として用いてもよく、また、該樹脂層を複数枚重ね合わせたものをA層として用いてもよい。
B層2に用いられる樹脂としては、A層で例示した樹脂と同様の樹脂が挙げられ、該樹脂を後述するようにして熱硬化することで光半導体素子が封止される。B層の屈折率、すなわち樹脂の硬化体の屈折率は、A層の屈折率より低ければ特に限定されないが、光半導体素子からの光取り出し効率を高める観点から、好ましくは1.1〜1.55、より好ましくは1.3〜1.55である。当該屈折率は後述の実施例1に記載の方法により測定することができる。なお、B層の屈折率は、B層を構成する樹脂の種類、成分、量等を適宜選定することにより、所望の値に調整することができる。
B層に用いられる樹脂のうち、成型の容易性及び低コストの観点から、エポキシ樹脂が好ましい。また、B層の屈折率を調整する目的で、酸化チタン、酸化ジルコニウムなどの無機微粒子を樹脂層に分散させてもよいし、B層の柔軟性を向上する目的で、可視光透過性を阻害しない透明なゴム・エラストマーを混合させてもよい。
B層を構成する樹脂層は、例えば、市販されている前記樹脂をトルエン、シクロヘキサノン、メチルエチルケトンなどの有機溶剤に好ましくは20〜50重量%の濃度になるように溶解して樹脂溶液を作製し、例えば、表面をシリコーン処理した離型シートまたはA層の上にキャスティング、スピンコート、ロールコーティング等の方法により、適当な厚さに製膜し、さらに、硬化反応を進行させず、溶媒の除去が可能な程度の温度で乾燥させて得られる。製膜した樹脂溶液を乾燥させる温度は、樹脂や溶媒の種類によって異なるため一概には決定できないが、20〜180℃が好ましく、50〜150℃がより好ましく、70〜120℃がさらに好ましい。また、加熱乾燥後の該樹脂層の厚さは、光半導体素子への追従性を考慮すると、10〜500μmが好ましく、15〜25μmがさらに好ましい。以上のようにして得られた樹脂層をB層として用いてもよく、また、該樹脂層を複数枚重ね合わせたものをB層として用いてもよい。
本発明の光半導体素子封止用シートは、例えば、A層とB層とを別々に作製した後、公知の方法(例えば、加熱・加圧ラミネート、真空ラミネート、真空プレスなど)を用いてA層とB層とを貼り合わせて作製されてもよいし、予め作製されたA層の上に直接B層を積層して作製されてもよく、または予め作製されたB層の上に直接A層を積層して作製されてもよい。さらに、所望により、B層の上に複数の樹脂層が積層されていてもよく、その場合、当該複数の樹脂層に用いられる樹脂としては、A層で例示した樹脂と同様の樹脂が挙げられ、該樹脂層の屈折率は最外の樹脂層に向かって、順に小さくなっていることが好ましい。また、光取り出し効率および積層の手間を考慮すると、本発明の光半導体素子封止用シートは、2〜5層の樹脂層を有していることが好ましく、さらに好ましくは、2層の樹脂層を有している。このようにして得られたシートの厚さは、光半導体素子の高さやスタンパによる成型を考慮すると、150〜300μm程度が好ましい。
なお、本発明におけるA層とB層の組み合わせは、光取り出し効率および成型の容易性の観点から、A層がポリカルボジイミドでB層がエポキシ樹脂であるのが好ましい。
次に、上記で得られた本発明の光半導体素子封止用シートを用いた、光半導体装置の製造方法について説明する。
本発明の光半導体装置の製造方法は、
(1)配線回路基板の光半導体素子が搭載された面に上記で得られた光半導体素子封止用シートを積層する工程、および
(2)工程(1)で積層したシートを加圧成型する工程
を含むことに一つの大きな特徴を有する。
(1)配線回路基板の光半導体素子が搭載された面に上記で得られた光半導体素子封止用シートを積層する工程、および
(2)工程(1)で積層したシートを加圧成型する工程
を含むことに一つの大きな特徴を有する。
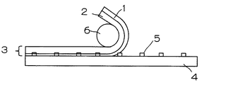
配線回路基板の光半導体素子が搭載された面の上に本発明の光半導体素子封止用シートを積層する工程としては、例えば、図2に示すように、本発明のシート3(A層1とB層2を重ねたシート)を、光半導体素子5が搭載された配線回路基板4上にラミネータ6等を用いて貼り合わせる方法が挙げられる。
図2に示すようにラミネータ6等を用いて加熱圧着により本発明のシートを溶融し、配線回路基板に貼り合わせる場合、好ましくは70〜250℃、より好ましくは100〜200℃で加熱し、好ましくは0.1〜10MPa、より好ましくは0.5〜5MPaで加圧することが好ましい。ラミネータを用いる場合の回転数は、100〜2000r/分が好ましく、500〜1000r/分がより好ましい。
続いて、工程(2)に供する。本発明は、工程(2)にも大きな特徴を有する。屈折率の異なる樹脂層を一度に加圧成型することができるため、光半導体装置の光取り出し効率を損なうことなく、簡便に光半導体装置を製造することができる。
シートの加圧成型は、スタンパ等を用いて行うことができる。本発明においては、スタンパとして、例えば、ポリイミドシートやポリカーボネートシートをレーザー加工により所定の型に加工したもの、又は、そのような型をマスター(原盤)として、ニッケルめっき等の金属めっきを行い作製したもの等を使用することができる。
スタンパによるシートの加圧成型は、例えば、図3に示すように、スタンパ7を光半導体素子5上に凹形状又は凸形状に形成できるようにアライメントを行い、さらに、熱プレス板ともう一方の熱プレス板の間に挿入し、加熱・加圧を行うことにより、工程(1)で形成したシートを熱硬化させて行い、図4に示すように成型させることができる。
加熱・加圧の条件としては、好ましくは70〜250℃、より好ましくは100〜200℃での加熱及び好ましくは0.1〜10MPa、より好ましくは0.5〜5MPaでの加圧を好ましくは5秒〜3分間、より好ましくは10秒〜1分間行う条件が挙げられる。
光半導体素子上の樹脂層を凹形状又は凸形状に成型することにより、レンズによる光の制御と取り出し効率の向上を図ることができる。
本発明のように、屈折率の異なる複数の樹脂層を有するシートを、配線回路基板に積層し、スタンパなどを用いて、光半導体素子上の樹脂層を加圧成型することにより、光取り出し効率を損なうことなく、光半導体素子の樹脂封止を簡便に行うことができる。
次に、本発明を実施例により具体的に説明するが、本発明は当該実施例のみに限定されるものではない。
なお、以下において、合成反応は全て窒素気流下で行った。IR測定は、FT/IR−230(日本分光社製)を用いて行った。
製造例1 ポリカルボジイミドシートの作製
攪拌装置、滴下漏斗、還流冷却器、温度計を取り付けた500mLの四つ口フラスコにトリレンジイソシアネート(異性体混合物:三井武田ケミカル社製;T−80)を29.89g(171.6mmol)、4,4’−ジフェニルメタンジイソシアネートを94.48g(377.52mmol)、ナフタレンジイソシアネートを64.92g(308.88mmol)、トルエンを184.59g入れ、混合した。
攪拌装置、滴下漏斗、還流冷却器、温度計を取り付けた500mLの四つ口フラスコにトリレンジイソシアネート(異性体混合物:三井武田ケミカル社製;T−80)を29.89g(171.6mmol)、4,4’−ジフェニルメタンジイソシアネートを94.48g(377.52mmol)、ナフタレンジイソシアネートを64.92g(308.88mmol)、トルエンを184.59g入れ、混合した。
さらに、1−ナフチルイソシアネートを8.71g(51.48mmol)と3−メチル−1−フェニル−2−ホスホレン−2−オキシドを0.82g(4.29mmol)添加し、攪拌しながら100℃に昇温し、2時間保持した。
反応の進行はIR測定により確認した。具体的にはイソシアネートのN=C=O伸縮振動(2280cm−1)の吸収の減少とカルボジイミドのN=C=N伸縮振動(2140cm−1)の吸収の増加を観測した。IR測定にて反応の終点を確認し、反応液を室温まで冷却することにより、ポリカルボジイミド溶液(比較例1にて使用)を得た。なお、ポリカルボジイミドのジイソシアネート残基の100モル%が芳香族ジイソシアネート残基であった。また、前記一般式(1)におけるnは15〜77で分布していた。
次いで、ポリカルボジイミド溶液を剥離剤(フッ素化シリコーン)で処理したポリエチレンテレフタレートフィルムからなるセパレータ(厚さ50μm)(東レ社製)の上に塗布した。これを、130℃にて1分間加熱した後、150℃で1分間加熱し、セパレータを外して、仮硬化したシート状のポリカルボジイミド(厚さ20μm)を得た。
得られたシート状のポリカルボジイミドを150℃のキュア炉にて硬化させ、その屈折率を多波長アッベ屈折率計(ATAGO社製;DR−M4)で波長589nmにて25℃で測定した。該硬化体の屈折率は1.758であった。
製造例2 エポキシ樹脂シートの作製
エポキシ樹脂(日東電工社製;NT−300S)のタブレットを、乳鉢で粉体状に粉砕した。次に、200gのエポキシ樹脂粉体を、200gのメチルエチルケトン(MEK)に攪拌しながら徐々に加えていき、完全に溶解させ、固形分濃度50wt%の樹脂溶液を調製した。得られた樹脂溶液を剥離剤(フッ素化シリコーン)で処理したポリエチレンテレフタレートフィルムからなるセパレータ(厚さ50μm)(三菱ポリエステル社製)の上に塗布した。これを、100℃にて2分間加熱した後、120℃で2分間加熱し、セパレータを外して、仮硬化したシート状のエポキシ樹脂(フィルム厚50μm)を得た。
エポキシ樹脂(日東電工社製;NT−300S)のタブレットを、乳鉢で粉体状に粉砕した。次に、200gのエポキシ樹脂粉体を、200gのメチルエチルケトン(MEK)に攪拌しながら徐々に加えていき、完全に溶解させ、固形分濃度50wt%の樹脂溶液を調製した。得られた樹脂溶液を剥離剤(フッ素化シリコーン)で処理したポリエチレンテレフタレートフィルムからなるセパレータ(厚さ50μm)(三菱ポリエステル社製)の上に塗布した。これを、100℃にて2分間加熱した後、120℃で2分間加熱し、セパレータを外して、仮硬化したシート状のエポキシ樹脂(フィルム厚50μm)を得た。
得られたシート状のエポキシ樹脂を120℃のキュア炉にて硬化させ、その屈折率を多波長アッベ屈折率計(ATAGO社製;DR−M4)で波長589nmにて25℃で測定した。該硬化体の屈折率は1.520であった。
実施例1
上記製造例にて得られた、仮硬化したシート状のエポキシ樹脂3枚を、熱ラミネータ(日東精機社製;NLE−550ST)を用いて100℃にて重ね合わせて、厚さ150μmのB層を作製した。B層の上にA層として上記製造例にて得られた仮硬化したシート状のポリカルボジイミドを熱ラミネータ(日東精機社製;NLE−550ST)を用いて100℃にて重ね合わせて、厚さ170μmの本発明の光半導体封止用シートを作製した。
上記製造例にて得られた、仮硬化したシート状のエポキシ樹脂3枚を、熱ラミネータ(日東精機社製;NLE−550ST)を用いて100℃にて重ね合わせて、厚さ150μmのB層を作製した。B層の上にA層として上記製造例にて得られた仮硬化したシート状のポリカルボジイミドを熱ラミネータ(日東精機社製;NLE−550ST)を用いて100℃にて重ね合わせて、厚さ170μmの本発明の光半導体封止用シートを作製した。
かかるシートを、GaNからなる光半導体素子が搭載された配線回路基板に
真空ラミネータ(ニチゴーモートン社製;V−130)を用いてA層が光半導体素子と接するように積層した。
真空ラミネータ(ニチゴーモートン社製;V−130)を用いてA層が光半導体素子と接するように積層した。
ついで、0.74mmΦ、深さ0.17mmのスタンパ(ポリイミド製)を用いて、170℃、0.1MPaの雰囲気下、1.5MPaで30秒間加圧成型を行い、光半導体装置を作製した。
比較例1
製造例で製造した仮硬化したシート状のエポキシ樹脂4枚のみを用いて、光半導体封止用シートを作製する以外は実施例1と同様にして光半導体装置を作製した。
製造例で製造した仮硬化したシート状のエポキシ樹脂4枚のみを用いて、光半導体封止用シートを作製する以外は実施例1と同様にして光半導体装置を作製した。
比較例2
光半導体素子が搭載された配線回路基板に、ポリカルボジイミド溶液をスピンコーターを用いて塗布し、A層を形成した。次に、封止用の型を基板上に設置して、その型に液状エポキシ樹脂を流し込んで、ふたをして、120℃で12時間硬化し、光半導体装置を作製した。
光半導体素子が搭載された配線回路基板に、ポリカルボジイミド溶液をスピンコーターを用いて塗布し、A層を形成した。次に、封止用の型を基板上に設置して、その型に液状エポキシ樹脂を流し込んで、ふたをして、120℃で12時間硬化し、光半導体装置を作製した。
試験例
実施例1ならびに比較例1および2で得られた光半導体装置に通電し、発光量を測定した。発光量の測定は、積分球を使用し、全天発光量をMCPD−3000(大塚電子社製)により測定して行った。結果を表1に示す。
実施例1ならびに比較例1および2で得られた光半導体装置に通電し、発光量を測定した。発光量の測定は、積分球を使用し、全天発光量をMCPD−3000(大塚電子社製)により測定して行った。結果を表1に示す。
以上の結果より、実施例1の光半導体装置は、比較例1で得られた光半導体装置と対比して、発光量の増加が認められることから、光取り出し効率が高いことがわかる。また、実施例1と比較して、比較例2では各光半導体素子それぞれについて封止用の型を設置し、樹脂を流し込まなければならず、製造工程が煩雑であった。
本発明で製造される光半導体装置は、パソコン、携帯電話等の面光源等に用いられるものである。
1 A層
2 B層
3 光半導体素子封止用シート
4 配線基板
5 光半導体素子
6 ラミネータ
7 スタンパ
2 B層
3 光半導体素子封止用シート
4 配線基板
5 光半導体素子
6 ラミネータ
7 スタンパ
Claims (6)
- 複数の樹脂層が積層される光半導体素子封止用シートであって、光半導体と接する側の最外樹脂層(A層)の上に該A層の屈折率より低い屈折率を有する樹脂層(B層)が積層されてなる光半導体素子封止用シート。
- 複数の樹脂層における各層の屈折率が、前記A層から反対側の最外樹脂層に向けて順に小さい、請求項1記載のシート。
- 前記A層の屈折率が1.5以上である請求項1または2記載のシート。
- 前記A層がポリカルボジイミドからなる請求項1〜3いずれか記載のシート。
- 前記B層がエポキシ樹脂からなる請求項4記載のシート。
- (1)配線回路基板の光半導体素子が搭載された面に請求項1〜5いずれか記載のシートを積層する工程、および
(2)工程(1)で積層したシートを加圧成型する工程
を含む、光半導体装置の製造方法。
Priority Applications (6)
| Application Number | Priority Date | Filing Date | Title |
|---|---|---|---|
| JP2004111050A JP2005294733A (ja) | 2004-04-05 | 2004-04-05 | 光半導体素子封止用シートおよび該シートを用いた光半導体装置の製造方法 |
| EP05007324A EP1585179A1 (en) | 2004-04-05 | 2005-04-04 | Sheet for optical-semiconductor element encapsulation and process for producing optical semiconductor device using the sheet |
| KR1020050028179A KR100821436B1 (ko) | 2004-04-05 | 2005-04-04 | 광반도체 소자 캡슐화용 시이트 및 상기 시이트를 이용한광반도체 장치의 제조방법 |
| TW094110702A TWI282627B (en) | 2004-04-05 | 2005-04-04 | Sheet for optical-semiconductor element encapsulation and process for producing optical semiconductor device using the sheet |
| CNB2005100628929A CN100418212C (zh) | 2004-04-05 | 2005-04-05 | 光学半导体元件封装的片和制造光学半导体器件的方法 |
| US11/098,420 US7221007B2 (en) | 2004-04-05 | 2005-04-05 | Sheet for optical-semiconductor element encapsulation and process for producing optical semiconductor device using the sheet |
Applications Claiming Priority (1)
| Application Number | Priority Date | Filing Date | Title |
|---|---|---|---|
| JP2004111050A JP2005294733A (ja) | 2004-04-05 | 2004-04-05 | 光半導体素子封止用シートおよび該シートを用いた光半導体装置の製造方法 |
Publications (1)
| Publication Number | Publication Date |
|---|---|
| JP2005294733A true JP2005294733A (ja) | 2005-10-20 |
Family
ID=34909469
Family Applications (1)
| Application Number | Title | Priority Date | Filing Date |
|---|---|---|---|
| JP2004111050A Pending JP2005294733A (ja) | 2004-04-05 | 2004-04-05 | 光半導体素子封止用シートおよび該シートを用いた光半導体装置の製造方法 |
Country Status (6)
| Country | Link |
|---|---|
| US (1) | US7221007B2 (ja) |
| EP (1) | EP1585179A1 (ja) |
| JP (1) | JP2005294733A (ja) |
| KR (1) | KR100821436B1 (ja) |
| CN (1) | CN100418212C (ja) |
| TW (1) | TWI282627B (ja) |
Cited By (21)
| Publication number | Priority date | Publication date | Assignee | Title |
|---|---|---|---|---|
| WO2007088909A1 (ja) * | 2006-01-31 | 2007-08-09 | Kyocera Corporation | 発光装置および発光モジュール |
| JP2007207895A (ja) * | 2006-01-31 | 2007-08-16 | Kyocera Corp | 発光装置および発光モジュール |
| JP2007273754A (ja) * | 2006-03-31 | 2007-10-18 | Kyocera Corp | 発光装置および発光モジュール |
| JP2007273753A (ja) * | 2006-03-31 | 2007-10-18 | Kyocera Corp | 発光装置および発光モジュール |
| EP2031666A2 (en) | 2007-09-03 | 2009-03-04 | Nitto Denko Corporation | Process for producing optical semiconductor device |
| JP2009253223A (ja) * | 2008-04-10 | 2009-10-29 | Nitto Denko Corp | 光半導体素子封止用シート |
| JP2009302221A (ja) * | 2008-06-12 | 2009-12-24 | Nec Electronics Corp | 電子装置及びその製造方法 |
| JP2010123802A (ja) * | 2008-11-20 | 2010-06-03 | Nitto Denko Corp | 光半導体封止用シート |
| JP2010141119A (ja) * | 2008-12-11 | 2010-06-24 | Nitto Denko Corp | 光半導体封止用シート |
| JP2010153500A (ja) * | 2008-12-24 | 2010-07-08 | Nitto Denko Corp | 光半導体装置の製造方法 |
| JP2010171430A (ja) * | 2009-01-23 | 2010-08-05 | Yiguang Electronic Ind Co Ltd | 発光ダイオードパッケージ構造及びその製造方法 |
| JP2010192586A (ja) * | 2009-02-17 | 2010-09-02 | Nitto Denko Corp | 光半導体封止用シート |
| JP2010192844A (ja) * | 2009-02-20 | 2010-09-02 | Nitto Denko Corp | 光半導体封止用加工シート |
| JP2010263154A (ja) * | 2009-05-11 | 2010-11-18 | Nitto Denko Corp | 光半導体封止用シート |
| JP2011003870A (ja) * | 2009-05-20 | 2011-01-06 | Nitto Denko Corp | 光半導体封止用シート |
| JP2011082340A (ja) * | 2009-10-07 | 2011-04-21 | Nitto Denko Corp | 光半導体封止材 |
| JP2012142364A (ja) * | 2010-12-28 | 2012-07-26 | Nitto Denko Corp | 封止部材、封止方法、および、光半導体装置の製造方法 |
| JP2013021284A (ja) * | 2011-06-14 | 2013-01-31 | Nitto Denko Corp | 封止用シートおよび光半導体素子装置 |
| JP2013055309A (ja) * | 2010-09-30 | 2013-03-21 | Nitto Denko Corp | 発光ダイオード封止材、および、発光ダイオード装置の製造方法 |
| JP2014022508A (ja) * | 2012-07-17 | 2014-02-03 | Konica Minolta Inc | Led装置及びその製造方法 |
| US9349927B2 (en) | 2011-10-18 | 2016-05-24 | Nitto Denko Corporation | Encapsulating sheet and optical semiconductor element device |
Families Citing this family (11)
| Publication number | Priority date | Publication date | Assignee | Title |
|---|---|---|---|---|
| JP4249996B2 (ja) * | 2003-02-10 | 2009-04-08 | 日東電工株式会社 | ポリカルボジイミド共重合体からなるレンズ材料 |
| JP2006140362A (ja) * | 2004-11-15 | 2006-06-01 | Nitto Denko Corp | 光半導体素子封止用シートおよび該シートを用いた光半導体装置の製造方法 |
| US7224580B2 (en) * | 2005-04-22 | 2007-05-29 | Matsushita Electric Industrial Co., Ltd | Exterior enclosure for portable information processor, method of manufacturing the same, and portable information processor using the enclosure |
| KR101380388B1 (ko) * | 2007-06-21 | 2014-04-02 | 서울반도체 주식회사 | 가요성을 구비한 발광 다이오드 및 그 제조 방법 |
| TWI380481B (en) * | 2009-01-13 | 2012-12-21 | Huga Optotech Inc | Light-emitting diode with high light-emitting efficiency |
| US10500770B2 (en) * | 2010-03-02 | 2019-12-10 | So-Semi Technologies, Llc | LED packaging with integrated optics and methods of manufacturing the same |
| JP2013258209A (ja) * | 2012-06-11 | 2013-12-26 | Nitto Denko Corp | 封止シート、発光ダイオード装置およびその製造方法 |
| KR101396589B1 (ko) * | 2013-03-29 | 2014-05-20 | 서울반도체 주식회사 | 가요성을 구비한 발광 디바이스 |
| US9985186B2 (en) * | 2013-06-06 | 2018-05-29 | Lumileds Llc | Light emitting diode laminated with a phosphor sheet and manufacturing method thereof |
| JP6724634B2 (ja) * | 2016-07-28 | 2020-07-15 | 日亜化学工業株式会社 | 発光装置の製造方法 |
| JP7447035B2 (ja) * | 2021-02-25 | 2024-03-11 | 日東電工株式会社 | 光半導体素子封止用シート |
Family Cites Families (9)
| Publication number | Priority date | Publication date | Assignee | Title |
|---|---|---|---|---|
| US185966A (en) * | 1877-01-02 | Improvement in portable engines | ||
| JPS6196780A (ja) * | 1984-10-17 | 1986-05-15 | Stanley Electric Co Ltd | Ledチツプのコ−テイング方法 |
| JP2994219B2 (ja) * | 1994-05-24 | 1999-12-27 | シャープ株式会社 | 半導体デバイスの製造方法 |
| JP3843142B2 (ja) * | 1995-08-07 | 2006-11-08 | シャープ株式会社 | フレキシブル発光表示体 |
| JP3310551B2 (ja) | 1996-08-23 | 2002-08-05 | シャープ株式会社 | 半導体発光装置及びその製造方法 |
| JP2001203392A (ja) * | 2000-01-19 | 2001-07-27 | Matsushita Electric Works Ltd | 発光ダイオード |
| JP4789350B2 (ja) * | 2001-06-11 | 2011-10-12 | シチズン電子株式会社 | 発光ダイオードの製造方法 |
| JP2003249510A (ja) * | 2002-02-26 | 2003-09-05 | Asuriito Fa Kk | 半導体封止方法 |
| JP3892795B2 (ja) * | 2002-10-31 | 2007-03-14 | 株式会社東芝 | ポリイミド光学材料、ポリイミド前駆体溶液、および光導波路素子 |
-
2004
- 2004-04-05 JP JP2004111050A patent/JP2005294733A/ja active Pending
-
2005
- 2005-04-04 TW TW094110702A patent/TWI282627B/zh not_active IP Right Cessation
- 2005-04-04 EP EP05007324A patent/EP1585179A1/en not_active Withdrawn
- 2005-04-04 KR KR1020050028179A patent/KR100821436B1/ko not_active Expired - Fee Related
- 2005-04-05 US US11/098,420 patent/US7221007B2/en not_active Expired - Fee Related
- 2005-04-05 CN CNB2005100628929A patent/CN100418212C/zh not_active Expired - Fee Related
Cited By (24)
| Publication number | Priority date | Publication date | Assignee | Title |
|---|---|---|---|---|
| US7943953B2 (en) | 2006-01-31 | 2011-05-17 | Kyocera Corporation | Light emitting device and light emitting module |
| JP2007207895A (ja) * | 2006-01-31 | 2007-08-16 | Kyocera Corp | 発光装置および発光モジュール |
| WO2007088909A1 (ja) * | 2006-01-31 | 2007-08-09 | Kyocera Corporation | 発光装置および発光モジュール |
| JP2007273754A (ja) * | 2006-03-31 | 2007-10-18 | Kyocera Corp | 発光装置および発光モジュール |
| JP2007273753A (ja) * | 2006-03-31 | 2007-10-18 | Kyocera Corp | 発光装置および発光モジュール |
| EP2031666A2 (en) | 2007-09-03 | 2009-03-04 | Nitto Denko Corporation | Process for producing optical semiconductor device |
| JP2009060031A (ja) * | 2007-09-03 | 2009-03-19 | Nitto Denko Corp | 光半導体装置の製造方法 |
| US7951623B2 (en) | 2007-09-03 | 2011-05-31 | Nitto Denko Corporation | Process for producing optical semiconductor device |
| JP2009253223A (ja) * | 2008-04-10 | 2009-10-29 | Nitto Denko Corp | 光半導体素子封止用シート |
| JP2009302221A (ja) * | 2008-06-12 | 2009-12-24 | Nec Electronics Corp | 電子装置及びその製造方法 |
| JP2010123802A (ja) * | 2008-11-20 | 2010-06-03 | Nitto Denko Corp | 光半導体封止用シート |
| JP2010141119A (ja) * | 2008-12-11 | 2010-06-24 | Nitto Denko Corp | 光半導体封止用シート |
| JP2010153500A (ja) * | 2008-12-24 | 2010-07-08 | Nitto Denko Corp | 光半導体装置の製造方法 |
| JP2010171430A (ja) * | 2009-01-23 | 2010-08-05 | Yiguang Electronic Ind Co Ltd | 発光ダイオードパッケージ構造及びその製造方法 |
| JP2010192586A (ja) * | 2009-02-17 | 2010-09-02 | Nitto Denko Corp | 光半導体封止用シート |
| JP2010192844A (ja) * | 2009-02-20 | 2010-09-02 | Nitto Denko Corp | 光半導体封止用加工シート |
| JP2010263154A (ja) * | 2009-05-11 | 2010-11-18 | Nitto Denko Corp | 光半導体封止用シート |
| JP2011003870A (ja) * | 2009-05-20 | 2011-01-06 | Nitto Denko Corp | 光半導体封止用シート |
| JP2011082340A (ja) * | 2009-10-07 | 2011-04-21 | Nitto Denko Corp | 光半導体封止材 |
| JP2013055309A (ja) * | 2010-09-30 | 2013-03-21 | Nitto Denko Corp | 発光ダイオード封止材、および、発光ダイオード装置の製造方法 |
| JP2012142364A (ja) * | 2010-12-28 | 2012-07-26 | Nitto Denko Corp | 封止部材、封止方法、および、光半導体装置の製造方法 |
| JP2013021284A (ja) * | 2011-06-14 | 2013-01-31 | Nitto Denko Corp | 封止用シートおよび光半導体素子装置 |
| US9349927B2 (en) | 2011-10-18 | 2016-05-24 | Nitto Denko Corporation | Encapsulating sheet and optical semiconductor element device |
| JP2014022508A (ja) * | 2012-07-17 | 2014-02-03 | Konica Minolta Inc | Led装置及びその製造方法 |
Also Published As
| Publication number | Publication date |
|---|---|
| KR100821436B1 (ko) | 2008-04-10 |
| TWI282627B (en) | 2007-06-11 |
| US7221007B2 (en) | 2007-05-22 |
| EP1585179A1 (en) | 2005-10-12 |
| US20050220414A1 (en) | 2005-10-06 |
| CN1681109A (zh) | 2005-10-12 |
| KR20060045499A (ko) | 2006-05-17 |
| CN100418212C (zh) | 2008-09-10 |
| TW200539463A (en) | 2005-12-01 |
Similar Documents
| Publication | Publication Date | Title |
|---|---|---|
| JP2005294733A (ja) | 光半導体素子封止用シートおよび該シートを用いた光半導体装置の製造方法 | |
| JP2006140362A (ja) | 光半導体素子封止用シートおよび該シートを用いた光半導体装置の製造方法 | |
| JP2005259847A (ja) | 光半導体装置の製造方法 | |
| JP2005167092A (ja) | 光半導体装置の製造方法 | |
| JP2005167091A (ja) | 光半導体装置 | |
| JP4863682B2 (ja) | 光半導体素子封止用シート | |
| CN1288749C (zh) | 封装光半导体元件的树脂,含该封装元件的设备及其制法 | |
| EP1621563A1 (en) | Resin for optical-semiconductor element encapsulation | |
| JP2005203737A (ja) | 半導体発光素子の製造方法 | |
| JP4231702B2 (ja) | マイクロレンズアレイ | |
| US7189591B2 (en) | Process for producing light-emitting semiconductor device | |
| EP1598908A2 (en) | Optical semiconductor device | |
| JP5209028B2 (ja) | 光半導体素子封止用シートの製造方法 | |
| JP2005235581A (ja) | 直下型バックライト |
Legal Events
| Date | Code | Title | Description |
|---|---|---|---|
| A621 | Written request for application examination |
Free format text: JAPANESE INTERMEDIATE CODE: A621 Effective date: 20061106 |
|
| A977 | Report on retrieval |
Free format text: JAPANESE INTERMEDIATE CODE: A971007 Effective date: 20081205 |
|
| A131 | Notification of reasons for refusal |
Free format text: JAPANESE INTERMEDIATE CODE: A131 Effective date: 20081209 |
|
| A02 | Decision of refusal |
Free format text: JAPANESE INTERMEDIATE CODE: A02 Effective date: 20090401 |
