JP2005292076A - 荷電粒子ビームによる検査方法および検査装置 - Google Patents
荷電粒子ビームによる検査方法および検査装置 Download PDFInfo
- Publication number
- JP2005292076A JP2005292076A JP2004111061A JP2004111061A JP2005292076A JP 2005292076 A JP2005292076 A JP 2005292076A JP 2004111061 A JP2004111061 A JP 2004111061A JP 2004111061 A JP2004111061 A JP 2004111061A JP 2005292076 A JP2005292076 A JP 2005292076A
- Authority
- JP
- Japan
- Prior art keywords
- inspection
- image
- particle beam
- charged particle
- wafer
- Prior art date
- Legal status (The legal status is an assumption and is not a legal conclusion. Google has not performed a legal analysis and makes no representation as to the accuracy of the status listed.)
- Granted
Links
Images
Classifications
-
- H—ELECTRICITY
- H01—ELECTRIC ELEMENTS
- H01J—ELECTRIC DISCHARGE TUBES OR DISCHARGE LAMPS
- H01J37/00—Discharge tubes with provision for introducing objects or material to be exposed to the discharge, e.g. for the purpose of examination or processing thereof
- H01J37/02—Details
- H01J37/026—Means for avoiding or neutralising unwanted electrical charges on tube components
-
- H—ELECTRICITY
- H01—ELECTRIC ELEMENTS
- H01J—ELECTRIC DISCHARGE TUBES OR DISCHARGE LAMPS
- H01J37/00—Discharge tubes with provision for introducing objects or material to be exposed to the discharge, e.g. for the purpose of examination or processing thereof
- H01J37/02—Details
- H01J37/22—Optical, image processing or photographic arrangements associated with the tube
- H01J37/226—Optical arrangements for illuminating the object; optical arrangements for collecting light from the object
-
- H—ELECTRICITY
- H01—ELECTRIC ELEMENTS
- H01J—ELECTRIC DISCHARGE TUBES OR DISCHARGE LAMPS
- H01J37/00—Discharge tubes with provision for introducing objects or material to be exposed to the discharge, e.g. for the purpose of examination or processing thereof
- H01J37/26—Electron or ion microscopes; Electron or ion diffraction tubes
- H01J37/28—Electron or ion microscopes; Electron or ion diffraction tubes with scanning beams
-
- H—ELECTRICITY
- H01—ELECTRIC ELEMENTS
- H01J—ELECTRIC DISCHARGE TUBES OR DISCHARGE LAMPS
- H01J2237/00—Discharge tubes exposing object to beam, e.g. for analysis treatment, etching, imaging
- H01J2237/04—Means for controlling the discharge
- H01J2237/047—Changing particle velocity
-
- H—ELECTRICITY
- H01—ELECTRIC ELEMENTS
- H01J—ELECTRIC DISCHARGE TUBES OR DISCHARGE LAMPS
- H01J2237/00—Discharge tubes exposing object to beam, e.g. for analysis treatment, etching, imaging
- H01J2237/25—Tubes for localised analysis using electron or ion beams
- H01J2237/2505—Tubes for localised analysis using electron or ion beams characterised by their application
- H01J2237/2594—Measuring electric fields or potentials
-
- H—ELECTRICITY
- H01—ELECTRIC ELEMENTS
- H01J—ELECTRIC DISCHARGE TUBES OR DISCHARGE LAMPS
- H01J2237/00—Discharge tubes exposing object to beam, e.g. for analysis treatment, etching, imaging
- H01J2237/26—Electron or ion microscopes
- H01J2237/28—Scanning microscopes
- H01J2237/2813—Scanning microscopes characterised by the application
- H01J2237/2817—Pattern inspection
Landscapes
- Chemical & Material Sciences (AREA)
- Analytical Chemistry (AREA)
- Testing Or Measuring Of Semiconductors Or The Like (AREA)
- Analysing Materials By The Use Of Radiation (AREA)
Abstract
【解決手段】所定のパターンが形成された基板表面の領域を一次荷電粒子ビームで走査して、該領域から発生する二次電子の信号を検出し、検出した信号から該領域の画像を形成する工程と、該画像からヒストグラムを形成する工程と、これら全ての工程を荷電粒子ビームの照射条件を変化させる度に行い、上記ヒストグラムで2つ以上のピークが分離した時を最適な検査条件と決定し、その条件で取得した画像をもとに検査を行う。
【選択図】図2A
Description
なお、本手段ではヒストグラムの評価が重要になる為、電子照射条件を変えて画像を取得する際、信号値の補正(auto brightness and contrast control)は行ってはならない。
(1)ウエハに対向して設置した帯電制御電極407の電位Vccを変化させ、電位コントラストを取得し、そのヒストグラムを求める。
(2)ヒストグラムに絶縁部とパターン部に起因する2つのピークが生ずる。
(3)これらピークが分離する条件として式(2)(ε1=1、ε2=3)を適用し、図9に示すように、Vcc=−8460Vが最適な条件となる。
(4)実際に検査を行った結果、図10に示すように、最適条件(Vcc=−8460V)で欠陥検出数が最も多く、それ以外の条件では、欠陥の見落としがあるため、欠陥検出数が少なくなる。
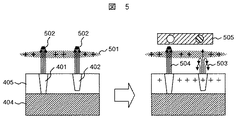
図1には、第1の実施例に係る検査装置の構成を示す。検査装置(検査SEM)は、室内が真空排気される検査室2と、検査室2内に試料としてのウエハ9を搬送するための予備室(本実施例では図示せず)を備えており、この予備室は、検査室2とは独立して真空排気できるように構成されている。また、検査装置は上記検査室2と予備室の他に制御部6、画像処理部5から構成されている。検査室2内は大別して、電子光学系3、帯電制御部、検出部7、試料室8、光学顕微鏡部4から構成されている。
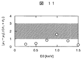
本実施例では、実施例1と同様の方法で、電子ビームエネルギーE0を最適化した例について述べる。ウエハのダメージを考慮して、E0の最高値を1.5keVとした。検査条件最適化フロー200(図2B)で、Vccの代わりにE0を、V1、V2、ΔVをそれぞれ0keV、1.5keV、0.25keVとした。その結果、図11のような|μ1−μ2|/(σ1+σ2)のE0依存性が得られた。この結果から、(式2)のピーク分離条件(ε1=1、ε2=3)を満たすE0=1.0keVを見つけることができた。
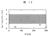
本実施例では、実施例1と同様の方法で、電子ビーム電流IPを最適化した例について述べる。検査条件最適化フロー200(図2B)で、Vccの代わりにIPを、V1、V2、ΔVをそれぞれ0nA、300nA、50nAとした。その結果、図12のような|μ1−μ2|/(σ1+σ2)のIP依存性が得られた。この結果から、(式2)のピーク分離条件(ε1=1、ε2=3)を満たすIP=100、150、200nAを見つけることができた。
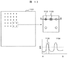
図13の1101で示すようにパターン密度が少ない場合、見た目ではコントラストが良くてもヒストグラムを描くと、図14のように、パターン部に起因するピークは、SiO2部の信号に埋もれてしまうことがわかった。そのため、実施例1で述べた方法では、最適条件を決定することができなかった。そこで、図13の右上図に示すように、パターンの領域1102の抽出と、最近接パターンの中間で、領域設定したパターンと同面積の領域1103の設定を行う。領域1102の抽出は、図13の右下図に示すように、信号プロファイル1104でピークの半値幅内の領域1105とした。このような画像の抽出(信号抽出処理)を行った後に改めてヒストグラムを描いた結果、図15が得られた。ピークは2つに分離することが確認できた。また、信号抽出処理の前に、画像のシェーディング除去を行っても良い。
本実施例では、レビューSEMを用いて、欠陥分類をおこなった例について説明する。
まず、ステップ1501において、ウエハ351が任意の棚に設置されたウエハカセットを、ウエハ搬送系323におけるカセット載置部341に置く。次に、ステップ1502において、操作画面348より、レビューすべきウエハ351を指定するために、該ウエハ351がセットされたカセット内棚番号を指定する。また、レビューにおいては、他の検査装置により検査を実施され、欠陥等の位置情報を含む検査結果情報をもとに電子線画像による観察を実行するため、操作画面および操作部348より検査結果ファイルを選択する。選択においては、ネットワーク等による通信で検査結果ファイルを読み込む場合や、記録媒体より検査結果ファイルを読み込むことが可能である。いずれの場合も、検査結果ファイル名を指定することにより、該検査結果の各種データをデータ入力部356に読み込み、データ変換部357によりレビューSEMで用いているデータ形式および座標系に変換することがある。さらに、操作画面および操作部348より、レビュー条件ファイル名を入力する。このレビュー条件ファイルは、レビューの内容を決めるための各種パラメータを組み合わせて構成されたものである。レビューを実行するために必要な条件の入力を完了し、ステップ1503において、自動レビューのシーケンスをスタートする。
実施例1〜5の検査条件最適化フロー200(図2B)、300(図3)において、検査条件を変化させる際、条件変化の刻み幅を複数回変化させることによって、高速な条件設定が可能になった例について述べる。本実施例では、検査条件のうち、帯電制御電源67(検査SEM)、もしくは366(レビューSEM)の値Vccを最適化した。まず、Vcc値の刻み幅ΔVを40Vとして検査条件最適化フロー200、もしくは300を行った。画像のヒストグラムを(式1)でフィッティングし、図18に示す|μ1−μ2|/(σ1+σ2)のVcc依存性を得た。刻み幅ΔVが大きい為、(式2)(ε1=1、ε1=3)を満たす条件の決定はできなかったが、その条件に近いVcc条件2002、2001を見つけることができた。次に、これら条件の間で、ΔVを小さい値10Vとし、再度検査条件最適化フローを行った。その結果、図19に示すように、(式2)を満たす条件2101、2102を見つけることができた。条件が2つ以上見つかった場合、Vccの平均値を最適条件と見なした。このような方法を取ることによって、初めからΔVに小さい値を用いるよりも高速に検査条件を最適化することが可能になった。
ウエハ内に複数種類のパターンがある場合、検査条件が1つに定まらない場合が生ずる。本実施例では、その場合の検査条件決定方法について述べる。
実施例1〜7のように検査条件最適化を行ったデータを用いて、その検査条件をデータベース化することで、検査条件設定の高速化を行うことができた。
(1)Vac=−10kV、Vr=−9.5kV、Vcc=−5kV
(2)Vac=−10kV、Vr=−8.5kV、Vcc=−8.7kV
(3)Vac=−10kV、Vr=−8.5kV、Vcc=−8.8kV
ただし、Vacは電子源10電位、Vrはリターディング電源36の電位、Vccは帯電制御電極65の電位である。
Claims (15)
- 所定のパターンが形成された基板表面の領域を一次荷電粒子ビームで走査する工程と、該一次荷電粒子ビームの照射により該領域から発生する二次電子の信号を検出する工程と、検出した信号から該領域の画像を形成する工程と、該画像からヒストグラムを形成する工程と、これら全ての工程を荷電粒子ビームの照射条件を変化させる度に行い、前記ヒストグラムで2つ以上のピークが分離した時を検査条件と決定し、その条件で取得した画像をもとに検査を行うことを特徴とする荷電粒子ビームによる検査方法。
- 請求項1に記載の検査方法において、前記荷電粒子ビームの照射条件を変化させる為に、ビーム電流、ビームエネルギー、照射面積、ウエハとウエハ周りの電極間の電位分布の内、一つ以上変化させることを特徴とする荷電粒子ビームによる検査方法。
- 請求項1又は2に記載の検査方法において、前記ピークの分離判定を、複数のガウス関数の和でフィッティングする工程と、各ガウス関数の平均値および標準偏差を算出する工程と、隣り合うガウス関数における平均値の差の絶対値と標準偏差の和との商を算出する工程を含み、該商が1より大きく3より小さくなるように検査条件を設定し、その条件で検査を行うことを特徴とする荷電粒子ビームによる検査方法。
- 請求項1又は2に記載の検査方法において、前記ピークの分離判定を、複数のローレンツ関数の和でフィッティングする工程と、各ローレンツ関数の平均値および半値幅を算出する工程と、隣り合うローレンツ関数における平均値の差の絶対値と半値幅の和との商を算出する工程を含み、該商が1より大きく3より小さくなるように検査条件を設定し、その条件で検査を行うことを特徴とする荷電粒子ビームによる検査方法。
- 請求項3又は4に記載の検査方法において、前記ヒストグラムを算出する際、前処理として画像のパターン部と、パターン以外からの信号を抽出し、該信号のヒストグラムを算出する工程を行うことを特徴とする荷電粒子ビームによる検査方法。
- 請求項3又は4に記載の検査方法において、上記ヒストグラムを算出する際、画像像にシェーディングが有る場合は、前処理として該シェーディングを除去する画像処理の工程を行うことを特徴とする荷電粒子ビームによる検査方法。
- 請求項1から6に記載の検査方法において、決定した検査条件をデーターベース化し、検査の際は、既存の検査条件データベースの中から検査ウエハに近いものを選択し、それを検査条件として用いることを特徴とする荷電粒子ビームによる検査方法。
- 請求項1から7に記載の検査方法において、前記画像を基準画像と比較することによってパターンの欠陥を検出する工程を含むことを特徴とする荷電粒子ビームによる検査方法。
- 請求項1から7に記載の検査方法において、第一の領域の画像と第二の領域の画像を比較し異なる部分を判別する工程と、該判別結果に基づき前記回路パターンの欠陥を判定する工程を含むことを特徴とする荷電粒子ビームによる検査方法。
- 請求項1から7に記載の検査方法において、外観検査装置から得られる欠陥座標をもとに、該座標での画像を取得し、画像の形状、コントラスト、凹凸の情報を得て分類する工程を含んでなることを特徴とする荷電粒子ビームによる検査方法。
- 請求項1から10に記載の検査方法において、前記荷電粒子ビームは電子ビームであることを特徴とする荷電粒子ビームによる検査方法。
- 試料を載置する試料台と、一次荷電粒子ビームを前記試料台上の試料に照射するための対物レンズと、荷電粒子ビームの照射条件の変更を行う制御部と、前記試料から発生する二次電子を検出する検出器と、前記検出器からの信号を用いて、検査されるべき領域の画像の信号を記憶するための画像記憶部と、前記画像のヒストグラムを算出し、検査条件を決定するための演算部と、を具備してなることを特徴とする荷電粒子ビームによる検査装置。
- 請求項12に記載の検査装置において、帯電電圧を変化させるために、前記試料の前面に電圧を印加することのできる帯電制御電極を具備してなることを特徴とする荷電粒子ビームによる検査装置。
- 請求項12又は13に記載の検査装置において、前記検出部からの信号に基づき画像を形成し、検査されるべき該画像を他の同一回路パターンの画像と比較するための比較演算回路と、該比較演算回路での比較結果から前記試料の回路パターン上の欠陥部を判別するための演算回路とを具備することを特徴とする荷電粒子ビームによる検査装置。
- 請求項12又は13に記載の検査装置において、前記検出部からの信号に基づき画像を形成し、欠陥種ごとに分類する計算機部を具備することを特徴とする荷電粒子ビームによる検査装置。
Priority Applications (4)
| Application Number | Priority Date | Filing Date | Title |
|---|---|---|---|
| JP2004111061A JP4528014B2 (ja) | 2004-04-05 | 2004-04-05 | 試料検査方法 |
| US11/098,699 US7211797B2 (en) | 2004-04-05 | 2005-04-05 | Inspection method and inspection system using charged particle beam |
| US11/706,330 US7521679B2 (en) | 2004-04-05 | 2007-02-15 | Inspection method and inspection system using charged particle beam |
| US12/423,291 US20090194690A1 (en) | 2004-04-05 | 2009-04-14 | Inspection Method And Inspection System Using Charged Particle Beam |
Applications Claiming Priority (1)
| Application Number | Priority Date | Filing Date | Title |
|---|---|---|---|
| JP2004111061A JP4528014B2 (ja) | 2004-04-05 | 2004-04-05 | 試料検査方法 |
Publications (3)
| Publication Number | Publication Date |
|---|---|
| JP2005292076A true JP2005292076A (ja) | 2005-10-20 |
| JP2005292076A5 JP2005292076A5 (ja) | 2006-12-21 |
| JP4528014B2 JP4528014B2 (ja) | 2010-08-18 |
Family
ID=35053276
Family Applications (1)
| Application Number | Title | Priority Date | Filing Date |
|---|---|---|---|
| JP2004111061A Expired - Fee Related JP4528014B2 (ja) | 2004-04-05 | 2004-04-05 | 試料検査方法 |
Country Status (2)
| Country | Link |
|---|---|
| US (3) | US7211797B2 (ja) |
| JP (1) | JP4528014B2 (ja) |
Cited By (11)
| Publication number | Priority date | Publication date | Assignee | Title |
|---|---|---|---|---|
| JP2007158099A (ja) * | 2005-12-06 | 2007-06-21 | Hitachi High-Technologies Corp | 半導体ウェハ検査方法及び欠陥レビュー装置 |
| JP2007246959A (ja) * | 2006-03-14 | 2007-09-27 | Nippon Steel Corp | 高炉出銑流測定システム、高炉出銑流測定方法、及びコンピュータプログラム |
| JP2007256125A (ja) * | 2006-03-24 | 2007-10-04 | Hitachi High-Technologies Corp | ボルテージコントラストを伴った欠陥をレビューする方法およびその装置 |
| JP2007265931A (ja) * | 2006-03-30 | 2007-10-11 | Hitachi High-Technologies Corp | 検査装置及び検査方法 |
| JP2007329337A (ja) * | 2006-06-08 | 2007-12-20 | Hitachi High-Technologies Corp | 半導体ウェーハ検査装置および半導体ウェーハ検査方法 |
| JP2008218014A (ja) * | 2007-02-28 | 2008-09-18 | Hitachi High-Technologies Corp | 帯電測定方法、焦点調整方法、及び走査電子顕微鏡 |
| JP2008216198A (ja) * | 2007-03-07 | 2008-09-18 | Hitachi High-Technologies Corp | 試料観察条件設定方法及び装置、並びに試料観察方法及び装置 |
| JP2008226536A (ja) * | 2007-03-09 | 2008-09-25 | Toppan Printing Co Ltd | 走査型電子顕微鏡装置の評価方法及び評価装置 |
| JP2008275513A (ja) * | 2007-05-01 | 2008-11-13 | Hitachi High-Technologies Corp | 電子線照射条件決定支援ユニット、および電子線式試料検査装置 |
| US7885789B2 (en) | 2008-05-08 | 2011-02-08 | Hitachi High-Technologies Corporation | Recipe parameter management system and recipe parameter management method |
| KR20160032155A (ko) * | 2013-08-14 | 2016-03-23 | 가부시끼가이샤 히다치 세이사꾸쇼 | 반도체 검사 방법, 반도체 검사 장치, 및 반도체 소자의 제조 방법 |
Families Citing this family (32)
| Publication number | Priority date | Publication date | Assignee | Title |
|---|---|---|---|---|
| JP4248382B2 (ja) * | 2003-12-04 | 2009-04-02 | 株式会社日立ハイテクノロジーズ | 荷電粒子ビームによる検査方法および検査装置 |
| JP4528014B2 (ja) * | 2004-04-05 | 2010-08-18 | 株式会社日立ハイテクノロジーズ | 試料検査方法 |
| US7462828B2 (en) * | 2005-04-28 | 2008-12-09 | Hitachi High-Technologies Corporation | Inspection method and inspection system using charged particle beam |
| JP4621098B2 (ja) * | 2005-09-14 | 2011-01-26 | 株式会社日立ハイテクノロジーズ | 走査型電子顕微鏡および画像信号処理方法 |
| CN101461026B (zh) * | 2006-06-07 | 2012-01-18 | Fei公司 | 与包含真空室的装置一起使用的滑动轴承 |
| US8598524B2 (en) * | 2006-06-07 | 2013-12-03 | Fei Company | Slider bearing for use with an apparatus comprising a vacuum chamber |
| TWI435361B (zh) * | 2007-04-16 | 2014-04-21 | Ebara Corp | 電子射線裝置及使用該電子射線裝置之試料觀察方法 |
| JP2009206295A (ja) * | 2008-02-28 | 2009-09-10 | Hitachi High-Technologies Corp | 半導体欠陥検査装置、および半導体欠陥検査方法 |
| JP5615489B2 (ja) * | 2008-08-08 | 2014-10-29 | 株式会社荏原製作所 | 基板表面の検査方法及び検査装置 |
| US8071942B2 (en) * | 2009-03-20 | 2011-12-06 | Physical Electronics USA, Inc. | Sample holder apparatus to reduce energy of electrons in an analyzer system and method |
| JP5227902B2 (ja) * | 2009-06-16 | 2013-07-03 | 株式会社日立ハイテクノロジーズ | 荷電粒子顕微鏡装置及び荷電粒子ビーム制御方法 |
| CN101958262B (zh) * | 2009-07-16 | 2012-08-22 | 中芯国际集成电路制造(上海)有限公司 | 失效检测方法以及失效检测装置 |
| JP4769320B2 (ja) * | 2009-09-25 | 2011-09-07 | ルネサスエレクトロニクス株式会社 | 半導体装置の不良解析方法及び装置並びにそれらのプログラム |
| US8373427B2 (en) * | 2010-02-10 | 2013-02-12 | Skyworks Solutions, Inc. | Electron radiation monitoring system to prevent gold spitting and resist cross-linking during evaporation |
| US8841933B2 (en) | 2010-09-09 | 2014-09-23 | International Business Machines Corporation | Inspection tool and methodology for three dimensional voltage contrast inspection |
| EP2721399B1 (en) | 2011-06-15 | 2017-04-19 | Malvern Instruments Limited | Surface charge measurement |
| JP5825964B2 (ja) | 2011-10-05 | 2015-12-02 | 株式会社日立ハイテクノロジーズ | 検査又は観察装置及び試料の検査又は観察方法 |
| KR101284268B1 (ko) * | 2011-10-28 | 2013-07-08 | 한국생산기술연구원 | 비전시스템의 이미지 품질 향상을 위한 컬러조명 제어방법 |
| JP5836838B2 (ja) * | 2012-02-27 | 2015-12-24 | 株式会社日立ハイテクノロジーズ | 荷電粒子線装置 |
| JP5832345B2 (ja) * | 2012-03-22 | 2015-12-16 | 株式会社ニューフレアテクノロジー | 検査装置および検査方法 |
| JP5965739B2 (ja) * | 2012-06-22 | 2016-08-10 | 株式会社日立ハイテクノロジーズ | 画像処理装置、電子顕微鏡装置、画像処理方法及びプログラム |
| CN105651696B (zh) * | 2014-11-28 | 2019-05-14 | 财团法人工业技术研究院 | 检测仪器及其检测方法 |
| US9430718B1 (en) * | 2015-02-09 | 2016-08-30 | Sony Corporation | Efficient local feature descriptor filtering |
| US10810240B2 (en) * | 2015-11-06 | 2020-10-20 | RedShred LLC | Automatically assessing structured data for decision making |
| JP7042071B2 (ja) | 2016-12-20 | 2022-03-25 | エフ・イ-・アイ・カンパニー | eビーム操作用の局部的に排気された容積を用いる集積回路解析システムおよび方法 |
| EP3630391A1 (en) | 2017-05-22 | 2020-04-08 | Howmedica Osteonics Corp. | Device for in-situ fabrication process monitoring and feedback control of an electron beam additive manufacturing process |
| AU2019206103B2 (en) | 2018-07-19 | 2025-06-26 | Howmedica Osteonics Corp. | System and process for in-process electron beam profile and location analyses |
| US11621144B2 (en) * | 2018-08-03 | 2023-04-04 | Nuflare Technology, Inc. | Electron optical system and multi-beam image acquiring apparatus |
| TWI845751B (zh) * | 2019-08-30 | 2024-06-21 | 荷蘭商Asml荷蘭公司 | 帶電粒子束系統及成像方法 |
| US11798828B2 (en) * | 2020-09-04 | 2023-10-24 | Kla Corporation | Binning-enhanced defect detection method for three-dimensional wafer structures |
| DE112021005943T5 (de) * | 2021-03-01 | 2023-09-14 | Hitachi High-Tech Corporation | Gerät mit einem strahl geladenen teilchen |
| US12320764B2 (en) | 2021-06-09 | 2025-06-03 | Decision Sciences International Corporation | System and methods of charged particle detectors for blast furnace imaging |
Citations (8)
| Publication number | Priority date | Publication date | Assignee | Title |
|---|---|---|---|---|
| JPH04171587A (ja) * | 1990-11-05 | 1992-06-18 | Matsushita Electric Ind Co Ltd | 外観検査方法 |
| JPH0621165A (ja) * | 1992-07-06 | 1994-01-28 | Hitachi Ltd | 画像の二値化良否判別方法 |
| JP2000207562A (ja) * | 1999-01-20 | 2000-07-28 | Sharp Corp | ウェハのマクロ検査装置およびその方法 |
| JP2000314710A (ja) * | 1999-04-28 | 2000-11-14 | Hitachi Ltd | 回路パターンの検査方法及び検査装置 |
| JP2000323538A (ja) * | 1999-03-05 | 2000-11-24 | Toshiba Corp | 基板検査方法および基板検査システム |
| JP2002303586A (ja) * | 2001-04-03 | 2002-10-18 | Hitachi Ltd | 欠陥検査方法及び欠陥検査装置 |
| JP2002310936A (ja) * | 2001-04-19 | 2002-10-23 | Murata Mfg Co Ltd | 外観検査方法および外観検査装置 |
| JP2003007786A (ja) * | 2001-06-20 | 2003-01-10 | Hitachi Ltd | 半導体基板の検査方法およびその装置 |
Family Cites Families (5)
| Publication number | Priority date | Publication date | Assignee | Title |
|---|---|---|---|---|
| JPH09320505A (ja) * | 1996-03-29 | 1997-12-12 | Hitachi Ltd | 電子線式検査方法及びその装置並びに半導体の製造方法及びその製造ライン |
| US6504393B1 (en) | 1997-07-15 | 2003-01-07 | Applied Materials, Inc. | Methods and apparatus for testing semiconductor and integrated circuit structures |
| JP4015352B2 (ja) | 2000-02-22 | 2007-11-28 | 株式会社日立製作所 | 荷電粒子ビームを用いた検査方法 |
| JP4610182B2 (ja) * | 2003-12-05 | 2011-01-12 | 株式会社日立ハイテクノロジーズ | 走査型電子顕微鏡 |
| JP4528014B2 (ja) * | 2004-04-05 | 2010-08-18 | 株式会社日立ハイテクノロジーズ | 試料検査方法 |
-
2004
- 2004-04-05 JP JP2004111061A patent/JP4528014B2/ja not_active Expired - Fee Related
-
2005
- 2005-04-05 US US11/098,699 patent/US7211797B2/en not_active Expired - Fee Related
-
2007
- 2007-02-15 US US11/706,330 patent/US7521679B2/en not_active Expired - Fee Related
-
2009
- 2009-04-14 US US12/423,291 patent/US20090194690A1/en not_active Abandoned
Patent Citations (8)
| Publication number | Priority date | Publication date | Assignee | Title |
|---|---|---|---|---|
| JPH04171587A (ja) * | 1990-11-05 | 1992-06-18 | Matsushita Electric Ind Co Ltd | 外観検査方法 |
| JPH0621165A (ja) * | 1992-07-06 | 1994-01-28 | Hitachi Ltd | 画像の二値化良否判別方法 |
| JP2000207562A (ja) * | 1999-01-20 | 2000-07-28 | Sharp Corp | ウェハのマクロ検査装置およびその方法 |
| JP2000323538A (ja) * | 1999-03-05 | 2000-11-24 | Toshiba Corp | 基板検査方法および基板検査システム |
| JP2000314710A (ja) * | 1999-04-28 | 2000-11-14 | Hitachi Ltd | 回路パターンの検査方法及び検査装置 |
| JP2002303586A (ja) * | 2001-04-03 | 2002-10-18 | Hitachi Ltd | 欠陥検査方法及び欠陥検査装置 |
| JP2002310936A (ja) * | 2001-04-19 | 2002-10-23 | Murata Mfg Co Ltd | 外観検査方法および外観検査装置 |
| JP2003007786A (ja) * | 2001-06-20 | 2003-01-10 | Hitachi Ltd | 半導体基板の検査方法およびその装置 |
Cited By (13)
| Publication number | Priority date | Publication date | Assignee | Title |
|---|---|---|---|---|
| JP2007158099A (ja) * | 2005-12-06 | 2007-06-21 | Hitachi High-Technologies Corp | 半導体ウェハ検査方法及び欠陥レビュー装置 |
| JP2007246959A (ja) * | 2006-03-14 | 2007-09-27 | Nippon Steel Corp | 高炉出銑流測定システム、高炉出銑流測定方法、及びコンピュータプログラム |
| JP2007256125A (ja) * | 2006-03-24 | 2007-10-04 | Hitachi High-Technologies Corp | ボルテージコントラストを伴った欠陥をレビューする方法およびその装置 |
| JP2007265931A (ja) * | 2006-03-30 | 2007-10-11 | Hitachi High-Technologies Corp | 検査装置及び検査方法 |
| JP2007329337A (ja) * | 2006-06-08 | 2007-12-20 | Hitachi High-Technologies Corp | 半導体ウェーハ検査装置および半導体ウェーハ検査方法 |
| US8178836B2 (en) | 2007-02-28 | 2012-05-15 | Hitachi High-Technologies Corporation | Electrostatic charge measurement method, focus adjustment method, and scanning electron microscope |
| JP2008218014A (ja) * | 2007-02-28 | 2008-09-18 | Hitachi High-Technologies Corp | 帯電測定方法、焦点調整方法、及び走査電子顕微鏡 |
| JP2008216198A (ja) * | 2007-03-07 | 2008-09-18 | Hitachi High-Technologies Corp | 試料観察条件設定方法及び装置、並びに試料観察方法及び装置 |
| JP2008226536A (ja) * | 2007-03-09 | 2008-09-25 | Toppan Printing Co Ltd | 走査型電子顕微鏡装置の評価方法及び評価装置 |
| JP2008275513A (ja) * | 2007-05-01 | 2008-11-13 | Hitachi High-Technologies Corp | 電子線照射条件決定支援ユニット、および電子線式試料検査装置 |
| US7885789B2 (en) | 2008-05-08 | 2011-02-08 | Hitachi High-Technologies Corporation | Recipe parameter management system and recipe parameter management method |
| KR20160032155A (ko) * | 2013-08-14 | 2016-03-23 | 가부시끼가이샤 히다치 세이사꾸쇼 | 반도체 검사 방법, 반도체 검사 장치, 및 반도체 소자의 제조 방법 |
| KR101709241B1 (ko) | 2013-08-14 | 2017-02-23 | 가부시끼가이샤 히다치 세이사꾸쇼 | 반도체 검사 방법, 반도체 검사 장치, 및 반도체 소자의 제조 방법 |
Also Published As
| Publication number | Publication date |
|---|---|
| US20070138390A1 (en) | 2007-06-21 |
| JP4528014B2 (ja) | 2010-08-18 |
| US7211797B2 (en) | 2007-05-01 |
| US20050218325A1 (en) | 2005-10-06 |
| US7521679B2 (en) | 2009-04-21 |
| US20090194690A1 (en) | 2009-08-06 |
Similar Documents
| Publication | Publication Date | Title |
|---|---|---|
| JP4528014B2 (ja) | 試料検査方法 | |
| JP5164317B2 (ja) | 電子線による検査・計測方法および検査・計測装置 | |
| JP4248382B2 (ja) | 荷電粒子ビームによる検査方法および検査装置 | |
| JP3973372B2 (ja) | 荷電粒子線を用いた基板検査装置および基板検査方法 | |
| CN104937369B (zh) | 图案测定方法、带电粒子束装置的装置条件设定方法以及带电粒子束装置 | |
| JP2000314710A (ja) | 回路パターンの検査方法及び検査装置 | |
| KR101685274B1 (ko) | 하전 입자선 장치 | |
| JP2003100823A (ja) | 荷電粒子ビームを用いた検査方法およびそれを用いた検査装置 | |
| JP2001313322A (ja) | 荷電粒子ビームによる検査方法および検査装置 | |
| JP4795883B2 (ja) | パターン検査・計測装置 | |
| JP2000161948A (ja) | 回路パターン検査装置、および回路パターン検査方法 | |
| JP4041630B2 (ja) | 回路パターンの検査装置および検査方法 | |
| JP2002353279A (ja) | 回路パターン検査方法とその装置 | |
| US9831062B2 (en) | Method for pattern measurement, method for setting device parameters of charged particle radiation device, and charged particle radiation device | |
| JP4274247B2 (ja) | 回路パターンの検査方法及び検査装置 | |
| JP2003133379A (ja) | 半導体装置の検査装置及び半導体装置の製造方法 | |
| JP2007281500A (ja) | 回路パターンの検査装置、検査システム、および検査方法 | |
| JP2004157135A (ja) | 回路パターンの検査方法及び検査装置 | |
| JP2004347483A (ja) | 電子線を用いたパターン検査装置、及び、電子線を用いたパターン検査方法 | |
| JP2005181347A (ja) | 回路パターンの検査装置、検査システム、および検査方法 | |
| JP4147233B2 (ja) | 電子線装置 | |
| JP6230831B2 (ja) | 荷電粒子線装置および画像取得方法 | |
| JP2008147679A (ja) | 電子線応用装置 | |
| JP2005223355A (ja) | 回路パターン検査装置 |
Legal Events
| Date | Code | Title | Description |
|---|---|---|---|
| A521 | Request for written amendment filed |
Free format text: JAPANESE INTERMEDIATE CODE: A523 Effective date: 20061031 |
|
| A621 | Written request for application examination |
Free format text: JAPANESE INTERMEDIATE CODE: A621 Effective date: 20061031 |
|
| RD02 | Notification of acceptance of power of attorney |
Free format text: JAPANESE INTERMEDIATE CODE: A7422 Effective date: 20061031 |
|
| A977 | Report on retrieval |
Free format text: JAPANESE INTERMEDIATE CODE: A971007 Effective date: 20081128 |
|
| A131 | Notification of reasons for refusal |
Free format text: JAPANESE INTERMEDIATE CODE: A131 Effective date: 20090825 |
|
| A521 | Request for written amendment filed |
Free format text: JAPANESE INTERMEDIATE CODE: A523 Effective date: 20091009 |
|
| A131 | Notification of reasons for refusal |
Free format text: JAPANESE INTERMEDIATE CODE: A131 Effective date: 20100112 |
|
| A521 | Request for written amendment filed |
Free format text: JAPANESE INTERMEDIATE CODE: A523 Effective date: 20100225 |
|
| TRDD | Decision of grant or rejection written | ||
| A01 | Written decision to grant a patent or to grant a registration (utility model) |
Free format text: JAPANESE INTERMEDIATE CODE: A01 Effective date: 20100518 |
|
| A01 | Written decision to grant a patent or to grant a registration (utility model) |
Free format text: JAPANESE INTERMEDIATE CODE: A01 |
|
| A61 | First payment of annual fees (during grant procedure) |
Free format text: JAPANESE INTERMEDIATE CODE: A61 Effective date: 20100604 |
|
| FPAY | Renewal fee payment (event date is renewal date of database) |
Free format text: PAYMENT UNTIL: 20130611 Year of fee payment: 3 |
|
| R150 | Certificate of patent or registration of utility model |
Free format text: JAPANESE INTERMEDIATE CODE: R150 |
|
| LAPS | Cancellation because of no payment of annual fees |
