JP2005166300A - 大電流用雌端子及びシェル付き大電流用雌端子 - Google Patents

大電流用雌端子及びシェル付き大電流用雌端子 Download PDF

Info

Publication number
JP2005166300A
JP2005166300A JP2003400092A JP2003400092A JP2005166300A JP 2005166300 A JP2005166300 A JP 2005166300A JP 2003400092 A JP2003400092 A JP 2003400092A JP 2003400092 A JP2003400092 A JP 2003400092A JP 2005166300 A JP2005166300 A JP 2005166300A
Authority
JP
Japan
Prior art keywords
blade
contact
elastic piece
female terminal
receiving space
Prior art date
Legal status (The legal status is an assumption and is not a legal conclusion. Google has not performed a legal analysis and makes no representation as to the accuracy of the status listed.)
Pending
Application number
JP2003400092A
Other languages
English (en)
Inventor
Taira Chin
平 陳
Current Assignee (The listed assignees may be inaccurate. Google has not performed a legal analysis and makes no representation or warranty as to the accuracy of the list.)
JST Mfg Co Ltd
Original Assignee
JST Mfg Co Ltd
Priority date (The priority date is an assumption and is not a legal conclusion. Google has not performed a legal analysis and makes no representation as to the accuracy of the date listed.)
Filing date
Publication date
Application filed by JST Mfg Co Ltd filed Critical JST Mfg Co Ltd
Priority to JP2003400092A priority Critical patent/JP2005166300A/ja
Priority to US10/996,498 priority patent/US7048597B2/en
Publication of JP2005166300A publication Critical patent/JP2005166300A/ja
Pending legal-status Critical Current

Links

Images

Classifications

    • HELECTRICITY
    • H01ELECTRIC ELEMENTS
    • H01RELECTRICALLY-CONDUCTIVE CONNECTIONS; STRUCTURAL ASSOCIATIONS OF A PLURALITY OF MUTUALLY-INSULATED ELECTRICAL CONNECTING ELEMENTS; COUPLING DEVICES; CURRENT COLLECTORS
    • H01R13/00Details of coupling devices of the kinds covered by groups H01R12/70 or H01R24/00 - H01R33/00
    • H01R13/02Contact members
    • H01R13/10Sockets for co-operation with pins or blades
    • H01R13/11Resilient sockets
    • H01R13/113Resilient sockets co-operating with pins or blades having a rectangular transverse section
    • HELECTRICITY
    • H01ELECTRIC ELEMENTS
    • H01RELECTRICALLY-CONDUCTIVE CONNECTIONS; STRUCTURAL ASSOCIATIONS OF A PLURALITY OF MUTUALLY-INSULATED ELECTRICAL CONNECTING ELEMENTS; COUPLING DEVICES; CURRENT COLLECTORS
    • H01R13/00Details of coupling devices of the kinds covered by groups H01R12/70 or H01R24/00 - H01R33/00
    • H01R13/02Contact members
    • H01R13/15Pins, blades or sockets having separate spring member for producing or increasing contact pressure
    • H01R13/187Pins, blades or sockets having separate spring member for producing or increasing contact pressure with spring member in the socket

Landscapes

  • Coupling Device And Connection With Printed Circuit (AREA)

Abstract

【課題】 雄端子との接触抵抗を低減し、大電流を低損失で安定的に流せ、ブレードの位置決めを正確に行える大電流用雌端子を提供する。
【解決手段】 大電流用雌端子100の本体部110は、受入空間111に対して高さ方向の少なくとも一方側において高さ方向に弾性変形するように設けられ且つ内面に所定幅にわたって接触部112aが設けられた第1弾性片112と、受入空間に対して幅方向の少なくとも一方側において幅方向に弾性変形するように設けられ且つ内面に所定高さにわたって接触部113aが設けられた第2弾性片113とを備える。ブレード200が受入空間に挿入されると、ブレードの高さ方向の一方の端面210に第1弾性片の接触部が接触圧力をもって接触し、ブレードの幅方向の一方の端面230に第2弾性片の接触部が接触圧力をもって接触する。
【選択図】 図1

Description

本発明は雌端子の分野に属し、ほぼ板状のブレードを備えたブレード形の雄端子のブレードが挿入、抜去される大電流用雌端子に関する。
特許文献1は、雄端子の端子ピンを嵌入する筒状接触部を備えた雌端子において、上記筒状接触部の端子ピン挿入端側の外周に環状の薄肉部を設け、薄肉部には適宜間隔をおいて筒状接触部の内面に突出する複数の突起を設けたことを特徴とする大電流用雌端子を開示している。
特許文献2は、棒状の雄端子が挿入される挿入孔を有するとともに、挿入孔の開口側に大径の収容部を連続的に形成した雌端子と、多数の弓なり状の板ばね片の一端側のみを連結させて、全体を上記雄端子の外径及び上記雌端子の挿入孔の内径に対応する略円筒状とするとともに、上記板ばね片の連結させた一端側に、板ばね片と直交する方向に突出し、上記雌端子の収容部奥壁に当接する固定リブを形成した接触ばね部材と、上記雄端子が挿通される挿通孔を有し、上記雌端子の収容部に取り付けられ、上記接触ばね部材の固定リブを挟持して、上記接触ばね部材を上記雌端子の挿入孔内に固定するキャップとを備えた大電流充電用端子を開示している。
特開平10−116644号公報 特開平11−67310号公報
特許文献1の大電流用雌端子は、安定な接触抵抗が得られるが、突起が雄端子のピンと点接触するので、突起とピンとの接触面積が小さく、接触抵抗を充分低くすることができない。
特許文献2の大電流充電用端子は、接触ばね部材の板ばね片が雄端子の外径及び雌端子の挿入孔の内径に対応する略円筒状となるよう配置されるので、各板ばね片と雄端子とは点接触となって接触面積が小さくなることから、接触抵抗を充分低くすることができない。
本発明は、このような点に着目してなされたもので、その目的とするところは、ブレード形の雄端子のブレードが挿入、抜去される雌端子を対象とし、ブレードとの接触箇所を複数とし、各接触箇所の接触面積を大きくし、接触圧力を高くすることで雄端子との接触抵抗を確実に低減し、両端子間で大電流を低損失で安定的に流すことができ、また本体部におけるブレードの位置決めを正確に行うことができる大電流用雌端子を提供することにある。
上記目的を達成するため、請求項1は、互いに直交する奥行き方向、幅方向及び高さ方向をとったときに、高さよりも大きな幅をもって奥行き方向の手前に延びるほぼ板状のブレードを備えたブレード形の雄端子のブレードが挿入、抜去される大電流用雌端子である。この大電流用雌端子は、奥行き方向に延びる筒状に設けられ、奥側からブレードを受け入れる受入空間が内部に設けられた本体部と、本体部の奥行き方向の手前に設けられ、導体を接続する接続部とを備え、本体部は、受入空間に対して高さ方向の少なくとも一方側において高さ方向に弾性変形するように設けられ且つ内面に所定幅にわたって接触部が設けられた第1弾性片と、受入空間に対して幅方向の少なくとも一方側において幅方向に弾性変形するように設けられ且つ内面に所定高さにわたって接触部が設けられた第2弾性片とを備え、ブレードが受入空間に挿入されたときに、ブレードの高さ方向の一方の端面に第1弾性片の接触部が接触圧力をもって接触し、ブレードの幅方向の一方の端面に第2弾性片の接触部が接触圧力をもって接触するように構成している。
ブレードが受入空間に挿入されると、ブレードの高さ方向の一方の端面に第1弾性片の接触部が接触圧力をもって接触し、ブレードの高さ方向の他方の端面に本体部における受入空間に面する部分が接触圧力をもって接触する。またブレードの幅方向の一方の端面に第2弾性片の接触部が接触圧力をもって接触し、ブレードの幅方向の他方の端面に本体部における受入空間に面する部分が接触圧力をもって接触する。その場合、大電流用雌端子はブレードに対して第1弾性片の接触部及び第2弾性片の接触部を含む複数箇所で接触する。しかも、これらの接触部は点接触ではなく線接触ないしは面接触によりブレードに接触するので、大きな接触面積が得られる。さらに、弾性片の弾性復原力により接触部では高い接触圧力が得られる。そのため、雌端子と雄端子との接触抵抗が確実に低減され、両端子間で大電流が低損失で安定的に流れることになる。また、第1弾性片と、本体部における受入空間に面する部分とによりブレードが狭持され、第2弾性片と、本体部における受入空間に面する部分とによりブレードが狭持されるので、本体部におけるブレードの位置決めが正確に行われる。
請求項2の大電流用雌端子は、請求項1の大電流用雌端子において、本体部における受入空間に対して高さ方向の他方側には、内面に所定幅にわたって接触部が設けられた横壁が設けられ、ブレードが受入空間に挿入されたときに、ブレードの高さ方向の他方の端面に横壁の接触部が接触圧力をもって接触するように構成している。
このようにすれば、ブレードが受入空間に挿入されると、ブレードの高さ方向の一方の端面に第1弾性片の接触部が接触圧力をもって接触し、ブレードの高さ方向の他方の端面に本体部の横壁の接触部が接触圧力をもって接触する。
請求項3の大電流用雌端子は、請求項1の大電流用雌端子において、本体部における受入空間に対して高さ方向の他方側には、高さ方向に弾性変形するように設けられ且つ内面に所定幅にわたって接触部が設けられた別の第1弾性片が設けられ、ブレードが受入空間に挿入されたときに、ブレードの高さ方向の他方の端面に、この第1弾性片の接触部が接触圧力をもって接触するように構成している。
このようにすれば、ブレードが受入空間に挿入されると、ブレードの高さ方向の両端面に第1弾性片の接触部がそれぞれ接触圧力をもって接触する。
請求項4の大電流用雌端子は、請求項1ないし請求項3のうちいずれか1項の大電流用雌端子において、本体部における受入空間に対して幅方向の他方側には、内面に所定高さにわたって接触部が設けられた縦壁が設けられ、ブレードが受入空間に挿入されたときに、ブレードの幅方向の他方の端面に縦壁の接触部が接触圧力をもって接触するように構成している。
このようにすれば、ブレードが受入空間に挿入されると、ブレードの幅方向の一方の端面に第2弾性片の接触部が接触圧力をもって接触し、ブレードの幅方向の他方の端面に本体部の縦壁の接触部が接触圧力をもって接触する。
請求項5の大電流用雌端子は、請求項1ないし請求項3のうちいずれか1項の大電流用雌端子において、本体部における受入空間に対して幅方向の他方側には、幅方向に弾性変形するように設けられ且つ内面に所定高さにわたって接触部が設けられた別の第2弾性片が設けられ、ブレードが受入空間に挿入されたときに、ブレードの幅方向の他方の端面に、この第2弾性片の接触部が接触圧力をもって接触するように構成している。
このようにすれば、ブレードが受入空間に挿入されると、ブレードの幅方向の両端面に第2弾性片の接触部がそれぞれ接触圧力をもって接触する。
請求項6の大電流用雌端子は、請求項1ないし請求項5のうちいずれか1項の大電流用雌端子において、本体部が奥行き方向の奥側の端にある奥端部と手前側の端にある手前端部とに分割され、奥端部を構成する奥端部構成壁と手前端部を構成する手前端部構成壁とが第1弾性片、第2弾性片又はこれら双方の弾性片によって連結されており、奥端部構成壁と手前端部構成壁とを連結する弾性片は、中途部が受入空間に向かって接近するように屈曲しており、この屈曲部に接触部が設けられている。
このようにすれば、弾性片が両端で本体部に支持されているので、例えば一端のみが本体部に支持された片持ちの弾性片に較べると、弾性片の奥行き方向の長さがほぼ同じであれば、接触部で得られる接触圧力が高くなる。また、奥端部構成壁と、第1弾性片、第2弾性片又はこれら双方の弾性片と、手前端部構成壁とが切れ目無く連続するので、ブレードの挿入、抜去が引っ掛かりなくスムーズに行われる。さらに、第1弾性片、第2弾性片又はこれら双方の弾性片の外側には本体部の構成壁がないので、大電流用雌端子の高さ、幅又は両方を小さくすることができる。
請求項7の大電流用雌端子は、請求項1ないし請求項6のうちいずれか1項の大電流用雌端子において、第1弾性片が、幅方向に複数並べて設けられている。
このようにすれば、ブレードの高さ方向の端面が幅方向に若干傾斜していても、この傾斜に追従して複数の第1弾性片の接触部がそれぞれブレードの端面に良好に接触する。
請求項8のシェル付き大電流用雌端子は、請求項1ないし請求項7のうちいずれか1項の大電流用雌端子と、奥行き方向に延びて大電流用雌端子の本体部に外側から嵌合する筒状のシェルとを備えている。
このシェル付き大電流用雌端子からは、請求項1ないし請求項7で得られた作用と同様の作用が得られる。このシェル付き大電流用雌端子はブレードに対して大きな接触面積で接触すると共に高い接触圧力で接触する。その場合、シェルによって大電流用雌端子の変形が規制されるので、接触片が予定どおりの機能を発揮し、接触部がブレードに対して高い接触圧力でもって接触する。また、弾性片が過大に変形したときにシェルがこれを規制して弾性片の塑性変形、破損が防止される。さらに、シェルによって内部の弾性片が外力から保護される。また、シェルに例えば外側へ立ち上がる突片を設け、ハウジングに、シェル付き大電流用雌端子を収容する収容室と突片をガイドするガイド溝を設ければ、シェル付き大電流用雌端子をハウジングに挿入するときに高さ方向や奥行き方向に向きがあっていない状態でハウジングに挿入してしまう逆差しや本来相手側部材ではないハウジングに挿入してしまう誤挿入などを防止する機能が発揮される。
請求項1の大電流用雌端子は、ブレードとの接触箇所を複数とし、各接触箇所の接触面積を大きくし、接触圧力を高くできるので、雄端子との接触抵抗を確実に低減し、両端子間で大電流を低損失で安定的に流すことができると共に、本体部におけるブレードの位置決めを正確に行うことができる。
請求項2のようにすれば、受入空間に対して高さ方向の一方側にのみ第1弾性片が設けられているので、構造が比較的簡単になる。
請求項3のようにすれば、受入空間に対して高さ方向の両側に第1弾性片が設けられているので、第1弾性片の弾性変形量を比較的小さく抑えることができる。
請求項4のようにすれば、受入空間に対して幅方向の一方側にのみ第2弾性片が設けられているので、構造が比較的簡単になる。
請求項5のようにすれば、受入空間に対して幅方向の両側に第2弾性片が設けられているので、第2弾性片の弾性変形量を比較的小さく抑えることができる。
請求項6のようにすれば、奥端部構成壁と手前端部構成壁とが第1弾性片、第2弾性片又はこれら双方の弾性片によって連結されるので、弾性片を両端で本体部に支持することで接触部で得られる接触圧力が高くなり、ブレードの挿入、抜去を引っ掛かりなくスムーズに行うことができ、大電流用雌端子の高さ、幅又は両方を小さくすることができる。
請求項7のようにすれば、ブレードの高さ方向の端面が幅方向に若干傾斜していても、この傾斜に追従して複数の第1弾性片の接触部がそれぞれブレードの端面に良好に接触するので、接触状態が安定する。
請求項8のシェル付き大電流用雌端子からは、請求項1ないし請求項7で得られた効果と同様の効果が得られる。さらに、シェルによって大電流用雌端子の変形が規制されるので、接触片が予定どおりの機能を発揮し、接触部がブレードに対して高い接触圧力でもって接触する。また、弾性片が過大に変形したときにシェルがこれを規制して弾性片の塑性変形、破損が防止される。さらに、シェルによって内部の弾性片が外力から保護される。また、逆差し防止、誤挿入防止の機能を発揮させることができ、この機能が要望されたときに大電流用雌端子自体は設計変更せず、これに嵌合するシェルを設計又は選択することで要望に応えることができる。
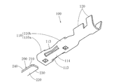
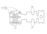
以下、本発明の実施の形態を説明する。図1ないし図12は本発明の第1の実施形態である大電流用雌端子100を示す。互いに直交する奥行き方向、幅方向及び高さ方向を想定し、これらの方向付けを利用して説明する。この実施形態の場合、図3で説明すれば、図の左右方向が奥行き方向であり、図の左方が奥行き方向の奥、右方が奥行き方向の手前である。また、図の紙面に垂直な方向が高さ方向であり、図の上下方向が幅方向である。
図1に示すように、この大電流用雌端子100には、ブレード形の雄端子(本体は図示を省略)のブレード200が挿入、抜去される。このブレード200は高さよりも大きな幅をもって奥行き方向の奥から手前に向かって延びるほぼ板状に形成されている。大電流用雌端子100は導電性の材料で形成されている。大電流用雌端子100は、奥行き方向に延びる筒状に設けられ、奥側からブレード200を受け入れる受入空間111が内部に設けられた本体部110と、本体部110の奥行き方向の手前に設けられ、導体を接続する接続部120とを備えている。この実施形態の場合、導体は電線であり、接続部120は電線の被覆をかしめて圧着接続するインシュレーションバレルと電線の芯線をかしめて圧着接続するワイヤバレルとを備えるが、接続部の他の例としては電線を圧入すると電線の絶縁被覆を破って導体との接続を行う圧接スロットを備えたものがある。また、導体は電線に限定されるものではなく、例えばFFC(フレキシブル・フラット・ケーブル)の導体であってもよく、そのときは接続部として例えばピアシングを行う突起部を備えるものがある。
本体部110には、受入空間111に対して高さ方向の少なくとも一方側に、第1弾性片112が高さ方向に弾性変形するように設けられている。第1弾性片112の内面には所定幅にわたって接触部112aが設けられている。内面とは、本体部110にブレード200を挿入したときにブレード200に接触する側の面である。所定幅は、第1弾性片112の幅と同一の寸法か、それよりも短い寸法で設定される。第1弾性片112は、幅方向に延びる短辺と奥行き方向に延びる長辺とで高さ方向からみてほぼ矩形状に形成され且つ高さ方向に厚みをもつ板状に形成されているが、これによって本発明の第1弾性片の形状が限定されるものではない。接触部112aの奥行き方向の長さは適宜に定められる。また、本体部110には、受入空間111に対して幅方向の少なくとも一方側に、第2弾性片113が幅方向に弾性変形するように設けられている。第2弾性片113の内面には所定高さにわたって接触部113aが設けられている。内面とは、本体部110にブレード200を挿入したときにブレード200に接触する側の面である。所定高さは、第2弾性片113の高さと同一の寸法か、それよりも短い寸法で設定される。第2弾性片113は、高さ方向に延びる短辺と奥行き方向に延びる長辺とで幅方向からみてほぼ矩形状に形成され且つ幅方向に厚みをもつ板状に形成されているが、これによって本発明の第2弾性片の形状が限定されるものではない。接触部113aの奥行き方向の長さは適宜に定められる。そして、ブレード200が受入空間111に挿入されたときに、ブレード200の高さ方向の一方の端面210に第1弾性片112の接触部112aが接触圧力をもって接触し、ブレード200の幅方向の一方の端面230に第2弾性片113の接触部113aが接触圧力をもって接触するように構成している。
本体部110における受入空間111に対して高さ方向の他方側には、別の第1弾性片112が高さ方向に弾性変形するように設けられている。第1弾性片112の内面には所定幅にわたって接触部112aが設けられている。そして、ブレード200が受入空間111に挿入されたときに、ブレード200の高さ方向の他方の端面220に、この第1弾性片112の接触部112aが接触圧力をもって接触するように構成している。内面及び所定幅の意義は先に説明したとおりである。
本体部110における受入空間111に対して幅方向の他方側には、別の第2弾性片113が幅方向に弾性変形するように設けられている。第2弾性片113の内面には所定高さにわたって接触部113aが設けられている。そして、ブレード200が受入空間111に挿入されたときに、ブレード200の幅方向の他方の端面240に、この第2弾性片113の接触部113aが接触圧力をもって接触するように構成している。内面及び所定高さの意義は先に説明したとおりである。
本体部110は奥行き方向の奥側の端にある奥端部110aと手前側の端にある手前端部110bとに分割されている。奥端部110aを構成する奥端部構成壁と手前端部110bを構成する手前端部構成壁とが第1弾性片112、第2弾性片113又はこれら双方の弾性片112、113によって連結されている。奥端部構成壁と手前端部構成壁とを連結する弾性片112、113は、中途部が受入空間111に向かって接近するように屈曲しており、この屈曲部に接触部112a、113aが設けられている。
第1弾性片112は、幅方向に複数並べて設けられている。大電流用雌端子100は、図12に示すように所定形状に形成された1枚の原板を折り曲げて形成される。しかし、本発明の大電流用雌端子は複数の部材で構成してもよく、この実施形態によって構造、製造方法が限定されるものではない。
次に、第1の実施形態の大電流用雌端子100の作用及び効果を説明する。図11に示すように、ブレード200が受入空間111に挿入されると、ブレード200の高さ方向の一方の端面210に第1弾性片112の接触部112aが接触圧力をもって接触し、ブレード200の高さ方向の他方の端面220に本体部110における受入空間111に面する部分が接触圧力をもって接触する。またブレード200の幅方向の一方の端面230に第2弾性片113の接触部113aが接触圧力をもって接触し、ブレード200の幅方向の他方の端面240に本体部110における受入空間111に面する部分が接触圧力をもって接触する。その場合、大電流用雌端子100はブレード200に対して第1弾性片112の接触部112a及び第2弾性片113の接触部113aを含む複数箇所で接触する。しかも、これらの接触部112a、113aは点接触ではなく線接触ないしは面接触によりブレード200に接触するので、大きな接触面積が得られる。さらに、弾性片112、113の弾性復原力により接触部112a、113aでは高い接触圧力が得られる。そのため、大電流用雌端子100と雄端子との接触抵抗が確実に低減され、両端子間で大電流が低損失で安定的に流れることになる。また、第1弾性片112と、本体部110における受入空間111に面する部分とによりブレード200が狭持され、第2弾性片113と、本体部110における受入空間111に面する部分とによりブレード200が狭持されるので、本体部110におけるブレード200の位置決めが正確に行われる。
本発明は、本体部に、受入空間に対して高さ方向の一方の側にのみ、高さ方向に弾性変形するように設けられ且つ内面に所定幅にわたって接触部が設けられた第1弾性片を設けた実施形態を含む。これに対して、第1実施形態の場合、さらに、本体部110における受入空間111に対して高さ方向の他方側には、高さ方向に弾性変形するように設けられ且つ内面に所定幅にわたって接触部112aが設けられた別の第1弾性片112が設けられ、ブレード200が受入空間111に挿入されたときに、ブレード200の高さ方向の他方の端面220に、この第1弾性片112の接触部112aが接触圧力をもって接触するように構成している。このようにすれば、ブレード200が受入空間111に挿入されると、ブレード200の高さ方向の両端面210、220に第1弾性片112の接触部112aがそれぞれ接触圧力をもって接触する。よって第1弾性片112の弾性変形量を比較的小さく抑えることができる。
本発明は、本体部に、受入空間に対して幅方向の一方の側にのみ、幅方向に弾性変形するように設けられ且つ内面に所定高さにわたって接触部が設けられた第2弾性片を設けた実施形態を含む。これに対して、第1実施形態の場合、さらに、本体部110における受入空間111に対して幅方向の他方側には、幅方向に弾性変形するように設けられ且つ内面に所定高さにわたって接触部113aが設けられた別の第2弾性片113が設けられ、ブレード200が受入空間111に挿入されたときに、ブレード200の幅方向の他方の端面240に、この第2弾性片113の接触部113aが接触圧力をもって接触するように構成している。このようにすれば、ブレード200が受入空間111に挿入されると、ブレード200の幅方向の両端面230、240に第2弾性片113の接触部113aがそれぞれ接触圧力をもって接触する。よって第2弾性片113の弾性変形量を比較的小さく抑えることができる。
本発明は、本体部を分割せずに一体的に設け、この本体部の内部に第1弾性片、第2弾性片又はこれら双方の弾性片を設けた実施形態を含む。これに対して、第1実施形態の場合、本体部110が奥行き方向の奥側の端にある奥端部110aと手前側の端にある手前端部110bとに分割され、奥端部110aを構成する奥端部構成壁と手前端部110bを構成する手前端部構成壁とが第1弾性片112、第2弾性片113又はこれら双方の弾性片によって連結されており、奥端部構成壁と手前端部構成壁とを連結する弾性片112、113は、中途部が受入空間111に向かって接近するように屈曲しており、この屈曲部に接触部112a、113aが設けられている。このようにすれば、第1弾性片112、第2弾性片113が両端で本体部110に支持されているので、例えば一端のみが本体部に支持された片持ちの弾性片に較べると、弾性片の奥行き方向の長さがほぼ同じであれば、接触部112a、113aで得られる接触圧力が高くなる。また、奥端部構成壁と、第1弾性片112、第2弾性片113又はこれら双方の弾性片と、手前端部構成壁とが切れ目無く連続するので、ブレード200の挿入、抜去が引っ掛かりなくスムーズに行われる。さらに、第1弾性片112、第2弾性片113又はこれら双方の弾性片の外側には本体部110の構成壁がないので、大電流用雌端子100の高さ、幅又は両方を小さくすることができる。
本発明は、受入空間に対して高さ方向の一方側に単一の第1弾性片を設けた実施形態、受入空間に対して高さ方向の両側にそれぞれ単一の第1弾性片を設けた実施形態を含む。これに対して、第1実施形態の場合、第1弾性片112が、幅方向に複数並べて設けられている。このようにすれば、ブレード200の高さ方向の端面210、220が幅方向に若干傾斜していても、この傾斜に追従して複数の第1弾性片112の接触部112aがそれぞれブレード200の端面210、220に良好に接触し、接触状態が安定する。
次に、本発明の大電流用雌端子の他の実施形態を説明する。第1実施形態と同様の構成については同一符号を付して説明を省略し、異なる構成について説明することにする。図13ないし図17は、第2の実施形態としてシェル付き大電流用雌端子を示す。このシェル付き大電流用雌端子は、第1実施形態の大電流用雌端子100と、奥行き方向に延びて本体部110に外側から嵌合する筒状のシェル300とを備えている。このシェル300には、第1弾性片112の屈曲部及び第2弾性片113の屈曲部に対応する部位からこれらの屈曲部に向かって立ち上がる突起310が設けられており、この突起310が第1弾性片112及び第2弾性片113の過変形を防止している。
このシェル付き大電流用雌端子からは、第1実施形態で得られた作用及び効果と同様の作用及び効果が得られる。このシェル付き大電流用雌端子はブレード200に対して大きな接触面積で接触すると共に高い接触圧力で接触する。その場合、シェル300によって大電流用雌端子100の変形が規制されるので、第1接触片112、第2接触片113が予定どおりの機能を発揮し、接触部112a、113aがブレード200に対して高い接触圧力でもって接触する。また、第1接触片112、第2接触片113が過大に変形したときにシェル300がこれを規制して第1接触片112、第2接触片113の塑性変形、破損が防止される。さらに、シェルによって内部の第1弾性片112、第2弾性片113が外力から保護される。また、図13及び図15に示すように、シェル300に例えば外側へ立ち上がる突片320を設け、ハウジング(図示を省略)に、シェル付き大電流用雌端子を収容する収容室と突片320をガイドするガイド溝を設ければ、シェル付き大電流用雌端子をハウジングに挿入するときに高さ方向や奥行き方向に向きがあっていない状態でハウジングに挿入してしまう逆差しや本来相手側部材ではないハウジングに挿入してしまう誤挿入などを防止する機能が発揮される。その場合、この機能が要望されたときに大電流用雌端子自体は設計変更せず、これに嵌合するシェル300を設計又は選択することで要望に応えることができる。
図18ないし図20は、第3の実施形態である大電流用雌端子100を示す。第1実施形態の大電流用雌端子100の場合、本体部110における受入空間111に対して高さ方向の他方側に、高さ方向に弾性変形するように設けられ且つ内面に所定幅にわたって接触部112aが設けられた別の第1弾性片112を設けた。これに対して、第3実施形態の場合、本体部110における受入空間111に対して高さ方向の他方側には、内面に所定幅にわたって接触部114aが設けられた横壁114が設けられ、ブレード200が受入空間111に挿入されたときに、ブレード200の高さ方向の他方の端面220に横壁114の接触部114aが接触圧力をもって接触するように構成している。内面とは、本体部110にブレード200を挿入したときにブレード200に接触する側の面である。接触部114aは平板状の横壁114の内面の一部の領域で形成してもよいが、接触圧力を上げて接点を確定するためには、接触部114aは受入空間111に向かって突出させて設けることが好ましい。接触部114aの奥行き方向の長さは適宜に定められる。
第3実施形態の大電流用雌端子100の場合、図20に示すように、ブレード200が受入空間111に挿入されると、ブレード200の高さ方向の一方の端面210に第1弾性片112の接触部112aが接触圧力をもって接触し、ブレード200の高さ方向の他方の端面220に本体部110の横壁114の接触部114aが接触圧力をもって接触する。この大電流用雌端子100からは、第1実施形態で得られた作用及び効果と同様の作用及び効果が得られると共に、受入空間111に対して高さ方向の一方側にのみ第1弾性片112が設けられているので、構造が比較的簡単になる。
図21ないし図23は、第4の実施形態である大電流用雌端子100を示す。この第4実施形態の場合、本体部110における受入空間111に対して幅方向の他方側には、内面に所定高さにわたって接触部115aが設けられた縦壁115が設けられ、ブレード200が受入空間111に挿入されたときに、ブレード200の幅方向の他方の端面240に縦壁115の接触部115aが接触圧力をもって接触するように構成している。内面とは、本体部110にブレード200を挿入したときにブレード200に接触する側の面である。接触部115aは平板状の縦壁115の内面の一部の領域で形成してもよいが、接触圧力を上げて接点を確定するためには、接触部115aは受入空間111に向かって突出させて設けることが好ましい。接触部115aの奥行き方向の長さは適宜に定められる。
第4実施形態の大電流用雌端子100の場合、図23に示すように、ブレード200が受入空間111に挿入されると、ブレード200の幅方向の一方の端面230に第2弾性片113の接触部113aが接触圧力をもって接触し、ブレード200の幅方向の他方の端面240に本体部110の縦壁115の接触部115aが接触圧力をもって接触する。この大電流用雌端子100からは、第1実施形態で得られた作用及び効果と同様の作用及び効果が得られると共に、受入空間111に対して幅方向の一方側にのみ第2弾性片113が設けられているので、構造が比較的簡単になる。
以上の実施形態では、本体部110と第1弾性片112及び第2弾性片113とを奥行き方向にずらして設けたが、本体部のなかに第1弾性片、第2弾性片又は双方の弾性片を設けてもよい。上記実施形態では第1弾性片112及び第2弾性片113を、その奥側の端と手前側の端とで本体部110に連結したが、弾性片の一方の端を本体部に連結し、他方の端を自由端にしてもよい。また、例えば弾性片にU字状の折り曲げ部を設けるなど、雌端子の弾性片として公知の構造を採用してもよい。上記実施形態では弾性片112、113の中途部に屈曲部を設け、この屈曲部に接触部112a、113aを設けたが、1つの弾性片に奥行き方向に沿って複数の屈曲部を設け、これらの屈曲部にそれぞれ接触部を設けてもよい。所定幅、所定高さは、第1弾性片、第2弾性片、横壁、縦壁における接触部の長さとしてそれぞれ任意に定められる寸法であり、文言の一致をもって寸法の一致を意味するものではない。
第1実施形態の大電流用雌端子を雄端子のブレードと共に示す斜視図である。 第1実施形態の大電流用雌端子を雄端子のブレードと共に示す斜視図である。図1の場合とは異なる方向からみている。 第1実施形態の大電流用雌端子を高さ方向の一方からみた平面図である。 第1実施形態の大電流用雌端子を高さ方向の他方からみた底面図である。 第1実施形態の大電流用雌端子を幅方向の一方からみた側面図である。 第1実施形態の大電流用雌端子を幅方向の他方からみた側面図である。 第1実施形態の大電流用雌端子を奥行きの奥からみた正面図である。 第1実施形態の大電流用雌端子を高さ方向に向いた面で切断して高さ方向の一方からみた断面図である。 第1実施形態の大電流用雌端子を幅方向に向いた面で切断して幅方向の一方からみた断面図である。 第1実施形態の大電流用雌端子を奥行き方向に向いた面で切断して奥行き方向の手前からみた拡大断面図である。 第1実施形態の大電流用雌端子にブレードを挿入したときに、これらを奥行き方向に向いた面で切断して奥行き方向の手前からみた拡大断面図である。 第1実施形態の大電流用雌端子の原板の縮小平面図である。原板は未だ桟から切り離されていない。 第2実施形態のシェル付き大電流用雌端子の斜視図である。 第2実施形態のシェル付き大電流用雌端子の斜視図である。図13の場合とは異なる方向からみている。 第2実施形態のシェル付き大電流用雌端子を幅方向の一方からみた側面図である。 第2実施形態のシェル付き大電流用雌端子を高さ方向に向いた面で切断して高さ方向の一方からみた断面図である。 第2実施形態のシェル付き大電流用雌端子を幅方向に向いた面で切断して幅方向の一方からみた断面図である。 第3実施形態の大電流用雌端子を雄端子のブレードと共に示す斜視図である。 第3実施形態の大電流用雌端子を奥行き方向に向いた面で切断して奥行き方向の手前からみた拡大断面図である。 第3実施形態の大電流用雌端子にブレードを挿入したときに、これらを奥行き方向に向いた面で切断して奥行き方向の手前からみた拡大断面図である。 第4実施形態の大電流用雌端子を雄端子のブレードと共に示す斜視図である。 第4実施形態の大電流用雌端子を奥行き方向に向いた面で切断して奥行き方向の手前からみた拡大断面図である。 第4実施形態の大電流用雌端子にブレードを挿入したときに、これらを奥行き方向に向いた面で切断して奥行き方向の手前からみた拡大断面図である。
符号の説明
100 大電流用雌端子
110 本体部
110a 奥端部
110b 手前端部
111 受入空間
112 第1弾性片
112a 接触部
113 第2弾性片
113a 接触部
114 横壁
114a 接触部
115 縦壁
115a 接触部
120 接続部
200 ブレード
210 高さ方向の一方の端面
220 高さ方向の他方の端面
230 幅方向の一方の端面
240 幅方向の他方の端面
300 シェル

Claims (8)

  1. 互いに直交する奥行き方向、幅方向及び高さ方向をとったときに、高さよりも大きな幅をもって奥行き方向の手前に延びるほぼ板状のブレードを備えたブレード形の雄端子のブレードが挿入、抜去される大電流用雌端子であって、
    奥行き方向に延びる筒状に設けられ、奥側からブレードを受け入れる受入空間が内部に設けられた本体部と、
    本体部の奥行き方向の手前に設けられ、導体を接続する接続部とを備え、
    本体部は、受入空間に対して高さ方向の少なくとも一方側において高さ方向に弾性変形するように設けられ且つ内面に所定幅にわたって接触部が設けられた第1弾性片と、
    受入空間に対して幅方向の少なくとも一方側において幅方向に弾性変形するように設けられ且つ内面に所定高さにわたって接触部が設けられた第2弾性片とを備え、
    ブレードが受入空間に挿入されたときに、ブレードの高さ方向の一方の端面に第1弾性片の接触部が接触圧力をもって接触し、ブレードの幅方向の一方の端面に第2弾性片の接触部が接触圧力をもって接触するように構成した大電流用雌端子。
  2. 本体部における受入空間に対して高さ方向の他方側には、内面に所定幅にわたって接触部が設けられた横壁が設けられ、ブレードが受入空間に挿入されたときに、ブレードの高さ方向の他方の端面に横壁の接触部が接触圧力をもって接触するように構成した請求項1の大電流用雌端子。
  3. 本体部における受入空間に対して高さ方向の他方側には、高さ方向に弾性変形するように設けられ且つ内面に所定幅にわたって接触部が設けられた別の第1弾性片が設けられ、ブレードが受入空間に挿入されたときに、ブレードの高さ方向の他方の端面に、この第1弾性片の接触部が接触圧力をもって接触するように構成した請求項1の大電流用雌端子。
  4. 本体部における受入空間に対して幅方向の他方側には、内面に所定高さにわたって接触部が設けられた縦壁が設けられ、ブレードが受入空間に挿入されたときに、ブレードの幅方向の他方の端面に縦壁の接触部が接触圧力をもって接触するように構成した請求項1ないし請求項3のうちいずれか1項の大電流用雌端子。
  5. 本体部における受入空間に対して幅方向の他方側には、幅方向に弾性変形するように設けられ且つ内面に所定高さにわたって接触部が設けられた別の第2弾性片が設けられ、ブレードが受入空間に挿入されたときに、ブレードの幅方向の他方の端面に、この第2弾性片の接触部が接触圧力をもって接触するように構成した請求項1ないし請求項3のうちいずれか1項の大電流用雌端子。
  6. 本体部が奥行き方向の奥側の端にある奥端部と手前側の端にある手前端部とに分割され、
    奥端部を構成する奥端部構成壁と手前端部を構成する手前端部構成壁とが第1弾性片、第2弾性片又はこれら双方の弾性片によって連結されており、
    奥端部構成壁と手前端部構成壁とを連結する弾性片は、中途部が受入空間に向かって接近するように屈曲しており、この屈曲部に接触部が設けられている請求項1ないし請求項5のうちいずれか1項の大電流用雌端子。
  7. 第1弾性片が、幅方向に複数並べて設けられている請求項1ないし請求項6のうちいずれか1項の大電流用雌端子。
  8. 請求項1ないし請求項7のうちいずれか1項の大電流用雌端子と、奥行き方向に延びて大電流用雌端子の本体部に外側から嵌合する筒状のシェルとを備えたシェル付き大電流用雌端子。
JP2003400092A 2003-11-28 2003-11-28 大電流用雌端子及びシェル付き大電流用雌端子 Pending JP2005166300A (ja)

Priority Applications (2)

Application Number Priority Date Filing Date Title
JP2003400092A JP2005166300A (ja) 2003-11-28 2003-11-28 大電流用雌端子及びシェル付き大電流用雌端子
US10/996,498 US7048597B2 (en) 2003-11-28 2004-11-23 Female terminal for heavy current and female terminal for heavy current with shell

Applications Claiming Priority (1)

Application Number Priority Date Filing Date Title
JP2003400092A JP2005166300A (ja) 2003-11-28 2003-11-28 大電流用雌端子及びシェル付き大電流用雌端子

Publications (1)

Publication Number Publication Date
JP2005166300A true JP2005166300A (ja) 2005-06-23

Family

ID=34616644

Family Applications (1)

Application Number Title Priority Date Filing Date
JP2003400092A Pending JP2005166300A (ja) 2003-11-28 2003-11-28 大電流用雌端子及びシェル付き大電流用雌端子

Country Status (2)

Country Link
US (1) US7048597B2 (ja)
JP (1) JP2005166300A (ja)

Cited By (9)

* Cited by examiner, † Cited by third party
Publication number Priority date Publication date Assignee Title
EP2485334A1 (en) 2011-02-04 2012-08-08 Sumitomo Wiring Systems, Ltd. Multi-contact terminal fitting
JP2013004453A (ja) * 2011-06-21 2013-01-07 Yazaki Corp 雌端子
JP2013004452A (ja) * 2011-06-21 2013-01-07 Yazaki Corp 雌端子
JP2013045566A (ja) * 2011-08-23 2013-03-04 Tyco Electronics Japan Kk 雌型端子
WO2014174912A1 (ja) * 2013-04-23 2014-10-30 日本航空電子工業株式会社 コネクタ及び照明装置
KR101550924B1 (ko) 2009-05-19 2015-09-07 타이코에이엠피 주식회사 엘피퓨즈의 고정단자
KR20160037682A (ko) * 2014-09-29 2016-04-06 크루셜텍 (주) 카메라용 자동 초점 장치의 와이어-터미널 조립체
WO2021166738A1 (ja) * 2020-02-21 2021-08-26 住友電装株式会社 コネクタモジュール、コネクタ付通信ケーブル、及びコネクタアセンブリ
WO2021166740A1 (ja) * 2020-02-21 2021-08-26 住友電装株式会社 コネクタアセンブリ

Families Citing this family (20)

* Cited by examiner, † Cited by third party
Publication number Priority date Publication date Assignee Title
CH704749B1 (fr) * 2007-09-05 2012-10-15 Preci Dip Sa Clip de contact.
US7559779B1 (en) 2008-05-14 2009-07-14 Cinch Connectors, Inc. Electrical connector
JP5854276B2 (ja) 2012-05-18 2016-02-09 株式会社オートネットワーク技術研究所 雌端子
JP5853908B2 (ja) * 2012-08-29 2016-02-09 日立金属株式会社 コネクタ及びワイヤハーネス
US20140120786A1 (en) 2012-11-01 2014-05-01 Avx Corporation Single element wire to board connector
US8721376B1 (en) * 2012-11-01 2014-05-13 Avx Corporation Single element wire to board connector
US9548553B2 (en) * 2013-03-15 2017-01-17 Lear Corporation Terminal with front end protection
CN104466481B (zh) * 2013-09-12 2018-08-10 大众汽车有限公司 用于插塞连接器的接触配件
US9391386B2 (en) 2014-10-06 2016-07-12 Avx Corporation Caged poke home contact
DE102015201635A1 (de) * 2015-01-30 2016-08-04 Te Connectivity Germany Gmbh Kontaktelement und Bestückungsanordnung mit selbigem
KR102249929B1 (ko) * 2017-03-01 2021-05-11 몰렉스 엘엘씨 전기 단자 및 커넥터 조립체
US10320096B2 (en) 2017-06-01 2019-06-11 Avx Corporation Flexing poke home contact
TWI685159B (zh) * 2017-09-26 2020-02-11 瀚荃股份有限公司 插座連接器及其插座端子
CN108963510A (zh) * 2018-07-05 2018-12-07 欧品电子(昆山)有限公司 高速连接器组件、插座连接器及其插座端子
JP6784959B2 (ja) * 2019-04-17 2020-11-18 住友電装株式会社 コネクタ付通信ケーブル、及びコネクタアセンブリ
JP7165306B2 (ja) * 2019-06-11 2022-11-04 株式会社オートネットワーク技術研究所 端子、及び、端子付き電線
CN112350092B (zh) * 2019-08-08 2023-07-18 上海莫仕连接器有限公司 连接器及端子
EP3783744B1 (en) 2019-08-23 2026-03-25 Yazaki Europe Ltd. Electric connection arrangement
CN111293478B (zh) * 2020-03-20 2021-10-26 河南天海电器有限公司 一种防触指结构
CN114883833A (zh) * 2022-06-21 2022-08-09 奇瑞商用车(安徽)有限公司 接线端子

Family Cites Families (7)

* Cited by examiner, † Cited by third party
Publication number Priority date Publication date Assignee Title
DE9211819U1 (de) * 1992-07-07 1993-11-04 Grote & Hartmann Elektrisches Kontaktelement
JP3115805B2 (ja) 1995-09-14 2000-12-11 矢崎総業株式会社 端子金具及び端子金具の製造方法
JPH09134751A (ja) 1995-11-08 1997-05-20 Yazaki Corp 端子金具における箱状部の接合構造
JP3412738B2 (ja) 1996-10-11 2003-06-03 矢崎総業株式会社 大電流用雌端子の形成方法
JPH10294143A (ja) 1997-04-18 1998-11-04 Yazaki Corp 端子金具
JP3424796B2 (ja) 1997-08-11 2003-07-07 矢崎総業株式会社 大電流充電用端子
DE19841232C2 (de) * 1998-09-09 2001-02-15 Framatome Connectors Int Buchsenkontakt für elektrische Stecker

Cited By (18)

* Cited by examiner, † Cited by third party
Publication number Priority date Publication date Assignee Title
KR101550924B1 (ko) 2009-05-19 2015-09-07 타이코에이엠피 주식회사 엘피퓨즈의 고정단자
US8616925B2 (en) 2011-02-04 2013-12-31 Sumitomo Wiring Systems, Ltd. Multi-contact terminal fitting
EP2485334A1 (en) 2011-02-04 2012-08-08 Sumitomo Wiring Systems, Ltd. Multi-contact terminal fitting
US9142901B2 (en) 2011-06-21 2015-09-22 Yazaki Corporation Female terminal
US9017116B2 (en) 2011-06-21 2015-04-28 Yazaki Corporation Female terminal
JP2013004452A (ja) * 2011-06-21 2013-01-07 Yazaki Corp 雌端子
JP2013004453A (ja) * 2011-06-21 2013-01-07 Yazaki Corp 雌端子
JP2013045566A (ja) * 2011-08-23 2013-03-04 Tyco Electronics Japan Kk 雌型端子
WO2014174912A1 (ja) * 2013-04-23 2014-10-30 日本航空電子工業株式会社 コネクタ及び照明装置
US9761967B2 (en) 2013-04-23 2017-09-12 Japan Aviation Electronics Industry, Limited Connector and illuminating device
KR101687207B1 (ko) * 2014-09-29 2016-12-28 크루셜텍 (주) 카메라용 자동 초점 장치의 와이어-터미널 조립체
KR20160037682A (ko) * 2014-09-29 2016-04-06 크루셜텍 (주) 카메라용 자동 초점 장치의 와이어-터미널 조립체
WO2021166738A1 (ja) * 2020-02-21 2021-08-26 住友電装株式会社 コネクタモジュール、コネクタ付通信ケーブル、及びコネクタアセンブリ
WO2021166740A1 (ja) * 2020-02-21 2021-08-26 住友電装株式会社 コネクタアセンブリ
JP2021136067A (ja) * 2020-02-21 2021-09-13 住友電装株式会社 コネクタモジュール、コネクタ付通信ケーブル、及びコネクタアセンブリ
JP2021136068A (ja) * 2020-02-21 2021-09-13 住友電装株式会社 コネクタアセンブリ
CN115066809A (zh) * 2020-02-21 2022-09-16 住友电装株式会社 连接器组件
CN115104228A (zh) * 2020-02-21 2022-09-23 住友电装株式会社 连接器模块、带连接器的通信电缆以及连接器组件

Also Published As

Publication number Publication date
US20050118891A1 (en) 2005-06-02
US7048597B2 (en) 2006-05-23

Similar Documents

Publication Publication Date Title
JP2005166300A (ja) 大電流用雌端子及びシェル付き大電流用雌端子
JP4299184B2 (ja) 基板接続用板端子
US7717755B2 (en) Electrical connector with improved contacts
KR101700058B1 (ko) 암형 단자
CN103748745B (zh) 母端子以及采用所述母端子的连接器
JP2007165194A (ja) コネクタ
JP2007165195A (ja) コネクタ
JP7039435B2 (ja) コネクタ組立体
US20070155243A1 (en) Electrical connector having flexible mating portion
CN101359788A (zh) 连接器及连接器端子构造
JP2007134301A (ja) 垂直嵌合雌端子及びこれが装着されるハウジング
JP2012216344A (ja) コネクタ
US11394153B2 (en) Connector and terminal
JP2008004342A (ja) 雌端子金具
JP3143222U (ja) 改良されたデュアルビームコンタクトを備えたコネクタ
US6116956A (en) Electrical connector for a power supply
KR100988789B1 (ko) 터미널
JP4314106B2 (ja) メス端子
US6206732B1 (en) Electrical connector
JP2014143023A (ja) メス型端子及びコネクタ
KR101001886B1 (ko) 터미널
EP1804344A2 (en) Electrical connector having flexible mating portion
KR101520927B1 (ko) 터미널
KR20100011331A (ko) 탭터미널 및 이를 포함하는 터미널 어셈블리
CN119401149A (zh) 一种压接式端子、压接式端子组件及电连接器

Legal Events

Date Code Title Description
A621 Written request for application examination

Free format text: JAPANESE INTERMEDIATE CODE: A621

Effective date: 20050826

A977 Report on retrieval

Free format text: JAPANESE INTERMEDIATE CODE: A971007

Effective date: 20070605

A131 Notification of reasons for refusal

Free format text: JAPANESE INTERMEDIATE CODE: A131

Effective date: 20080325

A02 Decision of refusal

Free format text: JAPANESE INTERMEDIATE CODE: A02

Effective date: 20080722