JP2004157698A - タクシーサービスシステム、携帯端末装置及びそれに用いるタクシーサービス方法並びにそのプログラム - Google Patents
タクシーサービスシステム、携帯端末装置及びそれに用いるタクシーサービス方法並びにそのプログラム Download PDFInfo
- Publication number
- JP2004157698A JP2004157698A JP2002321935A JP2002321935A JP2004157698A JP 2004157698 A JP2004157698 A JP 2004157698A JP 2002321935 A JP2002321935 A JP 2002321935A JP 2002321935 A JP2002321935 A JP 2002321935A JP 2004157698 A JP2004157698 A JP 2004157698A
- Authority
- JP
- Japan
- Prior art keywords
- taxi
- information
- mobile terminal
- current position
- portable terminal
- Prior art date
- Legal status (The legal status is an assumption and is not a legal conclusion. Google has not performed a legal analysis and makes no representation as to the accuracy of the status listed.)
- Pending
Links
Images
Classifications
-
- G—PHYSICS
- G08—SIGNALLING
- G08G—TRAFFIC CONTROL SYSTEMS
- G08G1/00—Traffic control systems for road vehicles
- G08G1/20—Monitoring the location of vehicles belonging to a group, e.g. fleet of vehicles, countable or determined number of vehicles
- G08G1/202—Dispatching vehicles on the basis of a location, e.g. taxi dispatching
-
- G—PHYSICS
- G06—COMPUTING OR CALCULATING; COUNTING
- G06Q—INFORMATION AND COMMUNICATION TECHNOLOGY [ICT] SPECIALLY ADAPTED FOR ADMINISTRATIVE, COMMERCIAL, FINANCIAL, MANAGERIAL OR SUPERVISORY PURPOSES; SYSTEMS OR METHODS SPECIALLY ADAPTED FOR ADMINISTRATIVE, COMMERCIAL, FINANCIAL, MANAGERIAL OR SUPERVISORY PURPOSES, NOT OTHERWISE PROVIDED FOR
- G06Q30/00—Commerce
- G06Q30/06—Buying, selling or leasing transactions
- G06Q30/0601—Electronic shopping [e-shopping]
-
- G—PHYSICS
- G07—CHECKING-DEVICES
- G07B—TICKET-ISSUING APPARATUS; FARE-REGISTERING APPARATUS; FRANKING APPARATUS
- G07B13/00—Taximeters
- G07B13/02—Details; Accessories
- G07B13/04—Details; Accessories for indicating fare or state of hire
Landscapes
- Physics & Mathematics (AREA)
- General Physics & Mathematics (AREA)
- Business, Economics & Management (AREA)
- Accounting & Taxation (AREA)
- Finance (AREA)
- Development Economics (AREA)
- Economics (AREA)
- Marketing (AREA)
- Strategic Management (AREA)
- General Business, Economics & Management (AREA)
- Engineering & Computer Science (AREA)
- Theoretical Computer Science (AREA)
- Traffic Control Systems (AREA)
- Management, Administration, Business Operations System, And Electronic Commerce (AREA)
- Position Fixing By Use Of Radio Waves (AREA)
- Devices For Checking Fares Or Tickets At Control Points (AREA)
Abstract
【解決手段】携帯端末1はGPS機能にて現在位置データを入手し、周辺タクシー情報データベースであるタクシー情報サーバ4にアクセスし、周辺に位置するタクシー2のタクシー情報をインタネット300を通して入手する。携帯端末1は現在位置データと周辺に位置するタクシー2の位置データとを基に、地図情報サーバ3から現在位置とタクシー2との間の地図情報及び道路の規制速度情報を取出し、タクシー2までの経路及び距離を算出する。携帯端末1は得られた道路の規制速度、算出した距離によって、タクシーの利用者の現在位置への到着時間を算出する。
【選択図】 図1
Description
【発明の属する技術分野】
本発明はタクシーサービスシステム、携帯端末装置及びそれに用いるタクシーサービス方法並びにそのプログラムに関し、特にタクシーを利用者の指定した場所まで配車するタクシーサービス方法に関する。
【0002】
【従来の技術】
従来、この種のタクシーサービス方法としては、タクシーを利用者の指定した場所(現在位置)まで配車する際に、その場所にタクシーが到着する到着時間を算出する方法がある(例えば、特許文献1参照)。
【0003】
この方法では、タクシーの利用者自らが入力する現在位置データと、GPS(Global Positioning System:全地球測位システム)無線部を持ったタクシーのタクシー位置データとによって、利用者の指定した場所(現在位置)への到着時間を算出している。
【0004】
【特許文献1】
特開2002―157689号公報(第7,8頁、図1)
【0005】
【発明が解決しようとする課題】
しかしながら、上述した従来のタクシーサービス方法では、現在位置情報を入力しなければ、到着時間を算出することができないため、リアルタイムな到着時間を算出することができないという問題がある。
【0006】
また、従来のタクシーサービス方法では、周辺のタクシー情報を表示させ、タクシーの利用者が欲する様々なタクシー情報を提供することができないという問題がある。
【0007】
そこで、本発明の目的は上記の問題点を解消し、利用者が現在位置を入力することなく、タクシーの到着時間を知ることができるタクシーサービスシステム、携帯端末装置及びそれに用いるタクシーサービス方法並びにそのプログラムを提供することにある。
【0008】
また、本発明の他の目的は、タクシーの利用者が欲する様々なタクシー情報を容易に得ることができるタクシーサービスシステム、携帯端末装置及びそれに用いるタクシーサービス方法並びにそのプログラムを提供することにある。
【0009】
【課題を解決するための手段】
本発明によるタクシーサービスシステムは、携帯端末から当該携帯端末の現在位置周辺のタクシーの搭載機器に対して配車依頼を送信するタクシーサービスシステムであって、
前記携帯端末の現在位置情報を取得するGPS(Global Positioning System)機能と、
前記GPS機能で取得された前記携帯端末の現在位置情報と前記タクシーの位置情報とから当該タクシーが前記携帯端末の現在位置に到着する到着時刻を算出する手段とを備えている。
【0010】
本発明による他のタクシーサービスシステムは、上記の構成のほかに、前記タクシーに関するタクシー情報を蓄積するタクシー情報サーバを具備し、
前記携帯端末は、前記タクシー情報サーバから取得した前記タクシー情報を表示している。
【0011】
本発明による携帯端末装置は、自端末から自端末の現在位置周辺のタクシーの搭載機器に対して配車依頼を送信する携帯端末装置であって、
自端末の現在位置情報を取得するGPS(Global Positioning System)機能と、
前記GPS機能で取得された自端末の現在位置情報と前記タクシーの位置情報とから当該タクシーが自端末の現在位置に到着する到着時刻を算出する手段とを備えている。
【0012】
本発明による他の携帯端末装置は、上記の構成のほかに、前記タクシーに関するタクシー情報を蓄積するタクシー情報サーバから取得した前記タクシー情報を表示する手段を具備している。
【0013】
本発明によるタクシーサービス方法は、携帯端末から当該携帯端末の現在位置周辺のタクシーの搭載機器に対して配車依頼を送信するタクシーサービス方法であって、
前記携帯端末の現在位置情報をGPS(Global Positioning System)機能にて取得するステップと、
前記GPS機能で取得された前記携帯端末の現在位置情報と前記タクシーの位置情報とから当該タクシーが前記携帯端末の現在位置に到着する到着時刻を算出するステップとを備えている。
【0014】
本発明による他のタクシーサービス方法は、上記の処理のほかに、前記タクシーに関するタクシー情報を蓄積するタクシー情報サーバから前記タクシー情報を取得するステップを具備し、取得した前記タクシー情報を前記携帯端末に表示している。
【0015】
本発明によるタクシーサービス方法のプログラムは、携帯端末から当該携帯端末の現在位置周辺のタクシーの搭載機器に対して配車依頼を送信するタクシーサービス方法のプログラムであって、コンピュータに、前記携帯端末の現在位置情報をGPS(Global Positioning System)機能にて取得する処理と、前記GPS機能で取得された前記携帯端末の現在位置情報と前記タクシーの位置情報とから当該タクシーが前記携帯端末の現在位置に到着する到着時刻を算出する処理とを実行させている。
【0016】
本発明による他のタクシーサービス方法のプログラムは、上記の処理のほかに、前記コンピュータに、前記タクシーに関するタクシー情報を蓄積するタクシー情報サーバから前記タクシー情報を取得する処理を実行させ、取得した前記タクシー情報を前記携帯端末に表示させている。
【0017】
すなわち、本発明のタクシーサービスシステムは、GPS(Global Positioning System:全地球測位システム)携帯端末を所有する利用者がタクシーを利用したい時に、現在位置周辺の何台かのタクシー到着予定時間を算出し、その結果を携帯端末上に表示させ、利用するタクシーを選択するものである。
【0018】
また、本発明のタクシーサービスシステムでは、タクシーの利用者がより詳細なタクシー情報を得ることが可能なように、到着時間だけでなく、初乗り料金等の料金情報、運転者の年齢、勤続年数、運転者コメント等が得られる運転者情報、会社名情報等を同時に取得するものである。
【0019】
つまり、本発明によるタクシーサービスシステムは、タクシーの利用者の位置情報が得られるGPS携帯端末を利用し、周辺のタクシー到着時間を算出する点と、タクシーの利用者がより詳細な周辺のタクシー情報を得られるように、初乗り料金、運転者情報、会社名等のタクシー情報を付加する点とを考慮したものである。
【0020】
本発明によるタクシーサービスシステムでは、GPS携帯端末によって得られた現在位置データと、周辺タクシー情報サーバの周辺タクシー位置情報と、周辺地図情報とを入手し、タクシーの利用者の現在位置からタクシーの現在位置までの距離及び経過時間を算出し、経過時間及び料金、運転者の性別、年齢、勤続年数、運転者コメント等が得られる運転者情報をGPS携帯端末上で表示させることによって、タクシーの利用者が現在位置を入力することなく、周辺のタクシーの到着時間を知ることが可能となり、より詳細な複数のタクシー情報が得られ、利用者が欲するタクシーが選択可能となる。
【0021】
【発明の実施の形態】
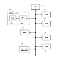
次に、本発明の実施例について図面を参照して説明する。図1は本発明の第1の実施例によるタクシーサービスシステムの構成を示すブロック図である。図1において、本発明の第1の実施例によるタクシーサービスシステムは携帯端末1と、周辺に位置するタクシー2と、地図情報サーバ3と、タクシー情報サーバ4とから構成されている。
【0022】
携帯端末1はGPS(Global Positioning System:全地球測位システム)衛星101の信号を使って利用者Aの現在位置情報を取得する機能を有している。周辺に位置するタクシー2は図示せぬGPS装置及び無線装置を装備し、現在位置の情報を取得し、利用者Aから配車要求があった時に、利用者Aに対してメッセージを送受信する機能を有している。これらGPS装置及び無線装置、利用者Aに対してメッセージを送受信する機能はタクシー2の搭載機器である。
【0023】
地図情報サーバ3は周辺に位置するタクシー2の現在位置から利用者Aの現在位置までの地図情報及び道路の規制速度情報を備えている。タクシー情報サーバ4は現在位置、初乗り料金等の料金情報、運転者の年齢、勤続年数、運転者コメント等が得られる運転者情報及び会社名情報を備えている。
【0024】
図2は図1に示す携帯端末1の構成を示すブロック図である。図2において、携帯端末1はCPU(Central Processing Unit)11と、ROM(Read Only Memory)12と、RAM(Random Access Memory)13と、キー操作部14と、液晶画面表示部15と、位置情報データ部16と、無線部17とから構成されている。
【0025】
CPU11は携帯端末1全体の演算処理及び周辺タクシー到着時間を算出する機能を有し、ROM12はCPU11の制御プログラムを格納する機能を有し、RAM13はCPU11の作業領域となる機能を有している。
【0026】
キー操作部14は利用タクシー選択の際に使用し、液晶画面表示部15は周辺に位置するタクシー2の到着時間、料金、運転者情報、会社名等のタクシー情報等を表示する機能を有している。
【0027】
位置情報データ部16はGPS信号受信アンテナを含むGPS無線部16aと、その信号を位置情報データに変換するGPSデコーダ部16bとからなり、GPS信号を用いて現在の位置情報を取得する機能を有している。無線部17は地図情報サーバ3及びタクシー情報サーバ4にアクセスし、情報のダウンロード及びメッセージの送受信する機能を有している。
【0028】
図3は図2に示す携帯端末1とインタネット網との関係を示す図である。図3において、地図情報サーバ3は周辺に位置するタクシー2の現在位置からタクシーの利用者Aの現在位置までの地図情報及び道路の規制速度情報を備えている。タクシー情報サーバ4は周辺に位置するタクシー2の現在位置、初乗り料金等の料金情報、運転者の年齢、勤続年数、運転者コメント等が得られる運転者情報及び会社名情報等を備えている。
【0029】
GPS端末31(携帯端末1)はこれら地図情報サーバ3及びタクシー情報サーバ4のデータを、基地局32、パケット網200、パケット網ゲートウェイ33、インタネット300を通して取出すことができる。
【0030】
図4は図1に示すタクシー情報サーバ4のデータベースの構成例を示す図である。図4において、タクシー情報サーバ4は周辺に位置するタクシー2の現在位置、初乗り料金等の料金情報、運転者の年齢、勤続年数、運転者コメント等が得られる運転者情報、会社名情報等をデータベース化したものであり、周辺に位置するタクシー2から上記の情報を入手し、タクシー情報サーバ4の内容をリアルタイムに更新する。地図情報サーバ3は周辺タクシーに位置するタクシー2の現在位置からタクシーの利用者Aまでの地図情報及び道路の規制速度情報が得られる地図データである。
【0031】
まず、携帯端末1は位置情報データ部16から現在位置データを入手し、タクシー情報サーバ4及び地図情報サーバ3にアクセスし、タクシー位置データ及びタクシー利用者位置とタクシー周辺位置との地図データ、規制速度データを無線部17によって、インタネット300上で入手する。
【0032】
最後に、携帯端末1では入手した現在位置データ、タクシー位置データ、地図データ、規制速度データによって、CPU11がROM12の制御プログラムを実行することで、タクシーの利用者Aの現在位置からタクシーの現在位置までの距離及び経過時間を算出し、タクシ−情報及び経過時間を携帯端末11上の液晶画面表示部15で表示させる。
【0033】
図5は図2の液晶画面表示部15への表示例を示す図であり、図6は本発明の第1の実施例によるタクシーサービス方法の動作を示すフローチャートである。これら図1〜図6を参照して本発明の第1の実施例によるタクシーサービス方法について説明する。尚、図6に示す処理はCPU11がROM12の制御プログラム(コンピュータ等で実行可能なプログラム)を実行することで実現される。
【0034】
まず、携帯端末1のCPU11は、GPS受信部16aからGPS信号を受信し、GPSデコーダ部16bで現在位置データを入手する(図6ステップS1)。CPU11は無線部17を通して周辺タクシー情報データベースであるタクシー情報サーバ4にアクセスし、周辺に位置するタクシー2の現在位置、初乗り料金等の料金情報、運転者の年齢、勤続年数、運転者のコメント等が得られる運転者情報及び会社名情報をインタネット300を通して入手する(図6ステップS2)。
【0035】
CPU11は上記の処理(ステップS1,S2)で得られたタクシーの利用者Aの現在位置のデータと、周辺に位置するタクシー2の位置データとを基に、地図情報サーバ3からタクシーの利用者Aの現在位置と周辺に位置するタクシー2との間の地図情報及び道路の規制速度情報を取出す。CPU11は取出したこれらの地図情報によって、タクシーの利用者Aから周辺に位置するタクシー2までの経路及び距離を算出する(図6ステップS3)。
【0036】
CPU11は上記の処理(ステップS3)で得られた道路の規制速度、算出した距離によって、タクシーの利用者Aの現在位置への到着時間を算出する(図6ステップS4)。その後、CPU11は上記の処理(ステップS2)で得られた初乗り料金等の料金情報、運転者の性別、年齢、勤続年数、運転者コメント等が得られる運転者情報及び会社名情報と、上記の処理(ステップS4)で得られた到着時間とを液晶画面表示部15に表示させる(図6ステップS5)(図5参照)。
【0037】
CPU11はキー操作部14からの入力に応じてタクシー2を選択し(図6ステップS6)、その選択したタクシー2にインタネット300を介してタクシーの利用者Aの現在位置データ、配車依頼要求データを送信する(図6ステップS7)。最後に、CPU11は選択したタクシーがインタネット300を介して送信した要求承認データを、無線部17によって受信する(図6ステップS8)。
【0038】
このように、本実施例では、タクシーの利用者Aが現在位置を入力することなく、配車されるタクシー2の到着時間を知ることができる。本来、タクシーの利用者Aは、周辺に位置するタクシー2の到着時間を知りたい時、タクシーの利用者Aの現在位置と周辺に位置するタクシー2の現在位置との間の距離を算出しなければならないため、タクシーの利用者Aの現在位置情報が必要となる。
【0039】
本実施例では、タクシーの利用者A自身が現在位置情報を携帯端末1のキー操作部14から入力するのではなく、GPSを利用して現在位置を取得し、タクシーの利用者Aの現在位置と周辺に位置するタクシー2の現在位置とからタクシー2の到着時間を算出するため、タクシーの利用者Aが現在位置を入力することなく、タクシー2の到着時間を知ることができる。
【0040】
また、本実施例では、タクシーの利用者Aが到着時間だけでなく、初乗り料金等の料金情報、運転者の年齢、勤続年数、運転者コメント等が得られる運転者情報及び会社名情報等のより詳細なタクシー情報を同時に取得することができる。
【0041】
さらに、本実施例では、タクシーを利用したい利用者Aが複数のタクシーの到着時間、料金情報、運転者の年齢、勤続年数、運転者コメント等の情報を得ることによって、希望するタクシーを選択することができる。
【0042】
図7は本発明の第2の実施例によるタクシーサービスシステムの構成を示すブロック図である。図7において、本発明の第2の実施例によるタクシーサービスシステムは到着時間算出サーバ5を設けた以外は図1に示す本発明の第1の実施例によるタクシーサービスシステムと同様の構成となっており、同一構成要素に同一符号を付している。
【0043】
本発明の第2の実施例によるタクシーサービスシステムでは、周辺に位置するタクシー2の到着時間を携帯端末1内で行うのではなく、携帯端末1の外部に配設した到着時間算出サーバ5で算出している。つまり、到着時間算出サーバ5はタクシーの利用者Aの現在位置データを携帯端末1から取得し、その現在位置データを基に周辺に位置するタクシー2の到着時間を算出する。
【0044】
図8は本発明の第2の実施例によるタクシーサービス方法を示すフローチャートである。これら図7及び図8を参照して本発明の第2の実施例によるタクシーサービス方法について説明する。尚、図7に示す携帯端末1の構成は図2に示す構成と同様なので、携帯端末1の動作については図2を用いて説明する。
【0045】
まず、携帯端末1のCPU11はGPS受信部16aでGPS信号を受信し、GPSデコーダ部16bで現在の位置データを入手し(図8ステップS11)、得られたタクシーの利用者Aの現在位置情報を無線部17を使用して到着時間算出サーバ5に送信する。
【0046】
到着時間算出サーバ5は周辺タクシー情報サーバ4にアクセスし、周辺に位置するタクシー2の現在位置、初乗り料金等の料金情報を入手し、タクシーの利用者Aの現在位置情報と周辺に位置するタクシー2の現在位置データとを基に、地図情報サーバ3からタクシーの利用者Aの現在位置と周辺に位置するタクシー2の現在位置との間の地図情報及び道路の規制速度情報を入手し、経路、距離、到着時間を算出する(図8ステップS13)。
【0047】
到着時間算出サーバ5は得られたタクシーの到着時間情報、料金情報、運転者情報、会社名情報を携帯端末1に送信するので、携帯端末1はそれらの情報を取得する(図8ステップS14)。
【0048】
その後、CPU11は上記の処理(ステップS14)で得られた初乗り料金等の料金情報、運転者の年齢、勤続年数、運転者コメント等が得られる運転者情報、会社名情報、到着時間を液晶画面表示部15に表示させる(図8ステップS15)(図5参照)。
【0049】
CPU11はキー操作部14からの入力に応じてタクシー2を選択し(図8ステップS16)、選択したタクシー2にタクシーの利用者Aの現在位置データ、配車依頼要求データを無線部17からインタネット300を介して送信する(図8ステップS17)。
【0050】
最後に、CPU11は選択したタクシー2がインタネット300を介して送信した要求承認データを、無線部17によって受信する(図8ステップS18)。これによって、本実施例では、タクシー2の到着時間を携帯端末1上で計算することがないため、携帯端末1上のデータ処理負担が少なくなる。
【0051】
図9は本発明の第3の実施例による携帯端末とインタネット網との関係を示す図である。図9において、インタネット300には周辺に位置するタクシー2の現在位置からタクシーの利用者Aの現在位置までの地図情報及び道路の規制速度情報が得られる地図情報サーバ3と、周辺に位置するタクシー2の現在位置、初乗り料金等の料金情報、運転者の年齢、勤続年数、運転者コメント等が得られる運転者情報及び会社名情報等が得られるタクシー情報サーバ4とが接続されている。
【0052】
GPS端末31(図1及び図2に示す携帯端末1)はこれら地図情報サーバ3及びタクシー情報サーバ4のデータを、基地局32、携帯電話網400、ISP(Internet Service Provider)アクセスポイント41、インタネット300を通して取出す。
【0053】
この場合、本発明の第3の実施例によるタクシーサービス方法における動作の流れは図6に示す流れと同様であるので、その説明については省略する。これによって、本実施例では、GPS端末31においてリアルタイムな地図情報、タクシー運転者情報を得ることができる。
【0054】
図10は本発明の第4の実施例による携帯端末の構成を示すブロック図である。図10において、本発明の第4の実施例による携帯端末は、運転者記憶領域18を付加した以外は図1に示す本発明の第1の実施例による携帯端末1と同様の構成となっており、同一構成要素には同一符号を付してある。また、同一構成要素の動作は本発明の第1の実施例による携帯端末1と同様である。
【0055】
運転者記憶領域18には以前乗ったタクシー情報が保存されており、CPU11は運転者記憶領域18に保存された以前利用したタクシー運転者情報を基に、タクシー情報サーバ4から以前利用したタクシーの現在地情報を、無線部17を介して取出す。
【0056】
その後に、CPU11は位置情報データ部16からの現在位置情報と、地図情報サーバ3からの道路規制速度情報及び地図情報とによってタクシー2の到着時間を計算し、液晶画面表示部15に表示させる。
【0057】
この場合、本発明の第4の実施例によるタクシーサービス方法における動作の流れは図6に示す流れと同様であるので、その説明については省略する。これによって、本実施例では、タクシーの利用者Aが以前利用した時のサービス等が充実していたタクシー運転者の現在位置を確認することができ、そのタクシーを選択することができる。
【0058】
図11に本発明の第5の実施例によるタクシーサービス方法を示すフローチャートである。本発明の第5の実施例によるタクシーサービスシステムは図1に示す本発明の第1の実施例によるタクシーサービスシステムと同様であり、本実施例による携帯端末は図2に示す本発明の第1の実施例による携帯端末と同様であるので、その構成及び動作についての説明は省略する。
【0059】
つまり、本発明の第5の実施例によるタクシーサービスシステムはタクシーの利用者Aの現在位置情報をリアルタイムに選択したタクシーに送信するようにした以外は、本発明の第1の実施例によるタクシーサービスシステムと同様の動作となっている。
【0060】
以下、図1と図2と図11とを参照して本発明の第5の実施例によるタクシーサービスシステムの動作について説明する。尚、図11に示すステップS21〜S28の動作は図6に示すステップS1〜S8と同様の動作なので、その説明については省略する。
【0061】
CPU11は周辺に位置するタクシー2からの要求承認データを受信した後、位置情報データ部16から得られる現在位置情報を、選択されたタクシー2がインタネット300を介してリアルタイムに取得できるように、無線部17によって送信する(図11ステップS29)。これによって、本実施例では、タクシーの配車依頼後、タクシーの利用者Aが現在位置で待機するのではなく、他の場所に移動して待機することできるようになる。
【0062】
図12は本発明の第6の実施例によるタクシーサービス方法を示すフローチャートである。本発明の第6の実施例によるタクシーサービスシステムは図1に示す本発明の第1の実施例によるタクシーサービスシステムと同様であり、本実施例による携帯端末は図2に示す本発明の第1の実施例による携帯端末と同様であるので、その構成及び動作についての説明は省略する。
【0063】
つまり、本発明の第6の実施例によるタクシーサービスシステムはタクシー2の現在位置情報をリアルタイムに携帯端末1で受信するようにした以外は、本発明の第1の実施例によるタクシーサービスシステムと同様の動作となっている。
【0064】
以下、図1と図2と図12とを参照して本発明の第6の実施例によるタクシーサービスシステムの動作について説明する。尚、図12に示すステップS31〜S38の動作は図6に示すステップS1〜S8と同様の動作なので、その説明については省略する。
【0065】
CPU11は周辺に位置するタクシー2からの要求承認データを受信した後、選択したタクシー2の現在位置データをタクシー情報サーバ4から無線部17によって受信し、選択したタクシー2の現在位置をリアルタイムに取得する(図12ステップS39)。これによって、本実施例では、タクシーの利用者Aが選択したタクシー2の現在位置をリアルタイムに取得することができ、選択したタクシー2の現在位置をいつでも調べることができる。
【0066】
図13は本発明の第7の実施例によるタクシー情報サーバのデータベースの構成を示す図である。本発明の第7の実施例によるタクシーサービスシステムは図1に示す本発明の第1の実施例によるタクシーサービスシステムと同様であり、本実施例による携帯端末は図2に示す本発明の第1の実施例による携帯端末と同様であるので、その構成及び動作についての説明は省略する。
【0067】
つまり、本発明の第7の実施例によるタクシーサービスシステムはタクシー情報サーバ4に、以前そのタクシーに乗車した利用者Aのコメントを付加するようにした以外は、本発明の第1の実施例によるタクシーサービスシステムと同様の動作となっている。
【0068】
図13において、本発明の第7の実施例によるタクシー情報サーバは周辺に位置するタクシー2毎に、タクシーの現在位置、初乗り料金、運転者コメント、会社名だけでなく、以前に乗車したことのある利用者Aのコメントが付加されている。
【0069】
また、このタクシー情報サーバにある以前乗車したことのある利用者Aのコメントは、インタネット300上で自由に書込めるようになっている。コメントを書込む動作の流れとしては、携帯端末1内のキー操作部14から入力されたコメントを無線部17によって送信し、インタネット300を介してタクシー情報サーバ4の利用者Aのコメントを更新する流れとなる。
【0070】
これによって、本実施例では、タクシーの利用者Aがより詳細なタクシー運転者情報を知ることができ、以前の利用者Aのコメントに態度が悪い等の情報があると、そのタクシー運転手を選択しない等の事前判断を行うことができる。
【0071】
図14は本発明の第8の実施例による携帯端末の構成を示すブロック図である。図14において、本発明の第8の実施例による携帯端末は、以前利用した等の目的地情報記憶領域19を付加した以外は図1に示す本発明の第1の実施例による携帯端末1と同様の構成となっており、同一構成要素には同一符号を付してある。また、同一構成要素の動作は本発明の第1の実施例による携帯端末1と同様である。
【0072】
以前利用した等の目的地情報記憶領域19にはキー操作部14から入力された以前利用した等の目的地情報が保存されており、CPU11は選択したタクシー2に、以前利用した等の目的地情報記憶領域19に保存された以前利用した等の目的地情報を無線部17によって送信する。
【0073】
図15は本発明の第8の実施例によるタクシーサービス方法を示すフローチャートである。本発明の第8の実施例によるタクシーサービスシステムは図1に示す本発明の第1の実施例によるタクシーサービスシステムと同様であるので、その構成及び動作についての説明は省略する。
【0074】
つまり、本発明の第8の実施例によるタクシーサービスシステムはタクシーの利用者Aが目的地を、選択したタクシー2に送信するようにした以外は、本発明の第1の実施例によるタクシーサービスシステムと同様の動作となっている。
【0075】
以下、図1と図14と図15とを参照して本発明の第8の実施例によるタクシーサービスシステムの動作について説明する。尚、図15に示すステップS41〜S46の動作は図6に示すステップS1〜S6と同様の動作なので、その説明については省略する。
【0076】
CPU11はタクシー2を選択した後、選択したタクシー2に、タクシーの利用者Aの現在位置データ、配車依頼要求データだけでなく、キー操作部14によって入力された目的地データ、あるいは以前利用した等の目的地情報記憶領域19に保存された以前利用した等の目的地情報を無線部17によってインタネット300を介して送信する(図15ステップS47)。
【0077】
最後に、CPU11は選択したタクシー2がインタネット300を介して送信した要求承認データを、無線部17によって受信する(図15ステップS48)。これによって、本実施例では、タクシーの利用者Aがタクシー運転手に目的地やそのルートを言わなくても、目的地に到着することができるので、タクシーの利用者Aが乗車中に寝てしまう等の状態となっても、問題なく目的地に到着することができる。
【0078】
図16は本発明の第9の実施例による携帯端末の構成を示すブロック図である。図16において、本発明の第9の実施例による携帯端末は、タクシー走行経路記憶領域20を付加した以外は図1に示す本発明の第1の実施例による携帯端末1と同様の構成となっており、同一構成要素には同一符号を付してある。また、同一構成要素の動作は本発明の第1の実施例による携帯端末1と同様である。
【0079】
つまり、本発明の第9の実施例によるタクシーサービスシステムは利用したタクシーの経路情報を携帯端末1上に保存する機能を付加するようにした以外は、本発明の第1の実施例によるタクシーサービスシステムと同様の動作となっている。
【0080】
タクシー走行経路記憶領域20には、タクシー利用中に位置情報データ部16から得られた位置データが保存されており、CPU11はタクシー走行経路記憶領域20に保存された位置データを取出して液晶画面表示部15に表示することできる。尚、本実施例の動作の流れは図6に示す本発明の第1の実施例によるタクシーサービスシステムと同様の動作であるので、その説明については省略する。これによって、本実施例では、タクシー運転者が最短なルートを経由しているかどうかを確認することができ、不正を行ったタクシー業者に乗車料金の払戻しを請求すること等ができる。
【0081】
尚、請求項の記載に関連して本発明はさらに次の態様をとりうる。
【0082】
(1)自端末から自端末の現在位置周辺のタクシーの搭載機器に対して配車依頼を送信する携帯端末装置であって、
自端末の現在位置情報を取得するGPS(Global Positioning System)機能と、
前記GPS機能で取得された自端末の現在位置情報と前記タクシーの位置情報とから当該タクシーが自端末の現在位置に到着する到着時刻を算出する手段とを有し、
前記タクシーの配車依頼後に自端末の位置データと当該タクシーの位置データとのうちの少なくとも一方をリアルタイムに送信することを特徴とする携帯端末装置。
【0083】
(2)前記タクシーの配車依頼の要求時に目的地データを当該配車依頼を要求するタクシーに送信する手段を含むことを特徴とする(1)記載の携帯端末装置。
【0084】
(3)利用したタクシーの走行経路データを保存する走行経路データ保存手段を含むことを特徴とする(1)または(2)記載の携帯端末装置。
【0085】
(4)自端末から自端末の現在位置周辺のタクシーの搭載機器に対して配車依頼を送信する携帯端末装置であって、
自端末の現在位置情報を取得するGPS(Global Positioning System)機能と、
前記GPS機能で取得された自端末の現在位置情報と前記タクシーの位置情報とから当該タクシーが自端末の現在位置に到着する到着時刻を算出する手段とを有し、
前記タクシーに関するタクシー情報を蓄積するタクシー情報サーバから取得した前記タクシー情報を表示する手段を含み、
前記タクシー情報は、前記タクシーの現在位置情報と、前記タクシーの料金情報と、前記タクシーの運転者の年齢及び勤続年数と、前記運転者のコメントと、前記タクシーに以前乗車した利用者のコメントとのうちの少なくとも一つを含むことを特徴とする携帯端末装置。
【0086】
(5)前記タクシー情報を複数表示し、その表示されたタクシー情報の中から前記配車依頼を送信するタクシーを選択自在としたことを特徴とする(4)記載の携帯端末装置。
【0087】
(6)前記タクシー情報の前記タクシー情報サーバからのダウンロードをパケット網とパケット網ゲートウェイとを用いてインタネット経由で行うことを特徴とする(4)または(5)記載の携帯端末装置。
【0088】
(7)前記タクシー情報の前記タクシー情報サーバからのダウンロードを携帯電話網とISP(Internet Service Provider)アクセスポイントとを用いてインタネット経由で行うことを特徴とする(4)または(5)記載の携帯端末装置。
【0089】
(8)利用したタクシーの前記タクシー情報を保存する保存手段を含み、前記保存手段に保存された前記タクシー情報を基に当該タクシー情報に対応するタクシーの現在位置情報を前記タクシー情報サーバから取得して当該タクシーの到着時刻を算出して表示することを特徴とする(4)から(7)のいずれか記載の携帯端末装置。
【0090】
(9)前記携帯端末からの前記利用者のコメントをインタネットを介して前記タクシー情報サーバに送信することを特徴とする(4)記載の携帯端末装置。
【0091】
(10)携帯端末から当該携帯端末の現在位置周辺のタクシーの搭載機器に対して配車依頼を送信するタクシーサービス方法であって、
前記携帯端末の現在位置情報をGPS(Global Positioning System)機能にて取得するステップと、
前記GPS機能で取得された前記携帯端末の現在位置情報と前記タクシーの位置情報とから当該タクシーが前記携帯端末の現在位置に到着する到着時刻を算出するステップとを前記携帯端末に有することを特徴とするタクシーサービス方法。
【0092】
(11)前記タクシーの配車依頼後に前記携帯端末の位置データと当該タクシーの位置データとのうちの少なくとも一方をリアルタイムに送信することを特徴とする(10)記載のタクシーサービス方法。
【0093】
(12)前記タクシーの配車依頼の要求時に目的地データを当該配車依頼を要求するタクシーに送信するステップを前記携帯端末に含むことを特徴とする(10)または(11)記載のタクシーサービス方法。
【0094】
(13)利用したタクシーの走行経路データを前記携帯端末の走行経路データ保存手段に保存することを特徴とする(10)から(12)のいずれか記載のタクシーサービス方法。
【0095】
(14)携帯端末から当該携帯端末の現在位置周辺のタクシーの搭載機器に対して配車依頼を送信するタクシーサービス方法であって、
前記携帯端末の現在位置情報をGPS(Global Positioning System)機能にて取得するステップと、
前記GPS機能で取得された前記携帯端末の現在位置情報と前記タクシーの位置情報とから当該タクシーが前記携帯端末の現在位置に到着する到着時刻を算出するステップと、
前記タクシーに関するタクシー情報を蓄積するタクシー情報サーバから前記タクシー情報を取得するステップとを前記携帯端末に有し、
取得した前記タクシー情報を前記携帯端末に表示することを特徴とするタクシーサービス方法。
【0096】
(15)前記タクシー情報は、前記タクシーの現在位置情報と、前記タクシーの料金情報と、前記タクシーの運転者の年齢及び勤続年数と、前記運転者のコメントと、前記タクシーに以前乗車した利用者のコメントとのうちの少なくとも一つを含むことを特徴とする(14)記載のタクシーサービス方法。
【0097】
(16)前記携帯端末は、前記タクシー情報を複数表示し、その表示されたタクシー情報の中から前記配車依頼を送信するタクシーを選択自在としたことを特徴とする(14)または(15)記載のタクシーサービス方法。
【0098】
(17)前記携帯端末は、前記タクシー情報の前記タクシー情報サーバからのダウンロードをパケット網とパケット網ゲートウェイとを用いてインタネット経由で行うことを特徴とする(14)から(16)のいずれか記載のタクシーサービス方法。
【0099】
(18)前記携帯端末は、前記タクシー情報の前記タクシー情報サーバからのダウンロードを携帯電話網とISP(Internet Service Provider)アクセスポイントとを用いてインタネット経由で行うことを特徴とする(14)から(16)のいずれか記載のタクシーサービス方法。
【0100】
(19)利用したタクシーの前記タクシー情報を前記携帯端末の保存手段に保存し、前記保存手段に保存された前記タクシー情報を基に当該タクシー情報に対応するタクシーの現在位置情報を前記タクシー情報サーバから取得して当該タクシーの到着時刻を算出して前記携帯端末に表示することを特徴とする(14)から(18)のいずれか記載のタクシーサービス方法。
【0101】
(20)前記携帯端末からの前記利用者のコメントをインタネットを介して前記タクシー情報サーバに送信することを特徴とする(15)記載のタクシーサービス方法。
【0102】
【発明の効果】
以上説明したように本発明のタクシーサービスシステムは、携帯端末から当該携帯端末の現在位置周辺のタクシーの搭載機器に対して配車依頼を送信するタクシーサービスシステムにおいて、携帯端末の現在位置情報をGPS機能にて取得し、GPS機能で取得された携帯端末の現在位置情報とタクシーの位置情報とから当該タクシーが携帯端末の現在位置に到着する到着時刻を算出することによって、利用者が現在位置を入力することなく、タクシーの到着時間を知ることができるという効果が得られる。
【0103】
また、本発明の他のタクシーサービスシステムは、タクシーに関するタクシー情報を蓄積するタクシー情報サーバを設け、そのタクシー情報サーバから取得したタクシー情報を携帯端末に表示することによって、タクシーの利用者が欲する様々なタクシー情報を容易に得ることができるという効果が得られる。
【図面の簡単な説明】
【図1】本発明の第1の実施例によるタクシーサービスシステムの構成を示すブロック図である。
【図2】図1に示す携帯端末の構成を示すブロック図である。
【図3】図2に示す携帯端末とインタネット網との関係を示す図である。
【図4】図1に示すタクシー情報サーバのデータベースの構成例を示す図である。
【図5】図2の液晶画面表示部への表示例を示す図である。
【図6】本発明の第1の実施例によるタクシーサービス方法の動作を示すフローチャートである。
【図7】本発明の第2の実施例によるタクシーサービスシステムの構成を示すブロック図である。
【図8】本発明の第2の実施例によるタクシーサービス方法を示すフローチャートである。
【図9】本発明の第3の実施例による携帯端末とインタネット網との関係を示す図である。
【図10】本発明の第4の実施例による携帯端末の構成を示すブロック図である。
【図11】本発明の第5の実施例によるタクシーサービス方法を示すフローチャートである。
【図12】本発明の第6の実施例によるタクシーサービス方法を示すフローチャートである。
【図13】本発明の第7の実施例によるタクシー情報サーバのデータベースの構成を示す図である。
【図14】本発明の第8の実施例による携帯端末の構成を示すブロック図である。
【図15】本発明の第8の実施例によるタクシーサービス方法を示すフローチャートである。
【図16】本発明の第9の実施例による携帯端末の構成を示すブロック図である。
【符号の説明】
1 携帯端末
2 周辺に位置するタクシー
3 地図情報サーバ
4 タクシー情報サーバ
5 到着時間算出サーバ
11 CPU
12 ROM
13 RAM
14 キー操作部
15 液晶画面表示部
16 位置情報データ部
16a GPS無線部
16b GPSデコーダ部
17 無線部
18 運転者記憶領域
19 以前利用した等の目的地情報記憶領域
20 タクシー走行経路記憶領域
31 GPS端末
32 基地局
33 パケット網ゲートウェイ
41 ISPアクセスポイント
200 パケット網
300 インタネット
400 携帯電話網
Claims (19)
- 携帯端末から当該携帯端末の現在位置周辺のタクシーの搭載機器に対して配車依頼を送信するタクシーサービスシステムであって、
前記携帯端末の現在位置情報を取得するGPS(Global Positioning System)機能と、
前記GPS機能で取得された前記携帯端末の現在位置情報と前記タクシーの位置情報とから当該タクシーが前記携帯端末の現在位置に到着する到着時刻を算出する手段とを有することを特徴とするタクシーサービスシステム。 - 前記到着時刻を算出する手段を前記携帯端末の内部に配設したことを特徴とする請求項1記載のタクシーサービスシステム。
- 前記到着時刻を算出する手段を前記携帯端末の外部に配設したことを特徴とする請求項1記載のタクシーサービスシステム。
- 前記タクシーに関するタクシー情報を蓄積するタクシー情報サーバを含み、
前記携帯端末は、前記タクシー情報サーバから取得した前記タクシー情報を表示することを特徴とする請求項1から請求項3のいずれか記載のタクシーサービスシステム。 - 前記タクシー情報は、前記タクシーの現在位置情報と、前記タクシーの料金情報と、前記タクシーの運転者の年齢及び勤続年数と、前記運転者のコメントと、前記タクシーに以前乗車した利用者のコメントとのうちの少なくとも一つを含むことを特徴とする請求項4記載のタクシーサービスシステム。
- 前記携帯端末は、前記タクシー情報を複数表示し、その表示されたタクシー情報の中から前記配車依頼を送信するタクシーを選択自在としたことを特徴とする請求項4または請求項5記載のタクシーサービスシステム。
- 前記携帯端末は、前記タクシー情報の前記タクシー情報サーバからのダウンロードをパケット網とパケット網ゲートウェイとを用いてインタネット経由で行うことを特徴とする請求項4から請求項6のいずれか記載のタクシーサービスシステム。
- 前記携帯端末は、前記タクシー情報の前記タクシー情報サーバからのダウンロードを携帯電話網とISP(Internet Service Provider)アクセスポイントとを用いてインタネット経由で行うことを特徴とする請求項4から請求項6のいずれか記載のタクシーサービスシステム。
- 利用したタクシーの前記タクシー情報を保存する保存手段を含み、前記保存手段に保存された前記タクシー情報を基に当該タクシー情報に対応するタクシーの現在位置情報を前記タクシー情報サーバから取得して当該タクシーの到着時刻を算出して前記携帯端末に表示することを特徴とする請求項4から請求項8のいずれか記載のタクシーサービスシステム。
- 前記タクシーの配車依頼後に前記携帯端末の位置データと当該タクシーの位置データとのうちの少なくとも一方をリアルタイムに送信することを特徴とする請求項1から請求項9のいずれか記載のタクシーサービスシステム。
- 前記携帯端末からの前記利用者のコメントをインタネットを介して前記タクシー情報サーバに送信することを特徴とする請求項5記載のタクシーサービスシステム。
- 前記タクシーの配車依頼の要求時に目的地データを当該配車依頼を要求するタクシーに送信する手段を前記携帯端末に含むことを特徴とする請求項1から請求項11のいずれか記載のタクシーサービスシステム。
- 利用したタクシーの走行経路データを保存する走行経路データ保存手段を前記携帯端末に含むことを特徴とする請求項1から請求項12のいずれか記載のタクシーサービスシステム。
- 自端末から自端末の現在位置周辺のタクシーの搭載機器に対して配車依頼を送信する携帯端末装置であって、
自端末の現在位置情報を取得するGPS(Global Positioning System)機能と、
前記GPS機能で取得された自端末の現在位置情報と前記タクシーの位置情報とから当該タクシーが自端末の現在位置に到着する到着時刻を算出する手段とを有することを特徴とする携帯端末装置。 - 前記タクシーに関するタクシー情報を蓄積するタクシー情報サーバから取得した前記タクシー情報を表示する手段を含むことを特徴とする請求項14記載の携帯端末装置。
- 携帯端末から当該携帯端末の現在位置周辺のタクシーの搭載機器に対して配車依頼を送信するタクシーサービス方法であって、
前記携帯端末の現在位置情報をGPS(Global Positioning System)機能にて取得するステップと、
前記GPS機能で取得された前記携帯端末の現在位置情報と前記タクシーの位置情報とから当該タクシーが前記携帯端末の現在位置に到着する到着時刻を算出するステップとを有することを特徴とするタクシーサービス方法。 - 前記タクシーに関するタクシー情報を蓄積するタクシー情報サーバから前記タクシー情報を取得するステップを含み、取得した前記タクシー情報を前記携帯端末に表示することを特徴とする請求項16記載のタクシーサービス方法。
- 携帯端末から当該携帯端末の現在位置周辺のタクシーの搭載機器に対して配車依頼を送信するタクシーサービス方法のプログラムであって、コンピュータに、前記携帯端末の現在位置情報をGPS(Global Positioning System)機能にて取得する処理と、前記GPS機能で取得された前記携帯端末の現在位置情報と前記タクシーの位置情報とから当該タクシーが前記携帯端末の現在位置に到着する到着時刻を算出する処理とを実行させるためのプログラム。
- 前記コンピュータに、前記タクシーに関するタクシー情報を蓄積するタクシー情報サーバから前記タクシー情報を取得する処理を実行させ、取得した前記タクシー情報を前記携帯端末に表示させることを特徴とする請求項18記載のプログラム。
Priority Applications (5)
| Application Number | Priority Date | Filing Date | Title |
|---|---|---|---|
| JP2002321935A JP2004157698A (ja) | 2002-11-06 | 2002-11-06 | タクシーサービスシステム、携帯端末装置及びそれに用いるタクシーサービス方法並びにそのプログラム |
| CNA2003101045849A CN1499387A (zh) | 2002-11-06 | 2003-11-04 | 租用出租车的系统、其中的便携式终端及此系统的方法 |
| US10/701,016 US20040093280A1 (en) | 2002-11-06 | 2003-11-05 | System for hiring taxi, handy terminal for doing the same, and method of doing the same |
| DE60304799T DE60304799T2 (de) | 2002-11-06 | 2003-11-06 | System, Gerät und Verfahren für Taxirufdienst |
| EP03025490A EP1418557B1 (en) | 2002-11-06 | 2003-11-06 | System, device and method for hiring taxi |
Applications Claiming Priority (1)
| Application Number | Priority Date | Filing Date | Title |
|---|---|---|---|
| JP2002321935A JP2004157698A (ja) | 2002-11-06 | 2002-11-06 | タクシーサービスシステム、携帯端末装置及びそれに用いるタクシーサービス方法並びにそのプログラム |
Publications (1)
| Publication Number | Publication Date |
|---|---|
| JP2004157698A true JP2004157698A (ja) | 2004-06-03 |
Family
ID=32105443
Family Applications (1)
| Application Number | Title | Priority Date | Filing Date |
|---|---|---|---|
| JP2002321935A Pending JP2004157698A (ja) | 2002-11-06 | 2002-11-06 | タクシーサービスシステム、携帯端末装置及びそれに用いるタクシーサービス方法並びにそのプログラム |
Country Status (5)
| Country | Link |
|---|---|
| US (1) | US20040093280A1 (ja) |
| EP (1) | EP1418557B1 (ja) |
| JP (1) | JP2004157698A (ja) |
| CN (1) | CN1499387A (ja) |
| DE (1) | DE60304799T2 (ja) |
Cited By (11)
| Publication number | Priority date | Publication date | Assignee | Title |
|---|---|---|---|---|
| CN102194313A (zh) * | 2010-03-04 | 2011-09-21 | 苏州百源软件设计有限公司 | 智能化出租车叫车装置 |
| CN102819950A (zh) * | 2012-08-14 | 2012-12-12 | 王文静 | 一种交通工具搭载辅助决策的系统和方法 |
| CN103021172A (zh) * | 2012-12-06 | 2013-04-03 | 苏州亿倍信息技术有限公司 | 一种出租车调度方法及系统 |
| CN103456162A (zh) * | 2012-05-31 | 2013-12-18 | 李继泽 | 一种基于定位系统的自助呼叫出租车及物流应用的发明 |
| CN103578270A (zh) * | 2013-11-14 | 2014-02-12 | 韩亚鹏 | 一种出租车信誉评价系统及方法 |
| JP2014041604A (ja) * | 2012-07-23 | 2014-03-06 | Storadia Ltd | 情報処理システム |
| CN106355921A (zh) * | 2016-11-10 | 2017-01-25 | 安徽云看信息技术有限公司 | 一种基于路程时间的打车方法 |
| CN107464415A (zh) * | 2017-07-28 | 2017-12-12 | 苏州蓝越软件有限公司 | 一种城市出租车综合管理方法 |
| KR20190120281A (ko) * | 2017-03-06 | 2019-10-23 | 폭스바겐 악티엔 게젤샤프트 | 이동 수단을 호출하기 위한 방법 및 사용자 단말기 |
| CN110392896A (zh) * | 2017-03-06 | 2019-10-29 | 大众汽车有限公司 | 用户终端设备、行进装置、服务器和用于呼叫行进装置的方法 |
| JP2019212118A (ja) * | 2018-06-06 | 2019-12-12 | 株式会社 ディー・エヌ・エー | 車両の配車を管理するためのシステム、方法、及びプログラム |
Families Citing this family (76)
| Publication number | Priority date | Publication date | Assignee | Title |
|---|---|---|---|---|
| RU2278418C2 (ru) * | 2004-09-17 | 2006-06-20 | Сергей Анатольевич Бойцов | Система местоопределения и диспетчеризации мобильных бригад скорой помощи |
| US20060064338A1 (en) * | 2004-09-22 | 2006-03-23 | Avaya Technology Corp. | Resource selection based on skills and availability in a telecommunications system |
| US7353034B2 (en) | 2005-04-04 | 2008-04-01 | X One, Inc. | Location sharing and tracking using mobile phones or other wireless devices |
| US20090307042A1 (en) * | 2005-11-24 | 2009-12-10 | Location Value, Inc. | On-the-Spot Labour Market Providing Support System |
| EP2135200A4 (en) | 2007-02-12 | 2011-12-28 | Sean O'sullivan | Shared transport system and service network |
| CN101355714A (zh) * | 2007-07-24 | 2009-01-28 | 梁宇杰 | 一种实时拼车系统和方法 |
| CN101378581B (zh) * | 2007-08-28 | 2013-01-09 | 郑志豪 | 出租车运营辅助系统及方法 |
| TW200916809A (en) * | 2007-10-02 | 2009-04-16 | Shih Pi Ta Technology Ltd | Dispatching car apparatus and method thereof |
| WO2009089182A1 (en) | 2008-01-03 | 2009-07-16 | Lubeck Olaf M | Method for requesting transportation services |
| US20090177502A1 (en) * | 2008-01-08 | 2009-07-09 | Nick Doinoff | System for matching drivers with customers seeking to hire a driver |
| US9519921B2 (en) | 2008-06-27 | 2016-12-13 | E-Lantis Corporation | GPS and wireless integrated fleet management system and method |
| KR101119117B1 (ko) | 2009-07-10 | 2012-03-16 | 엘지전자 주식회사 | 차량 호출 방법 및 차량 배차 방법 및 이를 위한 이동 단말기 |
| US20110028132A1 (en) * | 2009-07-29 | 2011-02-03 | Research In Motion Limited | Mobile phone arrival time estimator |
| CN101996422B (zh) * | 2009-08-14 | 2013-05-01 | 事必达科技股份有限公司 | 计程车自动化电子旅次收据系统及其方法 |
| KR20110024979A (ko) * | 2009-09-03 | 2011-03-09 | 엘지전자 주식회사 | 서비스 제공 시스템 및 그 방법 |
| JP4573907B1 (ja) * | 2009-11-19 | 2010-11-04 | 株式会社三愛 | 運賃料金算出方法及び運賃料金算出システム |
| US9230292B2 (en) * | 2012-11-08 | 2016-01-05 | Uber Technologies, Inc. | Providing on-demand services through use of portable computing devices |
| CA2782611C (en) | 2009-12-04 | 2018-07-10 | Uber Technologies, Inc. | System and method for arranging transport amongst parties through use of mobile devices |
| US20110153453A1 (en) * | 2009-12-18 | 2011-06-23 | Gameelah Ghafoor | Transport allocation and payment system, method and software |
| CN101795433A (zh) * | 2010-03-03 | 2010-08-04 | 王勇 | 通过手机呼叫出租车的系统及方法 |
| US8554608B1 (en) | 2010-04-17 | 2013-10-08 | James O'Connor | Driver controlled automated taxi service and devices |
| CN102270386A (zh) * | 2010-06-07 | 2011-12-07 | 华东师范大学 | 基于双向定位的出租车叫车系统 |
| US20120041675A1 (en) * | 2010-08-10 | 2012-02-16 | Steven Juliver | Method and System for Coordinating Transportation Service |
| TW201218117A (en) * | 2010-10-29 | 2012-05-01 | Hon Hai Prec Ind Co Ltd | System and method for arranging taxies |
| US20120303533A1 (en) | 2011-05-26 | 2012-11-29 | Michael Collins Pinkus | System and method for securing, distributing and enforcing for-hire vehicle operating parameters |
| CN102855753A (zh) * | 2011-06-30 | 2013-01-02 | 高德软件有限公司 | 一种基于实时交通的出租车调度方法及平台 |
| US20130060721A1 (en) | 2011-09-02 | 2013-03-07 | Frias Transportation Infrastructure, Llc | Systems and methods for pairing of for-hire vehicle meters and medallions |
| CN103134502A (zh) * | 2011-11-30 | 2013-06-05 | 上海博泰悦臻电子设备制造有限公司 | 导航方法、导航系统及网络服务器 |
| US20130253999A1 (en) | 2012-03-22 | 2013-09-26 | Frias Transportation Infrastructure Llc | Transaction and communication system and method for vendors and promoters |
| AU2012203649A1 (en) * | 2012-05-22 | 2013-12-12 | Taxi Apps Pty Ltd | Tracking and Engagement System |
| US20200211142A1 (en) * | 2012-08-30 | 2020-07-02 | Ivsc Ip Llc | For-hire-vehicle management systems and methods |
| US20140067488A1 (en) * | 2012-08-30 | 2014-03-06 | Frias Transportation Infrastructure Llc | Mobile for-hire-vehicle hailing system and method |
| CN102855756B (zh) * | 2012-09-28 | 2015-11-04 | 深圳华宏联创科技有限公司 | 一种智能出租车应召方法、服务器和系统 |
| US9671233B2 (en) | 2012-11-08 | 2017-06-06 | Uber Technologies, Inc. | Dynamically providing position information of a transit object to a computing device |
| US11574263B2 (en) | 2013-03-15 | 2023-02-07 | Via Transportation, Inc. | System and method for providing multiple transportation proposals to a user |
| CN103281676A (zh) * | 2013-05-28 | 2013-09-04 | 吴昌明 | 一种出租车即时通讯系统及方法 |
| US9866673B2 (en) | 2013-12-18 | 2018-01-09 | Medlegal Network, Inc. | Methods and systems of managing accident communications over a network |
| US9877176B2 (en) * | 2013-12-18 | 2018-01-23 | Medlegal Network, Inc. | Methods and systems of managing accident communications over a network |
| CN104143258A (zh) * | 2014-07-18 | 2014-11-12 | 上海朗尚科贸有限公司 | 一种出租车物联网远程监控系统 |
| WO2016014151A1 (en) | 2014-07-22 | 2016-01-28 | Lyft, Inc. | Ride chaining |
| US9706367B2 (en) | 2014-09-05 | 2017-07-11 | Uber Technologies, Inc. | Providing route information to devices during a shared transport service |
| AU2016215092A1 (en) | 2015-02-05 | 2017-08-17 | Uber Technologies, Inc. | Programmatically determining location information in connection with a transport service |
| US10026506B1 (en) | 2015-02-06 | 2018-07-17 | Brain Trust Innovations I, Llc | System, RFID chip, server and method for capturing vehicle data |
| GB2535718A (en) | 2015-02-24 | 2016-08-31 | Addison Lee Ltd | Resource management |
| GB201503083D0 (en) * | 2015-02-24 | 2015-04-08 | Addison Lee Ltd | Allocating vehicles to private hire bookings |
| KR101725343B1 (ko) * | 2015-03-12 | 2017-04-26 | 네이버 주식회사 | 콜택시 서비스 제공 방법 및 이를 제공하는 콜택시 서비스 서버 |
| US10009306B2 (en) * | 2015-05-15 | 2018-06-26 | Uber Technologies, Inc. | Methods to mitigate communication delays between systems in connection with a transport service |
| KR102411171B1 (ko) * | 2015-05-19 | 2022-06-21 | 엘지이노텍 주식회사 | 디스플레이장치 및 이의 동작 방법 |
| US9762601B2 (en) | 2015-06-17 | 2017-09-12 | Uber Technologies, Inc. | Trip anomaly detection system |
| JP6477601B2 (ja) * | 2016-05-31 | 2019-03-06 | トヨタ自動車株式会社 | 情報処理システム |
| CN105931304A (zh) * | 2016-06-17 | 2016-09-07 | 程子桉 | 出租车信息采集系统 |
| US10412536B2 (en) | 2016-06-23 | 2019-09-10 | Minutepros.Com Corp. | Providing secure service provider reverse auctions using certification identifiers, symmetric encryption keys and encrypted uniform resource locators |
| US9763271B1 (en) | 2016-06-23 | 2017-09-12 | Minutepros.Com Corp. | Networked Wi-Fi stations having multi-level displays and multiple antennas |
| CN107766954B (zh) * | 2016-08-23 | 2021-05-18 | 北京嘀嘀无限科技发展有限公司 | 临时叫车方法及装置、约车订单发送处理方法及服务器 |
| US11132626B2 (en) | 2016-11-30 | 2021-09-28 | Addison Lee Limited | Systems and methods for vehicle resource management |
| CN108334972A (zh) * | 2017-01-19 | 2018-07-27 | 北京嘀嘀无限科技发展有限公司 | 车辆行程监控方法及装置 |
| US20180211541A1 (en) | 2017-01-25 | 2018-07-26 | Via Transportation, Inc. | Prepositioning Empty Vehicles Based on Predicted Future Demand |
| JP7258777B2 (ja) | 2017-05-22 | 2023-04-17 | ヴィア トランスポーテーション、インコーポレイテッド | ライドシェアリング(相乗り)を管理するためのシステムと方法 |
| CN107170229A (zh) * | 2017-06-01 | 2017-09-15 | 广西昌成科技有限公司 | 一种出租车约车系统及方法 |
| CN107330753A (zh) * | 2017-06-01 | 2017-11-07 | 广西昌成科技有限公司 | 一种顺风车打车系统及方法 |
| US20190026671A1 (en) * | 2017-07-20 | 2019-01-24 | DTA International FZCO | Device, System, and Method for Optimizing Taxi Dispatch Requests |
| EP3659078B1 (en) | 2017-07-26 | 2023-08-30 | Via Transportation, Inc. | Systems and methods for managing and routing ridesharing vehicles |
| US10725473B2 (en) * | 2017-09-01 | 2020-07-28 | Uatc, Llc | Systems and methods for changing a destination of an autonomous vehicle in real-time |
| CN109658683B (zh) * | 2017-10-12 | 2022-06-10 | 北京嘀嘀无限科技发展有限公司 | 交通服务类型选择方法及装置 |
| US10264389B1 (en) | 2017-12-31 | 2019-04-16 | Lyft, Inc. | Optimizing pickup locations for transportation requests based on context information |
| US12461537B2 (en) | 2018-01-08 | 2025-11-04 | Via Transportation, Inc. | Accounting for driver reaction time when providing driving instructions |
| WO2019136341A1 (en) | 2018-01-08 | 2019-07-11 | Via Transportation, Inc. | Systems and methods for managing and scheduling ridesharing vehicles |
| US11620592B2 (en) | 2018-04-09 | 2023-04-04 | Via Transportation, Inc. | Systems and methods for planning transportation routes |
| CN112585653A (zh) * | 2018-06-18 | 2021-03-30 | R·A·艾勒森 | 与基于地理位置的服务和移动服务请求应用程序相关联的服务提供者系统 |
| EP3855407B1 (en) * | 2018-09-21 | 2024-04-10 | Nissan Motor Co., Ltd. | Reserved vehicle control method, reserved vehicle control device, and reserved vehicle control system |
| CN109448422B (zh) * | 2018-10-15 | 2020-12-11 | 西安艾润物联网技术服务有限责任公司 | 停车场管理方法及相关装置 |
| US11248921B2 (en) * | 2018-10-15 | 2022-02-15 | Ford Global Technologies, Llc | Method and apparatus for tunable multi-vehicle routing |
| US11092456B2 (en) | 2019-03-08 | 2021-08-17 | Aptiv Technologies Limited | Object location indicator system and method |
| GB201917581D0 (en) | 2019-12-02 | 2020-01-15 | Addison Lee Ltd | Vehicle control |
| CN111860907A (zh) * | 2020-06-19 | 2020-10-30 | 北京百度网讯科技有限公司 | 营运车辆服务的处理方法、装置、电子设备及可读存储介质 |
| US12572995B2 (en) | 2021-05-07 | 2026-03-10 | Via Transportation, Inc. | Systems and methods for plan determination |
Family Cites Families (8)
| Publication number | Priority date | Publication date | Assignee | Title |
|---|---|---|---|---|
| IL123420A0 (en) * | 1998-02-24 | 1998-09-24 | Jaffe Shai | Request dispatch system |
| US6756913B1 (en) * | 1999-11-01 | 2004-06-29 | Mourad Ben Ayed | System for automatically dispatching taxis to client locations |
| AU2001276937A1 (en) * | 2000-07-14 | 2002-01-30 | Sunil Paul | System and method for determining an efficient transportation route |
| JP2002149527A (ja) * | 2000-11-10 | 2002-05-24 | Toshiba Corp | サイト接続サービス方法、情報若しくはサービスの提供方法、又は、情報若しくはサービス提供用サイト |
| FR2824657B1 (fr) * | 2001-05-10 | 2003-10-31 | Marques Et De Droits Derives I | Procede et systeme de reservation de taxi par boitiers individuels permettant la localisation et l'identification de l'appelant |
| KR100433734B1 (ko) * | 2001-06-18 | 2004-06-04 | 이재욱 | 통신망을 이용한 택시 자동연결 서비스 방법 |
| JP2003109191A (ja) * | 2001-09-28 | 2003-04-11 | Fujitsu Ltd | 配車システム及び配車処理装置 |
| US20050227620A1 (en) * | 2002-05-29 | 2005-10-13 | Mitsubishi Denki Kabushiki Kaisha | Communication system |
-
2002
- 2002-11-06 JP JP2002321935A patent/JP2004157698A/ja active Pending
-
2003
- 2003-11-04 CN CNA2003101045849A patent/CN1499387A/zh active Pending
- 2003-11-05 US US10/701,016 patent/US20040093280A1/en not_active Abandoned
- 2003-11-06 DE DE60304799T patent/DE60304799T2/de not_active Expired - Fee Related
- 2003-11-06 EP EP03025490A patent/EP1418557B1/en not_active Expired - Lifetime
Cited By (14)
| Publication number | Priority date | Publication date | Assignee | Title |
|---|---|---|---|---|
| CN102194313A (zh) * | 2010-03-04 | 2011-09-21 | 苏州百源软件设计有限公司 | 智能化出租车叫车装置 |
| CN103456162A (zh) * | 2012-05-31 | 2013-12-18 | 李继泽 | 一种基于定位系统的自助呼叫出租车及物流应用的发明 |
| JP2014041604A (ja) * | 2012-07-23 | 2014-03-06 | Storadia Ltd | 情報処理システム |
| CN102819950A (zh) * | 2012-08-14 | 2012-12-12 | 王文静 | 一种交通工具搭载辅助决策的系统和方法 |
| CN103021172B (zh) * | 2012-12-06 | 2014-11-05 | 苏州亿倍信息技术有限公司 | 一种出租车调度方法及系统 |
| CN103021172A (zh) * | 2012-12-06 | 2013-04-03 | 苏州亿倍信息技术有限公司 | 一种出租车调度方法及系统 |
| CN103578270A (zh) * | 2013-11-14 | 2014-02-12 | 韩亚鹏 | 一种出租车信誉评价系统及方法 |
| CN106355921A (zh) * | 2016-11-10 | 2017-01-25 | 安徽云看信息技术有限公司 | 一种基于路程时间的打车方法 |
| KR20190120281A (ko) * | 2017-03-06 | 2019-10-23 | 폭스바겐 악티엔 게젤샤프트 | 이동 수단을 호출하기 위한 방법 및 사용자 단말기 |
| CN110392896A (zh) * | 2017-03-06 | 2019-10-29 | 大众汽车有限公司 | 用户终端设备、行进装置、服务器和用于呼叫行进装置的方法 |
| KR102325142B1 (ko) | 2017-03-06 | 2021-11-12 | 폭스바겐 악티엔게젤샤프트 | 이동 수단을 호출하기 위한 방법 및 사용자 단말기 |
| US11578987B2 (en) | 2017-03-06 | 2023-02-14 | Volkswagen Aktiengesellschaft | User terminal, transportation vehicle, server, and method for sending for a transportation vehicle |
| CN107464415A (zh) * | 2017-07-28 | 2017-12-12 | 苏州蓝越软件有限公司 | 一种城市出租车综合管理方法 |
| JP2019212118A (ja) * | 2018-06-06 | 2019-12-12 | 株式会社 ディー・エヌ・エー | 車両の配車を管理するためのシステム、方法、及びプログラム |
Also Published As
| Publication number | Publication date |
|---|---|
| DE60304799T2 (de) | 2007-04-26 |
| CN1499387A (zh) | 2004-05-26 |
| US20040093280A1 (en) | 2004-05-13 |
| EP1418557A3 (en) | 2004-06-09 |
| EP1418557B1 (en) | 2006-04-26 |
| EP1418557A2 (en) | 2004-05-12 |
| DE60304799D1 (de) | 2006-06-01 |
Similar Documents
| Publication | Publication Date | Title |
|---|---|---|
| JP2004157698A (ja) | タクシーサービスシステム、携帯端末装置及びそれに用いるタクシーサービス方法並びにそのプログラム | |
| JP2004310316A (ja) | 配車処理装置、そのシステム、その方法、そのプログラム、および、そのプログラムを記録する記録媒体 | |
| US20050227704A1 (en) | Facilitating entering location data | |
| US20200034755A1 (en) | Vehicle reservation system, vehicle reservation method, and non-transitory storage medium storing program | |
| JP5914399B2 (ja) | タクシー案内システムおよびタクシー案内方法 | |
| JPH10191453A (ja) | データ転送出力システム及び情報処理装置 | |
| JP2002032889A (ja) | タクシー手配システム | |
| JP2002131065A (ja) | ナビゲーションシステムおよび情報提供方法 | |
| US20140330599A1 (en) | Identifying Partial User-Entered Data | |
| JP2002303520A (ja) | 移動体駐車場情報配信方法、移動体駐車場情報配信システム、移動体駐車場情報更新システム、移動体駐車場情報課金システム、移動体通信機器及び記録媒体 | |
| US20040225712A1 (en) | Server apparatus, terminal device, and information providing system | |
| CN108288209A (zh) | 一种基于微信公众号的出行购票系统及方法 | |
| JP2006172061A (ja) | 予約対象管理方法および装置並びにシステム | |
| JP2005164474A (ja) | 経路案内用データ作成装置および経路案内用データを用いた経路案内配信装置 | |
| US20020067728A1 (en) | Route guidance service using the internet | |
| JP2009026217A (ja) | タクシー逆探知システム | |
| JP3880430B2 (ja) | 無線lan通信機能を有するナビゲーション装置 | |
| JP2002163335A (ja) | タクシー業務運営システム | |
| JP4689104B2 (ja) | 駐車場情報検索方法、駐車場情報検索システム及びプログラム | |
| JP2003288536A (ja) | 地図情報提供システム | |
| JP2003109189A (ja) | 配車支援システムおよび配車支援方法 | |
| JP2008021037A (ja) | 情報通信システム | |
| JP4559442B2 (ja) | ナビゲーションシステム、経路探索サーバおよび端末装置ならびにナビゲーション方法 | |
| JP4306276B2 (ja) | 情報通信システム | |
| JP4209204B2 (ja) | 車載端末への情報配信方法,情報配信システム及び車載端末装置 |
Legal Events
| Date | Code | Title | Description |
|---|---|---|---|
| A621 | Written request for application examination |
Free format text: JAPANESE INTERMEDIATE CODE: A621 Effective date: 20051014 |
|
| A977 | Report on retrieval |
Free format text: JAPANESE INTERMEDIATE CODE: A971007 Effective date: 20061218 |
|
| A131 | Notification of reasons for refusal |
Free format text: JAPANESE INTERMEDIATE CODE: A131 Effective date: 20070109 |
|
| A521 | Request for written amendment filed |
Free format text: JAPANESE INTERMEDIATE CODE: A523 Effective date: 20070226 |
|
| A02 | Decision of refusal |
Free format text: JAPANESE INTERMEDIATE CODE: A02 Effective date: 20071002 |