EP3059372B2 - Teleskopschiebetüranlage - Google Patents
Teleskopschiebetüranlage Download PDFInfo
- Publication number
- EP3059372B2 EP3059372B2 EP16162007.5A EP16162007A EP3059372B2 EP 3059372 B2 EP3059372 B2 EP 3059372B2 EP 16162007 A EP16162007 A EP 16162007A EP 3059372 B2 EP3059372 B2 EP 3059372B2
- Authority
- EP
- European Patent Office
- Prior art keywords
- door leaf
- door
- telescopic sliding
- strand
- runner rail
- Prior art date
- Legal status (The legal status is an assumption and is not a legal conclusion. Google has not performed a legal analysis and makes no representation as to the accuracy of the status listed.)
- Active
Links
Images
Classifications
-
- E—FIXED CONSTRUCTIONS
- E05—LOCKS; KEYS; WINDOW OR DOOR FITTINGS; SAFES
- E05F—DEVICES FOR MOVING WINGS INTO OPEN OR CLOSED POSITION; CHECKS FOR WINGS; WING FITTINGS NOT OTHERWISE PROVIDED FOR, CONCERNED WITH THE FUNCTIONING OF THE WING
- E05F15/00—Power-operated mechanisms for wings
- E05F15/60—Power-operated mechanisms for wings using electrical actuators
- E05F15/603—Power-operated mechanisms for wings using electrical actuators using rotary electromotors
- E05F15/632—Power-operated mechanisms for wings using electrical actuators using rotary electromotors for horizontally-sliding wings
- E05F15/643—Power-operated mechanisms for wings using electrical actuators using rotary electromotors for horizontally-sliding wings operated by flexible elongated pulling elements, e.g. belts, chains or cables
-
- E—FIXED CONSTRUCTIONS
- E05—LOCKS; KEYS; WINDOW OR DOOR FITTINGS; SAFES
- E05D—HINGES OR SUSPENSION DEVICES FOR DOORS, WINDOWS OR WINGS
- E05D15/00—Suspension arrangements for wings
- E05D15/06—Suspension arrangements for wings for wings sliding horizontally more or less in their own plane
- E05D15/08—Suspension arrangements for wings for wings sliding horizontally more or less in their own plane consisting of two or more independent parts movable each in its own guides
-
- E—FIXED CONSTRUCTIONS
- E05—LOCKS; KEYS; WINDOW OR DOOR FITTINGS; SAFES
- E05F—DEVICES FOR MOVING WINGS INTO OPEN OR CLOSED POSITION; CHECKS FOR WINGS; WING FITTINGS NOT OTHERWISE PROVIDED FOR, CONCERNED WITH THE FUNCTIONING OF THE WING
- E05F1/00—Closers or openers for wings, not otherwise provided for in this subclass
- E05F1/08—Closers or openers for wings, not otherwise provided for in this subclass spring-actuated, e.g. for horizontally sliding wings
- E05F1/16—Closers or openers for wings, not otherwise provided for in this subclass spring-actuated, e.g. for horizontally sliding wings for sliding wings
-
- E—FIXED CONSTRUCTIONS
- E05—LOCKS; KEYS; WINDOW OR DOOR FITTINGS; SAFES
- E05F—DEVICES FOR MOVING WINGS INTO OPEN OR CLOSED POSITION; CHECKS FOR WINGS; WING FITTINGS NOT OTHERWISE PROVIDED FOR, CONCERNED WITH THE FUNCTIONING OF THE WING
- E05F17/00—Special devices for shifting a plurality of wings operated simultaneously
-
- E—FIXED CONSTRUCTIONS
- E05—LOCKS; KEYS; WINDOW OR DOOR FITTINGS; SAFES
- E05F—DEVICES FOR MOVING WINGS INTO OPEN OR CLOSED POSITION; CHECKS FOR WINGS; WING FITTINGS NOT OTHERWISE PROVIDED FOR, CONCERNED WITH THE FUNCTIONING OF THE WING
- E05F17/00—Special devices for shifting a plurality of wings operated simultaneously
- E05F17/004—Special devices for shifting a plurality of wings operated simultaneously for wings which abut when closed
-
- E—FIXED CONSTRUCTIONS
- E05—LOCKS; KEYS; WINDOW OR DOOR FITTINGS; SAFES
- E05Y—INDEXING SCHEME ASSOCIATED WITH SUBCLASSES E05D AND E05F, RELATING TO CONSTRUCTION ELEMENTS, ELECTRIC CONTROL, POWER SUPPLY, POWER SIGNAL OR TRANSMISSION, USER INTERFACES, MOUNTING OR COUPLING, DETAILS, ACCESSORIES, AUXILIARY OPERATIONS NOT OTHERWISE PROVIDED FOR, APPLICATION THEREOF
- E05Y2800/00—Details, accessories and auxiliary operations not otherwise provided for
- E05Y2800/10—Additional functions
- E05Y2800/122—Telescopic action
-
- E—FIXED CONSTRUCTIONS
- E05—LOCKS; KEYS; WINDOW OR DOOR FITTINGS; SAFES
- E05Y—INDEXING SCHEME ASSOCIATED WITH SUBCLASSES E05D AND E05F, RELATING TO CONSTRUCTION ELEMENTS, ELECTRIC CONTROL, POWER SUPPLY, POWER SIGNAL OR TRANSMISSION, USER INTERFACES, MOUNTING OR COUPLING, DETAILS, ACCESSORIES, AUXILIARY OPERATIONS NOT OTHERWISE PROVIDED FOR, APPLICATION THEREOF
- E05Y2800/00—Details, accessories and auxiliary operations not otherwise provided for
- E05Y2800/20—Combinations of elements
- E05Y2800/21—Combinations of elements of identical elements, e.g. of identical compression springs
-
- E—FIXED CONSTRUCTIONS
- E05—LOCKS; KEYS; WINDOW OR DOOR FITTINGS; SAFES
- E05Y—INDEXING SCHEME ASSOCIATED WITH SUBCLASSES E05D AND E05F, RELATING TO CONSTRUCTION ELEMENTS, ELECTRIC CONTROL, POWER SUPPLY, POWER SIGNAL OR TRANSMISSION, USER INTERFACES, MOUNTING OR COUPLING, DETAILS, ACCESSORIES, AUXILIARY OPERATIONS NOT OTHERWISE PROVIDED FOR, APPLICATION THEREOF
- E05Y2800/00—Details, accessories and auxiliary operations not otherwise provided for
- E05Y2800/20—Combinations of elements
- E05Y2800/23—Combinations of elements of elements of different categories
- E05Y2800/24—Combinations of elements of elements of different categories of springs and brakes
Definitions
- the present invention relates to a telescopic sliding door system with at least a first and a second door leaf, wherein the second door leaf is coupled to the first door leaf to carry out a movement in the same direction and can be driven via the first door leaf.
- a telescopic sliding door system which has a guide rail device with at least one guide rail for each door leaf, wherein the door leaves are each guided in the guide rail via at least one carriage.
- the previously known telescopic sliding door system has a toothed belt drive, wherein the first and second door leaves are connected via the toothed belt drive.
- the toothed belt drive of the known telescopic sliding door system is arranged horizontally above the track (i.e., the toothed pulleys of the toothed belt drive have vertical axes of rotation), resulting in a very high and very wide track arrangement.
- the known telescopic sliding door system features tracks with two opposing tracks for the door leaf drives. Therefore, the installation of the known telescopic sliding door system is relatively complicated, and it is very difficult to access the interior of the track for maintenance purposes.
- the object of the present invention to provide a telescopic sliding door system of the type mentioned above that has a compact design. Furthermore, the telescopic sliding door system should be as easy to install as possible.
- the invention is defined by the features of claim 1.
- the telescopic sliding door system features a damper unit with a retraction function that initially decelerates the first door leaf as it moves toward an end position and then drives it into the end position. This ensures a smooth retraction of the first door leaf into the end position.
- a traction drive with a first run and a second run connects the first and second door leaves.
- the invention can further provide that the first run runs above the second run and the traction drive is guided via a deflection device arranged on the second door leaf.
- the first run can be fixedly attached relative to the first and second door leaves, and the second run can be connected to the first door leaf.
- the second run can be fixedly attached relative to the first and second door leaves, and the first run can be connected to the first door leaf.
- the telescopic sliding door system is described using the directional specifications "longitudinal direction,” “width direction,” and “height direction.”
- the longitudinal direction corresponds to the direction specified by the door leaves during the opening and closing movement.
- the length of the telescopic sliding door system is also the extension in the longitudinal direction.
- the width direction is the direction orthogonal to the longitudinal direction in the same horizontal plane.
- the width is the extension of the telescopic sliding door system in the width direction.
- the height direction runs orthogonal to the longitudinal direction in the same vertical plane, with the height being an extension of the telescopic sliding door system in the vertical direction.
- the traction mechanism drive By arranging the traction mechanism drive in such a way that the first run runs above the second run, a very narrow arrangement of the traction mechanism drive in the width direction is possible.
- This allows the running rail device to be designed with a relatively small width, which enables a compact design of the running rail device.
- the telescopic sliding door system according to the invention can be designed in an aesthetically pleasing manner, since the running rail device appears inconspicuous to the observer thanks to its compact design.
- the width of the running rail device is thus essentially determined by the distance between the first and second door leaves in the width direction and thus the space required by the running gears in this direction, and not by the width of the traction mechanism drive.
- the inventive design of the traction drive ensures that the second door leaf can be driven by the first door leaf.
- the user only has to move the first door leaf, and the second door leaf is automatically moved in the same direction.
- the movement transmitted from the first door leaf to the second door leaf is reduced by the traction drive. so that the second door leaf moves at a different speed than the first door leaf.
- the second door leaf moves at half the speed of the first door leaf.
- the fact that the first run runs above the second run allows for simple assembly of the telescopic sliding door system according to the invention, since the traction mechanism is accessible from the side of the track device, so that the fixed fastening of the first run and the connection of the second run to the first door leaf, or the fixed fastening of the second run and the connection of the first run to the first door leaf, can be carried out easily from the long side of the track device.
- the long side of the track device is understood to be the side that is visible when looking at the door leaf from above.
Landscapes
- Engineering & Computer Science (AREA)
- Mechanical Engineering (AREA)
- Power-Operated Mechanisms For Wings (AREA)
- Wing Frames And Configurations (AREA)
- Support Devices For Sliding Doors (AREA)
Description
- Die vorliegende Erfindung betrifft eine Teleskopschiebetüranlage mit mindestens einem ersten und einem zweiten Türflügel, wobei der zweite Türflügel mit dem ersten Türflügel zum Ausführen einer gleichgerichteten Bewegung gekoppelt ist und über den ersten Türflügel antreibbar ist.
- Aus der
EP 2 241 709 B1 ist eine Teleskopschiebetüranlage bekannt, die eine Laufschienenvorrichtung mit jeweils mindestens einer Laufschiene für jeden Türflügel aufweist, wobei die Türflügel jeweils über mindestens ein Laufwerk in der Laufschiene geführt sind. Die vorbekannte Teleskopschiebetüranlage weist einen Zahnriementrieb auf, wobei über den Zahnriementrieb der erste und der zweite Türflügel verbunden sind. - Der Zahnriementrieb der vorbekannten Teleskopschiebetüranlage ist oberhalb der Laufschiene und horizontal liegend angeordnet (d.h. die Zahnscheiben des Zahnriementriebs besitzen vertikale Drehachsen), wodurch die Laufschienenanordnung sehr hoch und sehr breit gebaut ist. Ferner weist die vorbekannte Teleskopschiebetüranlage Laufschienen auf, die zwei gegenüberliegende Laufbahnen für die Laufwerke der Türflügel aufweisen. Daher ist die Montage der vorbekannten Teleskopschiebetüranlage relativ kompliziert und es ist sehr aufwändig, zu Wartungszwecken an das Innere der Laufschiene zu gelangen.
- Es ist daher die Aufgabe der vorliegenden Erfindung, eine Teleskopschiebetüranlage der eingangs genannten Art zu schaffen, die einen kompakten Aufbau aufweist. Ferner soll die Teleskopschiebetüranlage möglichst einfach zu montieren sein.
- Die Erfindung ist definiert durch die Merkmale des Anspruchs 1.
- Die erfindungsgemäße Teleskopschiebetüranlage weist mindestens einen ersten und einen zweiten Türflügel auf, wobei der zweite Türflügel mit dem ersten Türflügel zum Ausführen einer gleichgerichteten Bewegung gekoppelt ist und über den ersten Türflügel antreibbar ist. Die Teleskopschiebetüranlage weist eine Laufschienenvorrichtung mit jeweils mindestens einer Laufschiene für jeden Türflügel auf, wobei die Türflügel jeweils über mindestens ein Laufwerk in der Laufschiene geführt sind.
- Bei der erfindungsgemäßen Teleskopschiebetüranlage ist eine Dämpfereinheit mit Einzugsfunktion vorgesehen, die den ersten Türflügel beim Verfahren in Richtung einer Endstellung zunächst abbremst und anschließend in die Endstellung treibt. Dadurch wird ein sanftes Einfahren des ersten Türflügels in die Endstellung gewährleistet.
- Ferner weist die Teleskopschiebetüranlage eine Dämpfereinheit mit Einzugsfunktion auf, die den zweiten Türflügel beim Verfahren in Richtung einer Endstellung zunächst abbremst und anschließend in die Endstellung treibt. Dadurch wird verhindert, dass eine etwaige kinetische Energie beim Verfahren des zweiten Türflügels in seine Endstellung vorhanden bleibt, die von dem zweiten Türflügel auf den Zugmitteltrieb übertragen wird und diesen belastet oder beschädigen kann. Ferner wird verhindert, dass der zweite Türflügel beim Verfahren in seine Endstellung aufgrund von einer kinetischen Energie über diese Endstellung hinaus fährt und durch das Anstoßen gegen ein Hindernis beschädigt wird.
- Erfindungsgemäß sind jeweils zwei Dämpfereinheiten für jeweils einen Türflügel vorgesehen sind und jeweils eine Dämpfereinheit an der die Schließstellung darstellenden Endstellung des jeweiligen Türflügels und eine Dämpfereinheit an der die Öffnungsstellung darstellenden Endstellung des jeweiligen Türflügels wirkt. Bei einer derartigen Teleskopschiebetüranlage sind sind vier Dämpfereinheiten mit Einzugsfunktion vorgesehen,
- Erfindungsgemäß kann vorgesehen sein, dass ein Zugmitteltrieb mit einem ersten Trum und einem zweiten Trum den ersten und den zweiten Türflügel verbindet. Die Erfindung kann ferner vorsehen, dass der erste Trum oberhalb des zweiten Trums verläuft und der Zugmitteltrieb über eine an dem zweiten Türflügel angeordnete Umlenkvorrichtung geführt ist. Der erste Trum kann ortsfest gegenüber dem ersten und dem zweiten Türflügel befestigt und der zweite Trum mit dem ersten Türflügel verbunden sein. Alternativ kann der zweite Trum ortsfest gegenüber dem ersten und dem zweiten Türflügel befestigt und der erste Trum mit dem ersten Türflügel verbunden sein.
- Im Rahmen der vorliegenden Erfindung wird die Teleskopschiebetüranlage anhand von den Richtungsangaben "Längsrichtung", "Breitenrichtung" und "Höhenrichtung" beschrieben. Die Längsrichtung entspricht dabei der Richtung, die die Türflügel bei der Öffnungs- bzw. Schließbewegung vorgeben. Die Länge der Teleskopschiebetüranlage ist ferner die Erstreckung in Längsrichtung. Die Breitenrichtung ist die Richtung orthogonal zur Längsrichtung in der gleichen horizontalen Ebene. Die Breite ist die Erstreckung der Teleskopschiebetüranlage in Breitenrichtung. Die Höhenrichtung verläuft orthogonal zu der Längsrichtung in der gleichen vertikalen Ebene, wobei die Höhe eine Erstreckung der Teleskopschiebetüranlage in die Höhenrichtung ist.
- Durch die Anordnung des Zugmitteltriebes derart, dass der erste Trum oberhalb des zweiten Trums verläuft, ist eine in Breitenrichtung sehr schmale Anordnung des Zugmitteltriebes möglich. Dadurch kann die Laufschienenvorrichtung mit relativ geringer Breite ausgebildet sein, wodurch eine kompakte Ausgestaltung der Laufschienenvorrichtung möglich ist. Die erfindungsgemäße Teleskopschiebetüranlage kann in ästhetisch ansprechender Weise ausgebildet sein, da die Laufschienenvorrichtung durch eine kompakte Ausgestaltung für den Betrachter unauffällig wirkt. Die Breite der Laufschienenvorrichtung wird somit im Wesentlichen durch den Abstand zwischen dem ersten und zweiten Türflügel in Breitenrichtung und somit dem Platzbedarf der Laufwerke in dieser Richtung bestimmt und nicht durch die Breite des Zugmitteltriebs.
- Durch die erfindungsgemäße Ausführung des Zugmitteltriebs wird gewährleistet, dass der zweite Türflügel durch den ersten Türflügel antreibbar ist. Mit anderen Worten: Der Nutzer muss lediglich den ersten Türflügel bewegen und der zweite Türflügel wird automatisch in die gleiche Richtung mitgeführt. Dabei wird die von dem ersten Türflügel auf den zweiten Türflügel übertragene Bewegung mittels des Zugmitteltriebs untersetzt, so dass der zweite Türflügel mit einer von dem ersten Türflügel unterschiedlichen Geschwindigkeit bewegt wird. Dadurch wird erreicht, dass der erste und der zweite Türflügel gleichzeitig in ihre Endstellung gelangen, obwohl der erste Türflügel einen längeren Laufweg zurückgelegt hat. Vorzugsweise bewegt sich der zweite Türflügel mit der halben Geschwindigkeit des ersten Türflügels.
- Dadurch, dass der erste Trum oberhalb des zweiten Trums verläuft, ist darüber hinaus eine einfache Montage der erfindungsgemäßen Teleskopschiebetüranlage möglich, da der Zugmitteltrieb von der Seite der Laufschienenvorrichtung aus zugänglich ist, so dass die ortsfeste Befestigung des ersten Trums und die Verbindung des zweiten Trums mit dem ersten Türflügel bzw. die ortsfeste Befestigung des zweiten Trums und die Verbindung des ersten Trums mit dem ersten Türflügel auf einfache Art und Weise von der Längsseite der Laufschienenvorrichtung aus erfolgen kann. Als Längsseite der Laufschienenvorrichtung wird die Seite verstanden, die bei Draufsicht auf die Türflügel sichtbar ist.
- Durch das Anordnen des ersten Trums oberhalb des zweiten Trums wird ferner eine leichte Höhenverstellbarkeit des ersten und/oder des zweiten Türflügels erreicht, ohne dass das Zugmittel des Zugmitteltriebs aus den Umlenkvorrichtungen zu rutschen droht. Eine besonders vorteilhafte Höhenverstellmöglichkeit ist bei einer Umlenkvorrichtung gegeben, die vertikal verlaufende Umlenkrollen, d.h. mit horizontal verlaufenden Drehachsen, aufweist, über die das Zugmittel des Zugmitteltriebs geführt ist.
- Die Türflügel können beispielsweise Glastürflügel sein.
- Vorzugsweise ist vorgesehen, dass der erste und der zweite Trum in einer sich in Längsrichtung erstreckenden vertikalen Ebene angeordnet sind. Dadurch ist eine in Breitenrichtung besonders schmale Ausgestaltung des Zugmitteltriebs möglich. Insbesondere kann durch die Anordnung des ersten und des zweiten Trums in einer vertikalen Ebene die Umlenkvorrichtung, beispielsweise Umlenkrollen, ebenfalls in dieser Ebene und somit in Bezug auf die Breitenrichtung der Laufschienenvorrichtung sehr kompakt angeordnet werden.
- Der Zugmitteltrieb kann insbesondere einen Seilzug aufweisen.
- In einem besonders bevorzugten Ausführungsbeispiel der Erfindung ist vorgesehen, dass der zweite Trum in horizontaler Richtung (Breitenrichtung) neben dem zweiten Türflügel angeordnet ist. Mit anderen Worten: Der zweite Trum verläuft vor dem zweiten Türflügel und somit zwischen dem ersten und dem zweiten Türflügel. Insbesondere kann vorgesehen sein, dass die Ebene, in der der erste und der zweite Trum verläuft, vor dem zweiten Türflügel und somit zwischen dem ersten und dem zweiten Türflügel angeordnet ist. Dadurch, dass der zweite Trum vor dem Türflügel angeordnet ist, kann die Laufschienenvorrichtung, in der üblicherweise der Zugmitteltrieb angeordnet wird, um diesen zu verdecken, auch in ihrer Höhe relativ kompakt ausgestaltet sein. Da sich die Türflügel üblicherweise teilweise in die Laufschienenvorrichtung erstrecken, kann der zweite Trum neben dem sich in die Laufschienenvorrichtung erstreckenden Teil des zweiten Türflügels angeordnet werden. Dadurch muss die Laufschienenvorrichtung, verglichen zu herkömmlichen Laufschienenvorrichtungen, die für Schiebetüranlagen ohne Zugmitteltrieb verwendet werden, nicht oder nur geringfügig höher ausgestaltet werden. Somit kann eine Teleskopschiebetüranlage mit einer ästhetisch besonders ansprechenden Laufschienenvorrichtung geschaffen werden.
- Durch den Verlauf des zweiten Trums vor dem zweiten Türflügel, insbesondere zwischen dem ersten und dem zweiten Türflügel, ist der zweite Trum im eingehängten Zustand des zweiten Türflügels in vorteilhafter Weise von der Längsseite her zugänglich, so dass der zweite Trum beispielsweise für eine Verbindung mit dem ersten Türflügel in vorteilhafter Weise erreichbar ist.
- In einem besonders bevorzugten Ausführungsbeispiel der Erfindung ist vorgesehen, dass die Umlenkvorrichtung aus zwei Umlenkeinrichtungen besteht, die vorzugsweise jeweils an einem Laufwerk des zweiten Türflügels angeordnet sind. Dadurch wird erreicht, dass die Umlenkeinrichtungen bei der Bewegung der zweiten Tür in vorteilhafter Weise mitgeführt werden und die gewünschte Bewegung des zweiten Türflügels im Verhältnis zum ersten Türflügel erreicht wird.
- In einem Ausführungsbeispiel der Erfindung ist vorgesehen, dass die Umlenkvorrichtung einen Arm aufweist, an dem eine der Umlenkeinrichtungen angeordnet ist, wobei der Arm in Längsrichtung der Laufschienenvorrichtung über den zweiten Türflügel in Richtung der Schließstellung der Türflügel übersteht. Dadurch wird erreicht, dass in der Schließstellung der Teleskopschiebetüranlage keine oder nur eine geringfügige Überdeckung des ersten und zweiten Türflügels notwendig ist, wobei dennoch eine Verbindung zwischen dem ersten Türflügel und dem ersten bzw. zweiten Trum möglich ist.
- Selbstverständlich ist es auch möglich, dass an dem ersten Türflügel ein Arm angeordnet ist, der in Längsrichtung über den ersten Türflügel in Öffnungsrichtung übersteht, wobei über den Arm der erste Türflügel mit dem ersten bzw. zweiten Trum verbunden ist. Auch dadurch kann erreicht werden, dass keine oder nur eine geringfügige Überdeckung des ersten und des zweiten Türflügels in der Schließstellung notwendig ist.
- Vorzugsweise ist vorgesehen, dass der ortsfest gegenüber dem ersten und dem zweiten Türflügel befestigte Trum des Zugmitteltriebs über eine Befestigungsvorrichtung in der Laufschienenvorrichtung befestigt ist. Dadurch lässt sich auf besonders einfache Art und Weise der Trum ortsfest gegenüber dem ersten und dem zweiten Türflügel befestigen.
- Dabei kann vorgesehen sein, dass die Befestigungsvorrichtung eine Zugmittelspannvorrichtung aufweist, worüber die gewünschte Spannung des Zugmittels des Zugmitteltriebs eingestellt werden kann. Die Zugmittelspannvorrichtung kann ein Federmittel aufweisen, wodurch, beispielsweise bei der Höhenjustierung der Türflügel, eine geringe Längung des Zugmittels ermöglicht wird.
- Ferner kann vorgesehen sein, dass die Befestigungsvorrichtung in Längsrichtung der Laufschienenvorrichtung verschiebbar befestigt ist und/oder an der Laufschiene des zweiten Türflügels befestigt ist. Durch die verschiebbare Anordnung der Befestigungsvorrichtung in der Laufschienenvorrichtung kann diese bei der Montage vor der endgültigen Befestigung verschoben werden, so dass eine Justierung des Zugmitteltriebs bei der Montage auf einfache Art und Weise möglich ist.
- In einem Ausführungsbeispiel der erfindungsgemäßen Teleskopschiebetüranlage kann der erste Türflügel ein Türblatt aufweisen, das in vertikaler Richtung (Höhenrichtung) kleinere Abmaße aufweist als das Türblatt des zweiten Türflügels. Dadurch kann erreicht werden, dass die Oberkante des ersten Türflügels unterhalb des zweiten Trums verläuft, so dass der zweite Trum in besonders vorteilhafter Weise von der Längsseite der Laufschiene her erreichbar ist. Dadurch kann beispielsweise eine Verbindung des zweiten Trums mit dem ersten Türflügel bei der Montage auf einfache Art und Weise erfolgen. Beispielsweise kann dafür ein Seilkoppler auf der Oberkante des Türblattes des ersten Türflügels befestigt werden. Der Seilkoppler kann auch Teil eines Laufwerks des ersten Türflügels sein.
- In einem besonders bevorzugten Ausführungsbeispiel der Erfindung ist vorgesehen, dass die Laufschienenvorrichtung eine erste Laufschiene für den ersten Türflügel und eine zweite Laufschiene für den zweiten Türflügel aufweist, wobei die erste und die zweite Laufschiene getrennt montierbar sind. Dadurch kann die erfindungsgemäße Teleskopschiebetüranlage auf sehr einfache Art und Weise montiert werden, indem beispielsweise zunächst die zweite Laufschiene für den zweiten Türflügel an dem gewünschten Ort befestigt wird. Danach kann der zweite Türflügel in die zweite Laufschiene eingehängt werden und der Zugmitteltrieb kann montiert werden. Selbstverständlich ist es auch möglich, dass der Zugmitteltrieb bereits über die Umlenkvorrichtung an dem zweiten Türflügel befestigt ist. Dadurch, dass die zweite Laufschiene zunächst ohne die erste Laufschiene montiert ist, ist die zweite Laufschiene von der Längsseite frei zugänglich, so dass nicht nur das Einhängen des zweiten Türflügels möglich ist, sondern auch beispielsweise die Montage der Befestigungsvorrichtung für einen Trum des Zugmitteltriebs. Anschließend kann die erste Laufschiene montiert werden und der erste Türflügel eingehängt werden.
- Bei einer derartigen Ausgestaltung der Teleskopschiebetüranlage ist von besonderem Vorteil, wenn der zweite Trum vor dem zweiten Türflügel angeordnet ist, so dass dieser auch bei befestigter erster Laufschiene von der Längsseite her zugänglich ist. Dadurch ist der zweite Trum zur Verbindung mit dem ersten Türflügel in vorteilhafter Weise zugänglich, so dass nach dem Einhängen des ersten Türflügels eine Verbindung zwischen dem ersten Türflügel und dem zweiten Trum auf einfache Art und Weise verwirklichbar ist.
- Eine Verbindung des ersten Türflügels mit dem zweiten Trum kann beispielsweise über einen Zugmittelkoppler erfolgen.
- Die Ausgestaltung der Laufschienenvorrichtung bestehend aus einer ersten und einer zweiten Laufschiene, die getrennt montierbar sind, kann auch unabhängig von der Ausgestaltung des Zugmitteltriebs oder der Anordnung der Dämpfereinheiten verwirklicht werden.
- Die Erfindung betrifft somit auch eine Teleskopschiebetüranlage mit mindestens einem ersten und einem zweiten Türflügel und mit einer Laufschienenvorrichtung mit jeweils mindestens einer Laufschiene für jeden Türflügel, wobei die Türflügel jeweils über mindestens ein Laufwerk in der Laufschiene geführt sind, bei der die Laufschienenvorrichtung eine erste Laufschiene für den ersten Türflügel und eine zweite Laufschiene für den zweiten Türflügel aufweist, wobei die erste und die zweite Laufschiene getrennt montierbar sind. Dabei kann vorgesehen sein, dass der zweite Türflügel mit dem ersten Türflügel zum Ausführen einer gleichgerichteten Bewegung gekoppelt ist und über den ersten Türflügel antreibbar ist.
- Bei einer erfindungsgemäßen Teleskopschiebetüranlage mit oder ohne Zugmitteltrieb kann vorgesehen sein, dass die erste und die zweite Laufschiene jeweils eine Führungsbahn zur Führung der Laufwerke der Türflügel aufweisen, wobei die erste Laufschiene eine Zugriffsöffnung zu der Führungsbahn aufweist, die gleichgerichtet zu einer Zugriffsöffnung zu der Führungsbahn der zweiten Laufschiene ist. Mit anderen Worten: Die Zugriffsöffnung zu der Führungsbahn der ersten Laufschiene ist auf der von der zweiten Laufschiene abgewandten Seite der ersten Laufschiene. Dadurch wird ermöglicht, dass der erste und der zweite Türflügel jeweils von der Längsseite der Laufschienenvorrichtung aus in ihre jeweilige Führungsbahn eingehängt werden können. Ferner wird durch die erste Laufschiene die zweite Laufschiene verdeckt, so dass lediglich eine Blende notwendig ist, um die komplette Laufschienenvorrichtung für einen Betrachter der Längsseite aus in ästhetisch vorteilhafter Weise zu verblenden.
- Gemäß der Erfindung sind jeweils zwei Dämpfereinheiten mit Einzugsfunktion für jeden Türflügel vorgesehen. Eine Dämpfereinheit ist jeweils an der die Öffnungsstellung darstellenden Endstellung des jeweiligen Türflügels angeordnet und eine Dämpfereinheit an der die Schließstellung darstellenden Endstellung des jeweiligen Türflügels. Dadurch wird sichergestellt, dass sowohl bei der Öffnungsals auch bei der Schließbewegung keiner der Türflügel über die jeweilige Endstellung hinaus fährt und beschädigt wird. Darüber hinaus erfolgt ein langsames Einfahren in die Endstellung.
- Es kann vorgesehen sein, dass an jeder Dämpfereinheit eine den Laufweg des jeweiligen Türflügels begrenzende Begrenzungsvorrichtung angeordnet ist. Dadurch wird der Laufweg jedes Türflügels in einer Endstellung begrenzt und es wird sichergestellt, dass der jeweilige Türflügel allenfalls an der Begrenzungsvorrichtung anschlagen kann, wodurch Beschädigungen der Türflügel vermieden werden. Ferner kann durch die Begrenzungsvorrichtung verwirklicht werden, dass bei dem Verfahren eines Türflügels in eine Endstellung ein definiertes Anschlagen an der Begrenzungsvorrichtung stattfindet, so dass ein Anschlagen innerhalb der Dämpfereinheiten vermieden wird, wodurch Beschädigungen der Dämpfereinheiten verhindert werden.
- Eine Teleskopschiebetüranlage mit einer Dämpfereinheit mit Einzugsfunktion, die den zweiten Türflügel beim Verfahren in Richtung einer Endstellung zunächst abbremst und anschließend in die Endstellung treibt, kann auch eine Laufschienenvorrichtung mit jeweils einer Laufschiene für jeden Türflügel aufweisen, wobei die Türflügel jeweils über mindestens ein Laufwerk in der Laufschiene geführt sind. Dabei kann vorgesehen sein, dass die Laufschienenvorrichtung eine erste Laufschiene für den ersten Türflügel und eine zweite Laufschiene für den zweiten Türflügel aufweist, wobei die erste und die zweite Laufschiene getrennt montierbar sind.
- Die erste und die zweite Laufschiene können dabei jeweils eine Führungsbahn zur Führung der Laufwerke der Türflügel aufweisen, wobei die erste Laufschiene eine Zugriffsöffnung zu der Führungsbahn aufweist, die gleichgerichtet zu einer Zugriffsöffnung zu der Führungsbahn der zweiten Laufschiene ist.
- Im Folgenden wird die Erfindung unter Bezugnahme auf die nachfolgenden Figuren näher erläutert.
- Es zeigen:
- Figur 1
- eine perspektivische Gesamtansicht einer erfindungsgemäßen Teleskopschiebetüranlage,
- Figur 2
- eine Seitenansicht einer erfindungsgemäßen Teleskopschiebetüranlage mit abgenommener Blende,
- Figur 3
- eine Seitenansicht des zweiten Türflügels einer erfindungsgemäßen Teleskopschiebetüranlage mit Zugmitteltrieb und
- Figur 4
- eine Schnittdarstellung einer Laufschienenvorrichtung einer erfindungsgemäßen Teleskopschiebetüranlage.
- In
Fig. 1 ist eine erfindungsgemäße Teleskopschiebetüranlage 1 schematisch in einer perspektivischen Darstellung gezeigt. Die Teleskopschiebetüranlage 1 weist einen ersten Türflügel 3 und einen zweiten Türflügel 5 auf. Die Türflügel sind in einer Laufschienenvorrichtung 7 geführt. - Wie am besten aus
Fig. 2 , in der eine Ansicht auf die Längsseite einer erfindungsgemäßen Teleskopschiebetür 1 dargestellt ist, ersichtlich ist, ist der zweite Türflügel 5 mit dem ersten Türflügel 3 gekoppelt, so dass beide Türflügel eine gleichgerichtete Bewegung ausführen können. Der zweite Türflügel 5 ist über den ersten Türflügel 3 antreibbar. - Der zweite Türflügel 5 ist über einen Zugmitteltrieb 9 mit dem ersten Türflügel 3 verbunden. Der Zugmitteltrieb weist einen ersten Trum 9a und einen zweiten Trum 9b auf, wobei der erste Trum 9a oberhalb des zweiten Trums 9b verläuft. Der erste Trum 9a und der zweite Trum 9b werden durch ein Zugmittel 9c des Zugmitteltriebs 9 gebildet. Der Zugmitteltrieb 9 kann beispielsweise als Seilzug ausgebildet sein, so dass das Zugmittel 9c ein Seil ist.
- Der obere Trum 9a ist über eine Befestigungsvorrichtung 11 an der Laufschienenvorrichtung 7 und somit ortsfest gegenüber dem ersten und dem zweiten Türflügel befestigt. Über einen Zugmittelkoppler 13 ist der erste Türflügel 3 mit dem zweiten Trum 9b verbunden.
- An dem zweiten Türflügel ist eine Umlenkvorrichtung 15 angeordnet, die aus zwei Umlenkeinrichtungen 15a und 15b besteht. Die Umlenkeinrichtungen lenken das Zugmittel 9c des Zugmitteltriebs 9 um, so dass ein geschlossener Umlauf des Zugmittels 9c entsteht. Dafür weisen die Umlenkeinrichtungen 15a und 15b jeweils zwei Umlenkrollen 17 auf. Die Umlenkrollen sind vertikal angeordnet und weisen eine Drehachse in horizontaler Richtung auf, so dass der erste und der zweite Trum 9a und 9b in einer gemeinsamen vertikalen Ebene verlaufen.
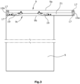
- Wie am besten aus
Fig. 3 ersichtlich ist, weist der zweite Türflügel 5 zwei Laufwerke 19 auf, über die der Türflügel 5 in der Laufschienenvorrichtung 7 geführt wird. Die Umlenkeinrichtungen 15a und 15b sind jeweils an einem der Laufwerke 19 angeordnet. - Die Umlenkeinrichtung 15a ist an einem Arm 21 angeordnet, der in Längsrichtung der Laufschienenvorrichtung 7 und in Richtung zu der Schließstellung des Türflügels 5 hin über den Türflügel 5 hinaus absteht. Dadurch wird erreicht, dass in der in
Fig. 2 gezeigten Schließstellung die Umlenkeinrichtung 15a und Teile des Seilzugs 9c sich oberhalb des ersten Türflügels 3 befinden bzw. von dem Laufwerk 19, über das der Türflügel 3 in der Laufschienenvorrichtung 7 geführt ist, überdeckt wird. Dadurch wird gewährleistet, dass eine Ankopplung über den Seilkoppler 13 an den zweiten Trum 9b auch in der vollständig geschlossenen Stellung der Teleskopschiebetüranlage gewährleistet ist. - Wie aus
Fig. 4 ersichtlich ist, weisen die Umlenkeinrichtungen 15a bzw. 15b den Umlenkrollen 17 zugeordnete Halter 17a, die ein Herausgleiten des Zugmittels 9c aus den Umlenkrollen 17 verhindern, auf. - Die Befestigungsvorrichtung 11, die auch eine Zugmittelspannvorrichtung umfassen kann, über die das Zugmittel 9c auf die gewünschte Spannung gebracht werden kann, ist in der Laufschienenvorrichtung in Längsrichtung verschiebbar befestigt. Dadurch lässt sich die Befestigungsvorrichtung bei der Montage des zweiten Türflügels 5 und des Zugmitteltriebs 9 auf einfache Art und Weise justieren.
- Die Laufschienenvorrichtung 7 besteht aus einer ersten Laufschiene 21 für den ersten Türflügel 3, einer zweiten Laufschiene 23 für den zweiten Türflügel 5 sowie einer Blende 25, die an der ersten Laufschiene 21 befestigt ist, und die erste und die zweite Laufschiene 21,23 verdeckt.
- Wie am besten aus
Fig. 4 ersichtlich ist, weisen die erste und die zweite Laufschiene 21,23 jeweils eine Führungsbahn 27 zur Führung der Laufwerke 19 des ersten und des zweiten Türflügels 3,5 auf. Die erste Laufschiene 21 hat dabei eine Zugriffsöffnung 21a, die gleichgerichtet zu einer Zugriffsöffnung 23a zu der Führungsbahn 27 der zweiten Laufschiene 23 angeordnet ist. Die Zugriffsöffnung 21a befindet sich somit auf der von der zweiten Laufschiene 23 abgewandten Seite der ersten Laufschiene 21. Mit anderen Worten: Der erste und der zweite Türflügel 3,5 lassen sich bei dem inFig. 4 dargestellten Ausführungsbeispiel jeweils von der rechten Seite, der Längsseite, in die Laufschienenvorrichtung 7 einhängen. - Die erste und die zweite Laufschiene 21,23 sind getrennt voneinander montierbar. Auf diese Weise kann zunächst die zweite Laufschiene 23 an dem Wunschort befestigt werden. Anschließend wird der zweite Türflügel 5 zusammen mit dem an dem zweiten Türflügel 5 befestigten Zugmitteltrieb 9 in die zweite Laufschiene 23 eingehängt, indem das Laufwerk 19 in die Führungsbahn 27 eingreift. Anschließend wird die erste Laufschiene 21 an der zweiten Laufschiene 23 befestigt. Der erste Türflügel 3 kann nun über ein Laufwerk 19 in die erste Laufschiene 21 eingehängt werden, wobei das Laufwerk 19 in die Führungsbahn 27 eingreift.
- Bei den in den Figuren dargestellten Ausführungsbeispielen ist das Türblatt des Türflügels 3 über eine Haltevorrichtung 29 mit dem Laufwerk 19 verbunden. Über die Haltevorrichtung 29 kann das Türblatt des Türflügels 3 derart gehaltert werden, dass in Breitenrichtung ein sehr geringer Abstand zwischen dem Türblatt des zweiten Türflügels 5 und dem Türblatt des ersten Türflügels 3 vorliegt. Darüber hinaus kann das in vertikaler Richtung kürzer ausgebildete Türblatt des ersten Türflügels 3 über die Haltevorrichtung 29 in vorteilhafter Weise mit dem Laufwerk 19 verbunden werden. Bei dem in
Fig. 4 dargestellten Ausführungsbeispiel ist der Zugmittelkoppler 13 mit der Haltevorrichtung 29 verbunden und greift an den unteren Trum 9b des Zugmittels 9c an. Selbstverständlich ist es auch möglich, dass der Zugmittelkoppler 13 an der Oberkante des Türblatts des Türflügels 3 befestigt wird. - Die erfindungsgemäße Teleskopschiebetüranlage 1 weist ferner mehrere Dämpfereinheiten 31 mit Einzugsfunktion auf, die jeweils in den Endstellungen des ersten und zweiten Türflügels 3,5 in der Laufschienenvorrichtung 7 befestigt sind. Über die Dämpfereinheit 31 mit Einzugsfunktion kann der jeweilige Türflügel 3,5 beim Verfahren in Richtung einer Endstellung zunächst abgebremst und anschließend in die Endstellung getrieben werden. Die Dämpfereinheiten 31 mit Einzugsfunktion können dabei nicht dargestellte, den Laufweg des jeweiligen Türflügels 3,5 begrenzende Begrenzungsvorrichtungen aufweisen. Dadurch wird verhindert, dass einer der Türflügel 3,5 unkontrolliert anschlägt, oder dass ein Anschlagen innerhalb der Dämpfereinheit 31 erfolgt.
- Das Vorsehen von Dämpfereinheiten 31 für den zweiten Türflügel 5 hat den Vorteil, dass beim Erreichen einer Endstellung des ersten und des zweiten Türflügels 3,5 die von dem ersten Türflügel 3 während der Bewegung auf den Türflügel 5 übertragene kinetische Energie durch die dem zweiten Türflügel 5 zugeordneten Dämpfereinheiten 31 aufgenommen wird. Dadurch wird verhindert, dass beim Stoppen des ersten Türflügels 3 der zweite Türflügel 5 noch kinetische Energie besitzt, die auf den Zugmitteltrieb übertragen wird. Auch wird verhindert, dass der zweite Türflügel 5 unkontrolliert an der Umgebung anschlägt.
- Die Laufwerke 19 weisen jeweils eine Koppelvorrichtung 33 auf, über die eine Ankopplung an eine Dämpfereinheit 31 erfolgen kann. Dabei sind die Koppeleinrichtungen 33 bei dem in Fahrtrichtung eines Türflügels 3,5 jeweils vorderen Laufwerk 19 an dem in Fahrtrichtung hinteren Ende des Laufwerks 19 angeordnet.
- Der erste und der zweite Türflügel 3,5 können insbesondere als Glastüren ausgebildet sein.
- Die erfindungsgemäßen Teleskopschiebetüranlage 1 ermöglicht einen sehr kompakten Aufbau der Laufschienenvorrichtung 7, wodurch eine in ästhetischer Hinsicht ansprechende Teleskopschiebetüranlage 1 geschaffen werden kann. Ferner ermöglicht die Anordnung des Zugmitteltriebs mit einem ersten Trum 9a, der oberhalb des zweiten Trums 9b verläuft, eine Höhenverstellung der einzelnen Türflügel 3,5, ohne dass das Zugmittel 9c aus der Umlenkvorrichtung 15 zu rutschen droht. Die erfindungsgemäße Teleskopschiebetüranlage ist auf einfache Art und Weise montierbar, da die einzelnen Türflügel 3,5 einzeln und nacheinander montierbar sind, wobei während der Montage die für eine Justage notwendigen Teile in vorteilhafter Weise zugänglich sind.
Claims (10)
- Teleskopschiebetüranlage (1) mit mindestens einem ersten und einem zweiten Türflügel (3,5), wobei der zweite Türflügel (5) über einen Zugmitteltrieb (9) mit dem ersten Türflügel (3) zum Ausführen einer gleichgerichteten Bewegung gekoppelt ist und über den ersten Türflügel (3) antreibbar ist,mit einer Laufschienenvorrichtung (7) mit jeweils mindestens einer Laufschiene (21,23) für jeden Türflügel (3,5), wobei die Türflügel (3,5) jeweils über mindestens ein Laufwerk (19) in der Laufschiene (21,23) geführt sind,gekennzeichnet durch,eine Dämpfereinheit (31) mit Einzugsfunktion, die den ersten Türflügel (3) beim Verfahren in Richtung einer Endstellung zunächst abbremst und anschließend in die Endstellung treibt undeine weitere Dämpfereinheit (31) mit Einzugsfunktion, die den zweiten Türflügel (5) beim Verfahren in Richtung der Endstellung zunächst abbremst und anschließend in die Endstellung treibt, wobei jeweils zwei Dämpfereinheiten (31) mit Einzugsfunktion für den ersten und den zweiten Türflügel (3,5) vorgesehen sind und jeweils eine Dämpfereinheit (31) mit Einzugsfunktion an der die Schließstellung darstellenden Endstellung des jeweiligen Türflügels und eine Dämpfereinheit (31) mit Einzugsfunktion an der die Öffnungsstellung darstellenden Endstellung des jeweiligen Türflügels wirkt.
- Teleskopschiebetüranlage nach Anspruch 1, dadurch gekennzeichnet, dass jeder Dämpfereinheit (31) eine den Laufweg des jeweiligen Türflügels (3,5) begrenzende Begrenzungsvorrichtung zugeordnet ist.
- Teleskopschiebetüranlage nach Anspruch 1 oder 2, dadurch gekennzeichnet, dass der Zugmitteltrieb (9) einen ersten Trum (9a) und einen zweiten Trum (9b) aufweist, wobei der Zugmitteltrieb (9) den ersten und den zweiten Türflügel (3,5) verbindet, wobei der erste Trum (9a) oberhalb des zweiten Trums (9b) verläuft und der Zugmitteltrieb (9) über eine an dem zweiten Türflügel (5) angeordnete Umlenkvorrichtung (15) geführt ist und wobei der erste Trum (9a) ortsfest gegenüber dem ersten und dem zweiten Türflügel (3,5) befestigt ist, wobei der zweite Trum (9b) mit dem ersten Türflügel (3) verbunden ist oder dass der zweite Trum (9b) ortsfest gegenüber dem ersten und dem zweiten Türflügel (3,5) befestigt ist, wobei der erste Trum (9a) mit dem ersten Türflügel (3) verbunden ist.
- Teleskopschiebetüranlage nach Anspruch 3, dadurch gekennzeichnet, dass der erste und der zweite Trum (9a,9b) in einer vertikalen Ebene angeordnet sind.
- Teleskopschiebetüranlage nach Anspruch 3 oder 4, dadurch gekennzeichnet, dass der zweite Trum (9b) in horizontaler Richtung neben dem zweiten Türflügel (5) angeordnet ist.
- Teleskopschiebetüranlage nach einem der Ansprüche 3 bis 5, dadurch gekennzeichnet, dass die Umlenkvorrichtung (15) aus zwei Umlenkeinrichtungen (15a,15b) besteht, die jeweils an einem Laufwerk (19) des zweiten Türflügels (5) angeordnet sind.
- Teleskopschiebetüranlage nach einem der Ansprüche 3 bis 6, dadurch gekennzeichnet, dass der ortsfest gegenüber dem ersten und dem zweiten Türflügel (3,5) befestigte Trum des Zugmitteltriebs (9) über eine Befestigungsvorrichtung (11) in der Laufschienenvorrichtung (7) befestigt ist.
- Teleskopschiebetüranlage nach Anspruch 7, dadurch gekennzeichnet, dass die Befestigungsvorrichtung (11) in Längsrichtung der Laufschienenvorrichtung (7) verschiebbar befestigt ist und/oder an der Laufschiene (23) für den zweiten Türflügel (5) befestigt ist.
- Teleskopschiebetüranlage nach einem der Ansprüche 1 bis 8, dadurch gekennzeichnet, dass die Laufschienenvorrichtung (7) eine erste Laufschiene (21) für den ersten Türflügel (3) und eine zweite Laufschiene (23) für den zweiten Türflügel (5) aufweist, wobei die erste und die zweite Laufschiene (21,23) getrennt montierbar sind.
- Teleskopschiebetüranlage nach Anspruch 9, dadurch gekennzeichnet, dass die erste und die zweite Laufschiene (21,23) jeweils eine Führungsbahn (27) zur Führung der Laufwerke (19) der Türflügel (3,5) aufweisen, wobei die erste Laufschiene (21) eine Zugriffsöffnung (21a) zu der Führungsbahn (27) aufweist, die gleichgerichtet zu einer Zugriffsöffnung (23a) zu der Führungsbahn (27) der zweiten Laufschiene (23) ist.
Applications Claiming Priority (2)
| Application Number | Priority Date | Filing Date | Title |
|---|---|---|---|
| DE102014201687.8A DE102014201687C5 (de) | 2014-01-30 | 2014-01-30 | Teleskopschiebetüranlage |
| EP15152854.4A EP2902580B2 (de) | 2014-01-30 | 2015-01-28 | Teleskopschiebetüranlage |
Related Parent Applications (2)
| Application Number | Title | Priority Date | Filing Date |
|---|---|---|---|
| EP15152854.4A Division EP2902580B2 (de) | 2014-01-30 | 2015-01-28 | Teleskopschiebetüranlage |
| EP15152854.4A Division-Into EP2902580B2 (de) | 2014-01-30 | 2015-01-28 | Teleskopschiebetüranlage |
Publications (3)
| Publication Number | Publication Date |
|---|---|
| EP3059372A1 EP3059372A1 (de) | 2016-08-24 |
| EP3059372B1 EP3059372B1 (de) | 2017-10-04 |
| EP3059372B2 true EP3059372B2 (de) | 2025-07-02 |
Family
ID=52131638
Family Applications (3)
| Application Number | Title | Priority Date | Filing Date |
|---|---|---|---|
| EP16196509.0A Withdrawn EP3150789A1 (de) | 2014-01-30 | 2015-01-28 | Teleskopschiebetüranlage |
| EP16162007.5A Active EP3059372B2 (de) | 2014-01-30 | 2015-01-28 | Teleskopschiebetüranlage |
| EP15152854.4A Active EP2902580B2 (de) | 2014-01-30 | 2015-01-28 | Teleskopschiebetüranlage |
Family Applications Before (1)
| Application Number | Title | Priority Date | Filing Date |
|---|---|---|---|
| EP16196509.0A Withdrawn EP3150789A1 (de) | 2014-01-30 | 2015-01-28 | Teleskopschiebetüranlage |
Family Applications After (1)
| Application Number | Title | Priority Date | Filing Date |
|---|---|---|---|
| EP15152854.4A Active EP2902580B2 (de) | 2014-01-30 | 2015-01-28 | Teleskopschiebetüranlage |
Country Status (3)
| Country | Link |
|---|---|
| EP (3) | EP3150789A1 (de) |
| DE (1) | DE102014201687C5 (de) |
| ES (2) | ES2630315T5 (de) |
Families Citing this family (3)
| Publication number | Priority date | Publication date | Assignee | Title |
|---|---|---|---|---|
| DE102014201687C5 (de) | 2014-01-30 | 2019-03-28 | Gebr. Willach Gmbh | Teleskopschiebetüranlage |
| ES2904521T3 (es) | 2015-01-14 | 2022-04-05 | Dorma Glas Gmbh | Dispositivo de pista de rodadura para el apoyo deslizable de al menos un primer carro de rodillos y al menos un segundo carro de rodillos |
| CN104879018B (zh) * | 2015-06-05 | 2017-04-05 | 中车太原机车车辆有限公司 | 双门联动结构 |
Citations (17)
| Publication number | Priority date | Publication date | Assignee | Title |
|---|---|---|---|---|
| US1245882A (en) † | 1916-05-20 | 1917-11-06 | Tyler Co W S | Elevator-door-operating device. |
| US2905463A (en) † | 1956-01-06 | 1959-09-22 | Toledo Scale Corp | Elevator door carrying mechanism |
| US3425162A (en) † | 1966-05-04 | 1969-02-04 | Williamsburg Steel Products Co | Door hanger and track construction |
| CH601628A5 (de) † | 1977-03-04 | 1978-07-14 | Baumgartner Hans & Co | |
| US6352097B1 (en) † | 1999-09-10 | 2002-03-05 | Rite-Hite Holding Corporation | Multi-panel door with an auxiliary drive mechanism |
| JP2003020862A (ja) † | 2001-07-10 | 2003-01-24 | Daiken Co Ltd | 連動式重ね引戸装置 |
| EP1281655A1 (de) † | 2001-07-31 | 2003-02-05 | Novoferm GmbH | Fahrschachttür |
| DE10230799A1 (de) † | 2002-07-08 | 2004-01-29 | Novoferm Gmbh | Fahrschachttür |
| WO2007007136A1 (en) † | 2005-07-12 | 2007-01-18 | Otis Elevator Company | Supporting lintel for elevator doors with a side opening and with a reduced number of guiding tracks |
| EP2060723A2 (de) † | 2007-11-13 | 2009-05-20 | Gebr. Willach GmbH | Mehrflügelige Schiebetür |
| WO2010081567A1 (de) † | 2009-01-15 | 2010-07-22 | Hettich-Heinze Gmbh & Co. Kg | Schiebetürbeschlag für zweiflügelige schiebetür |
| EP2241709A2 (de) † | 2009-04-16 | 2010-10-20 | Klein Ibérica, S.A. | Vorrichtung zur gleichzeitigen Bewegung von Schiebetüren |
| DE202010008860U1 (de) † | 2010-10-21 | 2012-01-23 | Hücking GmbH | Beschlagsystem für Schiebetüren |
| WO2012113612A1 (de) † | 2011-02-24 | 2012-08-30 | Gebr. Willach Gmbh | Schiebetür |
| DE202012103068U1 (de) † | 2012-08-14 | 2012-08-31 | Wittur Deutschland Holding Gmbh | Schienensystem für Aufzugsschiebetüren |
| EP2636836A2 (de) † | 2012-03-09 | 2013-09-11 | GEZE GmbH | Schiebetüranordnung |
| EP2902580A1 (de) † | 2014-01-30 | 2015-08-05 | Gebr. Willach GmbH | Teleskopschiebetüranlage |
Family Cites Families (2)
| Publication number | Priority date | Publication date | Assignee | Title |
|---|---|---|---|---|
| DE573632C (de) * | 1933-04-03 | Berliner Verkehrs Akt Ges | Schiebetuer | |
| WO2008028945A2 (en) * | 2006-09-06 | 2008-03-13 | Liexco S.A. | Modular rail system for suspending sliding doors and sliding door system with user accessible braking / stopping element |
-
2014
- 2014-01-30 DE DE102014201687.8A patent/DE102014201687C5/de active Active
-
2015
- 2015-01-28 ES ES15152854T patent/ES2630315T5/es active Active
- 2015-01-28 EP EP16196509.0A patent/EP3150789A1/de not_active Withdrawn
- 2015-01-28 EP EP16162007.5A patent/EP3059372B2/de active Active
- 2015-01-28 EP EP15152854.4A patent/EP2902580B2/de active Active
- 2015-01-28 ES ES16162007T patent/ES2652343T5/es active Active
Patent Citations (17)
| Publication number | Priority date | Publication date | Assignee | Title |
|---|---|---|---|---|
| US1245882A (en) † | 1916-05-20 | 1917-11-06 | Tyler Co W S | Elevator-door-operating device. |
| US2905463A (en) † | 1956-01-06 | 1959-09-22 | Toledo Scale Corp | Elevator door carrying mechanism |
| US3425162A (en) † | 1966-05-04 | 1969-02-04 | Williamsburg Steel Products Co | Door hanger and track construction |
| CH601628A5 (de) † | 1977-03-04 | 1978-07-14 | Baumgartner Hans & Co | |
| US6352097B1 (en) † | 1999-09-10 | 2002-03-05 | Rite-Hite Holding Corporation | Multi-panel door with an auxiliary drive mechanism |
| JP2003020862A (ja) † | 2001-07-10 | 2003-01-24 | Daiken Co Ltd | 連動式重ね引戸装置 |
| EP1281655A1 (de) † | 2001-07-31 | 2003-02-05 | Novoferm GmbH | Fahrschachttür |
| DE10230799A1 (de) † | 2002-07-08 | 2004-01-29 | Novoferm Gmbh | Fahrschachttür |
| WO2007007136A1 (en) † | 2005-07-12 | 2007-01-18 | Otis Elevator Company | Supporting lintel for elevator doors with a side opening and with a reduced number of guiding tracks |
| EP2060723A2 (de) † | 2007-11-13 | 2009-05-20 | Gebr. Willach GmbH | Mehrflügelige Schiebetür |
| WO2010081567A1 (de) † | 2009-01-15 | 2010-07-22 | Hettich-Heinze Gmbh & Co. Kg | Schiebetürbeschlag für zweiflügelige schiebetür |
| EP2241709A2 (de) † | 2009-04-16 | 2010-10-20 | Klein Ibérica, S.A. | Vorrichtung zur gleichzeitigen Bewegung von Schiebetüren |
| DE202010008860U1 (de) † | 2010-10-21 | 2012-01-23 | Hücking GmbH | Beschlagsystem für Schiebetüren |
| WO2012113612A1 (de) † | 2011-02-24 | 2012-08-30 | Gebr. Willach Gmbh | Schiebetür |
| EP2636836A2 (de) † | 2012-03-09 | 2013-09-11 | GEZE GmbH | Schiebetüranordnung |
| DE202012103068U1 (de) † | 2012-08-14 | 2012-08-31 | Wittur Deutschland Holding Gmbh | Schienensystem für Aufzugsschiebetüren |
| EP2902580A1 (de) † | 2014-01-30 | 2015-08-05 | Gebr. Willach GmbH | Teleskopschiebetüranlage |
Also Published As
| Publication number | Publication date |
|---|---|
| DE102014201687B3 (de) | 2015-01-22 |
| EP3150789A1 (de) | 2017-04-05 |
| ES2652343T3 (es) | 2018-02-01 |
| EP3059372A1 (de) | 2016-08-24 |
| DE102014201687C5 (de) | 2019-03-28 |
| ES2630315T5 (es) | 2020-07-07 |
| EP3059372B1 (de) | 2017-10-04 |
| EP2902580B1 (de) | 2017-01-04 |
| EP2902580A1 (de) | 2015-08-05 |
| EP2902580B2 (de) | 2020-01-08 |
| ES2630315T3 (es) | 2017-08-21 |
| ES2652343T5 (en) | 2025-11-07 |
Similar Documents
| Publication | Publication Date | Title |
|---|---|---|
| EP3622223B1 (de) | Gargerät mit einer seilzugvorrichtung zum automatischen schwenken einer tür | |
| DE102016206301B4 (de) | Beschattungssystem für ein Kraftfahrzeug | |
| EP2250929A1 (de) | Schrankteil mit herausziehbarem Ausziehteil | |
| EP3059372B2 (de) | Teleskopschiebetüranlage | |
| WO2015155118A1 (de) | Möbel oder haushaltsgerät und beschlagseinheit für ein möbel oder ein haushaltsgerät | |
| DE69002837T2 (de) | Vorrichtung mit zwei sich auseinanderbewegenden Läden. | |
| DE202013000449U1 (de) | Falttor mit zwei oder mehreren in sich starren Faltladenelementen mit abwechselnd nicht ausknickenden und ausknickenden Elementkanten sowie Betätigungsvorrichtung hierfür | |
| DE202012010748U1 (de) | Brandschutzeinrichtung mit einem Hubtor | |
| DE102012210584B4 (de) | Schiebetüranlage | |
| DE202019002391U1 (de) | Beschlagsystem für einen verschiebbaren Flügel als Schiebeflügel oder verschiebbaren Hebe-Schiebeflügel eines Fensters oder einer Tür | |
| AT12418U1 (de) | Schwenkschiebetürsystem für fahrzeuge | |
| EP1489250B1 (de) | Tor mit Halteeinrichtung | |
| DE102016124955B4 (de) | Verriegelungsvorrichtung eines Verriegelungssystems, Verriegelungssystem sowie Schiebewandanlage | |
| DE202011005605U1 (de) | Faltbares Fensterladensystem und Führungseinrichtung für ein derartiges System | |
| DE102011077631A1 (de) | Automatische Schiebetüranlage | |
| DE102018200582B3 (de) | Teleskopschiebetürsystem | |
| EP3483374B1 (de) | Führungsschiene zum führen eines türflügels zwischen einer offenposition und einer schliessposition | |
| DE102010052374B4 (de) | Torantrieb mit Linearführung | |
| EP3152378B1 (de) | Schiebetür | |
| EP3511502B1 (de) | Schiebetürsystem mit mindestens einem türflügel | |
| DE10317011A1 (de) | Fahrzeug-Schiebetür | |
| EP3181789A1 (de) | Motorisch betätigtes tor | |
| EP1671917A1 (de) | Aufzugsanlage mit Schachttüre und Türschliessvorrichtung | |
| DE102014203774B4 (de) | Verstellvorrichtung für eine im Wesentlichen horizontal verstellbare Fahrzeugscheibe | |
| DE102014201120A1 (de) | Fahrzeug, insbesondere Schienenfahrzeug, mit Fahrzeugtür und Wasserableitelement |
Legal Events
| Date | Code | Title | Description |
|---|---|---|---|
| PUAI | Public reference made under article 153(3) epc to a published international application that has entered the european phase |
Free format text: ORIGINAL CODE: 0009012 |
|
| AC | Divisional application: reference to earlier application |
Ref document number: 2902580 Country of ref document: EP Kind code of ref document: P |
|
| AK | Designated contracting states |
Kind code of ref document: A1 Designated state(s): AL AT BE BG CH CY CZ DE DK EE ES FI FR GB GR HR HU IE IS IT LI LT LU LV MC MK MT NL NO PL PT RO RS SE SI SK SM TR |
|
| AX | Request for extension of the european patent |
Extension state: BA ME |
|
| STAA | Information on the status of an ep patent application or granted ep patent |
Free format text: STATUS: REQUEST FOR EXAMINATION WAS MADE |
|
| 17P | Request for examination filed |
Effective date: 20161215 |
|
| RBV | Designated contracting states (corrected) |
Designated state(s): AL AT BE BG CH CY CZ DE DK EE ES FI FR GB GR HR HU IE IS IT LI LT LU LV MC MK MT NL NO PL PT RO RS SE SI SK SM TR |
|
| RIC1 | Information provided on ipc code assigned before grant |
Ipc: E05F 17/00 20060101AFI20170302BHEP Ipc: E05D 15/08 20060101ALI20170302BHEP |
|
| GRAP | Despatch of communication of intention to grant a patent |
Free format text: ORIGINAL CODE: EPIDOSNIGR1 |
|
| STAA | Information on the status of an ep patent application or granted ep patent |
Free format text: STATUS: GRANT OF PATENT IS INTENDED |
|
| INTG | Intention to grant announced |
Effective date: 20170425 |
|
| GRAS | Grant fee paid |
Free format text: ORIGINAL CODE: EPIDOSNIGR3 |
|
| GRAA | (expected) grant |
Free format text: ORIGINAL CODE: 0009210 |
|
| STAA | Information on the status of an ep patent application or granted ep patent |
Free format text: STATUS: THE PATENT HAS BEEN GRANTED |
|
| AC | Divisional application: reference to earlier application |
Ref document number: 2902580 Country of ref document: EP Kind code of ref document: P |
|
| AK | Designated contracting states |
Kind code of ref document: B1 Designated state(s): AL AT BE BG CH CY CZ DE DK EE ES FI FR GB GR HR HU IE IS IT LI LT LU LV MC MK MT NL NO PL PT RO RS SE SI SK SM TR |
|
| REG | Reference to a national code |
Ref country code: GB Ref legal event code: FG4D Free format text: NOT ENGLISH |
|
| REG | Reference to a national code |
Ref country code: CH Ref legal event code: EP |
|
| REG | Reference to a national code |
Ref country code: AT Ref legal event code: REF Ref document number: 934223 Country of ref document: AT Kind code of ref document: T Effective date: 20171015 |
|
| REG | Reference to a national code |
Ref country code: IE Ref legal event code: FG4D Free format text: LANGUAGE OF EP DOCUMENT: GERMAN |
|
| REG | Reference to a national code |
Ref country code: DE Ref legal event code: R096 Ref document number: 502015002025 Country of ref document: DE |
|
| REG | Reference to a national code |
Ref country code: CH Ref legal event code: NV Representative=s name: ISLER AND PEDRAZZINI AG, CH |
|
| REG | Reference to a national code |
Ref country code: NL Ref legal event code: FP |
|
| REG | Reference to a national code |
Ref country code: FR Ref legal event code: PLFP Year of fee payment: 4 |
|
| REG | Reference to a national code |
Ref country code: ES Ref legal event code: FG2A Ref document number: 2652343 Country of ref document: ES Kind code of ref document: T3 Effective date: 20180201 |
|
| REG | Reference to a national code |
Ref country code: LT Ref legal event code: MG4D |
|
| PG25 | Lapsed in a contracting state [announced via postgrant information from national office to epo] |
Ref country code: NO Free format text: LAPSE BECAUSE OF FAILURE TO SUBMIT A TRANSLATION OF THE DESCRIPTION OR TO PAY THE FEE WITHIN THE PRESCRIBED TIME-LIMIT Effective date: 20180104 Ref country code: LT Free format text: LAPSE BECAUSE OF FAILURE TO SUBMIT A TRANSLATION OF THE DESCRIPTION OR TO PAY THE FEE WITHIN THE PRESCRIBED TIME-LIMIT Effective date: 20171004 Ref country code: SE Free format text: LAPSE BECAUSE OF FAILURE TO SUBMIT A TRANSLATION OF THE DESCRIPTION OR TO PAY THE FEE WITHIN THE PRESCRIBED TIME-LIMIT Effective date: 20171004 Ref country code: FI Free format text: LAPSE BECAUSE OF FAILURE TO SUBMIT A TRANSLATION OF THE DESCRIPTION OR TO PAY THE FEE WITHIN THE PRESCRIBED TIME-LIMIT Effective date: 20171004 |
|
| PG25 | Lapsed in a contracting state [announced via postgrant information from national office to epo] |
Ref country code: LV Free format text: LAPSE BECAUSE OF FAILURE TO SUBMIT A TRANSLATION OF THE DESCRIPTION OR TO PAY THE FEE WITHIN THE PRESCRIBED TIME-LIMIT Effective date: 20171004 Ref country code: IS Free format text: LAPSE BECAUSE OF FAILURE TO SUBMIT A TRANSLATION OF THE DESCRIPTION OR TO PAY THE FEE WITHIN THE PRESCRIBED TIME-LIMIT Effective date: 20180204 Ref country code: BG Free format text: LAPSE BECAUSE OF FAILURE TO SUBMIT A TRANSLATION OF THE DESCRIPTION OR TO PAY THE FEE WITHIN THE PRESCRIBED TIME-LIMIT Effective date: 20180104 Ref country code: RS Free format text: LAPSE BECAUSE OF FAILURE TO SUBMIT A TRANSLATION OF THE DESCRIPTION OR TO PAY THE FEE WITHIN THE PRESCRIBED TIME-LIMIT Effective date: 20171004 Ref country code: HR Free format text: LAPSE BECAUSE OF FAILURE TO SUBMIT A TRANSLATION OF THE DESCRIPTION OR TO PAY THE FEE WITHIN THE PRESCRIBED TIME-LIMIT Effective date: 20171004 Ref country code: GR Free format text: LAPSE BECAUSE OF FAILURE TO SUBMIT A TRANSLATION OF THE DESCRIPTION OR TO PAY THE FEE WITHIN THE PRESCRIBED TIME-LIMIT Effective date: 20180105 |
|
| REG | Reference to a national code |
Ref country code: DE Ref legal event code: R026 Ref document number: 502015002025 Country of ref document: DE |
|
| PLBI | Opposition filed |
Free format text: ORIGINAL CODE: 0009260 |
|
| PLAX | Notice of opposition and request to file observation + time limit sent |
Free format text: ORIGINAL CODE: EPIDOSNOBS2 |
|
| PG25 | Lapsed in a contracting state [announced via postgrant information from national office to epo] |
Ref country code: CZ Free format text: LAPSE BECAUSE OF FAILURE TO SUBMIT A TRANSLATION OF THE DESCRIPTION OR TO PAY THE FEE WITHIN THE PRESCRIBED TIME-LIMIT Effective date: 20171004 Ref country code: SK Free format text: LAPSE BECAUSE OF FAILURE TO SUBMIT A TRANSLATION OF THE DESCRIPTION OR TO PAY THE FEE WITHIN THE PRESCRIBED TIME-LIMIT Effective date: 20171004 Ref country code: EE Free format text: LAPSE BECAUSE OF FAILURE TO SUBMIT A TRANSLATION OF THE DESCRIPTION OR TO PAY THE FEE WITHIN THE PRESCRIBED TIME-LIMIT Effective date: 20171004 Ref country code: DK Free format text: LAPSE BECAUSE OF FAILURE TO SUBMIT A TRANSLATION OF THE DESCRIPTION OR TO PAY THE FEE WITHIN THE PRESCRIBED TIME-LIMIT Effective date: 20171004 |
|
| 26 | Opposition filed |
Opponent name: GEZE GMBH Effective date: 20180703 |
|
| PG25 | Lapsed in a contracting state [announced via postgrant information from national office to epo] |
Ref country code: PL Free format text: LAPSE BECAUSE OF FAILURE TO SUBMIT A TRANSLATION OF THE DESCRIPTION OR TO PAY THE FEE WITHIN THE PRESCRIBED TIME-LIMIT Effective date: 20171004 Ref country code: RO Free format text: LAPSE BECAUSE OF FAILURE TO SUBMIT A TRANSLATION OF THE DESCRIPTION OR TO PAY THE FEE WITHIN THE PRESCRIBED TIME-LIMIT Effective date: 20171004 Ref country code: SM Free format text: LAPSE BECAUSE OF FAILURE TO SUBMIT A TRANSLATION OF THE DESCRIPTION OR TO PAY THE FEE WITHIN THE PRESCRIBED TIME-LIMIT Effective date: 20171004 |
|
| PG25 | Lapsed in a contracting state [announced via postgrant information from national office to epo] |
Ref country code: MT Free format text: LAPSE BECAUSE OF FAILURE TO SUBMIT A TRANSLATION OF THE DESCRIPTION OR TO PAY THE FEE WITHIN THE PRESCRIBED TIME-LIMIT Effective date: 20171004 |
|
| PG25 | Lapsed in a contracting state [announced via postgrant information from national office to epo] |
Ref country code: LU Free format text: LAPSE BECAUSE OF NON-PAYMENT OF DUE FEES Effective date: 20180128 |
|
| REG | Reference to a national code |
Ref country code: IE Ref legal event code: MM4A |
|
| REG | Reference to a national code |
Ref country code: BE Ref legal event code: MM Effective date: 20180131 |
|
| PG25 | Lapsed in a contracting state [announced via postgrant information from national office to epo] |
Ref country code: SI Free format text: LAPSE BECAUSE OF FAILURE TO SUBMIT A TRANSLATION OF THE DESCRIPTION OR TO PAY THE FEE WITHIN THE PRESCRIBED TIME-LIMIT Effective date: 20171004 Ref country code: BE Free format text: LAPSE BECAUSE OF NON-PAYMENT OF DUE FEES Effective date: 20180131 |
|
| PLBB | Reply of patent proprietor to notice(s) of opposition received |
Free format text: ORIGINAL CODE: EPIDOSNOBS3 |
|
| PG25 | Lapsed in a contracting state [announced via postgrant information from national office to epo] |
Ref country code: IE Free format text: LAPSE BECAUSE OF NON-PAYMENT OF DUE FEES Effective date: 20180128 |
|
| PG25 | Lapsed in a contracting state [announced via postgrant information from national office to epo] |
Ref country code: MC Free format text: LAPSE BECAUSE OF FAILURE TO SUBMIT A TRANSLATION OF THE DESCRIPTION OR TO PAY THE FEE WITHIN THE PRESCRIBED TIME-LIMIT Effective date: 20171004 |
|
| PG25 | Lapsed in a contracting state [announced via postgrant information from national office to epo] |
Ref country code: TR Free format text: LAPSE BECAUSE OF FAILURE TO SUBMIT A TRANSLATION OF THE DESCRIPTION OR TO PAY THE FEE WITHIN THE PRESCRIBED TIME-LIMIT Effective date: 20171004 |
|
| PG25 | Lapsed in a contracting state [announced via postgrant information from national office to epo] |
Ref country code: PT Free format text: LAPSE BECAUSE OF FAILURE TO SUBMIT A TRANSLATION OF THE DESCRIPTION OR TO PAY THE FEE WITHIN THE PRESCRIBED TIME-LIMIT Effective date: 20171004 |
|
| PG25 | Lapsed in a contracting state [announced via postgrant information from national office to epo] |
Ref country code: HU Free format text: LAPSE BECAUSE OF FAILURE TO SUBMIT A TRANSLATION OF THE DESCRIPTION OR TO PAY THE FEE WITHIN THE PRESCRIBED TIME-LIMIT; INVALID AB INITIO Effective date: 20150128 Ref country code: CY Free format text: LAPSE BECAUSE OF FAILURE TO SUBMIT A TRANSLATION OF THE DESCRIPTION OR TO PAY THE FEE WITHIN THE PRESCRIBED TIME-LIMIT Effective date: 20171004 Ref country code: MK Free format text: LAPSE BECAUSE OF NON-PAYMENT OF DUE FEES Effective date: 20171004 |
|
| PG25 | Lapsed in a contracting state [announced via postgrant information from national office to epo] |
Ref country code: AL Free format text: LAPSE BECAUSE OF FAILURE TO SUBMIT A TRANSLATION OF THE DESCRIPTION OR TO PAY THE FEE WITHIN THE PRESCRIBED TIME-LIMIT Effective date: 20171004 |
|
| RDAF | Communication despatched that patent is revoked |
Free format text: ORIGINAL CODE: EPIDOSNREV1 |
|
| APAH | Appeal reference modified |
Free format text: ORIGINAL CODE: EPIDOSCREFNO |
|
| APBM | Appeal reference recorded |
Free format text: ORIGINAL CODE: EPIDOSNREFNO |
|
| APBP | Date of receipt of notice of appeal recorded |
Free format text: ORIGINAL CODE: EPIDOSNNOA2O |
|
| APBQ | Date of receipt of statement of grounds of appeal recorded |
Free format text: ORIGINAL CODE: EPIDOSNNOA3O |
|
| P01 | Opt-out of the competence of the unified patent court (upc) registered |
Effective date: 20230427 |
|
| APBU | Appeal procedure closed |
Free format text: ORIGINAL CODE: EPIDOSNNOA9O |
|
| PLAY | Examination report in opposition despatched + time limit |
Free format text: ORIGINAL CODE: EPIDOSNORE2 |
|
| PLBC | Reply to examination report in opposition received |
Free format text: ORIGINAL CODE: EPIDOSNORE3 |
|
| PLAY | Examination report in opposition despatched + time limit |
Free format text: ORIGINAL CODE: EPIDOSNORE2 |
|
| PGFP | Annual fee paid to national office [announced via postgrant information from national office to epo] |
Ref country code: NL Payment date: 20250122 Year of fee payment: 11 |
|
| PGFP | Annual fee paid to national office [announced via postgrant information from national office to epo] |
Ref country code: DE Payment date: 20250129 Year of fee payment: 11 |
|
| PGFP | Annual fee paid to national office [announced via postgrant information from national office to epo] |
Ref country code: ES Payment date: 20250214 Year of fee payment: 11 |
|
| PGFP | Annual fee paid to national office [announced via postgrant information from national office to epo] |
Ref country code: CH Payment date: 20250201 Year of fee payment: 11 Ref country code: AT Payment date: 20250120 Year of fee payment: 11 |
|
| PGFP | Annual fee paid to national office [announced via postgrant information from national office to epo] |
Ref country code: FR Payment date: 20250122 Year of fee payment: 11 |
|
| PGFP | Annual fee paid to national office [announced via postgrant information from national office to epo] |
Ref country code: IT Payment date: 20250131 Year of fee payment: 11 Ref country code: GB Payment date: 20250123 Year of fee payment: 11 |
|
| PUAH | Patent maintained in amended form |
Free format text: ORIGINAL CODE: 0009272 |
|
| STAA | Information on the status of an ep patent application or granted ep patent |
Free format text: STATUS: PATENT MAINTAINED AS AMENDED |
|
| 27A | Patent maintained in amended form |
Effective date: 20250702 |
|
| AK | Designated contracting states |
Kind code of ref document: B2 Designated state(s): AL AT BE BG CH CY CZ DE DK EE ES FI FR GB GR HR HU IE IS IT LI LT LU LV MC MK MT NL NO PL PT RO RS SE SI SK SM TR |
|
| REG | Reference to a national code |
Ref country code: DE Ref legal event code: R102 Ref document number: 502015002025 Country of ref document: DE |
|
| REG | Reference to a national code |
Ref country code: NL Ref legal event code: FP |
|
| REG | Reference to a national code |
Ref country code: ES Ref legal event code: DC2A Ref document number: 2652343 Country of ref document: ES Kind code of ref document: T5 Effective date: 20251107 |
|
| REG | Reference to a national code |
Ref country code: CH Ref legal event code: U11 Free format text: ST27 STATUS EVENT CODE: U-0-0-U10-U11 (AS PROVIDED BY THE NATIONAL OFFICE) Effective date: 20260201 |