EP2393417B1 - Analyte sensor - Google Patents
Analyte sensor Download PDFInfo
- Publication number
- EP2393417B1 EP2393417B1 EP10739015.5A EP10739015A EP2393417B1 EP 2393417 B1 EP2393417 B1 EP 2393417B1 EP 10739015 A EP10739015 A EP 10739015A EP 2393417 B1 EP2393417 B1 EP 2393417B1
- Authority
- EP
- European Patent Office
- Prior art keywords
- sensor
- sharp
- analyte
- distal
- section
- Prior art date
- Legal status (The legal status is an assumption and is not a legal conclusion. Google has not performed a legal analysis and makes no representation as to the accuracy of the status listed.)
- Active
Links
Images
Classifications
-
- A—HUMAN NECESSITIES
- A61—MEDICAL OR VETERINARY SCIENCE; HYGIENE
- A61B—DIAGNOSIS; SURGERY; IDENTIFICATION
- A61B5/00—Measuring for diagnostic purposes; Identification of persons
- A61B5/145—Measuring characteristics of blood in vivo, e.g. gas concentration or pH-value ; Measuring characteristics of body fluids or tissues, e.g. interstitial fluid or cerebral tissue
- A61B5/1468—Measuring characteristics of blood in vivo, e.g. gas concentration or pH-value ; Measuring characteristics of body fluids or tissues, e.g. interstitial fluid or cerebral tissue using chemical or electrochemical methods, e.g. by polarographic means
- A61B5/1486—Measuring characteristics of blood in vivo, e.g. gas concentration or pH-value ; Measuring characteristics of body fluids or tissues, e.g. interstitial fluid or cerebral tissue using chemical or electrochemical methods, e.g. by polarographic means using enzyme electrodes, e.g. with immobilised oxidase
- A61B5/14865—Measuring characteristics of blood in vivo, e.g. gas concentration or pH-value ; Measuring characteristics of body fluids or tissues, e.g. interstitial fluid or cerebral tissue using chemical or electrochemical methods, e.g. by polarographic means using enzyme electrodes, e.g. with immobilised oxidase invasive, e.g. introduced into the body by a catheter or needle or using implanted sensors
-
- A—HUMAN NECESSITIES
- A61—MEDICAL OR VETERINARY SCIENCE; HYGIENE
- A61B—DIAGNOSIS; SURGERY; IDENTIFICATION
- A61B5/00—Measuring for diagnostic purposes; Identification of persons
- A61B5/0002—Remote monitoring of patients using telemetry, e.g. transmission of vital signals via a communication network
- A61B5/0004—Remote monitoring of patients using telemetry, e.g. transmission of vital signals via a communication network characterised by the type of physiological signal transmitted
-
- A—HUMAN NECESSITIES
- A61—MEDICAL OR VETERINARY SCIENCE; HYGIENE
- A61B—DIAGNOSIS; SURGERY; IDENTIFICATION
- A61B5/00—Measuring for diagnostic purposes; Identification of persons
- A61B5/0002—Remote monitoring of patients using telemetry, e.g. transmission of vital signals via a communication network
- A61B5/0015—Remote monitoring of patients using telemetry, e.g. transmission of vital signals via a communication network characterised by features of the telemetry system
- A61B5/002—Monitoring the patient using a local or closed circuit, e.g. in a room or building
-
- A—HUMAN NECESSITIES
- A61—MEDICAL OR VETERINARY SCIENCE; HYGIENE
- A61B—DIAGNOSIS; SURGERY; IDENTIFICATION
- A61B5/00—Measuring for diagnostic purposes; Identification of persons
- A61B5/0002—Remote monitoring of patients using telemetry, e.g. transmission of vital signals via a communication network
- A61B5/0015—Remote monitoring of patients using telemetry, e.g. transmission of vital signals via a communication network characterised by features of the telemetry system
- A61B5/0022—Monitoring a patient using a global network, e.g. telephone networks, internet
-
- A—HUMAN NECESSITIES
- A61—MEDICAL OR VETERINARY SCIENCE; HYGIENE
- A61B—DIAGNOSIS; SURGERY; IDENTIFICATION
- A61B5/00—Measuring for diagnostic purposes; Identification of persons
- A61B5/0002—Remote monitoring of patients using telemetry, e.g. transmission of vital signals via a communication network
- A61B5/0015—Remote monitoring of patients using telemetry, e.g. transmission of vital signals via a communication network characterised by features of the telemetry system
- A61B5/0024—Remote monitoring of patients using telemetry, e.g. transmission of vital signals via a communication network characterised by features of the telemetry system for multiple sensor units attached to the patient, e.g. using a body or personal area network
-
- A—HUMAN NECESSITIES
- A61—MEDICAL OR VETERINARY SCIENCE; HYGIENE
- A61B—DIAGNOSIS; SURGERY; IDENTIFICATION
- A61B5/00—Measuring for diagnostic purposes; Identification of persons
- A61B5/02—Detecting, measuring or recording for evaluating the cardiovascular system, e.g. pulse, heart rate, blood pressure or blood flow
- A61B5/0205—Simultaneously evaluating both cardiovascular conditions and different types of body conditions, e.g. heart and respiratory condition
- A61B5/02055—Simultaneously evaluating both cardiovascular condition and temperature
-
- A—HUMAN NECESSITIES
- A61—MEDICAL OR VETERINARY SCIENCE; HYGIENE
- A61B—DIAGNOSIS; SURGERY; IDENTIFICATION
- A61B5/00—Measuring for diagnostic purposes; Identification of persons
- A61B5/145—Measuring characteristics of blood in vivo, e.g. gas concentration or pH-value ; Measuring characteristics of body fluids or tissues, e.g. interstitial fluid or cerebral tissue
- A61B5/14503—Measuring characteristics of blood in vivo, e.g. gas concentration or pH-value ; Measuring characteristics of body fluids or tissues, e.g. interstitial fluid or cerebral tissue invasive, e.g. introduced into the body by a catheter or needle or using implanted sensors
-
- A—HUMAN NECESSITIES
- A61—MEDICAL OR VETERINARY SCIENCE; HYGIENE
- A61B—DIAGNOSIS; SURGERY; IDENTIFICATION
- A61B5/00—Measuring for diagnostic purposes; Identification of persons
- A61B5/145—Measuring characteristics of blood in vivo, e.g. gas concentration or pH-value ; Measuring characteristics of body fluids or tissues, e.g. interstitial fluid or cerebral tissue
- A61B5/14532—Measuring characteristics of blood in vivo, e.g. gas concentration or pH-value ; Measuring characteristics of body fluids or tissues, e.g. interstitial fluid or cerebral tissue for measuring glucose, e.g. by tissue impedance measurement
-
- A—HUMAN NECESSITIES
- A61—MEDICAL OR VETERINARY SCIENCE; HYGIENE
- A61B—DIAGNOSIS; SURGERY; IDENTIFICATION
- A61B5/00—Measuring for diagnostic purposes; Identification of persons
- A61B5/68—Arrangements of detecting, measuring or recording means, e.g. sensors, in relation to patient
- A61B5/6846—Arrangements of detecting, measuring or recording means, e.g. sensors, in relation to patient specially adapted to be brought in contact with an internal body part, i.e. invasive
- A61B5/6847—Arrangements of detecting, measuring or recording means, e.g. sensors, in relation to patient specially adapted to be brought in contact with an internal body part, i.e. invasive mounted on an invasive device
- A61B5/6848—Needles
- A61B5/6849—Needles in combination with a needle set
-
- A—HUMAN NECESSITIES
- A61—MEDICAL OR VETERINARY SCIENCE; HYGIENE
- A61B—DIAGNOSIS; SURGERY; IDENTIFICATION
- A61B5/00—Measuring for diagnostic purposes; Identification of persons
- A61B5/68—Arrangements of detecting, measuring or recording means, e.g. sensors, in relation to patient
- A61B5/6887—Arrangements of detecting, measuring or recording means, e.g. sensors, in relation to patient mounted on external non-worn devices, e.g. non-medical devices
- A61B5/6898—Portable consumer electronic devices, e.g. music players, telephones, tablet computers
-
- A—HUMAN NECESSITIES
- A61—MEDICAL OR VETERINARY SCIENCE; HYGIENE
- A61B—DIAGNOSIS; SURGERY; IDENTIFICATION
- A61B5/00—Measuring for diagnostic purposes; Identification of persons
- A61B5/72—Signal processing specially adapted for physiological signals or for diagnostic purposes
-
- A—HUMAN NECESSITIES
- A61—MEDICAL OR VETERINARY SCIENCE; HYGIENE
- A61B—DIAGNOSIS; SURGERY; IDENTIFICATION
- A61B5/00—Measuring for diagnostic purposes; Identification of persons
- A61B5/74—Details of notification to user or communication with user or patient; User input means
- A61B5/7405—Details of notification to user or communication with user or patient; User input means using sound
-
- A—HUMAN NECESSITIES
- A61—MEDICAL OR VETERINARY SCIENCE; HYGIENE
- A61B—DIAGNOSIS; SURGERY; IDENTIFICATION
- A61B5/00—Measuring for diagnostic purposes; Identification of persons
- A61B5/74—Details of notification to user or communication with user or patient; User input means
- A61B5/742—Details of notification to user or communication with user or patient; User input means using visual displays
-
- A—HUMAN NECESSITIES
- A61—MEDICAL OR VETERINARY SCIENCE; HYGIENE
- A61B—DIAGNOSIS; SURGERY; IDENTIFICATION
- A61B5/00—Measuring for diagnostic purposes; Identification of persons
- A61B5/74—Details of notification to user or communication with user or patient; User input means
- A61B5/742—Details of notification to user or communication with user or patient; User input means using visual displays
- A61B5/7425—Displaying combinations of multiple images regardless of image source, e.g. displaying a reference anatomical image with a live image
-
- A—HUMAN NECESSITIES
- A61—MEDICAL OR VETERINARY SCIENCE; HYGIENE
- A61B—DIAGNOSIS; SURGERY; IDENTIFICATION
- A61B5/00—Measuring for diagnostic purposes; Identification of persons
- A61B5/74—Details of notification to user or communication with user or patient; User input means
- A61B5/7455—Details of notification to user or communication with user or patient; User input means characterised by tactile indication, e.g. vibration or electrical stimulation
-
- A—HUMAN NECESSITIES
- A61—MEDICAL OR VETERINARY SCIENCE; HYGIENE
- A61M—DEVICES FOR INTRODUCING MEDIA INTO, OR ONTO, THE BODY; DEVICES FOR TRANSDUCING BODY MEDIA OR FOR TAKING MEDIA FROM THE BODY; DEVICES FOR PRODUCING OR ENDING SLEEP OR STUPOR
- A61M5/00—Devices for bringing media into the body in a subcutaneous, intra-vascular or intramuscular way; Accessories therefor, e.g. filling or cleaning devices, arm-rests
- A61M5/14—Infusion devices, e.g. infusing by gravity; Blood infusion; Accessories therefor
- A61M5/158—Needles for infusions; Accessories therefor, e.g. for inserting infusion needles, or for holding them on the body
-
- A—HUMAN NECESSITIES
- A61—MEDICAL OR VETERINARY SCIENCE; HYGIENE
- A61M—DEVICES FOR INTRODUCING MEDIA INTO, OR ONTO, THE BODY; DEVICES FOR TRANSDUCING BODY MEDIA OR FOR TAKING MEDIA FROM THE BODY; DEVICES FOR PRODUCING OR ENDING SLEEP OR STUPOR
- A61M5/00—Devices for bringing media into the body in a subcutaneous, intra-vascular or intramuscular way; Accessories therefor, e.g. filling or cleaning devices, arm-rests
- A61M5/14—Infusion devices, e.g. infusing by gravity; Blood infusion; Accessories therefor
- A61M5/168—Means for controlling media flow to the body or for metering media to the body, e.g. drip meters, counters ; Monitoring media flow to the body
- A61M5/172—Means for controlling media flow to the body or for metering media to the body, e.g. drip meters, counters ; Monitoring media flow to the body electrical or electronic
- A61M5/1723—Means for controlling media flow to the body or for metering media to the body, e.g. drip meters, counters ; Monitoring media flow to the body electrical or electronic using feedback of body parameters, e.g. blood-sugar, pressure
-
- C—CHEMISTRY; METALLURGY
- C12—BIOCHEMISTRY; BEER; SPIRITS; WINE; VINEGAR; MICROBIOLOGY; ENZYMOLOGY; MUTATION OR GENETIC ENGINEERING
- C12Q—MEASURING OR TESTING PROCESSES INVOLVING ENZYMES, NUCLEIC ACIDS OR MICROORGANISMS; COMPOSITIONS OR TEST PAPERS THEREFOR; PROCESSES OF PREPARING SUCH COMPOSITIONS; CONDITION-RESPONSIVE CONTROL IN MICROBIOLOGICAL OR ENZYMOLOGICAL PROCESSES
- C12Q1/00—Measuring or testing processes involving enzymes, nucleic acids or microorganisms; Compositions therefor; Processes of preparing such compositions
- C12Q1/001—Enzyme electrodes
-
- C—CHEMISTRY; METALLURGY
- C12—BIOCHEMISTRY; BEER; SPIRITS; WINE; VINEGAR; MICROBIOLOGY; ENZYMOLOGY; MUTATION OR GENETIC ENGINEERING
- C12Q—MEASURING OR TESTING PROCESSES INVOLVING ENZYMES, NUCLEIC ACIDS OR MICROORGANISMS; COMPOSITIONS OR TEST PAPERS THEREFOR; PROCESSES OF PREPARING SUCH COMPOSITIONS; CONDITION-RESPONSIVE CONTROL IN MICROBIOLOGICAL OR ENZYMOLOGICAL PROCESSES
- C12Q1/00—Measuring or testing processes involving enzymes, nucleic acids or microorganisms; Compositions therefor; Processes of preparing such compositions
- C12Q1/001—Enzyme electrodes
- C12Q1/005—Enzyme electrodes involving specific analytes or enzymes
- C12Q1/006—Enzyme electrodes involving specific analytes or enzymes for glucose
-
- G—PHYSICS
- G06—COMPUTING OR CALCULATING; COUNTING
- G06K—GRAPHICAL DATA READING; PRESENTATION OF DATA; RECORD CARRIERS; HANDLING RECORD CARRIERS
- G06K7/00—Methods or arrangements for sensing record carriers, e.g. for reading patterns
- G06K7/10—Methods or arrangements for sensing record carriers, e.g. for reading patterns by electromagnetic radiation, e.g. optical sensing; by corpuscular radiation
- G06K7/10009—Methods or arrangements for sensing record carriers, e.g. for reading patterns by electromagnetic radiation, e.g. optical sensing; by corpuscular radiation sensing by radiation using wavelengths larger than 0.1 mm, e.g. radio-waves or microwaves
- G06K7/10366—Methods or arrangements for sensing record carriers, e.g. for reading patterns by electromagnetic radiation, e.g. optical sensing; by corpuscular radiation sensing by radiation using wavelengths larger than 0.1 mm, e.g. radio-waves or microwaves the interrogation device being adapted for miscellaneous applications
-
- H—ELECTRICITY
- H04—ELECTRIC COMMUNICATION TECHNIQUE
- H04L—TRANSMISSION OF DIGITAL INFORMATION, e.g. TELEGRAPHIC COMMUNICATION
- H04L67/00—Network arrangements or protocols for supporting network services or applications
- H04L67/01—Protocols
- H04L67/12—Protocols specially adapted for proprietary or special-purpose networking environments, e.g. medical networks, sensor networks, networks in vehicles or remote metering networks
-
- A—HUMAN NECESSITIES
- A61—MEDICAL OR VETERINARY SCIENCE; HYGIENE
- A61B—DIAGNOSIS; SURGERY; IDENTIFICATION
- A61B2560/00—Constructional details of operational features of apparatus; Accessories for medical measuring apparatus
- A61B2560/02—Operational features
- A61B2560/0204—Operational features of power management
- A61B2560/0214—Operational features of power management of power generation or supply
-
- A—HUMAN NECESSITIES
- A61—MEDICAL OR VETERINARY SCIENCE; HYGIENE
- A61B—DIAGNOSIS; SURGERY; IDENTIFICATION
- A61B2560/00—Constructional details of operational features of apparatus; Accessories for medical measuring apparatus
- A61B2560/04—Constructional details of apparatus
- A61B2560/0406—Constructional details of apparatus specially shaped apparatus housings
- A61B2560/0412—Low-profile patch shaped housings
-
- A—HUMAN NECESSITIES
- A61—MEDICAL OR VETERINARY SCIENCE; HYGIENE
- A61B—DIAGNOSIS; SURGERY; IDENTIFICATION
- A61B2560/00—Constructional details of operational features of apparatus; Accessories for medical measuring apparatus
- A61B2560/04—Constructional details of apparatus
- A61B2560/0475—Special features of memory means, e.g. removable memory cards
-
- A—HUMAN NECESSITIES
- A61—MEDICAL OR VETERINARY SCIENCE; HYGIENE
- A61B—DIAGNOSIS; SURGERY; IDENTIFICATION
- A61B2560/00—Constructional details of operational features of apparatus; Accessories for medical measuring apparatus
- A61B2560/04—Constructional details of apparatus
- A61B2560/0487—Special user inputs or interfaces
-
- A—HUMAN NECESSITIES
- A61—MEDICAL OR VETERINARY SCIENCE; HYGIENE
- A61B—DIAGNOSIS; SURGERY; IDENTIFICATION
- A61B2562/00—Details of sensors; Constructional details of sensor housings or probes; Accessories for sensors
- A61B2562/02—Details of sensors specially adapted for in-vivo measurements
- A61B2562/0295—Strip shaped analyte sensors for apparatus classified in A61B5/145 or A61B5/157
-
- A—HUMAN NECESSITIES
- A61—MEDICAL OR VETERINARY SCIENCE; HYGIENE
- A61B—DIAGNOSIS; SURGERY; IDENTIFICATION
- A61B2562/00—Details of sensors; Constructional details of sensor housings or probes; Accessories for sensors
- A61B2562/16—Details of sensor housings or probes; Details of structural supports for sensors
-
- A—HUMAN NECESSITIES
- A61—MEDICAL OR VETERINARY SCIENCE; HYGIENE
- A61M—DEVICES FOR INTRODUCING MEDIA INTO, OR ONTO, THE BODY; DEVICES FOR TRANSDUCING BODY MEDIA OR FOR TAKING MEDIA FROM THE BODY; DEVICES FOR PRODUCING OR ENDING SLEEP OR STUPOR
- A61M5/00—Devices for bringing media into the body in a subcutaneous, intra-vascular or intramuscular way; Accessories therefor, e.g. filling or cleaning devices, arm-rests
- A61M5/14—Infusion devices, e.g. infusing by gravity; Blood infusion; Accessories therefor
- A61M5/168—Means for controlling media flow to the body or for metering media to the body, e.g. drip meters, counters ; Monitoring media flow to the body
- A61M5/172—Means for controlling media flow to the body or for metering media to the body, e.g. drip meters, counters ; Monitoring media flow to the body electrical or electronic
- A61M5/1723—Means for controlling media flow to the body or for metering media to the body, e.g. drip meters, counters ; Monitoring media flow to the body electrical or electronic using feedback of body parameters, e.g. blood-sugar, pressure
- A61M2005/1726—Means for controlling media flow to the body or for metering media to the body, e.g. drip meters, counters ; Monitoring media flow to the body electrical or electronic using feedback of body parameters, e.g. blood-sugar, pressure the body parameters being measured at, or proximate to, the infusion site
-
- A—HUMAN NECESSITIES
- A61—MEDICAL OR VETERINARY SCIENCE; HYGIENE
- A61M—DEVICES FOR INTRODUCING MEDIA INTO, OR ONTO, THE BODY; DEVICES FOR TRANSDUCING BODY MEDIA OR FOR TAKING MEDIA FROM THE BODY; DEVICES FOR PRODUCING OR ENDING SLEEP OR STUPOR
- A61M2205/00—General characteristics of the apparatus
- A61M2205/33—Controlling, regulating or measuring
-
- A—HUMAN NECESSITIES
- A61—MEDICAL OR VETERINARY SCIENCE; HYGIENE
- A61M—DEVICES FOR INTRODUCING MEDIA INTO, OR ONTO, THE BODY; DEVICES FOR TRANSDUCING BODY MEDIA OR FOR TAKING MEDIA FROM THE BODY; DEVICES FOR PRODUCING OR ENDING SLEEP OR STUPOR
- A61M2205/00—General characteristics of the apparatus
- A61M2205/35—Communication
- A61M2205/3576—Communication with non implanted data transmission devices, e.g. using external transmitter or receiver
- A61M2205/3584—Communication with non implanted data transmission devices, e.g. using external transmitter or receiver using modem, internet or bluetooth
-
- A—HUMAN NECESSITIES
- A61—MEDICAL OR VETERINARY SCIENCE; HYGIENE
- A61M—DEVICES FOR INTRODUCING MEDIA INTO, OR ONTO, THE BODY; DEVICES FOR TRANSDUCING BODY MEDIA OR FOR TAKING MEDIA FROM THE BODY; DEVICES FOR PRODUCING OR ENDING SLEEP OR STUPOR
- A61M2205/00—General characteristics of the apparatus
- A61M2205/50—General characteristics of the apparatus with microprocessors or computers
- A61M2205/502—User interfaces, e.g. screens or keyboards
-
- A—HUMAN NECESSITIES
- A61—MEDICAL OR VETERINARY SCIENCE; HYGIENE
- A61M—DEVICES FOR INTRODUCING MEDIA INTO, OR ONTO, THE BODY; DEVICES FOR TRANSDUCING BODY MEDIA OR FOR TAKING MEDIA FROM THE BODY; DEVICES FOR PRODUCING OR ENDING SLEEP OR STUPOR
- A61M2230/00—Measuring parameters of the user
- A61M2230/20—Blood composition characteristics
- A61M2230/201—Glucose concentration
-
- A—HUMAN NECESSITIES
- A61—MEDICAL OR VETERINARY SCIENCE; HYGIENE
- A61M—DEVICES FOR INTRODUCING MEDIA INTO, OR ONTO, THE BODY; DEVICES FOR TRANSDUCING BODY MEDIA OR FOR TAKING MEDIA FROM THE BODY; DEVICES FOR PRODUCING OR ENDING SLEEP OR STUPOR
- A61M5/00—Devices for bringing media into the body in a subcutaneous, intra-vascular or intramuscular way; Accessories therefor, e.g. filling or cleaning devices, arm-rests
- A61M5/178—Syringes
- A61M5/31—Details
- A61M5/32—Needles; Details of needles pertaining to their connection with syringe or hub; Accessories for bringing the needle into, or holding the needle on, the body; Devices for protection of needles
- A61M5/3286—Needle tip design, e.g. for improved penetration
Definitions
- the present invention relates generally to an analyte sensor.
- Diabetes Mellitus is an incurable chronic disease in which the body does not produce or properly utilize insulin.
- Insulin is a hormone produced by the pancreas that regulates blood sugar (glucose).
- glucose blood sugar
- the pancreas does not produce sufficient insulin (a condition known as Type 1 Diabetes) or does not properly utilize insulin (a condition known as Type II Diabetes)
- the blood glucose remains in the blood resulting in hyperglycemia or abnormally high blood sugar levels.
- diabetes The vast and uncontrolled fluctuations in blood glucose levels in people suffering from diabetes cause long-term, serious complications. Some of these complications include blindness, kidney failure, and nerve damage. Additionally, it is known that diabetes is a factor in accelerating cardiovascular diseases such as atherosclerosis (hardening of the arteries), leading to stroke, coronary heart disease, and other diseases. Accordingly, one important and universal strategy in managing diabetes is to control blood glucose levels.
- One way to manage blood glucose levels is testing and monitoring blood glucose levels by using conventional in vitro techniques, such as drawing blood samples, applying the blood to a test strip, and determining the blood glucose level using colorimetric, electrochemical, or photometric test meters.
- Another more recent technique for monitoring blood glucose levels is by using an in vivo glucose monitoring system, that continuously or automatically tests glucose, such as for example, the FreeStyle Navigator® Continuous Glucose Monitoring System, manufactured by Abbott Diabetes Care, Inc.
- continuous analyte monitoring systems employ an insertable or implantable sensor, which detects and monitors blood glucose levels. Prior to each use of a new sensor, the user self implants at least a portion of the sensor under his/her skin.
- an inserter assembly is employed to insert the sensor in the body of the user.
- an introducer sharp while engaged to the sensor, pierces an opening into the skin of the user, releases the sensor and is removed from the body of the user.
- WO-A-2007/089738 discloses an implantable microelectrode.
- US-A-2007/0038044 discloses an analyte sensor for transcutaneous measurement of glucose.
- US 5390671 discloses a transcutaneous glucose sensor.
- an analyte sensor as claimed in claim 1.
- Sensor assemblies that include a medical device, such as an analyte sensor (e.g., a glucose sensor) and optionally an infusion device, and a device to position at least a portion of the medical device beneath a skin surface of a user are provided, as well as methods of positioning at least a portion of a medical device such as an analyte sensor (e.g., a glucose sensor) and optionally an infusion device beneath a skin surface of a user, and methods of analyte testing are described.
- Senor assembly embodiments include a mount adapted to adhere to a skin of a subject; an analyte sensor coupled to the mount, and an insertion sharp having a longitudinal body including a longitudinal opening to receive at least a portion of the sensor body.
- the sensor comprises a body having a proximal section and a distal section, and the distal section is longitudinally aligned with the proximal section.
- the sensor comprises an intermediate section.
- the intermediate section is laterally displaced from the distal section, and a notch is defined between the laterally displaced intermediate section and the proximal section,
- the sensor is integrated with the mount to define an on-body device such as a single unit on-body device.
- the distal section of the sensor body is received in the longitudinally defined opening of the insertion sharp.
- a gap may be defined between the distal section and the laterally displaced intermediate section, which allows the distal section, in some embodiments a substantial portion - including the entirety of the distal section, to be received in the longitudinal opening of the insertion needle.
- the intermediate section and the proximal section may be proximate the distal section received in the insertion needle.
- the proximal section of the sensor body is in communication with conductive material disposed on the mount.
- the conductive material disposed on the mount may define a printed circuit board.
- the proximal section of the sensor may be disposed in a horizontal plane, and the distal section of the sensor body may be disposed in a vertical plane.
- the sensor is a transcutaneous sensor.
- the sensor is configured for implantation in a soft tissue of a user.
- the sensor is a glucose sensor.
- Embodiments include sensor assemblies which include a sensor comprising a portion for operative contact with a fluid of the subject; a mount defining a distal surface adapted for attachment to the skin of a subject and housing a circuit coupled to sensor for performing a function with the sensor; and a switch at least partially disposed in the mount comprising a member having a first position which protrudes from the distal surface of the mount and a second position which is recessed in the mount, the member configured to activate the circuit when in the second position.
- the member is biased in the first position.
- the member may comprise an elongated member disposed in an opening in the mount.
- the member is moved from the first position to the second position when the mount contacts the skin of the subject.
- an adhesive layer is disposed on the skin of the subject, and wherein the member is moved from the first position to the second position when the mount contacts the adhesive layer.
- the switch activates the circuit upon the member reaching the second position. In some embodiments, the switch activates the circuit as long as the member is maintained in the second position. In some embodiments, the sensor is a glucose sensor.
- the circuit applies a potential to the sensor. In some embodiments, the circuit applies a current to the sensor.
- a monitor unit is provided to receive information from the sensor/on-body unit.
- the system is configured for communication (wired or wirelessly) between the on-body unit and a monitor unit, e.g., using radio frequency communication or other protocol.
- the communication between the two units may be active or passive.
- the on-body unit circuit includes communication components for wired or wireless transmission of signal relating to analyte level monitored by the sensor to the monitor unit.
- RFID components may be included in the on-body unit and monitor unit to enable RFID communication, in which the on-body unit provides data communication to the monitor unit in response to one or more commands or data communication received from the monitor unit.
- the transmitter transmits a signal to the receiver automatically, e.g., continuously or in certain embodiments only periodically such as according to a predetermined schedule.
- the on-body unit may transmit signal to the receiver only in response to a request for the data, e.g., received from the monitor unit or otherwise initiated by the user ( e.g., activation of a switch on the receiver or on-body unit to initiate data transfer).
- a memory is provided, and the circuit stores a signal relating an analyte level provided by the sensor to the memory.
- the sensor is a glucose sensor.
- Embodiments include apparatuses for inserting medical devices through the skin of a subject.
- An insertion apparatus may include a sheath defining a distal surface for placement on the skin of the subject; a handle movable between a proximal position and distal position relative to the sheath; a device support for supporting the medical device and defining an aperture therethrough; a sharp support for supporting a sharp extending through said aperture and coupled to the handle; and driver for biasing the handle and the sharp support towards the proximal position.
- the driver comprises a compression member such as a compression spring.
- the handle is at least partially disposed within the sheath. In some embodiments, the handle is at least partially disposed surrounding the sheath. In some embodiments, a bellows portion is provided which is disposed between the handle and the sheath.
- the sharp support is permanently fixed to the handle. In some embodiments, the device support is permanently affixed to the handle.
- a stop portion for retaining the device support in the distal position is included.
- the device support is coupled to the sharp support until the device support reaches a distal position.
- the device support is uncoupled from the sharp support when the device support reaches the distal position.
- a retention member is provided to couple the sharp support to the sheath when the sharp support is disposed in the proximal position.
- the medical device is an analyte sensor. In some embodiments, the medical device is a glucose sensor. In some embodiments, the medical device is an infusion set.
- apparatuses for inserting a medical device through the skin of a subject which include a sheath defining a distal surface for placement on the skin of the subject; a handle movable between a proximal position and distal position; a device support for supporting the medical device and defining an aperture therethrough, the device support coupled to the handle; a sharp support for supporting a sharp extending through said aperture and coupled to the device support; and driver for biasing the sharp support towards the proximal position.
- the driver comprises a compression spring.
- the handle is at least partially disposed surrounding the sheath.
- a stop portion for retaining the device support in the distal position is included.
- the device support is coupled to the handle until the device support reaches a distal position. In some embodiments, the device support is uncoupled from the sharp support when the device support reaches the distal position.
- Embodiments of analyte sensors include a body having a proximal section and a distal section.
- the distal section is longitudinally aligned with the proximal section.
- An intermediate section is included between the proximal and distal sections, and the intermediate section is laterally displaced from the distal member.
- a notch is defined between the laterally displaced intermediate section and the proximal section.
- the proximal end is received within a needle seat to create an anchor region to allow the sensor body to slide into an opening defined in the insertion sharp but prevent the sensor body from inadvertently slipping out of the insertion needle.
- a width of the distal section of the sensor body is sized to fit within the opening of the insertion sharp having a diameter less than about 0.64 to about 0.51 mm (about 22 to about 24 gauge).
- the intermediate member includes a plane-altering portion.
- the plane-altering portion allows the proximal section of the sensor body to be in a plane different than the distal section of the sensor body.
- the proximal section and the distal section are in planes substantially perpendicular to each other, e.g., the area may define an angle of about 120° to about 60°, e.g., about 90 degrees.
- the proximal section has a curved portion.
- the sensor body includes conductive material disposed in or on a surface thereto to define one or more electrodes.
- the sensor body may include conductive material defining traces disposed in or on a surface of the sensor body.
- the traces are in communication with the one or more electrodes.
- the traces may be disposed in or on at least surface of the proximal section of the sensor body.
- the one or more electrodes may be disposed on the distal section of the sensor body.
- At least one of the traces or electrodes may include a metal or carbon material such as gold, platinum, titanium and carbon.
- At least one of the traces or electrodes may be formed by ablation of material. The ablation may include laser ablation.
- the senor comprises a sensing layer.
- the sensing layer may comprise an enzyme.
- the sensing layer may comprise an electron transfer agent.
- the electron transfer agent may be a redox mediator.
- the electron transfer agent includes osmium transition metal complexes and one or more ligands.
- the electron transfer agent may be configured to transfer electrons directly between the analyte and the working electrode.
- the electron transfer agent may be configured to transfer electrons indirectly between the analyte and the working electrode.
- the sensing layer comprises a redox polymer.
- the redox polymer may include osmium.
- the sensing layer may include a catalyst.
- the catalyst may include an enzyme.
- the catalyst may act as an electron transfer agent.
- the enzyme includes glucose oxidase.
- the enzyme includes glucose dehydrogenase.
- the sensing layer is configured such that the reaction of glucose in the presence of an enzyme forms hydrogen peroxide, and glucose level may be correlated to the level of hydrogen peroxide.
- the sensor is a subcutaneous sensor.
- Certain classes of analyte monitors are provided in small, lightweight, battery-powered and electronically-controlled systems. Such a system may be configured to detect signals indicative of in vivo analyte levels using an electrochemical sensor, and collect such signals, with or without processing the signal. In some embodiments, the portion of the system that performs this initial processing may be configured to provide the raw or initially processed data to another unit for further collection and/or processing. Such provision of data may be effected, for example, via a wired connection, such as an electrical, or via a wireless connection, such as an IR or RF connection.
- Certain analyte monitoring systems for in vivo measurement employ a sensor that measures analyte levels in interstitial fluids under the surface of the subject's skin. These may be inserted partially through the skin ("transcutaneous") or entirely under the skin (“subcutaneous”).
- a sensor in such a system may operate as an electrochemical cell.
- Such a sensor may use any of a variety of electrode configurations, such as a three-electrode configuration (e.g., with “working”, “reference” and “counter” electrodes), driven by a controlled potential (potentiostat) analog circuit, a two-electrode system configuration (e.g., with only working and counter electrodes), which may be self-biasing and/or self-powered, and/or other configurations.
- the sensor may be positioned within a blood vessel.
- the analyte sensor is in communication with a sensor control unit.
- a sensor control unit sometimes refers to such a combination of an analyte sensor with such a sensor control unit.
- the on-body unit may be separately provided as a physically distinct assembly, and configured to provide the analyte levels detected by the sensor over a communication link to a monitor unit, referred to in this disclosure as a “receiver unit” or “receiver device”, or in some contexts, depending on the usage, as a “display unit,” “handheld unit,” or “meter”.
- the monitor unit in some embodiments, may include, e.g., a mobile telephone device, a personal digital assistant, other consumer electronic device such as MP3 device, camera, radio, etc., or other communication-enabled data processing device.
- the monitor unit may perform data processing and/or analysis, etc. on the received analyte data to generate information pertaining to the monitored analyte levels.
- the monitor unit may incorporate a display screen, which can be used, for example, to display measured analyte levels, and/or audio component such as a speaker to audibly provide information to a user, and/or a vibration device to provide tactile feedback to a user. It is also useful for a user of an analyte monitor to be able to see trend indications (including the magnitude and direction of any ongoing trend), and such data may be displayed as well, either numerically, or by a visual indicator, such as an arrow that may vary in visual attributes, such as size, shape, color, animation, or direction.
- the receiver device may further incorporate an in vitro analyte test strip port and related electronics in order to be able to make discrete (e.g., blood glucose) measurements.
- the senor is attachable and detachable from the sensor control unit (and the on-body unit may be reusable), while in other embodiments, the sensor and sensor control unit may be provided as an integrated, un-detachable package, which may be disposable after use.
- FIG. 1 shows one embodiment of an analyte measurement system 10.
- a data processing unit or sensor control unit 12 may interact with an analyte sensor 14 to obtain signals representative of analyte levels.
- Sensor control unit 12 may further include communications circuit with associated electronics (not shown).
- the sensor control unit 12 and sensor are constructed to be maintained "on the body" of the subject for a period of time that may include hours, days, weeks, or a month or more. Accordingly, the sensor control unit 12 and sensor 14 may be referred to collectively herein as an on-body unit 16.
- a receiver unit or monitor unit 18 may also be provided. In the embodiment shown, sensor control unit 12 and monitor unit 18 communicate via connection 20 (in this embodiment, a wireless RF connection).
- Communication may occur, e.g., via RF communication, infrared communication, Bluetooth communication, Zigbee communication, 802.1 x communication, or WiFi communication, etc., In some embodiments, the communication may include an RF frequency of 433 MHz, 13.56 MHz, or the like. In some embodiments, a secondary monitor unit 22 may be provided. A data processing terminal 24 is useful for providing further processing or review of analyte data.
- system 10 may be a continuous analyte monitor (e.g., a continuous glucose monitoring system or CGM), and accordingly operate in a mode in which the communications via connection 20 has sufficient range to support a flow of data from on-body unit 16 to monitor unit 18.
- CGM continuous glucose monitoring system
- the data flow in a CGM system is automatically provided by the on-body unit 16 to the monitor unit 18. For example, no user intervention may be required for the on-body unit 16 to send the data to the monitor unit 18.
- the on-body unit 16 provides the signal relating to analyte level to the receiving unit 18 on a periodic basis.
- the signal may be provided, e.g., automatically sent, on a fixed schedule, e.g., once every 250ms, once a second, once a minute, etc.
- the signal is provided to the monitor unit 18 upon the occurrence of an event, e.g., a hyperglycemic event or a hypoglycemic event, etc.
- data processing unit 12 may further include local memory in which it may record, "logged data" or buffered data collected over a period of time and provide the some or all of the accumulated data to monitor unit 18 from time-to-time. Or, a separate data logging unit may be provided to acquire periodically transmitted data from transmitter device 12.
- Data transmission in a CGM system may be one-way communication, e.g., the on-body unit 16 provides data to the monitor unit 18 without receiving signals from the monitor unit 18.
- two-way communication is provided between the on-body unit 16 and the monitor unit 18.
- a signal is provided to the monitor unit 18 "on demand.”
- the monitor unit 18 requests a signal from the on-body unit 16, or the on-body unit 16 may be activated to send signal upon activation to do so.
- one or both of the on-body unit 16 and monitor unit 18 may include a switch activatable by a user or activated upon some other action or event, the activation of which causes analyte-related signal to be transferred from the on-body unit 16 to the monitor unit 18.
- the monitor unit 18 is placed in close proximity with a transmitter device and initiates a data transfer, either over a wired connection, or wirelessly by various means, including, for example various RF-carried encodings and protocols and IR links.
- the signal relating to analyte level is instantaneously generated by the analyte sensor 14 upon receipt of the request, and transmitted to the monitor unit 18 as requested, and/or the signal relating to analyte level is periodically obtained, e.g., once every 250ms, once a second, once a minute, etc.
- an analyte signal is provided to the monitor unit.
- the signal provided to the monitor unit 18 is or at least includes the most recent analyte signal(s).
- additional data is provided to the monitor unit 18 "on demand.”
- analyte trend data may be provided.
- Such trend data may include two or more analyte data points to indicate that analyte levels are rising, falling, or stable.
- Analyte trend data may include data from longer periods of time, such as, e.g., several minutes, several hours, several days, or several weeks.
- the analyte sensor 14 of the analyte measurement system 10 may be used to monitor levels of a wide variety of analytes.
- Analytes that may be monitored include, for example, acetyl choline, amylase, bilirubin, cholesterol, chorionic gonadotropin, creatine kinase (e.g., CK-MB), creatine, DNA, fructosamine, glucose, glutamine, growth hormones, hormones, ketones, lactate, peroxide, prostate-specific antigen, prothrombin, RNA, thyroid stimulating hormone, and troponin.
- CK-MB creatine kinase
- the concentration of drugs may also be monitored.
- antibiotics e.g., gentamicin, vancomycin, and the like
- digitoxin digoxin
- digoxin drugs of abuse
- theophylline drugs of abuse
- warfarin drugs of abuse
- warfarin drugs of abuse
- analyte may be monitored by a given sensor.
- sensor 14 is physically positioned in or on the body of a user whose analyte level is being monitored.
- Sensor 14 may be configured to continuously sample the analyte level of the user and convert the sampled analyte level, e.g., glucose concentration into a corresponding data signal, e.g., a current or voltage, for input into sensor control unit electronics.
- sensor 14 may be configured to sample analyte levels on demand.
- the sensor control unit electronics may amplify, filter, or otherwise process the signal provided by the sensor.
- the sensor may take on a number of forms.
- the sensor may include a flexible or rigid substrate.
- the sensor may be a wire.
- the sensor may include two or three or more electrodes.
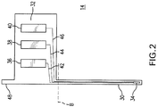
- sensor 14 is illustrated in FIGURE 2 . This is not in accordance with the present invention and is shown by way of illustration only.
- sensor 14 includes a substrate which is a dielectric, e.g., a polymer or plastic material, such as polyester or polyamide.
- the sensor is constructed so that a portion is positionable beneath skin and a portion is above skin.
- sensor 14 includes an insertion portion 30 and a contact portion 32.
- the contact portion 32 typically includes several conductive contacts 36, 38, and 40 (herein shown as 3 contacts) for connection to other electronics, e.g., at the data processing unit 12.
- the contacts provided are for a working electrode 36, a reference electrode 38, and a counter electrode 40.
- two or more working electrodes are provided.
- the operative portions of these electrodes that is, working electrode, reference electrode, and counter electrode (not individually shown), are provided at the distal end of insertion portion 30.
- the contact and operative portions of the electrodes are connected by circuit traces 42, 44, and 46 running on the surface of substrate.
- the traces are provided in channels, or may be embedded within the substrate, or may traverse different sides of the substrate.
- the conductive contacts, conductive traces, and electrodes are fabricated from a conductive material, such as platinum, palladium, gold, or conductive carbon. Further details of sensors are described, e.g., in U.S. Patent Nos. 6,175,572 ; 6,103,033 .
- Sensor 14 may include a proximal retention portion 48.
- the insertion portion 30 and the proximal retention portion 48 are substantially longitudinally aligned.
- the insertion portion 30 and the proximal retention portion 48 are sized and configured to be positioned with a sharp for installation into the skin of a subject, as described herein.
- the sensor 14 is configured to bend (e.g., along the line B) and therefore may be positioned in two substantially perpendicular, intersecting planes.
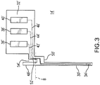
- sensor 14' is substantially identical to sensor 14, with many of the differences illustrated in FIGURE 3 and noted herein.
- Sensor 14' further includes additional features useful for connecting to, e.g., mounting to or in or on, a housing associated with the sensor control unit 12.
- sensor 14' includes a laterally displaced portion (or sensor tab) 50' and a longitudinal displaced portion 52' which provide a path for electrical connections, e.g., the conductive traces.
- Sensor 14' is further provided with a notch 54' between the proximal retention portion 48' and the longitudinal displaced portion 52'.
- Such configuration permits the sensor 14' to bend ( e.g., along the are indicated by line B) and therefore be positioned in two substantially perpendicular, intersecting planes, as illustrated in FIGURE 4 .
- the sensor tab 50' can be encased in the portion of the body of the data processing unit 12 to aid in securing and positioning the sensor 14'.
- Proximal retention portion 48' maintains its longitudinal alignment with insertion portion 30 for positioning within an insertion sharp.
- FIGURE 5 illustrates a further embodiment of a sensor 14" in accordance with the disclosure.
- Sensor 14" is substantially identical to sensor 14 and 14', with certain exemplary differences illustrated in FIGURE 4D and noted herein.
- sensor 14" includes a contact portion 32" which defines a fan-like configuration having a curved edge.
- Sensor 14" defines a sensor flag indentation 56" which also serves to assist in retaining the sensor 14" in vertical direction, as will be described below, and provides a discrete location for mating with a feature of the data processing unit 12, e.g., the bottom surface of a printed circuit board.
- Sensor 14" is likewise capable of bending along axis B, as illustrated in FIGURE 6 .
- the distance between insertion portion 30 to retention portion 48 may be, e.g., about 5 mm, or about 10 mm, or about 15 mm, or about 20 mm.
- sensors in accordance with the present disclosure operate electrochemically, through an arrangement of electrodes having chemical sensing layers applied thereto, by generating an electrical current proportional to the volume of a redox reaction of the analyte (and indicative of analyte concentration), catalyzed by an analyte-specific oxidizing enzyme.
- a portion of sensor 14 may be situated above the surface of the skin, with a distal portion 30 penetrating through the skin and into the subcutaneous space in contact with the user's biofluid, such as interstitial fluid.
- the disposition of the sensor in the illustrated embodiment is referred to as "transcutaneous".
- transcutaneous refers to a sensor that is only partially inserted under one or more layers of the skin of the user
- subcutaneous refers to a sensor that is completely inserted under one or more layers of the skin of the user. It is understood that many features described herein would be applicable to both transcutaneous and subcutaneous sensors. Further details regarding the electrochemistry of sensor 14 is provided in U.S. Patent Nos. 5,264,104 ; 5,356,786 ; 5,262,035 ; 5,320,725 ; 6,990,366 .
- the senor is implantable into a subject's body for a period of time (e.g., three to seven days, or in some embodiments, longer periods of up to several weeks) to contact and monitor an analyte present in a biological fluid.
- the sensor can be disposed in a subject at a variety of sites (e.g., abdomen, upper arm, thigh, etc.), including intramuscularly, transcutaneously, intravascularly, or in a body cavity.
- the sensor can be a transcutaneous glucose sensor.
- the sensor can be a subcutaneous glucose sensor.
- sensor 14 is employed by insertion and/or implantation into a user's body for some usage period.
- substrate may be formed from a relatively flexible material to improve comfort for the user and reduce damage to the surrounding tissue of the insertion site, e.g., by reducing relative movement of the sensor with respect to the surrounding tissue.
- FIGS. 3-6 have three electrodes, other embodiments can include a fewer or greater number of electrodes.
- a two electrode sensor can be utilized.
- the sensor may be externally- powered and allow a current to pass proportional to the amount of analyte present.
- the sensor itself may act as a current source in some embodiments.
- the sensor may be self-biasing and there may be no need for a reference electrode.
- An exemplary self-powered, two-electrode sensor is described in U.S. Patent Application No. 12/393,921, filed February 26, 2009 , and entitled "Self-Powered Analyte Sensor,".
- the level of current provided by a self- powered sensor may be low, for example, on the order of nanoamperes.
- Data processing unit 12 may be provided with a substantially circular configuration having a reduced height (i.e., "Z"-dimension) to provide a low-profile when sitting on the skin of the subject.
- the height is about 3 mm to about 25 mm, e.g., may be about 4 mm, about 5 mm, about 10 mm, or about 15 mm.
- the unit 12 may have a variable height.
- Data processing unit 12, including its associated electronics 80, are housing in a senor housing 122.
- electronics may include, e.g., an analog interface for connecting to the sensor 14, a processor, and a power supply.
- a serial communication section may be provided.
- a temperature sensor such as a thermistor detects skin and or ambient temperature may be included to provide compensation to the analyte signal.
- a RF communication circuit is provided to communicate with the monitor unit 18.
- a data storage unit may be provided to storage analyte data points over a short term, e.g., several hours or minutes, or over a long term, e.g., several days or weeks.
- Additional optional electronics include a serial communication section, a leakage detection circuit, or user input, e.g., a switch to activate/deactivate some or all of the device.
- Many of the components may be combined together and/or their function provided by common components. Furthermore, certain components may be eliminated entirely.
- a power supply may be omitted if power is provided by inductive coupling.
- sensor 14 is disposed within the data transmitting unit 12, e.g., in a bent configuration, as illustrated in certain embodiments herein, e.g., in FIGURES 4 and 6 .
- the contact portion 32 of sensor 14 may be oriented in a substantially horizontal configuration, and secured to a printed circuit board of the transmitter unit 12.
- the insertion portion 30 of the sensor 14 extends in a substantially downwardly vertical orientation for placement in the skin of the subject. It is understood that sensor 14 may be disposed in other configurations, e.g., in an entirely substantially vertical configuration, etc.
- the insertion portion 30 may be disposed at an oblique angle, e.g., between about 0° and about 90° with respect to the skin surface.
- the on-body unit 16 communicates with the monitor unit 18.
- Such communication may be one-way communication, e.g., from the on-body unit 16 to the monitor unit 18.
- the communication may be two-way, e.g., both from the on-body unit 16 to the receiving unit 18 and from the receiving unit 18 to the on-body unit 16.
- the receiving unit 18 may also be referred to herein as a display unit, transceiver or handheld unit. Communication between the on-body unit 16 and monitor unit 18 may occur via RF communication, inductive coupling, direct wired connection, etc.
- An insertion assembly is provided, which is used to install a medical device to the subject.
- the insertion assembly includes an inserter and the medical device itself.
- the inserter can be configured to insert various medical devices to the subject, such as for example, an analyte sensor, an infusion set, a cannula, or a lancet.
- the inserter can be configured to install a combination of such devices, e.g., a combined sensor/infusion set, etc.
- a given inserter can be configured to install a first device and a second device at different times.
- an inserter may be modifiable to be used with more than one medical device, include more than one type of medical device, e.g., by attaching an adapter and/or removing detaching a portion of an inserter.
- the inserter can install the medical device transcutaneously in, under, or through the skin of the subject; or subcutaneously; or placed on the surface of the skin.
- the medical device can include features or structures, e.g., barbs, tabs, adhesive, etc., to maintain the device in position with respect to the skin after insertion.
- the insertion assembly includes an inserter, a medical device, such as an analyte sensor, and a mount for supporting the medical device at least partially in or on the skin of the subject.
- the mount may be inserted simultaneously with the medical device by the inserter.
- the mount is installed after or before installation of the medical device. In such case the mount may be applied by the inserter or separately.
- the mount may include features or structures to maintain the sensor in position with respect to the skin after insertion.
- the insertion assembly includes an inserter, an analyte sensor, a mount, and a power supply.
- the mount and power supply may be inserted simultaneously with the analyte sensor by the inserter.
- the mount and battery are installed after or before installation of the analyte sensor. In such case the mount and/or power supply may be applied by the inserter or separately.
- the insertion assembly includes an inserter, a medical device such as an analyte sensor, a mount, and electronics.
- the mount and electronics may be inserted simultaneously with the analyte sensor by the inserter.
- the mount and electronics are installed after or before installation of the analyte sensor.
- the mount and the analyte sensor may be installed by the inserter, and the electronics may be subsequently installed.
- the mount is installed, followed by insertion of the analyte sensor by the inserter, and further followed by installation of the sensor.
- the mount and electronics are installed first, and the analyte sensor is subsequently installed.
- the electronics provide a voltage or current to the analyte sensor.
- the electronics processes signals provided by the analyte sensor.
- the electronics may include communication functionality for providing a signal relating to the signal provided by the analyte sensor to a further component, such as, e.g., a monitor unit, a handheld unit, a meter, a display unit, a computer, or other component.
- communications circuitry such as RFID antenna or communications circuitry is provided.
- the inserter can include a plurality of different components.
- the inserter may include one or more components for advancing a sharp towards the skin of the subject.
- the sensor and associated electronics and/or mounting structure may be supported by a support structure, such as a carriage.
- a driver may be provided for advancing the sharp and/or the analyte sensor/support structure.
- the actuator is coupled to the sharp and/or support structure, such that manual force and speed applied by the user to the actuator is transferred to the sharp and/or support structure.
- the inserter can also include one or more components for retracting the sharp, while allowing the analyte sensor and optional mount and/or electronics to remain to the subject.
- the components for retracting the sharp can include a retractor. It is understood that the retractor and the actuator may be the same structure or include some common components.
- the retractor is directly or indirectly coupled to the sharp such that the manual force applied by the user is transferred from the retractor to the sharp to retract the sharp from the skin.
- a drive assembly may be provided to retract the sharp.
- the drive assembly may include a spring, motor, hydraulic piston, etc., to retract the sharp away from the skin of the subject.
- the drive assembly may also include a linear drive component.
- the retractor withdraws the sharp upon actuation by the user.
- the user actuates the retractor when it is desired to withdraw the sharp.
- the retractor may include a release switch.
- the drive assembly e.g., the spring or other driver, retracts the sharp from the skin.
- the retractor and the actuator comprise common components. After activating the actuator to advance the sharp and the analyte sensor, the user releases the actuator, which allows the drive assembly to withdraw the sharp from the skin.
- the retractor withdraws the sharp without further user interaction after actuation of insertion.
- the inserter may include features or components which automatically retract the sharp upon advancement of the sharp and support structure by a predetermined amount. Inserter devices, in which no further action by the user is required to initiate withdrawal of the sharp after insertion, are referred to herein as having "automatic" withdrawal of the sharp.
- Inserter 100 in accordance with an exemplary embodiment is illustrated in FIGURE 10 .
- Inserter 100 includes a handle 102 and a removable distal cap 104.
- the cap 104 may maintain a sterile, contaminant-free environment for the medical device and sharp housed therein.
- distal cap 104 is secured to handle 102, e.g., by use of one or more mating members, e.g., threads 110 and 111, or hooks, tape, and the like.
- Inserter 100 includes a base 142 which defines a distal, substantially planar surface 112 for placement on the skin S of a subject, and in other embodiments may be a curved or inclined surface, e.g., a concave or convex surface. Inserter 100 may be utilized to advance a medical device into the skin of the subject, e.g., an analyte sensor, and infusion set, etc. In some embodiments, handle 102 is advanced relative to base 142 in order to advance the medical device into the skin of the patient, as will be described in greater detail herein.
- handle 102 includes a contact surface 114 for contact by a user to insert and install the sensor housing 122 and sensor 14.
- Threads 110 are provided on handle 102 for attachment to cap 104 via threads 111 (as illustrated in FIGURES 12-13 ).
- Cap 104 can include an upwardly extending boss 125 to assist positioning of the sharp 124.
- the distal portion of cap 104 includes a recess 115 for retaining a desiccant 190 therein.
- a silica gel or molecular sieves may be used. Such material can be in either in granular form (pellets) or pressed into tablets. In some embodiments, silica gel tablets are used.
- Cap 104 is provided with one or more apertures 117, which allows for passage of air to the desiccant 190 to remove moisture from the interior of the inserter 100.
- Cap 104 includes an annular ridge 113 which engages the distal edge portion 116 of handle 102. In some embodiments, annular ridge 113 prevents distal movement of handle 102 (as well as sharp 124) when cap 104 is attached to handle 102.
- Base 142 as illustrated in FIGURES 10 and 14 , includes a distal sheath portion 192, which shields sharp 124 prior to deployment and a distal rim 112 having a substantially planar surface configuration to rest on the subject's skin S.
- Base 142 also includes side walls 191, which along with inner rail 128 defines a recess for retraction spring 146.
- Base 142 provides a spring floor 148, as illustrated in FIGURE 29 .
- Support member or shuttle 134 supports needle hub 136, from which sharp 124 extends longitudinally within the inserter 100.
- the sharp is supported at an oblique angle, e.g., between about 0° and about 90° with respect to the skin surface.
- Needle hub 136 can be secured to shuttle 134 via an interlocking O-ring configuration, adhesive, or other techniques known in the art.
- sharp 124 is a solid needle.
- sharp 124 is provided with a substantially cylindrical configuration defining an interior bore, e.g., a rigid cannula or a hypodermic-style needle.
- Needle hub 136 is further illustrated in FIGURES 17-18 .
- Needle hub 136 supports sharp 124, having a sharpened distal portion 160.
- a longitudinal wall opening or gap 162 is provided in at least a portion of the wall of the sharp 124.
- the length N of the gap 162 is selected to be commensurate with the length of the insertion portion 30 through to the proximal retention portion 48 of the sensor, or about 5 mm, or about 10 mm, or about 15 mm, or about 20 mm.
- the length L of the sharp 124 may be about 5mm, or about 10 mm, or about 20 mm, about 30 mm, or about 50 mm, and is selected based upon the desired depth of the insertion portion 30 of the sensor 14.
- sharp 124 has a substantially "C"- or “U” -shaped profile in this embodiment, but may have other configurations, e.g., substantially “V”-shaped.
- a longitudinal gap 162 is provided in the wall of the sharp 124.
- FIGURE 20 illustrates distal portion 160 is provided with an angled tip.
- the angled tip may be provided with a first angled tip portion 164 and a second steep-angled tip portion 166.
- the exemplary configuration which includes multiple edges and faces, provides a sharp point to reduce penetration force, trauma, and bleeding for the subject.
- the distal section of the sensor body has a width sized to fit within the notch 162 of the insertion sharp 124 having a diameter less than about 0.64 to about 0.51 mm (about 22 to about 24 gauge), in certain embodiments the sharp is 0.45 mm in diameter (25 gauge).
- sharp 124 is a fabricated from a sheet of metal, and folded into a substantially "V" or "U” or “C” configuration in cross-section.
- a laser is used to form the wall opening or gap 162.
- FIGURES 22-23 illustrate the position of sensor housing 122 with respect to the needle hub 136 and sharp 124.
- the sharp 124 extends through an aperture 168 in the sensor housing 122.
- the distal portion of sensor 14 is positioned with the sharp 124.
- electronics 80 e.g., a printed circuit board containing ASIC electronics
- sensor hub 123 are positioned within sensor housing 122.
- a power supply 82 such as a battery, e.g., a single use disposable battery, or rechargeable battery, is provided.
- the active operational life of the battery may exceed the active operational life of the sensor 14.
- FIGURE 24 illustrates in cross-section the orientation of the sensor housing 122 with respect to the sharp 124 of inserter 100.
- sensor 14 is disposed in a substantially bent configuration, such that a portion of the sensor, e.g., the insertion portion 30 and the proximal retention portion 48 are substantially vertical ( e.g., substantially aligned with the longitudinal axis of the inserter 100 and substantially perpendicular to the skin surface) and the contact portion 32 (shown in profile) is oriented in a substantially horizontal configuration, and in electrical contact with the data processing unit electronics, such as circuit 80.
- the sensor tab 50 can be encased in the plastic of the sensor housing 122 ( e.g., "overmolded") and secured in place.
- the notch 56 provides further stability to the sensor 14, e.g., by allowing the sensor tab 50 to be encased by the material of the sensor housing 122, and further provides a means for vertically orienting the sensor 14 during mounting, e.g., by allowing vertical positioning of the notch 56 with respect to a vertical landmark of the housing 122.
- the sensor 14, mounted with the sensor housing 122, is disposed within the concave recess in the carriage 130.
- the sharp 124 extends through a longitudinal aperture 168 formed in a carriage 130.
- the aperture 168 is appropriately sized, such that neither the sharp 124 nor needle hub 136 is in contact with the carriage 130. Accordingly, the needle hub 136 (and sharp 124) on the one hand, and the carriage 130 and the sensor housing 122, on the other hand, move simultaneously but independently from one another. In other embodiments, a friction fit may be provided between the aperture and the sharp.
- the insertion portion 30 and proximal retention portion 48 of the sensor 14 are disposed within a longitudinal bore 162 within the sharp 124. (See, e.g., FIGURE 19 )
- the proximal retention portion 48 is disposed within the longitudinal bore of the sharp and provides additional stability to the mounting of the sensor 14 within the sharp 124.
- the longitudinal wall gap or opening 162 of sharp 124 is aligned with the sensor 14, such that the tab 50 and the contact portion 32 extend laterally outward from the sharp 124.
- shuttle 134 includes wings 182 and resilient distally-extending fingers 184.
- Inner rail 128 is illustrated in FIGURE 25 .
- shuttle 134 is sized and configured for slidable movement within inner rail 128.
- Wings 182 of shuttle 134 are configured for slidable movement within axial notches 188 of inner rail 128.
- fingers 184 of shuttle 134 are disposed in their normally biased outward position, fingers 184 engage the lower surface 194 of inner rail 128.
- shuttle 134 is locked with respect to inner rail 128.
- fingers 184 may be biased radially inward to allow upward movement of shuttle 134 relative to inner rail 128.
- inner rail includes an upper surface 186 for engagement with handle 102.
- surface 186 is adhered or otherwise fixed to handle 102.
- inner rail 128, shuttle 134 and base 142 The relationship of inner rail 128, shuttle 134 and base 142 is illustrated in FIGURE 27 .
- inner rail 128 and shuttle 134 are in a locked relationship by engagement of wings 182 and fingers 184.
- Inner rail 128 and shuttle 134 are axially movable within base 142.
- Spring 146 which is secured between spring floor 148 of base 142 and wings 182 of shuttle 134 biases the inner rail 128 and shuttle 134 in a proximal (upward) direction.
- Inserter 100 is illustrated in section in FIGURES 28-29 prior to use in a sensor predeployment position.
- Cap 104 is attached to the distal portion of inserter 100, via inter-engagement of threads 110 and 111.
- the inserter 100 includes an initial configuration in which the handle 102 is disposed in a proximal position with respect to the base 142.
- the sharp 124 is disposed in a configuration spaced apart from an aperture of the adhesive layer 118.
- inner rail 128 includes a carriage 130.
- the handle 102 is depressed downward (arrow D) against the bias of spring 146, the inner rail 128 moves downwardly with the carriage 130 and the sensor housing 122.
- Shuttle 134 supports needle hub 136, from which sharp 124 extends longitudinally within the inserter 100. Initially shuttle 134 is coupled to inner rail 128 via inter-engagement of fingers 184 of shuttle 134 with distal surface 194 of inner rail 128, and both shuttle 134 and inner rail 128 move distally together as a unit.
- the sharp 124 As the sharp 124 is urged distally ( FIGURE 30 ), it carries the sensor insertion portion 30 of sensor 14 into the subcutaneous portion of the subject's skin S and into contact with the interstitial fluid. As carriage 130 reaches a distal position, the distal surface of the sensor housing 122 engages the upper surface of adhesive pad 118, thereby becoming adhered to the skin surface S of the subject.
- embodiments of the present disclosure include systems that are activated merely by positioning the sensor 14 and electronics unit 16 on a skin surface as described above, i.e., no additional action may be required of the user other than applying a force to housing 122. As such, insertion of the sensor 14 and/or mounting of the housing 122 causes activation of the electronics 80.
- activation switch configurations are included which may be configured to be triggered, for example, by the insertion device activation, thereby turning on the integrated sensor and sensor electronics assembly into an active mode.
- inserter 100 is also provided with a plunger switch 185, which provides automatic activation of the electronics 80 of the data processing unit 12.
- the plunger switch 185 is a longitudinally slidable member disposed on the distal surface of the sensor housing 122. When the sensor housing is advanced proximally, it engages the adhesive pad 118, or alternatively the skin surface of the subject. Upon such engagement, the plunger switch 185 is moved axially (proximally) with respect to the housing 122. The plunger switch in the proximal position is shown in FIGURE 30 , for example. Such axial movement is used to activate the sensor electronics 80.
- the plunger switch is spring biased.
- the plunger switch moves with the bias, and the electronics are deactivated.
- the plunger switch provides a one-time activation of the electronics. In such cases, once the electronics are activated, the sensor housing is not required to remain in contact with the adhesive or the skin in order to maintain activation.
- FIGURES 32-33 embodiments of a power supply switch mechanism include conductive plugs of the on-body integrated sensor and sensor electronics assembly 16 in accordance with the present disclosure.
- FIGURES 32-33 illustrate enlarged sectional views of sensor housing 122.
- the sensor electronics assembly circuit board 710 may be provided with a physical gap 750 that breaks the electrical circuit between the power supply (e.g., battery) and the other circuitry of the sensor electronics assembly.
- a conductive portion 720 provided within the housing 122 of the sensor electronics may be moved in a direction as shown by arrow 730 such that electrical contact is established in the physical gap 750 on the circuit board, by for example, the conductive portion 720 coming into physical contact with the conductive portions 760 of the circuit board 710. In this manner, in one embodiment, the electrical path from the power supply and the remaining circuitry on the circuit board of the sensor electronics is completed, thereby powering the sensor electronics.
- the conductive portions 760 of the circuit board are provided on the board itself, and the conductive plug 740, for example, when pushed into the cavity 750, establishes electrical contact between the conductive portions 760 of the circuit board.
- the actuation of the insertion device 100 to position the sensor and sensor electronics assembly triggers the switch mechanism shown in FIGURES 32-33 by also moving the conductive portion 720 or the conductive plug 760 in the direction complimentary to the direction of the introducer movement, and thereby switching on the sensor electronics.
- the activation of the sensor electronics by moving the conductive portion 720 or the conductive plug may include a separate procedure, where after positioning the sensor and the sensor electronics assembly on the skin surface, a predetermined force is applied on the housing of the integrated sensor 14 and sensor electronics assembly such that the desired movement of the conductive portion 720 or the conductive plug 760 may be achieved.
- FIGURES 34A-36B illustrate another configuration of the power supply switch mechanism including conductive pads of the on-body integrated sensor and sensor electronics assembly in accordance with embodiments of the present disclosure.
- an exposed conductive ring 771 may be provided and configured to contact the surface of the circuit board in the sensor housing 122 (shown in cross section in FIGURE 34B ) such that, the insertion device activation positions the conductive ring 771 on the surface of the circuit board so as to complete the electrical contact of the sensor housing 122 (by for example, manual force applied on the insertion device placing the conductive ring in contact with the circuit board of the sensor electronics).
- electrical contact pads 772, 773 may be provided to the circuit board in the sensor housing 122 (shown in cross section in FIGURE 35B such that the mating of the contact pads with the conductive ring 771 switches on the sensor electronics device to provide power to the device from its power source.
- FIGURES 36A-B show yet another configuration of the switch activation mechanism in accordance with the present disclosure, where a portion of the conductive ring 774 is selectively positioned and provided to establish electrical contact in the sensor housing 122 (shown in cross section in FIGURE 36B ).
- each of the activation configuration described above includes a break in the circuitry from the power source such that the power supply is not drained when the device is not in use, and upon activation, the break in the electrical contact is completed, thereby powering the device and activating it for operation.
- FIGURE 37 illustrates a power supply switch mechanism including an internal switch with a push rod activation of the on-body integrated sensor and sensor housing 122 in accordance with embodiments of the present disclosure.
- push rod 810 may be provided and positioned in the sensor electronics such that when a force is applied in the direction as shown by arrow 830, the push rod 810 is displaced in the same direction and completes the electrical contact between the two contacts 820, 821.
- the push rod 810 may be provided within a seal 840 such as an O-ring or similar components.
- FIGURE 39 illustrates power supply switch mechanism including introducer retraction trigger activation of the on-body integrated sensor and sensor housing 122 in accordance with embodiments of the present disclosure.
- a nonconducting needle or device 910 is provided to physically separate two electrical contacts 920, 921.
- Each of the electrical contacts 920, 921 is biased or spring loaded to be urged towards each other, physically separated by the nonconducting needle 910. Accordingly, when the nonconducting needle 910 is retracted or pulled away from the sensor electronics assembly in the direction as shown by arrow 930, the electrical contacts 920, 921 are configured to contact each other, thereby completing the break in the circuit and establishing electrical connection to activate the sensor electronics assembly.
- the nonconducting device or needle 910 may include, for example, but not limited to, glass, plastic or any other material suitable to separate two electrical contacts and provide insulation therebetween.
- FIGURE 39 illustrates power supply switch mechanism with a contact switch of the on-body integrated sensor and sensor electronics assembly in accordance with embodiments of the present disclosure.
- an electronic switch 1001 that is configured to draw an insubstantial amount of power from the sensor electronics power supply
- the activation component 1002 that completes the 30 circuit in the sensor electronics from its power supply such as battery to activate the device for operation.
- FIGURES 40-41 illustrate power supply switch mechanism with a battery contact locking mechanism of the on-body integrated sensor and sensor electronics assembly 122 in accordance with the present disclosure.
- the battery contact of the sensor electronics may be provided with a barbed tab 1110.
- the tab 1110 In post manufacturing shelf mode when the device is nonoperational, the tab 1110 is positioned within the sensor electronics housing in the position as shown in FIGURE 40 so that it is not in contact with the conductive contact 1120 of the sensor electronics circuit board.
- the tab 1110 may be biased such that it physically contacts the conductive contact 1120 on the circuit board, thereby closing the circuit to/from the battery/power source and thus activating or switching on the sensor electronics.
- the tab 1110 may be configured that upon biasing to establish contact with the conductive contact 1120, it locks or latches with the conductive contact 1120 and the circuit board so as to maintain the electrical connection.
- FIGURES 42-43 illustrate power supply switch mechanism with a bi-modal dome switch of the on-body integrated sensor and sensor electronics assembly in accordance with embodiments of the present disclosure.
- a bi-modal dome shaped switch 1210 is provided on the circuit board of the sensor electronics assembly such that, when pressed down (as shown in FIGURE 42 ), the dome shaped layer 1210 (which may include, for example, a thin sheet metal dome) may be configured to retain the concave shape as shown in FIGURE 43 and effectively closing the circuit on the circuit board at the contact point 1220.
- the dome shaped layer 1210 may be configured to shunt to short two or more electrical contacts at the contact point 1220 of the circuit board.
- the dome shaped layer 1210 may be connected to the circuit board such that one end of the dome shaped layer 1210 is in contact with one of the two or more open electrical contacts, and the depression of the dome shaped layer 1210 closes the circuit on the circuit board by physically contacting the other one or more of the open electrical contacts.
- sensor electronics activation switch configurations are provided that may be triggered or activated automatically or semi-automatically in response to the activation of the insertion device described above, or alternatively, may be separately activated by the user by, for example, depressing upon a portion of the housing or switch provided on the housing of the sensor electronics. Accordingly, power consumption may be optimized for the sensor electronics assembly while improving post manufacturing shelf life of the device prior to use or activation.
Landscapes
- Health & Medical Sciences (AREA)
- Life Sciences & Earth Sciences (AREA)
- Engineering & Computer Science (AREA)
- Physics & Mathematics (AREA)
- General Health & Medical Sciences (AREA)
- Animal Behavior & Ethology (AREA)
- Veterinary Medicine (AREA)
- Heart & Thoracic Surgery (AREA)
- Biomedical Technology (AREA)
- Public Health (AREA)
- Biophysics (AREA)
- Molecular Biology (AREA)
- Medical Informatics (AREA)
- Pathology (AREA)
- Surgery (AREA)
- Chemical & Material Sciences (AREA)
- Computer Networks & Wireless Communication (AREA)
- Optics & Photonics (AREA)
- Organic Chemistry (AREA)
- Physiology (AREA)
- Proteomics, Peptides & Aminoacids (AREA)
- Zoology (AREA)
- Wood Science & Technology (AREA)
- Emergency Medicine (AREA)
- Cardiology (AREA)
- Vascular Medicine (AREA)
- Hematology (AREA)
- Anesthesiology (AREA)
- Chemical Kinetics & Catalysis (AREA)
- General Chemical & Material Sciences (AREA)
- Toxicology (AREA)
- Computer Vision & Pattern Recognition (AREA)
- Artificial Intelligence (AREA)
- Signal Processing (AREA)
- Immunology (AREA)
- Biochemistry (AREA)
- General Engineering & Computer Science (AREA)
- Bioinformatics & Cheminformatics (AREA)
- Genetics & Genomics (AREA)
- Analytical Chemistry (AREA)
Description
- The present invention relates generally to an analyte sensor.
- Diabetes Mellitus is an incurable chronic disease in which the body does not produce or properly utilize insulin. Insulin is a hormone produced by the pancreas that regulates blood sugar (glucose). In particular, when blood sugar levels rise, e.g., after a meal, insulin lowers the blood sugar levels by facilitating blood glucose to move from the blood into the body cells. Thus, when the pancreas does not produce sufficient insulin (a condition known as
Type 1 Diabetes) or does not properly utilize insulin (a condition known as Type II Diabetes), the blood glucose remains in the blood resulting in hyperglycemia or abnormally high blood sugar levels. - The vast and uncontrolled fluctuations in blood glucose levels in people suffering from diabetes cause long-term, serious complications. Some of these complications include blindness, kidney failure, and nerve damage. Additionally, it is known that diabetes is a factor in accelerating cardiovascular diseases such as atherosclerosis (hardening of the arteries), leading to stroke, coronary heart disease, and other diseases. Accordingly, one important and universal strategy in managing diabetes is to control blood glucose levels.
- One way to manage blood glucose levels is testing and monitoring blood glucose levels by using conventional in vitro techniques, such as drawing blood samples, applying the blood to a test strip, and determining the blood glucose level using colorimetric, electrochemical, or photometric test meters. Another more recent technique for monitoring blood glucose levels is by using an in vivo glucose monitoring system, that continuously or automatically tests glucose, such as for example, the FreeStyle Navigator® Continuous Glucose Monitoring System, manufactured by Abbott Diabetes Care, Inc. Unlike conventional blood glucose meters, continuous analyte monitoring systems employ an insertable or implantable sensor, which detects and monitors blood glucose levels. Prior to each use of a new sensor, the user self implants at least a portion of the sensor under his/her skin. Typically, an inserter assembly is employed to insert the sensor in the body of the user. In this manner, an introducer sharp, while engaged to the sensor, pierces an opening into the skin of the user, releases the sensor and is removed from the body of the user. Accordingly, there exists a need for an easy-to-use, simple, insertion assembly which is reliable, minimizes pain, and is easy to use.
WO-A-2007/089738 discloses an implantable microelectrode.US-A-2007/0038044 discloses an analyte sensor for transcutaneous measurement of glucose.US 5390671 discloses a transcutaneous glucose sensor. - In accordance with the present invention, there is provided an analyte sensor as claimed in
claim 1. Sensor assemblies that include a medical device, such as an analyte sensor (e.g., a glucose sensor) and optionally an infusion device, and a device to position at least a portion of the medical device beneath a skin surface of a user are provided, as well as methods of positioning at least a portion of a medical device such as an analyte sensor (e.g., a glucose sensor) and optionally an infusion device beneath a skin surface of a user, and methods of analyte testing are described. Senor assembly embodiments include a mount adapted to adhere to a skin of a subject; an analyte sensor coupled to the mount, and an insertion sharp having a longitudinal body including a longitudinal opening to receive at least a portion of the sensor body. - The sensor comprises a body having a proximal section and a distal section, and the distal section is longitudinally aligned with the proximal section. The sensor comprises an intermediate section. The intermediate section is laterally displaced from the distal section, and a notch is defined between the laterally displaced intermediate section and the proximal section, In some embodiments, the sensor is integrated with the mount to define an on-body device such as a single unit on-body device.
- In some embodiments, the distal section of the sensor body is received in the longitudinally defined opening of the insertion sharp. A gap may be defined between the distal section and the laterally displaced intermediate section, which allows the distal section, in some embodiments a substantial portion - including the entirety of the distal section, to be received in the longitudinal opening of the insertion needle. The intermediate section and the proximal section may be proximate the distal section received in the insertion needle.
- In some embodiments, the proximal section of the sensor body is in communication with conductive material disposed on the mount. The conductive material disposed on the mount may define a printed circuit board. The proximal section of the sensor may be disposed in a horizontal plane, and the distal section of the sensor body may be disposed in a vertical plane. In some embodiments, the sensor is a transcutaneous sensor. In some embodiments, the sensor is configured for implantation in a soft tissue of a user. In some embodiments, the sensor is a glucose sensor.
- Embodiments include sensor assemblies which include a sensor comprising a portion for operative contact with a fluid of the subject; a mount defining a distal surface adapted for attachment to the skin of a subject and housing a circuit coupled to sensor for performing a function with the sensor; and a switch at least partially disposed in the mount comprising a member having a first position which protrudes from the distal surface of the mount and a second position which is recessed in the mount, the member configured to activate the circuit when in the second position.
- In some embodiments, the member is biased in the first position. The member may comprise an elongated member disposed in an opening in the mount. In some embodiments, the member is moved from the first position to the second position when the mount contacts the skin of the subject. In some embodiments, an adhesive layer is disposed on the skin of the subject, and wherein the member is moved from the first position to the second position when the mount contacts the adhesive layer.
- In some embodiments, the switch activates the circuit upon the member reaching the second position. In some embodiments, the switch activates the circuit as long as the member is maintained in the second position. In some embodiments, the sensor is a glucose sensor.
- In some embodiments, the circuit applies a potential to the sensor. In some embodiments, the circuit applies a current to the sensor.
- In some embodiments, a monitor unit is provided to receive information from the sensor/on-body unit. For example, the system is configured for communication (wired or wirelessly) between the on-body unit and a monitor unit, e.g., using radio frequency communication or other protocol. The communication between the two units may be active or passive. In certain embodiments, the on-body unit circuit includes communication components for wired or wireless transmission of signal relating to analyte level monitored by the sensor to the monitor unit. In certain embodiments, RFID components may be included in the on-body unit and monitor unit to enable RFID communication, in which the on-body unit provides data communication to the monitor unit in response to one or more commands or data communication received from the monitor unit. In some embodiments, the transmitter transmits a signal to the receiver automatically, e.g., continuously or in certain embodiments only periodically such as according to a predetermined schedule. In some embodiments, in addition to or instead of automatic data communication, the on-body unit may transmit signal to the receiver only in response to a request for the data, e.g., received from the monitor unit or otherwise initiated by the user (e.g., activation of a switch on the receiver or on-body unit to initiate data transfer). In some embodiments, a memory is provided, and the circuit stores a signal relating an analyte level provided by the sensor to the memory. In some embodiments, the sensor is a glucose sensor.
- Embodiments include apparatuses for inserting medical devices through the skin of a subject. An insertion apparatus may include a sheath defining a distal surface for placement on the skin of the subject; a handle movable between a proximal position and distal position relative to the sheath; a device support for supporting the medical device and defining an aperture therethrough; a sharp support for supporting a sharp extending through said aperture and coupled to the handle; and driver for biasing the handle and the sharp support towards the proximal position.
- In some embodiments, the driver comprises a compression member such as a compression spring. In some embodiments, the handle is at least partially disposed within the sheath. In some embodiments, the handle is at least partially disposed surrounding the sheath. In some embodiments, a bellows portion is provided which is disposed between the handle and the sheath.
- In some embodiments, the sharp support is permanently fixed to the handle. In some embodiments, the device support is permanently affixed to the handle.
- In some embodiments, a stop portion for retaining the device support in the distal position is included. In some embodiments, the device support is coupled to the sharp support until the device support reaches a distal position. In some embodiments, the device support is uncoupled from the sharp support when the device support reaches the distal position. In some embodiments, a retention member is provided to couple the sharp support to the sheath when the sharp support is disposed in the proximal position.
- The medical device is an analyte sensor. In some embodiments, the medical device is a glucose sensor. In some embodiments, the medical device is an infusion set.
- In certain embodiments, apparatuses for inserting a medical device through the skin of a subject, are provided which include a sheath defining a distal surface for placement on the skin of the subject; a handle movable between a proximal position and distal position; a device support for supporting the medical device and defining an aperture therethrough, the device support coupled to the handle; a sharp support for supporting a sharp extending through said aperture and coupled to the device support; and driver for biasing the sharp support towards the proximal position.
- In some embodiments, the driver comprises a compression spring. In some embodiments, the handle is at least partially disposed surrounding the sheath.
- In some embodiments, a stop portion for retaining the device support in the distal position is included. In some embodiments, the device support is coupled to the handle until the device support reaches a distal position. In some embodiments, the device support is uncoupled from the sharp support when the device support reaches the distal position.
- Embodiments of analyte sensors are provided which include a body having a proximal section and a distal section. The distal section is longitudinally aligned with the proximal section. An intermediate section is included between the proximal and distal sections, and the intermediate section is laterally displaced from the distal member. A notch is defined between the laterally displaced intermediate section and the proximal section.
- In some embodiments, the proximal end is received within a needle seat to create an anchor region to allow the sensor body to slide into an opening defined in the insertion sharp but prevent the sensor body from inadvertently slipping out of the insertion needle. In some embodiments, a width of the distal section of the sensor body is sized to fit within the opening of the insertion sharp having a diameter less than about 0.64 to about 0.51 mm (about 22 to about 24 gauge).
- In an embodiment of the invention, the intermediate member includes a plane-altering portion. The plane-altering portion allows the proximal section of the sensor body to be in a plane different than the distal section of the sensor body. In some embodiments, the proximal section and the distal section are in planes substantially perpendicular to each other, e.g., the area may define an angle of about 120° to about 60°, e.g., about 90 degrees. In some embodiments, the proximal section has a curved portion.
- In some embodiments, the sensor body includes conductive material disposed in or on a surface thereto to define one or more electrodes. The sensor body may include conductive material defining traces disposed in or on a surface of the sensor body. The traces are in communication with the one or more electrodes. The traces may be disposed in or on at least surface of the proximal section of the sensor body. The one or more electrodes may be disposed on the distal section of the sensor body. At least one of the traces or electrodes may include a metal or carbon material such as gold, platinum, titanium and carbon. At least one of the traces or electrodes may be formed by ablation of material. The ablation may include laser ablation.
- In some embodiments, the sensor comprises a sensing layer. The sensing layer may comprise an enzyme. The sensing layer may comprise an electron transfer agent. The electron transfer agent may be a redox mediator. In some embodiments, the electron transfer agent includes osmium transition metal complexes and one or more ligands. The electron transfer agent may be configured to transfer electrons directly between the analyte and the working electrode. The electron transfer agent may be configured to transfer electrons indirectly between the analyte and the working electrode.
- In some embodiments, the sensing layer comprises a redox polymer. The redox polymer may include osmium. The sensing layer may include a catalyst. The catalyst may include an enzyme. The catalyst may act as an electron transfer agent. In some embodiments, the enzyme includes glucose oxidase. In some embodiments, the enzyme includes glucose dehydrogenase.
- In some embodiments, the sensing layer is configured such that the reaction of glucose in the presence of an enzyme forms hydrogen peroxide, and glucose level may be correlated to the level of hydrogen peroxide. In some embodiments, the sensor is a subcutaneous sensor.
- These and other features, objects and advantages of the disclosed subject matter will become apparent to those persons skilled in the art upon reading the detailed description as more fully described below.
- A detailed description of various aspects, features, and embodiments of the subject matter described herein is provided with reference to the accompanying drawings, which are briefly described below. The drawings are illustrative and are not necessarily drawn to scale, with some components and features being exaggerated for clarity. The drawings illustrate various aspects and features of the present subject matter and may illustrate one or more embodiment(s) or example(s) of the present subject matter in whole or in part.
-
FIGURE 1 is a schematic view of the system in accordance with one embodiment of the disclosed subject matter; -
FIGURE 2 is a view, in partial cross section, of an electrochemical sensor that is not in accordance with the present invention; -
FIGURE 3 is a view of an electrochemical sensor in accordance with another embodiment of the disclosed subject matter; -
FIGURE 4 is a view of the electrochemical sensor ofFIGURE 3 in a folded configuration in accordance with the disclosed subject matter; -
FIGURE 5 is a view of an electrochemical sensor in accordance with a further embodiment of the disclosed subject matter; -
FIGURE 6 is a view of the electrochemical sensor ofFIGURE 5 in a folded configuration in accordance with the disclosed subject matter; -
FIGURE 7 is a perspective view of an on-body unit in accordance with one embodiment of the disclosed subject matter; -
FIGURE 8 is a perspective view in partial cross-section of an on-body unit ofFIGURE 7 in accordance with the disclosed subject matter; -
FIGURE 9 is a schematic view of the system in accordance with one embodiment of the disclosed subject matter; -
FIGURE 10 is a sectional, perspective view of another embodiment of an inserter in accordance with the disclosed subject matter; -
FIGURES 11-12 are perspective views of components of the inserter ofFIGURE 10 in accordance with the disclosed subject matter; -
FIGURE 13 is a sectional view of a component of the inserter ofFIGURE 10 in accordance with the disclosed subject matter; -
FIGURE 14 is a perspective views of components of the inserter ofFIGURE 10 in accordance with the disclosed subject matter; -
FIGURE 15 is a sectional view of the component ofFIGURE 14 in accordance with the disclosed subject matter; -
FIGURES 16-17 are schematic views of a needle hub in accordance with one embodiment of the disclosed subject matter; -
FIGURE 18 is a distal end view of a sharp in accordance with one embodiment of the disclosed subject matter; -
FIGURE 19 is a side view of a sharp in accordance with one embodiment of the disclosed subject matter; -
FIGURE 20 is a side view of a sharp in accordance with one embodiment of the disclosed subject matter; -
FIGURE 21 is a perspective view with parts separated of an inserter in accordance with one embodiment of the disclosed subject matter; -
FIGURE 22 is a perspective view with parts separated of an inserter in accordance with one embodiment of the disclosed subject matter; -
FIGURE 23 is an enlarged sectional view with parts separated of an inserter in accordance with one embodiment of the disclosed subject matter; -
FIGURES 24-25 are perspective views of components of the inserter ofFIGURE 10 in accordance with the disclosed subject matter; -
FIGURES 26-29 are sectional views of the inserter ofFIGURE 10 in accordance with the disclosed subject matter; -
FIGURES 30-31 are perspective views of components of the inserter ofFIGURE 10 in accordance with the disclosed subject matter; -
FIGURES 32-33 illustrates a power supply switch mechanism including conductive plug of the on-body integrated sensor and sensor electronics assembly in accordance with embodiments of the disclosed subject matter; -
FIGURES 34A-36B illustrates a power supply switch mechanism including conductive pads on the on-body integrated sensor and sensor electronics assembly in accordance with embodiments of the disclosed subject matter; -
FIGURE 37 illustrates a power supply switch mechanism including an internal switch with a push rod activation of the on-body integrated sensor and sensor electronics assembly in accordance with embodiments of the disclosed subject matter; -
FIGURE 38 illustrates power supply switch mechanism including introducer retraction trigger activation of the on-body integrated sensor and sensor electronics assembly in accordance with embodiments of the disclosed subject matter; -
FIGURE 39 illustrates a power supply switch mechanism with a contact switch of the on-body integrated sensor and sensor electronics assembly in accordance with embodiments of the disclosed subject matter; -
FIGURES 40-41 illustrates a power supply switch mechanism with a battery contact locking mechanism of the on-body integrated sensor and sensor electronics assembly in accordance with embodiments of the disclosed subject matter; and -
FIGURES 42-43 illustrates a power supply switch mechanism with a bi-modal dome switch of the on-body integrated sensor and sensor electronics assembly in accordance with embodiments of the disclosed subject matter. - A detailed description of the disclosure is provided herein. It should be understood, in connection with the following description, that the subject matter is not limited to particular embodiments described, as the particular embodiments of the subject matter may of course vary. It is also to be understood that the terminology used herein is for the purpose of describing particular embodiments only, and is not intended to be limiting, since the scope of the disclosed subject matter will be limited only by the appended claims.
- Where a range of values is provided, it is understood that each intervening value between the upper and lower limit of that range and any other stated or intervening value in that stated range, is encompassed within the disclosed subject matter. Every range stated is also intended to specifically disclose each and every "subrange" of the stated range. That is, each and every range smaller than the outside range specified by the outside upper and outside lower limits given for a range, whose upper and lower limits are within the range from said outside lower limit to said outside upper limit (unless the context clearly dictates otherwise), is also to be understood as encompassed within the disclosed subject matter, subject to any specifically excluded range or limit within the stated range. Where a range is stated by specifying one or both of an upper and lower limit, ranges excluding either or both of those stated limits, or including one or both of them, are also encompassed within the disclosed subject matter, regardless of whether or not words such as "from", "to", "through", or "including" are or are not used in describing the range.
- Unless defined otherwise, all technical and scientific terms used herein have the same meaning as commonly understood by one of ordinary skill in the art to which this disclosed subject matter belongs. Although any methods and materials similar or equivalent to those described herein can also be used in the practice or testing of the present disclosed subject matter, this disclosure may specifically mention certain exemplary methods and materials.
- The publications discussed herein are provided solely for their disclosure prior to the filing date of the present application. Nothing herein is to be construed as an admission that the present disclosed subject matter is not entitled to antedate such publication by virtue of prior invention. Further, the dates of publication provided may be different from the actual publication dates, which may need to be independently confirmed.
- As used herein and in the appended claims, the singular forms "a", "an", and "the" include plural referents unless the context clearly dictates otherwise.
- Nothing contained in the Abstract or the Summary should be understood as limiting the scope of the disclosure. The Abstract and the Summary are provided for bibliographic and convenience purposes and due to their formats and purposes should not be considered comprehensive.
- As will be apparent to those of skill in the art upon reading this disclosure, each of the individual embodiments described and illustrated herein has discrete components and features which may be readily separated from or combined with the features of any of the other several embodiments without departing from the scope of the present disclosed subject matter. Any recited method can be carried out in the order of events recited, or in any other order which is logically possible. Reference to a singular item, includes the possibility that there are plural of the same item present. When two or more items (for example, elements or processes) are referenced by an alternative "or", this indicates that either could be present separately or any combination of them could be present together except where the presence of one necessarily excludes the other or others.
- Certain classes of analyte monitors are provided in small, lightweight, battery-powered and electronically-controlled systems. Such a system may be configured to detect signals indicative of in vivo analyte levels using an electrochemical sensor, and collect such signals, with or without processing the signal. In some embodiments, the portion of the system that performs this initial processing may be configured to provide the raw or initially processed data to another unit for further collection and/or processing. Such provision of data may be effected, for example, via a wired connection, such as an electrical, or via a wireless connection, such as an IR or RF connection.
- Certain analyte monitoring systems for in vivo measurement employ a sensor that measures analyte levels in interstitial fluids under the surface of the subject's skin. These may be inserted partially through the skin ("transcutaneous") or entirely under the skin ("subcutaneous"). A sensor in such a system may operate as an electrochemical cell. Such a sensor may use any of a variety of electrode configurations, such as a three-electrode configuration (e.g., with "working", "reference" and "counter" electrodes), driven by a controlled potential (potentiostat) analog circuit, a two-electrode system configuration (e.g., with only working and counter electrodes), which may be self-biasing and/or self-powered, and/or other configurations. In some embodiments, the sensor may be positioned within a blood vessel.
- In certain systems, the analyte sensor is in communication with a sensor control unit. As used in this disclosure, an on-body unit sometimes refers to such a combination of an analyte sensor with such a sensor control unit.
- Certain embodiments are modular. The on-body unit may be separately provided as a physically distinct assembly, and configured to provide the analyte levels detected by the sensor over a communication link to a monitor unit, referred to in this disclosure as a "receiver unit" or "receiver device", or in some contexts, depending on the usage, as a "display unit," "handheld unit," or "meter". The monitor unit, in some embodiments, may include, e.g., a mobile telephone device, a personal digital assistant, other consumer electronic device such as MP3 device, camera, radio, etc., or other communication-enabled data processing device.
- The monitor unit may perform data processing and/or analysis, etc. on the received analyte data to generate information pertaining to the monitored analyte levels. The monitor unit may incorporate a display screen, which can be used, for example, to display measured analyte levels, and/or audio component such as a speaker to audibly provide information to a user, and/or a vibration device to provide tactile feedback to a user. It is also useful for a user of an analyte monitor to be able to see trend indications (including the magnitude and direction of any ongoing trend), and such data may be displayed as well, either numerically, or by a visual indicator, such as an arrow that may vary in visual attributes, such as size, shape, color, animation, or direction. The receiver device may further incorporate an in vitro analyte test strip port and related electronics in order to be able to make discrete (e.g., blood glucose) measurements.
- The modularity of these systems may vary. In some embodiments the sensor is attachable and detachable from the sensor control unit (and the on-body unit may be reusable), while in other embodiments, the sensor and sensor control unit may be provided as an integrated, un-detachable package, which may be disposable after use.
-
FIG. 1 shows one embodiment of an analyte measurement system 10. In such a system, a data processing unit orsensor control unit 12 may interact with ananalyte sensor 14 to obtain signals representative of analyte levels.Sensor control unit 12 may further include communications circuit with associated electronics (not shown). In some embodiments, thesensor control unit 12 and sensor are constructed to be maintained "on the body" of the subject for a period of time that may include hours, days, weeks, or a month or more. Accordingly, thesensor control unit 12 andsensor 14 may be referred to collectively herein as an on-body unit 16. A receiver unit or monitorunit 18 may also be provided. In the embodiment shown,sensor control unit 12 and monitorunit 18 communicate via connection 20 (in this embodiment, a wireless RF connection). Communication may occur, e.g., via RF communication, infrared communication, Bluetooth communication, Zigbee communication, 802.1 x communication, or WiFi communication, etc., In some embodiments, the communication may include an RF frequency of 433 MHz, 13.56 MHz, or the like. In some embodiments, asecondary monitor unit 22 may be provided. Adata processing terminal 24 is useful for providing further processing or review of analyte data. - In certain embodiments, system 10 may be a continuous analyte monitor (e.g., a continuous glucose monitoring system or CGM), and accordingly operate in a mode in which the communications via
connection 20 has sufficient range to support a flow of data from on-body unit 16 to monitorunit 18. In some embodiments, the data flow in a CGM system is automatically provided by the on-body unit 16 to themonitor unit 18. For example, no user intervention may be required for the on-body unit 16 to send the data to themonitor unit 18. In some embodiments, the on-body unit 16 provides the signal relating to analyte level to the receivingunit 18 on a periodic basis. For example, the signal may be provided, e.g., automatically sent, on a fixed schedule, e.g., once every 250ms, once a second, once a minute, etc. In some embodiments, the signal is provided to themonitor unit 18 upon the occurrence of an event, e.g., a hyperglycemic event or a hypoglycemic event, etc. In some embodiments,data processing unit 12 may further include local memory in which it may record, "logged data" or buffered data collected over a period of time and provide the some or all of the accumulated data to monitorunit 18 from time-to-time. Or, a separate data logging unit may be provided to acquire periodically transmitted data fromtransmitter device 12. Data transmission in a CGM system may be one-way communication, e.g., the on-body unit 16 provides data to themonitor unit 18 without receiving signals from themonitor unit 18. In some embodiments, two-way communication is provided between the on-body unit 16 and themonitor unit 18. - In some embodiments, a signal is provided to the
monitor unit 18 "on demand." According to such embodiments, themonitor unit 18 requests a signal from the on-body unit 16, or the on-body unit 16 may be activated to send signal upon activation to do so. Accordingly, one or both of the on-body unit 16 and monitorunit 18 may include a switch activatable by a user or activated upon some other action or event, the activation of which causes analyte-related signal to be transferred from the on-body unit 16 to themonitor unit 18. For example, themonitor unit 18 is placed in close proximity with a transmitter device and initiates a data transfer, either over a wired connection, or wirelessly by various means, including, for example various RF-carried encodings and protocols and IR links. - In some embodiments, the signal relating to analyte level is instantaneously generated by the
analyte sensor 14 upon receipt of the request, and transmitted to themonitor unit 18 as requested, and/or the signal relating to analyte level is periodically obtained, e.g., once every 250ms, once a second, once a minute, etc. Upon receipt of the "on demand" request at the on-body unit 16, an analyte signal is provided to the monitor unit. In some cases, the signal provided to themonitor unit 18 is or at least includes the most recent analyte signal(s). - In further embodiments, additional data is provided to the
monitor unit 18 "on demand." For example, analyte trend data may be provided. Such trend data may include two or more analyte data points to indicate that analyte levels are rising, falling, or stable. Analyte trend data may include data from longer periods of time, such as, e.g., several minutes, several hours, several days, or several weeks. - Further details regarding on demand systems are disclosed in
U.S. Patent No. 7,620,438 ,U.S. Patent Publication Nos. 2009/0054749 A1, published February 26, 2009 ;2007/0149873 A1, published June 28, 2007 ;2008/0064937 A1, published March 13, 2008 ;2008/0071157 A1, published March 20, 2008 ;2008/0071158 A1, published March 20, 2008 ;2009/0281406 A1, published November 12, 2009 ;2008/0058625 A1, published March 6, 2008 ;2009/0294277 A1, published December 3, 2009 ;2008/0319295 A1, published December 25, 2008 ;2008/0319296 A1, published December 25, 2008 ;2009/0257911 A1, published October 15, 2009 ,2008/0179187 A1, published July 31, 2008 ;2007/0149875 A1, published June 28, 2007 ;2009/0018425 A1, published January 15, 2009 ; and pending ;U.S. Patent Application Nos. 12/625,524, filed November 24, 2009 ;12/625,525, filed November 24, 2009 ;12/625,528, filed November 24, 2009 ;12/628,201, filed November 30, 2009 ;12/628,177, filed November 30, 2009 ;12/628,198, filed November 30, 2009 ;12/628,203, filed November 30, 2009 ;12/628,210, filed November 30, 2009 ;12/393,921, filed February 27, 2009 ;61/149,639, filed February 3, 2009 ;12/495,709, filed June 30, 2009 ;61/155,889, filed February 26, 2009 ;61/155,891, filed February 26, 2009 ;61/155,893, filed February 26, 2009 ;61/165,499, filed March 31, 2009 ;61/227,967, filed July 23, 2009 ;61/163,006, filed March 23, 2009 ;12/495,730, filed June 30, 2009 ;12/495,712, filed June 30, 2009 ;61/238,461, filed August 31, 2009 ;61/256,925, filed October 30, 2009 ;61/238,494, filed August 31, 2009 ;61/238,159, filed August 29, 2009 ;61/238,483, filed August 31, 2009 ;61/238,581, filed August 31, 2009 ;61/247,508, filed September 30, 2009 ;61/247,516, filed September 30, 2009 ;61/247,514, filed September 30, 2009 ;61/247,519, filed September 30, 2009 ;61/249,535, filed October 7, 2009 ;12/544,061, filed August 19, 2009 ;12/625,185, filed November 24, 2009 ;12/625,208, filed November 24, 2009 ;12/624,767, filed November 24, 2009 ;12/242,780, filed September 30, 2008 ;12/183,602, filed July 31, 2008 ; and12/211,014, filed September 15, 2008 .12/114,359, filed May 2, 2008 - The
analyte sensor 14 of the analyte measurement system 10 may be used to monitor levels of a wide variety of analytes. Analytes that may be monitored include, for example, acetyl choline, amylase, bilirubin, cholesterol, chorionic gonadotropin, creatine kinase (e.g., CK-MB), creatine, DNA, fructosamine, glucose, glutamine, growth hormones, hormones, ketones, lactate, peroxide, prostate-specific antigen, prothrombin, RNA, thyroid stimulating hormone, and troponin. The concentration of drugs, such as, for example, antibiotics (e.g., gentamicin, vancomycin, and the like), digitoxin, digoxin, drugs of abuse, theophylline, and warfarin, may also be monitored. One or more analyte may be monitored by a given sensor. - In one embodiment of the present disclosure,
sensor 14 is physically positioned in or on the body of a user whose analyte level is being monitored.Sensor 14 may be configured to continuously sample the analyte level of the user and convert the sampled analyte level, e.g., glucose concentration into a corresponding data signal, e.g., a current or voltage, for input into sensor control unit electronics. Alternatively,sensor 14 may be configured to sample analyte levels on demand. The sensor control unit electronics may amplify, filter, or otherwise process the signal provided by the sensor. - The sensor may take on a number of forms. For example, the sensor may include a flexible or rigid substrate. In some embodiments, the sensor may be a wire. In some embodiments, the sensor may include two or three or more electrodes.
- A
sensor 14 is illustrated inFIGURE 2 . This is not in accordance with the present invention and is shown by way of illustration only. In some embodiments,sensor 14 includes a substrate which is a dielectric, e.g., a polymer or plastic material, such as polyester or polyamide. In theFIGURE 2 arrangement, the sensor is constructed so that a portion is positionable beneath skin and a portion is above skin. Accordingly,sensor 14 includes aninsertion portion 30 and acontact portion 32. Thecontact portion 32 typically includes several 36, 38, and 40 (herein shown as 3 contacts) for connection to other electronics, e.g., at theconductive contacts data processing unit 12. The contacts provided are for a workingelectrode 36, areference electrode 38, and acounter electrode 40. In some embodiments, two or more working electrodes are provided. The operative portions of these electrodes, that is, working electrode, reference electrode, and counter electrode (not individually shown), are provided at the distal end ofinsertion portion 30. The contact and operative portions of the electrodes are connected by circuit traces 42, 44, and 46 running on the surface of substrate. In some embodiments, the traces are provided in channels, or may be embedded within the substrate, or may traverse different sides of the substrate. The conductive contacts, conductive traces, and electrodes are fabricated from a conductive material, such as platinum, palladium, gold, or conductive carbon. Further details of sensors are described, e.g., inU.S. Patent Nos. 6,175,572 ;6,103,033 . -
Sensor 14 may include aproximal retention portion 48. In accordance with embodiments of the present invention, theinsertion portion 30 and theproximal retention portion 48 are substantially longitudinally aligned. Theinsertion portion 30 and theproximal retention portion 48 are sized and configured to be positioned with a sharp for installation into the skin of a subject, as described herein. In use, thesensor 14 is configured to bend (e.g., along the line B) and therefore may be positioned in two substantially perpendicular, intersecting planes. - As illustrated in
FIGURE 3 , sensor 14' is substantially identical tosensor 14, with many of the differences illustrated inFIGURE 3 and noted herein. Sensor 14' further includes additional features useful for connecting to, e.g., mounting to or in or on, a housing associated with thesensor control unit 12. For example, sensor 14' includes a laterally displaced portion (or sensor tab) 50' and a longitudinal displacedportion 52' which provide a path for electrical connections, e.g., the conductive traces. Sensor 14' is further provided with a notch 54' between the proximal retention portion 48' and the longitudinal displacedportion 52'. Such configuration permits the sensor 14' to bend (e.g., along the are indicated by line B) and therefore be positioned in two substantially perpendicular, intersecting planes, as illustrated inFIGURE 4 . As will be described below, the sensor tab 50' can be encased in the portion of the body of thedata processing unit 12 to aid in securing and positioning the sensor 14'. Proximal retention portion 48' maintains its longitudinal alignment withinsertion portion 30 for positioning within an insertion sharp. -
FIGURE 5 illustrates a further embodiment of asensor 14" in accordance with the disclosure.Sensor 14" is substantially identical tosensor 14 and 14', with certain exemplary differences illustrated inFIGURE 4D and noted herein. For example,sensor 14" includes acontact portion 32" which defines a fan-like configuration having a curved edge.Sensor 14" defines asensor flag indentation 56" which also serves to assist in retaining thesensor 14" in vertical direction, as will be described below, and provides a discrete location for mating with a feature of thedata processing unit 12, e.g., the bottom surface of a printed circuit board.Sensor 14" is likewise capable of bending along axis B, as illustrated inFIGURE 6 . In any of the embodiments of the sensor described herein, the distance betweeninsertion portion 30 toretention portion 48 may be, e.g., about 5 mm, or about 10 mm, or about 15 mm, or about 20 mm. - In general, sensors in accordance with the present disclosure operate electrochemically, through an arrangement of electrodes having chemical sensing layers applied thereto, by generating an electrical current proportional to the volume of a redox reaction of the analyte (and indicative of analyte concentration), catalyzed by an analyte-specific oxidizing enzyme. Embodiments exist in which the number of electrodes provided to bring about and detect the level of these reactions is two, three or a greater number.
- A portion of sensor 14 (which collectively refers to
sensors 14' and 14" herein) may be situated above the surface of the skin, with adistal portion 30 penetrating through the skin and into the subcutaneous space in contact with the user's biofluid, such as interstitial fluid. The disposition of the sensor in the illustrated embodiment is referred to as "transcutaneous". In general, the term "transcutaneous" as used herein refers to a sensor that is only partially inserted under one or more layers of the skin of the user, whereas the term "subcutaneous" refers to a sensor that is completely inserted under one or more layers of the skin of the user. It is understood that many features described herein would be applicable to both transcutaneous and subcutaneous sensors. Further details regarding the electrochemistry ofsensor 14 is provided inU.S. Patent Nos. 5,264,104 ;5,356,786 ;5,262,035 ;5,320,725 ;6,990,366 . - In some embodiments, the sensor is implantable into a subject's body for a period of time (e.g., three to seven days, or in some embodiments, longer periods of up to several weeks) to contact and monitor an analyte present in a biological fluid. In this regard, the sensor can be disposed in a subject at a variety of sites (e.g., abdomen, upper arm, thigh, etc.), including intramuscularly, transcutaneously, intravascularly, or in a body cavity. In one embodiment, the sensor can be a transcutaneous glucose sensor. Alternatively, the sensor can be a subcutaneous glucose sensor.
- In some embodiments,
sensor 14 is employed by insertion and/or implantation into a user's body for some usage period. In such embodiments, substrate may be formed from a relatively flexible material to improve comfort for the user and reduce damage to the surrounding tissue of the insertion site, e.g., by reducing relative movement of the sensor with respect to the surrounding tissue. - While the embodiments illustrated in
FIGS. 3-6 have three electrodes, other embodiments can include a fewer or greater number of electrodes. For example, a two electrode sensor can be utilized. The sensor may be externally- powered and allow a current to pass proportional to the amount of analyte present. Alternatively, the sensor itself may act as a current source in some embodiments. In some two-electrode embodiments, the sensor may be self-biasing and there may be no need for a reference electrode. An exemplary self-powered, two-electrode sensor is described in , and entitled "Self-Powered Analyte Sensor,". The level of current provided by a self- powered sensor may be low, for example, on the order of nanoamperes.U.S. Patent Application No. 12/393,921, filed February 26, 2009 - An exemplary configuration for sensor 14 (and
sensors 14' and 14") and sensor control unit 12 (e.g., collectively on-body unit 16) is illustrated inFIGURES 7-8 .Data processing unit 12, may be provided with a substantially circular configuration having a reduced height (i.e., "Z"-dimension) to provide a low-profile when sitting on the skin of the subject. In some embodiments, the height is about 3 mm to about 25 mm, e.g., may be about 4 mm, about 5 mm, about 10 mm, or about 15 mm. In certain embodiments, theunit 12 may have a variable height.Data processing unit 12, including its associatedelectronics 80, are housing in asenor housing 122. For example, electronics may include, e.g., an analog interface for connecting to thesensor 14, a processor, and a power supply. A serial communication section may be provided. A temperature sensor, such as a thermistor detects skin and or ambient temperature may be included to provide compensation to the analyte signal. A RF communication circuit is provided to communicate with themonitor unit 18. A data storage unit may be provided to storage analyte data points over a short term, e.g., several hours or minutes, or over a long term, e.g., several days or weeks. Additional optional electronics include a serial communication section, a leakage detection circuit, or user input, e.g., a switch to activate/deactivate some or all of the device. Many of the components may be combined together and/or their function provided by common components. Furthermore, certain components may be eliminated entirely. For example, a power supply may be omitted if power is provided by inductive coupling. - In some embodiments,
sensor 14 is disposed within thedata transmitting unit 12, e.g., in a bent configuration, as illustrated in certain embodiments herein, e.g., inFIGURES 4 and6 . Thecontact portion 32 ofsensor 14 may be oriented in a substantially horizontal configuration, and secured to a printed circuit board of thetransmitter unit 12. Theinsertion portion 30 of thesensor 14 extends in a substantially downwardly vertical orientation for placement in the skin of the subject. It is understood thatsensor 14 may be disposed in other configurations, e.g., in an entirely substantially vertical configuration, etc. As a further example, theinsertion portion 30 may be disposed at an oblique angle, e.g., between about 0° and about 90° with respect to the skin surface. - As illustrated in
FIGURE 9 , the on-body unit 16 communicates with themonitor unit 18. Such communication may be one-way communication, e.g., from the on-body unit 16 to themonitor unit 18. In some embodiments, the communication may be two-way, e.g., both from the on-body unit 16 to the receivingunit 18 and from the receivingunit 18 to the on-body unit 16. In such cases, the receivingunit 18 may also be referred to herein as a display unit, transceiver or handheld unit. Communication between the on-body unit 16 and monitorunit 18 may occur via RF communication, inductive coupling, direct wired connection, etc. - An insertion assembly is provided, which is used to install a medical device to the subject. In some embodiments, the insertion assembly includes an inserter and the medical device itself. The inserter can be configured to insert various medical devices to the subject, such as for example, an analyte sensor, an infusion set, a cannula, or a lancet. In some embodiments, the inserter can be configured to install a combination of such devices, e.g., a combined sensor/infusion set, etc. In certain embodiments, a given inserter can be configured to install a first device and a second device at different times. For example, an inserter may be modifiable to be used with more than one medical device, include more than one type of medical device, e.g., by attaching an adapter and/or removing detaching a portion of an inserter. The inserter can install the medical device transcutaneously in, under, or through the skin of the subject; or subcutaneously; or placed on the surface of the skin. The medical device can include features or structures, e.g., barbs, tabs, adhesive, etc., to maintain the device in position with respect to the skin after insertion.
- In other embodiments, the insertion assembly includes an inserter, a medical device, such as an analyte sensor, and a mount for supporting the medical device at least partially in or on the skin of the subject. The mount may be inserted simultaneously with the medical device by the inserter. In other embodiments, the mount is installed after or before installation of the medical device. In such case the mount may be applied by the inserter or separately. The mount may include features or structures to maintain the sensor in position with respect to the skin after insertion.
- In further embodiments, the insertion assembly includes an inserter, an analyte sensor, a mount, and a power supply. The mount and power supply may be inserted simultaneously with the analyte sensor by the inserter. In other embodiments, the mount and battery are installed after or before installation of the analyte sensor. In such case the mount and/or power supply may be applied by the inserter or separately.
- In still further embodiments, the insertion assembly includes an inserter, a medical device such as an analyte sensor, a mount, and electronics. The mount and electronics may be inserted simultaneously with the analyte sensor by the inserter. In other embodiments, the mount and electronics are installed after or before installation of the analyte sensor. For example, the mount and the analyte sensor may be installed by the inserter, and the electronics may be subsequently installed. In other embodiments, the mount is installed, followed by insertion of the analyte sensor by the inserter, and further followed by installation of the sensor. In other embodiments, the mount and electronics are installed first, and the analyte sensor is subsequently installed.
- In some embodiments, the electronics provide a voltage or current to the analyte sensor. In some embodiments, the electronics processes signals provided by the analyte sensor. In further embodiments, the electronics may include communication functionality for providing a signal relating to the signal provided by the analyte sensor to a further component, such as, e.g., a monitor unit, a handheld unit, a meter, a display unit, a computer, or other component. In some embodiments, communications circuitry, such as RFID antenna or communications circuitry is provided.
- The inserter can include a plurality of different components. For example, the inserter may include one or more components for advancing a sharp towards the skin of the subject. The sensor and associated electronics and/or mounting structure may be supported by a support structure, such as a carriage. A driver may be provided for advancing the sharp and/or the analyte sensor/support structure. In some embodiments, the actuator is coupled to the sharp and/or support structure, such that manual force and speed applied by the user to the actuator is transferred to the sharp and/or support structure.
- The inserter can also include one or more components for retracting the sharp, while allowing the analyte sensor and optional mount and/or electronics to remain to the subject. The components for retracting the sharp can include a retractor. It is understood that the retractor and the actuator may be the same structure or include some common components. In some embodiments, the retractor is directly or indirectly coupled to the sharp such that the manual force applied by the user is transferred from the retractor to the sharp to retract the sharp from the skin. In other embodiments, a drive assembly may be provided to retract the sharp. For example, the drive assembly may include a spring, motor, hydraulic piston, etc., to retract the sharp away from the skin of the subject. The drive assembly may also include a linear drive component.
- In some embodiments, the retractor withdraws the sharp upon actuation by the user. In such cases, the user actuates the retractor when it is desired to withdraw the sharp. For example, the retractor may include a release switch. Upon activation of the release switch, the drive assembly, e.g., the spring or other driver, retracts the sharp from the skin. In other embodiments, the retractor and the actuator comprise common components. After activating the actuator to advance the sharp and the analyte sensor, the user releases the actuator, which allows the drive assembly to withdraw the sharp from the skin.
- In some embodiments, the retractor withdraws the sharp without further user interaction after actuation of insertion. For example, the inserter may include features or components which automatically retract the sharp upon advancement of the sharp and support structure by a predetermined amount. Inserter devices, in which no further action by the user is required to initiate withdrawal of the sharp after insertion, are referred to herein as having "automatic" withdrawal of the sharp.
- An
inserter 100 in accordance with an exemplary embodiment is illustrated inFIGURE 10 .Inserter 100 includes ahandle 102 and a removabledistal cap 104. Thecap 104 may maintain a sterile, contaminant-free environment for the medical device and sharp housed therein. As illustrated inFIGURES 10 ,19-20 and23-25 ,distal cap 104 is secured to handle 102, e.g., by use of one or more mating members, e.g., 110 and 111, or hooks, tape, and the like.threads Inserter 100 includes a base 142 which defines a distal, substantiallyplanar surface 112 for placement on the skin S of a subject, and in other embodiments may be a curved or inclined surface, e.g., a concave or convex surface.Inserter 100 may be utilized to advance a medical device into the skin of the subject, e.g., an analyte sensor, and infusion set, etc. In some embodiments, handle 102 is advanced relative tobase 142 in order to advance the medical device into the skin of the patient, as will be described in greater detail herein. - The components of
inserter 100 are illustrated inFIGURES 11-27 . As illustrated inFIGURE 11 , handle 102 includes acontact surface 114 for contact by a user to insert and install thesensor housing 122 andsensor 14.Threads 110 are provided onhandle 102 for attachment to cap 104 via threads 111 (as illustrated inFIGURES 12-13 ).Cap 104 can include an upwardly extendingboss 125 to assist positioning of the sharp 124. The distal portion ofcap 104 includes arecess 115 for retaining adesiccant 190 therein. In some embodiments, a silica gel or molecular sieves may be used. Such material can be in either in granular form (pellets) or pressed into tablets. In some embodiments, silica gel tablets are used. -
Cap 104 is provided with one ormore apertures 117, which allows for passage of air to thedesiccant 190 to remove moisture from the interior of theinserter 100.Cap 104 includes anannular ridge 113 which engages thedistal edge portion 116 ofhandle 102. In some embodiments,annular ridge 113 prevents distal movement of handle 102 (as well as sharp 124) whencap 104 is attached to handle 102. -
Base 142, as illustrated inFIGURES 10 and14 , includes adistal sheath portion 192, which shields sharp 124 prior to deployment and adistal rim 112 having a substantially planar surface configuration to rest on the subject'sskin S. Base 142 also includesside walls 191, which along withinner rail 128 defines a recess forretraction spring 146.Base 142 provides aspring floor 148, as illustrated inFIGURE 29 . - Support member or
shuttle 134, as illustrated inFIGURES 15-16 , supportsneedle hub 136, from which sharp 124 extends longitudinally within theinserter 100. In some embodiments, the sharp is supported at an oblique angle, e.g., between about 0° and about 90° with respect to the skin surface.Needle hub 136 can be secured toshuttle 134 via an interlocking O-ring configuration, adhesive, or other techniques known in the art. In some embodiments, sharp 124 is a solid needle. In some embodiments, sharp 124 is provided with a substantially cylindrical configuration defining an interior bore, e.g., a rigid cannula or a hypodermic-style needle. -
Needle hub 136 is further illustrated inFIGURES 17-18 .Needle hub 136 supports sharp 124, having a sharpeneddistal portion 160. In some embodiments, as discussed herein, a longitudinal wall opening orgap 162 is provided in at least a portion of the wall of the sharp 124. The length N of thegap 162 is selected to be commensurate with the length of theinsertion portion 30 through to theproximal retention portion 48 of the sensor, or about 5 mm, or about 10 mm, or about 15 mm, or about 20 mm. The length L of the sharp 124 may be about 5mm, or about 10 mm, or about 20 mm, about 30 mm, or about 50 mm, and is selected based upon the desired depth of theinsertion portion 30 of thesensor 14. - The
distal portion 160 of sharp 124 is illustrated in greater detail inFIGURES 19-21 . As illustrated inFIGURE 19 , sharp 124 has a substantially "C"- or "U" -shaped profile in this embodiment, but may have other configurations, e.g., substantially "V"-shaped. Alongitudinal gap 162 is provided in the wall of the sharp 124.FIGURE 20 illustratesdistal portion 160 is provided with an angled tip. In some embodiments, the angled tip may be provided with a firstangled tip portion 164 and a second steep-angledtip portion 166. The exemplary configuration, which includes multiple edges and faces, provides a sharp point to reduce penetration force, trauma, and bleeding for the subject. The distal section of the sensor body has a width sized to fit within thenotch 162 of the insertion sharp 124 having a diameter less than about 0.64 to about 0.51 mm (about 22 to about 24 gauge), in certain embodiments the sharp is 0.45 mm in diameter (25 gauge). In some embodiments, sharp 124 is a fabricated from a sheet of metal, and folded into a substantially "V" or "U" or "C" configuration in cross-section. In some embodiments, a laser is used to form the wall opening orgap 162. -
FIGURES 22-23 illustrate the position ofsensor housing 122 with respect to theneedle hub 136 and sharp 124. As illustrated inFIGURE 22 , the sharp 124 extends through anaperture 168 in thesensor housing 122. The distal portion ofsensor 14 is positioned with the sharp 124. As further illustrated inFIGURE 23 , electronics 80 (e.g., a printed circuit board containing ASIC electronics) andsensor hub 123 are positioned withinsensor housing 122. Apower supply 82, such as a battery, e.g., a single use disposable battery, or rechargeable battery, is provided. In some embodiments, the active operational life of the battery may exceed the active operational life of thesensor 14. -
FIGURE 24 illustrates in cross-section the orientation of thesensor housing 122 with respect to the sharp 124 ofinserter 100. As discussed herein,sensor 14 is disposed in a substantially bent configuration, such that a portion of the sensor, e.g., theinsertion portion 30 and theproximal retention portion 48 are substantially vertical (e.g., substantially aligned with the longitudinal axis of theinserter 100 and substantially perpendicular to the skin surface) and the contact portion 32 (shown in profile) is oriented in a substantially horizontal configuration, and in electrical contact with the data processing unit electronics, such ascircuit 80. Thesensor tab 50 can be encased in the plastic of the sensor housing 122 (e.g., "overmolded") and secured in place. Thenotch 56 provides further stability to thesensor 14, e.g., by allowing thesensor tab 50 to be encased by the material of thesensor housing 122, and further provides a means for vertically orienting thesensor 14 during mounting, e.g., by allowing vertical positioning of thenotch 56 with respect to a vertical landmark of thehousing 122. - The
sensor 14, mounted with thesensor housing 122, is disposed within the concave recess in thecarriage 130. In the initial configuration of the inserter 100 (see, e.g.,FIGURES 10 and28-29 ) the sharp 124 extends through alongitudinal aperture 168 formed in acarriage 130. In some embodiments, theaperture 168 is appropriately sized, such that neither the sharp 124 norneedle hub 136 is in contact with thecarriage 130. Accordingly, the needle hub 136 (and sharp 124) on the one hand, and thecarriage 130 and thesensor housing 122, on the other hand, move simultaneously but independently from one another. In other embodiments, a friction fit may be provided between the aperture and the sharp. - The
insertion portion 30 andproximal retention portion 48 of thesensor 14 are disposed within alongitudinal bore 162 within the sharp 124. (See, e.g.,FIGURE 19 ) Theproximal retention portion 48 is disposed within the longitudinal bore of the sharp and provides additional stability to the mounting of thesensor 14 within the sharp 124. The longitudinal wall gap or opening 162 of sharp 124 is aligned with thesensor 14, such that thetab 50 and thecontact portion 32 extend laterally outward from the sharp 124. - With continued reference to
FIGURES 15 and 16 ,shuttle 134 includeswings 182 and resilient distally-extendingfingers 184.Inner rail 128 is illustrated inFIGURE 25 . As illustrated inFIGURE 26 ,shuttle 134 is sized and configured for slidable movement withininner rail 128.Wings 182 ofshuttle 134 are configured for slidable movement withinaxial notches 188 ofinner rail 128. Whenfingers 184 ofshuttle 134 are disposed in their normally biased outward position,fingers 184 engage thelower surface 194 ofinner rail 128. In the configuration illustrated inFIGURE 26 ,shuttle 134 is locked with respect toinner rail 128. As will be discussed herein,fingers 184 may be biased radially inward to allow upward movement ofshuttle 134 relative toinner rail 128. - As illustrated in
FIGURE 10 , inner rail includes anupper surface 186 for engagement withhandle 102. In some embodiments,surface 186 is adhered or otherwise fixed to handle 102. - The relationship of
inner rail 128,shuttle 134 andbase 142 is illustrated inFIGURE 27 . In an initial configuration,inner rail 128 andshuttle 134 are in a locked relationship by engagement ofwings 182 andfingers 184.Inner rail 128 andshuttle 134 are axially movable withinbase 142.Spring 146, which is secured betweenspring floor 148 ofbase 142 andwings 182 ofshuttle 134 biases theinner rail 128 andshuttle 134 in a proximal (upward) direction. -
Inserter 100 is illustrated in section inFIGURES 28-29 prior to use in a sensor predeployment position.Cap 104 is attached to the distal portion ofinserter 100, via inter-engagement of 110 and 111.threads - As illustrated in
FIGURE 28 , theinserter 100 includes an initial configuration in which thehandle 102 is disposed in a proximal position with respect to thebase 142. In such configuration, the sharp 124 is disposed in a configuration spaced apart from an aperture of theadhesive layer 118. - As illustrated in
FIGURE 30 ,inner rail 128 includes acarriage 130. In a sensor insertion position, thehandle 102 is depressed downward (arrow D) against the bias ofspring 146, theinner rail 128 moves downwardly with thecarriage 130 and thesensor housing 122.Shuttle 134 supportsneedle hub 136, from which sharp 124 extends longitudinally within theinserter 100. Initiallyshuttle 134 is coupled toinner rail 128 via inter-engagement offingers 184 ofshuttle 134 withdistal surface 194 ofinner rail 128, and bothshuttle 134 andinner rail 128 move distally together as a unit. - As the sharp 124 is urged distally (
FIGURE 30 ), it carries thesensor insertion portion 30 ofsensor 14 into the subcutaneous portion of the subject's skin S and into contact with the interstitial fluid. Ascarriage 130 reaches a distal position, the distal surface of thesensor housing 122 engages the upper surface ofadhesive pad 118, thereby becoming adhered to the skin surface S of the subject. -
Flanges 170 onbase 142 engagefingers 184 ofshuttle 134.Fingers 184 are pivoted or bend inwards by contact with flanges 170 (as indicated by arrows F). - As illustrated in
FIGURE 31 , such pivoting offingers 184causes fingers 184 to become disengaged fromdistal edge 194 ofinner rail 128.Shuttle 134 is thereby disengaged from inner rail 528. Disengagement of theshuttle 134 from theinner rail 128 permits thespring 146 to expand, thereby advancing theshuttle 134 to a proximal position, and withdrawing the sharp 134 from thesensor 14 and the skin S of the subject, while leaving thesensor 14 in the skin. Once the sharp has been withdrawn from the subject, it is no longer accessible from the distal portion of theinserter 100, which prevents accidental needle sticks. When thecarriage 130 reaches the distal position in whichflanges 170 engagefingers 184 ofneedle shuttle 134,needle shuttle 134 withdraws needle 524 automatically without further input from the user. - Prior to activation of the
integrated sensor 14 andsensor electronics assembly 16 for use, there may be a period of time from the manufacturing that theassembly 16 may be in a "sleep" or "idle" mode. With a power supply such as a battery integrated within the assembly, for reasons including cost optimization and prolonging shelf life, embodiments of the present disclosure include systems that are activated merely by positioning thesensor 14 andelectronics unit 16 on a skin surface as described above, i.e., no additional action may be required of the user other than applying a force tohousing 122. As such, insertion of thesensor 14 and/or mounting of thehousing 122 causes activation of theelectronics 80. In certain embodiments, activation switch configurations are included which may be configured to be triggered, for example, by the insertion device activation, thereby turning on the integrated sensor and sensor electronics assembly into an active mode. - As illustrated in
FIGURE 29 ,inserter 100 is also provided with aplunger switch 185, which provides automatic activation of theelectronics 80 of thedata processing unit 12. In some embodiments, theplunger switch 185 is a longitudinally slidable member disposed on the distal surface of thesensor housing 122. When the sensor housing is advanced proximally, it engages theadhesive pad 118, or alternatively the skin surface of the subject. Upon such engagement, theplunger switch 185 is moved axially (proximally) with respect to thehousing 122. The plunger switch in the proximal position is shown inFIGURE 30 , for example. Such axial movement is used to activate thesensor electronics 80. In some embodiments, the plunger switch is spring biased. Accordingly, as long as the sensor housing is maintained in a fixed relationship with theadhesive pad 118 against the bias, electronic activation is maintained. If the sensor housing is removed from the adhesive or the skin, the plunger switch moves with the bias, and the electronics are deactivated. In other embodiments, the plunger switch provides a one-time activation of the electronics. In such cases, once the electronics are activated, the sensor housing is not required to remain in contact with the adhesive or the skin in order to maintain activation. - As illustrated in
FIGURES 32-33 , embodiments of a power supply switch mechanism include conductive plugs of the on-body integrated sensor andsensor electronics assembly 16 in accordance with the present disclosure.FIGURES 32-33 illustrate enlarged sectional views ofsensor housing 122. As shown, the sensor electronicsassembly circuit board 710 may be provided with aphysical gap 750 that breaks the electrical circuit between the power supply (e.g., battery) and the other circuitry of the sensor electronics assembly. - In one embodiment, when the predetermined force is applied on the
insertion device 100 as discussed above, aconductive portion 720 provided within thehousing 122 of the sensor electronics may be moved in a direction as shown byarrow 730 such that electrical contact is established in thephysical gap 750 on the circuit board, by for example, theconductive portion 720 coming into physical contact with theconductive portions 760 of thecircuit board 710. In this manner, in one embodiment, the electrical path from the power supply and the remaining circuitry on the circuit board of the sensor electronics is completed, thereby powering the sensor electronics. - By way of another example, referring to
FIGURE 33 , theconductive portions 760 of the circuit board are provided on the board itself, and theconductive plug 740, for example, when pushed into thecavity 750, establishes electrical contact between theconductive portions 760 of the circuit board. - In one embodiment, as discussed above, the actuation of the
insertion device 100 to position the sensor and sensor electronics assembly triggers the switch mechanism shown inFIGURES 32-33 by also moving theconductive portion 720 or theconductive plug 760 in the direction complimentary to the direction of the introducer movement, and thereby switching on the sensor electronics. Within the scope of the present disclosure, the activation of the sensor electronics by moving theconductive portion 720 or the conductive plug may include a separate procedure, where after positioning the sensor and the sensor electronics assembly on the skin surface, a predetermined force is applied on the housing of theintegrated sensor 14 and sensor electronics assembly such that the desired movement of theconductive portion 720 or theconductive plug 760 may be achieved. -
FIGURES 34A-36B illustrate another configuration of the power supply switch mechanism including conductive pads of the on-body integrated sensor and sensor electronics assembly in accordance with embodiments of the present disclosure. Referring toFIGURE 34A an exposedconductive ring 771 may be provided and configured to contact the surface of the circuit board in the sensor housing 122 (shown in cross section inFIGURE 34B ) such that, the insertion device activation positions theconductive ring 771 on the surface of the circuit board so as to complete the electrical contact of the sensor housing 122 (by for example, manual force applied on the insertion device placing the conductive ring in contact with the circuit board of the sensor electronics). - Referring to
FIGURES 35A-B , in another aspect, 772, 773 may be provided to the circuit board in the sensor housing 122 (shown in cross section inelectrical contact pads FIGURE 35B such that the mating of the contact pads with theconductive ring 771 switches on the sensor electronics device to provide power to the device from its power source.FIGURES 36A-B show yet another configuration of the switch activation mechanism in accordance with the present disclosure, where a portion of theconductive ring 774 is selectively positioned and provided to establish electrical contact in the sensor housing 122 (shown in cross section inFIGURE 36B ). - As discussed, each of the activation configuration described above includes a break in the circuitry from the power source such that the power supply is not drained when the device is not in use, and upon activation, the break in the electrical contact is completed, thereby powering the device and activating it for operation.
-
FIGURE 37 illustrates a power supply switch mechanism including an internal switch with a push rod activation of the on-body integrated sensor andsensor housing 122 in accordance with embodiments of the present disclosure. As shown, in one embodiment, pushrod 810 may be provided and positioned in the sensor electronics such that when a force is applied in the direction as shown byarrow 830, thepush rod 810 is displaced in the same direction and completes the electrical contact between the two 820, 821. In one aspect, thecontacts push rod 810 may be provided within aseal 840 such as an O-ring or similar components. -
FIGURE 39 illustrates power supply switch mechanism including introducer retraction trigger activation of the on-body integrated sensor andsensor housing 122 in accordance with embodiments of the present disclosure. As shown, a nonconducting needle ordevice 910 is provided to physically separate two 920, 921. Each of theelectrical contacts 920, 921 is biased or spring loaded to be urged towards each other, physically separated by theelectrical contacts nonconducting needle 910. Accordingly, when thenonconducting needle 910 is retracted or pulled away from the sensor electronics assembly in the direction as shown byarrow 930, the 920, 921 are configured to contact each other, thereby completing the break in the circuit and establishing electrical connection to activate the sensor electronics assembly. In one aspect, the nonconducting device orelectrical contacts needle 910 may include, for example, but not limited to, glass, plastic or any other material suitable to separate two electrical contacts and provide insulation therebetween. -
FIGURE 39 illustrates power supply switch mechanism with a contact switch of the on-body integrated sensor and sensor electronics assembly in accordance with embodiments of the present disclosure. As shown, in a further aspect, there is provided an electronic switch 1001 (that is configured to draw an insubstantial amount of power from the sensor electronics power supply), and when triggered, completes the break between the 1010, 1011 by physically contacting the twocontacts 1010, 1011 with thecontacts activation component 1002 that completes the 30 circuit in the sensor electronics from its power supply such as battery to activate the device for operation. -
FIGURES 40-41 illustrate power supply switch mechanism with a battery contact locking mechanism of the on-body integrated sensor andsensor electronics assembly 122 in accordance with the present disclosure. Referring toFIGURES 40-41 , in still another aspect, the battery contact of the sensor electronics may be provided with abarbed tab 1110. In post manufacturing shelf mode when the device is nonoperational, thetab 1110 is positioned within the sensor electronics housing in the position as shown inFIGURE 40 so that it is not in contact with theconductive contact 1120 of the sensor electronics circuit board. When in use as shown inFIGURE 41 , thetab 1110 may be biased such that it physically contacts theconductive contact 1120 on the circuit board, thereby closing the circuit to/from the battery/power source and thus activating or switching on the sensor electronics. As shown in the Figures, thetab 1110 may be configured that upon biasing to establish contact with theconductive contact 1120, it locks or latches with theconductive contact 1120 and the circuit board so as to maintain the electrical connection. -
FIGURES 42-43 illustrate power supply switch mechanism with a bi-modal dome switch of the on-body integrated sensor and sensor electronics assembly in accordance with embodiments of the present disclosure. Yet in another embodiment, a bi-modal dome shapedswitch 1210 is provided on the circuit board of the sensor electronics assembly such that, when pressed down (as shown inFIGURE 42 ), the dome shaped layer 1210 (which may include, for example, a thin sheet metal dome) may be configured to retain the concave shape as shown inFIGURE 43 and effectively closing the circuit on the circuit board at thecontact point 1220. In one aspect, the dome shapedlayer 1210 may be configured to shunt to short two or more electrical contacts at thecontact point 1220 of the circuit board. Alternatively, the dome shapedlayer 1210 may be connected to the circuit board such that one end of the dome shapedlayer 1210 is in contact with one of the two or more open electrical contacts, and the depression of the dome shapedlayer 1210 closes the circuit on the circuit board by physically contacting the other one or more of the open electrical contacts. - In the manner described above, in accordance with various embodiments of 30 the present disclosure, sensor electronics activation switch configurations are provided that may be triggered or activated automatically or semi-automatically in response to the activation of the insertion device described above, or alternatively, may be separately activated by the user by, for example, depressing upon a portion of the housing or switch provided on the housing of the sensor electronics. Accordingly, power consumption may be optimized for the sensor electronics assembly while improving post manufacturing shelf life of the device prior to use or activation.
- It is understood that the subject matter described herein is not limited to particular embodiments described, as such may, of course, vary. It is also understood that the terminology used herein is for the purpose of describing particular embodiments only, and is not intended to be limiting, since the scope of the present subject matter is limited only by the appended claims.
- Additional detailed description of embodiments of the disclosed subject matter are provided in but not limited to:
U.S. Patent No. 7,299,082 ;U.S. Patent No. 7,167,818 ;U.S. Patent No. 7,041,468 ;U.S. Pat. No. 6,942,518 ;U.S. Patent No. 6,893,545 ;U.S. Patent No. 6,881,551 ;Patent No. 6,773,671 ;U.S. Patent No. 6,764,581 ;U.S. Patent No. 6,749,740 ;U.S. Patent No. 6,746,582 ;U.S. Patent No. 6,736,957 ;U.S. Patent No. 6,730,200 ;U.S. Patent No. 6,676,816 ;U.S. Patent No. 6,618,934 ;U.S. Patent No. 6,616,819 ;U.S. Patent No. 6,600,997 ;Patent No. 6,592,745 ;U.S. Patent No. 6,591,125 ;U.S. Patent No. 6,560,471 ;U.S. Patent No. 6,540,891 ;U.S. Patent No. 6,514,718 ;U.S. Patent No. 6,514,460 ;U.S. Patent No. 6,503,381 ;U.S. Patent No. 6,461,496 ;U.S. Patent No. 6,377,894 ;U.S. Patent No. 6,338,790 ;Patent No. 6,299,757 ;U.S. Patent No. 6,299,757 ;U.S. Patent No. 6,284,478 ;U.S. Patent No. 6,270,455 ;U.S. Patent No.6, 175,752 ;U.S. Patent No. 6,161,095 ;U.S. Patent No. 6,144,837 ;U.S. Patent No. 6,143,164 ;U.S. Patent No. 6,121,009 ;U.S. Patent No. 6,120,676 ;Patent No. 6,071,391 ;U.S. Patent No. 5,918,603 ;U.S. Patent No. 5,899,855 ;U.S. Patent No. 5,822,715 ;U.S. Patent No. 5,820,551 ;U.S. Patent No. 5,628,890 ;U.S. Patent No. 5,601,435 ;U.S. Patent No. 5,593,852 ;U.S. Patent No. 5,509,410 ;U.S. Patent No. 5,320,715 ;Patent No.5,264,014 ;U.S. Patent No. 5,262,305 ;U.S. Patent No. 5,262,035 ;U.S. Patent No. 4,711,245 ;U.S. Patent No. 4,545,382 ;U.S. Patent Publication No. 2004/0186365 , published September 23, 2004; .U.S. Patent Application No. 61/238,646, filed August 31, 2009
Claims (9)
- An analyte sensor (14') comprising:a body having a proximal section (48'), a distal section (34') longitudinally aligned with the proximal section, an intermediate section (50', 52') and a contact portion (32'),wherein the intermediate section is laterally displaced from the distal section and the proximal section, and a notch (54') is defined between the laterally displaced intermediate section and the proximal section (48'),wherein a plurality of conductive traces (42', 44', 46') connect a plurality of electrodes on the distal section with a plurality of conductive contacts (36', 38', 40') on the contact portion, andwherein the contact portion is in a plane different than the distal and proximal sections, and wherein the intermediate section (50', 52') includes a bendable portion that allows the contact portion (32') to be in the plane different than the distal (34') and proximal (48') sections.
- The sensor (14') of claim 1, wherein the distal section (34') of the sensor body has a width sized to fit within a slot of an insertion sharp (124) having a diameter less than about 0.64 to about 0.40 mm (about 22 to about 26 gauge).
- The sensor (14') of claim 1, wherein the contact portion (32') and the distal section (34') are in planes perpendicular to each other.
- The sensor (14') of claim 1, wherein the sensor is configured in a bent configuration.
- The sensor (14') of claim 1, wherein the sensor body includes conductive material defining the plurality of conductive traces (42', 44', 46') disposed on a surface of the sensor body, wherein the traces are disposed on at least one surface of the contact portion (32') of the sensor body.
- The sensor (14') of Claim 5, wherein at least one of the traces (42', 44', 46') or electrodes comprise gold.
- The sensor of claim 6, wherein at least one of the traces (42', 44', 46') or electrodes are formed by ablation, preferably wherein the ablation comprises laser ablation.
- The sensor (14') of claim 1, wherein the sensor comprises a sensing layer, preferably wherein the sensing layer comprises an electron transfer agent, preferably wherein the electron transfer agent is a redox mediator.
- The sensor (14') of claim 1, wherein the sensor is a subcutaneous sensor.
Priority Applications (4)
| Application Number | Priority Date | Filing Date | Title |
|---|---|---|---|
| EP24201435.5A EP4477243A3 (en) | 2009-02-03 | 2010-02-02 | Analyte sensor and apparatus for insertion of the sensor |
| EP21211041.5A EP3977921B1 (en) | 2009-02-03 | 2010-02-02 | Analyte sensor and apparatus for insertion of the sensor |
| EP20177712.5A EP3730045B1 (en) | 2009-02-03 | 2010-02-02 | Method for inserting analyte sensor |
| EP19151577.4A EP3542712A1 (en) | 2009-02-03 | 2010-02-02 | Analyte sensor and apparatus for insertion of the sensor |
Applications Claiming Priority (4)
| Application Number | Priority Date | Filing Date | Title |
|---|---|---|---|
| US14963909P | 2009-02-03 | 2009-02-03 | |
| US12/698,129 US9402544B2 (en) | 2009-02-03 | 2010-02-01 | Analyte sensor and apparatus for insertion of the sensor |
| US12/698,124 US20100198034A1 (en) | 2009-02-03 | 2010-02-01 | Compact On-Body Physiological Monitoring Devices and Methods Thereof |
| PCT/US2010/022860 WO2010091005A1 (en) | 2009-02-03 | 2010-02-02 | Analyte sensor and apparatus for insertion of the sensor |
Related Child Applications (4)
| Application Number | Title | Priority Date | Filing Date |
|---|---|---|---|
| EP19151577.4A Division EP3542712A1 (en) | 2009-02-03 | 2010-02-02 | Analyte sensor and apparatus for insertion of the sensor |
| EP20177712.5A Division EP3730045B1 (en) | 2009-02-03 | 2010-02-02 | Method for inserting analyte sensor |
| EP24201435.5A Division EP4477243A3 (en) | 2009-02-03 | 2010-02-02 | Analyte sensor and apparatus for insertion of the sensor |
| EP21211041.5A Division EP3977921B1 (en) | 2009-02-03 | 2010-02-02 | Analyte sensor and apparatus for insertion of the sensor |
Publications (3)
| Publication Number | Publication Date |
|---|---|
| EP2393417A1 EP2393417A1 (en) | 2011-12-14 |
| EP2393417A4 EP2393417A4 (en) | 2013-06-12 |
| EP2393417B1 true EP2393417B1 (en) | 2019-01-16 |
Family
ID=42398266
Family Applications (10)
| Application Number | Title | Priority Date | Filing Date |
|---|---|---|---|
| EP10739031.2A Revoked EP2393418B1 (en) | 2009-02-03 | 2010-02-02 | Compact on-body physiological monitoring devices |
| EP20177703.4A Active EP3730044B1 (en) | 2009-02-03 | 2010-02-02 | Compact on-body physiological monitoring device |
| EP17201183.5A Active EP3329842B1 (en) | 2009-02-03 | 2010-02-02 | Compact on-body physiological monitoring device |
| EP19151577.4A Pending EP3542712A1 (en) | 2009-02-03 | 2010-02-02 | Analyte sensor and apparatus for insertion of the sensor |
| EP24201435.5A Pending EP4477243A3 (en) | 2009-02-03 | 2010-02-02 | Analyte sensor and apparatus for insertion of the sensor |
| EP10739015.5A Active EP2393417B1 (en) | 2009-02-03 | 2010-02-02 | Analyte sensor |
| EP20177712.5A Active EP3730045B1 (en) | 2009-02-03 | 2010-02-02 | Method for inserting analyte sensor |
| EP21211041.5A Active EP3977921B1 (en) | 2009-02-03 | 2010-02-02 | Analyte sensor and apparatus for insertion of the sensor |
| EP24218309.3A Pending EP4545118A3 (en) | 2009-02-03 | 2010-02-02 | Compact on-body physiological monitoring devices and methods thereof |
| EP21192910.4A Active EP3960072B8 (en) | 2009-02-03 | 2010-02-02 | Compact on-body physiological monitoring devices and methods thereof |
Family Applications Before (5)
| Application Number | Title | Priority Date | Filing Date |
|---|---|---|---|
| EP10739031.2A Revoked EP2393418B1 (en) | 2009-02-03 | 2010-02-02 | Compact on-body physiological monitoring devices |
| EP20177703.4A Active EP3730044B1 (en) | 2009-02-03 | 2010-02-02 | Compact on-body physiological monitoring device |
| EP17201183.5A Active EP3329842B1 (en) | 2009-02-03 | 2010-02-02 | Compact on-body physiological monitoring device |
| EP19151577.4A Pending EP3542712A1 (en) | 2009-02-03 | 2010-02-02 | Analyte sensor and apparatus for insertion of the sensor |
| EP24201435.5A Pending EP4477243A3 (en) | 2009-02-03 | 2010-02-02 | Analyte sensor and apparatus for insertion of the sensor |
Family Applications After (4)
| Application Number | Title | Priority Date | Filing Date |
|---|---|---|---|
| EP20177712.5A Active EP3730045B1 (en) | 2009-02-03 | 2010-02-02 | Method for inserting analyte sensor |
| EP21211041.5A Active EP3977921B1 (en) | 2009-02-03 | 2010-02-02 | Analyte sensor and apparatus for insertion of the sensor |
| EP24218309.3A Pending EP4545118A3 (en) | 2009-02-03 | 2010-02-02 | Compact on-body physiological monitoring devices and methods thereof |
| EP21192910.4A Active EP3960072B8 (en) | 2009-02-03 | 2010-02-02 | Compact on-body physiological monitoring devices and methods thereof |
Country Status (12)
| Country | Link |
|---|---|
| US (20) | US9402544B2 (en) |
| EP (10) | EP2393418B1 (en) |
| CN (3) | CN102307518B (en) |
| BR (2) | BRPI1008835A2 (en) |
| DK (4) | DK2393418T3 (en) |
| ES (4) | ES2950257T3 (en) |
| FI (1) | FI3960072T3 (en) |
| HU (1) | HUE070687T2 (en) |
| LT (3) | LT3960072T (en) |
| PT (1) | PT3960072T (en) |
| SI (1) | SI3960072T1 (en) |
| WO (2) | WO2010091005A1 (en) |
Cited By (12)
| Publication number | Priority date | Publication date | Assignee | Title |
|---|---|---|---|---|
| WO2024088700A1 (en) | 2022-10-26 | 2024-05-02 | Glucorx Technologies Limited | Analyte monitoring system |
| WO2024088697A1 (en) | 2022-10-26 | 2024-05-02 | Glucorx Technologies Limited | Epidermal support patch |
| WO2024088699A1 (en) | 2022-10-26 | 2024-05-02 | Glucorx Technologies Limited | Analyte sensor |
| WO2024236065A1 (en) | 2023-05-15 | 2024-11-21 | Glucorx Technologies Limited | Current measurement device for an analyte monitoring system |
| EP4529831A1 (en) | 2023-09-29 | 2025-04-02 | Glucorx Technologies Limited | Analyte sensor applicator |
| US12315630B2 (en) | 2009-08-31 | 2025-05-27 | Abbott Diabetes Care Inc. | Medical devices and methods |
| US12350042B2 (en) | 2009-07-23 | 2025-07-08 | Abbott Diabetes Care Inc. | Continuous analyte measurement systems and systems and methods for implanting them |
| US12369821B2 (en) | 2018-06-07 | 2025-07-29 | Abbott Diabetes Care Inc. | Focused sterilization and sterilized sub-assemblies for analyte monitoring systems |
| US12414713B2 (en) | 2017-12-05 | 2025-09-16 | Abbott Diabetes Care Inc. | Medical devices having a dynamic surface profile and methods for production and use thereof |
| US12436127B2 (en) | 2014-10-23 | 2025-10-07 | Abbott Diabetes Care Inc. | Electrodes having at least one sensing structure and methods for making and using the same |
| US12465251B2 (en) | 2020-07-08 | 2025-11-11 | Abbott Diabetes Care Inc. | Analyte sensors featuring enhancements for decreasing interferent signal |
| US12478296B2 (en) | 2017-08-18 | 2025-11-25 | Abbott Diabetes Care Inc. | Systems, devices, and methods related to the individualized calibration and/or manufacturing of medical devices |
Families Citing this family (393)
| Publication number | Priority date | Publication date | Assignee | Title |
|---|---|---|---|---|
| US6989891B2 (en) | 2001-11-08 | 2006-01-24 | Optiscan Biomedical Corporation | Device and method for in vitro determination of analyte concentrations within body fluids |
| US6850788B2 (en) | 2002-03-25 | 2005-02-01 | Masimo Corporation | Physiological measurement communications adapter |
| US7381184B2 (en) | 2002-11-05 | 2008-06-03 | Abbott Diabetes Care Inc. | Sensor inserter assembly |
| US20190357827A1 (en) | 2003-08-01 | 2019-11-28 | Dexcom, Inc. | Analyte sensor |
| US9123077B2 (en) | 2003-10-07 | 2015-09-01 | Hospira, Inc. | Medication management system |
| US8065161B2 (en) | 2003-11-13 | 2011-11-22 | Hospira, Inc. | System for maintaining drug information and communicating with medication delivery devices |
| USD902408S1 (en) | 2003-11-05 | 2020-11-17 | Abbott Diabetes Care Inc. | Analyte sensor control unit |
| WO2005089103A2 (en) | 2004-02-17 | 2005-09-29 | Therasense, Inc. | Method and system for providing data communication in continuous glucose monitoring and management system |
| US8512243B2 (en) | 2005-09-30 | 2013-08-20 | Abbott Diabetes Care Inc. | Integrated introducer and transmitter assembly and methods of use |
| US7697967B2 (en) | 2005-12-28 | 2010-04-13 | Abbott Diabetes Care Inc. | Method and apparatus for providing analyte sensor insertion |
| US8333714B2 (en) | 2006-09-10 | 2012-12-18 | Abbott Diabetes Care Inc. | Method and system for providing an integrated analyte sensor insertion device and data processing unit |
| US9398882B2 (en) | 2005-09-30 | 2016-07-26 | Abbott Diabetes Care Inc. | Method and apparatus for providing analyte sensor and data processing device |
| US9572534B2 (en) | 2010-06-29 | 2017-02-21 | Abbott Diabetes Care Inc. | Devices, systems and methods for on-skin or on-body mounting of medical devices |
| US9788771B2 (en) | 2006-10-23 | 2017-10-17 | Abbott Diabetes Care Inc. | Variable speed sensor insertion devices and methods of use |
| US9743862B2 (en) | 2011-03-31 | 2017-08-29 | Abbott Diabetes Care Inc. | Systems and methods for transcutaneously implanting medical devices |
| US9259175B2 (en) | 2006-10-23 | 2016-02-16 | Abbott Diabetes Care, Inc. | Flexible patch for fluid delivery and monitoring body analytes |
| US10226207B2 (en) | 2004-12-29 | 2019-03-12 | Abbott Diabetes Care Inc. | Sensor inserter having introducer |
| US8029441B2 (en) | 2006-02-28 | 2011-10-04 | Abbott Diabetes Care Inc. | Analyte sensor transmitter unit configuration for a data monitoring and management system |
| US11298058B2 (en) | 2005-12-28 | 2022-04-12 | Abbott Diabetes Care Inc. | Method and apparatus for providing analyte sensor insertion |
| US9675290B2 (en) | 2012-10-30 | 2017-06-13 | Abbott Diabetes Care Inc. | Sensitivity calibration of in vivo sensors used to measure analyte concentration |
| US8473022B2 (en) | 2008-01-31 | 2013-06-25 | Abbott Diabetes Care Inc. | Analyte sensor with time lag compensation |
| US8478557B2 (en) | 2009-07-31 | 2013-07-02 | Abbott Diabetes Care Inc. | Method and apparatus for providing analyte monitoring system calibration accuracy |
| US9326709B2 (en) * | 2010-03-10 | 2016-05-03 | Abbott Diabetes Care Inc. | Systems, devices and methods for managing glucose levels |
| EP2092470A2 (en) | 2006-10-16 | 2009-08-26 | Hospira, Inc. | System and method for comparing and utilizing activity information and configuration information from mulitple device management systems |
| BRPI0718119A2 (en) | 2006-10-26 | 2014-07-08 | Abbott Diabetes Care Inc | COMPUTER METHODS, SYSTEMS, AND PROGRAMS FOR REAL-TIME DETECTION OF THE ANALYTIC SENSOR SENSITIVITY DECLINE |
| US20080199894A1 (en) | 2007-02-15 | 2008-08-21 | Abbott Diabetes Care, Inc. | Device and method for automatic data acquisition and/or detection |
| US20080228056A1 (en) | 2007-03-13 | 2008-09-18 | Michael Blomquist | Basal rate testing using frequent blood glucose input |
| US8456301B2 (en) | 2007-05-08 | 2013-06-04 | Abbott Diabetes Care Inc. | Analyte monitoring system and methods |
| US8239166B2 (en) | 2007-05-14 | 2012-08-07 | Abbott Diabetes Care Inc. | Method and apparatus for providing data processing and control in a medical communication system |
| US7751907B2 (en) | 2007-05-24 | 2010-07-06 | Smiths Medical Asd, Inc. | Expert system for insulin pump therapy |
| US8221345B2 (en) | 2007-05-30 | 2012-07-17 | Smiths Medical Asd, Inc. | Insulin pump based expert system |
| EP3533387A3 (en) | 2007-06-21 | 2019-11-13 | Abbott Diabetes Care, Inc. | Health management devices and methods |
| US8160900B2 (en) | 2007-06-29 | 2012-04-17 | Abbott Diabetes Care Inc. | Analyte monitoring and management device and method to analyze the frequency of user interaction with the device |
| US8834366B2 (en) | 2007-07-31 | 2014-09-16 | Abbott Diabetes Care Inc. | Method and apparatus for providing analyte sensor calibration |
| US8517990B2 (en) | 2007-12-18 | 2013-08-27 | Hospira, Inc. | User interface improvements for medical devices |
| CN102065908A (en) | 2008-04-10 | 2011-05-18 | 雅培糖尿病护理公司 | Method and system for sterilizing an analyte sensor |
| US8924159B2 (en) | 2008-05-30 | 2014-12-30 | Abbott Diabetes Care Inc. | Method and apparatus for providing glycemic control |
| US8591410B2 (en) | 2008-05-30 | 2013-11-26 | Abbott Diabetes Care Inc. | Method and apparatus for providing glycemic control |
| US8475732B2 (en) | 2010-10-26 | 2013-07-02 | Abbott Diabetes Care Inc. | Analyte measurement devices and systems, and components and methods related thereto |
| US7896703B2 (en) * | 2008-07-17 | 2011-03-01 | Abbott Diabetes Care Inc. | Strip connectors for measurement devices |
| US8734422B2 (en) | 2008-08-31 | 2014-05-27 | Abbott Diabetes Care Inc. | Closed loop control with improved alarm functions |
| US8986208B2 (en) | 2008-09-30 | 2015-03-24 | Abbott Diabetes Care Inc. | Analyte sensor sensitivity attenuation mitigation |
| US9326707B2 (en) | 2008-11-10 | 2016-05-03 | Abbott Diabetes Care Inc. | Alarm characterization for analyte monitoring devices and systems |
| US9402544B2 (en) | 2009-02-03 | 2016-08-02 | Abbott Diabetes Care Inc. | Analyte sensor and apparatus for insertion of the sensor |
| US9339229B2 (en) | 2009-02-26 | 2016-05-17 | Abbott Diabetes Care Inc. | Analyte monitoring devices and methods |
| US8271106B2 (en) | 2009-04-17 | 2012-09-18 | Hospira, Inc. | System and method for configuring a rule set for medical event management and responses |
| US9226701B2 (en) | 2009-04-28 | 2016-01-05 | Abbott Diabetes Care Inc. | Error detection in critical repeating data in a wireless sensor system |
| WO2010127051A1 (en) | 2009-04-29 | 2010-11-04 | Abbott Diabetes Care Inc. | Method and system for providing real time analyte sensor calibration with retrospective backfill |
| US9184490B2 (en) | 2009-05-29 | 2015-11-10 | Abbott Diabetes Care Inc. | Medical device antenna systems having external antenna configurations |
| EP4276652A3 (en) | 2009-07-23 | 2024-01-31 | Abbott Diabetes Care, Inc. | Real time management of data relating to physiological control of glucose levels |
| CA2921304C (en) | 2009-07-30 | 2018-06-05 | Tandem Diabetes Care, Inc. | Infusion pump system with disposable cartridge having pressure venting and pressure feedback |
| LT3718922T (en) * | 2009-08-31 | 2022-04-25 | Abbott Diabetes Care, Inc. | GLUCOSE MONITORING SYSTEM AND METHOD |
| WO2011026148A1 (en) | 2009-08-31 | 2011-03-03 | Abbott Diabetes Care Inc. | Analyte monitoring system and methods for managing power and noise |
| WO2011026147A1 (en) | 2009-08-31 | 2011-03-03 | Abbott Diabetes Care Inc. | Analyte signal processing device and methods |
| WO2011041531A1 (en) | 2009-09-30 | 2011-04-07 | Abbott Diabetes Care Inc. | Interconnect for on-body analyte monitoring device |
| EP2494323A4 (en) | 2009-10-30 | 2014-07-16 | Abbott Diabetes Care Inc | Method and apparatus for detecting false hypoglycemic conditions |
| US8882701B2 (en) | 2009-12-04 | 2014-11-11 | Smiths Medical Asd, Inc. | Advanced step therapy delivery for an ambulatory infusion pump and system |
| US8828330B2 (en) | 2010-01-28 | 2014-09-09 | Abbott Diabetes Care Inc. | Universal test strip port |
| USD924406S1 (en) * | 2010-02-01 | 2021-07-06 | Abbott Diabetes Care Inc. | Analyte sensor inserter |
| BRPI1105778A2 (en) | 2010-03-24 | 2016-05-03 | Abbott Diabetes Care Inc | "medical device inserters and medical device insertion and use processes" |
| BRPI1106096A2 (en) | 2010-04-16 | 2016-05-10 | Abbott Diabetes Care Inc | analytical material monitoring device and methods. |
| WO2013066362A1 (en) | 2011-02-17 | 2013-05-10 | Abbott Diabetes Care Inc. | Analyte meter communication module |
| US9198623B2 (en) | 2010-04-22 | 2015-12-01 | Abbott Diabetes Care Inc. | Devices, systems, and methods related to analyte monitoring and management |
| US10852069B2 (en) | 2010-05-04 | 2020-12-01 | Fractal Heatsink Technologies, LLC | System and method for maintaining efficiency of a fractal heat sink |
| WO2011149857A1 (en) | 2010-05-24 | 2011-12-01 | Abbott Diabetes Care Inc. | Method and system for updating a medical device |
| US10092229B2 (en) | 2010-06-29 | 2018-10-09 | Abbott Diabetes Care Inc. | Calibration of analyte measurement system |
| US11064921B2 (en) | 2010-06-29 | 2021-07-20 | Abbott Diabetes Care Inc. | Devices, systems and methods for on-skin or on-body mounting of medical devices |
| EP3395240A1 (en) | 2010-07-28 | 2018-10-31 | Abbott Diabetes Care, Inc. | Methods of monitoring a level of an analyte in a subject, using analyte sensors having temperature independent membranes |
| DE102010038986A1 (en) * | 2010-08-05 | 2012-02-09 | Endress + Hauser Gmbh + Co. Kg | Composite material, shaped article, electronic device with a shaped article, and method for the production of a shaped article |
| US11213226B2 (en) | 2010-10-07 | 2022-01-04 | Abbott Diabetes Care Inc. | Analyte monitoring devices and methods |
| US8702928B2 (en) | 2010-11-22 | 2014-04-22 | Abbott Diabetes Care Inc. | Modular analyte measurement system with extendable strip port |
| US9713440B2 (en) | 2010-12-08 | 2017-07-25 | Abbott Diabetes Care Inc. | Modular analyte measurement systems, modular components thereof and related methods |
| US9760679B2 (en) | 2011-02-11 | 2017-09-12 | Abbott Diabetes Care Inc. | Data synchronization between two or more analyte detecting devices in a database |
| US20140088392A1 (en) | 2011-02-11 | 2014-03-27 | Abbott Diabetes Care Inc. | Feedback from Cloud or HCP to Payer or Patient via Meter or Cell Phone |
| US9913599B2 (en) | 2011-02-11 | 2018-03-13 | Abbott Diabetes Care Inc. | Software applications residing on handheld analyte determining devices |
| US10136845B2 (en) | 2011-02-28 | 2018-11-27 | Abbott Diabetes Care Inc. | Devices, systems, and methods associated with analyte monitoring devices and devices incorporating the same |
| CA3277222A1 (en) | 2011-02-28 | 2025-10-30 | Abbott Diabetes Care Inc | Devices, systems, and methods associated with analyte monitoring devices and devices incorporating the same |
| WO2012118872A2 (en) * | 2011-02-28 | 2012-09-07 | Abbott Diabetes Care Inc. | Medical device inserters and processes of inserting and using medical devices |
| WO2012122520A1 (en) | 2011-03-10 | 2012-09-13 | Abbott Diabetes Care Inc. | Multi-function analyte monitor device and methods of use |
| ES2847578T3 (en) | 2011-04-15 | 2021-08-03 | Dexcom Inc | Advanced analyte sensor calibration and error detection |
| WO2012149466A2 (en) * | 2011-04-29 | 2012-11-01 | Proteus Biomedical, Inc. | Body associated device and method of making same |
| KR101252740B1 (en) * | 2011-05-25 | 2013-04-11 | 연세대학교 산학협력단 | A sensor and a method of sensing thereof |
| WO2012174563A1 (en) | 2011-06-16 | 2012-12-20 | Abbott Diabetes Care Inc. | Temperature-compensated analyte monitoring devices, systems, and methods thereof |
| WO2013003735A1 (en) | 2011-06-30 | 2013-01-03 | Abbott Diabetes Care Inc. | Methods for generating hybrid analyte level output, and devices and systems related thereto |
| CA2844807C (en) | 2011-08-19 | 2022-07-26 | Hospira, Inc. | Systems and methods for a graphical interface including a graphical representation of medical data |
| CA2850304A1 (en) * | 2011-08-30 | 2013-03-07 | Glumetrics, Inc. | Information storage for sterilized analyte sensor |
| WO2013035455A1 (en) | 2011-09-09 | 2013-03-14 | テルモ株式会社 | Sensor insertion device and method for operating same |
| EP2760335B1 (en) | 2011-09-28 | 2020-03-18 | Abbott Diabetes Care, Inc. | Methods for analyte monitoring management and analyte measurement data management, and articles of manufacture related thereto |
| US11087868B2 (en) | 2011-09-28 | 2021-08-10 | Abbott Diabetes Care Inc. | Methods, devices and systems for analyte monitoring management |
| EP2769357B1 (en) | 2011-10-21 | 2023-08-30 | ICU Medical, Inc. | Medical device update system |
| USD680454S1 (en) | 2011-10-25 | 2013-04-23 | Abbott Diabetes Care Inc. | Analyte meter and strip port |
| US9622691B2 (en) | 2011-10-31 | 2017-04-18 | Abbott Diabetes Care Inc. | Model based variable risk false glucose threshold alarm prevention mechanism |
| US9069536B2 (en) | 2011-10-31 | 2015-06-30 | Abbott Diabetes Care Inc. | Electronic devices having integrated reset systems and methods thereof |
| JP6443802B2 (en) | 2011-11-07 | 2018-12-26 | アボット ダイアベティス ケア インコーポレイテッドAbbott Diabetes Care Inc. | Analyte monitoring apparatus and method |
| US8710993B2 (en) | 2011-11-23 | 2014-04-29 | Abbott Diabetes Care Inc. | Mitigating single point failure of devices in an analyte monitoring system and methods thereof |
| US9317656B2 (en) | 2011-11-23 | 2016-04-19 | Abbott Diabetes Care Inc. | Compatibility mechanisms for devices in a continuous analyte monitoring system and methods thereof |
| US8887911B2 (en) | 2011-12-09 | 2014-11-18 | Abbott Diabetes Care Inc. | Packages and kits for analyte monitoring devices, and methods related thereto |
| WO2013090215A2 (en) * | 2011-12-11 | 2013-06-20 | Abbot Diabetes Care Inc. | Analyte sensor devices, connections, and methods |
| WO2013090709A1 (en) * | 2011-12-16 | 2013-06-20 | Hospira, Inc. | System for monitoring and delivering medication to a patient and method of using the same to minimize the risks associated with automated therapy |
| DK3662965T3 (en) | 2011-12-30 | 2024-07-22 | Abbott Diabetes Care Inc | METHOD AND APPARATUS FOR DETERMINING INFORMATION ON DOSAGE OF MEDICINE |
| US9451912B2 (en) | 2012-03-13 | 2016-09-27 | Terumo Kabushiki Kaisha | Sensor insertion device and method for operating said device |
| JP6054943B2 (en) * | 2012-03-13 | 2016-12-27 | テルモ株式会社 | Sensor insertion device |
| CN104203311B (en) * | 2012-03-22 | 2016-07-06 | 泰尔茂株式会社 | Sting device and doser |
| ES2741725T3 (en) | 2012-03-30 | 2020-02-12 | Icu Medical Inc | Air detection system and method to detect air in a pump of an infusion system |
| US9931065B2 (en) | 2012-04-04 | 2018-04-03 | Dexcom, Inc. | Transcutaneous analyte sensors, applicators therefor, and associated methods |
| US9462970B2 (en) | 2012-04-24 | 2016-10-11 | Abbott Diabetes Care Inc. | Methods of lag-compensation for analyte measurements, and devices related thereto |
| US9180242B2 (en) | 2012-05-17 | 2015-11-10 | Tandem Diabetes Care, Inc. | Methods and devices for multiple fluid transfer |
| ES2444712B1 (en) * | 2012-07-26 | 2014-12-10 | Consejo Superior De Investigaciones Científicas (Csic) | WIRELESS TELEMETRIC SYSTEM FOR MONITORING OF STATIC AND DYNAMIC MAGNITUDES. |
| US20150173661A1 (en) * | 2012-07-27 | 2015-06-25 | Abbott Diabetes Care, Inc. | Medical Device Applicators |
| US10463788B2 (en) | 2012-07-31 | 2019-11-05 | Icu Medical, Inc. | Patient care system for critical medications |
| WO2014035732A1 (en) | 2012-08-30 | 2014-03-06 | Abbot Diabetes Care Inc. | Dropout detection in continuous analyte monitoring data during data excursions |
| US9968306B2 (en) | 2012-09-17 | 2018-05-15 | Abbott Diabetes Care Inc. | Methods and apparatuses for providing adverse condition notification with enhanced wireless communication range in analyte monitoring systems |
| WO2014047483A1 (en) | 2012-09-21 | 2014-03-27 | Abbott Diabetes Care Inc. | In vivo sensors having ceria nanoparticle electrodes |
| WO2014052136A1 (en) | 2012-09-26 | 2014-04-03 | Abbott Diabetes Care Inc. | Method and apparatus for improving lag correction during in vivo measurement of analyte concentration with analyte concentration variability and range data |
| WO2014049886A1 (en) * | 2012-09-28 | 2014-04-03 | テルモ株式会社 | Puncture device and medical fluid application device |
| US9585563B2 (en) | 2012-12-31 | 2017-03-07 | Dexcom, Inc. | Remote monitoring of analyte measurements |
| US9730620B2 (en) | 2012-12-31 | 2017-08-15 | Dexcom, Inc. | Remote monitoring of analyte measurements |
| CA2904053C (en) | 2013-03-06 | 2023-01-03 | Hospira, Inc. | Medical device communication method |
| US10357606B2 (en) | 2013-03-13 | 2019-07-23 | Tandem Diabetes Care, Inc. | System and method for integration of insulin pumps and continuous glucose monitoring |
| US20150045641A1 (en) * | 2013-03-13 | 2015-02-12 | Optiscan Biomedical Corporation | Method and apparatus for analyte measurement, display, and annotation |
| US10820860B2 (en) | 2013-03-14 | 2020-11-03 | One Drop Biosensor Technologies, Llc | On-body microsensor for biomonitoring |
| WO2014152717A2 (en) | 2013-03-14 | 2014-09-25 | Sano Intelligence, Inc. | On-body microsensor for biomonitoring |
| US9788354B2 (en) | 2013-03-14 | 2017-10-10 | Dexcom, Inc. | Systems and methods for processing and transmitting sensor data |
| US9173998B2 (en) | 2013-03-14 | 2015-11-03 | Tandem Diabetes Care, Inc. | System and method for detecting occlusions in an infusion pump |
| US9931036B2 (en) | 2013-03-14 | 2018-04-03 | Dexcom, Inc. | Systems and methods for processing and transmitting sensor data |
| EP2973082B1 (en) | 2013-03-14 | 2018-06-06 | Dexcom, Inc. | Systems and methods for processing and transmitting sensor data |
| WO2014145001A1 (en) | 2013-03-15 | 2014-09-18 | Abbott Diabetes Care Inc. | Medical device data processing and communication methods and systems |
| CN105377118B (en) | 2013-03-15 | 2019-09-17 | 雅培糖尿病护理公司 | Devices, systems and methods associated with analyte monitoring devices and devices incorporating the same |
| US9242043B2 (en) | 2013-03-15 | 2016-01-26 | Tandem Diabetes Care, Inc. | Field update of an ambulatory infusion pump system |
| US9486171B2 (en) | 2013-03-15 | 2016-11-08 | Tandem Diabetes Care, Inc. | Predictive calibration |
| US10076285B2 (en) | 2013-03-15 | 2018-09-18 | Abbott Diabetes Care Inc. | Sensor fault detection using analyte sensor data pattern comparison |
| US10433773B1 (en) | 2013-03-15 | 2019-10-08 | Abbott Diabetes Care Inc. | Noise rejection methods and apparatus for sparsely sampled analyte sensor data |
| US9474475B1 (en) | 2013-03-15 | 2016-10-25 | Abbott Diabetes Care Inc. | Multi-rate analyte sensor data collection with sample rate configurable signal processing |
| AU2014260023B2 (en) | 2013-04-30 | 2018-12-06 | Abbott Diabetes Care Inc. | Systems, devices, and methods for energy efficient electrical device activation |
| CA2913421C (en) | 2013-05-24 | 2022-02-15 | Hospira, Inc. | Multi-sensor infusion system for detecting air or an occlusion in the infusion system |
| AU2014274146B2 (en) | 2013-05-29 | 2019-01-24 | Icu Medical, Inc. | Infusion system which utilizes one or more sensors and additional information to make an air determination regarding the infusion system |
| US9707341B2 (en) | 2013-05-29 | 2017-07-18 | Icu Medical, Inc. | Infusion system and method of use which prevents over-saturation of an analog-to-digital converter |
| US9867953B2 (en) | 2013-06-21 | 2018-01-16 | Tandem Diabetes Care, Inc. | System and method for infusion set dislodgement detection |
| CN104330444A (en) * | 2013-07-22 | 2015-02-04 | 财团法人多次元智能It融合系统研究团 | Near-field-communication or rfid based electrochemical biosensor and method for an ingredient measurement using thereof |
| GB2516896B (en) * | 2013-08-05 | 2020-08-12 | Owen Mumford Ltd | Injection devices |
| US9251455B2 (en) * | 2013-08-22 | 2016-02-02 | Verily Life Sciences Llc | Using unique identifiers to retrieve configuration data for tag devices |
| WO2015031774A1 (en) | 2013-08-30 | 2015-03-05 | Hospira, Inc. | System and method of monitoring and managing a remote infusion regimen |
| US8742623B1 (en) * | 2013-09-16 | 2014-06-03 | Google Inc. | Device with dual power sources |
| US9662436B2 (en) | 2013-09-20 | 2017-05-30 | Icu Medical, Inc. | Fail-safe drug infusion therapy system |
| US9590438B2 (en) | 2013-11-05 | 2017-03-07 | Abbott Diabetes Care Inc. | Systems, devices, and methods for control of a power supply connection |
| US10311972B2 (en) | 2013-11-11 | 2019-06-04 | Icu Medical, Inc. | Medical device system performance index |
| US10042986B2 (en) | 2013-11-19 | 2018-08-07 | Icu Medical, Inc. | Infusion pump automation system and method |
| SE538612C2 (en) | 2013-11-20 | 2016-10-04 | Brighter Ab (Publ) | Medical device with safety device |
| TWI526976B (en) * | 2013-11-21 | 2016-03-21 | 動聯國際股份有限公司 | Monitoring system, method, and medical monitoring system |
| CN103610445B (en) * | 2013-11-26 | 2015-12-30 | 深圳市倍轻松科技股份有限公司 | The check processing method and system of physiological signal |
| AU2014354629B2 (en) | 2013-11-27 | 2019-05-02 | Abbott Diabetes Care Inc. | Systems and methods for revising permanent ROM-based programming |
| EP4071581B1 (en) | 2013-11-29 | 2025-10-08 | Ouraring Inc. | Wearable computing device |
| DE202014011530U1 (en) | 2013-12-27 | 2021-12-17 | Abbott Diabetes Care, Inc. | Systems and devices for authentication in an analyte monitoring environment |
| EP4050504A1 (en) | 2013-12-27 | 2022-08-31 | Abbott Diabetes Care, Inc. | Application interface and display control in an analyte monitoring environment |
| AU2014374361B9 (en) * | 2013-12-31 | 2019-07-04 | Abbott Diabetes Care Inc. | Self-powered analyte sensor and devices using the same |
| US9993688B2 (en) | 2014-01-13 | 2018-06-12 | Skye Health, Inc. | Device and method for sensing, guiding, and/or tracking pelvic exercise |
| US11324999B2 (en) * | 2014-01-13 | 2022-05-10 | Skye Health, Inc. | Methods and devices for sensing, guiding, and/or tracking pelvic exercise |
| WO2015122964A1 (en) | 2014-02-11 | 2015-08-20 | Dexcom, Inc. | Packaging system for analyte sensors |
| AU2015222800B2 (en) | 2014-02-28 | 2019-10-17 | Icu Medical, Inc. | Infusion system and method which utilizes dual wavelength optical air-in-line detection |
| US10595754B2 (en) | 2014-03-13 | 2020-03-24 | Sano Intelligence, Inc. | System for monitoring body chemistry |
| EP3116397A4 (en) | 2014-03-13 | 2017-11-01 | Sano Intelligence, Inc. | System for monitoring body chemistry |
| US20150265203A1 (en) * | 2014-03-20 | 2015-09-24 | Mark McConkie | Monitoring Antepartum Conditions Using a Smart Phone |
| EP3125761B1 (en) | 2014-03-30 | 2020-09-30 | Abbott Diabetes Care Inc. | Method and apparatus for determining meal start and peak events in analyte monitoring systems |
| US9459089B2 (en) * | 2014-04-09 | 2016-10-04 | Qualcomm Incorporated | Method, devices and systems for detecting an attachment of an electronic patch |
| US9764082B2 (en) | 2014-04-30 | 2017-09-19 | Icu Medical, Inc. | Patient care system with conditional alarm forwarding |
| WO2015179595A1 (en) | 2014-05-22 | 2015-11-26 | Avery Dennison Corporation | Using rfid devices integrated or included in the packaging of medical devices to facilitate a secure and authorized pairing with a host system |
| JP2017517302A (en) | 2014-05-29 | 2017-06-29 | ホスピーラ インコーポレイテッド | Infusion system and pump with configurable closed loop delivery rate catchup |
| US9724470B2 (en) | 2014-06-16 | 2017-08-08 | Icu Medical, Inc. | System for monitoring and delivering medication to a patient and method of using the same to minimize the risks associated with automated therapy |
| US9452293B2 (en) * | 2014-06-19 | 2016-09-27 | Inspire Medical Systems, Inc. | Hybrid communication channel for communicating with an implantable medical device |
| EP3175603A4 (en) * | 2014-07-31 | 2018-03-21 | Abbott Diabetes Care Inc. | Safety mitigations for hosting a safety critical application on an uncontrolled data processing device |
| SI2982303T1 (en) | 2014-08-06 | 2017-05-31 | F. Hoffmann-La Roche Ag | Medical device and method for producing a medical device |
| AU2015302326A1 (en) | 2014-08-15 | 2017-03-02 | Abbott Diabetes Care Inc. | Temperature insensitive in vivo analyte devices, methods and systems |
| US9539383B2 (en) | 2014-09-15 | 2017-01-10 | Hospira, Inc. | System and method that matches delayed infusion auto-programs with manually entered infusion programs and analyzes differences therein |
| US9974471B1 (en) * | 2014-10-24 | 2018-05-22 | Verily Life Sciences Llc | Analyte detection system and method for intradermal implantation of biocompatible optode nanosensors |
| EP3207871B1 (en) * | 2014-10-27 | 2021-07-21 | Glutalor Medical Inc | Continuous glucose collecting apparatus |
| CN104330450A (en) * | 2014-10-30 | 2015-02-04 | 东莞市青麦田数码科技有限公司 | Disposable blood glucose meter |
| AU2015349931B2 (en) | 2014-11-19 | 2020-08-13 | Abbott Diabetes Care Inc. | Systems, devices, and methods for revising or supplementing ROM-based RF commands |
| EP3035173B1 (en) * | 2014-12-15 | 2018-02-07 | Nxp B.V. | User interface unit, electronic device and manufactoring method |
| US11344668B2 (en) | 2014-12-19 | 2022-05-31 | Icu Medical, Inc. | Infusion system with concurrent TPN/insulin infusion |
| US10251605B2 (en) | 2015-02-16 | 2019-04-09 | Verily Life Sciences Llc | Bandage type of continuous glucose monitoring system |
| US10850024B2 (en) | 2015-03-02 | 2020-12-01 | Icu Medical, Inc. | Infusion system, device, and method having advanced infusion features |
| US10213139B2 (en) | 2015-05-14 | 2019-02-26 | Abbott Diabetes Care Inc. | Systems, devices, and methods for assembling an applicator and sensor control device |
| US9949642B2 (en) | 2015-05-14 | 2018-04-24 | Abbott Diabetes Care Inc. | Systems, devices, and methods for monitoring medical devices |
| US10674944B2 (en) | 2015-05-14 | 2020-06-09 | Abbott Diabetes Care Inc. | Compact medical device inserters and related systems and methods |
| EP3304370B1 (en) | 2015-05-26 | 2020-12-30 | ICU Medical, Inc. | Infusion pump system and method with multiple drug library editor source capability |
| US10292630B2 (en) | 2015-06-01 | 2019-05-21 | Verily Life Sciences Llc | Optical sensor for bandage type monitoring device |
| CA2987091A1 (en) | 2015-06-15 | 2016-12-22 | Abbott Diabetes Care Inc. | Stabilized lactate responsive enzymes, electrodes and sensors, and methods for making and using the same |
| USD794801S1 (en) | 2015-07-09 | 2017-08-15 | Dexcom, Inc. | Base for medical device electronic module |
| USD794800S1 (en) * | 2015-07-09 | 2017-08-15 | Dexcom, Inc. | Medical device inserter |
| USD794201S1 (en) | 2015-07-09 | 2017-08-08 | Dexcom, Inc. | Medical device electronic module |
| CA3254799A1 (en) | 2015-07-10 | 2025-04-12 | Abbott Diabetes Care Inc | System, device and method of dynamic glucose profile response to physiological parameters |
| US10888272B2 (en) | 2015-07-10 | 2021-01-12 | Abbott Diabetes Care Inc. | Systems, devices, and methods for meal information collection, meal assessment, and analyte data correlation |
| EP3138488B1 (en) | 2015-09-02 | 2019-06-05 | Roche Diabetes Care GmbH | Sensor module and kit for determining an analyte concentration |
| PL3138489T3 (en) | 2015-09-02 | 2020-11-16 | F. Hoffmann-La Roche Ag | Kit for determining an analyte concentration |
| US20170112534A1 (en) | 2015-10-21 | 2017-04-27 | Dexcom, Inc. | Transcutaneous analyte sensors, applicators therefor, and associated methods |
| CN105342825B (en) * | 2015-11-18 | 2018-07-06 | 上海麦添医疗科技有限公司 | Massage device of alimentary tract and its processing method can be swallowed |
| WO2017091736A1 (en) * | 2015-11-23 | 2017-06-01 | Mayo Foundation For Medical Education And Research | Processing physiological electrical data for analyte assessments |
| USD806711S1 (en) * | 2015-12-11 | 2018-01-02 | SomniQ, Inc. | Portable electronic device |
| US11399721B2 (en) | 2015-12-28 | 2022-08-02 | Dexcom, Inc. | Systems and methods for remote and host monitoring communications |
| US10569016B2 (en) | 2015-12-29 | 2020-02-25 | Tandem Diabetes Care, Inc. | System and method for switching between closed loop and open loop control of an ambulatory infusion pump |
| CN105662337B (en) * | 2015-12-30 | 2018-08-17 | 博迪加科技(北京)有限公司 | A kind of signal processing apparatus and intelligent clothing |
| EP3804611B1 (en) | 2015-12-30 | 2024-07-17 | Dexcom, Inc. | Transcutaneous analyte sensor systems and methods |
| DE202016009190U1 (en) | 2016-02-05 | 2023-08-23 | Roche Diabetes Care Gmbh | Medical device for detecting at least one analyte in a body fluid |
| DE202016009189U1 (en) | 2016-02-05 | 2023-08-25 | Roche Diabetes Care Gmbh | Medical device for detecting at least one analyte in a body fluid |
| DE202016009188U1 (en) | 2016-02-05 | 2023-08-30 | Roche Diabetes Care Gmbh | Medical device for detecting at least one analyte in a body fluid |
| ES2988592T3 (en) | 2016-02-05 | 2024-11-21 | Hoffmann La Roche | Medical device for detecting at least one analyte in a body fluid |
| ES3005449T3 (en) | 2016-02-05 | 2025-03-14 | Hoffmann La Roche | Medical device for detecting at least one analyte in a body fluid |
| EP3207870A1 (en) * | 2016-02-16 | 2017-08-23 | Roche Diabetes Care GmbH | Body-mountable device, medical sensor assembly and method of use |
| US10541987B2 (en) | 2016-02-26 | 2020-01-21 | Tandem Diabetes Care, Inc. | Web browser-based device communication workflow |
| FI3423591T3 (en) | 2016-03-04 | 2024-02-01 | Abbott Diabetes Care Inc | Nad(p)-dependent responsive enzymes, electrodes and sensors, and methods for making and using the same |
| EP3216395B1 (en) * | 2016-03-11 | 2021-08-18 | Roche Diabetes Care GmbH | Analyte measuring patch |
| PL3435865T3 (en) | 2016-03-29 | 2025-03-24 | F. Hoffmann-La Roche Ag | Method of operating a receiver for receiving analytical data, the receiver and the product in the form of a computer program |
| JP2019513061A (en) | 2016-03-31 | 2019-05-23 | デックスコム・インコーポレーテッド | System and method for communication of display device and sensor electronics unit |
| US10765348B2 (en) | 2016-04-08 | 2020-09-08 | Medtronic Minimed, Inc. | Sensor and transmitter product |
| US12419547B2 (en) | 2016-04-08 | 2025-09-23 | Medtronic Minimed, Inc. | Sensor and transmitter product |
| US10631787B2 (en) | 2016-04-08 | 2020-04-28 | Medtronic Minimed, Inc. | Sensor and transmitter product |
| US10765369B2 (en) | 2016-04-08 | 2020-09-08 | Medtronic Minimed, Inc. | Analyte sensor |
| US20170290535A1 (en) * | 2016-04-08 | 2017-10-12 | Medtronic Minimed, Inc. | Analyte sensor with indicators |
| AU2017250805B2 (en) * | 2016-04-15 | 2018-11-08 | BR Invention Holding, LLC | Mobile medicine communication platform and methods and uses thereof |
| WO2017197024A1 (en) | 2016-05-13 | 2017-11-16 | Icu Medical, Inc. | Infusion pump system and method with common line auto flush |
| WO2017214441A1 (en) | 2016-06-10 | 2017-12-14 | Icu Medical, Inc. | Acoustic flow sensor for continuous medication flow measurements and feedback control of infusion |
| WO2017214837A1 (en) * | 2016-06-14 | 2017-12-21 | 彭鹏 | Reagent kit having music playback function and wireless management function |
| US10498569B2 (en) * | 2016-06-23 | 2019-12-03 | University Of Massachusetts | Systems and methods for backscatter communication |
| US11574737B2 (en) | 2016-07-14 | 2023-02-07 | Icu Medical, Inc. | Multi-communication path selection and security system for a medical device |
| US10455816B2 (en) * | 2016-07-20 | 2019-10-29 | International Business Machines Corporation | Sensor based activity monitor |
| US11026609B2 (en) * | 2016-08-09 | 2021-06-08 | Verily Life Sciences Llc | Wake-up batteries for invasive biosensors |
| JP2020504808A (en) | 2016-10-26 | 2020-02-13 | エフ.ホフマン−ラ ロシュ アーゲーF. Hoffmann−La Roche Aktiengesellschaft | Multi-chip packaging of integrated circuits and flow cells for nanopore sequencing |
| US10702198B2 (en) * | 2016-11-29 | 2020-07-07 | Dexcom, Inc. | Wire-assembly apparatus for invasive biosensors |
| WO2018118822A1 (en) | 2016-12-20 | 2018-06-28 | Abbott Diabetes Care Inc. | Systems, devices and methods for wireless communications in analyte monitoring devices |
| BR112019012600B1 (en) * | 2016-12-22 | 2023-10-03 | Sanvita Medical Corporation | INSERTION ASSEMBLY FOR IMPLEMENTING A SENSOR |
| US10334515B2 (en) | 2017-01-13 | 2019-06-25 | ENK Wireless, Inc. | Conveying information via auxiliary device selection |
| CN110461217B (en) * | 2017-01-23 | 2022-09-16 | 雅培糖尿病护理公司 | Systems, devices, and methods for analyte sensor insertion |
| WO2018175489A1 (en) | 2017-03-21 | 2018-09-27 | Abbott Diabetes Care Inc. | Methods, devices and system for providing diabetic condition diagnosis and therapy |
| EP3381370B1 (en) * | 2017-03-31 | 2019-11-20 | RichHealth Technology Corporation | Transdermal microneedle array patch |
| TWI666034B (en) * | 2017-03-31 | 2019-07-21 | 全康科技股份有限公司 | Transdermal microneedle array patch |
| CA3053362C (en) * | 2017-04-04 | 2022-11-29 | F. Hoffmann-La Roche Ag | Body-wearable medical device |
| KR20190136027A (en) * | 2017-04-19 | 2019-12-09 | 메트로놈 헬스, 인크. | Inserter for Analyte Sensor |
| US10182750B1 (en) * | 2017-04-27 | 2019-01-22 | Verily Life Sciences Llc | Electrically-isolated and moisture-resistant designs for wearable devices |
| EP3618712A1 (en) | 2017-05-03 | 2020-03-11 | Abbott Diabetes Care Inc. | Systems, devices, and methods with duration-based adjustment of sensor data |
| KR102388991B1 (en) | 2017-05-22 | 2022-04-22 | 삼성전자주식회사 | Biosensor, manufacturing method of biosensor and biosignal measuring apparatus |
| WO2018222010A1 (en) * | 2017-06-02 | 2018-12-06 | 주식회사 아이센스 | Sensor applicator assembly for continuous glucose monitoring system |
| US11534111B2 (en) | 2017-06-02 | 2022-12-27 | I-Sens, Inc. | Sensor applicator assembly for continuous glucose monitoring system |
| WO2018222011A1 (en) * | 2017-06-02 | 2018-12-06 | 주식회사 아이센스 | Sensor applicator assembly for continuous glucose monitoring system |
| WO2018222009A1 (en) * | 2017-06-02 | 2018-12-06 | 주식회사 아이센스 | Sensor applicator assembly for continuous glucose monitoring system |
| WO2018222012A1 (en) * | 2017-06-02 | 2018-12-06 | 주식회사 아이센스 | Sensor applicator assembly for continuous glucose monitoring system |
| TWI834615B (en) * | 2017-06-16 | 2024-03-11 | 美國康奈爾大學 | Method for non-contact measuring of an on-body and/or inside-body motion of an individual and system for measuring motion of an individual |
| CN111031903B (en) * | 2017-06-16 | 2023-08-04 | 康奈尔大学 | Method and system for electromagnetic near-field coherent sensing |
| EP4154802B1 (en) * | 2017-06-19 | 2024-02-14 | Dexcom, Inc. | Applicators for applying transcutaneous analyte sensors |
| US10863944B2 (en) * | 2017-06-23 | 2020-12-15 | Dexcom, Inc. | Transcutaneous analyte sensors, applicators therefor, and associated methods |
| US10932699B2 (en) * | 2017-09-13 | 2021-03-02 | Dexcom, Inc. | Invasive biosensor alignment and retention |
| US10874300B2 (en) | 2017-09-26 | 2020-12-29 | Medtronic Minimed, Inc. | Waferscale physiological characteristic sensor package with integrated wireless transmitter |
| CN111093499B (en) * | 2017-09-26 | 2022-12-06 | 美敦力泌力美公司 | Wafer-scale physiological property sensor package with integrated wireless transmitter |
| CA3077720A1 (en) | 2017-10-24 | 2019-05-02 | Dexcom, Inc. | Pre-connected analyte sensors |
| US11331022B2 (en) | 2017-10-24 | 2022-05-17 | Dexcom, Inc. | Pre-connected analyte sensors |
| US11203139B2 (en) | 2017-12-13 | 2021-12-21 | Becton, Dickinson And Company | Medical device with overmolded adhesive patch and method for making same |
| SI4238495T1 (en) * | 2017-12-21 | 2025-04-30 | F. Hoffmann-La Roche Ag | Medical system and method of its manufacture |
| US10089055B1 (en) | 2017-12-27 | 2018-10-02 | Icu Medical, Inc. | Synchronized display of screen content on networked devices |
| MY208763A (en) | 2018-01-11 | 2025-05-27 | Shell Int Research | Wireless reactor monitoring system using passive sensor enabled rfid tag |
| TWI799491B (en) * | 2018-01-11 | 2023-04-21 | 荷蘭商蜆殼國際研究所 | Systems for measuring and profiling process conditions within a reactor vessel and methods for wirelessly monitoring and profiling process conditions within a reactor vessel |
| EP3764465B1 (en) * | 2018-03-07 | 2023-03-01 | PHC Holdings Corporation | Communication device |
| CN108784859B (en) * | 2018-03-19 | 2021-06-25 | 成都频泰医疗设备有限公司 | Orthodontic system with direct-wear appliances |
| USD878325S1 (en) * | 2018-04-19 | 2020-03-17 | Amazon Technologies, Inc. | Electronic input device |
| USD900812S1 (en) * | 2018-05-04 | 2020-11-03 | Flint Rehabilitation Devices, LLC | User interface device |
| US11109121B2 (en) | 2018-05-10 | 2021-08-31 | Physio-Control, Inc. | Systems and methods of secure communication of data from medical devices |
| US11392782B2 (en) | 2018-05-14 | 2022-07-19 | Cornell University | Collaborative RFID reader using code divisional multiple access (CDMA) and methods for same |
| JP7059367B2 (en) | 2018-06-06 | 2022-04-25 | Phcホールディングス株式会社 | Human body-mounted sensor device, sensor insertion device and sensor insertion method |
| EP4585143A3 (en) * | 2018-06-07 | 2025-10-01 | Abbott Diabetes Care, Inc. | Focused sterilization and sterilized sub-assemblies for analyte monitoring systems |
| USD888252S1 (en) | 2018-06-18 | 2020-06-23 | Dexcom, Inc. | Transcutaneous analyte sensor applicator |
| USD926325S1 (en) | 2018-06-22 | 2021-07-27 | Dexcom, Inc. | Wearable medical monitoring device |
| CA3106519A1 (en) | 2018-07-17 | 2020-01-23 | Icu Medical, Inc. | Systems and methods for facilitating clinical messaging in a network environment |
| EP3824386B1 (en) | 2018-07-17 | 2024-02-21 | ICU Medical, Inc. | Updating infusion pump drug libraries and operational software in a networked environment |
| US11139058B2 (en) | 2018-07-17 | 2021-10-05 | Icu Medical, Inc. | Reducing file transfer between cloud environment and infusion pumps |
| US10964428B2 (en) | 2018-07-17 | 2021-03-30 | Icu Medical, Inc. | Merging messages into cache and generating user interface using the cache |
| US10692595B2 (en) | 2018-07-26 | 2020-06-23 | Icu Medical, Inc. | Drug library dynamic version management |
| EP3827337A4 (en) | 2018-07-26 | 2022-04-13 | ICU Medical, Inc. | Drug library management system |
| KR102200137B1 (en) * | 2018-07-31 | 2021-01-11 | 주식회사 아이센스 | Sensor unit for continuous glucose monitoring system |
| KR102185137B1 (en) * | 2018-07-31 | 2020-12-02 | 주식회사 아이센스 | Sensor unit for continuous glucose monitoring system |
| KR102197577B1 (en) * | 2018-07-31 | 2021-01-05 | 주식회사 아이센스 | Continuous glucose monitoring system |
| KR102185833B1 (en) * | 2018-07-31 | 2020-12-03 | 주식회사 아이센스 | Continuous glucose monitoring system |
| KR102222045B1 (en) | 2018-07-31 | 2021-03-04 | 주식회사 아이센스 | Continuous glucose monitoring system |
| KR102200136B1 (en) * | 2018-07-31 | 2021-01-11 | 주식회사 아이센스 | Continuous glucose monitoring system |
| KR102200140B1 (en) | 2018-07-31 | 2021-01-11 | 주식회사 아이센스 | Sensor unit for continuous glucose monitoring system |
| KR102200138B1 (en) * | 2018-07-31 | 2021-01-11 | 주식회사 아이센스 | Continuous glucose monitoring system |
| KR102222044B1 (en) * | 2018-07-31 | 2021-03-04 | 주식회사 아이센스 | Sensor unit for continuous glucose monitoring system |
| KR102197578B1 (en) * | 2018-07-31 | 2021-01-05 | 주식회사 아이센스 | Sensor unit for continuous glucose monitoring system |
| KR102200139B1 (en) | 2018-08-07 | 2021-01-08 | 주식회사 아이센스 | Apparatus for controlling operation of CGMS |
| US12016821B2 (en) | 2018-08-23 | 2024-06-25 | Abbott Diabetes Care Inc. | Needle assemblies containing oriented acupuncture needles and methods for production thereof |
| DE102018007124B4 (en) * | 2018-09-07 | 2024-03-07 | Mentalab Gmbh | System for recording biosignals |
| KR102200141B1 (en) * | 2018-09-27 | 2021-01-11 | 주식회사 아이센스 | Sensor unit for continuous glucose monitoring system |
| KR102222049B1 (en) | 2018-09-27 | 2021-03-04 | 주식회사 아이센스 | Applicator for continuous glucose monitoring system |
| KR102200142B1 (en) * | 2018-09-27 | 2021-01-11 | 주식회사 아이센스 | Sensor unit for continuous glucose monitoring system |
| US10940554B2 (en) * | 2018-11-30 | 2021-03-09 | International Business Machines Corporation | Planar fabrication of micro-needles |
| USD916309S1 (en) * | 2018-12-14 | 2021-04-13 | Nippon Chemiphar Co. Ltd. | Chip for the analysis of biochemical reactions |
| US11109800B2 (en) | 2019-01-04 | 2021-09-07 | Enable Injections, Inc. | Medical fluid injection apparatus and method with detachable patch and monitoring |
| BR112021012996A2 (en) | 2019-01-04 | 2021-09-14 | Enable Injections, Inc. | MEDICAL FLUID INJECTION APPARATUS AND METHOD WITH DETACHABLE PLASTER AND MONITORING |
| USD954719S1 (en) | 2019-01-17 | 2022-06-14 | Bruin Biometrics, Llc | Display screen or portion thereof with a graphical user interface |
| WO2020159780A1 (en) | 2019-02-01 | 2020-08-06 | Analog Devices, Inc. | Subcutaneous biosensor |
| USD907216S1 (en) * | 2019-02-07 | 2021-01-05 | Kci Licensing, Inc. | Therapy device |
| USD903125S1 (en) * | 2019-02-11 | 2020-11-24 | Bruin Biometrics, Llc | Disposable sensor attachment design |
| US12035996B2 (en) | 2019-02-12 | 2024-07-16 | Brown University | High spatiotemporal resolution brain imaging |
| US11464908B2 (en) | 2019-02-18 | 2022-10-11 | Tandem Diabetes Care, Inc. | Methods and apparatus for monitoring infusion sites for ambulatory infusion pumps |
| EP3966992A4 (en) | 2019-05-08 | 2023-06-21 | ICU Medical, Inc. | Threshold signature based medical device management |
| WO2020231405A1 (en) * | 2019-05-14 | 2020-11-19 | Sanvita Medical, Llc | Subcutaneous analyte sensor applicator and continuous monitoring system |
| JP1648061S (en) * | 2019-05-24 | 2019-12-16 | ||
| JP1648060S (en) * | 2019-05-24 | 2019-12-16 | ||
| TWI699189B (en) * | 2019-05-29 | 2020-07-21 | 華廣生技股份有限公司 | Biological sensing device and method for starting biological sensing device |
| USD1002852S1 (en) * | 2019-06-06 | 2023-10-24 | Abbott Diabetes Care Inc. | Analyte sensor device |
| USD937422S1 (en) * | 2019-06-06 | 2021-11-30 | Bionime Corporation | Medical device inserter |
| CN112294270A (en) * | 2019-07-30 | 2021-02-02 | 亘冠智能技术(杭州)有限公司 | A health monitoring system based on RFID technology |
| US12343172B2 (en) | 2019-08-02 | 2025-07-01 | Bionime Corporation | Insertion device for a biosensor |
| CN112294305B (en) * | 2019-08-02 | 2024-07-02 | 华广生技股份有限公司 | Physiological signal sensing device |
| CA3088622C (en) * | 2019-08-02 | 2023-01-03 | Chun-Mu Huang | Insertion device for a biosensor and insertion method thereof |
| US11737689B2 (en) | 2019-08-02 | 2023-08-29 | Bionime Corporation | Physiological signal monitoring device |
| TWI735137B (en) * | 2019-08-02 | 2021-08-01 | 華廣生技股份有限公司 | Physiological signal sensing device |
| WO2021034784A1 (en) | 2019-08-16 | 2021-02-25 | Poltorak Technologies, LLC | Device and method for medical diagnostics |
| EP4017357A4 (en) | 2019-08-19 | 2023-04-19 | Medtrum Technologies Inc. | MEASURING DEVICE |
| KR102303553B1 (en) * | 2019-11-21 | 2021-09-23 | 주식회사 아이센스 | Sensor apparatus for continuous glucose monitoring |
| US11278671B2 (en) | 2019-12-04 | 2022-03-22 | Icu Medical, Inc. | Infusion pump with safety sequence keypad |
| US20230030744A1 (en) * | 2019-12-11 | 2023-02-02 | Sanofi | Modular system for a drug delivery device with electronic and corresponding modules and method |
| WO2021163378A1 (en) * | 2020-02-11 | 2021-08-19 | Life Patch International | Devices, methods and systems related to wearable patch having blood alcohol content detector |
| EP4106627A4 (en) * | 2020-02-20 | 2024-05-01 | Medtrum Technologies Inc. | Highly integrated analyte detection device |
| WO2021164181A1 (en) * | 2020-02-20 | 2021-08-26 | Medtrum Technologies Inc. | A mounting unit of an analyte detection device and a mounting method thereof |
| KR102368154B1 (en) * | 2020-03-31 | 2022-03-02 | 주식회사 아이센스 | Continuous glucose monitoring system |
| US11590057B2 (en) | 2020-04-03 | 2023-02-28 | Icu Medical, Inc. | Systems, methods, and components for transferring medical fluids |
| AU2021311443A1 (en) | 2020-07-21 | 2023-03-09 | Icu Medical, Inc. | Fluid transfer devices and methods of use |
| US12335342B2 (en) | 2020-07-21 | 2025-06-17 | Abbott Diabetes Care Inc. | Transmitting analyte data using low-power instruction sets |
| USD957438S1 (en) | 2020-07-29 | 2022-07-12 | Abbott Diabetes Care Inc. | Display screen or portion thereof with graphical user interface |
| CA3188510A1 (en) | 2020-08-31 | 2022-03-03 | Vivek S. RAO | Systems, devices, and methods for analyte sensor insertion |
| WO2022046416A1 (en) * | 2020-08-31 | 2022-03-03 | Abbott Diabetes Care Inc. | Systems, devices, and methods for analyte sensor applicators |
| CA3192527A1 (en) | 2020-09-05 | 2022-03-10 | Icu Medical, Inc. | Identity-based secure medical device communications |
| USD945629S1 (en) * | 2020-09-08 | 2022-03-08 | Kci Manufacturing Unlimited Company | Therapy device |
| EP3973870A1 (en) | 2020-09-25 | 2022-03-30 | Roche Diabetes Care GmbH | Insertion device and method for inserting a medical device |
| US11534086B2 (en) | 2020-10-30 | 2022-12-27 | Medtronic Minimed, Inc. | Low-profile wearable medical device |
| US11135360B1 (en) | 2020-12-07 | 2021-10-05 | Icu Medical, Inc. | Concurrent infusion with common line auto flush |
| US20220183595A1 (en) | 2020-12-10 | 2022-06-16 | Abbott Diabetes Care Inc. | Systems, devices, and methods for analyte sensor insertion |
| USD999913S1 (en) | 2020-12-21 | 2023-09-26 | Abbott Diabetes Care Inc | Analyte sensor inserter |
| US12239442B2 (en) | 2020-12-23 | 2025-03-04 | Abbott Diabetes Care Inc. | Analyte sensors with reduced interferent signal and methods |
| USD973300S1 (en) * | 2021-01-22 | 2022-12-27 | Spectrum Brands, Inc. | Disc pet chew |
| EP4284246A1 (en) | 2021-01-26 | 2023-12-06 | Abbott Diabetes Care, Inc. | Systems, devices, and methods related to ketone sensors |
| USD1099873S1 (en) | 2021-02-16 | 2025-10-28 | Katana Safety, Inc. | Mobile device accessory |
| USD1099872S1 (en) | 2021-02-16 | 2025-10-28 | Katana Safety, Inc. | Mobile device accessory |
| USD980198S1 (en) | 2021-03-04 | 2023-03-07 | Inspire Medical Systems, Inc. | Wireless communication controller |
| USD1017048S1 (en) * | 2021-03-04 | 2024-03-05 | Inspire Medical Systems, Inc. | Wireless communications assembly |
| USD1010134S1 (en) * | 2021-03-04 | 2024-01-02 | Inspire Medical Systems, Inc. | Telemetry element |
| USD988160S1 (en) * | 2021-03-16 | 2023-06-06 | Biolinq Incorporated | Wearable dermal sensor |
| USD985774S1 (en) * | 2021-03-30 | 2023-05-09 | Ascensia Diabetes Care Holdings Ag | Aanalyte monitoring device |
| USD1076079S1 (en) | 2021-04-21 | 2025-05-20 | One Health Biosensing Inc. | Applicator assembly |
| USD988882S1 (en) | 2021-04-21 | 2023-06-13 | Informed Data Systems Inc. | Sensor assembly |
| USD1086030S1 (en) | 2021-04-21 | 2025-07-29 | One Health Biosensing Inc. | Charging station |
| ES2929788A1 (en) * | 2021-06-01 | 2022-12-01 | Varadero Directorship Sl | DEVICE FOR REMOTE MONITORING OF BODY TEMPERATURE IN CATTLE AND PIGS (Machine-translation by Google Translate, not legally binding) |
| IT202100015722A1 (en) * | 2021-06-16 | 2022-12-16 | Theras Lifetech S R L | Infusion device applicator. |
| USD1067078S1 (en) * | 2021-06-29 | 2025-03-18 | Medtrum Technologies Inc. | Analyte detection device |
| CR20240085A (en) | 2021-07-16 | 2024-06-28 | Abbott Diabetes Care Inc | Systems, devices, and methods for analyte monitoring |
| CR20240092A (en) | 2021-07-21 | 2024-06-13 | Abbott Diabetes Care Inc | Over-the-air programming of sensing devices |
| USD1071187S1 (en) * | 2021-09-03 | 2025-04-15 | Withings | Urine analysis station |
| EP4402587A2 (en) | 2021-09-15 | 2024-07-24 | Abbott Diabetes Care, Inc. | Modular analyte connectivity system for extendible communication with different types of physiological sensors |
| CN115868971A (en) * | 2021-09-27 | 2023-03-31 | 上海移宇科技股份有限公司 | Analyte detection device mounting unit and method of use thereof |
| EP4408278A4 (en) * | 2021-09-27 | 2025-06-04 | Medtrum Technologies Inc. | ANALYTE DETECTION SYSTEM |
| EP4408279A4 (en) * | 2021-09-27 | 2025-06-04 | Medtrum Technologies Inc. | INSTALLATION UNIT FOR AN ANALYTE DETECTION DEVICE |
| US20240382116A1 (en) * | 2021-09-27 | 2024-11-21 | Medtrum Technologies Inc. | Installation unit of analyte detection device and use method |
| CN115868970A (en) * | 2021-09-27 | 2023-03-31 | 上海移宇科技股份有限公司 | Analyte detection device installation unit |
| US20240382156A1 (en) * | 2021-09-27 | 2024-11-21 | Medtrum Technologies Inc. | Installation unit of analyte detection device |
| EP4301225B1 (en) | 2021-09-28 | 2025-08-27 | Biolinq Incorporated | Microneedle enclosure and applicator device for microneedle array based continuous analyte monitoring device |
| USD1091564S1 (en) | 2021-10-13 | 2025-09-02 | Icu Medical, Inc. | Display screen or portion thereof with graphical user interface for a medical device |
| US12076110B2 (en) | 2021-10-20 | 2024-09-03 | Brown University | Large-scale wireless biosensor networks for biomedical diagnostics |
| USD1082014S1 (en) * | 2021-11-12 | 2025-07-01 | Santa Isabel International Foundation | Cartridge for generating therapeutic foam |
| USD996999S1 (en) * | 2021-11-16 | 2023-08-29 | Biolinq Incorporated | Wearable sensor |
| USD1013544S1 (en) * | 2022-04-29 | 2024-02-06 | Biolinq Incorporated | Wearable sensor |
| CN114305331B (en) * | 2021-12-01 | 2024-03-19 | 安徽华米信息科技有限公司 | Method, device and equipment for collecting physiological parameters |
| CA3241894A1 (en) | 2021-12-10 | 2023-06-15 | Icu Medical, Inc. | Medical fluid compounding systems with coordinated flow control |
| US20250051826A1 (en) | 2021-12-13 | 2025-02-13 | Heraeus Medical Gmbh | Tests and methods for detecting bacterial infection |
| USD1033641S1 (en) | 2021-12-17 | 2024-07-02 | Biolinq Incorporated | Microneedle array sensor applicator device |
| USD1012698S1 (en) * | 2022-02-08 | 2024-01-30 | Frost Buddy LLC | Shaker lid |
| US12323714B2 (en) | 2022-04-20 | 2025-06-03 | Brown University | Compact optoelectronic device for noninvasive imaging |
| US11997806B2 (en) | 2022-04-26 | 2024-05-28 | Medtronic Minimed, Inc. | Energy management based on an open switch configuration |
| US12011293B2 (en) * | 2022-04-26 | 2024-06-18 | Medtronic Minimed, Inc. | Energy management based on a closed switch configuration |
| USD1057153S1 (en) | 2022-04-29 | 2025-01-07 | Biolinq Incorporated | Microneedle array sensor applicator device |
| USD1012744S1 (en) * | 2022-05-16 | 2024-01-30 | Biolinq Incorporated | Wearable sensor with illuminated display |
| WO2023229337A1 (en) * | 2022-05-23 | 2023-11-30 | 주식회사 유엑스엔 | Continuous analyte meter comprising switch activation unit linked to driving unit |
| USD1028752S1 (en) * | 2022-10-07 | 2024-05-28 | Elevation Lab, Inc. | Tracking device mount |
| EP4357778A1 (en) | 2022-10-20 | 2024-04-24 | Heraeus Medical GmbH | Treatment of microbial infections diagnosed using the biomarker d-lactate |
| CN120584189A (en) | 2022-11-28 | 2025-09-02 | 雅培糖尿病护理公司 | Universal sensing system |
| USD1052412S1 (en) * | 2023-01-06 | 2024-11-26 | Medibeacon Inc. | Sensor |
| USD1068516S1 (en) * | 2023-02-28 | 2025-04-01 | Biolinq Incorporated | Wearable sensor |
| USD1035004S1 (en) | 2023-02-28 | 2024-07-09 | Biolinq Incorporated | Wearable sensor |
| USD1083977S1 (en) | 2023-02-28 | 2025-07-15 | Biolinq Incorporated | Display with graphical user interface for a wearable sensor |
| USD1083640S1 (en) | 2023-05-16 | 2025-07-15 | Biolinq Incorporated | Wearable sensor |
| WO2025068092A1 (en) | 2023-09-26 | 2025-04-03 | Roche Diabetes Care Gmbh | Medical device for detecting an analyte in a body fluid |
| WO2025090609A1 (en) | 2023-10-24 | 2025-05-01 | Abbott Diabetes Care Inc. | Systems, devices, and methods for analyte monitoring |
| US20250194964A1 (en) | 2023-12-19 | 2025-06-19 | Abbott Diabetes Care, Inc. | Glucose oxidase sensors with improved stability |
| USD1072654S1 (en) * | 2023-12-29 | 2025-04-29 | Tenways Technovation Europe B.V. | Part of a bicycle computer |
| WO2025152020A1 (en) * | 2024-01-16 | 2025-07-24 | 上海移宇科技有限公司 | Analyte detection system |
| WO2025217600A1 (en) | 2024-04-12 | 2025-10-16 | Advanced Neuromodulation Systems, Inc. | Methods and systems for managing outcomes for weight-loss glp-1 receptor agonist therapies using biochemical data-trained models and/or other patient centric analysis |
Family Cites Families (1418)
| Publication number | Priority date | Publication date | Assignee | Title |
|---|---|---|---|---|
| US587787A (en) | 1897-08-10 | Adjustable speed-gearing for bicycles | ||
| US3123790A (en) | 1964-03-03 | tyler | ||
| US654089A (en) | 1899-12-07 | 1900-07-17 | William G Browne | Can-opener. |
| US1060365A (en) | 1911-09-29 | 1913-04-29 | James Rowe | Tube-straightening machine. |
| DE1551103A1 (en) | 1959-09-11 | 1970-02-12 | Karl Eickmann | Rotary piston machine with piston valves guided in slots in the piston hub |
| US3260656A (en) | 1962-09-27 | 1966-07-12 | Corning Glass Works | Method and apparatus for electrolytically determining a species in a fluid |
| US3320725A (en) | 1965-08-17 | 1967-05-23 | Robert L Sampson | Bag vibrator |
| GB1191363A (en) | 1968-02-19 | 1970-05-13 | Pavelle Ltd | Improvements in or relating to Electronic Thermostats. |
| US3522807A (en) | 1968-10-02 | 1970-08-04 | Bluma Millenbach | Fecal receptacle |
| US3653841A (en) | 1969-12-19 | 1972-04-04 | Hoffmann La Roche | Methods and compositions for determining glucose in blood |
| US3670727A (en) | 1970-04-16 | 1972-06-20 | American Hospital Supply Corp | Medical infusion set |
| US3776832A (en) | 1970-11-10 | 1973-12-04 | Energetics Science | Electrochemical detection cell |
| US3719564A (en) | 1971-05-10 | 1973-03-06 | Philip Morris Inc | Method of determining a reducible gas concentration and sensor therefor |
| US3837339A (en) | 1972-02-03 | 1974-09-24 | Whittaker Corp | Blood glucose level monitoring-alarm system and method therefor |
| US3949388A (en) | 1972-11-13 | 1976-04-06 | Monitron Industries, Inc. | Physiological sensor and transmitter |
| US3908657A (en) | 1973-01-15 | 1975-09-30 | Univ Johns Hopkins | System for continuous withdrawal of blood |
| US4100048A (en) | 1973-09-20 | 1978-07-11 | U.S. Philips Corporation | Polarographic cell |
| US3926760A (en) | 1973-09-28 | 1975-12-16 | Du Pont | Process for electrophoretic deposition of polymer |
| US3972320A (en) | 1974-08-12 | 1976-08-03 | Gabor Ujhelyi Kalman | Patient monitoring system |
| US4245634A (en) * | 1975-01-22 | 1981-01-20 | Hospital For Sick Children | Artificial beta cell |
| US4036749A (en) | 1975-04-30 | 1977-07-19 | Anderson Donald R | Purification of saline water |
| US3979274A (en) | 1975-09-24 | 1976-09-07 | The Yellow Springs Instrument Company, Inc. | Membrane for enzyme electrodes |
| DE2645048A1 (en) | 1975-10-08 | 1977-04-21 | Gen Electric | PLANTABLE ELECTROCHEMICAL SENSOR |
| US4016866A (en) | 1975-12-18 | 1977-04-12 | General Electric Company | Implantable electrochemical sensor |
| US4055175A (en) | 1976-05-07 | 1977-10-25 | Miles Laboratories, Inc. | Blood glucose control apparatus |
| DE2625834B2 (en) | 1976-06-09 | 1978-10-12 | Boehringer Mannheim Gmbh, 6800 Mannheim | Method for the determination of substrates or enzyme activities |
| US4059406A (en) | 1976-07-12 | 1977-11-22 | E D T Supplies Limited | Electrochemical detector system |
| US4076596A (en) | 1976-10-07 | 1978-02-28 | Leeds & Northrup Company | Apparatus for electrolytically determining a species in a fluid and method of use |
| US4129128A (en) | 1977-02-23 | 1978-12-12 | Mcfarlane Richard H | Securing device for catheter placement assembly |
| FR2387659A1 (en) | 1977-04-21 | 1978-11-17 | Armines | GLYCEMIA CONTROL AND REGULATION DEVICE |
| US4098574A (en) | 1977-08-01 | 1978-07-04 | Eastman Kodak Company | Glucose detection system free from fluoride-ion interference |
| US4178916A (en) | 1977-09-26 | 1979-12-18 | Mcnamara Elger W | Diabetic insulin alarm system |
| JPS5912135B2 (en) | 1977-09-28 | 1984-03-21 | 松下電器産業株式会社 | enzyme electrode |
| US4151845A (en) | 1977-11-25 | 1979-05-01 | Miles Laboratories, Inc. | Blood glucose control apparatus |
| DK151000C (en) | 1978-02-17 | 1988-06-13 | Radiometer As | PROCEDURE AND APPARATUS FOR DETERMINING A PATIENT'S IN VIVO PLASMA-PH VALUE |
| FR2420331A1 (en) | 1978-03-23 | 1979-10-19 | Claude Bernard | COMBINED MEASURING HEAD, INTENDED TO BE PLACED ON OR IN BODY PARTS, ALLOWING THE SIMULTANEOUS OBTAINING OF MEASUREMENT SIGNALS RELATING TO AN ELECTRICAL ACTIVITY ON THE ONE HAND AND AN IONIC ACTIVITY ON THE OTHER HAND |
| US4172770A (en) | 1978-03-27 | 1979-10-30 | Technicon Instruments Corporation | Flow-through electrochemical system analytical method |
| DE2817363C2 (en) | 1978-04-20 | 1984-01-26 | Siemens AG, 1000 Berlin und 8000 München | Method for determining the concentration of sugar and a suitable electrocatalytic sugar sensor |
| US4344438A (en) | 1978-08-02 | 1982-08-17 | The United States Of America As Represented By The Department Of Health, Education And Welfare | Optical sensor of plasma constituents |
| HU177369B (en) | 1978-09-08 | 1981-09-28 | Radelkis Electrokemiai | Industrial molecule-selective sensing device and method for producing same |
| US4240438A (en) | 1978-10-02 | 1980-12-23 | Wisconsin Alumni Research Foundation | Method for monitoring blood glucose levels and elements |
| AU530979B2 (en) | 1978-12-07 | 1983-08-04 | Aus. Training Aids Pty. Ltd., | Detecting position of bullet fired at target |
| US4247297A (en) | 1979-02-23 | 1981-01-27 | Miles Laboratories, Inc. | Test means and method for interference resistant determination of oxidizing substances |
| US4373527B1 (en) | 1979-04-27 | 1995-06-27 | Univ Johns Hopkins | Implantable programmable medication infusion system |
| US4573994A (en) | 1979-04-27 | 1986-03-04 | The Johns Hopkins University | Refillable medication infusion apparatus |
| US4365637A (en) | 1979-07-05 | 1982-12-28 | Dia-Med, Inc. | Perspiration indicating alarm for diabetics |
| US4458686A (en) | 1979-08-02 | 1984-07-10 | Children's Hospital Medical Center | Cutaneous methods of measuring body substances |
| US4401122A (en) | 1979-08-02 | 1983-08-30 | Children's Hospital Medical Center | Cutaneous methods of measuring body substances |
| GB2067764B (en) | 1980-01-09 | 1984-01-25 | Nat Res Dev | Transcutaneous gas sensor |
| US4450842A (en) | 1980-04-25 | 1984-05-29 | Cordis Corporation | Solid state reference electrode |
| US4340458A (en) | 1980-06-02 | 1982-07-20 | Joslin Diabetes Center, Inc. | Glucose sensor |
| US4356074A (en) | 1980-08-25 | 1982-10-26 | The Yellow Springs Instrument Company, Inc. | Substrate specific galactose oxidase enzyme electrodes |
| US4404066A (en) | 1980-08-25 | 1983-09-13 | The Yellow Springs Instrument Company | Method for quantitatively determining a particular substrate catalyzed by a multisubstrate enzyme |
| USRE32947E (en) | 1980-09-30 | 1989-06-13 | Baptist Medical Center Of Oklahoma, Inc. | Magnetic transcutaneous mount for external device of an associated implant |
| US4352960A (en) | 1980-09-30 | 1982-10-05 | Baptist Medical Center Of Oklahoma, Inc. | Magnetic transcutaneous mount for external device of an associated implant |
| US4425920A (en) | 1980-10-24 | 1984-01-17 | Purdue Research Foundation | Apparatus and method for measurement and control of blood pressure |
| US4327725A (en) | 1980-11-25 | 1982-05-04 | Alza Corporation | Osmotic device with hydrogel driving member |
| US4390621A (en) | 1980-12-15 | 1983-06-28 | Miles Laboratories, Inc. | Method and device for detecting glucose concentration |
| US4436094A (en) | 1981-03-09 | 1984-03-13 | Evreka, Inc. | Monitor for continuous in vivo measurement of glucose concentration |
| AT369254B (en) | 1981-05-07 | 1982-12-27 | Otto Dipl Ing Dr Tech Prohaska | MEDICAL PROBE |
| FR2508305B1 (en) | 1981-06-25 | 1986-04-11 | Slama Gerard | DEVICE FOR CAUSING A LITTLE BITE TO COLLECT A BLOOD DROP |
| US4392849A (en) | 1981-07-27 | 1983-07-12 | The Cleveland Clinic Foundation | Infusion pump controller |
| US4440175A (en) | 1981-08-10 | 1984-04-03 | University Patents, Inc. | Membrane electrode for non-ionic species |
| DE3138194A1 (en) | 1981-09-25 | 1983-04-14 | Basf Ag, 6700 Ludwigshafen | WATER-INSOLUBLE POROESES PROTEIN MATERIAL, THEIR PRODUCTION AND USE |
| DE3278334D1 (en) | 1981-10-23 | 1988-05-19 | Genetics Int Inc | Sensor for components of a liquid mixture |
| US4431004A (en) | 1981-10-27 | 1984-02-14 | Bessman Samuel P | Implantable glucose sensor |
| US4418148A (en) | 1981-11-05 | 1983-11-29 | Miles Laboratories, Inc. | Multilayer enzyme electrode membrane |
| US4494950A (en) * | 1982-01-19 | 1985-01-22 | The Johns Hopkins University | Plural module medication delivery system |
| JPS58153154A (en) | 1982-03-09 | 1983-09-12 | Ajinomoto Co Inc | Qualified electrode |
| US4581336A (en) | 1982-04-26 | 1986-04-08 | Uop Inc. | Surface-modified electrodes |
| FI831399L (en) | 1982-04-29 | 1983-10-30 | Agripat Sa | KONTAKTLINS AV HAERDAD POLYVINYL ALCOHOL |
| DE3221339A1 (en) | 1982-06-05 | 1983-12-08 | Basf Ag, 6700 Ludwigshafen | METHOD FOR THE ELECTROCHEMICAL HYDRATION OF NICOTINAMIDADENINE-DINUCLEOTIDE |
| US4427770A (en) | 1982-06-14 | 1984-01-24 | Miles Laboratories, Inc. | High glucose-determining analytical element |
| EP0098592A3 (en) | 1982-07-06 | 1985-08-21 | Fujisawa Pharmaceutical Co., Ltd. | Portable artificial pancreas |
| US4509531A (en) | 1982-07-28 | 1985-04-09 | Teledyne Industries, Inc. | Personal physiological monitor |
| DE3228551A1 (en) | 1982-07-30 | 1984-02-02 | Siemens AG, 1000 Berlin und 8000 München | METHOD FOR DETERMINING SUGAR CONCENTRATION |
| US4534356A (en) | 1982-07-30 | 1985-08-13 | Diamond Shamrock Chemicals Company | Solid state transcutaneous blood gas sensors |
| US4571292A (en) | 1982-08-12 | 1986-02-18 | Case Western Reserve University | Apparatus for electrochemical measurements |
| GB2128453A (en) | 1982-10-08 | 1984-04-26 | Philips Electronic Associated | System identification in communications systems |
| US4552840A (en) | 1982-12-02 | 1985-11-12 | California And Hawaiian Sugar Company | Enzyme electrode and method for dextran analysis |
| US4527240A (en) | 1982-12-29 | 1985-07-02 | Kvitash Vadim I | Balascopy method for detecting and rapidly evaluating multiple imbalances within multi-parametric systems |
| JPS59138086A (en) | 1983-01-25 | 1984-08-08 | シャープ株式会社 | Board connection method |
| US4461691A (en) | 1983-02-10 | 1984-07-24 | The United States Of America As Represented By The United States Department Of Energy | Organic conductive films for semiconductor electrodes |
| US4679562A (en) | 1983-02-16 | 1987-07-14 | Cardiac Pacemakers, Inc. | Glucose sensor |
| IT1170375B (en) | 1983-04-19 | 1987-06-03 | Giuseppe Bombardieri | APPARATUS THAT INFUSES INSULIN OR GLUCOSE IN THE DIABETIC SUBJECT ON THE BASIS OF DETERMINATIONS OF GLUCOSE CONCENTRATIONS OBTAINED WITHOUT THE NEED FOR PATIENT BLOOD COLLECTION |
| CA1219040A (en) | 1983-05-05 | 1987-03-10 | Elliot V. Plotkin | Measurement of enzyme-catalysed reactions |
| US5682884A (en) | 1983-05-05 | 1997-11-04 | Medisense, Inc. | Strip electrode with screen printing |
| CA1218704A (en) | 1983-05-05 | 1987-03-03 | Graham Davis | Assay systems using more than one enzyme |
| US5509410A (en) | 1983-06-06 | 1996-04-23 | Medisense, Inc. | Strip electrode including screen printing of a single layer |
| CA1226036A (en) | 1983-05-05 | 1987-08-25 | Irving J. Higgins | Analytical equipment and sensor electrodes therefor |
| US4650547A (en) | 1983-05-19 | 1987-03-17 | The Regents Of The University Of California | Method and membrane applicable to implantable sensor |
| US4484987A (en) | 1983-05-19 | 1984-11-27 | The Regents Of The University Of California | Method and membrane applicable to implantable sensor |
| US4675346A (en) | 1983-06-20 | 1987-06-23 | Loctite Corporation | UV curable silicone rubber compositions |
| US4524114A (en) | 1983-07-05 | 1985-06-18 | Allied Corporation | Bifunctional air electrode |
| US4538616A (en) | 1983-07-25 | 1985-09-03 | Robert Rogoff | Blood sugar level sensing and monitoring transducer |
| US4543955A (en) | 1983-08-01 | 1985-10-01 | Cordis Corporation | System for controlling body implantable action device |
| US4655880A (en) | 1983-08-01 | 1987-04-07 | Case Western Reserve University | Apparatus and method for sensing species, substances and substrates using oxidase |
| SE8305704D0 (en) | 1983-10-18 | 1983-10-18 | Leo Ab | Cuvette |
| US4560534A (en) | 1983-11-02 | 1985-12-24 | Miles Laboratories, Inc. | Polymer catalyst transducers |
| US4522690A (en) | 1983-12-01 | 1985-06-11 | Honeywell Inc. | Electrochemical sensing of carbon monoxide |
| US6017335A (en) | 1983-12-12 | 2000-01-25 | Burnham; Warren R. | Method for making a tubular product, especially a catheter, and article made thereby |
| AU583258B2 (en) | 1983-12-16 | 1989-04-27 | Medisense Inc. | Assay for nucleic acids |
| US4684537A (en) | 1984-04-30 | 1987-08-04 | R. E. Stiftung | Process for the sensitization of an oxidation/reduction photocatalyst, and photocatalyst thus obtained |
| US5141868A (en) | 1984-06-13 | 1992-08-25 | Internationale Octrooi Maatschappij "Octropa" Bv | Device for use in chemical test procedures |
| DK8601218A (en) | 1984-07-18 | 1986-03-17 | ||
| DE3429596A1 (en) | 1984-08-10 | 1986-02-20 | Siemens AG, 1000 Berlin und 8000 München | DEVICE FOR THE PHYSIOLOGICAL FREQUENCY CONTROL OF A PACEMAKER PROVIDED WITH A PICTURE ELECTRODE |
| US4820399A (en) | 1984-08-31 | 1989-04-11 | Shimadzu Corporation | Enzyme electrodes |
| CA1254091A (en) | 1984-09-28 | 1989-05-16 | Vladimir Feingold | Implantable medication infusion system |
| JPS61111428A (en) | 1984-11-06 | 1986-05-29 | Terumo Corp | Electronic clinical thermometer |
| US4627842A (en) | 1984-11-19 | 1986-12-09 | William Katz | Intravenous needle assembly |
| US4717673A (en) | 1984-11-23 | 1988-01-05 | Massachusetts Institute Of Technology | Microelectrochemical devices |
| US4721601A (en) | 1984-11-23 | 1988-01-26 | Massachusetts Institute Of Technology | Molecule-based microelectronic devices |
| JPH0617889B2 (en) | 1984-11-27 | 1994-03-09 | 株式会社日立製作所 | Biochemical sensor |
| DE3585915T2 (en) | 1984-12-28 | 1993-04-15 | Terumo Corp | ION SENSOR. |
| GB8500729D0 (en) | 1985-01-11 | 1985-02-13 | Hill H A O | Surface-modified electrode |
| DE3502913C1 (en) | 1985-01-29 | 1986-07-03 | Günter Prof. Dr.rer.nat. 5100 Aachen Rau | Sensor for non-invasive detection of electrophysiological values |
| EP0200321A3 (en) | 1985-03-20 | 1987-03-11 | Ingeborg J. Hochmair | Transcutaneous signal transmission system |
| US4627445A (en) | 1985-04-08 | 1986-12-09 | Garid, Inc. | Glucose medical monitoring system |
| US5279294A (en) | 1985-04-08 | 1994-01-18 | Cascade Medical, Inc. | Medical diagnostic system |
| US4781798A (en) | 1985-04-19 | 1988-11-01 | The Regents Of The University Of California | Transparent multi-oxygen sensor array and method of using same |
| US4671288A (en) | 1985-06-13 | 1987-06-09 | The Regents Of The University Of California | Electrochemical cell sensor for continuous short-term use in tissues and blood |
| US4897173A (en) | 1985-06-21 | 1990-01-30 | Matsushita Electric Industrial Co., Ltd. | Biosensor and method for making the same |
| US4938860A (en) | 1985-06-28 | 1990-07-03 | Miles Inc. | Electrode for electrochemical sensors |
| US4796634A (en) | 1985-08-09 | 1989-01-10 | Lawrence Medical Systems, Inc. | Methods and apparatus for monitoring cardiac output |
| US4805624A (en) | 1985-09-09 | 1989-02-21 | The Montefiore Hospital Association Of Western Pa | Low-potential electrochemical redox sensors |
| US4680268A (en) | 1985-09-18 | 1987-07-14 | Children's Hospital Medical Center | Implantable gas-containing biosensor and method for measuring an analyte such as glucose |
| US5245314A (en) | 1985-09-18 | 1993-09-14 | Kah Jr Carl L C | Location monitoring system |
| US4890620A (en) | 1985-09-20 | 1990-01-02 | The Regents Of The University Of California | Two-dimensional diffusion glucose substrate sensing electrode |
| US4627908A (en) | 1985-10-24 | 1986-12-09 | Chevron Research Company | Process for stabilizing lube base stocks derived from bright stock |
| US4684245A (en) | 1985-10-28 | 1987-08-04 | Oximetrix, Inc. | Electro-optical coupler for catheter oximeter |
| CA1254616A (en) | 1985-11-11 | 1989-05-23 | Calum J. Mcneil | Electrochemical enzymic assay procedures |
| GB8529300D0 (en) | 1985-11-28 | 1986-01-02 | Ici Plc | Membrane |
| US4755173A (en) | 1986-02-25 | 1988-07-05 | Pacesetter Infusion, Ltd. | Soft cannula subcutaneous injection set |
| US4776944A (en) | 1986-03-20 | 1988-10-11 | Jiri Janata | Chemical selective sensors utilizing admittance modulated membranes |
| US4685463A (en) | 1986-04-03 | 1987-08-11 | Williams R Bruce | Device for continuous in vivo measurement of blood glucose concentrations |
| US4726378A (en) | 1986-04-11 | 1988-02-23 | Minnesota Mining And Manufacturing Company | Adjustable magnetic supercutaneous device and transcutaneous coupling apparatus |
| US4994167A (en) | 1986-04-15 | 1991-02-19 | Markwell Medical Institute, Inc. | Biological fluid measuring device |
| US4757022A (en) | 1986-04-15 | 1988-07-12 | Markwell Medical Institute, Inc. | Biological fluid measuring device |
| US4711247A (en) | 1986-04-18 | 1987-12-08 | Henry Fishman | Allergy testing method and apparatus |
| US4909908A (en) | 1986-04-24 | 1990-03-20 | Pepi Ross | Electrochemical cncentration detector method |
| DE3614821A1 (en) | 1986-05-02 | 1987-11-05 | Siemens Ag | IMPLANTABLE, CALIBRABLE MEASURING DEVICE FOR A BODY SUBSTANCE AND CALIBRATION METHOD |
| US4703756A (en) | 1986-05-06 | 1987-11-03 | The Regents Of The University Of California | Complete glucose monitoring system with an implantable, telemetered sensor module |
| US4731726A (en) | 1986-05-19 | 1988-03-15 | Healthware Corporation | Patient-operated glucose monitor and diabetes management system |
| DE3617161A1 (en) | 1986-05-22 | 1987-11-26 | Boehringer Mannheim Gmbh | SYSTEM FOR DETERMINING THE CONCENTRATION OF INGREDIENTS OF BODY LIQUIDS |
| GB8612861D0 (en) | 1986-05-27 | 1986-07-02 | Cambridge Life Sciences | Immobilised enzyme biosensors |
| US4698057A (en) | 1986-06-09 | 1987-10-06 | Joishy Suresh K | Built in assembly for stabilizing and securing intravascular needle or catheter like device |
| US4969468A (en) | 1986-06-17 | 1990-11-13 | Alfred E. Mann Foundation For Scientific Research | Electrode array for use in connection with a living body and method of manufacture |
| US4911794A (en) | 1986-06-20 | 1990-03-27 | Molecular Devices Corporation | Measuring with zero volume cell |
| US5001054A (en) | 1986-06-26 | 1991-03-19 | Becton, Dickinson And Company | Method for monitoring glucose |
| JPS636451A (en) | 1986-06-27 | 1988-01-12 | Terumo Corp | Enzyme sensor |
| DE3721799C2 (en) | 1986-07-01 | 1993-12-23 | Mitsubishi Electric Corp | Integrated redox component circuit and method of manufacture |
| US4917800A (en) | 1986-07-07 | 1990-04-17 | Bend Research, Inc. | Functional, photochemically active, and chemically asymmetric membranes by interfacial polymerization of derivatized multifunctional prepolymers |
| US4784736A (en) | 1986-07-07 | 1988-11-15 | Bend Research, Inc. | Functional, photochemically active, and chemically asymmetric membranes by interfacial polymerization of derivatized multifunctional prepolymers |
| US4726716A (en) | 1986-07-21 | 1988-02-23 | Mcguire Thomas V | Fastener for catheter |
| US4894137A (en) | 1986-09-12 | 1990-01-16 | Omron Tateisi Electronics Co. | Enzyme electrode |
| US5055171A (en) | 1986-10-06 | 1991-10-08 | T And G Corporation | Ionic semiconductor materials and applications thereof |
| US4897162A (en) | 1986-11-14 | 1990-01-30 | The Cleveland Clinic Foundation | Pulse voltammetry |
| DE3700119A1 (en) | 1987-01-03 | 1988-07-14 | Inst Diabetestechnologie Gemei | IMPLANTABLE ELECTROCHEMICAL SENSOR |
| US4934369A (en) | 1987-01-30 | 1990-06-19 | Minnesota Mining And Manufacturing Company | Intravascular blood parameter measurement system |
| GB2201248B (en) | 1987-02-24 | 1991-04-17 | Ici Plc | Enzyme electrode sensors |
| US4777953A (en) | 1987-02-25 | 1988-10-18 | Ash Medical Systems, Inc. | Capillary filtration and collection method for long-term monitoring of blood constituents |
| US4854322A (en) | 1987-02-25 | 1989-08-08 | Ash Medical Systems, Inc. | Capillary filtration and collection device for long-term monitoring of blood constituents |
| US5002054A (en) | 1987-02-25 | 1991-03-26 | Ash Medical Systems, Inc. | Interstitial filtration and collection device and method for long-term monitoring of physiological constituents of the body |
| US4848351A (en) | 1987-03-04 | 1989-07-18 | Sentry Medical Products, Inc. | Medical electrode assembly |
| US4923586A (en) | 1987-03-31 | 1990-05-08 | Daikin Industries, Ltd. | Enzyme electrode unit |
| US4935345A (en) | 1987-04-07 | 1990-06-19 | Arizona Board Of Regents | Implantable microelectronic biochemical sensor incorporating thin film thermopile |
| US4759828A (en) | 1987-04-09 | 1988-07-26 | Nova Biomedical Corporation | Glucose electrode and method of determining glucose |
| US5352348A (en) | 1987-04-09 | 1994-10-04 | Nova Biomedical Corporation | Method of using enzyme electrode |
| US4749985A (en) | 1987-04-13 | 1988-06-07 | United States Of America As Represented By The United States Department Of Energy | Functional relationship-based alarm processing |
| EP0290683A3 (en) | 1987-05-01 | 1988-12-14 | Diva Medical Systems B.V. | Diabetes management system and apparatus |
| US5286364A (en) | 1987-06-08 | 1994-02-15 | Rutgers University | Surface-modified electochemical biosensor |
| US4822337A (en) | 1987-06-22 | 1989-04-18 | Stanley Newhouse | Insulin delivery method and apparatus |
| JPH07122624B2 (en) | 1987-07-06 | 1995-12-25 | ダイキン工業株式会社 | Biosensor |
| US4874500A (en) | 1987-07-15 | 1989-10-17 | Sri International | Microelectrochemical sensor and sensor array |
| GB8718430D0 (en) | 1987-08-04 | 1987-09-09 | Ici Plc | Sensor |
| JPS6423155A (en) | 1987-07-17 | 1989-01-25 | Daikin Ind Ltd | Electrode refreshing device for biosensor |
| WO1989001310A1 (en) | 1987-08-11 | 1989-02-23 | Terumo Kabushiki Kaisha | Automatic sphygmomanometer |
| US4974929A (en) | 1987-09-22 | 1990-12-04 | Baxter International, Inc. | Fiber optical probe connector for physiologic measurement devices |
| NL8702370A (en) | 1987-10-05 | 1989-05-01 | Groningen Science Park | METHOD AND SYSTEM FOR GLUCOSE DETERMINATION AND USEABLE MEASURING CELL ASSEMBLY. |
| US4815469A (en) | 1987-10-08 | 1989-03-28 | Siemens-Pacesetter, Inc. | Implantable blood oxygen sensor and method of use |
| US4818994A (en) | 1987-10-22 | 1989-04-04 | Rosemount Inc. | Transmitter with internal serial bus |
| GB8725936D0 (en) | 1987-11-05 | 1987-12-09 | Genetics Int Inc | Sensing system |
| JPH01140054A (en) | 1987-11-26 | 1989-06-01 | Nec Corp | Glucose sensor |
| US5006110A (en) | 1987-12-01 | 1991-04-09 | Pacesetter Infusion, Ltd. | Air-in-line detector infusion system |
| US4813424A (en) | 1987-12-23 | 1989-03-21 | University Of New Mexico | Long-life membrane electrode for non-ionic species |
| US5108564A (en) | 1988-03-15 | 1992-04-28 | Tall Oak Ventures | Method and apparatus for amperometric diagnostic analysis |
| DE68924026T3 (en) | 1988-03-31 | 2008-01-10 | Matsushita Electric Industrial Co., Ltd., Kadoma | BIOSENSOR AND ITS MANUFACTURE. |
| US4921199A (en) | 1988-04-25 | 1990-05-01 | Villaveces James W | Device for aiding in preparation of intravenous therapy |
| GB8817421D0 (en) | 1988-07-21 | 1988-08-24 | Medisense Inc | Bioelectrochemical electrodes |
| US4925268A (en) | 1988-07-25 | 1990-05-15 | Abbott Laboratories | Fiber-optic physiological probes |
| US4954129A (en) | 1988-07-25 | 1990-09-04 | Abbott Laboratories | Hydrodynamic clot flushing |
| EP0353328A1 (en) | 1988-08-03 | 1990-02-07 | Dräger Nederland B.V. | A polarographic-amperometric three-electrode sensor |
| US5340722A (en) | 1988-08-24 | 1994-08-23 | Avl Medical Instruments Ag | Method for the determination of the concentration of an enzyme substrate and a sensor for carrying out the method |
| US5264106A (en) | 1988-10-07 | 1993-11-23 | Medisense, Inc. | Enhanced amperometric sensor |
| US4995402A (en) | 1988-10-12 | 1991-02-26 | Thorne, Smith, Astill Technologies, Inc. | Medical droplet whole blood and like monitoring |
| US4895147A (en) | 1988-10-28 | 1990-01-23 | Sherwood Medical Company | Lancet injector |
| US5360404A (en) | 1988-12-14 | 1994-11-01 | Inviro Medical Devices Ltd. | Needle guard and needle assembly for syringe |
| US5068536A (en) | 1989-01-19 | 1991-11-26 | Futrex, Inc. | Method for providing custom calibration for near infrared instruments for measurement of blood glucose |
| US5305008A (en) | 1991-08-12 | 1994-04-19 | Integrated Silicon Design Pty. Ltd. | Transponder system |
| EP0384504A1 (en) | 1989-02-24 | 1990-08-29 | Duphar International Research B.V | Detection strip for detecting and identifying chemical air contaminants, and portable detection kit comprising said strips |
| US5205920A (en) | 1989-03-03 | 1993-04-27 | Noboru Oyama | Enzyme sensor and method of manufacturing the same |
| DE69027233T2 (en) | 1989-03-03 | 1996-10-10 | Edward W Stark | Signal processing method and apparatus |
| JPH02298855A (en) | 1989-03-20 | 1990-12-11 | Assoc Univ Inc | Electrochemical biosensor using immobilized enzyme and redox polymer |
| US5089112A (en) | 1989-03-20 | 1992-02-18 | Associated Universities, Inc. | Electrochemical biosensor based on immobilized enzymes and redox polymers |
| US4953552A (en) | 1989-04-21 | 1990-09-04 | Demarzo Arthur P | Blood glucose monitoring system |
| SE463604B (en) | 1989-04-25 | 1990-12-17 | Flaekt Ab | DEVICE FOR PURIFICATION OF PREPARED PARTICLES POLLUTANTS VENTILATION AIR FROM A SPRAY BOX BEFORE PAINTING |
| EP0396788A1 (en) | 1989-05-08 | 1990-11-14 | Dräger Nederland B.V. | Process and sensor for measuring the glucose content of glucosecontaining fluids |
| US4988341A (en) | 1989-06-05 | 1991-01-29 | Eastman Kodak Company | Sterilizing dressing device and method for skin puncture |
| US5198367A (en) | 1989-06-09 | 1993-03-30 | Masuo Aizawa | Homogeneous amperometric immunoassay |
| FR2648353B1 (en) | 1989-06-16 | 1992-03-27 | Europhor Sa | MICRODIALYSIS PROBE |
| CH677149A5 (en) | 1989-07-07 | 1991-04-15 | Disetronic Ag | |
| US4986271A (en) * | 1989-07-19 | 1991-01-22 | The University Of New Mexico | Vivo refillable glucose sensor |
| US5431160A (en) | 1989-07-19 | 1995-07-11 | University Of New Mexico | Miniature implantable refillable glucose sensor and material therefor |
| US5013161A (en) | 1989-07-28 | 1991-05-07 | Becton, Dickinson And Company | Electronic clinical thermometer |
| US5264104A (en) | 1989-08-02 | 1993-11-23 | Gregg Brian A | Enzyme electrodes |
| US5264105A (en) | 1989-08-02 | 1993-11-23 | Gregg Brian A | Enzyme electrodes |
| US5320725A (en) | 1989-08-02 | 1994-06-14 | E. Heller & Company | Electrode and method for the detection of hydrogen peroxide |
| US5262035A (en) | 1989-08-02 | 1993-11-16 | E. Heller And Company | Enzyme electrodes |
| US4944299A (en) | 1989-08-08 | 1990-07-31 | Siemens-Pacesetter, Inc. | High speed digital telemetry system for implantable device |
| US5101814A (en) | 1989-08-11 | 1992-04-07 | Palti Yoram Prof | System for monitoring and controlling blood glucose |
| US5190041A (en) | 1989-08-11 | 1993-03-02 | Palti Yoram Prof | System for monitoring and controlling blood glucose |
| US5095904A (en) | 1989-09-08 | 1992-03-17 | Cochlear Pty. Ltd. | Multi-peak speech procession |
| US5050612A (en) | 1989-09-12 | 1991-09-24 | Matsumura Kenneth N | Device for computer-assisted monitoring of the body |
| FR2652736A1 (en) | 1989-10-06 | 1991-04-12 | Neftel Frederic | IMPLANTABLE DEVICE FOR EVALUATING THE RATE OF GLUCOSE. |
| US5036860A (en) | 1989-11-24 | 1991-08-06 | Medical Device Technologies, Inc. | Disposable soft tissue biopsy apparatus |
| DE69025134T2 (en) | 1989-11-24 | 1996-08-14 | Matsushita Electric Ind Co Ltd | Method of manufacturing a biosensor |
| US5082550A (en) | 1989-12-11 | 1992-01-21 | The United States Of America As Represented By The Department Of Energy | Enzyme electrochemical sensor electrode and method of making it |
| US5140985A (en) | 1989-12-11 | 1992-08-25 | Schroeder Jon M | Noninvasive blood glucose measuring device |
| US5342789A (en) | 1989-12-14 | 1994-08-30 | Sensor Technologies, Inc. | Method and device for detecting and quantifying glucose in body fluids |
| ATE124990T1 (en) | 1989-12-15 | 1995-07-15 | Boehringer Mannheim Corp | REDOX-MEDIATING REAGENT AND BIOSENSOR. |
| US5051688A (en) | 1989-12-20 | 1991-09-24 | Rohm Co., Ltd. | Crossed coil meter driving device having a plurality of input parameters |
| US5286362A (en) | 1990-02-03 | 1994-02-15 | Boehringer Mannheim Gmbh | Method and sensor electrode system for the electrochemical determination of an analyte or an oxidoreductase as well as the use of suitable compounds therefor |
| US5109850A (en) | 1990-02-09 | 1992-05-05 | Massachusetts Institute Of Technology | Automatic blood monitoring for medication delivery method and apparatus |
| US5162407A (en) | 1990-03-06 | 1992-11-10 | Investors Diversified Capital, Inc. | Silicone rubber sealant composition |
| US5161532A (en) | 1990-04-19 | 1992-11-10 | Teknekron Sensor Development Corporation | Integral interstitial fluid sensor |
| US5165407A (en) | 1990-04-19 | 1992-11-24 | The University Of Kansas | Implantable glucose sensor |
| US5202261A (en) | 1990-07-19 | 1993-04-13 | Miles Inc. | Conductive sensors and their use in diagnostic assays |
| US5250439A (en) | 1990-07-19 | 1993-10-05 | Miles Inc. | Use of conductive sensors in diagnostic assays |
| US5124661A (en) | 1990-07-23 | 1992-06-23 | I-Stat Corporation | Reusable test unit for simulating electrochemical sensor signals for quality assurance of portable blood analyzer instruments |
| EP0550641B1 (en) | 1990-09-28 | 1994-05-25 | Pfizer Inc. | Dispensing device containing a hydrophobic medium |
| US5058592A (en) | 1990-11-02 | 1991-10-22 | Whisler G Douglas | Adjustable mountable doppler ultrasound transducer device |
| ATE155575T1 (en) | 1990-12-12 | 1997-08-15 | Sherwood Medical Co | CALIBRATION OF AN INFRARED THERMOMETER USING AREA CALIBRATION CURVE REPRESENTATION |
| US5527288A (en) | 1990-12-13 | 1996-06-18 | Elan Medical Technologies Limited | Intradermal drug delivery device and method for intradermal delivery of drugs |
| US5228449A (en) | 1991-01-22 | 1993-07-20 | Athanasios G. Christ | System and method for detecting out-of-hospital cardiac emergencies and summoning emergency assistance |
| WO1992013271A1 (en) | 1991-01-25 | 1992-08-06 | Markwell Medical Institute, Inc. | Implantable biological fluid measuring device |
| FR2673289B1 (en) | 1991-02-21 | 1994-06-17 | Asulab Sa | SENSOR FOR MEASURING THE QUANTITY OF A COMPONENT IN SOLUTION. |
| US5593852A (en) | 1993-12-02 | 1997-01-14 | Heller; Adam | Subcutaneous glucose electrode |
| CA2050057A1 (en) | 1991-03-04 | 1992-09-05 | Adam Heller | Interferant eliminating biosensors |
| US5262305A (en) | 1991-03-04 | 1993-11-16 | E. Heller & Company | Interferant eliminating biosensors |
| US5469855A (en) | 1991-03-08 | 1995-11-28 | Exergen Corporation | Continuous temperature monitor |
| US5135004A (en) | 1991-03-12 | 1992-08-04 | Incontrol, Inc. | Implantable myocardial ischemia monitor and related method |
| US5238729A (en) | 1991-04-05 | 1993-08-24 | Minnesota Mining And Manufacturing Company | Sensors based on nanosstructured composite films |
| US5208154A (en) | 1991-04-08 | 1993-05-04 | The United States Of America As Represented By The Department Of Energy | Reversibly immobilized biological materials in monolayer films on electrodes |
| US5192416A (en) | 1991-04-09 | 1993-03-09 | New Mexico State University Technology Transfer Corporation | Method and apparatus for batch injection analysis |
| US5293546A (en) | 1991-04-17 | 1994-03-08 | Martin Marietta Corporation | Oxide coated metal grid electrode structure in display devices |
| US5122925A (en) | 1991-04-22 | 1992-06-16 | Control Products, Inc. | Package for electronic components |
| JP3118015B2 (en) | 1991-05-17 | 2000-12-18 | アークレイ株式会社 | Biosensor and separation and quantification method using the same |
| US5209229A (en) | 1991-05-20 | 1993-05-11 | Telectronics Pacing Systems, Inc. | Apparatus and method employing plural electrode configurations for cardioversion of atrial fibrillation in an arrhythmia control system |
| FI88223C (en) | 1991-05-22 | 1993-04-13 | Polar Electro Oy | Telemetric transmitter unit |
| US5289497A (en) * | 1991-05-23 | 1994-02-22 | Interdigital Technology Corporation | Broadcast synchronized communication system |
| JP2816262B2 (en) | 1991-07-09 | 1998-10-27 | 工業技術院長 | Carbon microsensor electrode and method of manufacturing the same |
| CA2074702C (en) | 1991-07-29 | 1996-11-19 | Donald J. Urbas | Programmable transponder |
| US5284156A (en) | 1991-08-30 | 1994-02-08 | M3 Systems, Inc. | Automatic tissue sampling apparatus |
| GB9120144D0 (en) | 1991-09-20 | 1991-11-06 | Imperial College | A dialysis electrode device |
| US5234835A (en) | 1991-09-26 | 1993-08-10 | C.R. Bard, Inc. | Precalibrated fiber optic sensing method |
| US5322063A (en) | 1991-10-04 | 1994-06-21 | Eli Lilly And Company | Hydrophilic polyurethane membranes for electrochemical glucose sensors |
| US5264103A (en) | 1991-10-18 | 1993-11-23 | Matsushita Electric Industrial Co., Ltd. | Biosensor and a method for measuring a concentration of a substrate in a sample |
| US5217595A (en) | 1991-10-25 | 1993-06-08 | The Yellow Springs Instrument Company, Inc. | Electrochemical gas sensor |
| US5415164A (en) | 1991-11-04 | 1995-05-16 | Biofield Corp. | Apparatus and method for screening and diagnosing trauma or disease in body tissues |
| DE4139122C1 (en) | 1991-11-28 | 1993-04-08 | Fenzlein, Paul-Gerhard, 8500 Nuernberg, De | |
| US5372427A (en) | 1991-12-19 | 1994-12-13 | Texas Instruments Incorporated | Temperature sensor |
| US5271815A (en) | 1991-12-26 | 1993-12-21 | Via Medical Corporation | Method for measuring glucose |
| US5285792A (en) | 1992-01-10 | 1994-02-15 | Physio-Control Corporation | System for producing prioritized alarm messages in a medical instrument |
| US5246867A (en) | 1992-01-17 | 1993-09-21 | University Of Maryland At Baltimore | Determination and quantification of saccharides by luminescence lifetimes and energy transfer |
| IL104365A0 (en) | 1992-01-31 | 1993-05-13 | Gensia Pharma | Method and apparatus for closed loop drug delivery |
| NL9200207A (en) | 1992-02-05 | 1993-09-01 | Nedap Nv | IMPLANTABLE BIOMEDICAL SENSOR DEVICE, IN PARTICULAR FOR MEASUREMENT OF THE GLUCOSE CONCENTRATION. |
| US5328927A (en) | 1992-03-03 | 1994-07-12 | Merck Sharpe & Dohme, Ltd. | Hetercyclic compounds, processes for their preparation and pharmaceutical compositions containing them |
| ZA931077B (en) | 1992-03-05 | 1994-01-04 | Qualcomm Inc | Apparatus and method for reducing message collision between mobile stations simultaneously accessing a base station in a cdma cellular communications system |
| EP0563795B1 (en) | 1992-03-31 | 1998-07-22 | Dai Nippon Printing Co., Ltd. | Enzyme-immobilized electrode, composition for preparation of the same and electrically conductive enzyme |
| USD342451S (en) * | 1992-04-01 | 1993-12-21 | S. C. Johnson & Son, Inc. | Bottle |
| CA2133424A1 (en) | 1992-04-03 | 1993-10-14 | Harry Louis Platt | Sensor and system for physiological monitoring |
| US5711001A (en) * | 1992-05-08 | 1998-01-20 | Motorola, Inc. | Method and circuit for acquisition by a radio receiver |
| GB9211402D0 (en) | 1992-05-29 | 1992-07-15 | Univ Manchester | Sensor devices |
| US5333615A (en) | 1992-06-22 | 1994-08-02 | William Craelius | Apparatus for digitally recording and analyzing electrocardial and other bioelectric signals |
| DK95792A (en) | 1992-07-24 | 1994-01-25 | Radiometer As | Sensor for non-invasive, in vivo determination of an analyte and blood flow |
| US6283761B1 (en) | 1992-09-08 | 2001-09-04 | Raymond Anthony Joao | Apparatus and method for processing and/or for providing healthcare information and/or healthcare-related information |
| US5400782A (en) | 1992-10-07 | 1995-03-28 | Graphic Controls Corporation | Integral medical electrode including a fusible conductive substrate |
| US5421816A (en) | 1992-10-14 | 1995-06-06 | Endodermic Medical Technologies Company | Ultrasonic transdermal drug delivery system |
| US5387327A (en) | 1992-10-19 | 1995-02-07 | Duquesne University Of The Holy Ghost | Implantable non-enzymatic electrochemical glucose sensor |
| US5320098A (en) | 1992-10-20 | 1994-06-14 | Sun Microsystems, Inc. | Optical transdermal link |
| WO1994010553A1 (en) | 1992-10-23 | 1994-05-11 | Optex Biomedical, Inc. | Fibre-optic probe for the measurement of fluid parameters |
| US5918603A (en) | 1994-05-23 | 1999-07-06 | Health Hero Network, Inc. | Method for treating medical conditions using a microprocessor-based video game |
| US5601435A (en) | 1994-11-04 | 1997-02-11 | Intercare | Method and apparatus for interactively monitoring a physiological condition and for interactively providing health related information |
| US5899855A (en) | 1992-11-17 | 1999-05-04 | Health Hero Network, Inc. | Modular microprocessor-based health monitoring system |
| US20030212579A1 (en) | 2002-05-08 | 2003-11-13 | Brown Stephen J. | Remote health management system |
| US5956501A (en) | 1997-01-10 | 1999-09-21 | Health Hero Network, Inc. | Disease simulation system and method |
| ZA938555B (en) | 1992-11-23 | 1994-08-02 | Lilly Co Eli | Technique to improve the performance of electrochemical sensors |
| US5410326A (en) | 1992-12-04 | 1995-04-25 | Goldstein; Steven W. | Programmable remote control device for interacting with a plurality of remotely controlled devices |
| DK148592D0 (en) | 1992-12-10 | 1992-12-10 | Novo Nordisk As | APPARATUS |
| US5299571A (en) | 1993-01-22 | 1994-04-05 | Eli Lilly And Company | Apparatus and method for implantation of sensors |
| US5499243A (en) | 1993-01-22 | 1996-03-12 | Hall; Dennis R. | Method and apparatus for coordinating transfer of information between a base station and a plurality of radios |
| FR2701117B1 (en) | 1993-02-04 | 1995-03-10 | Asulab Sa | Electrochemical measurement system with multizone sensor, and its application to glucose measurement. |
| GB9304306D0 (en) | 1993-03-03 | 1993-04-21 | Univ Alberta | Glucose sensor |
| US5600301A (en) | 1993-03-11 | 1997-02-04 | Schrader Automotive Inc. | Remote tire pressure monitoring system employing coded tire identification and radio frequency transmission, and enabling recalibration upon tire rotation or replacement |
| US5400794A (en) | 1993-03-19 | 1995-03-28 | Gorman; Peter G. | Biomedical response monitor and technique using error correction |
| EP0622119B1 (en) | 1993-04-23 | 1999-11-03 | Roche Diagnostics GmbH | System for storing and dispensing test elements |
| US5558638A (en) | 1993-04-30 | 1996-09-24 | Healthdyne, Inc. | Patient monitor and support system |
| DE4318519C2 (en) | 1993-06-03 | 1996-11-28 | Fraunhofer Ges Forschung | Electrochemical sensor |
| US5575563A (en) | 1993-07-15 | 1996-11-19 | Chiu; Job | Multiusage thermometer |
| JP2979933B2 (en) | 1993-08-03 | 1999-11-22 | セイコーエプソン株式会社 | Pulse wave analyzer |
| DE4329898A1 (en) | 1993-09-04 | 1995-04-06 | Marcus Dr Besson | Wireless medical diagnostic and monitoring device |
| US5582184A (en) | 1993-10-13 | 1996-12-10 | Integ Incorporated | Interstitial fluid collection and constituent measurement |
| US5885211A (en) | 1993-11-15 | 1999-03-23 | Spectrix, Inc. | Microporation of human skin for monitoring the concentration of an analyte |
| US6336269B1 (en) | 1993-11-16 | 2002-01-08 | Benjamin N. Eldridge | Method of fabricating an interconnection element |
| US5997501A (en) | 1993-11-18 | 1999-12-07 | Elan Corporation, Plc | Intradermal drug delivery device |
| US5497772A (en) | 1993-11-19 | 1996-03-12 | Alfred E. Mann Foundation For Scientific Research | Glucose monitoring system |
| US5791344A (en) | 1993-11-19 | 1998-08-11 | Alfred E. Mann Foundation For Scientific Research | Patient monitoring system |
| FR2713372B1 (en) | 1993-12-01 | 1996-03-01 | Neopost Ind | Thermal protection device for secure electronic device, in particular postage meter. |
| JPH07182462A (en) | 1993-12-22 | 1995-07-21 | Toshiba Corp | Character recognition apparatus and method |
| US5724968A (en) | 1993-12-29 | 1998-03-10 | First Opinion Corporation | Computerized medical diagnostic system including meta function |
| US5589326A (en) | 1993-12-30 | 1996-12-31 | Boehringer Mannheim Corporation | Osmium-containing redox mediator |
| US5320715A (en) | 1994-01-14 | 1994-06-14 | Lloyd Berg | Separation of 1-pentanol from cyclopentanol by extractive distillation |
| DE4401400A1 (en) | 1994-01-19 | 1995-07-20 | Ernst Prof Dr Pfeiffer | Method and arrangement for continuously monitoring the concentration of a metabolite |
| US5437999A (en) | 1994-02-22 | 1995-08-01 | Boehringer Mannheim Corporation | Electrochemical sensor |
| US5543326A (en) | 1994-03-04 | 1996-08-06 | Heller; Adam | Biosensor including chemically modified enzymes |
| US5506458A (en) | 1994-03-04 | 1996-04-09 | Quantum Corporation | Low cost permanent magnet disk spindle motor |
| US5536249A (en) | 1994-03-09 | 1996-07-16 | Visionary Medical Products, Inc. | Pen-type injector with a microprocessor and blood characteristic monitor |
| US5390671A (en) | 1994-03-15 | 1995-02-21 | Minimed Inc. | Transcutaneous sensor insertion set |
| US5391250A (en) | 1994-03-15 | 1995-02-21 | Minimed Inc. | Method of fabricating thin film sensors |
| US5609575A (en) | 1994-04-11 | 1997-03-11 | Graseby Medical Limited | Infusion pump and method with dose-rate calculation |
| JP3061351B2 (en) | 1994-04-25 | 2000-07-10 | 松下電器産業株式会社 | Method and apparatus for quantifying specific compounds |
| US5569186A (en) | 1994-04-25 | 1996-10-29 | Minimed Inc. | Closed loop infusion pump system with removable glucose sensor |
| DE4415896A1 (en) * | 1994-05-05 | 1995-11-09 | Boehringer Mannheim Gmbh | Analysis system for monitoring the concentration of an analyte in the blood of a patient |
| US5545191A (en) | 1994-05-06 | 1996-08-13 | Alfred E. Mann Foundation For Scientific Research | Method for optimally positioning and securing the external unit of a transcutaneous transducer of the skin of a living body |
| US5482473A (en) | 1994-05-09 | 1996-01-09 | Minimed Inc. | Flex circuit connector |
| US5472317A (en) | 1994-06-03 | 1995-12-05 | Minimed Inc. | Mounting clip for a medication infusion pump |
| US5494562A (en) | 1994-06-27 | 1996-02-27 | Ciba Corning Diagnostics Corp. | Electrochemical sensors |
| US5809417A (en) | 1994-07-05 | 1998-09-15 | Lucent Technologies Inc. | Cordless telephone arranged for operating with multiple portable units in a frequency hopping system |
| US5549568A (en) | 1994-08-22 | 1996-08-27 | Shields; Jack W. | Elastomeric needle shield and hub-cap |
| US5798961A (en) | 1994-08-23 | 1998-08-25 | Emc Corporation | Non-volatile memory module |
| US5462051A (en) | 1994-08-31 | 1995-10-31 | Colin Corporation | Medical communication system |
| US5549115A (en) | 1994-09-28 | 1996-08-27 | Heartstream, Inc. | Method and apparatus for gathering event data using a removable data storage medium and clock |
| US5724030A (en) | 1994-10-13 | 1998-03-03 | Bio Medic Data Systems, Inc. | System monitoring reprogrammable implantable transponder |
| CA2159052C (en) | 1994-10-28 | 2007-03-06 | Rainer Alex | Injection device |
| US5516832A (en) | 1994-11-03 | 1996-05-14 | Dow Corning Corporation | Curable silicone rubber composition |
| IE72524B1 (en) | 1994-11-04 | 1997-04-23 | Elan Med Tech | Analyte-controlled liquid delivery device and analyte monitor |
| US5632557A (en) | 1994-12-16 | 1997-05-27 | Weed Instrument Company, Inc. | Modular temperature sensing apparatus |
| US5562713A (en) | 1995-01-18 | 1996-10-08 | Pacesetter, Inc. | Bidirectional telemetry apparatus and method for implantable device |
| EP0724859B1 (en) | 1995-02-04 | 1997-11-12 | Baumann & Haldi S.A. | Personal device for measurement, processing and transmission of substantially physiological data |
| US5551427A (en) | 1995-02-13 | 1996-09-03 | Altman; Peter A. | Implantable device for the effective elimination of cardiac arrhythmogenic sites |
| US5568806A (en) | 1995-02-16 | 1996-10-29 | Minimed Inc. | Transcutaneous sensor insertion set |
| JP3297971B2 (en) | 1995-02-16 | 2002-07-02 | オムロン株式会社 | Electronic sphygmomanometer |
| US5586553A (en) | 1995-02-16 | 1996-12-24 | Minimed Inc. | Transcutaneous sensor insertion set |
| US5651869A (en) | 1995-02-28 | 1997-07-29 | Matsushita Electric Industrial Co., Ltd. | Biosensor |
| US5596150A (en) | 1995-03-08 | 1997-01-21 | The United States Of America As Represented By The Administrator Of The National Aeronautics And Space Administration | Capacitance probe for fluid flow and volume measurements |
| JPH08247987A (en) | 1995-03-15 | 1996-09-27 | Omron Corp | Portable measuring instrument |
| US5582697A (en) | 1995-03-17 | 1996-12-10 | Matsushita Electric Industrial Co., Ltd. | Biosensor, and a method and a device for quantifying a substrate in a sample liquid using the same |
| US5788833A (en) | 1995-03-27 | 1998-08-04 | California Institute Of Technology | Sensors for detecting analytes in fluids |
| US5752512A (en) | 1995-05-10 | 1998-05-19 | Massachusetts Institute Of Technology | Apparatus and method for non-invasive blood analyte measurement |
| US5628310A (en) | 1995-05-19 | 1997-05-13 | Joseph R. Lakowicz | Method and apparatus to perform trans-cutaneous analyte monitoring |
| US5584813A (en) | 1995-06-07 | 1996-12-17 | Minimed Inc. | Subcutaneous injection set |
| US5567302A (en) | 1995-06-07 | 1996-10-22 | Molecular Devices Corporation | Electrochemical system for rapid detection of biochemical agents that catalyze a redox potential change |
| US5638832A (en) | 1995-06-07 | 1997-06-17 | Interval Research Corporation | Programmable subcutaneous visible implant |
| US5995860A (en) | 1995-07-06 | 1999-11-30 | Thomas Jefferson University | Implantable sensor and system for measurement and control of blood constituent levels |
| US5581206A (en) | 1995-07-28 | 1996-12-03 | Micron Quantum Devices, Inc. | Power level detection circuit |
| US6001065A (en) | 1995-08-02 | 1999-12-14 | Ibva Technologies, Inc. | Method and apparatus for measuring and analyzing physiological signals for active or passive control of physical and virtual spaces and the contents therein |
| US5766131A (en) | 1995-08-04 | 1998-06-16 | Seiko Epson Corporation | Pulse-wave measuring apparatus |
| US6152876A (en) * | 1997-04-18 | 2000-11-28 | Rio Grande Medical Technologies, Inc. | Method for non-invasive blood analyte measurement with improved optical interface |
| US5749656A (en) | 1995-08-11 | 1998-05-12 | General Motors Corporation | Thermal probe assembly with mold-over crimp sensor packaging |
| DE19530376C2 (en) | 1995-08-18 | 1999-09-02 | Fresenius Ag | Biosensor |
| US5682233A (en) | 1995-09-08 | 1997-10-28 | Integ, Inc. | Interstitial fluid sampler |
| IE77523B1 (en) | 1995-09-11 | 1997-12-17 | Elan Med Tech | Medicament delivery device |
| US5735273A (en) * | 1995-09-12 | 1998-04-07 | Cygnus, Inc. | Chemical signal-impermeable mask |
| DE19534887B4 (en) | 1995-09-20 | 2004-04-15 | Robert Bosch Gmbh | temperature sensor |
| US5628890A (en) | 1995-09-27 | 1997-05-13 | Medisense, Inc. | Electrochemical sensor |
| US5972199A (en) | 1995-10-11 | 1999-10-26 | E. Heller & Company | Electrochemical analyte sensors using thermostable peroxidase |
| US5665222A (en) | 1995-10-11 | 1997-09-09 | E. Heller & Company | Soybean peroxidase electrochemical sensor |
| ES2121525B1 (en) | 1995-10-11 | 1999-09-16 | Krebs & Co Ag Krebs & Co Sa Kr | SALT PRODUCTION SYSTEM BY FORCED EVAPORATION. |
| US5741211A (en) | 1995-10-26 | 1998-04-21 | Medtronic, Inc. | System and method for continuous monitoring of diabetes-related blood constituents |
| US5767791A (en) | 1995-11-13 | 1998-06-16 | Vitalcom | Low-power circuit and method for providing rapid frequency lock in a wireless communications device |
| US5711861A (en) | 1995-11-22 | 1998-01-27 | Ward; W. Kenneth | Device for monitoring changes in analyte concentration |
| US5858001A (en) | 1995-12-11 | 1999-01-12 | Elan Medical Technologies Limited | Cartridge-based drug delivery device |
| US5827184A (en) | 1995-12-29 | 1998-10-27 | Minnesota Mining And Manufacturing Company | Self-packaging bioelectrodes |
| US5746697A (en) | 1996-02-09 | 1998-05-05 | Nellcor Puritan Bennett Incorporated | Medical diagnostic apparatus with sleep mode |
| FI118509B (en) | 1996-02-12 | 2007-12-14 | Nokia Oyj | Method and apparatus for predicting glucose levels in the blood of a patient |
| FI960636A7 (en) | 1996-02-12 | 1997-08-13 | Nokia Corp | Method for monitoring patient health status |
| US5708247A (en) | 1996-02-14 | 1998-01-13 | Selfcare, Inc. | Disposable glucose test strips, and methods and compositions for making same |
| US5833603A (en) | 1996-03-13 | 1998-11-10 | Lipomatrix, Inc. | Implantable biosensing transponder |
| AU2345997A (en) | 1996-04-08 | 1997-10-29 | Medtronic, Inc. | Method of fixing a physiologic mitral valve bioprosthesis |
| FR2748171B1 (en) | 1996-04-30 | 1998-07-17 | Motorola Inc | METHOD FOR GENERATING A CLOCK SIGNAL FOR USE IN A DATA RECEIVER, CLOCK GENERATOR, DATA RECEIVER AND REMOTE CONTROL ACCESS SYSTEM FOR VEHICLES |
| DE19618597B4 (en) | 1996-05-09 | 2005-07-21 | Institut für Diabetestechnologie Gemeinnützige Forschungs- und Entwicklungsgesellschaft mbH an der Universität Ulm | Method for determining the concentration of tissue glucose |
| US6130602A (en) | 1996-05-13 | 2000-10-10 | Micron Technology, Inc. | Radio frequency data communications device |
| US5954685A (en) | 1996-05-24 | 1999-09-21 | Cygnus, Inc. | Electrochemical sensor with dual purpose electrode |
| US5735285A (en) | 1996-06-04 | 1998-04-07 | Data Critical Corp. | Method and hand-held apparatus for demodulating and viewing frequency modulated biomedical signals |
| DE69719761T2 (en) | 1996-06-18 | 2003-12-18 | Alza Corp., Palo Alto | DEVICE FOR IMPROVING THE TRANSDERMAL ADMINISTRATION OF MEDICINAL PRODUCTS OR THE DETECTION OF BODY LIQUIDS |
| US5830064A (en) | 1996-06-21 | 1998-11-03 | Pear, Inc. | Apparatus and method for distinguishing events which collectively exceed chance expectations and thereby controlling an output |
| JP3581218B2 (en) | 1996-07-03 | 2004-10-27 | 株式会社東芝 | Mobile communication terminal device and its mobile phone and data terminal device |
| AU3596597A (en) | 1996-07-08 | 1998-02-02 | Animas Corporation | Implantable sensor and system for in vivo measurement and control of fluid constituent levels |
| US5707502A (en) | 1996-07-12 | 1998-01-13 | Chiron Diagnostics Corporation | Sensors for measuring analyte concentrations and methods of making same |
| AU3892297A (en) | 1996-07-26 | 1998-02-20 | Ikonos Corporation | Sensor for detecting heparin and other analytes |
| US5733313A (en) * | 1996-08-01 | 1998-03-31 | Exonix Corporation | RF coupled, implantable medical device with rechargeable back-up power source |
| US6544193B2 (en) | 1996-09-04 | 2003-04-08 | Marcio Marc Abreu | Noninvasive measurement of chemical substances |
| US5771001A (en) | 1996-11-18 | 1998-06-23 | Cobb; Marlon J. | Personal alarm system |
| US5856758A (en) * | 1996-11-20 | 1999-01-05 | Adtran, Inc. | Low distortion driver employing positive feedback for reducing power loss in output impedance that effectively matches the impedance of driven line |
| US6004278A (en) | 1996-12-05 | 1999-12-21 | Mdc Investment Holdings, Inc. | Fluid collection device with retractable needle |
| US6071249A (en) | 1996-12-06 | 2000-06-06 | Abbott Laboratories | Method and apparatus for obtaining blood for diagnostic tests |
| US5964993A (en) | 1996-12-19 | 1999-10-12 | Implanted Biosystems Inc. | Glucose sensor |
| US6130623A (en) | 1996-12-31 | 2000-10-10 | Lucent Technologies Inc. | Encryption for modulated backscatter systems |
| US6122351A (en) | 1997-01-21 | 2000-09-19 | Med Graph, Inc. | Method and system aiding medical diagnosis and treatment |
| US20070142776A9 (en) | 1997-02-05 | 2007-06-21 | Medtronic Minimed, Inc. | Insertion device for an insertion set and method of using the same |
| US6607509B2 (en) | 1997-12-31 | 2003-08-19 | Medtronic Minimed, Inc. | Insertion device for an insertion set and method of using the same |
| US6093172A (en) | 1997-02-05 | 2000-07-25 | Minimed Inc. | Injector for a subcutaneous insertion set |
| US7329239B2 (en) | 1997-02-05 | 2008-02-12 | Medtronic Minimed, Inc. | Insertion device for an insertion set and method of using the same |
| US5851197A (en) | 1997-02-05 | 1998-12-22 | Minimed Inc. | Injector for a subcutaneous infusion set |
| ATE227844T1 (en) | 1997-02-06 | 2002-11-15 | Therasense Inc | SMALL VOLUME SENSOR FOR IN-VITRO DETERMINATION |
| US5749907A (en) | 1997-02-18 | 1998-05-12 | Pacesetter, Inc. | System and method for identifying and displaying medical data which violate programmable alarm conditions |
| EP1011426A1 (en) | 1997-02-26 | 2000-06-28 | Diasense, Inc. | Individual calibration of blood glucose for supporting noninvasive self-monitoring blood glucose |
| US8555894B2 (en) * | 1997-02-26 | 2013-10-15 | Alfred E. Mann Foundation For Scientific Research | System for monitoring temperature |
| US6159147A (en) | 1997-02-28 | 2000-12-12 | Qrs Diagnostics, Llc | Personal computer card for collection of real-time biological data |
| US6001067A (en) | 1997-03-04 | 1999-12-14 | Shults; Mark C. | Device and method for determining analyte levels |
| US9155496B2 (en) | 1997-03-04 | 2015-10-13 | Dexcom, Inc. | Low oxygen in vivo analyte sensor |
| US6741877B1 (en) | 1997-03-04 | 2004-05-25 | Dexcom, Inc. | Device and method for determining analyte levels |
| US6558321B1 (en) | 1997-03-04 | 2003-05-06 | Dexcom, Inc. | Systems and methods for remote monitoring and modulation of medical devices |
| US20050033132A1 (en) | 1997-03-04 | 2005-02-10 | Shults Mark C. | Analyte measuring device |
| US6862465B2 (en) | 1997-03-04 | 2005-03-01 | Dexcom, Inc. | Device and method for determining analyte levels |
| US7192450B2 (en) | 2003-05-21 | 2007-03-20 | Dexcom, Inc. | Porous membranes for use with implantable devices |
| US7899511B2 (en) | 2004-07-13 | 2011-03-01 | Dexcom, Inc. | Low oxygen in vivo analyte sensor |
| US7657297B2 (en) | 2004-05-03 | 2010-02-02 | Dexcom, Inc. | Implantable analyte sensor |
| US5959529A (en) | 1997-03-07 | 1999-09-28 | Kail, Iv; Karl A. | Reprogrammable remote sensor monitoring system |
| US6699187B2 (en) | 1997-03-27 | 2004-03-02 | Medtronic, Inc. | System and method for providing remote expert communications and video capabilities for use during a medical procedure |
| US6270455B1 (en) | 1997-03-28 | 2001-08-07 | Health Hero Network, Inc. | Networked system for interactive communications and remote monitoring of drug delivery |
| KR100236035B1 (en) | 1997-03-31 | 1999-12-15 | 전주범 | Method of scheduling virtual channels by using subtables in an atm nic |
| US6026321A (en) | 1997-04-02 | 2000-02-15 | Suzuki Motor Corporation | Apparatus and system for measuring electrical potential variations in human body |
| US5961451A (en) | 1997-04-07 | 1999-10-05 | Motorola, Inc. | Noninvasive apparatus having a retaining member to retain a removable biosensor |
| US5942979A (en) | 1997-04-07 | 1999-08-24 | Luppino; Richard | On guard vehicle safety warning system |
| US5987353A (en) | 1997-04-10 | 1999-11-16 | Khatchatrian; Robert G. | Diagnostic complex for measurement of the condition of biological tissues and liquids |
| US5935224A (en) | 1997-04-24 | 1999-08-10 | Microsoft Corporation | Method and apparatus for adaptively coupling an external peripheral device to either a universal serial bus port on a computer or hub or a game port on a computer |
| US6186982B1 (en) | 1998-05-05 | 2001-02-13 | Elan Corporation, Plc | Subcutaneous drug delivery device with improved filling system |
| US6085342A (en) | 1997-05-06 | 2000-07-04 | Telefonaktiebolaget L M Ericsson (Publ) | Electronic system having a chip integrated power-on reset circuit with glitch sensor |
| US5779665A (en) | 1997-05-08 | 1998-07-14 | Minimed Inc. | Transdermal introducer assembly |
| JPH10305016A (en) | 1997-05-08 | 1998-11-17 | Casio Comput Co Ltd | Behavior information provision system |
| US5954643A (en) | 1997-06-09 | 1999-09-21 | Minimid Inc. | Insertion set for a transcutaneous sensor |
| US7267665B2 (en) | 1999-06-03 | 2007-09-11 | Medtronic Minimed, Inc. | Closed loop system for controlling insulin infusion |
| US6558351B1 (en) | 1999-06-03 | 2003-05-06 | Medtronic Minimed, Inc. | Closed loop system for controlling insulin infusion |
| WO1998058250A2 (en) * | 1997-06-16 | 1998-12-23 | Elan Corporation, Plc | Methods of calibrating and testing a sensor for in vivo measurement of an analyte and devices for use in such methods |
| US6056435A (en) | 1997-06-24 | 2000-05-02 | Exergen Corporation | Ambient and perfusion normalized temperature detector |
| DE29711371U1 (en) | 1997-06-30 | 1997-11-27 | Siemens AG, 80333 München | Device for connecting printed circuit boards of separate devices |
| US5865804A (en) | 1997-07-16 | 1999-02-02 | Bachynsky; Nicholas | Rotary cam syringe |
| US5823802A (en) | 1997-07-30 | 1998-10-20 | General Motors Corporation | Electrical connector with combination seal and contact member |
| US6232950B1 (en) | 1997-08-28 | 2001-05-15 | E Ink Corporation | Rear electrode structures for displays |
| US6731976B2 (en) | 1997-09-03 | 2004-05-04 | Medtronic, Inc. | Device and method to measure and communicate body parameters |
| US6764581B1 (en) | 1997-09-05 | 2004-07-20 | Abbott Laboratories | Electrode with thin working layer |
| US6071391A (en) * | 1997-09-12 | 2000-06-06 | Nok Corporation | Enzyme electrode structure |
| DE19836401A1 (en) | 1997-09-19 | 2000-02-17 | Salcomp Oy Salo | Device for charging accumulators |
| JPH11161451A (en) | 1997-09-26 | 1999-06-18 | Hitachi Koki Co Ltd | Printing system |
| US6117290A (en) | 1997-09-26 | 2000-09-12 | Pepex Biomedical, Llc | System and method for measuring a bioanalyte such as lactate |
| US20020013538A1 (en) | 1997-09-30 | 2002-01-31 | David Teller | Method and apparatus for health signs monitoring |
| US5904671A (en) | 1997-10-03 | 1999-05-18 | Navot; Nir | Tampon wetness detection system |
| DE59810949D1 (en) | 1997-10-15 | 2004-04-15 | Nokia Corp | Mobile phone for internet applications |
| US6736957B1 (en) | 1997-10-16 | 2004-05-18 | Abbott Laboratories | Biosensor electrode mediators for regeneration of cofactors and process for using |
| US6088608A (en) | 1997-10-20 | 2000-07-11 | Alfred E. Mann Foundation | Electrochemical sensor and integrity tests therefor |
| US6119028A (en) | 1997-10-20 | 2000-09-12 | Alfred E. Mann Foundation | Implantable enzyme-based monitoring systems having improved longevity due to improved exterior surfaces |
| FI107080B (en) | 1997-10-27 | 2001-05-31 | Nokia Mobile Phones Ltd | measuring device |
| US6068399A (en) | 1997-11-12 | 2000-05-30 | K-Jump Health Co., Ltd. | Cost-effective electronic thermometer |
| ATE352252T1 (en) | 1997-11-12 | 2007-02-15 | Lightouch Medical Inc | METHOD FOR NON-INVASIVE ANALYTE MEASUREMENT |
| KR100258969B1 (en) | 1997-11-20 | 2000-06-15 | 윤종용 | Firmware upgrading method in wireless communication device and firmware upgrade supporting method in cell base station |
| US6482176B1 (en) | 1997-11-27 | 2002-11-19 | Disetronic Licensing Ag | Method and device for controlling the introduction depth of an injection needle |
| WO1999027849A1 (en) | 1997-12-04 | 1999-06-10 | Roche Diagnostics Corporation | Instrument setup utility program |
| CA2547299C (en) | 1997-12-04 | 2009-03-03 | Roche Diagnostics Corporation | Instrument and method |
| US6036924A (en) | 1997-12-04 | 2000-03-14 | Hewlett-Packard Company | Cassette of lancet cartridges for sampling blood |
| US6579690B1 (en) | 1997-12-05 | 2003-06-17 | Therasense, Inc. | Blood analyte monitoring through subcutaneous measurement |
| DE69839969D1 (en) | 1997-12-11 | 2008-10-16 | Alza Corp | DEVICE FOR IMPROVING THE TRANSDERMAL RIVER OF MEDICAMENTS |
| EP1044028B2 (en) | 1997-12-31 | 2010-01-20 | Medtronic MiniMed, Inc. | Insertion device for an insertion set |
| CA2575064C (en) | 1997-12-31 | 2010-02-02 | Medtronic Minimed, Inc. | Insertion device for an insertion set and method of using the same |
| US6097480A (en) | 1998-01-27 | 2000-08-01 | Kaplan; Milton | Vehicle interlock system |
| US6056718A (en) | 1998-03-04 | 2000-05-02 | Minimed Inc. | Medication infusion set |
| US6103033A (en) | 1998-03-04 | 2000-08-15 | Therasense, Inc. | Process for producing an electrochemical biosensor |
| US6134461A (en) | 1998-03-04 | 2000-10-17 | E. Heller & Company | Electrochemical analyte |
| US6024699A (en) | 1998-03-13 | 2000-02-15 | Healthware Corporation | Systems, methods and computer program products for monitoring, diagnosing and treating medical conditions of remotely located patients |
| US6197181B1 (en) | 1998-03-20 | 2001-03-06 | Semitool, Inc. | Apparatus and method for electrolytically depositing a metal on a microelectronic workpiece |
| US6579231B1 (en) | 1998-03-27 | 2003-06-17 | Mci Communications Corporation | Personal medical monitoring unit and system |
| SE9801121D0 (en) | 1998-03-30 | 1998-03-30 | Astra Ab | Electrical device |
| JP3104672B2 (en) | 1998-03-31 | 2000-10-30 | 日本電気株式会社 | Current detection type sensor element and method of manufacturing the same |
| US6091975A (en) | 1998-04-01 | 2000-07-18 | Alza Corporation | Minimally invasive detecting device |
| US6728560B2 (en) | 1998-04-06 | 2004-04-27 | The General Hospital Corporation | Non-invasive tissue glucose level monitoring |
| JPH11296598A (en) | 1998-04-07 | 1999-10-29 | Seizaburo Arita | System and method for predicting blood-sugar level and record medium where same method is recorded |
| WO1999053287A2 (en) | 1998-04-09 | 1999-10-21 | California Institute Of Technology | Electronic techniques for analyte detection |
| GB9808408D0 (en) | 1998-04-18 | 1998-06-17 | Owen Mumford Ltd | Improvements relating to injection devices |
| US6091987A (en) | 1998-04-29 | 2000-07-18 | Medtronic, Inc. | Power consumption reduction in medical devices by employing different supply voltages |
| US6175752B1 (en) | 1998-04-30 | 2001-01-16 | Therasense, Inc. | Analyte monitoring device and methods of use |
| US6949816B2 (en) | 2003-04-21 | 2005-09-27 | Motorola, Inc. | Semiconductor component having first surface area for electrically coupling to a semiconductor chip and second surface area for electrically coupling to a substrate, and method of manufacturing same |
| US8974386B2 (en) | 1998-04-30 | 2015-03-10 | Abbott Diabetes Care Inc. | Analyte monitoring device and methods of use |
| GB2337122B (en) | 1998-05-08 | 2002-11-13 | Medisense Inc | Test strip |
| WO1999058051A1 (en) | 1998-05-13 | 1999-11-18 | Cygnus, Inc. | Monitoring of physiological analytes |
| CA2311487C (en) | 1998-05-13 | 2004-02-10 | Cygnus, Inc. | Signal processing for measurement of physiological analytes |
| US6302855B1 (en) * | 1998-05-20 | 2001-10-16 | Novo Nordisk A/S | Medical apparatus for use by a patient for medical self treatment of diabetes |
| US6121611A (en) | 1998-05-20 | 2000-09-19 | Molecular Imaging Corporation | Force sensing probe for scanning probe microscopy |
| TW406018B (en) | 1998-05-21 | 2000-09-21 | Elan Corp Plc | Improved adhesive system for medical devices |
| GB9812472D0 (en) | 1998-06-11 | 1998-08-05 | Owen Mumford Ltd | A dose setting device for medical injectors |
| JP2000031951A (en) | 1998-07-15 | 2000-01-28 | Fujitsu Ltd | Burst synchronization circuit |
| US6493069B1 (en) | 1998-07-24 | 2002-12-10 | Terumo Kabushiki Kaisha | Method and instrument for measuring blood sugar level |
| US6554798B1 (en) | 1998-08-18 | 2003-04-29 | Medtronic Minimed, Inc. | External infusion device with remote programming, bolus estimator and/or vibration alarm capabilities |
| US5993423A (en) | 1998-08-18 | 1999-11-30 | Choi; Soo Bong | Portable automatic syringe device and injection needle unit thereof |
| US6248067B1 (en) | 1999-02-05 | 2001-06-19 | Minimed Inc. | Analyte sensor and holter-type monitor system and method of using the same |
| US6558320B1 (en) | 2000-01-20 | 2003-05-06 | Medtronic Minimed, Inc. | Handheld personal data assistant (PDA) with a medical device and method of using the same |
| US6304766B1 (en) | 1998-08-26 | 2001-10-16 | Sensors For Medicine And Science | Optical-based sensing devices, especially for in-situ sensing in humans |
| US7536478B2 (en) | 1998-09-11 | 2009-05-19 | Rpx-Lv Acquisition Llc | Method and apparatus for opening and launching a web browser in response to an audible signal |
| KR20000019716A (en) | 1998-09-15 | 2000-04-15 | 박호군 | Composition comprising bioflavonoid compounds for descending blood sugar |
| US6740518B1 (en) | 1998-09-17 | 2004-05-25 | Clinical Micro Sensors, Inc. | Signal detection techniques for the detection of analytes |
| US5951521A (en) | 1998-09-25 | 1999-09-14 | Minimed Inc. | Subcutaneous implantable sensor set having the capability to remove deliver fluids to an insertion site |
| US6254586B1 (en) | 1998-09-25 | 2001-07-03 | Minimed Inc. | Method and kit for supplying a fluid to a subcutaneous placement site |
| US6402689B1 (en) | 1998-09-30 | 2002-06-11 | Sicel Technologies, Inc. | Methods, systems, and associated implantable devices for dynamic monitoring of physiological and biological properties of tumors |
| DE69908602T2 (en) | 1998-09-30 | 2004-06-03 | Cygnus, Inc., Redwood City | METHOD AND DEVICE FOR PREDICTING PHYSIOLOGICAL MEASUREMENTS |
| US20060202859A1 (en) | 1998-10-08 | 2006-09-14 | Mastrototaro John J | Telemetered characteristic monitor system and method of using the same |
| US6591125B1 (en) | 2000-06-27 | 2003-07-08 | Therasense, Inc. | Small volume in vitro analyte sensor with diffusible or non-leachable redox mediator |
| US6338790B1 (en) | 1998-10-08 | 2002-01-15 | Therasense, Inc. | Small volume in vitro analyte sensor with diffusible or non-leachable redox mediator |
| EP1413245B1 (en) | 1998-10-08 | 2011-06-29 | Medtronic MiniMed, Inc. | Telemetered characteristic monitor system |
| US5948006A (en) | 1998-10-14 | 1999-09-07 | Advanced Bionics Corporation | Transcutaneous transmission patch |
| US6496729B2 (en) | 1998-10-28 | 2002-12-17 | Medtronic, Inc. | Power consumption reduction in medical devices employing multiple supply voltages and clock frequency control |
| DE69918159T2 (en) | 1998-11-20 | 2005-03-17 | The University Of Connecticut, Farmington | METHOD AND DEVICE FOR CONTROLLING TISSUE IMPLANT INTERACTIONS |
| US6656114B1 (en) | 1998-11-30 | 2003-12-02 | Novo Noadisk A/S | Method and a system for assisting a user in a medical self treatment, said self treatment comprising a plurality of actions |
| US6540672B1 (en) | 1998-12-09 | 2003-04-01 | Novo Nordisk A/S | Medical system and a method of controlling the system for use by a patient for medical self treatment |
| CA2351398A1 (en) | 1998-11-30 | 2000-06-08 | Abbott Laboratories | Analyte test instrument having improved calibration and communication processes |
| US6773671B1 (en) | 1998-11-30 | 2004-08-10 | Abbott Laboratories | Multichemistry measuring device and test strips |
| US6022368A (en) | 1998-11-30 | 2000-02-08 | Gavronsky; Stas | Acupuncture method and device |
| US6161095A (en) | 1998-12-16 | 2000-12-12 | Health Hero Network, Inc. | Treatment regimen compliance and efficacy with feedback |
| US6433728B1 (en) | 1999-01-22 | 2002-08-13 | Lear Automotive Dearborn, Inc. | Integrally molded remote entry transmitter |
| JP2002536103A (en) | 1999-02-12 | 2002-10-29 | シグナス, インコーポレイテッド | Devices and methods for frequent measurement of analytes present in biological systems |
| IL144948A0 (en) | 1999-02-18 | 2002-06-30 | Biovalve Technologies Inc | Electroactive pore |
| EP1154719B1 (en) | 1999-02-25 | 2012-04-11 | Medtronic MiniMed, Inc. | Test plug and cable for a glucose monitor |
| US6360888B1 (en) | 1999-02-25 | 2002-03-26 | Minimed Inc. | Glucose sensor package system |
| US6424847B1 (en) | 1999-02-25 | 2002-07-23 | Medtronic Minimed, Inc. | Glucose monitor calibration methods |
| US8103325B2 (en) * | 1999-03-08 | 2012-01-24 | Tyco Healthcare Group Lp | Method and circuit for storing and providing historical physiological data |
| US6959211B2 (en) | 1999-03-10 | 2005-10-25 | Optiscan Biomedical Corp. | Device for capturing thermal spectra from tissue |
| AU4063100A (en) | 1999-04-01 | 2000-10-23 | University Of Connecticut, The | Optical glucose sensor apparatus and method |
| GB9907815D0 (en) | 1999-04-06 | 1999-06-02 | Univ Cambridge Tech | Implantable sensor |
| US6285897B1 (en) | 1999-04-07 | 2001-09-04 | Endonetics, Inc. | Remote physiological monitoring system |
| US6494829B1 (en) | 1999-04-15 | 2002-12-17 | Nexan Limited | Physiological sensor array |
| US6416471B1 (en) | 1999-04-15 | 2002-07-09 | Nexan Limited | Portable remote patient telemonitoring system |
| US6200265B1 (en) | 1999-04-16 | 2001-03-13 | Medtronic, Inc. | Peripheral memory patch and access method for use with an implantable medical device |
| US6192891B1 (en) * | 1999-04-26 | 2001-02-27 | Becton Dickinson And Company | Integrated system including medication delivery pen, blood monitoring device, and lancer |
| FR2793021B1 (en) | 1999-04-30 | 2001-08-03 | Siemens Automotive Sa | TEMPERATURE SENSOR AND METHOD FOR MANUFACTURING SUCH A SENSOR |
| US6669663B1 (en) | 1999-04-30 | 2003-12-30 | Medtronic, Inc. | Closed loop medicament pump |
| US6514689B2 (en) | 1999-05-11 | 2003-02-04 | M-Biotech, Inc. | Hydrogel biosensor |
| US6359444B1 (en) | 1999-05-28 | 2002-03-19 | University Of Kentucky Research Foundation | Remote resonant-circuit analyte sensing apparatus with sensing structure and associated method of sensing |
| US6546268B1 (en) * | 1999-06-02 | 2003-04-08 | Ball Semiconductor, Inc. | Glucose sensor |
| US7806886B2 (en) | 1999-06-03 | 2010-10-05 | Medtronic Minimed, Inc. | Apparatus and method for controlling insulin infusion with state variable feedback |
| US6312378B1 (en) | 1999-06-03 | 2001-11-06 | Cardiac Intelligence Corporation | System and method for automated collection and analysis of patient information retrieved from an implantable medical device for remote patient care |
| US6256533B1 (en) | 1999-06-09 | 2001-07-03 | The Procter & Gamble Company | Apparatus and method for using an intracutaneous microneedle array |
| US6298255B1 (en) * | 1999-06-09 | 2001-10-02 | Aspect Medical Systems, Inc. | Smart electrophysiological sensor system with automatic authentication and validation and an interface for a smart electrophysiological sensor system |
| US6423035B1 (en) | 1999-06-18 | 2002-07-23 | Animas Corporation | Infusion pump with a sealed drive mechanism and improved method of occlusion detection |
| GB2351153B (en) | 1999-06-18 | 2003-03-26 | Abbott Lab | Electrochemical sensor for analysis of liquid samples |
| EP2322645A1 (en) | 1999-06-18 | 2011-05-18 | Abbott Diabetes Care Inc. | Mass transport limited in vivo analyte sensor |
| US7522878B2 (en) | 1999-06-21 | 2009-04-21 | Access Business Group International Llc | Adaptive inductive power supply with communication |
| US6368274B1 (en) | 1999-07-01 | 2002-04-09 | Medtronic Minimed, Inc. | Reusable analyte sensor site and method of using the same |
| US6804558B2 (en) | 1999-07-07 | 2004-10-12 | Medtronic, Inc. | System and method of communicating between an implantable medical device and a remote computer system or health care provider |
| US6413393B1 (en) | 1999-07-07 | 2002-07-02 | Minimed, Inc. | Sensor including UV-absorbing polymer and method of manufacture |
| DE19933700A1 (en) | 1999-07-19 | 2001-01-25 | Bsh Bosch Siemens Hausgeraete | dishwasher |
| US6514460B1 (en) | 1999-07-28 | 2003-02-04 | Abbott Laboratories | Luminous glucose monitoring device |
| US7113821B1 (en) | 1999-08-25 | 2006-09-26 | Johnson & Johnson Consumer Companies, Inc. | Tissue electroperforation for enhanced drug delivery |
| US6608562B1 (en) | 1999-08-31 | 2003-08-19 | Denso Corporation | Vital signal detecting apparatus |
| US6102896A (en) | 1999-09-08 | 2000-08-15 | Cambridge Biostability Limited | Disposable injector device |
| AT408182B (en) | 1999-09-17 | 2001-09-25 | Schaupp Lukas Dipl Ing Dr Tech | DEVICE FOR VIVO MEASURING SIZES IN LIVING ORGANISMS |
| WO2001028416A1 (en) | 1999-09-24 | 2001-04-26 | Healthetech, Inc. | Physiological monitor and associated computation, display and communication unit |
| US20050103624A1 (en) * | 1999-10-04 | 2005-05-19 | Bhullar Raghbir S. | Biosensor and method of making |
| US6294997B1 (en) | 1999-10-04 | 2001-09-25 | Intermec Ip Corp. | RFID tag having timing and environment modules |
| US6645359B1 (en) | 2000-10-06 | 2003-11-11 | Roche Diagnostics Corporation | Biosensor |
| US7276146B2 (en) | 2001-11-16 | 2007-10-02 | Roche Diagnostics Operations, Inc. | Electrodes, methods, apparatuses comprising micro-electrode arrays |
| US6767440B1 (en) | 2001-04-24 | 2004-07-27 | Roche Diagnostics Corporation | Biosensor |
| US6662439B1 (en) | 1999-10-04 | 2003-12-16 | Roche Diagnostics Corporation | Laser defined features for patterned laminates and electrodes |
| US7073246B2 (en) | 1999-10-04 | 2006-07-11 | Roche Diagnostics Operations, Inc. | Method of making a biosensor |
| CA2387124A1 (en) | 1999-10-08 | 2001-04-26 | Healthetech, Inc. | Integrated calorie management system |
| DE19948759A1 (en) | 1999-10-09 | 2001-04-12 | Roche Diagnostics Gmbh | Blood lancet device for drawing blood for diagnostic purposes |
| US6283982B1 (en) | 1999-10-19 | 2001-09-04 | Facet Technologies, Inc. | Lancing device and method of sample collection |
| US6593356B2 (en) | 1999-10-20 | 2003-07-15 | Bristol-Myers Squibb Pharma Company | Acylsemicarbazides as cyclin dependent kinase inhibitors useful as anti-cancer and anti-proliferative agents |
| US6616819B1 (en) | 1999-11-04 | 2003-09-09 | Therasense, Inc. | Small volume in vitro analyte sensor and methods |
| US20060091006A1 (en) | 1999-11-04 | 2006-05-04 | Yi Wang | Analyte sensor with insertion monitor, and methods |
| JP3985022B2 (en) | 1999-11-08 | 2007-10-03 | アークレイ株式会社 | Body fluid measuring device and insertion body used by being inserted into the body fluid measuring device |
| EP1230248B1 (en) | 1999-11-15 | 2007-06-06 | Therasense, Inc. | Transition metal complexes attached to a polymer via a flexible chain |
| US6291200B1 (en) | 1999-11-17 | 2001-09-18 | Agentase, Llc | Enzyme-containing polymeric sensors |
| US6658396B1 (en) | 1999-11-29 | 2003-12-02 | Tang Sharon S | Neural network drug dosage estimation |
| US6522927B1 (en) | 1999-12-01 | 2003-02-18 | Vertis Neuroscience, Inc. | Electrode assembly for a percutaneous electrical therapy system |
| EP1238632B1 (en) | 1999-12-13 | 2011-05-11 | ARKRAY, Inc. | Body fluid measuring apparatus with lancet and lancet holder used for the measuring apparatus |
| US6418346B1 (en) | 1999-12-14 | 2002-07-09 | Medtronic, Inc. | Apparatus and method for remote therapy and diagnosis in medical devices via interface systems |
| US6602191B2 (en) | 1999-12-17 | 2003-08-05 | Q-Tec Systems Llp | Method and apparatus for health and disease management combining patient data monitoring with wireless internet connectivity |
| US7060031B2 (en) | 1999-12-17 | 2006-06-13 | Medtronic, Inc. | Method and apparatus for remotely programming implantable medical devices |
| US6497655B1 (en) | 1999-12-17 | 2002-12-24 | Medtronic, Inc. | Virtual remote monitor, alert, diagnostics and programming for implantable medical device systems |
| US20020091796A1 (en) | 2000-01-03 | 2002-07-11 | John Higginson | Method and apparatus for transmitting data over a network using a docking device |
| US7286894B1 (en) | 2000-01-07 | 2007-10-23 | Pasco Scientific | Hand-held computer device and method for interactive data acquisition, analysis, annotation, and calibration |
| WO2001054753A2 (en) | 2000-01-21 | 2001-08-02 | Medical Research Group, Inc. | Microprocessor controlled ambulatory medical apparatus with hand held communication device |
| EP1248661B1 (en) | 2000-01-21 | 2012-08-22 | Medtronic MiniMed, Inc. | Ambulatory medical apparatus and method having telemetry modifiable control software |
| US6740075B2 (en) | 2000-01-21 | 2004-05-25 | Medtronic Minimed, Inc. | Ambulatory medical apparatus with hand held communication device |
| US7369635B2 (en) | 2000-01-21 | 2008-05-06 | Medtronic Minimed, Inc. | Rapid discrimination preambles and methods for using the same |
| US6748445B1 (en) | 2000-02-01 | 2004-06-08 | Microsoft Corporation | System and method for exchanging data |
| US20010037060A1 (en) | 2000-02-08 | 2001-11-01 | Thompson Richard P. | Web site for glucose monitoring |
| EP1253852B1 (en) | 2000-02-10 | 2007-09-19 | Medtronic MiniMed, Inc. | Analyte sensor |
| US6484045B1 (en) | 2000-02-10 | 2002-11-19 | Medtronic Minimed, Inc. | Analyte sensor and method of making the same |
| US7003336B2 (en) | 2000-02-10 | 2006-02-21 | Medtronic Minimed, Inc. | Analyte sensor method of making the same |
| US20030060765A1 (en) | 2000-02-16 | 2003-03-27 | Arthur Campbell | Infusion device menu structure and method of using the same |
| US6895263B2 (en) | 2000-02-23 | 2005-05-17 | Medtronic Minimed, Inc. | Real time self-adjusting calibration algorithm |
| US7890295B2 (en) * | 2000-02-23 | 2011-02-15 | Medtronic Minimed, Inc. | Real time self-adjusting calibration algorithm |
| US7027931B1 (en) | 2000-02-24 | 2006-04-11 | Bionostics, Inc. | System for statistical analysis of quality control data |
| US6893396B2 (en) | 2000-03-01 | 2005-05-17 | I-Medik, Inc. | Wireless internet bio-telemetry monitoring system and interface |
| US6706159B2 (en) | 2000-03-02 | 2004-03-16 | Diabetes Diagnostics | Combined lancet and electrochemical analyte-testing apparatus |
| DE10010587A1 (en) | 2000-03-03 | 2001-09-06 | Roche Diagnostics Gmbh | System for the determination of analyte concentrations in body fluids |
| US6405066B1 (en) | 2000-03-17 | 2002-06-11 | The Regents Of The University Of California | Implantable analyte sensor |
| US6510344B1 (en) | 2000-03-22 | 2003-01-21 | Ge Medical Systems Information Technologies, Inc. | Procedure alarm silence feature for medical telemetry system |
| AU2001251046B2 (en) | 2000-03-29 | 2006-08-03 | University Of Virginia Patent Foundation | Method, system, and computer program product for the evaluation of glycemic control in diabetes from self-monitoring data |
| AU2001249797A1 (en) | 2000-04-04 | 2001-10-15 | Contact Technology Systems, Inc. | Arc fault current interrupter testing device |
| US6610012B2 (en) | 2000-04-10 | 2003-08-26 | Healthetech, Inc. | System and method for remote pregnancy monitoring |
| US6561975B1 (en) | 2000-04-19 | 2003-05-13 | Medtronic, Inc. | Method and apparatus for communicating with medical device systems |
| US6440068B1 (en) | 2000-04-28 | 2002-08-27 | International Business Machines Corporation | Measuring user health as measured by multiple diverse health measurement devices utilizing a personal storage device |
| US7404815B2 (en) | 2000-05-01 | 2008-07-29 | Lifescan, Inc. | Tissue ablation by shear force for sampling biological fluids and delivering active agents |
| US20020010390A1 (en) | 2000-05-10 | 2002-01-24 | Guice David Lehmann | Method and system for monitoring the health and status of livestock and other animals |
| WO2001088524A1 (en) | 2000-05-12 | 2001-11-22 | Therasense, Inc. | Electrodes with multilayer membranes and methods of using and making the electrodes |
| US7181261B2 (en) | 2000-05-15 | 2007-02-20 | Silver James H | Implantable, retrievable, thrombus minimizing sensors |
| US6442413B1 (en) | 2000-05-15 | 2002-08-27 | James H. Silver | Implantable sensor |
| US6459917B1 (en) | 2000-05-22 | 2002-10-01 | Ashok Gowda | Apparatus for access to interstitial fluid, blood, or blood plasma components |
| US6730072B2 (en) | 2000-05-30 | 2004-05-04 | Massachusetts Institute Of Technology | Methods and devices for sealing microchip reservoir devices |
| US6735479B2 (en) | 2000-06-14 | 2004-05-11 | Medtronic, Inc. | Lifestyle management system |
| CA2349021C (en) | 2000-06-16 | 2010-03-30 | Bayer Corporation | System, method and biosensor apparatus for data communications with a personal data assistant |
| US6699188B2 (en) | 2000-06-22 | 2004-03-02 | Guidance Interactive Technologies | Interactive reward devices and methods |
| US6494830B1 (en) | 2000-06-22 | 2002-12-17 | Guidance Interactive Technologies, Inc. | Handheld controller for monitoring/using medical parameters |
| AU2001270092A1 (en) | 2000-06-23 | 2002-01-08 | Bodymedia, Inc. | System for monitoring health, wellness and fitness |
| US6540675B2 (en) | 2000-06-27 | 2003-04-01 | Rosedale Medical, Inc. | Analyte monitor |
| US6400974B1 (en) | 2000-06-29 | 2002-06-04 | Sensors For Medicine And Science, Inc. | Implanted sensor processing system and method for processing implanted sensor output |
| US7530964B2 (en) | 2000-06-30 | 2009-05-12 | Elan Pharma International Limited | Needle device and method thereof |
| US6589229B1 (en) | 2000-07-31 | 2003-07-08 | Becton, Dickinson And Company | Wearable, self-contained drug infusion device |
| WO2002015778A1 (en) | 2000-08-18 | 2002-02-28 | Cygnus, Inc. | Analyte monitoring device alarm augmentation system |
| WO2002017210A2 (en) | 2000-08-18 | 2002-02-28 | Cygnus, Inc. | Formulation and manipulation of databases of analyte and associated values |
| EP1309271B1 (en) | 2000-08-18 | 2008-04-16 | Animas Technologies LLC | Device for prediction of hypoglycemic events |
| EP1311189A4 (en) | 2000-08-21 | 2005-03-09 | Euro Celtique Sa | Near infrared blood glucose monitoring system |
| US20020026111A1 (en) | 2000-08-28 | 2002-02-28 | Neil Ackerman | Methods of monitoring glucose levels in a subject and uses thereof |
| US6827899B2 (en) | 2000-08-30 | 2004-12-07 | Hypoguard Limited | Test device |
| ES2287156T3 (en) | 2000-09-08 | 2007-12-16 | Insulet Corporation | DEVICES AND SYSTEMS FOR THE INFUSION OF A PATIENT. |
| US7226442B2 (en) | 2000-10-10 | 2007-06-05 | Microchips, Inc. | Microchip reservoir devices using wireless transmission of power and data |
| WO2002031909A1 (en) | 2000-10-11 | 2002-04-18 | Alfred E. Mann Foundation For Scientific Research | Improved antenna for miniature implanted medical device |
| US6712025B2 (en) | 2000-10-13 | 2004-03-30 | Dogwatch, Inc. | Receiver/stimulus unit for an animal control system |
| US7198603B2 (en) | 2003-04-14 | 2007-04-03 | Remon Medical Technologies, Inc. | Apparatus and methods using acoustic telemetry for intrabody communications |
| US7348183B2 (en) | 2000-10-16 | 2008-03-25 | Board Of Trustees Of The University Of Arkansas | Self-contained microelectrochemical bioassay platforms and methods |
| US6603995B1 (en) | 2000-10-19 | 2003-08-05 | Reynolds Medical Limited | Body monitoring apparatus |
| CA2426330A1 (en) | 2000-11-01 | 2002-05-10 | 3M Innovative Properties Company | Electrical sensing and/or signal application device |
| US6695860B1 (en) | 2000-11-13 | 2004-02-24 | Isense Corp. | Transcutaneous sensor insertion device |
| US6574510B2 (en) | 2000-11-30 | 2003-06-03 | Cardiac Pacemakers, Inc. | Telemetry apparatus and method for an implantable medical device |
| ES2705729T3 (en) | 2000-11-30 | 2019-03-26 | Valeritas Inc | Fluid supply and measurement systems |
| US6439446B1 (en) | 2000-12-01 | 2002-08-27 | Stephen J. Perry | Safety lockout for actuator shaft |
| NZ526395A (en) | 2000-12-11 | 2005-11-25 | Resmed Ltd | Methods and apparatus for stroke patient treatment |
| TW492117B (en) | 2000-12-15 | 2002-06-21 | Acer Labs Inc | Substrate layout method and structure thereof for decreasing crosstalk between adjacent signals |
| US6665558B2 (en) | 2000-12-15 | 2003-12-16 | Cardiac Pacemakers, Inc. | System and method for correlation of patient health information and implant device data |
| US20020074162A1 (en) | 2000-12-15 | 2002-06-20 | Bor-Ray Su | Substrate layout method and structure for reducing cross talk of adjacent signals |
| GB0030929D0 (en) | 2000-12-19 | 2001-01-31 | Inverness Medical Ltd | Analyte measurement |
| US7052483B2 (en) | 2000-12-19 | 2006-05-30 | Animas Corporation | Transcutaneous inserter for low-profile infusion sets |
| US6416332B1 (en) | 2000-12-20 | 2002-07-09 | Nortel Networks Limited | Direct BGA socket for high speed use |
| DE60136387D1 (en) | 2000-12-29 | 2008-12-11 | Ares Medical Inc | RISK ASSESSMENT OF SLEEP APNEA |
| US6560471B1 (en) | 2001-01-02 | 2003-05-06 | Therasense, Inc. | Analyte monitoring device and methods of use |
| EP1349492A2 (en) | 2001-01-04 | 2003-10-08 | Medtronic, Inc. | Implantable medical device with sensor |
| US6970529B2 (en) | 2001-01-16 | 2005-11-29 | International Business Machines Corporation | Unified digital architecture |
| US6603770B2 (en) | 2001-01-16 | 2003-08-05 | Physical Optics Corporation | Apparatus and method for accessing a network |
| US20040197846A1 (en) | 2001-01-18 | 2004-10-07 | Linda Hockersmith | Determination of glucose sensitivity and a method to manipulate blood glucose concentration |
| TW536689B (en) | 2001-01-18 | 2003-06-11 | Sharp Kk | Display, portable device, and substrate |
| CN101366633B (en) | 2001-01-19 | 2011-03-30 | 松下电器产业株式会社 | Lancet-integrated sensor, measurement device, and biosensor case |
| WO2002056751A2 (en) | 2001-01-22 | 2002-07-25 | Roche Diagnostics Gmbh | Lancet device having capillary action |
| ITMI20010253A1 (en) | 2001-02-08 | 2002-08-08 | Negri Bossi Spa | INJECTION GROUP FOR INJECTION PRESSES OF PLASTIC MATERIALS |
| WO2002073503A2 (en) | 2001-03-14 | 2002-09-19 | Baxter International Inc. | Internet based therapy management system |
| US6611206B2 (en) | 2001-03-15 | 2003-08-26 | Koninklijke Philips Electronics N.V. | Automatic system for monitoring independent person requiring occasional assistance |
| US6968294B2 (en) | 2001-03-15 | 2005-11-22 | Koninklijke Philips Electronics N.V. | Automatic system for monitoring person requiring care and his/her caretaker |
| EP1397068A2 (en) | 2001-04-02 | 2004-03-17 | Therasense, Inc. | Blood glucose tracking apparatus and methods |
| EP1383560B2 (en) | 2001-04-06 | 2023-04-26 | F. Hoffmann-La Roche AG | Infusion set |
| US7916013B2 (en) | 2005-03-21 | 2011-03-29 | Greatbatch Ltd. | RFID detection and identification system for implantable medical devices |
| GR1003802B (en) * | 2001-04-17 | 2002-02-08 | Micrel �.�.�. ������� ��������� ��������������� ��������� | Tele-medicine system |
| SE0101379D0 (en) | 2001-04-18 | 2001-04-18 | Diabact Ab | Composition that inhibits gastric acid secretion |
| US6698269B2 (en) | 2001-04-27 | 2004-03-02 | Oceana Sensor Technologies, Inc. | Transducer in-situ testing apparatus and method |
| US6535764B2 (en) | 2001-05-01 | 2003-03-18 | Intrapace, Inc. | Gastric treatment and diagnosis device and method |
| EP1383420A2 (en) | 2001-05-03 | 2004-01-28 | Masimo Corporation | Flex circuit shielded optical sensor |
| US20020164836A1 (en) | 2001-05-07 | 2002-11-07 | Advanced Semiconductor Engineering Inc. | Method of manufacturing printed circuit board |
| US6613379B2 (en) | 2001-05-08 | 2003-09-02 | Isense Corp. | Implantable analyte sensor |
| US7395214B2 (en) | 2001-05-11 | 2008-07-01 | Craig P Shillingburg | Apparatus, device and method for prescribing, administering and monitoring a treatment regimen for a patient |
| US6676816B2 (en) * | 2001-05-11 | 2004-01-13 | Therasense, Inc. | Transition metal complexes with (pyridyl)imidazole ligands and sensors using said complexes |
| US6932894B2 (en) | 2001-05-15 | 2005-08-23 | Therasense, Inc. | Biosensor membranes composed of polymers containing heterocyclic nitrogens |
| US6549796B2 (en) | 2001-05-25 | 2003-04-15 | Lifescan, Inc. | Monitoring analyte concentration using minimally invasive devices |
| TW582124B (en) | 2001-06-01 | 2004-04-01 | Polyfuel Inc | Fuel cell assembly for portable electronic device and interface, control, and regulator circuit for fuel cell powered electronic device |
| US6837988B2 (en) | 2001-06-12 | 2005-01-04 | Lifescan, Inc. | Biological fluid sampling and analyte measurement devices and methods |
| US7041068B2 (en) | 2001-06-12 | 2006-05-09 | Pelikan Technologies, Inc. | Sampling module device and method |
| US7179226B2 (en) | 2001-06-21 | 2007-02-20 | Animas Corporation | System and method for managing diabetes |
| US7044911B2 (en) * | 2001-06-29 | 2006-05-16 | Philometron, Inc. | Gateway platform for biological monitoring and delivery of therapeutic compounds |
| US20030002682A1 (en) | 2001-07-02 | 2003-01-02 | Phonex Broadband Corporation | Wireless audio/mechanical vibration transducer and audio/visual transducer |
| WO2003005907A1 (en) | 2001-07-11 | 2003-01-23 | Arkray, Inc. | Lancet and piercing device |
| US20030208113A1 (en) | 2001-07-18 | 2003-11-06 | Mault James R | Closed loop glycemic index system |
| US20030032874A1 (en) | 2001-07-27 | 2003-02-13 | Dexcom, Inc. | Sensor head for use with implantable devices |
| US6702857B2 (en) | 2001-07-27 | 2004-03-09 | Dexcom, Inc. | Membrane for use with implantable devices |
| US6570386B2 (en) | 2001-07-30 | 2003-05-27 | Hewlett-Packard Development Company, L.P. | System and method for providing power to electrical devices |
| US6544212B2 (en) | 2001-07-31 | 2003-04-08 | Roche Diagnostics Corporation | Diabetes management system |
| US6788965B2 (en) | 2001-08-03 | 2004-09-07 | Sensys Medical, Inc. | Intelligent system for detecting errors and determining failure modes in noninvasive measurement of blood and tissue analytes |
| US6827718B2 (en) | 2001-08-14 | 2004-12-07 | Scimed Life Systems, Inc. | Method of and apparatus for positioning and maintaining the position of endoscopic instruments |
| WO2003015629A1 (en) | 2001-08-20 | 2003-02-27 | Inverness Medical Limited | Wireless diabetes management devices and methods for using the same |
| US7736272B2 (en) | 2001-08-21 | 2010-06-15 | Pantometrics, Ltd. | Exercise system with graphical feedback and method of gauging fitness progress |
| US6781522B2 (en) | 2001-08-22 | 2004-08-24 | Kivalo, Inc. | Portable storage case for housing a medical monitoring device and an associated method for communicating therewith |
| JP3962250B2 (en) | 2001-08-29 | 2007-08-22 | 株式会社レアメタル | In vivo information detection system and tag device and relay device used therefor |
| US7025760B2 (en) | 2001-09-07 | 2006-04-11 | Medtronic Minimed, Inc. | Method and system for non-vascular sensor implantation |
| US6827702B2 (en) | 2001-09-07 | 2004-12-07 | Medtronic Minimed, Inc. | Safety limits for closed-loop infusion pump control |
| US6740072B2 (en) | 2001-09-07 | 2004-05-25 | Medtronic Minimed, Inc. | System and method for providing closed loop infusion formulation delivery |
| CN1555244A (en) | 2001-09-13 | 2004-12-15 | A way to send vital health stats far from an airplane | |
| JP2003084101A (en) | 2001-09-17 | 2003-03-19 | Dainippon Printing Co Ltd | Resin composition for optical element, optical element, and projection screen |
| US7052591B2 (en) | 2001-09-21 | 2006-05-30 | Therasense, Inc. | Electrodeposition of redox polymers and co-electrodeposition of enzymes by coordinative crosslinking |
| US6830562B2 (en) * | 2001-09-27 | 2004-12-14 | Unomedical A/S | Injector device for placing a subcutaneous infusion set |
| US20050137480A1 (en) | 2001-10-01 | 2005-06-23 | Eckhard Alt | Remote control of implantable device through medical implant communication service band |
| US20030069510A1 (en) | 2001-10-04 | 2003-04-10 | Semler Herbert J. | Disposable vital signs monitor |
| US6613015B2 (en) | 2001-10-04 | 2003-09-02 | Deltec, Inc. | Right angle safety needle |
| US6748254B2 (en) | 2001-10-12 | 2004-06-08 | Nellcor Puritan Bennett Incorporated | Stacked adhesive optical sensor |
| US6971999B2 (en) | 2001-11-14 | 2005-12-06 | Medical Instill Technologies, Inc. | Intradermal delivery device and method |
| ATE479089T1 (en) | 2001-11-16 | 2010-09-15 | Stefan Ufer | FLEXIBLE SENSOR AND MANUFACTURING METHOD |
| US20030116447A1 (en) | 2001-11-16 | 2003-06-26 | Surridge Nigel A. | Electrodes, methods, apparatuses comprising micro-electrode arrays |
| IL162222A0 (en) | 2001-11-28 | 2005-11-20 | Medical Man Phemi Inc | Methods and apparatus for automatedinteractive medical management |
| AU2002354181A1 (en) * | 2001-12-03 | 2003-06-17 | Nikon Corporation | Electronic apparatus, electronic camera, electronic device, image display apparatus, and image transmission system |
| US7204823B2 (en) | 2001-12-19 | 2007-04-17 | Medtronic Minimed, Inc. | Medication delivery system and monitor |
| US6993393B2 (en) | 2001-12-19 | 2006-01-31 | Cardiac Pacemakers, Inc. | Telemetry duty cycle management system for an implantable medical device |
| US7082334B2 (en) | 2001-12-19 | 2006-07-25 | Medtronic, Inc. | System and method for transmission of medical and like data from a patient to a dedicated internet website |
| US7729776B2 (en) | 2001-12-19 | 2010-06-01 | Cardiac Pacemakers, Inc. | Implantable medical device with two or more telemetry systems |
| US20030119457A1 (en) | 2001-12-19 | 2003-06-26 | Standke Randolph E. | Filter technique for increasing antenna isolation in portable communication devices |
| GB0130684D0 (en) | 2001-12-21 | 2002-02-06 | Oxford Biosensors Ltd | Micro-band electrode |
| US7399277B2 (en) | 2001-12-27 | 2008-07-15 | Medtronic Minimed, Inc. | System for monitoring physiological characteristics |
| US20080255438A1 (en) | 2001-12-27 | 2008-10-16 | Medtronic Minimed, Inc. | System for monitoring physiological characteristics |
| US7022072B2 (en) | 2001-12-27 | 2006-04-04 | Medtronic Minimed, Inc. | System for monitoring physiological characteristics |
| US20050027182A1 (en) | 2001-12-27 | 2005-02-03 | Uzair Siddiqui | System for monitoring physiological characteristics |
| ITTO20011228A1 (en) | 2001-12-28 | 2003-06-28 | Cane Srl | DISPOSABLE NEEDLE CONTAINER. |
| US20030145062A1 (en) | 2002-01-14 | 2003-07-31 | Dipanshu Sharma | Data conversion server for voice browsing system |
| US20030155656A1 (en) | 2002-01-18 | 2003-08-21 | Chiu Cindy Chia-Wen | Anisotropically conductive film |
| US7169107B2 (en) | 2002-01-25 | 2007-01-30 | Karen Jersey-Willuhn | Conductivity reconstruction based on inverse finite element measurements in a tissue monitoring system |
| US20030144711A1 (en) | 2002-01-29 | 2003-07-31 | Neuropace, Inc. | Systems and methods for interacting with an implantable medical device |
| US6985773B2 (en) | 2002-02-07 | 2006-01-10 | Cardiac Pacemakers, Inc. | Methods and apparatuses for implantable medical device telemetry power management |
| US7004928B2 (en) | 2002-02-08 | 2006-02-28 | Rosedale Medical, Inc. | Autonomous, ambulatory analyte monitor or drug delivery device |
| US8364229B2 (en) | 2003-07-25 | 2013-01-29 | Dexcom, Inc. | Analyte sensors having a signal-to-noise ratio substantially unaffected by non-constant noise |
| US7613491B2 (en) | 2002-05-22 | 2009-11-03 | Dexcom, Inc. | Silicone based membranes for use in implantable glucose sensors |
| US9282925B2 (en) | 2002-02-12 | 2016-03-15 | Dexcom, Inc. | Systems and methods for replacing signal artifacts in a glucose sensor data stream |
| US8260393B2 (en) | 2003-07-25 | 2012-09-04 | Dexcom, Inc. | Systems and methods for replacing signal data artifacts in a glucose sensor data stream |
| US8010174B2 (en) | 2003-08-22 | 2011-08-30 | Dexcom, Inc. | Systems and methods for replacing signal artifacts in a glucose sensor data stream |
| US9247901B2 (en) | 2003-08-22 | 2016-02-02 | Dexcom, Inc. | Systems and methods for replacing signal artifacts in a glucose sensor data stream |
| DE10208575C1 (en) | 2002-02-21 | 2003-08-14 | Hartmann Paul Ag | Blood analyzer device comprises needles, test media, analyzer and display, and has carrier turned with respect to main body, to position needle and test media |
| US20030212379A1 (en) | 2002-02-26 | 2003-11-13 | Bylund Adam David | Systems and methods for remotely controlling medication infusion and analyte monitoring |
| EP1487519B1 (en) | 2002-02-26 | 2013-06-12 | TecPharma Licensing AG | Insertion device for an insertion set and method of using the same |
| US7468032B2 (en) | 2002-12-18 | 2008-12-23 | Cardiac Pacemakers, Inc. | Advanced patient management for identifying, displaying and assisting with correlating health-related data |
| GB2413964B (en) | 2002-03-06 | 2006-02-08 | Htl Strefa Spolka Z O O | A device for puncturing patient's skin |
| US7043305B2 (en) | 2002-03-06 | 2006-05-09 | Cardiac Pacemakers, Inc. | Method and apparatus for establishing context among events and optimizing implanted medical device performance |
| EP1343112A1 (en) | 2002-03-08 | 2003-09-10 | EndoArt S.A. | Implantable device |
| US6998247B2 (en) | 2002-03-08 | 2006-02-14 | Sensys Medical, Inc. | Method and apparatus using alternative site glucose determinations to calibrate and maintain noninvasive and implantable analyzers |
| US6936006B2 (en) | 2002-03-22 | 2005-08-30 | Novo Nordisk, A/S | Atraumatic insertion of a subcutaneous device |
| US20040030531A1 (en) | 2002-03-28 | 2004-02-12 | Honeywell International Inc. | System and method for automated monitoring, recognizing, supporting, and responding to the behavior of an actor |
| GB2388898B (en) | 2002-04-02 | 2005-10-05 | Inverness Medical Ltd | Integrated sample testing meter |
| US7410468B2 (en) | 2002-04-19 | 2008-08-12 | Pelikan Technologies, Inc. | Method and apparatus for penetrating tissue |
| US7141058B2 (en) | 2002-04-19 | 2006-11-28 | Pelikan Technologies, Inc. | Method and apparatus for a body fluid sampling device using illumination |
| US7226461B2 (en) | 2002-04-19 | 2007-06-05 | Pelikan Technologies, Inc. | Method and apparatus for a multi-use body fluid sampling device with sterility barrier release |
| US9314194B2 (en) | 2002-04-19 | 2016-04-19 | Sanofi-Aventis Deutschland Gmbh | Tissue penetration device |
| US7485128B2 (en) | 2002-04-19 | 2009-02-03 | Pelikan Technologies, Inc. | Method and apparatus for penetrating tissue |
| US6810309B2 (en) | 2002-04-25 | 2004-10-26 | Visteon Global Technologies, Inc. | Vehicle personalization via biometric identification |
| US20050177398A1 (en) | 2002-04-25 | 2005-08-11 | Motokazu Watanabe | Dosage determination supporting device, injector, and health management supporting system |
| US6983867B1 (en) * | 2002-04-29 | 2006-01-10 | Dl Technology Llc | Fluid dispense pump with drip prevention mechanism and method for controlling same |
| GB2388716B (en) | 2002-05-13 | 2004-10-20 | Splashpower Ltd | Improvements relating to contact-less power transfer |
| US7134994B2 (en) | 2002-05-20 | 2006-11-14 | Volcano Corporation | Multipurpose host system for invasive cardiovascular diagnostic measurement acquisition and display |
| US7226978B2 (en) | 2002-05-22 | 2007-06-05 | Dexcom, Inc. | Techniques to improve polyurethane membranes for implantable glucose sensors |
| US8641715B2 (en) | 2002-05-31 | 2014-02-04 | Vidacare Corporation | Manual intraosseous device |
| US20040030581A1 (en) | 2002-06-12 | 2004-02-12 | Samuel Leven | Heart monitoring device |
| AU2003246222A1 (en) | 2002-07-02 | 2004-01-23 | Arkray, Inc. | Unit for piercing, and piercing device |
| JP4308483B2 (en) | 2002-07-02 | 2009-08-05 | アークレイ株式会社 | Puncture unit and puncture device |
| US7124027B1 (en) | 2002-07-11 | 2006-10-17 | Yazaki North America, Inc. | Vehicular collision avoidance system |
| US20040010207A1 (en) | 2002-07-15 | 2004-01-15 | Flaherty J. Christopher | Self-contained, automatic transcutaneous physiologic sensing system |
| JP2004054394A (en) | 2002-07-17 | 2004-02-19 | Toshiba Corp | Wireless information processing system, wireless information recording medium, wireless information processing apparatus, and communication method of wireless information processing system |
| CA2492959A1 (en) | 2002-07-19 | 2004-07-15 | Smiths Detection-Pasadena, Inc. | Non-specific sensor array detectors |
| US7470533B2 (en) | 2002-12-20 | 2008-12-30 | Acea Biosciences | Impedance based devices and methods for use in assays |
| US7058719B2 (en) | 2002-07-22 | 2006-06-06 | Ricoh Company, Ltd. | System, computer program product and method for managing and controlling a local network of electronic devices and reliably and securely adding an electronic device to the network |
| US7220387B2 (en) | 2002-07-23 | 2007-05-22 | Apieron Biosystems Corp. | Disposable sensor for use in measuring an analyte in a gaseous sample |
| US7278983B2 (en) | 2002-07-24 | 2007-10-09 | Medtronic Minimed, Inc. | Physiological monitoring device for controlling a medication infusion device |
| US6992580B2 (en) * | 2002-07-25 | 2006-01-31 | Motorola, Inc. | Portable communication device and corresponding method of operation |
| WO2004015539A2 (en) | 2002-08-13 | 2004-02-19 | University Of Virginia Patent Foundation | Managing and processing self-monitoring blood glucose |
| US7020508B2 (en) | 2002-08-22 | 2006-03-28 | Bodymedia, Inc. | Apparatus for detecting human physiological and contextual information |
| US7404796B2 (en) | 2004-03-01 | 2008-07-29 | Becton Dickinson And Company | System for determining insulin dose using carbohydrate to insulin ratio and insulin sensitivity factor |
| AU2003278798A1 (en) | 2002-09-12 | 2004-04-30 | Children's Hospital Medical Center | Method and device for painless injection of medication |
| US7736309B2 (en) | 2002-09-27 | 2010-06-15 | Medtronic Minimed, Inc. | Implantable sensor method and system |
| US20040061232A1 (en) | 2002-09-27 | 2004-04-01 | Medtronic Minimed, Inc. | Multilayer substrate |
| US7192405B2 (en) | 2002-09-30 | 2007-03-20 | Becton, Dickinson And Company | Integrated lancet and bodily fluid sensor |
| US7014625B2 (en) | 2002-10-07 | 2006-03-21 | Novo Nordick A/S | Needle insertion device |
| TW557352B (en) | 2002-10-07 | 2003-10-11 | Actherm Inc | Electronic clinical thermometer with rapid response |
| WO2004034024A2 (en) | 2002-10-09 | 2004-04-22 | Csp Technologies, Inc. | Lancet system including test strips and cassettes |
| DK1575656T3 (en) | 2002-10-11 | 2009-09-14 | Becton Dickinson Co | Insulin delivery system with sensor |
| US7381184B2 (en) | 2002-11-05 | 2008-06-03 | Abbott Diabetes Care Inc. | Sensor inserter assembly |
| US7572237B2 (en) | 2002-11-06 | 2009-08-11 | Abbott Diabetes Care Inc. | Automatic biological analyte testing meter with integrated lancing device and methods of use |
| US6676290B1 (en) | 2002-11-15 | 2004-01-13 | Hsueh-Yu Lu | Electronic clinical thermometer |
| GB0226648D0 (en) | 2002-11-15 | 2002-12-24 | Koninkl Philips Electronics Nv | Usage data harvesting |
| DE60311312T2 (en) | 2002-11-21 | 2007-04-26 | S.C. Johnson & Son, Inc., Racine | PRODUCTS WITH RFID LABELS FOR WIRELESS INQUIRY |
| US20040100376A1 (en) | 2002-11-26 | 2004-05-27 | Kimberly-Clark Worldwide, Inc. | Healthcare monitoring system |
| US7580395B2 (en) | 2002-11-29 | 2009-08-25 | Intermec Ip Corp. | Information gathering apparatus and method having multiple wireless communication options |
| AU2003293559A1 (en) | 2002-12-16 | 2004-07-22 | Meagan Medical, Inc. | Controlling the depth of percutaneous applications |
| US20040116866A1 (en) | 2002-12-17 | 2004-06-17 | William Gorman | Skin attachment apparatus and method for patient infusion device |
| US7009511B2 (en) | 2002-12-17 | 2006-03-07 | Cardiac Pacemakers, Inc. | Repeater device for communications with an implantable medical device |
| US20040122353A1 (en) | 2002-12-19 | 2004-06-24 | Medtronic Minimed, Inc. | Relay device for transferring information between a sensor system and a fluid delivery system |
| US7395117B2 (en) | 2002-12-23 | 2008-07-01 | Cardiac Pacemakers, Inc. | Implantable medical device having long-term wireless capabilities |
| US7833151B2 (en) * | 2002-12-26 | 2010-11-16 | Given Imaging Ltd. | In vivo imaging device with two imagers |
| JP2004214014A (en) | 2002-12-27 | 2004-07-29 | Shin Etsu Polymer Co Ltd | Electric connector |
| US20040127818A1 (en) | 2002-12-27 | 2004-07-01 | Roe Steven N. | Precision depth control lancing tip |
| EP1578262A4 (en) | 2002-12-31 | 2007-12-05 | Therasense Inc | Continuous glucose monitoring system and methods of use |
| US7154398B2 (en) | 2003-01-06 | 2006-12-26 | Chen Thomas C H | Wireless communication and global location enabled intelligent health monitoring system |
| US20040138544A1 (en) | 2003-01-13 | 2004-07-15 | Ward W. Kenneth | Body fluid trap anlyte sensor |
| US7228162B2 (en) | 2003-01-13 | 2007-06-05 | Isense Corporation | Analyte sensor |
| CA2457987C (en) | 2003-02-18 | 2013-07-09 | Microteq Llc | System, method, and apparatus for detecting breach of exposure protection equipment |
| GB0304424D0 (en) | 2003-02-26 | 2003-04-02 | Glaxosmithkline Biolog Sa | Novel compounds |
| US20040171910A1 (en) | 2003-02-27 | 2004-09-02 | Moore-Steele Robin B. | Sexually stimulating panty insert |
| EP1604611B1 (en) | 2003-03-17 | 2009-11-04 | Arkray Inc. | Puncture device |
| US20040186373A1 (en) | 2003-03-21 | 2004-09-23 | Dunfield John Stephen | Method and device for targeted epithelial delivery of medicinal and related agents |
| US20050070819A1 (en) | 2003-03-31 | 2005-03-31 | Rosedale Medical, Inc. | Body fluid sampling constructions and techniques |
| US7447298B2 (en) | 2003-04-01 | 2008-11-04 | Cabot Microelectronics Corporation | Decontamination and sterilization system using large area x-ray source |
| US20040199056A1 (en) | 2003-04-03 | 2004-10-07 | International Business Machines Corporation | Body monitoring using local area wireless interfaces |
| US7134999B2 (en) | 2003-04-04 | 2006-11-14 | Dexcom, Inc. | Optimized sensor geometry for an implantable glucose sensor |
| US7587287B2 (en) | 2003-04-04 | 2009-09-08 | Abbott Diabetes Care Inc. | Method and system for transferring analyte test data |
| US20040204868A1 (en) | 2003-04-09 | 2004-10-14 | Maynard John D. | Reduction of errors in non-invasive tissue sampling |
| EP1614382B1 (en) | 2003-04-11 | 2012-07-11 | ARKRAY, Inc. | Needle insertion device |
| CN1806475B (en) * | 2003-04-15 | 2013-07-03 | 医药及科学传感器公司 | Printed circuit device with integrated antenna and implantable sensor processing system with integrated printed circuit board antenna |
| US6797877B1 (en) | 2003-04-28 | 2004-09-28 | Jonn Maneely Company | Electrical metallic tube, coupling, and connector apparatus and method |
| US20040225199A1 (en) | 2003-05-08 | 2004-11-11 | Evanyk Shane Walter | Advanced physiological monitoring systems and methods |
| AU2003902187A0 (en) | 2003-05-08 | 2003-05-22 | Aimedics Pty Ltd | Patient monitor |
| WO2004098683A1 (en) * | 2003-05-08 | 2004-11-18 | Novo Nordisk A/S | Internal needle inserter |
| JP4509100B2 (en) | 2003-05-08 | 2010-07-21 | ノボ・ノルデイスク・エー/エス | Infusion device attachable to skin with removable needle insertion actuation |
| US6926694B2 (en) | 2003-05-09 | 2005-08-09 | Medsolve Technologies, Llc | Apparatus and method for delivery of therapeutic and/or diagnostic agents |
| US7875293B2 (en) | 2003-05-21 | 2011-01-25 | Dexcom, Inc. | Biointerface membranes incorporating bioactive agents |
| WO2004103170A1 (en) | 2003-05-22 | 2004-12-02 | Novo Nordisk A/S | A glucose measuring device |
| US7397785B2 (en) | 2003-05-28 | 2008-07-08 | Nokia Corporation | Method for enhancing fairness and performance in a multihop ad hoc network and corresponding system |
| KR100502713B1 (en) * | 2003-05-29 | 2005-07-20 | 주식회사 헬스피아 | Battery pack and system for self-diagnosis |
| US8066639B2 (en) * | 2003-06-10 | 2011-11-29 | Abbott Diabetes Care Inc. | Glucose measuring device for use in personal area network |
| US7040139B2 (en) | 2003-06-10 | 2006-05-09 | Smiths Detection Inc. | Sensor arrangement |
| US8460243B2 (en) | 2003-06-10 | 2013-06-11 | Abbott Diabetes Care Inc. | Glucose measuring module and insulin pump combination |
| US20040254433A1 (en) | 2003-06-12 | 2004-12-16 | Bandis Steven D. | Sensor introducer system, apparatus and method |
| EP1635700B1 (en) | 2003-06-13 | 2016-03-09 | Sanofi-Aventis Deutschland GmbH | Apparatus for a point of care device |
| US7364699B2 (en) * | 2003-06-18 | 2008-04-29 | Bayer Healthcare Llc | Containers for reading and handling diagnostic reagents and methods of using the same |
| US7155290B2 (en) | 2003-06-23 | 2006-12-26 | Cardiac Pacemakers, Inc. | Secure long-range telemetry for implantable medical device |
| JP4041018B2 (en) | 2003-06-25 | 2008-01-30 | Tdk株式会社 | Temperature sensor |
| US7510564B2 (en) | 2003-06-27 | 2009-03-31 | Abbott Diabetes Care Inc. | Lancing device |
| US7242981B2 (en) * | 2003-06-30 | 2007-07-10 | Codman Neuro Sciences Sárl | System and method for controlling an implantable medical device subject to magnetic field or radio frequency exposure |
| US7722536B2 (en) | 2003-07-15 | 2010-05-25 | Abbott Diabetes Care Inc. | Glucose measuring device integrated into a holster for a personal area network device |
| US20050176136A1 (en) | 2003-11-19 | 2005-08-11 | Dexcom, Inc. | Afinity domain for analyte sensor |
| EP1649260A4 (en) | 2003-07-25 | 2010-07-07 | Dexcom Inc | Electrode systems for electrochemical sensors |
| WO2007120442A2 (en) | 2003-07-25 | 2007-10-25 | Dexcom, Inc. | Dual electrode system for a continuous analyte sensor |
| US8423113B2 (en) | 2003-07-25 | 2013-04-16 | Dexcom, Inc. | Systems and methods for processing sensor data |
| US7460898B2 (en) | 2003-12-05 | 2008-12-02 | Dexcom, Inc. | Dual electrode system for a continuous analyte sensor |
| US7651596B2 (en) * | 2005-04-08 | 2010-01-26 | Dexcom, Inc. | Cellulosic-based interference domain for an analyte sensor |
| US20070173709A1 (en) | 2005-04-08 | 2007-07-26 | Petisce James R | Membranes for an analyte sensor |
| US7467003B2 (en) | 2003-12-05 | 2008-12-16 | Dexcom, Inc. | Dual electrode system for a continuous analyte sensor |
| JP4708342B2 (en) | 2003-07-25 | 2011-06-22 | デックスコム・インコーポレーテッド | Oxygen augmentation membrane system for use in implantable devices |
| US7424318B2 (en) | 2003-12-05 | 2008-09-09 | Dexcom, Inc. | Dual electrode system for a continuous analyte sensor |
| WO2005019795A2 (en) | 2003-07-25 | 2005-03-03 | Dexcom, Inc. | Electrochemical sensors including electrode systems with increased oxygen generation |
| US7366556B2 (en) | 2003-12-05 | 2008-04-29 | Dexcom, Inc. | Dual electrode system for a continuous analyte sensor |
| US8626257B2 (en) | 2003-08-01 | 2014-01-07 | Dexcom, Inc. | Analyte sensor |
| US8369919B2 (en) | 2003-08-01 | 2013-02-05 | Dexcom, Inc. | Systems and methods for processing sensor data |
| US20100168657A1 (en) | 2003-08-01 | 2010-07-01 | Dexcom, Inc. | System and methods for processing analyte sensor data |
| US7519408B2 (en) | 2003-11-19 | 2009-04-14 | Dexcom, Inc. | Integrated receiver for continuous analyte sensor |
| US7591801B2 (en) | 2004-02-26 | 2009-09-22 | Dexcom, Inc. | Integrated delivery device for continuous glucose sensor |
| US7925321B2 (en) | 2003-08-01 | 2011-04-12 | Dexcom, Inc. | System and methods for processing analyte sensor data |
| US8845536B2 (en) | 2003-08-01 | 2014-09-30 | Dexcom, Inc. | Transcutaneous analyte sensor |
| US7774145B2 (en) | 2003-08-01 | 2010-08-10 | Dexcom, Inc. | Transcutaneous analyte sensor |
| US8275437B2 (en) | 2003-08-01 | 2012-09-25 | Dexcom, Inc. | Transcutaneous analyte sensor |
| US9135402B2 (en) | 2007-12-17 | 2015-09-15 | Dexcom, Inc. | Systems and methods for processing sensor data |
| EP1502613A1 (en) | 2003-08-01 | 2005-02-02 | Novo Nordisk A/S | Needle device with retraction means |
| US7494465B2 (en) * | 2004-07-13 | 2009-02-24 | Dexcom, Inc. | Transcutaneous analyte sensor |
| US8060173B2 (en) | 2003-08-01 | 2011-11-15 | Dexcom, Inc. | System and methods for processing analyte sensor data |
| US8886273B2 (en) | 2003-08-01 | 2014-11-11 | Dexcom, Inc. | Analyte sensor |
| DE10336933B4 (en) | 2003-08-07 | 2007-04-26 | Roche Diagnostics Gmbh | Blood Collection system |
| US20050038331A1 (en) | 2003-08-14 | 2005-02-17 | Grayson Silaski | Insertable sensor assembly having a coupled inductor communicative system |
| US7920906B2 (en) | 2005-03-10 | 2011-04-05 | Dexcom, Inc. | System and methods for processing analyte sensor data for sensor calibration |
| US7097637B2 (en) | 2003-08-27 | 2006-08-29 | C. R. Bard, Inc. | Safety needle with positive flush |
| AU2004317007A1 (en) | 2003-09-03 | 2005-09-15 | Life Patch International, Inc. | Personal diagnostic devices and related methods |
| EP1662987B1 (en) | 2003-09-11 | 2011-11-09 | Theranos, Inc. | Medical device for analyte monitoring and drug delivery |
| JP4356088B2 (en) | 2003-09-26 | 2009-11-04 | 日本光電工業株式会社 | Telemeter system for multi-channel biological signals |
| DE602004026763D1 (en) | 2003-09-30 | 2010-06-02 | Roche Diagnostics Gmbh | SENSOR WITH IMPROVED BIOKOMPATIBILITY |
| US7203549B2 (en) | 2003-10-02 | 2007-04-10 | Medtronic, Inc. | Medical device programmer with internal antenna and display |
| US8140168B2 (en) | 2003-10-02 | 2012-03-20 | Medtronic, Inc. | External power source for an implantable medical device having an adjustable carrier frequency and system and method related therefore |
| US7148803B2 (en) | 2003-10-24 | 2006-12-12 | Symbol Technologies, Inc. | Radio frequency identification (RFID) based sensor networks |
| US20050090725A1 (en) | 2003-10-28 | 2005-04-28 | Joseph Page | Disposable couplings for biometric instruments |
| US20050090607A1 (en) | 2003-10-28 | 2005-04-28 | Dexcom, Inc. | Silicone composition for biocompatible membrane |
| WO2005045744A1 (en) | 2003-10-29 | 2005-05-19 | Innovision Research & Technology Plc | Rfid apparatus |
| US6928380B2 (en) | 2003-10-30 | 2005-08-09 | International Business Machines Corporation | Thermal measurements of electronic devices during operation |
| US7299082B2 (en) | 2003-10-31 | 2007-11-20 | Abbott Diabetes Care, Inc. | Method of calibrating an analyte-measurement device, and associated methods, devices and systems |
| WO2005046559A2 (en) | 2003-11-06 | 2005-05-26 | Lifescan, Inc. | Drug delivery pen with event notification means |
| US7419573B2 (en) | 2003-11-06 | 2008-09-02 | 3M Innovative Properties Company | Circuit for electrochemical sensor strip |
| US7699807B2 (en) | 2003-11-10 | 2010-04-20 | Smiths Medical Asd, Inc. | Device and method for insertion of a cannula of an infusion device |
| US7731691B2 (en) | 2003-11-10 | 2010-06-08 | Smiths Medical Asd, Inc. | Subcutaneous infusion device and device for insertion of a cannula of an infusion device and method |
| JP2007510524A (en) | 2003-11-12 | 2007-04-26 | ファセット・テクノロジーズ・エルエルシー | Puncture device and multi-lancet cartridge |
| DE602004028649D1 (en) | 2003-11-13 | 2010-09-23 | Medtronic Minimed Inc | LONG-TERM ARRANGEMENT ANALYTENSENSOR |
| EP1713379A4 (en) | 2003-11-18 | 2009-09-02 | Alive Technologies Pty Ltd | The monitoring of vital signs and performance levels |
| US8615282B2 (en) | 2004-07-13 | 2013-12-24 | Dexcom, Inc. | Analyte sensor |
| WO2005051444A2 (en) | 2003-11-20 | 2005-06-09 | Angiotech International Ag | Soft tissue implants and anti-scarring agents |
| US20050113886A1 (en) | 2003-11-24 | 2005-05-26 | Fischell David R. | Implantable medical system with long range telemetry |
| FR2863175A1 (en) | 2003-12-03 | 2005-06-10 | Ela Medical Sa | ACTIVE IMPLANTABLE MEDICAL DEVICE WITH HOLTER RECORDING FUNCTIONS |
| US8425417B2 (en) | 2003-12-05 | 2013-04-23 | Dexcom, Inc. | Integrated device for continuous in vivo analyte detection and simultaneous control of an infusion device |
| US8364231B2 (en) | 2006-10-04 | 2013-01-29 | Dexcom, Inc. | Analyte sensor |
| US8774886B2 (en) | 2006-10-04 | 2014-07-08 | Dexcom, Inc. | Analyte sensor |
| US8423114B2 (en) | 2006-10-04 | 2013-04-16 | Dexcom, Inc. | Dual electrode system for a continuous analyte sensor |
| EP2239566B1 (en) | 2003-12-05 | 2014-04-23 | DexCom, Inc. | Calibration techniques for a continuous analyte sensor |
| US20080197024A1 (en) | 2003-12-05 | 2008-08-21 | Dexcom, Inc. | Analyte sensor |
| US8364230B2 (en) | 2006-10-04 | 2013-01-29 | Dexcom, Inc. | Analyte sensor |
| US8287453B2 (en) | 2003-12-05 | 2012-10-16 | Dexcom, Inc. | Analyte sensor |
| US20100185071A1 (en) | 2003-12-05 | 2010-07-22 | Dexcom, Inc. | Dual electrode system for a continuous analyte sensor |
| US20080200788A1 (en) | 2006-10-04 | 2008-08-21 | Dexcorn, Inc. | Analyte sensor |
| US8425416B2 (en) | 2006-10-04 | 2013-04-23 | Dexcom, Inc. | Analyte sensor |
| EP1711802B1 (en) | 2003-12-08 | 2010-07-14 | DexCom, Inc. | Systems and methods for improving electrochemical analyte sensors |
| EP2301428B1 (en) | 2003-12-09 | 2016-11-30 | Dexcom, Inc. | Signal processing for continuous analyte sensor |
| US7763042B2 (en) | 2003-12-16 | 2010-07-27 | Panasonic Corporation | Lancet for blood collection and puncture needle unit |
| WO2005058154A1 (en) | 2003-12-16 | 2005-06-30 | Medeikon Corporation | Method for monitoring of analytes in biological samples using low coherence interferometry |
| US7384397B2 (en) | 2003-12-30 | 2008-06-10 | Medtronic Minimed, Inc. | System and method for sensor recalibration |
| US7822454B1 (en) | 2005-01-03 | 2010-10-26 | Pelikan Technologies, Inc. | Fluid sampling device with improved analyte detecting member configuration |
| GB2409951A (en) | 2004-01-08 | 2005-07-13 | Remote Diagnostic Technologies | Wireless local area network of medical sensors |
| US7637868B2 (en) | 2004-01-12 | 2009-12-29 | Dexcom, Inc. | Composite material for implantable device |
| JP4250169B2 (en) | 2004-01-16 | 2009-04-08 | 株式会社トップ | Indwelling needle |
| CN1910600B (en) | 2004-01-23 | 2011-12-14 | 株式会社半导体能源研究所 | ID label, ID card, and ID tag |
| DK1709750T3 (en) | 2004-01-27 | 2014-05-12 | Altivera L L C | DIAGNOSTIC RADIO FREQUENCY IDENTIFICATION SENSORS AND APPLICATIONS THEREOF |
| JP4526827B2 (en) | 2004-02-03 | 2010-08-18 | オムロンヘルスケア株式会社 | Electronic blood pressure monitor |
| US8465696B2 (en) | 2004-02-03 | 2013-06-18 | Polymer Technology Systems, Inc. | Dry test strip with controlled flow and method of manufacturing same |
| US8165651B2 (en) | 2004-02-09 | 2012-04-24 | Abbott Diabetes Care Inc. | Analyte sensor, and associated system and method employing a catalytic agent |
| US7699964B2 (en) | 2004-02-09 | 2010-04-20 | Abbott Diabetes Care Inc. | Membrane suitable for use in an analyte sensor, analyte sensor, and associated method |
| WO2005079257A2 (en) | 2004-02-12 | 2005-09-01 | Dexcom, Inc. | Biointerface with macro- and micro- architecture |
| WO2005089103A2 (en) | 2004-02-17 | 2005-09-29 | Therasense, Inc. | Method and system for providing data communication in continuous glucose monitoring and management system |
| US20060154642A1 (en) | 2004-02-20 | 2006-07-13 | Scannell Robert F Jr | Medication & health, environmental, and security monitoring, alert, intervention, information and network system with associated and supporting apparatuses |
| JP2007526807A (en) | 2004-02-23 | 2007-09-20 | エシコン・インコーポレイテッド | Diagnostic test equipment |
| JP3590053B1 (en) | 2004-02-24 | 2004-11-17 | 株式会社日立製作所 | Blood glucose measurement device |
| US20050197554A1 (en) | 2004-02-26 | 2005-09-08 | Michael Polcha | Composite thin-film glucose sensor |
| US8808228B2 (en) | 2004-02-26 | 2014-08-19 | Dexcom, Inc. | Integrated medicament delivery device for use with continuous analyte sensor |
| CA2558437C (en) | 2004-03-02 | 2010-09-14 | Facet Technologies, Llc | Compact multi-use lancing device |
| DE102004011135A1 (en) | 2004-03-08 | 2005-09-29 | Disetronic Licensing Ag | Method and apparatus for calculating a bolus amount |
| US7228182B2 (en) | 2004-03-15 | 2007-06-05 | Cardiac Pacemakers, Inc. | Cryptographic authentication for telemetry with an implantable medical device |
| US7831828B2 (en) | 2004-03-15 | 2010-11-09 | Cardiac Pacemakers, Inc. | System and method for securely authenticating a data exchange session with an implantable medical device |
| GB0405798D0 (en) | 2004-03-15 | 2004-04-21 | E San Ltd | Medical data display |
| CA2560323C (en) | 2004-03-22 | 2014-01-07 | Bodymedia, Inc. | Non-invasive temperature monitoring device |
| JP2007535974A (en) | 2004-03-26 | 2007-12-13 | ノボ・ノルデイスク・エー/エス | Display device for related data of diabetic patients |
| US20050221504A1 (en) | 2004-04-01 | 2005-10-06 | Petruno Patrick T | Optoelectronic rapid diagnostic test system |
| US6971274B2 (en) | 2004-04-02 | 2005-12-06 | Sierra Instruments, Inc. | Immersible thermal mass flow meter |
| US20050222518A1 (en) | 2004-04-06 | 2005-10-06 | Genocell, Llc | Biopsy and injection catheters |
| US20060009727A1 (en) * | 2004-04-08 | 2006-01-12 | Chf Solutions Inc. | Method and apparatus for an extracorporeal control of blood glucose |
| US7324850B2 (en) * | 2004-04-29 | 2008-01-29 | Cardiac Pacemakers, Inc. | Method and apparatus for communication between a handheld programmer and an implantable medical device |
| BRPI0510550A (en) | 2004-05-03 | 2007-11-20 | Ams Res Corp | surgical implant, surgical kit, method for forming or assembling a surgical implant, insertion mold, apparatus, and method for producing a surgical implant |
| US9101302B2 (en) | 2004-05-03 | 2015-08-11 | Abbott Diabetes Care Inc. | Analyte test device |
| US8277713B2 (en) | 2004-05-03 | 2012-10-02 | Dexcom, Inc. | Implantable analyte sensor |
| US8792955B2 (en) | 2004-05-03 | 2014-07-29 | Dexcom, Inc. | Transcutaneous analyte sensor |
| US20050245799A1 (en) | 2004-05-03 | 2005-11-03 | Dexcom, Inc. | Implantable analyte sensor |
| US7333013B2 (en) | 2004-05-07 | 2008-02-19 | Berger J Lee | Medical implant device with RFID tag and method of identification of device |
| US9380975B2 (en) | 2004-05-07 | 2016-07-05 | Becton, Dickinson And Company | Contact activated lancet device |
| US7727147B1 (en) | 2004-05-14 | 2010-06-01 | Flint Hills Scientific Llc | Method and system for implantable glucose monitoring and control of a glycemic state of a subject |
| US7241266B2 (en) | 2004-05-20 | 2007-07-10 | Digital Angel Corporation | Transducer for embedded bio-sensor using body energy as a power source |
| AU2005327211A1 (en) | 2004-06-01 | 2006-08-17 | Microchips, Inc. | Devices and methods for measuring and enhancing drug or analyte transport to/from medical implant |
| US7118667B2 (en) | 2004-06-02 | 2006-10-10 | Jin Po Lee | Biosensors having improved sample application and uses thereof |
| WO2005119524A2 (en) * | 2004-06-04 | 2005-12-15 | Therasense, Inc. | Diabetes care host-client architecture and data management system |
| US7289855B2 (en) * | 2004-06-09 | 2007-10-30 | Medtronic, Inc. | Implantable medical device package antenna |
| US7239918B2 (en) | 2004-06-10 | 2007-07-03 | Ndi Medical Inc. | Implantable pulse generator for providing functional and/or therapeutic stimulation of muscles and/or nerves and/or central nervous system tissue |
| US20070100222A1 (en) | 2004-06-14 | 2007-05-03 | Metronic Minimed, Inc. | Analyte sensing apparatus for hospital use |
| US7299081B2 (en) | 2004-06-15 | 2007-11-20 | Abbott Laboratories | Analyte test device |
| US7585287B2 (en) | 2004-06-16 | 2009-09-08 | Smiths Medical Md, Inc. | Device and method for insertion of a cannula of an infusion device |
| US7457669B2 (en) | 2004-06-17 | 2008-11-25 | Cardiac Pacemakers, Inc. | On-demand retransmission of data with an implantable medical device |
| US7519430B2 (en) | 2004-06-17 | 2009-04-14 | Cardiac Pacemakers, Inc. | Dynamic telemetry encoding for an implantable medical device |
| TW200617389A (en) * | 2004-06-17 | 2006-06-01 | Bayer Healthcare Llc | Sensor-dispensing instrument and method of using the same |
| US7565197B2 (en) | 2004-06-18 | 2009-07-21 | Medtronic, Inc. | Conditional requirements for remote medical device programming |
| PL1765288T3 (en) | 2004-06-18 | 2013-04-30 | Novartis Ag | Tobramycin formualtions for treatment of endobronchial infections |
| US7556723B2 (en) | 2004-06-18 | 2009-07-07 | Roche Diagnostics Operations, Inc. | Electrode design for biosensor |
| US7623988B2 (en) * | 2004-06-23 | 2009-11-24 | Cybiocare Inc. | Method and apparatus for the monitoring of clinical states |
| DE102004031092A1 (en) | 2004-06-28 | 2006-01-12 | Giesecke & Devrient Gmbh | transponder unit |
| US20060001551A1 (en) | 2004-06-30 | 2006-01-05 | Ulrich Kraft | Analyte monitoring system with wireless alarm |
| US7462191B2 (en) * | 2004-06-30 | 2008-12-09 | Edwards Lifesciences Pvt, Inc. | Device and method for assisting in the implantation of a prosthetic valve |
| US20060001538A1 (en) | 2004-06-30 | 2006-01-05 | Ulrich Kraft | Methods of monitoring the concentration of an analyte |
| US8343074B2 (en) | 2004-06-30 | 2013-01-01 | Lifescan Scotland Limited | Fluid handling devices |
| AU2005258784A1 (en) | 2004-07-01 | 2006-01-12 | Powerid Ltd. | Battery-assisted backscatter RFID transponder |
| US20060015020A1 (en) * | 2004-07-06 | 2006-01-19 | Dexcom, Inc. | Systems and methods for manufacture of an analyte-measuring device including a membrane system |
| US8452368B2 (en) | 2004-07-13 | 2013-05-28 | Dexcom, Inc. | Transcutaneous analyte sensor |
| US20070045902A1 (en) | 2004-07-13 | 2007-03-01 | Brauker James H | Analyte sensor |
| US9414777B2 (en) * | 2004-07-13 | 2016-08-16 | Dexcom, Inc. | Transcutaneous analyte sensor |
| US20080242961A1 (en) | 2004-07-13 | 2008-10-02 | Dexcom, Inc. | Transcutaneous analyte sensor |
| US8565848B2 (en) | 2004-07-13 | 2013-10-22 | Dexcom, Inc. | Transcutaneous analyte sensor |
| EP2335581A1 (en) | 2004-07-13 | 2011-06-22 | DexCom, Inc. | Transcutaneous analyte sensor |
| US7783333B2 (en) | 2004-07-13 | 2010-08-24 | Dexcom, Inc. | Transcutaneous medical device with variable stiffness |
| JP2006028398A (en) | 2004-07-20 | 2006-02-02 | Nichias Corp | Sheet-like gasket and manufacturing method thereof |
| US7344500B2 (en) | 2004-07-27 | 2008-03-18 | Medtronic Minimed, Inc. | Sensing system with auxiliary display |
| US8313433B2 (en) | 2004-08-06 | 2012-11-20 | Medtronic Minimed, Inc. | Medical data management system and process |
| EP1781164A1 (en) | 2004-08-10 | 2007-05-09 | Novo Nordisk A/S | A method of forming a sterilised sensor package and a sterilised sensor package |
| WO2006026748A1 (en) | 2004-08-31 | 2006-03-09 | Lifescan Scotland Limited | Method of manufacturing an auto-calibrating sensor |
| WO2006029090A2 (en) | 2004-09-02 | 2006-03-16 | Proteus Biomedical, Inc. | Methods and apparatus for tissue activation and monitoring |
| WO2006024671A1 (en) | 2004-09-03 | 2006-03-09 | Novo Nordisk A/S | A method of calibrating a system for measuring the concentration of substances in body and an apparatus for exercising the method |
| US7468033B2 (en) | 2004-09-08 | 2008-12-23 | Medtronic Minimed, Inc. | Blood contacting sensor |
| US8211038B2 (en) | 2004-09-17 | 2012-07-03 | Abbott Diabetes Care Inc. | Multiple-biosensor article |
| CN101027674A (en) | 2004-09-23 | 2007-08-29 | 诺和诺德公司 | Device for self-care support |
| DE102004048864A1 (en) | 2004-10-07 | 2006-04-13 | Roche Diagnostics Gmbh | Analytical test element with wireless data transmission |
| EP1827208A2 (en) | 2004-10-18 | 2007-09-05 | Novo Nordisk A/S | A sensor film for transcutaneous insertion and a method for making the sensor film |
| DE602005025246D1 (en) | 2004-11-02 | 2011-01-20 | Medtronic Inc | Device for data retention in an implantable medical device |
| US7408132B2 (en) | 2004-11-08 | 2008-08-05 | Rrc Power Solutions Gmbh | Temperature sensor for power supply |
| CA2587912A1 (en) | 2004-11-19 | 2006-05-26 | Sensormatic Electronics Corporation | Technique and hardware for communicating with backscatter radio frequency identification readers |
| US7237712B2 (en) | 2004-12-01 | 2007-07-03 | Alfred E. Mann Foundation For Scientific Research | Implantable device and communication integrated circuit implementable therein |
| US20090048563A1 (en) | 2004-12-06 | 2009-02-19 | Novo Nordisk A/S | Ventilated Skin Mountable Device |
| DE102004059491B4 (en) | 2004-12-10 | 2008-11-06 | Roche Diagnostics Gmbh | Lancet device for creating a puncture wound and lancet drive assembly |
| EP1827214B1 (en) | 2004-12-13 | 2012-02-15 | Koninklijke Philips Electronics N.V. | Mobile monitoring |
| US7461192B2 (en) | 2004-12-15 | 2008-12-02 | Rambus Inc. | Interface for bridging out-of-band information and preventing false presence detection of terminating devices |
| US7568619B2 (en) | 2004-12-15 | 2009-08-04 | Alcon, Inc. | System and method for identifying and controlling ophthalmic surgical devices and components |
| US20070027381A1 (en) | 2005-07-29 | 2007-02-01 | Therasense, Inc. | Inserter and methods of use |
| US8512243B2 (en) | 2005-09-30 | 2013-08-20 | Abbott Diabetes Care Inc. | Integrated introducer and transmitter assembly and methods of use |
| US7697967B2 (en) | 2005-12-28 | 2010-04-13 | Abbott Diabetes Care Inc. | Method and apparatus for providing analyte sensor insertion |
| US9572534B2 (en) | 2010-06-29 | 2017-02-21 | Abbott Diabetes Care Inc. | Devices, systems and methods for on-skin or on-body mounting of medical devices |
| US9398882B2 (en) | 2005-09-30 | 2016-07-26 | Abbott Diabetes Care Inc. | Method and apparatus for providing analyte sensor and data processing device |
| US8029441B2 (en) | 2006-02-28 | 2011-10-04 | Abbott Diabetes Care Inc. | Analyte sensor transmitter unit configuration for a data monitoring and management system |
| US20090082693A1 (en) | 2004-12-29 | 2009-03-26 | Therasense, Inc. | Method and apparatus for providing temperature sensor module in a data communication system |
| JP5134372B2 (en) | 2004-12-29 | 2013-01-30 | ライフスキャン・スコットランド・リミテッド | Method for entering data into an analyte testing device |
| US7731657B2 (en) | 2005-08-30 | 2010-06-08 | Abbott Diabetes Care Inc. | Analyte sensor introducer and methods of use |
| US20110054275A1 (en) | 2009-08-31 | 2011-03-03 | Abbott Diabetes Care Inc. | Mounting Unit Having a Sensor and Associated Circuitry |
| US9636450B2 (en) | 2007-02-19 | 2017-05-02 | Udo Hoss | Pump system modular components for delivering medication and analyte sensing at seperate insertion sites |
| US8571624B2 (en) | 2004-12-29 | 2013-10-29 | Abbott Diabetes Care Inc. | Method and apparatus for mounting a data transmission device in a communication system |
| US8545403B2 (en) | 2005-12-28 | 2013-10-01 | Abbott Diabetes Care Inc. | Medical device insertion |
| US8333714B2 (en) | 2006-09-10 | 2012-12-18 | Abbott Diabetes Care Inc. | Method and system for providing an integrated analyte sensor insertion device and data processing unit |
| US9788771B2 (en) | 2006-10-23 | 2017-10-17 | Abbott Diabetes Care Inc. | Variable speed sensor insertion devices and methods of use |
| US7883464B2 (en) | 2005-09-30 | 2011-02-08 | Abbott Diabetes Care Inc. | Integrated transmitter unit and sensor introducer mechanism and methods of use |
| US20090105569A1 (en) | 2006-04-28 | 2009-04-23 | Abbott Diabetes Care, Inc. | Introducer Assembly and Methods of Use |
| US9259175B2 (en) | 2006-10-23 | 2016-02-16 | Abbott Diabetes Care, Inc. | Flexible patch for fluid delivery and monitoring body analytes |
| US7470237B2 (en) | 2005-01-10 | 2008-12-30 | Ethicon Endo-Surgery, Inc. | Biopsy instrument with improved needle penetration |
| US20090076451A1 (en) | 2005-01-24 | 2009-03-19 | Nova Nordisk A/S | Medical Device with Protected Transcutaneous Device |
| US20060166629A1 (en) | 2005-01-24 | 2006-07-27 | Therasense, Inc. | Method and apparatus for providing EMC Class-B compliant RF transmitter for data monitoring an detection systems |
| US20060173260A1 (en) | 2005-01-31 | 2006-08-03 | Gmms Ltd | System, device and method for diabetes treatment and monitoring |
| US7547281B2 (en) | 2005-02-01 | 2009-06-16 | Medtronic Minimed, Inc. | Algorithm sensor augmented bolus estimator for semi-closed loop infusion system |
| US7545272B2 (en) | 2005-02-08 | 2009-06-09 | Therasense, Inc. | RF tag on test strips, test strip vials and boxes |
| KR100638727B1 (en) | 2005-02-28 | 2006-10-30 | 삼성전기주식회사 | Zigbee and Bluetooth combined transceiver |
| EP1698279A1 (en) | 2005-03-04 | 2006-09-06 | Disetronic Licensing AG | Sequential insertion of main-penetrators |
| JP5086235B2 (en) | 2005-03-09 | 2012-11-28 | クティセンセ アクティーゼルスカブ | Three-dimensional adhesive device with embedded microelectronic system |
| CN101163440B (en) * | 2005-03-09 | 2010-06-16 | 库蒂森斯股份公司 | Three-dimensional adhesive device with embedded microelectronic system |
| US8133178B2 (en) | 2006-02-22 | 2012-03-13 | Dexcom, Inc. | Analyte sensor |
| US20090076360A1 (en) | 2007-09-13 | 2009-03-19 | Dexcom, Inc. | Transcutaneous analyte sensor |
| US20060202805A1 (en) | 2005-03-14 | 2006-09-14 | Alfred E. Mann Foundation For Scientific Research | Wireless acquisition and monitoring system |
| JP2008538024A (en) | 2005-03-15 | 2008-10-02 | エンテロス・インコーポレーテッド | Apparatus and method for computer modeling of type 1 diabetes |
| CN101180093B (en) | 2005-03-21 | 2012-07-18 | 雅培糖尿病护理公司 | Method and system for providing integrated medication infusion and analyte monitoring system |
| JP2006280464A (en) | 2005-03-31 | 2006-10-19 | Semiconductor Energy Lab Co Ltd | Biological information detecting apparatus, health care apparatus, health care assisting system using them, and health care assisting method |
| US7889069B2 (en) | 2005-04-01 | 2011-02-15 | Codman & Shurtleff, Inc. | Wireless patient monitoring system |
| PL1865859T3 (en) | 2005-04-07 | 2012-07-31 | Becton Dickinson Co | Lancet device |
| JP4718882B2 (en) | 2005-04-08 | 2011-07-06 | 株式会社日立製作所 | Sensor node |
| WO2006108809A1 (en) | 2005-04-13 | 2006-10-19 | Novo Nordisk A/S | Medical skin mountable device and system |
| US8060174B2 (en) | 2005-04-15 | 2011-11-15 | Dexcom, Inc. | Analyte sensing biointerface |
| US7270633B1 (en) | 2005-04-22 | 2007-09-18 | Cardiac Pacemakers, Inc. | Ambulatory repeater for use in automated patient care and method thereof |
| GB2425601B (en) | 2005-04-26 | 2008-01-30 | Bio Nano Sensium Technologies | Sensor configuration |
| DE102005019306B4 (en) | 2005-04-26 | 2011-09-01 | Disetronic Licensing Ag | Energy-optimized data transmission of a medical device |
| US8112240B2 (en) | 2005-04-29 | 2012-02-07 | Abbott Diabetes Care Inc. | Method and apparatus for providing leak detection in data monitoring and management systems |
| US8700157B2 (en) | 2005-04-29 | 2014-04-15 | Medtronic, Inc. | Telemetry head programmer for implantable medical device and system and method |
| US7467065B2 (en) | 2005-05-02 | 2008-12-16 | Home Diagnostics, Inc. | Computer interface for diagnostic meter |
| US7905868B2 (en) | 2006-08-23 | 2011-03-15 | Medtronic Minimed, Inc. | Infusion medium delivery device and method with drive device for driving plunger in reservoir |
| US7641649B2 (en) * | 2005-05-06 | 2010-01-05 | Medtronic Minimed, Inc. | Reservoir support and method for infusion device |
| US20060253085A1 (en) | 2005-05-06 | 2006-11-09 | Medtronic Minimed, Inc. | Dual insertion set |
| US7604178B2 (en) | 2005-05-11 | 2009-10-20 | Intelleflex Corporation | Smart tag activation |
| EP1881786B1 (en) | 2005-05-13 | 2017-11-15 | Trustees of Boston University | Fully automated control system for type 1 diabetes |
| US7541935B2 (en) | 2005-05-19 | 2009-06-02 | Proacticare Llc | System and methods for monitoring caregiver performance |
| US20060272652A1 (en) | 2005-06-03 | 2006-12-07 | Medtronic Minimed, Inc. | Virtual patient software system for educating and treating individuals with diabetes |
| US20070033074A1 (en) | 2005-06-03 | 2007-02-08 | Medtronic Minimed, Inc. | Therapy management system |
| US20080071580A1 (en) | 2005-06-03 | 2008-03-20 | Marcus Alan O | System and method for medical evaluation and monitoring |
| US7387607B2 (en) | 2005-06-06 | 2008-06-17 | Intel Corporation | Wireless medical sensor system |
| JP4240007B2 (en) | 2005-06-06 | 2009-03-18 | ニプロ株式会社 | Telemedicine system |
| US20060276771A1 (en) | 2005-06-06 | 2006-12-07 | Galley Paul J | System and method providing for user intervention in a diabetes control arrangement |
| WO2006133305A2 (en) | 2005-06-08 | 2006-12-14 | Sensors For Medicine And Science, Inc. | Insertion device and method |
| EP1733676B1 (en) | 2005-06-17 | 2012-08-01 | F. Hoffmann-La Roche AG | Sensor system, arrangement and method for monitoring a compound, in particular glucose in body tissue. |
| US20070016449A1 (en) | 2005-06-29 | 2007-01-18 | Gary Cohen | Flexible glucose analysis using varying time report deltas and configurable glucose target ranges |
| WO2007008646A2 (en) | 2005-07-12 | 2007-01-18 | Massachusetts Institute Of Technology | Wireless non-radiative energy transfer |
| WO2007007459A1 (en) | 2005-07-12 | 2007-01-18 | Omron Healthcare Co., Ltd. | Biochemical measuring instrument for measuring information about component of living body accurately |
| US7413124B2 (en) * | 2005-07-19 | 2008-08-19 | 3M Innovative Properties Company | RFID reader supporting one-touch search functionality |
| TWI417543B (en) | 2005-08-05 | 2013-12-01 | Bayer Healthcare Llc | Meters and method of using meters having a multi-level user interface with predefined levels of user features |
| US20070111196A1 (en) | 2005-08-19 | 2007-05-17 | Javier Alarcon | Sterilization of Biosensors |
| EP1758039A1 (en) | 2005-08-27 | 2007-02-28 | Roche Diagnostics GmbH | Communication adaptor for portable medical or therapeutical devices |
| US20070060801A1 (en) | 2005-08-31 | 2007-03-15 | Isense Corporation | Transcutaneous introducer assembly |
| CA2621556A1 (en) | 2005-09-09 | 2007-03-15 | Matthias Essenpreis | A system, tools, devices and a program for diabetes care |
| US8298389B2 (en) | 2005-09-12 | 2012-10-30 | Abbott Diabetes Care Inc. | In vitro analyte sensor, and methods |
| DE502005011091D1 (en) | 2005-09-15 | 2011-04-21 | Roche Diagnostics Gmbh | System consisting of insertion head and inserter |
| DE502005009907D1 (en) | 2005-09-15 | 2010-08-26 | Roche Diagnostics Gmbh | Insertion head with handle |
| US7725148B2 (en) | 2005-09-23 | 2010-05-25 | Medtronic Minimed, Inc. | Sensor with layered electrodes |
| US9072476B2 (en) * | 2005-09-23 | 2015-07-07 | Medtronic Minimed, Inc. | Flexible sensor apparatus |
| US7846311B2 (en) | 2005-09-27 | 2010-12-07 | Abbott Diabetes Care Inc. | In vitro analyte sensor and methods of use |
| US7761165B1 (en) | 2005-09-29 | 2010-07-20 | Boston Scientific Neuromodulation Corporation | Implantable stimulator with integrated plastic housing/metal contacts and manufacture and use |
| US9521968B2 (en) | 2005-09-30 | 2016-12-20 | Abbott Diabetes Care Inc. | Analyte sensor retention mechanism and methods of use |
| US7756561B2 (en) * | 2005-09-30 | 2010-07-13 | Abbott Diabetes Care Inc. | Method and apparatus for providing rechargeable power in data monitoring and management systems |
| US8880138B2 (en) | 2005-09-30 | 2014-11-04 | Abbott Diabetes Care Inc. | Device for channeling fluid and methods of use |
| US7550053B2 (en) | 2006-01-26 | 2009-06-23 | Ilh, Llc | Catheters with lubricious linings and methods for making and using them |
| IL178557A0 (en) | 2005-10-19 | 2007-02-11 | Animas Corp | Safety infusion set |
| US7701052B2 (en) | 2005-10-21 | 2010-04-20 | E. I. Du Pont De Nemours And Company | Power core devices |
| US7782193B2 (en) | 2005-10-25 | 2010-08-24 | Cadi Scientific Pte Ltd. | System for measuring and tracking at least one physiological parameter and a measuring device for doing the same |
| US7486977B2 (en) * | 2005-10-27 | 2009-02-03 | Smiths Medical Pm, Inc. | Single use pulse oximeter |
| US20070095661A1 (en) | 2005-10-31 | 2007-05-03 | Yi Wang | Method of making, and, analyte sensor |
| US8182444B2 (en) | 2005-11-04 | 2012-05-22 | Medrad, Inc. | Delivery of agents such as cells to tissue |
| US7766829B2 (en) | 2005-11-04 | 2010-08-03 | Abbott Diabetes Care Inc. | Method and system for providing basal profile modification in analyte monitoring and management systems |
| US8475408B2 (en) | 2005-11-08 | 2013-07-02 | Asante Solutions, Inc. | Infusion pump system |
| US8192394B2 (en) | 2005-11-08 | 2012-06-05 | Asante Solutions, Inc. | Method and system for manual and autonomous control of an infusion pump |
| US20070173706A1 (en) | 2005-11-11 | 2007-07-26 | Isense Corporation | Method and apparatus for insertion of a sensor |
| US7918975B2 (en) | 2005-11-17 | 2011-04-05 | Abbott Diabetes Care Inc. | Analytical sensors for biological fluid |
| WO2007062173A1 (en) | 2005-11-22 | 2007-05-31 | Vocollect Healthcare Systems, Inc. | Advanced diabetes management system (adms) |
| US7922971B2 (en) | 2005-11-30 | 2011-04-12 | Abbott Diabetes Care Inc. | Integrated meter for analyzing biological samples |
| US8815175B2 (en) | 2005-11-30 | 2014-08-26 | Abbott Diabetes Care Inc. | Integrated meter for analyzing biological samples |
| EP1961381A4 (en) | 2005-12-01 | 2011-04-13 | Arkray Inc | Sensor/lancet integrated device and method of collecting body fluid using the same |
| US7963917B2 (en) | 2005-12-05 | 2011-06-21 | Echo Therapeutics, Inc. | System and method for continuous non-invasive glucose monitoring |
| US7941200B2 (en) | 2005-12-08 | 2011-05-10 | Roche Diagnostics Operations, Inc. | System and method for determining drug administration information |
| JP5044115B2 (en) | 2005-12-09 | 2012-10-10 | 佳彦 平尾 | Measuring system, information terminal and program |
| US8947233B2 (en) * | 2005-12-09 | 2015-02-03 | Tego Inc. | Methods and systems of a multiple radio frequency network node RFID tag |
| US7643798B2 (en) | 2005-12-09 | 2010-01-05 | Sony Ericsson Mobile Communications Ab | Passive NFC activation of short distance wireless communication |
| US8160670B2 (en) * | 2005-12-28 | 2012-04-17 | Abbott Diabetes Care Inc. | Analyte monitoring: stabilizer for subcutaneous glucose sensor with incorporated antiglycolytic agent |
| US8515518B2 (en) | 2005-12-28 | 2013-08-20 | Abbott Diabetes Care Inc. | Analyte monitoring |
| US8102789B2 (en) * | 2005-12-29 | 2012-01-24 | Medtronic, Inc. | System and method for synchronous wireless communication with a medical device |
| US20070179349A1 (en) | 2006-01-19 | 2007-08-02 | Hoyme Kenneth P | System and method for providing goal-oriented patient management based upon comparative population data analysis |
| US7574266B2 (en) | 2006-01-19 | 2009-08-11 | Medtronic, Inc. | System and method for telemetry with an implantable medical device |
| WO2007089738A2 (en) | 2006-01-26 | 2007-08-09 | The Regents Of The University Of Michigan | Microelectrode with laterally extending platform for reduction of tissue encapsulation |
| US7736310B2 (en) | 2006-01-30 | 2010-06-15 | Abbott Diabetes Care Inc. | On-body medical device securement |
| US7872574B2 (en) | 2006-02-01 | 2011-01-18 | Innovation Specialists, Llc | Sensory enhancement systems and methods in personal electronic devices |
| CA3148314A1 (en) * | 2006-02-09 | 2007-08-16 | Deka Products Limited Partnership | Peripheral systems |
| DK4282332T3 (en) | 2006-02-22 | 2024-06-24 | Dexcom Inc | ANALYZE SENSOR |
| US7811430B2 (en) | 2006-02-28 | 2010-10-12 | Abbott Diabetes Care Inc. | Biosensors and methods of making |
| US7826879B2 (en) | 2006-02-28 | 2010-11-02 | Abbott Diabetes Care Inc. | Analyte sensors and methods of use |
| US7885698B2 (en) | 2006-02-28 | 2011-02-08 | Abbott Diabetes Care Inc. | Method and system for providing continuous calibration of implantable analyte sensors |
| EP1991110B1 (en) | 2006-03-09 | 2018-11-07 | DexCom, Inc. | Systems and methods for processing analyte sensor data |
| US7576657B2 (en) * | 2006-03-22 | 2009-08-18 | Symbol Technologies, Inc. | Single frequency low power RFID device |
| US7887682B2 (en) | 2006-03-29 | 2011-02-15 | Abbott Diabetes Care Inc. | Analyte sensors and methods of use |
| US8140312B2 (en) | 2007-05-14 | 2012-03-20 | Abbott Diabetes Care Inc. | Method and system for determining analyte levels |
| US7653425B2 (en) * | 2006-08-09 | 2010-01-26 | Abbott Diabetes Care Inc. | Method and system for providing calibration of an analyte sensor in an analyte monitoring system |
| US7618369B2 (en) | 2006-10-02 | 2009-11-17 | Abbott Diabetes Care Inc. | Method and system for dynamically updating calibration parameters for an analyte sensor |
| US8473022B2 (en) | 2008-01-31 | 2013-06-25 | Abbott Diabetes Care Inc. | Analyte sensor with time lag compensation |
| US7620438B2 (en) | 2006-03-31 | 2009-11-17 | Abbott Diabetes Care Inc. | Method and system for powering an electronic device |
| US7801582B2 (en) | 2006-03-31 | 2010-09-21 | Abbott Diabetes Care Inc. | Analyte monitoring and management system and methods therefor |
| US20070233013A1 (en) | 2006-03-31 | 2007-10-04 | Schoenberg Stephen J | Covers for tissue engaging members |
| US9392969B2 (en) | 2008-08-31 | 2016-07-19 | Abbott Diabetes Care Inc. | Closed loop control and signal attenuation detection |
| US7559899B2 (en) | 2006-04-12 | 2009-07-14 | Salutron, Inc. | Power saving techniques for continuous heart rate monitoring |
| WO2007121763A1 (en) | 2006-04-20 | 2007-11-01 | Lifescan Scotland Limited | Method for transmitting data in a blood glucose system and corresponding blood glucose system |
| US7359837B2 (en) | 2006-04-27 | 2008-04-15 | Medtronic, Inc. | Peak data retention of signal data in an implantable medical device |
| US20070253021A1 (en) | 2006-04-28 | 2007-11-01 | Medtronic Minimed, Inc. | Identification of devices in a medical device network and wireless data communication techniques utilizing device identifiers |
| US20070258395A1 (en) | 2006-04-28 | 2007-11-08 | Medtronic Minimed, Inc. | Wireless data communication protocols for a medical device network |
| US20070255126A1 (en) | 2006-04-28 | 2007-11-01 | Moberg Sheldon B | Data communication in networked fluid infusion systems |
| US7942844B2 (en) | 2006-04-28 | 2011-05-17 | Medtronic Minimed, Inc. | Remote monitoring for networked fluid infusion systems |
| BRPI0711105A2 (en) | 2006-05-02 | 2011-08-23 | 3M Innovative Properties Co | telecommunication equipment enclosure monitoring system |
| GB0608829D0 (en) | 2006-05-04 | 2006-06-14 | Husheer Shamus L G | In-situ measurement of physical parameters |
| DE102006023213B3 (en) | 2006-05-17 | 2007-09-27 | Siemens Ag | Sensor operating method, involves detecting recording and evaluation device during order and non-order functions of monitoring device in check mode, and watching occurrence of results in mode by sensor, which automatically leaves mode |
| DE502007000495D1 (en) | 2006-05-19 | 2009-04-23 | Roche Diagnostics Gmbh | Adapter device for adhering a medical device to the skin surface |
| DE102006025485B4 (en) * | 2006-05-30 | 2008-03-20 | Polylc Gmbh & Co. Kg | Antenna arrangement and its use |
| US20090054749A1 (en) | 2006-05-31 | 2009-02-26 | Abbott Diabetes Care, Inc. | Method and System for Providing Data Transmission in a Data Management System |
| US20080064937A1 (en) | 2006-06-07 | 2008-03-13 | Abbott Diabetes Care, Inc. | Analyte monitoring system and method |
| US8439838B2 (en) | 2006-06-07 | 2013-05-14 | Unomedical A/S | Inserter for transcutaneous sensor |
| US8098159B2 (en) * | 2006-06-09 | 2012-01-17 | Intelleflex Corporation | RF device comparing DAC output to incoming signal for selectively performing an action |
| US7796038B2 (en) | 2006-06-12 | 2010-09-14 | Intelleflex Corporation | RFID sensor tag with manual modes and functions |
| US7909842B2 (en) | 2006-06-15 | 2011-03-22 | Abbott Diabetes Care Inc. | Lancing devices having depth adjustment assembly |
| US20080177149A1 (en) | 2006-06-16 | 2008-07-24 | Stefan Weinert | System and method for collecting patient information from which diabetes therapy may be determined |
| WO2008001366A2 (en) | 2006-06-28 | 2008-01-03 | Endo-Rhythm Ltd. | Lifestyle and eating advisor based on physiological and biological rhythm monitoring |
| US20090105560A1 (en) | 2006-06-28 | 2009-04-23 | David Solomon | Lifestyle and eating advisor based on physiological and biological rhythm monitoring |
| US7680469B2 (en) * | 2006-07-06 | 2010-03-16 | Hewlett-Packard Development Company, L.P. | Electronic device power management system and method |
| US20080011971A1 (en) | 2006-07-11 | 2008-01-17 | Jiffy-Tite Co., Inc. | Quick opening drain plug assembly |
| US8114023B2 (en) * | 2006-07-28 | 2012-02-14 | Legacy Emanuel Hospital & Health Center | Analyte sensing and response system |
| US7866026B1 (en) | 2006-08-01 | 2011-01-11 | Abbott Diabetes Care Inc. | Method for making calibration-adjusted sensors |
| CA2659077A1 (en) * | 2006-08-02 | 2008-02-07 | Unomedical A/S | Insertion device |
| GB0616331D0 (en) | 2006-08-16 | 2006-09-27 | Innovision Res & Tech Plc | Near Field RF Communicators And Near Field Communications Enabled Devices |
| US20090256572A1 (en) | 2008-04-14 | 2009-10-15 | Mcdowell Andrew F | Tuning Low-Inductance Coils at Low Frequencies |
| US7682338B2 (en) | 2006-08-23 | 2010-03-23 | Medtronic Minimed, Inc. | Infusion medium delivery system, device and method with needle inserter and needle inserter device and method |
| WO2008022476A1 (en) | 2006-08-24 | 2008-02-28 | F. Hoffmann-La Roche Ag | Insertion device for insertion heads, in particular for infusion sets |
| US8758238B2 (en) | 2006-08-31 | 2014-06-24 | Health Hero Network, Inc. | Health related location awareness |
| US7769456B2 (en) | 2006-09-01 | 2010-08-03 | Cardiac Pacemakers, Inc. | Frequency-agile system for telemetry with implantable device |
| US20080058678A1 (en) | 2006-09-05 | 2008-03-06 | Shinichi Miyata | Kit for the determination of an analyte in a bodily fluid sample that includes a meter with a display-based tutorial module |
| US20080057484A1 (en) | 2006-09-05 | 2008-03-06 | Shinichi Miyata | Event-driven method for tutoring a user in the determination of an analyte in a bodily fluid sample |
| US9056165B2 (en) | 2006-09-06 | 2015-06-16 | Medtronic Minimed, Inc. | Intelligent therapy recommendation algorithm and method of using the same |
| US20080071328A1 (en) | 2006-09-06 | 2008-03-20 | Medtronic, Inc. | Initiating medical system communications |
| US8234706B2 (en) | 2006-09-08 | 2012-07-31 | Microsoft Corporation | Enabling access to aggregated software security information |
| US7696941B2 (en) * | 2006-09-11 | 2010-04-13 | Elster Electricity, Llc | Printed circuit notch antenna |
| DE102006043484B4 (en) | 2006-09-15 | 2019-11-28 | Infineon Technologies Ag | Fuse structure and method for producing the same |
| US7779332B2 (en) | 2006-09-25 | 2010-08-17 | Alfred E. Mann Foundation For Scientific Research | Rotationally invariant non-coherent burst coding |
| US8298142B2 (en) | 2006-10-04 | 2012-10-30 | Dexcom, Inc. | Analyte sensor |
| US8478377B2 (en) | 2006-10-04 | 2013-07-02 | Dexcom, Inc. | Analyte sensor |
| US8275438B2 (en) | 2006-10-04 | 2012-09-25 | Dexcom, Inc. | Analyte sensor |
| US8562528B2 (en) | 2006-10-04 | 2013-10-22 | Dexcom, Inc. | Analyte sensor |
| US8447376B2 (en) | 2006-10-04 | 2013-05-21 | Dexcom, Inc. | Analyte sensor |
| US7831287B2 (en) | 2006-10-04 | 2010-11-09 | Dexcom, Inc. | Dual electrode system for a continuous analyte sensor |
| US8449464B2 (en) | 2006-10-04 | 2013-05-28 | Dexcom, Inc. | Analyte sensor |
| US20080092638A1 (en) | 2006-10-19 | 2008-04-24 | Bayer Healthcare Llc | Wireless analyte monitoring system |
| US8126728B2 (en) | 2006-10-24 | 2012-02-28 | Medapps, Inc. | Systems and methods for processing and transmittal of medical data through an intermediary device |
| BRPI0718119A2 (en) | 2006-10-26 | 2014-07-08 | Abbott Diabetes Care Inc | COMPUTER METHODS, SYSTEMS, AND PROGRAMS FOR REAL-TIME DETECTION OF THE ANALYTIC SENSOR SENSITIVITY DECLINE |
| US7822557B2 (en) | 2006-10-31 | 2010-10-26 | Abbott Diabetes Care Inc. | Analyte sensors and methods |
| EP1918837A1 (en) | 2006-10-31 | 2008-05-07 | F. Hoffmann-La Roche AG | Method for processing a chronological sequence of measurements of a time dependent parameter |
| US20080119705A1 (en) | 2006-11-17 | 2008-05-22 | Medtronic Minimed, Inc. | Systems and Methods for Diabetes Management Using Consumer Electronic Devices |
| FI20065735A0 (en) | 2006-11-20 | 2006-11-20 | Salla Koski | Measurement, monitoring and management system and its constituent equipment |
| US20100228111A1 (en) | 2006-11-23 | 2010-09-09 | Alf Friman | Blood glucose meter capable of wireless communication |
| FR2909001B1 (en) | 2006-11-24 | 2009-12-18 | Bernard Perriere | MINIATURIZED AND AUTOMATIC INJECTION AND SAMPLING DEVICE FOR MEDICAL USE. |
| DK2099384T3 (en) | 2006-11-28 | 2018-10-08 | Hoffmann La Roche | IMPLEMENTATION DEVICE AND PROCEDURE FOR INTRODUCING A SUBCUTANT IMPORTANT ELEMENT IN A BODY |
| US20080139910A1 (en) | 2006-12-06 | 2008-06-12 | Metronic Minimed, Inc. | Analyte sensor and method of using the same |
| KR100833511B1 (en) * | 2006-12-08 | 2008-05-29 | 한국전자통신연구원 | Passive tag with volatile memory |
| US20080139903A1 (en) | 2006-12-08 | 2008-06-12 | Isense Corporation | Method and apparatus for insertion of a sensor using an introducer |
| WO2008071218A1 (en) | 2006-12-14 | 2008-06-19 | Egomedical Swiss Ag | Monitoring device |
| US8120493B2 (en) | 2006-12-20 | 2012-02-21 | Intel Corporation | Direct communication in antenna devices |
| US20080154513A1 (en) | 2006-12-21 | 2008-06-26 | University Of Virginia Patent Foundation | Systems, Methods and Computer Program Codes for Recognition of Patterns of Hyperglycemia and Hypoglycemia, Increased Glucose Variability, and Ineffective Self-Monitoring in Diabetes |
| US7802467B2 (en) | 2006-12-22 | 2010-09-28 | Abbott Diabetes Care Inc. | Analyte sensors and methods of use |
| US20080161666A1 (en) | 2006-12-29 | 2008-07-03 | Abbott Diabetes Care, Inc. | Analyte devices and methods |
| US7946985B2 (en) | 2006-12-29 | 2011-05-24 | Medtronic Minimed, Inc. | Method and system for providing sensor redundancy |
| CA2678109C (en) | 2007-01-15 | 2020-05-26 | Deka Products Limited Partnership | Device and method for food management |
| US8098160B2 (en) * | 2007-01-22 | 2012-01-17 | Cisco Technology, Inc. | Method and system for remotely provisioning and/or configuring a device |
| US7742747B2 (en) | 2007-01-25 | 2010-06-22 | Icera Canada ULC | Automatic IIP2 calibration architecture |
| US10154804B2 (en) | 2007-01-31 | 2018-12-18 | Medtronic Minimed, Inc. | Model predictive method and system for controlling and supervising insulin infusion |
| US8808515B2 (en) | 2007-01-31 | 2014-08-19 | Abbott Diabetes Care Inc. | Heterocyclic nitrogen containing polymers coated analyte monitoring device and methods of use |
| US9597019B2 (en) | 2007-02-09 | 2017-03-21 | Lifescan, Inc. | Method of ensuring date and time on a test meter is accurate |
| US8930203B2 (en) | 2007-02-18 | 2015-01-06 | Abbott Diabetes Care Inc. | Multi-function analyte test device and methods therefor |
| WO2008105768A1 (en) | 2007-03-01 | 2008-09-04 | Dexcom, Inc. | Analyte sensor |
| DK1970091T3 (en) | 2007-03-14 | 2011-02-21 | Hoffmann La Roche | Introductory head for medical or pharmaceutical applications |
| WO2008115409A1 (en) | 2007-03-19 | 2008-09-25 | Bayer Healthcare Llc | Continuous analyte monitoring assembly and method of forming the same |
| MX2009010000A (en) | 2007-03-19 | 2010-03-17 | Insuline Medical Ltd | Drug delivery device. |
| EP1972275B1 (en) * | 2007-03-20 | 2015-10-28 | Roche Diagnostics GmbH | System for in vivo measurement of an analyte concentration |
| US7659823B1 (en) | 2007-03-20 | 2010-02-09 | At&T Intellectual Property Ii, L.P. | Tracking variable conditions using radio frequency identification |
| EP1972267A1 (en) | 2007-03-20 | 2008-09-24 | Roche Diagnostics GmbH | System for in vivo measurement of an analyte concentration |
| US8758245B2 (en) | 2007-03-20 | 2014-06-24 | Lifescan, Inc. | Systems and methods for pattern recognition in diabetes management |
| DE602007010234D1 (en) | 2007-03-23 | 2010-12-16 | Roche Diagnostics Gmbh | Method and glucose monitoring system for monitoring individual metabolic reactions |
| JP2010523227A (en) | 2007-04-04 | 2010-07-15 | アイセンス コーポレーション | Analyte sensing device having one or more sensing electrodes |
| WO2008130898A1 (en) | 2007-04-14 | 2008-10-30 | Abbott Diabetes Care, Inc. | Method and apparatus for providing data processing and control in medical communication system |
| WO2008128210A1 (en) | 2007-04-14 | 2008-10-23 | Abbott Diabetes Care, Inc. | Method and apparatus for providing data processing and control in medical communication system |
| EP2146624B1 (en) | 2007-04-14 | 2020-03-25 | Abbott Diabetes Care Inc. | Method and apparatus for providing data processing and control in medical communication system |
| WO2008130895A2 (en) | 2007-04-14 | 2008-10-30 | Abbott Diabetes Care, Inc. | Method and apparatus for providing dynamic multi-stage signal amplification in a medical device |
| ES2461090T3 (en) | 2007-04-14 | 2014-05-16 | Abbott Diabetes Care Inc. | Procedure and apparatus for providing data treatment and control in a medical communication system |
| EP3741291A1 (en) | 2007-04-14 | 2020-11-25 | Abbott Diabetes Care, Inc. | Method and apparatus for providing data processing and control in medical communication system |
| AU2008242142A1 (en) | 2007-04-19 | 2008-10-30 | C.G.M.3 Ltd | Device system and method for monitoring and controlling blood analyte levels |
| US9554721B1 (en) | 2007-04-23 | 2017-01-31 | Neurowave Systems Inc. | Seizure detector, brain dysfunction monitor and method |
| US20080269673A1 (en) | 2007-04-27 | 2008-10-30 | Animas Corporation | Cellular-Enabled Medical Monitoring and Infusion System |
| AU2008245537A1 (en) | 2007-04-27 | 2008-11-06 | Abbott Diabetes Care, Inc. | Test strip identification using conductive patterns |
| WO2008136845A2 (en) | 2007-04-30 | 2008-11-13 | Medtronic Minimed, Inc. | Reservoir filling, bubble management, and infusion medium delivery systems and methods with same |
| US8323250B2 (en) | 2007-04-30 | 2012-12-04 | Medtronic Minimed, Inc. | Adhesive patch systems and methods |
| WO2008133702A1 (en) | 2007-04-30 | 2008-11-06 | Medtronic Minimed, Inc. | Needle inserting and fluid flow connection for infusion medium delivery system |
| US8692655B2 (en) | 2007-05-07 | 2014-04-08 | Bloomberg Finance L.P. | Dynamically programmable RFID transponder |
| EP2150306A4 (en) | 2007-05-08 | 2013-11-20 | Abbott Diabetes Care Inc | Analyte monitoring system and methods |
| US8456301B2 (en) | 2007-05-08 | 2013-06-04 | Abbott Diabetes Care Inc. | Analyte monitoring system and methods |
| US8665091B2 (en) | 2007-05-08 | 2014-03-04 | Abbott Diabetes Care Inc. | Method and device for determining elapsed sensor life |
| US7996158B2 (en) | 2007-05-14 | 2011-08-09 | Abbott Diabetes Care Inc. | Method and apparatus for providing data processing and control in a medical communication system |
| US9125548B2 (en) | 2007-05-14 | 2015-09-08 | Abbott Diabetes Care Inc. | Method and apparatus for providing data processing and control in a medical communication system |
| US8444560B2 (en) * | 2007-05-14 | 2013-05-21 | Abbott Diabetes Care Inc. | Method and apparatus for providing data processing and control in a medical communication system |
| US8560038B2 (en) | 2007-05-14 | 2013-10-15 | Abbott Diabetes Care Inc. | Method and apparatus for providing data processing and control in a medical communication system |
| US20080312845A1 (en) | 2007-05-14 | 2008-12-18 | Abbott Diabetes Care, Inc. | Method and apparatus for providing data processing and control in a medical communication system |
| US8260558B2 (en) | 2007-05-14 | 2012-09-04 | Abbott Diabetes Care Inc. | Method and apparatus for providing data processing and control in a medical communication system |
| US8239166B2 (en) | 2007-05-14 | 2012-08-07 | Abbott Diabetes Care Inc. | Method and apparatus for providing data processing and control in a medical communication system |
| WO2008143943A1 (en) | 2007-05-14 | 2008-11-27 | Abbott Diabetes Care, Inc. | Method and apparatus for providing data processing and control in a medical communication system |
| US8103471B2 (en) | 2007-05-14 | 2012-01-24 | Abbott Diabetes Care Inc. | Method and apparatus for providing data processing and control in a medical communication system |
| US8600681B2 (en) | 2007-05-14 | 2013-12-03 | Abbott Diabetes Care Inc. | Method and apparatus for providing data processing and control in a medical communication system |
| US10002233B2 (en) * | 2007-05-14 | 2018-06-19 | Abbott Diabetes Care Inc. | Method and apparatus for providing data processing and control in a medical communication system |
| US20080287755A1 (en) | 2007-05-17 | 2008-11-20 | Isense Corporation | Method and apparatus for trend alert calculation and display |
| US20080294024A1 (en) | 2007-05-24 | 2008-11-27 | Cosentino Daniel L | Glucose meter system and monitor |
| DE102007026083A1 (en) | 2007-05-25 | 2008-11-27 | Haselmeier S.A.R.L. | injection device |
| WO2008150917A1 (en) | 2007-05-31 | 2008-12-11 | Abbott Diabetes Care, Inc. | Insertion devices and methods |
| US8072310B1 (en) | 2007-06-05 | 2011-12-06 | Pulsed Indigo Inc. | System for detecting and measuring parameters of passive transponders |
| CA2688184A1 (en) | 2007-06-08 | 2008-12-18 | Dexcom, Inc. | Integrated medicament delivery device for use with continuous analyte sensor |
| US20080312518A1 (en) | 2007-06-14 | 2008-12-18 | Arkal Medical, Inc | On-demand analyte monitor and method of use |
| EP2155296B1 (en) | 2007-06-20 | 2019-08-28 | Unomedical A/S | Cannula insertion device with automatic needle retraction comprising only one spring |
| US8617069B2 (en) | 2007-06-21 | 2013-12-31 | Abbott Diabetes Care Inc. | Health monitor |
| EP3533387A3 (en) | 2007-06-21 | 2019-11-13 | Abbott Diabetes Care, Inc. | Health management devices and methods |
| US20080319327A1 (en) | 2007-06-25 | 2008-12-25 | Triage Wireless, Inc. | Body-worn sensor featuring a low-power processor and multi-sensor array for measuring blood pressure |
| US8002752B2 (en) * | 2007-06-25 | 2011-08-23 | Medingo, Ltd. | Protector apparatus |
| US8641618B2 (en) | 2007-06-27 | 2014-02-04 | Abbott Diabetes Care Inc. | Method and structure for securing a monitoring device element |
| DK2170158T3 (en) | 2007-06-27 | 2017-09-18 | Hoffmann La Roche | Interface for input of patient information to a therapy system |
| DK2171568T3 (en) | 2007-06-29 | 2018-08-27 | Hoffmann La Roche | USER INTERFACE FEATURES FOR AN ELECTRONIC DEVICE |
| NZ582366A (en) | 2007-07-10 | 2011-09-30 | Unomedical As | Needle or cannular insertion device with automatic retraction |
| RU2010105684A (en) | 2007-07-18 | 2011-08-27 | Уномедикал А/С (Dk) | TURNING INTRODUCTION DEVICE |
| US7768386B2 (en) | 2007-07-31 | 2010-08-03 | Abbott Diabetes Care Inc. | Method and apparatus for providing data processing and control in a medical communication system |
| US8834366B2 (en) | 2007-07-31 | 2014-09-16 | Abbott Diabetes Care Inc. | Method and apparatus for providing analyte sensor calibration |
| US20090036760A1 (en) | 2007-07-31 | 2009-02-05 | Abbott Diabetes Care, Inc. | Method and apparatus for providing data processing and control in a medical communication system |
| EP2182838B1 (en) | 2007-07-31 | 2016-05-04 | Abbott Diabetes Care Inc. | Method and apparatus for providing data processing and control in a medical communication system |
| AU2008281383A1 (en) | 2007-08-01 | 2009-02-05 | F.Hoffmann-La Roche Ag | Device for facilitating infusion of therapeutic fluids and sensing of bodily analytes |
| US7731658B2 (en) | 2007-08-16 | 2010-06-08 | Cardiac Pacemakers, Inc. | Glycemic control monitoring using implantable medical device |
| US8926509B2 (en) | 2007-08-24 | 2015-01-06 | Hmicro, Inc. | Wireless physiological sensor patches and systems |
| US9968742B2 (en) | 2007-08-29 | 2018-05-15 | Medtronic Minimed, Inc. | Combined sensor and infusion set using separated sites |
| US9848058B2 (en) | 2007-08-31 | 2017-12-19 | Cardiac Pacemakers, Inc. | Medical data transport over wireless life critical network employing dynamic communication link mapping |
| US20090063402A1 (en) | 2007-08-31 | 2009-03-05 | Abbott Diabetes Care, Inc. | Method and System for Providing Medication Level Determination |
| US7978062B2 (en) | 2007-08-31 | 2011-07-12 | Cardiac Pacemakers, Inc. | Medical data transport over wireless life critical network |
| US8303545B2 (en) | 2007-09-07 | 2012-11-06 | Stat Medical Devices, Inc. | Infusion device and method of using and making the same |
| CA2699875A1 (en) | 2007-09-17 | 2009-03-26 | Icu Medical, Inc. | Insertion devices for infusion devices |
| ES2547574T3 (en) | 2007-09-24 | 2015-10-07 | Bayer Healthcare Llc | Multi-electrode test procedure |
| US20090085768A1 (en) | 2007-10-02 | 2009-04-02 | Medtronic Minimed, Inc. | Glucose sensor transceiver |
| DE102007047351A1 (en) | 2007-10-02 | 2009-04-09 | B. Braun Melsungen Ag | System and method for monitoring and controlling blood glucose levels |
| US8000918B2 (en) | 2007-10-23 | 2011-08-16 | Edwards Lifesciences Corporation | Monitoring and compensating for temperature-related error in an electrochemical sensor |
| EP2052677A1 (en) * | 2007-10-23 | 2009-04-29 | Sensile Pat AG | Medical device for glucose monitoring or regulation |
| US8377031B2 (en) | 2007-10-23 | 2013-02-19 | Abbott Diabetes Care Inc. | Closed loop control system with safety parameters and methods |
| US8417312B2 (en) | 2007-10-25 | 2013-04-09 | Dexcom, Inc. | Systems and methods for processing sensor data |
| US7783442B2 (en) | 2007-10-31 | 2010-08-24 | Medtronic Minimed, Inc. | System and methods for calibrating physiological characteristic sensors |
| EP2060284A1 (en) | 2007-11-13 | 2009-05-20 | F.Hoffmann-La Roche Ag | Medical injection device having data input means and a pivotable display |
| US8098201B2 (en) * | 2007-11-29 | 2012-01-17 | Electronics & Telecommunications Research Institute | Radio frequency identification tag and radio frequency identification tag antenna |
| US8103241B2 (en) * | 2007-12-07 | 2012-01-24 | Roche Diagnostics Operations, Inc. | Method and system for wireless device communication |
| US8078592B2 (en) | 2007-12-07 | 2011-12-13 | Roche Diagnostics Operations, Inc. | System and method for database integrity checking |
| US8290559B2 (en) | 2007-12-17 | 2012-10-16 | Dexcom, Inc. | Systems and methods for processing sensor data |
| US20090164239A1 (en) | 2007-12-19 | 2009-06-25 | Abbott Diabetes Care, Inc. | Dynamic Display Of Glucose Information |
| US20090164251A1 (en) | 2007-12-19 | 2009-06-25 | Abbott Diabetes Care, Inc. | Method and apparatus for providing treatment profile management |
| WO2009091888A1 (en) | 2008-01-15 | 2009-07-23 | Corning Cable Systems Llc | Rfid systems and methods for automatically detecting and/or directing the physical configuration of a complex system |
| DE102008008072A1 (en) | 2008-01-29 | 2009-07-30 | Balluff Gmbh | sensor |
| US20090299155A1 (en) | 2008-01-30 | 2009-12-03 | Dexcom, Inc. | Continuous cardiac marker sensor system |
| EP2452709B1 (en) | 2008-02-08 | 2022-01-19 | Unomedical A/S | Cannula part |
| CA2714045A1 (en) | 2008-02-08 | 2009-08-13 | Unomedical A/S | Assembly comprising inserter, cannula part and base part |
| EP2090996A1 (en) | 2008-02-16 | 2009-08-19 | Roche Diagnostics GmbH | Medical device |
| US20090299156A1 (en) | 2008-02-20 | 2009-12-03 | Dexcom, Inc. | Continuous medicament sensor system for in vivo use |
| WO2009105709A1 (en) | 2008-02-21 | 2009-08-27 | Dexcom, Inc. | Systems and methods for processing, transmitting and displaying sensor data |
| US8122783B2 (en) | 2008-02-22 | 2012-02-28 | Sauer-Danfoss Inc. | Joystick and method of manufacturing the same |
| WO2009107135A2 (en) | 2008-02-27 | 2009-09-03 | Mon4D Ltd. | Device, system and method for modular analyte monitoring |
| US8317699B2 (en) | 2008-02-29 | 2012-11-27 | Roche Diagnostics Operations, Inc. | Device and method for assessing blood glucose control |
| WO2010038156A1 (en) | 2008-03-10 | 2010-04-08 | Koninklijke Philips Electronics N.V. | Wireless ecg monitoring system |
| WO2009116906A1 (en) | 2008-03-19 | 2009-09-24 | Telefonaktiebolaget Lm Ericsson (Publ) | Nfc communications for implanted medical data acquisition devices |
| US20090242399A1 (en) | 2008-03-25 | 2009-10-01 | Dexcom, Inc. | Analyte sensor |
| US8396528B2 (en) | 2008-03-25 | 2013-03-12 | Dexcom, Inc. | Analyte sensor |
| US8583204B2 (en) | 2008-03-28 | 2013-11-12 | Dexcom, Inc. | Polymer membranes for continuous analyte sensors |
| EP3387993A3 (en) | 2008-03-28 | 2018-11-14 | Dexcom, Inc. | Polymer membranes for continuous analyte sensors |
| US8682408B2 (en) | 2008-03-28 | 2014-03-25 | Dexcom, Inc. | Polymer membranes for continuous analyte sensors |
| WO2009124095A1 (en) | 2008-03-31 | 2009-10-08 | Abbott Diabetes Care Inc. | Shallow implantable analyte sensor with rapid physiological response |
| DK2260423T3 (en) | 2008-04-04 | 2018-06-06 | Hygieia Inc | DEVICE FOR OPTIMIZING A PATIENT'S INSULIN DOSAGE PLAN |
| CN102065908A (en) | 2008-04-10 | 2011-05-18 | 雅培糖尿病护理公司 | Method and system for sterilizing an analyte sensor |
| US9924898B2 (en) | 2008-04-15 | 2018-03-27 | Becton, Dickinson And Company | Flash activated passive shielding needle assembly |
| US20090267765A1 (en) | 2008-04-29 | 2009-10-29 | Jack Greene | Rfid to prevent reprocessing |
| USD618337S1 (en) | 2008-05-02 | 2010-06-22 | KCI Licensing, Inc, | Reduced pressure treatment apparatus |
| US8102021B2 (en) * | 2008-05-12 | 2012-01-24 | Sychip Inc. | RF devices |
| JP5657526B2 (en) | 2008-05-14 | 2015-01-21 | ハートマイルズ、リミテッド ライアビリティー カンパニー | Physical activity monitor and data collection unit |
| US8610577B2 (en) | 2008-05-20 | 2013-12-17 | Deka Products Limited Partnership | RFID system |
| US9295786B2 (en) | 2008-05-28 | 2016-03-29 | Medtronic Minimed, Inc. | Needle protective device for subcutaneous sensors |
| US20090294277A1 (en) | 2008-05-30 | 2009-12-03 | Abbott Diabetes Care, Inc. | Method and system for producing thin film biosensors |
| US8924159B2 (en) | 2008-05-30 | 2014-12-30 | Abbott Diabetes Care Inc. | Method and apparatus for providing glycemic control |
| US8394637B2 (en) | 2008-06-02 | 2013-03-12 | Roche Diagnostics Operations, Inc. | Handheld analyzer for testing a sample |
| US8132037B2 (en) | 2008-06-06 | 2012-03-06 | Roche Diagnostics International Ag | Apparatus and method for processing wirelessly communicated data and clock information within an electronic device |
| US8117481B2 (en) | 2008-06-06 | 2012-02-14 | Roche Diagnostics International Ag | Apparatus and method for processing wirelessly communicated information within an electronic device |
| US20090306601A1 (en) * | 2008-06-10 | 2009-12-10 | Shaw Thomas J | Fluid Flow Control Device with Retractable Cannula |
| CN101621714B (en) | 2008-06-30 | 2013-06-12 | 华为技术有限公司 | Node and data processing system and data processing method |
| US20110137257A1 (en) | 2008-07-07 | 2011-06-09 | Unomedical A/S | Inserter for Transcutaneous Device |
| WO2010005806A2 (en) | 2008-07-09 | 2010-01-14 | Cardiac Pacemakers, Inc. | Event-based battery monitor for implantable devices |
| WO2010009172A1 (en) * | 2008-07-14 | 2010-01-21 | Abbott Diabetes Care Inc. | Closed loop control system interface and methods |
| US20100025238A1 (en) | 2008-07-31 | 2010-02-04 | Medtronic Minimed, Inc. | Analyte sensor apparatuses having improved electrode configurations and methods for making and using them |
| US8111042B2 (en) | 2008-08-05 | 2012-02-07 | Broadcom Corporation | Integrated wireless resonant power charging and communication channel |
| US8432070B2 (en) | 2008-08-25 | 2013-04-30 | Qualcomm Incorporated | Passive receivers for wireless power transmission |
| US8094009B2 (en) * | 2008-08-27 | 2012-01-10 | The Invention Science Fund I, Llc | Health-related signaling via wearable items |
| US8734422B2 (en) | 2008-08-31 | 2014-05-27 | Abbott Diabetes Care Inc. | Closed loop control with improved alarm functions |
| US20100057040A1 (en) | 2008-08-31 | 2010-03-04 | Abbott Diabetes Care, Inc. | Robust Closed Loop Control And Methods |
| US9943644B2 (en) | 2008-08-31 | 2018-04-17 | Abbott Diabetes Care Inc. | Closed loop control with reference measurement and methods thereof |
| US8102154B2 (en) * | 2008-09-04 | 2012-01-24 | Medtronic Minimed, Inc. | Energy source isolation and protection circuit for an electronic device |
| US8560039B2 (en) | 2008-09-19 | 2013-10-15 | Dexcom, Inc. | Particle-containing membrane and particulate electrode for analyte sensors |
| US8983568B2 (en) | 2008-09-30 | 2015-03-17 | Abbott Diabetes Care Inc. | Analyte sensors comprising leveling agents |
| US8986208B2 (en) | 2008-09-30 | 2015-03-24 | Abbott Diabetes Care Inc. | Analyte sensor sensitivity attenuation mitigation |
| US20100119881A1 (en) | 2008-10-02 | 2010-05-13 | Leyden Energy | Electronic current interrupt device for battery |
| US20100331644A1 (en) | 2008-11-07 | 2010-12-30 | Dexcom, Inc. | Housing for an intravascular sensor |
| US9317657B2 (en) | 2008-11-26 | 2016-04-19 | University Of Virginia Patent Foundation | Method, system, and computer program product for tracking of blood glucose variability in diabetes |
| US8098161B2 (en) * | 2008-12-01 | 2012-01-17 | Raytheon Company | Radio frequency identification inlay with improved readability |
| US20100145377A1 (en) | 2008-12-04 | 2010-06-10 | Venture Corporation Limited | Lancing Device For Minimizing Pain |
| US8150516B2 (en) | 2008-12-11 | 2012-04-03 | Pacesetter, Inc. | Systems and methods for operating an implantable device for medical procedures |
| US20100169035A1 (en) | 2008-12-29 | 2010-07-01 | Medtronic Minimed, Inc. | Methods and systems for observing sensor parameters |
| US9320470B2 (en) | 2008-12-31 | 2016-04-26 | Medtronic Minimed, Inc. | Method and/or system for sensor artifact filtering |
| US9402544B2 (en) | 2009-02-03 | 2016-08-02 | Abbott Diabetes Care Inc. | Analyte sensor and apparatus for insertion of the sensor |
| CN102300501B (en) | 2009-02-04 | 2015-04-08 | 艾伯特糖尿病护理公司 | Multi-function analyte test device and methods therefor |
| US20100198033A1 (en) | 2009-02-05 | 2010-08-05 | Peter Krulevitch | Flexible indwelling biosensor, flexible indwelling biosensor insertion device, and related methods |
| US8394246B2 (en) | 2009-02-23 | 2013-03-12 | Roche Diagnostics Operations, Inc. | System and method for the electrochemical measurement of an analyte employing a remote sensor |
| ES2967456T3 (en) | 2009-02-26 | 2024-04-30 | Abbott Diabetes Care Inc | Calibration procedure for an analyte sensor |
| US20100213057A1 (en) | 2009-02-26 | 2010-08-26 | Benjamin Feldman | Self-Powered Analyte Sensor |
| WO2010111660A1 (en) | 2009-03-27 | 2010-09-30 | Dexcom, Inc. | Methods and systems for promoting glucose management |
| EP2272553A1 (en) | 2009-06-29 | 2011-01-12 | Unomedical A/S | Inserter Assembly |
| WO2010127169A2 (en) | 2009-04-30 | 2010-11-04 | Dexcom, Inc. | Performance reports associated with continuous sensor data from multiple analysis time periods |
| EP2432393A2 (en) | 2009-05-22 | 2012-03-28 | Abbott Diabetes Care, Inc. | Method and system for reducing false hypoglycemia alarm occurrence |
| WO2010141922A1 (en) | 2009-06-04 | 2010-12-09 | Abbott Diabetes Care Inc. | Method and system for updating a medical device |
| US8124452B2 (en) | 2009-06-14 | 2012-02-28 | Terepac Corporation | Processes and structures for IC fabrication |
| US9218453B2 (en) | 2009-06-29 | 2015-12-22 | Roche Diabetes Care, Inc. | Blood glucose management and interface systems and methods |
| US8613892B2 (en) | 2009-06-30 | 2013-12-24 | Abbott Diabetes Care Inc. | Analyte meter with a moveable head and methods of using the same |
| US8000763B2 (en) | 2009-06-30 | 2011-08-16 | Abbott Diabetes Care Inc. | Integrated devices having extruded electrode structures and methods of using same |
| US10376213B2 (en) | 2009-06-30 | 2019-08-13 | Waveform Technologies, Inc. | System, method and apparatus for sensor insertion |
| US20110024043A1 (en) | 2009-07-02 | 2011-02-03 | Dexcom, Inc. | Continuous analyte sensors and methods of making same |
| US9792408B2 (en) | 2009-07-02 | 2017-10-17 | Covidien Lp | Method and apparatus to detect transponder tagged objects and to communicate with medical telemetry devices, for example during medical procedures |
| CN102469966B (en) | 2009-07-23 | 2015-05-13 | 雅培糖尿病护理公司 | Continuous analyte measurement systems and systems and methods for implanting them |
| KR20120047896A (en) | 2009-08-07 | 2012-05-14 | 우노메디컬 에이/에스 | Delivery device with sensor and one or more cannulas |
| JP5774590B2 (en) | 2009-08-17 | 2015-09-09 | ザ リージェンツ オブ ザ ユニバーシティ オブ カリフォルニア | Distributed internal / external wireless sensor system for assessing surface and subsurface biomedical structures and conditions |
| WO2011025999A1 (en) | 2009-08-29 | 2011-03-03 | Abbott Diabetes Care Inc. | Analyte sensor |
| LT3718922T (en) | 2009-08-31 | 2022-04-25 | Abbott Diabetes Care, Inc. | GLUCOSE MONITORING SYSTEM AND METHOD |
| WO2011026150A1 (en) | 2009-08-31 | 2011-03-03 | Abbott Diabetes Care Inc. | Flexible mounting unit and cover for a medical device |
| WO2011026130A1 (en) | 2009-08-31 | 2011-03-03 | Abbott Diabetes Care Inc. | Inserter device including rotor subassembly |
| CN102473276B (en) | 2009-08-31 | 2016-04-13 | 雅培糖尿病护理公司 | Medical devices and methods |
| US8882710B2 (en) | 2009-09-02 | 2014-11-11 | Medtronic Minimed, Inc. | Insertion device systems and methods |
| US8093991B2 (en) * | 2009-09-16 | 2012-01-10 | Greatbatch Ltd. | RFID detection and identification system for implantable medical devices |
| US20110077469A1 (en) | 2009-09-27 | 2011-03-31 | Blocker Richard A | Systems and methods for utilizing prolonged self monitoring in the analysis of chronic ailment treatments |
| WO2011041449A1 (en) | 2009-09-29 | 2011-04-07 | Abbott Diabetes Care Inc. | Sensor inserter having introducer |
| WO2011041463A2 (en) | 2009-09-30 | 2011-04-07 | Dexcom, Inc. | Transcutaneous analyte sensor |
| WO2011041531A1 (en) | 2009-09-30 | 2011-04-07 | Abbott Diabetes Care Inc. | Interconnect for on-body analyte monitoring device |
| US20110082484A1 (en) | 2009-10-07 | 2011-04-07 | Heber Saravia | Sensor inserter assembly having rotatable trigger |
| DK2493538T3 (en) | 2009-10-30 | 2016-05-02 | Hoffmann La Roche | Systems, methods and devices for adjustment of feeding depth of safety device associated with a portable therapeutic device |
| US20110123971A1 (en) | 2009-11-20 | 2011-05-26 | Medivoce, Inc. | Electronic Medical Voice Instruction System |
| US9949672B2 (en) | 2009-12-17 | 2018-04-24 | Ascensia Diabetes Care Holdings Ag | Apparatus, systems and methods for determining and displaying pre-event and post-event analyte concentration levels |
| EP2335565A1 (en) | 2009-12-18 | 2011-06-22 | Roche Diagnostics GmbH | Protective container for holding reusable diagnostic components |
| EP3150114B1 (en) | 2009-12-23 | 2022-11-09 | Braemar Manufacturing, LLC | Monitoring device for attachment to the skin surface |
| US8474335B2 (en) * | 2010-01-12 | 2013-07-02 | Veltek Associates, Inc. | Microbial air sampler |
| WO2011091336A1 (en) | 2010-01-22 | 2011-07-28 | Abbott Diabetes Care Inc. | Method and apparatus for providing notification in analyte monitoring systems |
| CA2728831A1 (en) | 2010-01-22 | 2011-07-22 | Lifescan, Inc. | Diabetes management unit, method, and system |
| US9077030B2 (en) | 2010-01-24 | 2015-07-07 | Medtronic, Inc. | Implantable medical devices with low volume batteries, and systems |
| US20110184258A1 (en) | 2010-01-28 | 2011-07-28 | Abbott Diabetes Care Inc. | Balloon Catheter Analyte Measurement Sensors and Methods for Using the Same |
| USD924406S1 (en) * | 2010-02-01 | 2021-07-06 | Abbott Diabetes Care Inc. | Analyte sensor inserter |
| US9041730B2 (en) | 2010-02-12 | 2015-05-26 | Dexcom, Inc. | Receivers for analyzing and displaying sensor data |
| AU2011217067A1 (en) | 2010-02-19 | 2012-09-06 | Lightship Medical Limited | Subcutaneous glucose sensor |
| US20110208027A1 (en) | 2010-02-23 | 2011-08-25 | Roche Diagnostics Operations, Inc. | Methods And Systems For Providing Therapeutic Guidelines To A Person Having Diabetes |
| GB201003581D0 (en) | 2010-03-04 | 2010-04-21 | Bacon Raymond J | Medicament dispenser |
| US10448872B2 (en) | 2010-03-16 | 2019-10-22 | Medtronic Minimed, Inc. | Analyte sensor apparatuses having improved electrode configurations and methods for making and using them |
| BRPI1105778A2 (en) | 2010-03-24 | 2016-05-03 | Abbott Diabetes Care Inc | "medical device inserters and medical device insertion and use processes" |
| JP2013523233A (en) | 2010-03-30 | 2013-06-17 | ウノメディカル アクティーゼルスカブ | Medical device |
| KR20130014056A (en) | 2010-03-31 | 2013-02-06 | 아니마스 코포레이션 | Method and system to display analyte sensor data |
| US9591971B2 (en) | 2010-04-05 | 2017-03-14 | Helen Of Troy Limited | Insertion detector for medical probe |
| BRPI1106096A2 (en) | 2010-04-16 | 2016-05-10 | Abbott Diabetes Care Inc | analytical material monitoring device and methods. |
| US9198623B2 (en) | 2010-04-22 | 2015-12-01 | Abbott Diabetes Care Inc. | Devices, systems, and methods related to analyte monitoring and management |
| EP2575603A4 (en) | 2010-06-01 | 2014-03-26 | Tensorcom Inc | Systems and methods for networked wearable medical sensors |
| US9336353B2 (en) | 2010-06-25 | 2016-05-10 | Dexcom, Inc. | Systems and methods for communicating sensor data between communication devices of a glucose monitoring system |
| US20110319738A1 (en) | 2010-06-29 | 2011-12-29 | Abbott Diabetes Care Inc. | Medical Devices and Insertion Systems and Methods |
| US11064921B2 (en) | 2010-06-29 | 2021-07-20 | Abbott Diabetes Care Inc. | Devices, systems and methods for on-skin or on-body mounting of medical devices |
| EP2415395A1 (en) | 2010-08-04 | 2012-02-08 | Roche Diagnostics GmbH | Medical device with receptacle channel for bodily fluids |
| WO2012050926A2 (en) | 2010-09-29 | 2012-04-19 | Dexcom, Inc. | Advanced continuous analyte monitoring system |
| EP3744249B1 (en) | 2010-10-27 | 2025-07-02 | Dexcom, Inc. | Continuous analyte monitor data recording device operable in a blinded mode |
| US8784383B2 (en) | 2010-11-30 | 2014-07-22 | Becton, Dickinson And Company | Insulin pump dermal infusion set having partially integrated mechanized cannula insertion with disposable activation portion |
| USD668164S1 (en) * | 2011-02-04 | 2012-10-02 | Crestron Electronics Inc. | Battery powered occupancy sensor |
| WO2012118872A2 (en) | 2011-02-28 | 2012-09-07 | Abbott Diabetes Care Inc. | Medical device inserters and processes of inserting and using medical devices |
| USD694397S1 (en) | 2011-02-28 | 2013-11-26 | Abbott Diabetes Care Inc. | Medical device inserter |
| US10136845B2 (en) | 2011-02-28 | 2018-11-27 | Abbott Diabetes Care Inc. | Devices, systems, and methods associated with analyte monitoring devices and devices incorporating the same |
| US9439599B2 (en) | 2011-03-11 | 2016-09-13 | Proteus Digital Health, Inc. | Wearable personal body associated device with various physical configurations |
| US8844007B2 (en) * | 2011-04-08 | 2014-09-23 | Dexcom, Inc. | Systems and methods for processing and transmitting sensor data |
| USD691710S1 (en) | 2011-05-23 | 2013-10-15 | Abbott Diabetes Care Inc. | Medical device inserter |
| US9069536B2 (en) | 2011-10-31 | 2015-06-30 | Abbott Diabetes Care Inc. | Electronic devices having integrated reset systems and methods thereof |
| WO2013090215A2 (en) * | 2011-12-11 | 2013-06-20 | Abbot Diabetes Care Inc. | Analyte sensor devices, connections, and methods |
| US20150326072A1 (en) | 2014-05-07 | 2015-11-12 | Energous Corporation | Boost-Charger-Boost System for Enhanced Power Delivery |
| US8930028B2 (en) * | 2012-07-27 | 2015-01-06 | Roche Diagnostics Operations, Inc. | Handheld medical device functionality without battery |
| USD731334S1 (en) * | 2013-08-20 | 2015-06-09 | Fibar Group sp. z o.o. | Flood sensor |
| CA162350S (en) * | 2014-11-14 | 2016-08-29 | Farmshed Labs Ltd | Sensing device |
| US10531831B2 (en) * | 2015-05-14 | 2020-01-14 | Abbott Diabetes Care Inc. | Non-rigid wearable devices |
| US10674944B2 (en) | 2015-05-14 | 2020-06-09 | Abbott Diabetes Care Inc. | Compact medical device inserters and related systems and methods |
| USD775987S1 (en) * | 2015-09-08 | 2017-01-10 | Nix Sensor Ltd. | Egg cover |
| CA169916S (en) * | 2015-09-30 | 2016-11-01 | Misfit Inc | Activity monitoring device |
| USD806254S1 (en) * | 2015-12-07 | 2017-12-26 | Samsung Electronics Co., Ltd. | Apparatus for medical diagnosis |
| USD814298S1 (en) * | 2016-02-04 | 2018-04-03 | Henkel Ag & Co. Kgaa | Cap |
| US10765348B2 (en) | 2016-04-08 | 2020-09-08 | Medtronic Minimed, Inc. | Sensor and transmitter product |
| US10765369B2 (en) | 2016-04-08 | 2020-09-08 | Medtronic Minimed, Inc. | Analyte sensor |
| USD810952S1 (en) * | 2016-11-25 | 2018-02-20 | Raymond Hsu | Transcutaneous electrical nerve stimulation or TENS device |
| USD824034S1 (en) * | 2016-12-15 | 2018-07-24 | Sano Intelligence, Inc. | Biomonitoring interface device |
| USD820988S1 (en) * | 2017-01-20 | 2018-06-19 | Sano Intelligence, Inc. | Biomonitoring sensor system for monitoring body chemistry |
| US10379765B2 (en) | 2017-06-27 | 2019-08-13 | Western Digital Technologies, Inc. | Geometry-aware command scheduling |
| USD888252S1 (en) * | 2018-06-18 | 2020-06-23 | Dexcom, Inc. | Transcutaneous analyte sensor applicator |
-
2010
- 2010-02-01 US US12/698,129 patent/US9402544B2/en active Active
- 2010-02-01 US US12/698,124 patent/US20100198034A1/en not_active Abandoned
- 2010-02-02 EP EP10739031.2A patent/EP2393418B1/en not_active Revoked
- 2010-02-02 DK DK10739031.2T patent/DK2393418T3/en active
- 2010-02-02 ES ES21211041T patent/ES2950257T3/en active Active
- 2010-02-02 HU HUE21192910A patent/HUE070687T2/en unknown
- 2010-02-02 DK DK21192910.4T patent/DK3960072T3/en active
- 2010-02-02 EP EP20177703.4A patent/EP3730044B1/en active Active
- 2010-02-02 CN CN201080006481.7A patent/CN102307518B/en active Active
- 2010-02-02 ES ES20177712T patent/ES2911905T3/en active Active
- 2010-02-02 LT LTEP21192910.4T patent/LT3960072T/en unknown
- 2010-02-02 SI SI201032154T patent/SI3960072T1/en unknown
- 2010-02-02 EP EP17201183.5A patent/EP3329842B1/en active Active
- 2010-02-02 LT LTEP20177703.4T patent/LT3730044T/en unknown
- 2010-02-02 BR BRPI1008835A patent/BRPI1008835A2/en not_active IP Right Cessation
- 2010-02-02 LT LTEP20177712.5T patent/LT3730045T/en unknown
- 2010-02-02 CN CN201410525201.3A patent/CN104287744B/en active Active
- 2010-02-02 DK DK20177703.4T patent/DK3730044T3/en active
- 2010-02-02 ES ES10739031.2T patent/ES2671054T3/en active Active
- 2010-02-02 EP EP19151577.4A patent/EP3542712A1/en active Pending
- 2010-02-02 WO PCT/US2010/022860 patent/WO2010091005A1/en not_active Ceased
- 2010-02-02 EP EP24201435.5A patent/EP4477243A3/en active Pending
- 2010-02-02 PT PT211929104T patent/PT3960072T/en unknown
- 2010-02-02 WO PCT/US2010/022928 patent/WO2010091028A1/en not_active Ceased
- 2010-02-02 BR BRPI1008834A patent/BRPI1008834A2/en not_active IP Right Cessation
- 2010-02-02 ES ES20177703T patent/ES2907146T3/en active Active
- 2010-02-02 EP EP10739015.5A patent/EP2393417B1/en active Active
- 2010-02-02 DK DK20177712.5T patent/DK3730045T3/en active
- 2010-02-02 EP EP20177712.5A patent/EP3730045B1/en active Active
- 2010-02-02 FI FIEP21192910.4T patent/FI3960072T3/en active
- 2010-02-02 CN CN201080006480.2A patent/CN102307517B/en active Active
- 2010-02-02 EP EP21211041.5A patent/EP3977921B1/en active Active
- 2010-02-02 EP EP24218309.3A patent/EP4545118A3/en active Pending
- 2010-02-02 EP EP21192910.4A patent/EP3960072B8/en active Active
-
2015
- 2015-06-17 US US14/741,459 patent/US20150351674A1/en not_active Abandoned
- 2015-06-17 US US14/741,458 patent/US20150282711A1/en not_active Abandoned
-
2016
- 2016-06-24 US US15/192,531 patent/US9636068B2/en active Active
-
2017
- 2017-03-31 US US15/475,647 patent/US9993188B2/en active Active
-
2018
- 2018-05-31 US US15/994,129 patent/US20180289301A1/en not_active Abandoned
-
2019
- 2019-04-18 US US29/688,180 patent/USD882432S1/en active Active
-
2020
- 2020-01-07 US US16/736,728 patent/US10786190B2/en active Active
- 2020-09-01 US US17/009,647 patent/US11006870B2/en active Active
- 2020-09-01 US US17/009,660 patent/US11006871B2/en active Active
- 2020-09-25 US US17/033,588 patent/US11006872B2/en active Active
- 2020-12-30 US US17/137,664 patent/US11166656B2/en active Active
-
2021
- 2021-04-01 US US29/776,979 patent/USD957643S1/en active Active
- 2021-04-01 US US29/776,977 patent/USD955599S1/en active Active
- 2021-04-01 US US29/776,978 patent/USD957642S1/en active Active
- 2021-04-02 US US17/221,154 patent/US11202591B2/en active Active
- 2021-04-02 US US17/221,169 patent/US11213229B2/en active Active
- 2021-12-23 US US17/561,414 patent/US20220110560A1/en active Pending
-
2023
- 2023-02-17 US US18/111,267 patent/US20240023848A1/en active Pending
Non-Patent Citations (1)
| Title |
|---|
| None * |
Cited By (12)
| Publication number | Priority date | Publication date | Assignee | Title |
|---|---|---|---|---|
| US12350042B2 (en) | 2009-07-23 | 2025-07-08 | Abbott Diabetes Care Inc. | Continuous analyte measurement systems and systems and methods for implanting them |
| US12315630B2 (en) | 2009-08-31 | 2025-05-27 | Abbott Diabetes Care Inc. | Medical devices and methods |
| US12436127B2 (en) | 2014-10-23 | 2025-10-07 | Abbott Diabetes Care Inc. | Electrodes having at least one sensing structure and methods for making and using the same |
| US12478296B2 (en) | 2017-08-18 | 2025-11-25 | Abbott Diabetes Care Inc. | Systems, devices, and methods related to the individualized calibration and/or manufacturing of medical devices |
| US12414713B2 (en) | 2017-12-05 | 2025-09-16 | Abbott Diabetes Care Inc. | Medical devices having a dynamic surface profile and methods for production and use thereof |
| US12369821B2 (en) | 2018-06-07 | 2025-07-29 | Abbott Diabetes Care Inc. | Focused sterilization and sterilized sub-assemblies for analyte monitoring systems |
| US12465251B2 (en) | 2020-07-08 | 2025-11-11 | Abbott Diabetes Care Inc. | Analyte sensors featuring enhancements for decreasing interferent signal |
| WO2024088700A1 (en) | 2022-10-26 | 2024-05-02 | Glucorx Technologies Limited | Analyte monitoring system |
| WO2024088697A1 (en) | 2022-10-26 | 2024-05-02 | Glucorx Technologies Limited | Epidermal support patch |
| WO2024088699A1 (en) | 2022-10-26 | 2024-05-02 | Glucorx Technologies Limited | Analyte sensor |
| WO2024236065A1 (en) | 2023-05-15 | 2024-11-21 | Glucorx Technologies Limited | Current measurement device for an analyte monitoring system |
| EP4529831A1 (en) | 2023-09-29 | 2025-04-02 | Glucorx Technologies Limited | Analyte sensor applicator |
Also Published As
Similar Documents
| Publication | Publication Date | Title |
|---|---|---|
| US11166656B2 (en) | Analyte sensor and apparatus for insertion of the sensor | |
| US20240008779A1 (en) | Medical device inserters and processes of inserting and using medical devices | |
| US20120303043A1 (en) | Medical Device Inserters and Processes of Inserting and Using Medical Devices |
Legal Events
| Date | Code | Title | Description |
|---|---|---|---|
| PUAI | Public reference made under article 153(3) epc to a published international application that has entered the european phase |
Free format text: ORIGINAL CODE: 0009012 |
|
| 17P | Request for examination filed |
Effective date: 20110902 |
|
| AK | Designated contracting states |
Kind code of ref document: A1 Designated state(s): AT BE BG CH CY CZ DE DK EE ES FI FR GB GR HR HU IE IS IT LI LT LU LV MC MK MT NL NO PL PT RO SE SI SK SM TR |
|
| DAX | Request for extension of the european patent (deleted) | ||
| A4 | Supplementary search report drawn up and despatched |
Effective date: 20130510 |
|
| RIC1 | Information provided on ipc code assigned before grant |
Ipc: A61B 5/00 20060101AFI20130503BHEP |
|
| STAA | Information on the status of an ep patent application or granted ep patent |
Free format text: STATUS: EXAMINATION IS IN PROGRESS |
|
| 17Q | First examination report despatched |
Effective date: 20161028 |
|
| GRAP | Despatch of communication of intention to grant a patent |
Free format text: ORIGINAL CODE: EPIDOSNIGR1 |
|
| STAA | Information on the status of an ep patent application or granted ep patent |
Free format text: STATUS: GRANT OF PATENT IS INTENDED |
|
| INTG | Intention to grant announced |
Effective date: 20180815 |
|
| GRAS | Grant fee paid |
Free format text: ORIGINAL CODE: EPIDOSNIGR3 |
|
| GRAA | (expected) grant |
Free format text: ORIGINAL CODE: 0009210 |
|
| STAA | Information on the status of an ep patent application or granted ep patent |
Free format text: STATUS: THE PATENT HAS BEEN GRANTED |
|
| AK | Designated contracting states |
Kind code of ref document: B1 Designated state(s): AT BE BG CH CY CZ DE DK EE ES FI FR GB GR HR HU IE IS IT LI LT LU LV MC MK MT NL NO PL PT RO SE SI SK SM TR |
|
| REG | Reference to a national code |
Ref country code: GB Ref legal event code: FG4D |
|
| REG | Reference to a national code |
Ref country code: CH Ref legal event code: EP |
|
| REG | Reference to a national code |
Ref country code: IE Ref legal event code: FG4D |
|
| REG | Reference to a national code |
Ref country code: AT Ref legal event code: REF Ref document number: 1089053 Country of ref document: AT Kind code of ref document: T Effective date: 20190215 |
|
| REG | Reference to a national code |
Ref country code: DE Ref legal event code: R096 Ref document number: 602010056577 Country of ref document: DE |
|
| REG | Reference to a national code |
Ref country code: NL Ref legal event code: FP |
|
| REG | Reference to a national code |
Ref country code: LT Ref legal event code: MG4D |
|
| REG | Reference to a national code |
Ref country code: AT Ref legal event code: MK05 Ref document number: 1089053 Country of ref document: AT Kind code of ref document: T Effective date: 20190116 |
|
| PG25 | Lapsed in a contracting state [announced via postgrant information from national office to epo] |
Ref country code: PL Free format text: LAPSE BECAUSE OF FAILURE TO SUBMIT A TRANSLATION OF THE DESCRIPTION OR TO PAY THE FEE WITHIN THE PRESCRIBED TIME-LIMIT Effective date: 20190116 Ref country code: LT Free format text: LAPSE BECAUSE OF FAILURE TO SUBMIT A TRANSLATION OF THE DESCRIPTION OR TO PAY THE FEE WITHIN THE PRESCRIBED TIME-LIMIT Effective date: 20190116 Ref country code: NO Free format text: LAPSE BECAUSE OF FAILURE TO SUBMIT A TRANSLATION OF THE DESCRIPTION OR TO PAY THE FEE WITHIN THE PRESCRIBED TIME-LIMIT Effective date: 20190416 Ref country code: PT Free format text: LAPSE BECAUSE OF FAILURE TO SUBMIT A TRANSLATION OF THE DESCRIPTION OR TO PAY THE FEE WITHIN THE PRESCRIBED TIME-LIMIT Effective date: 20190516 Ref country code: SE Free format text: LAPSE BECAUSE OF FAILURE TO SUBMIT A TRANSLATION OF THE DESCRIPTION OR TO PAY THE FEE WITHIN THE PRESCRIBED TIME-LIMIT Effective date: 20190116 Ref country code: FI Free format text: LAPSE BECAUSE OF FAILURE TO SUBMIT A TRANSLATION OF THE DESCRIPTION OR TO PAY THE FEE WITHIN THE PRESCRIBED TIME-LIMIT Effective date: 20190116 Ref country code: ES Free format text: LAPSE BECAUSE OF FAILURE TO SUBMIT A TRANSLATION OF THE DESCRIPTION OR TO PAY THE FEE WITHIN THE PRESCRIBED TIME-LIMIT Effective date: 20190116 |
|
| PG25 | Lapsed in a contracting state [announced via postgrant information from national office to epo] |
Ref country code: GR Free format text: LAPSE BECAUSE OF FAILURE TO SUBMIT A TRANSLATION OF THE DESCRIPTION OR TO PAY THE FEE WITHIN THE PRESCRIBED TIME-LIMIT Effective date: 20190417 Ref country code: HR Free format text: LAPSE BECAUSE OF FAILURE TO SUBMIT A TRANSLATION OF THE DESCRIPTION OR TO PAY THE FEE WITHIN THE PRESCRIBED TIME-LIMIT Effective date: 20190116 Ref country code: LV Free format text: LAPSE BECAUSE OF FAILURE TO SUBMIT A TRANSLATION OF THE DESCRIPTION OR TO PAY THE FEE WITHIN THE PRESCRIBED TIME-LIMIT Effective date: 20190116 Ref country code: IS Free format text: LAPSE BECAUSE OF FAILURE TO SUBMIT A TRANSLATION OF THE DESCRIPTION OR TO PAY THE FEE WITHIN THE PRESCRIBED TIME-LIMIT Effective date: 20190516 Ref country code: BG Free format text: LAPSE BECAUSE OF FAILURE TO SUBMIT A TRANSLATION OF THE DESCRIPTION OR TO PAY THE FEE WITHIN THE PRESCRIBED TIME-LIMIT Effective date: 20190416 |
|
| REG | Reference to a national code |
Ref country code: CH Ref legal event code: PL |
|
| REG | Reference to a national code |
Ref country code: DE Ref legal event code: R097 Ref document number: 602010056577 Country of ref document: DE |
|
| PG25 | Lapsed in a contracting state [announced via postgrant information from national office to epo] |
Ref country code: MC Free format text: LAPSE BECAUSE OF FAILURE TO SUBMIT A TRANSLATION OF THE DESCRIPTION OR TO PAY THE FEE WITHIN THE PRESCRIBED TIME-LIMIT Effective date: 20190116 Ref country code: CZ Free format text: LAPSE BECAUSE OF FAILURE TO SUBMIT A TRANSLATION OF THE DESCRIPTION OR TO PAY THE FEE WITHIN THE PRESCRIBED TIME-LIMIT Effective date: 20190116 Ref country code: DK Free format text: LAPSE BECAUSE OF FAILURE TO SUBMIT A TRANSLATION OF THE DESCRIPTION OR TO PAY THE FEE WITHIN THE PRESCRIBED TIME-LIMIT Effective date: 20190116 Ref country code: RO Free format text: LAPSE BECAUSE OF FAILURE TO SUBMIT A TRANSLATION OF THE DESCRIPTION OR TO PAY THE FEE WITHIN THE PRESCRIBED TIME-LIMIT Effective date: 20190116 Ref country code: IT Free format text: LAPSE BECAUSE OF FAILURE TO SUBMIT A TRANSLATION OF THE DESCRIPTION OR TO PAY THE FEE WITHIN THE PRESCRIBED TIME-LIMIT Effective date: 20190116 Ref country code: EE Free format text: LAPSE BECAUSE OF FAILURE TO SUBMIT A TRANSLATION OF THE DESCRIPTION OR TO PAY THE FEE WITHIN THE PRESCRIBED TIME-LIMIT Effective date: 20190116 Ref country code: AT Free format text: LAPSE BECAUSE OF FAILURE TO SUBMIT A TRANSLATION OF THE DESCRIPTION OR TO PAY THE FEE WITHIN THE PRESCRIBED TIME-LIMIT Effective date: 20190116 Ref country code: LU Free format text: LAPSE BECAUSE OF NON-PAYMENT OF DUE FEES Effective date: 20190202 Ref country code: SK Free format text: LAPSE BECAUSE OF FAILURE TO SUBMIT A TRANSLATION OF THE DESCRIPTION OR TO PAY THE FEE WITHIN THE PRESCRIBED TIME-LIMIT Effective date: 20190116 |
|
| REG | Reference to a national code |
Ref country code: BE Ref legal event code: MM Effective date: 20190228 |
|
| PLBE | No opposition filed within time limit |
Free format text: ORIGINAL CODE: 0009261 |
|
| STAA | Information on the status of an ep patent application or granted ep patent |
Free format text: STATUS: NO OPPOSITION FILED WITHIN TIME LIMIT |
|
| PG25 | Lapsed in a contracting state [announced via postgrant information from national office to epo] |
Ref country code: SM Free format text: LAPSE BECAUSE OF FAILURE TO SUBMIT A TRANSLATION OF THE DESCRIPTION OR TO PAY THE FEE WITHIN THE PRESCRIBED TIME-LIMIT Effective date: 20190116 |
|
| 26N | No opposition filed |
Effective date: 20191017 |
|
| PG25 | Lapsed in a contracting state [announced via postgrant information from national office to epo] |
Ref country code: LI Free format text: LAPSE BECAUSE OF NON-PAYMENT OF DUE FEES Effective date: 20190228 Ref country code: CH Free format text: LAPSE BECAUSE OF NON-PAYMENT OF DUE FEES Effective date: 20190228 |
|
| PG25 | Lapsed in a contracting state [announced via postgrant information from national office to epo] |
Ref country code: BE Free format text: LAPSE BECAUSE OF NON-PAYMENT OF DUE FEES Effective date: 20190228 Ref country code: SI Free format text: LAPSE BECAUSE OF FAILURE TO SUBMIT A TRANSLATION OF THE DESCRIPTION OR TO PAY THE FEE WITHIN THE PRESCRIBED TIME-LIMIT Effective date: 20190116 |
|
| PG25 | Lapsed in a contracting state [announced via postgrant information from national office to epo] |
Ref country code: TR Free format text: LAPSE BECAUSE OF FAILURE TO SUBMIT A TRANSLATION OF THE DESCRIPTION OR TO PAY THE FEE WITHIN THE PRESCRIBED TIME-LIMIT Effective date: 20190116 |
|
| PG25 | Lapsed in a contracting state [announced via postgrant information from national office to epo] |
Ref country code: MT Free format text: LAPSE BECAUSE OF NON-PAYMENT OF DUE FEES Effective date: 20190202 |
|
| PG25 | Lapsed in a contracting state [announced via postgrant information from national office to epo] |
Ref country code: CY Free format text: LAPSE BECAUSE OF FAILURE TO SUBMIT A TRANSLATION OF THE DESCRIPTION OR TO PAY THE FEE WITHIN THE PRESCRIBED TIME-LIMIT Effective date: 20190116 |
|
| PG25 | Lapsed in a contracting state [announced via postgrant information from national office to epo] |
Ref country code: HU Free format text: LAPSE BECAUSE OF FAILURE TO SUBMIT A TRANSLATION OF THE DESCRIPTION OR TO PAY THE FEE WITHIN THE PRESCRIBED TIME-LIMIT; INVALID AB INITIO Effective date: 20100202 |
|
| REG | Reference to a national code |
Ref country code: GB Ref legal event code: 732E Free format text: REGISTERED BETWEEN 20210930 AND 20211006 |
|
| REG | Reference to a national code |
Ref country code: DE Ref legal event code: R082 Ref document number: 602010056577 Country of ref document: DE Representative=s name: ZACCO LEGAL RECHTSANWALTSGESELLSCHAFT MBH, DE |
|
| PG25 | Lapsed in a contracting state [announced via postgrant information from national office to epo] |
Ref country code: MK Free format text: LAPSE BECAUSE OF FAILURE TO SUBMIT A TRANSLATION OF THE DESCRIPTION OR TO PAY THE FEE WITHIN THE PRESCRIBED TIME-LIMIT Effective date: 20190116 |
|
| P01 | Opt-out of the competence of the unified patent court (upc) registered |
Effective date: 20230530 |
|
| P04 | Withdrawal of opt-out of the competence of the unified patent court (upc) registered |
Effective date: 20240315 |
|
| PGFP | Annual fee paid to national office [announced via postgrant information from national office to epo] |
Ref country code: NL Payment date: 20250114 Year of fee payment: 16 |
|
| PGFP | Annual fee paid to national office [announced via postgrant information from national office to epo] |
Ref country code: DE Payment date: 20250109 Year of fee payment: 16 |
|
| PGFP | Annual fee paid to national office [announced via postgrant information from national office to epo] |
Ref country code: IE Payment date: 20250127 Year of fee payment: 16 |
|
| PGFP | Annual fee paid to national office [announced via postgrant information from national office to epo] |
Ref country code: FR Payment date: 20250110 Year of fee payment: 16 |
|
| PGFP | Annual fee paid to national office [announced via postgrant information from national office to epo] |
Ref country code: GB Payment date: 20250109 Year of fee payment: 16 |
|
| REG | Reference to a national code |
Ref country code: DE Ref legal event code: R082 Ref document number: 602010056577 Country of ref document: DE |