EP1501660B1 - Rasiergerät mit mindestens einem umlaufenden flexiblen band - Google Patents

Rasiergerät mit mindestens einem umlaufenden flexiblen band Download PDF

Info

Publication number
EP1501660B1
EP1501660B1 EP03720008A EP03720008A EP1501660B1 EP 1501660 B1 EP1501660 B1 EP 1501660B1 EP 03720008 A EP03720008 A EP 03720008A EP 03720008 A EP03720008 A EP 03720008A EP 1501660 B1 EP1501660 B1 EP 1501660B1
Authority
EP
European Patent Office
Prior art keywords
appliance according
shaving appliance
guide channel
band
shaving
Prior art date
Legal status (The legal status is an assumption and is not a legal conclusion. Google has not performed a legal analysis and makes no representation as to the accuracy of the status listed.)
Expired - Lifetime
Application number
EP03720008A
Other languages
English (en)
French (fr)
Other versions
EP1501660A1 (de
Inventor
Gernot Dipl.-Ing. Popp
Current Assignee (The listed assignees may be inaccurate. Google has not performed a legal analysis and makes no representation or warranty as to the accuracy of the list.)
Individual
Original Assignee
Individual
Priority date (The priority date is an assumption and is not a legal conclusion. Google has not performed a legal analysis and makes no representation as to the accuracy of the date listed.)
Filing date
Publication date
Application filed by Individual filed Critical Individual
Priority to AT03720008T priority Critical patent/ATE304431T1/de
Publication of EP1501660A1 publication Critical patent/EP1501660A1/de
Application granted granted Critical
Publication of EP1501660B1 publication Critical patent/EP1501660B1/de
Anticipated expiration legal-status Critical
Expired - Lifetime legal-status Critical Current

Links

Images

Classifications

    • BPERFORMING OPERATIONS; TRANSPORTING
    • B26HAND CUTTING TOOLS; CUTTING; SEVERING
    • B26BHAND-HELD CUTTING TOOLS NOT OTHERWISE PROVIDED FOR
    • B26B19/00Clippers or shavers operating with a plurality of cutting edges, e.g. hair clippers, dry shavers

Definitions

  • the invention relates to a shaver with at least one rotating flexible Tape having a plurality of cutting edges and that in a cutting section is guided in a guide channel, and the further of a motor is driven in the longitudinal direction.
  • shavers have become known, the circulating flexible band which is driven by a motor.
  • the tape is in a cutting section, this is the range of intended use on the guided to shaving skin, guided in a guide channel.
  • This Guide channel has the task of the tape down and in the lateral direction to hold and partially cover at the top, so that the cutting of the Bandes are exposed only in recesses of the upper cover and one Skin injury is avoided.
  • Such solutions are for example in the No. 4,110,905 A, US Pat. No. 3,381,374 A or US Pat. No. 3,596,353 A.
  • US 4,110,905 A shows a razor with an endless revolving Tape that has the required cutting edges.
  • the tape is from an engine driven in the shaver's housing and is powered by two pulleys guided, between which a cutting section is provided. Within the Cutting section, the tape is guided in a guide channel.
  • the structural Unit consisting of the guide channel and the pulleys, is in the housing the shaver mounted resiliently. In this way, a certain Adaptation of the cutting section to the changing facial contour achieved become. An adaptation to the curvature of the skin surface to be worked is not possible with such a solution.
  • Object of the present invention is to avoid these disadvantages and a To create a shaver that allows a careful shave in a short time and has a simple structure.
  • this object is achieved in that the guide channel in Course of the cutting section is flexible.
  • the tape can in the area intended for shaving, optimally to the respective curvature Adjust the skin section to be shaved. That's how it generally stands the entire cutting section in direct contact with the skin, thereby An optimal shave is achieved everywhere. The duration of the shave can thereby be significantly reduced.
  • Essential to the invention is that not only cutting section and guide channel are movably or resiliently mounted in the housing, but that the Guide channel is flexible, that is, can bend and thereby adapt can be reached to the respective skin curvature.
  • the guide channel from a rest position in a working position is extendable.
  • a small size achieved but on the other hand, it is possible, a large variability of the guide channel to achieve.
  • the Guide channel on an elastic, preferably a pneumatic element is stored.
  • the pneumatic element inflatable for example via a small air pump is that is powered by the engine.
  • about the pressure in the pneumatic Element may also be the rigidity of the guide channel according to the respective needs be set.
  • the guide channel on extendable Supports is preferably resiliently mounted. This can be a robust and reliable device can be realized.
  • a structurally particularly favorable solution provides that the clamping device the extension of the guide channel from the rest position to the working position and the retraction of the guide channel from the working position to the rest position controls. So the tension of the guide channel can be simultaneous with the movement the extension and retraction are solved in a structurally simple manner.
  • a particularly space-saving solution is achieved when the clamping device is constructed of pulleys, which essentially via a screw are displaceable transversely to the longitudinal direction of the guide channel. It is in the Sense of simplification particularly favorable when the clamping device of the same Motor is driven like the band.
  • a disorder due to excessive pollution can be done in a safe way prevents the tape is substantially completely encapsulated.
  • a favorable drive system can be realized if the belt has a toothing has, which engages in a motor-driven pinion.
  • the life of the tape can practically be doubled if the band has cutting in both directions and in both directions is drivable.
  • an extendable long hair trimmer preferably driven by the same engine as the band.
  • This can be a simple design with extended functionality can be achieved. Especially can by using the same screw as for the clamping device a simplification can be achieved.
  • the razor according to the invention consists of a housing 1 with a display and control panel 2.
  • a guide channel 3 is arranged, which at the upper side of the housing emerges from this to the cutting section. 4 to build.
  • the guide channel 3 is around pulleys 5 deflected, which are mounted in brackets 6, which supports 6 of a Bridge 7 are resiliently worn.
  • the bridge 7 is on a screw 7a stored, which is driven by a first bevel gear 8.
  • the first bevel gear 8 is engaged with another bevel gear 9 driven by a motor 10 becomes.
  • the motor 10 further drives a spur gear 11, with two parallel mutually arranged bands 12 is engaged in the guide channel 3 are guided.
  • the guide channel 3 is of several telescopic extendable supports 13 supported, each of a compression spring 14th are biased in the extended position.
  • Sealing elements-21 prevent the ingress of moisture, dirt or Foreign bodies inside the housing 1.
  • Fig. 4 shows the extended Position, which is also the working position for the shave. If The shaver is pressed against the skin, then depending on the exerted Compressive force of some of the extendable supports 13 compressed and optionally some other supports 13 will continue to extend, the Voltage of the guide channel 3 is substantially maintained.
  • a long-hair trimmer 30 is slidably disposed in the vertical direction, wherein the drive is made by a nut 31, which is the same screw 7a is engaged like the bridge 7. Only the direction of the turns is different, so that the nut 31 always moves in opposite directions to the bridge 7.
  • Fig. 6 shows a plan view of a portion of the guide channel 3, wherein the upper portion in Fig. 6 corresponds to the cutting portion 4, while the lower Part of the guide channel inside the housing 1 represents.
  • the bands 12 are arranged parallel to each other, outside the Cutting section 4 completely inside according to the recesses of the guide channel 3 are arranged.
  • the bands 12 have at their two Edges projections 15 which are provided with circumferential cutting edges, so that regardless of the direction of the respective tape 12 a cut done can.
  • the bands In the middle region, the bands have 12 recesses 16, the are also bounded on both sides by cutting edges.
  • the bands have 12 Furthermore, on its underside a toothing 17, which is intended to be with the End edge 11 to be engaged.
  • the bands 12 are each of a cover plate Covered 18, the inclined openings 19, through the can penetrate the hair to be cut.
  • Retaining tabs 20 serve to anchor the cover plates 18 on the guide channel 3.
  • the retaining tabs 20 of the cover plates 18 of the two bands 12 are offset from one another to ensure that all longer hairs are reliably detected.
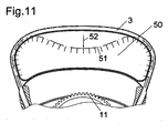
  • Fig. 10 an alternative embodiment of the invention is shown.
  • the pneumatic element 50 can be permanently filled with gas, For example, air, be filled or from a vented rest position Inflation be brought into a working position.
  • gas For example, air
  • Inflation be brought into a working position.
  • the pneumatic element 50 in the sense of deform with a broken line 51 indicated curve and so optimally adapt to the respective skin contours.

Landscapes

  • Life Sciences & Earth Sciences (AREA)
  • Forests & Forestry (AREA)
  • Engineering & Computer Science (AREA)
  • Mechanical Engineering (AREA)
  • Dry Shavers And Clippers (AREA)

Description

Die Erfindung betrifft ein Rasiergerät mit mindestens einem umlaufenden flexiblen Band, das eine Vielzahl von Schneiden aufweist, und das in einem Schneidabschnitt in einem Führungskanal geführt ist, und das weiters von einem Motor in Längsrichtung angetrieben ist.
Handelsübliche Geräte für die Trockenrasur besitzen drehende Schneidmesser oder hin und her gehende Klingen. Nachteilig ist dabei die Geräuschentwicklung und die begrenzte Anzahl der einsetzbaren Schneiden, die die Lebensdauer der Schneidelemente begrenzt.
Weiters sind Rasiergeräte bekannt geworden, die ein umlaufendes flexibles Band aufweisen, das von einem Motor angetrieben ist. Das Band ist in einem Schneidabschnitt, das ist der Bereich der bei bestimmungsgemäßer Verwendung an der zu rasierenden Haut entlanggeführt wird, in einem Führungskanal geführt. Dieser Führungskanal hat die Aufgabe, das Band nach unten und in seitlicher Richtung zu halten und nach oben hin teilweise abzudecken, so dass die Schneiden des Bandes nur in Ausnehmungen der oberen Abdeckung exponiert sind und eine Verletzung der Haut vermieden wird. Solche Lösungen sind beispielsweise in der US 4,110,905 A, der US 3,381,374 A oder der US 3,596,353 A beschrieben.
Obgleich mit den bekannten Rasiergeräten eine hinreichende Kürzung von Barthaaren erreichbar ist, so ist die Breite des Bereichs optimaler Rasur in Abhängigkeit von der Krümmung der Haut in dem jeweils bearbeiteten Bereich begrenzt, und damit ist die Zeitdauer einer sorgfältigen Rasur relativ groß. Außerdem stoßen bekannte Rasiergeräte bei längeren Haaren rasch an die Grenze ihrer Leistungsfähigkeit. Ein weiterer Nachteil herkömmlicher Lösungen besteht darin, dass eine relativ große Gefahr besteht, dass Haarstoppel ins Innere des Gerätes eingeführt werden und dort zu Problemen führen. Daher ist eine häufige Reinigung erforderlich, was den Benutzungskomfort einschränkt.
Die US 4,110,905 A zeigt einen Rasierapparat mit einem endlosen umlaufenden Band, das die erforderlichen Schneiden aufweist. Das Band ist von einem Motor im Gehäuse des Rasierapparates angetrieben und wird über zwei Umlenkrollen geführt, zwischen denen ein Schneidabschnitt vorgesehen ist. Innerhalb des Schneidabschnitts wird das Band in einen Führungskanal geführt. Die bauliche Einheit, die aus dem Führungskanal und den Umlenkrollen besteht, ist im Gehäuse des Rasierapparates federnd gelagert. Auf diese Weise kann eine gewisse Anpassung des Schneidabschnitts an die wechselnde Gesichtskontur erreicht werden. Eine Anpassung an die Krümmung der zu bearbeitenden Hautoberfläche ist mit einer solchen Lösung jedoch nicht möglich.
Aus der US 3,596,353 A ist ein weiteres Rasiergerät bekannt, dessen Schneiden auf einem endlos umlaufenden Band angeordnet sind. In dem zwischen zwei Umlenkrollen vorgesehenen Schneidabschnitt wird das Band nach unten hin von federnd gelagerten Leisten gehalten und unterstützt, um gemeinsam mit Spannrollen die notwendige Vorspannung zu gewährleisten. Auch bei dieser Lösung kann eine Anpassung an wechselnde Krümmungsverhältnisse in dem zu rasierenden Hautareal nicht erzielt werden.
Weitere Rasiergeräte ähnlicher Art sind in der FR 1 591 279 A, der US 4,486,951 A, der US 3,001,281 A, sowie der DE 11 74 652 B beschrieben. Auch für diese vorbekannten Rasiergeräte gelten die obigen Aussagen sinngemäß.
Aufgabe der vorliegenden Erfindung ist es, diese Nachteile zu vermeiden und ein Rasiergerät zu schaffen, das eine sorgfältige Rasur in kurzer Zeit ermöglicht und einen einfachen Aufbau aufweist.
Erfindungsgemäß wird diese Aufgabe dadurch gelöst, dass der Führungskanal im Verlauf des Schneidabschnitts flexibel ist. Auf diese Weise kann sich das Band im dem Bereich, der für die Rasur vorgesehen ist, optimal an die jeweilige Krümmung des zu rasierenden Hautabschnittes anpassen. So steht im Allgemeinen der gesamte Schneidabschnitt in unmittelbarem Kontakt mit der Haut, wodurch überall eine optimale Rasur erzielt wird. Die Zeitdauer für die Rasur kann dadurch wesentlich verringert werden.
Wesentlich an der Erfindung ist, dass nicht nur Schneidabschnitt und Führungskanal beweglich oder federnd im Gehäuse gelagert sind, sondern dass der Führungskanal flexibel ist, das heißt, sich biegen kann und dadurch eine Anpassung an die jeweilige Hautkrümmung erreichbar ist.
Vorzugsweise ist vorgesehen, dass der Führungskanal aus einer Ruhestellung in eine Arbeitsstellung ausfahrbar ist. Dadurch wird einerseits eine kleine Baugröße erreicht, andererseits aber wird es möglich, eine große Variabilität des Führungskanals zu erzielen.
In einer bevorzugten Ausführungsvariante der Erfindung ist vorgesehen, dass der Führungskanal auf einem elastischen, vorzugsweise einem pneumatischen Element gelagert ist. Auf diese Weise ist ein besonders einfacher Aufbau erreichbar, wobei das pneumatische Element beispielsweise über eine kleine Luftpumpe aufpumpbar ist, die vom Motor angetrieben ist. Über den Druck im pneumatischen Element kann auch die Steifigkeit des Führungskanals nach den jeweiligen Bedürfnissen eingestellt werden.
Alternativ dazu kann vorgesehen sein, dass der Führungskanal auf ausfahrbaren Stützen vorzugsweise federnd gelagert ist. Auf diese Weise kann eine robuste und betriebssichere Vorrichtung realisiert werden.
Besonders günstig ist es, wenn eine Spanneinrichtung vorgesehen ist, die das Band mit einer vorbestimmten Längskraft spannt. Durch die gleichbleibende Spannung des Bandes wird eine optimale Rasur erreicht.
Eine konstruktiv besonders günstige Lösung sieht vor, dass die Spanneinrichtung das Ausfahren des Führungskanals aus der Ruhestellung in die Arbeitsstellung sowie das Einfahren des Führungskanals aus der Arbeitsstellung in die Ruhestellung steuert. So kann die Spannung des Führungskanals gleichzeitig mit der Bewegung des Ein- und Ausfahrens in baulich einfacher Weise gelöst werden.
Eine besonders platzsparende Lösung wird erreicht, wenn die Spanneinrichtung aus Umlenkrollen aufgebaut ist, die über eine Schraubspindel im Wesentlichen quer zur Längsrichtung des Führungskanals verschiebbar sind. Dabei ist es im Sinne der Vereinfachung besonders günstig, wenn die Spanneinrichtung vom selben Motor angetrieben ist wie das Band.
Eine Störung durch übermäßige Verschmutzung kann auf sichere Weise dadurch verhindert werden, dass das Band im Wesentlichen vollständig gekapselt ist.
Ein günstiges Antriebssystem kann realisiert werden, wenn das Band eine Verzahnung aufweist, die in ein vom Motor angetriebenes Ritzel eingreift.
Die Lebensdauer des Bandes kann praktisch dadurch verdoppelt werden, wenn das Band in beiden Richtungen Schneiden aufweist und in beiden Richtungen antreibbar ist.
Eine besonders gründliche Rasur wird gewährleistet, wenn das Band sowohl im Mittenbereich als auch an den Kanten Schneiden aufweist.
Es kann weiters ein ausfahrbarer Langhaartrimmer vorgesehen sein, der vorzugsweise vom selben Motor angetrieben ist wie das Band. Dadurch kann eine einfache Bauweise bei erweitertem Funktionsumfang erzielt werden. Insbesondere kann durch die Verwendung der selben Schraubspindel wie für die Spanneinrichtung eine Vereinfachung erzielt werden.
In der Folge wird die Erfindung anhand der in den Figuren dargestellten Ausführungsvarianten näher erläutert. Es zeigen
Fig. 1
eine allgemeine Ansicht eines erfindungsgemäßen Rasiergeräts;
Fig. 2
einen Längsschnitt durch das Gerät von Fig. 1;
Fig. 3
einen Schnitt nach Linie III - III in Fig. 2;
Fig. 4
und Fig. 5 Schnitte entsprechend Fig. 3 in anderen Stellungen der Spanneinrichtung;
Fig. 6
ein Detail des Rasiergerätes;
Fig. 7
einen Schnitt nach Linie VII - VII in Fig. 6;
Fig. 8
einen Schnitt nach Linie VIII - VIII in Fig. 6;
Fig. 9
einen Schnitt nach Linie IX - IX in Fig. 6;
Fig. 10
einen Schnitt des Geräts mit ausgefahrenen Stützen; und
Fig. 11
eine weitere Ausführungsvariante der Erfindung im Schnitt.
Das erfindungsgemäße Rasiergerät besteht aus einem Gehäuse 1 mit einer Anzeige- und Steuerungstafel 2.
Im Inneren des Gehäuses 1 ist ein Führungskanal 3 angeordnet, der an der oberen Seite des Gehäuses aus diesem heraustritt, um den Schneidabschnitt 4 zu bilden. Im Inneren des Gehäuses 1 ist der Führungskanal 3 um Umlenkrollen 5 umgelenkt, die in Halterungen 6 gelagert sind, welche Halterungen 6 von einer Brücke 7 federnd getragen werden. Die Brücke 7 ist auf einer Schraubspindel 7a gelagert, die von einem ersten Kegelrad 8 angetrieben wird. Das erste Kegelrad 8 steht mit einem weiteren Kegelrad 9 in Eingriff, das von einem Motor 10 angetrieben wird. Der Motor 10 treibt weiters ein Stirnrad 11 an, das mit zwei parallel zueinander angeordneten Bändern 12 in Eingriff steht, die in dem Führungskanal 3 geführt sind.
Im Bereich des Schneidabschnittes 4 ist der Führungskanal 3 von mehreren teleskopisch ausfahrbaren Stützen 13 getragen, die jeweils von einer Druckfeder 14 in die ausgefahrene Position vorgespannt sind.
Dichtelemente-21 verhindern das Eindringen von Feuchtigkeit, Schmutz oder Fremdkörpern ins Innere des Gehäuses 1.
In der Stellung von Fig. 3 ist die Brücke 7 in der untersten Stellung angeordnet, und die Umlenkrollen 5 ziehen den Führungskanal 3 ganz nach unten, so dass die teleskopisch ausfahrbaren Stützen 13 ganz eingezogen sind. Fig. 4 zeigt die ausgefahrene Stellung, die gleichzeitig die Arbeitsstellung für die Rasur ist. Wenn das Rasiergerät an die Haut angedrückt wird, dann werden je nach der ausgeübten Druckkraft einige der ausfahrbaren Stützen 13 zusammengedrückt und gegebenenfalls werden einige andere Stützen 13 weiter ausfahren, wobei die Spannung des Führungskanals 3 im Wesentlichen erhalten bleibt.
Ein Langhaartrimmer 30 ist in vertikaler Richtung verschiebbar angeordnet, wobei der Antrieb durch eine Mutter 31 erfolgt, die mit der gleichen Schraubspindel 7a in Eingriff steht wie die Brücke 7. Lediglich die Richtung der Windungen ist unterschiedlich, so dass sich die Mutter 31 stets gegenläufig zur Brücke 7 bewegt.
In der Stellung von Fig. 2 ist der Langhaartrimmer 30 ausgefahren, wobei Reibräder 23 zum Antrieb des Langhaartrimmers an der Innenseite des Stirnrads 11 anliegen und von diesem angetrieben werden. Ein Balken 32 wird dabei im Sinn des Doppelpfeils 33 hin und her bewegt und treibt ein nicht dargestelltes Messer an. Eine Membran 22 schließt den Langhaartrimmer 30 dicht ab, um ein Eindringen von Flüssigkeiten oder Fremdkörpern zu verhindern.
In Fig. 4 und Fig. 5 ist schematisch die Betätigung der einzelnen Funktionen ersichtlich. Durch elektromagnetisches Ein- bzw. Ausfahren von Schaltstiften 41a und 42a in Öffnungen einer Steuerscheibe 40 bzw. des Stirnrads 11 kann der Motor 10 funktionell entweder über das weitere Kegelrad 9 mit der Schraubspindel 7a oder mit dem Stirnrad 11 verbunden werden.
In Fig. 5 sind die Brücke 7 und die Mutter 31 des Langhaartrimmers 30 in einer mittleren Stellung angeordnet, die der Ruhestellung entspricht.
Fig. 6 zeigt eine Draufsicht auf einen Abschnitt des Führungskanals 3, wobei der obere Abschnitt in Fig. 6 dem Schneidabschnitt 4 entspricht, während der untere Teil den Führungskanal im Inneren des Gehäuses 1 darstellt. In dem Führungskanal 3 sind zwei Bänder 12 parallel zueinander angeordnet, die außerhalb des Schneidabschnittes 4 vollständig im Inneren entsprechend der Ausnehmungen des Führungskanals 3 angeordnet sind. Die Bänder 12 besitzen an ihren beiden Rändern Vorsprünge 15, die mit umlaufenden Schneidkanten versehen sind, so dass unabhängig von der Laufrichtung des jeweiligen Bandes 12 ein Schnitt erfolgen kann. Im mittleren Bereich besitzen die Bänder 12 Ausnehmungen 16, die ebenfalls beidseitig von Schneidkanten begrenzt sind. Die Bänder 12 besitzen weiters auf ihrer Unterseite eine Verzahnung 17, die dazu bestimmt ist, mit dem Stirnrand 11 in Eingriff zu stehen.
Im Bereich des Schneidabschnittes 4 sind die Bänder 12 jeweils von einem Abdeckblech 18 überdeckt, das schräggestellte Öffnungen 19 aufweist, durch das die zu schneidenden Haare hindurchdringen können. Haltelaschen 20 dienen dazu, die Abdeckbleche 18 am Führungskanal 3 zu verankern. Die Haltelaschen 20 der Abdeckbleche 18 der beiden Bänder 12 sind gegeneinander versetzt, um sicherzustellen, dass alle längeren Haare zuverlässig erfasst werden.
In Fig. 10 ist eine alternative Ausführungsvariante der Erfindung dargestellt. Bei dieser Ausführungsvariante ist der Führungskanal 3 auf einem pneumatischen Element 50 gelagert. Das pneumatische Element 50 kann permanent mit Gas, beispielsweise Luft, gefüllt sein oder aus einer entlüfteten Ruhestellung durch Aufblasen in eine Arbeitsstellung gebracht werden. Bei Ausübung einer Druckkraft im Sinne des Pfeils 52 kann sich das pneumatische Element 50 im Sinne der mit einer unterbrochenen Linie 51 angedeuteten Kurve verformen und sich so den jeweiligen Hautkonturen optimal anpassen.

Claims (16)

  1. Rasiergerät mit mindestens einem umlaufenden flexiblen Band (12), das eine Vielzahl von Schneiden aufweist, und das in einem Schneidabschnitt (4) in einem Führungskanal (3) geführt ist, und das weiters von einem Motor (10) in Längsrichtung angetrieben ist, dadurch gekennzeichnet, dass der Führungskanal (3) im Verlauf des Schneidabschnitts (4) flexibel ist.
  2. Rasiergerät nach Anspruch 1, dadurch gekennzeichnet, dass der Führungskanal (3) aus einer Ruhestellung in eine Arbeitsstellung ausfahrbar ist.
  3. Rasiergerät nach einem der Ansprüche 1 oder 2, dadurch gekennzeichnet, dass der Führungskanal (3) auf einem elastischen, vorzugsweise einem pneumatischen Element (50) gelagert ist.
  4. Rasiergerät nach einem der Ansprüche 1 oder 2, dadurch gekennzeichnet, dass der Führungskanal (3) auf ausfahrbaren Stützen (13) vorzugsweise federnd gelagert ist.
  5. Rasiergerät nach einem der Ansprüche 1 bis 4, dadurch gekennzeichnet, dass eine Spanneinrichtung vorgesehen ist, die das Band (12) mit einer vorbestimmten Längskraft spannt.
  6. Rasiergerät nach Anspruch 5, dadurch gekennzeichnet, dass die Spanneinrichtung das Ausfahren des Führungskanals (3) aus der Ruhestellung in die Arbeitsstellung sowie das Einfahren des Führungskanals (3) aus der Arbeitsstellung in die Ruhestellung steuert.
  7. Rasiergerät nach einem der Ansprüche 5 oder 6, dadurch gekennzeichnet, dass die Spanneinrichtung aus Umlenkrollen (5) aufgebaut ist, die über eine Schraubspindel (7a) im Wesentlichen quer zur Längsrichtung des Führungskanals (3) verschiebbar sind.
  8. Rasiergerät nach einem der Ansprüche 5 bis 7, dadurch gekennzeichnet, dass die Spanneinrichtung vom selben Motor (10) angetrieben ist wie das Band (12).
  9. Rasiergerät nach einem der Ansprüche 1 bis 8, dadurch gekennzeichnet, dass das Band (12) im Wesentlichen vollständig gekapselt ist.
  10. Rasiergerät nach einem der Ansprüche 1 bis 9, dadurch gekennzeichnet, dass das Band (12) eine Verzahnung (17) aufweist, die in ein vom Motor angetriebenes Ritzel eingreift.
  11. Rasiergerät nach einem der Ansprüche 1 bis 10, dadurch gekennzeichnet, dass das Band (12) in beiden Richtungen Schneiden aufweist und in beiden Richtungen antreibbar ist.
  12. Rasiergerät nach einem der Ansprüche 1 bis 11, dadurch gekennzeichnet, dass das Band (12) sowohl im Mittenbereich als auch an den Kanten Schneiden aufweist.
  13. Rasiergerät nach einem der Ansprüche 1 bis 12, dadurch gekennzeichnet, dass zwei Bänder (12) nebeneinander vorgesehen sind, die von Abdeckblechen (18) überdeckt sind.
  14. Rasiergerät nach Anspruch 13, dadurch gekennzeichnet, dass die Abdeckbleche (18) durch Haltelaschen (20) gehalten sind, die gegeneinander versetzt sind.
  15. Rasiergerät nach einem der Ansprüche 13 oder 14, dadurch gekennzeichnet, dass die Abdeckbleche (18) schräggestellte Öffnungen (19) aufweisen.
  16. Rasiergerät nach einem der Ansprüche 1 bis 15, dadurch gekennzeichnet, dass weiters ein ausfahrbarer Langhaartrimmer (30) vorgesehen ist, der vorzugsweise vom selben Motor (10) angetrieben ist wie das Band (12).
EP03720008A 2002-05-07 2003-05-05 Rasiergerät mit mindestens einem umlaufenden flexiblen band Expired - Lifetime EP1501660B1 (de)

Priority Applications (1)

Application Number Priority Date Filing Date Title
AT03720008T ATE304431T1 (de) 2002-05-07 2003-05-05 Rasiergerät mit mindestens einem umlaufenden flexiblen band

Applications Claiming Priority (3)

Application Number Priority Date Filing Date Title
AT7092002 2002-05-07
AT0070902A AT412958B (de) 2002-05-07 2002-05-07 Rasiergerät
PCT/AT2003/000130 WO2003095157A1 (de) 2002-05-07 2003-05-05 Rasiergerät mit mindestens einem umlaufenden flexiblen band

Publications (2)

Publication Number Publication Date
EP1501660A1 EP1501660A1 (de) 2005-02-02
EP1501660B1 true EP1501660B1 (de) 2005-09-14

Family

ID=29408723

Family Applications (1)

Application Number Title Priority Date Filing Date
EP03720008A Expired - Lifetime EP1501660B1 (de) 2002-05-07 2003-05-05 Rasiergerät mit mindestens einem umlaufenden flexiblen band

Country Status (7)

Country Link
US (1) US20050210680A1 (de)
EP (1) EP1501660B1 (de)
JP (1) JP2005524503A (de)
AT (1) AT412958B (de)
AU (1) AU2003225318A1 (de)
DE (1) DE50301199D1 (de)
WO (1) WO2003095157A1 (de)

Cited By (1)

* Cited by examiner, † Cited by third party
Publication number Priority date Publication date Assignee Title
USD558924S1 (en) 2006-09-22 2008-01-01 Helen Of Troy Limited Palm held hair clipper

Families Citing this family (2)

* Cited by examiner, † Cited by third party
Publication number Priority date Publication date Assignee Title
JP5842158B2 (ja) * 2011-02-28 2016-01-13 パナソニックIpマネジメント株式会社 電気かみそり
EP4311637A1 (de) * 2022-07-29 2024-01-31 BIC Violex Single Member S.A. Rasierkopf

Family Cites Families (19)

* Cited by examiner, † Cited by third party
Publication number Priority date Publication date Assignee Title
US1318456A (en) * 1918-03-28 1919-10-14 Safe Deposit And Trust Company Of Baltimore Safety-razor.
US1713079A (en) * 1928-10-17 1929-05-14 Jr William F Hall Safety razor
CH274937A (de) * 1949-03-17 1951-04-30 Welter Otto Elektrischer Trockenrasierapparat.
US3001281A (en) * 1958-05-07 1961-09-26 James M Nahon Dry shaving razor with belt driven blades and cooling means
US3158932A (en) * 1962-08-01 1964-12-01 Ivo H Brewer Multiple cutter shaver having continuous shaving surface
DE1174652B (de) * 1962-08-01 1964-07-23 Siemens Elektrogeraete Gmbh Trockenrasiergeraet mit umlaufendem endlosem Stahlband als Untermesser
DE1209022B (de) * 1964-07-25 1966-01-13 Siemens Elektrogeraete Gmbh Haarschneidmaschine
US3381374A (en) * 1965-05-11 1968-05-07 Leroy F. Prouty Blade and razor assembly
US3517358A (en) * 1967-11-06 1970-06-23 Hermetic Coil Co Inc Relay
FR1561279A (de) * 1968-01-19 1969-03-28
US3543399A (en) * 1968-09-24 1970-12-01 Victor Yager Safety razor with endless band blade
US3596353A (en) * 1968-11-19 1971-08-03 Ray E Day Electric shaver
DE2019978C3 (de) * 1970-04-24 1974-11-21 Braun Ag, 6000 Frankfurt Langhaarschneideinrichtung für Trockenrasierapparate
DE2035870B2 (de) * 1970-07-20 1977-01-20 Ausscheidung in: 20 65 855 Kuno Moser, GmbH, Fabrik für Feinmechanik und Elektrotechnik, 7731 Unterkirnach Elektrischer trockenrasierapparat mit langhaarschneideinrichtung
US3740842A (en) * 1971-03-08 1973-06-26 K Bleuer Razor cartridge and holder therefor
GB1390527A (en) * 1972-10-30 1975-04-16 Gillette Industries Ltd Safety razors
US4085503A (en) * 1974-12-23 1978-04-25 Sunbeam Corporation Electric dry shaver with adjustable long hair trimmer
NL7607681A (nl) * 1976-07-12 1978-01-16 Philips Nv Scheerapparaat met bandmes.
US4486951A (en) * 1982-09-03 1984-12-11 Leibowitz Martin Nick Improvement in blade systems for shaving apparatus

Cited By (1)

* Cited by examiner, † Cited by third party
Publication number Priority date Publication date Assignee Title
USD558924S1 (en) 2006-09-22 2008-01-01 Helen Of Troy Limited Palm held hair clipper

Also Published As

Publication number Publication date
US20050210680A1 (en) 2005-09-29
DE50301199D1 (de) 2005-10-20
WO2003095157A1 (de) 2003-11-20
EP1501660A1 (de) 2005-02-02
AT412958B (de) 2005-09-26
JP2005524503A (ja) 2005-08-18
ATA7092002A (de) 2005-02-15
AU2003225318A1 (en) 2003-11-11

Similar Documents

Publication Publication Date Title
EP1017546B1 (de) Trockenrasierapparat
EP0693988B1 (de) Scherkopf für einen trockenrasierapparat
EP0707927B1 (de) Abschneidevorrichtung mit Motor
DE3743181C2 (de)
DE4313371A1 (de) Trocken-Schwingrasierer
DE69700383T2 (de) Scherkopf und Rasierapparat mit einem dergleichen Scherkopf
DE29714056U1 (de) Haltevorrichtung für den mittleren Schneidbalken eines Rasierers
DE69310535T2 (de) Rotierend angetriebenes dynamisches rasiersystem mit rasierhilfsmittel
EP1497082A1 (de) Scherkopf für ein haarschneidegerät
DE4405576C2 (de) Scherkopf für Naßrasierapparate
DE102008033547A1 (de) Schleif- und Schärfmaschine für Schneidklingen
EP0875171B1 (de) Arbeitswalze, insbesondere Waschwalze für Fahrzeugwaschanlagen
DE2308506A1 (de) Vorrichtung zum schaerfen von messern
EP1501660B1 (de) Rasiergerät mit mindestens einem umlaufenden flexiblen band
DE3733486A1 (de) Rasierschneidkopf
CH638127A5 (de) Trockenrasiergeraet.
EP2177327A1 (de) Haarschneidegerät
CH416377A (de) Rasier- und Effilier-Kombinationsgerät
DE69713106T2 (de) Rasierer
EP0605860B1 (de) Nassrasierapparat
DE3028430A1 (de) Rasiereinheit
DE663488C (de) Schergeraet
CH641397A5 (de) Rasiergeraet.
DE102008010444B4 (de) Schneidsatz für eine Haarschneidemaschine
DE202005015883U1 (de) Haarschneidemaschine

Legal Events

Date Code Title Description
PUAI Public reference made under article 153(3) epc to a published international application that has entered the european phase

Free format text: ORIGINAL CODE: 0009012

17P Request for examination filed

Effective date: 20041021

AK Designated contracting states

Kind code of ref document: A1

Designated state(s): AT BE BG CH CY CZ DE DK EE ES FI FR GB GR HU IE IT LI LU MC NL PT RO SE SI SK TR

AX Request for extension of the european patent

Extension state: AL LT LV MK

GRAP Despatch of communication of intention to grant a patent

Free format text: ORIGINAL CODE: EPIDOSNIGR1

GRAS Grant fee paid

Free format text: ORIGINAL CODE: EPIDOSNIGR3

GRAA (expected) grant

Free format text: ORIGINAL CODE: 0009210

DAX Request for extension of the european patent (deleted)
AK Designated contracting states

Kind code of ref document: B1

Designated state(s): AT BE BG CH CY CZ DE DK EE ES FI FR GB GR HU IE IT LI LU MC NL PT RO SE SI SK TR

PG25 Lapsed in a contracting state [announced via postgrant information from national office to epo]

Ref country code: IT

Free format text: LAPSE BECAUSE OF FAILURE TO SUBMIT A TRANSLATION OF THE DESCRIPTION OR TO PAY THE FEE WITHIN THE PRESCRIBED TIME-LIMIT;WARNING: LAPSES OF ITALIAN PATENTS WITH EFFECTIVE DATE BEFORE 2007 MAY HAVE OCCURRED AT ANY TIME BEFORE 2007. THE CORRECT EFFECTIVE DATE MAY BE DIFFERENT FROM THE ONE RECORDED.

Effective date: 20050914

Ref country code: SI

Free format text: LAPSE BECAUSE OF FAILURE TO SUBMIT A TRANSLATION OF THE DESCRIPTION OR TO PAY THE FEE WITHIN THE PRESCRIBED TIME-LIMIT

Effective date: 20050914

Ref country code: CZ

Free format text: LAPSE BECAUSE OF FAILURE TO SUBMIT A TRANSLATION OF THE DESCRIPTION OR TO PAY THE FEE WITHIN THE PRESCRIBED TIME-LIMIT

Effective date: 20050914

Ref country code: NL

Free format text: LAPSE BECAUSE OF FAILURE TO SUBMIT A TRANSLATION OF THE DESCRIPTION OR TO PAY THE FEE WITHIN THE PRESCRIBED TIME-LIMIT

Effective date: 20050914

Ref country code: IE

Free format text: LAPSE BECAUSE OF FAILURE TO SUBMIT A TRANSLATION OF THE DESCRIPTION OR TO PAY THE FEE WITHIN THE PRESCRIBED TIME-LIMIT

Effective date: 20050914

Ref country code: FI

Free format text: LAPSE BECAUSE OF FAILURE TO SUBMIT A TRANSLATION OF THE DESCRIPTION OR TO PAY THE FEE WITHIN THE PRESCRIBED TIME-LIMIT

Effective date: 20050914

Ref country code: SK

Free format text: LAPSE BECAUSE OF FAILURE TO SUBMIT A TRANSLATION OF THE DESCRIPTION OR TO PAY THE FEE WITHIN THE PRESCRIBED TIME-LIMIT

Effective date: 20050914

Ref country code: GB

Free format text: LAPSE BECAUSE OF FAILURE TO SUBMIT A TRANSLATION OF THE DESCRIPTION OR TO PAY THE FEE WITHIN THE PRESCRIBED TIME-LIMIT

Effective date: 20050914

Ref country code: RO

Free format text: LAPSE BECAUSE OF FAILURE TO SUBMIT A TRANSLATION OF THE DESCRIPTION OR TO PAY THE FEE WITHIN THE PRESCRIBED TIME-LIMIT

Effective date: 20050914

REG Reference to a national code

Ref country code: GB

Ref legal event code: FG4D

Free format text: NOT ENGLISH

REG Reference to a national code

Ref country code: CH

Ref legal event code: EP

REG Reference to a national code

Ref country code: IE

Ref legal event code: FG4D

Free format text: LANGUAGE OF EP DOCUMENT: GERMAN

REF Corresponds to:

Ref document number: 50301199

Country of ref document: DE

Date of ref document: 20051020

Kind code of ref document: P

PG25 Lapsed in a contracting state [announced via postgrant information from national office to epo]

Ref country code: DK

Free format text: LAPSE BECAUSE OF FAILURE TO SUBMIT A TRANSLATION OF THE DESCRIPTION OR TO PAY THE FEE WITHIN THE PRESCRIBED TIME-LIMIT

Effective date: 20051214

Ref country code: SE

Free format text: LAPSE BECAUSE OF FAILURE TO SUBMIT A TRANSLATION OF THE DESCRIPTION OR TO PAY THE FEE WITHIN THE PRESCRIBED TIME-LIMIT

Effective date: 20051214

Ref country code: BG

Free format text: LAPSE BECAUSE OF FAILURE TO SUBMIT A TRANSLATION OF THE DESCRIPTION OR TO PAY THE FEE WITHIN THE PRESCRIBED TIME-LIMIT

Effective date: 20051214

Ref country code: GR

Free format text: LAPSE BECAUSE OF FAILURE TO SUBMIT A TRANSLATION OF THE DESCRIPTION OR TO PAY THE FEE WITHIN THE PRESCRIBED TIME-LIMIT

Effective date: 20051214

PG25 Lapsed in a contracting state [announced via postgrant information from national office to epo]

Ref country code: ES

Free format text: LAPSE BECAUSE OF FAILURE TO SUBMIT A TRANSLATION OF THE DESCRIPTION OR TO PAY THE FEE WITHIN THE PRESCRIBED TIME-LIMIT

Effective date: 20051225

PG25 Lapsed in a contracting state [announced via postgrant information from national office to epo]

Ref country code: PT

Free format text: LAPSE BECAUSE OF FAILURE TO SUBMIT A TRANSLATION OF THE DESCRIPTION OR TO PAY THE FEE WITHIN THE PRESCRIBED TIME-LIMIT

Effective date: 20060214

NLV1 Nl: lapsed or annulled due to failure to fulfill the requirements of art. 29p and 29m of the patents act
PG25 Lapsed in a contracting state [announced via postgrant information from national office to epo]

Ref country code: HU

Free format text: LAPSE BECAUSE OF FAILURE TO SUBMIT A TRANSLATION OF THE DESCRIPTION OR TO PAY THE FEE WITHIN THE PRESCRIBED TIME-LIMIT

Effective date: 20060315

GBV Gb: ep patent (uk) treated as always having been void in accordance with gb section 77(7)/1977 [no translation filed]

Effective date: 20050914

REG Reference to a national code

Ref country code: IE

Ref legal event code: FD4D

PG25 Lapsed in a contracting state [announced via postgrant information from national office to epo]

Ref country code: AT

Free format text: LAPSE BECAUSE OF NON-PAYMENT OF DUE FEES

Effective date: 20060505

PG25 Lapsed in a contracting state [announced via postgrant information from national office to epo]

Ref country code: BE

Free format text: LAPSE BECAUSE OF NON-PAYMENT OF DUE FEES

Effective date: 20060531

Ref country code: MC

Free format text: LAPSE BECAUSE OF NON-PAYMENT OF DUE FEES

Effective date: 20060531

PLBE No opposition filed within time limit

Free format text: ORIGINAL CODE: 0009261

STAA Information on the status of an ep patent application or granted ep patent

Free format text: STATUS: NO OPPOSITION FILED WITHIN TIME LIMIT

26N No opposition filed

Effective date: 20060615

PG25 Lapsed in a contracting state [announced via postgrant information from national office to epo]

Ref country code: FR

Free format text: LAPSE BECAUSE OF FAILURE TO SUBMIT A TRANSLATION OF THE DESCRIPTION OR TO PAY THE FEE WITHIN THE PRESCRIBED TIME-LIMIT

Effective date: 20061020

EN Fr: translation not filed
EN Fr: translation not filed
PG25 Lapsed in a contracting state [announced via postgrant information from national office to epo]

Ref country code: DE

Free format text: LAPSE BECAUSE OF NON-PAYMENT OF DUE FEES

Effective date: 20061201

BERE Be: lapsed

Owner name: POPP, GERNOT, DIPL.-ING.

Effective date: 20060531

REG Reference to a national code

Ref country code: CH

Ref legal event code: PL

PG25 Lapsed in a contracting state [announced via postgrant information from national office to epo]

Ref country code: CH

Free format text: LAPSE BECAUSE OF NON-PAYMENT OF DUE FEES

Effective date: 20070531

Ref country code: LI

Free format text: LAPSE BECAUSE OF NON-PAYMENT OF DUE FEES

Effective date: 20070531

PG25 Lapsed in a contracting state [announced via postgrant information from national office to epo]

Ref country code: EE

Free format text: LAPSE BECAUSE OF FAILURE TO SUBMIT A TRANSLATION OF THE DESCRIPTION OR TO PAY THE FEE WITHIN THE PRESCRIBED TIME-LIMIT

Effective date: 20050914

PG25 Lapsed in a contracting state [announced via postgrant information from national office to epo]

Ref country code: TR

Free format text: LAPSE BECAUSE OF FAILURE TO SUBMIT A TRANSLATION OF THE DESCRIPTION OR TO PAY THE FEE WITHIN THE PRESCRIBED TIME-LIMIT

Effective date: 20050914

Ref country code: LU

Free format text: LAPSE BECAUSE OF NON-PAYMENT OF DUE FEES

Effective date: 20060505

PG25 Lapsed in a contracting state [announced via postgrant information from national office to epo]

Ref country code: FR

Free format text: LAPSE BECAUSE OF FAILURE TO SUBMIT A TRANSLATION OF THE DESCRIPTION OR TO PAY THE FEE WITHIN THE PRESCRIBED TIME-LIMIT

Effective date: 20050914

Ref country code: CY

Free format text: LAPSE BECAUSE OF FAILURE TO SUBMIT A TRANSLATION OF THE DESCRIPTION OR TO PAY THE FEE WITHIN THE PRESCRIBED TIME-LIMIT

Effective date: 20050914